第 23 期
商標之保護
二零零三年六月五日,星期四
經濟局
商標之保護
根據十二月十三日第97/99/M號法令第十條及第二百一十條,以下公布本地區商標註冊之請求書,並按照相同法規第二百一十一條第一款,由通告公布日期開始計算兩個月期限內提出聲明異議。
商標編號:N/9612 類別: 4
申請人:Exxon Mobil Corporation, 5959 Las Colinas Boulevard, Irving, Texas 75039-2298, Estados Unidos da América.
國籍:美國
活動:商業及工業
申請日期:2002/05/06
產品:產生能量、熱力和照明用的氫碳化合物氣體。
商標構成:
商標編號:N/9613 類別: 4
申請人:Exxon Mobil Corporation, 5959 Las Colinas Boulevard, Irving, Texas 75039-2298, Estados Unidos da América.
國籍:美國
活動:商業及工業
申請日期:2002/05/06
產品:工業、家庭及建築用的液化石油氣。
商標構成:
商標編號:N/10998 類別: 3
申請人:Salvatore Ferragamo Italia S.P.A., Via dei Tornabuoni, 2, 50123 Firenze FI, Itália.
國籍:意大利
活動:商業及工業
申請日期:2003/02/06
產品:洗衣用漂白劑及其他物料;清潔、擦亮、去漬及研磨用製劑;肥皂;香料,精油,化妝品,髮水;牙膏。
商標構成:
優先權之要求:請求日期:2002/11/04;所屬國:意大利;請求編號:FI2002C001194。
商標編號:N/11114 類別: 33
申請人:JNJ Enterprises LLC, 69 Defco Park Road, North Haven, Connecticut, 06473, E.U.A..
國籍:美國
活動:商業及工業
申請日期:2003/02/26
產品:威士忌。
商標構成:
商標編號:N/11115 類別: 3
申請人:Summit Laboratories, Inc., 303 State Street, Chicago Heights, Illinois 60411, United States of America.
國籍:美國
活動:商業及工業
申請日期:2003/02/26
產品:腳部用非醫用的使用水化物乳霜。
商標構成:
優先權之要求:請求日期:2002/09/12;所屬國:美國;請求編號:76/448,803。
商標編號:N/11269 類別: 25
申請人:Harvik Rubber Industries Sdn. Bhd., 1414 Mukim 1, Prai Free Industrial Zone, 13600 Prai, Penang, Malásia.
國籍:馬來西亞
活動:商業及工業
申請日期:2003/03/19
產品:橡膠靴子;工作用安全靴;非安全工作靴;運動及休閒用靴子;女士及兒童用靴子和高筒靴。
商標構成:
商標編號:N/11304 類別: 5
申請人:Immunotec Research Limited, 292 Adrien Patenaude, Vaudreuil-Dorion, Quebec, J7V 5V5, Canada
國籍:加拿大
活動:商業及工業
申請日期:2003/03/24
產品:藥劑及藥物;食品添加劑;醫用飲料;全供醫用或藥用的奶及乳製品、乳清及乳清的衍生產品,醫用飼料添加劑,營養補品及凝乳營養補品;滋養補品,維他命及礦物補品。
商標構成:
商標編號:N/11305 類別: 29
申請人:IImmunotec Research Limited, 292 Adrien Patenaude, Vaudreuil-Dorion, Quebec, J7V 5V5, Canada.
國籍:加拿大
活動:商業及工業
申請日期:2003/03/24
產品:天然乳製品及其衍生的食品;乳清;全屬第29類內。
商標構成:
商標編號:N/11354 類別: 5
申請人:Glaxosmithkline Biologicals, S.A., Rue de I' Institut 89, B-1330, Rixensart, Bélgica.
國籍:比利時
活動:商業及工業
申請日期:2003/04/01
產品:人類用藥品及藥物,疫苗。
商標構成:
商標編號:N/11355 類別: 5
申請人:Glaxosmithkline Biologicals, S.A., Rue de I' Institut 89, B-1330, Rixensart, Bélgica
國籍:比利時
活動:商業及工業
申請日期:2003/04/01
產品:人類用藥品及藥物,疫苗。
商標構成:
商標編號:N/11389 類別: 5
申請人:ICN Dutch Holdings B.V., Naritaweg 165, 1043 BW Amsterdam, The Netherlands.
國籍:荷蘭
活動:商業及工業
申請日期:2003/04/04
產品:藥劑。
商標構成:
優先權之要求:請求日期:2002/11/26;所屬國:比利時 - 盧森堡- 荷蘭;請求編號:1022523。
商標編號:N/11390 類別: 9
申請人:Advanced Micro Devices, Inc., One AMD Place, P. O. Box 3453, Sunnyvale, California 94088, E. U. A.
國籍:美國
活動:商業及工業
申請日期:2003/04/04
產品:電腦用硬件,包括電腦,鍵盤,打印機,調制解調器,半導體積體電路,電腦、通訊、編程邏輯及工作網絡用電路;記憶體的積體電路;電子電路板及記憶體板;子板,母板,晶片座,圖示卡,通訊卡;半導體晶片;微處理器,微處理調節器及微處理器周邊晶片;記憶體,包括非無恆性記憶體及編程邏輯設置,閃光記憶體,閃光記憶體卡,編程邏輯的電可編程序只讀存儲器、只讀存儲器及晶片,周邊記憶體器具;電腦用中央處理單位;通訊用設置;電話、無線通訊、廣播電台及電視台的傳送和接收用積體電路及電路板;電腦用硬件的附屬系統,如:輸入單位,輸出單位,記憶體控制器,打印機控制器,調制解調器的控制器,滑鼠控制器,微處理器的控制器及圖示控制器;計算及流動和個人通訊用設置;電腦及電腦周邊設置,部件、附件和組成部分;電腦用工作網絡及工作站,部件、附件和組成部分;與電腦一起使用的數據錄製及貯藏媒體;積體電路測試及編程用器具;電腦用軟件,包括管理工作網絡功能的電腦用軟件,便利人、機器與器具包括電腦之間的通訊之通訊軟件;操作系統用軟件,軟件的應用,電腦遊戲用軟件及三維圖示用軟件。
商標構成:
商標編號:N/11391 類別: 16
申請人:Advanced Micro Devices, Inc., One AMD Place, P. O. Box 3453, Sunnyvale, California 94088, E. U. A.
國籍:美國
活動:商業及工業
申請日期:2003/04/04
產品:技術手冊,數據印張,小冊子,使用者及電腦用硬件和軟件產品的文件。
商標構成:
商標編號:N/11392 類別: 42
申請人:Advanced Micro Devices, Inc., One AMD Place, P. O. Box 3453, Sunnyvale, California 94088, E. U. A.
國籍:美國
活動:商業及工業
申請日期:2003/04/04
服務:在半導體積體電路、記憶體設置、電腦用硬件及軟件的範疇內之製造合同,在半導體、積體電路、記憶體設置、電腦用硬件及軟件的範疇內新產品之諮詢、設計和發展;電腦用硬件及軟件的技術支援,電腦用軟件的保養及修理。
商標構成:
商標編號:N/11396 類別: 9
申請人:Belkin Corporation, 501 West Walnut Street, Compton, California 90220, E. U. A.
國籍:美國
活動:商業及工業
申請日期:2003/04/04
產品:電纜及電腦電纜用電連接器,數據轉移用開關盒,使多台電腦能夠合用進入一部如打印機的裝置或附屬裝置之電腦周邊設置,使單一台電腦能夠同時顯示於多部顯示器之電腦周邊設置,電湧保護器,在工作網絡連接多台電腦用的本地領域之工作網絡設置,電腦及打印機用支座,滑鼠墊,手腕靠墊,使數據能夠從電腦無線傳送至周邊設置及從電腦無線傳送至電腦,貯藏及運送手提電腦用的電腦盒;視聽附件,如音響、影像及插接器的電纜,揚聲器用的電線及電纜,立體聲插頭的適配器,複製用帶,盒式錄像帶及盒式錄音帶用的磁頭清潔用設置,視頻分流器,波段分離器,天線用開關,電視信號的擴大器,變壓器,偶合器,以及盒式錄像帶重繞用設置;電話用附件,如電話用組合線,電話聽筒用組合線,非纏繞式線用適配器,偶合器及變換器電話組合線,電話用插接器,電話用托座,通話接收器具用盒式錄音帶,通話接收器具用制動器,無線電話用替換電池組,以及無線電話用天線,全屬第9類內。
商標構成:
商標編號:N/11408 類別: 32
申請人:北京燕京啤酒集團公司,場所:中國北京市順義縣城南。
國籍:中國
活動:工業
申請日期:2003/04/08
產品:啤酒;無酒精飲料。
商標構成:
商標編號:N/11409 類別: 30
申請人:陳朝暉,場所:中國成都市青羊區金河路57號。
國籍:中國
活動:工業
申請日期:2003/04/08
產品:粉絲(條);馬鈴薯粉;食用澱粉產品;地瓜粉;食鹽;調味品;含澱粉食物;食用澱粉;方便麵;食用土豆粉。
商標構成:
商標編號:N/11410 類別: 7
申請人:格雷電動工具(蘇州)有限公司,場所:中國蘇州工業園區類葑示範區洋板涇工業小區揚清路11號。
國籍:中國
活動:工業
申請日期:2003/04/08
產品:農業機械;木材加工機;刨削機;機鋸(機器);雕刻機;廚房用電動機器;起重葫蘆;切割機;機械加工裝置;金屬加工機械;鑽床;拋光機器和設備(電動的);非手工操作的手工具;噴漆槍;馬達或引擎起動器;泵(機器、發動機或馬達部件);空氣壓縮機;電焊機;電動清潔機械和設備;電動擦鞋機;粉碎機;電動開關門器。
商標構成:
商標編號:N/11411 類別: 25
申請人:廣東“自由鳥”服裝有限公司,場所:中國廣東省廣州市番禺區大崗鎮環西路工業村前座。
國籍:中國
活動:商業
申請日期:2003/04/09
產品:服裝;襯衫;皮衣;外套;針織服裝;T恤衫;大衣;風衣;羽絨服裝;嬰兒服裝;游泳褲;防水服;化妝舞會用服裝;足球鞋;鞋;帽;襪;手套(服裝);領帶;皮帶(服飾用);婚紗;圍巾;裙子。
商標構成:
商標編號:N/11412 類別: 30
申請人:Société des Produits Nestlé S.A., Vevey, Suíça.
國籍:瑞士
活動:商業及工業
申請日期:2003/04/09
產品:咖啡,咖啡精及以咖啡為主的製劑;咖啡代用品及咖啡精代用品;茶,茶精及以茶為主的製劑;冰茶,可可及以可可為主的食物,巧克力,巧克力製品,糖果,甜食,糖;代糖;麵包製品,麵包,酵素,糕點;餅乾,蛋糕,甜品,布丁;雪糕,製雪糕用的產品;蜂蜜及蜂蜜代用品;早餐用的穀物,米,麵,米、麵粉或穀物製食品,亦可為即食式形式的;醬汁;食物用的調味香料或調味品,沙律醬,蛋黃油。
商標構成:
商標編號:N/11413 類別: 32
申請人:Société des Produits Nestlé S.A., Vevey, Suíça.
國籍:瑞士
活動:商業及工業
申請日期:2003/04/09
產品:啤酒,礦泉水及其他不含酒精飲料,糖漿,製造不含酒精飲料用的濃縮液及精華液,果汁。
商標構成:
商標編號:N/11414 類別: 12
申請人:Smart GmbH, Leibnizstrasse 2, 71032 Böblingen, Germany.
國籍:德國
活動:商業及工業
申請日期:2003/04/09
產品:機動車輛及其部件。
商標構成:
商標編號:N/11415 類別: 28
申請人:Smart GmbH, Leibnizstrasse 2, 71032 Böblingen, Germany.
國籍:德國
活動:商業及工業
申請日期:2003/04/09
產品:玩具,娛樂品,消遣品,模型車。
商標構成:
商標編號:N/11416 類別: 32
申請人:Kirin Beer Kabushiki Kaisha (also trading as Kirin Brewery Co., Ltd.), 10-1, Shinkawa 2-Chome, Chuo-Ku, Tokyo, Japão.
國籍:日本
活動:商業及工業
申請日期:2003/04/11
產品:啤酒,清涼飲料,果汁,蔬菜汁,乳清製飲料,製啤酒用的啤酒花提煉物。
商標構成:
商標編號:N/11417 類別: 25
申請人:Bigpoint Limited, P. O. Box 3340, Road Town, Tortola, Ilhas Virgens Britânicas.
國籍:英國處女島
活動:商業及工業
申請日期:2003/04/11
產品:服裝,鞋,帽。
商標構成:
商標編號:N/11418 類別: 30
申請人:Starbucks Corporation, 2401 Utah Avenue South, Seattle, Washington 98134, United States of America.
國籍:美國
活動:商業及工業
申請日期:2003/04/11
產品:咖啡粉和咖啡豆。
商標構成:
優先權之要求:請求日期:2003/02/19;所屬國:加拿大;請求編號:1168720。
商標編號:N/11419 類別: 36
申請人:Starbucks Corporation, 2401 Utah Avenue South, Seattle, Washington 98134, United States of America.
國籍:美國
活動:商業及工業
申請日期:2003/04/11
服務:金融服務,尤指借貸咭,信貸咭及庫存利益之服務。
商標構成:
優先權之要求:請求日期:2002/10/21;所屬國:加拿大;請求編號:1156507。
通知 :由呈交澳門特區註冊請求書日期計算三個月期限內,必須附上註冊請求書經認證之副本,作為優先權之依據。
商標編號:N/11420 類別: 29
申請人:Monitor Ltd., Craigmuir Chambers, Road Town, Tortola, British Virgin Islands.
國籍:英屬處女島
活動:商業及工業
申請日期:2003/04/11
產品:肉,魚,家禽及野味;肉汁;乾製及煮熟的罐頭水果和蔬菜;果凍,果醬,水果醬汁;蛋,奶及乳製品;食用油及油脂;烘乾的花生和果仁,已處理的硬殼水果,花生(食用)。
商標構成:
商標編號:N/11422 類別: 30
申請人:Hoi Sio Hong, Rua de Pescadores, n.º 50, edifício Industrial Ocean, 6.º andar C, Macau
國籍:中國
活動:商業
申請日期:2003/04/11
產品:米。
商標構成:
顏色之要求:中文字:紅色字配金色邊,圖案:金色底紅色邊,英文字:紅色。
商標編號:N/11423 類別: 32
申請人:Watson Enterprises Limited, Trident Charmbers, Road Town, Tortola, British Virgin Islands.
國籍:英屬處女島
活動:商業及工業
申請日期:2003/04/15
產品:礦泉水及汽水和其他非酒精飲料;飲用蒸餾水。
商標構成:
商標編號:N/11424 類別: 5
申請人:OM Pharma, 22, rue du Bois-du-Lan, P. O. Box 84, 1217 Meyrin, 2/Geneva, Switzerland.
國籍:瑞士
活動:商業及工業
申請日期:2003/04/15
產品:人用葯品。
商標構成:
商標編號:N/11425 類別: 41
申請人:NBA Properties, Inc., Olympic Tower, 645 Fifth Avenue, New York, N. Y. 10022, United States of America.
國籍:美國紐約州
活動:商業及工業
申請日期:2003/04/15
服務:與籃球方面的電視和無線電節目有關的娛樂及教育服務以及播放現場籃球賽事和籃球表演;製作及透過無線電和電視廣播分送籃球賽事、籃球項目及與籃球有關的節目;操作及組織籃球討論會和教練員討論會及籃球項目;介紹電視重點新聞、互動電視重點新聞、視像錄製品、視像連續錄製品、視像互動重點新聞精選、無線電節目、重點無線電新聞及與籃球有關的音響錄製品的互聯網頁;介紹資訊、統計資料的互聯網頁;資料數據庫,統計資料數據庫,投票資料及與籃球有關的互動投票資料;在線提供與籃球有關的資訊化數據庫;介紹在線電腦遊戲、視像遊戲、互動視像遊戲、動作實踐遊戲、娛樂廳遊戲、兒童及成人節日遊戲、棋盤遊戲、人所共識的遊戲及圖案和方格填色書本的互聯網頁;透過互聯網提供籃球資訊。
商標構成:
商標編號:N/11426 類別: 41
申請人:NBA Properties, Inc., Olympic Tower, 645 Fifth Avenue, New York, N. Y. 10022, United States of America.
國籍:美國紐約州
活動:商業及工業
申請日期:2003/04/15
服務:與籃球方面的電視和無線電節目有關的娛樂及教育服務以及播放現場籃球賽事和籃球表演;製作及透過無線電和電視廣播分送籃球賽事、籃球項目及與籃球有關的節目;操作及組織籃球討論會和教練員討論會及籃球項目;介紹電視重點新聞、互動電視重點新聞、視像錄製品、視像連續錄製品、視像互動重點新聞精選、無線電節目、重點無線電新聞及與籃球有關的音響錄製品的互聯網頁;介紹資訊、統計資料的互聯網頁;資料數據庫,統計資料數據庫,投票資料及與籃球有關的互動投票資料;在線提供與籃球有關的資訊化數據庫;介紹在線電腦遊戲、視像遊戲、互動視像遊戲、動作實踐遊戲、娛樂廳遊戲、兒童及成人節日遊戲、棋盤遊戲、人所共識的遊戲及圖案和方格填色書本的互聯網頁;透過互聯網提供籃球資訊。
商標構成:
商標編號:N/11427 類別: 34
申請人:Philip Morris Products S.A., Quai Jeanrenaud 3, 2000 Neuchatel, Suíça.
國籍:瑞士
活動:商業及工業
申請日期:2003/04/16
產品:未加工或已加工的煙草,包括雪茄煙,香煙,小雪茄煙,製香煙用的捲煙煙草,煙斗用煙草,嚼煙,鼻煙,煙草代用品(非醫用的);吸煙者用煙具,包括煙紙和煙管,香煙過濾咀,非貴重金屬、其合金或鍍有非貴重金屬所製的煙草罐、香煙盒及煙灰缸;煙斗,袖珍捲煙器,打火機,火柴。
商標構成:
商標編號:N/11429 類別: 5
申請人:Max Zeller Söhne Aktiengesellschaft, Seeb-lickstrasse 4, CH-8596 Romanshorn, Suíça.
國籍:瑞士
活動:商業及工業
申請日期:2003/04/16
產品:葯劑。
商標構成:
商標編號:N/11430 類別: 9
申請人:NEC Corporation, 7-1, Shiba 5-chome, Minato-ku, Tokyo, Japão.
國籍:日本
活動:商業及工業
申請日期:2003/04/16
產品:在個人證明範疇內驗證及鑒別個人/使用者的電子設置;電腦硬件及軟件;用於處理、貯藏及進入有關樣貌資料以便在個人證明範疇內驗證及鑒別個人/使用者的電腦軟件;用於上述設置及用於樣貌辨認的電腦軟件。
商標構成:
商標編號:N/11431 類別: 35
申請人:NEC Corporation, 7-1, Shiba 5-chome, Minato-ku, Tokyo, Japão.
國籍:日本
活動:商業及工業
申請日期:2003/04/16
服務:關於在個人證明及樣貌辨認範疇內驗證及鑒別個人/使用者的電子設置領域內之諮詢服務。
商標構成:
商標編號:N/11432 類別: 37
申請人:NEC Corporation, 7-1, Shiba 5-chome, Minato-ku, Tokyo, Japão.
國籍:日本
活動:商業及工業
申請日期:2003/04/16
服務:在個人證明範疇內驗證及鑒別個人/使用者的電子設置之保養;電腦硬件之保養。
商標構成:
通知:根據十二月十三日第97/99/M號法令第二百零九條第一至三款規定,刪除了“ 電腦軟件之保養;用於處理、貯藏及進入有關樣貌資料以便在個人證明範疇內驗證及鑒別個人/使用者的電腦軟件之保養。”因屬其他類別。
商標編號:N/11433 類別: 42
申請人:NEC Corporation, 7-1, Shiba 5-chome, Minato-ku, Tokyo, Japão
國籍:日本
活動:商業及工業
申請日期:2003/04/16
服務:用於在個人證明範疇內驗證及鑒別個人/使用者的電子設置及用於樣貌辨認的電腦軟件之保養。
商標構成:
商標編號:N/11434 類別: 32
申請人:佳怡貿易有限公司,場所:澳門漁翁街166號永好工業大廈10樓B座。
國籍:根據澳門法例成立
活動:商業
申請日期:2003/04/16
產品:蒸餾水,純淨飲用水,汽水及其他不含酒精的飲料,水果飲料及果汁。
商標構成:
顏色之要求:前排山是草綠色。後排山是藍綠色。中間靠左角有一河流為白色。右上角有一綠色圓圈,內之山形和星為白色。
商標編號:N/11435 類別: 42
申請人:娛樂旅遊推廣(澳門)有限公司,場所:澳門友誼大馬路555號澳門置地廣場誠興銀行中心20樓。
國籍:根據澳門法例成立
活動:商業及工業
申請日期:2003/04/24
服務:以電子科技計算消費積分(為使客戶於消費時換取禮物或現金消費額)之積分卡之服務。
商標構成:
顏色之要求:“MET”字須正楷體及要橙色配灰色陰影,“CARD”字須正楷體及要紅色配白色陰影,“澳”字和“門”字白色,“旅遊”藍色圍灰色邊而底色為兩橙色白邊圓形圖案,“卡”字白色圍粉紅邊,此商標底色為紫色。
商標編號:N/11436 類別: 32
申請人:Brouwerij Martens, Reppelerweg 1, 3950 Bocholt, Belgium.
國籍:比利時
活動:商業及工業
申請日期:2003/04/17
產品:啤酒,麥芽淡啤酒。
商標構成:
商標編號:N/11437 類別: 32
申請人:Brouwerij Martens, Reppelerweg 1, 3950 Bocholt, Belgium.
國籍:比利時
活動:商業及工業
申請日期:2003/04/17
產品:啤酒,麥芽淡啤酒。
商標構成:
商標編號:N/11438 類別: 25
申請人:Shantou S.E.Z. Ye Sheng Garment Co., Ltd., 2/F., Block 6, Longhu Industry Area, n.º 10 Chang Jiang Road, Santou, Guangdong Province, People's Republic of China.
國籍:中國
活動:商業及工業
申請日期:2003/04/17
產品:皮製服裝,女士用緊身服裝,長褲,襯衫,防風用襯衣,內衣,服裝,全屬第25類內。
商標構成:
顏色之要求:綠色和白色。
商標編號:N/11439 類別: 12
申請人: Nissan Jidosha Kabushiki Kaisha (Nissan Motor Co., Ltd.), n.º 2 Takaracho, Kanagawa-ku, Yokohama-shi, Kanagawa-ken, Japan.
國籍:日本
活動:商業及工業
申請日期:2003/04/17
產品:車輛;陸、空、海用運輸器。
商標構成:
商標編號:N/11440 類別: 12
申請人:Nissan Jidosha Kabushiki Kaisha (Nissan Motor Co., Ltd.), n.º 2 Takaracho, Kanagawa-ku, Yokohama-shi, Kanagawa-ken, Japan.
國籍:日本
活動:商業及工業
申請日期:2003/04/17
產品:車輛;陸、空、海用運輸器。
商標構成:
商標編號:N/11441 類別: 2
申請人: 高仕漆(亞洲)化工有限公司,場所:澳門新馬路99號南華商業大廈6樓607室。
國籍:根據澳門法例成立
活動:商業
申請日期:2003/04/17
產品:顏料、油漆、塗料。
商標構成:
顏色之要求:圖案由藍色、橙色及綠色組成。中文字:高仕漆為綠色底、灰色字。英文字母:K,U及S為黑色底、橙色字。英文字母:O由橙色及綠色組成。英文字母:I為黑色底,由紅色及橙色組成。
商標編號:N/11442 類別: 34
申請人:Ardath Tobacco Company Limited, Globe House, 4 Temple Place, London WC2R 2PG, England.
國籍:英國
活動:商業及工業
申請日期:2003/04/21
產品:香煙,煙草,煙草衍生產品,煙具,打火機,火柴。
商標構成:
商標編號:N/11443 類別: 9
申請人:Bear Factory Limited, 188-196 Regent Street, London W1R 6BT, United Kingdom.
國籍:英國
活動:商業及工業
申請日期:2003/04/22
產品:電動、電子、科學、光學、攝影、廣播電台的接收、廣播電台的傳送、相互通訊、電話、聲音的重放、聲音的錄製器具及儀器;電腦;電腦程式,電腦軟件;影像重放及影像錄製的器具;視像遊戲的娛樂器具;適用於電視接收器供娛樂的電子器具;投幣或代用幣啟動式的娛樂電子器具;教學及教育器具及儀器;羅盤(非繪圖用);計步器;計數器具,速度計數器,步程儀(里程記錄器);唱機的錄製品;磁帶;計算機;遙控的電動器具;上述產品用的組成部分及附件。
商標構成:
商標編號:N/11444 類別: 25
申請人:Bear Factory Limited, 188-196 Regent Street, London W1R 6BT, United Kingdom.
國籍:英國
活動:商業及工業
申請日期:2003/04/22
產品:外穿服裝產品,運動服裝產品,T恤,鞋。
商標構成:
商標編號:N/11445 類別: 16
申請人:Bear Factory Limited, 188-196 Regent Street, London W1R 6BT, United Kingdom.
國籍:英國
活動:商業及工業
申請日期:2003/04/22
產品:印刷品,印刷刊物,書籍;文具用品,紙,紙製品,紙板,紙板製品,包裝及裝箱材料;書寫工具及墨水;一般的遊戲紙牌,海報,繪圖尺,橡皮,轉印圖案(移印畫),著色冊及繪畫冊;教學及教育材料;藝術家用材料(顏料或清漆除外),畫筆,畫架。
商標構成:
商標編號:N/11446 類別: 28
申請人:Bear Factory Limited, 188-196 Regent Street, London W1R 6BT, United Kingdom.
國籍:英國
活動:商業及工業
申請日期:2003/04/22
產品:玩具、遊戲(一般的遊戲紙牌除外)及娛樂品;體育及運動用品(服裝除外);裝飾物及裝飾品(瓦斯燈或電燈泡除外),全供聖誕樹用。
商標構成:
商標編號:N/11452 類別: 5
申請人:Tong Wing Ming, 10, Beco do Gonçalo, Edifício Siu Cheong, 2B, Macau.
國籍:中國
活動:商業及工業
申請日期:2003/04/24
產品:中成藥品。
商標構成:
顏色之要求:咖啡色,湖水藍色,紅色。
商標編號:N/11453 類別: 14
申請人:Montres Tudor S.A., 3, rue François-Dussaud, 1211 Geneva 24, Switzerland.
國籍:瑞士
活動:商業及工業
申請日期:2003/04/24
產品:貴重金屬及其合金以及貴重金屬產品或鍍有貴重金屬的產品;鐘錶和計時器具及儀器;腕錶;掛鐘;全用於腕錶或掛鐘的外殼、機械結構、錶盤、彈簧及玻璃;腕錶用鏈子、帶及手鐲;珠寶;袖口鈕、寶石及半寶石;日晷;所有這些物品用零件及附件。
商標構成:
商標編號:N/11454 類別: 14
申請人:Montres Tudor S.A., 3, rue François-Dussaud, 1211 Geneva 24, Switzerland.
國籍:瑞士
活動:商業及工業
申請日期:2003/04/24
產品:貴重金屬及其合金以及貴重金屬產品或鍍有貴重金屬的產品;鐘錶和計時器具及儀器;腕錶;掛鐘;全用於腕錶或掛鐘的外殼、機械結構、錶盤、彈簧及玻璃;腕錶用鏈子、帶及手鐲;珠寶;袖口鈕、寶石及半寶石;日晷;所有這些物品用零件及附件。
商標構成:
商標編號:N/11455 類別: 14
申請人: Montres Tudor S.A., 3, rue François-Dussaud, 1211 Geneva 24, Switzerland.
國籍:瑞士
活動:商業及工業
申請日期:2003/04/24
產品:貴重金屬及其合金以及貴重金屬產品或鍍有貴重金屬的產品;鐘錶和計時器具及儀器;腕錶;掛鐘;全用於腕錶或掛鐘的外殼、機械結構、錶盤、彈簧及玻璃;腕錶用鏈子、帶及手鐲;珠寶;袖口鈕、寶石及半寶石;日晷;所有這些物品用零件及附件。
商標構成:
商標編號:N/11456 類別: 14
申請人:Montres Tudor S.A., 3, rue François-Dussaud, 1211 Geneva 24, Switzerland.
國籍:瑞士
活動:商業及工業
申請日期:2003/04/24
產品:貴重金屬及其合金以及貴重金屬產品或鍍有貴重金屬的產品;鐘錶和計時器具及儀器;腕錶;掛鐘;全用於腕錶或掛鐘的外殼、機械結構、錶盤、彈簧及玻璃;腕錶用鏈子、帶及手鐲;珠寶;袖口鈕、寶石及半寶石;日晷;所有這些物品用零件及附件。
商標構成:
商標編號:N/11460 類別: 16
申請人:Angel Co., Ltd., 10-1, Kawarayamachi 2-chome, Chuo-ku, Osaka-shi, Osaka 542-0066, Japan.
國籍:日本
活動:商業及工業
申請日期:2003/04/28
產品:紙牌。
商標構成:
顏色之要求:如提交樣版的藍色和白色。
商標編號:N/11461 類別: 5
申請人:山東東阿阿膠股份有限公司,場所:中國山東省東阿縣阿膠街78號。
國籍:中國
活動:商業及工業
申請日期:2003/04/28
產品:中藥,中成藥,口服藥液,醫藥製劑,藥用糖漿,醫用營養飲料,西藥;醫用生物製劑,臨床試驗用製劑,醫用營養品,醫用營養補充品,藥用化學製劑。
商標構成:
商標編號:N/11462 類別: 30
申請人:Mars, Incorporated, soc. org. e existindo segundo as leis do Estado de Delaware, E.U.A., 6885 Elm Street McLean Virginia 22101-3883, Delaware 19801, Estados Unidos da América.
國籍:美國
活動:商業及工業
申請日期:2003/04/29
產品:非醫用糖果,巧克力,穀物及穀類製品,冷凍糖果,塗於餅乾或麵包上作加強味道用的甜及美味塗醬,雪糕及甜品用塗醬,蛋糕,撻。
商標構成:
商標編號:N/11466 類別: 25
申請人:Poco Hippo Company Limited, 4th Floor, Wang Fai Industrial Building, 29 Luk Hop Street, San Po Kong, Kowloon, Hong Kong.
國籍:根據香港法例成立
活動:商業及工業
申請日期:2003/04/30
產品:服裝,鞋,帽。
商標構成:
商標編號:N/11467 類別: 16
申請人:Poco Hippo Company Limited, 4th Floor, Wang Fai Industrial Building, 29 Luk Hop Street, San Po Kong, Kowloon, Hong Kong.
國籍:根據香港法例成立
活動:商業及工業
申請日期:2003/04/30
產品:不屬別類的紙,紙板及其製品;印刷品;文具;不屬別類的包裝用塑料物品。
商標構成:
商標編號:N/11468 類別: 25
申請人:Poco Hippo Company Limited, 4th Floor, Wang Fai Industrial Building, 29 Luk Hop Street, San Po Kong, Kowloon, Hong Kong
國籍:根據香港法例成立
活動:商業及工業
申請日期:2003/04/30
產品:服裝,鞋,帽。
商標構成:
商標編號:N/11469 類別: 35
申請人:Poco Hippo Company Limited, 4th Floor, Wang Fai Industrial Building, 29 Luk Hop Street, San Po Kong, Kowloon, Hong Kong.
國籍:根據香港法例成立
活動:商業及工業
申請日期:2003/04/30
服務:兒童及嬰兒用的服裝、鞋、帽、床上用品、潮流物品、配飾、娛樂品、玩具及書籍的零售和批發服務。
商標構成:
商標編號:N/11481 類別: 12
申請人:Shimano Inc., 3-77 Oimatsu-cho, Sakai, Osaka, Japan..
國籍:日本
活動:商業及工業
申請日期:2003/05/05
產品:自行車,自行車用零件及附件,如:軸、軸的內部齒輪組、自行車用發電機、快速釋放制動器的控制桿、速度的控制桿、改變速度用控制桿、前部離合器、後部離合器、鏈條導軌、自由輪、鏈條用齒輪傳動系統、滑輪、鏈條、鏈條導向裝置、變速電纜線、腳蹬板的軸、腳蹬板軸的組合、輪子用鏈條、腳蹬板、踏腳套、制動器的控制桿、前部制動器、後部制動器、制動器用電纜線、制動片、輪圈、輪子、輪輻、輪輻套、扶手、車座用支柱、快速釋放的車座支柱、安裝車架用零件、車架、懸架、車把、車把軸、拉手用吊帶、車座、擋泥板、支架、行李箱、鈴、車用喇叭、後視鏡、由電腦控制的離合器、自行車用車輪袋、自行車車座用袋、運送自行車用袋、自行車用防盜警報器、自行車用防盜裝置、自行車用方向指示器。
商標構成:
商標編號:N/11482 類別: 18
申請人:Shimano Inc., 3-77 Oimatsu-cho, Sakai, Osaka, Japan.
國籍:日本
活動:商業及工業
申請日期:2003/05/05
產品:旅行袋,購物袋,自行車用帶輪袋,自行車用背包,運送自行車用袋(空的),露營用袋,背包,衣服用旅行袋,文件夾,雨傘,帶輪袋,捕魚用袋,小錢袋,腰包。
商標構成:
商標編號:N/11483 類別: 25
申請人:Shimano Inc., 3-77 Oimatsu-cho, Sakai, Osaka, Japan.
國籍:日本
活動:商業及工業
申請日期:2003/05/05
產品:鞋及靴子,乘自行車用的特別鞋,捕魚用鞋,捕魚用橡膠靴子,高爾夫球鞋,滑雪板用靴子,服裝,體育運動用服裝,自行車運動員用服裝,體操用服裝,外層服裝,防雨用服裝,風雨衣,雨衣,無邊圓帽,手套,長襪,襯衫,夾克衫,針織襯衣,捕魚用背心,長褲,緊身衣褲及內衣。
商標構成:
商標編號:N/11484 類別: 28
申請人:Shimano Inc., 3-77 Oimatsu-cho, Sakai, Osaka, Japan.
國籍:日本
活動:商業及工業
申請日期:2003/05/05
產品:捕魚裝備,包括繞線輪、釣魚竿、線條,導線,魚鉤,誘餌,人造魚餌,捕魚用柳條筐,浮標,鉛墜,釣魚用魚網,釣魚用袋,釣魚用手套,釣魚竿用盒及捕魚裝備用儲存器;高爾夫球棒,高爾夫球的球,高爾夫球袋,高爾夫球棒用套子,高爾夫球手套及高爾夫球的發球座;滑雪板用束帶。
商標構成:
商標編號:N/11485 類別: 12
申請人:Shimano Inc., 3-77 Oimatsu-cho, Sakai, Osaka, Japan.
國籍:日本
活動:商業及工業
申請日期:2003/05/05
產品:自行車,自行車用零件及附件,如:軸、軸的內部齒輪組、自行車用發電機、快速釋放制動器的控制桿、速度的控制桿、改變速度用控制桿、前部離合器、後部離合器、鏈條導軌、自由輪、鏈條用齒輪傳動系統、滑輪、鏈條、鏈條導向裝置、變速電纜線、腳蹬板的軸、腳蹬板軸的組合、輪子用鏈條、腳蹬板、踏腳套、制動器的控制桿、前部制動器、後部制動器、制動器用電纜線、制動片、輪圈、輪子、輪輻、輪輻套、扶手、車座用支柱、快速釋放的車座支柱、安裝車架用零件、車架、懸架、車把、車把軸、拉手用吊帶、車座、擋泥板、支架、行李箱、鈴、車用喇叭、後視鏡、由電腦控制的離合器、自行車用車輪袋、自行車車座用袋、運送自行車用袋、自行車用防盜警報器、自行車用防盜裝置、自行車用方向指示器。
商標構成:
商標編號:N/11486 類別: 25
申請人:Shimano Inc., 3-77 Oimatsu-cho, Sakai, Osaka, Japan.
國籍:日本
活動:商業及工業
申請日期:2003/05/05
產品:鞋及靴子,乘自行車用的特別鞋,捕魚用鞋,捕魚用橡膠靴子,高爾夫球鞋,滑雪板用靴子,服裝,體育運動用服裝,自行車運動員用服裝,體操用服裝,外層服裝,防雨用服裝,風雨衣,雨衣,無邊圓帽,手套,長襪,襯衫,夾克衫,針織襯衣,捕魚用背心,長褲,緊身衣褲及內衣。
商標構成:
商標編號:N/11487 類別: 28
申請人:Shimano Inc., 3-77 Oimatsu-cho, Sakai, Osaka, Japan
國籍:日本
活動:商業及工業
申請日期:2003/05/05
產品:捕魚裝備,包括繞線輪、釣魚竿、線條,導線,魚鉤,誘餌,人造魚餌,捕魚用柳條筐,浮標,鉛墜,釣魚用魚網,釣魚用袋,釣魚用手套,釣魚竿用盒及捕魚裝備用儲存器;高爾夫球棒,高爾夫球的球,高爾夫球袋,高爾夫球棒用套子,高爾夫球手套及高爾夫球的發球座;滑雪板用束帶。
商標構成:
根據十二月十三日第97/99/M號法令第十條第一款d)項、第二款及第二百七十五條至第二百七十七條之規定,可於本公佈日起計一個月期限內就下列批示向初級法院提起上訴。
商標之保護
批給
續展
拒絕
放棄
附註
聲明異議
因合議庭裁判而重新有效
備註:根據二零零三年五月七日之合議庭裁判,由中級法院宣讀,關於卷宗編號N/6290,命令作出有關註冊,廢止被上訴之判決。
部分拒絕
備註:根據12月13日第97/99/M號法令第214條第2款b)項結合第204條和第216條,拒絕“錄製及/或重放用的磁性媒體,為磁帶狀、卡狀及碟片狀,用以錄製聲音及/或影像及/或數據,及/或為磁帶狀、卡狀及碟片狀,其內預錄了聲音及/或影像及/或數據,作重放之用;錄製及/或重放用的光學媒體,為卡狀及碟片狀,用以錄製聲音及/或影像及/或數據,及/或為卡狀及碟片狀,其內預錄了聲音及/或影像及/或數據,作重放之用;各種電池;用於錄製及/或重放的附集成電路記憶體的數據及/或聲音及/或影像工具,包括集成電路卡及集成電路記憶卡;電腦”之註冊。
營業場所之保護
批給
更 正
2003年4月2日第14期,第二組之《澳門特別行政區公報》:
商標編號N/10905,N/10907及N/10909——在產品名單內 ,原文為:“…,玩具匕首,玩具小玩偶,…”;
應改為:“…,玩具匕首,電子啟動式玩具機動化車輛,玩具小玩偶,…”;
商標編號N/10623至N/10630,N/10632至N/10636——在批給表 (註冊權利人之名稱)欄目內 ,原文為:“Federation Internationale de Football Association”;
應改為:“Fédération Internationale de Football Association (FIFA)”。
2003年5月7日第19期,第二組之《澳門特別行政區公報》:
商標編號N/762及N/1007——在附註表(申請人/註冊權利人)欄目內,原文為:“Balloy Schuhfabriken AG”;
應改為:“Bally Schuhfabriken AG”;
商標編號N/10631——在批給表 (註冊權利人之名稱)欄目內 ,原文為:“Federation Internationale de Football Association”;
應改為:“Fédération Internationale de Football Association (FIFA)”;
商標編號N/10813——在產品名單內 ,原文為 :“…,如燕窩 。”
應改為 :“…,如即食、煮熟或預製好的燕窩。”
商標編號N/11236 ——在產品名單內 ,原文為 :“…;其他家用電動器具;…”
應改為:“…;電動平底棒狀式熨斗 ,電動捲髮器,電動棒狀式燙髮器 ,面部用電動離子蒸汽機 ,電動捲睫毛器 ,電線用導管;…”;
商標編號5417/INPI(5275-M)——在續展表(註冊權利人之名稱)欄目內,原文為:“R. J. Reynolds Tobacco Company”;
應改為:“Japan Tobacco, Inc.”;
商標編號11968/INPI(11851-M)——在續展表(註冊權利人之名稱)欄目內,原文為:“Bally International AG”;
應改為:“Bally Schuhfabriken AG”;
商標編號N/1560,12903/INPI(12788-M)及12904/INPI(12789-M)——在附註表(申請人/註冊權利人)欄目內,原文為:“Vacheron & Constatin S.A.”;
應改為:“Vacheron & Constantin S.A.”;
商標編號15112/INPI(15071-M) ——在附註表(更改)欄目內,原文為:“RTDB, Inc.”;
應改為:“RTBD, Inc.”;
商標編號13439/INPI(13362-M) ——在附註表(更改)欄目內,原文為:“Zaehlerweg 4, Zug CH 6300, Suíça”;
應改為:“Zaehlerweg 4, 6300 Zug, Suíça”;
商標編號14726/INPI(14653-M) ——在附註表內,原文為:“Barold...”;
應改為:“Baroid...”;
商標編號2463/INPI(2359-M),2465/INPI(2361-M),3179/INPI(3058-M)及3180/INPI(3059-M)——在附註表內,原文為:“Fedral-Mogul Ignition Company”;
應改為:“Federal-Mogul Ignition Company”;
商標編號8388/INPI(8098-M),8389/INPI(8099-M),8390/INPI(8100-M),8391/INPI(8101-M),8392/INPI(8102-M)及8393/INPI(8103-M)——在附註表(申請人/註冊權利人)欄目內,原文為:“City Chan Company Limited”;
應改為:“City Chain Company Limited”;
商標編號12274/INPI(12190-M),12275/INPI(12191-M)及12276/INPI(12192-M)——在附註表內,原文為:“Mövenpich AG Zurich”及“Mövenpich Holding”;
應改為:“Mövenpick AG Zurich”及“Mövenpick Holding”。
二零零三年五月十六日於經濟局
代局長 蘇添平
發明專利之保護
根據十二月十三日第97/99/M號法令第十條及第八十三條之規定,公布下列在澳門特別行政區提出的發明專利註冊申請,並按照相同法規第八十四條,自此公布日起至授予專利之日止,任何第三人均得提出聲明異議。
發明專利公佈
發明專利:I/000079
申請日期:2001/02/01
申請人:Angel Co., Ltd e Suzuki Takeichi
國籍:日本
住址/地址:10-1 Kawaraya-cho 2-chome, Chuo-ku Osaka-shi, Osaka 542-0066 e Aakusu A Room 105, 1-810 Imadera, Oume-shi, Tokyo 198-0021, Japão
標題:辨別紙牌用儀器。
摘要:【目的】本發明的目的是提供一種辨別紙牌用的設備,它在短時間內辨別用在遊戲中的一副紙牌的每張紙牌,並且,當辨別出紙牌多或少時,顯示相應的紙牌。
【解決問題的裝置】辨別紙牌用的設備1包括紙牌傳遞元件2、清點從2傳遞的紙牌A(下面簡稱為【紙牌A】)的數量的數量檢測傳感器3、檢測紙牌 A的種類標記(標記)的種類標記檢測元件4、具有基于種類標記檢測元件4的檢測結果來辨別紙牌A的種類的辨別元件5的控制元件9、分類紙牌A的分類元件7和一包括臨控器的顯示元件8。
分類:A63F 1/00
發明人:Suzuki Takeichi
優先權日期:2000/02/01
優先權國家:日本
優先權編號:2000-23463
優先權日期 :2000/11/30
優先權國家:日本
優先權編號:2000-365580
附圖
發明專利:I/000080
申請日期:2001/06/15
申請人:四川省成都全興酒廠
國籍:中國
住址/地址:中國四川省成都市人民中路二段68號全興大廈17樓
標題:一種帶裝飾的酒瓶及其製作工藝。
摘要:本發明涉及一種帶有裝飾圖案的酒瓶,包括一瓶體,用於盛裝液體;所述瓶體的底部設置有一向瓶體內部凸立的槽座,使所述瓶體形成一盛裝液體的空間以及一凹孔部,其特徵在於所述凹孔部的周壁進一步設置有裝飾圖案部。本發明還涉及製作帶裝飾的酒瓶的工藝。本發明的帶裝飾的酒瓶,可通過裝飾圖案部的變化表現各種圖案和色彩,使酒瓶的外觀更加美化,裝飾圖案與瓶體結合為一體,沒有多餘的配件,便於包裝和使用。
分類:A47J 27/00
發明人:楊肇基
黃健勇
陳小林
鮑雨
優先權日期:2000/06/15
優先權國家:中國
優先權編號:CN00 1 13024.2
附圖



發明專利:I/000081
申請日期:2001/07/25
申請人:Sunsfield International Limited
國籍:根據香港法例成立
住址/地址:Flat E, 32nd Floor, Block 5, Verbena Heights, 8 Mau Tai Road, Junk Bay, Kowloon, Hong Kong
標題:安全捲簾——本實用新型涉及一種捲簾,其用在商用房屋的入口處,如零售商店、飯店、娛樂中心或銀行等的入口。
摘要:用在商用房屋入口的安全捲簾(100),包括:一對沿入口左右兩側固定的開槽立柱(10);由立柱導引在立柱之間延伸以關閉入口的封閉裝置(20/30/40);在立柱(10)之間延伸的捲繞結構(50),使得該封閉裝置捲起而打開入口及滾落而封閉入口。該封閉裝置包括至少兩個封閉層(30/40)和照亮第一層(26)的電光源(26),第一層具有用於展示的廣告材料(34),第二層(40)透明以顯示廣告材料(34)並保護第一層。安全保護由第二層或第三層(20)提供。
分類:E06B 9/00
發明人:Yip Man Hing
優先權日期:2000/07/25
優先權國家:中國香港
優先權編號:00104615.7
附圖

發明專利:I/000084
申請日期:2001/10/26
申請人:Pevatec AS
國籍:挪威
住址/地址:Postboks 911 4606 Kristiansand Noruega
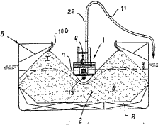
標題:含有高水份的固體物質之裝卸。
摘要:um método de carga e descarga de substâncias sólidas (6) que contém um alto nível de água de um transportador de carga (5). O transportador de carga (5) contém um ou mais contentores de carga (2) que recebem as substâncias sólidas (6), e as ditas substâncias sólidas (6), como contém um alto nível de água, forma-se uma camada de líquido (7) acima da substância sólida (6). A substância sólida (6) descarregada de cada um dos contentores de carga (2) através de uma bomba adequada (15) que é colocada numa plataforma flutuante (1) que se move livremente na camada de líquido (7) dentro do contentor de carga (2). A substância sólida (6) e a água são bombeados para o contentor de carga (2) por uma pré-determinada razão volumétrica e a água é inserida dentro do contentor de carga (2) por uma razão volumétrica que corresponde substancialmente com a razão de água que vai sendo descarregada. Adicionalmente é também uma plataforma flutuente (1) que contém uma estação de bombear (4) que se usa para carregar e descarregar o contentor de carga (5) transportando a substância sólida (6) contendo um alto nível de água, em que a dita plataforma flutuante (1) é adaptada ao ajuste do contentor de carga (2) juntamente com a substância sólida. A cabeça de sucção (13) da estação de bombear (4) é capaz de elevar ou baixar, conforme a plataforma flutuante (1).
分類:B03B 5/00
發明人:Per Vatne
Tore Hansen-Tagen
優先權日期:1998/12/23
優先權國家:挪威
優先權編號:19986101
優先權日期:1999/03/05
優先權國家:專利合作條約 PCT
優先權編號:PCT/N099/00079
附圖
發明專利:I/000085
申請日期:2001/12/13
申請人:和記電話有限公司
國籍:根據香港法例成立
住址/地址:香港夏愨道10號和記大廈22樓
標題:自動下載數據到移動計算裝置的方法及系統。
摘要:本發明提供了一種方法和裝置,通過此方法和裝置移動計算裝置,如個人數字助理(PDA),能夠通過一個無線移動電話從因特網自動下載預定的信息。所要下載的信息以及計劃的下載時間,可以是預定的以及用戶選定的信息和下載時間的混合設置。根據存儲在PDA中的計劃,通過無線移動電話而連接到因特網並下載所需信息。
分類:G06K 1/00
發明人:Toshiaki Tanaka (Surname: Tanaka)
優先權日期:2000/12/15
優先權國家:英國
優先權編號:GB0030677.9
附圖

二零零三年五月十六日於經濟局
代局長 蘇添平































