|
| |||||||||||
| Adaptações : | |||
| Alterações : | |||
| Diplomas relacionados : | |||
| Categorias relacionadas : | |||
| Notas em LegisMac | |||
Decreto-Lei n.º 47/96/M
de 26 de Agosto
As expressões constantes do presente diploma foram sujeitas à adaptação nos termos da Lei n.º 27/2024.
Alteração de expressão - Consulte também: Lei n.º 27/2024
Artigo 1.º
(Objecto)
É aprovado o Regulamento de Fundações, anexo ao presente diploma, e do qual faz parte integrante.
Artigo 2.º
(Fiscalização)
Compete à Direcção dos Serviços de Solos e Construção Urbana, adiante designada por DSSCU, e às demais entidades promotoras de obras públicas fiscalizar o cumprimento do Regulamento de Fundações e acompanhar a sua execução.
Artigo 3.º*
* Não está em vigor - Consulte também: Lei n.º 27/2024
Artigo 4.º
(Regime sancionatório)
O regime sancionatório aplicável pelo incumprimento do Regulamento de Fundações é objecto de diploma complementar.
Artigo 5.º*
* Não está em vigor - Consulte também: Lei n.º 27/2024
Artigo 6.º
(Entrada em vigor)
O presente diploma entra em vigor 60 dias após a sua publicação.
REGULAMENTO DE FUNDAÇÕES
CAPÍTULO I
Disposições gerais
Artigo 1.º
(Objecto)
1. O Regulamento de Fundações aplica-se aos aspectos geotécnicos do projecto de fundações de edifícios e de outras estruturas.
2. O Regulamento de Fundações tem em consideração os requisitos de resistência, estabilidade, funcionalidade e durabilidade das estruturas geotécnicas.
3. O Regulamento de Fundações deve ser utilizado em conjunto com o Regulamento de Segurança e Acções em Estruturas de Edifícios e Pontes, aprovado pelo Decreto-Lei n.º 56/96/M, de 16 de Setembro, o qual estabelece os critérios gerais de segurança e as metodologias utilizadas para a sua verificação.
4. O Regulamento de Fundações fornece as regras para cálculo das acções com origem no terreno, tais como os impulsos de terras. A quantificação das acções nos edifícios e obras de engenharia civil deve basear-se no Regulamento de Segurança e Acções em Estruturas de Edifícios e Pontes, aprovado pelo Decreto-Lei n.º 56/96/M, de 16 de Setembro.
5. No Regulamento de Fundações os aspectos relacionados com a execução apenas são considerados quando tal é necessário para indicação da qualidade dos materiais de construção e dos produtos a utilizar, bem como do nível da mão-de-obra que é necessário para satisfazer as condições básicas assumidas no projecto. As disposições relacionadas com a execução e a mão-de-obra devem ser consideradas como exigências mínimas, as quais podem ser objecto de aprofundamento em obras cuja complexidade o justifique.
Artigo 2.º
(Distinção entre Normas e Regras de Aplicação)
1. O presente Regulamento contém Normas e Regras de Aplicação.
2. As Normas estabelecem conceitos, definições, requisitos e métodos de análise para os quais não se admitem alternativas, excepto se estas forem indicadas especificamente no Regulamento.
3. As Regras de Aplicação são exemplos de métodos e procedimentos reconhecidos como adequados, que seguem as Normas e satisfazem os seus requisitos.
4. É permitido utilizar Regras de Aplicação alternativas, desde que se demonstre que estão de acordo com as Normas relevantes.
5. As Regras de Aplicação estão identificadas no texto pelas iniciais RA e são impressas em tipo menor.
Artigo 3.º
(Condições básicas)
Devem verificar-se as seguintes condições básicas:
a) os dados necessários para a execução do projecto são recolhidos, registados e interpretados de forma apropriada;
b) as obras são projectadas por profissionais com adequada qualificação e experiência;
c) existe continuidade e comunicação adequadas entre os intervenientes na recolha dos dados, no projecto e na construção;
d) existe supervisão e controlo de qualidade adequados nas fábricas, nos estaleiros e na obra;
e) a construção é efectuada de acordo com as normas e especificações relevantes, por pessoal com conhecimentos e experiência adequados;
f) os materiais de construção são utilizados conforme preconizado no presente Regulamento ou em documentos normativos e especificações relevantes;
g) a obra tem uma manutenção adequada;
h) a obra é utilizada de acordo com a finalidade definida no projecto.
Artigo 4.º
(Termos específicos utilizados no Regulamento de Fundações)
No Regulamento de Fundações são utilizados os seguintes termos específicos:
a) Experiência Comparável: informação documentada ou claramente estabelecida que diga respeito a estruturas semelhantes e ao mesmo tipo de terreno considerado no projecto, envolvendo os mesmos tipos de solo e rocha, e para o qual seja previsível um comportamento geotécnico semelhante. A informação recolhida no local é considerada particularmente relevante;
b) Terreno: solo, rocha ou aterro existentes no local antes do início da construção;
c) Estrutura: inclui, para além do conceito normalmente adoptado de estrutura, os aterros colocados durante a construção.
Artigo 5.º
(Unidades)
Devem ser utilizadas as unidades do Sistema Internacional (S.I.), de acordo com a Norma ISO 1 000.
RA — Para cálculos geotécnicos recomendam-se as seguintes unidades:
| - forças | kN, MN |
| - momentos | kNm |
| - massa específica | kg/m3, Mg/m3, t/m3 |
| - peso volúmico | kN/m3 |
| - tensões, pressões, resistências | kN/m2, kPa |
| - rigidez | MN/m2, MPa |
| - coeficiente de permeabilidade | m/s, m/ano |
| - coeficiente de consolidação | m2/s, m2/ano |
Artigo 6.º
(Simbologia)
A simbologia adoptada está de acordo com a Norma ISO 3 898. Os símbolos comuns a todos os regulamentos são definidos no Regulamento de Segurança e Acções em Estruturas de Edifícios e Pontes, aprovado pelo Decreto-Lei n.º 56/96/M, de 16 de Setembro. Os principais símbolos utilizados no Regulamento de Fundações encontram-se definidos no Anexo I.
CAPÍTULO II
Fundamentos do projecto geotécnico
SECÇÃO I
Disposições gerais
Artigo 7.º
(Requisitos de projecto)
1. A estrutura deve ser projectada de acordo como estipulado no Regulamento de Segurança e Acções em Estruturas de Edifícios e Pontes, aprovado pelo Decreto-Lei n.º 56/96/M, de 16 de Setembro.
2. Deve ser identificado o grau de complexidade de cada projecto geotécnico, bem como os riscos em termos de propriedade e de vidas, com vista ao estabelecimento dos requisitos mínimos no que respeita à quantidade e qualidade da prospecção geotécnica, dos cálculos e das operações de controlo da construção. É, em particular, feita a distinção entre:
a) estruturas simples e leves e pequenas obras geotécnicas, para as quais é possível assegurar, com base na experiência e em prospecções geotécnicas de natureza qualitativa, que os requisitos fundamentais são satisfeitos com um risco desprezável para a propriedade e a vida (ver Categoria Geotécnica 1 no parágrafo 4. deste artigo);
b) outras estruturas geotécnicas (ver Categorias Geotécnicas 2 e 3 no parágrafo 4. deste artigo).
RA — No caso de obras geotécnicas de reduzida complexidade e risco, tais como as anteriormente definidas, é aceitável a utilização de procedimentos de projecto simplificados.
3. No estabelecimento dos requisitos de projecto devem ser tidos em consideração os seguintes factores:
a) natureza e tamanho da estrutura e dos seus elementos, incluindo quaisquer requisitos especiais;
b) condições relativas à vizinhança da obra (estruturas próximas, tráfego, instalações, vegetação, produtos químicos perigosos, etc.);
c) condições do terreno;
d) condições de ocorrência de água no terreno;
e) sismicidade;
f) influência do ambiente (hidrologia, águas superficiais, subsidência, variações sazonais do teor em água do terreno).
4. A fim de estabelecer os requisitos do projecto geotécnico são introduzidas três Categorias Geotécnicas 1, 2 e 3.
Antes da prospecção deve efectuar-se uma classificação preliminar da estrutura de acordo com a categoria geotécnica. Esta categoria pode vir a ser posteriormente alterada. Em cada fase do projecto ou do processo construtivo deve proceder-se a uma verificação da categoria geotécnica e à sua eventual alteração.
RA — Os vários aspectos do projecto de uma obra podem ser tratados de acordo com categorias geotécnicas diferentes. Não é necessário tratar a totalidade de um projecto de acordo com a mais elevada daquelas categorias.
Podem utilizar-se procedimentos correspondentes a categorias mais elevadas para justificar projectos mais económicos, ou quando o projectista os considerar mais adequados.
5. A Categoria Geotécnica 1 engloba unicamente estruturas pequenas e relativamente simples:
a) para as quais se pode assegurar que são satisfeitos os requisitos fundamentais apenas com base na experiência e em prospecção geotécnica qualitativa;
b) com riscos desprezáveis para a propriedade e para a vida.
Os procedimentos correspondentes à Categoria Geotécnica 1 só são suficientes no caso de existir experiência comparável que comprove que as condições do terreno são suficientemente simples para que seja possível utilizar métodos de rotina para o projecto e construção da estrutura geotécnica.
Os procedimentos correspondentes à Categoria Geotécnica 1 só são suficientes se não houver escavações abaixo do nível freático ou se a experiência comparável local indicar que a escavação proposta abaixo do nível freático é uma operação simples.
RA — São exemplos de estruturas ou partes de estruturas que se enquadram na Categoria Geotécnica 1, os seguintes:
a) casas simples de 1 e 2 andares e edifícios para fins agrícolas, com uma carga máxima de cálculo de 250 kN nos pilares e de 100 kN/m nas paredes, nos quais sejam usados os tipos habituais de fundações superficiais e por estacas;
b) paredes de contenção e estruturas de suporte de escavações nas quais as diferenças entre níveis de terreno não exceda 2 m;
c) pequenas escavações para trabalhos de, drenagem, instalação de tubagens, etc.
6. A Categoria Geotécnica 2 engloba os tipos convencionais de estruturas e fundações que não envolvam riscos fora do comum ou condições do terreno e de carregamento invulgares ou particularmente difíceis. As estruturas da Categoria Geotécnica 2 requerem a quantificação dos dados geotécnicos e uma análise quantitativa que assegure que são satisfeitos os requisitos fundamentais, podendo no entanto ser usados procedimentos de rotina nos ensaios de campo e de laboratório, bem como na elaboração do projecto e na execução.
RA — São exemplos de estruturas ou partes de estruturas que se enquadram na Categoria Geotécnica 2, os tipos convencionais de:
a) fundações superficiais;
b) ensoleiramentos gerais;
c) fundações em estacas;
d) muros e outras estruturas de contenção ou suporte de terreno ou água;
e) escavações;
f) pontes-cais e contrafortes;
g) aterros e movimentos de terras;
h) ancoragens no terreno e outros sistemas de ancoragem;
i) túneis em rocha resistente, não fracturada e sem requisitos especiais de impermeabilização ou outros.
7. A Categoria Geotécnica 3 engloba as estruturas ou partes de estruturas não abrangidas pelas Categorias Geotécnicas 1 e 2.
A Categoria Geotécnica 3 diz respeito a estruturas de grande dimensão e pouco comuns, a estruturas que envolvam riscos fora do comum ou condições do terreno e de carregamento invulgares ou particularmente difíceis.
8. Para além dos requisitos legais em vigor relativamente à pessoa responsável pelo projecto, constitui um requisito adicional das Categorias Geotécnicas 2 e 3 o responsável pelo projecto ser um engenheiro civil com experiência e conhecimentos geotécnicos adequados.
9. Deve verificar-se, para cada situação considerada no projecto geotécnico, que não é excedido nenhum estado limite relevante.
RA — Este requisito de projecto pode ser satisfeito mediante:
a) o uso de cálculos, tal como descrito nos artigos 10.º a 15.º;
b) a adopção de medidas prescritivas, tal como descrito no artigo 16.º;
c) o uso de modelos experimentais e ensaios de carga, tal como descrito no artigo 17.º;
d) o uso de um método observacional, tal como descrito no artigo 18.º
Estas quatro abordagens podem ser utilizadas de uma forma combinada. Na prática, a experiência mostra muitas vezes qual o estado limite que governa o projecto, pelo que a não ocorrência de outros estados limites pode ser verificada através de um controlo grosseiro.
10. Deve ser tida em consideração a interacção entre a estrutura e o terreno.
RA — Deve considerar-se a compatibilidade de deformações nos materiais interessados num estado limite, especialmente no caso de materiais frágeis ou que tenham um comportamento de amolecimento com a deformação. Como exemplos podem referir-se o betão altamente tensionado, os solos granulares densos, os solos com ligações cimentícias entre partículas e as argilas de muito baixa resistência residual. No caso de ocorrência de uma rotura combinada de elementos estruturais e do terreno, pode ser necessária uma análise detalhada que entre em linha de conta com a rigidez relativa da estrutura e do terreno. Como exemplos podem citar-se os ensoleiramentos gerais, as estacas carregadas lateralmente e as estruturas de contenção flexíveis.
11. Os edifícios devem ser protegidos contra a penetração de água do terreno ou a transmissão de vapor ou gases às superfícies interiores.
12. Os resultados do projecto devem ser verificados, sempre que possível, tendo em atenção a experiência comparável.
Artigo 8.º
(Situações a considerar no projecto)
No projecto geotécnico as especificações detalhadas das situações a considerar devem incluir, quando aplicável:
a) a adequação geral do terreno onde está implantada a estrutura;
b) a posição e classificação das várias zonas de solo, rocha e elementos da construção envolvidos no modelo de cálculo;
c) os planos de estratificação inclinados;
d) as cavidades e outras estruturas subterrâneas;
e) no caso de estruturas assentes directamente em rocha ou muito perto dela, deve ter-se em atenção:
- — a alternância de estratos rijos e moles;
- — as falhas, diáclases e fissuras;
- — as descontinuidades preenchidas com materiais muito moles;
f) as acções, suas combinações e hipóteses de carga;
g) a natureza do ambiente para o qual o projecto é desenvolvido, incluindo:
- — os efeitos de erosão e escavação conducentes a alterações da geometria da superfície do terreno;
- — os efeitos da corrosão de natureza química;
- — os efeitos da alteração devida aos agentes atmosféricos;
- — a variação dos níveis da água nos terrenos, incluindo os efeitos de rebaixamentos, eventuais cheias, rotura de sistemas de drenagem, etc.;
- — a presença de gases emergindo do terreno;
- — outros efeitos do tempo e ambiente na resistência e outras propriedades dos materiais, como por exemplo os efeitos de cavidades devidas à actividade de animais;
h) os sismos;
i) a subsidência devida a escavações subterrâneas e a outras causas;
j) a tolerância da estrutura a deformações;
k) o efeito da nova estrutura nas estruturas ou instalações já existentes.
Artigo 9.º
(Durabilidade)
Ao desenvolver o projecto geotécnico devem ser tidas em conta as condições ambientais internas e externas, de modo a poder avaliar-se a respectiva influência na durabilidade e permitir a adopção de medidas que protejam os materiais ou lhes confiram a resistência adequada.
- RA — Quando no projecto há que ter em atenção a durabilidade do material a utilizar no terreno, deve considerar-se o seguinte:
a) para o betão:
- — os agentes agressivos, tais como águas ácidas ou que contenham sulfatos;
b) para o aço:
- — o ataque químico quando os elementos da fundação estão enterrados em terreno suficientemente permeável para permitir a circulação de água e oxigénio;
- — a corrosão nas superfícies das estacas-prancha expostas ao contacto com águas livres, particularmente na zona dos níveis médios dessas águas;
- — a corrosão localizada do tipo picadura no aço embebido em betão poroso fissurado, particularmente no caso de aço laminado, onde os produtos de oxidação, actuando como um cátodo, dão origem a uma reacção electrolítica, com a superfície não oxidada actuando como um ânodo;
c) para a madeira:
- — os fungos e bactérias aeróbicas na presença de oxigénio;
d) para produtos sintéticos:
- — o envelhecimento devido à exposição às radiações ultravioleta;
- — os efeitos combinados da temperatura e tensão;
- — os efeitos secundários relacionados com a degradação de natureza química.
SECÇÃO II
Dimensionamento geotécnico com base no cálculo
Artigo 10.º
(Generalidades)
1. O dimensionamento com base no cálculo deve estar de acordo com o método de verificação de segurança em relação a estados limites preconizado no Regulamento de Segurança e Acções em Estruturas de Edifícios e Pontes, aprovado pelo Decreto-Lei n.º 56/96/M, de 16 de Setembro, utilizando factores parciais de segurança. A aplicação deste método implica a consideração de:
a) modelos de cálculo;
b) acções, que podem ser cargas impostas ou deslocamentos impostos;
c) propriedades dos solos, rochas ou outros materiais;
d) dados geométricos;
e) valores limites de deformação, largura de fissuras, vibrações, etc.
RA — Em engenharia geotécnica o conhecimento das condições do terreno depende da extensão e da qualidade da prospecção geotécnica. Tal conhecimento e o controlo da execução são mais importantes para satisfazer os requisitos fundamentais do que a precisão dos modelos de cálculo e dos factores parciais de segurança.
2. O modelo de cálculo deve descrever o comportamento do terreno para o estado limite em consideração.
RA — Os estados limites que envolvam a rotura do terreno são rapidamente verificados recorrendo a este procedimento. No caso de se utilizar este procedimento para estados limites definidos em termos de deformações, estas devem ser quantificadas por cálculo ou por outro método.
3. Os modelos de cálculo consistem em:
a) um método de análise, muitas vezes baseado num modelo analítico com simplificações;
b) se necessário, modificação dos resultados da análise de modo a assegurar que os resultados do modelo de cálculo usado no dimensionamento são precisos ou se situam do lado da segurança.
RA — A modificação dos resultados da análise deve ter em atenção os seguintes factores:
a) a margem de incerteza nos resultados do método de análise em que se baseia o modelo de cálculo usado no dimensionamento;
b) quaisquer erros sistemáticos que se saiba estarem associados com o método de análise.
4. Quando não se disponha de um modelo de cálculo fiável para um dado estado limite, devem efectuar-se as análises dos outros estados limites utilizando factores que assegurem que a ocorrência do estado limite em causa é suficientemente improvável.
5. Sempre que possível, o modelo de cálculo deve ser correlacionado com as observações de campo de projectos anteriores, com ensaios em modelo experimental ou com análises mais fiáveis.
RA — O modelo de cálculo pode consistir numa relação empírica entre os dados de ensaios e os requisitos de projecto, a qual é usada em vez de um modelo analítico. Neste caso, a relação empírica deve ser estabelecida sem margem para dúvidas tendo em atenção as condições do terreno.
Artigo 11.º
(Acções no dimensionamento geotécnico)
1. Em qualquer cálculo as acções são quantidades conhecidas. As acções não são incógnitas do modelo de cálculo.
2. Antes de efectuar qualquer cálculo, o projectista deve seleccionar as forças e os deslocamentos impostos que vão ser considerados como acções nesse cálculo. Certas forças e deslocamentos impostos devem ser tratados como acções em certos cálculos mas podem não o ser em outros. O arrastamento por atrito negativo e os impulsos do terreno são exemplos de forças deste tipo.
RA — Para as cargas aplicadas pelas estruturas às fundações, pode ser necessária uma análise da interacção entre a estrutura e o terreno de molde a determinar as acções a adoptar no projecto das fundações.
3. Em análises geotécnicas, devem considerar-se para inclusão como acções:
a) os pesos do solo, da rocha e da água;
b) as tensões in situ do terreno;
c) as pressões da água livre;
d) as pressões da água do terreno;
e) as forças de percolação;
f) as cargas das estruturas, quer devidas ao peso próprio, quer impostas, quer ambientais;
g) as sobrecargas;
h) as forças devidas à atracação;
i) a remoção de carga ou a escavação de terreno;
j) as cargas devidas ao tráfego;
k) a expansão e a retracção devidas à vegetação, ao clima ou a alterações do teor em água;
l) os movimentos devidos à fluência ou a escorregamentos de maciços terrosos;
m) os movimentos devidos à degradação, decomposição, compactação devida ao peso próprio e dissolução;
n) os movimentos e acelerações devidos a sismos, explosões, vibrações e cargas dinâmicas;
o) os efeitos da temperatura;
p) o pré-esforço em ancoragens no terreno e em escoras.
4. A duração das acções deve ser considerada tendo em atenção os efeitos do tempo nas propriedades dos materiais do terreno, especialmente a permeabilidade, as condições de drenagem e a compressibilidade dos solos constituídos por partículas de dimensão reduzida (solos finos).
5. As acções repetidas e as acções de intensidade variável devem ser identificadas, tendo em vista a sua consideração especial no que se refere a movimentos contínuos, liquefacção dos solos, variação da rigidez do terreno, etc.
6. As acções cíclicas de frequência elevada devem ser identificadas, com vista à sua consideração especial no que se refere a efeitos dinâmicos.
7. A avaliação da segurança de estruturas geotécnicas em que as forças predominantes são hidrostáticas deve ser objecto de consideração especial. Tal deve-se ao facto de as deformações, a fissuração e a permeabilidade variável, com o inerente risco de erosão, poderem dar origem a variações do nível freático que podem ser de importância vital para a segurança.
8. Devem considerar-se os seguintes aspectos susceptíveis de afectar as pressões da água:
a) o nível da água livre ou o nível freático;
b) os efeitos favoráveis ou desfavoráveis da drenagem, quer natural quer artificial, tendo em atenção a sua futura manutenção;
c) o fornecimento de água devido à chuva, a cheias, à rotura de condutas e a outras origens;
d) as variações das pressões da água devido ao aparecimento ou remoção de vegetação.
9. No caso de estados limites com consequências severas (geralmente estados limites últimos), os valores de cálculo para as pressões da água e forças de percolação devem representar os valores mais desfavoráveis que podem ocorrer em circunstâncias extremas. Para estados limites com consequências menos severas (geralmente estados limites de utilização), os valores de cálculo devem ser os valores mais desfavoráveis que podem ocorrer em circunstâncias normais.
RA — Deve ter-se em atenção o risco de ocorrência de níveis de água desfavoráveis devido a alterações na bacia hidrográfica, à redução da capacidade de drenagem (devida a bloqueamento), etc.
A não ser demonstrada a adequação do sistema de drenagem e assegurada a respectiva manutenção, é frequentemente necessário admitir que o nível freático pode subir, em circunstâncias extremas, até ao nível do terreno. Em alguns casos esta acção pode ser considerada acidental.
10. O projecto deve ser verificado separadamente para cada uma das três hipóteses A, B e C, quando aplicáveis.
RA — As hipóteses A, B e C foram introduzidas de modo a assegurar estabilidade e resistência adequadas na estrutura e no terreno.
11. Os valores dos factores parciais de segurança para acções permanentes e variáveis indicados no Quadro 1 devem, em geral, ser usados para verificação em relação a estados limites últimos de tipos convencionais de estruturas e fundações no caso de combinações fundamentais de acções. No caso de riscos anormalmente elevados ou condições de carregamento ou de terreno especialmente difíceis, devem ser considerados valores mais severos. No caso de combinações acidentais de acções todos os valores numéricos dos factores parciais de segurança devem ser considerados iguais à unidade.
Quadro 1
Factores parciais de segurança para estados limites últimos e combinações fundamentais de acções
| Hipótese | Acções | Propriedades do terreno(γm) |
|||||
| Permanentes(γg) | Variáveis(γq) | ||||||
| Desfavoráveis | Favoráveis | Desfavoráveis | tan φ' | c' | cu | qc1) | |
| A | 1,00 | 0,95 | 1,50 | 1,1 | 1,3 | 1,2 | 1,2 |
| B | 1,35 | 1,00 | 1,50 | 1,0 | 1,0 | 1,0 | 1,0 |
| C | 1,00 | 1,00 | 1,30 | 1,25 | 1,6 | 1,4 | 1,4 |
1) Resistência à compressão uniaxial de solo e rocha.
RA — Para as propriedades do terreno, utilizam-se diferentes factores parciais de segurança para as hipóteses A, B e C, de acordo com o Quadro 1 e o artigo 12.º
Quando se torna evidente que uma das três hipóteses é a mais crítica para o projecto, não é necessário efectuar os cálculos para as outras hipóteses. Contudo, hipóteses diferentes podem ser críticas para diferentes aspectos do projecto.
A hipótese A só é relevante em problemas envolvendo a impulsão, em que as forças hidrostáticas constituem a principal acção desfavorável. Os valores indicados no Quadro 1 apenas são válidos para tais situações. Em problemas envolvendo a impulsão é frequentemente mais apropriado usar uma solução estrutural (por exemplo descarregadores), que proporciona condições de projecto seguras associadas a um factor parcial de segurança relativamente baixo, do que recorrer a uma maior segurança no projecto em conjunto com condições de projecto menos seguras.
A hipótese B é frequentemente crítica para o projecto da resistência de elementos estruturais envolvidos em fundações ou estruturas de contenção. Quando não estiver em causa a resistência dos materiais estruturais, a hipótese B é irrelevante.
A hipótese C é geralmente crítica em casos em que não esteja envolvida a resistência de elementos estruturais, tais como problemas de estabilidade de taludes. A hipótese C é frequentemente crítica para a fixação da dimensão dos elementos estruturais das fundações ou das estruturas de contenção e, por vezes, para a resistência dos elementos estruturais. Quando não estiver em causa a resistência do terreno, a hipótese C é irrelevante.
As resistências de cálculo dos materiais estruturais e do terreno não são necessariamente mobilizadas totalmente na mesma hipótese.
No projecto de elementos estruturais tais como sapatas, estacas ou muros de retenção, pode introduzir-se, se tal for considerado relevante, um factor de modelo γsd.
12. As acções permanentes incluem o peso próprio dos componentes estruturais e não estruturais e as acções devidas ao terreno, à água do terreno e à água livre.
RA — Na determinação dos valores de cálculo das pressões do terreno para a hipótese B, os factores parciais de segurança indicados no Quadro 1 são aplicados às pressões do terreno características. As pressões do terreno características incluem as pressões da água características, conjuntamente com tensões que resultam da consideração das propriedades características do terreno e dos valores característicos das cargas de superfície.
Na hipótese B os valores característicos de todas as pressões do terreno permanentes em ambos os lados de uma estrutura de contenção são multiplicados por 1,35 se o efeito resultante da acção total for desfavorável e por 1,00 se for favorável. Desta forma, todas as pressões do terreno características são tratadas como tendo uma única origem.
Em algumas situações, a aplicação de factores parciais de segurança a pressões de terreno características pode conduzir a valores de cálculo não razoáveis ou mesmo fisicamente impossíveis. Nestas situações, os factores parciais de segurança para as acções indicados no Quadro 1 podem ser tratados como factores de modelo. São então aplicados directamente aos efeitos das acções (esforços estruturais internos) obtidos das pressões de terreno características.
Na determinação de valores de cálculo das pressões de terreno para a hipótese C, os factores parciais de segurança indicados no Quadro 1 são aplicados às resistências características do terreno e às cargas de superfície características.
13. Para a verificação dos estados limites de utilização devem ser utilizados factores parciais de segurança unitários para todas as acções permanentes e variáveis, excepto especificação em contrário.
14. Os valores de cálculo das acções devidas ao terreno e à água do terreno podem também ser obtidos por outros métodos que não o dos factores parciais de segurança. Os factores parciais de segurança especificados no Quadro 1 indicam o nível de segurança considerado apropriado para o projecto convencional na maioria das circunstâncias. Caso o método dos factores parciais de segurança não seja utilizado, estes valores devem ser vistos como uma indicação do nível de segurança considerado apropriado.
RA — Quando os valores de cálculo para verificação dos estados limites últimos são obtidos directamente, devem ser escolhidos de tal forma que seja extremamente improvável que um valor mais adverso afecte a ocorrência do estado limite.
A obtenção directa de valores de cálculo é particularmente apropriada para acções ou combinações de acções cujos valores obtidos, usando o Quadro 1, sejam claramente impossíveis.
Artigo 12.º
(Propriedades do terreno)
1. Os valores de cálculo das propriedades do terreno, Xd, devem ser obtidos quer a partir de valores característicos, Xk, usando a equação:
| Xd = | Xk |
| γm |
em que γm é o factor parcial de segurança para a propriedade do terreno, quer directamente.
2. A escolha de valores característicos para as propriedades dos solos e das rochas deve basear-se nos resultados de ensaios de laboratório e de campo. Devem ser tomadas em consideração as possíveis diferenças entre as propriedades medidas nos ensaios e as propriedades dos solos e das rochas que governam o comportamento da estrutura geotécnica, as quais se devem a factores tais como:
a) a presença de fissuras, as quais podem desempenhar um papel diferente nos ensaios e na estrutura geotécnica;
b) os efeitos do tempo;
c) a fragilidade ou a ductilidade do solo ou da rocha ensaiados.
RA — Sempre que necessário deve aplicar-se um coeficiente de conversão para transformar os resultados dos ensaios de laboratório ou de campo em valores que se possa assumir serem representativos do comportamento do solo e da rocha no terreno.
3. A escolha dos valores característicos das propriedades dos solos e das rochas deve tomar em consideração o seguinte:
a) as informações geológicas e outras informações de base, tais como dados de projectos anteriores;
b) a variabilidade do valor da propriedade do terreno;
c) a extensão da zona de terreno que governa o comportamento da estrutura geotécnica para o estado limite em consideração;
d) a influência da execução em solos colocados artificialmente ou tratados;
e) o efeito das actividades de construção nas propriedades do terreno.
4. O valor característico de um parâmetro de um solo ou de uma rocha deve ser resultado de uma estimativa cautelosa do valor que determina a ocorrência do estado limite.
RA — A extensão da zona de terreno que governa o comportamento de uma estrutura geotécnica relativamente a um estado limite é usualmente muito maior do que a dimensão da zona afectada pelo ensaio do solo ou da rocha, pelo que o parâmetro determinante é muitas vezes o valor médio numa dada superfície ou volume de terreno.
A extensão da zona de terreno que governa o comportamento de uma estrutura geotécnica pode também depender do comportamento da estrutura suportada. Por exemplo, para consideração da capacidade de carga correspondente a um estado limite último para um edifício fundado em sapatas, o parâmetro determinante é a resistência média em cada zona individual de terreno sob cada sapata, caso o edifício seja incapaz de resistir a uma rotura local. No caso contrário, se o edifício apresentar rigidez e resistência suficientes, o parâmetro determinante pode ser a média daqueles valores médios na totalidade ou em parte da zona de terreno sob o edifício.
Podem utilizar-se métodos estatísticos para a escolha de valores característicos das propriedades do terreno. Tais métodos devem permitir ter em conta o conhecimento prévio de experiência comparável das propriedades do terreno.
Caso se usem métodos estatísticos, o valor característico deve ser estimado de tal forma que a probabilidade calculada de se verificar um valor mais desfavorável que determine a ocorrência de um estado limite não seja superior a 5%.
5. Os valores característicos podem ser valores inferiores, que são menores do que os valores mais prováveis, ou valores superiores, que são maiores. Para cada cálculo, deve usar-se a combinação mais desfavorável de valores inferiores e superiores dos parâmetros independentes.
6. A escolha dos valores característicos deve ter em conta as incertezas nos dados geométricos e nos modelos de cálculo, excepto se elas forem consideradas directamente no modelo de cálculo.
7. Para a verificação de estados limites últimos no caso de combinações fundamentais de acções, os valores numéricos dos factores parciais de segurança das propriedades do terreno indicados no Quadro 1 para as hipóteses A, B e C, são geralmente apropriados para serem utilizados com os factores parciais de segurança para as acções, para os mesmos casos e para situações de projecto convencionais.
Para combinações acidentais de acções, todos os valores numéricos dos factores parciais de segurança das propriedades do terreno devem ser considerados iguais à unidade.
8. Para estados limites últimos em que a resistência do terreno actua de forma desfavorável, o valor de γm a adoptar deve ser inferior à unidade.
RA — O grau de mobilização da resistência do terreno no estado limite pode ser tomado em consideração mediante a aplicação de valores de cálculo menores que os valores característicos superiores divididos por factores parciais γm inferiores à unidade.
9. Os factores parciais de segurança para a resistência de estacas, determinada com base em parâmetros de resistência do solo, fórmulas de cravação de estacas ou ensaios de carga, são indicados no Capítulo VI.
10. Para estados limites de utilização todos os valores de γm são iguais à unidade.
11. Os valores de cálculo das propriedades do terreno podem também ser obtidos por outros métodos que não o dos factores parciais de segurança. Os factores parciais de segurança especificados no Quadro 1 indicam o nível de segurança considerado apropriado para o projecto convencional. Caso o método dos factores parciais de segurança não seja utilizado, estes valores devem ser usados como uma indicação do nível de segurança considerado apropriado.
RA — Quando os valores de cálculo para verificação dos estados limites últimos são obtidos directamente, devem ser escolhidos de tal forma que seja extremamente improvável que um valor mais adverso afecte a ocorrência do estado limite.
Artigo 13.º
(Resistência de cálculo dos materiais estruturais)
Os valores de cálculo das propriedades resistentes dos materiais estruturais e das resistências dos elementos estruturais devem ser determinados de acordo com os Documentos Normativos respeitantes a esses materiais.
Artigo 14.º
(Dados geométricos)
1. Os dados geométricos incluem o nível e a inclinação da superfície do terreno, os níveis da água, os níveis das interfaces entre estratos, os níveis de escavação, a forma da fundação, etc.
2. Nos casos em que as variações dos dados geométricos não são importantes, elas devem ser tidas em consideração na escolha dos valores de cálculo das propriedades dos materiais e das acções. Em caso contrário, é geralmente aconselhável considerar essas incertezas directamente.
3. Para estados limites com consequências severas, os valores de cálculo dos dados geométricos devem representar os valores mais desfavoráveis que podem ocorrer na prática.
Artigo 15.º
(Valores limites dos movimentos)
1. Um valor limite para um dado movimento é o valor para o qual é suposto ocorrer um estado limite último ou de utilização.
2. No projecto de fundações devem ser estabelecidos valores limites para os movimentos da fundação.
RA — As componentes do movimento de uma fundação que pode ser necessário considerar incluem assentamento, assentamento diferencial, rotação, inclinação, deflexão relativa, rotação relativa, deslocamento horizontal e vibração.
3. Os valores de cálculo dos limites dos movimentos devem ser acordados com o projectista da estrutura suportada.
4. A escolha dos valores de cálculo dos limites dos movimentos deve ter em conta o seguinte:
a) o grau de confiança com que é possível especificar o valor aceitável do movimento;
b) o tipo de estrutura;
c) o tipo de material de construção;
d) o tipo de fundação;
e) o tipo de terreno;
f) o modo de deformação;
g) a utilização proposta para a estrutura.
5. Os assentamentos diferenciais e as rotações relativas das fundações devem ser estimados por forma a assegurar que não conduzem à ocorrência na estrutura suportada de um estado limite último ou de utilização (tal como fissuração inaceitável ou encravamento das portas).
RA — É improvável que as rotações relativas máximas aceitáveis para pórticos, preenchidos ou não, para paredes resistentes e para paredes contínuas de tijolo sejam os mesmos, mas os seus valores estão provavelmente compreendidos entre cerca de 1/2000 e cerca de 1/300, por forma a evitar a ocorrência de um estado limite de utilização na estrutura. Para muitas estruturas é aceitável uma rotação relativa máxima de 1/500. Uma rotação relativa de cerca de 1/150 conduz provavelmente a um estado limite último.
Para estruturas normais com fundações isoladas, são frequentemente aceitáveis assentamentos totais até 50 mm e assentamentos diferenciais entre pilares adjacentes até 20 mm. Podem ser aceitáveis maiores assentamentos totais e diferenciais, desde que as rotações relativas se situem dentro dos limites aceitáveis e que os assentamentos totais não originem problemas nas condutas e cabos que entram na estrutura, causem desvio da vertical, etc.
Estas orientações relativamente aos valores limites dos assentamentos aplicam-se a estruturas de rotina. Não devem ser aplicadas a edifícios ou estruturas fora do comum ou para as quais a intensidade do carregamento seja marcadamente não uniforme.
6. O cálculo de assentamentos diferenciais deve ter em conta:
a) as variações aleatórias ou sistemáticas das propriedades do terreno;
b) a distribuição do carregamento;
c) o método de construção;
d) a rigidez da estrutura.
RA — Para a maioria das condições de terreno, incluindo aluviões, siltes, loess, aterros e solos residuais, deve considerar-se a possibilidade de ocorrência de uma componente de assentamento diferencial devida à variação local das propriedades do terreno.
SECÇÃO III
Outros métodos de dimensionamento geotécnico
Artigo 16.º
(Dimensionamento com base em medidas prescritivas)
1. Em situações em que não se disponha de modelos de cálculo, ou que eles não sejam necessários, os estados limites podem ser evitados mediante a utilização de medidas prescritivas. Estas medidas envolvem detalhes de projecto convencionais e geralmente conservativos, bem como atenção em relação à especificação e controlo dos materiais, execução, protecção e procedimentos de manutenção.
RA — Pode efectuar-se o dimensionamento por medidas prescritivas nos casos em que a experiência comparável, tal como foi definida no artigo 4.º, torne desnecessário os cálculos de projecto. Podem também utilizar-se medidas prescritivas para assegurar a durabilidade face à acção de congelamento e ao ataque químico e biológico, para os quais não são normalmente apropriados cálculos directos.
2. O dimensionamento por medidas prescritivas deve normalmente ser limitado à Categoria Geotécnica 1.
Artigo 17.º
(Dimensionamento com base em ensaios de carga e ensaios em modelos experimentais)
Podem utilizar-se os resultados de ensaios de carga ou de ensaios em modelos experimentais para justificar um dimensionamento, desde que se considerem os seguintes aspectos:
a) as diferenças entre as condições do terreno no ensaio e na obra;
b) os efeitos do tempo, especialmente se a duração do ensaio for muito inferior à duração do carregamento na obra;
c) os efeitos de escala, especialmente se forem utilizados modelos de pequenas dimensões, caso em que tem que ser considerado o efeito do nível de tensões no comportamento do terreno, juntamente com os efeitos associados às dimensões das partículas.
RA — Os ensaios podem ser efectuados numa amostra da própria obra, ou em modelos em escala natural ou reduzida.
Artigo 18.º
(Dimensionamento com base no método observacional)
1. Em virtude de a previsão do comportamento geotécnico ser frequentemente difícil, é por vezes apropriado adoptar o procedimento designado por «método observacional», em que o projecto é revisto durante a construção. Quando se utiliza este método, devem respeitar-se os quatro requisitos seguintes antes do início da construção:
a) devem ser estabelecidos os limites do comportamento aceitável;
b) deve determinar-se a gama de variação dos comportamentos possíveis e deve demonstrar-se que, com uma probabilidade aceitável, o comportamento real virá a estar dentro dos limites estabelecidos;
c) deve ser elaborado um plano de observação, o qual tem por objectivo verificar se o comportamento real se encontra dentro dos limites estabelecidos; isto deve ser tornado claro suficientemente cedo pela observação, e a intervalos suficientemente curtos, para que seja possível adoptar, com sucesso, medidas de correcção. O tempo de resposta dos instrumentos e os procedimentos para análise dos resultados devem ser suficientemente rápidos em relação à possível evolução do comportamento da obra;
d) deve estar previsto um plano de actuação a adoptar no caso de a observação revelar um comportamento que saia dos limites estabelecidos.
2. Durante a construção, a observação deve ser efectuada conforme planeada, podendo, caso tal seja necessário, colocar-se dispositivos adicionais ou proceder-se à sua substituição. Os resultados da observação devem ser analisados nos prazos apropriados e, caso necessário, deve ser posto em prática o plano de actuação previamente estabelecido.
SECÇÃO IV
Relatório do projecto geotécnico
Artigo 19.º
(Hipóteses, dados e cálculos)
1. As hipóteses, dados, cálculos e resultados das verificações da segurança e da funcionalidade devem ser registados no Relatório do Projecto Geotécnico.
RA — O nível de detalhe do Relatório do Projecto Geotécnico pode variar bastante, dependendo do tipo de projecto. Para projectos simples, normalmente da Categoria Geotécnica 1, pode ser suficiente uma só página. O relatório deve geralmente incluir os seguintes aspectos, com referências cruzadas com o Relatório de Caracterização Geotécnica (ver artigos 41.º a 43.º) e com outros documentos que contenham mais detalhes:
a) descrição do local e sua vizinhança;
b) descrição das condições do terreno;
c) descrição da construção proposta, incluindo as acções;
d) valores de cálculo das propriedades dos solos e das rochas, incluindo a respectiva justificação, se apropriado;
e) regulamentos e outros documentos normativos aplicados;
f) nível de risco aceitável;
g) cálculos e peças desenhadas do projecto geotécnico;
h) referência aos aspectos a verificar durante a construção ou que requeiram observação ou manutenção.
2. O responsável pelo Relatório do Projecto Geotécnico deve ser um engenheiro civil com conhecimentos geotécnicos e experiência adequados.
Artigo 20.º
(Supervisão, observação e manutenção)
1. O Relatório do Projecto Geotécnico deve incluir um plano de supervisão e observação, caso apropriado. Os aspectos que requeiram verificação durante a construção ou manutenção após a construção, devem ser claramente identificados no relatório. Caso as verificações necessárias tenham sido efectuadas durante a construção, devem ser registadas e anexadas ao relatório.
RA — Relativamente à supervisão e à observação, o Relatório do Projecto Geotécnico deve explicitar:
a) o objectivo de cada conjunto de observações e medições;
b) as partes da estrutura que devem ser observadas e os locais onde devem ser feitas as observações;
c) a frequência com que se devem efectuar as medições;
d) o modo de avaliação dos resultados;
e) a gama de valores dentro da qual se inserem os resultados;
f) o período de tempo durante o qual a observação deve continuar depois de terminada a construção;
g) as entidades responsáveis pela realização das medições e das observações, pela interpretação dos resultados obtidos e pela observação e manutenção das estruturas.
2. Nos casos apropriados, referidos no parágrafo anterior, deve ser fornecido ao dono da obra ou cliente, de uma forma individualizada, um Manual contendo os requisitos de supervisão, observação e manutenção para a estrutura construída.
CAPÍTULO III
Caracterização geotécnica
SECÇÃO I
Disposições gerais
Artigo 21.º
(Generalidades)
Deve sempre proceder-se, de uma forma cuidadosa, à recolha, registo e interpretação da informação geotécnica. Esta informação deve incluir dados relativos à geologia, morfologia, sismicidade, hidrologia e história do local. Devem ser tidas em conta as indicações relativas à variabilidade do terreno.
Artigo 22.º
(Planeamento e execução)
1. No planeamento dos estudos de caracterização geotécnica devem ter-se em conta os requisitos de construção e de comportamento da estrutura projectada. O âmbito desses estudos deve ser continuamente revisto durante a execução da obra, à medida que se obtém informação adicional.
2. Os estudos de rotina de campo e de laboratório devem ser realizados e registados de acordo com normas e recomendações reconhecidas internacionalmente. Os desvios em relação a essas normas, bem como qualquer exigência adicional de ensaio, devem ser registados.
3. Os procedimentos relativos à amostragem, transporte e armazenamento devem ser registados e a sua influência deve ser tida em consideração na interpretação dos resultados dos ensaios.
4. O planeamento dos estudos de caracterização geotécnica, o acompanhamento da sua execução no terreno e no laboratório, bem como a análise da informação geotécnica recolhida devem decorrer sob a responsabilidade de um engenheiro civil com conhecimentos geotécnicos e experiência adequados.
SECÇÃO II
Estudos de caracterização geotécnica
Artigo 23.º
(Generalidades)
Os estudos de caracterização geotécnica devem fornecer todos os dados relativos ao terreno e à água subterrânea, no local da obra e na sua vizinhança, que sejam necessários para uma descrição adequada das principais propriedades do terreno e para uma avaliação fiável dos valores característicos dos parâmetros a utilizar nos cálculos de dimensionamento.
RA — As condições do terreno susceptíveis de influenciar a decisão acerca da categoria geotécnica da obra devem ser determinadas tão cedo quanto possível, já que o âmbito e a extensão dos estudos de caracterização estão relacionados com a categoria geotécnica da estrutura.
Para as obras de Categoria Geotécnica 1 aplica-se o seguinte:
a) como requisito mínimo, todas as hipóteses de projecto devem ser comprovadas, o mais tardar durante a supervisão dos trabalhos;
b) os estudos de caracterização geotécnica devem incluir uma inspecção visual do local da obra e também a execução de poços pouco profundos, ensaios de penetração ou furos com trado.
Os estudos de caracterização geotécnica para as obras das Categorias Geotécnicas 2 e 3 incluem normalmente as três fases seguintes, as quais se podem sobrepor:
a) estudos preliminares (ver artigo 24.º);
b) estudos para o dimensionamento (ver artigo 25.º);
c) verificação das condições do terreno (ver artigos 48.º e 49.º).
Artigo 24.º
(Estudos preliminares)
Os estudos preliminares de caracterização geotécnica destinam-se a:
a) avaliar a adequação do local de uma forma geral;
b) comparar locais alternativos, quando relevante;
c) estimar o impacte que a construção da obra possa causar;
d) planear os estudos geotécnicos para o dimensionamento e o controlo do comportamento, incluindo a identificação da extensão de terreno que pode ter influência significativa no comportamento da estrutura;
e) identificar zonas de empréstimo, quando relevante.
RA — Nos estudos preliminares deve considerar-se a inclusão dos seguintes aspectos:
a) reconhecimento de campo;
b) topografia;
c) hidrologia, especialmente a distribuição de pressões intersticiais;
d) vistoria de estruturas e escavações vizinhas;
e) informação geológica e cartas geológicas e geotécnicas;
f) estudos de caracterização geotécnica anteriores e experiência de construções na vizinhança;
g) fotografias aéreas;
h) mapas antigos;
i) sismicidade;
j) qualquer outra informação relevante.
Artigo 25.º
(Estudos para o dimensionamento)
1. Os estudos de caracterização geotécnica para o dimensionamento destinam-se a:
a) fornecer a informação requerida para um dimensionamento económico e adequado das obras temporárias e definitivas;
b) fornecer a informação requerida para planeamento do método construtivo;
c) identificar quaisquer dificuldades que possam surgir durante a construção.
2. Os estudos de caracterização geotécnica para o dimensionamento devem identificar, de uma forma fiável, a disposição e as propriedades de todos os terrenos interessados pela estrutura projectada ou afectados pelos trabalhos propostos.
3. Os parâmetros que afectam a capacidade da estrutura de cumprir os seus requisitos de comportamento devem ser identificados antes do início do dimensionamento final.
RA — Num estudo de caracterização geotécnica para o dimensionamento deve considerar-se a inclusão dos seguintes aspectos:
a) estratigrafia geológica;
b) propriedades de resistência de todos os terrenos interessados;
c) propriedades de deformabilidade de todos os terrenos interessados;
d) distribuição das pressões intersticiais em todo o perfil do terreno;
e) condições de permeabilidade;
f) possível instabilidade do solo;
g) compactabilidade do terreno;
h) eventual agressividade do terreno e da água subterrânea;
i) possibilidade de melhoramento do terreno.
4. Por forma a assegurar que os estudos de caracterização geotécnica para o dimensionamento cobrem todas as formações interessadas, deve prestar-se especial atenção aos seguintes aspectos de natureza geológica:
a) cavidades;
b) degradação de rochas, solos ou materiais de aterro;
c) efeitos hidrogeológicos;
d) falhas, diáclases e outras superfícies de descontinuidade;
e) solos ou maciços rochosos sujeitos a fenómenos de fluência;
f) solos e rochas expansíveis e colapsíveis;
g) presença de desperdícios ou de materiais artificiais.
5. Deve ser utilizada uma combinação adequada de estudos de rotina por forma a identificar as características geotécnicas do terreno. Esses estudos devem incluir ensaios disponíveis comercialmente, realizados de acordo com procedimentos normalizados ou geralmente aceites.
RA — Os estudos de rotina devem normalmente incluir ensaios de campo, sondagens e ensaios laboratoriais. Quando se usem métodos indirectos de prospecção, é geralmente necessário executar furos de sondagem por forma a identificar o terreno em que esses métodos são usados. Estes furos de sondagem podem ser dispensados caso as características geológicas do terreno sejam bem conhecidas.
6. Os estudos de caracterização geotécnica devem abranger pelo menos as formações que se considere serem relevantes para o projecto e abaixo das quais o terreno não tem uma influência substancial no comportamento da estrutura.
7. A distância entre os pontos de prospecção e ensaio, bem como a profundidade a atingir, devem ser escolhidas com base na informação sobre a geologia da área, as condições do terreno, as dimensões do local e o tipo de estrutura.
RA — Para os estudos de caracterização geotécnica de obras da Categoria Geotécnica 2 aplica-se o que se refere seguidamente.
Em todas as obras deve existir no mínimo um ponto de prospecção, incluindo sondagens ou ensaios.
No caso de obras que cobrem uma grande área, os pontos de prospecção podem ser dispostos segundo uma malha. A distância entre pontos deve normalmente situar-se entre os 20 m e os 40 m. Em terrenos uniformes os furos ou poços de sondagem podem ser parcialmente substituídos por ensaios de penetração ou prospecção geofísica.
Para sapatas isoladas ou corridas, a profundidade das sondagens abaixo do nível previsto para a fundação deve estar normalmente compreendida entre 1 e 3 vezes a largura dos elementos da fundação. Em alguns pontos de prospecção podem ser atingidas maiores profundidades, com o intuito de avaliar as condições relativas aos assentamentos e eventuais problemas envolvendo águas subterrâneas.
Para ensoleiramentos, as profundidades dos ensaios de campo e dos furos de sondagem devem normalmente ser maiores ou iguais que a largura da fundação, a menos que se encontre um substrato rochoso a menor profundidade.
Para obras de aterro as profundidades mínimas de prospecção incluem normalmente todos os estratos compressíveis cuja contribuição para o assentamento possa ser importante. A profundidade de prospecção pode ser limitada a uma cota abaixo da qual a contribuição para os assentamentos seja inferior a 10% do assentamento total. A distância entre pontos de prospecção contíguos está normalmente compreendida entre os 50 m e os 200 m.
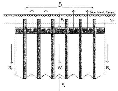
Para fundações por estacas, devem normalmente ser realizados furos de sondagem, ensaios de penetração e outros ensaios de campo por forma a determinar as condições do terreno até uma profundidade que garanta a segurança, o que normalmente significa 5 vezes o diâmetro do fuste da estaca. No entanto, há casos em que é necessário levar a prospecção até profundidades substancialmente maiores. Constitui também um requisito a profundidade da prospecção ser maior que o lado menor do rectângulo que circunscreve o grupo de estacas que forma a fundação, ao nível das pontas.
8. Devem determinar-se as pressões da água subterrânea existentes durante o estudo geotécnico. Devem determinar-se os níveis extremos de eventuais águas livres que possam influenciar as pressões da água subterrânea, e os seus níveis devem ser registados durante o estudo geotécnico.
RA — Para os estudos de caracterização geotécnica de obras da Categoria Geotécnica 2 aplica-se o que se refere seguidamente.
A determinação da distribuição das pressões intersticiais deve normalmente incluir:
a) observações dos níveis da água em furos de sondagem e piezómetros abertos e as suas flutuações ao longo do tempo;
b) caracterização das condições hidrogeológicas do local, incluindo lençóis artesianos ou suspensos, ou variações do nível freático devidas à maré.
Para avaliação da estabilidade das escavações em relação ao efeito de subpressões, deve determinar-se a distribuição das pressões intersticiais até uma profundidade, sob o fundo da escavação, que seja pelo menos igual à profundidade da escavação abaixo do nível freático. Em situações em que as camadas superiores tenham baixo peso volúmico, pode ser necessário levar a investigação do regime hidrogeológico a profundidades maiores.
9. Deve determinar-se a localização e capacidade de poços de drenagem ou de bombagem eventualmente existentes na vizinhança do local.
10. Nos casos de estruturas de grandes dimensões ou pouco usuais, de estruturas envolvendo riscos anormais, bem como de terrenos e condições de carregamento pouco usuais ou excepcionalmente difíceis, a extensão dos estudos geotécnicos deve ser suficiente para que sejam pelo menos atingidos os requisitos especificados acima.
RA — Para estes estudos de caracterização geotécnica de obras da Categoria Geotécnica 3 aplica-se o que se refere seguidamente.
Devem ser realizados todos os estudos complementares de caracterização geotécnica de natureza mais especializada que se revelarem necessários.
Sempre que se recorra a ensaios especiais ou pouco comuns, os procedimentos de ensaio e os métodos de interpretação devem ser documentados, devendo além disso ser indicadas referências relativamente aos ensaios.
SECÇÃO III
Determinação dos parâmetros geotécnicos
Artigo 26.º
(Generalidades)
1. As propriedades dos solos e rochas e dos maciços rochosos são quantificadas por parâmetros geotécnicos que são utilizados em cálculos de dimensionamento. Os seus valores devem ser obtidos com base nos resultados de ensaios de campo e laboratoriais e noutros dados relevantes, devendo a interpretação dos resultados ser feita de forma adequada ao estado limite em consideração.
RA — Todos os ensaios devem ser realizados de acordo com as Normas da Região Administrativa Especial de Macau publicadas. Na ausência de uma Norma da Região Administrativa Especial de Macau para um determinado ensaio, recomenda-se a utilização das Normas ASTM.
Nos requisitos que se apresentam seguidamente, relativos à avaliação dos parâmetros geotécnicos, só são referidos os ensaios de campo e laboratoriais mais comuns. Podem utilizar-se outros ensaios, desde que a sua adequação tenha sido demonstrada mediante experiência comparável.
2. Tendo em vista a determinação de valores fiáveis para os parâmetros geotécnicos, devem ter-se em consideração os seguintes aspectos:
a) muitos parâmetros dos solos não são verdadeiras constantes, já que dependem de factores tais como o nível de tensão, o modo de deformação, etc.;
b) para a interpretação dos resultados deve considerar-se a informação publicada, que seja relevante para cada tipo de ensaio em condições de terreno semelhantes;
c) os programas dos ensaios devem incluir um número de ensaios suficiente para que seja possível determinar os vários parâmetros relevantes para o dimensionamento, bem como a sua variação;
d) o valor de cada parâmetro deve ser comparado com dados relevantes publicados e com a experiência local e geral. Caso seja apropriado, devem também considerar-se correlações entre parâmetros disponíveis na literatura;
e) caso existam, devem ser utilizados resultados de obras experimentais e medições efectuadas em obras reais;
f) caso tal seja possível, deve verificar-se se existem correlações entre os resultados de mais de um tipo de ensaios.
Artigo 27.º
(Identificação do terreno)
1. Antes de se proceder à interpretação dos resultados de outros ensaios devem identificar-se a natureza e os constituintes básicos do terreno.
2. O material deve ser inspeccionado visualmente e descrito de acordo com uma nomenclatura reconhecida. Deve ser feita uma caracterização geológica.
RA — Para além da inspecção visual acima mencionada, a identificação dos terrenos pode ser efectuada, por exemplo, com recurso às seguintes propriedades:
a) para solos:
- — granulometria;
- — forma dos grãos;
- — rugosidade superficial dos grãos;
- — compacidade relativa;
- — peso volúmico;
- — teor em água natural;
- — limites de consistência;
- — teor em carbonatos;
- — teor em material orgânico;
b) para rochas:
- — mineralogia;
- — petrografia;
- — teor em água;
- — peso volúmico;
- — porosidade;
- — velocidade de propagação do som;
- — absorção de água;
- — expansibilidade;
- — índice de desgaste;
- — resistência à compressão uniaxial.
A resistência obtida a partir de resultados de compressão uniaxial permite classificar as rochas, mas podem também ser utilizados procedimentos mais simples, tais como o ensaio de carga pontual.
Artigo 28.º
(Peso volúmico)
1. O peso volúmico deve ser determinado com suficiente exactidão para permitir o estabelecimento dos valores de cálculo das acções que dele resultam.
2. Na determinação dos pesos volúmicos devem ser tidas em consideração as heterogeneidades e estratificações, quer naturais quer produzidas pelo homem.
RA — Conhecendo o tipo de solo e a sua granulometria, o peso volúmico in situ de areias e cascalhos pode ser estimado com suficiente exactidão a partir de resultados de ensaios, tais como os de penetração, ou de observações que indiquem a resistência do solo.
Artigo 29.º
(Compacidade relativa)
A compacidade relativa deve expressar o grau de compacidade de um solo incoerente em relação ao estado mais solto e ao estado mais denso, definidos de acordo com procedimentos laboratoriais normalizados.
RA — Pode obter-se uma medida directa da compacidade relativa de um solo através da comparação do seu peso volúmico in situ com valores laboratoriais desse mesmo parâmetro determinados em ensaios normalizados. Uma medição indirecta da compacidade relativa pode ser efectuada a partir de ensaios de penetração.
Artigo 30.º
(Compactação relativa)
A compactação relativa é definida como a relação entre o peso volúmico seco e o peso volúmico seco máximo obtido de um ensaio de compactação padrão.
RA — Os ensaios de compactação usados mais frequentemente são os ensaios de compactação leve e de compactação pesada, que correspondem a diferentes energias de compactação. O ensaio de compactação fornece também o teor em água óptimo, que é o teor em água do solo que corresponde ao peso volúmico seco máximo para uma certa energia de compactação.
Artigo 31.º
(Resistência ao corte sem drenagem de solos coesivos)
Na determinação da resistência ao corte sem drenagem, Cu, de solos saturados de granulometria fina, deve ser tida em consideração a influência dos seguintes factores:
a) diferenças entre os estados de tensão in situ e nas condições do ensaio;
b) remeximento das amostras, especialmente para ensaios de laboratório em amostras colhidas em furos de sondagem;
c) anisotropia da resistência, especialmente em argilas de baixa plasticidade;
d) existência de fissuras, especialmente em argilas rijas, já que os resultados dos ensaios podem representar a resistência ao corte quer das fissuras quer da argila intacta, e tanto uma como a outra podem ser importantes para o comportamento in situ (neste contexto, o tamanho da amostra é um aspecto importante);
e) influência da velocidade de aplicação de cargas, já que ensaios efectuados muito rapidamente fornecem, em princípio, resistências mais elevadas;
f) efeito de grandes deformações, pois muitas argilas exibem uma pronunciada diminuição de resistência para grandes deformações ou ao longo de superfícies de deslizamento preexistentes;
g) efeito do tempo, pois o período de tempo durante o qual um solo se comporta como solo sem drenagem depende da sua permeabilidade, da disponibilidade de água livre e da geometria da situação concreta;
h) heterogeneidade das amostras, tais como inclusões de cascalhos ou areias numa amostra de argila;
i) grau de saturação;
j) grau de confiança na teoria usada para deduzir a resistência ao corte sem drenagem a partir dos resultados dos ensaios, especialmente no caso de ensaios in situ.
Artigo 32.º
(Parâmetros de resistência ao corte dos solos em termos de tensões efectivas)
1. Na determinação dos parâmetros de resistência ao corte dos solos em termos de tensões efectivas, c’ e φ’, devem considerar-se os seguintes aspectos:
a) o nível de tensões imposto pelo problema;
b) a precisão na determinação do peso volúmico no campo;
c) o remeximento durante a amostragem.
2. Os valores de c’ e φ’ só podem ser considerados constantes dentro da gama de tensões para a qual foram calculados.
3. Quando os parâmetros c’ e φ’ em termos de tensões efectivas forem obtidos a partir de ensaios não drenados com medição de pressões intersticiais, deve procurar-se obter uma saturação total das amostras.
RA — Os valores de φ’ determinados em ensaios com estado plano de deformação são de uma forma geral ligeiramente superiores aos que se obtêm em ensaios em condições triaxiais.
Artigo 33.º
(Deformabilidade dos solos)
Na determinação da deformabilidade dos solos devem ser tidos em consideração os seguintes aspectos:
a) as condições de drenagem;
b) o nível das tensões efectivas médias;
c) o nível da deformação de corte imposta ou da tensão de corte induzida, sendo esta última frequentemente normalizada com respeito à tensão de corte na rotura;
d) a história de tensões e de deformações.
RA — Estes são os factores mais importantes para o controlo da deformabilidade dos solos. De entre outros factores que influenciam a deformabilidade, podem tomar-se em consideração os seguintes:
a) a direcção de aplicação das tensões no solo relativamente à orientação das tensões principais de consolidação;
b) o efeito do tempo e da velocidade de deformação;
c) o tamanho da amostra ensaiada relativamente à dimensão das partículas e à fábrica do solo.
É frequentemente difícil obter estimativas fiáveis da deformabilidade do terreno a partir dos resultados de ensaios. Em particular, devido ao remeximento das amostras e a outros efeitos, as medições efectuadas em amostras laboratoriais conduzem frequentemente a uma sobrestimação da deformabilidade do solo in situ. É pois recomendável proceder a uma análise das observações do comportamento de obras já existentes.
É por vezes conveniente assumir uma relação linear ou logarítmica-linear entre tensão e deformação para uma gama limitada de variação do estado de tensão. No entanto, este procedimento tem de ser sempre usado com precaução, pois o comportamento real dos solos é, geralmente, consideravelmente não linear.
Artigo 34.º
(Qualidade e propriedades das rochas e dos maciços rochosos)
1. Na determinação da qualidade e das propriedades das rochas e dos maciços rochosos, deve fazer-se uma distinção entre o comportamento do material rochoso, tal como é medido nas amostras, e o comportamento de maciços rochosos a uma escala muito maior, que inclui superfícies de descontinuidade estruturais tais como falhas, planos de estratificação, diáclases, zonas de rotura por corte e cavidades produzidas por dissolução. Devem tomar-se em consideração as seguintes características das diáclases:
a) espaçamento;
b) orientação;
c) abertura;
d) persistência (continuidade);
e) rugosidade, incluindo os efeitos de movimentos anteriores;
f) enchimento.
2. Na determinação das propriedades das rochas e dos maciços rochosos devem também ser tidos em consideração os seguintes aspectos, caso sejam relevantes:
a) estado de tensão in situ;
b) pressão da água;
c) variações pronunciadas das propriedades entre diferentes formações.
RA — A qualidade dos maciços rochosos pode ser quantificada usando o parâmetro RQD («Rock Quality Designation»), que constitui um indicador da qualidade de um maciço rochoso do ponto de vista da engenharia.
Estimativas das propriedades mecânicas globais de maciços rochosos, tais como resistência e deformabilidade, podem ser obtidas mediante a utilização do conceito de classificações geotécnicas de maciços rochosos, originalmente desenvolvidas para aplicação na construção de túneis.
3. Deve avaliar-se a sensibilidade das rochas aos efeitos climáticos, às variações do estado de tensão, etc. Devem também ser tomadas em consideração as consequências da degradação química no comportamento de fundações rochosas.
RA — Na avaliação da qualidade das rochas e dos maciços rochosos devem considerar-se os seguintes aspectos:
a) algumas rochas brandas porosas degradam-se rapidamente transformando-se em solos de baixa resistência, especialmente se estiverem expostas aos agentes atmosféricos;
b) algumas rochas exibem elevadas velocidades de dissolução devido à presença de águas subterrâneas, causando a formação de canais, cavernas e poços, os quais se podem desenvolver até à superfície;
c) quando descomprimidas e expostas ao ar, algumas rochas sofrem expansão pronunciada em consequência da absorção de água pelos minerais de argila.
4. Na determinação da resistência à compressão uniaxial e da deformabilidade de materiais rochosos deve considerar-se a influência dos seguintes aspectos:
a) a orientação do eixo de aplicação da carga relativamente à anisotropia da amostra, devida por exemplo à estratificação, foliação, etc.;
b) o método de amostragem e as condições de armazenamento e ambiente;
c) o número de provetes ensaiados;
d) a geometria dos provetes ensaiados;
e) o teor em água e o grau de saturação durante o ensaio;
f) a duração do ensaio e a velocidade de aplicação das cargas;
g) o método de determinação do módulo de elasticidade e o nível ou níveis de tensão axial a que foram determinados.
RA — Os valores da resistência à compressão uniaxial e da deformabilidade em compressão uniaxial destinam-se fundamentalmente à classificação e caracterização da rocha intacta.
5. Na determinação da resistência ao corte das diáclases de materiais rochosos deve considerar-se a influência dos seguintes aspectos:
a) orientação do provete ensaiado relativamente ao maciço rochoso e às acções previstas;
b) orientação do plano de corte do ensaio;
c) número de provetes ensaiados;
d) dimensão da área de corte;
e) pressão intersticial;
f) possibilidade de o comportamento da rocha no terreno ser influenciado por rotura progressiva.
RA — Os planos de corte coincidem geralmente com os planos de fraqueza da rocha (diáclases, planos de estratificação, xistosidade, clivagem) ou com a interface entre solo e rocha ou entre betão e rocha. Os valores medidos da resistência ao corte das diáclases são usados principalmente para análises por métodos de equilíbrio limite de maciços rochosos.
Artigo 35.º
(Parâmetros de permeabilidade e consolidação)
Na determinação dos parâmetros de permeabilidade e consolidação deve considerar-se a influência dos seguintes aspectos:
a) o efeito da não homogeneidade das condições geotécnicas do terreno;
b) o efeito da anisotropia do terreno;
c) o efeito de fissuras ou falhas no terreno, especialmente no caso de rochas;
d) o efeito das variações do estado de tensão sob o carregamento proposto.
RA — As medições da permeabilidade feitas em amostras laboratoriais de pequenas dimensões podem não ser representativas das condições in situ. Por conseguinte, e sempre que possível, devem preferir-se ensaios de campo que permitam a medição de valores médios das propriedades num grande volume de terreno. No entanto, é necessário ter em consideração as possíveis variações da permeabilidade com o aumento da tensão efectiva para valores superiores ao seu valor in situ. É por vezes possível avaliar a permeabilidade de um solo com base na sua granulometria.
Artigo 36.º
(Resistência à penetração estática)
RA — Na determinação dos valores da resistência de ponta, da resistência lateral e, possivelmente, da pressão intersticial durante um ensaio com penetrómetro de cone introduzido estaticamente, devem considerar-se os seguintes aspectos:
a) os resultados obtidos podem ser significativamente influenciados por pormenores de concepção do cone e da manga, pelo que é necessário ter em devida conta o tipo de cone que está a ser utilizado;
b) os resultados só podem ser interpretados com confiança quando se conheça previamente a estratigrafia do local, sendo por isso geralmente necessário realizar furos de sondagem conjuntamente com os ensaios penetrométricos;
c) os efeitos no solo da água subterrânea e da pressão dos terrenos sobrejacentes devem ser tidos em consideração na interpretação dos resultados;
d) em solos heterogéneos cujos registos penetrométricos sejam muito irregulares, devem ser retidos apenas os valores respeitantes à matriz de solo relevante para o projecto em causa;
e) sempre que existam e sejam fiáveis, devem ser tidas em conta correlações com resultados de outros ensaios, tais como determinações de compacidade e outros tipos de ensaios penetrométricos.
Artigo 37.º
(Número de pancadas em ensaios de penetração dinâmica e sondagens dinâmicas)
RA — Na determinação do número de pancadas devem considerar-se os seguintes aspectos:
a) o tipo de ensaio;
b) os pormenores de execução do ensaio (método de levantamento do peso, tipo de ponta, massa do peso, altura de queda, diâmetro do encamisamento e das varas, etc.);
c) as condições relativas à água subterrânea;
d) a influência da pressão devida aos terrenos sobrejacentes;
e) a natureza do terreno, especialmente quando se encontram cascalhos grossos ou calhaus.
Artigo 38.º
(Parâmetros pressiométricos)
RA — Na determinação dos valores da pressão limite e do módulo pressiométrico devem considerar-se os seguintes aspectos:
a) o tipo de equipamento;
b) o procedimento utilizado para instalar o pressiómetro no terreno.
Não devem ser consideradas curvas de ensaio que indiciem um elevado remeximento do solo.
Sempre que a pressão limite não seja atingida no decorrer do ensaio, é legítimo, com vista à sua determinação, recorrer a uma extrapolação moderada e conservativa da curva do ensaio. Em ensaios em que se obtenha apenas a parte inicial da curva experimental pode estimar-se a pressão limite a partir do módulo pressiométrico usando, de forma conservativa, correlações de natureza geral ou, preferivelmente, de natureza local.
Artigo 39.º
(Parâmetros dilatométricos)
RA — Na determinação dos valores do dilatómetro plano deve ser tomada em consideração a metodologia de instalação.
Caso sejam calculados os parâmetros de resistência, deve tomar-se em consideração a resistência de penetração.
O módulo dilatométrico deve normalmente ser utilizado como base para determinação do módulo de deformabilidade unidimensional com constrangimento no plano transversal (módulo edométrico) do solo.
Artigo 40.º
(Compactabilidade)
Na determinação da compactabilidade de um material de aterro devem considerar-se os seguintes aspectos:
a) o tipo de solo ou de rocha;
b) a granulometria;
c) a forma dos grãos;
d) a heterogeneidade do material;
e) o grau de saturação ou o teor em água.
RA — Para obtenção de uma medida directa da compactabilidade de um solo ou de um enrocamento, é aconselhável a realização de um aterro experimental com utilização do tipo de material, da espessura de camadas e do tipo de equipamento de compactação que se prevê utilizar na obra. O peso volúmico obtido desta forma pode ser relacionado com valores obtidos quer em ensaios laboratoriais normalizados de compactação quer com procedimentos indirectos de controlo (por exemplo métodos físicos, ensaios de compactação dinâmica, ensaios de carga em placa e registos de assentamentos).
SECÇÃO IV
Relatório da caracterização geotécnica
Artigo 41.º
(Generalidades)
Os resultados dos estudos de caracterização geotécnica devem ser compilados num Relatório da Caracterização Geotécnica, que serve de base ao Relatório do Projecto Geotécnico descrito nos artigos 19.º e 20.º
RA — O Relatório da Caracterização Geotécnica deve normalmente ser constituído por duas partes:
a) apresentação da informação geotécnica disponível, incluindo aspectos geológicos e outros dados relevantes;
b) avaliação do ponto de vista geotécnico da informação disponível, indicando as hipóteses feitas para a determinação dos parâmetros geotécnicos.
Estas partes podem ser agregadas num único relatório ou ser divididas em vários relatórios.
Artigo 42.º
(Apresentação da informação geotécnica)
A apresentação da informação geotécnica deve incluir um relato factual de todos os trabalhos desenvolvidos no campo e em laboratório, assim como documentação sobre os procedimentos utilizados.
RA — É recomendável que o relatório factual inclua ainda a seguinte informação, caso tal seja relevante:
a) objectivo e âmbito dos estudos de caracterização geotécnica;
b) breve descrição da obra a que se destina o relatório geotécnico, incluindo informação sobre a localização, a dimensão, a geometria, as cargas previstas, os elementos estruturais, os materiais de construção, etc.;
c) indicação da categoria geotécnica prevista para a obra;
d) datas de início e conclusão dos trabalhos de campo e de laboratório;
e) procedimentos utilizados para amostragem, transporte e armazenagem;
f) tipos de equipamento de campo utilizados;
g) dados topográficos;
h) nomes de todos os consultores e subempreiteiros;
i) reconhecimento geral de toda a área de implantação da obra, incidindo designadamente em:
- - evidência de água subterrânea,
- - comportamento de obras vizinhas,
- - existência de falhas,
- - áreas expostas, em pedreiras e zonas de empréstimo,
- - áreas de instabilidade,
- - dificuldades durante a realização da escavação;
j) história do local;
k) geologia do local;
l) informação obtida a partir de fotografias aéreas disponíveis;
m) experiência local;
n) informação sobre a sismicidade da área;
o) mapa de quantidades dos trabalhos de campo e de laboratório, bem como os comentários feitos pelo pessoal que supervisou os trabalhos de prospecção;
p) informação sobre as flutuações do nível freático ao longo do tempo nos furos de sondagem durante a execução dos trabalhos de campo, e em piezómetros depois da sua finalização;
q) compilação dos registos das sondagens, incluindo fotografias das amostras de terreno, com descrição das formações encontradas baseada numa descrição de campo e em resultados de ensaios laboratoriais;
r) apresentação, em anexos, dos resultados dos ensaios laboratoriais e de campo.
Artigo 43.º
(Avaliação da informação geotécnica)
A avaliação da informação geotécnica deve incluir:
a) uma revisão dos trabalhos de campo e de laboratório; no caso de a informação ser limitada ou parcial, tal deve ser indicado; caso os dados sejam defeituosos, irrelevantes, insuficientes ou inexactos, tal deve ser assinalado e comentado; na interpretação dos resultados dos ensaios devem-se ter em consideração os procedimentos de amostragem, transporte e armazenamento; resultados de ensaios particularmente adversos devem ser apreciados cuidadosamente, por forma a apurar se são enganadores ou se, pelo contrário, são a expressão de um fenómeno real e têm, portanto, de ser considerados no dimensionamento;
b) a apresentação de propostas para trabalhos adicionais de campo e de laboratório, caso tal seja considerado necessário, com comentários justificativos da sua necessidade; tais propostas devem ser acompanhadas de um programa detalhado de todos os trabalhos adicionais, com referência explícita aos objectivos a alcançar.
RA — A apreciação e interpretação da informação geotécnica deve incluir ainda, caso tal seja relevante:
a) a apresentação, sob a forma de tabelas e gráficos, dos resultados dos ensaios de campo e de laboratório, em relação com os requisitos da obra e, caso seja considerado necessário, histogramas ilustrativos da distribuição e da gama de valores dos dados mais significativos;
b) a determinação da profundidade do nível freático e das suas variações sazonais;
c) perfis interpretativos do terreno, mostrando a diferenciação das várias formações; descrição detalhada de todas as formações, incluindo as suas propriedades físicas e as suas características de deformabilidade e de resistência; comentários relativos a irregularidades, tais como bolsadas e cavidades;
d) a apresentação da gama de valores dos dados geotécnicos para cada estrato; esta apresentação deve ser tão completa quanto possível, por forma a permitir uma escolha adequada dos valores dos parâmetros a usar no dimensionamento.
CAPÍTULO IV
Supervisão da construção, observação e manutenção
Artigo 44.º
(Objectivo e âmbito)
1. Para assegurar a segurança e a qualidade de uma estrutura devem tomar-se, quando aplicável, as seguintes precauções:
a) supervisão dos processos de construção e da mão-de-obra;
b) observação do comportamento da estrutura durante e após a construção;
c) manutenção adequada da estrutura.
2. A supervisão do processo de construção e da mão-de-obra, bem como a observação do comportamento da estrutura durante e após a construção devem ser efectuadas de acordo com as especificações do Relatório do Projecto Geotécnico.
RA — A supervisão do processo de construção e da mão-de-obra deve incluir, quando aplicável, as seguintes medidas:
a) verificação da validade das hipóteses de projecto;
b) identificação das diferenças entre as condições reais do terreno e as assumidas no projecto;
c) verificação de que a construção é feita de acordo com o projecto.
A observação do comportamento da estrutura durante e após a construção deve incluir, quando aplicável, o seguinte:
a) observações e medições para análise do comportamento da estrutura e sua vizinhança durante a construção, de modo a julgar da necessidade de medidas correctivas, de alterações na sequência da construção, etc.;
b) observações e medições para monitorizar e avaliar o comportamento a longo prazo da estrutura e sua vizinhança.
3. O nível e a qualidade da supervisão e da observação devem ser pelo menos iguais aos adoptados no projecto e devem ser coerentes com os valores escolhidos para os parâmetros do projecto e os factores de segurança. As decisões de projecto que forem influenciadas pelos resultados da supervisão e da observação devem ser claramente identificados.
RA — A inspecção, controlo e ensaios de campo e de laboratório necessários à supervisão e observação da construção devem ser estabelecidos durante a fase de projecto. Em caso de acontecimentos imprevistos, devem aumentar-se a extensão e a frequência da observação.
No Anexo II apresenta-se uma lista das operações de supervisão e observação do comportamento.
Artigo 45.º
(Plano de supervisão)
O plano de supervisão incluído no Relatório do Projecto Geotécnico deve estabelecer os limites aceitáveis para os resultados a obter com a supervisão.
RA — O plano de supervisão deve especificar o tipo, a qualidade e a frequência da supervisão, os quais devem ser função dos seguintes factores:
a) o grau de incerteza das hipóteses do projecto;
b) a complexidade do terreno e das condições de carregamento;
c) o risco potencial de rotura durante a construção;
d) a viabilidade de modificações do projecto ou da adopção de medidas correctivas durante a construção.
Artigo 46.º
(Inspecção e controlo)
1. O trabalho de construção deve ser objecto de inspecção visual contínua e os resultados da inspecção devidamente registados.
RA — Para a Categoria Geotécnica 1, o programa de supervisão pode limitar-se a inspecção visual, a controlos de qualidade grosseiros e à avaliação qualitativa do comportamento da estrutura.
Para a Categoria Geotécnica 2, podem muitas vezes ser exigidas medições das propriedades do terreno ou do comportamento da estrutura.
Para a Categoria Geotécnica 3, podem ser exigidas medições adicionais durante cada fase significativa da construção.
2. Devem ser mantidos os seguintes registos, quando aplicável:
a) características significativas do terreno e da água subterrânea;
b) sequência dos trabalhos;
c) qualidade dos materiais;
d) desvios em relação ao projecto;
e) desenhos actualizados;
f) resultados das medições e sua interpretação;
g) observação das condições ambientais;
h) acontecimentos imprevistos.
RA — Devem igualmente ser registados os trabalhos temporários bem como quaisquer interrupções e as condições dos trabalhos no recomeço dos mesmos.
3. Os resultados da inspecção e controlo devem ser fornecidos ao projectista a tempo da tomada de decisões que eles possam exigir.
Artigo 47.º
(Aferição do projecto)
A adequabilidade dos processos de construção e da sequência das operações deve ser verificada tendo em atenção as condições reais do terreno, e o comportamento previsto da estrutura deve ser comparado com o comportamento observado. O projecto deve ser aferido com base nos resultados da inspecção e do controlo. Caso seja necessário, o projecto da estrutura deve ser alterado.
RA — A aferição do projecto deve incluir uma cuidadosa enumeração das condições mais desfavoráveis que ocorrerem durante a construção, relativamente a:
a) condições do terreno;
b) água subterrânea;
c) acções na estrutura;
d) impactes e modificações ambientais, incluindo escorregamentos e desmoronamentos de rocha.
Artigo 48.º
(Verificação das condições do terreno)
1. A descrição e as propriedades geotécnicas dos maciços terrosos e rochosos sobre os quais a estrutura é fundada ou nos quais ela está inserida devem ser verificadas durante a construção.
RA — Para a Categoria Geotécnica 1, a descrição dos solos e rochas deve ser verificada por:
a) inspecção do local;
b) determinação dos tipos de solo ou rocha na zona de influência da estrutura;
c) registo da descrição dos solos e rochas expostos nas escavações.
Para a Categoria Geotécnica 2 devem ser verificadas as propriedades geotécnicas do solo ou rocha de fundação. Para tal pode ser necessária prospecção geotécnica adicional, incluindo colheita de amostras representativas e ensaios para determinação das propriedades índice, da resistência e da deformabilidade.
Para a Categoria Geotécnica 3, os requisitos adicionais podem incluir novas prospecções e exame detalhado das condições do terreno ou dos aterros que possam ter consequências importantes para o projecto.
As informações indirectas sobre as propriedades geotécnicas do terreno (por exemplo registos de cravação de estacas) devem ficar registadas e ser usadas como auxiliares na interpretação das condições do terreno de fundação.
2. Os desvios do tipo de terreno e das respectivas propriedades relativamente ao admitido no projecto devem ser comunicados sem demora ao responsável pelo projecto.
3. Deve verificar-se se os princípios usados no projecto são adequados às características geotécnicas reais do solo.
Artigo 49.º
(Verificação da água subterrânea)
1. Sempre que aplicável, os níveis, as pressões intersticiais e a composição química das águas subterrâneas encontradas durante a execução devem ser determinados e comparados com os que foram admitidos no projecto. Em locais onde se saiba existirem, ou sejam previsíveis, variações significativas de tipo de terreno ou de permeabilidade, são necessárias verificações mais completas.
RA — Para a Categoria Geotécnica 1 os controlos são geralmente baseados em experiências prévias documentadas, na mesma área, ou em indícios indirectos.
Para as Categorias Geotécnicas 2 e 3, são normalmente feitas observações directas das condições da água subterrânea caso estas afectem significativamente, seja o método de construção, seja o comportamento da estrutura.
As características do escoamento da água subterrânea e o regime de pressões intersticiais podem ser obtidos a partir de piezómetros a instalar de preferência antes do início das operações de construção. Por vezes pode ser necessário instalar piezómetros a grande distância do local como parte do sistema de observação.
Se, durante a construção, ocorrerem variações na pressão intersticial que possam afectar o comportamento da estrutura, tais pressões devem ser sistematicamente medidas até que a construção esteja concluída ou até se terem dissipado para valores compatíveis com a segurança.
Para estruturas que, por estarem abaixo do nível de água, possam flutuar, as pressões intersticiais devem ser sistematicamente medidas até que o peso da estrutura seja suficiente para eliminar o risco de flutuação.
Devem fazer-se análises químicas da água em circulação sempre que qualquer parte dos trabalhos temporários ou permanentes possa ser afectada significativamente por ataque químico.
2. Deve verificar-se o efeito das operações de construção (incluindo processos como rebaixamentos, injecções ou abertura de túneis) no regime das águas subterrâneas.
3. As alterações das características da água subterrânea em relação ao admitido no projecto devem ser comunicadas sem demora ao responsável pelo projecto.
4. Deve verificar-se se os princípios usados no projecto são adequados às características da água subterrânea encontrada.
Artigo 50.º
(Verificação da construção)
1. As operações no estaleiro devem ser verificadas para que estejam de acordo com os métodos de construção admitidos no projecto e constantes do Relatório do Projecto Geotécnico.
RA — Na Categoria Geotécnica 1, o Relatório do Projecto Geotécnico geralmente não inclui um programa de trabalhos formal. A sequência de trabalhos é normalmente decidida pelo empreiteiro.
Nas Categorias Geotécnicas 2 e 3 o Relatório do Projecto Geotécnico pode incluir a sequência das operações de construção previstas no projecto. Em alternativa, o Relatório do Projecto Geotécnico pode estabelecer que a sequência da construção será decidida pelo empreiteiro.
2. Os desvios subsequentes em relação aos métodos de construção previstos no projecto e estabelecidos no Relatório de Projecto Geotécnico, devem ser explícita e racionalmente considerados e postos em execução, e comunicados sem demora ao responsável pelo projecto.
3. Deve verificar-se se os princípios adoptados no projecto são apropriados para a sequência de operações de construção que é utilizada.
Artigo 51.º
(Observação)
1. Os objectivos da observação são:
a) verificar a validade das previsões do comportamento feitas no projecto;
b) assegurar o adequado comportamento da estrutura após a sua conclusão.
2. As inspecções e medições requeridas para observação do comportamento da estrutura após a sua conclusão devem ser especificados ao dono da obra ou cliente.
3. O programa de observação deve ser executado de acordo com o Relatório do Projecto Geotécnico.
RA — O registo do comportamento real das estruturas é importante por permitir a elaboração de bases de dados para experiência comparável.
As medições podem incluir o seguinte:
a) as deformações do terreno envolvido no processo;
b) o valor das acções;
c) o valor das pressões de contacto entre o terreno e a estrutura;
d) as pressões intersticiais e as suas variações com o tempo;
e) as tensões e as deformações (movimentos verticais ou horizontais, rotações ou distorções) nos elementos estruturais.
O resultado das medições deve ser completado com observações qualitativas incluindo o aspecto arquitectónico.
A extensão do período de observação após a construção pode ser alterada em função de observações feitas durante esta. Para estruturas cujo impacte sobre partes apreciáveis do ambiente físico circundante possa ser desfavorável, ou para as quais a rotura possa envolver riscos anormais para a propriedade ou vidas, a observação pode prolongar-se por mais de dez anos após a conclusão da construção ou por toda a vida da estrutura.
4. Os resultados da observação devem ser sempre sujeitos a avaliação e interpretação, sendo estas normalmente feitas de uma forma quantitativa.
RA — Para a Categoria Geotécnica 1, a avaliação do comportamento pode ser simples, qualitativa e baseada em inspecção visual.
Para a Categoria Geotécnica 2, a avaliação do comportamento pode ser baseada em medições de movimentos de pontos escolhidos da estrutura.
Para a Categoria Geotécnica 3, a avaliação do comportamento deve ser baseada normalmente em medição de deslocamentos e análises que tenham em conta a sequência das operações de construção.
5. Para estruturas que possam ter um efeito adverso nas condições do terreno ou da água subterrânea, deve ser tida em conta, no planeamento do programa de observação, a possibilidade de fugas ou de alterações ao tipo de escoamento da água subterrânea, especialmente quando estejam envolvidos solos finos.
RA — São exemplos deste tipo de estruturas:
a) estruturas de retenção de água;
b) estruturas de controlo da percolação;
c) túneis;
d) grandes estruturas subterrâneas;
e) caves profundas;
f) taludes e estruturas de suporte;
g) melhoramentos de terrenos.
Artigo 52.º
(Manutenção)
A manutenção necessária para assegurar a segurança e a funcionalidade da estrutura deve ser especificada ao dono da obra ou cliente.
RA — As especificações relativas à manutenção devem fornecer informação sobre:
a) as partes críticas da estrutura que requeiram inspecção regular;
b) a frequência da inspecção.
CAPÍTULO V
Fundações superficiais
SECÇÃO I
Disposições gerais
Artigo 53.º
(Âmbito)
As disposições deste capítulo aplicam-se a fundações superficiais incluindo sapatas isoladas, sapatas contínuas e ensoleiramentos gerais. Algumas das disposições podem também aplicar-se a tipos de fundações profundas tais como pegões ou caixões.
Artigo 54.º
(Estados limites)
Deve ser feita uma compilação dos estados limites a considerar, que inclua os seguintes:
a) perda de estabilidade global;
b) rotura por carga excessiva;
c) rotura por deslizamento;
d) rotura conjunta no terreno e na estrutura;
e) rotura estrutural por movimento da fundação;
f) assentamentos excessivos;
g) empolamento excessivo do terreno;
h) vibrações inaceitáveis.
Artigo 55.º
(Acções e situações a considerar no projecto)
1. Para verificação dos estados limites devem considerar-se as acções referidas no artigo 11.º
RA — Quando a rigidez estrutural é significativa, é conveniente proceder a uma análise da interacção entre a estrutura e o terreno com vista à determinação da distribuição das acções.
2. As situações a considerar no projecto devem ser seleccionadas de acordo com os princípios definidos no artigo 8.º
RA — Ao seleccionar as situações a considerar no projecto para fundações superficiais é especialmente importante avaliar a posição do nível freático.
Artigo 56.º
(Considerações sobre o projecto e a construção)
1. Na definição da profundidade de uma fundação superficial, devem ter-se em conta os seguintes aspectos:
a) a necessidade de atingir um estrato com capacidade de carga adequada;
b) a profundidade até à qual retracções e expansões de solos argilosos, devidas a mudanças climáticas ou a árvores e arbustos, podem causar movimentos apreciáveis;
c) a posição do nível freático e as consequências da escavação ser realizada abaixo deste nível;
d) a possibilidade de movimentos do solo e de redução da resistência do estrato de fundação, originados por percolação, efeitos climáticos ou procedimentos construtivos;
e) os efeitos de escavações realizadas para construção de fundações e estruturas vizinhas;
f) as futuras escavações para instalações a realizar na proximidade da fundação;
g) os efeitos de temperaturas muito altas ou muito baixas transmitidos pela edificação;
h) a possibilidade de ocorrência de infra-escavação.
2. A largura da fundação deve ser dimensionada tendo em atenção, para além dos requisitos relativos ao comportamento da fundação, considerações de ordem prática que se prendem com a economia da escavação, o estabelecimento de tolerâncias e a necessidade de espaço de trabalho, bem como as dimensões das paredes ou dos pilares suportados pela fundação.
3. No dimensionamento de uma fundação superficial deve usar-se um dos seguintes métodos:
a) método directo, no qual se fazem análises separadas para cada um dos estados limites usando modelos de cálculo e considerando valores de cálculo para as acções e para os parâmetros do terreno. Nas verificações referentes a estados limites últimos, o cálculo deve modelar o mecanismo de rotura de forma tão aproximada quanto possível. Nas verificações referentes a estados limites de utilização devem ser normalmente efectuadas análises em termos de deformações;
b) método baseado em resistências do terreno nominais estimadas empiricamente, com base na experiência comparável, em resultados de ensaios de campo ou de laboratório ou observação escolhidas, tendo por referência os estados limites de utilização e devendo ainda satisfazer os requisitos de todos os estados limites relevantes.
Artigo 57.º
(Considerações adicionais sobre o projecto de fundações em maciços rochosos)
No dimensionamento de fundações superficiais em maciços rochosos devem ser tidos em conta os seguintes aspectos:
a) a deformabilidade e a resistência do maciço rochoso e o assentamento admissível da estrutura a suportar;
b) a presença, sob a fundação, de camadas com fracas características mecânicas, zonas de dissolução, falhas, etc.;
c) a presença de planos de estratificação e outras descontinuidades e respectivas características (tais como preenchimento, continuidade, largura e espaçamento);
d) o estado de alteração, decomposição e fracturação do maciço rochoso;
e) perturbação do estado natural do maciço rochoso provocada por actividades de construção, tais como escavações subterrâneas ou taludes, executadas na proximidade da fundação.
RA — As fundações superficiais em maciços rochosos devem ser normalmente dimensionadas utilizando o método das resistências do terreno nominais descrito no artigo 56.º, parágrafo 3.
Para rochas ígneas, gneisses, calcários e arenitos sãos e resistentes, a tensão admissível é normalmente limitada pelo valor da resistência à compressão do betão da própria fundação.
O assentamento de uma fundação pode ser determinado com base em experiência comparável, traduzida em classificações geotécnicas, conforme referido no artigo 34.º
SECÇÃO II
Verificação em relação aos estados limites últimos
Artigo 58.º
(Estabilidade global)
A segurança em relação à perda de estabilidade global deve ser verificada, em especial para as fundações nas seguintes situações:
a) em locais inclinados, taludes naturais ou aterros, ou nas suas proximidades;
b) na proximidade de escavações ou de muros de suporte;
c) na proximidade de cursos de água, de canais, de lagos, de reservatórios ou do mar;
d) na proximidade de trabalhos subterrâneos ou de estruturas enterradas.
Para estas situações deve demonstrar-se que a probabilidade de ocorrência de fenómenos de instabilização envolvendo o terreno que contém a fundação é suficientemente reduzida.
Artigo 59.º
(Rotura por insuficiente resistência do terreno)
1. A fim de demonstrar que a fundação suporta a carga de cálculo com adequada segurança em relação à rotura por insuficiente resistência do terreno, deve respeitar-se a seguinte relação para todas as hipóteses de carga e combinações de acções respeitantes a estados limites últimos:
Fnd ≤ Rnd
em que:
Fnd é o valor de cálculo da componente normal à fundação da carga correspondente ao estado limite último, incluindo o peso próprio da fundação e de qualquer material de enchimento; em condições drenadas as pressões da água devem normalmente ser incluídas no cálculo de Fnd;
Rnd é o valor de cálculo da capacidade de carga limite da fundação em relação às cargas normais, tendo em conta o efeito de quaisquer cargas inclinadas ou excêntricas, devendo ser calculada a partir de valores de cálculo dos parâmetros relevantes escolhidos de acordo com os artigos 12.º e 26.º a 40.º
RA — Quando as pressões da água em redor da fundação são hidrostáticas o cálculo de Fnd pode ser simplificado pela utilização de pesos submersos dos elementos estruturais situados abaixo do nível freático.
2. Para avaliação analítica do valor de cálculo da capacidade de carga vertical limite, Rnd, de uma fundação superficial, devem considerar-se tanto as situações de curto como as de longo prazo, em particular em solos finos, nos quais as variações das pressões intersticiais podem conduzir a alterações na resistência ao corte.
3. Quando o solo ou o maciço rochoso sob a fundação apresentar características estruturais bem definidas, quer de estratificação quer de descontinuidades em geral, o mecanismo de rotura considerado, bem como os valores da resistência ao corte e dos parâmetros de deformação, devem ter em conta estas características estruturais do terreno.
4. Na determinação da capacidade de carga de cálculo de fundações em depósitos altamente estratificados, devem determinar-se os valores de cálculo dos parâmetros do terreno para cada camada.
RA — Sempre que uma formação mais resistente esteja subjacente a outra menos resistente, a capacidade de carga pode ser calculada utilizando os parâmetros da camada menos resistente.
5. A capacidade de carga de cálculo de uma fundação superficial pode ser estimada semiempiricamente a partir dos resultados de ensaios de campo, tendo em conta a experiência comparável.
Artigo 60.º
(Rotura por deslizamento)
1. A verificação da segurança ao deslizamento deve ser feita sempre que o carregamento não seja normal à base da fundação.
2. Para a verificação da segurança ao deslizamento de uma fundação com base horizontal deve verificar-se a condição seguinte:
Fvd ≤ Rvd + Rpd
em que:
Fvd é a componente horizontal da carga de cálculo, incluindo os impulsos activos de cálculo;
Rvd é a resistência de cálculo ao deslizamento entre o terreno e a fundação;
Rpd é a resistência passiva de cálculo do terreno na zona lateral da fundação, que pode ser mobilizada com um deslocamento apropriado a este estado limite e se mantém mobilizável ao longo da vida da estrutura.
RA — Os valores de cálculo de Rvd e de Rpd devem ser relacionados com a escala do movimento previsto, nas condições do estado limite de carregamento considerado. Para grandes movimentos deve ter-se em conta a possível relevância do comportamento após pico.
3. Para fundações com base inclinada deve adoptar-se uma condição análoga à expressa por esta inequação.
4. Para fundações em solos argilosos na zona de movimentos sazonais, deve considerar-se a possibilidade de o solo experimentar retracção afastando-se das faces verticais da fundação.
5. Deve ser considerada a possibilidade de o solo envolvente da fundação poder ser removido pela acção da erosão ou do Homem.
6. Para condições drenadas, o valor de cálculo da resistência ao deslizamento deve ser calculado usando a seguinte expressão:
Rvd = F’nd tan (δd)
em que:
F’nd é a carga efectiva de cálculo, normal ao plano da fundação;
δd é o ângulo de atrito de cálculo entre o solo e a fundação.
RA — O ângulo de atrito de cálculo δd pode ser considerado igual ao ângulo de atrito interno de cálculo φd ’ para fundações betonadas contra o terreno e igual a 2/3 φd’ para fundações prefabricadas com superfície de contacto com o terreno de baixa rugosidade. A eventual coesão efectiva, c’, deve ser desprezada.
7. Para condições não drenadas, o valor de cálculo da resistência ao deslizamento deve, em geral, ser limitado por:
Rvd = A’ cud
em que:
A’ é a área da base efectiva de cálculo, definida como a base da fundação ou, no caso de uma carga excêntrica, como a área reduzida da fundação, cujo centróide é o ponto em que actua a resultante das forças.
No caso de ser possível a água ou o ar atingirem a interface entre a fundação e o terreno argiloso não drenado, deve também proceder-se à seguinte verificação:
Rvd ≤ 0,4Fnd
Esta verificação só pode ser dispensada caso a formação de um vazio entre a fundação e o terreno seja impedida por sucção nas zonas onde não haja uma pressão positiva da fundação no terreno.
Artigo 61.º
(Cargas com grandes excentricidades)
1. Se a excentricidade for superior a 1/3 da largura ou do comprimento, no caso de uma sapata rectangular, ou a 0,6 vezes o raio no caso de uma sapata circular, devem ser tidos em consideração os seguintes aspectos:
a) a necessidade de uma avaliação especialmente cuidadosa dos valores de cálculo das acções de acordo com o artigo 11.º;
b) a necessidade de estabelecer a localização do bordo mais carregado da fundação de forma conservativa, atendendo a possíveis desvios durante a construção.
RA — Salvo a observância de cuidados especiais durante a construção, devem considerar-se desvios até 0,10 m.
2. Na verificação da resistência do terreno deve ser usado o valor conservativo de cálculo acima indicado para a localização do bordo mais carregado da fundação.
Artigo 62.º
(Rotura estrutural por movimento da fundação)
1. Devem considerar-se os deslocamentos diferenciais, verticais e horizontais, exibidos por uma estrutura actuada pelas cargas de cálculo correspondentes aos estados limites últimos e os parâmetros de deformabilidade do terreno, para verificação de que não conduzem à ocorrência de um estado limite último na estrutura suportada.
RA — O método baseado em resistências nominais do terreno, indicado no artigo 56.º, parágrafo 3, pode ser adoptado, usando valores de cálculo das resistências nominais para os quais os deslocamentos não conduzam a um estado limite último na estrutura.
2. Em terrenos expansíveis devem ser avaliados os potenciais deslocamentos diferenciais de empolamento, e o dimensionamento das fundações e a da estrutura deve ser efectuado de molde a que estes resistam ou se adaptem a esses movimentos.
SECÇÃO III
Verificação em relação aos estados limites de utilização
Artigo 63.º
(Generalidades)
1. Os deslocamentos da fundação causados pela superstrutura devem ser considerados quer em termos de deslocamentos comuns a todo o sistema de fundação quer em termos de deslocamentos diferenciais das diferentes partes da fundação.
2. No cálculo dos deslocamentos da fundação para verificação dos estados limites de utilização devem ser adoptadas as cargas de cálculo correspondentes a esses estados limites.
3. Os deslocamentos verticais e horizontais da fundação devem ser determinados e comparados com os valores limites indicados no artigo 15.º
4. Devem ser considerados os deslocamentos causados pelas acções nas fundações, tais como as referidas no artigo 11.º
5. Apresentam-se no artigo 64.º considerações sobre o cálculo de deslocamentos verticais (assentamentos) causados pelo carregamento da fundação.
RA — Os cálculos dos assentamentos não podem ser considerados precisos, constituindo os respectivos resultados apenas uma estimativa aproximada.
Artigo 64.º
(Assentamentos)
1. Os cálculos dos assentamentos devem contemplar os assentamentos imediatos e os assentamentos diferidos no tempo.
RA — Para o cálculo de assentamentos em solos saturados devem ser consideradas três componentes:
a) assentamento sem drenagem, devido a deformações distorcionais a volume constante, s0;
b) assentamento por consolidação, s1;
c) assentamento por fluência, s2.
Deve dar-se especial atenção a situações tais como a ocorrência de solos orgânicos ou argilas sensíveis, em que o assentamento pode prolongar-se quase indefinidamente devido à fluência.
A profundidade até à qual se deve ter em conta a compressibilidade do terreno depende da dimensão e da forma da fundação, da variação da rigidez com a profundidade e ainda do espaçamento dos elementos da fundação.
Normalmente, esta profundidade pode ser tomada como aquela para a qual o acréscimo de tensão vertical efectiva devida à carga induzida pela fundação atinge 20% da tensão efectiva inicial.
Em muitos casos esta profundidade pode também ser aproximadamente estimada como sendo igual a uma a duas vezes a largura da fundação, mas pode ser reduzida para ensoleiramentos gerais relativamente pouco carregados. Esta simplificação não é válida para solos muito moles.
2. Devem também ser estimados os eventuais assentamentos adicionais causados por autocompactação do solo.
RA — Devem considerar-se os seguintes casos:
a) possíveis efeitos do peso próprio, inundação e vibração em aterros e solos colapsíveis;
b) efeito de variações de tensão em areias cujos grãos são susceptíveis de esmagamento.
3. Podem ser considerados adequados modelos lineares ou não lineares da rigidez do terreno.
4. Por forma a assegurar que não ocorre um estado limite de utilização, os assentamentos diferenciais e as rotações relativas devem ser estimados tendo em consideração tanto a distribuição de cargas como a variabilidade do solo.
RA — Os assentamentos diferenciais calculados sem ter em consideração a rigidez da estrutura são tendencialmente estimativas por excesso. Pode recorrer-se a uma análise da interacção terreno-estrutura para justificar uma redução dos valores dos assentamentos diferenciais.
Os assentamentos diferenciais causados pela variabilidade do terreno devem ser tomados em consideração, a menos que a rigidez da estrutura os impeça. Para fundações superficiais em terrenos naturais estes assentamentos podem tipicamente atingir 10 mm, não excedendo normalmente 50% do valor do assentamento total.
A inclinação de uma fundação excentricamente carregada pode ser estimada assumindo uma distribuição linear de tensões na superfície do terreno e calculando o assentamento sob os cantos da fundação. Este cálculo pode ser efectuado usando a distribuição de tensões verticais no terreno sob cada canto da fundação.
Artigo 65.º
(Análise de vibrações)
1. As fundações de estruturas submetidas a vibrações ou com cargas vibratórias devem ser dimensionadas por forma a que as vibrações não causem assentamentos e vibrações excessivos.
RA — Devem ser tomadas as devidas precauções para evitar a ressonância entre a frequência de excitação e a frequência própria do conjunto fundação-terreno, bem como a liquefacção do terreno.
2. As vibrações devidas à acção dos sismos devem ser consideradas de acordo com o Regulamento de Segurança e Acções em Estruturas de Edifícios e Pontes, aprovado pelo Decreto-Lei n.º 56/96/M, de 16 de Setembro e com métodos aceites internacionalmente de forma generalizada.
SECÇÃO IV
Cálculo estrutural
Artigo 66.º
(Cálculo estrutural das fundações superficiais)
1. A verificação das fundações superficiais relativamente à rotura estrutural deve ser feita de acordo com o exposto nos artigos 10.º a 15.º
RA — Para fundações rígidas pode assumir-se uma distribuição linear das tensões. Por razões económicas, pode justificar-se a utilização de análises mais refinadas, estudando a interacção terreno-estrutura seguindo os princípios enunciados no artigo 7.º, parágrafo 10.
Para o caso de uma fundação flexível, a distribuição de tensões deve ser obtida utilizando o modelo de viga ou laje apoiada num meio contínuo ou numa série de molas com rigidez e resistência adequadas.
2. A verificação dos estados limites de utilização de sapatas corridas e de ensoleiramentos gerais deve ser feita tendo em conta as cargas aplicadas correspondentes a estados limites de utilização e a distribuição das tensões correspondentes à deformação da fundação e do terreno.
RA — Em geral pode assumir-se uma distribuição linear de tensões.
Nas situações onde existem cargas concentradas actuantes em sapatas corridas ou em ensoleiramentos gerais, as forças e os momentos flectores na estrutura podem ser obtidos usando a Teoria da Elasticidade Linear e aplicando o modelo dos módulos de reacção. Os módulos de reacção devem ser obtidos através de uma análise dos assentamentos com uma distribuição de tensões adequadamente estimada. Os valores dos módulos de reacção devem ser ajustados por forma que as tensões calculadas não excedam os valores para os quais se pode assumir um comportamento elástico.
Os assentamentos totais e diferenciais da estrutura devem ser calculados de acordo com o exposto no artigo 64.º Para este efeito, o modelo dos módulos de reacção não é habitualmente apropriado.
Quando o efeito da interacção terreno-estrutura é dominante devem ser utilizados métodos mais precisos, como o método dos elementos finitos.
CAPÍTULO VI
Fundações por estacas
SECÇÃO I
Disposições gerais
Artigo 67.º
(Âmbito)
As disposições deste capítulo aplicam-se a estacas de ponta e flutuantes, carregadas à compressão, à tracção ou transversalmente, construídas por cravação estática ou dinâmica, aparafusamento, ou moldagem, com ou sem injecções.
Artigo 68.º
(Estados limites)
Deve ser feita uma compilação dos estados limites a considerar, que inclua os seguintes:
a) perda de estabilidade global;
b) rotura por insuficiente resistência à compressão da fundação;
c) rotura por arranque devido a insuficiente resistência do terreno;
d) rotura do terreno devida ao carregamento transversal da estaca;
e) rotura estrutural da estaca por compressão, tracção, flexão, encurvadura ou corte;
f) rotura conjunta no terreno e na fundação por estacas;
g) rotura conjunta no terreno e na estrutura;
h) assentamentos excessivos;
i) empolamento excessivo do terreno;
j) vibrações inaceitáveis.
SECÇÃO II
Acções e situações a considerar no projecto
Artigo 69.º
(Generalidades)
1. Para verificação dos estados limites devem considerar-se as acções listadas no artigo 11.º
2. As situações a considerar no projecto devem ser seleccionadas de acordo com os princípios definidos no artigo 8.º
RA — Pode ser necessária uma análise da interacção terreno-estrutura por forma a determinar a distribuição das acções provenientes da estrutura a adoptar no dimensionamento das fundações por estacas. Na análise de interacção pode ser necessário considerar valores característicos inferiores ou superiores dos parâmetros de deformação.
Artigo 70.º
(Considerações sobre as acções devidas a deslocamentos do terreno)
1. O terreno onde se inserem as estacas pode estar sujeito a deslocamentos devidos a consolidação, expansão, cargas na vizinhança, fluência do solo, deslizamentos e sismos. Estes fenómenos influenciam as estacas, podendo ser a causa de ocorrência de atrito lateral negativo, de empolamento do terreno, de tracções, de carregamento transversal e de deslocamento da estaca. Para estas situações, os valores de cálculo da resistência e da rigidez a atribuir ao terreno susceptível de sofrer deslocamento, devem ser em geral valores superiores.
2. No projecto deve adoptar-se um dos procedimentos seguintes:
a) o deslocamento do terreno é tratado como uma acção, sendo as forças, deslocamentos e deformações na estaca determinados mediante uma análise de interacção;
b) o limite superior da força que o terreno pode transmitir à estaca é introduzido como acção de cálculo. Na determinação desta força deve ter-se em conta a resistência do solo e a origem do carregamento, sendo este representado pelo peso ou pela compressão do solo que está sujeito a movimento, ou ainda pela grandeza das acções que originam a perturbação.
Artigo 71.º
(Acções devidas ao atrito lateral negativo)
1. No caso de os cálculos de projecto serem executados tratando a força resultante do atrito lateral negativo como uma acção, o seu valor deve ser o máximo que pode ser gerado por grandes assentamentos do terreno relativamente à estaca.
RA — O cálculo das forças máximas resultantes de atrito lateral negativo deve ter em conta a resistência ao corte do solo ao longo do fuste da estaca, a profundidade do solo compreensível, o peso do solo e o carregamento superficial em torno de cada estaca que é a causa do assentamento.
Para um grupo de estacas é possível calcular um limite superior da força resultante de atrito lateral negativo a partir do peso da sobrecarga que provoca o assentamento, tomando em consideração as variações das pressões intersticiais devidas a rebaixamento do nível freático, consolidação ou cravação de estacas.
2. Quando se prevê que o assentamento do terreno depois da construção das estacas seja reduzido, pode obter-se um projecto económico mediante o seu tratamento como acção e a execução de uma análise de interacção. O valor de cálculo do assentamento do terreno deve ser obtido tendo em conta o peso volúmico e a compressibilidade de acordo com o artigo 12.º
RA — Os cálculos de interacção devem tomar em conta os deslocamentos da estaca relativamente ao terreno circundante que sofre assentamentos, a resistência ao corte do solo ao longo do fuste da estaca e o peso do solo, bem como o eventual carregamento superficial em torno de cada estaca, que são a causa da mobilização do atrito lateral negativo.
Artigo 72.º
(Empolamento do terreno)
Para consideração do efeito de empolamento, ou de forças ascensionais que podem ocorrer ao longo do fuste da estaca, o movimento do terreno deve geralmente ser tratado como uma acção.
RA — Expansão ou empolamento do terreno podem resultar da descarga ou escavação do terreno e da cravação de estacas em zonas vizinhas. Tal pode também dever-se ao aumento do teor em água do terreno como resultado da remoção de árvores, restabelecimento da ligação com aquíferos, impedimento da evaporação devido a novas construções e acidentes.
Pode ocorrer empolamento do terreno durante a construção, antes de as estacas serem sujeitas ao carregamento proveniente da estrutura, o que pode causar levantamento inaceitável ou rotura estrutural das estacas.
Artigo 73.º
(Carregamento transversal)
Os movimentos transversais do terreno originam um carregamento transversal nas fundações por estacas, o qual deve ser considerado caso ocorra uma das seguintes situações ou combinações destas situações:
a) diferentes sobrecargas em lados opostos da fundação por estacas;
b) diferentes níveis de escavação em lados opostos da fundação por estacas;
c) proximidade da extremidade de um aterro;
d) fundação por estacas construída num talude sujeito a fluência;
e) estacas inclinadas em terrenos sujeitos a assentamentos.
RA — O carregamento transversal em fundações por estacas deve normalmente ser avaliado mediante consideração das estacas como vigas num terreno deformável.
No caso de a deformação horizontal das camadas superficiais de menor resistência ser grande e de as estacas terem espaçamento elevado, o carregamento transversal resultante depende da resistência ao corte das camadas de menor resistência.
SECÇÃO III
Métodos de dimensionamento e considerações sobre o projecto
Artigo 74.º
(Métodos de dimensionamento)
O dimensionamento deve basear-se num dos seguintes procedimentos:
a) utilização de resultados de ensaios de carga estática em relação aos quais haja sido demonstrado, mediante cálculos ou por outros meios, serem consistentes com outra experiência relevante;
b) utilização de métodos de cálculo analíticos ou empíricos, cuja validade tenha sido demonstrada através de ensaios de carga estática em situações comparáveis;
c) utilização de resultados de ensaios de carga dinâmica cuja validade tenha sido demonstrada através de ensaios de carga estática em situações comparáveis.
RA — Os valores de cálculo dos parâmetros usados no dimensionamento devem, em geral, estar de acordo com o estipulado nos artigos 26.º a 40.º, mas os resultados de ensaios de carga podem também ser tidos em conta para a escolha dos valores dos parâmetros.
Os ensaios de carga estática podem ser feitos em estacas experimentais, que são construídas antes da finalização do projecto, ou em estacas definitivas que fazem parte da fundação.
Em vez de realizar ensaios de carga, é por vezes aceitável utilizar o comportamento observado de uma fundação por estacas comparável, previamente existente, desde que tal seja suportado por resultados da prospecção geotécnica e ensaios do terreno.
As fundações de estruturas classificadas na Categoria Geotécnica 1 podem ser dimensionadas com base em experiência comparável, sem confirmação através de ensaios de carga ou de cálculos, desde que o tipo de estaca e as condições do terreno se limitem à área onde essa experiência existe, que as condições de terreno sejam verificadas e que a construção das estacas seja controlada de acordo com os princípios do capítulo IV.
Artigo 75.º
(Considerações sobre o projecto)
1. Deve ser tido em consideração o comportamento de estacas isoladas e de grupos de estacas bem como a rigidez e a resistência da estrutura de ligação das estacas.
2. Na selecção dos métodos de cálculo e dos valores dos parâmetros, bem como na utilização de ensaios de carga, a duração do carregamento e a sua variação no tempo devem ser tidos em consideração.
3. A eventual colocação ou remoção futura de material de sobrecarga, bem como as variações potenciais do regime hidrogeológico, devem ser tomadas em consideração tanto nos cálculos como na utilização dos resultados de ensaios de carga.
4. A escolha do tipo de estaca, incluindo a qualidade do material da estaca e o processo de construção, deve ter em consideração os seguintes factores:
a) as condições locais do terreno, incluindo a eventual existência de obstáculos;
b) as tensões instaladas na estaca durante a sua construção;
c) a possibilidade de preservação e verificação da integridade da estaca;
d) o efeito do processo e sequência de construção nas estacas já construídas, ou em estruturas e equipamentos preexistentes;
e) as tolerâncias com que as estacas podem ser construídas;
f) os efeitos prejudiciais devidos à presença de produtos químicos no terreno.
RA — Para consideração destes factores, deve tomar-se em atenção o seguinte:
a) o espaçamento das estacas em grupos de estacas;
b) os deslocamentos ou vibrações em estruturas adjacentes devido à construção das estacas;
c) o tipo de martelo ou vibrador utilizado;
d) as tensões dinâmicas na estaca durante a cravação;
e) para estacas moldadas em que seja necessário um fluído de sustentação, a necessidade de manter a pressão do fluído a um nível que assegure que as paredes do furo não sofrem colapso e que não ocorre rotura hidráulica no fundo do furo;
f) limpeza do fundo do furo e, por vezes, da superfície lateral, especialmente quando se recorre a suspensões bentoníticas, com vista à remoção de material remexido;
g) instabilização local do furo da estaca durante a betonagem da estaca, que possa causar uma inclusão de solo na estaca;
h) inclusão de solo ou água no corpo de estacas moldadas;
i) alteração do betão antes da presa devido a escoamento de água no terreno;
j) o efeito de extracção de água do betão devido à presença de camadas de areia não saturadas em torno de uma estaca;
k) o efeito retardador de presa de produtos químicos existentes no terreno ou o efeito do movimento da água subterrânea no betão fresco em estacas moldadas sem revestimento permanente;
l) compactação do terreno devido à cravação de estacas com deslocamento de terreno;
m) perturbação do terreno devido à abertura de furos para estacas moldadas.
SECÇÃO IV
Ensaios de carga em estacas
Artigo 76.º
(Generalidades)
1. Devem efectuar-se ensaios de carga em estacas nas seguintes situações:
a) quando se utilize um tipo de estaca ou método de construção em relação ao qual não exista experiência comparável e que não tenha sido ensaiado em situações semelhantes no que respeita ao tipo de terreno e ao carregamento;
b) quando se utilize um sistema de fundação por estacas que não seja conhecido dos técnicos intervenientes no processo construtivo;
c) quando as estacas forem submetidas a carregamentos para os quais, de acordo com a teoria e a experiência existentes, não seja possível efectuar o projecto com a confiança desejada; neste caso, o ensaio deve reproduzir as condições de carregamento da estaca durante a sua vida útil;
d) quando, durante a construção, se verificar que o comportamento da estaca se desvia consideravelmente, e de um modo desfavorável, do comportamento esperado com base no reconhecimento do local ou na experiência e caso os estudos geotécnicos adicionais não clarifiquem a razão para a existência deste desvio.
RA — Podem utilizar-se ensaios de carga em estacas para:
a) avaliar a adequação do método construtivo;
b) determinar a resposta ao carregamento, de uma estaca representativa e do terreno circundante, tanto em termos de assentamento como de carga limite;
c) verificar o comportamento de estacas isoladas e permitir o julgamento sobre todo o conjunto da fundação por estacas.
Quando os ensaios de carga não são viáveis devido a dificuldades na modelação da variação do carregamento (por exemplo carregamento cíclico) devem usar-se valores de cálculo conservativos das propriedades dos materiais.
2. No caso de se realizar apenas um ensaio de carga, a estaca deve localizar-se na zona onde se presuma existirem as condições de terreno mais adversas. Se tal não for possível, deve introduzir-se uma segurança adicional no cálculo da capacidade de carga.
No caso de se realizarem ensaios em duas ou mais estacas, os locais escolhidos devem ser representativos do terreno da fundação, devendo uma das estacas localizar-se na zona onde se presuma existirem as condições de terreno mais adversas.
3. Entre a construção das estacas a ensaiar e o início do ensaio, deve decorrer o tempo suficiente para que o material da estaca adquira a resistência requerida, bem como para que sejam repostos os valores iniciais das pressões intersticiais.
RA — Em alguns casos pode ser necessário registar as pressões intersticiais provocadas pela construção das estacas e a sua subsequente dissipação, por forma a poder tomar-se uma decisão adequada quanto ao início do ensaio da carga.
4. Os ensaios de carga em estacas devem ser realizados por uma entidade independente e qualificada.
5. A execução dos ensaios de estacas e do respectivo relatório devem decorrer sob a responsabilidade de um engenheiro civil com conhecimentos geotécnicos e experiência adequados.
Artigo 77.º
(Ensaios de carga estática)
1. O procedimento de ensaio, particularmente no que respeita ao número de escalões de carregamento, à sua duração e aos ciclos de carga e descarga, deve ser tal que permita extrair conclusões acerca do comportamento em termos de deformação, fluência e recuperação da fundação por estacas a partir das medições na estaca. No caso de estacas experimentais, o carregamento deve ser tal que permita estabelecer conclusões sobre a carga de rotura.
RA — Os ensaios de carga estática devem ser realizados de acordo com as seguintes normas:
a) carga axial de compressão: ASTM D 1143;
b) carga axial de tracção: ASTM D 3689;
c) carga transversal: ASTM D 3966.
A aparelhagem para determinação das forças, tensões, deformações e deslocamentos deve ser calibrada antes dos ensaios.
A direcção da força aplicada em ensaios de compressão ou de tracção deve coincidir com o eixo longitudinal da estaca.
De uma forma geral, os ensaios de carga para dimensionamento de estacas à tracção devem ser levados até à rotura. Em ensaios de tracção não se deve extrapolar a partir do gráfico carga-deslocamento.
2. O número de estacas experimentais necessárias para verificação do dimensionamento deve ser escolhido com base nos seguintes aspectos:
a) as condições do terreno e a sua variabilidade espacial;
b) a categoria geotécnica da estrutura;
c) evidências prévias documentadas do comportamento do mesmo tipo de estaca em condições de terreno semelhantes;
d) o número total e o tipo das estacas.
3. As características do terreno no local do ensaio da estaca experimental devem ser investigadas detalhadamente. A profundidade das sondagens ou dos ensaios de campo deve ser suficiente para permitir estimar a natureza do terreno que se encontra em redor e sob a ponta da estaca. Devem ser incluídos todos os estratos de terreno que se preveja contribuírem significativamente para o comportamento da estaca em termos de deformação, pelo menos até uma profundidade de 5 diâmetros da estaca sob a sua ponta, excepto nos casos em que se encontre rocha sã ou solo muito rijo a menor profundidade.
4. O processo utilizado para a construção da estaca experimental deve ser totalmente documentado de acordo com o artigo 99.º
5. O número de ensaios de carga em estacas definitivas deve ser estabelecido com base no registo das ocorrências verificadas durante a construção, e deve ser pelo menos 1% do número total de estacas, com um mínimo de um. Em casos especiais, devidamente justificados e documentados, em que problemas de falta de espaço ou outros tornem inviável a realização do número mínimo de ensaios de carga estática, alguns destes ensaios podem ser substituídos por ensaios de carga dinâmica. Neste caso, os ensaios de carga dinâmica devem ser calibrados com os ensaios de carga estática.
RA — O número de ensaios de carga dinâmica para substituição de um ensaio de carga estática deve ser no mínimo 2. A decisão sobre o número correcto de ensaios dinâmicos deve resultar do julgamento do engenheiro civil responsável pelo projecto.
A forma de escolha das estacas a ensaiar pode ser prescrita nos documentos contratuais. Esta escolha pode ser complementada com base no registo de ocorrências durante a construção.
6. A carga aplicada nos ensaios de estacas definitivas deve ser pelo menos igual a 1,5 vezes o valor de cálculo da carga utilizada no dimensionamento da fundação.
RA — Quanto à carga a aplicar nos ensaios de carga estática recomenda-se que seja seguida a norma ASTM 1143.
Artigo 78.º
(Ensaios de carga dinâmica)
1. Os resultados dos ensaios de carga dinâmica podem ser utilizados no dimensionamento desde que tenha sido realizado um programa adequado de caracterização do terreno e o método de ensaio tenha sido calibrado em relação a ensaios de carga estática no mesmo tipo de estacas, com comprimento e secção semelhantes, e em condições de terreno comparáveis.
2. Os resultados de ensaios de carga dinâmica devem ser sempre interpretados com base numa análise comparativa.
RA — Estes ensaios podem ser usados como um indicador da uniformidade entre as várias estacas e para detectar estacas menos resistentes.
Artigo 79.º
(Relatório do ensaio de carga)
Deve elaborar-se um relatório de todos os ensaios de carga, o qual deve incluir, quando apropriado:
a) a descrição do local;
b) as condições do terreno, com referência à caracterização geotécnica;
c) o tipo de estaca;
d) a descrição dos equipamentos de aplicação de carga e de medição, bem como do sistema de reacção;
e) os documentos de calibração do equipamento de medida;
f) o registo da construção das estacas ensaiadas;
g) o registo fotográfico da estaca e do local de ensaio;
h) os resultados do ensaio em forma numérica;
i) os gráficos tempo-assentamento para cada carga aplicada, no caso de ser utilizado um procedimento de carregamento por escalões;
j) o comportamento medido em termos de carga-assentamento;
k) a justificação das razões de quaisquer desvios que se verifiquem em relação às recomendações acima apresentadas.
SECÇÃO V
Estacas em compressão
Artigo 80.º
(Estados limites)
No dimensionamento deve demonstrar-se que existe segurança aceitável relativamente às seguintes classes de estados limites:
a) estados limites últimos de rotura por perda de estabilidade global;
b) estados limites últimos de rotura por insuficiente capacidade de carga do terreno de fundação;
c) estados limites últimos de colapso ou danos severos da estrutura suportada causados por deslocamentos da fundação por estacas;
d) estados limites de utilização da estrutura suportada, causados por deslocamentos das estacas.
RA — A estabilidade global deve ser verificada de acordo com o artigo 81.º Em condições normais, o dimensionamento deve então considerar a margem de segurança em relação à rotura por carga excessiva, que é o estado em que as estacas se deslocam indefinidamente para dentro do terreno com um aumento insignificante da resistência.
Os assentamentos das estacas são considerados no artigo 87.º Em casos de estacas que necessitem de grandes assentamentos para atingir a sua capacidade de carga limite, podem ocorrer estados limites últimos nas estruturas suportadas antes de a capacidade de carga das estacas ser totalmente mobilizada. Nestes casos, o procedimento usado no artigo 83.º para obtenção dos valores característicos e de cálculo devem ser também aplicados a toda a curva carga-assentamento, com os mesmos factores numéricos.
Artigo 81.º
(Verificação relativamente à estabilidade global)
1. Deve ter-se em consideração a possibilidade de rotura por perda de estabilidade global de fundações envolvendo estacas em compressão.
RA — Em casos em que exista a possibilidade de instabilidade, devem considerar-se superfícies de rotura que passem por baixo das estacas e que as intersectem.
2. As cláusulas constantes do artigo 58.º, relativas à estabilidade global de fundações superficiais, aplicam-se também a fundações envolvendo estacas em compressão.
Artigo 82.º
(Verificação relativamente à capacidade de carga)
1. A fim de demonstrar que a fundação suporta a carga de cálculo com adequada segurança em relação à rotura por carga excessiva, deve ser respeitada, para todas as hipóteses de carga e combinações de acções respeitantes a estados limites últimos, a seguinte relação:
Fcd ≤ Rcd
em que:
Fcd é a carga axial de compressão de cálculo correspondente ao estado limite último;
Rcd é a soma de todas as componentes da capacidade de carga de cálculo da fundação por estacas para cargas axiais, correspondentes ao estado limite último, tendo em consideração o efeito de quaisquer cargas inclinadas ou excêntricas.
RA — Em princípio, Fcd deve incluir o peso próprio da estaca e Rcd deve incluir a pressão do terreno sobrejacente à base da fundação. No entanto, estas duas parcelas podem ser desprezadas no caso de os seus valores se anularem aproximadamente. Estas parcelas podem não se anular no caso de:
a) o atrito lateral negativo ser significativo;
b) o solo ser muito leve;
c) a estaca se prolongar para cima da superfície do terreno.
2. No caso de grupos de estacas, devem considerar-se dois mecanismos de rotura;
a) rotura por carga excessiva das estacas isoladas;
b) rotura por carga excessiva do conjunto formado pelas estacas e pelo solo contido entre elas, considerado como um bloco.
O valor da resistência a considerar no dimensionamento é o menor destes dois.
RA — Em geral, a capacidade de carga de um grupo de estacas actuando como um bloco pode ser calculada tratando o bloco como uma estaca isolada de grande diâmetro. Quando se utilizam estacas para reduzir o assentamento de um ensoleiramento a resistência deste conjunto, correspondente à carga de fluência, pode ser usada para análise dos estados limites de utilização da estrutura.
3. Na determinação da capacidade de carga de estacas individuais deve tomar-se em consideração o potencial efeito adverso das estacas adjacentes.
4. No caso de, sob o estrato em que a estaca está fundada, existir uma camada de terreno de menor resistência, o efeito desta camada na capacidade de carga da fundação deve ser tido em consideração.
5. Para determinação da capacidade de carga de um grupo de estacas, deve tomar-se em consideração a natureza da estrutura de ligação das estacas do grupo.
RA — Se as estacas suportam uma estrutura flexível, deve assumir-se que a ocorrência de um estado limite é condicionada pela capacidade de carga da estaca menos resistente.
Se as estacas suportam uma estrutura rígida, deve tirar-se partido da redistribuição das cargas nas estacas proporcionada pela estrutura. Só ocorre um estado limite no caso de um número significativo de estacas entrar em rotura em conjunto, pelo que modos de rotura envolvendo apenas uma estaca não necessitam de ser considerados.
Deve ser prestada especial atenção à possível rotura de estacas periféricas causada por cargas inclinadas ou excêntricas provenientes da estrutura suportada.
Artigo 83.º
(Capacidade de carga com base em ensaios de carga em estacas)
1. Os ensaios de carga em estacas devem ser realizados de acordo com o estipulado nos artigos 76.º a 79.º e devem ser especificados no projecto.
2. As estacas experimentais a ensaiar devem ser construídas de forma idêntica às estacas definitivas e devem ser fundadas no mesmo estrato.
RA — No caso de o diâmetro das estacas experimentais não ser igual ao das estacas definitivas, a possível diferença de comportamento devido à diferença de diâmetros deve ser considerada na determinação da capacidade de carga a adoptar.
No caso de fundações com estacas de grande diâmetro, é frequentemente impraticável a realização dos ensaios de carga em estacas experimentais de tamanho real. Nestes casos, as estacas experimentais podem ser de menor diâmetro, desde que:
a) a relação de diâmetros entre as estacas experimentais e as estacas definitivas não seja inferior a 0,5;
b) as estacas experimentais sejam construídas e instaladas por processos idênticos às estacas definitivas;
c) as estacas experimentais sejam instrumentadas de forma a que, a partir das medições efectuadas, seja possível determinar separadamente as resistências de ponta e lateral.
Deve ter-se especial cuidado no uso deste procedimento no caso de estacas tubulares cravadas não obturadas, devido à influência do diâmetro na mobilização da resistência de ponta conferida pela formação de um rolhão de terreno na estaca.
3. No caso de estacas sujeitas a atrito lateral negativo, a resistência da estaca, na rotura ou para um deslocamento correspondente à verificação do estado limite último, determinada dos resultados do ensaio de carga, é dada pela força medida na cabeça da estaca menos o valor mais desfavorável da resistência lateral de cálculo do estrato compressível.
RA — Durante o ensaio de carga é mobilizado atrito lateral positivo ao longo de toda a estaca, o qual deve ser considerado de acordo com o artigo 71.º A carga máxima a aplicar à estaca definitiva ensaiada deve ser superior à soma da carga de cálculo com o dobro da força prevista devida a atrito lateral negativo.
4. Para estimar o valor característico da capacidade de carga, Rck, a partir dos resultados de ensaios de carga, Rc, de uma ou várias estacas, deve ter-se em conta a variabilidade do terreno e dos efeitos do método construtivo. Como requisito mínimo, ambas as condições a) e b) do Quadro 2 devem ser satisfeitas ao aplicar a equação:
| Rck= | Rc |
| ξ |
Quadro 2
Coeficientes de conversão ξ para obtenção de Rck
| Número de ensaios de carga | 1 | 2 | >2 |
| a) Coeficiente ξ afectando o valor médio de Rc | 1,5 | 1,35 | 1,3 |
| b) Coeficiente ξ afectando o valor mínimo de Rc | 1,5 | 1,25 | 1,1 |
RA — Na interpretação dos ensaios de carga em estacas, deve procurar-se separar a componente sistemática da componente aleatória da variabilidade do terreno. As variações sistemáticas podem ser tomadas em consideração mediante a divisão do local em diferentes zonas homogéneas, ou mediante a definição de uma tendência global em função da posição da estaca.
Os registos de construção das estacas a ensaiar devem ser verificados, devendo-se tomar em consideração qualquer desvio verificado em relação às condições normais de execução. Tais desvios podem ser parcialmente cobertos através de uma adequada escolha das estacas a ensaiar.
5. Para obter a capacidade de carga de cálculo, o valor característico Rck deve ser decomposto nas parcelas Rbk e Rlk correspondentes, respectivamente, ao valor da resistência de ponta e da resistência lateral, de tal forma que:
Rck = Rbk + Rlk
RA — A relação entre estas parcelas pode ser obtida a partir dos resultados dos ensaios de carga caso se proceda à sua medição, ou estimada usando os métodos referidos no artigo 84.º
6. A capacidade de carga de cálculo, Rcd, deve ser obtida através da equação:
|
Rcd = |
Rbk | + | Rlk |
| γb | γl |
em que γb e γl são dados no Quadro 3.
Quadro 3
Valores de γb, γl e γt
| Factores parciais de segurança | γb | γl | γt |
| Estacas cravadas | 1,3 | 1,3 | 1,3 |
| Estacas moldadas | 1,6 | 1,3 | 1,5 |
| Estacas com trado contínuo | 1,45 | 1,3 | 1,4 |
RA — Normalmente o ensaio de carga fornece os diagramas carga-assentamento e tempo-assentamento sem distinção entre resistência de ponta e resistência lateral. Assim, é frequentemente impossível fazer a distinção entre os factores parciais de segurança para obtenção dos valores de cálculo da resistência de ponta e da resistência lateral. Neste caso deve aplicar-se o factor parcial γt , cujos valores são dados no Quadro 3, ao valor característico da capacidade de carga limite.
Artigo 84.º
(Capacidade de carga com base em ensaios do terreno)
1. A capacidade de carga de cálculo de uma estaca Rcd, deve ser obtida através da equação:
Rcd = Rbd + Rld
em que:
Rbd é a resistência de ponta de cálculo;
Rld é a resistência lateral de cálculo.
2. Os valores de Rbd e Rld são dados por:
|
Rbd = |
Rbk | e |
Rld = |
Rlk |
| γb | γl |
onde:
|
Rbk = |
qbkAb |
e |
Rlk = |
n | qlikAli |
| Σ | |||||
| i=1 |
em que:
Rbk, Rlk são os valores característicos das resistências de ponta e lateral;
Ab é a área nominal da base da estaca;
Ali é a área lateral nominal da estaca na camada de terreno i;
qbk é o valor característico da resistência de ponta por unidade de área;
qlik é o valor característico da resistência lateral por unidade de área na camada i.
3. Os valores de γb e γl são dados no Quadro 3.
4. Os valores característicos de qbk e de qlik devem ser calculados por intermédio de regras de cálculo que tenham como base correlações aceites entre resultados de ensaios de carga estática e de ensaios de campo ou de laboratório. Estas regras de cálculo devem ser estabelecidas de tal forma que as capacidades de carga limite obtidas a partir dos valores característicos qbk e qlik não excedam, em termos médios, as capacidades de carga limites medidas, que foram usadas para estabelecer as correlações, divididas por 1,5.
5. As regras de cálculo devem ser definidas com base em experiência comparável, tal como definida no artigo 4.º
RA — Na análise da validade de uma regra de cálculo devem ser considerados os seguintes factores:
a) o tipo de solo, incluindo a composição granulométrica, a mineralogia, o coeficiente de uniformidade, a compacidade, a tensão de pré-consolidação, a compressibilidade e a permeabilidade;
b) A construção da estaca, incluindo o método de furação ou cravação (ou outro método de construção), o comprimento, o diâmetro e o tipo de material;
c) o método de ensaio do terreno.
6. Para cálculo da resistência de ponta de uma estaca deve considerar-se uma zona de terreno que se estende para cima e para baixo da ponta da estaca.
RA — A zona do terreno que influencia a resistência de ponta estende-se por uma zona de vários diâmetros acima e abaixo da ponta da estaca. No dimensionamento deve ter-se em consideração a eventual existência de uma camada de baixa resistência nesta zona, que pode ter uma grande influência na resistência de ponta da estaca.
Caso exista terreno de baixa resistência a uma profundidade inferior a 4 vezes o diâmetro base sob a ponta da estaca, deve tomar-se em consideração um mecanismo de rotura por punçoamento.
7. Para estacas cravadas tubulares ocas ou constituídas por dois perfis metálicos em U soldados, com aberturas superiores a 500 mm, sem quaisquer dispositivos no interior do tubo que assegurem a formação de um rolhão, a resistência de ponta deve ser limitada ao menor dos seguintes valores:
• a resistência ao corte entre o rolhão de terreno e a face interior do tubo;
• a resistência de ponta calculada usando a secção transversal da ponta da estaca.
8. Em estacas com ponta alargada com placas de tamanho superior à secção da estaca, deve ter-se em atenção o possível efeito adverso da existência da placa nas resistências de ponta e por atrito lateral.
Artigo 85.º
(Capacidade de carga com base em fórmulas de cravação)
1. Caso se utilizem fórmulas de cravação de estacas para determinação da capacidade de carga à compressão de estacas isoladas, a validade das fórmulas deve ter sido demonstrada através de evidências de bom comportamento experimental prévio ou através de ensaios de carga estática realizados no mesmo tipo de estaca, com o mesmo comprimento e secção e em condições de terreno semelhantes.
2. Só podem ser utilizadas fórmulas de cravação de estacas caso seja conhecida a estratificação do terreno.
3. O projecto deve especificar o número de estacas a recravar. Caso as estacas recravadas forneçam resultados mais baixos, devem ser estes os utilizados para determinação da capacidade de carga. Caso os resultados da recravação sejam mais altos, tal facto pode ser tido em consideração.
RA — De um modo geral, deve proceder-se a recravação em solos siltosos, excepto se experiência comparável local tiver mostrado que tal é desnecessário.
Artigo 86.º
(Capacidade de carga com base na equação da onda)
1. No caso de se utilizar a análise da equação de propagação de ondas para determinação da capacidade de carga de estacas isoladas em compressão, o método de análise deve ter sido previamente validado através de evidente boa adequação ou através de ensaios de carga estática no mesmo tipo de estaca, com o mesmo comprimento e secção, e em condições de terreno semelhantes. O nível de energia fornecido durante o ensaio de carga dinâmica deve ser suficientemente elevado para permitir uma adequada interpretação da capacidade de carga da estaca para um nível de deformação elevado.
2. Os parâmetros utilizados na análise baseada na equação da onda podem ser sujeitos a modificações caso sejam executados ensaios de carga dinâmica em estacas experimentais.
RA — Os ensaios de carga dinâmica podem fornecer valiosa informação sobre o comportamento real do martelo e sobre os parâmetros dinâmicos do terreno.
3. De um modo geral a análise baseada na equação da onda só se deve realizar no caso de a estratificação do terreno ter sido investigada mediante sondagens e ensaios de campo.
Artigo 87.º
(Assentamentos)
1. Os assentamentos para estados limites últimos ou de utilização devem ser determinados e comparados com os valores limites das deformações relevantes indicados no artigo 15.º
2. Nos casos em que possam ocorrer estados limites últimos na estrutura suportada antes da capacidade de carga das estacas ser totalmente mobilizada, os procedimentos indicados no artigo 83.º para obtenção dos valores característicos e de cálculo devem ser também aplicados a toda a curva carga-assentamento, com os mesmos valores numéricos para os factores parciais e o mesmo tratamento do atrito lateral negativo.
3. A quantificação do assentamento deve incluir as seguintes componentes:
a) assentamento da estaca isolada;
b) assentamento adicional devido ao efeito de grupo.
A análise dos assentamentos deve incluir uma estimativa dos assentamentos diferenciais que se prevê ocorrerem.
SECÇÃO VI
Estacas à tracção
Artigo 88.º
(Generalidades)
O projecto de estacas à tracção deve ser coerente com as regras de cálculo apresentadas nos artigos 80.º a 87.º, sempre que tal for aplicável. Nesta secção apresentam-se as regras de cálculo específicas para fundações envolvendo estacas à tracção.
Artigo 89.º
(Verificação relativamente à resistência à tracção)
1. A fim de demonstrar que a fundação suporta a carga de cálculo com adequada segurança em relação à rotura por tracção, deve ser respeitada, para todas as hipóteses de carga e combinações de acções respeitantes a estados limites últimos, a seguinte relação:
Ftd ≤ Rtd
em que:
Ftd é a carga axial de tracção de cálculo correspondente ao estado limite último;
Rtd é a resistência de cálculo a cargas axiais de tracção da fundação por estacas, correspondente ao estado limite último.
2. No caso de estacas à tracção devem considerar-se dois mecanismos de rotura:
a) arrancamento da estaca do terreno;
b) levantamento do bloco de terreno que contém as estacas.
RA — No caso de estacas à tracção isoladas ou de grupos de estacas à tracção, a rotura pode ocorrer por arrancamento de um cone de terreno, especialmente no caso de estacas com a ponta alargada ou penetrando em rocha.
3. A fim de demonstrar que há adequada segurança em relação à rotura por levantamento do bloco de terreno que contém as estacas, como se ilustra na Figura 1, a seguinte relação deve ser respeitada para todas as hipóteses de carga e combinações de acções respeitantes a estados limites últimos:
Ftd ≤ Wd — (F2d — F1d) + Rvd
Figura 1
Rotura por levantamento de um grupo de estacas à tracção
em que:
Ftd é a carga axial de tracção de cálculo actuando no grupo de estacas;
Wd é o valor de cálculo do peso do bloco de terreno (incluindo a água) e das estacas;
Rvd é o valor de cálculo da resistência ao corte nas superfícies laterais do bloco de terreno;
F1d é o valor de cálculo da força de sentido descendente devida à pressão da água no topo da fundação por estacas;
F2d é o valor de cálculo da força de sentido ascendente devida à pressão da água na base do bloco de terreno.
RA — Normalmente o efeito de bloco condiciona a resistência à tracção de cálculo caso a distância entre as estacas seja igual ou inferior à raiz quadrada do produto do comprimento da estaca pelo seu diâmetro.
4. O efeito de grupo, que pode reduzir a tensão vertical efectiva no terreno e portanto diminuir a resistência ao longo da superfície lateral das estacas de um grupo consideradas individualmente, deve ser tido em consideração na determinação da resistência à tracção de um grupo de estacas.
5. Devem ser tidos em consideração os importantes efeitos adversos que cargas cíclicas e a inversão do sentido da carga têm na resistência à tracção.
RA — A experiência comparável baseada em ensaios de carga de estacas deve ser aplicada para ter em conta este efeito.
Artigo 90.º
(Resistência limite à tracção com base em ensaios de carga em estacas)
1. Os ensaios de carga de estacas para determinação da resistência limite à tracção, Rt, de uma estaca isolada devem ser realizados de acordo com os artigos 76.º a 79.º, tendo em atenção as cláusulas estipuladas no artigo 83.º
2. Para estimar o valor característico da resistência limite à tracção, Rtk, a partir dos resultados de ensaios de carga, Rt, de uma ou mais estacas, deve ter-se em conta a variabilidade do terreno e dos efeitos do método construtivo. Como requisito mínimo, ambas as condições a) e b) do Quadro 4 devem ser satisfeitas ao aplicar a equação:
|
Rtk= |
Rt |
| ξ |
Quadro 4
Coeficientes de conversão ξ para obtenção de Rtk
| Número de ensaios de carga | 1 | 2 | >2 |
| a) Coeficiente ξ afectando o valor médio de Rct | 1,5 | 1,35 | 1,3 |
| b) Coeficiente ξ afectando o valor mínimo de Rct | 1,5 | 1,25 | 1,1 |
RA — Normalmente, em estacas que vão ser submetidas a tracção, deve ensaiar-se mais do que uma estaca. No caso de um grande número de estacas à tracção, deve ensaiar-se pelo menos 2%.
Os registos de construção das estacas a ensaiar devem ser verificados, devendo tomar-se em consideração qualquer desvio verificado em relação às condições normais de execução.
3. O valor de cálculo da resistência à tracção obtém-se a partir de:
|
Rtd= |
Rtk |
| γm |
em que γm = 1,6.
4. O efeito de interacção em grupos de estacas deve ser considerado quando se obtém a resistência à tracção a partir dos resultados de ensaios de carga em estacas isoladas.
Artigo 91.º
(Resistência limite à tracção com base em ensaios do terreno)
1. Só devem ser utilizados métodos de cálculo baseados nas características do terreno no caso de eles terem sido comprovados por ensaios de carga em estacas semelhantes, de comprimento e secção semelhantes, e em condições de terreno comparáveis.
2. O valor de cálculo da resistência à tracção de uma estaca isolada ou de um grupo de estacas, obtido a partir dos parâmetros de resistência do terreno, deve ser determinado tomando em consideração a resistência ao corte entre a estaca e o terreno nas camadas que contribuem para a resistência à tracção da estaca.
Artigo 92.º
(Deslocamento vertical)
Os deslocamentos verticais nas condições correspondentes a estados limites de utilização devem ser determinados e comparados com os valores limites relevantes do deslocamento.
RA — Esta determinação deve seguir os princípios gerais enunciados no artigo 87.º Em geral, a verificação relativamente à rotura por tracção assegura que os deslocamentos verticais não causam danos à estrutura e que não ocorre um estado limite de utilização. No entanto, em algumas situações, os critérios correspondentes ao estado limite de utilização podem ser muito severos, sendo necessária uma verificação dos deslocamentos em separado.
SECÇÃO VII
Estacas carregadas transversalmente
Artigo 93.º
(Generalidades)
O projecto de estacas sujeitas a carregamento transversal deve ser coerente com as regras de projecto apresentadas nos artigos 80.º a 87.º, sempre que tal for aplicável. Nesta secção apresentam-se as regras de cálculo específicas para fundações envolvendo estacas sujeitas a carregamento transversal.
Artigo 94.º
(Verificação relativamente à resistência a cargas transversais)
1. A fim de demonstrar que a fundação pode suportar a carga transversal de cálculo com adequada segurança em relação à rotura, a seguinte relação deve ser respeitada para todas as hipóteses de carga e combinações de acções respeitantes a estados limites últimos:
Fvd ≤ Rvd
em que:
Fvd é a carga transversal de cálculo correspondente ao estado limite último;
Rvd é a resistência de cálculo a cargas transversais da fundação por estacas, correspondente ao estado limite último, tomando em consideração o efeito de quaisquer cargas axiais de compressão ou tracção.
RA — Deve considerar-se um dos seguintes mecanismos de rotura:
a) para estacas curtas, rotação ou translação de corpo rígido;
b) para estacas longas e esbeltas, rotura da estaca por flexão acompanhada de cedência localizada e deslocamento do solo na parte superior da estaca.
2. Na determinação da resistência de estacas sujeitas a carregamento transversal deve considerar-se o efeito de grupo.
3. A aplicação de um carregamento transversal a um grupo de estacas pode dar origem a uma combinação de forças de compressão, de tracção e transversais nas estacas.
Artigo 95.º
(Resistência a cargas transversais com base em ensaios de carga em estacas)
1. Os ensaios de carga com deslocamento horizontal de cabeça das estacas devem ser realizados de acordo com os artigos 76.º a 79.º, tendo em atenção as cláusulas estipuladas no artigo 83.º, no que for aplicável.
RA — Contrariamente ao procedimento descrito no artigo 77.º para os ensaios de carga, não é normalmente necessário levar até um estado de rotura os ensaios em estacas carregadas transversalmente. O valor e a linha de acção da carga de ensaio devem simular o carregamento de cálculo da estaca.
2. A escolha do número de estacas a ensaiar e a determinação da resistência de cálculo a forças transversais a partir de valores de ensaios de carga deve ter em conta a variabilidade do terreno, particularmente na sua zona superior e numa espessura de poucos metros.
RA — Os registos de construção das estacas a ensaiar devem ser verificados, devendo tomar-se em consideração na interpretação dos resultados qualquer desvio verificado em relação às condições normais de execução. Para grupos de estacas, o efeito da interacção e o grau de encastramento da cabeça da estaca no maciço de encabeçamento devem ser tomados em consideração para cálculo da resistência transversal a partir de resultados de ensaios de carga em estacas isoladas.
Artigo 96.º
(Resistência a cargas transversais com base em ensaios do terreno e em parâmetros de resistência da estaca)
1. A resistência transversal de uma estaca ou de um grupo de estacas deve ser calculada utilizando um conjunto compatível de momentos flectores, esforços transversos, reacções do terreno e deslocamentos.
2. A análise de estacas carregadas transversalmente deve incluir a possibilidade de rotura estrutural da estaca na zona próxima da superfície do terreno, de acordo com o artigo 98.º
RA — O cálculo da resistência a cargas transversais de estacas longas e esbeltas pode ser efectuado considerando uma viga carregada na extremidade e apoiada num meio deformável caracterizado por um módulo de reacção horizontal.
3. O grau de liberdade de rotação das estacas na ligação à estrutura deve ser tido em consideração para cálculo da resistência transversal das estacas.
Artigo 97.º
(Deslocamento transversal)
A determinação do deslocamento transversal do topo de uma fundação por estacas deve ter em consideração:
a) a rigidez do terreno e a sua variação com o nível das deformações;
b) a rigidez à flexão das estacas isoladas;
c) a transmissão de momentos das estacas na ligação com a estrutura;
d) o efeito de grupo;
e) o efeito de inversão da carga e de carregamento cíclico.
SECÇÃO VIII
Cálculo estrutural e supervisão da construção
Artigo 98.º
(Cálculo estrutural das estacas)
1. As estacas devem ser verificadas relativamente à rotura estrutural de acordo com os artigos 10.º a 15.º
RA — Para as estacas preesforçadas, centrifugadas, de betão de alta-resistência (usualmente designadas por estacas PHC), recomenda-se a utilização da Norma Industrial Japonesa JIS A 5337.
2. A estrutura das estacas deve ser projectada por forma a ter em conta todas as situações a que as estacas são sujeitas, tanto durante a construção, incluindo transporte e cravação quando tal for o caso, como em serviço. As estacas sujeitas a cargas de tracção devem ser calculadas para suportar, quando necessário, a força de tracção total ao longo de todo o seu comprimento.
3. O cálculo estrutural deve tomar em consideração as tolerâncias de construção especificadas para o tipo de estaca, as componentes das acções e o comportamento da fundação.
4. As estacas esbeltas que atravessem água ou depósitos espessos de material de muito baixa resistência devem ser verificadas relativamente a fenómenos de encurvadura.
RA — Não é provável a ocorrência de encurvadura em estacas completamente embebidas no terreno.
De acordo com a prática corrente, deve verificar-se a possibilidade de ocorrência de encurvadura em estacas instaladas em camadas de solo com resistência ao corte sem drenagem característica inferior a 15 kPa.
Artigo 99.º
(Supervisão da construção)
1. A construção deve ter como base um plano de construção das estacas.
RA — O plano deve fornecer as seguintes informações de projecto:
a) o tipo de estaca com a designação de acordo com as normas ou com o documento técnico de aprovação;
b) a localização e a inclinação de cada estaca e as tolerâncias de posicionamento;
c) a secção transversal da estaca;
d) o comprimento da estaca;
e) o número de estacas;
f) a capacidade de carga exigida;
g) a cota da ponta da estaca (relativamente a uma cota de referência no local da obra ou na sua vizinhança) ou a resistência à penetração exigida;
h) a sequência de construção;
i) obstruções conhecidas;
j) quaisquer outras limitações às actividades de construção das estacas.
2. Deve observar-se a construção de todas as estacas, devendo proceder-se ao registo no local da obra das observações efectuadas, à medida que as estacas vão sendo construídas. Para cada estaca deve existir um registo assinado pelo supervisor do trabalho e pelo construtor da estaca.
RA — O registo para cada estaca deve incluir, quando apropriado, as seguintes informações:
a) o tipo de estaca e o equipamento de construção ou instalação;
b) o número da estaca;
c) a secção transversal, o comprimento e, em estacas de betão, a armadura;
d) a data e a hora de construção (incluindo interrupções do processo construtivo);
e) a composição do betão, o volume de betão utilizado e o método de colocação no caso de estacas moldadas;
f) o peso volúmico, o pH, a viscosidade de Marsh e o teor em finos das suspensões bentoníticas (quando utilizadas);
g) as pressões de bombagem da calda ou do betão, os diâmetros interno e externo, o passo do trado e o avanço por volta (para estacas contínuas de trado ou outras estacas injectadas);
h) para estacas cravadas, os valores das medições da resistência à cravação, tais como o peso e a altura de queda ou a potência do martelo, a frequência das pancadas e número de pancadas pelo menos para os últimos 0,25 m de penetração;
i) a energia de arranque dos vibradores (quando utilizados);
j) o binário do motor utilizado na furação (quando utilizado);
k) para estacas moldadas, os estratos encontrados no processo de furação e a condição da base, caso o comportamento da base seja crítico;
l) obstruções encontradas durante a execução das estacas;
m) desvios de posição e de direcção, e cotas após a construção.
3. Os registos devem ser guardados por um período de pelo menos 5 anos contado a partir do fim dos trabalhos. Os planos com registos da situação após a construção devem ser compilados depois da finalização da construção das estacas e conservados com os documentos de construção.
4. Se as observações no local ou a inspecção dos registos revelar incertezas no que respeita à qualidade das estacas construídas, devem levar-se a cabo investigações adicionais para determinar as condições das estacas construídas e se são necessários trabalhos de reparação. Estas investigações devem incluir quer recravação quer ensaios de integridade de estacas, em combinação com ensaios de campo de mecânica dos solos na vizinhança das estacas sobre as quais existem suspeitas, bem como ensaios de carga estática.
5. Devem realizar-se ensaios para verificação da integridade das estacas cuja qualidade seja sensível ao processo de construção, caso estes processos não possam ser observados de uma forma fiável.
RA — Podem utilizar-se ensaios de integridade dinâmicos de deformações reduzidas, para uma avaliação global de estacas que possam ter defeitos severos ou que possam ter causado uma importante perda de resistência no solo durante a construção. Em fundações de edifícios classificados, de acordo com o artigo 11.º do Regulamento técnico de segurança contra incêndios em edifícios e recintos, aprovado pelo Regulamento Administrativo n.º 39/2022, nas classes de altura A (altura entre 20,5 m e 50 m, inclusive) e Ma (altura superior a 50 m), devem realizar-se ensaios de integridade dinâmicos de deformações reduzidas, em 50% e 100% das estacas, respectivamente.
Uma vez que defeitos, tais como qualidade insuficiente do betão ou recobrimento insuficiente, que afectam o comportamento a longo prazo da estaca, não podem frequentemente ser detectados por ensaios dinâmicos, pode ser necessário, para uma supervisão adequada da execução, realizar outros ensaios tais como ensaios sónicos, ensaios de vibração ou perfuração com colheita de amostra.
––––––––––
ANEXO I
Simbologia
Letras latinas maiúsculas
A área
F acção (força)
R resistência (força)
W peso
X propriedade do terreno
Letras latinas minúsculas
c’ coesão em termos de tensões efectivas
cu resistência ao corte sem drenagem
q resistência (por unidade de área)
s assentamentos
Letras gregas minúsculas
γ factor parcial de segurança
δ ângulo de atrito entre o terreno e um elemento da fundação
φ ângulo de atrito do terreno
ξ coeficiente para estimativa de um valor característico
Índices
b base de uma estaca
c compressão
d valor de cálculo de uma grandeza
k valor característico de uma grandeza
l fuste de uma estaca
n normal, vertical
p impulso passivo
t total, tracção
v de corte, transversal
ANEXO II
Lista para supervisão da construção e observação do comportamento
RA — A lista que se segue contém os pontos mais importantes que devem ser considerados na supervisão da construção e na observação do comportamento de uma estrutura geotécnica na sua totalidade. A importância destes pontos varia de obra para obra. A lista não é exaustiva. Os pontos que se referem a aspectos específicos de engenharia geotécnica ou a tipos específicos de obras encontram-se descritos em capítulos deste Regulamento.
Supervisão da construção
Aspectos gerais que necessitam de verificação
1. Verificação das condições do terreno, do local, e do esquema geral da estrutura.
2. Caudal subterrâneo e regime de pressões intersticiais; efeitos do rebaixamento do nível freático; eficácia das medidas de controlo da percolação; processo de erosão interna; composição química da água do terreno; potencial de corrosão.
3. Movimentos, cedência, estabilidade das paredes da escavação e da base; sistemas de suporte temporário; efeito em prédios vizinhos e instalações; medições dos impulsos de terras nas estruturas de suporte; medições de variações das pressões intersticiais resultantes de escavação ou de carregamento.
4. Segurança do pessoal tendo em consideração os estados limites geotécnicos.
Escoamento e pressões intersticiais
5. Adequação de sistema para assegurar o controlo das pressões intersticiais em todos os aquíferos em que o excesso das pressões pode afectar a estabilidade dos taludes e a base da escavação, incluindo as pressões artesianas em aquíferos abaixo da escavação; remoção da água resultante dos sistemas de rebaixamento; rebaixamento do nível freático em toda a escavação para impedir estados movediços, erosão interna e perturbação do terreno causada pelo equipamento construtivo; desvio e remoção de águas da chuva ou de outras águas superficiais.
6. Eficiência e operacionalidade dos sistemas de rebaixamento durante todo o período de construção, considerando a incrustação das telas filtrantes e a siltagem dos poços ou fossas; desgaste e obturação das bombas.
7. Controlo do rebaixamento para evitar perturbações nas estruturas ou em áreas anexas; observações dos níveis piezométricos: eficácia; operacionalidade e manutenção de eventual sistema de recarga.
8. Assentamentos de estruturas ou áreas anexas.
9. Eficiência de drenos em furos sub-horizontais.
Observação de comportamento
10. Assentamentos de edifícios e outras estruturas em intervalos de tempo preestabelecidos, incluindo os efeitos de vibrações e solos metaestáveis.
As observações dos assentamentos devem ser referidas a marcas de nivelamento estáveis.
11. Deslocamentos laterais e distorções, especialmente as relacionadas com aterros e empilhamentos; estruturas suportadas por solo, tais como edifícios ou grandes reservatórios; escavações profundas, canais.
12. Níveis piezométricos sob edifícios ou em estruturas anexas, especialmente no caso de existirem drenagens profundas ou sistemas de rebaixamento permanentes, ou se forem construídos ensoleiramentos profundos.
13. Deflexão ou deslocamento de estruturas de retenção, considerando: cargas normais devidas ao material de enchimento, efeito de empilhamentos, aterros ou outras cargas superficiais; pressões de água.
14. Caudais medidos em drenos.
15. Problemas especiais.
Elementos a elevada temperatura como aquecedores e canalizações de águas quentes: dissecação de argila ou de solos siltosos; observação de temperaturas; movimentos.
Elementos de baixa temperatura, tais como instalações criogénicas ou áreas refrigeradas; observação de temperaturas; congelamento do terreno; levantamento devido ao gelo, deslocamento; efeitos subsequentes de degelo.
16. Impermeabilização.




