| 相關法規 : | |||
| 相關類別 : | |||
| 《LegisMac》的法例註釋 | |||
第101/GM/97號批示
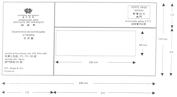
鑑於一月二十五日第6/86/M號法令規定本地區政府部門必須使用該法規附件I所指規格的信封。
又鑒於財政司在結算、徵收以及發出相關印件等工作上實行電腦化,必須使用尺寸有異於一月二十五日第6/86/M號法令所規定的信封。
總督根據一月二十五日第6/86/M號法令第二條第二款之規定,命令如下:
一、核准財政司使用作為本批示組成部分之附件所載之信封式樣。
二、本批示由公布翌日起生效。
命令公布
一九九七年十二月二十三日於澳門總督辦公室
總督 韋奇立




