第 27 期
商標之保護
二零零三年七月二日,星期三
經濟局
商標之保護
根據十二月十三日第97/99/M號法令第十條及第二百一十條之規定,公布下列在澳門特別行政區提出的商標註冊申請,並按照相同法規第二百一十一條第一款,由通告公布之日起計兩個月期限內提出聲明異議。
商標編號:N/9604 類別: 5
申請人:Viatris GmbH & Co. KG, Weismuellerstr, 45, D-60314, Frankfurt Am Main, Alemanha.
國籍:德國
活動:商業及工業
申請日期:2002/05/03
產品:藥品,獸藥及衛生用品;醫用營養品,嬰兒食品;膏藥,繃敷材料;填塞牙孔和牙模用料,消毒劑;滅有害動物製品;殺真菌劑,除草劑。
商標構成:

商標編號:N/9605 類別: 42
申請人:Viatris GmbH & Co. KG, Weismuellerstr, 45, D-60314, Frankfurt Am Main, Alemanha.
國籍:德國
活動:商業及工業
申請日期:2002/05/03
服務:科學及技術領域的服務,就如關於研究和開發的其他服務;工業研究和分析。
商標構成:

商標編號:N/9742 類別: 34
申請人:John Player & Sons Limited, P.O. Box 286, South Circular Road, Dublin 8, Irlanda.
國籍:愛爾蘭
活動:商業及工業
申請日期:2002/06/05
產品:已加工或未加工煙草;煙草產品;非用於醫藥或治療用途的煙草代用品;香煙;火柴和煙具。
商標構成:

商標編號:N/10332 類別: 5
申請人:Pfizer Products Inc., Eastern Point Road, Groton, Connecticut 06340, Estados Unidos da América.
國籍:美國
活動:商業及工業
申請日期:2002/09/18
產品:藥品及獸藥;醫用衛生用品;醫用營養品,嬰兒食品;膏藥,繃敷材料;填塞牙孔和牙模用料;消毒劑;滅有害動物製品;殺真菌劑;除草劑。
商標構成:

商標編號:N/11084 類別: 5
申請人:Pharmacia & Upjohn Company, 100 Route 206 North, Peapack, New Jersey, Estados Unidos da América.
國籍:美國
活動:商業及工業
申請日期:2003/02/19
產品:抗炎及止痛藥劑。
商標構成:

商標編號:N/11085 類別: 5
申請人:G.D. Searle LLC, 100 Route 206 North, Peapack, New Jersey, Estados Unidos da América.
國籍:美國
活動:商業及工業
申請日期:2003/02/19
產品:抗炎及止痛藥劑。
商標構成:

商標編號:N/11302 類別: 29
申請人:Conopco, Inc., 390 Park Avenue, New York, N.Y. 10022, United States of America.
國籍:美國
活動:商業及工業
申請日期:2003/03/24
產品:肉,魚,家禽及野味;肉汁;保存裝、乾製及煮熟的水果和蔬菜;啫喱,果凍,果醬;蛋,奶及乳製品,食用油及油脂。
商標構成:

顏色之要求 :底色為黃色,蝴蝶絲帶為淺藍色,中間為深藍色帶外圍白邊及深藍色。
商標編號:N/11303 類別: 30
申請人:Conopco, Inc., 390 Park Avenue, New York, N. Y. 10022, United States of America.
國籍:美國
活動:商業及工業
申請日期:2003/03/24
產品:咖啡,茶,可可,糖,米,食用澱粉,西米,咖啡代用品;麵粉及穀類製品,麵包,糕點,糖果,冰製食品,蜂蜜,糖漿,鮮酵母,發酵粉,食鹽,芥末,醋,醬汁(調味品),調味香料,冰。
商標構成:

顏色之要求:底色為黃色,蝴蝶絲帶為淺藍色,中間為深藍色帶外圍白邊及深藍色。
商標編號:N/11421 類別: 5
申請人:北京雙鶴葯業股份有限公司,場所:中國北京市朝陽區酒仙橋路4號院內24號樓一層。
國籍:中國
活動:商業及工業
申請日期:2003/04/11
產品:西藥,即抗生素類藥物,合成抗菌藥物,抗感染藥物,抗菌藥,抗病毒藥,鎮痛藥,抗炎藥,鎮靜、催眠、抗焦慮藥,抗精神病藥,抗抑鬱藥,強心藥,抗心律失常藥,抗高血壓藥,防治心絞痛藥,治療心血管病藥,血脂調節藥,減肥藥,呼吸系統藥物,消化系統藥物,泌尿系統藥物,影響血液及造血系統的藥物,避孕藥,抗腫瘤藥,維生素類藥物,生物製品與生化藥物,解毒藥,中藥,即解表藥,清熱藥,利水滲濕藥,瀉下藥,溫里藥,祛風濕藥,理氣藥,芳香化濕藥,消食藥,驅蟲藥,止血藥,活血祛瘀藥,化痰止咳平喘藥,安神藥,平肝息風藥,開竅藥,補益藥,收澀藥;醫用營養品;醫用蜂王精。
商標構成:

商標編號:N/11428 類別: 25
申請人:Vagabond Skor Varberg AB, PO Box 521, 432 19 Varberg, Suécia.
國籍:瑞典
活動:商業及工業
申請日期:2003/04/16
產品:服裝、鞋、帽。
商標構成:

商標編號:N/11457 類別: 14
申請人:Rolex SA, 3-5-7, rue François-Dussaud, 1211 Geneva 24, Switzerland.
國籍:瑞士
活動:商業及工業
申請日期:2003/04/24
產品:貴重金屬及其合金及貴重金屬製品或鍍有貴重金屬的物品;鐘錶和計時儀器的設備和工具,腕錶;牆鐘;所有用於腕錶或牆鐘的盒,機械,錶盤,發條及玻璃;腕錶用鏈、條及手鐲;珠寶;袖口鈕,寶石或半寶石;日晷;所有這些產品的零件及附件。
商標構成:

商標編號:N/11458 類別: 30
申請人:NZN International Franchising Limited, 28-30 The Parade, St. Helier, Jersey JE4 8XY, Channel Islands.
國籍:英屬處女島
活動:商業及工業
申請日期:2003/04/25
產品:雪糕,冰,全屬第30類。
商標構成:

商標編號:N/11459 類別: 35
申請人:NZN International Franchising Limited, 28-30 The Parade, St. Helier, Jersey JE4 8XY, Channel Islands.
國籍:英屬處女島
活動:商業及工業
申請日期:2003/04/25
服務:與售賣雪糕,冰,冰咖啡,冰乳酪及相關產品有聯繫的零售及批發服務,全屬第35類。
商標構成:

商標編號:N/11463 類別: 12
申請人:Smart GmbH, Leibnizstrasse 2, 71032 Böblingen, Germany.
國籍:德國
活動:商業及工業
申請日期:2003/04/29
產品:機動車輛及其部件(屬此類的)。
商標構成:

優先權之要求:請求日期:2002/11/15;所屬國:德國;請求編號:302 56 119.6。
通知:由呈交澳門特區註冊請求書日期計算三個月期限內,必須附上註冊請求書經認證之副本,作為優先權之依據。
商標編號:N/11464 類別: 28
申請人:Smart GmbH, Leibnizstrasse 2, 71032 Böblingen, Germany.
國籍:德國
活動:商業及工業
申請日期:2003/04/29
產品:模型車輛。
商標構成:

優先權之要求:請求日期:2002/11/15;所屬國:德國;請求編號:302 56 119.6。
通知:由呈交澳門特區註冊請求書日期計算三個月期限內,必須附上註冊請求書經認證之副本,作為優先權之依據。
商標編號:N/11465 類別: 37
申請人:Smart GmbH, Leibnizstrasse 2, 71032 Böblingen, Germany.
國籍:德國
活動:商業及工業
申請日期:2003/04/29
服務:機動車輛的保養及維修。
商標構成:

優先權之要求:請求日期:2002/11/15;所屬國:德國;請求編號:302 56 119.6。
通知:由呈交澳門特區註冊請求書日期計算三個月期限內,必須附上註冊請求書經認證之副本,作為優先權之依據。
商標編號:N/11470 類別: 30
申請人:佛山市海天調味食品有限公司,場所:中國廣東省佛山市文沙路16號。
國籍:中國
活動:商業及工業
申請日期:2003/04/30
產品:糖,穀類製品,醬油,醋,蠔油,味精,醬油曲種,調味品,調味醬,五香粉。
商標構成:

商標編號:N/11471 類別: 29
申請人:Rich Products Corporation, 1150 Niagara Street, Buffalo, New York 14240, United States of America.
國籍:美國德拉瓦州
活動:商業及工業
申請日期:2003/05/05
產品:奶及乳製品;奶油及以奶油為主的製品;用於代替奶及奶油的非乳製品;人造奶油;餐後甜品;水果餡料,人造黃油;以奶為主的飲料(主要以奶製成的);以奶為主的餐後甜品(主要以奶製成的);以奶為主的製品(主要以奶製成的);奶製的奶油;奶粉及奶油粉(嬰兒用除外),以奶油為主的飲料及濃縮飲料(主要以奶油製成的);以奶油及/或人造奶油為主的濃縮飲料;含有或以奶、奶油或它們的衍生產品為主的飲料及濃縮飲料(如酪朊及酪朊鈉);攪打過的奶油,芝士乳脂,餐後甜品飾面用奶油,奶製的餐後甜品,含奶的奶油調配劑,奶油穩固劑,酸乳酪,以酸乳酪為主的飲料,可飲用的酸乳酪,酸乳酪製餐後甜品,酸乳酪粉,酸乳酪調配劑,酸乳酪產品;食品用濃縮蛋白質,用於代替乳製品從黃豆衍生的蛋白質;從黃豆油及其他蔬菜油衍生的非乳製品;食品用食用香精(油),食用油,棕櫚樹果實的油,棕櫚油,食用油脂,食用果凍,食用堅果,堅果製食品,食用種子,以黃豆為主的食用油,黃豆精,豆奶,以黃豆為主的飲料,黃豆調配劑,黃豆製奶油,黃豆製餐後甜品,豆奶,食用黃豆油,作為食物代用品的黃豆蛋白質食品,黃豆酸乳酪;肉,肉類製品,調理過的肉類,罐頭肉類,備用餐食形式的食品,冷凍已烹調的餐食,備用餐食,罐頭餐食,準備好的餐食;乳製布丁;糕點用的肉類餡料,糕點用的蔬菜餡料,餡餅用的肉類餡料,餡餅用的蔬菜餡料。
商標構成:

通知:根據十二月十三日第97/99/M號法令第二百零九條第一至三款規定,刪除了 “ 蛋糕用飾面及由奶油或人造奶油製成的蛋糕用飾面、非乳製蛋糕用飾面、蛋糕用糖製飾面及餡料、糕點、餅乾、餡餅、糖果及麵包製品、製造意大利式烘餡餅用配料及意大利式烘餡餅用飾面 ”,因屬其他類別。
商標編號:N/11472 類別: 30
申請人:Rich Products Corporation, 1150 Niagara Street, Buffalo, New York 14240, United States of America.
國籍:美國德拉瓦州
活動:商業及工業
申請日期:2003/05/05
產品:蛋糕,餡餅,糕點,薄脆餅乾;餡料,蛋糕用飾面;水果餡料,供餅乾、餡餅、糕點、糖果及麵包製品用的具香精調味的餡料及飾面;具香精調味的蛋糕用含奶油飾面;供蛋糕用含奶油飾面用香精;用於代替奶及奶油的非乳製糖果製品;非乳製糖製飾面及餡料;糖果,餐後甜品,麵包,炸甜麵包圈,炸甜麵包圈用混合物;餅乾,鹹餅乾,製麵包用的麵團,麵團用混合物,製麵包麵團用麵粉,供烘烤備用的麵團製品,製布丁用調配劑或混合物,餅乾,胡桃巧克力小方餅,可可,以可可為主的飲料,咖啡,以咖啡為主的飲料,人造咖啡;糖果用餡料,麵包製品及餐後甜品用飾面及糖製飾面;冰製食品,冰淇淋,茶,米,澱粉,西米,麵粉及以穀類為主的調配劑,酵素,發酵粉,麵包製品,意大利式烘餡餅,意大利式烘餡餅用底部,新鮮的或部分已烘烤好的麵包製品,如:捲餅、麵包、意大利式烘餡餅用底部、奶油蛋糕、巧克力蛋糕、餡餅、蛋糕、餅乾、鹹薄脆餅乾、胡桃巧克力小方餅、糕餅、牛角包、麵包條、燕麥蛋糕、鬆餅、帶奶油餡料的麵包、帶黃油餡料的蛋糕;製蛋糕、麵包或餐後甜品用混合物,薄煎餅用麵團,布丁,奶油凍蛋糕,水果冰淇淋,牛肉醬汁,烤三明治,製造包子用薄片狀的麵團,肉類醬汁的混合物,乾狀形式的肉類醬汁及芝士醬汁,帶餡料的貝殼狀麵皮,供糕點、蛋糕、餅乾、糖果及餐後甜品用非乳製奶油;冰鎮酸乳酪(糖果冰)及以酸乳酪為主的冰淇淋(主要以冰淇淋製成的),食用裝飾品,食品用食用香精,使用於食品的食用纖維,食用酵素;烹調用及餐桌伴食用鹽,腌製食品用鹽,糖;調濃用物質,調濃用製劑,供烹調用食品調濃用配劑及調濃用物質;以黃豆為主的冰淇淋製品,黃豆麵粉;從黃豆油及其他蔬菜油衍生的非乳製品;調味品(精油除外),供蛋糕用鮮酵母,為使蛋糕更輕巧及鬆軟作為結合蛋糕用混合物的鮮酵母混合物;塗抹奶油形式的食品;塗抹三明治用調配劑,巧克力,以巧克力為主的製品,巧克力飲料,以人造巧克力為主的飲料,焦糖布丁,烤肉用醬汁,備用餐食形式的食品,餐食形式的備用食品,供人食用的餐食,備用餐食。
商標構成:

通知:根據十二月十三日第97/99/M號法令第二百零九條第一至三款規定,刪除了“ 用於製造麵包或糖果製品的奶油和食物用奶粉及奶油粉”,因屬其他類別。
商標編號:N/11473 類別: 29
申請人:Rich Products Corporation, 1150 Niagara Street, Buffalo, New York 14240, United States of America.
國籍:美國德拉瓦州
活動:商業及工業
申請日期:2003/05/05
產品:奶及乳製品;奶油及以奶油為主的製品;用於代替奶及奶油的非乳製品;人造奶油;餐後甜品;水果餡料,人造黃油;以奶為主的飲料(主要以奶製成的);以奶為主的餐後甜品(主要以奶製成的);以奶為主的製品(主要以奶製成的);奶製的奶油;奶粉及奶油粉(嬰兒用除外),以奶油為主的飲料及濃縮飲料(主要以奶油製成的);以奶油及/或人造奶油為主的濃縮飲料;含有或以奶、奶油或它們的衍生產品為主的飲料及濃縮飲料(如酪朊及酪朊鈉);攪打過的奶油,芝士乳脂,餐後甜品飾面用奶油,奶製的餐後甜品,含奶的奶油調配劑,奶油穩固劑,酸乳酪,以酸乳酪為主的飲料,可飲用的酸乳酪,酸乳酪製餐後甜品,酸乳酪粉,酸乳酪調配劑,酸乳酪產品;食品用濃縮蛋白質,用於代替乳製品從黃豆衍生的蛋白質;從黃豆油及其他蔬菜油衍生的非乳製品;食品用食用香精(油),食用油,棕櫚樹果實的油,棕櫚油,食用油脂,食用果凍,食用堅果,堅果製食品,食用種子,以黃豆為主的食用油,黃豆精,豆奶,以黃豆為主的飲料,黃豆調配劑,黃豆製奶油,黃豆製餐後甜品,豆奶,食用黃豆油,作為食物代用品的黃豆蛋白質食品,黃豆酸乳酪;肉,肉類製品,調理過的肉類,罐頭肉類,備用餐食形式的食品,冷凍已烹調的餐食,備用餐食,罐頭餐食,準備好的餐食;乳製布丁;糕點用的肉類餡料,糕點用的蔬菜餡料,餡餅用的肉類餡料,餡餅用的蔬菜餡料。
商標構成:

通知:根據十二月十三日第97/99/M號法令第二百零九條第一至三款規定,刪除了“ 蛋糕用飾面及由奶油或人造奶油製成的蛋糕用飾面、非乳製蛋糕用飾面、蛋糕用糖製飾面及餡料、糕點、餅乾、餡餅、糖果及麵包製品、製造意大利式烘餡餅用配料及意大利式烘餡餅用飾面”,因屬其他類別。
商標編號:N/11474 類別: 30
申請人:Rich Products Corporation, 1150 Niagara Street, Buffalo, New York 14240, United States of America.
國籍:美國德拉瓦州
活動:商業及工業
申請日期:2003/05/05
產品:蛋糕,餡餅,糕點,薄脆餅乾;餡料,蛋糕用飾面;水果餡料,供餅乾、餡餅、糕點、糖果及麵包製品用的具香精調味的餡料及飾面;具香精調味的蛋糕用含奶油飾面;供蛋糕用含奶油飾面用香精;用於代替奶及奶油的非乳製糖果製品;非乳製糖製飾面及餡料;糖果,餐後甜品,麵包,炸甜麵包圈,炸甜麵包圈用混合物;餅乾,鹹餅乾,製麵包用的麵團,麵團用混合物,製麵包麵團用麵粉,供烘烤備用的麵團製品,製布丁用調配劑或混合物,餅乾,胡桃巧克力小方餅,可可,以可可為主的飲料,咖啡,以咖啡為主的飲料,人造咖啡;糖果用餡料,麵包製品及餐後甜品用飾面及糖製飾面;冰製食品,冰淇淋,茶,米,澱粉,西米,麵粉及以穀類為主的調配劑,酵素,發酵粉,麵包製品,意大利式烘餡餅,意大利式烘餡餅用底部,新鮮的或部分已烘烤好的麵包製品,如:捲餅、麵包、意大利式烘餡餅用底部、奶油蛋糕、巧克力蛋糕、餡餅、蛋糕、餅乾、鹹薄脆餅乾、胡桃巧克力小方餅、糕餅、牛角包、麵包條、燕麥蛋糕、鬆餅、帶奶油餡料的麵包、帶黃油餡料的蛋糕;製蛋糕、麵包或餐後甜品用混合物,薄煎餅用麵團,布丁,奶油凍蛋糕,水果冰淇淋,牛肉醬汁,烤三明治,製造包子用薄片狀的麵團,肉類醬汁的混合物,乾狀形式的肉類醬汁及芝士醬汁,帶餡料的貝殼狀麵皮,供糕點、蛋糕、餅乾、糖果及餐後甜品用非乳製奶油;冰鎮酸乳酪(糖果冰)及以酸乳酪為主的冰淇淋(主要以冰淇淋製成的),食用裝飾品,食品用食用香精,使用於食品的食用纖維,食用酵素;烹調用及餐桌伴食用鹽,腌製食品用鹽,糖;調濃用物質,調濃用製劑,供烹調用食品調濃用配劑及調濃用物質;以黃豆為主的冰淇淋製品,黃豆麵粉;從黃豆油及其他蔬菜油衍生的非乳製品;調味品(精油除外),供蛋糕用鮮酵母,為使蛋糕更輕巧及鬆軟作為結合蛋糕用混合物的鮮酵母混合物;塗抹奶油形式的食品;塗抹三明治用調配劑,巧克力,以巧克力為主的製品,巧克力飲料,以人造巧克力為主的飲料,焦糖布丁,烤肉用醬汁,備用餐食形式的食品,餐食形式的備用食品,供人食用的餐食,備用餐食。
商標構成:

通知:根據十二月十三日第97/99/M號法令第二百零九條第一至三款規定,刪除了“ 用於製造麵包或糖果製品的奶油和食物用奶粉及奶油粉”,因屬其他類別。
商標編號:N/11475 類別: 29
申請人:Rich Products Corporation, 1150 Niagara Street, Buffalo, New York 14240, United States of America.
國籍:美國德拉瓦州
活動:商業及工業
申請日期:2003/05/05
產品:奶及乳製品;奶油及以奶油為主的製品;用於代替奶及奶油的非乳製品;人造奶油;餐後甜品;水果餡料,人造黃油;以奶為主的飲料(主要以奶製成的);以奶為主的餐後甜品(主要以奶製成的);以奶為主的製品(主要以奶製成的);奶製的奶油;奶粉及奶油粉(嬰兒用除外),以奶油為主的飲料及濃縮飲料(主要以奶油製成的);以奶油及/或人造奶油為主的濃縮飲料;含有或以奶、奶油或它們的衍生產品為主的飲料及濃縮飲料(如酪朊及酪朊鈉);攪打過的奶油,芝士乳脂,餐後甜品飾面用奶油,奶製的餐後甜品,含奶的奶油調配劑,奶油穩固劑,酸乳酪,以酸乳酪為主的飲料,可飲用的酸乳酪,酸乳酪製餐後甜品,酸乳酪粉,酸乳酪調配劑,酸乳酪產品;食品用濃縮蛋白質,用於代替乳製品從黃豆衍生的蛋白質;從黃豆油及其他蔬菜油衍生的非乳製品;食品用食用香精(油),食用油,棕櫚樹果實的油,棕櫚油,食用油脂,食用果凍,食用堅果,堅果製食品,食用種子,以黃豆為主的食用油,黃豆精,豆奶,以黃豆為主的飲料,黃豆調配劑,黃豆製奶油,黃豆製餐後甜品,豆奶,食用黃豆油,作為食物代用品的黃豆蛋白質食品,黃豆酸乳酪;肉,肉類製品,調理過的肉類,罐頭肉類,備用餐食形式的食品,冷凍已烹調的餐食,備用餐食,罐頭餐食,準備好的餐食;乳製布丁;糕點用的肉類餡料,糕點用的蔬菜餡料,餡餅用的肉類餡料,餡餅用的蔬菜餡料。
商標構成:

通知:根據十二月十三日第97/99/M號法令第二百零九條第一至三款規定,刪除了“ 蛋糕用飾面及由奶油或人造奶油製成的蛋糕用飾面、非乳製蛋糕用飾面、蛋糕用糖製飾面及餡料、糕點、餅乾、餡餅、糖果及麵包製品、製造意大利式烘餡餅用配料及意大利式烘餡餅用飾面”,因屬其他類別。
商標編號:N/11476 類別: 30
申請人:Rich Products Corporation, 1150 Niagara Street, Buffalo, New York 14240, United States of America.
國籍:美國德拉瓦州
活動:商業及工業
申請日期:2003/05/05
產品:蛋糕,餡餅,糕點,薄脆餅乾;餡料,蛋糕用飾面;水果餡料,供餅乾、餡餅、糕點、糖果及麵包製品用的具香精調味的餡料及飾面;具香精調味的蛋糕用含奶油飾面;供蛋糕用含奶油飾面用香精;用於代替奶及奶油的非乳製糖果製品;非乳製糖製飾面及餡料;糖果,餐後甜品,麵包,炸甜麵包圈,炸甜麵包圈用混合物;餅乾,鹹餅乾,製麵包用的麵團,麵團用混合物,製麵包麵團用麵粉,供烘烤備用的麵團製品,製布丁用調配劑或混合物,餅乾,胡桃巧克力小方餅,可可,以可可為主的飲料,咖啡,以咖啡為主的飲料,人造咖啡;糖果用餡料,麵包製品及餐後甜品用飾面及糖製飾面;冰製食品,冰淇淋,茶,米,澱粉,西米,麵粉及以穀類為主的調配劑,酵素,發酵粉,麵包製品,意大利式烘餡餅,意大利式烘餡餅用底部,新鮮的或部分已烘烤好的麵包製品,如:捲餅、麵包、意大利式烘餡餅用底部、奶油蛋糕、巧克力蛋糕、餡餅、蛋糕、餅乾、鹹薄脆餅乾、胡桃巧克力小方餅、糕餅、牛角包、麵包條、燕麥蛋糕、鬆餅、帶奶油餡料的麵包、帶黃油餡料的蛋糕;製蛋糕、麵包或餐後甜品用混合物,薄煎餅用麵團,布丁,奶油凍蛋糕,水果冰淇淋,牛肉醬汁,烤三明治,製造包子用薄片狀的麵團,肉類醬汁的混合物,乾狀形式的肉類醬汁及芝士醬汁,帶餡料的貝殼狀麵皮,供糕點、蛋糕、餅乾、糖果及餐後甜品用非乳製奶油;冰鎮酸乳酪(糖果冰)及以酸乳酪為主的冰淇淋(主要以冰淇淋製成的),食用裝飾品,食品用食用香精,使用於食品的食用纖維,食用酵素;烹調用及餐桌伴食用鹽,腌製食品用鹽,糖;調濃用物質,調濃用製劑,供烹調用食品調濃用配劑及調濃用物質;以黃豆為主的冰淇淋製品,黃豆麵粉;從黃豆油及其他蔬菜油衍生的非乳製品;調味品(精油除外),供蛋糕用鮮酵母,為使蛋糕更輕巧及鬆軟作為結合蛋糕用混合物的鮮酵母混合物;塗抹奶油形式的食品;塗抹三明治用調配劑,巧克力,以巧克力為主的製品,巧克力飲料,以人造巧克力為主的飲料,焦糖布丁,烤肉用醬汁,備用餐食形式的食品,餐食形式的備用食品,供人食用的餐食,備用餐食。
商標構成:

通知:根據十二月十三日第97/99/M號法令第二百零九條第一至三款規定,刪除了“用於製造麵包或糖果製品的奶油和食物用奶粉及奶油粉”,因屬其他類別。
商標編號:N/11477 類別: 29
申請人:Rich Products Corporation, 1150 Niagara Street, Buffalo, New York 14240, United States of America.
國籍:美國德拉瓦州
活動:商業及工業
申請日期:2003/05/05
產品:奶及乳製品;奶油及以奶油為主的製品;用於代替奶及奶油的非乳製品;人造奶油;餐後甜品;水果餡料,人造黃油;以奶為主的飲料(主要以奶製成的);以奶為主的餐後甜品(主要以奶製成的);以奶為主的製品(主要以奶製成的);奶製的奶油;奶粉及奶油粉(嬰兒用除外),以奶油為主的飲料及濃縮飲料(主要以奶油製成的);以奶油及/或人造奶油為主的濃縮飲料;含有或以奶、奶油或它們的衍生產品為主的飲料及濃縮飲料(如酪朊及酪朊鈉);攪打過的奶油,芝士乳脂,餐後甜品飾面用奶油,奶製的餐後甜品,含奶的奶油調配劑,奶油穩固劑,酸乳酪,以酸乳酪為主的飲料,可飲用的酸乳酪,酸乳酪製餐後甜品,酸乳酪粉,酸乳酪調配劑,酸乳酪產品;食品用濃縮蛋白質,用於代替乳製品從黃豆衍生的蛋白質;從黃豆油及其他蔬菜油衍生的非乳製品;食品用食用香精(油),食用油,棕櫚樹果實的油,棕櫚油,食用油脂,食用果凍,食用堅果,堅果製食品,食用種子,以黃豆為主的食用油,黃豆精,豆奶,以黃豆為主的飲料,黃豆調配劑,黃豆製奶油,黃豆製餐後甜品,豆奶,食用黃豆油,作為食物代用品的黃豆蛋白質食品,黃豆酸乳酪;肉,肉類製品,調理過的肉類,罐頭肉類,備用餐食形式的食品,冷凍已烹調的餐食,備用餐食,罐頭餐食,準備好的餐食;乳製布丁;糕點用的肉類餡料,糕點用的蔬菜餡料,餡餅用的肉類餡料,餡餅用的蔬菜餡料。
商標構成:

通知:根據十二月十三日第97/99/M號法令第二百零九條第一至三款規定,刪除了“ 蛋糕用飾面及由奶油或人造奶油製成的蛋糕用飾面、非乳製蛋糕用飾面、蛋糕用糖製飾面及餡料、糕點、餅乾、餡餅、糖果及麵包製品、製造意大利式烘餡餅用配料及意大利式烘餡餅用飾面 ”,因屬其他類別。
商標編號:N/11478 類別: 30
申請人:Rich Products Corporation, 1150 Niagara Street, Buffalo, New York 14240, United States of America.
國籍:美國德拉瓦州
活動:商業及工業
申請日期:2003/05/05
產品:蛋糕,餡餅,糕點,薄脆餅乾;餡料,蛋糕用飾面;水果餡料,供餅乾、餡餅、糕點、糖果及麵包製品用的具香精調味的餡料及飾面;具香精調味的蛋糕用含奶油飾面;供蛋糕用含奶油飾面用香精;用於代替奶及奶油的非乳製糖果製品;非乳製糖製飾面及餡料;糖果,餐後甜品,麵包,炸甜麵包圈,炸甜麵包圈用混合物;餅乾,鹹餅乾,製麵包用的麵團,麵團用混合物,製麵包麵團用麵粉,供烘烤備用的麵團製品,製布丁用調配劑或混合物,餅乾,胡桃巧克力小方餅,可可,以可可為主的飲料,咖啡,以咖啡為主的飲料,人造咖啡;糖果用餡料,麵包製品及餐後甜品用飾面及糖製飾面;冰製食品,冰淇淋,茶,米,澱粉,西米,麵粉及以穀類為主的調配劑,酵素,發酵粉,麵包製品,意大利式烘餡餅,意大利式烘餡餅用底部,新鮮的或部分已烘烤好的麵包製品,如:捲餅、麵包、意大利式烘餡餅用底部、奶油蛋糕、巧克力蛋糕、餡餅、蛋糕、餅乾、鹹薄脆餅乾、胡桃巧克力小方餅、糕餅、牛角包、麵包條、燕麥蛋糕、鬆餅、帶奶油餡料的麵包、帶黃油餡料的蛋糕;製蛋糕、麵包或餐後甜品用混合物,薄煎餅用麵團,布丁,奶油凍蛋糕,水果冰淇淋,牛肉醬汁,烤三明治,製造包子用薄片狀的麵團,肉類醬汁的混合物,乾狀形式的肉類醬汁及芝士醬汁,帶餡料的貝殼狀麵皮,供糕點、蛋糕、餅乾、糖果及餐後甜品用非乳製奶油;冰鎮酸乳酪(糖果冰)及以酸乳酪為主的冰淇淋(主要以冰淇淋製成的),食用裝飾品,食品用食用香精,使用於食品的食用纖維,食用酵素;烹調用及餐桌伴食用鹽,腌製食品用鹽,糖;調濃用物質,調濃用製劑,供烹調用食品調濃用配劑及調濃用物質;以黃豆為主的冰淇淋製品,黃豆麵粉;從黃豆油及其他蔬菜油衍生的非乳製品;調味品(精油除外),供蛋糕用鮮酵母,為使蛋糕更輕巧及鬆軟作為結合蛋糕用混合物的鮮酵母混合物;塗抹奶油形式的食品;塗抹三明治用調配劑,巧克力,以巧克力為主的製品,巧克力飲料,以人造巧克力為主的飲料,焦糖布丁,烤肉用醬汁,備用餐食形式的食品,餐食形式的備用食品,供人食用的餐食,備用餐食。
商標構成:

通知:根據十二月十三日第97/99/M號法令第二百零九條第一至三款規定,刪除了“用於製造麵包或糖果製品的奶油和食物用奶粉及奶油粉”,因屬其他類別。
商標編號:N/11479 類別: 36
申請人:UBS AG, Bahnhofstrasse 45, CH-8001 Zurich, Switzerland.
國籍:瑞士
活動:商業及工業
申請日期:2003/05/05
服務:保險及金融事務,銀行事務;透過電腦系統提供金融資訊;透過電腦系統的金融服務;透過全球電腦網絡的電子銀行服務(線上銀行);透過全球電腦網絡提供金融資訊及互動電子銀行服務;包括股票、其衍生的及外匯經紀業的有價證券交易服務;貨幣交易;與保險、金融、銀行或不動產事務、以及貨幣交易有關的經紀或代理服務及/或諮詢服務;在付款系統領域的金融諮詢服務;準備基金的管理;金融交易;在金融計劃及金融管理領域的諮詢服務;在投資及風險管理領域的服務;財產的管理;不動產;對於委託遺贈的財政服務;與納稅有關的見解準備及諮詢評估;財政報告書的準備;金融投資的評估;在文化、體育運動及調查領域的資金贊助;對於上述所有服務的諮詢服務。
商標構成:

優先權之要求:請求日期:2002/11/11;所屬國:瑞士;請求編號:09630/2002。
商標編號:N/11480 類別: 36
申請人:UBS AG, Bahnhofstrasse 45, CH-8001 Zurich, Switzerland.
國籍:瑞士
活動:商業及工業
申請日期:2003/05/05
服務:保險及金融事務,銀行事務;透過電腦系統提供金融資訊;透過電腦系統的金融服務;透過全球電腦網絡的電子銀行服務(線上銀行);透過全球電腦網絡提供金融資訊及互動電子銀行服務;包括股票、其衍生的及外匯經紀業的有價證券交易服務;貨幣交易;與保險、金融、銀行或不動產事務、以及貨幣交易有關的經紀或代理服務及/或諮詢服務;在付款系統領域的金融諮詢服務;準備基金的管理;金融交易;在金融計劃及金融管理領域的諮詢服務;在投資及風險管理領域的服務;財產的管理;不動產;對於委託遺贈的財政服務;與納稅有關的見解準備及諮詢評估;財政報告書的準備;金融投資的評估;在文化、體育運動及調查領域的資金贊助;對於上述所有服務的諮詢服務。
商標構成:

優先權之要求:請求日期:2002/11/11;所屬國:瑞士;請求編號:09603/2002。
商標編號:N/11488 類別: 11
申請人:廣東康寶電器有限公司,場所:中國廣東省順德市杏壇鎮新齊路268號。
國籍:中國
活動:商業
申請日期:2003/05/06
產品:電動消毒櫃;微波爐;電感爐具;電動烘爐;電動水龍頭;廚房用通風機;熱水器;電動咖啡機;烤爐;電轉烤肉架;電動烹調用爐具。
商標構成:

商標編號:N/11489 類別: 30
申請人:漳浦天福食品開發有限公司,場所:中國福建省漳浦縣盤陀鎮官陂村。
國籍:中國
活動:商業及工業
申請日期:2003/05/06
產品:茶;糕點;加奶可可飲料;穀類製品;調味品;糖果;冰淇淋;餡餅;麥片;餅乾;餃子;方便麵;果子茶(不屬別類);茶葉代用品;茶糖;麥乳精;茶湯麵。
商標構成:

商標編號:N/11490 類別: 32
申請人:漳浦天福食品開發有限公司,場所:中國福建省漳浦縣盤陀鎮官陂村。
國籍:中國
活動:商業及工業
申請日期:2003/05/06
產品:啤酒;果汁;無酒精果汁;礦泉水(飲料);汽水;果汁飲料(飲料);果汁冰水(飲料);水果飲料(不含酒精);果茶(不含酒精);花生牛奶(軟飲料);乳清飲料;飲料製劑;水(飲料);無酒精水果混合飲料;餐用礦泉水;可樂,茶飲料,食用水,冰茶,果子茶(不屬別類的);奶茶(非奶為主)。
商標構成:

商標編號:N/11495 類別: 9
申請人:Benq Corporation, 157, Shan-Ying Road, KweiShan, TaoYuan, Taiwan.
活動:商業及工業
申請日期:2003/05/09
產品:視像顯示器,液晶體顯示器(LCD),等離子顯示器,等離子電視機,電腦軟件:包括操作系統程式、以及為便利電腦周邊設備之間的數據轉移及指令控制的輸入-輸出基本系統程(BIOS),閱讀記憶體用的光碟(CD-ROM),閱讀記憶體用的數碼視像影碟(DVD-ROM),可錄製的光碟(CD-R),可閱讀/書寫的光碟(CD-RW),彩色鐳射打印機,掃瞄器,數碼攝影機,蜂巢式數碼電話,專用自動交換機(PABE),調制解調器,轉換開關盒,電腦,錄音及影像光碟,光碟閱讀器,電腦用空白碟,電腦用鍵盤,電腦用滑鼠,電腦用磁軌球,電腦用介面板,積體電路用晶片,中央處理單位用處理器,電腦用軟塑料磁碟,計算機,數碼視像影碟的驅動器,打印電路板,硬盤的驅動器,與電視機一起使用的視像遊戲器具,影像磁帶錄製機,盒式影像帶錄製機,收音機,盒式錄音帶錄製機,數碼錄音帶錄製機,電子筆,傳真器具,電話,內部通訊設備,無線電話,傳呼機,半導體,回描變壓器,棒條電碼閱讀器,電腦游標的控制裝置,如:數碼化鍵片裝置,字符識別的光學閱讀器,個人數碼助理。
商標構成:

商標編號:N/11496 類別: 9
申請人:Benq Corporation, 157, Shan-Ying Road, KweiShan, TaoYuan, Taiwan.
活動:商業及工業
申請日期:2003/05/09
產品:視像顯示器,液晶體顯示器(LCD),等離子顯示器,等離子電視機,電腦軟件:包括操作系統程式、以及為便利電腦周邊設備之間的數據轉移及指令控制的輸入-輸出基本系統程(BIOS),閱讀記憶體用的光碟(CD-ROM),閱讀記憶體用的數碼視像影碟(DVD-ROM),可錄製的光碟 (CD-R),可閱讀/書寫的光碟(CD-RW),彩色鐳射打印機,掃瞄器,數碼攝影機,蜂巢式數碼電話,專用自動交換機(PABE),調制解調器,轉換開關盒,電腦,錄音及影像光碟,光碟閱讀器,電腦用空白碟,電腦用鍵盤,電腦用滑鼠,電腦用磁軌球,電腦用介面板,積體電路用晶片,中央處理單位用處理器,電腦用軟塑料磁碟,計算機,數碼視像影碟的驅動器,打印電路板,硬盤的驅動器,與電視機一起使用的視像遊戲器具,影像磁帶錄製機,盒式影像帶錄製機,收音機,盒式錄音帶錄製機,數碼錄音帶錄製機,電子筆,傳真器具,電話,內部通訊設備,無線電話,傳呼機,半導體,回描變壓器,棒條電碼閱讀器,電腦游標的控制裝置,如:數碼化鍵片裝置,字符識別的光學閱讀器,個人數碼助理。
商標構成:

商標編號:N/11497 類別: 11
申請人:劉敬澤,場所:澳門黑沙環看台街336號N樂富新邨地下。
國籍:中國
活動:商業
申請日期:2003/05/09
產品:飲水機、加溫、蒸汽、冷藏供水以及衛生設備裝置。
商標構成:

商標編號:N/11498 類別: 5
申請人:羅仁槐,塲所:澳門慕拉士大馬路205號泉福工業大廈十樓D座
國籍:中國
活動:商業
申請日期:2003/05/12
產品:中西成藥,醫藥保健品。
商標構成:

商標編號:N/11499 類別: 5
申請人:羅仁槐,塲所:澳門慕拉士大馬路205號泉福工業大廈十樓D座
國籍:中國
活動:商業
申請日期:2003/05/12
產品:中西成藥,藥用保健品。
商標構成:

商標編號:N/11500 類別: 5
申請人:羅仁槐,塲所:澳門慕拉士大馬路205號泉福工業大廈十樓D座
國籍:中國
活動:商業
申請日期:2003/05/12
產品:中西成藥(藥油、藥膏)。
商標構成:

商標編號:N/11501 類別: 5
申請人:羅仁槐,塲所:澳門慕拉士大馬路205號泉福工業大廈十樓D座
國籍:中國
活動:商業
申請日期:2003/05/12
產品:中西成藥(藥油、藥膏)。
商標構成:

商標編號:N/11502 類別: 5
申請人:羅仁槐,塲所:澳門慕拉士大馬路205號泉福工業大廈十樓D座
國籍:中國
活動:商業
申請日期:2003/05/12
產品:中西成藥(藥油、藥膏)。
商標構成:

商標編號:N/11503 類別: 9
申請人:Kabushiki Kaisha Sony Computer Entertainment (Sony Computer Entertainment Inc.), 1-1, Akasaka 7-chome, Minato-ku, Tokyo, Japan.
國籍:日本
活動:商業及工業
申請日期:2003/05/12
產品:電腦用滑鼠墊;電腦用滑鼠;電子電路;磁碟;磁帶;密寫或密寫資訊數據用編碼電腦程式;驗證資料用儀器;資料處理機器用微編程及密寫儀器;蜂巢式電話用帶;只適合與電視接收器一起使用的娛樂器具;自動及投幣啟動的娛樂器具;自動售貨機器;電腦程式;可下載的電子刊物;視像遊戲用可下載軟件;軟件開發及電腦編程用安裝儀器;用於阻斷進入電訊的密寫儀器;視像遊戲的程式;只與電視接收器一起使用的視像遊戲用控制器、操控桿、記憶卡、音量控制器、滑鼠及零件和配件;電子刊物;乾電池;濕電池;蓄電池;電池組;電線;電纜;攝影器具及儀器;電影器具及儀器;電話器具;有線通訊器具;無線電廣播的器具;透過無線電傳送的通訊器具;音頻器具;視頻器具;揚聲器;天線;唱碟;節拍器;錄製光碟;電腦;集成電路;大規模集成電路;編碼視像影碟及編碼盒式影像帶;只與電視接收器一起使用的視像遊戲;以電腦為基礎的影像處理用儀器;備有以電腦為基礎的影像處理用儀器的攝影機及儀器;電腦用軟件;電腦圖示用軟件;電腦圖示用電子影像及聲音;電子電路;磁碟;磁性盒式錄音帶;唯讀記憶體光碟;光碟;磁性光碟;唯讀記憶體數碼視像影碟;編碼靜態影像;電子規格的動畫片;感光影片;影像處理用電腦介面卡;影像處理用集成電路;數碼多用途光碟錄製機;數碼多用途視像影碟錄製機;錄像機用發動機;錄製機用發動機;數碼多用途光碟閱讀器;電視器具用調諧器;透過衛星傳送用終端機;同軸電纜。
商標構成:

商標編號:N/11504 類別: 28
申請人:Kabushiki Kaisha Sony Computer Entertainment (Sony Computer Entertainment Inc.), 1-1, Akasaka 7-chome, Minato-ku, Tokyo, Japan.
國籍:日本
活動:商業及工業
申請日期:2003/05/12
產品:手提式電子遊戲;除投幣啟動式及適用於電視接收器以外的具液晶體顯示器的遊戲;彈球盤機器(日本豎式彈珠機);桌球棒;桌球棒用粉粒;桌球的球;Go遊戲的棋子;Go遊戲的棋盤;Koma(Shogi遊戲用木製棋子);骰子;國際象棋遊戲;麻將;兒童用鐘及手錶;具輪子的玩具;上弦玩具;玩具哨子;音樂盒(玩具);玩具娃娃;玩具娃娃用衣服;寵物用玩具;棒球運動的手套;球類遊戲用肩膀墊;戶外運動用鐵餅;網球或羽毛球的球拍;乒乓球用球拍;曲棍球運動用球棍;高爾夫球袋;高爾夫球棒;高爾夫球的球;滑雪板用盒;滑雪桿;溜冰鞋;拳擊運動的手套;箭靶;佩刀(刀術用武器);體操用跳板;韻律操用金屬環;舉重用重物及啞鈴;帆及滑浪風帆;滑浪板;旱冰鞋;滑雪板;滑翔傘;滑雪板用蠟;釣魚竿;釣魚竿用盒;釣魚竿用捲軸。
商標構成:

通知:根據十二月十三日第97/99/M號法令第二百零九條第一至三款規定,刪除了“紙牌遊戲”,因屬其他類別。
商標編號:N/11505 類別: 9
申請人:Kabushiki Kaisha Sony Computer Entertainment (Sony Computer Entertainment Inc.), 1-1, Akasaka 7-chome, Minato-ku, Tokyo, Japan.
國籍:日本
活動:商業及工業
申請日期:2003/05/12
產品:電腦用滑鼠墊;電腦用滑鼠;電子電路;磁碟;磁帶;密寫或密寫資訊數據用編碼電腦程式;驗證資料用儀器;資料處理機器用微編程及密寫儀器;蜂巢式電話用帶;只適合與電視接收器一起使用的娛樂器具;自動及投幣啟動的娛樂器具;自動售貨機器;電腦程式;可下載的電子刊物;視像遊戲用可下載軟件;軟件開發及電腦編程用安裝儀器;用於阻斷進入電訊的密寫儀器;視像遊戲的程式;只與電視接收器一起使用的視像遊戲用控制器、操控桿、記憶卡、音量控制器、滑鼠及零件和配件;電子刊物;乾電池;濕電池;蓄電池;電池組;電線;電纜;攝影器具及儀器;電影器具及儀器;電話器具;有線通訊器具;無線電廣播的器具;透過無線電傳送的通訊器具;音頻器具;視頻器具;揚聲器;天線;唱碟;節拍器;錄製光碟;電腦;集成電路;大規模集成電路;編碼視像影碟及編碼盒式影像帶;只與電視接收器一起使用的視像遊戲;以電腦為基礎的影像處理用儀器;備有以電腦為基礎的影像處理用儀器的攝影機及儀器;電腦用軟件;電腦圖示用軟件;電腦圖示用電子影像及聲音;電子電路;磁碟;磁性盒式錄音帶;唯讀記憶體光碟;光碟;磁性光碟;唯讀記憶體數碼視像影碟;編碼靜態影像;電子規格的動畫片;感光影片;影像處理用電腦介面卡;影像處理用集成電路;數碼多用途光碟錄製機;數碼多用途視像影碟錄製機;錄像機用發動機;錄製機用發動機;數碼多用途光碟閱讀器;電視器具用調諧器;透過衛星傳送用終端機;同軸電纜。
商標構成:

商標編號:N/11506 類別: 28
申請人:Kabushiki Kaisha Sony Computer Entertainment (Sony Computer Entertainment Inc.), 1-1, Akasaka 7-chome, Minato-ku, Tokyo, Japan.
國籍:日本
活動:商業及工業
申請日期:2003/05/12
產品:手提式電子遊戲;除投幣啟動式及適用於電視接收器以外的具液晶體顯示器的遊戲;彈球盤機器(日本豎式彈珠機);桌球棒;桌球棒用粉粒;桌球的球;Go遊戲的棋子;Go遊戲的棋盤;Koma(Shogi遊戲用木製棋子);骰子;國際象棋遊戲;麻將;兒童用鐘及手錶;具輪子的玩具;上弦玩具;玩具哨子;音樂盒(玩具);玩具娃娃;玩具娃娃用衣服;寵物用玩具;棒球運動的手套;球類遊戲用肩膀墊;戶外運動用鐵餅;網球或羽毛球的球拍;乒乓球用球拍;曲棍球運動用球棍;高爾夫球袋;高爾夫球棒;高爾夫球的球;滑雪板用盒;滑雪桿;溜冰鞋;拳擊運動的手套;箭靶;佩刀(刀術用武器);體操用跳板;韻律操用金屬環;舉重用重物及啞鈴;帆及滑浪風帆;滑浪板;旱冰鞋;滑雪板;滑翔傘;滑雪板用蠟;釣魚竿;釣魚竿用盒;釣魚竿用捲軸。
商標構成:

通知:根據十二月十三日第97/99/M號法令第二百零九條第一至三款規定,刪除了“紙牌遊戲”,因屬其他類別。
商標編號:N/11507 類別: 9
申請人:Kabushiki Kaisha Sony Computer Entertainment (Sony Computer Entertainment Inc.), 1-1, Akasaka 7-chome, Minato-ku, Tokyo, Japan.
國籍:日本
活動:商業及工業
申請日期:2003/05/12
產品:電腦用滑鼠墊;電腦用滑鼠;電子電路;磁碟;磁帶;密寫或密寫資訊數據用編碼電腦程式;驗證資料用儀器;資料處理機器用微編程及密寫儀器;蜂巢式電話用帶;只適合與電視接收器一起使用的娛樂器具;自動及投幣啟動的娛樂器具;自動售貨機器;電腦程式;可下載的電子刊物;視像遊戲用可下載軟件;軟件開發及電腦編程用安裝儀器;用於阻斷進入電訊的密寫儀器;視像遊戲的程式;只與電視接收器一起使用的視像遊戲用控制器、操控桿、記憶卡、音量控制器、滑鼠及零件和配件;電子刊物;乾電池;濕電池;蓄電池;電池組;電線;電纜;攝影器具及儀器;電影器具及儀器;電話器具;有線通訊器具;無線電廣播的器具;透過無線電傳送的通訊器具;音頻器具;視頻器具;揚聲器;天線;唱碟;節拍器;錄製光碟;電腦;集成電路;大規模集成電路;編碼視像影碟及編碼盒式影像帶;只與電視接收器一起使用的視像遊戲;以電腦為基礎的影像處理用儀器;備有以電腦為基礎的影像處理用儀器的攝影機及儀器;電腦用軟件;電腦圖示用軟件;電腦圖示用電子影像及聲音;電子電路;磁碟;磁性盒式錄音帶;唯讀記憶體光碟;光碟;磁性光碟;唯讀記憶體數碼視像影碟;編碼靜態影像;電子規格的動畫片;感光影片;影像處理用電腦介面卡;影像處理用集成電路;數碼多用途光碟錄製機;數碼多用途視像影碟錄製機;錄像機用發動機;錄製機用發動機;數碼多用途光碟閱讀器;電視器具用調諧器;透過衛星傳送用終端機;同軸電纜。
商標構成:

商標編號:N/11508 類別: 28
申請人:Kabushiki Kaisha Sony Computer Entertainment (Sony Computer Entertainment Inc.), 1-1, Akasaka 7-chome, Minato-ku, Tokyo, Japan.
國籍:日本
活動:商業及工業
申請日期:2003/05/12
產品:手提式電子遊戲;除投幣啟動式及適用於電視接收器以外的具液晶體顯示器的遊戲;彈球盤機器(日本豎式彈珠機);桌球棒;桌球棒用粉粒;桌球的球;Go遊戲的棋子;Go遊戲的棋盤;Koma(Shogi遊戲用木製棋子);骰子;國際象棋遊戲;麻將;兒童用鐘及手錶;具輪子的玩具;上弦玩具;玩具哨子;音樂盒(玩具);玩具娃娃;玩具娃娃用衣服;寵物用玩具;棒球運動的手套;球類遊戲用肩膀墊;戶外運動用鐵餅;網球或羽毛球的球拍;乒乓球用球拍;曲棍球運動用球棍;高爾夫球袋;高爾夫球棒;高爾夫球的球;滑雪板用盒;滑雪桿;溜冰鞋;拳擊運動的手套;箭靶;佩刀(刀術用武器);體操用跳板;韻律操用金屬環;舉重用重物及啞鈴;帆及滑浪風帆;滑浪板;旱冰鞋;滑雪板;滑翔傘;滑雪板用蠟;釣魚竿;釣魚竿用盒;釣魚竿用捲軸。
商標構成:

通知:根據十二月十三日第97/99/M號法令第二百零九條第一至三款規定,刪除了“紙牌遊戲”,因屬其他類別。
商標編號:N/11509 類別: 9
申請人:Kabushiki Kaisha Sony Computer Entertainment (Sony Computer Entertainment Inc.), 1-1, Akasaka 7-chome, Minato-ku, Tokyo, Japan.
國籍:日本
活動:商業及工業
申請日期:2003/05/12
產品:電腦用滑鼠墊;電腦用滑鼠;電子電路;磁碟;磁帶;密寫或密寫資訊數據用編碼電腦程式;驗證資料用儀器;資料處理機器用微編程及密寫儀器;蜂巢式電話用帶;只適合與電視接收器一起使用的娛樂器具;自動及投幣啟動的娛樂器具;自動售貨機器;電腦程式;可下載的電子刊物;視像遊戲用可下載軟件;軟件開發及電腦編程用安裝儀器;用於阻斷進入電訊的密寫儀器;視像遊戲的程式;只與電視接收器一起使用的視像遊戲用控制器、操控桿、記憶卡、音量控制器、滑鼠及零件和配件;電子刊物;乾電池;濕電池;蓄電池;電池組;電線;電纜;攝影器具及儀器;電影器具及儀器;電話器具;有線通訊器具;無線電廣播的器具;透過無線電傳送的通訊器具;音頻器具;視頻器具;揚聲器;天線;唱碟;節拍器;錄製光碟;電腦;集成電路;大規模集成電路;編碼視像影碟及編碼盒式影像帶;只與電視接收器一起使用的視像遊戲;以電腦為基礎的影像處理用儀器;備有以電腦為基礎的影像處理用儀器的攝影機及儀器;電腦用軟件;電腦圖示用軟件;電腦圖示用電子影像及聲音;電子電路;磁碟;磁性盒式錄音帶;唯讀記憶體光碟;光碟;磁性光碟;唯讀記憶體數碼視像影碟;編碼靜態影像;電子規格的動畫片;感光影片;影像處理用電腦介面卡;影像處理用集成電路;數碼多用途光碟錄製機;數碼多用途視像影碟錄製機;錄像機用發動機;錄製機用發動機;數碼多用途光碟閱讀器;電視器具用調諧器;透過衛星傳送用終端機;同軸電纜。
商標構成:

商標編號:N/11510 類別: 28
申請人:Kabushiki Kaisha Sony Computer Entertainment (Sony Computer Entertainment Inc.), 1-1, Akasaka 7-chome, Minato-ku, Tokyo, Japan.
國籍:日本
活動:商業及工業
申請日期:2003/05/12
產品:手提式電子遊戲;除投幣啟動式及適用於電視接收器以外的具液晶體顯示器的遊戲;彈球盤機器 (日本豎式彈珠機);桌球棒;桌球棒用粉粒;桌球的球;Go遊戲的棋子;Go遊戲的棋盤;Koma (Shogi遊戲用木製棋子);骰子;國際象棋遊戲;麻將;兒童用鐘及手錶;具輪子的玩具;上弦玩具;玩具哨子;音樂盒(玩具);玩具娃娃;玩具娃娃用衣服;寵物用玩具;棒球運動的手套;球類遊戲用肩膀墊;戶外運動用鐵餅;網球或羽毛球的球拍;乒乓球用球拍;曲棍球運動用球棍;高爾夫球袋;高爾夫球棒;高爾夫球的球;滑雪板用盒;滑雪桿;溜冰鞋;拳擊運動的手套;箭靶;佩刀(刀術用武器);體操用跳板;韻律操用金屬環;舉重用重物及啞鈴;帆及滑浪風帆;滑浪板;旱冰鞋;滑雪板;滑翔傘;滑雪板用蠟;釣魚竿;釣魚竿用盒;釣魚竿用捲軸。
商標構成:

通知:根據十二月十三日第97/99/M號法令第二百零九條第一至三款規定,刪除了“紙牌遊戲”,因屬其他類別。
商標編號:N/11511 類別: 9
申請人:Kabushiki Kaisha Sony Computer Entertainment (Sony Computer Entertainment Inc.), 1-1, Akasaka 7-chome, Minato-ku, Tokyo, Japan.
國籍:日本
活動:商業及工業
申請日期:2003/05/12
產品:電腦用滑鼠墊;電腦用滑鼠;電子電路;磁碟;磁帶;密寫或密寫資訊數據用編碼電腦程式;驗證資料用儀器;資料處理機器用微編程及密寫儀器;蜂巢式電話用帶;只適合與電視接收器一起使用的娛樂器具;自動及投幣啟動的娛樂器具;自動售貨機器;電腦程式;可下載的電子刊物;視像遊戲用可下載軟件;軟件開發及電腦編程用安裝儀器;用於阻斷進入電訊的密寫儀器;視像遊戲的程式;只與電視接收器一起使用的視像遊戲用控制器、操控桿、記憶卡、音量控制器、滑鼠及零件和配件;電子刊物;乾電池;濕電池;蓄電池;電池組;電線;電纜;攝影器具及儀器;電影器具及儀器;電話器具;有線通訊器具;無線電廣播的器具;透過無線電傳送的通訊器具;音頻器具;視頻器具;揚聲器;天線;唱碟;節拍器;錄製光碟;電腦;集成電路;大規模集成電路;編碼視像影碟及編碼盒式影像帶;只與電視接收器一起使用的視像遊戲;以電腦為基礎的影像處理用儀器;備有以電腦為基礎的影像處理用儀器的攝影機及儀器;電腦用軟件;電腦圖示用軟件;電腦圖示用電子影像及聲音;電子電路;磁碟;磁性盒式錄音帶;唯讀記憶體光碟;光碟;磁性光碟;唯讀記憶體數碼視像影碟;編碼靜態影像;電子規格的動畫片;感光影片;影像處理用電腦介面卡;影像處理用集成電路;數碼多用途光碟錄製機;數碼多用途視像影碟錄製機;錄像機用發動機;錄製機用發動機;數碼多用途光碟閱讀器;電視器具用調諧器;透過衛星傳送用終端機;同軸電纜。
商標構成:

商標編號: N/11512 類別: 28
申請人:Kabushiki Kaisha Sony Computer Entertainment (Sony Computer Entertainment Inc.), 1-1, Akasaka 7-chome, Minato-ku, Tokyo, Japan.
國籍:日本
活動:商業及工業
申請日期:2003/05/12
產品:手提式電子遊戲;除投幣啟動式及適用於電視接收器以外的具液晶體顯示器的遊戲;彈球盤機器(日本豎式彈珠機);桌球棒;桌球棒用粉粒;桌球的球;Go遊戲的棋子;Go遊戲的棋盤;Koma(Shogi遊戲用木製棋子);骰子;國際象棋遊戲;麻將;兒童用鐘及手錶;具輪子的玩具;上弦玩具;玩具哨子;音樂盒(玩具);玩具娃娃;玩具娃娃用衣服;寵物用玩具;棒球運動的手套;球類遊戲用肩膀墊;戶外運動用鐵餅;網球或羽毛球的球拍;乒乓球用球拍;曲棍球運動用球棍;高爾夫球袋;高爾夫球棒;高爾夫球的球;滑雪板用盒;滑雪桿;溜冰鞋;拳擊運動的手套;箭靶;佩刀(刀術用武器);體操用跳板;韻律操用金屬環;舉重用重物及啞鈴;帆及滑浪風帆;滑浪板;旱冰鞋;滑雪板;滑翔傘;滑雪板用蠟;釣魚竿;釣魚竿用盒;釣魚竿用捲軸。
商標構成:

通知:根據十二月十三日第97/99/M號法令第二百零九條第一至三款規定,刪除了“紙牌遊戲 ”,因屬其他類別。
商標編號: N/11513 類別: 5
申請人:Bayer Aktiengesellschaft, D-51368 Leverkusen-Bayerwerk, Germany.
國籍:德國
活動:商業及工業
申請日期:2003/05/12
產品:藥劑及藥品。
商標構成:

商標編號: N/11514 類別: 5
申請人:Bayer Aktiengesellschaft, D-51368 Leverkusen-Bayerwerk, Germany.
國籍:德國
活動:商業及工業
申請日期:2003/05/12
產品:藥劑及藥品。
商標構成:

商標編號: N/11515 類別: 5
申請人:Bayer Aktiengesellschaft, D-51368 Leverkusen-Bayerwerk, Germany.
國籍:德國
活動:商業及工業
申請日期:2003/05/12
產品:藥劑及藥品。
商標構成:

商標編號: N/11516 類別: 5
申請人:Bayer Aktiengesellschaft, D-51368 Leverkusen-Bayerwerk, Germany.
國籍:德國
活動:商業及工業
申請日期:2003/05/12
產品:藥劑及藥品。
商標構成:

商標編號: N/11517 類別: 5
申請人:Bayer Aktiengesellschaft, D-51368 Leverkusen-Bayerwerk, Germany.
國籍:德國
活動:商業及工業
申請日期:2003/05/12
產品:藥劑及藥品。
商標構成:

商標編號: N/11518 類別: 5
申請人:Bayer Aktiengesellschaft, D-51368 Leverkusen-Bayerwerk, Germany.
國籍:德國
活動:商業及工業
申請日期:2003/05/12
產品:藥劑及藥品。
商標構成:

商標編號: N/11519 類別: 5
申請人:Bayer Aktiengesellschaft, D-51368 Leverkusen-Bayerwerk, Germany.
國籍:德國
活動:商業及工業
申請日期:2003/05/12
產品:藥劑及藥品。
商標構成:

商標編號: N/11520 類別: 5
申請人:Bayer Aktiengesellschaft, D-51368 Leverkusen-Bayerwerk, Germany.
國籍:德國
活動:商業及工業
申請日期:2003/05/12
產品:藥劑及藥品。
商標構成:

商標編號: N/11521 類別: 5
申請人:Bayer Aktiengesellschaft, D-51368 Leverkusen-Bayerwerk, Germany.
國籍:德國
活動:商業及工業
申請日期:2003/05/12
產品:藥劑及藥品。
商標構成:

商標編號: N/11522 類別: 5
申請人:Bayer Aktiengesellschaft, D-51368 Leverkusen-Bayerwerk, Germany.
國籍:德國
活動:商業及工業
申請日期:2003/05/12
產品:藥劑及藥品。
商標構成:

商標編號: N/11523 類別: 5
申請人:Bayer Aktiengesellschaft, D-51368 Leverkusen-Bayerwerk, Germany.
國籍:德國
活動:商業及工業
申請日期:2003/05/12
產品:藥劑及藥品。
商標構成:

商標編號: N/11524 類別: 34
申請人:Corporacion Habanos, S.A., Avenida 3ra. n.º 2006 entre 20 y 22, Miramar, Playa, Ciudad de La Habana, Cuba.
國籍:古巴
活動:商業及工業
申請日期:2003/05/12
產品:煙草,雪茄,香煙,小香煙,煙具包括火柴。
商標構成:

商標編號: N/11525 類別: 9
申請人:Kabushiki Kaisha Sony Computer Entertainment (Sony Computer Entertainment Inc.), 1-1, Akasaka 7-chome, Minato-ku, Tokyo, Japan.
國籍:日本
活動:商業及工業
申請日期:2003/05/12
產品:電腦用滑鼠墊;電腦用滑鼠;電子電路;磁碟;磁帶;密寫或密寫資訊數據用編碼電腦程式;驗證資料用儀器;資料處理機器用微編程及密寫儀器;蜂巢式電話用帶;只適合與電視接收器一起使用的娛樂器具;自動及投幣啟動的娛樂器具;自動售貨機器;電腦程式;可下載的電子刊物;視像遊戲用可下載軟件;軟件開發及電腦編程用安裝儀器;用於阻斷進入電訊的密寫儀器;視像遊戲的程式;只與電視接收器一起使用的視像遊戲用控制器、操控桿、記憶卡、音量控制器、滑鼠及零件和配件;電子刊物;乾電池;濕電池;蓄電池;電池組;電線;電纜;攝影器具及儀器;電影器具及儀器;電話器具;有線通訊器具;無線電廣播的器具;透過無線電傳送的通訊器具;音頻器具;視頻器具;揚聲器;天線;唱碟;節拍器;錄製光碟;電腦;集成電路;大規模集成電路;編碼視像影碟及編碼盒式影像帶;只與電視接收器一起使用的視像遊戲;以電腦為基礎的影像處理用儀器;備有以電腦為基礎的影像處理用儀器的攝影機及儀器;電腦用軟件;電腦圖示用軟件;電腦圖示用電子影像及聲音;電子電路;磁碟;磁性盒式錄音帶;唯讀記憶體光碟;光碟;磁性光碟;唯讀記憶體數碼視像影碟;編碼靜態影像;電子規格的動畫片;感光影片;影像處理用電腦介面卡;影像處理用集成電路;數碼多用途光碟錄製機;數碼多用途視像影碟錄製機;錄像機用發動機;錄製機用發動機;數碼多用途光碟閱讀器;電視器具用調諧器;透過衛星傳送用終端機;同軸電纜。
商標構成:

商標編號: N/11526 類別: 28
申請人:Kabushiki Kaisha Sony Computer Entertainment (Sony Computer Entertainment Inc.), 1-1, Akasaka 7-chome, Minato-ku, Tokyo, Japan.
國籍:日本
活動:商業及工業
申請日期:2003/05/12
產品:手提式電子遊戲;除投幣啟動式及適用於電視接收器以外的具液晶體顯示器的遊戲;彈球盤機器(日本豎式彈珠機);桌球棒;桌球棒用粉粒;桌球的球;Go遊戲的棋子;Go遊戲的棋盤;Koma(Shogi遊戲用木製棋子);骰子;國際象棋遊戲;麻將;兒童用鐘及手錶;具輪子的玩具;上弦玩具;玩具哨子;音樂盒(玩具);玩具娃娃;玩具娃娃用衣服;寵物用玩具;棒球運動的手套;球類遊戲用肩膀墊;戶外運動用鐵餅;網球或羽毛球的球拍;乒乓球用球拍;曲棍球運動用球棍;高爾夫球袋;高爾夫球棒;高爾夫球的球;滑雪板用盒;滑雪桿;溜冰鞋;拳擊運動的手套;箭靶;佩刀(刀術用武器);體操用跳板;韻律操用金屬環;舉重用重物及啞鈴;帆及滑浪風帆;滑浪板;旱冰鞋;滑雪板;滑翔傘;滑雪板用蠟;釣魚竿;釣魚竿用盒;釣魚竿用捲軸。
商標構成:

通知:根據十二月十三日第97/99/M號法令第二百零九條第一至三款規定,刪除了“紙牌遊戲”,因屬其他類別。
商標編號: N/11527 類別: 29
申請人:Unilever N.V., Weena 455, 3013 AL Rotterdam, The Netherlands.
國籍:荷蘭
活動:商業及工業
申請日期:2003/05/13
產品:肉,魚,家禽及野味;肉汁;乾製及煮熟的保存裝水果和蔬菜;果凍,塗醬,凝乳,果醬,水果甜食,水果醬汁;蛋,香味奶;奶製飲料,奶及乳製品,乳酪,冰乳酪,食用油及油脂,水果漿。
商標構成:

商標編號: N/11528 類別: 30
申請人:Unilever N.V., Weena 455, 3013 AL Rotterdam, The Netherlands.
國籍:荷蘭
活動:商業及工業
申請日期:2003/05/13
產品:冰製食品;流質冰製食品;冷凍糖果;餅乾;糖果;醬油;糖漿;冰淇淋;咖啡、茶、可可、糖、米、澱粉、西米、咖啡代用品;麵粉及以穀類為主的製品、麵包、糕點、冰製食品;蜂蜜、糖蜜;鮮酵母、發酵粉;食鹽、芥末、醋、醬油(調味品)、調味用香料、食用冰。
商標構成:

商標編號: N/11530 類別: 32
申請人:Pepsico, Inc., 700, Anderson Hill Road, Purchase, New York 10577-1444, United States of America.
國籍:美國紐約州
活動:商業及工業
申請日期:2003/05/15
產品:礦泉水及汽水及其他不含酒精的飲料;水果飲料及果汁,糖漿,濃縮液及其他製飲料用製劑。
商標構成:

顏色之要求:藍色,淺藍色,紅色,白色及黑色。
商標編號: N/11531 類別: 30
申請人:Guan Sheng Yuan (Group) Co., Ltd, 1418 Xin Zha Road, Shanghai, China.
國籍:中國
活動:商業及工業
申請日期:2003/05/15
產品:味精;雞精;調味品;調味料。
商標構成:

商標編號:N/11532 類別: 30
申請人:Guan Sheng Yuan (Group) Co., Ltd., 1418 Xin Zha Road, Shanghai, China.
國籍:中國
活動:商業及工業
申請日期:2003/05/15
產品:麵條;麵粉製品;蜂蜜;食用王漿(非醫用)。
商標構成:

商標編號:N/11533 類別: 33
申請人:Guan Sheng Yuan (Group) Co., Ltd., 1418 Xin Zha Road, Shanghai, China.
國籍:中國
活動:商業及工業
申請日期:2003/05/15
產品:中式有汽酒,酒精飲料(啤酒除外),酒。
商標構成:

商標編號:N/11534 類別: 30
申請人:Guan Sheng Yuan (Group) Co., Ltd., 1418 Xin Zha Road, Shanghai, China.
國籍:中國
活動:商業及工業
申請日期:2003/05/15
產品:糖果。
商標構成:

商標編號:N/11536 類別: 3
申請人:La Chemise Lacoste, 8, rue de Castiglione, 75001 Paris, França.
國籍:法國
活動:商業及工業
申請日期:2003/05/15
產品:漂白劑及其他洗衣用物料;清潔、擦亮、去脂及研磨用製劑;肥皂;香料、精油、化妝品、髮水、牙膏。
商標構成:

顏色之要求:長方形的包裝,外觀呈類似LACOSTE襯衣及襯衫的針織布浮凸狀;底色為淺灰色及浮凸部分為深灰色(煤黑色);垂直邊角由閃閃發光銀白金屬色凸狀彎曲邊包圍著。
優先權之要求:請求日期:2002/12/30;所屬國:法國;請求編號:02 3 202 460。
商標編號:N/11537 類別: 3
申請人:La Chemise Lacoste, 8, rue de Castiglione, 75001 Paris, França.
國籍:法國
活動:商業及工業
申請日期:2003/05/15
產品:漂白劑及其他洗衣用物料;清潔、擦亮、去脂及研磨用製劑;肥皂;香料、精油、化妝品、髮水、牙膏。
商標構成:

顏色之要求:小瓶為半透明灰色,其垂直邊角為傾斜切割的;螺旋蓋子為無光澤鋼色,外觀呈類似LACOSTE襯衣及襯衫的針織布浮凸狀。
優先權之要求:請求日期:2002/12/30;所屬國:法國;請求編號:02 3 202 459。
商標編號:N/11538 類別: 3
申請人:La Chemise Lacoste, 8, rue de Castiglione, 75001 Paris, França.
國籍:法國
活動:商業及工業
申請日期:2003/05/15
產品:漂白劑及其他洗衣用物料;清潔、擦亮、去脂及研磨用製劑;肥皂;香料、精油、化妝品、髮水、牙膏。
商標構成:

顏色之要求:長方形的包裝,外觀呈類似LACOSTE襯衣及襯衫的針織布浮凸狀;底色為香檳色及浮凸部分為淡灰褐色;垂直邊角由閃閃發光銀白金屬色凸狀彎曲邊包圍著。
優先權之要求:請求日期:2003/01/29;所屬國:法國;請求編號:03 3 207 482。
商標編號:N/11539 類別: 3
申請人:La Chemise Lacoste, 8, rue de Castiglione, 75001 Paris, França.
國籍:法國
活動:商業及工業
申請日期:2003/05/15
產品:漂白劑及其他洗衣用物料;清潔、擦亮、去脂及研磨用製劑;肥皂;香料、精油、化妝品、髮水、牙膏。
商標構成:

顏色之要求:半透明小瓶具傾斜切割的垂直邊角;螺旋蓋子為具金屬光澤的香檳色,外觀呈類似LACOSTE襯衣及襯衫的針織布浮凸狀。
優先權之要求:請求日期:2003/01/29;所屬國:法國;請求編號:03 3 207 481。
商標編號:N/11540 類別: 34
申請人:邱慰愿,塲所:澳門羅馬街96號東南亞花園B座5樓AF。
國籍:中國
活動:商業
申請日期:2003/05/16
產品:煙草產品,煙具。
商標構成:

商標編號:N/11542 類別: 3
申請人:Bioscreen S.A., 54 rue du Faubourg St. Honore, 75008 Paris, France.
國籍:法國
活動:商業及工業
申請日期:2003/05/19
產品:漂白劑及其他洗衣用物料;清潔,擦亮,去脂及研磨用制劑;肥皂;香料,精油,化妝品,髮水,護理頭髮用產品;牙膏;梳妝用品;護理皮膚、頭髮、身體及化妝用制劑,全屬第3類。
商標構成:

商標編號:N/11543 類別: 3
申請人:Shimmer New York Limited, 6/F Casey Building, 38 Lok Ku Road, Hong Kong.
國籍:根據香港法例成立
活動:商業及工業
申請日期:2003/05/19
產品:漂白劑及其他洗衣用物料;清潔,擦亮,去脂及研磨用制劑;肥皂;香料,精油,化妝品,髮水,護理頭髮用產品;牙膏;梳妝用品;護理皮膚、頭髮、身體及化妝用制劑,全屬第3類。
商標構成:

商標編號:N/11546 類別: 36
申請人:興業銀行股份有限公司,塲所:中國福建福州市湖東路154號。
國籍:中國
活動:商業及工業
申請日期:2003/05/21
服務:分期付款的貸款;債務托收代理;銀行;貨幣兌換;票據交換(金融);金融貸款;金融服務;信用卡服務;貿易清算(金融);證券和公債經紀。
商標構成:

商標編號:N/11547 類別: 36
申請人:興業銀行股份有限公司,塲所:中國福建福州市湖東路154號。
國籍:中國
活動:商業及工業
申請日期:2003/05/21
服務:分期付款的貸款;債務托收代理;銀行服務;基金投資;貨幣兌換;發行旅行支票(應收票據);票據交換(金融);組織收款;金融貸款;金融評估(保險,銀行,不動產);金融服務;儲蓄銀行;分期付款籌借資金;金融分析;核實票據(應收票據);金融諮詢;信用卡服務;借款卡服務;電子轉帳;金融信息;租金收款;有價證券的發行;信用卡發放;信用卡的發行;貿易清算(金融);保險倉庫(保險箱寄存);貴重物品存放;證券和公債經紀;證券交易行情;保險經紀。
商標構成:

商標編號:N/11548 類別: 9
申請人:BMG Music, 1540 Broadway, New York, NY, 10036, United States of America.
國籍:美國
活動:商業及工業
申請日期:2003/05/21
產品:儲存聲音的媒體,儲存影像的媒體,儲存數據的媒體,尤如其他任何儲存資訊的媒體,全為已預錄製的。
商標構成:

商標編號:N/11550 類別: 9
申請人:Viasystems, Inc., 101 S. Hanley Road, #400, St. Louis, Missouri 63105, United States of America.
國籍:美國德拉瓦州
活動:商業及工業
申請日期:2003/05/23
產品:印刷電路板;電子基板;電子電纜線用配備及按量度的電子電纜線;以及按量度的電子圍柵。
商標構成:

優先權之要求:請求日期:2002/12/23;所屬國:美國;請求編號:76/478041。
通知:由呈交澳門特區註冊請求書日期計算三個月期限內,必須附上註冊請求書經認證之副本,作為優先權之依據。
商標編號:N/11551 類別: 40
申請人:Viasystems, Inc., 101 S. Hanley Road, #400, St. Louis, Missouri 63105, United States of America.
國籍:美國德拉瓦州
活動:商業及工業
申請日期:2003/05/23
服務:印刷電路板的製造;電子基板的裝配;電子電纜線用配備的裝配及按量度電子電纜線的裝配;及按量度的電子圍柵;以及由第三者訂購及/或指定按量度電子電纜線的裝配及按量度的電子圍柵。
商標構成:

優先權之要求:請求日期:2002/12/23;所屬國:美國;請求編號:76/478471。
通知:由呈交澳門特區註冊請求書日期計算三個月期限內,必須附上註冊請求書經認證之副本,作為優先權之依據。
商標編號:N/11552 類別: 9
申請人:Viasystems, Inc., 101 S. Hanley Road, #400, St. Louis, Missouri 63105, United States of America.
國籍:美國德拉瓦州
活動:商業及工業
申請日期:2003/05/23
產品:印刷電路板;電子基板;電子電纜線用配備及按量度的電子電纜線;以及按量度的電子圍柵。
商標構成:

優先權之要求:請求日期:2002/12/23;所屬國:美國;請求編號:76/478180。
通知:由呈交澳門特區註冊請求書日期計算三個月期限內,必須附上註冊請求書經認證之副本,作為優先權之依據。
商標編號:N/11553 類別: 40
申請人:Viasystems, Inc., 101 S. Hanley Road, #400, St. Louis, Missouri 63105, United States of America.
國籍:美國德拉瓦州
活動:商業及工業
申請日期:2003/05/23
服務:印刷電路板的製造;電子基板的裝配;電子電纜線用配備的裝配及按量度電子電纜線的裝配;及按量度的電子圍柵;以及由第三者訂購及/或指定按量度電子電纜線的裝配及按量度的電子圍柵。
商標構成:

優先權之要求:請求日期:2002/12/23;所屬國:美國;請求編號:76/478043。
通知:由呈交澳門特區註冊請求書日期計算三個月期限內,必須附上註冊請求書經認證之副本,作為優先權之依據。
商標編號:N/11554 類別: 9
申請人:Viasystems, Inc., 101 S. Hanley Road, #400, St. Louis, Missouri 63105, United States of America.
國籍:美國德拉瓦州
活動:商業及工業
申請日期:2003/05/23
產品:印刷電路板;電子基板;電子電纜線用配備及按量度的電子電纜線;以及按量度的電子圍柵。
商標構成:

顏色之要求:紅色、黑色、綠色、藍色、黃色及白色。
優先權之要求:請求日期:2002/12/23;所屬國:美國;請求編號:76/478040。
通知:由呈交澳門特區註冊請求書日期計算三個月期限內,必須附上註冊請求書經認證之副本,作為優先權之依據。
商標編號:N/11555 類別: 40
申請人:Viasystems, Inc., 101 S. Hanley Road, #400, St. Louis, Missouri 63105, United States of America.
國籍:美國德拉瓦州
活動:商業及工業
申請日期:2003/05/23
服務:印刷電路板的製造;電子基板的裝配;電子電纜線用配備的裝配及按量度電子電纜線的裝配;及按量度的電子圍柵;以及由第三者訂購及/或指定按量度電子電纜線的裝配及按量度的電子圍柵。
商標構成:

顏色之要求:紅色、黑色、綠色、藍色、黃色及白色。
優先權之要求:請求日期:2002/12/23;所屬國:美國;請求編號:76/478039。
通知:由呈交澳門特區註冊請求書日期計算三個月期限內,必須附上註冊請求書經認證之副本,作為優先權之依據。
商標編號:N/11556 類別: 5
申請人:Snow Brand Milk Products Co., Ltd., 1-1, Naebo-cho, 6-chome, Hihashi-ku, Sapporo, Japão.
國籍:日本
活動:商業及工業
申請日期:2003/05/26
產品:維他命製劑,食用礦物質補充品,醫用滋養添加劑,適用於醫療目的及用於其他藥品的營養食用製劑;滲浸含油物質的醫用紙;衛生面罩;包藥用乾糊片;薄紗(繃敷用);藥品用空膠囊;眼睛用膏藥(醫用);耳朵用繃帶;衛生巾;衛生棉條;月經墊;月經襯褲;有吸收力的棉花;橡皮膏;包紮繃帶;藥用膠棉(固定包紮繃帶及遮蓋損傷部分用黃色濃厚的液體);哺乳期胸部用壓布墊;牙科用物料;醫用手鐲;失禁用尿布;捕蠅紙;防毛氈夜蛾紙;乳糖;幼兒、嬰兒及兒童用奶粉;不規則新陳代謝先天性綜合病症的醫療用奶粉;懷孕及哺乳期用奶粉(醫用);供成年人及老年人用含增強功能成份(例如:維他命及礦物質)的奶粉(醫用);全脂奶粉(醫用);兒童用奶粉(醫用);嬰兒食品;預防食道胃倒流用補充品及食品,患有吞咽或咀嚼困難人士用食品,藥用糖果,醫用含白朊的食品及其他醫用營養食品;醫用營養飲料;人工授精用精液;獸醫及衛生製劑;醫用營養品;膏藥;繃敷材料;填塞牙孔及牙模用料;消毒劑;滅有害動物製劑;殺真菌劑;除草劑。
商標構成:

商標編號:N/11557 類別: 29
申請人:Snow Brand Milk Products Co., Ltd., 1-1, Naebo-cho, 6-chome, Hihashi-ku, Sapporo, Japão.
國籍:日本
活動:商業及工業
申請日期:2003/05/26
產品:供人食用肉;以可食用的海產動物為主的食品(非活的、新鮮的、冷藏的或冷凍的);經處理的肉類產品;經處理的魚類產品;豆;經處理的蔬菜及水果;冷凍水果;冷凍蔬菜;未經處理的蛋;經處理的生蛋;頭盤,主要包括肉、家禽、魚、海產;在一地方之內或之外消耗的蔬菜;乳製品;奶;乳類飲料;食用油及油脂;人造黃油;脂肪食物;含有食用油及/或脂肪的奶油;煮熟的肉,湯,煮熟的肉及湯;作為伴食的發酵黃豆食物;用於灑在熱水米飯上的脫水食用海藻精;油炸豆腐塊;經冷凍的脫水豆腐塊;天南星科根製成的果凍,豆奶;豆腐;發酵黃豆;罐頭豆;非乳製奶油(食用油及/或脂肪製成的乳脂);食用丸子;果醬;豆奶飲料;以乳清為主的飲料;懷孕及哺乳期用奶粉(非醫用);供成年人及老年人用含增強功能成份(例如:維他命及礦物質)的奶粉(非醫用);兒童用奶粉(非醫用);全脂奶粉(非醫用)。
商標構成:

通知:根據十二月十三日第97/99/M號法令第二百零九條第一至三款規定,刪除了“ 咖喱醬、製造咖喱醬用調製劑、米用調味香料粉及不規則新陳代謝先天性綜合病症的醫療用奶粉”,因屬其他類別。
商標編號:N/11558 類別: 30
申請人:Snow Brand Milk Products Co., Ltd., 1-1, Naebo-cho, 6-chome, Hihashi-ku, Sapporo, Japão.
國籍:日本
活動:商業及工業
申請日期:2003/05/26
產品:咖啡及可可;咖啡豆;茶;香料;醬油(調味品);調味用香料;食用芳香劑(非精油);米;除殼燕麥;除殼大麥;食用麵粉;食用麵筋;穀類製品;中式餃子;三明治;中式蒸燒賣;壽司;油炸章魚丸;蒸碎肉卷;漢堡包;意大利式烘餡餅;盒飯;熱狗;肉餡餅;煮合子;麵包、蛋卷及糖果;即食糖果的混合物;冰製食品的混合物;水果冰淇淋的混合物;杏仁糊;鮮酵母粉;大麥芽稻米酵母;鮮酵母;發酵粉;食用冰;冰製食品粘合料;家用鬆肉產品;穩固已攪拌的奶油用產品;由日本米酒發酵產生的稻米食物代用品;以巧克力為主的飲料;以可可為主的飲料;以咖啡為主的飲料;以茶為主的飲料;冰製食品;雪糕;冰淇淋;冰凍酸乳酪(冰凍糖果);果膠(糖果或餐後甜品);布丁(餐後甜品);咖喱醬,製造咖喱醬用調製劑;米用調味香料粉。
商標構成:

商標編號:N/11559 類別: 32
申請人:Snow Brand Milk Products Co., Ltd., 1-1, Naebo-cho, 6-chome, Hihashi-ku, Sapporo, Japão.
國籍:日本
活動:商業及工業
申請日期:2003/05/26
產品:啤酒;清涼飲料及汽水;不含酒精的果汁飲料;蔬菜汁;以乳清為主的飲料;製造啤酒用的蛇麻草精;豆奶飲料。
商標構成:

商標編號:N/11562 類別: 9
申請人:Kabushiki Kaisha Sony Computer Entertainment (Sony Computer Entertainment Inc.), 1-1, Akasaka 7-chome, Minato-ku, Tokyo, Japan.
國籍:日本
活動:商業及工業
申請日期:2003/05/26
產品:電腦用滑鼠墊;電腦用滑鼠;電子電路;磁碟;磁帶;密寫或密寫資訊數據用編碼電腦程式;提供資料用儀器;資料處理機器用微編程及密寫儀器;蜂巢式電話用帶;只適合與電視接收器一起使用的娛樂器具;自動及投幣啟動的娛樂器具;自動售貨機器;電腦程式;可下載的電子刊物;視像遊戲用可下載軟件;軟件開發及電腦編程用安裝儀器;軟件開發及電腦編程用程序編制器;用於電訊置亂的編碼器;視像遊戲的程式;只與電視接收器一起使用的視像遊戲用控制器、操控桿、記憶卡、音量控制器、滑鼠及零件和配件;電子刊物;乾電池;濕電池;蓄電池;電池組;電線;電纜;攝影器具及儀器;電影器具及儀器;電話器具;有線通訊器具;無線電廣播的器具;透過無線電傳送的通訊器具;音頻器具;視頻器具;揚聲器;天線;唱碟;節拍器;錄製光碟;電腦;集成電路;大規模集成電路;編碼視像影碟及編碼盒式影像帶;只與電視接收器一起使用的視像遊戲;以電腦為基礎的影像處理用儀器;備有以電腦為基礎的影像處理用儀器的攝影機及儀器;電腦用軟件;電腦圖示用軟件;電腦圖示用電子影像及聲音;電子電路;磁碟;磁性盒式錄音帶;唯讀記憶體光碟;光碟;磁性光碟;唯讀記憶體數碼視像影碟;編碼靜態影像;電子規格的動畫片;感光影片;影像處理用電腦介面卡;影像處理用集成電路;數碼多用途光碟錄製機;數碼多用途視像影碟錄製機;硬盤錄像機;硬盤錄製機;唯讀記憶體數碼視像影碟閱讀器;電視器具用調諧器;透過衛星傳送用終端機;同軸電纜。
商標構成:

商標編號:N/11563 類別: 16
申請人:Kabushiki Kaisha Sony Computer Entertainment (Sony Computer Entertainment Inc.), 1-1, Akasaka 7-chome, Minato-ku, Tokyo, Japan.
國籍:日本
活動:商業及工業
申請日期:2003/05/26
產品:印刷用紙;報章用紙;衛生紙;砂管紙板;防水紙;紙板盒;包裝用塑料片;紙毛巾;紙餐巾;裁縫用粉筆;嬰兒用紙尿布;紙或紙板製行李用籤條;明信片;雜誌(出版物);報紙;照相架;遊戲紙牌;照相簿;便條本;信封;鉛筆;圓珠筆;自來水筆;蠟筆;畫筆;水彩畫用顏料;書寫用墨水;削鉛筆器;橡皮擦,書籤,書寫用紙墊(塑料板),釘書機(非電動的);昆蟲收集者用盒,編地址機,打字機用帶,打字機,支票印字機,印刷用鉛字;設計裝飾師的油漆刷;觀賞魚用玻璃器皿,活魚用水族池。
商標構成:

商標編號:N/11564 類別: 28
申請人:Kabushiki Kaisha Sony Computer Entertainment (Sony Computer Entertainment Inc.), 1-1, Akasaka 7-chome, Minato-ku, Tokyo, Japan.
國籍:日本
活動:商業及工業
申請日期:2003/05/26
產品:手提式電子遊戲;除投幣啟動式及適用於電視接收器以外的具液晶體顯示器的遊戲;彈球盤機器(日本豎式彈珠機);桌球棒;桌球棒用粉粒;桌球的球;Go遊戲的棋子;Go遊戲的棋盤;Koma(Shogi遊戲用木製棋子);骰子;國際象棋遊戲;麻將;兒童用鐘及手錶;具輪子的玩具;上弦玩具;玩具哨子;音樂盒(玩具);玩具娃娃;玩具娃娃用衣服;寵物用玩具;棒球運動的手套;球類遊戲用肩膀墊;戶外運動用鐵餅;網球或羽毛球的球拍;乒乓球用球拍;曲棍球運動用球棍;高爾夫球袋;高爾夫球棒;高爾夫球的球;滑雪板用盒;滑雪桿;溜冰鞋;拳擊運動的手套;箭靶;佩刀(刀術用武器);體操用跳板;韻律操用金屬環;舉重用重物及啞鈴;帆及滑浪風帆;滑浪板;旱冰鞋;滑雪板;滑翔傘;滑雪板用蠟;釣魚竿;釣魚竿用盒;釣魚竿用捲軸。
商標構成:

通知:根據十二月十三日第97/99/M號法令第二百零九條第一至三款規定,刪除了“紙牌遊戲”,因屬其他類別。
商標編號:N/11565 類別: 37
申請人:Kabushiki Kaisha Sony Computer Entertainment (Sony Computer Entertainment Inc.), 1-1, Akasaka 7-chome, Minato-ku, Tokyo, Japan.
國籍:日本
活動:商業及工業
申請日期:2003/05/26
服務:掛鐘及腕錶的修理;服裝的修補;關於建築的資訊;消毒;電動用品的安裝及修理;影片放映機的保養及修理;鍋爐的安裝及修理;家具的修復;遊戲器具的修理;電腦硬件的安裝、保養及修理;消除電器設備的靜電;機器的安裝、保養及修理;服裝的縫補;辦公室設備及機器的安裝、保養及修理;攝影器具的修理;服裝的上漿;服裝的翻新;清潔機器的出租;修理的指示;保險箱的修理及保養;電話的修理及安裝;汽車的服務站。
商標構成:

商標編號:N/11566 類別: 38
申請人:Kabushiki Kaisha Sony Computer Entertainment (Sony Computer Entertainment Inc.), 1-1, Akasaka 7-chome, Minato-ku, Tokyo, Japan.
國籍:日本
活動:商業及工業
申請日期:2003/05/26
服務:電訊設備的出租,透過電話的通訊,經互聯網的電視廣播傳送,經互聯網的無線電廣播傳送,電子郵件,透過訂購的影像傳送服務,電話會議的服務,電訊的路線選擇及連接服務,電話及傳真器具的出租,透過電腦終端機的通訊,透過電話的互聯網通訊,電子公報的服務,經互聯網的音流量傳送及視聽錄製,經電腦終端機數據及文件的電子傳送。
商標構成:

商標編號:N/11567 類別: 41
申請人:Kabushiki Kaisha Sony Computer Entertainment (Sony Computer Entertainment Inc.), 1-1, Akasaka 7-chome, Minato-ku, Tokyo, Japan.
國籍:日本
活動:商業及工業
申請日期:2003/05/26
服務:提供娛樂場所的服務;遊樂園,體育運動、消遣及娛樂設備的出租;經互聯網提供電子遊戲,透過電腦網絡的線上電子書籍及雜誌的出版;唯讀光碟的出版;經互聯網影片的放映;音樂、錄像及影片盒帶的出租;組織目的在於教育或娛樂的競賽;組織文化或教育的展覽;籌劃及組織會議,計劃及組織音樂會;音樂演出或舞臺劇的表演;娛樂場所用機器及器具的出租;經互聯網動畫片及聲音的分配;視像遊戲用軟件的出租;提供體育運動的設置;提供經網絡使用者透過進入全球網絡的視像遊戲;提供關於電腦遊戲及增加遊戲用電腦功能的線上資訊;線上圖書館的服務。
商標構成:

商標編號:N/11568 類別: 42
申請人:Kabushiki Kaisha Sony Computer Entertainment (Sony Computer Entertainment Inc.), 1-1, Akasaka 7-chome, Minato-ku, Tokyo, Japan.
國籍:日本
活動:商業及工業
申請日期:2003/05/26
服務:把可在電腦取得的資訊編成密碼;電腦系統的計劃、製作及保養;把電腦數據編成密碼;線上的核實及電子商貿使用者的證明;線上提供關於電腦遊戲程式的資訊;關於新聞文章的電腦搜尋;以電腦圖示作設計;電腦圖示程式的設計及製作;在本域互聯網內電子地址的建立及指導;關於在互聯網內通訊的電子網頁的建立及保養;進入電腦數據庫的時間租賃;電腦的相關服務;透過電腦數據處理及輸出的代理;關於電腦系統的專業諮詢;關於電腦系統編程的專業諮詢;開發視像遊戲用軟件;透過電腦的資訊處理;把數據輸入至電腦檔案;電子郵件伺服器的保養及管理;電子郵件及/或電子網頁使用者的線上核實;供個人使用電視視像遊戲用程式的編程;手冊的印刷(活版印刷);提供電子公報板的進入點;提供關於電腦程式及電腦的資訊;電腦程式手冊的編寫;關於透過電腦數據製作、處理及提供的專業諮詢;透過電腦資訊處理的計劃及保養;透過電腦輸入數據;透過電腦處理影像資訊;透過電腦把數據輸入至磁卡;電腦程式的製作、處理及修改;電腦數據輸出的代理;關於電腦網絡計劃及研究的專業諮詢;透過電腦輸入計劃及設計機器、器具及裝置用的電腦輔助設計數據;電腦系統保安用,並具電腦程式磁帶的出租及租賃;電腦系統保安用,供個人使用電視視像遊戲用,並具程式磁帶的出租及租賃;電子網頁用伺服器記憶體的租賃;為電子郵件接收者保存電子郵件於郵件伺服器內;電腦及電腦程式的出租和租賃;酒吧服務,為動物提供住宿,旅館的住宿預訂,旅館,咖啡店,咖啡館,食堂,假日野營服務(住宿),酒店的預訂,酒店,汽車酒店,提供野營設施,椅子、桌子、毛巾及餐具的出租,會議室的出租,臨時住宿的出租,野營帳篷的出租,活動房屋的出租,臨時住宿的預訂,餐廳,養老院,快餐廳,小吃店,旅客房屋。
商標構成:

通知:根據十二月十三日第97/99/M號法令第二百零九條第一至三款規定,刪除了“視像遊戲機及其軟件、供個人使用視像遊戲用控制器、操控桿、記憶卡、音量控制器、滑鼠、零件及附件、電腦、其零件及附件、磁碟、電腦遊戲用軟件、通訊電子器具及其零件和附件的零售、批發及分銷服務的管理”,因屬其他類別。
商標編號:N/11570 類別: 30
申請人:陳漢傑,塲所:香港九龍尖沙咀山林道46-48號運通商業大廈地下4號舖。
國籍:中國
活動:商業及工業
申請日期:2003/05/27
產品:麵包(薑的),蛋糕,蛋糕用食用裝飾,食品用冰糖,朱古力。
商標構成:

商標編號:N/11571 類別: 32
申請人:鶴山市華山礦泉水廠有限公司,塲所:中國廣東省鶴山市沙坪鎮人民南路20號。
國籍:中國
活動:商業及工業
申請日期:2003/05/27
產品:礦泉水(飲料);蒸餾水(飲料);汽水(飲料);水(飲料);礦泉水(製飲料製劑);全屬第32類。
商標構成:

商標編號:N/11572 類別: 25
申請人:廣東曼妮芬服裝有限公司,塲所:中國廣東省潮陽市司馬浦仙港工業區A座。
國籍:中國
活動:商業及工業
申請日期:2003/05/28
產品:服裝,皮製服裝,睡衣褲,睡袍,乳罩,緊身衣褲,浴衣,背心,連褲內衣,內衣褲,婦女腹帶,胸罩襯墊(胸襯、胸墊),嬰兒褲,游泳衣,游泳褲,鞋(腳上的穿着物),運動鞋,帽子,襪子,手套(服裝),領帶,服裝帶,浴帽,婚紗,皮帶(服飾用),披肩。
商標構成:

顏色之要求:申請商標的左上和右下四分之一部分內的顏色為橙色,右上和左下四分之一部分內的顏色為紫紅色。商標中心處的花形圖案由白色和淺橙色組成;花形圖案中心處的花體大寫英文字母“M”為橙色;商標內出現的全部中文文字和除“M”外的英文字母及其下劃線均為白色。
商標編號:N/11573 類別: 3
申請人:Cecil GmbH, Rakyweg 14, 29227 Celle, Germany.
國籍:德國
活動:商業及工業
申請日期:2003/05/28
產品:個人用香水,精油;化妝品,特別是化妝產品,尤指口紅,眼部化妝用品,眼線筆,化妝用品及胭脂,髮水。
商標構成:

商標編號:N/11574 類別: 9
申請人:Cecil GmbH, Rakyweg 14, 29227 Celle, Germany.
國籍:德國
活動:商業及工業
申請日期:2003/05/28
產品:服裝用輔件,尤指太陽眼鏡。
商標構成:

商標編號:N/11575 類別: 14
申請人:Cecil GmbH, Rakyweg 14, 29227 Celle, Germany.
國籍:德國
活動:商業及工業
申請日期:2003/05/28
產品:珠寶,仿珠寶;袖口鈕,領帶針,鐘錶及手錶,錶盒。
商標構成:

商標編號:N/11576 類別: 16
申請人:Cecil GmbH, Rakyweg 14, 29227 Celle, Germany.
國籍:德國
活動:商業及工業
申請日期:2003/05/28
產品:文具;書寫及繪圖工具;書寫盒,紙,印刷品。
商標構成:

商標編號:N/11577 類別: 18
申請人:Cecil GmbH, Rakyweg 14, 29227 Celle, Germany.
國籍:德國
活動:商業及工業
申請日期:2003/05/28
產品:手提皮包;皮箱;運輸用袋;背包;皮革及人造皮革;皮革及人造皮革製品,如:沒有規定適用於裝載某類產品的盒子;服裝用附件,如:手提皮包;小的皮革物品,尤指小錢袋、錢包及鑰匙包;皮衣箱;旅行箱;旅行套裝(皮件);雨傘;陽傘;手杖。
商標構成:

商標編號:N/11578 類別: 25
申請人:Cecil GmbH, Rakyweg 14, 29227 Celle, Germany.
國籍:德國
活動:商業及工業
申請日期:2003/05/28
產品:服裝,帽及鞋;服裝用輔件,尤指腰帶,袖箍,頸巾,披肩,手套,吊帶,長襪,短襪,頭帶。
商標構成:

商標編號:N/11579 類別: 26
申請人:Cecil GmbH, Rakyweg 14, 29227 Celle, Germany.
國籍:德國
活動:商業及工業
申請日期:2003/05/28
產品:頭髮用裝飾品,如:髮帶及髮夾;服裝用附件,如:鈕扣、腰帶扣,徽章。
商標構成:

商標編號:N/11581 類別: 3
申請人:Street One GmbH, HunausstraBe 5, 29227 Celle, Germany.
國籍:德國
活動:商業及工業
申請日期:2003/05/29
產品:個人用香水,精油;化妝品,特別是化妝產品,尤指口紅,眼部化妝用品,眼線筆,化妝用品及胭脂,髮水。
商標構成:

商標編號:N/11582 類別: 9
申請人:Street One GmbH, HunausstraBe 5, 29227 Celle, Germany.
國籍:德國
活動:商業及工業
申請日期:2003/05/29
產品:服裝用輔件,尤指太陽眼鏡。
商標構成:

商標編號:N/11583 類別: 14
申請人:Street One GmbH, HunausstraBe 5, 29227 Celle, Germany.
國籍:德國
活動:商業及工業
申請日期:2003/05/29
產品:珠寶,仿珠寶;袖口鈕,領帶針,鐘錶及手錶,錶盒。
商標構成:

商標編號:N/11584 類別: 16
申請人:Street One GmbH, HunausstraBe 5, 29227 Celle, Germany.
國籍:德國
活動:商業及工業
申請日期:2003/05/29
產品:文具;書寫及繪圖工具;書寫盒,紙,印刷品。
商標構成:

商標編號:N/11585 類別: 18
申請人:Street One GmbH, HunausstraBe 5, 29227 Celle, Germany.
國籍:德國
活動:商業及工業
申請日期:2003/05/29
產品:手提皮包;皮箱;運輸用袋;背包;皮革及人造皮革;皮革及人造皮革製品,如:沒有規定適用於裝載某類產品的盒子;服裝用附件,如:手提皮包;小的皮革物品,尤指小錢袋、錢包及鑰匙包;皮衣箱;旅行箱;旅行套裝(皮件);雨傘;陽傘;手杖。
商標構成:

商標編號:N/11586 類別: 25
申請人:Street One GmbH, HunausstraBe 5, 29227 Celle, Germany.
國籍:德國
活動:商業及工業
申請日期:2003/05/29
產品:服裝,帽及鞋;服裝用輔件,尤指腰帶,袖箍,頸巾,披肩,手套,吊帶,長襪,短襪,頭帶。
商標構成:

商標編號:N/11587 類別: 26
申請人:Street One GmbH, HunausstraBe 5, 29227 Celle, Germany.
國籍:德國
活動:商業及工業
申請日期:2003/05/29
產品:頭髮用裝飾品,如:髮帶及髮夾;服裝用附件,如:鈕扣、腰帶扣,徽章。
商標構成:

商標編號:N/11588 類別: 14
申請人:A & A Jewelry Limited,塲所:香港九龍紅磡鶴翔街8號維港中心2期801室。
國籍:根據香港法例成立
活動:商業
申請日期:2003/05/30
產品:貴重金屬的物品;珠寶;戒指;貴重金屬匙扣;手鐲;錶鏈小飾品(珠寶);領帶別針;計時儀器;錶;手錶;鐘;貴重金屬及其合金;鍍有貴重金屬的物品及其合金;寶石。
商標構成:

商標編號:N/11589 類別: 33
申請人:成都金玉滿堂實業有限公司,塲所:中國成都市一環路東三段建華南巷三號副附一號。
國籍:中國
活動:工業
申請日期:2003/05/30
產品:酒(飲料);酒精飲料(啤酒除外);葡萄酒;含水果的酒精飲料;酒(利口酒);果酒(含酒精)。
商標構成:

商標編號:N/11590 類別: 25
申請人:Fanny Limited, P. O. Box 3340, Road Town, Tortola, Ilhas Virgens Britânicas.
國籍:英屬處女群島
活動:商業及工業
申請日期:2003/06/02
產品:服裝,鞋,帽。
商標構成:

商標編號:N/11591 類別: 35
申請人:Fanny Limited, P. O. Box 3340, Road Town, Tortola, Ilhas Virgens Britânicas.
國籍:英屬處女群島
活動:商業及工業
申請日期:2003/06/02
服務:零售;廣告及貿易服務,全屬第35類。
商標構成:

商標編號:N/11592 類別: 18
申請人:BNS Limited, P. O. Box 3340, Road Town, Tortola, Ilhas Virgens Britânicas.
國籍:英屬處女群島
活動:商業及工業
申請日期:2003/06/02
產品:皮革及人造皮革,不屬別類的皮革及人造皮革製品,毛皮,旅行袋及手提袋,雨傘,陽傘及手杖,鞭和馬具。
商標構成:

商標編號:N/11593 類別: 25
申請人:BNS Limited, P. O. Box 3340, Road Town, Tortola, Ilhas Virgens Britânicas.
國籍:英屬處女群島
活動:商業及工業
申請日期:2003/06/02
產品:服裝,鞋,帽。
商標構成:

商標編號:N/11594 類別: 35
申請人:BNS Limited, P. O. Box 3340, Road Town, Tortola, Ilhas Virgens Britânicas.
國籍:英屬處女群島
活動:商業及工業
申請日期:2003/06/02
服務:零售;廣告及貿易服務,全屬第35類。
商標構成:

商標編號:N/11595 類別: 30
申請人:河南思念食品股份有限公司,塲所:中國河南省鄭州市水科路北側。
國籍:中國
活動:商業及工業
申請日期:2003/06/03
產品:餃子,元宵,餛飩,包子,春卷,方便米飯,八寶飯,粽子,饅頭,冰淇淋。
商標構成:

商標編號:N/11600 類別: 18
申請人:思加圖鞋業有限公司,塲所:香港九龍青山道702-704號合興工業大廈10樓F座。
國籍:根據香港法例成立
活動:商業及工業
申請日期:2003/06/05
產品:腰帶;口袋錢包;零錢包;手袋及錢包(口袋);旅行箱。
商標構成:

商標編號:N/11601 類別: 25
申請人:思加圖鞋業有限公司,塲所:香港九龍青山道702-704號合興工業大廈10樓F座。
國籍:根據香港法例成立
活動:商業及工業
申請日期:2003/06/05
產品:涼鞋,皮鞋,鞋,靴,服裝。
商標構成:

商標編號:N/11602 類別: 35
申請人:思加圖鞋業有限公司,塲所:香港九龍青山道702-704號合興工業大廈10樓F座。
國籍:根據香港法例成立
活動:商業及工業
申請日期:2003/06/05
服務:鞋,袋,服裝的貿易和分銷;推銷(替他人)。
商標構成:

商標編號:N/11603 類別: 3
申請人:廣州市倩影化妝品有限公司,塲所:中國廣東省廣州市芳村區信義路198號。
國籍:中國
活動:商業及工業
申請日期:2003/06/05
產品:化妝品;水合潤膚用化妝品;髮水;染髮劑;潔手乳液;洗髮水;沐浴乳液;潔面奶;去皺霜;皮膚漂白霜;去斑霜;美容面膜;香皂;清潔用製劑;牙膏;脫毛用製劑;香水;化妝用乳液;化妝用香料;洗衣粉;香水及香氛用油;研磨劑;化妝用器具;動物用化妝品。
商標構成:

商標編號:N/11604 類別: 3
申請人:廣州市倩影化妝品有限公司,塲所:中國廣東省廣州市芳村區信義路198號。
國籍:中國
活動:商業及工業
申請日期:2003/06/05
產品:化妝品;水合潤膚用化妝品;髮水;染髮劑;潔手乳液;洗髮水;沐浴乳液;潔面奶;去皺霜;皮膚漂白霜;去斑霜;美容面膜;香皂;清潔用製劑;牙膏;脫毛用製劑;香水;化妝用乳液;化妝用香料;洗衣粉;香水及香氛用油;研磨劑;化妝用器具;動物用化妝品。
商標構成:

商標編號:N/11605 類別: 34
申請人:Changsha Cigarette Factory, No. 346 Laodong East Road, Changsha City, Hunan Province, China.
國籍:中國
活動:商業及工業
申請日期:2003/06/05
產品:煙草;雪茄;香煙;煙草用線;粉狀煙草;吸煙者用打火機;香煙濾咀;香煙用紙;非貴重金屬及非鍍有貴重金屬的煙灰缸,火柴(全屬第34類)。
商標構成:

根據十二月十三日第97/99/M號法令第十條第一款d)項、第二款及第二百七十五條至第二百七十七條之規定,可於本公佈日起計一個月期限內就下列批示向初級法院提起上訴。
商標之保護
批給
續展
附註
失效
拒絕
放棄
聲明異議
更 正
1997年9月3日第36期,第二組之《澳門政府公報》:
商標編號N/865——在“因不支付費用而失效”欄目內,應視作無效刊登。
2002年8月7日第32期,第二組之《澳門特別行政區公報》:
商標編號N/9852及N/9853——在服務名單的中文版內,應加進:“...;為慣常旅客提供特別優惠計劃;...”。
2003年6月5日第23期,第二組之《澳門特別行政區公報》:
商標編號4327/INPI(4196-M)——在附註表(更改)欄目內,原文為:“Corporation Habanos, S.A.”;
應改為:“Corporacion Habanos, S.A.”;
商標編號7591/INPI(7361-M)——在附註表(更改)欄目內,原文為:“...Kentuchy...”;
應改為:“...Kentucky...”;
商標編號9424/INPI(9301-M)——在附註表(更改)欄目內,原文為:“...Wichigan...”;
應改為:“...Michigan...”;
商標編號N/287及N/288——在附註表(更改)欄目內,原文為:“...Via Marcoai, ...”;
應改為:“...Via Marcoai 1, ...”。
應申請人之要求,更正如下:
2003年2月5日第6期,第二組之《澳門特別行政區公報》:
商標編號N/10330及N/10759——應在產品列上除去:“...嬰兒食品;...”。
2003年5月7日第19期,第二組之《澳門特別行政區公報》:
商標編號N/11262——在產品名單內,應加進:“...皮革製皮箱用標籤,...”。
二零零三年六月十六日於經濟局
代局長 蘇添平
發明專利之保護
根據十二月十三日第97/99/M號法令第十條及第八十三條之規定,公布下列在澳門特別行政區提出的發明專利註冊申請,並按照相同法規第八十四條,自此公布日起至授予專利之日止,任何第三人均得提出聲明異議。
發明專利公佈
發明專利:I/000082
申請日期:2001/08/01
申請人:A. Stephen Riggins
國籍:美國
住址/地址:28 Altezza Drive Mission Viejo California 92 692, E.U.A.
標題:體育運動事項之交互式監控系統。
摘要:o presente invento refere-se a um sistema de monitorização de eventos desportivos interactivo, que inclui um dispositivo de determinação para determinação se estão presentes os dados em tempo real relevantes num canal de televisão seleccionado, e meios para descodificação de tais dados vindos de um canal de televisão seleccionado. Os dados em tempo real vindos do canal de televisão seleccionado compreendem um certo número de canais de informação de áudio de eventos desportivos, e o descodificador associa cada um de uma pluralidade dos canais da informação de áudio de eventos desportivos a um identificador de canal correspondente, que se refere a um concorrente. Cada identificador de canal distingue um canal correspondente de informação de áudio de eventos desportivos de outros canais de informação de áudio de eventos desportivos. O sistema de monitorização de eventos desportivos interactivo inclui adicionalmente uma entrada de utilizador para aceitar um identificador de canal específico de utilizador a partir de um utilizador, e um monitor para colocar o canal da informação de áudio de eventos desportivos, que o utilizador deseja, para monitorar num formato de modo a facilitar a sua monitorização por um utilizador. Os dados em tempo real relevantes podem incluir adicionalmente os dados de telemetria.
分類:G05 19/00
發明人:A. Stephen Riggins
優先權日期:2001/02/23
優先權國家:美國
優先權編號:09/792,619
附圖

發明專利:I/000083
申請日期:2001/09/11
申請人:Hong Kong CSL Limited
國籍:根據香港法例成立
住址/地址:8/F Oxford House, Taikoo Place, 979 King's Road, Qaurry Bay, Hong Kong.
標題:流動通訊-漫遊服務的自動設立。
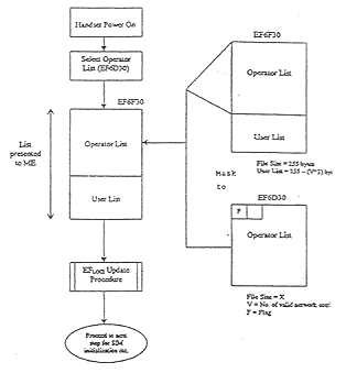
摘要:um método de estabelecimento automático de um serviço itinerante para telefone móvel, o qual inclui um cartão SIM pré-programado e executa uma actualização de localização na ordem seguinte:
1- Rede Pública Móvel Terrestre registada (RPLMN), i.e. a última rede registada tal como armazenada no directório SIM EFloci (EF6F7E);
2- Rede Pública Móvel Terrestre Base (HPLMN);
3- Redes Públicas Móveis Terrestres contidas num campo de dados "seleccionador PLMN" baseado na lista de operadores "Lista de Operadores";
4- PLMN Preferencial definida pelo utilizador;
5- Outras PLMN's cujo sinal recebido é de nível superior a uma intensidade pré-determinada em ordem aleatória;
6- Todas as outras PLMN's por ordem decrescente de intensidade de sinal.
分類:H04Q 9/00
| 發明人: | Midgett Richard |
| Yau, Kwok Wing | |
| Leung, Edward Yan Tao |
優先權日期:2000/09/11
優先權國家:英國
優先權編號:0022205.9
附圖

二零零三年六月十六日於經濟局
代局長 蘇添平
















