第 18 期
商標之保護
二零零五年五月四日,星期三
經濟局
通告
商標之保護
N/12832 ... N/16355 - N/16356 ... N/16574
商標編號:N/16356 類別: 16
申請人:威尼斯人路氹股份有限公司,場所:Av. Dr. Mário Soares, n.º 25, Edifício Montepio, Apt. 25, 2.º andar, Macau。
國籍:根據澳門法例成立
活動:商業及工業
申請日期:2005/03/11
產品:一般的紙,紙板及塑料薄膜製的箱、袋及包裝物。紙張及紙本,檔案夾,收存器及分隔器,橡筋及膠水,帶及墨水瓶,印章及蓋封蠟用的封印,膠擦,塗改液及其餘一般文具用品和辦公用品。圓規,間尺及直角尺。紙牌及室內魚缸。海報及舞台全景,地圖,地圖冊及草圖。紙杯墊用氈,紙餐巾,紙巾及紙手巾。過濾紙及紙的小雕像。報章,書籍,雜誌,小冊子,有插圖的明信片及其他出版物。照片產品及服裝紙樣。調色版,畫筆,墨汁,油墨及丙烯酸樹脂顏料,水彩畫,樹膠水彩畫,鋼筆,鉛筆,鉛筆刨,鉛筆芯,大氣狀況圖表,鋼筆尖,畫布,黏土及其他原材料和藝術家用材料,一般的學校材料及書寫工具。銀紙及包裝紙。黑板,繪畫肖像及版畫。
商標構成:

商標編號:N/16357 類別: 41
申請人:威尼斯人路氹股份有限公司,場所:Av. Dr. Mário Soares, n.º 25, Edifício Montepio, Apt. 25, 2.º andar, Macau。
國籍:根據澳門法例成立
活動:商業及工業
申請日期:2005/03/11
服務:娛樂場及賭場服務,為娛樂場及賭場提供支援服務。娛樂服務,如歌舞雜技演出會,馬戲,喜劇及其他類似的藝術製作。透過互聯網或其他全球網絡的娛樂場及賭場服務。帶遊戲機及娛樂詩人學會的消閒中心。帶學習或教育性質的以任何形式載體的視聽產品之製作、實施及分配,所有種類之有趣的及消閒公園,包括動物園,植物園或其他主題的或非主題的公園之營運。組織競賽及工作坊。
商標構成:

商標編號:N/16358 類別: 16
申請人:威尼斯人路氹股份有限公司,場所:Av. Dr. Mário Soares, n.º 25, Edifício Montepio, Apt. 25, 2.º andar, Macau。
國籍:根據澳門法例成立
活動:商業及工業
申請日期:2005/03/11
產品:一般的紙,紙板及塑料薄膜製的箱、袋及包裝物。紙張及紙本,檔案夾,收存器及分隔器,橡筋及膠水,帶及墨水瓶,印章及蓋封蠟用的封印,膠擦,塗改液及其餘一般文具用品和辦公用品。圓規,間尺及直角尺。紙牌及室內魚缸。海報及舞台全景,地圖,地圖冊及草圖。紙杯墊用氈,紙餐巾,紙巾及紙手巾。過濾紙及紙的小雕像。報章,書籍,雜誌,小冊子,有插圖的明信片及其他出版物。照片產品及服裝紙樣。調色版,畫筆,墨汁,油墨及丙烯酸樹脂顏料,水彩畫,樹膠水彩畫,鋼筆,鉛筆,鉛筆刨,鉛筆芯,大氣狀況圖表,鋼筆尖,畫布,黏土及其他原材料和藝術家用材料,一般的學校材料及書寫工具。銀紙及包裝紙。黑板,繪畫肖像及版畫。
商標構成:

商標編號:N/16359 類別: 41
申請人:威尼斯人路氹股份有限公司,場所:Av. Dr. Mário Soares, n.º 25, Edifício Montepio, Apt. 25, 2.º andar, Macau。
國籍:根據澳門法例成立
活動:商業及工業
申請日期:2005/03/11
服務:娛樂場及賭場服務,為娛樂場及賭場提供支援服務。娛樂服務,如歌舞雜技演出會,馬戲,喜劇及其他類似的藝術製作。透過互聯網或其他全球網絡的娛樂場及賭場服務。帶遊戲機及娛樂詩人學會的消閒中心。帶學習或教育性質的以任何形式載體的視聽產品之製作、實施及分配,所有種類之有趣的及消閒公園,包括動物園,植物園或其他主題的或非主題的公園之營運。組織競賽及工作坊。
商標構成:

商標編號:N/16362 類別: 3
申請人:威尼斯人路氹股份有限公司,場所:Av. Dr. Mário Soares, n.º 25, Edifício Montepio, Apt. 25, 2.º andar, Macau。
國籍:根據澳門法例成立
活動:商業及工業
申請日期:2005/03/11
產品:古龍水,香水及精油。化妝品,唇膏,美容品及一般化妝品。
商標構成:

商標編號:N/16363 類別: 14
申請人:威尼斯人路氹股份有限公司,場所:Av. Dr. Mário Soares, n.º 25, Edifício Montepio, Apt. 25, 2.º andar, Macau。
國籍:根據澳門法例成立
活動:商業及工業
申請日期:2005/03/11
產品:鐘錶及所有種類的計時儀器,鐘錶鏈及不同配件和零件。指環,耳環,頸鏈,護身符,鋼筆,墨水瓶,煙灰缸,香煙盒及雪茄盒,烟咀,帶扣及其他個人裝飾,首飾,茶壺及餐具,各類箱子,籃子及容器,放於 枱中央的小擺設,大燭台及家庭用品,藝術品及貴重金屬材料,半貴重金屬或其他,一般珠寶物品。一般的金屬,礦物及源自動物的貴重金屬或半貴重金屬產品。
商標構成:

商標編號:N/16364 類別: 18
申請人:威尼斯人路氹股份有限公司,場所:Av. Dr. Mário Soares, n.º 25, Edifício Montepio, Apt. 25, 2.º andar, Macau。
國籍:根據澳門法例成立
活動:商業及工業
申請日期:2005/03/11
產品:傢具用填塞物,裝飾物及覆蓋物,箱子,背包,夾子,錢袋,錢包,零錢包,鎖匙包,袋子,旅行保險箱,箱子,頭盔及其他皮革製產品,皮咭或其他動物毛皮,加工的,鞣製的或未加工的,包括其人造皮革。手杖,雨傘及陽傘。鞍具,鞭,鞍的前穹,馬鐙,馬靴,馬具及其馬蹄鐵,遮蓋物,馬鞍褥及各種鞍具,頸圈,牽狗用皮條及動物用服裝。
商標構成:

商標編號:N/16365 類別: 32
申請人:威尼斯人路氹股份有限公司,場所:Av. Dr. Mário Soares, n.º 25, Edifício Montepio, Apt. 25, 2.º andar, Macau。
國籍:根據澳門法例成立
活動:商業及工業
申請日期:2005/03/11
產品:帶酒精或不帶酒精啤酒,有汽或不帶汽的浸劑及水果飲料。礦泉水及蒸餾水,果汁,冰淇淋,奶昔及梳打,一般所有不含酒精飲料,源自動物、植物或礦物,自然的或合成的。各種不帶酒精的大麥芽及葡萄汁,糖漿,濃縮液,製劑及提取液,包括為混合所需的產品。
商標構成:

商標編號:N/16366 類別: 33
申請人:威尼斯人路氹股份有限公司,場所:Av. Dr. Mário Soares, n.º 25, Edifício Montepio, Apt. 25, 2.º andar, Macau。
國籍:根據澳門法例成立
活動:商業及工業
申請日期:2005/03/11
產品:一般酒精飲料,蒸餾的或發酵的,包括有汽或不帶汽的浸劑及水果飲料,源自植物的或合成的。葡萄酒,泡沫酒及酒精成份高的飲料。各種帶酒精成份的大麥芽及葡萄汁,烈酒,精華液,糖漿,製劑及提取液,包括為混合所需的產品。
商標構成:

商標編號:N/16367 類別: 34
申請人:威尼斯人路氹股份有限公司,場所:Av. Dr. Mário Soares, n.º 25, Edifício Montepio, Apt. 25, 2.º andar, Macau。
國籍:根據澳門法例成立
活動:商業及工業
申請日期:2005/03/11
產品:未加工吸煙用煙草及草本植物,雪茄,香煙,小香煙及鼻煙。火柴及打火機,捲煙用紙,濾咀及設備袋,煙嘴,煙斗,煙灰缸,香煙盒及雪茄煙盒,吸煙者用的分開的物品及套裝。咀嚼用煙草。包含有非醫用煙草代用品的香煙。
商標構成:

商標編號:N/16368 類別: 35
申請人:威尼斯人路氹股份有限公司,場所:Av. Dr. Mário Soares, n.º 25, Edifício Montepio, Apt. 25, 2.º andar, Macau。
國籍:根據澳門法例成立
活動:商業及工業
申請日期:2005/03/11
服務:零售店服務,大批量多樣性產品的商業化,如紀念品,玩具,奢侈品,藝術收藏品及古董。烟草店、書店、文具店、珠寶店、資訊材料,視聽的及運動器材。出租空間以張貼海報及廣告材料。出入口代理及海關工作人員服務。辦公室儀器及機器出租,貿易輔助及指引。人事合約及人力資源。櫥窗及商業空間裝飾。宣傳服務,一般的公共關係及市場學。進行拍賣。
商標構成:

商標編號:N/16369 類別: 36
申請人:威尼斯人路氹股份有限公司,場所:Av. Dr. Mário Soares, n.º 25, Edifício Montepio, Apt. 25, 2.º andar, Macau。
國籍:根據澳門法例成立
活動:商業及工業
申請日期:2005/03/11
服務:不動產管理及出租服務。債務徵收。組織慈善募捐及一般抽獎,匯兌及有價物的保存,稅務、金融、貨幣及不動產運作。當舖。
商標構成:

商標編號:N/16370 類別: 37
申請人:威尼斯人路氹股份有限公司,場所:Av. Dr. Mário Soares, n.º 25, Edifício Montepio, Apt. 25, 2.º andar, Macau。
國籍:根據澳門法例成立
活動:商業及工業
申請日期:2005/03/11
服務:空氣調節,暖氣或其他設備的設置及維修服務。車輛及樓宇的清洗、清潔及維修,時尚產品及傢具的清洗、清潔及修復。腳手架,警鐘,電訊網絡或其他實用品的設置及保養。
商標構成:

商標編號:N/16371 類別: 39
申請人:威尼斯人路氹股份有限公司,場所:Av. Dr. Mário Soares, n.º 25, Edifício Montepio, Apt. 25, 2.º andar, Macau。
國籍:根據澳門法例成立
活動:商業及工業
申請日期:2005/03/11
服務:護衛隊、陪同及旅客、有價物和多種貨物運輸的服務。旅遊代理及旅行社,組織旅行團及海上旅遊團。汽車的出租及拖曳服務,車庫及停車位置出租。所有產品及貨物的儲存和分配和一般守衛服務。
商標構成:

通知:根據十二月十三日第97/99/M號法令第二百零九條第一至三款規定,刪除了“汽車的修理服務”,因屬其他類別。
商標編號:N/16372 類別: 42
申請人:威尼斯人路氹股份有限公司,場所:Av. Dr. Mário Soares, n.º 25, Edifício Montepio, Apt. 25, 2.º andar, Macau。
國籍:根據澳門法例成立
活動:商業及工業
申請日期:2005/03/11
服務:酒店,餐廳營運及酒店門房服務。房間及渡假屋出租及一般住宿服務。餐廳,咖啡廳,食堂,酒吧及俱樂部營運和提供備辦餐食服務及其他支援服務。理髮店,美容院營運及美學服務,水療按摩,健身俱樂部,公共浴室及土耳其浴室。一般的室內設計,風景畫及建築學服務。守衛保安及夜間照料服務。花園的設立及保養和相關或相似的活動。老年人或康復者及類似的人用之休養居所營運。組織慶祝會,宴會及渡假營和支援服務。一般專業顧問。
商標構成:

商標編號:N/16373 類別: 16
申請人:威尼斯人路氹股份有限公司,場所:Av. Dr. Mário Soares, n.º 25, Edifício Montepio, Apt. 25, 2.º andar, Macau。
國籍:根據澳門法例成立
活動:商業及工業
申請日期:2005/03/11
產品:一般的紙,紙板及塑料薄膜製的箱、袋及包裝物。紙張及紙本,檔案夾,收存器及分隔器,橡筋及膠水,帶及墨水瓶,印章及蓋封蠟用的封印,膠擦,塗改液及其餘一般文具用品和辦公用品。圓規,間尺及直角尺。紙牌及室內魚缸。海報及舞台全景,地圖,地圖冊及草圖。紙杯墊用氈,紙餐巾,紙巾及紙手巾。過濾紙及紙的小雕像。報章,書籍,雜誌,小冊子,有插圖的明信片及其他出版物。照片產品及服裝紙樣。調色版,畫筆,墨汁,油墨及丙烯酸樹脂顏料,水彩畫,樹膠水彩畫,鋼筆,鉛筆,鉛筆刨,鉛筆芯,大氣狀況圖表,鋼筆尖,畫布,黏土及其他原材料和藝術家用材料,一般的學校材料及書寫工具。銀紙及包裝紙。黑板,繪畫肖像及版畫。
商標構成:

商標編號:N/16374 類別: 41
申請人:威尼斯人路氹股份有限公司,場所:Av. Dr. Mário Soares, n.º 25, Edifício Montepio, Apt. 25, 2.º andar, Macau。
國籍:根據澳門法例成立
活動:商業及工業
申請日期:2005/03/11
服務:娛樂場及賭場服務,為娛樂場及賭場提供支援服務。娛樂服務,如歌舞雜技演出會,馬戲,喜劇及其他類似的藝術製作。透過互聯網或其他全球網絡的娛樂場及賭場服務。帶遊戲機及娛樂詩人學會的消閒中心。帶學習或教育性質的以任何形式載體的視聽產品之製作、實施及分配,所有種類之有趣的及消閒公園,包括動物園,植物園或其他主題的或非主題的公園之營運。組織競賽及工作坊。
商標構成:

商標編號:N/16375 類別: 16
申請人:威尼斯人路氹股份有限公司,場所:Av. Dr. Mário Soares, n.º 25, Edifício Montepio, Apt. 25, 2.º andar, Macau。
國籍:根據澳門法例成立
活動:商業及工業
申請日期:2005/03/11
產品:一般的紙,紙板及塑料薄膜製的箱,袋及包裝物。紙張及紙本,檔案夾,收存器及分隔器,橡筋及膠水,帶及墨水瓶,印章及蓋封蠟用的封印,膠擦,塗改液及其餘一般文具用品和辦公用品。圓規,間尺及直角尺。紙牌及室內魚缸。海報及舞台全景,地圖,地圖冊及草圖。紙杯墊用氈,紙餐巾,紙巾及紙手巾。過濾紙及紙的小雕像。報章,書籍,雜誌,小冊子,有插圖的明信片及其他出版物。照片產品及服裝紙樣。調色版,畫筆,墨汁,油墨及丙烯酸樹脂顏料,水彩畫,樹膠水彩畫,鋼筆,鉛筆,鉛筆刨,鉛筆芯,大氣狀況圖表,鋼筆尖,畫布,黏土及其他原材料和藝術家用材料,一般的學校材料及書寫工具。銀紙及包裝紙。黑板,繪畫肖像及版畫。
商標構成:

商標編號:N/16376 類別: 41
申請人:威尼斯人路氹股份有限公司,場所:Av. Dr. Mário Soares, n.º 25, Edifício Montepio, Apt. 25, 2.º andar, Macau。
國籍:根據澳門法例成立
活動:商業及工業
申請日期:2005/03/11
服務:娛樂場及賭場服務,為娛樂場及賭場提供支援服務。娛樂服務,如歌舞雜技演出會,馬戲,喜劇及其他類似的藝術製作。透過互聯網或其他全球網絡的娛樂場及賭場服務。帶遊戲機及娛樂詩人學會的消閒中心。帶學習或教育性質的以任何形式載體的視聽產品之製作、實施及分配,所有種類之有趣的及消閒公園,包括動物園,植物園或其他主題的或非主題的公園之營運。組織競賽及工作坊。
商標構成:

商標編號:N/16377 類別: 12
申請人:Hyundai Motor Company, 231, Yangjae-Dong, Seocho-Gu, Seoul, República da Coreia.
國籍:韓國
活動:商業及工業
申請日期:2005/03/14
產品:客車,運動用車,救護車,機動巴士,貨車,公共汽車,陸地車輛用馬達,汽車車身,車輛用保險杆,車輛底盤,車輛輪子及上述所有提及產品的部件及輔件(不屬別類)。
商標構成:

商標編號:N/16378 類別: 25
申請人:THE B.V.D. LICENSING CORPORATION, One Fruit of the Loom Drive, Bowling Green, Kentucky 42102-9015, United States of America.
國籍:美國
活動:商業及工業
申請日期:2005/03/15
產品:服裝,鞋及帽。
商標構成:

商標編號:N/16379 類別: 25
申請人:僑光集團有限公司,場所:澳門黑沙灣永華街37-53號僑光大廈13樓。
國籍:根據澳門法例成立
活動:商業及工業
申請日期:2005/03/17
產品:成衣、鞋、帽、襪、頭巾、手套、內衣、頸巾、服裝(含腰帶)、領帶。
商標構成:

商標編號:N/16380 類別: 25
申請人:僑光集團有限公司,場所:澳門黑沙灣永華街37-53號僑光大廈13樓。
國籍:根據澳門法例成立
活動:商業及工業
申請日期:2005/03/17
產品:成衣、鞋、帽、襪、頭巾、手套、內衣、頸巾、服裝(含腰帶)、領帶。
商標構成:

商標編號:N/16381 類別: 35
申請人:TACTICAL DESIGN AND PRODUCTION COMPANY LIMITED,場所:澳門板樟堂街20-22龍昌商業大廈3樓A座。
國籍:根據澳門法例成立
活動:商業
申請日期:2005/03/15
服務:廣告設計。
商標構成:

顏色之要求:綠色(如圖所示)。
商標編號:N/16382 類別: 38
申請人:TACTICAL DESIGN AND PRODUCTION COMPANY LIMITED,場所:澳門板樟堂街20-22龍昌商業大廈3樓A座。
國籍:根據澳門法例成立
活動:商業
申請日期:2005/03/15
服務:電訊,信息傳送,電話業務,電話通訊,電傳業務,移動電話通訊,電訊信息。
商標構成:

顏色之要求:綠色(如圖所示)。
商標編號:N/16392 類別: 35
申請人:THE B.V.D. LICENSING CORPORATION, One Fruit of the Loom Drive, Bowling Green, Kentucky 42102-9015, United States of America.
國籍:美國
活動:商業及工業
申請日期:2005/03/15
服務:廣告;商業貿易管理;商業行政;辦公室事務;零售服務。
商標構成:

商標編號:N/16393 類別: 35
申請人:THE B.V.D. LICENSING CORPORATION, One Fruit of the Loom Drive, Bowling Green, Kentucky 42102-9015, United States of America.
國籍:美國
活動:商業及工業
申請日期:2005/03/15
服務:廣告;商業貿易管理;商業行政;辦公室事務;零售服務。
商標構成:

商標編號:N/16394 類別: 9
申請人:Emerson Radio Corp., 9 Entin Road, Parsippany, New Jersey 07054, Estados Unidos da America.
國籍:美國
活動:商業及工業
申請日期:2005/03/15
產品:全球定位系統;擴音機;調節擴大器,DVD閱讀器,CD閱讀器;衛星接收器;MP3閱讀器,電腦用外部儲存組件,如硬碟組件,記憶咭,電腦用祇允許一錄製及可錄製和可複製CD及DVD的儲存裝置;聽覺及視像產品,如錄音器,錄影器,調諧器,收音機,無線電接收器,電視,電視接收器,均衡器,帶鐘錶的收音機,任何包括下列產品組合的聯合系統:數碼相機;汽車收音機;電池;天線,耳機及聽覺裝置,喇叭,電話,電話自動接聽器及下列產品的部件和配件:聲音器具及配件用的調節支架,如粉末防護欄,遙遠控制器,電壓變換器,電池包;行政設備,如傳真,電腦,計算機。
商標構成:

通知:根據十二月十三日第97/99/M號法令第二百零九條第一至三款規定,刪除了“打字機及碎紙機;聽覺及視像產品用的運輸盒,及上述所有產品用的作整理用途的托盤及箱子”,因屬其他類別。
商標編號:N/16395 類別: 28
申請人:Emerson Radio Corp., 9 Entin Road, Parsippany, New Jersey 07054, Estados Unidos da America.
國籍:美國
活動:商業及工業
申請日期:2005/03/15
產品:電子遊戲,電腦遊戲及配件。
商標構成:

商標編號:N/16396 類別: 9
申請人:Emerson Radio Corp., 9 Entin Road, Parsippany, New Jersey 07054, Estados Unidos da America.
國籍:美國
活動:商業及工業
申請日期:2005/03/15
產品:全球定位系統;擴音機;調節擴大器,DVD閱讀器,CD閱讀器;衛星接收器;MP3閱讀器,電腦用外部儲存組件,如硬碟組件,記憶咭,電腦用祇允許一錄製及可錄製和可複製CD及DVD的儲存裝置;聽覺及視像產品,如錄音器,錄影器,調諧器,收音機,無線電接收器,電視,電視接收器,均衡器,帶鐘錶的收音機,任何包括下列產品組合的聯合系統:數碼相機;汽車收音機;電池;天線,耳機及聽覺裝置,喇叭,電話,電話自動接聽器及下列產品的部件和配件:聲音器具及配件用的調節支架,如粉末防護欄,遙遠控制器,電壓變換器,電池包;行政設備,如傳真,電腦,計算機。
商標構成:

通知:根據十二月十三日第97/99/M號法令第二百零九條第一至三款規定,刪除了“打字機及碎紙機;聽覺及視像產品用的運輸盒,及上述所有產品用的作整理用途的托盤及箱子”,因屬其他類別。
商標編號:N/16397 類別: 28
申請人:Emerson Radio Corp., 9 Entin Road, Parsippany, New Jersey 07054, Estados Unidos da America.
國籍:美國
活動:商業及工業
申請日期:2005/03/15
產品:電子遊戲,電腦遊戲及配件。
商標構成:

商標編號:N/16400 類別: 24
申請人:FRUIT OF THE LOOM, INC., One Fruit of the Loom Drive, P. O. Box 90015, Bowling Green, KY 42102-9015, United States of America.
國籍:美國
活動:商業及工業
申請日期:2005/03/15
產品:不屬別類的布料及紡織品;床單和桌單。
商標構成:

商標編號:N/16401 類別: 25
申請人:FRUIT OF THE LOOM, INC., One Fruit of the Loom Drive, P. O. Box 90015, Bowling Green, KY 42102-9015, United States of America.
國籍:美國
活動:商業及工業
申請日期:2005/03/15
產品:服裝,鞋及帽。
商標構成:

商標編號:N/16402 類別: 24
申請人:FRUIT OF THE LOOM, INC., One Fruit of the Loom Drive, P. O. Box 90015, Bowling Green, KY 42102-9015, United States of America.
國籍:美國
活動:商業及工業
申請日期:2005/03/15
產品:不屬別類的布料及紡織品;床單和桌單。
商標構成:

商標編號:N/16403 類別: 25
申請人:FRUIT OF THE LOOM, INC., One Fruit of the Loom Drive, P. O. Box 90015, Bowling Green, KY 42102-9015, United States of America.
國籍:美國
活動:商業及工業
申請日期:2005/03/15
產品:服裝,鞋及帽。
商標構成:

商標編號:N/16404 類別: 24
申請人:FRUIT OF THE LOOM, INC., One Fruit of the Loom Drive, P. O. Box 90015, Bowling Green, KY 42102-9015, United States of America.
國籍:美國
活動:商業及工業
申請日期:2005/03/15
產品:不屬別類的布料及紡織品;床單和桌單。
商標構成:

商標編號:N/16405 類別: 25
申請人:FRUIT OF THE LOOM, INC., One Fruit of the Loom Drive, P. O. Box 90015, Bowling Green, KY 42102-9015, United States of America.
國籍:美國
活動:商業及工業
申請日期:2005/03/15
產品:服裝,鞋及帽。
商標構成:

商標編號:N/16406 類別: 35
申請人:FRUIT OF THE LOOM, INC., One Fruit of the Loom Drive, P. O. Box 90015, Bowling Green, KY 42102-9015, United States of America.
國籍:美國
活動:商業及工業
申請日期:2005/03/15
服務:廣告;商業貿易管理;商業行政;辦公室事務;零售服務。
商標構成:

商標編號:N/16407 類別: 35
申請人:FRUIT OF THE LOOM, INC., One Fruit of the Loom Drive, P. O. Box 90015, Bowling Green, KY 42102-9015, United States of America.
國籍:美國
活動:商業及工業
申請日期:2005/03/15
服務:廣告;商業貿易管理;商業行政;辦公室事務;零售服務。
商標構成:

商標編號:N/16408 類別: 7
申請人:信興電工工程有限公司,場所:香港灣仔皇后大道東213號胡忠大廈2608室。
國籍:根據香港法例成立
活動:商業及工業
申請日期:2005/03/15
產品:電機械製飲料機;家用電攪拌機;其他非手動的磨咖啡機,切割機;洗碗碟機;垃圾(殘渣)消除機;乾燥機;過濾機;磨麵粉機;電機械製食品機;電動食品處理器;切割食品機;家用電水果壓榨機;電流發動機;電力發電機;家用電磨碎器/壓碎器;磨碎機;熨斗用機;製果汁用機;汁液提取器;電煮食機;混合機;電動刀;電動清潔機器及設備;切肉機(機器);刺肉器(機器);混合機;混合食品機;壓力機;乾衣機真空泵;清洗設備;清洗機;清洗機(衣服);垃圾消除機(機器);水加熱器(機器部件);吸塵機。
商標構成:

商標編號:N/16409 類別: 9
申請人:信興電工工程有限公司,場所:香港灣仔皇后大道東213號胡忠大廈2608室。
國籍:根據香港法例成立
活動:商業及工業
申請日期:2005/03/15
產品:擴音器;視聽接收器;條碼閱讀器;電池組;電池充電器;攝影機;數碼攝錄機;帶有圓蓋的彩色攝影機;光碟閱讀器;光碟(視聽);光碟(唯讀記憶體);電腦記憶體;電腦;具有陰極射線導管的電視機;多用途數碼視像影碟閱讀器;多用途數碼視像影碟錄製器;電門鈴;耳塞;圖文傳真機;電熱捲髮器;耳機;電熨斗;蒸氣熨斗;複印機;自動點唱機(電腦用);升降機樓層號碼的發動機;具有液晶體顯示的電視機;液晶體顯示器;揚聲器;麥克風;流動電話;調制解調器;監視器(電腦硬件);監視程式(電腦程式);滑鼠(數據處理設備);滑鼠墊;MP3重放器;便攜式電腦(筆記本電腦);光學儀器及器具;光碟;等離子顯示屏;等離子電視機;個人數碼助理;個人立體聲設備;複印機;手提電話;與電腦一起使用的打印機;投影器具;投影屏幕;收音機;閱讀器(數據處理設備);錄製器;掃瞄器(數據處理設備);煙霧偵察器;太陽能電池;聲音錄製器具;錄製聲音用碟;盒式帶錄製器;電話;電話器具;電話接收器;電視設置;具有多用途數碼視像影碟器的電視機;錄像機;視像屏幕;可視電話;盒式錄像帶;聲音信息發動機;視像的四分儀處理器。
商標構成:

通知:根據十二月十三日第97/99/M號法令第二百零九條第一至三款規定,刪除了“剃鬚機”,因屬其他類別。
商標編號:N/16410 類別: 10
申請人:信興電工工程有限公司,場所:香港灣仔皇后大道東213號胡忠大廈2608室。
國籍:根據香港法例成立
活動:商業及工業
申請日期:2005/03/15
產品:按摩用器具;身體按摩器;深度熱按摩器具;電動按摩器;美容按摩器具;足部按摩器;按摩用手套;熱包覆式按摩器具;馬鬃製按摩用手套;按摩用儀器;手動式按摩器具;手動式按摩儀器;按摩用手套;按摩器具;夫妻情趣按摩器具;按摩用具;按摩椅;泡沫按摩浴用墊;馬達震動式按摩器具;熱按摩枕;按摩設備,如肌肉神經電動刺激促進器及手提式按摩機;反射作用機;鍛煉或強化肌肉用的器具;醫療及治療用輔助設備;醫用儀器及器具;血壓監測器;尿液監測器;蒸發器;醫學診斷用器具;醫用鐳射激光治療器具;醫用超聲波診斷器具;助聽器;激光外科手術刀;電動按摩器;醫用手握式震動器;醫用低頻肌肉刺激促進器;高頻醫療器具;醫用電氣墊;治療用電動吸入器;醫用電熱枕;牙科用CCD(電荷耦合器件)感應系統;醫用骨質密度計;外科、醫療、牙科和獸醫用儀器及器具;義肢、假眼及假牙;矯形用品;縫合用材料。
商標構成:

商標編號:N/16411 類別: 11
申請人:信興電工工程有限公司,場所:香港灣仔皇后大道東213號胡忠大廈2608室。
國籍:根據香港法例成立
活動:商業及工業
申請日期:2005/03/15
產品:空氣清潔器;空氣調節機;空調設備;空氣冷卻設備;空氣乾燥機;空氣淨化機器及設備;空氣再加熱器;空氣消毒器;麵包師用爐;烤肉爐;床加熱器;冷卻飲料設備;非醫用電熱毯;麵包烘烤爐;煤氣燒爐用支架;天花燈;電咖啡機;製咖啡用機;煮食爐;電煮食用器具;冷卻設施及設備;電炸鍋;抽濕機;消毒設備;乾燥設備;煮食用提取器蓋子;風扇(空調);熒光燈;腳部加溫器(電的或非電的);冰箱;水果烘烤爐;油炸機;煤氣燃燒器;烤爐(煮食器具);燒烤爐(煮食器具);頭髮乾燥器;浴室用乾手機;電加熱水煲;沐浴用加溫器;加熱設備;電加熱設備;帶草花盆;熱空氣設備;熱空氣爐;加熱板;熱水陶瓶;加濕器;冰的機器及設備;浸入加熱器;感應鍋;處理空氣用離子化設備;電水壺;煮食用煤氣爐(焗爐);燈;照明設備及設施;微波爐(煮食器具);其他非為實驗用爐;碟子加溫器;電袋燈;電壓力鍋(消毒蒸鍋);煤氣爐蓋;冷卻設備及設施;雪柜;煮飯用鍋;烘烤器;烤肉器;衛生設施及設備;水療按摩浴盆(處身地);蒸汽燉鍋;面部蒸汽設備(桑拿),蒸氣燉及燜有耳陶瓶;消毒器;爐具;熱水瓶;多士爐;電衛生廁板;非醫用紫外線燈;通風(空調);通風器蓋子;製烤夫餅電鐵夾;製烤夫餅機;加熱長柄平底鍋;水過濾設備;水加熱器;水瓶;淨化水設施。
商標構成:

商標編號:N/16412 類別: 7
申請人:信興電工工程有限公司,場所:香港灣仔皇后大道東213號胡忠大廈2608室。
國籍:根據香港法例成立
活動:商業及工業
申請日期:2005/03/15
產品:電機械製飲料機;家用電攪拌機;其他非手動的磨咖啡機,切割機;洗碗碟機;垃圾(殘渣)消除機;乾燥機;過濾機;磨麵粉機;電機械製食品機;電動食品處理器;切割食品機;家用電水果壓榨機;電流發動機;電力發電機;家用電磨碎器/壓碎器;磨碎機;熨斗用機;製果汁用機;汁液提取器;電煮食機;混合機;電動刀;電動清潔機器及設備;切肉機(機器);刺肉器(機器);混合機;混合食品機;壓力機;乾衣機真空泵;清洗設備;清洗機;清洗機(衣服);垃圾消除機(機器);水加熱器(機器部件);吸塵機。
商標構成:

商標編號:N/16413 類別: 9
申請人:信興電工工程有限公司,場所:香港灣仔皇后大道東213號胡忠大廈2608室。
國籍:根據香港法例成立
活動:商業及工業
申請日期:2005/03/15
產品:擴音器;視聽接收器;條碼閱讀器;電池組;電池充電器;攝影機;數碼攝錄機;帶有圓蓋的彩色攝影機;光碟閱讀器;光碟(視聽);光碟(唯讀記憶體);電腦記憶體;電腦;具有陰極射線導管的電視機;多用途數碼視像影碟閱讀器;多用途數碼視像影碟錄製器;電門鈴;耳塞;圖文傳真機;電熱捲髮器;耳機;電熨斗;蒸氣熨斗;複印機;自動點唱機(電腦用);升降機樓層號碼的發動機;具有液晶體顯示的電視機;液晶體顯示器;揚聲器;麥克風;流動電話;調制解調器;監視器(電腦硬件);監視程式(電腦程式);滑鼠(數據處理設備);滑鼠墊;MP3重放器;便攜式電腦(筆記本電腦);光學儀器及器具;光碟;等離子顯示屏;等離子電視機;個人數碼助理;個人立體聲設備;複印機;手提電話;與電腦一起使用的打印機;投影器具;投影屏幕;收音機;閱讀器(數據處理設備);錄製器;掃瞄器(數據處理設備);煙霧偵察器;太陽能電池;聲音錄製器具;錄製聲音用碟;盒式帶錄製器;電話;電話器具;電話接收器;電視設置;具有多用途數碼視像影碟器的電視機;錄像機;視像屏幕;可視電話;盒式錄像帶;聲音信息發動機;視像的四分儀處理器。
商標構成:

通知:根據十二月十三日第97/99/M號法令第二百零九條第一至三款規定,刪除了“剃鬚機”,因屬其他類別。
商標編號:N/16414 類別: 10
申請人:信興電工工程有限公司,場所:香港灣仔皇后大道東213號胡忠大廈2608室。
國籍:根據香港法例成立
活動:商業及工業
申請日期:2005/03/15
產品:按摩用器具;身體按摩器;深度熱按摩器具;電動按摩器;美容按摩器具;足部按摩器;按摩用手套;熱包覆式按摩器具;馬鬃製按摩用手套;按摩用儀器;手動式按摩器具;手動式按摩儀器;按摩用手套;按摩器具;夫妻情趣按摩器具;按摩用具;按摩椅;泡沫按摩浴用墊;馬達震動式按摩器具;熱按摩枕;按摩設備,如肌肉神經電動刺激促進器及手提式按摩機;反射作用機;鍛煉或強化肌肉用的器具;醫療及治療用輔助設備;醫用儀器及器具;血壓監測器;尿液監測器;蒸發器;醫學診斷用器具;醫用鐳射激光治療器具;醫用超聲波診斷器具;助聽器;激光外科手術刀;電動按摩器;醫用手握式震動器;醫用低頻肌肉刺激促進器;高頻醫療器具;醫用電氣墊;治療用電動吸入器;醫用電熱枕;牙科用CCD(電荷耦合器件)感應系統;醫用骨質密度計;外科、醫療、牙科和獸醫用儀器及器具;義肢、假眼及假牙;矯形用品;縫合用材料。
商標構成:

商標編號:N/16415 類別: 11
申請人:信興電工工程有限公司,場所:香港灣仔皇后大道東213號胡忠大廈2608室。
國籍:根據香港法例成立
活動:商業及工業
申請日期:2005/03/15
產品:空氣清潔器;空氣調節機;空調設備;空氣冷卻設備;空氣乾燥機;空氣淨化機器及設備;空氣再加熱器;空氣消毒器;麵包師用爐;烤肉爐;床加熱器;冷卻飲料設備;非醫用電熱毯;麵包烘烤爐;煤氣燒爐用支架;天花燈;電咖啡機;製咖啡用機;煮食爐;電煮食用器具;冷卻設施及設備;電炸鍋;抽濕機;消毒設備;乾燥設備;煮食用提取器蓋子;風扇(空調);熒光燈;腳部加溫器(電的或非電的);冰箱;水果烘烤爐;油炸機;煤氣燃燒器;烤爐(煮食器具);燒烤爐(煮食器具);頭髮乾燥器;浴室用乾手機;電加熱水煲;沐浴用加溫器;加熱設備;電加熱設備;帶草花盆;熱空氣設備;熱空氣爐;加熱板;熱水陶瓶;加濕器;冰的機器及設備;浸入加熱器;感應鍋;處理空氣用離子化設備;電水壺;煮食用煤氣爐(焗爐);燈;照明設備及設施;微波爐(煮食器具);其他非為實驗用爐;碟子加溫器;電袋燈;電壓力鍋(消毒蒸鍋);煤氣爐蓋;冷卻設備及設施;雪柜;煮飯用鍋;烘烤器;烤肉器;衛生設施及設備;水療按摩浴盆(處身地);蒸汽燉鍋;面部蒸汽設備(桑拿),蒸氣燉及燜有耳陶瓶;消毒器;爐具;熱水瓶;多士爐;電衛生廁板;非醫用紫外線燈;通風(空調);通風器蓋子;製烤夫餅電鐵夾;製烤夫餅機;加熱長柄平底鍋;水過濾設備;水加熱器;水瓶;淨化水設施。
商標構成:

商標編號:N/16416 類別: 7
申請人:信興電工工程有限公司,場所:香港灣仔皇后大道東213號胡忠大廈2608室。
國籍:根據香港法例成立
活動:商業及工業
申請日期:2005/03/15
產品:電機械製飲料機;家用電攪拌機;其他非手動的磨咖啡機,切割機;洗碗碟機;垃圾(殘渣)消除機;乾燥機;過濾機;磨麵粉機;電機械製食品機;電動食品處理器;切割食品機;家用電水果壓榨機;電流發動機;電力發電機;家用電磨碎器/壓碎器;磨碎機;熨斗用機;製果汁用機;汁液提取器;電煮食機;混合機;電動刀;電動清潔機器及設備;切肉機(機器);刺肉器(機器);混合機;混合食品機;壓力機;乾衣機真空泵;清洗設備;清洗機;清洗機(衣服);垃圾消除機(機器);水加熱器(機器部件);吸塵機。
商標構成:

商標編號:N/16417 類別: 9
申請人:信興電工工程有限公司,場所:香港灣仔皇后大道東213號胡忠大廈2608室。
國籍:根據香港法例成立
活動:商業及工業
申請日期:2005/03/15
產品:擴音器;視聽接收器;條碼閱讀器;電池組;電池充電器;攝影機;數碼攝錄機;帶有圓蓋的彩色攝影機;光碟閱讀器;光碟(視聽);光碟(唯讀記憶體);電腦記憶體;電腦;具有陰極射線導管的電視機;多用途數碼視像影碟閱讀器;多用途數碼視像影碟錄製器;電門鈴;耳塞;圖文傳真機;電熱捲髮器;耳機;電熨斗;蒸氣熨斗;複印機;自動點唱機(電腦用);升降機樓層號碼的發動機;具有液晶體顯示的電視機;液晶體顯示器;揚聲器;麥克風;流動電話;調制解調器;監視器(電腦硬件);監視程式(電腦程式);滑鼠(數據處理設備);滑鼠墊;MP3重放器;便攜式電腦(筆記本電腦);光學儀器及器具;光碟;等離子顯示屏;等離子電視機;個人數碼助理;個人立體聲設備;複印機;手提電話;與電腦一起使用的打印機;投影器具;投影屏幕;收音機;閱讀器(數據處理設備);錄製器;掃瞄器(數據處理設備);煙霧偵察器;太陽能電池;聲音錄製器具;錄製聲音用碟;盒式帶錄製器;電話;電話器具;電話接收器;電視設置;具有多用途數碼視像影碟器的電視機;錄像機;視像屏幕;可視電話;盒式錄像帶;聲音信息發動機;視像的四分儀處理器。
商標構成:

通知:根據十二月十三日第97/99/M號法令第二百零九條第一至三款規定,刪除了“剃鬚機”,因屬其他類別。
商標編號:N/16418 類別: 10
申請人:信興電工工程有限公司,場所:香港灣仔皇后大道東213號胡忠大廈2608室。
國籍:根據香港法例成立
活動:商業及工業
申請日期:2005/03/15
產品:按摩用器具;身體按摩器;深度熱按摩器具;電動按摩器;美容按摩器具;足部按摩器;按摩用手套;熱包覆式按摩器具;馬鬃製按摩用手套;按摩用儀器;手動式按摩器具;手動式按摩儀器;按摩用手套;按摩器具;夫妻情趣按摩器具;按摩用具;按摩椅;泡沫按摩浴用墊;馬達震動式按摩器具;熱按摩枕;按摩設備,如肌肉神經電動刺激促進器及手提式按摩機;反射作用機;鍛煉或強化肌肉用的器具;醫療及治療用輔助設備;醫用儀器及器具;血壓監測器;尿液監測器;蒸發器;醫學診斷用器具;醫用鐳射激光治療器具;醫用超聲波診斷器具;助聽器;激光外科手術刀;電動按摩器;醫用手握式震動器;醫用低頻肌肉刺激促進器;高頻醫療器具;醫用電氣墊;治療用電動吸入器;醫用電熱枕;牙科用CCD(電荷耦合器件)感應系統;醫用骨質密度計;外科、醫療、牙科和獸醫用儀器及器具;義肢、假眼及假牙;矯形用品;縫合用材料。
商標構成:

商標編號:N/16419 類別: 11
申請人:信興電工工程有限公司,場所:香港灣仔皇后大道東213號胡忠大廈2608室。
國籍:根據香港法例成立
活動:商業及工業
申請日期:2005/03/15
產品:空氣清潔器;空氣調節機;空調設備;空氣冷卻設備;空氣乾燥機;空氣淨化機器及設備;空氣再加熱器;空氣消毒器;麵包師用爐;烤肉爐;床加熱器;冷卻飲料設備;非醫用電熱毯;麵包烘烤爐;煤氣燒爐用支架;天花燈;電咖啡機;製咖啡用機;煮食爐;電煮食用器具;冷卻設施及設備;電炸鍋;抽濕機;消毒設備;乾燥設備;煮食用提取器蓋子;風扇(空調);熒光燈;腳部加溫器(電的或非電的);冰箱;水果烘烤爐;油炸機;煤氣燃燒器;烤爐(煮食器具);燒烤爐(煮食器具);頭髮乾燥器;浴室用乾手機;電加熱水煲;沐浴用加溫器;加熱設備;電加熱設備;帶草花盆;熱空氣設備;熱空氣爐;加熱板;熱水陶瓶;加濕器;冰的機器及設備;浸入加熱器;感應鍋;處理空氣用離子化設備;電水壺;煮食用煤氣爐(焗爐);燈;照明設備及設施;微波爐(煮食器具);其他非為實驗用爐;碟子加溫器;電袋燈;電壓力鍋(消毒蒸鍋);煤氣爐蓋;冷卻設備及設施;雪柜;煮飯用鍋;烘烤器;烤肉器;衛生設施及設備;水療按摩浴盆(處身地);蒸汽燉鍋;面部蒸汽設備(桑拿),蒸氣燉及燜有耳陶瓶;消毒器;爐具;熱水瓶;多士爐;電衛生廁板;非醫用紫外線燈;通風(空調);通風器蓋子;製烤夫餅電鐵夾;製烤夫餅機;加熱長柄平底鍋;水過濾設備;水加熱器;水瓶;淨化水設施。
商標構成:

商標編號:N/16420 類別: 20
申請人:僑蒂絲股份有限公司,場所:香港銅鑼灣希慎道裕景商業中心10樓1002室。
活動:商業
申請日期:2005/03/17
產品:長枕頭,枕頭,椅子用墊,睡袋,床褥,全屬第20類。
商標構成:

商標編號:N/16421 類別: 24
申請人:僑蒂絲股份有限公司,場所:香港銅鑼灣希慎道8號裕景商業中心10樓1002室。
活動:商業
申請日期:2005/03/17
產品:毯及毯用罩子,鴨絨褥子及鴨絨褥子套,鴨絨褥子用罩子,枕頭套及被褥,沙發枕用套,床單,床用花邊,床罩,傢具用套,窗帘毛巾,亞麻布料桌布,餐巾,桌巾,餐巾用套或紙巾用盒,全屬第24類。
商標構成:

商標編號:N/16423 類別: 30
申請人:Soremartec, S.A., Drève de I' Arc-en-Ciel 102, 6700 Schoppach-Arlon, Bélgica.
國籍:比利時
活動:商業及工業
申請日期:2005/03/15
產品:咖啡,茶,可可,糖,米,食用澱粉,西米,咖啡代用品;麵粉及穀類製品,麵包,糕點及糖果,食用冰;蜂蜜,糖漿;鮮酵母,發酵粉;鹽,芥末,醋,醬汁(調味品);調味香料;使清涼用冰。
商標構成:

商標編號:N/16424 類別: 30
申請人:FERRERO S.p.A., Piazzale Pietro Ferrero 1, 12051 Alba, Cuneo, Itália.
國籍:意大利
活動:商業及工業
申請日期:2005/03/15
產品:咖啡,茶,可可,糖,米,食用澱粉,西米,咖啡代用品;麵粉及穀類製品,麵包,糕點及糖果,食用冰;蜂蜜,糖漿;鮮酵母,發酵粉;鹽,芥末,醋,醬汁(調味品);調味香料;使清涼用冰。
商標構成:

商標編號:N/16425 類別: 14
申請人:PINK BOX LIMITED, 23/F Winbase Centre, 208 Queen's Road, Central, Hong Kong.
國籍:根據香港法例成立
活動:商業
申請日期:2005/03/16
產品:貴重金屬及其合金;手鐲(珠寶);鏈子(珠寶);鑽石;耳環;金及銀製產品,非為刀、叉及匙的其他;頸鏈(珠寶);珠寶;白金(金屬);寶石;指環(珠寶);半寶石;鐘錶儀器(鐘錶);計時儀器。
商標構成:

商標編號:N/16426 類別: 25
申請人:ANNAPURNA — S.p.A., Via A. Fleming 26/A, Prato, Italy.
國籍:意大利
活動:商業及工業
申請日期:2005/03/16
產品:胸圍,女用緊身胸衣,吊帶運動女用內衣,襯裙,睡覺用襯衣,睡衣,睡袍,套頭衫,浴袍,泳衣,手套,針織外套,針織襯衫,領帶,頸巾,頭巾,汗衫,短襪,襪褲,長襪,長褲,裹腿,半截裙,短外套,男士用緊身胸衣,襯衣,內穿襯衫,背心,女士用羊毛襯衫,訓練服,襯衫,牛仔褲,內褲,長褲,短褲,T恤,汗恤,西服及連衣裙,大衣,滑雪運動衫,外套,風大衣,腰帶,吊帶,鞋,靴,拖鞋,帽,無邊圓帽。
商標構成:

商標編號:N/16427 類別: 25
申請人:ANNAPURNA — S.p.A., Via A. Fleming 26/A, Prato, Italy.
國籍:意大利
活動:商業及工業
申請日期:2005/03/16
產品:胸圍,女用緊身胸衣,吊帶運動女用內衣,襯裙,睡覺用襯衣,睡衣,睡袍,套頭衫,浴袍,泳衣,手套,針織外套,針織襯衫,領帶,頸巾,頭巾,汗衫,短襪,襪褲,長襪,長褲,裹腿,半截裙,短外套,男士用緊身胸衣,襯衣,內穿襯衫,背心,女士用羊毛襯衫,訓練服,襯衫,牛仔褲,內褲,長褲,短褲,T恤,汗恤,西服及連衣裙,大衣,滑雪運動衫,外套,風大衣,腰帶,吊帶,鞋,靴,拖鞋,帽,無邊圓帽。
商標構成:

商標編號:N/16429 類別: 9
申請人:STARBUCKS CORPORATION, 2401 Utah Avenue South, Seattle, Washington 98134, United States of America.
國籍:美國
活動:商業及工業
申請日期:2005/03/16
產品:用於開發、下載、傳送、接受、裝配、提取、編碼、解碼、閱讀、儲存及組織聽覺數據的資訊軟件;帶古典、爵士、當代、流行的、季節性、R&B、穌靈、世界性、柴迪科舞曲、雷蓋、搖滾、民族及表演音樂的錄音;數碼錄音閱讀器;透過一全球資訊網絡及無線設備下載的音樂。
商標構成:

商標編號:N/16430 類別: 41
申請人:STARBUCKS CORPORATION, 2401 Utah Avenue South, Seattle, Washington 98134, United States of America.
國籍:美國
活動:商業及工業
申請日期:2005/03/16
服務:娛樂服務,如提供及/或組織娛樂,教育,消閑及/或音樂事宜;組織,製作,展示及/或表演節目、現場活動、音樂會及其他事宜和活動;組織及指導作娛樂的個人活動;音樂及聲音錄製品的傳播及製作;提供進入一互動資訊數據庫展示一廣闊的音樂錄製品文集;透過通訊網絡提供於音樂、錄像、無線電,電視、新聞、運動、遊戲、文化事宜、娛樂及藝術和消遣範疇的數據庫和指南;透過通訊網絡提供於音樂、錄像、無線電、電視、新聞、運動、遊戲、文化事宜、娛樂及藝術和消遣範疇的資訊、錄音、錄像、圖像,文章及其他多媒體事項;音樂傳播服務;通過通訊網絡出版文章、圖像、音像和影像工作;於商店及線上設施提供以允許使用者編製錄音、錄像、文章及其他多媒體事項,包括音樂、音樂會、錄像、無線電、電視、新聞、運動、遊戲、文化事宜及與娛樂有聯系的項目;無線電節目的製作及分配;音樂製作服務;娛樂服務,如提供音樂評論及建議及關於音樂的文章。
商標構成:

商標編號:N/16431 類別: 30
申請人:STARBUCKS CORPORATION, 2401 Utah Avenue South, Seattle, Washington 98134, United States of America.
國籍:美國
活動:商業及工業
申請日期:2005/03/16
產品:咖啡粉及咖啡豆,可可,茶(草本及非草本),咖啡、茶、可可及特濃咖啡飲料,及咖啡及/或特濃咖啡製飲料,茶製飲料,巧克力及香子蘭粉,添加於飲料內的糖漿精,爐焗產品,包括葡萄乾牛油蛋糕,牛油蛋糕,餅乾,小蛋糕,糕點及麵包,及備焗糕點混合物,三文治,巧克力,冷熱即食品,穀物和有水果的穀物,即飲咖啡,冰淇淋,冷凍奶昔及糖果;巧克力,凍茶,備用茶,凍茶用粉狀混合物。
商標構成:

商標編號:N/16432 類別: 32
申請人:STARBUCKS CORPORATION, 2401 Utah Avenue South, Seattle, Washington 98134, United States of America.
國籍:美國
活動:商業及工業
申請日期:2005/03/16
產品:水,礦泉水,汽水及其他不含酒精飲料,清涼飲料,水果飲料及水果汁,製飲料用的液體狀和粉狀混合物;製飲料用香味糖漿;有香味及無香味的瓶裝水,汽水,礦泉水,以水果及水果汁為主的有汽飲料及有汽飲料;水果冷凍飲料及以水果為主的冷凍飲料。
商標構成:

商標編號:N/16433 類別: 30
申請人:STARBUCKS CORPORATION, 2401 Utah Avenue South, Seattle, Washington 98134, United States of America.
國籍:美國
活動:商業及工業
申請日期:2005/03/16
產品:咖啡粉及咖啡豆,可可,茶(草本及非草本),咖啡、茶、可可及特濃咖啡飲料,及咖啡及/或特濃咖啡製飲料,茶製飲料,巧克力及香子蘭粉,添加於飲料內的糖漿精,爐焗產品,包括葡萄乾牛油蛋糕,牛油蛋糕,餅乾,小蛋糕,糕點及麵包,及備焗糕點混合物,三文治,巧克力,冷熱即食品,穀物和有水果的穀物,即飲咖啡,冰淇淋,冷凍奶昔及糖果;巧克力,凍茶,備用茶,凍茶用粉狀混合物。
商標構成:

商標編號:N/16434 類別: 32
申請人:STARBUCKS CORPORATION, 2401 Utah Avenue South, Seattle, Washington 98134, United States of America.
國籍:美國
活動:商業及工業
申請日期:2005/03/16
產品:水,礦泉水,汽水及其他不含酒精飲料,清涼飲料,水果飲料及水果汁,製飲料用的液體狀和粉狀混合物;製飲料用香味糖漿;有香味及無香味的瓶裝水,汽水,礦泉水,以水果及水果汁為主的有汽飲料及有汽飲料;水果冷凍飲料及以水果為主的冷凍飲料。
商標構成:

商標編號:N/16435 類別: 30
申請人:STARBUCKS CORPORATION, 2401 Utah Avenue South, Seattle, Washington 98134, United States of America.
國籍:美國
活動:商業及工業
申請日期:2005/03/16
產品:咖啡粉及咖啡豆,可可,茶(草本及非草本),咖啡、茶、可可及特濃咖啡飲料,及咖啡及/或特濃咖啡製飲料,茶製飲料,巧克力及香子蘭粉,添加於飲料內的糖漿精,爐焗產品,包括葡萄乾牛油蛋糕,牛油蛋糕,餅乾,小蛋糕,糕點及麵包,及備焗糕點混合物,三文治,巧克力產品及糖果,冷熱即食品,穀物和有水果的穀物,即飲咖啡,冰淇淋,冷凍奶昔及糖果;巧克力,糖及糖果;凍茶,備用茶,凍茶用粉狀混合物。
商標構成:

商標編號:N/16436 類別: 32
申請人:STARBUCKS CORPORATION, 2401 Utah Avenue South, Seattle, Washington 98134, United States of America.
國籍:美國
活動:商業及工業
申請日期:2005/03/16
產品:水,礦泉水,汽水及其他不含酒精飲料,清涼飲料,水果飲料及水果汁,製飲料用的液體狀和粉狀混合物;製飲料用香味糖漿;有香味及無香味的瓶裝水,汽水,礦泉水,以水果及水果汁為主的有汽飲料及有汽飲料;水果冷凍飲料及以水果為主的冷凍飲料。
商標構成:

商標編號:N/16437 類別: 41
申請人:Grupo de Entretenimento Mitologia Grega (Macau) Limitada, Avenida Padre Tomás Pereira S. J., No. 889, Hotel Novo Século, E-F, Taipa, Macau.
國籍:根據澳門法例成立
活動:商業
申請日期:2005/03/17
服務:娛樂製作。
商標構成:

顏色之要求:火炬及火焰為紅色。“GREEK MYTHOLOGY”及“希臘神話”名稱的底部為金啡色。雙翼為金啡色。名稱為黑色及字母底部為金啡色。
商標編號:N/16438 類別: 41
申請人:Grupo de Entretenimento Mitologia Grega (Macau) Limitada, Avenida Padre Tomás Pereira S. J., No. 889, Hotel Novo Século, E-F, Taipa, Macau.
國籍:根據澳門法例成立
活動:商業
申請日期:2005/03/17
服務:娛樂製作。
商標構成:

商標編號:N/16439 類別: 32
申請人:Frucor Beverages Limited, 97 Plunket Avenue, Wiri, Auckland, New Zealand.
國籍:紐西蘭
活動:商業及工業
申請日期:2005/03/17
產品:礦泉水及汽水及其他不含酒精飲料;包括含有維他命、礦物質或草本植物的水果飲料及水果汁;糖漿及其他製飲料製劑;等滲飲料(非醫用);補充能量飲料。
商標構成:

商標編號:N/16491 類別: 35
申請人:利家燈飾集團有限公司,場所:澳門海灣南街無門號,利耀閣地下K座。
國籍:根據澳門法例成立
活動:商業
申請日期:2005/03/17
服務:燈飾零售、批發及出入口。
商標構成:

顏色之要求:黃色,深綠色,淺綠色,黑色,如圖所示。
商標編號:N/16492 類別: 35
申請人:陳子康,場所:澳門大三巴花王堂街2A地下。
國籍:中國
活動:商業
申請日期:2005/03/23
服務:錢幣、紙幣、郵票、古玩雜項售賣。
商標構成:

顏色之要求:黑色、紅色、金黃色,如圖所示。
商標編號:N/16493 類別: 2
申請人:葉希蔭,場所:澳門黑沙環斜路9號新益花園第6座19樓AE。
國籍:葡國
活動:商業
申請日期:2005/03/18
產品:塗料,油漆產品。
商標構成:

顏色之要求:藍、紅、黃(如圖所示)。
商標編號:N/16494 類別: 2
申請人:葉希蔭,場所:澳門黑沙環斜路9號新益花園第6座19樓AE。
國籍:葡國
活動:商業
申請日期:2005/03/18
產品:塗料,油漆產品。
商標構成:

商標編號:N/16495 類別: 2
申請人:葉希蔭,場所:澳門黑沙環斜路9號新益花園第6座19樓AE。
國籍:葡國
活動:商業
申請日期:2005/03/18
產品:塗料,油漆產品。
商標構成:

商標編號:N/16496 類別: 12
申請人:FERRARI S.p.A., Via Emilia Est 1163, 41100 Modena, Italy.
國籍:意大利
活動:商業及工業
申請日期:2005/03/18
產品:屬第12類的車輛,陸、空、海用運輸器,陸地車輛,汽車,構件和替換件及其組成部分和配件;屬第12類的制動器、馬達、陸地車輛用輪胎,自行車,摩托車,小型客貨車,貨車。
商標構成:

優先權之要求:請求日期:2004/11/12;所屬國:意大利;請求編號:TO2004C003327。
商標編號:N/16497 類別: 28
申請人:FERRARI S.p.A., Via Emilia Est 1163, 41100 Modena, Italy.
國籍:意大利
活動:商業及工業
申請日期:2005/03/18
產品:娛樂品及玩具,不屬別類的體育及運動用品,聖誕樹用裝飾品,非操作性按尺寸比例的汽車複製品玩具,便攜式視像遊戲,拼合玩具,旨在娛樂的玩具積木組合。
商標構成:

優先權之要求:請求日期:2004/11/12;所屬國:意大利;請求編號:TO2004C003327。
商標編號:N/16498 類別: 12
申請人:FERRARI S.p.A., Via Emilia Est 1163, 41100 Modena, Italy.
國籍:意大利
活動:商業及工業
申請日期:2005/03/18
產品:屬第12類的車輛,陸、空、海用運輸器,陸地車輛,汽車,構件和替換件及其組成部分和配件;屬第12類的制動器、馬達、陸地車輛用輪胎,自行車,摩托車,小型客貨車,貨車。
商標構成:

優先權之要求:請求日期:2004/11/12;所屬國:意大利;請求編號:TO2004C003326。
商標編號:N/16499 類別: 28
申請人:FERRARI S.p.A., Via Emilia Est 1163, 41100 Modena, Italy.
國籍:意大利
活動:商業及工業
申請日期:2005/03/18
產品:娛樂品及玩具,不屬別類的體育及運動用品,聖誕樹用裝飾品,非操作性按尺寸比例的汽車複製品玩具,便攜式視像遊戲,拼合玩具,旨在娛樂的玩具積木組合。
商標構成:

優先權之要求:請求日期:2004/11/12;所屬國:意大利;請求編號:TO2004C003326。
商標編號:N/16500 類別: 12
申請人:FERRARI S.p.A., Via Emilia Est 1163, 41100 Modena, Italy.
國籍:意大利
活動:商業及工業
申請日期:2005/03/18
產品:車輛,陸、空、海用運輸器,汽車車篷,車篷窗,可移動車篷,車罩。
商標構成:

優先權之要求:請求日期:2004/11/25;所屬國:意大利;請求編號:TO2004C003484。
商標編號:N/16501 類別: 35
申請人:FRUIT OF THE LOOM, INC., One Fruit of the Loom Drive, P. O, Box 90015, Bowling Green, KY 42102-9015, United States of America.
國籍:美國
活動:商業及工業
申請日期:2005/03/18
服務:廣告;商業貿易管理;商業行政;辦公事務;零售服務。
商標構成:

商標編號:N/16502 類別: 3
申請人:Unza International Limited, Craigmuir Chambers, P. O. Box 71, Road Town, Tortola, British Virgin Islands.
國籍:英屬處女島
活動:商業及工業
申請日期:2005/03/18
產品:家用清洗及清潔用製劑;洗衣用去污劑;洗嬰兒衣服用去污劑;衣服柔順劑(洗衣用);洗衣及家用漂白製劑;家用以增加顏色光彩化學品(洗衣);家用多用途清潔製劑;洗碗碟用液;清潔地板製劑;用於家庭用品中以清除污漬的製劑;家用除鈣化溶劑;家用氨;家用非離子去污物質;去除金屬表面的乾薄膜用製劑(家用);去除污垢用製劑(家用);去油脂用製劑(家用);除油製劑(家用);清除鱗片用製劑(家用);清除浮渣用製劑(家用)。
商標構成:

商標編號:N/16503 類別: 3
申請人:Unza International Limited, Craigmuir Chambers, P. O. Box 71, Road Town, Tortola, British Virgin Islands.
國籍:英屬處女島
活動:商業及工業
申請日期:2005/03/18
產品:家用清洗及清潔用製劑;洗衣用去污劑;洗嬰兒衣服用去污劑;衣服柔順劑(洗衣用);洗衣及家用漂白製劑;家用以增加顏色光彩化學品(洗衣);家用多用途清潔製劑;洗碗碟用液;清潔地板製劑;用於家庭用品中以清除污漬的製劑;家用除鈣化溶劑;家用氨;家用非離子去污物質;去除金屬表面的乾薄膜用製劑(家用);去除污垢用製劑(家用);去油脂用製劑(家用);除油製劑(家用);清除鱗片用製劑(家用);清除浮渣用製劑(家用)。
商標構成:

商標編號:N/16504 類別: 33
申請人:湖北稻花香酒業股份有限公司,場所:中國湖北省宜昌市龍泉鎮。
國籍:中國
活動:商業及工業
申請日期:2005/03/18
產品:果酒(含酒精);開胃酒;酒(飲料);白蘭地;含酒精液體;酒精飲料(啤酒除外);米酒;清酒;黃酒;料酒。
商標構成:

商標編號:N/16505 類別: 33
申請人:宜昌市關公坊酒業有限公司,場所:中國湖北省當陽市長坂路155號。
國籍:中國
活動:商業及工業
申請日期:2005/03/18
產品:果酒(含酒精);開胃酒;酒(飲料);白蘭地;含酒精液體;酒精飲料(啤酒除外);米酒;清酒;黃酒;料酒。
商標構成:

商標編號:N/16506 類別: 11
申請人:九牧集團有限公司,場所:中國福建省南安市侖倉鎮登峰工業區28號。
國籍:中國
活動:商業及工業
申請日期:2005/03/18
產品:飲水機;金屬製地漏(衛生設備附件);水淨化裝置;供水設備;水暖裝置用管子零件;水管調製開關;水沖洗設備;盥洗池(衛生設備部件);沖水裝置;水箱液面控制閥;水龍頭;自來水設備的調節和安全附件;水塔;裝飾用噴泉裝置;澡盆;浴室裝置;壓力水箱;坐便器;淋浴器;衛生器械和設備。
商標構成:

商標編號:N/16511 類別: 33
申請人:SOGRAPE VINHOS, S.A., Lugar da Aldeia Nova, Avintes, 4430 Vila Nova de Gaia, Portugal.
國籍:葡國
活動:商業及工業
申請日期:2005/03/21
產品:酒精飲料,啤酒除外,包括葡萄酒,波爾圖葡萄酒,燒酒,白蘭地及烈酒。
商標構成:

商標編號:N/16512 類別: 33
申請人:SOGRAPE VINHOS, S.A., Lugar da Aldeia Nova, Avintes, 4430 Vila Nova de Gaia, Portugal.
國籍:葡國
活動:商業及工業
申請日期:2005/03/21
產品:酒精飲料,啤酒除外,包括葡萄酒,波爾圖葡萄酒,燒酒,白蘭地及烈酒。
商標構成:

商標編號:N/16513 類別: 39
申請人:Hong Kong Express Airways Limited, Room 1603, 16/F, Shun Tak Centre, China Merchants Tower, 200 Connaught Road Central, Hong Kong.
國籍:根據香港法例成立
活動:商業及工業
申請日期:2005/03/21
服務:空運服務;旅客的空運及貨物的空運服務;特別郵遞服務;商品的發送;運輸經紀;貨物經紀;商品、行李及/或貨物的儲存、裝卸、包裝及/或送遞;運輸及/或旅行團預留;組織旅行團;旅行社(酒店預留除外);提供關於透過空中、陸地及/或海路運輸的資訊;至及從機場、直昇機平台、碼頭、總站及/或火車站運送行李、貨物及/或旅客;飛行器出租;車輛出租。
商標構成:

商標編號:N/16514 類別: 39
申請人:Hong Kong Express Airways Limited, Room 1603, 16/F, Shun Tak Centre, China Merchants Tower, 200 Connaught Road Central, Hong Kong.
國籍:根據香港法例成立
活動:商業及工業
申請日期:2005/03/21
服務:空運服務;旅客的空運及貨物的空運服務;特別郵遞服務;商品的發送;運輸經紀;貨物經紀;商品、行李及/或貨物的儲存、裝卸、包裝及/或送遞;運輸及/或旅行團預留;組織旅行團;旅行社(酒店預留除外);提供關於透過空中、陸地及/或海路運輸的資訊;至及從機場、直昇機平台、碼頭、總站及/或火車站運送行李、貨物及/或旅客;飛行器出租;車輛出租。
商標構成:

顏色之要求:橙色,藍色及深藍色。
商標編號:N/16515 類別: 39
申請人:Hong Kong Express Airways Limited, Room 1603, 16/F, Shun Tak Centre, China Merchants Tower, 200 Connaught Road Central, Hong Kong.
國籍:根據香港法例成立
活動:商業及工業
申請日期:2005/03/21
服務:空運服務;旅客的空運及貨物的空運服務;特別郵遞服務;商品的發送;運輸經紀;貨物經紀;商品、行李及/或貨物的儲存、裝卸、包裝及/或送遞;運輸及/或旅行團預留;組織旅行團;旅行社(酒店預留除外);提供關於透過空中、陸地及/或海路運輸的資訊;至及從機場、直昇機平台、碼頭、總站及/或火車站運送行李、貨物及/或旅客;飛行器出租;車輛出租。
商標構成:

顏色之要求:橙色,藍色及深藍色。
商標編號:N/16516 類別: 29
申請人:內蒙古蒙牛乳業(集團)股份有限公司,場所:中國內蒙古呼和浩特市和林格尔盛樂經濟園區。
國籍:中國
活動:商業及工業
申請日期:2005/03/21
產品:牛肉清湯;肉湯;牛肉清湯湯料;豬肉食品;牛肉清湯濃縮汁;肉湯濃縮汁;油炸丸子;肉;火腿;香腸;鹹肉;牛肚;豬肉;肉片;肉脯;肉乾;魚製食品;魚肉乾;速凍方便菜餚;速凍菜;蛋;食物蛋白;精製堅果仁;食品用果膠;水果色拉;蔬菜色拉;食用油脂;可可脂;黃油;奶油(奶製品);奶酪;牛奶;酸乳酪;乳酒(牛奶飲料);克非爾奶酒(牛奶飲料);牛奶飲料(以牛奶為主);乳清;牛奶製品;人造黃油;食用酪蛋白;奶茶(以奶為主);可可牛奶(以奶為主);酸奶;蛋;番茄汁;冷凍水果;果醬;水果罐頭。
商標構成:

商標編號:N/16517 類別: 30
申請人:內蒙古蒙牛乳業(集團)股份有限公司,場所:中國內蒙古呼和浩特市和林格尔盛樂經濟園區。
國籍:中國
活動:商業及工業
申請日期:2005/03/21
產品:奶片(糖果);麵包乾;未發酵麵包;華夫餅乾;果子麵包;甜食;小蛋糕(糕點);麵包;餡餅(點心);夾心麵包、三明治;糕點;小黃油餅乾;圓麵包;餅乾(克力架);牛奶蛋糕;米糕;月餅;漢堡包;麻花;肉餡餅;餡餅;春卷;粽子;元宵;煎餅;豆沙;火燒;大餅;肉泡饃;餃子;包子;饅頭;花卷;豆包;谷類製品;玉米(烘過的);谷製食品糊;麵粉製品;麵條;挂麵;方便麵;春卷皮;蔬菜片;茶飲料;糖果;餅乾;膨化水果片、蔬菜片;冰淇淋;含牛奶的巧克力飲料;冰糕;可可製品;咖啡;加奶可可飲料;加奶咖啡飲料;咖啡飲料;可可飲料;樂口福;巧克力;非醫用營養品;布丁;凍酸奶(冰凍甜點);冰棍;冰磚;食用冰;調味品;食用香料(不包括含醚香料和香精油)。
商標構成:

商標編號:N/16518 類別: 36
申請人:World Investment Network, Inc., 7121 Fairway Drive, Palm Beach Gardens, Florida 33418, United States of America.
國籍:美國
活動:商業及工業
申請日期:2005/03/21
服務:保險;金融貿易;貨幣貿易;不動產貿易。
商標構成:

商標編號:N/16519 類別: 36
申請人:World Investment Network, Inc., 7121 Fairway Drive, Palm Beach Gardens, Florida 33418, United States of America.
國籍:美國
活動:商業及工業
申請日期:2005/03/21
服務:保險;金融貿易;貨幣貿易;不動產貿易。
商標構成:

商標編號:N/16520 類別: 25
申請人:ZINNIA PROFIT COMPANY LIMITED, 3rd Floor, Barclays House, Wickhams Cay, Road Town, Tortola, British Virgin Islands.
國籍:英屬處女島
活動:商業及工業
申請日期:2005/03/21
產品:服裝,鞋和帽;胸圍,長褲,女用內衣,短外套,襯裙,胸衣,長袍,毛皮長披肩,腰帶,手套,襯裙,針織外套,針織衫,領帶,大衣,女用短毛皮披肩,套頭衣,T恤,睡衣,浴袍,頸巾,披肩,御寒物,襯衫,半截裙,圍裙,短襪,運動制服,棉外套,西裝,泳衣,褲子用吊帶,褲子,內褲,內衣,制服,面紗,背心,短褲,女士短襪,針織褲,長褲,連衣裙,大衣,風雨衣,女襯衣,長外套,外套,背心,罩衫,牛仔褲,針織外套,運動服,晚裝襯衫,運動衫,短襪,短內褲,連內褲胸圍,吊帶,女士用內襯衣,內襯裙,露指手套,鼻巾,手腕用束帶,膝蓋用帶,腰部用束帶,蝴蝶領結,毛皮長披肩,腰帶,女士襪,比堅尼式游泳衣 ,男士內褲,沐浴長褲,皮製服裝,仿皮製服裝, 亞蔴,外穿服裝,褲子,無領針織襯衫。
商標構成:

商標編號:N/16521 類別: 35
申請人:ZINNIA PROFIT COMPANY LIMITED, 3rd Floor, Barclays House, Wickhams Cay, Road Town, Tortola, British Virgin Islands.
國籍:英屬處女島
活動:商業及工業
申請日期:2005/03/21
服務:與服裝,鞋和帽,雨傘,所有物料製的腰帶,所有物料製及所有種類的袋,皮革及仿皮革製品,珠寶及裝飾品,潮流配件,鐘錶器具及計時儀器,香水,精油,化妝品有關的批發,零售及分銷服務;在線零售及通過郵遞的零售服務,銷售推廣服務,組織商業表現,分銷代理,出入口的諮詢,商業貿易諮詢,貿易管理諮詢;為第三人作宣傳及商業服務。
商標構成:

商標編號:N/16522 類別: 25
申請人:ZINNIA PROFIT COMPANY LIMITED, 3rd Floor, Barclays House, Wickhams Cay, Road Town, Tortola, British Virgin Islands.
國籍:英屬處女島
活動:商業及工業
申請日期:2005/03/21
產品:服裝,鞋和帽;胸圍,長褲,女用內衣,短外套,襯裙,胸衣,長袍,毛皮長披肩,腰帶,手套,襯裙,針織外套,針織衫,領帶,大衣,女用短毛皮披肩,套頭衣,T恤,睡衣,浴袍,頸巾,披肩,御寒物,襯衫,半截裙,圍裙,短襪,運動制服,棉外套,西裝,泳衣,褲子用吊帶,褲子,內褲,內衣,制服,面紗,背心,短褲,女士短襪,針織褲,長褲,連衣裙,大衣,風雨衣,女襯衣,長外套,外套,背心,罩衫,牛仔褲,針織外套,運動服,晚裝襯衫,運動衫,短襪,短內褲,連內褲胸圍,吊帶,女士用內襯衣,內襯裙,露指手套,鼻巾,手腕用束帶,膝蓋用帶,腰部用束帶,蝴蝶領結,毛皮長披肩,腰帶,女士襪,比堅尼式游泳衣 ,男士內褲,沐浴長褲,皮製服裝,仿皮製服裝, 亞蔴,外穿服裝,褲子,無領針織襯衫。
商標構成:

商標編號:N/16523 類別: 25
申請人:Umlauf & Klein GmbH & Co., Seesener Strasse 10-13, 10709 Berlin, Germany.
國籍:德國
活動:商業及工業
申請日期:2005/03/22
產品:服裝,鞋及帽。
商標構成:

商標編號:N/16524 類別: 36
申請人:INVESTCOM HOLDING (LUXEMBOURG), S.A., L-2320 Luxembourg-67, Boulevard de la Pétruss-R.C., Luxembourg No. B 48.045.
國籍:盧森堡
活動:商業及工業
申請日期:2005/03/22
服務:保險,財務貿易,金融貿易及不動產貿易。
商標構成:

商標編號:N/16525 類別: 38
申請人:INVESTCOM HOLDING (LUXEMBOURG), S.A., L-2320 Luxembourg-67, Boulevard de la Pétruss-R.C., Luxembourg No. B 48.045.
國籍:盧森堡
活動:商業及工業
申請日期:2005/03/22
服務:所有與電訊有關的服務及副服務。
商標構成:

商標編號:N/16526 類別: 5
申請人:KYUSHIN PHARMACEUTICAL CO., LTD., No. 21-7, 1-chome, Wada, Suginami-ku, Tokyo, Japan.
國籍:日本
活動:商業及工業
申請日期:2005/03/23
產品:藥品及藥劑。
商標構成:

商標編號:N/16529 類別: 5
申請人:RECORDATI, S.A., Piazza Boffalora, 4-CH 6830 Chiasso, Suíça.
國籍:瑞士
活動:商業及工業
申請日期:2005/03/24
產品:藥品,獸藥及衛生產品;兒童及病人用營養品;膏藥,繃敷材料;填塞牙孔及牙模用料;消毒劑;除雜草劑及滅有害動物製劑。
商標構成:

商標編號:N/16530 類別: 5
申請人:RECORDATI, S.A., Piazza Boffalora, 4-CH 6830 Chiasso, Suíça.
國籍:瑞士
活動:商業及工業
申請日期:2005/03/24
產品:以芬替康唑為主的特殊藥物,有一局部抗真菌的活性作用。
商標構成:

商標編號:N/16531 類別: 9
申請人:FERAUD SARL, 18 Rue de Paradis, 75010 Paris, França.
國籍:法國
活動:工業
申請日期:2005/03/24
產品:光學儀器及工具,眼鏡,太陽眼鏡,及其臂和框。
商標構成:

商標編號:N/16532 類別: 25
申請人:FERAUD SARL, 18 Rue de Paradis, 75010 Paris, França.
國籍:法國
活動:工業
申請日期:2005/03/24
產品:服裝產品,襯衫,領帶,靴,鞋及拖鞋。
商標構成:

商標編號:N/16533 類別: 25
申請人:Victoria's Secret Stores, Inc., Four Limited Parkway East, Reynoldsburg, Ohio 43068, United States of America.
國籍:美國
活動:商業及工業
申請日期:2005/03/24
產品:服裝。
商標構成:

優先權之要求:請求日期:2004/09/29;所屬國:美國;請求編號:78/491744。
商標編號:N/16534 類別: 29
申請人:廣東溫氏食品集團有限公司,場所:中國廣東省雲浮市新興縣勒竹鎮欖根。
國籍:中國
活動:商業
申請日期:2005/03/28
產品:肉;肉凍;豬肉食品;鹹肉;死家禽;魚製食品;肉罐頭;醃製蔬菜;蛋;牛奶;牛奶飲料(以牛奶為主的);牛奶製品;食用油脂;食用蛋白。
商標構成:

商標編號:N/16535 類別: 33
申請人:伊一莎利特有限公司,場所:毛里求斯路易斯港鮑提葉街19號亞姆大廈3樓。
國籍:毛里求斯
活動:商業
申請日期:2005/03/28
產品:酒精飲料(啤酒除外);香檳酒;白蘭地酒;威士忌酒;伏特加酒;葡萄酒;利口酒;蘭姆酒;龍舌蘭酒。
商標構成:

商標編號:N/16536 類別: 33
申請人:伊一莎利特有限公司,場所:毛里求斯路易斯港鮑提葉街19號亞姆大廈3樓。
國籍:毛里求斯
活動:商業
申請日期:2005/03/28
產品:酒精飲料(啤酒除外);香檳酒;白蘭地酒;威士忌酒;伏特加酒;葡萄酒;利口酒;蘭姆酒;龍舌蘭酒。
商標構成:

商標編號:N/16537 類別: 2
申請人:黃逢旺,場所:澳門沙梨頭海邊大馬路32號澳華大廈14樓D座。
國籍:中國
活動:商業
申請日期:2005/03/28
產品:包括影印機碳粉、鐵粉、打印機墨盒、粉盒。
商標構成:

顏色之要求:藍色、灰色,如圖所示。
商標編號:N/16538 類別: 20
申請人:Ulferts of Sweden (Far East) Limited, 28th Floor, Emperor Group Centre, 288 Hennessy Road, Wanchai, Hong Kong.
國籍:根據香港法例成立
活動:商業及工業
申請日期:2005/03/29
產品:傢具,彈簧床褥及床上用品(非布製品)。
商標構成:

商標編號:N/16539 類別: 35
申請人:Ulferts of Sweden (Far East) Limited, 28th Floor, Emperor Group Centre, 288 Hennessy Road, Wanchai, Hong Kong.
國籍:根據香港法例成立
活動:商業及工業
申請日期:2005/03/29
服務:批發及零售傢具,彈簧床褥及床上用品(非布製品)。
商標構成:

商標編號:N/16540 類別: 20
申請人:Ulferts of Sweden (Far East) Limited, 28th Floor, Emperor Group Centre, 288 Hennessy Road, Wanchai, Hong Kong.
國籍:根據香港法例成立
活動:商業及工業
申請日期:2005/03/29
產品:傢具,彈簧床褥及床上用品(非布製品)。
商標構成:

商標編號:N/16541 類別: 35
申請人:Ulferts of Sweden (Far East) Limited, 28th Floor, Emperor Group Centre, 288 Hennessy Road, Wanchai, Hong Kong.
國籍:根據香港法例成立
活動:商業及工業
申請日期:2005/03/29
服務:批發及零售傢具,彈簧床褥及床上用品(非布製品)。
商標構成:

商標編號:N/16542 類別: 35
申請人:Ulferts of Sweden (Far East) Limited, 28th Floor, Emperor Group Centre, 288 Hennessy Road, Wanchai, Hong Kong.
國籍:根據香港法例成立
活動:商業及工業
申請日期:2005/03/29
服務:批發及零售傢具,彈簧床褥及床上用品(非布製品)。
商標構成:

商標編號:N/16543 類別: 20
申請人:Ulferts of Sweden (Far East) Limited, 28th Floor, Emperor Group Centre, 288 Hennessy Road, Wanchai, Hong Kong.
國籍:根據香港法例成立
活動:商業及工業
申請日期:2005/03/29
產品:傢具,彈簧床褥及床上用品(非布製品)。
商標構成:

商標編號:N/16544 類別: 3
申請人:Pro-Line International, Inc., 2121 Panoramic Circle, Dallas, Texas 75212, E.U.A.
國籍:美國
活動:商業及工業
申請日期:2005/03/29
產品:護理頭髮用製劑。
商標構成:

商標編號:N/16545 類別: 3
申請人:Pro-Line International, Inc., 2121 Panoramic Circle, Dallas, Texas 75212, E.U.A.
國籍:美國
活動:商業及工業
申請日期:2005/03/29
產品:護理頭髮用製劑。
商標構成:

商標編號:N/16546 類別: 3
申請人:Pro-Line International, Inc., 2121 Panoramic Circle, Dallas, Texas 75212, E.U.A.
國籍:美國
活動:商業及工業
申請日期:2005/03/29
產品:護理頭髮用製劑。
商標構成:

商標編號:N/16547 類別: 3
申請人:Pro-Line International, Inc., 2121 Panoramic Circle, Dallas, Texas 75212, E.U.A.
國籍:美國
活動:商業及工業
申請日期:2005/03/29
產品:護理頭髮用製劑。
商標構成:

商標編號:N/16548 類別: 24
申請人:YKK CORPORATION, 1, Kanda Izumi-cho, Chiyoda-Ku, Tóquio, Japão.
國籍:日本
活動:商業及工業
申請日期:2005/03/29
產品:緊身寬的織物,織造的布,棉布,經編針織物(布料),彈性布,羊毛布,非布料紡織材料。
商標構成:

商標編號:N/16549 類別: 36
申請人:United Way Investments Limited, P. O. Box 3136, Road Town, Tortola, British Virgin Islands.
國籍:英屬處女島
活動:商業及工業
申請日期:2005/03/29
服務:不動產服務,尤指不動產管理,不動產代理,產權管理及與不動產有關的顧問服務。
商標構成:

商標編號:N/16550 類別: 36
申請人:United Way Investments Limited, P. O. Box 3136, Road Town, Tortola, British Virgin Islands.
國籍:英屬處女島
活動:商業及工業
申請日期:2005/03/29
服務:不動產服務,尤指不動產管理,不動產代理,產權管理及與不動產有關的顧問服務。
商標構成:

商標編號:N/16556 類別: 29
申請人:Dr August Oetker Nahrungsmittel KG, LutterstraBe 14, 33617 Bielefeld, Germany.
國籍:德國
活動:商業及工業
申請日期:2005/03/30
產品:使用於製造奶油、奶油夸克、奶油布丁、奶油酸乳酪及蛋奶甜食的主要含有濃縮果汁、水果和果膠或其他有關元素之水果製劑;預製甜品,如:奶油布丁、奶油酸乳酪、奶油水果、奶油夸克、奶油及蛋奶甜食,包括配備調味汁用粉或預製調味汁之上述包裝產品;含有芳香劑、變濃劑及增甜劑的預製夸克甜品用粉;製果凍、烘烤堅果仁甜品用的布丁粉及有關產品;花生,棕櫚仁,開心果,杏仁及腰果;烘烤大豆;主要含有植物油脂、糖及/或蜂蜜及/或奶成份及/或糖漿及/或胡桃蜜餞及/或水果及/或與花生一起製成的水果精及/或整個的堅果及/或花生及/或大豆及/或維生素及/或卵磷脂及其他芳香劑和添加劑的鬆脆片、堅果奶油糊及奶油糊;水果及蔬菜製劑,包括乾製、保存裝或冷凍形式的水果及蔬菜製劑;湯及湯料製劑,包括乾製、保存裝或冷凍形式的湯及湯料製劑;水果湯,湯用添加劑;馬鈴薯球,炸薯條,食物用馬鈴薯片,食物用烘烤或非烘烤炸薯條,製馬鈴薯球用粉;冷凍預製食物及餐食,其主要含有肉、肉和魚製產品、預製魚和海產、肉、家禽、蔬菜、水果、添加蔬菜,包括蔬菜餡及/或水果及/或馬鈴薯,包括預製馬鈴薯,並包括保存裝或冷凍形式的上述產品;果凍布丁粉,酸甜湯粉,食物用膠狀元素,食用凍兒,液體食用噴塗物或油脂及蛋糕用乳劑,冷凍水果及蔬菜,冷凍魚,冷凍馬鈴薯球,冷凍炸薯條,夸克甜品,預製奶油,鮮奶酪及夸克,包括預製鮮奶酪及夸克; 榲桲果醬及果醬,奶油,乳脂、包括帶有香草及香料的乳脂,酸乳酪、包括帶有水果的酸乳酪,粉狀啫喱製劑,果膠及鮮奶酪;含有乾果的食物,尤指含有橙皮及檸檬皮的食物;以水果為主的 啫喱材料,如:以水果為主的啫喱粉,流質、粉狀及糊狀的果膠,藻酸鹽,瓊脂,角豆樹膠及蔬菜凍;保存裝的水果及蔬菜,魚,肉及果凍,水果精,主要含有蔬菜油脂及奶成份的蛋糕用發酵或非發酵奶油;製甜品用奶油;盡可能包括上述所有產品之營養食品或適用於節食的食品,或含低卡路里及碳水化合物的食品,包括上述之有關冷藏或冷凍產品。
商標構成:

商標編號:N/16557 類別: 30
申請人:Dr August Oetker Nahrungsmittel KG, LutterstraBe 14, 33617 Bielefeld, Germany.
國籍:德國
活動:商業及工業
申請日期:2005/03/30
產品:預製甜品,如:奶油布丁,包括配備調味汁用粉或預製調味汁之上述包裝產品;焗製蛋糕及餡餅用製劑,尤指糖皮,製餡餅用輔助製劑,餡餅餡料用合成製劑,使餡餅底部變硬用製劑;烘烤用混合物;製奶油布丁、奶油甜品、攪拌乳脂甜品、泡沫奶油甜品及其他種類的布丁甜品之布丁粉及有關產品;半預製糕點,如與蛋及/或奶合成的混合物,調味用香料,藥草,調味品,辣味鹽及固體或液體狀的調味料,糕點及糖果,巧克力產品及糖果,蓋有糖的堅果仁,花生,棕櫚仁,開心果,杏仁及腰果;蓋有糖的葡萄乾,蓋有糖的淡黃葡萄乾,爆玉米花,玉米片及其他種類的穀物片,澱粉穀粒、麵粉及動物蛋白的小吃;主要由植物油脂、糖及/或蜂蜜及/或奶成份及/或糖漿及/或胡桃蜜餞及/或可可及/或可可精及/或維生素及/或卵磷脂及/或玉米及其他芳香劑製成的奶油糊;糕點,尤指鹹餅乾及調味餅乾;穀類食品,主要為透過膨化或烤或烘的穀類食品,尤指即食穀類食品及添加有糖及/或蜂蜜及/或可可及/或水果及/或巧克力及/或堅果的棒狀穀類產品;瑞士式麥片,如主要含有穀物片及乾果的混合食品;液體或糊狀的蛋糕用奶油;湯用添加劑;醬汁及醬汁製劑,包括沙律醬,並包括上述乾製、保存裝或冷凍形式產品用的醬汁;餃子,印度式角仔,如帶餡料及油炸糕點產品,麵團;食用冰,冷凍預製食物及餐食,其主要含有穀類、麵團、包括帶餡料麵團、及/或調味用香料及/或醬汁、米飯及/或蔬菜、包括預製蔬菜,並包括上述保存裝或冷凍形式的產品;糖皮,醬汁用粉,包括沙律醬汁用粉,奶油粉,烘烤用粉(發酵粉),鮮酵母,香子蘭糖,製芝士蛋糕用製劑,如帶有芳香劑及/或添加色素的植物性變濃元素及果膠配製的製劑;其他非精油的蛋糕用油及芳香劑,攪拌乳脂用凝固元素,餡餅用奶油粉,食物用澱粉,食用冰用粉,防腐劑,如保存食品用製劑,碳酸氫鈉,蜂蜜,轉化糖奶油,防腐糖,茶粉,即用茶粉,冰茶粉;意大利式烤餡餅;食品用果膠及防腐劑;盡可能包括上述所有產品之營養食品或適用於節食的食品,或含低卡路里及碳水化合物的食品,包括上述所有之冷藏或冷凍產品。
商標構成:

商標編號:N/16558 類別: 16
申請人:STEP TWO, S.A., Plataforma Logística Plaza / Avenida Sexta, 4 (Imaginarium) 50197 Zaragoza, Spain.
國籍:西班牙
活動:商業及工業
申請日期:2005/03/30
產品:不屬別類的紙及紙製品;不屬別類的紙板及紙板製品;印刷品,出版物(報章、雜誌及書籍);裝訂書籍用品;照片;文具;文具或家庭用黏合物質;打字機及辦公室用品(傢具除外);教育及教學材料(儀器除外);印刷鉛字及印版;包裝用塑膠材料(不屬別類);書籍、故事、喜劇(連環圖),學校材料,記事本,墨水瓶,美術材料,繪畫用架,顏料畫筆及塑製材料。
商標構成:

顏色之要求:如提交圖樣所示的藍色及白色。
商標編號:N/16559 類別: 28
申請人:STEP TWO, S.A., Plataforma Logística Plaza / Avenida Sexta, 4 (Imaginarium) 50197 Zaragoza, Spain.
國籍:西班牙
活動:商業及工業
申請日期:2005/03/30
產品:娛樂品及玩具(遊戲用的東西);洋娃娃,紙牌,不屬別類的體育及運動用品;聖誕樹用裝飾品。
商標構成:

顏色之要求:如提交圖樣所示的藍色及白色。
商標編號:N/16560 類別: 35
申請人:STEP TWO, S.A., Plataforma Logística Plaza / Avenida Sexta, 4 (Imaginarium) 50197 Zaragoza, Spain.
國籍:西班牙
活動:商業及工業
申請日期:2005/03/30
服務:零售及/或透過全球電腦網絡零售娛樂品,玩具(遊戲用的東西),花園傢具套裝,背包,學校材料,歷史書籍及文具,成衣及兒童服,眼鏡及望遠鏡,電子遊戲,電腦及電腦用配件及所有種類的電腦遊戲;廣告服務,顧問服務及於商業管理的支援服務;與特許經營有關的商業管理支援;出入口,市場研究及調查。
商標構成:

顏色之要求:如提交圖樣所示的藍色及白色。
商標編號:N/16561 類別: 9
申請人:Good Year Profits Limited, Offshore Incorporations Limited, P. O. Box 957, Offshore Incorporations Centre, Road Town, Tortola, British Virgin Islands.
國籍:英屬處女島
活動:商業及工業
申請日期:2005/03/30
產品:科學、航海、測地、電動、攝影、電影、光學、衡具、量具、信號、檢驗(監督)、救護(營救)和教學用具及儀器,錄製、傳送,重放聲音或影像的器具;磁性數據載體,視聽碟,自動售貨器和投幣啟動裝置的機械結構,現金收入記錄機,計數機及資料處理裝置,滅火器械。
商標構成:

商標編號:N/16562 類別: 14
申請人:Good Year Profits Limited, Offshore Incorporations Limited, P. O. Box 957, Offshore Incorporations Centre, Road Town, Tortola, British Virgin Islands.
國籍:英屬處女島
活動:商業及工業
申請日期:2005/03/30
產品:貴金屬及其合金以及不屬別類的貴金屬製品或鍍有貴重金屬的物品,珠寶,首飾,寶石,鐘錶和計時儀器。
商標構成:

商標編號:N/16563 類別: 18
申請人:Good Year Profits Limited, Offshore Incorporations Limited, P. O. Box 957, Offshore Incorporations Centre, Road Town, Tortola, British Virgin Islands.
國籍:英屬處女島
活動:商業及工業
申請日期:2005/03/30
產品:皮革及人造皮革,不屬別類的皮革及人造皮革製品;動物皮;旅行箱及手提箱;雨傘,陽傘及手杖,鞭;馬具及鞍具。
商標構成:

商標編號:N/16564 類別: 32
申請人:李錦洪,場所:澳門沙梨頭南街159運順新邨C座22樓AP。
國籍:中國
活動:商業
申請日期:2005/03/30
產品:礦泉水,蒸餾水,純淨水。
商標構成:

顏色之要求:黃色、綠色、白色。
商標編號:N/16565 類別: 29
申請人:Société des Produits Nestlé S.A., Vevey, Switzerland.
國籍:瑞士
活動:商業及工業
申請日期:2005/03/30
產品:蔬菜及馬鈴薯(保存裝、乾製或煮熟),水果(保存裝、乾製或煮熟),冬菇(保存裝、乾製或煮熟),肉、家禽、野味、魚及海貝類,所有這些產品亦具有濃縮、湯、肉凍、漿狀、保存裝、即食菜餚、冷凍或脫水的形式;蜜餞水果;蛋;奶油,黃油,奶酪及其他以奶為主的食物製劑;奶代用品;以奶為主的飲料;以奶為主及以奶油為主的甜品;乳酪;豆奶(奶代用品),以大豆為主的製劑;食用油及油脂;人類食物用蛋白質製劑;非乳製品奶油;香腸;肉腸;花生醬;湯,濃縮湯,肉湯,湯料精粒,肉羹,清燉肉/雞湯。
商標構成:

商標編號:N/16566 類別: 30
申請人:Société des Produits Nestlé S.A., Vevey, Switzerland.
國籍:瑞士
活動:商業及工業
申請日期:2005/03/30
產品:咖啡,咖啡精,以咖啡為主的製劑及飲料,冰鎮咖啡;咖啡代用品,咖啡精代用品,以咖啡代用品為主的製劑及飲料;可即時飲用的咖啡飲料;菊苣;茶,茶精,以茶為主的製劑及飲料;冰茶,以大麥芽為主的製劑;可可及以可可為主的製劑及飲料;巧克力,巧克力產品,以巧克力為主的製劑及飲料;糖果,甜食,糖塊;口香糖;天然增甜劑;麵包製品,麵包,酵素,糕點,餅乾,蛋糕,硬餅乾,威化餅,奶油太妃糖,布丁;雪糕,水冰,冰淇淋,冷凍糖果,冷凍蛋糕,軟冰,冷凍甜品,冷凍酸奶酪;製雪糕及/或水冰及/或冰淇淋及/或冷凍糖果及/或冷凍蛋糕及/或軟冰及/或冷凍甜品及/或冷凍酸奶酪用的黏合料;蜂蜜及蜂蜜代用品;早餐用的穀物,瑞士式麥片,玉米片,穀類製棒,即食穀類;穀類製劑;米,麵團,麵條;以米、麵粉或穀類為主的食品,亦具有即食菜餚的形式;意大利式烤餡餅,三文治;烘烤好的食用漿料與攙和過的麵粉混合物製食品;醬汁;醬油;蕃茄醬;食物用的調味芳香劑或調味品,食用調味香料,調味品,沙律醬,蛋黃醬;芥末;醋。
商標構成:

商標編號:N/16567 類別: 32
申請人:Société des Produits Nestlé S.A., Vevey, Switzerland.
國籍:瑞士
活動:商業及工業
申請日期:2005/03/30
產品:啤酒,水,泡沫水或碳酸水,處理過的水,源水,礦泉水,香味水;帶水果香味或以水果為主的飲料,水果汁及蔬菜汁,果蜜,檸檬水,梳打水及其他不含酒精飲料;製不含酒精飲料用的糖漿、提取液及精華液和其他製劑(精油除外);帶乳的發酵飲料;以大豆為主的飲料;以麥芽為主的飲料;等滲飲料。
商標構成:

商標編號:N/16568 類別: 36
申請人:VISA INTERNATIONAL SERVICE ASSOCIATION, 900 Metro Center Boulevard, Foster City California 94404, U.S.A.
國籍:美國德拉瓦州
活動:商業
申請日期:2005/03/30
服務:保險;金融貿易;貨幣貿易;不動產貿易。
商標構成:

商標編號:N/16569 類別: 7
申請人:黃逢旺,場所:澳門沙梨頭海邊大馬路32號澳華大廈14樓D座。
國籍:中國
活動:商業
申請日期:2005/03/31
產品:感光鼓。
商標構成:

顏色之要求:藍色、灰色,如圖所示。
商標編號:N/16570 類別: 35
申請人:FRUIT OF THE LOOM, INC., One Fruit of the Loom Drive, P. O. Box 90015, Bowling Green, KY 42102-9015, United States of America.
國籍:美國
活動:商業及工業
申請日期:2005/03/31
服務:廣告;商業貿易管理;商業行政;辦公室事務;零售服務。
商標構成:

商標編號:N/16571 類別: 35
申請人:FRUIT OF THE LOOM, INC., One Fruit of the Loom Drive, P. O. Box 90015, Bowling Green, KY 42102-9015, United States of America.
國籍:美國
活動:商業及工業
申請日期:2005/03/31
服務:廣告;商業貿易管理;商業行政;辦公室事務;零售服務。
商標構成:

商標編號:N/16572 類別: 1
申請人:BP p.l.c., 1 St. James's Square, London SW1Y 4PD, Inglaterra.
國籍:英國
活動:商業及工業
申請日期:2005/03/31
產品:聚烯屬烴和混合物及其化學改變衍生物,全為化學物質;以所述產品配製的化合物,全用於製造塑料物質及塑料物質製品。
商標構成:

優先權之要求:請求日期:2004/10/05;所屬國:英國;請求編號:2374752。
通知:由呈交澳門特區註冊請求書日期計算三個月期限內,必須附上註冊請求書經認證之副本,作為優先權之依據。
商標編號:N/16573 類別: 17
申請人:BP p.l.c., 1 St. James's Square, London SW1Y 4PD, Inglaterra.
國籍:英國
活動:商業及工業
申請日期:2005/03/31
產品:薄片狀、塊狀、管道狀及管子狀的塑料;半成品塑料產品,其他非包裝用塑料薄膜;製造用壓製塑料;製造用組件及模具;打包及絕緣用材料;非紡織用聚烯屬烴纖維。
商標構成:

優先權之要求:請求日期:2004/10/05;所屬國:英國;請求編號:2374752。
通知:由呈交澳門特區註冊請求書日期計算三個月期限內,必須附上註冊請求書經認證之副本,作為優先權之依據。
商標編號:N/16574 類別: 34
申請人:PARIS TOBACCO LIMITED,場所:香港皇后大道中305-313號永業中心12樓C座。
國籍:根據香港法例成立
活動:商業
申請日期:2005/03/31
產品:煙草、煙具、火柴。
商標構成:

設計及新型之保護
根據經十二月十三日第97/99/M號法令核准之《工業產權法律制度》第十及第一百六十五條之規定,公布下列在澳門特別行政區提出的設計及新型註冊申請,並按照相同法規第一百六十六條,自此公布日起至給予註冊之日止,任何第三人均得提出聲明異議。
設計或新型公佈
設計編號:D/000135
申請日期:2003/10/08
申請人:Sony Computer Entertainment, Inc.
國籍:日本
住址/地址:1-1, Akasaka 7-chome, Minato-ku, Tokyo 107 0052, Japan
標題:相機。
分類:10 - 01
創作人:Andrew HAMILTON
Oliver WRIGHT
Michael HAIGH
優先權日期:2003/04/08
優先權國家/地區:英國
優先權編號:3012084
附圖

設計編號:D/000136
申請日期:2003/10/08
申請人:Sony Computer Entertainment, Inc.
國籍:日本
住址/地址:1-1, Akasaka 7-chome, Minato-ku, Tokyo 107 0052, Japan
標題:相機腳架。
分類:16 - 05
創作人:Andrew HAMILTON
Oliver WRIGHT
Michael HAIGH
優先權日期:2003/04/08
優先權國家/地區:英國
優先權編號:3012083
附圖

設計編號:D/000137
申請日期:2003/10/08
申請人:Sony Computer Entertainment, Inc.
國籍:日本
住址/地址:1-1, Akasaka 7-chome, Minato-ku, Tokyo 107 0052, Japan
標題:相機及腳架。
分類:16 - 01, 05
創作人:Andrew HAMILTON
Oliver WRIGHT
Michael HAIGH
優先權日期:2003/04/08
優先權國家/地區:英國
優先權編號:3012081
附圖

設計編號:D/000145
申請日期:2003/11/12
申請人:Sony Computer Entertainment, Inc.
國籍:日本
住址/地址:2-6-21, Minami-Aoyama, Minato-ku, Tokyo 107-0062, Japan
標題:光碟盒。
摘要:光碟盒是用來容納儲存性光碟,例如儲存包括視頻遊戲軟件在內的電腦程式的光碟,並且該光碟盒可以放入電腦的光碟機、視頻遊戲機以及其他裝置中。
分類:14 - 99
創作人:Teiyu GOTO
優先權日期:2003/05/12
優先權國家/地區:日本
優先權編號:D2003-16985
優先權日期:2003/05/12
優先權國家/地區:日本
優先權編號:D2003-16986
優先權日期:2003/05/12
優先權國家/地區:日本
優先權編號:D2003-16987
附圖

設計編號:D/000146
申請日期:2003/11/27
申請人:Sony Computer Entertainment Inc.
國籍:日本
住址/地址:2-6-21, Minami-Aoyama, Minato-ku, Tokyo 107-0062, Japan
標題:遙控器。
摘要 :該裝置是用來操作或控制各種電子設備,尤其是包括視頻遊戲機、CD 播放機、DVD 播放機、DVD 錄影機和電腦主體等在內的、可以同互聯網連接的運算和控制裝置。
分類:14 - 03
創作人:Hiroshi YASUTOMI
優先權日期:2003/10/06
優先權國家/地區:日本
優先權編號:2003-033612
附圖

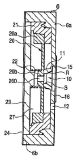
設計編號:D/000147
申請日期:2003/11/27
申請人:Sony Computer Entertainment Inc.
國籍:日本
住址/地址 :2-6-21, Minami-Aoyama, Minato-ku, Tokyo 107-0062, Japan
標題:運算和控制裝置。
摘要 :運算和控制裝置可以作為一個視頻遊戲機,也可以作為一個電腦主體。它可以同互聯網、CD 播放機、DVD 播放機、DVD 錄影機等連接。
分類:14 - 02
創作人:Masakazu KANATANI
Hiroshi YASUTOMI
優先權日期:2003/05/27
優先權國家/地區:日本
優先權編號:2003-018786
優先權日期:2003/05/27
優先權國家/地區:日本
優先權編號:2003-018791
優先權日期 :2003/05/27
優先權國家/地區:日本
優先權編號:2003-018792
優先權日期:2003/05/27
優先權國家/地區:日本
優先權編號:2003-018793
附圖

設計編號:D/000148
申請日期:2004/01/09
申請人:ROLEX SA
國籍:瑞士
住址/地址:3-5-7, rue François-Dussaud, 1211 Genève 24, Switzerland
標題:錶的外圈。
摘要 :é mostrado o formato do bisel para relógio nos desenhos em anexo.
分類:10 - 07
創作人:CALVANI Maria Cristina
優先權日期:2003/07/09
優先權國家/地區:瑞士
優先權編號:129829
附圖


設計編號:D/000149
申請日期 :2004/01/13
申請人:HISAMITSU PHARMACEUTICAL CO., INC.
國籍:日本
住址/地址:408, Tashirodaikan-machi, Tosu-shi, Saga 841-0017, Japan
標題:包裝(包裝盒)。
摘要:este artigo é uma embalagem (caixa para empacotamento) para emplastros médicos ou coisa igual.
分類:09 - 03
創作人:Shigeo KUSUMI
Nobuo TSUTSUMI
Masakazu SHIGHIISHI
附圖

設計編號:D/000150
申請日期:2004/01/15
申請人:ROLEX SA
國籍 :瑞士
住址/地址:3-5-7, rue François-Dussaud, 1211 Genève 24, Switzerland
標題:時間刻度。
摘要 :novos indicadores das horas para mostrador de relógio tendo uma forma rectangular paralelepípeda com uma face superior elevada e dois pinos na sua face posterior, dando estas características um aspecto inovador e original aos indicadores das horas.
分類:10 - 7
創作人:CALVANI Maria Cristina
優先權日期:2003/07/16
優先權國家/地區:瑞士
優先權編號:129872
附圖

設計編號:D/000151
申請日期:2004/01/15
申請人:ROLEX SA
國籍:瑞士
住址/地址:3-5-7, rue François- Dussaud, 1211 Genève 24, Switzerland
標題 :錶殼。
摘要:conforme mostrado nos desenhos, o rebordo no bisel da caixa de relógio tem uma superfície gravada indicando a marca ou similar que será visível pela parte exterior do relógio.
Esta característica dá um aspecto inovador e original à caixa do relógio.
分類:10 - 7
創作人:CALVANI Maria Cristina
優先權日期:2003/07/21
優先權國家/地區:瑞士
優先權編號:129873
附圖

設計編號:D/000152
申請日期:2004/01/28
申請人:HISAMITSU PHARMACEUTICAL CO., INC.
國籍:日本
住址/地址:408, Tashirodaikan-machi, Tosu-shi, Saga 841-0017, Japan
標題:包裝(包裝盒)。
摘要:este artigo é uma embalagem (caixa para empacotamento) para embalagens para cosméticas ou similares.
分類:09 - 03
創作人:Susumu KAWABATA
Shigeo KUSUMI
優先權日期:2003/07/31
優先權國家/地區:日本
優先權編號:2003-025742
附圖

設計編號:D/000153
申請日期:2004/01/30
申請人:HISAMITSU PHARMACEUTICAL CO., INC.
國籍:日本
住址/地址:408, Tashirodaikan-machi, Tosu-shi, Saga 841-0017, Japan
標題:包裝(包裝盒)。
摘要:este artigo é uma embalagem (caixa para empacotamento) para cremes medicinais ou similares.
分類:09 - 03
創作人:Shigeo KUSUMI
Nobuo TSUTSUMI
Masakazu SHIGIISHI
附圖

設計編號:D/000154
申請日期:2004/02/09
申請人:Seiko Epson Corporation
國籍:日本
住址/地址 :4-1, Nishi-Shinjuku 2-chome, Shinjuku-ku, Tokyo, Japan
標題:打印機墨水匣。
摘要:o presente desenho/modelo é uma cassete de tinta para impressora para fornecer tinta a uma impressora e contém um pacote de tinta no interior. A parte de bloqueio do artigo é para evitar soltar-se da impressora. Além disso, é possível adoptar o mecanismo que, ligado a uma película cobre adequadamente a descarga da tinta, no caso do artigo ser montado numa base de cassete, em que uma agulha de fornecimento de tinta ressaltando da impressora fura a película de cobertura e entra na parte que fornece a tinta.
分類:18 - 04
創作人:Taku Ishizawa
Tetsu Nakayama
Takeo Seino
Hitotoshi Kimura
優先權日期:2003/08/08
優先權國家/地區:日本
優先權編號:2003-023182
附圖

設計編號:D/000155
申請日期:2004/02/09
申請人:Seiko Epson Corporation
國籍:日本
住址/地址:4-1, Nishi-Shinjuku 2-chome, Shinjuku-ku, Tokyo, Japan
標題:墨水袋。
摘要:o presente desenho/modelo é um saco de tinta que está cheio de tinta para ser usado numa cassete de tinta.
分類:18 - 04
創作人:Taku Ishizawa
Takeo Seino
Hitotoshi Kimura
優先權日期:2003/08/08
優先權國家/地區:日本
優先權編號:2003-023195
附圖

設計編號:D/000156
申請日期:2004/02/27
申請人:ROLEX SA
國籍:瑞士
住址/地址:3-5-7, rue François-Dussaud, 1211 Genève 24, Switzerland
標題:錶盤。
摘要:conforme indicado nos desenhos, o mostrador é num formato plano e redondo e tem na sua periferia uma escala graduada em preto e doze símbolos protuberantes das horas de forma redonda excepto os símbolos das três, seis e nove horas que são rectangulares e o símbolo das doze horas que é em forma triangular. O símbolo das horas da uma às nove horas tem uma periferia dourada com uma face interior negra, quando os símbolos das dez às doze horas têm uma periferia negra com uma superfície interior branca. O sector anular colorido a vermelho está colocado na zona entre as dez e as doze horas.
Todas estas características dão ao mostrador um aspecto original e inovador.
分類:10 - 07
創作人:CALVANI Maria Cristina
優先權日期:2003/09/02
優先權國家/地區:瑞士
優先權編號:129989
附圖

設計編號:D/000157
申請日期:2004/04/01
申請人:Seiko Epson Corporation
國籍:日本
住址/地址:4-1, Nishi-Shinjuku 2-chome, Shinjuku-ku, Tokyo, Japan
標題:打印機墨水匣。
摘要:o artigo em relação a este modelo é uma cassete de tinta para impressora para fornecer tinta a uma impressora e contém pacotes de tinta para uma variedade de cores no interior. O orifício de absorção do excesso de tinta deste artigo é criado para absorver a tinta libertada de uma cabeça e retornada para a cassete de tinta para manutenção, etc.
分類:18 - 04
創作人:Satoshi Shinada
Taku Ishizawa
Yasuto Sakai
優先權日期:2003/10/02
優先權國家/地區:日本
優先權編號:2003-029077
附圖

發明專利之保護
根據經十二月十三日第97/99/M號法令核准之《工業產權法律制度》第十條及第八十三條之規定,公布下列在澳門特別行政區提出的發明專利註冊申請,並按照相同法規第八十四條,自此公布日起至授予專利之日止,任何第三人均得提出聲明異議。
發明專利公佈
發明專利:I/000105
申請日期:2003/04/15
申請人:Wui Loong System Scaffolds Company Limited
國籍:根據香港法例成立
住址/地址:Pacific Link Tower Southmark, 6th Floor, Room 601-5, 11 Yip Hing Street, Aberdeen, Wong Chuk Hang, Hong Kong
標題:支架連接件。
摘要:一種支架連接件(1),包括主體部分(2)及一覆蓋部件(3),在主體部分(2)與覆蓋部件(3)之間夾着管子。覆蓋部件(3)由閂鎖杆(4)及偏心旋轉組件(5)固定。偏心旋轉組件(5)例如為一曲柄軸(18),其旋轉可使得閂鎖杆(4)被拉向主體部分(2)以將覆蓋部件(3)夾持并定位、或使得閂鎖杆(4)自由懸吊而能夠放在覆蓋部件(3)上或從覆蓋部件(3)上移開。偏心旋轉組件(5)所在的凸緣或臂狀部件(22)可以在長度方向伸出,以便為水平安裝的管子提供支撐面。
分類:E04G7/16
發明人:Yu Shing So
優先權日期:2002/04/18
優先權國家/地區:英國
優先權編號:0208882.1
附圖

發明專利:I/000106
申請日期:2003/05/12
申請人:Dyntek Pte Ltd
國籍:星加坡
住址/地址:28 Sungei Kadut Way, Singapore 729570
標題:支撐元件系統。
摘要:一種支撐元件系統,其包含一組長形元件(2)。每一個長形元件(2)具有一第一末端(53)以及一第二末端和一預定的長度。每一個長形元件(2)的預定長度係與其他每一個的長形元件(2)之預定長度不同。一末端元件(10),其具有一長形元件接合部(12、13)用來與一長形元件(2)之第一末端(53)接合,以及一支撐結構接合部(15)。該支撐結構接合部(15)係用來與一支撐結構(8)接合。該長形元件接合部(12、13)容許從該支撐結構接合部(15)至該長形元件(2)的第二末端的距離可被調整,至少可調整至安置中的鄰近的較長的長形元件 (2) 之長度。
分類:E04B1/00
發明人:Wee Beng NG
Gary Donald WYATT
優先權日期:2002/05/16
優先權國家/地區:新加坡
優先權編號:PCT/SG02/00099
附圖

發明專利:I/000107
申請日期 :2003/06/17
申請人:精工愛普生株式會社
國籍:日本
住址/地址:4-1, Nishi-Shinjuku 2-chome, Shinjuku-ku, Tokyo, 163-0811, Japan
標題:噴墨記錄裝置和墨盒。
摘要:本發明公開了一種墨盒,能夠僅僅通過沿插入方向推入墨盒就能夠可移動地將墨盒保持在墨盒容納部分中。墨盒(5) 安裝在具有墨盒容納部分的托架(4)中。單推型固定件(30)位于與所述墨盒插入墨盒容納部分的插入方向大體平行的平面面對的位置,并與構成與上述單推型固定件接合的另一個單推型固定件的固定凸起(12a)接合,從而墨盒(5)固定保持在預定位置,狀態是墨盒沿與插入方向相對的方向由彈簧(24 彈性地推動)。
分類:B41F31/00
發明人:原田和政
橋井一博
竹內敦彥
優先權日期:2002/06/17
優先權國家/地區:日本
優先權編號:2002-175691
優先權日期:2003/06/13
優先權國家/地區:日本
優先權編號:2003-168570
附圖

發明專利:I/000108
申請日期:2003/08/11
申請人:精工愛普生株式會社
國籍:日本
住址/地址:4-1, Nishi-Shinjuku 2-chome, Shinjuku-ku, Tokyo, 163-0811, Japan
標題:墨盒及記錄裝置。
摘要:本發明提供一種墨盒及記錄裝置。在墨盒(10)內設置對有對存儲器(14)的數據改寫的處理進行控制的存儲器控制部 (15),當由打印機(20)的控制裝置(22)通過無線指示執行改寫墨盒(10)側的存儲器(14)的內容處理(刪除或寫入)時,對於存儲器中的被指定的地址,進行數據的改寫,並且在將該完成的應答(証實)返回時,將與被指定的地址相對應的地址的信息返回。因此,在指示有存儲器 14 的內容改寫的處理的一側,讀出該地址、就可以驗証對正確的地址是否進行了數據的改寫。由此,可充分確保向存儲器的數據寫入的可靠性。
分類:B41F31/00
發明人:朝內昇
優先權日期:2002/08/12
優先權國家/地區:日本
優先權編號:2002-234696
附圖

發明專利:I/000109
申請日期:2003/08/22
申請人:VendingData Corporation
國籍:美國
住址/地址:6830 South Spencer Street, Las Vegas, Nevada 89119, E.U.A.
標題:自動洗牌機。
摘要:一種自動洗牌機包括牌放入單元、牌彈出單元、牌分離和發放單元以及牌收集單元。牌彈出單元把牌從位於放入單元內牌摞中以一張形式彈出。該牌被彈出到保持到牌分離單元入口的止動臂。根據處理器的命令,止動臂升高,使一組牌在下面經過到牌分離和發放單元。一系列旋轉皮帶和輥子動作,使牌分離並把牌單個地推進到收集單元中。略微靠近止動臂前面的浮動柵決定了最小數目的牌同時被管理。洗牌機通過與多個內部傳感器連接的處理單元控制。音頻系統把與洗牌機故障有關的聲音輸出和指令傳遞給操作者。
分類:A63F1/12
發明人:Thompson Baker
Steven J Blad
Lynn Hessing
Phil Price
Carl W Price
優先權日期:2002/08/23
優先權國家/地區:美國
優先權編號:10/226,394
附圖

發明專利:I/000110
申請日期:2003/08/29
申請人:精工愛普生株式會社
國籍:日本
住址/地址:4-1, Nishi-Shinjuku 2-chome, Shinjuku-ku, Tokyo, 163-0811, Japan
標題:墨盒和記錄裝置。
摘要:墨盒包括供墨口,所述供墨口在構造墨水容器體的壁上偏向一側的位置上制成;定位突出部分,該定位突出部分在鄰近壁的兩個相對的壁的一個壁上制成,在支架安裝在記錄裝置上的狀態下,所述壁的上表面和側表面部分被調節在適當的位置;杆,該杆在兩個壁的另一個壁上制成,保持正常的鉸開的狀態并具有一個突出部分,當墨盒安裝在記錄裝置上時,所述突出部分強制地向外移動;和電極,該電極連接至儲存器單元,所述儲存器單元在墨水容器內的墨水上儲存信息并且在定位突出部分上制成。
分類:B41F31/00
發明人:橋井一博
品田聰
坂井康人
原田和政
清木和昭
優先權日期:2002/11/26
優先權國家/地區:日本
優先權編號:2002-341826
優先權日期:2003/03/20
優先權國家/地區:日本
優先權編號:2003-076890
優先權日期:2003/03/20
優先權國家/地區:日本
優先權編號:2003-076891
優先權日期:2003/05/06
優先權國家/地區:日本
優先權編號:2003-128049
優先權日期:2003/07/31
優先權國家/地區:日本
優先權編號 :2003-204804
附圖

發明專利:I/000116
申請日期:2003/11/13
申請人:精工愛普生株式會社
國籍:日本
住址/地址:4-1 Nishi-Shinjuku 2-chome, Shinjuku-ku, Tokyo, 163-0811, Japan
標題:墨盒和調節流體流動的方法。
摘要:本實用新型公開了一種墨盒和調節流體流動的方法。在此墨盒內,負壓產生機構被置於墨水儲存區域和供墨埠之間,並具有帶有用於墨水流動的第一和第二兩個通孔的壁表面,以及通過承受供墨埠一側壓力而與通孔接觸和分離的閥門構件。閥門構件具有第三通孔。經第一通孔流動的墨水通過第二通孔和第三通孔被提供給供墨埠。
分類:B41J2/175
發明人:品田聰
宮澤久
市橋晃
優先權日期:2002/11/13
優先權國家/地區:日本
優先權編號:2002-329062
附圖

發明專利:I/000120
申請日期:2004/03/30
申請人:Santiago Romero
國籍:厄瓜多爾
住址/地址:P.O. Box 6010, Guayaquil, Ecuador
標題:打巴卡拉牌的組件。
摘要:一種打巴卡拉牌的組件用於打各種巴卡拉牌,該打牌組件包括計算機處理器、顯示器和具有至少一個用戶可開動的選擇器的輸入。構造計算機處理器以按照打巴卡拉牌的規則產生一手賭客之牌和一手庄家之牌,根據用戶的選擇,把那兩手牌之一指定為用戶之牌。此外,構造計算機處理器以發出那兩手牌,在每一手牌中有一張牌起初是明牌,由此允許用戶更好地選擇把哪一手牌作為用戶之牌。此外,計算機處理器還對指定是否丟棄那兩手牌中的一張或多張明牌的用戶輸入作出響應,由此增加獲勝的機會。構造計算機處理器以按照打巴卡拉牌的規則確定最終發出的牌中的贏牌,如果用戶之牌也是贏牌,則指出用戶是贏家。此外,構造計算機處理器以監視贏牌的本性和/或監視連續的幾手牌,並且當贏牌總數是自然九點或連續幾手的用戶之牌具有等於自然九點的最終的數目計數時向用戶指出額外支付。
分類:A63F13/00
發明人:Santiago Romero
優先權日期:2003/07/02
優先權國家/地區:美國
優先權編號:10/612,331
附圖

發明專利:I/000121
申請日期:2004/04/14
申請人:BEST PARTNERS WORLDWIDE LIMITED
國籍:根據香港法例成立
住址/地址:香港中環干諾道中168號西翼10樓1010室
標題:一種非可燃性電子噴霧香煙。
摘要:本發明涉及一種不含有害焦油,只含煙碱(尼古丁)的非可燃性電子噴霧香煙。該香煙包括殼體、電池、高頻發生器、煙碱貯液及容器、控制電路、顯示屏、氣流傳感器、人體接觸傳感器、壓電超聲霧化器、高溫氣化噴管及附件組成的煙嘴形整體,安裝在殼體內吸氣端的電熱氣化噴管經電控泵或連有計量腔的閥及與電控泵或閥相連裝有 煙碱溶液的帶單向注液閥的貯液膠囊,控制電路板上的4個輸出端連接高頻發生器、電熱器、泵或閥及顯示屏,一個人體電阻傳感器和一個氣流傳感器連接在控制電路的輸入端。本發明具有的優點是,吸煙無焦油,大大降低致癌風險,使用者仍有吸煙的感覺和興奮,無需點燃,無火災危害。
分類:A24F 47/00
發明人:韓力
優先權日期:2003/04/29
優先權國家/地區:中國
優先權編號:03111582.9
附圖

發明專利:I/000122
申請日期:2004/07/27
申請人:Hutchison Whampoa Three G IP (Bahamas) Limited
國籍:巴哈馬
住址/地址:Offshore Group Chambers, P.O. Box CB-12751, Nassau, New Providence, Bahamas
標題:有效信道容量切換。
摘要:在3G通信系統中,提供了一種控制用戶設備和基站之間的無線電通信信道的方法。使通信信道按照DCH操作進行操作,以允許無線電網絡與用戶設備之間的數據傳送,之後,在數據傳送完成之後的時間間隔的結束,切換為按照 FACH 操作進行操作,所述時間間隔是可變的,並根據所述通信系統中的條件,動態地確定。
分類:H04Q 7/38
發明人:Nektaria Efthymiou
優先權日期:2003/07/28
優先權國家/地區:英國
優先權編號:0317621.1
附圖

發明專利:I/000124
申請日期:2004/09/28
申請人:Hutchison Whampoa Three G IP (Bahamas) Limited
國籍:巴哈馬
住址/地址:Offshore Group Chambers, P.O. Box CB-12751, Nassau, New Providence, Bahamas
標題:通信控制。
摘要:本發明涉及電信網絡,具體地,涉及這種系統中的通信傳輸的調度。
分類:H04L29/06
發明人:Kevan Hobbis
優先權日期:2003/10/03
優先權國家/地區:英國
優先權編號:0323183.4
附圖

實用專利之保護
根據經十二月十三日第97/99/M號法令核准之《工業產權法律制度》第十條及由第一百二十四條而緩引的第八十三條及第八十四條之規定,公布下列在澳門特別行政區提出的實用專利註冊申請,並自此公布日起至授予專利之日止,任何第三人均得提出聲明異議。
實用專利公佈
實用專利編號:U/000005
申請日期:2003/06/06
申請人:珠海查理科技節能環保有限公司
國籍:中國
住址/地址:中國廣東省珠海市情侶南路455 號1幢1單元3B
標題:新型廢熱利用熱水機組。
摘要:新型廢熱利用熱水機組,由第一熱交換器、第二熱交換器和熱水儲水箱組成,第一熱交換器和第二熱交換器的出水口相通接入熱水儲水箱的入水口,熱水儲水箱的出水口接客房送水管道,客房送水管道循環後接第一熱交換器的入水口,自來水接第二熱交換器的入水口。本實用新型安裝在空調機組的冷凝和壓縮機之間,當需要回收冷凝熱時,熱交換器工作、冷凝器不工作,自來水通過第二熱交換器加熱,第一熱交換器進行再加熱,既保證了壓縮機正常工作,同時又實現了冷凝熱的全部回收利用,本實用新型特別適合酒店,賓館安裝使用。
分類:F24F12/00
發明人:趙汝文
張應華
附圖

實用專利編號:U/000006
申請日期:2003/10/28
申請人:HENNIGE, Hartmut
國籍:英國
住址/地址:23 Packman Lane, Home Green Kirk Ella, Hull, HU10 7th, N. Humberside, Great Britain
標題:遊戲卡及手提插卡遊戲機。
摘要:一個遊戲裝置包括一張遊戲卡和一個手提插卡遊戲機,用作啟動一個遊戲或機率。遊戲卡(1)包括卡的本體(2),以及一個載有預先設定的遊戲資料“如遊戲類型、遊戲結果和遊戲致勝編碼”微晶片(3)。手提插卡遊戲機(4)有一個讓遊戲卡(1) 揗插入的部分(6),一個顯示屏(7)、以及一個閱讀遊戲資料和根據遊戲規則在顯示屏(7)上模擬一個遊戲的電子數據處理器。
分類:A63F13/00 A63F3/08
發明人:HENNIGE, Hartmut
優先權日期:2003/06/20
優先權國家/地區:中國香港
優先權編號:03104441.4
附圖

實用專利編號:U/000007
申請日期 :2003/12/12
申請人:王軍海
國籍:中國
住址/地址 :廣東省佛山市順德區大良國際商業城 B 區3 座3 層110 號
標題:排水井的環保用密封裝置。
摘要:本實用新型涉及一種城市排水井及其格柵的附件,尤其是一種環保用密封裝置,本裝置能克服現有排水井存在的缺陷,安裝于排水井格柵下面能防止井內臭氣擴散及害蟲孳生,但不會影響排放積水的功能。本裝置通過多個吊掛件、側壁、底兜、活門等構件組成,吊掛于排水井格柵下面,從而實現上述功能。
分類:E05F5/04 E05F5/06
發明人:王軍海
優先權日期:2003/04/20
優先權國家/地區:中國
優先權編號:03225397.4
附圖

實用專利編號:U/000008
申請日期 :2004/03/10
申請人:袁仕杰
國籍:中國
住址/地址:香港九龍官塘開源道 45 號有利中心 6 字樓
標題:新型光電子空氣淨化器。
摘要:本發明是一種光電子殺菌殺病毒殺霉菌兼離子空氣等的空氣淨化器,此空氣淨化器利用極端紫外放射光線,能消減空氣中的細菌、病毒和霉菌等,同時可增加環境下的負離子量,這是兩種不斷循環交替的工作方式,第一種是間歇性的負極高電壓輸出經碳化纖維線放電,產生離空氣產生負離子由風扇吹出;第二種是間歇性地點燃極端紫外放射光線消減空氣中的細菌、病毒和霉菌,並且,本發明也可提供使用者選擇以第一種或以第二種獨立連續不間斷地運作,此空氣淨化器是以機體內的風扇運作,使空氣抽入空氣淨化器內,再經過極端紫外放射光線管產生的 253.7 納米波長的極端紫外放射光線,及離子空氣淨化器的運作由出氣口排放已被消減細菌、病毒和霉菌的新鮮空氣。
分類:A61L9/20 F24F3/16
發明人:袁仕杰
優先權日期:2003/05/30
優先權國家/地區 :中國
優先權編號:03 140563.0
優先權日期:2003/05/30
優先權國家/地區:中國
優先權編號:03 265837.0
附圖

根據經十二月十三日第97/99/M號法令核准之《工業產權法律制度》第十條第一款d)項、第二款及第二百七十五條至第二百七十七條之規定,可於本公佈日起計一個月期限內就下列批示向初級法院提起上訴。
商標之保護
批給
- 1 不批給“PREMIER WINE BANK”詞語的專屬使用權利。
- 2 不批給“美酒珍藏”詞語的專屬使用權利。
- 3 不批給“PRODUCTS”詞語的專屬使用權利。
- 4 不批給“制品”詞語的專屬使用權利。
- 5 不批給“專保小兒平安,鷓鴣菜,能除小兒腸蟲”詞語的專屬使用權利。
- 6 不批給“HEALTH & BEAUTY”詞語的專屬使用權利。
- 7 不批給“瑞士,酒店”詞語的專屬使用權利。
- 8 不批給“JEWELRY”詞語的專屬使用權利。
- 9 不批給“WATCH STATION”詞語的專屬使用權利。
- 10 不批給“名錶店”詞語的專屬使用權利。
- 11 不批給“SUN-DRIED SIDAMO”詞語的專屬使用權利。
- 12 不批給“COFFEE”詞語的專屬使用權利。
- 13 不批給“餅屋,CAKE SHOP LTD”詞語的專屬使用權利。
續展
附註
附註
拒絕
宣佈失效之申請
聲明異議
聲明異議之答辯
不獲批准之申請
*續展之申請
批給
* 不批給“HOTEL, MACAU, 酒店,澳門”詞語的專屬使用權利。
拒絶
附註
更 正
2004年11月3日第44期,第二組之《澳門特別行政區公報》:
商標編號N/12686,N/12687及N/12688——註冊日期及批示日期,原文為:“2004/09/03”;
應改為:“2004/09/23”;
應申請人之要求,更正如下:
1989年3月6日第10期,《澳門政府公報》:
商標編號4439-M——申請人原文為:“Laboratorires Decleor S.A.”;
應改為:“Laboratoires Decleor”;
1989年6月7日,《澳門政府公報》(第二期副刊)第23期:
商標編號6242-M,6243-M,6244-M,6245-M及6246-M——申請人原文為:“Hitachi, Limited”;
應改為:“Kabushiki Kaisha Hitachi Seisakusho (que comercialmente também usa Hitachi, Ltd.)”;
1989年9月6日,《澳門政府公報》(副刊)第36期:
商標編號7486-M及7487-M——申請人原文為:“The Coca-Cola Export Corporation”;
應改為:“The Coca-Cola Export Corporation, uma sociedade organizada e existindo segundo as leis do Estado de Delaware, E.U.A.”;
1989年10月4日,《澳門政府公報》(第二期副刊)第40期:
商標編號7889-M——地址,原文為:“Immeuble «Le Neptune», Boulevard du Bord de Mer, Monaco”;
應改為:““Le Neptune”, Avenue Prince Hereditaire Albert, MC-98000 Monaco, Monaco”;
2004年10月6日第40期,第二組之《澳門特別行政區公報》:
商標編號N/14597——在產品列上除去:“…葡萄酒,…蘋果酒,…”;
2005年1月5日第1期,第二組之《澳門特別行政區公報》:
商標編號N/15536——商標圖案改為:

2005年2月2日第5期,第二組之《澳門特別行政區公報》:
商標編號N/15640——商標圖案改為:

二零零五年四月十四日於經濟局
代局長 蘇添平
———
刊登於二零零五年三月二日第九期第二組《澳門特別行政區公報》有不正確之處,現重新刊登如下:
商標編號:N/15840 類別: 9
申請人:Intel Corporation, 2200 Mission College Boulevard, Santa Clara, California, 95052-8119 U.S.A.
國籍:美國
活動:商業及工業
申請日期:2005/01/12
產品:處理數據用硬件,電腦,電腦用硬件,半導體,微處理器及其它半導體裝置,通訊及工作網絡的半導體,集成電路,電腦用晶片座,電腦用母板及子板,微型電腦,軟件的可編程處理器,電腦用韌件及電腦的操作系統用軟件,通訊及工作網絡用軟件,有線及無線調制解調器,工作網絡用接合器及工作網絡用接合卡。
商標構成:

























































