Número 10
II
SÉRIE
Quarta-feira, 5 de Março de 2008
DIRECÇÃO DOS SERVIÇOS DE ECONOMIA
Aviso
Protecção de marcas
N/28 292 ... N/32 594 - N/32 595 ... N/33 158
Marca n.º N/32 595 Classe 9.a
Requerente: CISCO TECHNOLOGY, INC., 170 West Tasman Drive, San Jose, California 95134, United States of America.
Nacionalidade: americana
Actividade: comercial e industrial
Data do pedido: 2007/11/23
Produtos: aparelhos eléctricos e científicos; hardware e software para computadores para interligar, gerir, assegurar e operar redes globais e sistemas de telefonia, telefones; aparelhos de telefone; dispositivos electrónicos para comunicações, nomeadamente assistentes pessoais digitais, pagers e computadores móveis; dispositivos sem fios para comunicações, nomeadamente sistema área de rede local sem fios (LAN hardware e software para transmissão de voz, de dado, áudio e vídeo traffic); descarregável material de instrução, nomeadamente manuais, guias, material de ensino e revistas no sector de redes de comunicações e gestão, operação e uso redes locais, alargadas e globais, e sistemas cabos televisões; televisões; stereos; DVD leitores; CD leitores; electrónicos consumer; encaminhadores; gateways; interruptores; rede Acess renge expanders; câmaras vídeo Internet; servers para print; comunicações terminals incluindo hardware e/ou software informático para fornecimento de vídeo, áudio, de dado, jogos de vídeo e comunicações telefone e/ou transmissões; rede dispositivos de armazenamento; comprised de hardware e/ou software informático; interfaces para interconnecting computadores; projectores, sistemas stereo, jogos consolas, aparelhos e/ou outros dispositivos electrónicos; dispositivos para gravação, organização, transmissão, e reviewing audio files; hardware para computador; rede placas de interface; redes cabos; adaptadores para redes de computadores; servers; hardware para computador containing network security functionality, incluindo firewalls, data criptografia de dados e/ou interoperabilidade com protocolos de segurança de rede; software e hardware para computadores para enviar, armazenamento, gestão, integração e acesso a mensagens de texto e voz via telefone, correio electrónico, pagers, assistentes pessoais digitais e redes informáticas internas e globais; gravadores de vídeo digitais; receptores/descodificadores integrados; unidades de televisão por cabo; hardware e software para uso em sistemas de televisão por cabo, contendo sistemas de distribuição, e sistemas de comunicação.
A marca consiste em:

Marca n.º N/32 596 Classe 16.a
Requerente: CISCO TECHNOLOGY, INC., 170 West Tasman Drive, San Jose, California 95134, United States of America.
Nacionalidade: americana
Actividade: comercial e industrial
Data do pedido: 2007/11/23
Produtos: livros e manuais relacionados com a interligação, gestão e operação de redes de área local e alargada; manuais de computadores para redes informáticas; materiais de instrução impressos, nomeadamente livros, manuais, guias, materiais de testes e revistas no sector de redes de comunicações, gerindo, operando e usando redes locais, alargadas e globais, e sistemas de televisão por cabo; manuais técnicos; empacotamento; etiquetas.
A marca consiste em:

Marca n.º N/32 597 Classe 36.a
Requerente: CISCO TECHNOLOGY, INC., 170 West Tasman Drive, San Jose, California 95134, United States of America.
Nacionalidade: americana
Actividade: comercial e industrial
Data do pedido: 2007/11/23
Serviços: serviços de financiamento para o aluguer ou compra de hardware e software informáticos.
A marca consiste em:

Marca n.º N/32 598 Classe 38.a
Requerente: CISCO TECHNOLOGY, INC., 170 West Tasman Drive, San Jose, California 95134, United States of America.
Nacionalidade: americana
Actividade: comercial e industrial
Data do pedido: 2007/11/23
Serviços: serviços de telecomunicações; serviços on-line, nomeadamente fornecendo informações via redes informáticas locais e globais nos sectores de telecomunicações e telefonia; transmissão de programas via redes informáticas; fornecimento de serviços de conferência por telefone; fornecimento de serviços de conferência por vídeo; mensagens de voz electrónicas, nomeadamente a gravação e subsequente transmissão de mensagens por voz; fornecimento de serviços de telecomunicações, nomeadamente serviços de conferência por rede; serviços de telefonia; fornecimento de consultas técnicas em relação com sistemas de telefonia, equipamentos de telecomunicações, protocolos de telefonia de Internet (IP) e sistemas de telecomunicações e comunicações com voz e sem fios.
A marca consiste em:

Marca n.º N/32 599 Classe 42.a
Requerente: CISCO TECHNOLOGY, INC., 170 West Tasman Drive, San Jose, California 95134, United States of America.
Nacionalidade: americana
Actividade: comercial e industrial
Data do pedido: 2007/11/23
Serviços: serviços de apoio ao cliente relacionados com hardware e software para uso na interligação, gestão e operação de redes de área local e global, nomeadamente design de redes informáticas, serviços de consultoria informática, actualização de software informático, análise de sistemas informáticos, sistemas de televisão por cabo, e serviços de engenharia; prestação de consultoria técnica em relação a hardware informático, software informático, equipamento de redes informáticas, sistemas de telefonia, equipamento de telecomunicações, telefonia IP, e sistemas de telecomunicações, design de redes informáticas, design de armazenamento, segurança de redes, fornecimento de serviços de pedidos (ASP), nomeadamente acolher os pedidos de software para terceiros; serviços de consultoria informática; design de redes informáticas para terceiros; serviços on-line, nomeadamente fornecimento de informações através de redes informáticas nos sectores de redes informáticas, sistemas informáticos, sistemas de televisão por cabo, comércio on-line, consulta e pesquisa técnica, e design de sistemas; fornecimento de serviço de pedidos (ASP) com software nos sectores de audioconferência, mensagens electrónicas, colaboração documental, videoconferência e processamento de voz e chamadas; consultoria informática; fornecimento de informações on-line através de uma rede informática nos sectores informáticos e seguranças de redes.
A marca consiste em:

Marca n.º N/32 600 Classe 45.a
Requerente: CISCO TECHNOLOGY, INC., 170 West Tasman Drive, San Jose, California 95134, United States of America.
Nacionalidade: americana
Actividade: comercial e industrial
Data do pedido: 2007/11/23
Serviços: controlo de sistemas e redes informáticos para fins de segurança.
A marca consiste em:

Marca n.º N/32 601 Classe 36.a
Requerente: CISCO TECHNOLOGY, INC., 170 West Tasman Drive, San Jose, California 95134, United States of America.
Nacionalidade: americana
Actividade: comercial e industrial
Data do pedido: 2007/11/23
Serviços: serviços de financiamento para o aluguer ou compra de hardware e software informáticos.
A marca consiste em:

Marca n.º N/32 614 Classe 28.a
Requerente: Aristocrat Technologies Australia Pty Ltd, 71 Longueville Road, Lane Cove, New South Wales 2066, Australia.
Nacionalidade: australiana
Actividade: comercial e industrial
Data do pedido: 2007/11/26
Produtos: máquinas de jogo e de póquer electrónicas, caça-níqueis para o jogo; máquinas de jogo e de póquer ligadas electronicamente.
A marca consiste em:

Data de prioridade: 2007/07/06; País/Território de prioridade: Austrália; n.º de prioridade: 1185956.
Marca n.º N/32 627 Classe 5.a
Requerente: BAYER AKTIENGESELLSCHAFT, D-51368 Leverkusen, Alemanha.
Nacionalidade: alemã
Actividade: comercial e industrial
Data do pedido: 2007/11/26
Produtos: preparações farmacêuticas e veterinárias; preparações higiénicas para fins medicinais; substâncias dietéticas para uso medicinal; desinfectantes; produtos para a eliminação de ervas daninhas e para a destruição de animais nocivos, insecticidas, herbicidas, fungicidas.
A marca consiste em:

Reivindicação de cores: verde (pantone 368); azul (pantone process blue) e cinzento (pantone cool grey 5).
Marca n.º N/32 628 Classe 31.a
Requerente: BAYER AKTIENGESELLSCHAFT, D-51368 Leverkusen, Alemanha.
Nacionalidade: alemã
Actividade: comercial e industrial
Data do pedido: 2007/11/26
Produtos: produtos agrícolas, hortícolas e florestais e grãos (incluídos na classe 31.a); sementes; alimentos para animais e aditivos alimentares.
A marca consiste em:

Reivindicação de cores: verde (pantone 368); azul (pantone process blue) e cinzento (pantone cool grey 5).
Marca n.º N/32 629 Classe 14.a
Requerente: The Swatch Group Management Services AG, Seevorstadt 6, 2502 Biel/Bienne, Suíça.
Nacionalidade: suíça
Actividade: comercial e industrial
Data do pedido: 2007/11/26
Produtos: metais preciosos, em bruto ou semimanufacturados; ligas de metal precioso; produtos em metais preciosos ou em plaqué; joalharia; pedras preciosas; relojoaria; mecanismos de relojoaria; instrumentos cronométricos; relógios.
A marca consiste em:

Marca n.º N/32 630 Classe 35.a
Requerente: The Swatch Group Management Services AG, Seevorstadt 6, 2502 Biel/Bienne, Suíça.
Nacionalidade: suíça
Actividade: comercial e industrial
Data do pedido: 2007/11/26
Serviços: publicidade; assistência na gestão de negócios; promoção de vendas (para terceiros); escritórios de importação e exportação; recrutamento de pessoal; serviços de transferência de instalações de empresas; serviços de secretariado; serviços de contabilistas; contabilidade; aluguer de distribuidores automáticos.
A marca consiste em:

Marca n.º N/32 631 Classe 37.a
Requerente: The Swatch Group Management Services AG, Seevorstadt 6, 2502 Biel/Bienne, Suíça.
Nacionalidade: suíça
Actividade: comercial e industrial
Data do pedido: 2007/11/26
Serviços: reparação e manutenção de relógios e joalharia.
A marca consiste em:

Marca n.º N/32 632 Classe 41.a
Requerente: Cheng Hung Ho, Sede: 澳門馬德里街環宇豪庭第3座13樓O。
Nacionalidade: chinesa
Actividade: comercial
Data do pedido: 2007/11/26
Serviços: fornecimento de instalações para casino (jogo).
A marca consiste em:

Marca n.º N/32 633 Classe 41.a
Requerente: Cheng Hung Ho, Sede: 澳門馬德里街環宇豪庭第3座13樓O。
Nacionalidade: chinesa
Actividade: comercial
Data do pedido: 2007/11/26
Serviços: fornecimento de instalações para casino (jogo).
A marca consiste em:

Reivindicação de cores: dourado, castanho, tal como representados na figura.
Marca n.º N/32 634 Classe 43.a
Requerente: RESTAURANTE CHUN IENG, LIMITADA, Avenida da Amizade, n.º 1023, Edifício Nam Fong, 2.º andar P-V, Macau.
Nacionalidade: constituída segundo as leis de Macau
Actividade: comercial e industrial
Data do pedido: 2007/11/27
Serviços: serviços de restaurante; serviços de venda de alimentos deliciosos chineses; serviços de restaurante «self-service»; serviços de fornecimento de refeições; serviços de casa de chá e serviços de bar; serviços de snack-bars; serviços de café; serviços de cafetarias; serviços de «take away».
A marca consiste em:

Reivindicação de cores: no lado esquerdo da figura, existem dois caracteres chineses grandes de cor preta “澳港” e existe uma expressão de letras minúsculas de cor preta «Restaurante Vila Porto de Macau» em baixo dos dois caracteres chineses grandes. No lado direito da figura, existem dois caracteres chineses de cor branca“小鎮”com o fundo de cor de laranja e de forma de seixo e existem três colinas de cor de laranja no lado direito de“小鎮”. Na parte mais inferior, existe uma expressão de cor preta“川 菜 SICHUAN CUISINE”.
Marca n.º N/32 635 Classe 43.a
Requerente: COMES E BEBES LUNG MACAU LIMITADA / LUNG CATERING (MACAU) LIMITED, Sede: 澳門路氹望德聖母灣大馬路澳門威尼斯人度假村大運河購物中心2516舖。
Nacionalidade: constituída segundo as leis de Macau
Actividade: comercial
Data do pedido: 2007/11/27
Serviços: serviços de fornecimento de alimentos e bebidas.
A marca consiste em:

Reivindicação de cores: vermelha, cinzenta, amarela, preta, tal como representadas na figura.
Marca n.º N/32 638 Classe 41.a
Requerente: Société des Produits Nestlé S.A., 1800 Vevey, Switzerland.
Nacionalidade: suíça
Actividade: comercial e industrial
Data do pedido: 2007/11/27
Serviços: serviços de entretenimento, treino e educacionais, actividades culturais; serviços de museu, apresentação e organização de exibições.
A marca consiste em:

Marca n.º N/32 640 Classe 42.a
Requerente: 君豪娛樂傳播有限公司,Sede: 澳門馬德里街79號環宇豪庭地下AQ舖。
Nacionalidade: constituída segundo as leis de Macau
Actividade: comercial
Data do pedido: 2007/11/27
Serviços: direcção de postos de computadores («websites»).
A marca consiste em:

Marca n.º N/32 643 Classe 28.a
Requerente: Angel Co., Ltd., 10-1, Kawarayamachi 2-chome, Chuo-ku, Osaka-shi, Osaka-fu, Japan.
Nacionalidade: japonesa
Actividade: comercial e industrial
Data do pedido: 2007/11/27
Produtos: cartas de jogar.
A marca consiste em:

Marca n.º N/32 645 Classe 16.a
Requerente: Maxim’s Caterers Limited, 3505, Gloucester Tower, The Landmark, Central, Hong Kong.
Nacionalidade: constituída segundo as leis de H.K.
Actividade: comercial e industrial
Data do pedido: 2007/11/27
Produtos: envelope (material de escritório); formulários (impressos); livros de bolso (manuais); revistas (periódicos); livros (manuais); boletins informativos; cadernos de apontamentos; panfletos; papel; folhas de papel (material de escritório); coupões; fitas de papel; materiais impressos; publicações impressas; prospectos; material de escritório; papel de embrulho; embalagem de produtos; materiais de escrita; livros de escrita ou de desenho; blocos de apontamentos; papel para escrever; cartão e produtos não incluídos noutras classes; fotografias; materiais plásticos para embalagem (não incluídos noutras classes).
A marca consiste em:

Reivindicação de cores: vermelho.
Marca n.º N/32 646 Classe 29.a
Requerente: Maxim’s Caterers Limited, 3505, Gloucester Tower, The Landmark, Central, Hong Kong.
Nacionalidade: constituída segundo as leis de H.K.
Actividade: comercial e industrial
Data do pedido: 2007/11/27
Produtos: carne e carne em conserva; peixe; aves e caça; extractos de carne; frutas e vegetais em conserva, secos e cozinhados; geleias, compotas, molhos de fruta; ovos, leite e derivados; leite em pó; natas; óleos e gorduras alimentares; iogurte; maionese; derivados de leite para creme de barrar pão; nozes; picles; produtos do mar secos e em conserva (excepto peixe).
A marca consiste em:

Reivindicação de cores: vermelho.
Marca n.º N/32 647 Classe 30.a
Requerente: Maxim’s Caterers Limited, 3505, Gloucester Tower, The Landmark, Central, Hong Kong.
Nacionalidade: constituída segundo as leis de H.K.
Actividade: comercial e industrial
Data do pedido: 2007/11/27
Produtos: café, café artificial, susbstituto de café; chá, folhas de chá e produtos afins; cacau, pó de cacau e produtos afins; preparado de sopa; pão; biscoitos; bolos; petiscos; bolachas; bolachas de água e sal; bolos chineses e bolos ocidentais; bolinhos recheados cozidos a vapor (dumplings); flocos de amêndoa; chocolate; pão-vara; panquecas; sobremesas; pudins; produtos de pastelaria e de confeitaria; macarrão, esparguete e outras massas; farinhas e preparados à base de cereais; mel; melaço; levedura; fermento em pó; sal; açúcar; vinagre; mustarda; pimenta; especiarias; molho de rábano; molhos (condimentos); molhos de salada; molho de tomate; caril; gelo; arroz; tapioca; sagu.
A marca consiste em:

Reivindicação de cores: vermelho.
Marca n.º N/32 648 Classe 35.a
Requerente: Maxim’s Caterers Limited, 3505, Gloucester Tower, The Landmark, Central, Hong Kong.
Nacionalidade: constituída segundo as leis de H.K.
Actividade: comercial e industrial
Data do pedido: 2007/11/27
Serviços: publicidade; gestão de empresas; administração de empresas; serviços de escritório; publicidade via postal; consultoria para negócios (profissional); informações comerciais; inquéritos a empresas; investigações comerciais; gestão e consultadoria de organização de empresas; assistência na gestão comercial; consultadoria de gestão de negócios comerciais; consultadoria na organização comercial; investigação de negócios comerciais; assistência na gestão comercial ou industrial; demonstração de artigos; publicidade por correio directo; disseminação de material publicitário; distribuição de amostras; organização de exposições para fins comerciais ou publicitários; agência de importação/exportação; pesquisa de mercado; estudos de mercado; organização de exposições comerciais para fins comerciais ou publicitários; promoção de vendas (para terceiros); actualização de material publicitário; mostra de produtos alimentares e bebidas para o benefício de terceiros, de uma variedade de produtos.
A marca consiste em:

Reivindicação de cores: vermelho.
Marca n.º N/32 649 Classe 43.a
Requerente: Maxim’s Caterers Limited, 3505, Gloucester Tower, The Landmark, Central, Hong Kong.
Nacionalidade: constituída segundo as leis de H.K.
Actividade: comercial e industrial
Data do pedido: 2007/11/27
Serviços: fornecimentos e preparação de comida para consumo fora de terceiros; restaurante, café e serviços de fornecimento de refeições; todos incluídos na classe 43.a
A marca consiste em:

Reivindicação de cores: vermelho.
Marca n.º N/32 650 Classe 16.a
Requerente: Maxim’s Caterers Limited, 3505, Gloucester Tower, The Landmark, Central, Hong Kong.
Nacionalidade: constituída segundo as leis de H.K.
Actividade: comercial e industrial
Data do pedido: 2007/11/27
Produtos: envelope (material de escritório); formulários (impressos); livros de bolso (manuais); revistas (periódicos); livros (manuais); boletins informativos; cadernos de apontamentos; panfletos; papel; folhas de papel (material de escritório); coupões; fitas de papel; materiais impressos; publicações impressas; prospectos; material de escritório; papel de embrulho; embalagem de produtos; materiais de escrita; livros de escrita ou de desenho; blocos de apontamentos; papel para escrever; cartão e produtos não incluídos noutras classes; fotografias; materiais plásticos para embalagem (não incluídos noutras classes).
A marca consiste em:

Reivindicação de cores: vermelho.
Marca n.º N/32 651 Classe 29.a
Requerente: Maxim’s Caterers Limited, 3505, Gloucester Tower, The Landmark, Central, Hong Kong.
Nacionalidade: constituída segundo as leis de H.K.
Actividade: comercial e industrial
Data do pedido: 2007/11/27
Produtos: carne e carne em conserva; peixe; aves e caça; extractos de carne; frutas e vegetais em conserva, secos e cozinhados; geleias, compotas, molhos de fruta; ovos, leite e derivados; leite em pó; natas; óleos e gorduras alimentares; iogurte; maionese; derivados de leite para creme de barrar pão; nozes; picles; produtos do mar secos e em conserva (excepto peixe).
A marca consiste em:

Reivindicação de cores: vermelho.
Marca n.º N/32 652 Classe 30.a
Requerente: Maxim’s Caterers Limited, 3505, Gloucester Tower, The Landmark, Central, Hong Kong.
Nacionalidade: constituída segundo as leis de H.K.
Actividade: comercial e industrial
Data do pedido: 2007/11/27
Produtos: café, café artificial, susbstituto de café; chá, folhas de chá e produtos afins; cacau, pó de cacau e produtos afins; preparado de sopa; pão; biscoitos; bolos; petiscos; bolachas; bolachas de água e sal; bolos chineses e bolos ocidentais; bolinhos recheados cozidos a vapor (dumplings); flocos de amêndoa; chocolate; pão-vara; panquecas; sobremesas; pudins; produtos de pastelaria e de confeitaria; macarrão, esparguete e outras massas; farinhas e preparados à base de cereais; mel; melaço; levedura; fermento em pó; sal; açúcar; vinagre; mustarda; pimenta; especiarias; molho de rábano; molhos (condimentos); molhos de salada; molho de tomate; caril; gelo; arroz; tapioca; sagu.
A marca consiste em:

Reivindicação de cores: vermelho.
Marca n.º N/32 653 Classe 35.a
Requerente: Maxim’s Caterers Limited, 3505, Gloucester Tower, The Landmark, Central, Hong Kong.
Nacionalidade: constituída segundo as leis de H.K.
Actividade: comercial e industrial
Data do pedido: 2007/11/27
Serviços: publicidade; gestão de empresas; administração de empresas; serviços de escritório; publicidade via postal; consultoria para negócios (profissional); informações comerciais; inquéritos a empresas; investigações comerciais; gestão e consultadoria de organização de empresas; assistência na gestão comercial; consultadoria de gestão de negócios comerciais; consultadoria na organização comercial; investigação de negócios comerciais; assistência na gestão comercial ou industrial; demonstração de artigos; publicidade por correio directo; disseminação de material publicitário; distribuição de amostras; organização de exposições para fins comerciais ou publicitários; agência de importação/exportação; pesquisa de mercado; estudos de mercado; organização de exposições comerciais para fins comerciais ou publicitários; promoção de vendas (para terceiros); actualização de material publicitário; mostra de produtos alimentares e bebidas para o benefício de terceiros, de uma variedade de produtos.
A marca consiste em:

Reivindicação de cores: vermelho.
Marca n.º N/32 654 Classe 43.a
Requerente: Maxim’s Caterers Limited, 3505, Gloucester Tower, The Landmark, Central, Hong Kong.
Nacionalidade: constituída segundo as leis de H.K.
Actividade: comercial e industrial
Data do pedido: 2007/11/27
Serviços: fornecimentos e preparação de comida para consumo fora de terceiros; restaurante, café e serviços de fornecimento de refeições; todos incluídos na classe 43.a
A marca consiste em:

Reivindicação de cores: vermelho.
Marca n.º N/32 667 Classe 33.a
Requerente: DAVIDE CAMPARI-MILANO S.p.A., Via Filippo Turati 27, 20121 Milano, Italia.
Nacionalidade: italiana
Actividade: comercial e industrial
Data do pedido: 2007/11/28
Produtos: bebidas alcoólicas (com excepção das cervejas).
A marca consiste em:

Marca n.º N/32 706 Classe 44.a
Requerente: CRUZ VERDE, LIMITADA, Avenida Olím-pica, Edifício Wa Bao Garden, Bloco L, 17.º andar K, Taipa, em Macau.
Nacionalidade: constituída segundo as leis de Macau
Actividade: comercial
Data do pedido: 2007/11/29
Serviços: actividades e serviços de medicina veterinária, consultas, análises, internamento, cirurgia e todas as actividades relacionadas e conexas.
A marca consiste em:

Reivindicação de cores: verde claro, verde escuro e branco.
Marca n.º N/32 707 Classe 44.a
Requerente: CRUZ VERDE, LIMITADA, Avenida Olím-pica, Edifício Wa Bao Garden, Bloco L, 17.º andar K, Taipa, em Macau.
Nacionalidade: constituída segundo as leis de Macau
Actividade: comercial
Data do pedido: 2007/11/29
Serviços: actividades e serviços de medicina veterinária, consultas, análises, internamento, cirurgia e todas as actividades relacionadas e conexas.
A marca consiste em:

Marca n.º N/32 709 Classe 5.a
Requerente: Hung Win Trading Company Limited, 10/F., Block B, Chuan Yuan Factory Building, 342-344 Kwun Tong Road, Kwun Tong, Kowloon, Hong Kong.
Nacionalidade: constituída segundo as leis de H.K.
Actividade: comercial e industrial
Data do pedido: 2007/11/29
Produtos: preparados farmacêuticos; tudo incluído na classe 5.a
A marca consiste em:

Marca n.º N/32 710 Classe 34.a
Requerente: Japan Tobacco Inc., 2-2-1, Toranomon, Minato-ku, Tokyo, Japan.
Nacionalidade: japonesa
Actividade: comercial e industrial
Data do pedido: 2007/11/29
Produtos: cigarros, tabaco em bruto e manufacturado, artigos para fumadores e fósforos.
A marca consiste em:

Marca n.º N/32 711 Classe 34.a
Requerente: Japan Tobacco Inc., 2-2-1, Toranomon, Minato-ku, Tokyo, Japan.
Nacionalidade: japonesa
Actividade: comercial e industrial
Data do pedido: 2007/11/29
Produtos: cigarros, tabaco em bruto e manufacturado, artigos para fumadores e fósforos.
A marca consiste em:

Marca n.º N/32 712 Classe 34.a
Requerente: Japan Tobacco Inc., 2-2-1, Toranomon, Minato-ku, Tokyo, Japan.
Nacionalidade: japonesa
Actividade: comercial e industrial
Data do pedido: 2007/11/29
Produtos: cigarros, tabaco em bruto e manufacturado, artigos para fumadores e fósforos.
A marca consiste em:

Marca n.º N/32 713 Classe 14.a
Requerente: Europe Watch Company Limited, United 14-16 11th Floor, North Tower, Concordia Plaza, n.º 1 Science Museum Road, Tsimshatsui East, Kowloon, Hong Kong.
Nacionalidade: constituída segundo as leis de H.K.
Actividade: comercial e industrial
Data do pedido: 2007/11/29
Produtos: metais preciosos e suas ligas e produtos nestas matérias ou em plaqué, não compreendidos noutras classes; artigos de joalharia, pedras preciosas; relojoaria e instrumentos cronométricos.
A marca consiste em:

Marca n.º N/32 714 Classe 35.a
Requerente: Europe Watch Company Limited, United 14-16 11th Floor, North Tower, Concordia Plaza, n.º 1 Science Museum Road, Tsimshatsui East, Kowloon, Hong Kong.
Nacionalidade: constituída segundo as leis de H.K.
Actividade: comercial e industrial
Data do pedido: 2007/11/29
Serviços: publicidade; serviços de gestão comercial e administração; serviços de lojas a retalho e encomenda on-line; todos acima mencionados relacionados com metais preciosos e suas ligas e produtos nestas matérias ou em plaqué, não compreendidos noutras classes; artigos de joalharia, pedras preciosas; relojoaria e instrumentos cronométricos; agentes de importação e exportação relacionados com os artigos acima mencionados; promoção (para terceiros); serviços de consultoria de gestão comercial; serviços de publicidade; todos incluídos na classe 35.a
A marca consiste em:

Marca n.º N/32 715 Classe 14.a
Requerente: Europe Watch Company Limited, United 14-16 11th Floor, North Tower, Concordia Plaza, n.º 1 Science Museum Road, Tsimshatsui East, Kowloon, Hong Kong.
Nacionalidade: constituída segundo as leis de H.K.
Actividade: comercial e industrial
Data do pedido: 2007/11/29
Produtos: metais preciosos e suas ligas e produtos nestas matérias ou em plaqué, não compreendidos noutras classes; artigos de joalharia, pedras preciosas; relojoaria e instrumentos cronométricos.
A marca consiste em:

Marca n.º N/32 716 Classe 35.a
Requerente: Europe Watch Company Limited, United 14-16 11th Floor, North Tower, Concordia Plaza, n.º 1 Science Museum Road, Tsimshatsui East, Kowloon, Hong Kong.
Nacionalidade: constituída segundo as leis de H.K.
Actividade: comercial e industrial
Data do pedido: 2007/11/29
Serviços: publicidade; serviços de gestão comercial e administração; serviços de lojas a retalho e encomenda on-line; todos acima mencionados relacionados com metais preciosos e suas ligas e produtos nestas matérias ou em plaqué, não compreendidos noutras classes; artigos de joalharia, pedras preciosas; relojoaria e instrumentos cronométricos; agentes de importação e exportação relacionados com os artigos acima mencionados; promoção (para terceiros); serviços de consultoria de gestão comercial; serviços de publicidade; todos incluídos na classe 35.a
A marca consiste em:

Marca n.º N/32 719 Classe 23.a
Requerente: Australian Merino Pty Ltd, Wool House, Level 5, 16-20 Barrack Street, Sydney, New South Wales, 2000, Australia.
Nacionalidade: australiana
Actividade: comercial e industrial
Data do pedido: 2007/11/29
Produtos: fios e linhas para uso têxtil.
A marca consiste em:

Marca n.º N/32 720 Classe 24.a
Requerente: Australian Merino Pty Ltd, Wool House, Level 5, 16-20 Barrack Street, Sydney, New South Wales, 2000, Australia.
Nacionalidade: australiana
Actividade: comercial e industrial
Data do pedido: 2007/11/29
Produtos: têxteis e artigos, não incluídos noutras classes; e cobertas para cama e mesa.
A marca consiste em:

Marca n.º N/32 721 Classe 25.a
Requerente: Australian Merino Pty Ltd, Wool House, Level 5, 16-20 Barrack Street, Sydney, New South Wales, 2000, Australia.
Nacionalidade: australiana
Actividade: comercial e industrial
Data do pedido: 2007/11/29
Produtos: vestuário, calçado, chapelaria.
A marca consiste em:

Marca n.º N/32 740 Classe 33.a
Requerente: ANGUILLA RUMS LIMITED, P.O.Box 1023, The Valley, Sandy Ground, Anguilla.
Nacionalidade: anguilana
Actividade: comercial e industrial
Data do pedido: 2007/11/30
Produtos: bebidas alcoólicas (excepto cerveja); bebidas espirituosas destiladas, rum, tequilha, vinhos e licores.
A marca consiste em:

Marca n.º N/32 741 Classe 41.a
Requerente: Las Vegas Gaming, Inc., 4000 West Ali Baba Lane Las Vegas, NV 89118 United States.
Nacionalidade: norte-americana
Actividade: comercial e industrial
Data do pedido: 2007/11/30
Serviços: serviços de entretenimento, nomeadamente facilitar a participação de jogadores nos casinos, actividades e eventos de jogos de fortuna e azar e de apostas.
A marca consiste em:

Data de prioridade: 2007/06/08; País/Território de prioridade: Estados Unidos; n.º de prioridade: 77202005
Marca n.º N/32 742 Classe 41.a
Requerente: Las Vegas Gaming, Inc., 4000 West Ali Baba Lane Las Vegas, NV 89118 United States.
Nacionalidade: norte-americana
Actividade: comercial e industrial
Data do pedido: 2007/11/30
Serviços: serviços de entretenimento, nomeadamente facilitar a participação de jogadores nos casinos, actividades e eventos de jogos de fortuna e azar e de apostas.
A marca consiste em:

Data de prioridade: 2007/07/07; País/Território de prioridade: Estados Unidos; n.º de prioridade: 77200846
Marca n.º N/32 743 Classe 3.a
Requerente: LABORATOIRES CONTAPHARM, Hameau de Vulaines, Yebles 77390 Verneuil L’Etang France.
Nacionalidade: francesa
Actividade: comercial e industrial
Data do pedido: 2007/11/30
Produtos: cosméticos; preparações para maquilhaqem; preparações cosméticas e para remover a maquilhagem.
A marca consiste em:

Marca n.º N/32 744 Classe 33.a
Requerente: 山東扳倒井股份有限公司,Sede: 中國山東省高青縣中心路55號。
Nacionalidade: chinesa
Actividade: comercial
Data do pedido: 2007/11/30
Produtos: aguardente; vinho (bebida); bebidas alcoólicas (excepto cerveja); extractos alcoólicos; líquidos alcoólicos; vinho de arroz; saké; «brandy»; vinho de fruta (alcoólico); vinho de uvas; uísques.
A marca consiste em:

Marca n.º N/32 745 Classe 33.a
Requerente: 山東扳倒井股份有限公司,Sede: 中國山東省高青縣中心路55號。
Nacionalidade: chinesa
Actividade: comercial
Data do pedido: 2007/11/30
Produtos: aguardente; vinho (bebida); bebidas alcoólicas (excepto cerveja); extractos alcoólicos; líquidos alcoólicos; vinho de arroz; saké; «brandy»; vinho de fruta (alcoólico); vinho de uvas; uísques.
A marca consiste em:

Marca n.º N/32 746 Classe 43.a
Requerente: 中山市旺客來餐飲管理有限公司,Sede: 中國中山市南頭鎮滘心村東福路(升輝南工業區)。
Nacionalidade: chinesa
Actividade: comercial e industrial
Data do pedido: 2007/11/30
Serviços: residências (hotéis, hospedagens com refeições), café, restaurantes de auto-serviço, restaurantes, casa de pasto, refeitórios, bar, casa de chá, serviços ambulantes de alimentos-bebidas, refeitórios de refeições rápidas.
A marca consiste em:

Marca n.º N/32 747 Classe 36.a
Requerente: Central Pattana Public Company Limited, 31st-33rd Floors, Central World Building, 999/9 Rama I Road, Pa-thumwan, Bangkok 10330, Thailand.
Nacionalidade: tailandesa
Actividade: comercial e industrial
Data do pedido: 2007/12/03
Serviços: serviços de desenvolvimento de imóveis e serviços de aluguer de imóveis.
A marca consiste em:

Marca n.º N/32 748 Classe 25.a
Requerente: Solera S.r.l., Via Nazionale 57, 45030 S. Maria Maddalena di Occhiobello (Rovigo), Italy.
Nacionalidade: italiana
Actividade: comercial e industrial
Data do pedido: 2007/12/03
Produtos: roupa interior, «corsetry» e roupa de praia.
A marca consiste em:

Marca n.º N/32 751 Classe 11.a
Requerente: SIM - Sociedade Industrial de Macau, Limitada, Avenida do Dr. Mário Soares, n.º 25 Edifício Montepio, Apartado n.º 25, 2.º andar, Macau.
Nacionalidade: constituída segundo as leis de Macau
Actividade: comercial e industrial
Data do pedido: 2007/12/07
Produtos: torradores de café.
A marca consiste em:

Marca n.º N/32 752 Classe 30.a
Requerente: SIM - Sociedade Industrial de Macau, Limitada, Avenida do Dr. Mário Soares, n.º 25 Edifício Montepio, Apartado n.º 25, 2.º andar, Macau.
Nacionalidade: constituída segundo as leis de Macau
Actividade: comercial e industrial
Data do pedido: 2007/12/07
Produtos: café, aromas de café e bebidas à base de café.
A marca consiste em:

Marca n.º N/32 753 Classe 11.a
Requerente: SIM - Sociedade Industrial de Macau, Limitada, Avenida do Dr. Mário Soares, n.º 25 Edifício Montepio, Apartado n.º 25, 2.º andar, Macau.
Nacionalidade: constituída segundo as leis de Macau
Actividade: comercial e industrial
Data do pedido: 2007/12/07
Produtos: torradores de café.
A marca consiste em:

Marca n.º N/32 754 Classe 30.a
Requerente: SIM - Sociedade Industrial de Macau, Limitada, Avenida do Dr. Mário Soares, n.º 25 Edifício Montepio, Apartado n.º 25, 2.º andar, Macau.
Nacionalidade: constituída segundo as leis de Macau
Actividade: comercial e industrial
Data do pedido: 2007/12/07
Produtos: café, aromas de café e bebidas à base de café.
A marca consiste em:

Marca n.º N/32 755 Classe 5.a
Requerente: JOHNSON & JOHNSON, One Johnson & Johnson Plaza, New Brunswick, New Jersey 08933-7001, E.U.A.
Nacionalidade: norte-americana
Actividade: comercial e industrial
Data do pedido: 2007/12/03
Produtos: preparações farmacêuticas para seres humanos.
A marca consiste em:

Marca n.º N/32 756 Classe 5.a
Requerente: JOHNSON & JOHNSON, One Johnson & Johnson Plaza, New Brunswick, New Jersey 08933-7001, E.U.A.
Nacionalidade: norte-americana
Actividade: comercial e industrial
Data do pedido: 2007/12/03
Produtos: preparações farmacêuticas para seres humanos.
A marca consiste em:

Marca n.º N/32 812 Classe 20.a
Requerente: Warendorfer Küchen GmbH, Mielestrasse 1, 48231 Warendorf, Alemanha.
Nacionalidade: alemã
Actividade: comercial e industrial
Data do pedido: 2007/12/04
Produtos: mobiliário, em especial mobiliário de cozinha.
A marca consiste em:

Reivindicação de cores: preto, branco e vermelho.
Data de prioridade: 2007/06/05; País/Território de prioridade: Alemanha; n.º de prioridade: 30736241.8
Marca n.º N/32 822 Classe 28.a
Requerente: Aristocrat Technologies Australia Pty Ltd, 71 Longueville Road, Lane Cove, New South Wales 2066, Australia.
Nacionalidade: australiana
Actividade: comercial e industrial
Data do pedido: 2007/12/05
Produtos: máquinas de jogo incluindo máquinas de póquer oferecendo jogos de azar ou jogos mistos de azar e perícia ou pseudo perícia; máquinas de jogo incluindo máquinas de póquer com módulos e componentes de software incluindo símbolos de jogo, matemática, efeitos sonoros e outros itens configurados implantados em fichas de memória apenas de leitura (EPROM) deléveis e programáveis ou outros meios, vendidas como um conjunto; peças e acessórios nesta classe para todos os artigos acima referidos.
A marca consiste em:

Marca n.º N/32 823 Classe 28.a
Requerente: Aristocrat Technologies Australia Pty Ltd, 71 Longueville Road, Lane Cove, New South Wales 2066, Australia.
Nacionalidade: australiana
Actividade: comercial e industrial
Data do pedido: 2007/12/05
Produtos: máquinas de jogo incluindo máquinas de póquer oferecendo jogos de azar ou jogos mistos de azar e perícia ou pseudo perícia; máquinas de jogo incluindo máquinas de póquer com módulos e componentes de software incluindo símbolos de jogo, matemática, efeitos sonoros e outros itens configurados implantados em fichas de memória apenas de leitura (EPROM) deléveis e programáveis ou outros meios, vendidas como um conjunto; peças e acessórios nesta classe para todos os artigos acima referidos.
A marca consiste em:

Marca n.º N/32 824 Classe 33.a
Requerente: CARIBBEAN DISTILLERS CORPORATION, LIMITED, c/o Anguilla Rums Limited, P.O.Box 1023, The Valley, Sandy Ground, Anguilla.
Nacionalidade: anguilana
Actividade: comercial e industrial
Data do pedido: 2007/12/05
Produtos: bebidas alcoólicas (excepto cerveja) e licores.
A marca consiste em:

Data de prioridade: 2007/08/16; País/Território de prioridade: Estados Unidos; n.º de prioridade: 77/256,939
Marca n.º N/32 839 Classe 34.a
Requerente: PHILIP MORRIS PRODUCTS S.A., Quai Jeanrenaud 3, 2000 Neuchâtel, Switzerland.
Nacionalidade: suíça
Actividade: comercial e industrial
Data do pedido: 2007/12/06
Produtos: tabaco em bruto ou tabaco tratado, produtos de tabaco incluindo charutos, cigarros, cigarrilhas, tabaco para os fumadores enrolarem os seus próprios cigarros, tabaco de cachimbo, tabaco de mascar, rapé (tabaco), «kretek», sucedâneos do tabaco (não para uso medicinal); artigos para fumadores, incluindo mortalhas para cigarros, boquilhas, filtros para cigarros, latas para tabaco, cigarreiras e cinzeiros; cachimbos, aparelhos de bolso para enrolar cigarros, isqueiros; fósforos.
A marca consiste em:

Marca n.º N/32 840 Classe 34.a
Requerente: PHILIP MORRIS PRODUCTS S.A., Quai Jeanrenaud 3, 2000 Neuchâtel, Switzerland.
Nacionalidade: suíça
Actividade: comercial e industrial
Data do pedido: 2007/12/06
Produtos: tabaco em bruto ou tabaco tratado, produtos de tabaco incluindo charutos, cigarros, cigarrilhas, tabaco para os fumadores enrolarem os seus próprios cigarros, tabaco de cachimbo, tabaco de mascar, rapé (tabaco), «kretek», sucedâneos do tabaco (não para uso medicinal); artigos para fumadores, incluindo mortalhas para cigarros, boquilhas, filtros para cigarros, latas para tabaco, cigarreiras e cinzeiros; cachimbos, aparelhos de bolso para enrolar cigarros, isqueiros; fósforos.
A marca consiste em:

Marca n.º N/32 841 Classe 34.a
Requerente: PHILIP MORRIS PRODUCTS S.A., Quai Jeanrenaud 3, 2000 Neuchâtel, Switzerland.
Nacionalidade: suíça
Actividade: comercial e industrial
Data do pedido: 2007/12/06
Produtos: tabaco em bruto ou tabaco tratado, produtos de tabaco incluindo charutos, cigarros, cigarrilhas, tabaco para os fumadores enrolarem os seus próprios cigarros, tabaco de cachimbo, tabaco de mascar, rapé (tabaco), «kretek», sucedâneos do tabaco (não para uso medicinal); artigos para fumadores, incluindo mortalhas para cigarros, boquilhas, filtros para cigarros, latas para tabaco, cigarreiras e cinzeiros; cachimbos, aparelhos de bolso para enrolar cigarros, isqueiros; fósforos.
A marca consiste em:

Marca n.º N/32 842 Classe 34.a
Requerente: PHILIP MORRIS PRODUCTS S.A., Quai Jeanrenaud 3, 2000 Neuchâtel, Switzerland.
Nacionalidade: suíça
Actividade: comercial e industrial
Data do pedido: 2007/12/06
Produtos: tabaco em bruto ou tabaco tratado, produtos de tabaco incluindo charutos, cigarros, cigarrilhas, tabaco para os fumadores enrolarem os seus próprios cigarros, tabaco de cachimbo, tabaco de mascar, rapé (tabaco), «kretek», sucedâneos do tabaco (não para uso medicinal); artigos para fumadores, incluindo mortalhas para cigarros, boquilhas, filtros para cigarros, latas para tabaco, cigarreiras e cinzeiros; cachimbos, aparelhos de bolso para enrolar cigarros, isqueiros; fósforos.
A marca consiste em:

Marca n.º N/32 843 Classe 34.a
Requerente: PHILIP MORRIS PRODUCTS S.A., Quai Jeanrenaud 3, 2000 Neuchâtel, Switzerland.
Nacionalidade: suíça
Actividade: comercial e industrial
Data do pedido: 2007/12/06
Produtos: tabaco em bruto ou tabaco tratado, produtos de tabaco incluindo charutos, cigarros, cigarrilhas, tabaco para os fumadores enrolarem os seus próprios cigarros, tabaco de cachimbo, tabaco de mascar, rapé (tabaco), «kretek», sucedâneos do tabaco (não para uso medicinal); artigos para fumadores, incluindo mortalhas para cigarros, boquilhas, filtros para cigarros, latas para tabaco, cigarreiras e cinzeiros; cachimbos, aparelhos de bolso para enrolar cigarros, isqueiros; fósforos.
A marca consiste em:

Marca n.º N/32 844 Classe 34.a
Requerente: PHILIP MORRIS PRODUCTS S.A., Quai Jeanrenaud 3, 2000 Neuchâtel, Switzerland.
Nacionalidade: suíça
Actividade: comercial e industrial
Data do pedido: 2007/12/06
Produtos: tabaco em bruto ou tabaco tratado, produtos de tabaco incluindo charutos, cigarros, cigarrilhas, tabaco para os fumadores enrolarem os seus próprios cigarros, tabaco de cachimbo, tabaco de mascar, rapé (tabaco), «kretek», sucedâneos do tabaco (não para uso medicinal); artigos para fumadores, incluindo mortalhas para cigarros, boquilhas, filtros para cigarros, latas para tabaco, cigarreiras e cinzeiros; cachimbos, aparelhos de bolso para enrolar cigarros, isqueiros; fósforos.
A marca consiste em:

Marca n.º N/32 845 Classe 34.a
Requerente: PHILIP MORRIS PRODUCTS S.A., Quai Jeanrenaud 3, 2000 Neuchâtel, Switzerland.
Nacionalidade: suíça
Actividade: comercial e industrial
Data do pedido: 2007/12/06
Produtos: tabaco em bruto ou tabaco tratado, produtos de tabaco incluindo charutos, cigarros, cigarrilhas, tabaco para os fumadores enrolarem os seus próprios cigarros, tabaco de cachimbo, tabaco de mascar, rapé (tabaco), «kretek», sucedâneos do tabaco (não para uso medicinal); artigos para fumadores, incluindo mortalhas para cigarros, boquilhas, filtros para cigarros, latas para tabaco, cigarreiras e cinzeiros; cachimbos, aparelhos de bolso para enrolar cigarros, isqueiros; fósforos.
A marca consiste em:

Marca n.º N/32 866 Classe 36.a
Requerente: Sociedade De Jogos De Macau, S.A., Avenida de Lisboa, n.os 2 a 4, Hotel Lisboa, 9.º andar, Freguesia de Sé, Macau.
Nacionalidade: constituída segundo as leis de Macau
Actividade: comercial e industrial
Data do pedido: 2007/12/10
Serviços: seguros; assuntos financeiros; assuntos monetários; assuntos imobiliários.
A marca consiste em:

Reivindicação de cores: azul (pantone 276c), dourado (pantone 125c) e cinza.
Marca n.º N/32 867 Classe 36.a
Requerente: Sociedade De Jogos De Macau, S.A., Avenida de Lisboa, n.os 2 a 4, Hotel Lisboa, 9.º andar, Freguesia de Sé, Macau.
Nacionalidade: constituída segundo as leis de Macau
Actividade: comercial e industrial
Data do pedido: 2007/12/10
Serviços: seguros; assuntos financeiros; assuntos monetários; assuntos imobiliários.
A marca consiste em:

Reivindicação de cores: azul (pantone 276c), dourado (pantone 125c) e cinza.
Marca n.º N/32 868 Classe 36.a
Requerente: Sociedade De Jogos De Macau, S.A., Avenida de Lisboa, n.os 2 a 4, Hotel Lisboa, 9.º andar, Freguesia de Sé, Macau.
Nacionalidade: constituída segundo as leis de Macau
Actividade: comercial e industrial
Data do pedido: 2007/12/10
Serviços: seguros; assuntos financeiros; assuntos monetários; assuntos imobiliários.
A marca consiste em:

Reivindicação de cores: azul (pantone 276c) e dourado (pantone 125c).
Marca n.º N/32 869 Classe 36.a
Requerente: Sociedade De Jogos De Macau, S.A., Avenida de Lisboa, n.os 2 a 4, Hotel Lisboa, 9.º andar, Freguesia de Sé, Macau.
Nacionalidade: constituída segundo as leis de Macau
Actividade: comercial e industrial
Data do pedido: 2007/12/10
Serviços: seguros; assuntos financeiros; assuntos monetários; assuntos imobiliários.
A marca consiste em:

Reivindicação de cores: azul (pantone 276c) e dourado (pantone 125c).
Marca n.º N/32 870 Classe 36.a
Requerente: Sociedade De Jogos De Macau, S.A., Avenida de Lisboa, n.os 2 a 4, Hotel Lisboa, 9.º andar, Freguesia de Sé, Macau.
Nacionalidade: constituída segundo as leis de Macau
Actividade: comercial e industrial
Data do pedido: 2007/12/10
Serviços: seguros; assuntos financeiros; assuntos monetários; assuntos imobiliários.
A marca consiste em:

Reivindicação de cores: azul (pantone 276c) e dourado (pantone 125c).
Marca n.º N/32 871 Classe 36.a
Requerente: Sociedade De Jogos De Macau, S.A., Avenida de Lisboa, n.os 2 a 4, Hotel Lisboa, 9.º andar, Freguesia de Sé, Macau.
Nacionalidade: constituída segundo as leis de Macau
Actividade: comercial e industrial
Data do pedido: 2007/12/10
Serviços: seguros; assuntos financeiros; assuntos monetários; assuntos imobiliários.
A marca consiste em:

Reivindicação de cores: cor de vinho (burgundy - pantone 195c) e dourado (pantone 125c).
Marca n.º N/32 872 Classe 36.a
Requerente: Sociedade De Jogos De Macau, S.A., Avenida de Lisboa, n.os 2 a 4, Hotel Lisboa, 9.º andar, Freguesia de Sé, Macau.
Nacionalidade: constituída segundo as leis de Macau
Actividade: comercial e industrial
Data do pedido: 2007/12/10
Serviços: seguros; assuntos financeiros; assuntos monetários; assuntos imobiliários.
A marca consiste em:

Reivindicação de cores: cor de vinho (burgundy - pantone 195c) e dourado (pantone 125c).
Marca n.º N/32 873 Classe 36.a
Requerente: Sociedade De Jogos De Macau, S.A., Avenida de Lisboa, n.os 2 a 4, Hotel Lisboa, 9.º andar, Freguesia de Sé, Macau.
Nacionalidade: constituída segundo as leis de Macau
Actividade: comercial e industrial
Data do pedido: 2007/12/10
Serviços: seguros; assuntos financeiros; assuntos monetários; assuntos imobiliários.
A marca consiste em:

Reivindicação de cores: cor de vinho (burgundy - pantone 195c) e dourado (pantone 125c).
Marca n.º N/32 874 Classe 36.a
Requerente: Sociedade De Jogos De Macau, S.A., Avenida de Lisboa, n.os 2 a 4, Hotel Lisboa, 9.º andar, Freguesia de Sé, Macau.
Nacionalidade: constituída segundo as leis de Macau
Actividade: comercial e industrial
Data do pedido: 2007/12/10
Serviços: seguros; assuntos financeiros; assuntos monetários; assuntos imobiliários.
A marca consiste em:

Reivindicação de cores: cor de vinho (burgundy - pantone 195c) e dourado (pantone 125c).
Marca n.º N/32 875 Classe 36.a
Requerente: Sociedade De Jogos De Macau, S.A., Avenida de Lisboa, n.os 2 a 4, Hotel Lisboa, 9.º andar, Freguesia de Sé, Macau.
Nacionalidade: constituída segundo as leis de Macau
Actividade: comercial e industrial
Data do pedido: 2007/12/10
Serviços: seguros; assuntos financeiros; assuntos monetários; assuntos imobiliários.
A marca consiste em:

Reivindicação de cores: cor de vinho (burgundy - pantone 195c) e dourado (pantone 125c).
Marca n.º N/32 876 Classe 36.a
Requerente: Sociedade De Jogos De Macau, S.A., Avenida de Lisboa, n.os 2 a 4, Hotel Lisboa, 9.º andar, Freguesia de Sé, Macau.
Nacionalidade: constituída segundo as leis de Macau
Actividade: comercial e industrial
Data do pedido: 2007/12/10
Serviços: seguros; assuntos financeiros; assuntos monetários; assuntos imobiliários.
A marca consiste em:

Reivindicação de cores: castanho (pantone 476c) e branco.
Marca n.º N/32 877 Classe 36.a
Requerente: Sociedade De Jogos De Macau, S.A., Avenida de Lisboa, n.os 2 a 4, Hotel Lisboa, 9.º andar, Freguesia de Sé, Macau.
Nacionalidade: constituída segundo as leis de Macau
Actividade: comercial e industrial
Data do pedido: 2007/12/10
Serviços: seguros; assuntos financeiros; assuntos monetários; assuntos imobiliários.
A marca consiste em:

Reivindicação de cores: castanho (pantone 476c) e branco.
Marca n.º N/32 878 Classe 36.a
Requerente: Sociedade De Jogos De Macau, S.A., Avenida de Lisboa, n.os 2 a 4, Hotel Lisboa, 9.º andar, Freguesia de Sé, Macau.
Nacionalidade: constituída segundo as leis de Macau
Actividade: comercial e industrial
Data do pedido: 2007/12/10
Serviços: seguros; assuntos financeiros; assuntos monetários; assuntos imobiliários.
A marca consiste em:

Reivindicação de cores: castanho (pantone 476c) e branco.
Marca n.º N/32 879 Classe 36.a
Requerente: Sociedade De Jogos De Macau, S.A., Avenida de Lisboa, n.os 2 a 4, Hotel Lisboa, 9.º andar, Freguesia de Sé, Macau.
Nacionalidade: constituída segundo as leis de Macau
Actividade: comercial e industrial
Data do pedido: 2007/12/10
Serviços: seguros; assuntos financeiros; assuntos monetários; assuntos imobiliários.
A marca consiste em:

Reivindicação de cores: castanho (pantone 476c) e branco.
Marca n.º N/32 880 Classe 36.a
Requerente: Sociedade De Jogos De Macau, S.A., Avenida de Lisboa, n.os 2 a 4, Hotel Lisboa, 9.º andar, Freguesia de Sé, Macau.
Nacionalidade: constituída segundo as leis de Macau
Actividade: comercial e industrial
Data do pedido: 2007/12/10
Serviços: seguros; assuntos financeiros; assuntos monetários; assuntos imobiliários.
A marca consiste em:

Reivindicação de cores: castanho (pantone 476c) e branco.
Marca n.º N/32 881 Classe 36.a
Requerente: Sociedade De Jogos De Macau, S.A., Avenida de Lisboa, n.os 2 a 4, Hotel Lisboa, 9.º andar, Freguesia de Sé, Macau.
Nacionalidade: constituída segundo as leis de Macau
Actividade: comercial e industrial
Data do pedido: 2007/12/10
Serviços: seguros; assuntos financeiros; assuntos monetários; assuntos imobiliários.
A marca consiste em:

Reivindicação de cores: preto e amarelo (pantone 130c).
Marca n.º N/32 882 Classe 36.a
Requerente: Sociedade De Jogos De Macau, S.A., Avenida de Lisboa, n.os 2 a 4, Hotel Lisboa, 9.º andar, Freguesia de Sé, Macau.
Nacionalidade: constituída segundo as leis de Macau
Actividade: comercial e industrial
Data do pedido: 2007/12/10
Serviços: seguros; assuntos financeiros; assuntos monetários; assuntos imobiliários.
A marca consiste em:

Reivindicação de cores: preto e amarelo (pantone 130c).
Marca n.º N/32 883 Classe 36.a
Requerente: Sociedade De Jogos De Macau, S.A., Avenida de Lisboa, n.os 2 a 4, Hotel Lisboa, 9.º andar, Freguesia de Sé, Macau.
Nacionalidade: constituída segundo as leis de Macau
Actividade: comercial e industrial
Data do pedido: 2007/12/10
Serviços: seguros; assuntos financeiros; assuntos monetários; assuntos imobiliários.
A marca consiste em:

Reivindicação de cores: preto e amarelo (pantone 130c).
Marca n.º N/32 884 Classe 36.a
Requerente: Sociedade De Jogos De Macau, S.A., Avenida de Lisboa, n.os 2 a 4, Hotel Lisboa, 9.º andar, Freguesia de Sé, Macau.
Nacionalidade: constituída segundo as leis de Macau
Actividade: comercial e industrial
Data do pedido: 2007/12/10
Serviços: seguros; assuntos financeiros; assuntos monetários; assuntos imobiliários.
A marca consiste em:

Reivindicação de cores: preto e amarelo (pantone 130c).
Marca n.º N/32 885 Classe 36.a
Requerente: Sociedade De Jogos De Macau, S.A., Avenida de Lisboa, n.os 2 a 4, Hotel Lisboa, 9.º andar, Freguesia de Sé, Macau.
Nacionalidade: constituída segundo as leis de Macau
Actividade: comercial e industrial
Data do pedido: 2007/12/10
Serviços: seguros; assuntos financeiros; assuntos monetários; assuntos imobiliários.
A marca consiste em:

Reivindicação de cores: preto e amarelo (pantone 130c).
Marca n.º N/32 886 Classe 16.a
Requerente: 中山市寶麗紙業有限公司,Sede: 中國廣東省中山市古鎮海洲昆山大道38號之二。
Nacionalidade: chinesa
Actividade: comercial e industrial
Data do pedido: 2007/12/10
Produtos: papel higiénico, lenços de papel, lenços de papel para tirar a maquilhagem, guardanapos de papel, toalhas de papel.
A marca consiste em:

Marca n.º N/32 970 Classe 34.a
Requerente: PHILIP MORRIS PRODUCTS S.A., Quai Jeanrenaud 3, 2000 Neuchâtel, Switzerland.
Nacionalidade: suíça
Actividade: comercial e industrial
Data do pedido: 2007/12/19
Produtos: tabaco em bruto ou tabaco tratado, produtos de tabaco incluindo charutos, cigarros, cigarrilhas, tabaco para os fumadores enrolarem os seus próprios cigarros, tabaco de cachimbo, tabaco de mascar, rapé (tabaco), «kretek», sucedâneos do tabaco (não para uso medicinal); artigos para fumadores, incluindo mortalhas para cigarros, boquilhas, filtros para cigarros, latas para tabaco, cigarreiras e cinzeiros, cachimbos, aparelhos de bolso para enrolar cigarros, isqueiros; fósforos.
A marca consiste em:

Data de prioridade: 2007/11/21; País/Território de prioridade: Suíça; n.º de prioridade: 63095/2007.
Marca n.º N/33 152 Classe 5.a
Requerente: Tibotec Pharmaceuticals Ltd., Eastgate Village, Eastgate, Little Island, Co Cork, Irlanda.
Nacionalidade: irlandesa
Actividade: comercial e industrial
Data do pedido: 2007/12/31
Produtos: preparações farmacêuticas para seres humanos, nomeadamente anti-virais para o tratamento do VIH.
A marca consiste em:

Marca n.º N/33 153 Classe 5.a
Requerente: Tibotec Pharmaceuticals Ltd., Eastgate Village, Eastgate, Little Island, Co Cork, Irlanda.
Nacionalidade: irlandesa
Actividade: comercial e industrial
Data do pedido: 2007/12/31
Produtos: preparações farmacêuticas para seres humanos, nomeadamente anti-virais para o tratamento do VIH.
A marca consiste em:

Marca n.º N/33 157 Classe 5.a
Requerente: JOHNSON & JOHNSON, uma sociedade organizada e existindo segundo as leis do Estado de Nova Jérsia, One Johnson & Johnson Plaza, New Brunswick, New Jersey 08933-7001, E.U.A.
Nacionalidade: norte-americana
Actividade: comercial e industrial
Data do pedido: 2007/12/31
Produtos: preparações farmacêuticas para seres humanos, nomeadamente anti-virais para o tratamento do VIH.
A marca consiste em:

Marca n.º N/33 158 Classe 5.a
Requerente: JOHNSON & JOHNSON, uma sociedade organizada e existindo segundo as leis do Estado de Nova Jérsia, One Johnson & Johnson Plaza, New Brunswick, New Jersey 08933-7001, E.U.A.
Nacionalidade: norte-americana
Actividade: comercial e industrial
Data do pedido: 2007/12/31
Produtos: preparações farmacêuticas para seres humanos, nomeadamente anti-virais para o tratamento do VIH.
A marca consiste em:

Protecção de patentes de invenção
De acordo com os artigos 10.º e 83.º do RJPI, aprovado pelo Decreto-Lei n.º 97/99/M, de 13 de Dezembro, a seguir se publicam os pedidos de registo de patentes de invenção para a RAEM e que, a partir da data desta publicação até à data da atribuição da patente, qualquer terceiro pode apresentar reclamações, em conformidade com o artigo 84.º do mesmo diploma.
Publicação de patente de invenção
Patente de invenção n.º: I/000330
Data do pedido: 2006/07/04
Requerente: JUMBO TECHNOLOGY CO., LTD
Domicílio/Sede: 中國台灣台中巿407西屯區工業38路210號5樓之8
Título: Sistema e método de jogo para abertura aos jogadores na operação do grupo de máquinas de jogo «on-line».
Resumo: 本發明公開了一種開放玩家操作連線遊戲機組的遊戲系統及方法,主要是於運用連線遊戲機組的遊戲系統中,設計一個能夠直接由玩家之中選出一位擔任庄家 角色的選擇機制,由該玩家操作連線遊戲的進行流程,以及作為其他玩家競賽比分的對象,並可以於擔任庄家角色的玩家所剩餘的積分不足時,提供是否由店家後援的選擇機制而維持 遊戲進行,有效達到增加連線遊戲機組的變化性及公平性等效果。
Classificação: A63F13/00
Inventor: 林月春
Figura

Patente de invenção n.º: I/000348
Data do pedido: 2006/08/23
Requerente: LAURA MICOL FISHER
Nacionalidade: italiana
Domicílio/Sede: Via Capo di Mondo 27, 50100 Florence, Italy
Título: Estrutura de construção rolante.
Resumo: 本發明提供一種可旋轉的建築結構,包括垂直的中央柱芯,該中央柱芯用於支撐圍繞該柱芯懸掛的地板單元。從該柱芯開始、在對應於地板單元的位置延伸出 的環形平台用於提供到達和離開該中央柱芯的通道。該地板單元包括用於旋轉移動的驅動機構。作用在每個地板外側上的風載荷、和/或繞柱芯轉動而卻是地板本身的單獨部分的水平 風車、定位成在每個地板頂部上的屋頂蓋的太陽電池板以及可以從該地板單元展開的風力工具提供可選擇的用於使所述地板單元旋轉的風力輔助。
Classificação: E04B1/346
Inventor: DAVID H. FISHER
Figura

Patente de invenção n.º: I/000374
Data do pedido: 2006/09/25
Requerente: Gaming Partners International
Nacionalidade: francesa
Domicílio/Sede: Z.I. Beaune-Savigny Lieudit La Champagne 21420 Savigny Les Beaune, França
Título: Mesa de jogo para fichas com chip.
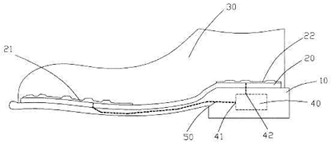
Resumo: A mesa de jogo (10), a utilizar com fichas de jogo com chip de memória incorporado, é composta por um tampo (12) que inclui uma caixa (22), para recolha das fichas, e um posto de controlo, com uma unidade de comunicação, capaz de trocar, através de um dispositivo de antena (29), informações com a memória de uma ficha (25), colocada numa zona de controlo (28), prevista no tampo, estando a unidade de comunicação associada a uma unidade de processamento digital que emite uma mensagem de saída no ecrã (30) de um dispositivo de visualização. A disposição da mesa (10) foi concebida de modo a que o ecrã (30) do dispositivo de visualização esteja separado fisicamente do comando do posto de controlo e que a zona de controlo (28) e o ecrã (30) estejam colocados no tampo (12) próximos um do outro, ao lado da caixa (22) e ao alcance e à vista do operador (18).
A mesa de jogo pode ser utilizada nos casinos e nas salas de jogos.
Classificação: A63F1/06
| Inventor: | Pat BUTRICO |
| Laurent GAUBOUT | |
| Emmanuel GELINOTTE | |
| Gérard CHARLIER | |
| Guillermo BERNAL |
Data de prioridade: 2006/07/10
País/Território de prioridade: FRANÇA
Número de prioridade: PCT/FR2006/001678
Figura

Patente de invenção n.º: I/000396
Data do pedido: 2007/02/05
Requerente: Watson Enterprises Limited
Nacionalidade: das Ilhas Virgens Britânicas
Domicílio/Sede: Trident Chambers, Road Town, Tortola, British Virgin Islands
Título: Máquina de água potável.
Resumo:一種飲水機(100),具有:水箱(110);出口水龍頭(131),所述出口水龍頭通過用於分配來自所述水箱(100)的水的路徑(113)而被連 接至所述水箱(100);以及紫外線殺菌器(150),所述紫外線殺菌器設置在所述路徑(113)中,以便對從所述水箱(100)到所述水龍頭(131)的水進行殺菌。
Classificação: B67D5/00
Inventor: Wong Lap Ming
Data de prioridade: 2006/06/13
País/Território de prioridade: HONG KONG, CHINA
Número de prioridade: 06106771.6
Figura

Patente de invenção n.º: I/000451
Data do pedido: 2007/07/05
Requerente: Shuffle Master, Inc.
Nacionalidade: norte-americana
Domicílio/Sede: 1106 Palms Airport Drive, Las Vegas, Nevada 89119, United States of America
Título: Dispositivo de tratamento de cartas de jogar com duas zonas próximas para entrada e saída de cartas de jogar.
Resumo: 一種紙牌處理設備被公開。該設備包含一個第一邊和一個第二對邊。該設備的組件包含一種紙牌進給盤、一種紙牌輸出盤和一種紙牌處理區。該紙牌進給盤和 紙牌輸出盤均位於該設備的第一邊,並且該紙牌進給盤的上表面和紙牌輸出盤的上表面在同一平面上。本發明的紙牌處理設備亦包含一種觸屏顯示器及一種活動紙牌門。
Classificação: A63F1/12
| Inventor: | SCHEPER, Paul K. |
| GRAUZER, Attila | |
| KELLY, James V. | |
| STASSON, James B. | |
| SWANSON, Ronald R. | |
| BOURBOUR, Feraidoon | |
| NELSON, Troy D. | |
| LOPEZ, Davis B. | |
| YOSELOFF, Mark L. | |
| DUNN, R. Brooke | |
| BLAHA Ernst | |
| KRENN, Peter |
Data de prioridade: 2006/07/05
País/Território de prioridade: ESTADOS UNIDOS
Número de prioridade: 11/481,407
Figura

Patente de invenção n.º: I/000452
Data do pedido: 2007/07/06
Requerente: VendingData Corporation
Nacionalidade: norte-americana
Domicílio/Sede: 1120 Town Center, Suite 260 Las Vegas Nevada 89114 United States of America
Título: Equipamento e método de utilização para classificação e para pôr em ordem as cartas de póker.
Resumo: 一種撲克牌分類排序設備被公開。該設備包含一系列被適配用於保存撲克牌的存儲池。在一個方案中,該等存儲池以環形排列被配置。一系列旋轉皮帶在存儲 池之間移動紙牌。至少一台圖像捕捉設備捕捉撲克牌圖像,以便該等紙牌可依據其花色和/或等級被分類排序。
Classificação: G06T7/20
| Inventor: | Kenneth DICKINSON |
| William PURTON | |
| Francis STIRLING |
Data de prioridade: 2006/07/07
País/Território de prioridade: ESTADOS UNIDOS
Número de prioridade: 60/806,755
Figura

Patente de invenção n.º: I/000453
Data do pedido: 2007/07/06
Requerente: Aruze Corp.
Nacionalidade: japonesa
Domicílio/Sede: 3-1-25, Ariake, Koto-Ku, Tokyo 135-0063 Japan
Título: Máquina de jogo para fornecimento de jogo de bacará e seu método.
Resumo: 一種對玩家提供百家樂遊戲的遊戲機包括:顯示器件;存儲器件,用於存儲獎勵賠率表,該獎勵賠率表定義在玩家贏得百家樂遊戲時要對該玩家支付的獎勵; 操作單元,允許玩家輸入玩百家樂遊戲的命令;以及處理器,該處理器運行,用於:控制顯示器件來顯示百家樂遊戲的進度,該百家樂遊戲對玩家提供包括BANKER、PLAYER、TIE以 及附加投注對象的投注對象;允許玩家利用操作單元輸入對該投注對象投注的命令;在玩家贏得該百家樂遊戲時,參考獎勵賠率表確定對該玩家支付的獎勵;以及對該玩家支付所確定 的獎勵。
Classificação: A63F3/00, G06F17/60
Inventor: YOSHIZAWA, Kazumasa
Data de prioridade: 2006/07/06
País/Território de prioridade: JAPÃO
Número de prioridade: 2006-187119
Figura

Patente de invenção n.º: I/000454
Data do pedido: 2007/07/06
Requerente: Shuffle Master, Inc.
Nacionalidade: norte-americana
Domicílio/Sede: 1106 Palms Airport Drive, Las Vegas, Nevada 89119, United States of America
Título: Sistema de leitura de cartas de jogar utilizando o leitor de CMOS.
Resumo: 一種方法和一種裝置確定一張撲克牌的至少點數或花色之一。該裝置有至少一種2維互補金屬氧化物半導體成像系統,而該成像系統在撲克牌在該系統之上被 移動時提供一種信號。該關信號是一系列被轉換成二進制值的灰度值。被感測到的數據被傳送往一種硬體部件,而該硬體部件向一種外部數據儲存設備識別至少點數和花色之一。
Classificação: A63F1/12
Inventor: DOWN III, Justin G.
Data de prioridade: 2006/07/07
País/Território de prioridade: ESTADOS UNIDOS
Número de prioridade: 11/484,011
Figura

Patente de invenção n.º: I/000462
Data do pedido: 2007/07/24
Requerente: Aruze Gaming America, Inc.
Nacionalidade: norte-americana
Domicílio/Sede: 745 Grier Drive, Las Vegas, Nevada 89119, U.S.A.
Título: Caça-níqueis e respectivo método de jogos.
Resumo: 在根據本發明的投幣機中,佈置在顯示器上的所有符號都由散佈符號形成。此外,如果通過例如將硬幣投入其中而下注期望的積分,則與BET的數量相對應 的符號的類型被設置成有效。例如,如果BET數量為1,則 «CHERRY» 被設置成有效,而如果BET的數量為2,則 «BELL» 被設置成有效。此外,當佈置於顯 示器上的多個符號被自動重新佈置時,根據顯示在顯示器上的已被設置成有效的類型的散佈符號的數量來支付遊戲媒介。例如,當 «CHERRY» 已被設置成有效時,如果在顯 示器上顯示有三個 «CHERRY»,則支付與三個«CHERRY» 相對應的兩個硬幣。
Classificação: A63F9/24
Inventor: Kazuo Okada
Data de prioridade: 2006/07/26
País/Território de prioridade: ESTADOS UNIDOS
Número de prioridade: 60/833,252
Data de prioridade: 2006/10/24
País/Território de prioridade: ESTADOS UNIDOS
Número de prioridade: 11/585,128
Figura

Patente de invenção n.º: I/000463
Data do pedido: 2007/07/25
Requerente: FUJIFILM HUNT SMART SURFACES LLC
Nacionalidade: americana
Domicílio/Sede: 40 Boroline Road, Post Office 320, Allendale, New Jersey 07401, U.S.A.
Título: Mistura de polímero in-situ com base em «polysiloxane» - composição, artigo e método de preparação disso.
Resumo: 本發明係主張由聚矽氧烷(群)及有機聚合物(群)之混合物所組成的穩定混合物組成物。此等聚合物混合物為白色且不透光,顯示存在微米級的相分離。此 等混合物可儲存很長一段時間(數年)而不會顯現肉眼可見的相分離現象。由聚合物混合物可輕易溶於適當有機溶劑以進行分子量定性的事實證明,此等穩定的混合物是在無實質交聯 的情況下達成。本發明之穩定混合物具有特定功效以作為海事運用的污垢釋放塗料。
Classificação: A01N55/10
| Inventor: | Joseph P. Morris |
| Samuel Patrick Gido | |
| Jimmy Wayne Mays |
Data de prioridade: 2006/07/25
País/Território de prioridade: ESTADOS UNIDOS
Número de prioridade: 60/832,971
Data de prioridade: 2006/07/25
País/Território de prioridade: ESTADOS UNIDOS
Número de prioridade: 60/832,972
Figura

Patente de invenção n.º: I/000464
Data do pedido: 2007/07/26
Requerente: IGT
Nacionalidade: americana
Domicílio/Sede: 9295 Prototype Drive, Reno, Nevada 89521-8986, United States of America
Título: Equipamento e procedimento de jogos de fortuna e azar com várias classes de prémio acumulativo e com um jogo de apoio para ganhar as várias classes de prémio acumulativo.
Resumo: 一個賭博系統,包括一個連接到多個賭博遊戲機的中央服務器。賭博系統包括多個不同的累進獎項。獎項是提供給賭博系統裏使用賭博遊戲機的一個或多個玩 家。在一個體現中,一個或多個累進獎項聯繫到主遊戲的一個結果,如一個預定符號組合。如果出現聯繫的主遊戲結果,就把累進獎項提供給玩家。在一個體現中,一個或多個累進獎 項聯繫到一個累進擊中價值。當每個累進獎項增值達到累進擊中價值,就發生一個引發事件,而累進獎項就提供給玩家,而玩家就得到一個或多個贏得附加累進獎項的機會。
Classificação: A63F9/24
Inventor: Ryan W. Cuddy
Data de prioridade: 2006/08/03
País/Território de prioridade: ESTADOS UNIDOS
Número de prioridade: 11/462,285
Figura

Patente de invenção n.º: I/000465
Data do pedido: 2007/07/26
Requerente: IGT
Nacionalidade: americana
Domicílio/Sede: 9295 Prototype Drive, Reno, Nevada 89521-8986, United States of America
Título: Sistema de jogos de fortuna e azar abrangendo várias máquinas de jogos de fortuna e azar ligadas com uma probabilidade idêntica para ganhar um prémio prefixado.
Resumo: 一個由中央控制器控制及包括多個賭博遊戲機的賭博系統。每一部遊戲機包括:玩家通過下注開動的遊戲及多個勝利符號組合,包括一個預定勝利符號組合及 贏得預定勝利符號組合的概率。至少兩部遊戲機有贏得預定勝利組合的不同概率。賭博系統包括一個預定獎項及引發事件,引發事件出現時,中央控制器會改變至少一個遊戲機上贏得 預定勝利符號組合的概率,使每一部遊戲機有產生預定勝利符號組合的相同概率。
Classificação: A63F9/24
Inventor: David H. Muir
Data de prioridade: 2006/07/27
País/Território de prioridade: ESTADOS UNIDOS
Número de prioridade: 11/460,490
Figura

Patente de invenção n.º: I/000468
Data do pedido: 2007/07/31
Requerente: Aruze Corp.
Nacionalidade: japonesa
Domicílio/Sede: 3-1-25, Ariake, Koto-ku, Tokyo, Japan
Título: Máquina de jogos e fornecimento do método de jogos.
Resumo: 本發明提供了一種遊戲機和提供遊戲的方法。該遊戲機包括:顯示器;操作單元,該操作單元使得玩家能夠輸入命令以進行遊戲;以及處理器,該處理器可以 與所述顯示器和所述操作單元操作用來:控制所述顯示器顯示多個符號的排列,以提供遊戲,這些符號分別屬於多個種類中的一種;當確定所述排列為包括預定數量的屬於被限定為特 定符號的種類的符號的組合時,向玩家提供獎賞;以及當滿足預定的條件時修改被限定為特定符號的符號的種類。
Classificação: A63F5/04
Inventor: Yukinori INAMURA
Data de prioridade: 2006/08/01
País/Território de prioridade: JAPÃO
Número de prioridade: 2006-209837
Figura

Patente de invenção n.º: I/000469
Data do pedido: 2007/07/31
Requerente: Aruze Corp.
Nacionalidade: japonesa
Domicílio/Sede: 3-1-25, Ariake, Koto-ku, Tokyo, Japan
Título: Máquina de jogos e fornecimento do método de jogos.
Resumo: 本發明提供了一種遊戲機和提供遊戲的方法。該遊戲機包括:顯示器;操作單元,該操作單元使得玩家能夠輸入命令以進行遊戲;以及處理器,該處理器可以 與所述顯示器和所述操作單元操作用來:控制所述顯示器顯示多個符號的排列,以提供遊戲,這些符號分別屬於多個種類中的一種;當確定所述排列為包括預定數量的屬於被限定為特 定符號的種類的符號的組合時,向玩家提供獎賞,該獎賞的細節是根據包括在所述排列中的屬於被限定為特定符號的種類的符號的數量來確定的;以及當滿足預定的條件時改變這些符 號的數量的上限。
Classificação: A63F5/04
Inventor: Yukinori INAMURA
Data de prioridade: 2006/08/01
País/Território de prioridade: JAPÃO
Número de prioridade: 2006-209862
Figura

Patente de invenção n.º: I/000470
Data do pedido: 2007/07/31
Requerente: Aruze Gaming America, Inc.
Nacionalidade: norte-americana
Domicílio/Sede: 745 Grier Drive, Las Vegas, Nevada 89119, U.S.A.
Título: Caça-níqueis e respectivo método de jogos.
Resumo: 根據本發明的一種投幣機是包括以下部件的投幣機:具有顯示區域的顯示器,在該顯示區域上將排列有多個符號;和控制器,控制器確定是否滿足預定符號排 列指定條件,當滿足符號排列指定條件時,根據遊戲者輸入的命令,從多個候選符號排列對特定的符號排列進行確定,根據特定的符號排列,對顯示區域內的多個符號進行重新排列。
Classificação: A63F9/24
Inventor: Kazuo Okada
Data de prioridade: 2006/08/02
País/Território de prioridade: ESTADOS UNIDOS
Número de prioridade: 60/834,812
Data de prioridade: 2007/04/17
País/Território de prioridade: ESTADOS UNIDOS
Número de prioridade: 11/785,315
Figura

Patente de invenção n.º: I/000471
Data do pedido: 2007/07/31
Requerente: Aruze Gaming America, Inc.
Nacionalidade: norte-americana
Domicílio/Sede: 745 Grier Drive, Las Vegas, Nevada 89119, U.S.A.
Título: Caça-níqueis e respectivo método de jogos.
Resumo: 根據本發明的投幣機包括用於佈置多個符號的顯示器,以及用於在佈置於顯示器上的多個符號被自動重新佈置時,根據顯示於顯示器上的散佈符號的數量和位 置支付遊戲媒介的控制器。
Classificação: A63F9/24
Inventor: Kazuo Okada
Data de prioridade: 2006/08/02
País/Território de prioridade: ESTADOS UNIDOS
Número de prioridade: 60/834,747
Data de prioridade: 2006/10/24
País/Território de prioridade: ESTADOS UNIDOS
Número de prioridade: 11/585,243
Figura

Patente de invenção n.º: I/000472
Data do pedido: 2007/07/31
Requerente: Aruze Gaming America, Inc.
Nacionalidade: norte-americana
Domicílio/Sede: 745 Grier Drive, Las Vegas, Nevada 89119, U.S.A.
Título: Caça-níqueis e respectivo método de jogos.
Resumo: 根據本發明的投幣機是包括以下的投幣機:顯示器,其具有要排列多個符號和設置多條獲勝線的矩形顯示區域,獲勝線包括連接顯示區域的相對角的兩條交叉 線;以及控制器,其在顯示區域中設置多條獲勝線,並重新排列顯示區域內的多個符號,控制器還在沿着至少一條交叉線重新排列的符號的組合是預定獲勝組合時進行高支付,高支付 具有比在沿着除交叉線以外獲勝線生成獲勝組合的情況下的支付更高的支付率。
Classificação: A63F9/24
Inventor: Kazuo Okada
Data de prioridade: 2006/08/02
País/Território de prioridade: ESTADOS UNIDOS
Número de prioridade: 60/834,807
Data de prioridade: 2006/10/30
País/Território de prioridade: ESTADOS UNIDOS
Número de prioridade: 11/589,159
Figura

Patente de invenção n.º: I/000473
Data do pedido: 2007/07/31
Requerente: Aruze Gaming America, Inc.
Nacionalidade: norte-americana
Domicílio/Sede: 745 Grier Drive, Las Vegas, Nevada 89119, U.S.A.
Título: Caça-níqueis e respectivo método de jogos.
Resumo: 本發明的投幣機為具有以下配置的投幣機,包括:具有矩形的顯示區域的顯示器,多個符號佈置在矩形的顯示域區域中,並且設置至少兩條交叉線,每一條交 叉線連接顯示區域的對角;和控制器,控制器在顯示區域中重新佈置多個符號,在重新佈置在顯示區域的各對角線的兩端上的符號相同時,設置兩條交叉線,當在所述交叉線上重新佈 置的是,與重新佈置在所述兩端的符號相同的符號時,執行高支付,所述高支付具有比所述相同符號被重新佈置在除所述交叉線以外的位置處的情況下的支付更高的比率,其中所述交 叉線的兩端處重新佈置有相同符號。
Classificação: A63F9/24
Inventor: Kazuo Okada
Data de prioridade: 2006/08/02
País/Território de prioridade: ESTADOS UNIDOS
Número de prioridade: 60/834,806
Data de prioridade: 2007/02/15
País/Território de prioridade: ESTADOS UNIDOS
Número de prioridade: 11/706,302
Figura

Patente de invenção n.º: I/000474
Data do pedido: 2007/07/31
Requerente: Aruze Gaming America, Inc.
Nacionalidade: norte-americana
Domicílio/Sede: 745 Grier Drive, Las Vegas, Nevada 89119, U.S.A.
Título: Caça-níqueis e respectivo método de jogos.
Resumo: 本發明的投幣機包括:顯示器,其具有矩形的顯示區域,該顯示區域上將排列多個符號並且將至少設置兩條交叉線,交叉線中的每一條連接顯示區域的對角; 和控制器,控制器重新排列區域內的多個符號,當顯示區域的各條對角線兩端上重新排列的符號相同時,設置兩條交叉線,當在交叉線上重新排列的是與交叉線的兩端處重新排列的符 號相同的符號時,執行高支付,該高支付比該相同符號被重新排列在除交叉線以外的位置處的情況下的支付率更高,其中交叉線的兩端處排列有相同的符號,以及在執行上述的高支付 後,在預定次數的遊戲期間保持重新排列在各條對角線的兩端處的符號。
Classificação: A63F9/24
Inventor: Kazuo Okada
Data de prioridade: 2006/08/02
País/Território de prioridade: ESTADOS UNIDOS
Número de prioridade: 60/834,815
Data de prioridade: 2007/02/15
País/Território de prioridade: ESTADOS UNIDOS
Número de prioridade: 11/706,262
Figura

Patente de invenção n.º: I/000475
Data do pedido: 2007/07/31
Requerente: Aruze Gaming America, Inc.
Nacionalidade: norte-americana
Domicílio/Sede: 745 Grier Drive, Las Vegas, Nevada 89119, U.S.A.
Título: Caça-níqueis e respectivo método de jogos.
Resumo: 根據本發明的投幣機包括:顯示器,其具有要排列多個符號且至少要設置兩條交叉線的矩形顯示區域,每條交叉線連接顯示區域的相對角;和控制器,控制器 重新排列顯示區域內的多個符號,並且在重新排列在顯示區域的各對角線兩端的符號相同時,設置兩條交叉線並在交叉線的交叉點處重新排列交叉符號,交叉符號被允許充當重新排列 在各交叉線的兩端上的兩端符號。
Classificação: A63F9/24
Inventor: Kazuo Okada
Data de prioridade: 2006/08/02
País/Território de prioridade: ESTADOS UNIDOS
Número de prioridade: 60/834,814
Data de prioridade: 2007/02/14
País/Território de prioridade: ESTADOS UNIDOS
Número de prioridade: 11/705,769
Figura

Patente de invenção n.º: I/000476
Data do pedido: 2007/07/31
Requerente: Aruze Gaming America, Inc.
Nacionalidade: norte-americana
Domicílio/Sede: 745 Grier Drive, Las Vegas, Nevada 89119, U.S.A.
Título: Caça-níqueis e respectivo método de jogos.
Resumo: 一種根據本發明的投幣機,包括:顯示器,其具有矩形的顯示區域,在該顯示區域上將排列多個符號並且至少設置兩條交叉線,兩條交叉線中的每條連接顯示 區域的對角;和控制器,控制器重新排列顯示區域內的多個符號,並且當相同符號重新排列在顯示區域的各對角線的兩端處時,控制器設置兩條交叉線,並在交叉線的交點上重新排列 百搭符號或累積獎金符號。
Classificação: A63F9/24
Inventor: Kazuo Okada
Data de prioridade: 2006/08/02
País/Território de prioridade: ESTADOS UNIDOS
Número de prioridade: 60/834,813
Data de prioridade: 2007/02/20
País/Território de prioridade: ESTADOS UNIDOS
Número de prioridade: 11/708,064
Figura

Patente de invenção n.º: I/000477
Data do pedido: 2007/08/01
Requerente: Aruze Corp.
Nacionalidade: japonesa
Domicílio/Sede: 3-1-25 Ariake, Koto-ku, Tokyo, Japan
Título: Caça-níqueis e métodos para fornecer o jogo de máquina de moeda.
Resumo: 本發明公開了一種用於提供投幣遊戲的投幣遊戲機和方法。所述投幣遊戲機包括:顯示器,其顯示多個符號的排列以提供投幣遊戲;操作單元,其允許所述玩 家輸入用於玩所述投幣遊戲的命令;處理器,其可與所述顯示器一起操作,以接受由所述玩家通過所述操作單元進行的投注,控制所述顯示器以執行所述符號的可變顯示,並對在執行 所述可變顯示後以第一排列方式停止的所述符號進行顯示,允許所述玩家輸入用於保持所述符號中的至少一個的保持命令,控制所述顯示器以對未保持的符號再次執行所述可變顯示, 並對在再次執行所述可變顯示後停止成以第二排列方式排列符號的所述未保持的符號進行顯示。
Classificação: A63F5/04
Inventor: Yukinori Inamura
Data de prioridade: 2006/08/01
País/Território de prioridade: JAPÃO
Número de prioridade: 2006-209825
Figura

Patente de invenção n.º: I/000478
Data do pedido: 2007/08/01
Requerente: Aruze Corp.
Nacionalidade: japonesa
Domicílio/Sede: 3-1-25 Ariake, Koto-ku, Tokyo, Japan
Título: Máquina de jogos e respectivo método de jogos.
Resumo: 描述了一種使用多面體的遊戲環境。三個輪盤可以被可變化地顯示。每個輪盤可以由多個多面體構成。九個多面體可以被停止並在顯示器上以3X3矩陣顯示 。如果特定符號被顯示在多個多面體的任何正面上,則只有具有特定符號的多面體可以被旋轉。如果顯示在位於3X3矩陣的中間行的多面體的正面上的符號組合是任何獲勝組合,則 將向玩家提供獎勵。
Classificação: A63F5/04
Inventor: YOSHIZAWA, Kazumasa
Data de prioridade: 2006/08/07
País/Território de prioridade: JAPÃO
Número de prioridade: 2006-214900
Figura

Patente de invenção n.º: I/000479
Data do pedido: 2007/08/01
Requerente: Aruze Corp.
Nacionalidade: japonesa
Domicílio/Sede: 3-1-25 Ariake, Koto-ku, Tokyo, Japan
Título: Máquina de jogos e respectivo método de jogos.
Resumo: 對利用多面體的遊戲環境進行說明。可變化地顯示三個輪盤。每個輪盤可以由多面體構成。9個多面體可以被停止並且以3X3的矩陣被顯示在顯示器上。然 後,被選擇的多面體可以被旋轉,並且只由未被選中的多面體構成的輪盤可以自旋。如果位於3X3的矩陣的中間一行的多面體的正面上顯示的符號組合是獲勝組合,那麼將向玩家提 供獎勵。
Classificação: A63F5/04
Inventor: YOSHIZAWA, Kazumasa
Data de prioridade: 2006/08/21
País/Território de prioridade: JAPÃO
Número de prioridade: 2006-224365
Figura

Patente de invenção n.º: I/000480
Data do pedido: 2007/08/02
Requerente: Aruze Corp.
Nacionalidade: japonesa
Domicílio/Sede: 3-1-25 Ariake, Koto-ku, Tokyo 135-0063 Japan
Título: Máquina de jogos e respectivo método de jogos.
Resumo: 提供一種遊戲機,該遊戲機可通過改變在該遊戲機上所設置的顯示部分所顯示的多符號和支付線的位置,因此提供了視頻的變化,來增強娛樂性。在符號列數 據中,由多種符號圖像所構成的多個符號的順序是設定的,符號列數據中的每一個對應於在投幣式遊戲的下部圖像顯示面板14上的、以一個三行三列的矩陣式排列的顯示區域A至I中 的每一個,在每一個顯示區域內顯示基於相應的符號列數據中的一個符號數據的符號圖像。在滿足了一個規定條件的情況下,對在顯示區域A至I和與其對應的符號列數據之間的相關 性關係進行改變。
Classificação: A63F5/04
Inventor: HOSOKAWA, Norio
Data de prioridade: 2006/08/02
País/Território de prioridade: JAPÃO
Número de prioridade: 2006-211231
Figura

Patente de invenção n.º: I/000481
Data do pedido: 2007/08/02
Requerente: Aruze Gaming America, Inc.
Nacionalidade: norte-americana
Domicílio/Sede: 745 Grier Drive, Las Vegas, Nevada 89119, U.S.A.
Título: Caça-níqueis e respectivo método de jogos.
Resumo: 根據本發明的投幣機是包括以下組件的投幣機:顯示器,其具有顯示區域,在該顯示區域上將佈置有多個符號和指定所述符號中的任何符號的目標;以及控制 器,該控制器在預定目標佈置條件被滿足時,在顯示區域內對多個符號進行重新佈置並在顯示區域內佈置目標,並且基於重新佈置在顯示區域內的符號進行支付,該支付被設置成這樣 的值:基於由目標指定的重新佈置的符號而進行的支付比重新佈置的符號未由目標指定的情況下的支付具有更高的支付值。
Classificação: A63F9/24
Inventor: Kazuo Okada
Data de prioridade: 2006/08/07
País/Território de prioridade: ESTADOS UNIDOS
Número de prioridade: 60/835,869
Data de prioridade: 2007/04/05
País/Território de prioridade: ESTADOS UNIDOS
Número de prioridade: 11/783,084
Figura

Patente de invenção n.º: I/000482
Data do pedido: 2007/08/03
Requerente: Aruze Corp.
Nacionalidade: japonesa
Domicílio/Sede: 3-1-25 Ariake, Koto-ku, Tokyo 135-0063 Japan
Título: Máquina de jogos e respectivo método de jogos.
Resumo: 本文說明了借助於使用多面體的遊戲環境。三個輪盤可以被可變地顯示。每一個輪盤都可以由多面體構成。九個多面體可以在顯示器上停止並且顯示為3X3的 矩陣。如果特定條件被滿足,則每一個多面體可以旋轉而輪盤不自旋。如果顯示在位於3X3矩陣的中間行的多面體的前表面上的符號組合是任何獲勝組合,則獎勵將被提供給用戶。
Classificação: A63F5/04
Inventor: YOSHIZAWA Kazumasa
Data de prioridade: 2006/08/07
País/Território de prioridade: JAPÃO
Número de prioridade: 2006-214888
Figura

Patente de invenção n.º: I/000483
Data do pedido: 2007/08/03
Requerente: Aruze Gaming America, Inc.
Nacionalidade: norte-americana
Domicílio/Sede: 745 Grier Drive, Las Vegas, Nevada 89119, U.S.A.
Título: Caça-níqueis e respectivo método de operações.
Resumo: 本發明提供一種投幣遊戲機及其操作方法。將用於對多個符號進行排列的排列區和用於顯示多個選擇對象符號的選擇區設置到顯示器的不同部分。將所述多個 選擇對象符號顯示在選擇區中。在這些選擇對象符號中,由玩家來設定分散符號。在顯示器中對包括分散符號在內的所述多個符號進行重排。獎勵由在支付線上重排的符號的組合而確 定的支付。此外,獎勵基於在支付線之上和之外重排的分散符號而確定的支付。
Classificação: A63F9/24
Inventor: Kazuo OKADA
Data de prioridade: 2006/08/04
País/Território de prioridade: ESTADOS UNIDOS
Número de prioridade: 60/835,437
Data de prioridade: 2006/12/18
País/Território de prioridade: ESTADOS UNIDOS
Número de prioridade: 11/640,387
Figura

Patente de invenção n.º: I/000484
Data do pedido: 2007/08/07
Requerente: Aruze Gaming America, Inc.
Nacionalidade: norte-americana
Domicílio/Sede: 745 Grier Drive, Las Vegas, Nevada 89119, U.S.A.
Título: Sistema de jogos incluindo caça-níqueis e seu método de controlo de jogos.
Resumo: 本發明提供一種遊戲系統,包括:具有用於控制基本遊戲的控制器;具有當 «BONUS» 符號的組合沿有效支付線停止時傳送第二遊戲開始訊號的功能 的投幣機;獨立於投幣機並執行輪盤遊戲的第二遊戲裝置;顯示與第二遊戲裝置執行的遊戲狀態相對應的圖像的顯示器。另外,遊戲系統包括具有與投幣機、第二遊戲裝置以及顯示器 通訊功能,並根據收到的第二遊戲開始訊號開始第二遊戲裝置執行的輪盤遊戲的中央控制器。
Classificação: A63F9/24
Inventor: Kazuo Okada
Data de prioridade: 2006/08/09
País/Território de prioridade: ESTADOS UNIDOS
Número de prioridade: 60/836,402
Data de prioridade: 2006/12/08
País/Território de prioridade: ESTADOS UNIDOS
Número de prioridade: 11/635,513
Figura

Patente de invenção n.º: I/000485
Data do pedido: 2007/08/07
Requerente: Aruze Gaming America, Inc.
Nacionalidade: norte-americana
Domicílio/Sede: 745 Grier Drive, Las Vegas, Nevada 89119, U.S.A.
Título: Sistema de jogos incluindo caça-níqueis e seu método de controlo de jogos.
Resumo: 一種用於進行基礎遊戲的遊戲系統,其包括:當«BONUS» 符號的組合停止在獲勝線上時,傳送用於切換到輪盤遊戲的訊號的投幣機;執行第二遊戲的 與投幣機分離的第二遊戲裝置;以及用於顯示與第二遊戲裝置的遊戲狀態相對應的圖像的顯示器。在從任何一個投幣機傳送了切換訊號的情況下,其它投幣機進入允許其他投幣機上的 遊戲者參與第二遊戲的模式。此外,該遊戲系統還包括中央控制器,其可以與投幣機、第二遊戲裝置以及顯示器進行通訊,並且一旦從投幣機接收到切換訊號,就傳送用於在第二遊戲 裝置上開始輪盤遊戲的輪盤遊戲開始訊號。
Classificação: A63F9/24
Inventor: Kazuo Okada
Data de prioridade: 2006/08/09
País/Território de prioridade: ESTADOS UNIDOS
Número de prioridade: 60/836,387
Data de prioridade: 2006/12/12
País/Território de prioridade: ESTADOS UNIDOS
Número de prioridade: 11/637,129
Figura

Patente de invenção n.º: I/000486
Data do pedido: 2007/08/08
Requerente: Aruze Corp.
Nacionalidade: japonesa
Domicílio/Sede: 3-1-25, Ariake, Koto-ku, Tokyo 135-0063 Japan
Título: Máquina de jogos e respectivo método de jogos.
Resumo: 介紹了一種使用多面體的遊戲環境。三個輪盤被變動地顯示。每個輪盤由多面體構成。九個多面體以3X3的矩陣停止並顯示在顯示器上。如果顯示在垂直或 水平相鄰多面體的同側表面上的符號是特定符號,表面可被組合且已組合的表面可被顯示。如果位於3X3矩陣的中間一行上的多面體的前表面上顯示的符號的組合是中獎組合,獎勵 會提供給用戶。
Classificação: A63F5/04
Inventor: YOSHIZAWA Kazumasa
Data de prioridade: 2006/08/21
País/Território de prioridade: JAPÃO
Número de prioridade: 2006-224417
Figura

Patente de invenção n.º: I/000487
Data do pedido: 2007/08/09
Requerente: Aruze Corp.
Nacionalidade: japonesa
Domicílio/Sede: 3-1-25, Ariake, Koto-ku, Tokyo, Japan
Título: Máquina de jogo e seu método cujo prémio é determinado com base numa combinação de símbolos depois de apagar os símbolos de caracteres.
Resumo: 本發明提供了一種基於擦除字符後的符號組合而確定獎勵的遊戲機及其玩法。該遊戲機包括顯示器和遊戲控制器。在該顯示器上顯示符號顯示區和符號顯示幀 ,在該符號顯示區中排列多個符號中的一個,該符號顯示幀由多個符號顯示區組成。當在所述符號顯示幀中重新排列符號時,所述遊戲控制器執行:在多個所述符號顯示區上顯示字符 ,該字符用於隱藏所述符號顯示區中排列的符號;以符號顯示區為單位順序地擦除在多個所述符號顯示區上顯示的多個字符中的一部分;以及基於作為字符擦除的結果而變得可見的符 號的組合,來確定給予玩家的獎勵。
Classificação: A63F5/04, A63F13/00
Inventor: Katsuhiro KIDO
Data de prioridade: 2006/08/10
País/Território de prioridade: JAPÃO
Número de prioridade: 2006-218854
Figura

Patente de invenção n.º: I/000488
Data do pedido: 2007/08/09
Requerente: Aruze Corp.
Nacionalidade: japonesa
Domicílio/Sede: 3-1-25, Ariake, Koto-ku, Tokyo, Japan
Título: Máquina de jogo e seu método cujo prémio é determinado com base numa combinação de símbolos depois de deslocação de figuras na via de deslocação.
Resumo: 本發明涉及一種基於移動角色的移動路徑上的符號組合確定獎勵的遊戲機及該遊戲機的遊戲方法。該遊戲機包括顯示器和遊戲控制器。在該顯示器上顯示有符 號顯示區以及由多符號顯示區構成的符號顯示框,在該符號顯示區中佈置有多種符號中的一種。當進行遊戲時,所述遊戲控制器進行以下操作:在所述符號顯示框的外側顯示一角色, 該角色在以符號顯示區為單位基礎的移動路徑上移動;使顯示在所述符號顯示框的外側的所述角色沿着所述移動路徑在所述符號顯示區上移動;和基於位於所述移動的角色的所述移動 路徑上的符號組合來確定給予玩家的獎勵。
Classificação: A63F5/04, A63F13/00
Inventor: Katsuhiro KIDO
Data de prioridade: 2006/08/10
País/Território de prioridade: JAPÃO
Número de prioridade: 2006-218860
Figura

Patente de invenção n.º: I/000489
Data do pedido: 2007/08/09
Requerente: Karaway Gaming
Nacionalidade: americana
Domicílio/Sede: 3800 Howard Hughes Pkwy. Ste 850, Las Vegas, NV, 89169, U.S.A.
Título: Sistema, método e dispositivo para implementar o jogo de possibilidade.
Resumo: 本發明涉及一個系統和一個包括可移除的數據存儲器的裝置,該可移除數據存儲器存儲點數餘額和/或一個或更多可由平台的平台處理器執行的概率遊戲。在 數據存儲器、與平台處理器相關聯的內存、或服務器上的程序指令引導數據存儲器和平台處理器之間的關係。平台處理器實施概率遊戲,可選擇地使用平台上的隨機數字生成器,並追 蹤遊戲歷史和點數餘額。可選地,在遊戲的結尾,將遊戲歷史和點數餘額存儲在數據存儲器中並鎖住。
Classificação: A63F9/24
| Inventor: | Wayne Odom |
| O. Karolyn Gee |
Data de prioridade: 2006/08/10
País/Território de prioridade: ESTADOS UNIDOS
Número de prioridade: 11/503,321
Data de prioridade: 2006/09/11
País/Território de prioridade: ESTADOS UNIDOS
Número de prioridade: 11/519,161
Data de prioridade: 2007/04/19
País/Território de prioridade: ESTADOS UNIDOS
Número de prioridade: 11/788,602
Figura

Patente de invenção n.º: I/000490
Data do pedido: 2007/08/10
Requerente: Aruze Gaming America, Inc.
Nacionalidade: norte-americana
Domicílio/Sede: 745 Grier Drive, Las Vegas, Nevada 89119, USA
Título: Caça-níqueis e respectivo método de jogos.
Resumo: 本發明提供一種投幣機及其遊戲方法。從外部接收選擇訊號。在多種類型的多個選擇對象符號中,將具有與所述選擇訊號相對應的類型的至少一個選擇對象符 號設定為分散符號。基於從外部輸入的支付等級訊號來設定所設定的分散符號的支付等級。在顯示器中對包括所述分散符號在內的多個符號進行重排。獎勵由在支付線上重排的符號的 組合而確定的支付。獎勵基於在所述支付線之上和之外重排的分散符號以及所述支付等級而確定的支付。
Classificação: A63F9/24
Inventor: Kazuo OKADA
Data de prioridade: 2006/08/11
País/Território de prioridade: ESTADOS UNIDOS
Número de prioridade: 60/836,934
Data de prioridade: 2006/10/30
País/Território de prioridade: ESTADOS UNIDOS
Número de prioridade: 11/589,157
Figura

Patente de invenção n.º: I/000491
Data do pedido: 2007/08/13
Requerente: Aruze Gaming America, Inc.
Nacionalidade: norte-americana
Domicílio/Sede: 745 Grier Drive, Las Vegas, Nevada 89119, U.S.A.
Título: Sistema de jogos incluindo caça-níqueis e seu método de controlo de jogos.
Resumo: 一種遊戲系統,其包括:一個或多個投幣機,每個投幣機包括用於控制基礎遊戲的控制器,並且具有在 «BONUS» 符號組合在基礎遊戲中沿着激活支 付線停止的情況下,傳送第二遊戲開始訊號的功能;第二遊戲裝置,其與投幣機相分離並且具有執行輪盤遊戲的功能;以及圖像捕獲裝置,其具有在接收到預定圖像捕獲訊號後捕獲第 二遊戲裝置的圖像的功能,以及傳送該圖像數據的功能。而且,該遊戲系統包括中央控制器,其被可通訊地連接至投幣機、第二遊戲裝置和圖像捕獲裝置。該中央控制器在接收到第二 遊戲開始訊號後向圖像捕獲裝置傳送圖像捕獲訊號。在接收到這樣捕獲的圖像數據後,中央控制器向遊戲者正在進行第二遊戲的投幣機傳送圖像數據。
Classificação: A63F9/24
Inventor: OKADA Kazuo
Data de prioridade: 2006/08/15
País/Território de prioridade: ESTADOS UNIDOS
Número de prioridade: 60/837,621
Data de prioridade: 2006/12/11
País/Território de prioridade: ESTADOS UNIDOS
Número de prioridade: 11/636,450
Figura

Patente de invenção n.º: I/000492
Data do pedido: 2007/08/13
Requerente: Aruze Gaming America, Inc.
Nacionalidade: norte-americana
Domicílio/Sede: 745 Grier Drive, Las Vegas, Nevada 89119, U.S.A.
Título: Sistema de jogos incluindo caça-níqueis e seu método de controlo de jogos.
Resumo: 一種遊戲系統,包括多台投幣機,每台投幣機都提供與其它投幣機所提供的基礎遊戲種類不同的基礎遊戲;該系統還包括與該多台投幣機分離的第二遊戲裝置 ,該第二遊戲裝置提供輪盤遊戲。該遊戲系統包括中央控制器。對於這樣的佈置,在任一投幣機的基礎遊戲中,在 «BONUS» 符號組合停止在激活的支付線上的情況下,中央 控制器從該投幣機接收第二遊戲開始訊號。此外,中央控制器以預定的定時從多台投幣機接收基礎遊戲的支付數據,並基於該支付數據確定第二遊戲的支付。
Classificação: A63F9/24
Inventor: OKADA Kazuo
Data de prioridade: 2006/08/15
País/Território de prioridade: ESTADOS UNIDOS
Número de prioridade: 60/837,617
Data de prioridade: 2006/12/12
País/Território de prioridade: ESTADOS UNIDOS
Número de prioridade: 11/637,127
Figura

Patente de invenção n.º: I/000493
Data do pedido: 2007/08/13
Requerente: Aruze Gaming America, Inc.
Nacionalidade: norte-americana
Domicílio/Sede: 745 Grier Drive, Las Vegas, Nevada 89119, U.S.A.
Título: Sistema de jogos incluindo caça-níqueis e seu método de controlo de jogos.
Resumo: 遊戲系統包括:傳送訊號以將遊戲切換到輪盤遊戲的投幣機;具有執行輪盤遊戲功能的第二遊戲裝置;第二遊戲終端,其中每一個被用作輪盤遊戲的專用終端 ;和中央控制器。中央控制器具有:與投幣機、第二遊戲裝置和第二遊戲終端通訊的功能。在收到來自上述投幣機的切換訊號時,中央控制器發送用於啟動輪盤遊戲的開始訊號,指示 第二遊戲裝置啟動輪盤遊戲。在輪盤遊戲中的特定條件已被滿足時,根據預定的比例,中央控制器提供對投幣機和第二遊戲終端的支付。
Classificação: A63F9/24
Inventor: OKADA Kazuo
Data de prioridade: 2006/08/15
País/Território de prioridade: ESTADOS UNIDOS
Número de prioridade: 60/837,616
Data de prioridade: 2006/12/12
País/Território de prioridade: ESTADOS UNIDOS
Número de prioridade: 11/637,018
Figura

Patente de invenção n.º: I/000494
Data do pedido: 2007/08/13
Requerente: Aruze Corp.
Nacionalidade: japonesa
Domicílio/Sede: 3-1-25, Ariake, Koto-ku, Tokyo 135-0063 Japan
Título: Caça-níqueis.
Resumo: 一種投幣機,其包括顯示器和控制器。顯示器顯示多個六邊形單元格,這多個六邊形單元格被佈置成使得每個單元格的每個邊與另一相鄰單元格的相應的邊接 觸。控制器從多種符號中隨機地選擇將被顯示在每個單元格中的符號,並控制顯示器在每個單元格中顯示被選擇的符號。當沿着包括多個排成直線的單元格的支付線顯示的符號與有資 格獲得獎賞的預定組合相匹配時,控制器為遊戲者提供獎賞。
Classificação: A63F5/04
Inventor: KATO Yoichi
Data de prioridade: 2006/08/15
País/Território de prioridade: JAPÃO
Número de prioridade: 2006-221639
Figura

Patente de invenção n.º: I/000495
Data do pedido: 2007/08/13
Requerente: Aruze Corp.
Nacionalidade: japonesa
Domicílio/Sede: 3-1-25, Ariake, Koto-ku, Tokyo 135-0063 Japan
Título: Caça-níqueis.
Resumo: 本發明提供了一種投幣機,其包括顯示器、存儲器和控制器。顯示器顯示遊戲的圖像。存儲器存儲關於屬性的符號數據,其中的屬性指示多種符號類型。
控制器由包括以下步驟的處理來配置:開始遊戲,並從符號數據中隨機選擇要顯示的數據;控制選定數據顯示在排列成矩陣的顯示器的多個單元格中;將相互相鄰的具有相同屬 性的單元格識別為鄰接組;以及,根據屬性和屬於鄰接組的單元格的數目向遊戲者提供預定的獎勵。
Classificação: A63F5/04
Inventor: KATO Yoichi
Data de prioridade: 2006/08/15
País/Território de prioridade: JAPÃO
Número de prioridade: 2006-221640
Figura

Patente de invenção n.º: I/000542
Data do pedido: 2007/09/03
Requerente: IGT
Nacionalidade: americana
Domicílio/Sede: 9295 Prototype Drive, Reno, Nevada 89521-8986 E.U.A.
Título: Equipamento inteligente móvel e sem fios para uso no sistema de jogo de mesa de casino.
Resumo: É divulgada uma técnica para facilitar jogar um jogo de mesa de casino, num sistema de jogos de mesa de casino, que inclui um jogo de mesa de casino e, pelo menos, um dispositivo portátil. Pelo menos, uma parte das operações ou actividades relacionadas com o jogo de casino pode ser executada num primeiro dispositivo portátil. Exemplos destas operações podem incluir dar electronicamente uma primeira carta a um primeiro jogador, através do primeiro dispositivo portátil, apresentar ao primeiro jogador uma representação da primeira carta, através de um ecrã no primeiro dispositivo portátil, etc. Numa forma de realização, pelo menos uma associação entre um dispositivo portátil seleccionado e a primeira estação de jogador pode ser criada e utilizada para actividades subsequentes de jogos, para permitir que o dispositivo portátil seleccionado possa funcionar, para apresentar dados de jogos, referentes a actividades de jogos associadas com a primeira estação de jogador. Em algumas formas de realização, pelo menos uma parte das características de um dispositivo portátil seleccionado pode ser permitida/inibida, com base na detecção de uma ou mais condições ou eventos. De acordo com formas de realização específicas, o dispositivo portátil pode ser adaptado para proporcionar diversas funcionalidades, para facilitar jogar jogos numa mesa de jogos de casino. Exemplos destas funcionalidades podem incluir, por exemplo, permitir que um jogador seleccione cartas para descartar/conservar; permitir que um jogador execute actividades de apostas; recuperar e/ou apresentar dados de rastreamento do jogador; recuperar e/ou apresentar dados de conta de jogador; apresentar informação para auxiliar a jogar o jogo; apresentar informação da disposição do casino; apresentar informação promocional; etc.
Classificação: A63F9/24
| Inventor: | Binh T Nguyen |
| Kevin Gum | |
| Chauncey W Griswold |
Data de prioridade: 2006/09/01
País/Território de prioridade: ESTADOS UNIDOS
Número de prioridade: 11/515,183
Figura

Patente de invenção n.º: I/000562
Data do pedido: 2007/09/07
Requerente: IGT
Nacionalidade: americana
Domicílio/Sede: 9295 Prototype Drive, Reno, Nevada 89521-8986, E.U.A.
Título: Método e equipamento de apresentação em casino.
Resumo: São descritos novos métodos, dispositivos e sistemas para formar ecrãs e criar ambientes num casino. Algumas implementações da invenção proporcionam aparências configuráveis para as máquinas de jogos, que podem ser formadas a partir de papel electrónico ou similar. Os ambientes de casino podem ser criados de acordo com um tema de jogo e/ou indicar um grupo de jogadores. O ambiente pode incluir superfícies configuráveis de máquinas de jogos e/ou superfícies próximas, tais como paredes, pavimentos e tectos. Luz projectada e/ou um sistema áudio podem ser utilizados para aumentar o ambiente imersivo e dinâmico. De um modo preferido, algumas ou todas estas características podem ser mudadas automaticamente, quando muda o tema de um jogo.
Classificação: A63F9/24
| Inventor: | Brian UNDERDAHL |
| Binh T NGUYEN | |
| Yuliya HUNGATE | |
| Steven G LeMAY |
Data de prioridade: 2006/09/07
País/Território de prioridade: ESTADOS UNIDOS
Número de prioridade: 11/517,861
Figura

Patente de invenção n.º: I/000569
Data do pedido: 2007/09/18
Requerente: IGT
Nacionalidade: americana
Domicílio/Sede: 9295 Prototype Drive, Reno, Nevada 89521-8986 E.U.A.
Título: Método para reduzir consumo de energia na máquina de jogos.
Resumo: São descritas novas máquinas de jogos de apostas, servidores de jogos, e métodos de controlo do consumo de energia para controlar, de modo inteligente, a energia consumida por uma máquina de jogos de apostas, de um modo que não desencoraje ou impeça a utilização da máquina de jogos. Um componente de uma máquina de jogos, por exemplo, uma impressora de bilhetes, é desligado quando se determinou que, baseado em dados padrão da utilização, não é provável que o componente seja utilizado. Os dados padrão de utilização resultam dos dados brutos de utilização de actividade para uma máquina e seus componentes. Os componentes que não são alimentados com base nos dados do padrão de utilização podem ser ligados quando se detecta uma acção implicando que um utilizador estará usando a máquina, por exemplo, a leitura de um cartão ou a inserção de uma nota. Um controlador de energia processa regras de comunicação de sinais, com base nos dados padrão de utilização e também pode processar um sinal que comunica uma acção iniciada pelo utilizador, se existir uma, para formar um comando para ligar ou desligar um ou mais componentes da máquina de jogos.
Classificação: A63F9/24
Inventor: Binh T NGUYEN
Brian UNDERDAHL
Data de prioridade: 2006/09/18
País/Território de prioridade: ESTADOS UNIDOS
Número de prioridade: 11/522,700
Figura

Patente de invenção n.º: I/000609
Data do pedido::2007/10/22
Requerente: IGT
Nacionalidade: americana
Domicílio/Sede: 9295 Prototype Drive, Reno, Nevada 89521-8986, E.U.A.
Título: Lealdade de jogador através de empresa de jogo.
Resumo: São divulgados métodos, dispositivos e sistemas, incluindo produtos de programas de computador, implementando e utilizando técnicas para dirigir a actividade futura de jogadores de jogos de azar, de acordo com objectivos definidos de um operador. Num aspecto da presente invenção, é definida uma multiplicidade de cenários de actividade do jogador. Cada cenário inclui um ou mais eventos, para proporcionar uma predição da futura actividade do jogador. São porporcionados resultados definidos para cada cenário. Os resultados são determinados de acordo com os objectivos do operador. É recebida informação identificando um jogador. É recuperada informação do jogador associada ao jogador identificado. A informação do jogador inclui primeiros dados de jogos e segundos dados de jogo. Os primeiros dados de jogo relacionam-se com um jogo de tipo casino. Os segundos dados de jogo relacionam-se com um jogo que não é de tipo casino. A informação do jogador recuperada é comparada com os eventos na multiplicidade de cenários. O jogador identificado é classificado num dos cenários quando, pelo menos, uma parcela da informação do jogador recuperada corresponde a um ou mais dos eventos nesse cenário. São distribuídos um ou mais prémios ao jogador identificado. Os prémios correspondem aos resultados definidos para aquele cenário.
Classificação: A63F9/24
| Inventor: | Richard E ROWE |
| Richard J SCHNEIDER |
Data de prioridade: 2006/10/20
País/Território de prioridade: ESTADOS UNIDOS
Número de prioridade: 11/584,152
Figura

Patente de invenção n.º: I/000619
Data do pedido: 2007/10/25
Requerente: IGT
Nacionalidade: norte-americana
Domicílio/Sede: 9295 Prototype Drive, Reno, Nevada 89521-8986, E.U.A.
Título: Sistema de exigência imediata de prémio/bonus.
Resumo: Uma máquina de jogos e método, para seleccionar um prémio a ser atribuído como resultado de um jogo de azar, tem meios para proporcionar um ou mais jogos de azar, meios para aceitar uma aposta, um dispositivo de visualização de prémios e um selector de prémios para permitir que um jogador seleccione, pelo menos, um prémio visualizado. Um dispositivo de memória, pelo menos, armazena uma lista, tendo um ou mais prémios com valores semelhantes, estando cada lista ligada a uma determinada tabela de pagamentos e, pelo menos, uma preferência do jogador associada a cada um dos prémios. A máquina de jogos e método têm, igualmente, pelo menos, um dispositivo lógico configurado para: a) receber do selector de prémios uma indicação de um prémio seleccionado; b) controlar o dispositivo de visualização de prémios para visualizar um, ou mais dos prémios; c) determinar o resutado de um jogo de azar; e d) determinar se o prémio seleccionado está associado ao resultado.
Classificação: A63F9/24
| Inventor: | Binh T NGUYEN |
| Brian UNDERDAHL | |
| David Hugh MUIR |
Data de prioridade: 2006/10/26
País/Território de prioridade: ESTADOS UNIDOS
Número de prioridade: 11/588,654
Figura

Patente de invenção n.º: I/000620
Data do pedido: 2007/10/25
Requerente: IGT
Nacionalidade: norte-americana
Domicílio/Sede: 9295 Prototype Drive, Reno, Nevada 89521-8986, E.U.A.
Título: Sistemas e métodos para transmitir e instalar software na máquina de jogos na rede de jogos.
Resumo: São descritos novos sistemas, máquinas e métodos de jogos, para transmitir software de jogos entre um servidor de jogos e uma máquina de jogos. Uma máquina de jogos recebe ficheiros-objecto de jogos actualizados e novos e um ficheiro com directivas de linkagem. A partir destes dois componentes, a máquina de jogos ou outro tipo de dispositivos de dados é capaz de gerar um módulo de jogos actualizado ou novo, sem quaisquer outros dados ou assistência de um servidor de jogos ou qualquer outro componente numa rede de jogos. A partir do servidor de jogos, a máquina de jogos recebe apenas os ficheiros objecto específicos e um ficheiro com directivas de linkagem atingindo frequentemente umas poucas centenas de kilobytes de dados. Os ficheiros objecto actualizados e o ficheiro com directivas de linkagem são introduzidos num programa de linkagem que reside permanentemente na máquina de jogos. O programa de linkagem produz um módulo de jogos actualizado que é executado na máquina de jogos, permitindo, portanto, que um utilizador jogue o jogo actualizado ou um jogo novo em tempo real que o utilizador requereu. Utilizando os métodos da presente invenção, pode ser actualizado um grande volume de máquinas de jogos, com módulos de jogos num tempo reduzido.
Classificação: A63F9/24
Inventor: PAUL A JOHNSON
Data de prioridade: 2006/10/25
País/Território de prioridade: ESTADOS UNIDOS
Número de prioridade: 11/586,302
Figura

Patente de invenção n.º: I/000634
Data do pedido: 2007/11/09
Requerente: IGT
Nacionalidade: americana
Domicílio/Sede: 9295 Prototype Drive, Reno, Nevada 89521-8986, E.U.A.
Título: Configuração e controlo de altifalante numa máquina de jogos.
Resumo: São divulgadas máquinas de jogos, incluindo métodos, instrumentos, e sistemas relacionados, incluindo produtos de programas de computador, que executam e utilizam técnicas para proporcionar um jogo de azar. Dispositivos periféricos, tais como um dispositivo de aceitação de notas e impressora de bilhetes, estão consolidados numa região central da máquina de jogos, atrás de uma porta móvel da máquina. As portas da máquina, incluindo uma porta que tem um dispositivo de visualização, são móveis em direcções ao longo de um eixo longitudinal da máquina, entre as posições aberta e fechada. Um painel de botões ajustável pode ser movido para uma multiplicidade de posições ao longo do eixo longitudinal, independente das portas móveis. Uma série de dispositivos de visualização, ligados em rede numa ou mais máquinas de jogos são controlados para exibir simultaneamente padrões de iluminação, incluindo padrões sincronizados, associados a vários eventos. Também podem ser exibidos padrões de iluminação designados, em bordos luminosos dispostos em torno de grupos de botões e outros dispositivos de entrada, no painel dos botões. Uma interface de jogador está acoplada para receber dados de entrada do jogador, para ajustar os parâmetros que definem a apresentação áudio e vídeo dos dados de jogo na máquina. Contribuindo para a apresentação áudio, um ou mais altifalantes situados numa região superior do armário estão orientados num ângulo descendente.
Classificação: A63F9/24
| Inventor: | John Leagh BEADELL |
| Russel CHUDD | |
| Fred NESEMEIER | |
| Randy HEDRICK | |
| Charles CURBBUN | |
| Andrew ZOOLAKIS | |
| Kevin SIMMONS | |
| Bill LEACH |
Data de prioridade: 2006/11/09
País/Território de prioridade: ESTADOS UNIDOS
Número de prioridade: 11/598,253
Figura

Patente de invenção n.º: I/000635
Data do pedido: 2007/11/09
Requerente: IGT
Nacionalidade: americana
Domicílio/Sede: 9295 Prototype Drive, Reno, Nevada 89521-8986 E.U.A.
Título: Máquina de jogos com dispositivo de visualização vertical montado na porta.
Resumo: São divulgadas máquinas de jogos, incluindo métodos, instrumentos, e sistemas relacionados, incluindo produtos de programas de computador, que executam e utilizam técnicas para proporcionar um jogo de azar. Dispositivos periféricos, tais como um dispositivo de aceitação de notas e impressora de bilhetes, estão consolidados numa região central da máquina de jogos, atrás de uma porta móvel da máquina. As portas da máquina, incluindo uma porta que tem um dispositivo de visualização, são móveis em direcções ao longo de um eixo longitudinal da máquina, entre as posições aberta e fechada. Um painel de botões ajustável pode ser movido para uma multiplicidade de posições ao longo do eixo longitudinal, independente das portas móveis. Uma série de dispositivos de visualização, ligados em rede numa ou mais máquinas de jogos são controlados para exibir simultaneamente padrões de iluminação, incluindo padrões sincronizados, associados a vários eventos. Também podem ser exibidos padrões de iluminação designados, em bordos luminosos dispostos em torno de grupos de botões e outros dispositivos de entrada, no painel dos botões. Uma interface de jogador está acoplada para receber dados de entrada do jogador, para ajustar os parâmetros que definem a apresentação áudio e vídeo dos dados de jogo na máquina. Contribuindo para a apresentação áudio, um ou mais altifalantes situados numa região superior do armário estão orientados num ângulo descendente.
Classificação: A63F9/24
| Inventor: | John Leagh BEADELL |
| Russel CHUDD | |
| Fred NESEMEIER | |
| Randy HEDRICK | |
| Charles CURBBUN | |
| Andrew ZOOLAKIS | |
| Kevin SIMMONS | |
| Bill LEACH |
Data de prioridade: 2006/11/09
País/Território de prioridade: ESTADOS UNIDOS
Número de prioridade: 11/598,251
Figura

Patente de invenção n.º: I/000636
Data do pedido: 2007/11/09
Requerente: IGT
Nacionalidade: americana
Domicílio/Sede: 9295 Prototype Drive, Reno, Nevada 89521-8986, E.U.A.
Título: Personalização da apresentação de vídeo e som numa máquina de jogos.
Resumo: São divulgadas máquinas de jogos, incluindo métodos, instrumentos, e sistemas relacionados, incluindo produtos de programas de computador, que executam e utilizam técnicas para proporcionar um jogo de azar. Dispositivos periféricos, tais como um dispositivo de aceitação de notas e impressora de bilhetes, estão consolidados numa região central da máquina de jogos, atrás de uma porta móvel da máquina. As portas da máquina, incluindo uma porta que tem um dispositivo de visualização, são móveis em direcções ao longo de um eixo longitudinal da máquina, entre as posições aberta e fechada. Um painel de botões ajustável pode ser movido para uma multiplicidade de posições ao longo do eixo longitudinal, independente das portas móveis. Uma série de dispositivos de visualização, ligados em rede numa ou mais máquinas de jogos são controlados para exibir simultaneamente padrões de iluminação, incluindo padrões sincronizados, associados a vários eventos. Também podem ser exibidos padrões de iluminação designados, em bordos luminosos dispostos em torno de grupos de botões e outros dispositivos de entrada, no painel dos botões. Uma interface de jogador está acoplada para receber dados de entrada do jogador, para ajustar os parâmetros que definem a apresentação áudio e vídeo dos dados de jogo na máquina. Contribuindo para a apresentação áudio, um ou mais altifalantes situados numa região superior do armário estão orientados num ângulo descendente.
Classificação: A63F9/24
| Inventor: | John Leagh BEADELL |
| Russel CHUDD | |
| Fred NESEMEIER | |
| Randy HEDRICK | |
| Charles CURBBUN | |
| Andrew ZOOLAKIS | |
| Kevin SIMMONS | |
| Bill LEACH |
Data de prioridade: 2006/11/09
País/Território de prioridade: ESTADOS UNIDOS
Número de prioridade: 11/598,254
Figura

Patente de invenção n.º: I/000639
Data do pedido: 2007/11/09
Requerente: IGT
Nacionalidade: americana
Domicílio/Sede: 9295 Prototype Drive, Reno, Nevada 89521-8986, E.U.A.
Título: Painel rotativo de botões de libertação rápida.
Resumo: Uma máquina de jogos tendo um suporte de apoio acoplado a uma frente de armário da máquina de jogos, e uma interface modular de utilizador, acoplada de forma articulada ao suporte de apoio com, pelo menos, um conector, tendo a interface modular do utilizador um painel de botões e um suporte de pulso, em que a interface modular do utilizador está configurada para rodar segundo um eixo do, pelo menos um, conector, para expor uma parcela do interior da máquina de jogos.
Classificação: A63F9/24
| Inventor: | Steve McGAHN |
| Jean Pierre LEGRAS |
Data de prioridade: 2006/11/10
País/Território de prioridade: ESTADOS UNIDOS
Número de prioridade: 11/595,554
Figura

Patente de invenção n.º: I/000642
Data do pedido: 2007/11/12
Requerente: IGT
Nacionalidade: americana
Domicílio/Sede: 9295 Prototype Drive, Reno, Nevada 89521-8986, E.U.A.
Título: Cilindro com imperfeições simuladas.
Resumo: É aqui descrita uma máquina de jogos, configurada para exibir dados de vídeo que simulam cilindros mecânicos numa máquina de moedas mecânica tradicional. As formas de realização aqui descritas contribuem para a imitação de uma máquina mecânica, simulando uma ou mais imperfeições mecânicas visíveis, geralmente encontradas numa máquina de cilindros mecânicos.
Classificação: A63F9/24
| Inventor: | David C WILLIAMS |
| Joseph R. HEDRICK | |
| Kurt LARSEN |
Data de prioridade: 2006/11/13
País/Território de prioridade: ESTADOS UNIDOS
Número de prioridade: 60/858,741
Data de prioridade: 2007/09/20
País/Território de prioridade: ESTADOS UNIDOS
Número de prioridade: 11/858,793
Figura

Patente de invenção n.º: I/000643
Data do pedido: 2007/11/12
Requerente: IGT
Nacionalidade: americana
Domicílio/Sede: 9295 Prototype Drive, Reno, Nevada 89521-8986, E.U.A.
Título: Sistema automatizado de recolha de dados para ambientes de jogo de mesa de casino.
Resumo: São divulgadas várias técnicas para facilitar o rastreio de actividades do jogador e/ou a avaliação das actividades do jogador numa mesa de jogos de casino. Um aspecto é dirigido a diferentes técnicas para, automaticamente, iniciar, suspender, recomeçar e/ou terminar sessões de rastreio do jogador, num ou mais jogos de mesa. Um outro aspecto é dirigido a diferentes técnicas para, automaticamente, iniciar, suspender, recomeçar e/ou terminar sessões de avaliação do jogador, num ou mais jogos de mesa. Um outro aspecto é dirigido a diferentes técnicas para, automaticamente, iniciar, suspender, recomeçar e/ou terminar sessões de jogos de mesa de tarifa fixa, numa ou mais mesas de jogos.
Classificação: G06K1/00
| Inventor: | Nevin BURRILL |
| Timothy Wayne MOSER | |
| Roger William HARRIS | |
| Eduardo Samuel MEZA | |
| Gavin McPHAIL |
Data de prioridade: 2006/11/10
País/Território de prioridade: ESTADOS UNIDOS
Número de prioridade: 60/858,046
Data de prioridade: 2007/10/10
País/Território de prioridade: ESTADOS UNIDOS
Número de prioridade: 11/870,233
Data de prioridade: 2007/10/10
País/Território de prioridade: ESTADOS UNIDOS
Número de prioridade: 11/870,249
Figura

Patente de invenção n.º: I/000646
Data do pedido: 2007/11/13
Requerente: IGT
Nacionalidade: americana
Domicílio/Sede: 9295 Prototype Drive, Reno, Nevada 89521-8986, E.U.A.
Título: Emulação multimédia de equipamento de carretel físico em máquinas de jogos à base de processor.
Resumo: São divulgadas máquinas, sistemas e métodos de jogos, para proporcionar uma emulação mais realística de carretéis rotativos. As máquinas de jogos incluem um invólucro exterior, um controlador mestre de jogos, um dispositivo de visualização, altifalantes e carretéis virtuais. Um temporizador da rotação do carretel pode ser adaptado para fazer variar os tempos de rotação dos carretéis rotativos simulados, de uma execução do jogo para outra, e um gerador de sons de carretel pode ser adaptado para proporcionar sons de carretel a um ou mais altifalantes, relativamente aos carretéis rotativos simulados. Os sons de carretel proporcionados podem, igualmente, variar de uma execução do jogo para outra e, quer os tempos de rotação do carretel, quer os sons do carretel, podem ser seleccionados aleatoriamente, a partir de valores ou ficheiros armazenados. Os valores ou ficheiros armazenados podem incluir amostras de carretéis físicos reais. Um anfitrião remoto pode proporcionar tempos de rotação do carretel e sons de carretel que podem ser descarregados para máquinas de jogos, no interior de um sistema de jogos associado.
Classificação: A63F9/24
| Inventor: | David C WILLIAMS |
| John Leagh BEADELL | |
| Joseph R. HEDRICK | |
| Kurt LARSEN | |
| Nicholas B MAYNE | |
| Kay VETTER |
Data de prioridade: 2006/11/13
País/Território de prioridade: ESTADOS UNIDOS
Número de prioridade: 60/858,741
Data de prioridade: 2007/09/20
País/Território de prioridade: ESTADOS UNIDOS
Número de prioridade: 11/858,845
Figura

Patente de invenção n.º: I/000647
Data do pedido: 2007/11/13
Requerente: IGT
Nacionalidade: americana
Domicílio/Sede: 9295 Prototype Drive, Reno, Nevada 89521-8986, E.U.A.
Título: Rolos realísticos em vídeo.
Resumo: É aqui descrita uma máquina de jogos configurada para produzir dados de vídeo que simulam rolos mecânicos numa slot-machine mecânica tradicional. As formas de realização aqui detalhadas contribuem para a emulação e percepção de uma máquina mecânica, proporcionando adaptações de dados de vídeo que simulam, cada uma, um atributo visual realístico de uma máquina de jogos de rolos mecânicos.
Classificação: A63F9/24
| Inventor: | David C WILLIAMS |
| Joseph R. HEDRICK | |
| Kurt LARSEN |
Data de prioridade: 2006/11/13
País/Território de prioridade: ESTADOS UNIDOS
Número de prioridade: 60/858,741
Data de prioridade: 2007/09/20
País/Território de prioridade: ESTADOS UNIDOS
Número de prioridade: 11/858,695
Figura

Patente de invenção n.º: I/000649
Data do pedido: 2007/11/14
Requerente: IGT
Nacionalidade: americana
Domicílio/Sede: 9295 Prototype Drive, Reno, Nevada 89521-8986, E.U.A.
Título: Gráficos de jogos separáveis numa máquina de jogos.
Resumo: É aqui descrita uma máquina de jogos com dispositivos de visualização dispostos em camadas e gráficos separáveis que realçam os dispositivos de visualização dispostos em camadas, para melhorar a execução de jogos numa máquina de jogos. Os gráficos separáveis incluem conteúdos separados, mas relacionados, em cada um dos painéis do dispositivo de visualização, para um jogo. Os dispositivos de visualização dispostos em camadas incluem um ecrã próximo e um dispositivo distal de visualização de vídeo que proporciona a separação física real entre itens gráficos produzidos por dispositivos de visualização de vídeo próximos e distais. Esta distância proporciona paralaxe, o que melhora a percepção tridimensional de gráficos e jogos vídeo pela máquina de jogos.
Classificação: A63F9/24
| Inventor: | David C WILLIAMS |
| Joseph R. HEDRICK | |
| Kurt LARSEN |
Data de prioridade: 2007/09/20
País/Território de prioridade: ESTADOS UNIDOS
Número de prioridade: 11/858,693
Figura

Patente de invenção n.º: I/000651
Data do pedido: 2007/11/14
Requerente: IGT
Nacionalidade: americana
Domicílio/Sede: 9295 Prototype Drive, Reno Nevada 89521-8986, E.U.A.
Título: Sistema destacável de iluminação traseira.
Resumo: Uma máquina de jogos pode ter um módulo óptico, tendo um primeiro ecrã de visualização, configurado para produzir uma imagem visual em resposta a um sinal de controlo, e um módulo de iluminação, tendo uma película luminosa numa primeira superfície, uma placa numa segunda superfície, e uma multiplicidade de fontes de luz posicionadas numa região interior, formada pela película luminosa e pela placa, e onde a multiplicidade de fontes de luz proporciona luz ao módulo óptico, e onde o módulo de iluminação está acoplado ao módulo óptico de modo a poder ser removido, de tal forma que o módulo de iluminação pode ser substituído ou receber manutenção, sem perturbar o módulo óptico.
Classificação: A63F9/24
| Inventor: | David C WILLIAMS |
| Gregory SILVA |
Data de prioridade: 2007/10/23
País/Território de prioridade: ESTADOS UNIDOS
Número de prioridade: 11/877,611
Figura

Patente de invenção n.º: I/000653
Data do pedido: 2007/11/14
Requerente: IGT
Nacionalidade: americana
Domicílio/Sede: 9295 Prototype Drive, Reno Nevada 89521-8986, E.U.A.
Título: Biometria comportamental para autenticação em ambientes de computação.
Resumo: São divulgadas técnicas para autenticar uma ou mais entidades. A autenticação pode ser executada com base em um ou mais atributos, associados a uma imagem e/ou entrada, proporcionados em ligação a uma imagem. A imagem é proporcionada, na realidade, para autenticar uma ou mais entidades associadas a um ambiente de computação. Os atributos que podem ser medidos incluem a forma pela qual uma imagem foi criada e/ou traçada por uma pessoa a ser autenticada. Uma pessoa pode registar-se inicialmente num sistemas de autenticação, criando e/ou traçando uma imagem. Posteriormente, a pessoa pode ser confrontada com a mesma imagem, uma semelhante e/ou completamente diferente, a fim de ser autenticada pelo sistema de autenticação. Deverá notar-se que a imagem não necessita de ser uma assinatura ou proporcionar qualquer informação pessoal sobre a pessoa que é autenticada.
Classificação: G06F21/20
| Inventor: | David C WILLIAMS |
| Joseph R. HEDRICK |
Data de prioridade: 2006/11/14
País/Território de prioridade: ESTADOS UNIDOS
Número de prioridade: 60/865,842
Data de prioridade: 2007/11/09
País/Território de prioridade: ESTADOS UNIDOS
Número de prioridade: 11/937,692
Figura

Patente de invenção n.º: I/000655
Data do pedido: 2007/11/14
Requerente: IGT
Nacionalidade: americana
Domicílio/Sede: 9295 Prototype Drive, Reno, Nevada 89521-8986, E.U.A.
Título: Simulação de dispositivo de rolos mecânicos utilizando dispositivos de visualização de camadas duplas.
Resumo: É aqui descrita uma máquina de jogos baseada em processador, com dispositivos de visualização dispostos em camadas. Os dispositivos de visualização dispostos em camadas incluem um ecrã frontal e um ecrã posterior que proporcionam separação física real entre representações visuais nos ecrãs frontal e posterior; a separação simula a distância real vista entre uma camada de vidro e rolos mecânicos numa máquina de jogos passo a passo mecânica tradicional. Esta distância entre ecrãs de vídeo proporciona, igualmente, paralaxe e aumenta a capacidade de uma máquina de jogos baseada em processador para emular, de forma realística, máquinas de jogos de rolos mecânicas, mais antigas.
Classificação: A63F9/24
| Inventor: | David C WILLIAMS |
| Joseph R. HEDRICK | |
| John Leagh BEADELL | |
| Kay VETTER | |
| Kurt LARSEN |
Data de prioridade: 2007/09/20
País/Território de prioridade: ESTADOS UNIDOS
Número de prioridade: 11/858,700
Figura

Patente de invenção n.º: I/000680
Data do pedido: 2007/12/21
Requerente: IGT
Nacionalidade: americana
Domicílio/Sede: 9295 Prototype Drive, Reno, Nevada 89521-8986, E.U.A.
Título: Distribuição segura de suportes de informação num sistema de jogos de apostas.
Resumo: São descritos novos sistemas, máquinas, e métodos de jogos de apostas, para garantir que o código do jogo de apostas, num disco de jogos, seja executado numa máquina de jogos de apostas autorizada. Para impedir que uma cópia não autorizada de um disco de jogos de apostas, ou outro suporte de armazenamento de informação, não possa ser executada numa máquina de jogos, a máquina verifica se foi anteriormente escrito no disco um código de autorização. Se o disco não tiver um código, a máquina de jogos gera um primeiro segmento de um código de autorização, o qual é utilizado, em conjunto com outros dados, por um fornecedor de jogos, para gerar um código de autorização final. Isto é feito depois de o fornecedor do jogo verificar que o operador da máquina tem permissão, tal como uma licença, para executar esse código de jogo, contido nesse disco específico. O código de autorização final é transmitido à máquina de jogos, equipada com uma unidade de disco óptico gravável, onde é gravado ou «queimado» sobre o disco de jogos. Nesta fase, o disco de jogos está ligado, ou associado, à máquina de jogos e pode ser executado nessa máquina.
Classificação: A63F9/24
| Inventor: | David Hugh MUIR |
| Binh T Nguyen | |
| Brian UNDERDAHL |
Data de prioridade: 2006/12/21
País/Território de prioridade: ESTADOS UNIDOS
Número de prioridade: 11/644,229
Figura

Patente de invenção n.º: I/000688
N.º do pedido inicial: I/000354
Data do pedido: 2006/08/29
Requerente: Aruze Corp.
Nacionalidade: japonesa
Domicílio/Sede: 3-1-25, Ariake, Koto-ku, Tokyo 135-0063 Japan
Título: Máquina de jogo, método de controlo de jogo e sistema de jogo.
Resumo: 本發明的一個目標是提供一種賭博機器,而該賭博機器能避免已花費很多賭博媒體的賭客對有關賭博感到不愉快、對之形成不信任、或對有關賭博失去興趣或 關注。本發明的賭博機器包括:獲勝組合確定裝置,用於憑一種抽獎確定一個獲勝組合;裝置,用於:在被確定的獲勝組合是一個特殊的獲勝組合時,產生屬於對某位賭客有利的賭博 狀態的第一種特殊賭博狀態;及裝置,用於:在條件被確立,而該條件是每當一次賭博被進行時被累積計數的賭博次數達到被設定為與賭博次數比較的目標的一個設定值時,產生第二 種特殊賭博狀態,而第二種特殊賭博狀態是一種對某位賭客有利的賭博狀態,且僅在該條件被確立時被產生。
Classificação: A63F5/04, A63F13/00
| Inventor: | Kazuo Okada |
| Jun Fujimoto |
Data de prioridade: 2005/08/30
País/Território de prioridade: JAPÃO
Número de prioridade: PCT/JP2005/015797
Data de prioridade: 2005/08/30
País/Território de prioridade: JAPÃO
Número de prioridade: PCT/JP2005/015817
Figura

Protecção de patentes de utilidade
De acordo com os artigos 10.º, 83.º e 84.º por remissão do artigo 124.º do RJPI, aprovado pelo Decreto-Lei n.º 97/99/M, de 13 de Dezembro, a seguir se publicam os pedidos de registo de patentes de utilidade para a RAEM, e a partir da data desta publicação até à data da atribuição da patente, qualquer terceiro pode apresentar reclamações.
Publicação de patentes de utilidade
Utilidade n.º: U/000018
Data do pedido: 2006/03/07
Requerente: Chung-Chin SUN
Domicílio/Sede: 6F, No. 19, Lane 360, Sec. 1, Neihu Rd., Neihu District, Taipei, Taiwan, China
Título: Ponto de vela.
Resumo: 一種燭台,包括一底板及由底板周緣向上延伸之側壁,以容納一固體燃料及一底端設有支撐板的燭芯,該底板的頂面設有一向上突出的定位部,以插入固體燃 料的底端,將固體燃料定位,並在固體燃料熔融時,藉由定位部的定位作用,限制燭芯及支撐板的水平移動。
Classificação: F21V35/00
Inventor: Chung-Chin SUN
Figura

Utilidade n.º: U/000020
Data do pedido: 2006/10/16
Requerente: 環球水泥股份有限公司
Domicílio/Sede: 中國台灣台北市南京東路2段125號10樓
Título: Estrutura de painel de parede para parede tabique.
Resumo: 本創作係有關一種分隔牆之牆板構造,其主要包括:一牆本體,該牆本體至少一側面固設有一牆板,而本創作的重點在於:該牆板係由至少兩層板相疊合而成 ,而其中兩層板之相同成份,各佔其重量百分比之50%以上,且該兩層板之厚度差在2mm以上,而比重差在0.5以下;藉由前述之構造,可令本創作之牆板具有較佳的隔音能力 ,進而提昇分隔牆之隔音效果。
Classificação: E04B2/74, E041B1/82
Inventor: 李國棟
Data de prioridade: 2006/02/09
País/Território de prioridade: TAIWAN, CHINA
Número de prioridade: 095202257
Figura

Utilidade n.º: U/000021
Data do pedido: 2006/10/16
Requerente: 環球水泥股份有限公司
Domicílio/Sede: 中國台灣台北市南京東路2段125號10樓
Título: Estrutura de presilha e coluna para parede tabique.
Resumo: 本創作係有關一種分隔牆之立柱扣件構造,其主要包括:一牆體,該牆體係包括一框架結構,而該框架結構係由至少二立柱及二橫向樑架組合而成;而本創作 之重點在於:該立柱之上、下周緣分別設有一容易安裝且不易脫落之立柱扣件,以令該立柱扣件與該橫向樑架形成連接時,能增強該立柱之支撐強度外,亦可藉由該立柱扣件上所設的 隔音墊,作為衰減聲音傳遞之介質,進而提昇分隔牆之隔音效果。
Classificação: E04B2/82, E04B1/82
Inventor: 李國棟
Data de prioridade: 2006/02/09
País/Território de prioridade: TAIWAN, CHINA
Número de prioridade: 095202256
Figura

Utilidade n.º: U/000022
Data do pedido: 2007/02/07
Requerente: 彭仲幟
Nacionalidade: chinesa
Domicílio/Sede: 香港九龍觀塘成業街11-13號華成工商中心11字樓3室
Título: Calçado de pulsação e de corrente eléctrica para protecção da saúde.
Resumo: 本實用新型涉及一種脈衝電流保健鞋,包括鞋底、鞋墊、以及鞋面。在鞋底內設置有產生脈衝電流的脈衝發生器,鞋墊上設有相隔絕的正極和負極;脈衝發生 器包括與鞋墊上的正極電連接的正極端、以及與鞋墊上的負極電連接的負極端;正極和負極通過人體足部連通,與脈衝發生器連接成回路,使脈衝電流流過人體足部。從而對人體足部 產生刺激和按摩,能有效地舒緩腳部的肌肉疲勞。另外,通過脈衝發生器內的控制單元及按鈕單元來選擇脈衝發生輸出單元的脈衝電流的波形及強度,可以適應不同使用者的需求,具 有使用靈活方便的優點。另外,可以通過充電單元對電源單元進行充電,具有無須更換電源、使用方便的優點。
Classificação: A43B7/00
Inventor: 彭仲幟
Data de prioridade: 2006/02/22
País/Território de prioridade: R.P.CHINA
Número de prioridade: 200610033971.1
Figura

Protecção de desenhos e modelos
De acordo com os artigos 10.º e 165.º do RJPI, aprovado pelo Decreto-Lei n.º 97/99/M, de 13 de Dezembro, a seguir se publicam os pedidos de registo de desenhos e modelos para a RAEM e que, a partir da data desta publicação até à data da sua concessão, qualquer terceiro pode apresentar reclamações, em conformidade com o artigo 166.º do mesmo diploma.
Publicação de desenho ou modelo
Desenho n.º: D/000361
Data do pedido: 2007/02/22
Requerente: Lei Chi Keong
Nacionalidade: chinesa
Domicílio/Sede: 澳門沙嘉都喇街4號保祥大厦6A座
Título: Artigos de ornamento em forma de árvore.
Resumo: 以中文繁體“華”字創作出藝術化的雕塑,象徵一棵果實纍纍的大樹,標誌環保時代的地球生命之樹,也稱為“世界和平世紀樹”(簡稱“世紀大樹”)。
Classificação: 11 - 02
Criador: Lei Chi Keong
Figura

Desenho n.º: D/000384
N.º do pedido inicial: D/000314
Data do pedido: 2006/08/15
Requerente: Constructions Industrielles de la Méditerranée-CNIM
Nacionalidade: francesa
Domicílio/Sede: 35 rue de Bassano 75008 Paris, França
Título: Escada rolante.
Resumo: Escada rolante caracterizada, nomeadamente, pela presença de dois totens, destinados a receber e a difundir informações e iluminações várias, situados um de cada lado da rampa de acesso, animações gráficas dispostas ao longo das paredes laterais do vidro e uma placa de entrada em dois materiais e cores distintas. Os totens estão dispostos na continuidade de uma faixa transversal ao solo.
Classificação: 12 - 05
Criador: DABEZIES, Jacques Bernard
Data de prioridade: 2006/02/16
País/Território de prioridade: FRANÇA
Número de prioridade: 06 0777
Figura

Desenho n.º: D/000408
Data do pedido: 2007/08/03
Requerente: THE COCA-COLA COMPANY
Nacionalidade: norte-americana
Domicílio/Sede: One Coca-Cola Plaza, NW Altanta, Georgia 30313, United States of America
Título: Garrafa.
Resumo: A garrafa tem um gargalo, um rebordo e um corpo.
A parte do rebordo é abaulada para fora e compreende um número de nervuras horizontais na mesma;
A parte do corpo é suavemente afundada para dentro entre a parte de cima e o fim da parte inferior, e compreende um número de concavidades ovais com formatos ovais nas mesmas em duas filas horizontais.
Classificação: 9 - 01
Criador: June Young KIM
Data de prioridade: 2007/02/13
País/Território de prioridade: COREIA DO SUL
Número de prioridade: 30-2007-0006595
Figura

Desenho n.º: D/000413
Data do pedido: 2007/08/21
Requerente: THE COCA-COLA COMPANY
Nacionalidade: norte-americana
Domicílio/Sede: One Coca-Cola Plaza, NW Altanta, Georgia 30313, United States of America
Título: Garrafa.
Resumo: A garrafa tem um gargalo, um rebordo e um corpo.
O corpo é caracterizado por desenhos decorativos em forma de favos na parte superior cilíndrica, e duas manchas grandes, simétricas não esféricas com pontos nas mesmas na parte inferior mais afundada que inclui também desenhos decorativos na forma de montanhas junto à parte inferior.
Classificação: 9 - 01
| Criador: | Wing AU YEUNG |
| Anita SHEK Kit Yan | |
| Katherine LEE So Ching | |
| Stephanie HON Szee Nay | |
| NG Tung Leung |
Data de prioridade: 2007/02/28
País/Território de prioridade: R.P.CHINA
Número de prioridade: 200730005435.6
Figura

Desenho n.º: D/000414
Data do pedido: 2007/08/23
Requerente: PFIZER LIMITED
Nacionalidade: inglesa
Domicílio/Sede: Ramsgate Road Sandwich-Kent CT13 9NJ, Inglaterra
Título: Inalador.
Resumo: Inalador para administração de medicamento sob a forma de polvilho.
Classificação: 24 - 04
Criador: Jonathan Hogwood
Data de prioridade: 2007/02/28
País/Território de prioridade: UNIÃO EUROPEIA
Número de prioridade: 000679048-0001
Figura

Protecção de nomes e insígnias de estabelecimento
De acordo com os artigos 10.º e 243.º do RJPI, aprovado pelo Decreto-Lei n.º 97/99/M, de 13 de Dezembro, a seguir se publicam os pedidos de registo de nomes e insígnias de estabelecimento para a RAEM e que, da data da publicação do aviso, começa a contar-se o prazo de dois meses para a apresentação de reclamações, em conformidade com o artigo 244.º do mesmo diploma.
Publicação de nome ou insígnia de estabelecimento
Estabelecimento n.º: E/000108
Requerente: Lei Iat Wa
Sede: 澳門果欄街47號地下
Actividade: comercial
Data do pedido: 2008/01/04
Tipo de Actividade: Restauração.
Nome/Insígnia

Protecção de extensão de patente concedida
De acordo com os artigos 10.º e 129.º a 135.º do RJPI, aprovado pelo Decreto-Lei n.º 97/99/M, de 13 de Dezembro, conjugados com os artigos 4.º e 5.º do «Acordo de Cooperação entre a Direcção Nacional da Propriedade Intelectual e a Direcção dos Serviços de Economia da RAEM na Área dos Direitos de Propriedade Intelectual», a seguir se publica a extensão de patente(s) de invenção concedida(s).
Extensão de patente de invenção concedida
N.º: J/000157
Data de pedido de extensão: 2007/10/08
Data de despacho de extensão: 2008/02/04
Requerente: SUGEN, INC.
Nacionalidade: americana
Domicílio/Sede: 235 East 42nd Street, New York, New York 10017, USA
Requerente: PHARMACIA & UPJOHN COMPANY
Nacionalidade: americana
Domicílio/Sede: MI, USA
Título: 吡咯取代的2–二氫吲哚酮蛋白激酶抑制劑。
Resumo: 本發明涉及式I的吡咯取代的2–二氫吲哚酮化合物及其可藥用的鹽,它們調節蛋白激酶的活性,因此預期可用於預防和治療與蛋白激酶有關的疾病,例如癌 症。
Data de pedido nacional: 2001/02/15
Número de patente nacional: 01807269.0
Data de publicação nacional: 2003/08/27
Data de anúncio nacional: 2007/08/01
Número de anúncio nacional: CN 1329390C
Classificação: C07D403/06, A61K31/404, A61P43/00, C07D403/14, C07D401/14
| Inventor: | 唐彭出 |
| 托德.米勒 | |
| 李小元 | |
| 孫利 | |
| 魏忠臣 | |
| 薩赫扎德.舍拉齊安 | |
| 梁崇新 | |
| 托馬斯.沃科夫斯基 |
Data de prioridade: 2000/02/15
País/Território de prioridade: ESTADOS UNIDOS
Número de prioridade: 60/182,710
Data de prioridade: 2000/07/06
País/Território de prioridade: ESTADOS UNIDOS
Número de prioridade: 60/216,422
Data de prioridade: 2000/10/27
País/Território de prioridade: ESTADOS UNIDOS
Número de prioridade: 60/243,532
Figura

N.º: J/000158
Data de pedido de extensão: 2007/10/09
Data de despacho de extensão: 2008/02/04
Requerente: RUINIAN GROUP CO., LTD
Nacionalidade: chinesa
Domicílio/Sede: Massif No. 03-6 Wuxi Liyuan Developing Zone, Jiangsu Province, P.R. China Post code: 214092
Título: 製備包含人降鈣素基因相關肽的納米凍幹粉末的方法以及由此製得的產品和應用。
Resumo: 本發明涉及一種製備包含人降鈣素基因相關肽的納米凍幹粉末的方法,其包括以下步驟:在水中製備磷脂乳液,然後製成脂質體溶液;製備人降鈣素基因相關 肽的水溶液;混合所述脂質體溶液和人降鈣素相關肽的水溶液,其中使磷脂與人降鈣素基因相關肽的重量比為100:1–10000:1,並經凍融和超聲處理後得到人降鈣素基因 相關肽–磷脂複合物;使該人降鈣素基因相關肽–磷脂複合物與填充輔料的水溶液混合,然後凍乾。本發明還涉及由此方法製得的納米凍乾粉末及其應用。
Data de pedido nacional: 2004/08/30
Número de patente nacional: 200410075078.6
Data de publicação nacional: 2006/03/08
Data de anúncio nacional: 2007/08/08
Número de anúncio nacional: CN 1330374C
Classificação: A61K38/23, A61K9/19, A61P9/10
Inventor: Weihan WO
N.º: J/000162
Data de pedido de extensão: 2007/10/22
Data de despacho de extensão: 2008/02/04
Requerente: BK GIULINI GmbH
Nacionalidade: alemã
Domicílio/Sede: Giulini Strasse 2, 67065 Ludwigshafen, Germany
Título: Materiais termoplásticos reforçados para calçado e seu método de produção.
Resumo: 本發明涉及製鞋(部件)的新型熱塑性加固材料,以及在該材料的生產中一種對環境無害的生產方法。本發明的材料為熱熔性粘合劑/填料複合物的形式,其 特徵在於由一種或多種熱溶性粘合劑和一種或多種填料組成,填料的量為50–15重量%且不溶於熱溶性粘合劑中。所述熱熔性粘合劑/填料複合物同時滿足以下參數:1. MVR值 為2–6cm3/10min,優選3–5cm3/10min,2. 根據DIN EN 14610,在65ºC下測量的表面粘性值為至少10N/2cm,優選15N/2cm, 最優選20N/2cm,3. 採用DIN 53357測量的對鞋面材料或襯裏的粘合值/抗剝強度至少為30N/5cm,4. 在90ºC的溫度下測量的縱向伸長率最大為25%, 優選小於20%。
Data de pedido nacional: 2004/03/27
Número de patente nacional: 200480000535.3
Data de publicação nacional: 2005/11/16
Data de anúncio nacional: 2007/07/25
Número de anúncio nacional: CN 1328347C
Classificação: C09J167/04, C08K3/00, C09J123/08, C09J175/04
| Inventor: | WILDING, Emil |
| FATH, Markus | |
| FREY, Stefan |
Data de prioridade: 2003/04/11
País/Território de prioridade: ALEMANHA
Número de prioridade: 1031617.3
N.º: J/000163
Data de pedido de extensão: 2007/10/30
Data de despacho de extensão: 2008/02/04
Requerente: ARUZE CORP.
Nacionalidade: japonesa
Domicílio/Sede: 3-1-25 Ariake, Koto-ku, Tokyo, Japan
Título: Sistema de gestão de informação de localização.
Resumo: 本發明的位置信息管理系統包括:卡,分別具有存儲了固有標識ID的標識IC並使使用者攜帶;多個檢測器,該多個檢測器分別被分配有固有的檢測器ID並 設置在賓館內,同時通過與標識IC之間的收發信檢出標識ID,並發送檢出的標識ID和檢測器ID;位置信息管理裝置,該位置信息管理裝置具有將檢測器輸出的標識ID及檢測 器ID作為組與檢出時間一起進行記錄的記錄裝置,該位置信息管理裝置還根據記錄在該記錄裝置中的信息管理賓館內的使用者的位置信息。因此可以在賓館內或賓館所配備的各種設 施內掌握使用者的位置信息。
Data de pedido nacional: 2003/12/16
Número de patente nacional: 200310121419.4
Data de publicação nacional: 2004/06/30
Data de anúncio nacional: 2007/09/26
Número de anúncio nacional: CN 100339868C
Classificação: G06Q50/00, G06K7/00, G06K19/07, G06N5/00
Inventor: Jun FUJIMOTO
Data de prioridade: 2002/12/16
País/Território de prioridade: JAPÃO
Número de prioridade: 2002-364346
Figura

N.º: J/000164
Data de pedido de extensão: 2007/10/30
Data de despacho de extensão: 2008/02/04
Requerente: Koretide Corp.
Nacionalidade: chinesa
Domicílio/Sede: 中國上海市浦東新區郭守敬路498號17號樓2層
Título: Método de gestão de ciclo de vida de módulo.
Resumo: 本發明涉及一種模塊生命週期管理方法,包括模塊裝載過程和卸載過程,其中所述的裝載過程包括應用程序提出裝載模塊請求、操作系統根據情況進行該模塊 對象的裝載處理或者進行增加該模塊對象引用計數處理、應用程序根據該模塊的接口指針創建相應的模塊視圖;卸載過程包括應用程序刪除模塊視圖並提出卸載模塊請求、操作系統根 據減少模塊對象引用計數、根據情況進行模塊對象的卸載處理。採用該種結構的模塊生命週期管理方法,只需一次性裝載;同時模塊只在沒有任何引用時才會被卸載,使得模塊不會提 前被卸載,並且在沒有用戶使用時會立即被卸載,同時還可允許引用其它的模塊資源,從而有效地利用已有資源。
Data de pedido nacional: 2005/01/12
Número de patente nacional: 200510023252.7
Data de publicação nacional: 2005/07/27
Data de anúncio nacional: 2007/08/15
Número de anúncio nacional: CN 1332305C
Classificação: G06F9/445, G06F9/46
| Inventor: | 梁宇洲 |
| 蘇翼鵬 | |
| 陳榕 |
Figura

N.º: J/000165
Data de pedido de extensão: 2007/11/05
Data de despacho de extensão: 2008/02/04
Requerente: TRANSACT TECHNOLOGIES INCORPORATED
Nacionalidade: americana
Domicílio/Sede: One Hamden Center, 2319 Whitney Avenue, Suite 3B, Hamden, Connecticut 06518, U.S.A.
Título: Interface e método destinados à impressão de títulos e cupões.
Resumo: 本發明揭示一種用於驅動一打印機以打印高安全性憑單和低安全性贈券的接口。所述打印機可常駐於(例如)一賭博終端機(例如吃角子老虎機)、票據機、 銷售網點終端機或類似裝置中。一第一驅動器(例如)從本地控制器接收指示將要打印的憑單信息的數據。一第二驅動器(例如)從中央系統控制器接收指示將要打印的贈券信息的數 據。一響應於所述第一和第二驅動器的處理器產生標準打印機格式的打印機命令,以便可使用相同的打印機打印憑單和贈券。不須使用用於打印憑單的由終端機製造商提供的安全(且 通常是專用的)硬件和/或軟件來處理贈券。
Data de pedido nacional: 2003/11/25
Número de patente nacional: 200380109383.6
Data de publicação nacional: 2006/03/08
Data de anúncio nacional: 2007/10/17
Número de anúncio nacional: CN 100343794C
Classificação: G06F3/12, G06F13/00
| Inventor: | 唐納德.E.布魯克斯 |
| 理查德.S.奎夫 | |
| 巴特.C.舒爾德曼 |
Data de prioridade: 2002/12/20
País/Território de prioridade: ESTADOS UNIDOS
Número de prioridade: 10/325,214
Figura

N.º: J/000174
Data de pedido de extensão: 2007/11/29
Data de despacho de extensão: 2008/02/04
Requerente: Aruze Corp.
Nacionalidade: japonesa
Domicílio/Sede: 3-1-25, Ariake, Koto-ku, Tokyo 135-0063 Japan
Título: Sistema, servidor e método de gestão integrada destinados aos casinos e pensões.
Resumo: 為了允許投宿者享受在賓館和娛樂場中的各種各樣的服務和提供與娛樂場相關的競賽服務,一種綜合娛樂場和賓館管理系統包括:一個用戶管理服務器,用於 管理娛樂場和賓館的用戶,一個遊戲服務器,用於管理與遊戲相關的服務,一個通信網絡,用於使用戶管理服務器和遊戲服務器相互連接,和一個經由通信網絡連接到用戶管理服務器 和遊戲服務器的便攜式終端,其中該用戶管理服務器和該遊戲服務器經由該通信網絡和該便攜式終端提供娛樂場和賓館服務。
Data de pedido nacional: 2003/12/16
Número de patente nacional: 200310124619.5
Data de publicação nacional: 2004/07/14
Data de anúncio nacional: 2007/09/12
Número de anúncio nacional: CN 100337247C
Classificação: G06Q30/00
Inventor: 富士本淳
Data de prioridade: 2002/12/16
País/Território de prioridade: JAPÃO
Número de prioridade: 2002-364496
N.º: J/000175
Data de pedido de extensão: 2007/12/03
Data de despacho de extensão: 2008/02/04
Requerente: 吳振華
Nacionalidade: chinesa
Domicílio/Sede: 中國浙江省海寧市硤石鎮成園里5棟15號107室
Título : Tinta luminescente do tipo de luminescência e fibras luminescentes com o revestimento desta tinta.
Resumo: 本發明提供了一種蓄光型發光塗料及塗布了該塗料的蓄光型發光纖維物,該塗料的組成包括30-45%重量的以鋁酸鍶為基質的蓄光粉,10-15%重量 的折光反光粉和40-60%重量的載體,利用其中特定載體組分的複配而與纖維物產生良好的潤濕性和極強的附著力,塗布後可以用於製作各種(夜)發光纖維物及發光製品。
Data de pedido nacional: 2005/02/07
Número de patente nacional: 200510007693.8
Data de publicação nacional: 2006/08/16
Data de anúncio nacional: 2007/10/17
Número de anúncio nacional: CN 100343347C
Classificação: C09D127/06, C09D5/22, D06N1/00, C09J9/00, E04H15/00, G09F13/20
Inventor: 吳振華
N.º: J/000177
Data de pedido de extensão: 2007/12/12
Data de despacho de extensão: 2008/02/04
Requerente: 維爾斯達醫療公司
Nacionalidade: americana
Domicílio/Sede: 930 Clopper Road, Gaithersburg, MD 20878 USA
Título: Composições destinadas ao tratamento de disfunções metabólicas.
Resumo: 本發明公開了用於治療例如胰島素耐受性綜合徵、糖尿病、高脂血症、脂肪肝病、惡病質、肥胖症、動脈粥樣硬化及動脈硬化等多種代謝失調的化合物。
Data de pedido nacional: 2002/06/12
Número de patente nacional: 02811881.2
Data de publicação nacional: 2005/04/20
Data de anúncio nacional: 2007/10/24
Número de anúncio nacional: CN 100344616C
Classificação: C07D249/12, C07D257/00, C07C69/76, C07C59/86, C07C59/90, C07C229/00
| Inventor: | 沙林.夏爾馬 |
| 博斯特爾.里德.W.馮 | |
| 柯溫.L.霍奇 | |
| 邁克爾.K.巴納特 | |
| 史蒂芬.D.沃帕 |
Data de prioridade: 2001/06/12
País/Território de prioridade: ESTADOS UNIDOS
Número de prioridade: 60/297,282
N.º: J/000178
Data de pedido de extensão: 2007/12/14
Data de despacho de extensão: 2008/02/04
Requerente: Aruze Corp.
Nacionalidade: japonesa
Domicílio/Sede: 3-1-25, Ariake, Koto-ku, Tokyo 135-0063 Japan
Título: Máquina de jogos.
Resumo: 在一種投幣機中,殼體2中設置於殼體中的輪盤220前面的下液晶顯示器4受到控制,並且如果確定表現轉移效果,在基礎遊戲通過採用下液晶顯示器4被 進行的同時,通過控制下液晶顯示器4的透射度,效果顯示被進行。另一方面,除了在確定轉移效果被進行的情況和通過採用殼體2中的輪盤220進行自選遊戲的情況之外,殼體2中 的輪盤220被隱藏。
Data de pedido nacional: 2004/08/27
Número de patente nacional: 200410068571.5
Data de publicação nacional: 2005/03/09
Data de anúncio nacional: 2007/10/03
Número de anúncio nacional: CN 100340315C
Classificação: A63F13/00, G07F17/34
Inventor: Masatsugu KOBAYASHI
Data de prioridade: 2003/08/29
País/Território de prioridade: JAPÃO
Número de prioridade: 2003-306489
Figura

N.º: J/000180
Data de pedido de extensão: 2007/12/19
Data de despacho de extensão: 2008/02/04
Requerente: 日本卡利德株式會社
Nacionalidade: japonesa
Domicílio/Sede: 1, KandaIzumi-cho, Chiyoda-ku, Tokyo 101-0024, Japan
Título: Matéria corante para absorção de infravermelho próximo e filtro para obstrução de infravermelho próximo.
Resumo: 一種吸收近紅外線的染料,該染料包含具有磺酰亞氨陽離子部分的二亞銨鹽,所述二亞銨鹽由下式(1)表示。式中,R相同或不同,代表選自由烷基、鹵代 烷基、氰基烷基、芳香基、羥基、苯基、苯亞烷基構成的組中的部分,R1和R2相同或不同,代表氟代烷基,或結合形成氟代亞烷基。這種吸收近紅外線的染料具有良好的耐熱性和 耐濕性,從而其吸收近紅外線的性能長期不會降低。採用本發明的吸收近紅外線的染料製備的阻擋近紅外線的濾光片由於具有良好的耐熱性和耐濕性,所以它可以有利地用於多種用途 ,例如等離子體顯示器面板、光學鏡片、汽車玻璃和建材玻璃。
Data de pedido nacional: 2003/11/18
Número de patente nacional: 200380103815.2
Data de publicação nacional: 2005/12/28
Data de anúncio nacional: 2007/11/14
Número de anúncio nacional: CN 100348669C
Classificação: C09B55/00, C09B69/06, C09K3/00, G02B5/22
| Inventor: | 山野邊進 |
| 田村正明 | |
| 山口容史 | |
| 山本秀雄 |
Data de prioridade: 2002/11/22
País/Território de prioridade: JAPÃO
Número de prioridade: 339110/2002
Figura

N.º: J/000182
Data de pedido de extensão: 2007/12/31
Data de despacho de extensão: 2008/02/04
Requerente: Aruze Corp.
Nacionalidade: japonesa
Domicílio/Sede: 3-1-25, Ariake, Koto-ku, Tokyo, Japan
Título: Sistema de gestão de informação de localização.
Resumo: 本發明的位置信息管理系統包括:卡,分別具有存儲了固有標識ID的標識IC並使使用者攜帶;多個檢測器,該多個檢測器分別被分配有固有的檢測器ID並 設置在賓館內,同時通過與標識IC之間的收發信檢出標識ID,並發送檢出的標識ID和檢測器ID;位置信息管理裝置,該位置信息管理裝置具有將檢測器輸出的標識ID及檢測 器ID作為組與檢出時間一起進行記錄的記錄裝置,該位置信息管理裝置還根據記錄在該記錄裝置中的信息管理賓館內的使用者的位置信息。因此可以在賓館內或賓館所配備的各種設 施內掌握使用者的位置信息。
Data de pedido nacional: 2003/12/16
Número de patente nacional: 200310121418.X
Data de publicação nacional: 2004/06/30
Data de anúncio nacional: 2007/10/24
Número de anúncio nacional: CN 100345156C
Classificação: G06Q20/00, G06K7/00, G06K19/07
Inventor: Jun FUJIMOTO
Data de prioridade: 2002/12/16
País/Território de prioridade: JAPÃO
Número de prioridade: 2002-364347
Figura

N.º: J/000183
Data de pedido de extensão: 2007/12/31
Data de despacho de extensão: 2008/02/04
Requerente: Aruze Corp.
Nacionalidade: japonesa
Domicílio/Sede: 3-1-25, Ariake, Koto-ku, Tokyo 135-0063 Japan
Título: Máquina de jogos e sistema de jogos.
Resumo: 一種包括多個遊戲終端設備的遊戲機(310),該多個遊戲終端設備具有由遊戲者操作的控制面板,其中遊戲者在付出遊戲值的情況下進行遊戲。另外,該 遊戲機(310)包括:累積存儲裝置,其基於每單元遊戲以預先確定的速率響應於遊戲幣來存儲多種累積值;事件值達成確定裝置,其確定由累積存儲裝置存儲的多種累積值中的任 何一個是否達到了為該多種累積值中的每一個預先設置的事件值;以及事件發生裝置,其在當事件值達成確定裝置確定達到了預先設置的事件值時,產生對應於所達到的事件值的事件 。
Data de pedido nacional: 2004/09/08
Número de patente nacional: 200410076890.0
Data de publicação nacional: 2005/03/30
Data de anúncio nacional: 2007/10/31
Número de anúncio nacional: CN 100345604C
Classificação: A63F13/00, G07F17/32
Inventor: TOYODA, Hirobumi
Data de prioridade: 2003/09/08
País/Território de prioridade: JAPÃO
Número de prioridade: 316020/2003
Figura

N.º: J/000184
Data de pedido de extensão: 2007/12/31
Data de despacho de extensão: 2008/02/04
Requerente: Aruze Corp.
Nacionalidade: japonesa
Domicílio/Sede: 3-1-25, Ariake, Koto-ku, Tokyo 135-0063 Japan
Título: Máquina de jogos.
Resumo: 本發明的遊戲機(310)在遊戲終端(314A)的顯示器(370A)上為遊戲者顯示形成為賓果牌識別信息和其相關聯的賓果單元矩陣的賓果牌,以進 行賓果遊戲。該遊戲機包括:用於通知遊戲者在當在抽選機(312)的下一個抽選中抽取到特定識別信息時特定賓果單元將生效的概率的裝置,並且可以以其中單獨顯示特定賓果單 元使得可以區分它們的顯示方式來獲得遊戲者需要的遊戲進行結果。
Data de pedido nacional: 2004/09/08
Número de patente nacional: 200410076886.4
Data de publicação nacional: 2005/03/30
Data de anúncio nacional: 2007/10/31
Número de anúncio nacional: CN 100345603C
Classificação: A63F13/00, A63F3/06
Inventor: TOYODA, Hirobumi
Data de prioridade: 2003/09/08
País/Território de prioridade: JAPÃO
Número de prioridade: 316021/2003
Figura

Protecção de certificado complementar de protecção para medicamentos e produtos fito-farmacêuticos
De acordo com os artigos 10.º e 126.º do RJPI, aprovado pelo Decreto-Lei n.º 97/99/M, de 13 de Dezembro, a seguir se publicam o(s) pedido(s) de certificado complementar de protecção para medicamentos e produtos fito-farmacêuticos e da respectiva concessão para a RAEM, e de acordo com os artigos 275.º a 277.º do mesmo diploma, cabe recurso para o Tribunal Judicial de Base, do(s) despacho(s) abaixo mencionado(s), no prazo de um mês a contar da data desta publicação.
N.º: F/000004
Data de pedido de certificado: 2007/12/17
Data de despacho de certificado: 2008/02/11
Requerente: PFIZER, INC.
Nacionalidade: americana
Domicílio/Sede: 235 East 42nd Street, New York, NY 10017, U.S.A.
N.º da patente: J/000031
Título da patente de invenção: 9–去氧–9a–氮雜–9a–甲基–高紅霉素A二水合物的製備方法。
N.º da primeira autorização de colocação do produto no mercado no Território: 600147
Data da primeira autorização de colocação do produto no mercado no Território: 2000/01/12
Identificação do produto: Zithromax (Azithromycin)
Prazo de validade: 2015/07/08
Em conformidade com a alínea d) dos n.os 1 e 2 do artigo 10.º do RJPI, aprovado pelo Decreto-Lei n.º 97/99/M, de 13 de Dezembro, e de acordo com os artigos 275.º a 277.º do referido diploma, cabe recurso para o Tribunal Judicial de Base, dos despachos abaixo mencionados, no prazo de um mês a contar da data desta publicação.
Protecção de marcas
Concessões
| Processo n.º |
Data do registo |
Data do despacho |
Nome do titular |
País/Território resid. |
Classe |
| N/023327 | 2008/01/29 | 2008/01/29 | General Electric Company | US | 01 |
| 1 N/025215 | 2008/01/29 | 2008/01/29 | Donald J.Trump | US | 36 |
| 1 N/025216 | 2008/01/29 | 2008/01/29 | Donald J.Trump | US | 37 |
| 2 N/025218 | 2008/01/29 | 2008/01/29 | Donald J.Trump | US | 36 |
| 2 N/025219 | 2008/01/29 | 2008/01/29 | Donald J.Trump | US | 37 |
| N/026541 | 2008/01/29 | 2008/01/29 | Grupo Bimbo S.A. de C.V. | MX | 30 |
| 3 N/026796 | 2008/01/29 | 2008/01/29 | Nippon Paint (HK) Co Ltd | HK | 02 |
| N/026879 | 2008/01/29 | 2008/01/29 | 上海證券交易所 | CN | 36 |
| 4 N/027418 | 2008/01/29 | 2008/01/29 | United States Golf Association | US | 08 |
| 4 N/027419 | 2008/01/29 | 2008/01/29 | United States Golf Association | US | 09 |
| 4 N/027420 | 2008/01/29 | 2008/01/29 | United States Golf Association | US | 14 |
| 4 N/027421 | 2008/01/29 | 2008/01/29 | United States Golf Association | US | 18 |
| 4 N/027422 | 2008/01/29 | 2008/01/29 | United States Golf Association | US | 21 |
| 4 N/027423 | 2008/01/29 | 2008/01/29 | United States Golf Association | US | 24 |
| 4 N/027424 | 2008/01/29 | 2008/01/29 | United States Golf Association | US | 25 |
| 4 N/027425 | 2008/01/29 | 2008/01/29 | United States Golf Association | US | 28 |
| 5 N/027444 | 2008/01/29 | 2008/01/29 | MELCO PBL ENTERTAINMENT (Macau) LIMITED | KY | 16 |
| 5 N/027445 | 2008/01/29 | 2008/01/29 | MELCO PBL ENTERTAINMENT (Macau) LIMITED | KY | 17 |
| 5 N/027446 | 2008/01/29 | 2008/01/29 | MELCO PBL ENTERTAINMENT (Macau) LIMITED | KY | 18 |
| 5 N/027447 | 2008/01/29 | 2008/01/29 | MELCO PBL ENTERTAINMENT (Macau) LIMITED | KY | 20 |
| 5 N/027448 | 2008/01/29 | 2008/01/29 | MELCO PBL ENTERTAINMENT (Macau) LIMITED | KY | 21 |
| 5 N/027449 | 2008/01/29 | 2008/01/29 | MELCO PBL ENTERTAINMENT (Macau) LIMITED | KY | 22 |
| 5 N/027450 | 2008/01/29 | 2008/01/29 | MELCO PBL ENTERTAINMENT (Macau) LIMITED | KY | 24 |
| 5 N/027451 | 2008/01/29 | 2008/01/29 | MELCO PBL ENTERTAINMENT (Macau) LIMITED | KY | 25 |
| 5 N/027452 | 2008/01/29 | 2008/01/29 | MELCO PBL ENTERTAINMENT (Macau) LIMITED | KY | 26 |
| 5 N/027453 | 2008/01/29 | 2008/01/29 | MELCO PBL ENTERTAINMENT (Macau) LIMITED | KY | 27 |
| 5 N/027454 | 2008/01/29 | 2008/01/29 | MELCO PBL ENTERTAINMENT (Macau) LIMITED | KY | 28 |
| 5 N/027455 | 2008/01/29 | 2008/01/29 | MELCO PBL ENTERTAINMENT (Macau) LIMITED | KY | 29 |
| 5 N/027456 | 2008/01/29 | 2008/01/29 | MELCO PBL ENTERTAINMENT (Macau) LIMITED | KY | 30 |
| 5 N/027457 | 2008/01/29 | 2008/01/29 | MELCO PBL ENTERTAINMENT (Macau) LIMITED | KY | 32 |
| 5 N/027458 | 2008/01/29 | 2008/01/29 | MELCO PBL ENTERTAINMENT (Macau) LIMITED | KY | 33 |
| 5 N/027459 | 2008/01/29 | 2008/01/29 | MELCO PBL ENTERTAINMENT (Macau) LIMITED | KY | 34 |
| 5 N/027460 | 2008/01/29 | 2008/01/29 | MELCO PBL ENTERTAINMENT (Macau) LIMITED | KY | 35 |
| 5 N/027461 | 2008/01/29 | 2008/01/29 | MELCO PBL ENTERTAINMENT (Macau) LIMITED | KY | 36 |
| 5 N/027462 | 2008/01/29 | 2008/01/29 | MELCO PBL ENTERTAINMENT (Macau) LIMITED | KY | 37 |
| 5 N/027463 | 2008/01/29 | 2008/01/29 | MELCO PBL ENTERTAINMENT (Macau) LIMITED | KY | 38 |
| 5 N/027464 | 2008/01/29 | 2008/01/29 | MELCO PBL ENTERTAINMENT (Macau) LIMITED | KY | 39 |
| 5 N/027465 | 2008/01/29 | 2008/01/29 | MELCO PBL ENTERTAINMENT (Macau) LIMITED | KY | 40 |
| 5 N/027466 | 2008/01/29 | 2008/01/29 | MELCO PBL ENTERTAINMENT (Macau) LIMITED | KY | 41 |
| 5 N/027467 | 2008/01/29 | 2008/01/29 | MELCO PBL ENTERTAINMENT (Macau) LIMITED | KY | 42 |
| 5 N/027468 | 2008/01/29 | 2008/01/29 | MELCO PBL ENTERTAINMENT (Macau) LIMITED | KY | 43 |
| 5 N/027469 | 2008/01/29 | 2008/01/29 | MELCO PBL ENTERTAINMENT (Macau) LIMITED | KY | 44 |
| 5 N/027470 | 2008/01/29 | 2008/01/29 | MELCO PBL ENTERTAINMENT (Macau) LIMITED | KY | 45 |
| 6 N/027480 | 2008/01/29 | 2008/01/29 | Hutchison Telecommunications (Hong Kong) Limited | HK | 42 |
| 6 N/027490 | 2008/01/29 | 2008/01/29 | Hutchison Telecommunications (Hong Kong) Limited | HK | 42 |
| 7 N/027555 | 2008/01/29 | 2008/01/29 | 聯福藥業(私人)有限公司 LUEN FOOK MEDICINE CO. (PTE) LIMITED |
SG | 05 |
| N/027882 | 2008/01/29 | 2008/01/29 | Guess?, Inc. | US | 03 |
| N/027888 | 2008/01/29 | 2008/01/29 | Guess?, Inc. | US | 03 |
| N/027968 | 2008/01/29 | 2008/01/29 | KABUSHIKI KAISHA TOSHIBA, also trading as Toshiba Corporation | JP | 11 |
| N/028203 | 2008/01/29 | 2008/01/29 | CHINA PATENT AGENT (H.K.) LTD. | HK | 35 |
| N/028204 | 2008/01/29 | 2008/01/29 | CHINA PATENT AGENT (H.K.) LTD. | HK | 38 |
| N/028205 | 2008/01/29 | 2008/01/29 | CHINA PATENT AGENT (H.K.) LTD. | HK | 45 |
| 8 N/028472 | 2008/01/29 | 2008/01/29 | 濠亞航空股份有限公司 SOCIEDADE DE TRANSPORTES AÉREOS MACAU ASIA EXPRESS, S.A. |
MO | 39 |
| 9 N/028473 | 2008/01/29 | 2008/01/29 | 濠亞航空股份有限公司 SOCIEDADE DE TRANSPORTES AÉREOS MACAU ASIA EXPRESS, S.A. |
MO | 39 |
| N/028776 | 2008/01/29 | 2008/01/29 | Nineteen Fifty Seven and Company Limited | VG | 43 |
| N/028857 | 2008/01/29 | 2008/01/29 | 蓮華一人有限公司 | MO | 32 |
| N/028902 | 2008/01/29 | 2008/01/29 | DaimlerChrysler AG | DE | 42 |
| N/029016 | 2008/01/18 | 2008/01/18 | K-Swiss Inc. | US | 14 |
| N/029448 | 2008/01/29 | 2008/01/29 | Transmode Systems AB | SE | 09 |
| N/029449 | 2008/01/29 | 2008/01/29 | Transmode Systems AB | SE | 37 |
| N/029450 | 2008/01/29 | 2008/01/29 | Transmode Systems AB | SE | 38 |
| N/029451 | 2008/01/29 | 2008/01/29 | Transmode Systems AB | SE | 42 |
| N/029542 | 2008/01/29 | 2008/01/29 | Aareal Bank AG | DE | 36 |
| N/029543 | 2008/01/29 | 2008/01/29 | Aareal Bank AG | DE | 36 |
| N/029547 | 2008/01/29 | 2008/01/29 | British Sky Broadcasting Group plc | GB | 09 |
| N/029548 | 2008/01/29 | 2008/01/29 | British Sky Broadcasting Group plc | GB | 38 |
| N/029623 | 2008/01/29 | 2008/01/29 | INTERACT — COMUNICAÇÃO INTERACTIVA, LDA | PT | 35 |
| N/029656 | 2008/01/29 | 2008/01/29 | 曾彬彬 Chang Pan Pan |
MO | 18 |
| N/029657 | 2008/01/29 | 2008/01/29 | 曾彬彬 Chang Pan Pan |
MO | 18 |
| N/029659 | 2008/01/29 | 2008/01/29 | 曾彬彬 Chang Pan Pan |
MO | 25 |
| N/029660 | 2008/01/29 | 2008/01/29 | 曾彬彬 Chang Pan Pan |
MO | 25 |
| N/029662 | 2008/01/29 | 2008/01/29 | 曾彬彬 Chang Pan Pan |
MO | 34 |
| N/029679 | 2008/01/29 | 2008/01/29 | DYNABRADE, INC. | US | 07 |
| N/029680 | 2008/01/29 | 2008/01/29 | DYNABRADE, INC. | US | 07 |
| N/029690 | 2008/01/29 | 2008/01/29 | Marchesa, Ltd. | GB | 03 |
| N/029691 | 2008/01/29 | 2008/01/29 | Marchesa, Ltd. | GB | 09 |
| N/029692 | 2008/01/29 | 2008/01/29 | Marchesa, Ltd. | GB | 14 |
| N/029693 | 2008/01/29 | 2008/01/29 | Marchesa, Ltd. | GB | 18 |
| N/029694 | 2008/01/29 | 2008/01/29 | Marchesa, Ltd. | GB | 20 |
| N/029695 | 2008/01/29 | 2008/01/29 | Marchesa, Ltd. | GB | 21 |
| N/029696 | 2008/01/29 | 2008/01/29 | Marchesa, Ltd. | GB | 24 |
| N/029697 | 2008/01/29 | 2008/01/29 | Marchesa, Ltd. | GB | 25 |
| N/029698 | 2008/01/29 | 2008/01/29 | Marchesa, Ltd. | GB | 35 |
| N/029708 | 2008/01/29 | 2008/01/29 | 陳遠生 | CN | 29 |
| N/029709 | 2008/01/29 | 2008/01/29 | 陳遠生 | CN | 31 |
| N/029725 | 2008/01/29 | 2008/01/29 | SWEDISH MATCH NORTH EUROPE AB | SE | 34 |
| N/029726 | 2008/01/29 | 2008/01/29 | INTERNATIONAL CRYPTOMONADALES BIOTECHNOLOGY CO., LTD. |
TW | 05 |
| N/029727 | 2008/01/29 | 2008/01/29 | INTERNATIONAL CRYPTOMONADALES BIOTECHNOLOGY CO., LTD. |
TW | 05 |
| N/029728 | 2008/01/29 | 2008/01/29 | INTERNATIONAL CRYPTOMONADALES BIOTECHNOLOGY CO., LTD. |
TW | 05 |
| N/029746 | 2008/01/29 | 2008/01/29 | Fairmont Spas Inc. | CA | 03 |
| N/029747 | 2008/01/29 | 2008/01/29 | Fairmont Spas Inc. | CA | 04 |
| N/029748 | 2008/01/29 | 2008/01/29 | Fairmont Spas Inc. | CA | 24 |
| N/029749 | 2008/01/29 | 2008/01/29 | Fairmont Spas Inc. | CA | 32 |
| N/029750 | 2008/01/29 | 2008/01/29 | Fairmont Spas Inc. | CA | 35 |
| N/029751 | 2008/01/29 | 2008/01/29 | Fairmont Spas Inc. | CA | 41 |
| N/029752 | 2008/01/29 | 2008/01/29 | Fairmont Spas Inc. | CA | 43 |
| N/029753 | 2008/01/29 | 2008/01/29 | Fairmont Spas Inc. | CA | 44 |
| N/029757 | 2008/01/29 | 2008/01/29 | MIWA LOCK CO., LTD. | JP | 37 |
| N/029758 | 2008/01/29 | 2008/01/29 | MIWA LOCK CO., LTD. | JP | 37 |
| N/029776 | 2008/01/29 | 2008/01/29 | La Famille des Grands Vins et Spiritueux (FGVS) | FR | 33 |
| 10 N/029901 | 2008/01/29 | 2008/01/29 | 濠亞航空股份有限公司 SOCIEDADE DE TRANSPORTES AÉREOS MACAU ASIA EXPRESS, S.A. |
MO | 39 |
| 8 N/029902 | 2008/01/29 | 2008/01/29 | 濠亞航空股份有限公司 SOCIEDADE DE TRANSPORTES AÉREOS MACAU ASIA EXPRESS, S.A. |
MO | 39 |
| N/029962 | 2008/01/29 | 2008/01/29 | FOSSIL, INC. | US | 25 |
| N/030003 | 2008/01/29 | 2008/01/29 | Monde M.Y. San Corporation | PH | 30 |
| 11 N/030004 | 2008/01/29 | 2008/01/29 | Monde M.Y. San Corporation | PH | 30 |
| N/030035 | 2008/01/29 | 2008/01/29 | Nielsen Business Media, Inc. | US | 35 |
| N/030036 | 2008/01/29 | 2008/01/29 | Nielsen Business Media, Inc. | US | 35 |
| 12 N/030076 | 2008/01/29 | 2008/01/29 | Sea Express (Macau) Limitada | MO | 06 |
| 12 N/030077 | 2008/01/29 | 2008/01/29 | Sea Express (Macau) Limitada | MO | 16 |
| 12 N/030078 | 2008/01/29 | 2008/01/29 | Sea Express (Macau) Limitada | MO | 18 |
| 12 N/030079 | 2008/01/29 | 2008/01/29 | Sea Express (Macau) Limitada | MO | 20 |
| 12 N/030080 | 2008/01/29 | 2008/01/29 | Sea Express (Macau) Limitada | MO | 21 |
| 12 N/030081 | 2008/01/29 | 2008/01/29 | Sea Express (Macau) Limitada | MO | 25 |
| 12 N/030082 | 2008/01/29 | 2008/01/29 | Sea Express (Macau) Limitada | MO | 28 |
| 12 N/030083 | 2008/01/29 | 2008/01/29 | Sea Express (Macau) Limitada | MO | 34 |
| 13 N/030084 | 2008/01/29 | 2008/01/29 | Sea Express (Macau) Limitada | MO | 39 |
| 14 N/030085 | 2008/01/29 | 2008/01/29 | Sea Express (Macau) Limitada | MO | 06 |
| 14 N/030086 | 2008/01/29 | 2008/01/29 | Sea Express (Macau) Limitada | MO | 16 |
| 14 N/030087 | 2008/01/29 | 2008/01/29 | Sea Express (Macau) Limitada | MO | 18 |
| 14 N/030088 | 2008/01/29 | 2008/01/29 | Sea Express (Macau) Limitada | MO | 20 |
| 14 N/030089 | 2008/01/29 | 2008/01/29 | Sea Express (Macau) Limitada | MO | 21 |
| 14 N/030090 | 2008/01/29 | 2008/01/29 | Sea Express (Macau) Limitada | MO | 25 |
| 14 N/030091 | 2008/01/29 | 2008/01/29 | Sea Express (Macau) Limitada | MO | 28 |
| 14 N/030092 | 2008/01/29 | 2008/01/29 | Sea Express (Macau) Limitada | MO | 34 |
| 15 N/030093 | 2008/01/29 | 2008/01/29 | Sea Express (Macau) Limitada | MO | 39 |
| N/030104 | 2008/01/29 | 2008/01/29 | 易通行廣告(澳門)有限公司 | MO | 35 |
| N/030191 | 2008/01/29 | 2008/01/29 | La Famille des Grands Vins et Spiritueux (FGVS) | FR | 33 |
| N/030194 | 2008/01/29 | 2008/01/29 | 飛梭實業(深圳)有限公司廣州分公司 | CN | 09 |
| N/030195 | 2008/01/29 | 2008/01/29 | 施明川 SI MENG CHUN |
MO | 14 |
| N/030196 | 2008/01/29 | 2008/01/29 | 施明川 SI MENG CHUN |
MO | 25 |
| N/030197 | 2008/01/29 | 2008/01/29 | 施明川 SI MENG CHUN |
MO | 18 |
| N/030198 | 2008/01/29 | 2008/01/29 | 施明川 SI MENG CHUN |
MO | 14 |
| N/030199 | 2008/01/29 | 2008/01/29 | 施明川 SI MENG CHUN |
MO | 14 |
| N/030200 | 2008/01/29 | 2008/01/29 | 施明川 SI MENG CHUN |
MO | 14 |
| N/030201 | 2008/01/29 | 2008/01/29 | 施明川 SI MENG CHUN |
MO | 14 |
| N/030202 | 2008/01/29 | 2008/01/29 | 施明川 SI MENG CHUN |
MO | 14 |
| N/030203 | 2008/01/29 | 2008/01/29 | 施明川 SI MENG CHUN |
MO | 14 |
| N/030204 | 2008/01/29 | 2008/01/29 | 施明川 SI MENG CHUN |
MO | 14 |
| N/030205 | 2008/01/29 | 2008/01/29 | 施明川 SI MENG CHUN |
MO | 14 |
| N/030219 | 2008/01/29 | 2008/01/29 | Irmãos Vila Nova, S.A. | PT | 03 |
| N/030220 | 2008/01/29 | 2008/01/29 | Irmãos Vila Nova, S.A. | PT | 14 |
| N/030221 | 2008/01/29 | 2008/01/29 | Irmãos Vila Nova, S.A. | PT | 25 |
| N/030222 | 2008/01/29 | 2008/01/29 | Irmãos Vila Nova, S.A. | PT | 03 |
| N/030223 | 2008/01/29 | 2008/01/29 | Irmãos Vila Nova, S.A. | PT | 14 |
| N/030224 | 2008/01/29 | 2008/01/29 | Irmãos Vila Nova, S.A. | PT | 25 |
| N/030231 | 2008/01/29 | 2008/01/29 | Las Vegas Gaming, Inc. | US | 09 |
| N/030232 | 2008/01/29 | 2008/01/29 | Las Vegas Gaming, Inc. | US | 35 |
| N/030233 | 2008/01/29 | 2008/01/29 | Las Vegas Gaming, Inc. | US | 38 |
| N/030234 | 2008/01/29 | 2008/01/29 | Las Vegas Gaming, Inc. | US | 41 |
| N/030237 | 2008/01/29 | 2008/01/29 | SEGAFREDO-ZANETTI S.p.A. | IT | 30 |
| N/030249 | 2008/01/29 | 2008/01/29 | John Player & Sons Limited | IE | 34 |
| 16 N/030253 | 2008/01/29 | 2008/01/29 | Wella Aktiengesellschaft | DE | 03 |
| N/030298 | 2008/01/29 | 2008/01/29 | Worldwide Franchise Systems, Inc. | US | 36 |
| N/030299 | 2008/01/29 | 2008/01/29 | Worldwide Franchise Systems, Inc. | US | 37 |
| N/030300 | 2008/01/29 | 2008/01/29 | Worldwide Franchise Systems, Inc. | US | 43 |
| N/030303 | 2008/01/29 | 2008/01/29 | RE/MAX INTERNATIONAL, INC. | US | 35 |
| N/030304 | 2008/01/29 | 2008/01/29 | RE/MAX INTERNATIONAL, INC. | US | 36 |
| N/030305 | 2008/01/29 | 2008/01/29 | RE/MAX INTERNATIONAL, INC. | US | 35 |
| N/030308 | 2008/01/29 | 2008/01/29 | RE/MAX INTERNATIONAL, INC. | US | 36 |
| N/030314 | 2008/01/29 | 2008/01/29 | MANCHESTER UNITED LIMITED | GB | 09 |
| N/030315 | 2008/01/29 | 2008/01/29 | MANCHESTER UNITED LIMITED | GB | 14 |
| N/030316 | 2008/01/29 | 2008/01/29 | MANCHESTER UNITED LIMITED | GB | 16 |
| N/030317 | 2008/01/29 | 2008/01/29 | MANCHESTER UNITED LIMITED | GB | 18 |
| N/030318 | 2008/01/29 | 2008/01/29 | MANCHESTER UNITED LIMITED | GB | 28 |
| N/030319 | 2008/01/29 | 2008/01/29 | Playboy Enterprises International, Inc. | US | 16 |
| N/030320 | 2008/01/29 | 2008/01/29 | Playboy Enterprises International, Inc. | US | 25 |
| N/030321 | 2008/01/29 | 2008/01/29 | Playboy Enterprises International, Inc. | US | 43 |
| N/030322 | 2008/01/29 | 2008/01/29 | Playboy Enterprises International, Inc. | US | 43 |
| N/030323 | 2008/01/29 | 2008/01/29 | Playboy Enterprises International, Inc. | US | 28 |
| N/030324 | 2008/01/29 | 2008/01/29 | Playboy Enterprises International, Inc. | US | 43 |
| N/030336 | 2008/01/29 | 2008/01/29 | HotelCorp Ltd | TH | 43 |
| N/030338 | 2008/01/29 | 2008/01/29 | Starbucks Corporation | US | 43 |
| N/030347 | 2008/01/29 | 2008/01/29 | IGT | US | 09 |
| N/030348 | 2008/01/29 | 2008/01/29 | IGT | US | 09 |
| N/030349 | 2008/01/29 | 2008/01/29 | IGT | US | 09 |
| N/030359 | 2008/01/29 | 2008/01/29 | JELLY BELLY CANDY COMPANY | US | 05 |
| N/030360 | 2008/01/29 | 2008/01/29 | JELLY BELLY CANDY COMPANY | US | 30 |
| N/030361 | 2008/01/29 | 2008/01/29 | Dynamic Software Development Limited | HK | 09 |
| N/030365 | 2008/01/29 | 2008/01/29 | LOK KEI HONG, LIMITADA | MO | 25 |
| N/030368 | 2008/01/29 | 2008/01/29 | Brands Development (World-wide) Limited | GB | 33 |
| N/030369 | 2008/01/29 | 2008/01/29 | Ocean Minded, Inc. | US | 25 |
| N/030371 | 2008/01/29 | 2008/01/29 | Van Nelle Tabak Nederlands B.V. | NL | 34 |
| N/030372 | 2008/01/29 | 2008/01/29 | LOUIS VUITTON MALLETIER | FR | 18 |
| 17 N/030373 | 2008/01/29 | 2008/01/29 | Koelnmesse Pte Ltd | SG | 43 |
| 18 N/030374 | 2008/01/29 | 2008/01/29 | Koelnmesse Pte Ltd | SG | 43 |
| 19 N/030375 | 2008/01/29 | 2008/01/29 | Koelnmesse Pte Ltd | SG | 43 |
| N/030376 | 2008/01/29 | 2008/01/29 | Aruze Corporation | JP | 09 |
| N/030377 | 2008/01/29 | 2008/01/29 | Aruze Corporation | JP | 09 |
| N/030378 | 2008/01/29 | 2008/01/29 | Aruze Corporation | JP | 09 |
| 20 N/030379 | 2008/01/29 | 2008/01/29 | Aruze Corporation | JP | 09 |
| N/030380 | 2008/01/29 | 2008/01/29 | Aruze Corporation | JP | 09 |
| 20 N/030381 | 2008/01/29 | 2008/01/29 | Aruze Corporation | JP | 09 |
| N/030382 | 2008/01/29 | 2008/01/29 | 聯達寵物用品有限公司 | HK | 35 |
| 21 N/030386 | 2008/01/29 | 2008/01/29 | 3D CITIES MACAU LIMITADA | MO | 09 |
| 21 N/030387 | 2008/01/29 | 2008/01/29 | 3D CITIES MACAU LIMITADA | MO | 09 |
| N/030388 | 2008/01/29 | 2008/01/29 | JFJ PRODUCTIONS CORP. | TW | 09 |
| N/030389 | 2008/01/29 | 2008/01/29 | JFJ PRODUCTIONS CORP. | TW | 25 |
| N/030390 | 2008/01/29 | 2008/01/29 | JFJ PRODUCTIONS CORP. | TW | 41 |
| 22 N/030399 | 2008/01/29 | 2008/01/29 | 薛月英 SIE YE ING |
HK | 43 |
| N/030400 | 2008/01/29 | 2008/01/29 | Gilmar S.p.A. | IT | 24 |
| N/030401 | 2008/01/29 | 2008/01/29 | Gilmar S.p.A. | IT | 25 |
| N/030402 | 2008/01/29 | 2008/01/29 | Gilmar S.p.A. | IT | 35 |
| N/030403 | 2008/01/29 | 2008/01/29 | 朱國光 | TW | 29 |
| N/030404 | 2008/01/29 | 2008/01/29 | 朱國光 | TW | 30 |
| N/030406 | 2008/01/29 | 2008/01/29 | 杭州亮亮電子照明有限公司 | CN | 11 |
| 23 N/030408 | 2008/01/29 | 2008/01/29 | East West Bank | US | 36 |
| 24 N/030409 | 2008/01/29 | 2008/01/29 | East West Bank | US | 36 |
| N/030410 | 2008/01/29 | 2008/01/29 | East West Bank | US | 36 |
| 25 N/030411 | 2008/01/29 | 2008/01/29 | East West Bank | US | 36 |
| N/030412 | 2008/01/29 | 2008/01/29 | 雷幼萍 Loi Iao Peng |
MO | 30 |
| N/030441 | 2008/01/29 | 2008/01/29 | Energy All In, Inc. | US | 32 |
| N/030442 | 2008/01/29 | 2008/01/29 | Aruze Corporation | JP | 09 |
| N/030443 | 2008/01/29 | 2008/01/29 | Aruze Corporation | JP | 09 |
| N/030444 | 2008/01/29 | 2008/01/29 | ASTRAZENECA AB | SE | 05 |
| N/030445 | 2008/01/29 | 2008/01/29 | British American Tobacco (Brands) Limited | GB | 34 |
| N/030455 | 2008/01/29 | 2008/01/29 | IGT | US | 09 |
| N/030456 | 2008/01/29 | 2008/01/29 | IGT | US | 09 |
| N/030457 | 2008/01/29 | 2008/01/29 | IGT | US | 09 |
| N/030458 | 2008/01/29 | 2008/01/29 | IGT | US | 09 |
| N/030459 | 2008/01/29 | 2008/01/29 | IGT | US | 09 |
| N/030460 | 2008/01/29 | 2008/01/29 | ERMANNO PAN-EUROPE KFT | HU | 03 |
| N/030461 | 2008/01/29 | 2008/01/29 | ERMANNO PAN-EUROPE KFT | HU | 09 |
| N/030462 | 2008/01/29 | 2008/01/29 | ERMANNO PAN-EUROPE KFT | HU | 14 |
| N/030463 | 2008/01/29 | 2008/01/29 | ERMANNO PAN-EUROPE KFT | HU | 18 |
| N/030464 | 2008/01/29 | 2008/01/29 | ERMANNO PAN-EUROPE KFT | HU | 24 |
| N/030465 | 2008/01/29 | 2008/01/29 | ERMANNO PAN-EUROPE KFT | HU | 25 |
| N/030466 | 2008/01/29 | 2008/01/29 | ERMANNO PAN-EUROPE KFT | HU | 18 |
| N/030467 | 2008/01/29 | 2008/01/29 | ERMANNO PAN-EUROPE KFT | HU | 25 |
| N/030468 | 2008/01/29 | 2008/01/29 | The United States Shoe Corporation | US | 09 |
| N/030469 | 2008/01/29 | 2008/01/29 | The United States Shoe Corporation | US | 09 |
| N/030479 | 2008/01/29 | 2008/01/29 | THE COCA-COLA COMPANY | US | 32 |
| N/030480 | 2008/01/29 | 2008/01/29 | THE COCA-COLA COMPANY | US | 35 |
| N/030481 | 2008/01/29 | 2008/01/29 | THE COCA-COLA COMPANY | US | 41 |
| N/030482 | 2008/01/29 | 2008/01/29 | THE COCA-COLA COMPANY | US | 32 |
| N/030483 | 2008/01/29 | 2008/01/29 | THE COCA-COLA COMPANY | US | 35 |
| N/030484 | 2008/01/29 | 2008/01/29 | Agnès TROUBLE | FR | 30 |
| N/030485 | 2008/01/29 | 2008/01/29 | Agnès TROUBLE | FR | 43 |
| N/030493 | 2008/01/29 | 2008/01/29 | WYNN RESORTS HOLDINGS, LLC | US | 35 |
| N/030494 | 2008/01/29 | 2008/01/29 | WYNN RESORTS HOLDINGS, LLC | US | 36 |
| N/030495 | 2008/01/29 | 2008/01/29 | WYNN RESORTS HOLDINGS, LLC | US | 41 |
| N/030496 | 2008/01/29 | 2008/01/29 | WYNN RESORTS HOLDINGS, LLC | US | 43 |
| N/030497 | 2008/01/29 | 2008/01/29 | WYNN RESORTS HOLDINGS, LLC | US | 35 |
| N/030498 | 2008/01/29 | 2008/01/29 | WYNN RESORTS HOLDINGS, LLC | US | 36 |
| N/030499 | 2008/01/29 | 2008/01/29 | WYNN RESORTS HOLDINGS, LLC | US | 41 |
| N/030500 | 2008/01/29 | 2008/01/29 | WYNN RESORTS HOLDINGS, LLC | US | 43 |
| N/030501 | 2008/01/29 | 2008/01/29 | JOHNSON & JOHNSON | US | 05 |
| N/030502 | 2008/01/29 | 2008/01/29 | JOHNSON & JOHNSON | US | 10 |
| N/030503 | 2008/01/29 | 2008/01/29 | FLOWIL INTERNATIONAL LIGHTING (HOLDING) BV | NL | 11 |
| N/030513 | 2008/01/29 | 2008/01/29 | Jibbitz, LLC | US | 18 |
| N/030514 | 2008/01/29 | 2008/01/29 | Jibbitz, LLC | US | 25 |
| N/030515 | 2008/01/29 | 2008/01/29 | Jibbitz, LLC | US | 26 |
| N/030516 | 2008/01/29 | 2008/01/29 | SHERATON INTERNATIONAL, INC. | US | 43 |
| N/030517 | 2008/01/29 | 2008/01/29 | SHERATON INTERNATIONAL, INC. | US | 43 |
| N/030518 | 2008/01/29 | 2008/01/29 | WYNN RESORTS HOLDINGS, LLC | US | 43 |
| N/030519 | 2008/01/29 | 2008/01/29 | WYNN RESORTS HOLDINGS, LLC | US | 41 |
| N/030520 | 2008/01/29 | 2008/01/29 | WYNN RESORTS HOLDINGS, LLC | US | 37 |
| N/030521 | 2008/01/29 | 2008/01/29 | WYNN RESORTS HOLDINGS, LLC | US | 36 |
| N/030522 | 2008/01/29 | 2008/01/29 | WYNN RESORTS HOLDINGS, LLC | US | 43 |
| N/030523 | 2008/01/29 | 2008/01/29 | WYNN RESORTS HOLDINGS, LLC | US | 41 |
| N/030524 | 2008/01/29 | 2008/01/29 | WYNN RESORTS HOLDINGS, LLC | US | 37 |
| N/030525 | 2008/01/29 | 2008/01/29 | WYNN RESORTS HOLDINGS, LLC | US | 36 |
| N/030526 | 2008/01/29 | 2008/01/29 | The Folger Coffee Company | US | 30 |
| N/030527 | 2008/01/29 | 2008/01/29 | The Procter & Gamble Company | US | 03 |
| N/030528 | 2008/01/29 | 2008/01/29 | The Procter & Gamble Company | US | 05 |
| N/030529 | 2008/01/29 | 2008/01/29 | The Procter & Gamble Company | US | 10 |
| N/030530 | 2008/01/29 | 2008/01/29 | The Procter & Gamble Company | US | 21 |
| N/030534 | 2008/01/29 | 2008/01/29 | THE COCA-COLA COMPANY | US | 41 |
| N/030535 | 2008/01/29 | 2008/01/29 | The Australian Chamber of Commerce in Hong Kong | HK | 09 |
| N/030536 | 2008/01/29 | 2008/01/29 | The Australian Chamber of Commerce in Hong Kong | HK | 16 |
| N/030537 | 2008/01/29 | 2008/01/29 | The Australian Chamber of Commerce in Hong Kong | HK | 35 |
| N/030538 | 2008/01/29 | 2008/01/29 | The Australian Chamber of Commerce in Hong Kong | HK | 41 |
| N/030540 | 2008/01/29 | 2008/01/29 | VALEXTRA S.p.A. | IT | 18 |
| N/030576 | 2008/01/29 | 2008/01/29 | SAN YO PHARMACEUTICAL INDUSTRIAL CO., LTD. | TW | 05 |
| N/030577 | 2008/01/29 | 2008/01/29 | 邱慰愿 IAO WAI UN |
MO | 34 |
| N/030578 | 2008/01/29 | 2008/01/29 | ROBERTO COIN S.p.A. | IT | 14 |
| N/030579 | 2008/01/29 | 2008/01/29 | ROBERTO COIN S.p.A. | IT | 35 |
| N/030580 | 2008/01/29 | 2008/01/29 | ROBERTO COIN S.p.A. | IT | 41 |
| N/030581 | 2008/01/29 | 2008/01/29 | WYNN RESORTS HOLDINGS, LLC | US | 35 |
| N/030582 | 2008/01/29 | 2008/01/29 | WYNN RESORTS HOLDINGS, LLC | US | 35 |
| N/030602 | 2008/01/29 | 2008/01/29 | S. C. Johnson & Son, Inc. | US | 03 |
| N/030603 | 2008/01/29 | 2008/01/29 | 易思科技有限公司 Touch Technology Limited |
HK | 09 |
| N/030604 | 2008/01/29 | 2008/01/29 | HOCHTIEF Aktiengesellschaft | DE | 19 |
| N/030605 | 2008/01/29 | 2008/01/29 | HOCHTIEF Aktiengesellschaft | DE | 06 |
| N/030606 | 2008/01/29 | 2008/01/29 | HOCHTIEF Aktiengesellschaft | DE | 35 |
| N/030607 | 2008/01/29 | 2008/01/29 | 徐雅婷 Choi Nga Teng |
MO | 25 |
| N/030608 | 2008/01/29 | 2008/01/29 | 科白特品牌有限責任公司 | US | 33 |
| N/030609 | 2008/01/29 | 2008/01/29 | Luigi Lavazza S.p.A. | IT | 11 |
| N/030610 | 2008/01/29 | 2008/01/29 | Luigi Lavazza S.p.A. | IT | 29 |
| N/030611 | 2008/01/29 | 2008/01/29 | Luigi Lavazza S.p.A. | IT | 30 |
| N/030612 | 2008/01/29 | 2008/01/29 | Luigi Lavazza S.p.A. | IT | 43 |
| N/030613 | 2008/01/29 | 2008/01/29 | TAIWAN TSING BEER CO., LTD. | TW | 32 |
| N/030614 | 2008/01/29 | 2008/01/29 | TAIWAN TSING BEER CO., LTD. | TW | 32 |
| 26 N/030620 | 2008/01/29 | 2008/01/29 | 駿盈餐飲有限公司 RESTAURANTE CHUN IENG, LIMITADA |
MO | 43 |
| N/030621 | 2008/01/29 | 2008/01/29 | Bovet Fleurier S. A. | CH | 14 |
| N/030622 | 2008/01/29 | 2008/01/29 | Chivas Brothers Pernod Ricard Limited | GB | 33 |
| N/030623 | 2008/01/29 | 2008/01/29 | Las Vegas Gaming, Inc. | US | 41 |
| N/030624 | 2008/01/29 | 2008/01/29 | L’ Isolante K-Flex s.r.l. | IT | 17 |
| N/030625 | 2008/01/29 | 2008/01/29 | Aruze Corporation | JP | 09 |
| N/030626 | 2008/01/29 | 2008/01/29 | Aruze Corporation | JP | 09 |
| N/030628 | 2008/01/29 | 2008/01/29 | Aruze Corporation | JP | 09 |
| N/030630 | 2008/01/29 | 2008/01/29 | 鄭志君 Cheang Chi Kuan |
MO | 30 |
| 27 N/030633 | 2008/01/29 | 2008/01/29 | 官也酒業有限公司 | MO | 35 |
| N/030649 | 2008/01/29 | 2008/01/29 | 尹東風 | CN | 01 |
| N/030654 | 2008/01/29 | 2008/01/29 | PANDA, SOCIEDADE DE GESTÃO DE INVESTIMENTOS, LIMITADA | MO | 25 |
| N/030655 | 2008/01/29 | 2008/01/29 | Crocs, Inc. | US | 25 |
| N/030656 | 2008/01/29 | 2008/01/29 | Crocs, Inc. | US | 25 |
| N/030657 | 2008/01/29 | 2008/01/29 | Holt’s Company | US | 34 |
| N/030658 | 2008/01/29 | 2008/01/29 | Holt’s Company | US | 34 |
| N/030659 | 2008/01/29 | 2008/01/29 | SAN YO PHARMACEUTICAL INDUSTRIAL CO., LTD. | TW | 05 |
| N/030660 | 2008/01/29 | 2008/01/29 | SAN YO PHARMACEUTICAL INDUSTRIAL CO., LTD. | TW | 05 |
| N/030661 | 2008/01/29 | 2008/01/29 | SAN YO PHARMACEUTICAL INDUSTRIAL CO., LTD. | TW | 32 |
| N/030662 | 2008/01/29 | 2008/01/29 | SAN YO PHARMACEUTICAL INDUSTRIAL CO., LTD. | TW | 33 |
| N/030663 | 2008/01/29 | 2008/01/29 | FAITH CONNEXION | FR | 09 |
| N/030664 | 2008/01/29 | 2008/01/29 | FAITH CONNEXION | FR | 14 |
| N/030665 | 2008/01/29 | 2008/01/29 | FAITH CONNEXION | FR | 25 |
| N/030677 | 2008/01/29 | 2008/01/29 | Chivas Brothers Pernod Ricard Limited | GB | 33 |
| N/030680 | 2008/01/29 | 2008/01/29 | 澳門耐得國際投資發展有限公司 MACAU NYDE INTERNATIONAL INVESTMENT DEVELOPMENT COMPANY LIMITED |
MO | 34 |
| N/030681 | 2008/01/29 | 2008/01/29 | 澳門耐得國際投資發展有限公司 MACAU NYDE INTERNATIONAL INVESTMENT DEVELOPMENT COMPANY LIMITED |
MO | 34 |
| N/030682 | 2008/01/29 | 2008/01/29 | 劉國其 | CN | 41 |
| N/030683 | 2008/01/29 | 2008/01/29 | 劉國其 | CN | 38 |
| N/030684 | 2008/01/29 | 2008/01/29 | BANANA REPUBLIC (ITM) INC. | US | 03 |
| N/030685 | 2008/01/29 | 2008/01/29 | BANANA REPUBLIC (ITM) INC. | US | 09 |
| N/030686 | 2008/01/29 | 2008/01/29 | BANANA REPUBLIC (ITM) INC. | US | 14 |
| N/030687 | 2008/01/29 | 2008/01/29 | BANANA REPUBLIC (ITM) INC. | US | 18 |
| N/030688 | 2008/01/29 | 2008/01/29 | BANANA REPUBLIC (ITM) INC. | US | 25 |
| N/030689 | 2008/01/29 | 2008/01/29 | BANANA REPUBLIC (ITM) INC. | US | 35 |
| N/030690 | 2008/01/29 | 2008/01/29 | JOHNSON & JOHNSON | US | 10 |
| N/030691 | 2008/01/29 | 2008/01/29 | GAP (ITM) INC. | US | 03 |
| N/030692 | 2008/01/29 | 2008/01/29 | GAP (ITM) INC. | US | 09 |
| N/030693 | 2008/01/29 | 2008/01/29 | GAP (ITM) INC. | US | 14 |
| N/030694 | 2008/01/29 | 2008/01/29 | GAP (ITM) INC. | US | 16 |
| N/030695 | 2008/01/29 | 2008/01/29 | GAP (ITM) INC. | US | 24 |
| N/030696 | 2008/01/29 | 2008/01/29 | GAP (ITM) INC. | US | 25 |
| N/030697 | 2008/01/29 | 2008/01/29 | GAP (ITM) INC. | US | 26 |
| N/030698 | 2008/01/29 | 2008/01/29 | GAP (ITM) INC. | US | 28 |
| N/030699 | 2008/01/29 | 2008/01/29 | GAP (ITM) INC. | US | 18 |
| N/030700 | 2008/01/29 | 2008/01/29 | GAP (ITM) INC. | US | 35 |
| N/030701 | 2008/01/29 | 2008/01/29 | GAP (ITM) INC. | US | 18 |
| N/030702 | 2008/01/29 | 2008/01/29 | GAP (ITM) INC. | US | 24 |
| N/030703 | 2008/01/29 | 2008/01/29 | GAP (ITM) INC. | US | 25 |
| N/030704 | 2008/01/29 | 2008/01/29 | GAP (ITM) INC. | US | 28 |
| N/030705 | 2008/01/29 | 2008/01/29 | GAP (ITM) INC. | US | 35 |
| N/030726 | 2008/01/29 | 2008/01/29 | SWINGER INTERNATIONAL S.p.A. | IT | 14 |
| 28 N/030727 | 2008/01/29 | 2008/01/29 | V.ABC Group Limited | HK | 02 |
| 28 N/030728 | 2008/01/29 | 2008/01/29 | V.ABC Group Limited | HK | 02 |
| N/030729 | 2008/01/29 | 2008/01/29 | GAP (ITM) INC. | US | 18 |
| N/030730 | 2008/01/29 | 2008/01/29 | GAP (ITM) INC. | US | 25 |
| N/030731 | 2008/01/29 | 2008/01/29 | GAP (ITM) INC. | US | 35 |
| N/030737 | 2008/01/29 | 2008/01/29 | VILMORIN SA | FR | 31 |
| N/030738 | 2008/01/29 | 2008/01/29 | Flowil International Lighting (Holding) BV | NL | 11 |
| N/030739 | 2008/01/29 | 2008/01/29 | GAP (ITM) INC. | US | 25 |
| N/030740 | 2008/01/29 | 2008/01/29 | BANANA REPUBLIC (ITM) INC. | US | 03 |
| N/030741 | 2008/01/29 | 2008/01/29 | BANANA REPUBLIC (ITM) INC. | US | 04 |
| N/030742 | 2008/01/29 | 2008/01/29 | BANANA REPUBLIC (ITM) INC. | US | 09 |
| N/030743 | 2008/01/29 | 2008/01/29 | BANANA REPUBLIC (ITM) INC. | US | 14 |
| N/030744 | 2008/01/29 | 2008/01/29 | BANANA REPUBLIC (ITM) INC. | US | 16 |
| N/030745 | 2008/01/29 | 2008/01/29 | BANANA REPUBLIC (ITM) INC. | US | 24 |
| N/030746 | 2008/01/29 | 2008/01/29 | BANANA REPUBLIC (ITM) INC. | US | 26 |
| N/030747 | 2008/01/29 | 2008/01/29 | M.J. DE BEL MANAGEMENT B.V. | NL | 18 |
| N/030748 | 2008/01/29 | 2008/01/29 | M.J. DE BEL MANAGEMENT B.V. | NL | 25 |
| N/030749 | 2008/01/29 | 2008/01/29 | M.J. DE BEL MANAGEMENT B.V. | NL | 18 |
| N/030750 | 2008/01/29 | 2008/01/29 | M.J. DE BEL MANAGEMENT B.V. | NL | 25 |
| N/030751 | 2008/01/29 | 2008/01/29 | M.J. DE BEL MANAGEMENT B.V. | NL | 18 |
| N/030752 | 2008/01/29 | 2008/01/29 | M.J. DE BEL MANAGEMENT B.V. | NL | 25 |
| N/030753 | 2008/01/29 | 2008/01/29 | IGT | US | 09 |
| N/030754 | 2008/01/29 | 2008/01/29 | IGT | US | 09 |
| N/030755 | 2008/01/29 | 2008/01/29 | IGT | US | 09 |
| N/030756 | 2008/01/29 | 2008/01/29 | IGT | US | 09 |
| N/030757 | 2008/01/29 | 2008/01/29 | IGT | US | 09 |
| N/030758 | 2008/01/29 | 2008/01/29 | IGT | US | 09 |
| N/030759 | 2008/01/29 | 2008/01/29 | IGT | US | 09 |
| N/030760 | 2008/01/29 | 2008/01/29 | IGT | US | 09 |
| N/030761 | 2008/01/29 | 2008/01/29 | IGT | US | 09 |
| N/030762 | 2008/01/29 | 2008/01/29 | IGT | US | 09 |
| N/030763 | 2008/01/29 | 2008/01/29 | IGT | US | 09 |
| N/030764 | 2008/01/29 | 2008/01/29 | 崔啟榮 CHOI KAI WENG |
MO | 33 |
| N/030765 | 2008/01/29 | 2008/01/29 | 澳門英才網有限公司 MacauHR Internet Company Limited |
MO | 42 |
| N/030766 | 2008/01/29 | 2008/01/29 | 澳門英才網有限公司 MacauHR Internet Company Limited |
MO | 42 |
| N/030767 | 2008/01/29 | 2008/01/29 | Underberg AG | CH | 33 |
| N/030774 | 2008/01/29 | 2008/01/29 | 銀星國際有限公司 INSTAR INTERNATIONAL COMPANY LIMITED |
HK | 14 |
| N/030775 | 2008/01/29 | 2008/01/29 | PATAUGAS | FR | 25 |
| 29 N/030792 | 2008/01/29 | 2008/01/29 | Lunettes Grupo Limitada | MO | 09 |
| 29 N/030793 | 2008/01/29 | 2008/01/29 | Lunettes Grupo Limitada | MO | 09 |
| 29 N/030794 | 2008/01/29 | 2008/01/29 | Lunettes Grupo Limitada | MO | 09 |
| 29 N/030795 | 2008/01/29 | 2008/01/29 | Lunettes Grupo Limitada | MO | 09 |
| 29 N/030796 | 2008/01/29 | 2008/01/29 | Lunettes Grupo Limitada | MO | 09 |
| 30 N/030797 | 2008/01/29 | 2008/01/29 | Lunettes Grupo Limitada | MO | 09 |
| 29 N/030798 | 2008/01/29 | 2008/01/29 | Lunettes Grupo Limitada | MO | 09 |
| 29 N/030799 | 2008/01/29 | 2008/01/29 | Lunettes Grupo Limitada | MO | 09 |
| 29 N/030800 | 2008/01/29 | 2008/01/29 | Lunettes Grupo Limitada | MO | 09 |
| 29 N/030801 | 2008/01/29 | 2008/01/29 | Lunettes Grupo Limitada | MO | 09 |
| 29 N/030802 | 2008/01/29 | 2008/01/29 | Lunettes Grupo Limitada | MO | 09 |
| 30 N/030803 | 2008/01/29 | 2008/01/29 | Lunettes Grupo Limitada | MO | 09 |
| 29 N/030804 | 2008/01/29 | 2008/01/29 | Lunettes Grupo Limitada | MO | 35 |
| 29 N/030805 | 2008/01/29 | 2008/01/29 | Lunettes Grupo Limitada | MO | 35 |
| 29 N/030806 | 2008/01/29 | 2008/01/29 | Lunettes Grupo Limitada | MO | 35 |
| 29 N/030807 | 2008/01/29 | 2008/01/29 | Lunettes Grupo Limitada | MO | 35 |
| 29 N/030808 | 2008/01/29 | 2008/01/29 | Lunettes Grupo Limitada | MO | 35 |
| 30 N/030809 | 2008/02/05 | 2008/02/05 | Lunettes Grupo Limitada | MO | 35 |
| 30 N/030810 | 2008/01/29 | 2008/01/29 | Lunettes Grupo Limitada | MO | 35 |
| 29 N/030811 | 2008/01/29 | 2008/01/29 | Lunettes Grupo Limitada | MO | 35 |
| 29 N/030812 | 2008/01/29 | 2008/01/29 | Lunettes Grupo Limitada | MO | 35 |
| 29 N/030813 | 2008/01/29 | 2008/01/29 | Lunettes Grupo Limitada | MO | 35 |
| 29 N/030814 | 2008/01/29 | 2008/01/29 | Lunettes Grupo Limitada | MO | 35 |
| 29 N/030815 | 2008/01/29 | 2008/01/29 | Lunettes Grupo Limitada | MO | 35 |
| N/030816 | 2008/01/29 | 2008/01/29 | 梁潤輝 Leong Ion Fai |
MO | 43 |
| N/030830 | 2008/01/29 | 2008/01/29 | 北京北大維信生物科技有限公司 Beijing Peking University WBL Biotech Co., Ltd. |
CN | 05 |
| N/030845 | 2008/01/29 | 2008/01/29 | The United States Shoe Corporation | US | 09 |
| N/030846 | 2008/01/29 | 2008/01/29 | The United States Shoe Corporation | US | 09 |
| N/030847 | 2008/01/29 | 2008/01/29 | The United States Shoe Corporation | US | 09 |
| N/030848 | 2008/01/29 | 2008/01/29 | Paris Hilton | US | 03 |
| N/030849 | 2008/01/29 | 2008/01/29 | Mount Everest Limited | HK | 32 |
| N/030850 | 2008/01/29 | 2008/01/29 | Mount Everest Limited | HK | 32 |
| N/030851 | 2008/01/29 | 2008/01/29 | Mount Everest Limited | HK | 32 |
| N/030863 | 2008/01/29 | 2008/01/29 | 霍尼韋爾國際公司 Honeywell International Inc. |
US | 07 |
| N/030866 | 2008/01/29 | 2008/01/29 | Starwood Hotels & Resorts Worldwide, Inc. | US | 36 |
| N/030867 | 2008/01/29 | 2008/01/29 | Starwood Hotels & Resorts Worldwide, Inc. | US | 37 |
| N/030868 | 2008/01/29 | 2008/01/29 | Starwood Hotels & Resorts Worldwide, Inc. | US | 36 |
| N/030869 | 2008/01/29 | 2008/01/29 | Starwood Hotels & Resorts Worldwide, Inc. | US | 37 |
| N/030870 | 2008/01/29 | 2008/01/29 | 鞍山中儲糧米業有限責任公司 | CN | 30 |
| N/030871 | 2008/01/29 | 2008/01/29 | 福建省石獅市威派服裝有限公司 | CN | 25 |
| N/030873 | 2008/01/29 | 2008/01/29 | 僑光集團有限公司 | MO | 18 |
| N/030874 | 2008/01/29 | 2008/01/29 | 僑光集團有限公司 | MO | 16 |
| N/030875 | 2008/01/29 | 2008/01/29 | 僑光集團有限公司 | MO | 30 |
| N/030876 | 2008/01/29 | 2008/01/29 | 僑光集團有限公司 | MO | 32 |
| N/030877 | 2008/01/29 | 2008/01/29 | 僑光集團有限公司 | MO | 42 |
| N/030878 | 2008/01/29 | 2008/01/29 | 僑光集團有限公司 | MO | 25 |
| N/030879 | 2008/01/29 | 2008/01/29 | 僑光集團有限公司 | MO | 28 |
| N/030880 | 2008/01/29 | 2008/01/29 | 僑光集團有限公司 | MO | 21 |
| N/030881 | 2008/01/29 | 2008/01/29 | 僑光集團有限公司 | MO | 20 |
| N/030882 | 2008/01/29 | 2008/01/29 | 僑光集團有限公司 | MO | 17 |
| N/030883 | 2008/01/29 | 2008/01/29 | 米瑞安集團有限公司 | MO | 32 |
| N/030884 | 2008/01/29 | 2008/01/29 | 米瑞安集團有限公司 | MO | 32 |
| 31 N/030885 | 2008/01/29 | 2008/01/29 | 米瑞安集團有限公司 | MO | 32 |
| N/030886 | 2008/01/29 | 2008/01/29 | 米瑞安集團有限公司 | MO | 32 |
| N/030887 | 2008/01/29 | 2008/01/29 | Bijouterie Adler, Sa | CH | 14 |
| N/030888 | 2008/01/29 | 2008/01/29 | Bijouterie Adler, Sa | CH | 14 |
| N/030889 | 2008/01/29 | 2008/01/29 | SEATTLE’S BEST COFFEE, LLC | US | 30 |
| N/030890 | 2008/01/29 | 2008/01/29 | SEATTLE’S BEST COFFEE, LLC | US | 30 |
| N/030891 | 2008/01/29 | 2008/01/29 | SEATTLE’S BEST COFFEE, LLC | US | 30 |
| N/030892 | 2008/01/29 | 2008/01/29 | SEATTLE’S BEST COFFEE, LLC | US | 30 |
| N/030893 | 2008/01/29 | 2008/01/29 | SEATTLE’S BEST COFFEE, LLC | US | 30 |
| N/030894 | 2008/01/29 | 2008/01/29 | SEATTLE’S BEST COFFEE, LLC | US | 30 |
| N/030895 | 2008/01/29 | 2008/01/29 | SEATTLE’S BEST COFFEE, LLC | US | 32 |
| N/030896 | 2008/01/29 | 2008/01/29 | SEATTLE’S BEST COFFEE, LLC | US | 30 |
| N/030897 | 2008/01/29 | 2008/01/29 | HERMÈS INTERNATIONAL | FR | 18 |
| 32 N/030898 | 2008/01/29 | 2008/01/29 | 佳景飲食企業有限公司 GESTÃO DE RESTAURANTE FUTURE BRIGHT, LIMITADA |
MO | 43 |
| N/030902 | 2008/01/29 | 2008/01/29 | 興義市百家興旺酒業有限公司 | CN | 33 |
| N/030905 | 2008/01/29 | 2008/01/29 | 東莞市蒙自源飲食有限公司 Dongguan Mengziyuan Food & Beverage Co., Ltd. |
CN | 43 |
| N/030906 | 2008/01/29 | 2008/01/29 | Aruze Corporation | JP | 09 |
| N/030907 | 2008/01/29 | 2008/01/29 | Aruze Corporation | JP | 09 |
| N/030908 | 2008/01/29 | 2008/01/29 | Nioxin Research Laboratories, Inc. | US | 03 |
- 1 Não foi concedido o direito no uso exclusivo da(s) palavra(s) «TOWER».
- 2 Não foi concedido o direito no uso exclusivo da(s) palavra(s) «HOTEL» e «TOWER».
- 3 Não foi concedido o direito no uso exclusivo da(s) palavra(s) «NIPPON» e «PAINT».
- 4 Não foi concedido o direito no uso exclusivo da(s) palavra(s) «U.S.».
- 5 Não foi concedido o direito no uso exclusivo da(s) palavra(s) «Cotai».
- 6 Não foi concedido o direito no uso exclusivo da(s) palavra(s) «MOBILE ALLIANCE».
- 7 Não foi concedido o direito no uso exclusivo da(s) palavra(s) «AFRICAN SEA-COCONUT» e «非洲海底椰».
- 8 Não foi concedido o direito no uso exclusivo da(s) palavra(s) «航空».
- 9 Não foi concedido o direito no uso exclusivo da(s) palavra(s) «MACAU» e «EXPRESS».
- 10 Não foi concedido o direito no uso exclusivo da(s) palavra(s) «Macau» e «Express».
- 11 Não foi concedido o direito no uso exclusivo da(s) palavra(s) «CRACKERS».
- 12 Não foi concedido o direito no uso exclusivo da(s) palavra(s) «MACAU».
- 13 Não foi concedido o direito no uso exclusivo da(s) palavra(s) «MACAU» e «FERRY».
- 14 Não foi concedido o direito no uso exclusivo da(s) palavra(s) «澳門».
- 15 Não foi concedido o direito no uso exclusivo da(s) palavra(s) «澳門» e «噴射船».
- 16 Não foi concedido o direito no uso exclusivo da(s) palavra(s) «PROFESSIONALS».
- 17 Não foi concedido o direito no uso exclusivo da(s) palavra(s) «Gourmet» e «Asia».
- 18 Não foi concedido o direito no uso exclusivo da(s) palavra(s) «Wine», «Gourmet» e «Asia».
- 19 Não foi concedido o direito no uso exclusivo da(s) palavra(s) «Wine», «Gourmet» e «ASIA».
- 20 Não foi concedido o direito no uso exclusivo da(s) palavra(s) «JACKPOT».
- 21 Não foi concedido o direito no uso exclusivo da(s) palavra(s) «3D» e «Macau».
- 22 Não foi concedido o direito no uso exclusivo da(s) palavra(s) «魚翅海鮮酒家» e «上海».
- 23 Não foi concedido o direito no uso exclusivo da(s) palavra(s) «BANK».
- 24 Não foi concedido o direito no uso exclusivo da(s) palavra(s) «銀行».
- 25 Não foi concedido o direito no uso exclusivo da(s) palavra(s) «銀行» e «BANK».
- 26 Não foi concedido o direito no uso exclusivo da(s) palavra(s) «PORTUGUESE RESTAURANT» e «葡國餐廳».
- 27 Não foi concedido o direito no uso exclusivo da(s) palavra(s) «WINERY» e «酒業».
- 28 Não foi concedido o direito no uso exclusivo da(s) palavra(s) «漆».
- 29 Não foi concedido o direito no uso exclusivo da(s) palavra(s) «OPTICA».
- 30 Não foi concedido o direito no uso exclusivo da(s) palavra(s) «OPTICA» e «Cotai».
- 31 Não foi concedido o direito no uso exclusivo da(s) palavra(s) «Water».
- 32 Não foi concedido o direito no uso exclusivo da(s) palavra(s) «上海酒菜館», «SHANGHAI» e «RESTAURANT».
Concessão parcial
| Processo n.º |
Data do registo |
Data do despacho |
Nome do titular |
País/ Território resid. |
Classe | Observações |
| N/26588 N/26590 |
2008/01/29 | 2008/01/29 |
YING KEE TEA |
HK | 30 |
Com excepção de «chá; bebidas à base de chá; infusões, não medicinais», foi autorizado o registo da marca para os restantes produtos solicitados. |
Decisões por sentença
| Processo n.º |
Data de vigência |
Nome do titular |
País/ Território resid. |
Classe |
| 1 N/24231 | 2008/01/09 | 威尼斯人澳門股份有限公司 Venetian Macau S.A., em inglês, Venetian Macau Limited |
MO | 18 41 |
| 2 N/24241 | 2008/01/14 | |||
| 3 N/25990 | 2008/01/07 | 美即控股有限公司 Magic Holdings Group Limited |
HK | 03 |
1 Por sentença do Tribunal Judicial de Base, de 12/12/2007, que transitou em julgado no dia 09/01/2008, foi julgado totalmente procedente o recurso, revogando-se o despacho de recusa de registo e concedendo-se à Recorrente a marca «COTAI CENTRAL» para os produtos da classe 18.a
2 Por sentença do Tribunal Judicial de Base, de 12/12/2007, que transitou em julgado no dia 14/01/2008, foi julgado totalmente procedente o recurso, revogando-se o despacho de recusa de registo e concedendo-se à Recorrente a marca «COTAI CENTER» para os serviços da classe 41.a
3 Por sentença do Tribunal Judicial de Base, de 06/12/2007, que transitou em julgado no dia 07/01/2008, decidiu-se revogar o despacho sob recurso e ordenar o registo da marca em causa.
Protecção de patente de invenção
Concessões
| Processo n.º |
Data do registo |
Data do despacho |
Nome do titular |
País/Território resid. |
| I/000103 | 2008/02/11 | 2008/02/11 | 精工愛普生株式會社 Seiko Epson Corporation |
JP |
| I/000110 | 2008/02/04 | 2008/02/04 | 精工愛普生株式會社 Seiko Epson Corporation |
JP |
| I/000185 | 2008/02/04 | 2008/02/04 | 尊博科技股份有限公司 JUMBO TECHNOLOGY CO., LTD |
TW |
| I/000244 | 2008/01/22 | 2008/01/22 | 阿魯策株式會社 Aruze Corp. |
JP |
| I/000270 | 2008/01/22 | 2008/01/22 | ARUZE CORP. | JP |
| I/000400 | 2008/02/11 | 2008/02/11 | 阿魯策株式會社 Aruze Corp. |
JP |
Protecção de desenho ou modelo
Concessões
| Processo n.º |
Data do registo |
Data do despacho |
Nome do titular |
País/Território resid. |
| D/000342 | 2008/02/04 | 2008/02/04 | 余朝陽 U Chio Ieong |
MO |
| D/000349 | 2008/02/04 | 2008/02/04 | Philip Morris Products S.A. | CH |
| D/000386 | 2008/02/04 | 2008/02/04 | THE COCA-COLA COMPANY | US |
| D/000403 | 2008/02/04 | 2008/02/04 | 康安利(北京)諮詢有限公司 | CN |
| D/000404 | 2008/02/04 | 2008/02/04 | 康安利(北京)諮詢有限公司 | CN |
| D/000405 | 2008/02/04 | 2008/02/04 | 康安利(北京)諮詢有限公司 | CN |
| D/000406 | 2008/02/04 | 2008/02/04 | 康安利(北京)諮詢有限公司 | CN |
Protecção de estabelecimento
Concessões
| Processo n.º |
Data do registo |
Data do despacho |
Nome do titular |
País/Território resid. |
| E/000100 | 2008/01/29 | 2008/01/29 | 黃文成 WONG MAN SENG |
MO |
| E/000101 | 2008/01/29 | 2008/01/29 | 佳景飲食企業有限公司 GESTÃO DE RESTAURANTE FUTURE BRIGHT LIMITADA |
MO |
| E/000102 | 2008/01/29 | 2008/01/29 | 最佳食品有限公司 SOCIEDADE DE ALIMENTO SUCCESSFUL, LIMITADA |
MO |
| E/000103 | 2008/01/29 | 2008/01/29 | 李家輝 LEI KA FAI |
MO |
- 1 Não foi concedido o direito no uso exclusivo da(s) palavra(s) «LOJA DE CHA MEDICIONAL».
- 2 Não foi concedido o direito no uso exclusivo da(s) palavra(s) «上海酒菜館», «SHANGHAI» e «RESTAURANT».
- 3 Não foi concedido o direito no uso exclusivo da(s) palavra(s) «澳門», «貴賓會», «MACAU», «VIP» e «CLUB».
Protecção de marcas
Renovações
| Processo n.º | Marca n.º | Data da renovação |
Nome do titular |
País/Território resid. |
| 496/INPI | 441-M | 2008/01/28 | FORTUNOFF FINE JEWELRY AND SILVERWARE, LLC | US |
| 497/INPI | 442-M | 2008/01/28 | FORTUNOFF FINE JEWELRY AND SILVERWARE, LLC | US |
| 660/INPI | 599-M | 2008/01/22 | SECURICOR INTERNATIONAL LIMITED | GB |
| 8041/DSE | 9425-M | 2008/01/18 | Guccio Gucci S.p.A. | IT |
| 8043/DSE | 9427-M | 2008/01/18 | Guccio Gucci S.p.A. | IT |
| 8045/DSE | 9429-M | 2008/01/18 | Guccio Gucci S.p.A. | IT |
| 8047/DSE | 9431-M | 2008/01/18 | Guccio Gucci S.p.A. | IT |
| 8053/DSE | 9437-M | 2008/01/18 | Guccio Gucci S.p.A. | IT |
| 8055/DSE | 9439-M | 2008/01/18 | Guccio Gucci S.p.A. | IT |
| 9388/INPI | 9240-M | 2008/01/18 | NOKIA CORPORATION | FI |
| 9389/INPI | 9241-M | 2008/01/18 | TOPFORD HOLDINGS LIMITED | HK |
| 9390/INPI | 9242-M | 2008/01/18 | TOPFORD HOLDINGS LIMITED | HK |
| 9391/INPI | 9243-M | 2008/01/18 | TOPFORD HOLDINGS LIMITED | HK |
| 9447/INPI | 9324-M | 2008/01/18 | ABB ASEA BROWN BOVERI LTD. | CH |
| 9448/INPI | 9325-M | 2008/01/18 | ABB ASEA BROWN BOVERI LTD. | CH |
| 9449/INPI | 9326-M | 2008/01/18 | ABB ASEA BROWN BOVERI LTD. | CH |
| 9450/INPI | 9327-M | 2008/01/18 | ABB ASEA BROWN BOVERI LTD. | CH |
| 9451/INPI | 9328-M | 2008/01/18 | ABB ASEA BROWN BOVERI LTD. | CH |
| 9452/INPI | 9329-M | 2008/01/18 | ABB ASEA BROWN BOVERI LTD. | CH |
| 9453/INPI | 9330-M | 2008/01/18 | ABB ASEA BROWN BOVERI LTD. | CH |
| 9454/INPI | 9331-M | 2008/01/18 | ABB ASEA BROWN BOVERI LTD. | CH |
| 9457/INPI | 9334-M | 2008/01/18 | Mirage Studios Inc. | US |
| 9820/INPI | 9644-M | 2008/01/18 | MANDARIN ORIENTAL LIMITED | BM |
| 9821/INPI | 9645-M | 2008/01/18 | MANDARIN ORIENTAL LIMITED | BM |
| 9822/INPI | 9646-M | 2008/01/18 | MANDARIN ORIENTAL LIMITED | BM |
| 9823/INPI | 9647-M | 2008/01/18 | MANDARIN ORIENTAL LIMITED | BM |
| 9824/INPI | 9648-M | 2008/01/18 | MANDARIN ORIENTAL LIMITED | BM |
| 9825/INPI | 9649-M | 2008/01/18 | MANDARIN ORIENTAL LIMITED | BM |
| 9994/INPI | 9826-M | 2008/01/18 | OTIS ELEVATOR COMPANY, uma sociedade organizada e existindo segundo as leis do Estado de New Jersey | US |
| 10119/INPI | 10011-M | 2008/01/18 | LEVI STRAUSS & CO., uma sociedade organizada e existindo segundo as leis do Estado de Delaware | US |
| 10126/INPI | 10019-M | 2008/01/18 | MANDARIN ORIENTAL LIMITED | BM |
| 10127/INPI | 10020-M | 2008/01/18 | MANDARIN ORIENTAL LIMITED | BM |
| 10213/INPI | 10134-M | 2008/01/18 | NEIL PRYDE LIMITED, companhia organizada segundo as Leis de Hong Kong | HK |
| 10214/INPI | 10135-M | 2008/01/18 | NEIL PRYDE LIMITED, companhia organizada segundo as Leis de Hong Kong | HK |
| 10215/INPI | 10136-M | 2008/01/18 | NEIL PRYDE LIMITED, companhia organizada segundo as Leis de Hong Kong | HK |
| 10216/INPI | 10137-M | 2008/01/18 | NEIL PRYDE LIMITED, companhia organizada segundo as Leis de Hong Kong | HK |
| 10231/INPI | 10152-M | 2008/01/28 | SHOEI CO., LTD | JP |
| 10254/INPI | 10165-M | 2008/01/18 | ALFRED DUNHILL LIMITED | GB |
| 10255/INPI | 10166-M | 2008/01/18 | ALFRED DUNHILL LIMITED | GB |
| 10265/INPI | 10176-M | 2008/01/18 | Instituto do Vinho, do Bordado e do Artesanato da Madeira, I.P. | PT |
| 10350/INPI | 10260-M | 2008/01/18 | Wyeth | US |
| 10354/DSE | 10467-M | 2008/01/18 | RAINBOW BOUTIQUE & CA., LDA. | MO |
| 10425/INPI | 10300-M | 2008/01/18 | Six Continents Hotels, Inc. | US |
| 10655/INPI | 10540-M | 2008/01/18 | Six Continents Hotels, Inc. | US |
| 10656/INPI | 10541-M | 2008/01/18 | Six Continents Hotels, Inc. | US |
| 10669/INPI | 10554-M | 2008/01/18 | PEPSICO, INC. | US |
| 10672/INPI | 10557-M | 2008/01/18 | InBev S.A. | BE |
| 10738/INPI | 10573-M | 2008/01/18 | MERCK & CO. INC. | US |
| 10814/DSE | 10918-M | 2008/01/22 | FOODMAKER, INC. | US |
| 14182/DSE | 14444-M | 2008/01/18 | HANG HEUNG CAKE SHOP COMPANY LIMITED | HK |
| 14497/INPI | 14420-M | 2008/01/18 | Asahi Kogaku Kogyo Kabushiki Kaisha (Asahi Optical Co., Ltd.) | JP |
| N/005398 | - | 2008/01/28 | tom.com enterprises Limited | VG |
| N/005399 | - | 2008/01/28 | tom.com enterprises Limited | VG |
| N/005400 | - | 2008/01/28 | tom.com enterprises Limited | VG |
| N/005401 | - | 2008/01/28 | tom.com enterprises Limited | VG |
| N/005402 | - | 2008/01/28 | tom.com enterprises Limited | VG |
| N/005403 | - | 2008/01/28 | tom.com enterprises Limited | VG |
| N/005404 | - | 2008/01/28 | tom.com enterprises Limited | VG |
| N/005405 | - | 2008/01/28 | tom.com enterprises Limited | VG |
| N/005406 | - | 2008/01/28 | tom.com enterprises Limited | VG |
| N/005611 | - | 2008/01/25 | iCare.com Limited | HK |
| N/005612 | - | 2008/01/25 | iCare.com Limited | HK |
| N/005681 | - | 2008/01/22 | GD MD HOLDING CO. LTD. | CN |
| N/005682 | - | 2008/01/22 | GD MD HOLDING CO. LTD. | CN |
| N/005884 | - | 2008/01/22 | CSL Behring GmbH | DE |
| N/006137 | - | 2008/01/25 | HISAMITSU PHARMACEUTICAL CO., INC. | JP |
| N/006195 | - | 2008/01/25 | MERCK & CO., INC. | US |
| N/006206 | - | 2008/01/22 | Glen Raven, Inc., sociedade organizada e existindo segundo as leis do Estado da Carolina do Norte | US |
| N/006207 | - | 2008/01/22 | Glen Raven, Inc., sociedade organizada e existindo segundo as leis do Estado da Carolina do Norte | US |
| N/006209 | - | 2008/01/22 | Glen Raven, Inc., sociedade organizada e existindo segundo as leis do Estado da Carolina do Norte | US |
| N/006269 | - | 2008/01/28 | NAF NAF DISTRIBUTION B.V. | NL |
| N/006274 | - | 2008/01/25 | MERCK & CO., INC. | US |
| N/006417 | - | 2008/01/25 | Watson Enterprises Limited | VG |
| N/006418 | - | 2008/01/25 | Watson Enterprises Limited | VG |
| N/006421 | - | 2008/01/25 | Watson Enterprises Limited | VG |
| N/006457 | - | 2008/01/28 | tom.com enterprises Limited | VG |
| N/006458 | - | 2008/01/28 | tom.com enterprises Limited | VG |
| N/006459 | - | 2008/01/28 | tom.com enterprises Limited | VG |
| N/006460 | - | 2008/01/28 | tom.com enterprises Limited | VG |
| N/006461 | - | 2008/01/28 | tom.com enterprises Limited | VG |
| N/006462 | - | 2008/01/28 | tom.com enterprises Limited | VG |
| N/006463 | - | 2008/01/28 | tom.com enterprises Limited | VG |
| N/006464 | - | 2008/01/28 | tom.com enterprises Limited | VG |
| N/006465 | - | 2008/01/28 | tom.com enterprises Limited | VG |
| N/006466 | - | 2008/01/28 | tom.com enterprises Limited | VG |
| N/006467 | - | 2008/01/28 | tom.com enterprises Limited | VG |
| N/006468 | - | 2008/01/28 | tom.com enterprises Limited | VG |
| N/006469 | - | 2008/01/28 | tom.com enterprises Limited | VG |
| N/006470 | - | 2008/01/28 | tom.com enterprises Limited | VG |
| N/006471 | - | 2008/01/28 | tom.com enterprises Limited | VG |
| N/006472 | - | 2008/01/28 | tom.com enterprises Limited | VG |
| N/006473 | - | 2008/01/28 | tom.com enterprises Limited | VG |
| N/006474 | - | 2008/01/28 | tom.com enterprises Limited | VG |
| N/006475 | - | 2008/01/28 | tom.com enterprises Limited | VG |
| N/006476 | - | 2008/01/28 | tom.com enterprises Limited | VG |
| N/006477 | - | 2008/01/28 | tom.com enterprises Limited | VG |
| N/006478 | - | 2008/01/28 | tom.com enterprises Limited | VG |
| N/006479 | - | 2008/01/28 | tom.com enterprises Limited | VG |
| N/006480 | - | 2008/01/28 | tom.com enterprises Limited | VG |
| N/006481 | - | 2008/01/28 | tom.com enterprises Limited | VG |
| N/006482 | - | 2008/01/28 | tom.com enterprises Limited | VG |
| N/006483 | - | 2008/01/28 | tom.com enterprises Limited | VG |
| N/006484 | - | 2008/01/28 | tom.com enterprises Limited | VG |
| N/006485 | - | 2008/01/28 | tom.com enterprises Limited | VG |
| N/006486 | - | 2008/01/28 | tom.com enterprises Limited | VG |
| N/006487 | - | 2008/01/28 | tom.com enterprises Limited | VG |
| N/006488 | - | 2008/01/28 | tom.com enterprises Limited | VG |
| N/006489 | - | 2008/01/28 | tom.com enterprises Limited | VG |
| N/006490 | - | 2008/01/28 | tom.com enterprises Limited | VG |
| N/006491 | - | 2008/01/28 | tom.com enterprises Limited | VG |
| N/006492 | - | 2008/01/28 | tom.com enterprises Limited | VG |
| N/006493 | - | 2008/01/28 | tom.com enterprises Limited | VG |
| N/006494 | - | 2008/01/28 | tom.com enterprises Limited | VG |
| N/006495 | - | 2008/01/28 | tom.com enterprises Limited | VG |
| N/006496 | - | 2008/01/28 | tom.com enterprises Limited | VG |
| N/006497 | - | 2008/01/28 | tom.com enterprises Limited | VG |
| N/006498 | - | 2008/01/28 | tom.com enterprises Limited | VG |
| N/006560 | - | 2008/01/28 | OPEL EISENACH GmbH | DE |
| N/006561 | - | 2008/01/28 | OPEL EISENACH GmbH | DE |
| N/006586 | - | 2008/01/28 | 關東百源堂(靈藥德興堂)聯合藥廠有限公司 Kwan Tung Pak Yuen Tong (Ling Yok Tack Hing Tong) Union Medicine Factory Limited |
HK |
| N/006587 | - | 2008/01/28 | 關東百源堂(靈藥德興堂)聯合藥廠有限公司 Kwan Tung Pak Yuen Tong (Ling Yok Tack Hing Tong) Union Medicine Factory Limited |
HK |
| N/006588 | - | 2008/01/28 | 關東百源堂(靈藥德興堂)聯合藥廠有限公司 Kwan Tung Pak Yuen Tong (Ling Yok Tack Hing Tong) Union Medicine Factory Limited |
HK |
| N/006589 | - | 2008/01/28 | 關東百源堂(靈藥德興堂)聯合藥廠有限公司 Kwan Tung Pak Yuen Tong (Ling Yok Tack Hing Tong) Union Medicine Factory Limited |
HK |
| N/006620 | - | 2008/01/30 | 廣東省九江酒廠有限公司 Guangdong Jiujiang Distillery Co. Ltd. |
CN |
| N/006622 | - | 2008/01/30 | 廣東省九江酒廠有限公司 Guangdong Jiujiang Distillery Co. Ltd. |
CN |
| N/006623 | - | 2008/01/30 | 廣東省九江酒廠有限公司 Guangdong Jiujiang Distillery Co. Ltd. |
CN |
| N/006624 | - | 2008/01/30 | 廣東省九江酒廠有限公司 Guangdong Jiujiang Distillery Co. Ltd. |
CN |
| N/006625 | - | 2008/01/30 | 廣東省九江酒廠有限公司 Guangdong Jiujiang Distillery Co. Ltd. |
CN |
| N/006626 | - | 2008/01/30 | 廣東省九江酒廠有限公司 Guangdong Jiujiang Distillery Co. Ltd. |
CN |
| N/006627 | - | 2008/01/30 | 廣東省九江酒廠有限公司 Guangdong Jiujiang Distillery Co. Ltd. |
CN |
| N/006628 | - | 2008/01/28 | Arome Bakery (Macau) Company Limited | MO |
| N/006632 | - | 2008/01/28 | Tabacofina-Vander Elst N.V. | BE |
| N/006633 | - | 2008/01/28 | Arome Bakery (Macau) Company Limited | MO |
| N/006642 | - | 2008/01/28 | 關東百源堂(靈藥德興堂)聯合藥廠有限公司 Kwan Tung Pak Yuen Tong (Ling Yok Tack Hing Tong) Union Medicine Factory Ltd. |
HK |
| N/006643 | - | 2008/01/28 | 關東百源堂(靈藥德興堂)聯合藥廠有限公司 Kwan Tung Pak Yuen Tong (Ling Yok Tack Hing Tong) Union Medicine Factory Ltd. |
HK |
| N/006644 | - | 2008/01/28 | 關東百源堂(靈藥德興堂)聯合藥廠有限公司 Kwan Tung Pak Yuen Tong (Ling Yok Tack Hing Tong) Union Medicine Factory Ltd. |
HK |
| N/006727 | - | 2008/01/29 | Wuzhou Far East Cosmetics & Health Products Co. Ltd. | CN |
| N/006787 | - | 2008/01/25 | Astellas Pharma Inc. | JP |
| N/006788 | - | 2008/01/25 | Astellas Pharma Inc. | JP |
| N/006789 | - | 2008/01/25 | Astellas Pharma Inc. | JP |
| N/006790 | - | 2008/01/25 | Astellas Pharma Inc. | JP |
| N/006791 | - | 2008/01/25 | Astellas Pharma Inc. | JP |
| N/006793 | - | 2008/01/25 | Bayer Aktiengesellschaft | DE |
| N/006794 | - | 2008/01/25 | Bayer Aktiengesellschaft | DE |
| N/006817 | - | 2008/01/28 | BNP PARIBAS | FR |
| N/006853 | - | 2008/01/25 | SOLVAY (Société Anonyme) | BE |
| N/006854 | - | 2008/01/25 | SOLVAY (Société Anonyme) | BE |
| N/006855 | - | 2008/01/25 | Acer Incorporated | TW |
| N/006856 | - | 2008/01/25 | Acer Incorporated | TW |
| N/006857 | - | 2008/01/25 | Acer Incorporated | TW |
| N/006874 | - | 2008/01/25 | HUGO BOSS Trade Mark Management GmbH & Co. KG | DE |
| N/006944 | - | 2008/01/29 | SFCF - Restaurantes, Limitada | MO |
| N/006945 | - | 2008/01/29 | SFCF - Restaurantes, Limitada | MO |
| N/006988 | - | 2008/01/25 | VISA INTERNATIONAL SERVICE ASSOCIATION | US |
| N/007427 | - | 2008/01/25 | Circle K Stores Inc. | US |
| N/007496 | - | 2008/01/29 | 瀘州老窖股份有限公司 LUZHOU LAO JIAO CO., LTD |
CN |
| N/007497 | - | 2008/01/29 | 瀘州老窖股份有限公司 LUZHOU LAO JIAO CO., LTD |
CN |
| N/007498 | - | 2008/01/29 | 瀘州老窖股份有限公司 LUZHOU LAO JIAO CO., LTD |
CN |
| N/007499 | - | 2008/01/29 | 瀘州老窖股份有限公司 LUZHOU LAO JIAO CO., LTD |
CN |
| N/007500 | - | 2008/01/29 | 瀘州老窖股份有限公司 LUZHOU LAO JIAO CO., LTD |
CN |
| N/007518 | - | 2008/01/25 | MASTERCARD INTERNATIONAL INC. | US |
Averbamentos
| Processo n.º |
Data do despacho |
Natureza do averbamento |
Requerente/Titular | Modificação |
| 660/INPI (599-M) |
2008/01/22 | Modificação de sede | SECURICOR INTERNATIONAL LIMITED | The Manor, Manor Royal, Crawley, West Sussex RH10 9UN, Inglaterra. |
| 1241/INPI (1146-M) |
2008/01/22 | Transmissão | Conopco, Inc. | Sweetyet Development Limited, com sede em Unit 1704-1706, Harbour Centre, 25 Harbour Road, Wanchai, Hong Kong. |
| 1398/INPI (1302-M) |
2008/01/25 | Transmissão | NOVARTIS AG. | Société des Produits Nestlé S.A., com sede em Vevey, Switzerland. |
| 2050/INPI (1953-M) |
2008/01/22 | Modificação de identidade | VAN CLEEF & ARPELS LOGISTICS SA | Van Cleef & Arpels S.A. |
| 2054/INPI (1957-M) |
2008/01/22 | Modificação de identidade | VAN CLEEF & ARPELS LOGISTICS SA | Van Cleef & Arpels S.A. |
| 2344/INPI (2240-M) |
2008/01/25 | Transmissão | PFIZER ENTERPRISES SARL | Johnson & Johnson, com sede em One Johnson & Johnson Plaza, New Brunswick, New Jersey 08933-7001, Estados Unidos da América. |
| 2401/INPI (2297-M) |
2008/01/22 | Transmissão | TABACOFINAVANDER ELST N.V. | HENRI WINTERMANS CIGARS B.V., com sede em Nieuwstraat 75, 5521 CB Eersel, Holanda. |
| 3136/INPI (3031-M) |
2008/01/22 | Transmissão | PFIZER ENTERPRISES SARL | Johnson & Johnson, com sede em One Johnson & Johnson Plaza, New Brunswick, New Jersey 08933-7001, Estados Unidos da América. |
| 3137/INPI (3032-M) |
2008/01/22 | Transmissão | PFIZER ENTERPRISES SARL | Johnson & Johnson, com sede em One Johnson & Johnson Plaza, New Brunswick, New Jersey 08933-7001, Estados Unidos da América. |
| 8940/INPI (8668-M) |
2008/01/18 | Cancelamento licença de exploração | KAM HEUNG FOOD PRODUCTS CO., LTD. | Rescisão do contrato de licença de exploração em 01/12/2007 à MONTY & TOTCO COMPANY LIMITED. |
| 9163/INPI (8945-M) |
2008/01/18 | Transmissão | SHANDONG FOODSTUFFS IMPORT AND EXPORT CORPORATION | SHANDONG SANFOD GROUP CO., LTD., com sede em 6/F Sanfod Building, 96 Xianggangzhong Road, Shinan District, Qingdao, Shandong Province, P.R. China. |
| 9388/INPI (9240-M) |
2008/01/18 | Modificação de sede | NOKIA CORPORATION | Keilalahdentie 4, 02150 Espoo, Finland |
| 9447/INPI (9324-M) |
2008/01/18 | Modificação de sede | ABB ASEA BROWN BOVERI LTD. | Affolternstrasse, 44, 8050 Zurich, Suíça |
| 9448/INPI (9325-M) |
2008/01/18 | Modificação de sede | ABB ASEA BROWN BOVERI LTD. | Affolternstrasse, 44, 8050 Zurich, Suíça |
| 9449/INPI (9326-M) |
2008/01/18 | Modificação de sede | ABB ASEA BROWN BOVERI LTD. | Affolternstrasse, 44, 8050 Zurich, Suíça |
| 9450/INPI (9327-M) |
2008/01/18 | Modificação de sede | ABB ASEA BROWN BOVERI LTD. | Affolternstrasse, 44, 8050 Zurich, Suíça |
| 9451/INPI (9328-M) |
2008/01/18 | Modificação de sede | ABB ASEA BROWN BOVERI LTD. | Affolternstrasse, 44, 8050 Zurich, Suíça |
| 9452/INPI (9329-M) |
2008/01/18 | Modificação de sede | ABB ASEA BROWN BOVERI LTD. | Affolternstrasse, 44, 8050 Zurich, Suíça |
| 9453/INPI (9330-M) |
2008/01/18 | Modificação de sede | ABB ASEA BROWN BOVERI LTD. | Affolternstrasse, 44, 8050 Zurich, Suíça |
| 9454/INPI (9331-M) |
2008/01/18 | Modificação de sede | ABB ASEA BROWN BOVERI LTD. | Affolternstrasse, 44, 8050 Zurich, Suíça |
| 9506/INPI (9383-M) |
2008/01/25 | Modificação de sede | Tai Kwong-Yokohama Battery Industries Sdn Bhd | Lot 1238, Batu 23, Jalan Kachau, Semenyih-Sg. Lalang, 43500 Semenyih, Selangor Darul Ehsan, Malaysia |
| 9822/INPI (9646-M) |
2008/01/18 | Modificação de sede | MANDARIN ORIENTAL LIMITED | Jardine House, 33 - 35, Reid Street, Hamilton HMGX, Bermudas |
| 9823/INPI (9647-M) |
2008/01/18 | Modificação de sede | MANDARIN ORIENTAL LIMITED | Jardine House, 33 - 35, Reid Street, Hamilton HMGX, Bermudas |
| 9825/INPI (9649-M) |
2008/01/18 | Modificação de sede | MANDARIN ORIENTAL LIMITED | Jardine House, 33 - 35, Reid Street, Hamilton HMGX, Bermudas |
| 10044/INPI (9876-M) |
2008/01/18 | Transmissão | SHANDONG FOODSTUFF IMPORT AND EXPORT CORPORATION | SHANDONG SANFOD GROUP CO., LTD., com sede em 6/F Sanfod Building, 96 Xianggangzhong Road, Shinan District, Qingdao, Shandong Province, P.R. China |
| 10126/INPI (10019-M) |
2008/01/18 | Modificação de sede | MANDARIN ORIENTAL LIMITED | Jardine House, 33 - 35, Reid Street, Hamilton HMGX, Bermudas |
| 10127/INPI (10020-M) |
2008/01/18 | Modificação de sede | MANDARIN ORIENTAL LIMITED | Jardine House, 33 - 35, Reid Street, Hamilton HMGX, Bermudas |
| 10297/INPI (10207-M) |
2008/01/18 | Cancelamento licença de exploração | KAM HEUNG FOOD PRODUCTS CO., LTD. | Rescisão do contrato de licença de exploração em 01/12/2007 à MONTY & TOTCO COMPANY LIMITED |
| 10350/INPI (10260-M) |
2008/01/18 | Modificação de sede | Wyeth | Five Giralda Farms, Madison, New Jersey 07940, U.S.A. |
| 10916/INPI (10739-M) |
2008/01/18 | Transmissão | HILTON HOSPITALITY, INC. | HLT DOMESTIC IP LLC., com sede em 9336 Civic Center Drive, Beverly Hills, California 90210, E.U.A. |
| 10917/INPI (10740-M) |
2008/01/18 | Transmissão | HILTON HOSPITALITY, INC. | HLT DOMESTIC IP LLC., com sede em 9336 Civic Center Drive, Beverly Hills, California 90210, E.U.A. |
| 10918/INPI (10741-M) |
2008/01/18 | Transmissão | HILTON HOSPITALITY, INC. | HLT DOMESTIC IP LLC., com sede em 9336 Civic Center Drive, Beverly Hills, California 90210, E.U.A. |
| 11994/INPI (11878-M) |
2008/01/18 | Transmissão | TRINITY TEXTILES LIMITED | Branded Lifestyle Trademarks Limited, com sede em 12/F Lifung Centre, 2 On Ping Street, Siu Lek Yuen, Shatin, Hong Kong |
| 11995/INPI (11879-M) |
2008/01/18 | Transmissão | TRINITY TEXTILES LIMITED | Branded Lifestyle Trademarks Limited, com sede em 12/F Lifung Centre, 2 On Ping Street, Siu Lek Yuen, Shatin, Hong Kong |
| 13043/INPI (12939-M) |
2008/01/18 | Transmissão | AMERICAN STANDARD INC. | AMERICAN STANDARD INTERNATIONAL INC., com sede em 1370 Avenue of the Americas-33rd Floor, New York, New York 10019 U.S.A. |
| 13403/INPI (13306-M) |
2008/01/18 | Transmissão | THE BOOTS COMPANY PLC | Reckitt Benckiser Healthcare International Limited, com sede em 103-105 Bath Road, Slough, Berkshire, SL1 3UH, England |
| 13403/INPI (13306-M) |
2008/01/18 | Transmissão | Reckitt Benckiser Healthcare International Limited | Reckitt & Colman (Overseas) Limited, com sede em Dansom Lane, Hull HU8 7DS, England |
| 13801/INPI (13748-M) |
2008/01/18 | Modificação de identidade | Yoshinoya D&C Co., Ltd. |
YOSHINOYA HOLDINGS CO., LTD. |
| 13802/INPI (13749-M) |
2008/01/18 | Modificação de identidade | Yoshinoya D&C Co., Ltd. |
YOSHINOYA HOLDINGS CO., LTD. |
| 13803/INPI (13750-M) |
2008/01/18 | Modificação de identidade | Yoshinoya D&C Co., Ltd. |
YOSHINOYA HOLDINGS CO., LTD. |
| 13804/INPI (13751-M) |
2008/01/18 | Modificação de identidade | Yoshinoya D&C Co., Ltd. |
YOSHINOYA HOLDINGS CO., LTD. |
| 13805/INPI (13752-M) |
2008/01/18 | Modificação de identidade | Yoshinoya D&C Co., Ltd. |
YOSHINOYA HOLDINGS CO., LTD. |
| 13866/INPI (13815-M) |
2008/01/21 | Modificação de identidade | Yoshinoya D&C Co., Ltd. |
YOSHINOYA HOLDINGS CO., LTD. |
| 14331/INPI (14255-M) |
2008/01/18 | Transmissão | GOLDWIN INC. | TOYOTA TSUSHO CORPORATION, com sede em 9-8, Meieki 4-chome, Nakamura-ku, Nagoya-shi, Aichi-ken, Japan |
| 14333/INPI (14257-M) |
2008/01/18 | Transmissão | GOLDWIN INC. | TOYOTA TSUSHO CORPORATION, com sede em 9-8, Meieki 4-chome, Nakamura-ku, Nagoya-shi, Aichi-ken, Japan |
| 14335/INPI (14259-M) |
2008/01/18 | Transmissão | GOLDWIN INC. | TOYOTA TSUSHO CORPORATION, com sede em 9-8, Meieki 4-chome, Nakamura-ku, Nagoya-shi, Aichi-ken, Japan |
| 14337/INPI (14261-M) |
2008/01/18 | Transmissão | GOLDWIN INC. | TOYOTA TSUSHO CORPORATION, com sede em 9-8, Meieki 4-chome, Nakamura-ku, Nagoya-shi, Aichi-ken, Japan |
| 14497/INPI (14420-M) |
2008/01/18 | Modificação de identidade | Asahi Kogaku Kogyo Kabushiki Kaisha (Asahi Optical Co., Ltd.) | Pentax Corporation |
| N/000660 - |
2008/01/22 | Transmissão | FILA LUXEMBOURG S.A.R.L. | Full Prospect (IP) Pte. Ltd. of Singapore, com sede em 152 Beach Road, #37-06 Gateway East, Singapore 189721 |
| N/000871 - |
2008/01/28 | Transmissão | TABACOFINAVANDER ELST N.V. | HENRI WINTERMANS CIGARS B.V., com sede em Nieuwstraat 75, 5521 CB Eersel, Holanda |
| N/001216 - |
2008/01/22 | Transmissão | Fila Luxembourg S.à.r.L. |
Full Prospect (IP) Pte. Ltd. of Singapore, com sede em 152 Beach Road, #37-06 Gateway East, Singapore 189721 |
| N/001217 - |
2008/01/22 | Transmissão | Fila Luxembourg S.à.r.L. |
Full Prospect (IP) Pte. Ltd. of Singapore, com sede em 152 Beach Road, #37-06 Gateway East, Singapore 189721 |
| N/004096 - |
2008/01/18 | Modificação de identidade | GD MD HOLDING CO., LTD. |
廣東美的電器股份有限公司 |
| N/004096 - |
2008/01/18 | Modificação de sede | 廣東美的電器股份有限公司 | 中國廣東省佛山市順德區北滘鎮蓬萊路 |
| N/004897 - |
2008/01/18 | Transmissão | Trinity Textiles Limited | Branded Lifestyle Trandmarks Limited, com sede em 12/F Lifung Centre, 2 On Ping Street, Siu Lek Yuen, Shatin, Hong Kong |
| N/005681 - |
2008/01/22 | Modificação de identidade | GD MD HOLDING CO. LTD. |
廣東美的電器股份有限公司 |
| N/005681 - |
2008/01/22 | Modificação de sede | 廣東美的電器股份有限公司 | 中國廣東省佛山市順德區北滘鎮蓬萊路 |
| N/005682 - |
2008/01/22 | Modificação de identidade | GD MD HOLDING CO. LTD. |
廣東美的電器股份有限公司 |
| N/005682 - |
2008/01/22 | Modificação de sede | 廣東美的電器股份有限公司 | 中國廣東省佛山市順德區北滘鎮蓬萊路 |
| N/005850 - |
2008/01/28 | Transmissão | Tabacofina-Vander Elst N.V. |
HENRI WINTERMANS CIGARS B.V., com sede em Nieuwstraat 75, 5521 CB Eersel, Holanda |
| N/006620 - |
2008/01/30 | Modificação de sede | 廣東省九江酒廠有限公司 Guangdong Jiujiang Distillery Co. Ltd. |
中國廣東省佛山市南海區九江鎮沙口工業區 |
| N/006622 - |
2008/01/30 | Modificação de sede | 廣東省九江酒廠有限公司 Guangdong Jiujiang Distillery Co. Ltd. |
中國廣東省佛山市南海區九江鎮沙口工業區 |
| N/006623 - |
2008/01/30 | Modificação de sede | 廣東省九江酒廠有限公司 Guangdong Jiujiang Distillery Co. Ltd. |
中國廣東省佛山市南海區九江鎮沙口工業區 |
| N/006624 - |
2008/01/30 | Modificação de sede | 廣東省九江酒廠有限公司 Guangdong Jiujiang Distillery Co. Ltd. |
中國廣東省佛山市南海區九江鎮沙口工業區 |
| N/006625 - |
2008/01/30 | Modificação de sede | 廣東省九江酒廠有限公司 Guangdong Jiujiang Distillery Co. Ltd. |
中國廣東省佛山市南海區九江鎮沙口工業區 |
| N/006626 - |
2008/01/30 | Modificação de sede | 廣東省九江酒廠有限公司 Guangdong Jiujiang Distillery Co. Ltd. |
中國廣東省佛山市南海區九江鎮沙口工業區 |
| N/006627 - |
2008/01/30 | Modificação de sede | 廣東省九江酒廠有限公司 Guangdong Jiujiang Distillery Co. Ltd. |
中國廣東省佛山市南海區九江鎮沙口工業區 |
| N/006632 - |
2008/01/28 | Transmissão | Tabacofina-Vander Elst N.V. | HENRI WINTERMANS CIGARS B.V., com sede em Nieuwstraat 75, 5521 CB Eersel, Holanda |
| N/006727 - |
2008/01/29 | Transmissão | Wuzhou Far East Cosmetics & Health Products Co. Ltd. |
Guangxi Softto (Holdings) Ltd., com sede em 7/F, Block A, Sun Plaza, N.º 59, Xin Min Road, Nanning, Guangxi Province, P.R. China |
| N/007633 - |
2008/01/25 | Modificação de sede | eSun Holdings Limited uma sociedade organizada e existindo segundo as leis das Bermudas | 11/F., Lai Sun Commercial Centre, 680 Cheung Sha Wan Road, Kowloon, Hong Kong |
| N/007634 - |
2008/01/25 | Modificação de sede | eSun Holdings Limited uma sociedade organizada e existindo segundo as leis das Bermudas | 11/F., Lai Sun Commercial Centre, 680 Cheung Sha Wan Road, Kowloon, Hong Kong |
| N/008172 - |
2008/01/18 | Transmissão | Lolo Group Co., Ltd | 河北承德露露股份有限公司,地址為河北省承德市高新技術產業開發區(西區)8號 HE BEI CHENG DE LOLO COMPANY LIMITED, com sede em No.8 West High-Technology Industrial Development Zone, Chengde, Hebei, 067000, China |
| N/008173 - |
2008/01/18 | Transmissão | Lolo Group Co., Ltd | 河北承德露露股份有限公司,地址為河北省承德市高新技術產業開發區(西區)8號 HE BEI CHENG DE LOLO COMPANY LIMITED, com sede em No.8 West High-Technology Industrial Development Zone, Chengde, Hebei, 067000, China |
| N/009135 - |
2008/01/18 | Modificação de identidade | 廣東美的集團股份有限公司 GD MIDEA HOLDING CO. LTD. |
廣東美的電器股份有限公司 |
| N/009135 - |
2008/01/18 | Modificação de sede | 廣東美的電器股份有限公司 | 中國廣東省佛山市順德區北滘鎮蓬萊路 |
| N/010287 - |
2008/01/18 | Transmissão | 萬邦製衣廠有限公司 TRINITY TEXTILES LIMITED |
Branded Lifestyle Trandmarks Limited, com sede em 12/F Lifung Centre, 2 On Ping Street, Siu Lek Yuen, Shatin, Hong Kong |
| N/016099 - |
2008/01/29 | Transmissão | NOVARTIS AG. | Société des Produits Nestlé S.A., com sede em Vevey, Switzerland |
| N/016100 - |
2008/01/29 | Transmissão | NOVARTIS AG. | Société des Produits Nestlé S.A., com sede em Vevey, Switzerland |
| N/016102 - |
2008/01/29 | Transmissão | NOVARTIS AG. | Société des Produits Nestlé S.A., com sede em Vevey, Switzerland |
| N/016103 - |
2008/01/29 | Transmissão | NOVARTIS AG. | Société des Produits Nestlé S.A., com sede em Vevey, Switzerland |
| N/018494 - |
2008/01/29 | Transmissão por fusão | SANKYO COMPANY, LIMITED | DAIICHI SANKYO COMPANY, LIMITED, com sede em 3-5-1, Nihonbashi Honcho, Chuo-ku, Tokyo, Japan |
| N/018495 - |
2008/01/29 | Transmissão por fusão | SANKYO COMPANY, LIMITED | DAIICHI SANKYO COMPANY, LIMITED, com sede em 3-5-1, Nihonbashi Honcho, Chuo-ku, Tokyo, Japan |
| N/024194 - |
2008/01/18 | Transmissão | 陝西鼓風機(集團) 有限公司 SHAANXI BLOWER (GROUP) CO., LTD. |
Xi’an Shaangu Power Co., Ltd., com sede em 9F, Huoju Building, High-tech Road, Xi’an City, Shaanxi Province, China |
| N/024533 - |
2008/01/29 | Modificação de identidade | Discovery Communications, Inc. | Discovery Communications, LLC |
| N/026847 - |
2008/01/28 | Transmissão | 曾仁樂 | 阿迪王體育用品(中國)有限公司,地址為中國福建省泉州經濟技術開發區(清蒙園區)崇榮街6-15A號 |
| N/030293 - |
2008/01/30 | Transmissão | COMPAGNIE INTERNATIONALE DES WAGONS-LITS ET DU TOURISME | ACCOR, com sede em 2 Rue de la Mare Neuve, 91000 EVRY, France |
| N/030294 - |
2008/01/30 | Transmissão | COMPAGNIE INTERNATIONALE DES WAGONS-LITS ET DU TOURISME | ACCOR, com sede em Rue de la Mare Neuve, 91000 EVRY, France |
Protecção de invenção
Averbamentos
| Processo n.º |
Data do despacho |
Natureza do averbamento |
Requerente/Titular | Modificação |
| I/000150 - |
2008/02/04 | Transmissão | LT Game Limited | Jay CHUN, com sede em Flat A, 21/F, Trafalgar Court, 70 Tai Hang Road, Hong Kong. |
| I/000265 - |
2008/02/04 | Transmissão | LT Game Limited | Jay CHUN, com sede em Flat A, 21/F, Trafalgar Court, 70 Tai Hang Road, Hong Kong. |
| I/000380 - |
2008/02/04 | Modificação de sede | CHUN, Jay | Flat A, 21/F, Trafalgar Court, 70 Tai Hang Road, Hong Kong |
| I/000427 - |
2008/02/04 | Modificação de sede | CHUN, Jay | Flat A, 21/F, Trafalgar Court, 70 Tai Hang Road, Hong Kong |
| I/000461 - |
2008/02/04 | Modificação de sede | CHUN, Jay | Flat A, 21/F, Trafalgar Court, 70 Tai Hang Road, Hong Kong |
Protecção de marcas
Recusas
| Processo n.º |
Data do despacho |
Nome do requerente |
País/ Território resid. |
Classe | Observações Nos termos do RJPI, aprovado pelo D.L. n.º 97/99/M, de 13 de Dezembro |
| N/7270 | 2008/01/31 | 廣東省食品進出口集團公司 Guangdong Foodstuffs Import & Export (Group) Corporation |
CN | 33 | Alínea b) do n.º 1 do art.º 199.º |
| N/18958 | 2008/02/05 | Best Western International, Inc. | US | 42 | Alínea a) do n.º 1 do art.º 214.º., conjugado com a alínea c) do n.º 1 do art.º 9.º e a alínea b) do n.º 2 do art.º 214.º |
| N/21233 | 2008/01/28 | 世界傑出華人投資集團有限公司 WORLD OUTSTANDING CHINESE INVESTMENT HOLDING LIMITED |
HK | 41 | Alínea d) do n.º 2 do art.º 214.º |
| N/24222 N/24223 N/24224 N/24225 |
2008/01/18 | 威尼斯人澳門股份有限公司 Venetian Macau S.A., em inglês, Venetian Macau Limited |
MO | 16 18 35 41 |
N.º 3 do art.º 214.º, conjugado com a alínea c) do n.º 1 do art.º 199.º |
| N/26131 | 2008/01/25 | 鄭州市新視明科技工程有限公司 Zhengzhou Xinshiming Scientific & Technological Engineering Co., Ltd. |
CN | 05 | Alínea a) do n.º 2 do art.º 214.º, conjugado com a alínea b) do n.º 1 do art.º 199. º |
| N/26589 N/26591 |
2008/01/29 | 英記茶莊有限公司 YING KEE TEA COMPANY LIMITED |
HK | 35 | Alínea a) do n.º 1 do art.º 214.º, conjugado com a alínea c) do n.º 1 do art.º 9.º |
| N/28599 | 2008/01/23 | 蓮華一人有限公司 | MO | 32 | |
| N/26738 | 2008/01/23 | 李果 | CN | 38 | N.º 3 do art. º 214.º, conjugado com a alínea b) do n.º 1 do art.º 199.º |
| N/27372 N/27373 N/27556 |
2008/01/18 | 聯福藥業(私人)有限公司 LUEN FOOK MEDICINE CO. (PTE) LIMITED |
SG | 05 30 05 |
N.º 3 do art. º 214.º , conjugado com a alínea b) do n.º 1 do art.º 199.º e a alínea c) do n.º 1 do art.º 9.º |
| N/28628 | 2008/01/28 | 億傑有限公司 BILLION GENIUS LIMITED |
VG | 14 | Alínea a) do n.º 1 e a alínea b) do n.º 2 do art.º 214.º, conjugado com a alínea c) do n.º 1 do art.º 9.º |
| N/28869 | 2008/01/23 | 蓮華一人有限公司 | MO | 32 | Alínea e) do n.º 1 do art.º 9.º |
Recusa Parcial
| Processo n.º | Data do despacho |
Nome do requerente | País/ Território resid. |
Classe | Observações Nos termos do RJPI, aprovado pelo D.L. n.º 97/99/M, de 13 de Dezembro |
| N/26588 N/26590 |
2008/01/29 |
英記茶莊有限公司 |
HK | 30 |
Art.º 216.º, conjugado com a alínea a) do n.º 1 do art.º 214.º e a alínea c) do n.º 1 do art.º 9.º, foi recusado o registo nos produtos «chá; bebidas à base de chá; infusões, não medicinais». |
Renúncia de Pedido de Registo
| Processo n.º | Data do Despacho | Nome do Requerente | País/Território Resid. |
Classe |
| N/24468 | 2008/01/28 | PalmSource, Inc. | MO | 42 |
Pedidos Indeferidos
| Processo n.º | Data de apresentação |
Data do despacho |
Natureza do averbamento |
Nome do titular |
Observações |
| 868/INPI (773-M) 873/INPI (778-M) |
2007/10/26 | 2008/01/22 | Transmissão | THE BOOTS COMPANY PLC | Nos termos do n.º 1 do art.º 82.º do CPA, aprovado pelo D.L. n.º 57/99/M, de 11 de Outubro. |
Reclamação
| Processo n.º | Data de entrada |
Nome do requerente |
País/ Território Resid. |
Nome do oponente |
País/Território Resid. |
| N/030959 | 2008/02/05 | FRATEX INDÚSTRIA E COMÉRCIO LTDA. | BR | THOMAS C. FORD | US |
| N/030959 | 2008/02/05 | FRATEX INDÚSTRIA E COMÉRCIO LTDA. | BR | Thomas C. Ford | US |
| N/031117 | 2008/02/05 | 林震宇 LAM CHAN U |
MO | Haier Group Corporation | US |
| N/031215 | 2008/02/05 | WYNN RESORTS HOLDING. LLC | US | Sheraton International, Inc. | US |
| N/031216 | 2008/02/05 | WYNN RESORTS HOLDING. LLC | US | Sheraton International, Inc. | US |
| N/031217 | 2008/02/05 | WYNN RESORTS HOLDING. LLC | US | Sheraton International, Inc. | US |
| N/031218 | 2008/02/05 | WYNN RESORTS HOLDING. LLC | US | Sheraton International, Inc. | US |
| N/031219 | 2008/02/05 | WYNN RESORTS HOLDING. LLC | US | Sheraton International, Inc. | US |
| N/031220 | 2008/02/05 | WYNN RESORTS HOLDING. LLC | US | Sheraton International, Inc. | US |
| N/031221 | 2008/02/05 | WYNN RESORTS HOLDING. LLC | US | Sheraton International, Inc. | US |
| N/031222 | 2008/02/05 | WYNN RESORTS HOLDING. LLC | US | Sheraton International, Inc. | US |
| N/031223 | 2008/02/05 | WYNN RESORTS HOLDING. LLC | US | Sheraton International, Inc. | US |
| N/031224 | 2008/02/05 | WYNN RESORTS HOLDING. LLC | US | Sheraton International, Inc. | US |
| N/031225 | 2008/02/05 | WYNN RESORTS HOLDING. LLC | US | Sheraton International, Inc. | US |
| N/031226 | 2008/02/05 | WYNN RESORTS HOLDING. LLC | US | Sheraton International, Inc. | US |
| N/031227 | 2008/02/05 | WYNN RESORTS HOLDING. LLC | US | Sheraton International, Inc. | US |
| N/031228 | 2008/02/05 | WYNN RESORTS HOLDING. LLC | US | Sheraton International, Inc. | US |
| N/031229 | 2008/02/05 | WYNN RESORTS HOLDING. LLC | US | Sheraton International, Inc. | US |
| N/031230 | 2008/02/05 | WYNN RESORTS HOLDING. LLC | US | Sheraton International, Inc. | US |
| N/031231 | 2008/02/05 | WYNN RESORTS HOLDING. LLC | US | Sheraton International, Inc. | US |
| N/031232 | 2008/02/05 | WYNN RESORTS HOLDING. LLC | US | Sheraton International, Inc. | US |
| N/031422 | 2008/02/05 | MGM Grand Paradise S.A. | MO | COMITÉ INTERPROFESSIONNEL DU VIN DE CHAMPAGNE e INSTITUT NATIONAL DE L’ORIGINE ET DE LA QUALITÉ | FR |
| N/031455 | 2008/02/05 | CHOPARD INTERNATIONAL SA | CH | ACI Brescia Service S.r.l. | IT |
Contestação
| Processo n.º | Data de entrada |
Nome do |
País/ Território Resid. |
Nome do oponente |
País/Território Resid. |
| N/029147 | 2008/01/14 | Kurt Geiger Limited | GB | Solera S.r.l. | IT |
| N/030213 | 2008/01/14 | CROWN WORLDWIDE HOLDINGS LIMITED | HK | Crown Melbourne Limited | AU |
| N/030215 | 2008/01/14 | CROWN WORLDWIDE HOLDINGS LIMITED | HK | Crown Melbourne Limited | AU |
| N/030396 | 2008/02/11 | 薛月英 SIE YE ING |
HK | Crystal Jade Culinary Concepts Holding Pte. Ltd. | SG |
| N/030397 | 2008/02/11 | 薛月英 SIE YE ING |
HK | Crystal Jade Culinary Concepts Holding Pte. Ltd. | SG |
| N/030398 | 2008/02/11 | 薛月英 SIE YE ING |
HK | Crystal Jade Culinary Concepts Holding Pte. Ltd. | SG |
| N/030440 | 2008/02/11 | Donald J. Trump | US | TRUMP COMPANHIA LIMITADA | MO |
Rectificações
| Marca n.º | Item da rectificação | Onde se lê | Deve ler-se |
| N/31928 | Lista de produtos (B.O. da RAEM n.º 1, II Série, de 2 de Janeiro de 2008) | ……,包括荷爾蒙製劑及女士用健康產品。 | ……,荷爾蒙製劑及女士用健康產品除外。 |
| N/32087 | Sede de requerente (B.O. da RAEM n.º 1, II Série, de 2 de Janeiro de 2008) | 申請人:American-Cigarette Company (Overseas) Limited, Zaehlerweg 4, 6300 Zuga, Suíça. | 申請人:American-Cigarette Company (Overseas) Limited, Zaehlerweg 4, 6300 Zug, Suíça. |
A pedido dos requerentes/titulares respectivos, rectificam-se os seguintes:
| Marca n.º | Item da rectificação |
Onde se lê | Deve ler-se |
| N/23364 | Figura da marca (B.O. da RAEM n.º 36, II Série, de 6 de Setembro de 2006) | ![]() |
![]() |
| N/30370 | Lista de serviços (B.O. da RAEM n.º 45, II Série, de 7 de Novembro de 2007) | Serviços para alimentos e bebidas. | Serviços para providenciar alimentos e bebidas. |
| N/30666 N/30667 N/30668 N/30669 N/30787 N/30788 N/30789 N/30790 N/30791 |
Lista de produtos (B.O. da RAEM n.º 45, II Série, de 7 de Novembro de 2007) | Máquinas de jogo …… todos os artigos acima referidos. | Máquinas de jogo; máquinas de jogo com módulos e componentes de software incluindo símbolos de jogo, matemática, efeitos sonoros e outros itens configurados implantados em fichas de memória apenas de leitura (EPROM) deléveis e programáveis ou outros meios; máquinas de póquer. |
| N/30186 | Lista de produtos (B.O. da RAEM n.º 40, II Série, de 3 de Outubro de 2007) | Âncoras (relógio de parede e relojoaria), …… relógios de pulso. | Ponteiros de relógios (relógios de parede e relojoaria), caixas em metais preciosos para agulhas, agulheiros em metais preciosos, estojos para agulhas em metais preciosos, âncoras (relógio de parede e relojoaria), anéis (joalharia), pêndulos (relógios de parede e relojoaria), caixas de molas (relógios de parede e relojoaria), artigos de joalharia, estojos para relógios de parede, estojos para relógios de pulso, brincos, fivelas em metais preciosos, botões de punho, pulseiras (joalharia), correias para relógios, amuletos (joalharia), alfinetes de peito (joalharia), mostradores (relógio de parede e relojoaria), relógios de sol, correntes (joalharia), correntes para relógios, cronógrafos (relógios), cronómetros, instrumentos cronométricos, caixas de jóias em metais preciosos, colares (joalharia), relógio registador (relógios de comando), diamantes, estojos em metais preciosos, estojos para relógios de pulso, alfinetes (joalharia), alfinetes ornamentais, estojos para agulhas em metais preciosos, estojos para relógio de parede e relojoaria, fios de metais preciosos (joalharia), relógios de parede, relógios atómicos, relógios de parede e pulso eléctricos, jóias, medalhões (joalharia), relojoaria, relógios de pulso, mecanismos para relógios de parede e de pulso, ornamentos (joalharia), ornamentos em prata, relógios (relógios de parede e relojoaria), pérolas (joalharia), pedras semi-preciosas, pedras preciosas, molas para relógios, vidros para relógios. |
| N/30446 N/30776 |
Lista de produtos (B.O. da RAEM n.º 45, II Série, de 7 de Novembro de 2007) |
Extensão de Patente de Invenção Concedida
| N.º | Item da rectificação | Onde se lê | Deve ler-se |
| J/100 | Inventor (B.O. da RAEM. n.º 27, II Série, de 4 de Julho de 2007) | Kazyei YOSHIOKA | Kazuei YOSHIOKA |
Direcção dos Serviços de Economia, aos 15 de Fevereiro de 2008.
O Director dos Serviços, substituto, Sou Tim Peng.





