Número 14
II
SÉRIE
Quarta-feira, 2 de Abril de 2008
DIRECÇÃO DOS SERVIÇOS DE ECONOMIA
Aviso
Protecção de marcas
N/31 707 ... N/33 799 - N/33 800 ... N/33 803
Marca n.º N/33 800 Classe 25.a
Requerente: 紹興市中迪對外貿易有限公司,Sede: 中國浙江省紹興市環城西路396#11號辦公房。
Nacionalidade: chinesa
Actividade: comercial
Data do pedido: 2008/01/30
Produtos: vestuário; fatos de ginástica; calçado; chapelaria; luvas; cintos; meias; vestidos de noiva; sapatos de chuva; meias-calças; roupa de desporto; enxoval para bebé; vestuário de baile; luvas (vestuário); flores para colarinhos.
A marca consiste em:

Marca n.º N/33 801 Classe 25.a
Requerente: 紹興市中迪對外貿易有限公司,Sede: 中國浙江省紹興市環城西路396#11號辦公房。
Nacionalidade: chinesa
Actividade: comercial
Data do pedido: 2008/01/30
Produtos: vestuário; fatos de ginástica; calçado; chapelaria; luvas; cintos; meias; vestidos de noiva; sapatos de chuva; meias-calças; roupa de desporto; enxoval para bebé; vestuário de baile; luvas (vestuário); flores para colarinhos.
A marca consiste em:

Marca n.º N/33 802 Classe 25.a
Requerente: 紹興市中迪對外貿易有限公司,Sede: 中國浙江省紹興市環城西路396#11號辦公房。
Nacionalidade: chinesa
Actividade: comercial
Data do pedido: 2008/01/30
Produtos: vestuário; fatos de ginástica; calçado; chapelaria; luvas; cintos; meias; vestidos de noiva; sapatos de chuva; meias-calças; roupa de desporto; enxoval para bebé; vestuário de baile; luvas (vestuário); flores para colarinhos.
A marca consiste em:

Reivindicação de cores: tal como representados na figura: amarelo e preto.
Marca n.º N/33 803 Classe 25.a
Requerente: 紹興市中迪對外貿易有限公司,Sede: 中國浙江省紹興市環城西路396#11號辦公房。
Nacionalidade: chinesa
Actividade: comercial
Data do pedido: 2008/01/30
Produtos: vestuário; fatos de ginástica; calçado; chapelaria; luvas; cintos; meias; vestidos de noiva; sapatos de chuva; meias-calças; roupa de desporto; enxoval para bebé; vestuário de baile; luvas (vestuário); flores para colarinhos.
A marca consiste em:

Protecção de patentes de invenção
De acordo com os artigos 10.º e 83.º do RJPI, aprovado pelo Decreto-Lei n.º 97/99/M, de 13 de Dezembro, a seguir se publicam os pedidos de registo de patentes de invenção para a RAEM e que, a partir da data desta publicação até à data da atribuição da patente, qualquer terceiro pode apresentar reclamações, em conformidade com o artigo 84.º do mesmo diploma.
Publicação de patente de invenção
Patente de invenção n.º: I/000496
Data do pedido: 2007/08/14
Requerente: Aruze Gaming America, Inc.
Nacionalidade: norte-americana
Domicílio/Sede: 745 Grier Drive, Las Vegas, Nevada 89119, U.S.A.
Título: Caça-níqueis e respectivo método de jogos.
Resumo: 提供一種按以下方式遊戲的投幣機,即便是支付線L上從左至右排序的3個符號的組合與任意一個中獎符號組合不相符,但支付線L上按從右至左排序重新排 列的3個符號的組合與任意一個中獎符號組合相符的情況下,也給予玩家中獎符號組合的獎金。
Classificação: A63F13/00
Inventor: OKADA, Kazuo
Data de prioridade: 2006/08/25
País/Território de prioridade: ESTADOS UNIDOS
Número de prioridade: 60/840,016
Data de prioridade: 2007/01/03
País/Território de prioridade: ESTADOS UNIDOS
Número de prioridade: 11/648,556
Figura

Patente de invenção n.º: I/000498
Data do pedido: 2007/08/17
Requerente: Aruze Gaming America, Inc.
Nacionalidade: norte-americana
Domicílio/Sede: 745 Grier Drive, Las Vegas, Nevada 89119, U.S.A.
Título: Caça-níqueis e respectivo método de operação.
Resumo: 在相同符號停止在被設置為獎勵線的交叉線的兩端上,而且隨後在該交叉線上實現符號鈴鐺等形成的獲獎組合時,選擇比通常使用的第一獎勵表的獎勵更高的 第二獎勵表來進行獎勵。因此,在相同符號停止在交叉線的兩端時,玩家可以有希望獲得更高獎勵。
Classificação: A63F13/00
Inventor: OKADA, Kazuo
Data de prioridade: 2006/08/18
País/Território de prioridade: ESTADOS UNIDOS
Número de prioridade: 60/838,361
Data de prioridade: 2006/11/14
País/Território de prioridade: ESTADOS UNIDOS
Número de prioridade: 11/598,628
Figura

Patente de invenção n.º: I/000499
Data do pedido: 2007/08/17
Requerente: Aruze Gaming America, Inc.
Nacionalidade: norte-americana
Domicílio/Sede: 745 Grier Drive, Las Vegas, Nevada 89119, U.S.A.
Título: Caça-níqueis e respectivo método de operação.
Resumo: 在執行使符號停止在顯示器的顯示區上的基礎遊戲時,當預定數量的諸如貓的散佈符號停止在多個顯示區上時,則轉換到第二遊戲。然後,在該第二遊戲中, 將作為散佈符號而停止的多個符號貓組合為一個貓圖像,然後,該貓圖像選擇多個卡片之一。在選擇的卡片上示出有一個數字,從而利用該數字向玩家報告硬幣獎勵額。
Classificação: A63F9/24
Inventor: OKADA, Kazuo
Data de prioridade: 2006/08/18
País/Território de prioridade: ESTADOS UNIDOS
Número de prioridade: 60/838,362
Data de prioridade: 2006/11/14
País/Território de prioridade: ESTADOS UNIDOS
Número de prioridade: 11/598,632
Figura

Patente de invenção n.º: I/000500
Data do pedido: 2007/08/17
Requerente: Aruze Gaming America, Inc.
Nacionalidade: norte-americana
Domicílio/Sede: 745 Grier Drive, Las Vegas, Nevada 89119, U.S.A.
Título: Caça-níqueis e respectivo método de operação.
Resumo: 在基礎遊戲中,在鈴鐺、櫻桃或者李子的獲獎組合停止在獎勵線L上時,提供第一獎勵。另一方面,在預定數量的符號鈴鐺停止在顯示區上時,提供第二獎勵 。執行第一獎勵和第二獎勵的獎勵處理。
Classificação: A63F9/24
Inventor: OKADA, Kazuo
Data de prioridade: 2006/08/18
País/Território de prioridade: ESTADOS UNIDOS
Número de prioridade: 60/838,363
Data de prioridade: 2006/12/07
País/Território de prioridade: ESTADOS UNIDOS
Número de prioridade: 11/635,027
Figura

Patente de invenção n.º: I/000501
Data do pedido: 2007/08/17
Requerente: Aruze Gaming America, Inc.
Nacionalidade: norte-americana
Domicílio/Sede: 745 Grier Drive, Las Vegas, Nevada 89119, U.S.A.
Título: Caça-níqueis e respectivo método de operação.
Resumo: 在基礎遊戲中,當如果符號組合中的剩餘一個符號是BAR,則將會成為全部為BAR的獲獎組合的該符號組合停止在獎勵線L上時,而且符號BAR與該獎 勵線上的非BAR的符號(=剩餘一個符號)相鄰時,提供與所有BAR的獲獎組合停止在獎勵線L上時相同的獎勵。
Classificação: A63F9/24
Inventor: OKADA, Kazuo
Data de prioridade: 2006/08/18
País/Território de prioridade: ESTADOS UNIDOS
Número de prioridade: 60/838,364
Data de prioridade: 2006/12/07
País/Território de prioridade: ESTADOS UNIDOS
Número de prioridade:11/635,059
Figura

Patente de invenção n.º: I/000502
Data do pedido: 2007/08/17
Requerente: Aruze Gaming America, Inc.
Nacionalidade: norte-americana
Domicílio/Sede: 745 Grier Drive, Las Vegas, Nevada 89119, U.S.A.
Título: Caça-níqueis e respectivo método de operação.
Resumo: 在以隨機方式重新排列已排列於顯示器上的多個符號的遊戲中,當在顯示區域上重新排列的符號中包括散佈符號時,執行控制使得:執行基於散佈符號數目的 獎勵或者基於由散佈符號和其他符號所形成的獲獎組合的獎勵。散佈符號不僅變成用於通過僅在顯示區域內簡單地出現的方式生成獎勵的特殊符號,而且變成用於實現與獎勵有關的獲 獎組合的通配牌,從而當散佈符號出現時發生雙倍的獎勵機會。
Classificação: A63F9/00
Inventor: OKADA, Kazuo
Data de prioridade: 2006/08/18
País/Território de prioridade: ESTADOS UNIDOS
Número de prioridade: 60/838,365
Data de prioridade: 2006/11/14
País/Território de prioridade: ESTADOS UNIDOS
Número de prioridade: 11/598,629
Figura

Patente de invenção n.º: I/000503
Data do pedido: 2007/08/17
Requerente: Aruze Gaming America, Inc.
Nacionalidade: norte-americana
Domicílio/Sede: 745 Grier Drive, Las Vegas, Nevada 89119, U.S.A.
Título: Caça-níqueis e respectivo método de operação.
Resumo: 在隨機地重新排列多個符號的基礎遊戲中,當與獎勵有關的獲獎組合停止在獎勵線上時給出規定獎勵。當獲獎組合沒有停止在獎勵線上時,執行用於根據規定 規則重新排列符號的副遊戲。對由副遊戲重新排列的符號而言,當與獎勵有關的獲獎組合停止在獎勵線上時給出規定獎勵。
Classificação: A63F9/24
Inventor: OKADA, Kazuo
Data de prioridade: 2006/08/18
País/Território de prioridade: ESTADOS UNIDOS
Número de prioridade: 60/838,378
Data de prioridade: 2006/11/14
País/Território de prioridade: ESTADOS UNIDOS
Número de prioridade: 11/598,627
Figura

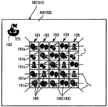
Patente de invenção n.º: I/000505
Data do pedido: 2007/08/17
Requerente: Aruze Corp.
Nacionalidade: japonesa
Domicílio/Sede: 3-1-25, Ariake, Koto-ku, Tokyo, Japan
Título: Caça-níqueis e fornecimento do método de jogos.
Resumo: 本發明提供了投幣遊戲機和提供遊戲的方法。該投幣遊戲機包括:顯示裝置;操作單元;以及控制器,該控制器用於:當通過所述操作單元輸入了開始命令時 ,控制所述顯示裝置在多個符號顯示區的每一個中可變地顯示多個符號;在所述符號顯示區的至少一部分上設定支付線;當顯示停止在其上設定了所述支付線的符號顯示區中的符號的 組合滿足獎勵提供組合時,提供獎勵;當滿足預定條件時,控制所述顯示裝置在與所述符號顯示區之一相鄰的位置上另外顯示一新符號顯示區;以及在包括所述新符號顯示區在內的符 號顯示區的至少一部分上設定一新支付線。
Classificação: A63F5/04
Inventor: Yukinori Inamura
Data de prioridade: 2006/08/25
País/Território de prioridade: JAPÃO
Número de prioridade: 2006-229421
Figura

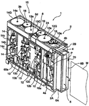
Patente de invenção n.º: I/000507
Data do pedido: 2007/08/20
Requerente: Aruze Corp.
Nacionalidade: japonesa
Domicílio/Sede: 3-1-25, Ariake, Koto-ku, Tokyo, Japan
Título: Máquina de jogos e métodos para fornecer o jogo.
Resumo: 本發明涉及用於提供遊戲的遊戲機和方法。該遊戲機提供遊戲並且包括:顯示裝置;操作單元,該操作單元使得遊戲者能夠輸入命令,以進行遊戲;以及控制 器。所述控制器操作用來:在通過所述操作單元輸入了開始命令時,控制所述顯示裝置在多個符號顯示區中的每一個符號顯示區中可變地顯示多個符號;將所述多個符號顯示區中的一 部分限定為多個激活符號顯示區;當停止並顯示在所述激活符號顯示區中的符號的組合滿足預定組合時,提供獎賞;以及在滿足預定條件時,修改要被限定為所述激活符號顯示區的符 號顯示區。
Classificação: A63F5/04
Inventor: Yukinori Inamura
Data de prioridade: 2006/08/21
País/Território de prioridade: JAPÃO
Número de prioridade: 2006-224300
Figura

Patente de invenção n.º: I/000510
Data do pedido: 2007/08/21
Requerente: Aruze Corp.
Nacionalidade: japonesa
Domicílio/Sede: 3-1-25, Ariake, Koto-Ku, Tokyo 135-0063 Japan
Título: Caça-níqueis e respectivo método de operação.
Resumo: 當符號被排列在顯示器上時,顯示對象,以便通知可以根據入標誌、出標誌和方向之間的關係而被連接起來的符號,並且,設置可以提供獨立於連接個數的特 殊獎勵的特殊符號。當根據彼此相鄰符號中的入標誌、出標誌和方向之間的關係將在符號矩陣中的預定位置設置的起點和終點彼此連接起來時,根據連接符號的連接數量和設置的特殊 符號來執行獎勵。
Classificação: A63F5/04
Inventor: KATO, Yoichi
Data de prioridade: 2006/08/21
País/Território de prioridade: JAPÃO
Número de prioridade: 2006-224142
Figura

Patente de invenção n.º: I/000511
Data do pedido: 2007/08/22
Requerente: Aruze Corp.
Nacionalidade: japonesa
Domicílio/Sede: 3-1-25, Ariake, Koto-Ku, Tokyo 135-0063 Japan
Requerente: Seta Corp.
Nacionalidade: japonesa
Domicílio/Sede: 3-1-25, Ariake, Koto-Ku, Tokyo 135-0063 Japan
Título: Equipamento para o processamento de notas bancárias.
Resumo: 根據本發明一個實施例的紙幣處理設備具有:紙幣插入口,將紙幣插入其內;紙幣饋送機構,用於饋送從紙幣插入口插入的紙幣;傳感器,用於讀出饋送的紙 幣;以及紙幣識別部分,用於識別傳感器讀出的紙幣的真實性;傳感器電路板,所述傳感器安裝在其上;以及控制電路板,用於控制所述紙幣饋送機構、所述傳感器以及所述紙幣識別 部分的各個操作。所述紙幣處理設備還具有:第一連接器,安裝在所述傳感器電路板上;以及第二連接器,安裝在所述控制電路板上,而且所述第一連接器和所述第二連接器相配合, 以實現電連通。
Classificação: G07D7/12, G07D7/00
Inventor: NIREKI, Takao
Data de prioridade: 2006/08/22
País/Território de prioridade: JAPÃO
Número de prioridade: 2006-225750
Figura

Patente de invenção n.º: I/000512
Data do pedido: 2007/08/22
Requerente: Aruze Corp.
Nacionalidade: japonesa
Domicílio/Sede: 3-1-25, Ariake, Koto-Ku, Tokyo 135-0063 Japan
Requerente: Seta Corp.
Nacionalidade: japonesa
Domicílio/Sede: 3-1-25, Ariake, Koto-Ku, Tokyo 135-0063 Japan
Título: Equipamento para o processamento de notas bancárias.
Resumo: 根據本發明一個實施例的紙幣處理設備具有:紙幣插入口,將紙幣插入其內;紙幣饋送機構,可以以插入方向饋送從所述紙幣插入口插入的紙幣;紙幣讀出裝 置,用於讀出利用所述紙幣饋送機構饋送的紙幣;以及控制裝置,用於以多種速度控制所述紙幣饋送機構的紙幣饋送速度。
Classificação: G07D9/00
Inventor: NIREKI, Takao
Data de prioridade: 2006/08/22
País/Território de prioridade: JAPÃO
Número de prioridade: 2006-225751
Figura

Patente de invenção n.º: I/000513
Data do pedido: 2007/08/22
Requerente: Aruze Corp.
Nacionalidade: japonesa
Domicílio/Sede: 3-1-25, Ariake, Koto-Ku, Tokyo 135-0063 Japan
Requerente: Seta Corp.
Nacionalidade: japonesa
Domicílio/Sede: 3-1-25, Ariake, Koto-Ku, Tokyo 135-0063 Japan
Título: Equipamento para o processamento de notas bancárias.
Resumo: 根據本發明一個實施例的紙幣處理設備具有:框體,設置有用於饋送紙幣的紙幣饋送通路以及在所述紙幣饋送通路的寬度方向設置的側壁部分;紙幣讀出部分 ,安裝在所述框體內,用於讀出饋送的紙幣;以及紙幣識別部分,用於識別所述紙幣讀出部分讀出的紙幣的真實性。所述紙幣讀出部分設置有光導件,從作為對饋送的紙幣施加光的發 光部分的發光器件向所述光導件輸入光,安裝所述光導件,以進入該側壁部分內部。
Classificação: G07D7/12, G07D7/00
Inventor: NIREKI, Takao
Data de prioridade: 2006/08/22
País/Território de prioridade: JAPÃO
Número de prioridade: 2006-225749
Figura

Patente de invenção n.º: I/000514
Data do pedido: 2007/08/23
Requerente: Aruze Corp.
Nacionalidade: japonesa
Domicílio/Sede: 3-1-25, Ariake, Koto-ku, Tokyo 135-0063 Japan
Título: Máquina de jogos e respectivo método de jogos.
Resumo: 描述了一種使用多面體的遊戲環境。三個輪盤可被可變化地顯示。多個輪盤中的每一個可由多個多面體構成。九個多面體可被停止並以3X3的矩陣顯示在顯 示器上。如果特定符號顯示在相鄰多面體的正面上,則具有顯示特定符號的正面的多個多面體可被組合且組合物可被顯示。如果位於3X3矩陣的中間一行上的多個多面體的正面上顯 示的符號的組合是任何獲勝組合,則將向用戶提供獎勵。
Classificação: A63F5/04
Inventor: YOSHIZAWA Kazumasa
Data de prioridade: 2006/08/24
País/Território de prioridade: JAPÃO
Número de prioridade: 2006-227520
Figura

Patente de invenção n.º: I/000515
Data do pedido: 2007/08/23
Requerente: Aruze Gaming America, Inc.
Nacionalidade: norte-americana
Domicílio/Sede: 745 Grier Drive, Las Vegas, Nevada 89119, U.S.A.
Título: Caça-níqueis e respectivo método de utilização.
Resumo: 在前局遊戲中重新配置特定符號的顯示窗口中,相應的輪盤被設定為保持包括所述特定符號在內的符號的重新配置不變,即使下局遊戲開始也不旋轉的保持狀 態。另一方面,在前局遊戲中沒有重新配置特定的離散符號的顯示窗口中,當下局遊戲開始時,相應的輪盤旋轉並且停止。當在前局遊戲中沒有重新配置特定的離散符號的每一個輪盤 停止旋轉時,確定下局遊戲的每一個顯示窗口中的符號的重新配置。
Classificação: A63F9/00
Inventor: OKADA, Kazuo
Data de prioridade: 2006/08/25
País/Território de prioridade: ESTADOS UNIDOS
Número de prioridade: 60/840,011
Data de prioridade: 2007/01/03
País/Território de prioridade: ESTADOS UNIDOS
Número de prioridade: 11/648,555
Figura

Patente de invenção n.º: I/000516
Data do pedido: 2007/08/23
Requerente: Aruze Gaming America, Inc.
Nacionalidade: norte-americana
Domicílio/Sede: 745 Grier Drive, Las Vegas, Nevada 89119, U.S.A.
Título: Caça-níqueis e respectivo método de jogos.
Resumo: 根據本發明的一種投幣機,包括顯示器和控制器,顯示器上將排列多個符號,並且顯示器還能夠顯示利用符號有可能建立的多種獲勝;控制器在顯示器內分多 次按順序地重新排列多個符號,在按順序的重新排列處理之中的一個處理中,根據重新排列的符號,選擇在還沒有被重新排列的符號的重新排列中沒有可能被建立的不可建立獲勝組合 ,不可建立獲勝組合是從多種獲勝組合中選出的,並且在顯示器內改變所選擇的不可建立獲勝組合的顯示方式。
Classificação: A63F9/00
Inventor: Kazuo Okada
Data de prioridade: 2006/08/25
País/Território de prioridade: ESTADOS UNIDOS
Número de prioridade: 60/840,020
Data de prioridade: 2007/04/24
País/Território de prioridade: ESTADOS UNIDOS
Número de prioridade: 11/790,191
Figura

Patente de invenção n.º: I/000517
Data do pedido: 2007/08/23
Requerente: Aruze Gaming America, Inc.
Nacionalidade: norte-americana
Domicílio/Sede: 745 Grier Drive, Las Vegas, Nevada 89119, U.S.A.
Título: Caça-níqueis e respectivo método de jogos.
Resumo: 根據本發明的一種投幣機,包括:顯示器,顯示器上將排列多個符號,並且顯示器還能夠顯示其中排列各個符號的符號框;以及控制器,控制器在顯示器內分 多次按順序地重新排列多個符號,在該按順序的重新排列處理之中的一個處理中,根據重新排列的符號,選擇在還沒有被重新排列的符號的重新排列中有可能被建立的可建立獲勝組合 ,可建立獲勝組合是從利用重新排列在顯示器上的符號有可能建立的多種獲勝組合中選出的,並改變其中排列有構成所選擇的獲勝組合的符號的符號框的顯示方式。
Classificação: A63F9/00
Inventor: Kazuo Okada
Data de prioridade: 2006/08/25
País/Território de prioridade: ESTADOS UNIDOS
Número de prioridade: 60/840,019
Data de prioridade: 2007/04/24
País/Território de prioridade: ESTADOS UNIDOS
Número de prioridade: 11/790,187
Figura

Patente de invenção n.º: I/000518
Data do pedido: 2007/08/23
Requerente: Aruze Gaming America, Inc.
Nacionalidade: norte-americana
Domicílio/Sede: 745 Grier Drive, Las Vegas, Nevada 89119, U.S.A.
Título: Caça-níqueis e respectivo método de jogos.
Resumo: 根據本發明的投幣機包括:多個符號將被排列於其上的顯示器;和控制器,該控制器在顯示器中分多次按順序重新排列多個符號,在按順序重新排列的處理中 的一次處理過程中,從重新排列在顯示器中的符號可能形成的多種獲勝組合中,基於重新排列的符號,選擇在尚未重新排列的符號的重新排列中可能形成的任何獲勝組合均不包含的符 號類型,並且改變從重新排列的符號中選出的符號的顯示模式。
Classificação: A63F9/00
Inventor: Kazuo Okada
Data de prioridade: 2006/08/25
País/Território de prioridade: ESTADOS UNIDOS
Número de prioridade: 60/840,049
Data de prioridade: 2007/04/24
País/Território de prioridade: ESTADOS UNIDOS
Número de prioridade: 11/790,189
Figura

Patente de invenção n.º: I/000519
Data do pedido: 2007/08/23
Requerente: Aruze Gaming America, Inc.
Nacionalidade: norte-americana
Domicílio/Sede: 745 Grier Drive, Las Vegas, Nevada 89119, U.S.A.
Título: Caça-níqueis e respectivo método de jogos.
Resumo: 根據本發明的投幣機包括:顯示器,在該顯示器上將佈置有多個符號,並且該顯示器還能夠顯示基於符號的支付量;以及控制器,該控制器在顯示器內分多次 順次地重新佈置多個符號,並基於已經經過重新佈置的符號來計算在重新佈置還沒有經過重新佈置的符號的過程中可以支付的最大支付量,所述最大支付量是在順次的重新佈置過程之 一期間計算的,並且控制器在顯示器上顯示所計算的最大支付量。
Classificação: A63F9/00
Inventor: Kazuo Okada
Data de prioridade: 2006/08/25
País/Território de prioridade: ESTADOS UNIDOS
Número de prioridade: 60/840,021
Data de prioridade: 2007/04/24
País/Território de prioridade: ESTADOS UNIDOS
Número de prioridade: 11/790,192
Figura

Patente de invenção n.º: I/000520
Data do pedido: 2007/08/23
Requerente: Aruze Gaming America, Inc.
Nacionalidade: norte-americana
Domicílio/Sede: 745 Grier Drive, Las Vegas, Nevada 89119, U.S.A.
Título: Sistema de jogos incluindo caça-níqueis e seu método de controlo de jogos.
Resumo: 本發明的遊戲系統包括:第二遊戲機,用於執行不同於在投幣機中執行的基本遊戲的第二遊戲;多個第二遊戲終端,每個第二遊戲終端均包括:下注輸入裝置 ,對第二遊戲玩家的贏或輸做出的下注將被輸入到該下注輸入裝置中;以及下注控制器,用於在下注被輸入時,傳送與所述下注相應的下注訊號;投幣機,包括:遊戲控制器,其被編 程為執行基本遊戲,並使在第二遊戲機上執行的第二遊戲能夠在預定第二遊戲開始條件在基本遊戲中成立時得到執行;命令輸入裝置,用於接受或拒絕由除了第二遊戲玩家以外的玩家 對第二遊戲玩家做出的下注的命令將被輸入到該命令輸入裝置;和顯示器;遊戲控制器在命令被輸入時傳送與命令相應的命令訊號.並基於下注訊號在顯示器上顯示由除了第二遊戲玩 家以外的玩家做出的下注的內容;以及中央控制器,用於基於下注訊號、命令訊號以及第二遊戲的結果,確定用於第二遊戲終端中的每一個的支付值。
Classificação: A63F13/00
Inventor: Kazuo Okada
Data de prioridade: 2006/08/25
País/Território de prioridade: ESTADOS UNIDOS
Número de prioridade: 60/840,018
Data de prioridade: 2007/05/22
País/Território de prioridade: ESTADOS UNIDOS
Número de prioridade: 11/802,345
Figura

Patente de invenção n.º: I/000521
Data do pedido: 2007/08/23
Requerente: Aruze Corp.
Nacionalidade: japonesa
Domicílio/Sede: 3-1-25, Ariake, Koto-Ku, Tokyo 135-0063 Japan
Título: Caça-níqueis e respectivo método de jogos.
Resumo: 本發明的投幣機包括:顯示器,具有佈置成矩陣狀態的多個分隔區域,其中符號將被分別重新佈置在所述多個分隔區域的每一個區域中;以及控制器,對每個 遊戲,所述控制器從所述多個分隔區域中隨機地選擇多個有效區域,將每個符號重新佈置在所述多個分隔區域的每一個區域中,並且根據重新佈置在所述多個有效區域中的符號執行獎 勵。
Classificação: A63F5/04
Inventor: Hideaki Iwamoto
Data de prioridade: 2006/08/25
País/Território de prioridade: JAPÃO
Número de prioridade: 2006-229133
Figura

Patente de invenção n.º: I/000522
Data do pedido: 2007/08/24
Requerente: Aruze Gaming America, Inc.
Nacionalidade: americana
Domicílio/Sede: 745 Grier Drive, Las Vegas, Nevada 89119, U.S.A.
Título: Caça-níqueis e respectivo método de jogos.
Resumo: 玩家在觸摸面板的幫助下指定在第一符號顯示框內各個符號顯示區域中重置的符號中的一個符號。玩家在觸摸面板的幫助下進一步指定第二符號顯示框內旋轉 狀態的符號顯示區域中的一個區域。接着,玩家在第一符號顯示框內指定的符號顯示區域中的符號通過拖動操作在玩家在第二符號顯示框內指定的符號顯示區域中重置。
Classificação: A63F13/00
Inventor: OKADA, Kazuo
Data de prioridade: 2006/08/25
País/Território de prioridade: ESTADOS UNIDOS
Número de prioridade: 62/840,004
Data de prioridade: 2007/04/10
País/Território de prioridade: ESTADOS UNIDOS
Número de prioridade: 11/783,587
Figura

Patente de invenção n.º: I/000523
Data do pedido: 2007/08/24
Requerente: Aruze Gaming America, Inc.
Nacionalidade: americana
Domicílio/Sede: 745 Grier Drive, Las Vegas, Nevada 89119, U.S.A.
Título: Caça-níqueis e respectivo método de jogos.
Resumo: 有分散符號在前一遊戲中重新定位的顯示窗口中,將一對應的輪盤設定為保持狀態,從而即使是下一遊戲開始也不滾動而使包括該分散符號在內的符號的重新 定位保持不變。另一方面,沒有分散符號在前一遊戲中重新定位的其它顯示窗口中,當下一遊戲開始時對應的輪盤滾動並停止。當沒有分散符號在前一遊戲中重新定位的各個輪盤停止 滾動時,確定下一遊戲中各個符號在每一顯示窗口中的重新定位。
Classificação: A63F13/00
Inventor: OKADA, Kazuo
Data de prioridade: 2006/08/25
País/Território de prioridade: ESTADOS UNIDOS
Número de prioridade: 60/840,017
Data de prioridade: 2007/01/03
País/Território de prioridade: ESTADOS UNIDOS
Número de prioridade: 11/648,562
Figura

Patente de invenção n.º: I/000524
Data do pedido: 2007/08/24
Requerente: Aruze Gaming America, Inc.
Nacionalidade: norte-americana
Domicílio/Sede: 745 Grier Drive, Las Vegas, Nevada 89119, U.S.A.
Título: Sistema de jogos incluindo caça-níqueis e seu método de controlo de jogos.
Resumo: 一種遊戲系統,包括:提供基本遊戲的投幣機;執行第二遊戲的第二遊戲裝置;第二遊戲終端;和中央控制器。中央控制器從投幣機接收第二遊戲開始訊號。 此外,中央控制器從投幣機接收關於在預定條件下允許的基本下注的數據。此外,中央控制器從上述投幣機、不同於上述投幣機的其它投幣機和第二遊戲終端中的任何一個接收不同於 關於基本下注的數據的關於附加下注的數據。除了可由遊戲者根據基本下注指定的下注數量之外,中央控制器根據關於附加下注的數據增加在第二遊戲中可由遊戲者指定的下注數量。
Classificação: A63F9/24
Inventor: OKADA Kazuo
Data de prioridade: 2006/08/28
País/Território de prioridade: ESTADOS UNIDOS
Número de prioridade: 60/840,442
Data de prioridade: 2006/12/18
País/Território de prioridade: ESTADOS UNIDOS
Número de prioridade: 11/640,242
Figura

Patente de invenção n.º: I/000525
Data do pedido: 2007/08/24
Requerente: Aruze Gaming America, Inc.
Nacionalidade: norte-americana
Domicílio/Sede: 745 Grier Drive, Las Vegas, Nevada 89119, U.S.A.
Título: Sistema de jogos incluindo caça-níqueis e seu método de controlo de jogos.
Resumo: 一種遊戲系統包括:多個投幣式遊戲機,每個投幣式遊戲機分別具有控制器,該控制器用於執行基礎遊戲,以及在規定符號合停止在獎勵線上時發送用於進入 輪盤遊戲的訊號;第二遊戲裝置,用於執行所述輪盤遊戲,其被設置為與投幣式遊戲機物理上分離的裝置;顯示器,用於根據所述第二遊戲裝置的狀態來顯示圖像;以及中心控制器, 其能夠通過利用網絡與這些裝置相連而與它們進行通訊。如果當從投幣式遊戲機接收到用於請求進入輪盤遊戲的訊號時已經在執行輪盤遊戲,則中心控制器保持進入輪盤遊戲等待狀態 ,而且控制該投幣式遊戲機和第二遊戲裝置,以便在可以進入輪盤遊戲時開始輪盤遊戲。
Classificação: A63F9/24
Inventor: OKADA, Kazuo
Data de prioridade: 2006/08/24
País/Território de prioridade: ESTADOS UNIDOS
Número de prioridade: 60/839,675
Data de prioridade: 2006/12/07
País/Território de prioridade: ESTADOS UNIDOS
Número de prioridade: 11/634,975
Figura

Patente de invenção n.º: I/000526
Data do pedido: 2007/08/24
Requerente: Aruze Gaming America, Inc.
Nacionalidade: norte-americana
Domicílio/Sede: 745 Grier Drive, Las Vegas, Nevada 89119, U.S.A.
Título: Sistema de jogos incluindo caça-níqueis e seu método de controlo de jogos.
Resumo: 一種遊戲系統包括:多個投幣式遊戲機,每個投幣式遊戲機具有控制器,該控制器用於基礎遊戲,而且在實現規定的條件時,使得從基礎遊戲的中途轉變為第 二遊戲;第二遊戲裝置,用於執行第二遊戲,作為與投幣式遊戲機物理上分離的裝置設置該第二遊戲裝置;顯示器,用於根據第二遊戲裝置的遊戲狀態顯示圖像;以及中心控制器,通 過利用網絡與這些裝置相連而與這些裝置通訊,在從任意投幣式遊戲機通知保留轉變為第二遊戲的權利時,中心控制器臨時保存該權利。然後,在可以轉變為第二遊戲的時段內,在從 其權利被保存的投幣式遊戲機通知轉變為第二遊戲時,中心控制器控制投幣式遊戲機和第二遊戲裝置以開始第二遊戲。
Classificação: A63F13/12, G07F17/00
Inventor: OKADA, Kazuo
Data de prioridade: 2006/08/24
País/Território de prioridade: ESTADOS UNIDOS
Número de prioridade: 60/839,667
Data de prioridade: 2006/12/07
País/Território de prioridade: ESTADOS UNIDOS
Número de prioridade: 11/634,899
Figura

Patente de invenção n.º: I/000527
Data do pedido: 2007/08/24
Requerente: Aruze Corp.
Nacionalidade: japonesa
Domicílio/Sede: 3-1-25, Ariake, Koto-Ku, Tokyo 135-0063 Japan
Título: Caça-níqueis e respectivo método de operação.
Resumo: 在顯示器上顯示預定演示圖像。此後,通過從具有不同屬性的多個符號中選擇符號,確定將排列的符號。當停止顯示所確定的符號時,在每一顯示區中,按任 意順序順次地顯示所確定的符號。在這種情況下,閃爍已經排列的符號。在閃爍期間,將已經排列的符號的屬性從初始排列時的符號的第一屬性改變成第二屬性。在顯示器上最終排列 符號時,當存在具有不同大小和相同屬性的預定數量或更多符號時,或當存在具有相同屬性的預定數量或更多符號時,提供相應的獎勵。
Classificação: A63F5/04
Inventor: SAITO, Hiroki
Data de prioridade: 2006/08/25
País/Território de prioridade: JAPÃO
Número de prioridade: 2006-229338
Figura

Patente de invenção n.º: I/000528
Data do pedido: 2007/08/27
Requerente: ARUZE GAMING AMERICA, INC.
Nacionalidade: americana
Domicílio/Sede: 745 Grier Drive, Las Vegas, Nevada 89119, U.S.A.
Título: Caça-níqueis e respectivo método de jogos.
Resumo: 本發明提供一種投幣遊戲機及其遊戲方法。在多個符號中隨機選擇並確定分散對象符號。在顯示器中對所述多個符號進行重排。獎勵由在所述支付線上重排的 符號的組合而確定的支付。當重排有預定數量個或更多個所述分散對象符號時,將對象的分散對象符號設定為分散符號。獎勵基於所述分散符號而確定的支付。
Classificação: A63F13/00
Inventor: Kazuo OKADA
Data de prioridade: 2006/08/28
País/Território de prioridade: ESTADOS UNIDOS
Número de prioridade: 60/840,449
Data de prioridade: 2006/10/30
País/Território de prioridade: ESTADOS UNIDOS
Número de prioridade: 11/589,161
Figura

Patente de invenção n.º: I/000529
Data do pedido: 2007/08/27
Requerente: Aruze Corp.
Nacionalidade: japonesa
Domicílio/Sede: 3-1-25, Ariake, Koto-Ku, Tokyo 135-0063 Japan
Título: Caça-níqueis e respectivo método de jogos.
Resumo: 本發明的投幣機包括:投幣機,該投幣機包括顯示器和控制器,其中的顯示器可顯示沿預定方向移動的多個物體以及一個區域,在該區域與多個物體中的每個 物體之間執行接觸確定,控制器在顯示器上顯示該多個物體和該區域,多個物體以沿預定方向移動的方式顯示,在多個物體中的每個物體與該區域之間執行接觸確定,並根據與區域接 觸的物體來提供獎勵。
Classificação: A63F5/04
Inventor: Katshhiro Kido
Data de prioridade: 2006/08/28
País/Território de prioridade: JAPÃO
Número de prioridade: 2006-230223
Figura

Patente de invenção n.º: I/000530
Data do pedido: 2007/08/27
Requerente: Aruze Corp.
Nacionalidade: japonesa
Domicílio/Sede: 3-1-25, Ariake, Koto-Ku, Tokyo 135-0063 Japan
Título: Caça-níqueis e respectivo método de jogos.
Resumo: 本發明的投幣機包括:投幣機包括,顯示器和控制器。其中顯示器能顯示沿預定方向移動的多個物體以及多個區域,在該區域與多個物體中各物體間執行接觸 確定;控制器將多個物體和多個區域顯示到顯示器上,多個物體以沿預定方向移動的方式顯示,執行多個物體中各物體與多個區域中任意區域之間的接觸確定,並根據與區域相接觸的 物體提供獎勵。
Classificação: A63F5/04
Inventor: Katsuhiro Kido
Data de prioridade: 2006/08/29
País/Território de prioridade: JAPÃO
Número de prioridade: 2006-232590
Figura

Patente de invenção n.º: I/000531
Data do pedido: 2007/08/27
Requerente: Aruze Gaming America, Inc.
Nacionalidade: norte-americana
Domicílio/Sede: 745 Grier Drive, Las Vegas, Nevada 89119, U.S.A.
Título: Caça-níqueis e respectivo método de jogos.
Resumo: 根據本發明的投幣機包括:顯示器,其上排列有多個符號;BET開關,其允許BET輸入;輸入開關,其允許輸入符號的排列次序;和控制器,該控制器在 從BET開關接收到預定數目或更多BET時接收來自輸入開關的排列次序輸入,並當排列在顯示器上的多個符號重新排列時,如果重新排列在顯示器上的各符號的數目的數量順序與 從輸入開關輸入的排序次序相同,則生成預定的獎勵。
Classificação: A63F9/24
Inventor: Kazuo Okada
Data de prioridade: 2006/08/28
País/Território de prioridade: ESTADOS UNIDOS
Número de prioridade: 60/840,445
Data de prioridade: 2006/12/08
País/Território de prioridade: ESTADOS UNIDOS
Número de prioridade: 11/635,582
Figura

Patente de invenção n.º: I/000532
Data do pedido: 2007/08/27
Requerente: Aruze Gaming America, Inc.
Nacionalidade: norte-americana
Domicílio/Sede: 745 Grier Drive, Las Vegas, Nevada 89119, U.S.A.
Título: Caça-níqueis e respectivo método de jogos.
Resumo: 本發明的投幣機包括:佈置有多個符號的顯示器,允許BET輸入的BET開關;允許輸入符號的等級次序的輸入開關;以及控制器,該控制器允許在開始重 新佈置已佈置於顯示器上的多個符號之後直到重新佈置符號為止的預定時間段內從BET開關輸入附加BET,如果已經存在附加BET的輸入,則從輸入開關接受對等級次序的輸入 ,並且當已佈置於顯示器上的多個符號已經被重新佈置時,如果顯示於顯示器上的各個符號的數量的多寡順序與從輸入開關輸入的等級次序相同,則產生預定獎勵。
Classificação: A63F13/00
Inventor: Kazuo Okada
Data de prioridade: 2006/08/28
País/Território de prioridade: ESTADOS UNIDOS
Número de prioridade: 60/840,443
Data de prioridade: 2006/12/08
País/Território de prioridade: ESTADOS UNIDOS
Número de prioridade: 11/635,716
Figura

Patente de invenção n.º: I/000533
Data do pedido: 2007/08/27
Requerente: Aruze Gaming America, Inc.
Nacionalidade: norte-americana
Domicílio/Sede: 745 Grier Drive, Las Vegas, Nevada 89119, U.S.A.
Título: Sistema de jogos incluindo caça-níqueis e seu método de controlo de jogos.
Resumo: 本發明提供一種遊戲系統,包括:第二遊戲機,用於執行與投幣機中所執行的基本遊戲不同的第二遊戲;多個第二遊戲終端,具有下注輸入裝置,利用該下注 輸入裝置輸入對第二遊戲玩家的第二遊戲下注;以及下注控制器,用於在第二遊戲下注被輸入時,發出與所述第二遊戲下注相應的下注訊號;投幣機,具有遊戲控制器,其被編程為執 行基本遊戲,並且被編程為當規定的第二遊戲開始條件在基本遊戲中成立時,在第二遊戲機上執行第二遊戲;和用於輸入命令的命令輸入裝置,所述命令有關接受或拒絕由除了所述第 二遊戲玩家以外的玩家對第二遊戲玩家做出的第二遊戲下注;遊戲控制器在命令被輸入時發出與所述命令相應的命令訊號;以及中央控制器,用於基於下注訊號、命令訊號以及第二遊 戲的結果,確定對第二遊戲終端中的每一個的支付值。
Classificação: A63F9/24
Inventor: Kazuo Okada
Data de prioridade: 2006/08/28
País/Território de prioridade: ESTADOS UNIDOS
Número de prioridade: 60/840,444
Data de prioridade: 2007/05/18
País/Território de prioridade: ESTADOS UNIDOS
Número de prioridade: 11/802,068
Figura

Patente de invenção n.º: I/000534
Data do pedido: 2007/08/27
Requerente: Aruze Corp.
Nacionalidade: japonesa
Domicílio/Sede: 3-1-25, Ariake, Koto-Ku, Tokyo 135-0063 Japan
Título: Caça-níqueis e respectivo método de operação.
Resumo: 在顯示器上排列根據下注數額而改變的演示圖像後,從具有不同屬性的多個符號中,根據下注數額,確定將重新排列的符號。當停止所確定的符號時,在各個 顯示區中,按任意順序,順序地停止顯示所確定的符號。在這種情況下,閃爍已經停止顯示的符號。此外,在閃爍期間,將已經排列的符號的屬性從初始排列時的第一屬性改成第二屬 性。此外,當符號在顯示器上最終排列時,當存在具有不同大小和相同屬性的預定數量或更多符號時,或當存在具有相同屬性的預定數量或更多符號時,提供相應的獎勵。
Classificação: A63F5/04
Inventor: SAITO, Hiroki
Data de prioridade: 2006/08/28
País/Território de prioridade: JAPÃO
Número de prioridade: 2006-230890
Figura

Patente de invenção n.º: I/000535
Data do pedido: 2007/08/27
Requerente: Aruze Corp.
Nacionalidade: japonesa
Domicílio/Sede: 3-1-25, Ariake, Koto-Ku, Tokyo 135-0063 Japan
Título: Caça-níqueis e respectivo método de operação.
Resumo: 當在液晶顯示單元上的多個顯示區內重新排列了多個符號時,動態特徵符從第二顯示部分通過第一顯示部分向第三顯示部分移動,而且僅在動態特徵符到達該 第三顯示部分時,根據動態特徵符移動所經過的軌跡中的符號的組合,向玩家提供獎勵。
Classificação: A63F5/04
Inventor: SAITO, Hiroki
Data de prioridade: 2006/08/28
País/Território de prioridade: JAPÃO
Número de prioridade: 2006-230880
Figura

Patente de invenção n.º: I/000536
Data do pedido: 2007/08/29
Requerente: Aruze Corp.
Nacionalidade: japonesa
Domicílio/Sede: 3-1-25, Ariake, Koto-Ku, Tokyo 135-0063 Japan
Título: Caça-níqueis e respectivo método de operação.
Resumo: 在顯示器上顯示預定演示圖像後,通過從具有不同屬性的多個符號中選擇符號來確定要排列的符號。當停止所述已確定的符號時,在各個顯示區中,按任意順 序,順序地停止顯示所述已確定的符號。在這種情況下,閃爍已經停止顯示的符號。此外,在閃爍期間,將已經排列的符號的屬性從初始排列時的第一屬性改成第二屬性。此外,對所 確定的每一個符號,設置作為刪除該符號所需時間的消光時間。接着,從在顯示器上最終排列符號開始經過預定時段以後,在下述任何一種情況下,即存在具有不同大小和相同屬性的 預定數量或更多符號的情況,以及存在具有相同屬性的預定數量或更多符號的情況,提供相應的獎勵。
Classificação: A63F5/04
Inventor: SAITO, Hiroki
Data de prioridade: 2006/08/29
País/Território de prioridade: JAPÃO
Número de prioridade: 2006-232738
Figura

Patente de invenção n.º: I/000539
Data do pedido: 2007/09/03
Requerente: Aruze Corp.
Nacionalidade: japonesa
Domicílio/Sede: 3-1-25, Ariake, Koto-ku, Tokyo 135-0063 Japan
Título: Caça-níqueis e respectivo método de jogos.
Resumo: 本發明說明了一種遊戲環境。多個視頻輪盤在多個顯示窗口上旋轉和停止。如果多個顯示窗口上重新定位的離散符號的數量為預定數,則新視頻輪盤在新顯示 窗口上旋轉和停止。其後,獎勵對應於新顯示窗口的支付線上重新定位的符號。
Classificação: A63F5/04
Inventor: KOJIMA, Sakiko
Data de prioridade: 2006/09/04
País/Território de prioridade: JAPÃO
Número de prioridade: 2006-238710
Figura

Patente de invenção n.º: I/000540
Data do pedido: 2007/09/03
Requerente: Aruze Corp.
Nacionalidade: japonesa
Domicílio/Sede: 3-1-25, Ariake, Koto-ku, Tokyo 135-0063 Japan
Título: Caça-níqueis e respectivo método de jogos.
Resumo: 說明了一種遊戲環境。多個視頻滾輪在多個顯示窗口上滾動並停止。多個顯示窗口上重新定位的分散符號的數量為預定數量的話,新視頻滾輪將在新顯示窗口 上滾動並停止。此後,有一獎勵與新顯示窗口的支付線上重新定位的符號相對應。
Classificação: A63F5/04
Inventor: KOJIMA, Sakiko
Data de prioridade: 2006/09/04
País/Território de prioridade: JAPÃO
Número de prioridade: 2006-238737
Figura

Patente de invenção n.º: I/000544
Data do pedido: 2007/09/04
Requerente: Aruze Gaming America, Inc.
Nacionalidade: norte-americana
Domicílio/Sede: 745 Grier Drive, Las Vegas, Nevada 89119, U.S.A.
Título: Caça-níqueis e respectivo método de jogos.
Resumo: 根據本發明的一種投幣機包括:顯示器,其中佈置有多個符號;選擇開關,用於從多個符號中選擇將作為特定符號的符號;以及控制器,所述控制器將與來自 選擇開關的輸入相對應的符號確定為特定符號,隨機地確定特定符號的支付順序,並且當作為佈置於顯示器中的多個符號的重新佈置結果、預定數目或更多的至少一種特定符號被佈置 在顯示器中時,基於支付順序分配獎勵。
Classificação: A63F13/00
Inventor: Kazuo Okada
Data de prioridade: 2006/09/05
País/Território de prioridade: ESTADOS UNIDOS
Número de prioridade: 60/842,021
Data de prioridade: 2007/05/11
País/Território de prioridade: ESTADOS UNIDOS
Número de prioridade: 11/798,248
Figura

Patente de invenção n.º: I/000545
Data do pedido: 2007/09/04
Requerente: Aruze Gaming America, Inc.
Nacionalidade: norte-americana
Domicílio/Sede: 745 Grier Drive, Las Vegas, Nevada 89119, U.S.A.
Título: Caça-níqueis e respectivo método de jogos.
Resumo: 根據本發明的一種投幣機包括:顯示器,其中排列多個符號,並具有獲勝線;選擇開關,用於從多個符號中選擇將作為特定符號的符號,以及控制器,控制器 :確定與來自選擇開關的輸入相對應的符號為特定符號,作為對已排列於顯示器的多個符號進行重新排列的結果,如果在顯示器中排列預定數目或更多的至少一種特定符號,則分配獎 賞,以及如果重新排列在獲勝線上的符號組合是預定獲勝組合,那麼分配與該符號組合相對應的獎賞。
Classificação: A63F13/00
Inventor: Kazuo Okada
Data de prioridade: 2006/09/05
País/Território de prioridade: ESTADOS UNIDOS
Número de prioridade: 60/842,030
Data de prioridade: 2007/05/11
País/Território de prioridade: ESTADOS UNIDOS
Número de prioridade: 11/798,249
Figura

Patente de invenção n.º: I/000546
Data do pedido: 2007/09/04
Requerente: Aruze Gaming America, Inc.
Nacionalidade: norte-americana
Domicílio/Sede: 745 Grier Drive, Las Vegas, Nevada 89119, U.S.A.
Título: Caça-níqueis e respectivo método de jogos.
Resumo: 根據本發明的投幣機包括:顯示器,其上排列多個符號;選擇開關,其用於從多個符號中選擇將作為特定符號的符號;和控制器,控制器將與來自選擇開關的 輸入相對應的符號確定為特定符號,改變所確定的特定符號的顯示方式,並在排列在顯示器上的多個符號的重新排列的結果是,預定數目或更多個至少一種特定符號被排列在顯示器上 的情況下,分配獎賞。
Classificação: A63F13/00
Inventor: Kazuo Okada
Data de prioridade: 2006/09/05
País/Território de prioridade: ESTADOS UNIDOS
Número de prioridade: 60/842,019
Data de prioridade: 2007/04/24
País/Território de prioridade: ESTADOS UNIDOS
Número de prioridade: 11/790,193
Figura

Patente de invenção n.º: I/000547
Data do pedido: 2007/09/04
Requerente: Aruze Gaming America, Inc.
Nacionalidade: norte-americana
Domicílio/Sede: 745 Grier Drive, Las Vegas, Nevada 89119, U.S.A.
Título: Caça-níqueis e respectivo método de jogos.
Resumo: 根據本發明的投幣機包括:顯示器,其具有佈置區域,在該佈置區域上佈置有多個符號;選擇開關,用於從多個符號中選擇將成為特定符號的符號;以及控制 器,該控制器將根據來自選擇開關的輸入而選擇的符號確定為特定符號,在佈置區域外部顯示根據來自選擇開關的輸入而選擇的符號為特定符號,並且如果作為佈置在顯示器上的多個 符號的重新佈置的結果,預定數量或更多數量的至少一種特定符號被佈置在顯示器上,則分配獎賞。
Classificação: A63F13/00
Inventor: Kazuo Okada
Data de prioridade: 2006/09/05
País/Território de prioridade: ESTADOS UNIDOS
Número de prioridade: 60/842,029
Data de prioridade: 2007/04/24
País/Território de prioridade: ESTADOS UNIDOS
Número de prioridade: 11/790,188
Figura

Patente de invenção n.º: I/000548
Data do pedido: 2007/09/04
Requerente: Aruze Gaming America, Inc.
Nacionalidade: norte-americana
Domicílio/Sede: 745 Grier Drive, Las Vegas, Nevada 89119, U.S.A.
Título: Sistema de jogos incluindo caça-níqueis e seu método de controlo de jogos.
Resumo: 一種遊戲系統包括:提供基本遊戲的投幣機;和獨立於投幣機的第二遊戲裝置,其執行第二遊戲。該遊戲系統還包括中央控制器。在投幣機的基本遊戲中在“BONUS”符 號組合停止在激活支付線上的情況下,中央控制器接收來自投幣機的第二遊戲開始訊號。而且,中央控制器從投幣機接收關於在預定條件下允許的基本下注的數據。此外,中央控制器 從前述投幣機接收與關於基本下注的數據不同的關於額外下注的數據。
Classificação: A63F13/00
Inventor: OKADA Kazuo
Data de prioridade: 2006/09/06
País/Território de prioridade: ESTADOS UNIDOS
Número de prioridade: 60/842,362
Data de prioridade: 2006/12/18
País/Território de prioridade: ESTADOS UNIDOS
Número de prioridade: 11/640,385
Figura

Patente de invenção n.º: I/000549
Data do pedido: 2007/09/04
Requerente: Aruze Gaming America, Inc.
Nacionalidade: norte-americana
Domicílio/Sede: 745 Grier Drive, Las Vegas, Nevada 89119, U.S.A.
Título: Caça-níqueis e respectivo método de jogos.
Resumo: 本發明提供了一種投幣遊戲機及其遊戲方法。重新排列多個符號。將重新排列的符號中的部分符號矩陣設置在可旋轉區中。根據從外部輸入的操作訊號旋轉所 述部分符號矩陣,由此對其進行重新排列。獎賞由重新排列在支付線上的符號的組合確定的支付。
Classificação: A63F
Inventor: Kazuo Okada
Data de prioridade: 2006/09/05
País/Território de prioridade: ESTADOS UNIDOS
Número de prioridade: 60/842,022
Data de prioridade: 2006/10/30
País/Território de prioridade: ESTADOS UNIDOS
Número de prioridade: 11/589,158
Figura

Patente de invenção n.º: I/000550
Data do pedido: 2007/09/04
Requerente: Aruze Corp.
Nacionalidade: japonesa
Domicílio/Sede: 3-1-25, Ariake, Koto-ku, Tokyo 135-0063 Japan
Título: Máquina de jogos e respectivo método de jogos.
Resumo: 本發明描述了一個遊戲環境。多個視頻輪盤在多個窗口顯示上旋轉然後停止。如果重新配置在多個窗口顯示上的離散符號的數目是預定數目,則新的視頻轉盤 將在新的顯示窗口上旋轉然後停止。此後,獎勵對應於重新配置在新顯示窗口的支付線上的符號。
Classificação: A63F5/04
Inventor: KOJIMA, Sakiko
Data de prioridade: 2006/09/04
País/Território de prioridade: JAPÃO
Número de prioridade: 2006-238760
Figura

Patente de invenção n.º: I/000553
Data do pedido: 2007/09/05
Requerente: Aruze Gaming America, Inc.
Nacionalidade: norte-americana
Domicílio/Sede: 745 Grier Drive, Las Vegas, Nevada 89119, U.S.A.
Título: Caça-níqueis e respectivo método de operação.
Resumo: 在顯示器上重新排列多個符號的情況下,執行控制以:控制使得多個重新排列的符號能被選擇,以及根據選擇來保持被選符號,以及通過將它們轉入下一遊戲 來排列被選符號;以及執行控制以:僅在用於重新符號的獎勵超出規定的獎勵以及滿足在顯示器上顯示有特殊符號的條件的情況下,使得多個重新排列的符號中的特定符號能被選擇。 另外,執行控制以:從多個重新排列的符號中,確定能被選擇的符號數量;以及確定這些被選符號所能保持的單位遊戲的次數。
Classificação: A63F9/24
Inventor: OKADA, Kazuo
Data de prioridade: 2006/09/05
País/Território de prioridade: ESTADOS UNIDOS
Número de prioridade: 60/842,017
Data de prioridade: 2007/03/12
País/Território de prioridade: ESTADOS UNIDOS
Número de prioridade: 11/716,687
Figura

Patente de invenção n.º: I/000554
Data do pedido: 2007/09/05
Requerente: Aruze Gaming America, Inc.
Nacionalidade: norte-americana
Domicílio/Sede: 745 Grier Drive, Las Vegas, Nevada 89119, U.S.A.
Título: Caça-níqueis e respectivo método de operação.
Resumo: 在基礎遊戲中,當通過在顯示器上重新排列的多個符號實現了獲獎組合時,執行用於保持與該獲獎組合有關的符號並將它們轉入下一基礎遊戲的控制,以及在 對於新實現的獲獎組合的獎勵額大於對於已經保持的獲獎組合的獎勵額的情況下,保持與新實現的獲獎組合有關的符號,來代替已經保持的符號。
Classificação: A63F9/24
Inventor: OKADA, Kazuo
Data de prioridade: 2006/09/05
País/Território de prioridade: ESTADOS UNIDOS
Número de prioridade: 60/842,020
Data de prioridade: 2007/03/12
País/Território de prioridade: ESTADOS UNIDOS
Número de prioridade: 11/716,680
Figura

Patente de invenção n.º: I/000555
Data do pedido: 2007/09/05
Requerente: Aruze Gaming America, Inc.
Nacionalidade: norte-americana
Domicílio/Sede: 745 Grier Drive, Las Vegas, Nevada 89119, U.S.A.
Título: Caça-níqueis e respectivo método de operação.
Resumo: 當在基礎遊戲期間特殊遊戲的啟動條件成立時,根據特殊遊戲開始時重新排列的、特定的玩家選擇的符號的數量,對於在預定次數的特定遊戲期間伴有由於特 定符號的信用獎勵的獎賞的出現,改變信用的獎勵額。另外,根據伴有由於特定符號的信用獎勵的獎賞的出現次數,改變當預定次數的特殊遊戲終止時的信用的獎勵額。
Classificação: A63F9/24
Inventor: OKADA, Kazuo
Data de prioridade: 2006/09/05
País/Território de prioridade: ESTADOS UNIDOS
Número de prioridade: 60/842,018
Data de prioridade: 2006/12/14
País/Território de prioridade: ESTADOS UNIDOS
Número de prioridade: 11/638,455
Figura

Patente de invenção n.º: I/000556
Data do pedido: 2007/09/05
Requerente: Aruze Gaming America, Inc.
Nacionalidade: norte-americana
Domicílio/Sede: 745 Grier Drive, Las Vegas, Nevada 89119, U.S.A.
Título: Caça-níqueis e respectivo método de jogos.
Resumo: 在投幣式遊戲機中,在基礎遊戲期間,控制器在一些其他符號之前,在顯示器上重新排列一些符號。在顯示器上重新排列一些其他符號前,控制器接受請求變 動已重新排列的符號的位置的外部輸入。控制器變動已重新排列的一些符號中的至少兩個或更多符號的位置。
Classificação: A63F9/24
Inventor: OKADA, Kazuo
Data de prioridade: 2006/09/05
País/Território de prioridade: ESTADOS UNIDOS
Número de prioridade: 60/842,031
Data de prioridade 2006/12/18
País/Território de prioridade: ESTADOS UNIDOS
Número de prioridade: 11/640,386
Figura

Patente de invenção n.º: I/000557
Data do pedido: 2007/09/05
Requerente: Aruze Gaming America, Inc.
Nacionalidade: norte-americana
Domicílio/Sede: 745 Grier Drive, Las Vegas, Nevada 89119, U.S.A.
Título: Caça-níqueis e respectivo método de operação.
Resumo: 在投幣式遊戲機中,如果預定獎賞的出現次數達到預定次數,就執行特殊遊戲預定次數。在特殊遊戲期間,在顯示器上重新排列各個符號後,控制器接受請求 變動重新排列的符號的位置的外部輸入。控制器變動已重新排列的那些符號中的至少兩個或更多符號的位置。
Classificação: A63F9/24
Inventor: OKADA, Kazuo
Data de prioridade: 2006/09/05
País/Território de prioridade: ESTADOS UNIDOS
Número de prioridade: 60/842,028
Data de prioridade: 2006/12/14
País/Território de prioridade: ESTADOS UNIDOS
Número de prioridade: 11/638,466
Figura

Patente de invenção n.º: I/000558
Data do pedido: 2007/09/06
Requerente: Aruze Corp.
Nacionalidade: japonesa
Domicílio/Sede: 3-1-25 Ariake, Koto-Ku, Tokyo 135-0063 Japan
Título: Caça-níqueis e respectivo método de jogos.
Resumo: 一種投幣機,其包括顯示器和控制器。該顯示器具有以矩陣形式設置的多個顯示塊,並可變地在多個顯示塊上顯示符號,並顯示新符號。在任意遊戲中,控制 器響應玩家通過觸控面板給出的操作輸入,以多個顯示塊中選擇由一個或多個顯示塊組成的有效區域,並響應停止在所選有效區域上的一個或多個符號來提供獎勵。
Classificação: A63F5/04
Inventor: Hideaki IWAMOTO
Data de prioridade: 2006/09/08
País/Território de prioridade: JAPÃO
Número de prioridade: 2006-244340
Figura

Patente de invenção n.º: I/000564
Data do pedido: 2007/09/11
Requerente: Aruze Gaming America, Inc.
Nacionalidade: norte-americana
Domicílio/Sede: 745, Grier Drive, Las Vegas, Nevada 89119, U.S.A.
Título: Caça-níqueis e respectivo método de jogos.
Resumo: 本發明提供了一種投幣遊戲機及其遊戲方法。重新排列多個符號。當處於免費遊戲狀態時,將重新排列的符號中的部分符號矩陣設置在可旋轉區中。所述部分 符號矩陣根據從外部輸入的操作訊號而旋轉從而重新排列。獎賞由重新排列在支付線上的符號的組合所確定的支付。
Classificação: A63F13/00
Inventor: Kazuo OKADA
Data de prioridade: 2006/09/13
País/Território de prioridade: ESTADOS UNIDOS
Número de prioridade: 60/844,120
Data de prioridade: 2006/12/14
País/Território de prioridade: ESTADOS UNIDOS
Número de prioridade: 11/638,457
Figura

Patente de invenção n.º: I/000565
Data do pedido: 2007/09/13
Requerente: Aruze Gaming America, Inc.
Nacionalidade: norte-americana
Domicílio/Sede: 745 Grier Drive, Las Vegas, Nevada 89119, U.S.A.
Título: Sistema de jogos incluindo caça-níqueis e seu método de controlo de jogos.
Resumo: 一種遊戲系統包括:多個投幣式遊戲機,每個投幣式遊戲機包括控制器,該控制器用於至少對基礎遊戲和第二遊戲進行控制,而且當在基礎遊戲中滿足預定條 件時,使得轉換至第二遊戲;第二遊戲裝置,用於執行所述第二遊戲,該第二遊戲裝置被設置為與所述投幣式遊戲機物理上分離的裝置;顯示器,適於根據第二遊戲的遊戲狀態來顯示 圖像,該顯示器對於在所述投幣式遊戲機和所述第二遊戲裝置玩第二遊戲的多個玩家是可見的;以及中心控制器,能夠與所述投幣式遊戲機、第二遊戲裝置以及顯示器通訊。當在多個 投幣式遊戲機中的至少一個上滿足預定條件時,該中心控制器用於在從多個投幣式遊戲機中的至少一個收到第二遊戲開始訊號時,將執行第二遊戲的權利給予該投幣式遊戲機,以及, 基於玩家輸入的操作,確定是否行使執行第二遊戲的權利。在收到表示不行使執行第二遊戲的權利的訊號時,所述中心控制器給予第二遊戲對價。
Classificação: A63F9/24
Inventor: OKADA, Kazuo
Data de prioridade: 2006/09/13
País/Território de prioridade: ESTADOS UNIDOS
Número de prioridade: 60/844,114
Data de prioridade: 2006/12/15
País/Território de prioridade: ESTADOS UNIDOS
Número de prioridade: 11/639,153
Figura

Patente de invenção n.º: I/000566
Data do pedido: 2007/09/13
Requerente: Aruze Gaming America, Inc.
Nacionalidade: norte-americana
Domicílio/Sede: 745 Grier Drive, Las Vegas, Nevada 89119, U.S.A.
Título: Sistema de jogos incluindo caça-níqueis e seu método de controlo de jogos.
Resumo: 一種遊戲系統,包括:投幣式遊戲機,每個投幣式遊戲機包括控制器,該控制器可以至少對基礎遊戲和第二遊戲進行控制,並且當在基礎遊戲中滿足了預定條 件時,能夠轉換到第二遊戲;第二遊戲裝置,被設置為與投幣式遊戲機物理分離的裝置,用於執行第二遊戲;顯示器,適於根據第二遊戲的遊戲狀態顯示圖像,在投幣式遊戲機和第二 遊戲裝置上玩第二遊戲的多個玩家可以看到顯示器;以及中心控制器,可以與投幣式遊戲機、第二遊戲裝置以及顯示器通訊。當在多個投幣式遊戲機上執行的基礎遊戲滿足了預定條件 時,產生執行第二遊戲的權利,然後,發送請求開始執行第二遊戲的第二遊戲開始請求訊號。在中心控制器收到第二遊戲開始請求訊號,並且滿足了預定開始條件時,該中心控制器使 第二遊戲裝置開始與已發送第二遊戲開始請求訊號的投幣式遊戲機相關的第二遊戲。
Classificação:A63F9/24
Inventor: OKADA, Kazuo
Data de prioridade: 2006/09/13
País/Território de prioridade: ESTADOS UNIDOS
Número de prioridade: 60/844,119
Data de prioridade: 2006/12/15
País/Território de prioridade: ESTADOS UNIDOS
Número de prioridade: 11/639,170
Figura

Patente de invenção n.º: I/000567
Data do pedido: 2007/09/13
Requerente: Aruze Gaming America, Inc.
Nacionalidade: norte-americana
Domicílio/Sede: 745 Grier Drive, Las Vegas, Nevada 89119, U.S.A.
Título: Caça-níqueis e respectivo método de operação.
Resumo: 投幣式遊戲機,將由玩家的按壓觸摸板的操作所選擇的符號和與被選符號相同的並鄰接於被選符號的符號固定,以及,卷動除被固定的符號之外的符號。
Classificação: A63F9/24
Inventor: OKADA, Kazuo
Data de prioridade: 2006/09/13
País/Território de prioridade: ESTADOS UNIDOS
Número de prioridade: 60/844,121
Data de prioridade: 2007/04/24
País/Território de prioridade: ESTADOS UNIDOS
Número de prioridade: 11/790,186
Figura

Protecção de patentes de utilidade
De acordo com os artigos 10.º, 83.º e 84.º por remissão do artigo 124.º do RJPI, aprovado pelo Decreto-Lei n.º 97/99/M, de 13 de Dezembro, a seguir se publicam os pedidos de registo de patentes de utilidade para a RAEM, e a partir da data desta publicação até à data da atribuição da patente, qualquer terceiro pode apresentar reclamações.
Publicação de patentes de utilidade
Utilidade n.º: U/000026
Data do pedido: 2007/06/26
Requerente: Vu Un Wo
Nacionalidade: chinesa
Domicílio/Sede: 澳門氹仔成都街濠景花園25座9樓C座
Título: Recolhedor para biscoito de rolo de ovo.
Resumo: 本實用專利涉及一種蛋卷餅乾抽條,是一種用於取出蛋卷餅乾的裝置,它公開了有不少於一條的抽條,在抽條上的中部為座墊部,座墊部的兩側均為牽引部, 它能使取食蛋卷餅乾時保護蛋卷餅乾,不令其破碎,便於進食,並能提高進食興致。
Classificação: B65D83/00
Inventor: Vu Un Wo
Data de prioridade: 2007/03/14
País/Território de prioridade: R.P.CHINA
Número de prioridade: 200720049253.3
Figura

Utilidade n.º: U/000030
Data do pedido: 2007/12/03
Requerente: 任鵬飛
Nacionalidade: chinesa
Domicílio/Sede: 中國湖南省株洲縣淥口姚家嶺巷62號
Título: Um tipo de máquina automática repetida para embaralhar e distribuir cartas.
Resumo: 本實用公開了一種自動洗牌發牌機,包括:洗牌機構、收集器發牌機構、導向通道機構和殼體,紙牌盛放在洗牌機構中的一個裝牌盒中,通過裝牌盒的上下隨 機的移動,設置在洗牌機構上的刀片及彈射滾輪的配合下高速彈出紙牌,經過導向通道機構飛到收集器發牌機構進行收集,以達到洗牌的目的。然後通過發牌元件將其發到出牌機構, 出牌機構中設置有出牌嘴,可以實現輸出紙牌的功能。本實用自動洗牌發牌機具有體積小、結構合理、使用方便快捷,造價低的優點,並能夠完全符合多種紙牌遊戲需要。
Classificação: A63F1/12, A63F1/14
Inventor: 任鵬飛
Figura

Utilidade n.º: U/000033
Data do pedido: 2007/12/26
Requerente: 任鵬飛
Nacionalidade: chinesa
Domicílio/Sede: 中國湖南省株洲縣淥口鎮姚家嶺巷62號
Título: Um tipo de máquina automática repetida para embaralhar e distribuir cartas.
Resumo: 本實用公開了一種循環自動洗牌發牌機,包括:洗牌機構、發牌機構、導向通道機構和殼體,紙牌盛放在洗牌機構中的一個裝牌盒中,通過裝牌盒的上下隨機 的移動,設置在洗牌機構上的刀片及彈射滾轉的配合下高速彈出紙牌,經過導向通道機構飛到發牌機構進行收集,以達到洗牌的目的。然後通過發牌組件將其發到出牌機構,出牌機構 中設置有出牌嘴,可以實現輸出紙牌的功能。使用後的紙牌經洗牌機構的頂蓋設置的開口再次加入到裝牌盒中,實現紙牌的連續循環使用。本實用循環自動洗牌發牌具有體積小、結構 合理、使用方便快捷、造價低、工作穩定的優點,並能夠完全符合多種紙牌遊戲需要。
Classificação: A63F1/12, A63F1/14
Inventor: 任鵬飛
Figura

Protecção de desenhos e modelos
De acordo com os artigos 10.º e 165.º do RJPI, aprovado pelo Decreto-Lei n.º 97/99/M, de 13 de Dezembro, a seguir se publicam os pedidos de registo de desenhos e modelos para a RAEM e que, a partir da data desta publicação até à data da sua concessão, qualquer terceiro pode apresentar reclamações, em conformidade com o artigo 166.º do mesmo diploma.
Publicação de desenho ou modelo
Desenho n.º: D/000370
Data do pedido: 2007/03/23
Requerente: Degussa GmbH
Nacionalidade: alemã
Domicílio/Sede: Bennigsenplatz 1, DE-40474 Duesseldorf, Germany
Título: Recipientes.
Resumo: As características do desenho para o qual a novidade é reivindicada são a forma do padrão e a configuração do artigo conforme mostrado nas representações.
Classificação: 9 - 03
Criador: Heinz-Guenter Lux
Figura

Desenho n.º: D/000381
N.º do pedido inicial: D/000287
Data do pedido: 2006/05/09
Requerente: THE COCA-COLA COMPANY
Nacionalidade: norte-americana
Domicílio/Sede: One Coca-Cola Plaza, NW Altanta, Georgia 30313, United States of America
Título: Garrafa.
Resumo: Uma garrafa com um lóbulo superior e inferior, sendo os lóbulos substancialmente achatados com pés no lóbulo inferior.
Classificação: 9 - 01
| Criador: | Robert P. Grant |
| Malcolm Kinmont | |
| Tracy M. Momany | |
| Daniel L. Witham | |
| Jonathan A. McGurk | |
| Frank E. Semersky | |
| Barbara A. Balyeat | |
| Sumit Mukherjee | |
| David M. Ryan | |
| Robert J. Groll |
Martin T. Geithmann
Data de prioridade: 2005/11/10
País/Território de prioridade: ESTADOS UNIDOS
Número de prioridade: 29/242,590
Figura

Desenho n.º: D/000382
N.º do pedido inicial: D/000287
Data do pedido: 2006/05/09
Requerente: THE COCA-COLA COMPANY
Nacionalidade: norte-americana
Domicílio/Sede: One Coca-Cola Plaza, NW Altanta, Georgia 30313, United States of America
Título: Garrafa.
Resumo: Uma garrafa com um lóbulo superior e inferior, sendo os lóbulos substancialmente achatados com pés no lóbulo inferior.
Classificação: 9 - 01
| Criador: | Robert P. Grant |
| Malcolm Kinmont | |
| Tracy M. Momany | |
| Daniel L. Witham | |
| Jonathan A. McGurk | |
| Frank E. Semersky | |
| Barbara A. Balyeat | |
| Sumit Mukherjee | |
| David M. Ryan | |
| Robert J. Groll | |
| Martin T. Geithmann |
Data de prioridade: 2005/11/10
País/Território de prioridade: ESTADOS UNIDOS
Número de prioridade: 29/242,590
Figura

Desenho n.º: D/000383
N.º do pedido inicial: D/000288
Data do pedido: 2006/05/09
Requerente: THE COCA-COLA COMPANY
Nacionalidade: norte-americana
Domicílio/Sede: One Coca-Cola Plaza, NW Altanta, Georgia 30313, United States of America
Título: Garrafa.
Resumo: Uma garrafa com um lóbulo superior e inferior, sendo os lóbulos substancialmente achatados e separado por uma ligeira reentrância (separados por um espaço ligeiramente recortado). A garrafa apresenta também uma nervura interior e tem uma zona ligeiramente curva na base.
Classificação: 9 - 01
| Criador: | Robert P. Grant |
| Malcolm Kinmont | |
| Carie A. Davis | |
| Yves Behar | |
| Pichaya Puttorngul | |
| Qin Li | |
| Barbara A. Balyeat | |
| Tracy M. Momany | |
| David M. Ryan | |
| Martin T. Geithmann |
Data de prioridade: 2005/11/10
País/Território de prioridade: ESTADOS UNIDOS
Número de prioridade: 29/242,597
Figura

Desenho n.º: D/000397
Data do pedido: 2007/07/06
Requerente: Uni-Charm Corporation
Nacionalidade: japonesa
Domicílio/Sede: 182 Shimobun, Kinsei-cho, Shikokuchuo-shi, Ehime-ken 799-0111, Japan
Título: Fraldas descartáveis.
Resumo: Fraldas descartáveis.
Classificação: 2 - 01
| Criador: | TAKINO Shunsuke |
| TANJI Hiroyuki | |
| MAEDA Yuki |
Data de prioridade: 2007/02/02
País/Território de prioridade: R.P.CHINA
Número de prioridade: 200730004234.4
Figura

Desenho n.º: D/000398
Data do pedido: 2007/07/06
Requerente: Uni-Charm Corporation
Nacionalidade: japonesa
Domicílio/Sede: 182 Shimobun, Kinsei-cho, Shikokuchuo-shi, Ehime-ken 799-0111, Japan
Título: Fraldas descartáveis.
Resumo: Fraldas descartáveis.
Classificação: 2 - 01
| Criador: | TAKINO Shunsuke |
| TANJI Hiroyuki | |
| MAEDA Yuki |
Data de prioridade: 2007/01/30
País/Território de prioridade: R.P.CHINA
Número de prioridade: 200730001633.5
Figura

Desenho n.º: D/000399
Data do pedido: 2007/07/06
Requerente: Uni-Charm Corporation
Nacionalidade: japonesa
Domicílio/Sede: 182 Shimobun, Kinsei-cho, Shikokuchuo-shi, Ehime-ken 799-0111, Japan
Título: Fraldas descartáveis.
Resumo: Fraldas descartáveis.
Classificação: 2 - 01
| Criador: | TAKINO Shunsuke |
| TANJI Hiroyuki | |
| MAEDA Yuki |
Data de prioridade: 2007/02/02
País/Território de prioridade: R.P.CHINA
Número de prioridade: 200730004235.9
Figura

Desenho n.º: D/000400
Data do pedido: 2007/07/06
Requerente: Uni-Charm Corporation
Nacionalidade: japonesa
Domicílio/Sede: 182 Shimobun, Kinsei-cho, Shikokuchuo-shi, Ehime-ken 799-0111, Japan
Título: Fraldas descartáveis.
Resumo: Fraldas descartáveis.
Classificação: 2 - 01
| Criador: | TAKINO Shunsuke |
| TANJI Hiroyuki | |
| MAEDA Yuki |
Data de prioridade: 2007/01/30
País/Território de prioridade: R.P.CHINA
Número de prioridade: 200730001632.0
Figura

Desenho n.º: D/000401
Data do pedido: 2007/07/06
Requerente: Uni-Charm Corporation
Nacionalidade: japonesa
Domicílio/Sede: 182 Shimobun, Kinsei-cho, Shikokuchuo-shi, Ehime-ken 799-0111, Japan
Título: Fraldas descartáveis.
Resumo: Fraldas descartáveis.
Classificação: 2 - 01
| Criador: | TAKINO Shunsuke |
| TANJI Hiroyuki | |
| MAEDA Yuki |
Data de prioridade: 2007/01/25
País/Território de prioridade: R.P.CHINA
Número de prioridade: 200730001692.2
Figura

Desenho n.º: D/000402
Data do pedido: 2007/07/06
Requerente: Uni-Charm Corporation
Nacionalidade: japonesa
Domicílio/Sede: 182 Shimobun, Kinsei-cho, Shikokuchuo-shi, Ehime-ken 799-0111, Japan
Título: Fraldas descartáveis.
Resumo: Fraldas descartáveis.
Classificação: 2 - 01
| Criador: | TAKINO Shunsuke |
| TANJI Hiroyuki | |
| MAEDA Yuki |
Data de prioridade: 2007/01/25
País/Território de prioridade: R.P.CHINA
Número de prioridade: 200730001691.8
Figura

Desenho n.º: D/000409
Data do pedido: 2007/08/10
Requerente: Shell Brands International AG
Nacionalidade: suíça
Domicílio/Sede: Baarermatte, 6340 Baar, Switzerland
Título: Grelhas.
Resumo: Grelhas para fogão a gás butagaz.
Classificação: 7 - 02
Criador: Norbert Vernay
Data de prioridade: 2007/03/13
País/Território de prioridade: UNIÃO EUROPEIA
Número de prioridade: 000687496
Figura

Desenho n.º: D/000410
Data do pedido: 2007/08/10
Requerente: Shell Brands International AG
Nacionalidade: suíça
Domicílio/Sede: Baarermatte, 6340 Baar, Switzerland
Título: Fogão.
Resumo: Fogão a gás butagaz.
Classificação: 7 - 02
Criador: Norbert Vernay
Data de prioridade: 2007/03/13
País/Território de prioridade: UNIÃO EUROPEIA
Número de prioridade: 000687488
Figura

Desenho n.º: D/000416
Data do pedido: 2007/09/28
Requerente: CASINO’ MUNICIPALE DI VENEZIA S.p.A.
Nacionalidade: italiana
Domicílio/Sede: Ca Vendramin Calergi Cannaregio 2040, I-30121 Venezia, Italy
Título: Cintas transportadoras.
Resumo: Cinta transportadora utilizada para o transporte de objectos, tais como bagagem num sistema de manuseamento de bagagem em aeroportos. Tal cinta transportadora tem elementos que mostram as cores e os números típicos de uma roleta de casino.
As características do desenho para o qual a novidade é reivindicada são o padrão, ornamentos, formato e/ou configuração do artigo conforme mostrado nas representações.
Classificação: 12 - 05
Criador: Carlo PAGAN
Data de prioridade: 2007/03/29
País/Território de prioridade: UNIÃO EUROPEIA
Número de prioridade: 698352
Figura

Desenho n.º: D/000417
N.º do pedido inicial: D/000409
Data do pedido: 2007/08/10
Requerente: Shell Brands International AG
Nacionalidade: suíça
Domicílio/Sede: Baarermatte, 6340 Baar, Switzerland
Título: Tabuleiro.
Resumo: Tabuleiro para fogão a gás butagaz.
Classificação: 7 - 02
Criador: Norbert Vernay
Data de prioridade: 2007/03/13
País/Território de prioridade: UNIÃO EUROPEIA
Número de prioridade: 000687496
Figura

Desenho n.º: D/000418
N.º do pedido inicial: D/000409
Data do pedido: 2007/08/10
Requerente: Shell Brands International AG
Nacionalidade: suíça
Domicílio/Sede: Baarermatte, 6340 Baar, Switzerland
Título: Base.
Resumo: Base para fogão a gás butagaz.
Classificação: 7 - 02
Criador: Norbert Vernay
Data de prioridade: 2007/03/13
País/Território de prioridade: UNIÃO EUROPEIA
Número de prioridade: 000687496
Figura

Protecção de nomes e insígnias de estabelecimento
De acordo com os artigos 10.º e 243.º do RJPI, aprovado pelo Decreto-Lei n.º 97/99/M, de 13 de Dezembro, a seguir se publicam os pedidos de registo de nomes e insígnias de estabelecimento para a RAEM e que, da data da publicação do aviso, começa a contar-se o prazo de dois meses para a apresentação de reclamações, em conformidade com o artigo 244.º do mesmo diploma.
Publicação de nome ou insígnia de estabelecimento
Estabelecimento n.º: E/000109
Requerente: Chan U Peng
Sede: Rua de Coimbra, BL5 24.º andar, C, Taipa, Macau
Actividade: comercial
Data do pedido: 2008/01/21
Tipo de actividade: Venda a retalho de óculos.
Nome/Insígnia

Protecção de extensão de pedido de patente de invenção
De acordo com os artigos 10.º e 129.º a 135.º do RJPI, aprovado pelo Decreto-Lei n.º 97/99/M, de 13 de Dezembro, conjugados com os artigos 4.º e 5.º do «Acordo de Cooperação entre a Direcção Nacional da Propriedade Intelectual e a Direcção dos Serviços de Economia da RAEM na Área dos Direitos de Propriedade Intelectual», a seguir se publica a extensão de pedido(s) de patente de invenção.
Extensão de pedido de patente de invenção
N.º: J/000194
Data de pedido de extensão: 2008/01/29
Requerente: GIESECKE & DEVRIENT GmbH
Nacionalidade: alemã
Domicílio/Sede: Prinzregentenstrasse 159, D-81677 Munich, Germany
Título: Máquinas integradas de auto-serviço para casinos destinadas ao numerário, cupão e cartão com a função de emissão de cartão.
Resumo: 娛樂場用一體式自助服務機包括發卡單元,該發卡單元使能夠進行除了現金分發之外的自助服務註冊和娛樂場忠誠卡分發,以及券兌現功能。自助服務機也可 以適於提供諸如旅館登記住宿/結帳離開、預定和購券、以及贈券打印的輔助服務,並且還可以與金融服務網絡相結合,來提供金融和信用卡服務。
Data de pedido nacional: 2005/10/05
Número de pedido nacional: 200580034060.4
Data de publicação nacional: 2007/09/19
Número de publicação nacional: CN 101040291A
Classificação: G06Q40/00
Inventor: 小特德弗雷德.弗蘭克斯
Data de prioridade: 2004/10/05
País/Território de prioridade: ESTADOS UNIDOS
Número de prioridade: 60/615,583
Data de prioridade: 2005/10/03
País/Território de prioridade: ESTADOS UNIDOS
Número de prioridade: 11/240,486
Figura

Protecção de extensão de patente concedida
De acordo com os artigos 10.º e 129.º a 135.º do RJPI, aprovado pelo Decreto-Lei n.º 97/99/M, de 13 de Dezembro, conjugados com os artigos 4.º e 5.º do «Acordo de Cooperação entre a Direcção Nacional da Propriedade Intelectual e a Direcção dos Serviços de Economia da RAEM na Área dos Direitos de Propriedade Intelectual», a seguir se publica a extensão de patente(s) de invenção concedida(s).
Extensão de patente de invenção concedida
N.º: J/000185
Data de pedido de extensão: 2008/01/08
Data de despacho de extensão: 2008/03/05
Requerente: ISTITUTO DI RICERCHE DI BIOLOGIA MOLECOLARE P. ANGELETTI S.p.A.
Nacionalidade: italiana
Domicílio/Sede: Via Pontina Km 30.600. I-00040 Pomezia, Italy
Título: 用作HIV整合酶抑制劑的四氫-4H-吡啶并[1,2-a]嘧啶和相關化合物。
Resumo: 本發明描述了作為HIV整合酶的抑制劑和HIV複製的抑制劑的四氫-4H-吡啶並[1,2-a]嘧啶和式(I)的相關化合物,其中n為等於的0、1或2的 整數,以及R1、R3、R4、R12和R14在此被定義。這些化合物對於預防和治療由HIV引起的感染和在AIDS的預防、延遲發生和治療中是有用的。這些化合物以其本身 或其藥學上可接受的鹽的形式用於對抗HIV感染和AIDS。這些化合物和它們的鹽作為藥用組合物的成分,能夠任選與其它的抗病毒劑、免疫調節劑、抗生素或疫苗聯合使用。
Data de pedido nacional: 2003/12/18
Número de patente nacional: 200380109921.1
Data de publicação nacional: 2006/03/29
Data de anúncio nacional: 2007/10/17
Número de anúncio nacional: CN 1003343253C
Classificação: C07D471/04, A61K31/519, A61P31/18, C07D487/04, C07D239/00, C07D221/00, C07D223/00
| Inventor: | B.克雷申齊 |
| O.金策爾 | |
| E.穆拉利亞 | |
| F.奧爾維托 | |
| G.佩斯卡托雷 | |
| M.勞利 | |
| V.蘇馬 |
Data de prioridade: 2002/12/27
País/Território de prioridade: ESTADOS UNIDOS
Número de prioridade: 60/436,830
Data de prioridade: 2003/12/12
País/Território de prioridade: ESTADOS UNIDOS
Número de prioridade: 60/528,776
Figura

N.º: J/000188
Data de pedido de extensão: 2008/01/10
Data de despacho de extensão: 2008/03/05
Requerente: TAKEDA CHEMICAL INDUSTRIES, LTD.
Nacionalidade: japonesa
Domicílio/Sede: 1-1, Doshomachi, 4 chome, Chuo-Ku, Osaka-shi, Osaka 541-0045, Japan
Título: 苯并咪唑衍生物晶體及其製備。
Resumo: 本發明涉及苯并咪唑衍生物晶體及其製備,更具體地說,本發明涉及一種基本無溶劑的穩定的式(I)化合物或其鹽的晶體,其中A環可以任選地被取代,R1表 示氫或N-保護基,R2、R3和R4各自是(1)氫原子,(2)任選地被鹵原子取代的烷基,或(3)任選地被鹵原子或烷氧基取代的烷氧基,它是以一種利於工業化的方法將式 (I)化合物或其鹽的溶劑化物進行去溶劑化處理製得。
Data de pedido nacional: 1997/11/13
Número de patente nacional: 200410078970.X
Data de publicação nacional: 2005/05/18
Data de anúncio nacional: 2007/12/19
Número de anúncio nacional: CN 100355749C
Classificação: C07D401/12
| Inventor: | 加藤昌靖 |
| 石田徹 |
Data de prioridade: 1996/11/14
País/Território de prioridade: JAPÃO
Número de prioridade: 303361/96
Figura

N.º: J/000189
Data de pedido de extensão: 2008/01/15
Data de despacho de extensão: 2008/03/05
Requerente: PFIZER INC.
Nacionalidade: americana
Domicílio/Sede: 235 East 42nd Street, New York, NY 10017-5755, U.S.A.
Título: 用於製備具有治療作用的莨菪烷衍生物的中間體。
Resumo: 本發明涉及式(I)化合物、其可藥用鹽和溶劑化物,其中R1是任選被一個或多個氟原子取代的C3-6環烷基、或任選被一個或多個氟原子取代的C1-6烷 基、或任選在環上被一個或多個氟原子取代的C3-6環烷基甲基;且R2是任選被一個或多個氟原子取代的苯基,其製備方法,用於其製備的中間體,含有所述化合物的組合物,以 及所述化合物的應用。
Data de pedido nacional: 2001/05/09
Número de patente nacional: 200510006815.1
Data de publicação nacional: 2005/10/12
Data de anúncio nacional: 2007/12/19
Número de anúncio nacional: CN 100355753C
Classificação: C07D451/04, C07C233/48, C07C233/19, C07C233/31
| Inventor: | M.派洛斯 |
| D.A.普利斯 | |
| B.L.C.司塔曼 | |
| A.伍德 |
Data de prioridade: 2000/05/26
País/Território de prioridade: REINO UNIDO
Número de prioridade: 0014046.7
Data de prioridade: 2000/06/27
País/Território de prioridade: REINO UNIDO
Número de prioridade: 0015835.2
Figura

N.º: J/000190
Data de pedido de extensão: 2008/01/21
Data de despacho de extensão: 2008/03/05
Requerente: Aruze Corp.
Nacionalidade: japonesa
Domicílio/Sede: 3-1-25, Ariake, Koto-Ku, Tokyo 135-0063 Japan
Título: Máquina de jogos.
Resumo: 本發明的遊戲機具有:機櫃,用於容納進行遊戲所需的遊戲單元;安裝台,其設置在所述機櫃內的用於容納所述遊戲單元的機架部內;以及開/關門,能夠關 閉所述機架部的開口部,並被放置為向上傾斜的形式。所述安裝台具有向下傾斜的結構,使得所述安裝台的背側低於其位於所述開口部的一側。
Data de pedido nacional: 2004/10/08
Número de patente nacional: 200410088042.1
Data de publicação nacional: 2005/05/18
Data de anúncio nacional: 2007/12/12
Número de anúncio nacional: CN 100354018C
Classificação: A63F13/00, G07F17/32
Inventor: 井澤尚司
Data de prioridade: 2003/10/08
País/Território de prioridade: JAPÃO
Número de prioridade: 2003-349899
Data de prioridade: 2004/09/24
País/Território de prioridade: JAPÃO
Número de prioridade: 2004-276891
Figura

N.º: J/000191
Data de pedido de extensão: 2008/01/22
Data de despacho de extensão: 2008/03/05
Requerente: Koretide Corp.
Nacionalidade: chinesa
Domicílio/Sede: Room 17200, Building 16# 498 Guoshoujing Road, Pudong Newarea Shanghai, 201203 P.R. China
Título: Método de teste de estrutura automático.
Resumo: 本發明涉及一種自動化測試構建方法,其中,該方法包括:得到最新的被測試對象、得到最新測試程序、生成運行測試程序列表、運行相應的測試程序得到運 行輸出結果、生成原始出錯測試程序列表、將該出錯測試程序列表導入缺陷管理系統、生成測試構建報告並將測試結果輸出、對相應的缺陷狀態進行修改、在下一次測試構建過程開始 時生成新的運行出錯測試程序列表的步驟。採用以上步驟的自動化測試構建方法,使得缺陷的發現和修復後的驗證都能自動完成,提高了開發和測試的效率,保證了一個開發團隊共享 統一的代碼源,使得集成測試的效率大大提高,保證了執行過程的可靠性和缺陷定位的準確性,同時為產品的質量提供可供參考的依據。
Data de pedido nacional: 2004/12/08
Número de patente nacional: 200410089204.3
Data de publicação nacional: 2005/08/03
Data de anúncio nacional: 2007/11/07
Número de anúncio nacional: CN 100347682C
Classificação: G06F11/36
| Inventor: | 吳季風 |
| 張軍 | |
| 熊桂平 | |
| 陳榕 |
Figura

N.º: J/000192
Data de pedido de extensão: 2008/01/22
Data de despacho de extensão: 2008/03/05
Requerente: Koretide Corp.
Nacionalidade: chinesa
Domicílio/Sede: Room 17200, Building 16# 498 Guoshoujing Road, Pudong Newarea Shanghai, 201203 P.R. China
Título: Método de gestão do ciclo de vida de componente de longa distância utilizando o tipo como unidade.
Resumo: 本發明涉及一種以類為單位的遠程構件生命週期的管理方法,該方法包括:創建與遠程構件對象相對應的存根對象、代理對象;通過調用AddRef和Release方 法對存根對象、代理對象的引用計數器的值進行增減;在條件具備的情況下釋放系統資源、註銷相關註冊信息。本發明通過引用計數來動態控制構件對象以及存根對象,代理對象的存 活期,大大減少了接口之間的遠程消耗,更符合構件對象模型;同時代理,存根的引用計數的優化使用戶對構件生命週期管理操作最大限度的控制在本地進行處理,方便了用戶使用, 也節省了系統資源。
Data de pedido nacional: 2006/08/03
Número de patente nacional: 200610029729.7
Data de publicação nacional: 2007/01/03
Data de anúncio nacional: 2007/12/26
Número de anúncio nacional: CN 100357889C
Classificação: G06F9/44
| Inventor: | 蘇翼鵬 |
| 劉亞東 | |
| 梁宇洲 | |
| 陳榕 | |
| 王晨輝 |
Figura

Em conformidade com a alínea d) dos n.os 1 e 2 do artigo 10.º do RJPI, aprovado pelo Decreto-Lei n.º 97/99/M, de 13 de De-zembro, e de acordo com os artigos 275.º a 277.º do referido diploma, cabe recurso para o Tribunal Judicial de Base, dos despachos abaixo mencionados, no prazo de um mês a contar da data desta publicação.
Protecção de marcas
Concessões
| Processo n.º | Data do registo | Data do despacho | Nome do titular | País/Território resid. | Classe |
| 1 N/017830 | 2008/02/25 | 2008/02/25 | 皇冠有限公司 Crown Limited |
AU | 41 |
| 1 N/017831 | 2008/02/25 | 2008/02/25 | 皇冠有限公司 Crown Limited |
AU | 42 |
| 1 N/017833 | 2008/02/25 | 2008/02/25 | 皇冠有限公司 Crown Limited |
AU | 41 |
| 2 N/018553 | 2008/02/25 | 2008/02/25 | 皇冠有限公司 Crown Limited |
AU | 39 |
| 2 N/018554 | 2008/02/25 | 2008/02/25 | 皇冠有限公司 Crown Limited |
AU | 41 |
| 2 N/018555 | 2008/02/25 | 2008/02/25 | 皇冠有限公司 Crown Limited |
AU | 42 |
| 3 N/021598 | 2008/02/25 | 2008/02/25 | Six Continents Hotels, Inc. | US | 42 |
| 4 N/022572 | 2008/02/25 | 2008/02/25 | PROGRESSIVE GAMING INTERNATIONAL CORPORATION | US | 28 |
| 4 N/022573 | 2008/02/25 | 2008/02/25 | PROGRESSIVE GAMING INTERNATIONAL CORPORATION | US | 41 |
| 5 N/022591 | 2008/02/25 | 2008/02/25 | Crown Limited | AU | 35 |
| 5 N/022592 | 2008/02/25 | 2008/02/25 | Crown Limited | AU | 41 |
| 5 N/022593 | 2008/02/25 | 2008/02/25 | Crown Limited | AU | 43 |
| 6 N/022594 | 2008/02/25 | 2008/02/25 | Crown Limited | AU | 35 |
| 6 N/022595 | 2008/02/25 | 2008/02/25 | Crown Limited | AU | 41 |
| 6 N/022596 | 2008/02/25 | 2008/02/25 | Crown Limited | AU | 43 |
| 7 N/022597 | 2008/02/25 | 2008/02/25 | Crown Limited | AU | 35 |
| 7 N/022598 | 2008/02/25 | 2008/02/25 | Crown Limited | AU | 41 |
| 7 N/022599 | 2008/02/25 | 2008/02/25 | Crown Limited | AU | 43 |
| 4 N/024098 | 2008/02/25 | 2008/02/25 | WYNN RESORTS HOLDINGS, LLC | US | 41 |
| 8 N/024574 | 2008/02/25 | 2008/02/25 | Tiger Airways Pte. Ltd. | SG | 39 |
| 9 N/024575 | 2008/02/25 | 2008/02/25 | Tiger Airways Pte. Ltd. | SG | 39 |
| N/026147 | 2008/02/25 | 2008/02/25 | PREFERRED GUEST, INC. | US | 35 |
| N/026148 | 2008/02/25 | 2008/02/25 | PREFERRED GUEST, INC. | US | 43 |
| 10 N/026665 | 2008/02/25 | 2008/02/25 | MELCO PBL ENTERTAINMENT (Macau) LIMITED | KY | 35 |
| 10 N/026668 | 2008/02/25 | 2008/02/25 | MELCO PBL ENTERTAINMENT (Macau) LIMITED | KY | 36 |
| 10 N/026671 | 2008/02/25 | 2008/02/25 | MELCO PBL ENTERTAINMENT (Macau) LIMITED | KY | 37 |
| 10 N/026674 | 2008/02/25 | 2008/02/25 | MELCO PBL ENTERTAINMENT (Macau) LIMITED | KY | 39 |
| 10 N/026677 | 2008/02/25 | 2008/02/25 | MELCO PBL ENTERTAINMENT (Macau) LIMITED | KY | 41 |
| 10 N/026680 | 2008/02/25 | 2008/02/25 | MELCO PBL ENTERTAINMENT (Macau) LIMITED | KY | 43 |
| 10 N/026683 | 2008/02/25 | 2008/02/25 | MELCO PBL ENTERTAINMENT (Macau) LIMITED | KY | 45 |
| 10 N/026723 | 2008/02/25 | 2008/02/25 | MELCO PBL ENTERTAINMENT (Macau) LIMITED | KY | 35 |
| 10 N/026725 | 2008/02/25 | 2008/02/25 | MELCO PBL ENTERTAINMENT (Macau) LIMITED | KY | 36 |
| 10 N/026727 | 2008/02/25 | 2008/02/25 | MELCO PBL ENTERTAINMENT (Macau) LIMITED | KY | 37 |
| 10 N/026729 | 2008/02/25 | 2008/02/25 | MELCO PBL ENTERTAINMENT (Macau) LIMITED | KY | 39 |
| 10 N/026731 | 2008/02/25 | 2008/02/25 | MELCO PBL ENTERTAINMENT (Macau) LIMITED | KY | 41 |
| 10 N/026733 | 2008/02/25 | 2008/02/25 | MELCO PBL ENTERTAINMENT (Macau) LIMITED | KY | 43 |
| 10 N/026735 | 2008/02/25 | 2008/02/25 | MELCO PBL ENTERTAINMENT (Macau) LIMITED | KY | 45 |
| 11 N/026883 | 2008/02/25 | 2008/02/25 | Baccarat Plus Enterprises, Inc. | US | 28 |
| 12 N/026935 | 2008/02/25 | 2008/02/25 | 尼維達企業有限公司 Nivada PRC Limited |
CK | 14 |
| N/027380 | 2008/02/25 | 2008/02/25 | Washington Speakers Bureau, Inc. | US | 41 |
| N/027381 | 2008/02/25 | 2008/02/25 | Washington Speakers Bureau, Inc. | US | 41 |
| 13 N/027739 | 2008/02/25 | 2008/02/25 | Deutsche Bahn AG | DE | 16 |
| 13 N/027740 | 2008/02/25 | 2008/02/25 | Deutsche Bahn AG | DE | 20 |
| 13 N/027741 | 2008/02/25 | 2008/02/25 | Deutsche Bahn AG | DE | 39 |
| N/028059 | 2008/02/25 | 2008/02/25 | THE COCA-COLA COMPANY | US | 30 |
| N/028060 | 2008/02/25 | 2008/02/25 | THE COCA-COLA COMPANY | US | 32 |
| 4 N/028132 | 2008/02/25 | 2008/02/25 | IGT | US | 09 |
| N/028200 | 2008/02/25 | 2008/02/25 | Best Western International, Inc. | US | 43 |
| N/028244 | 2008/02/25 | 2008/02/25 | Crown Limited | AU | 35 |
| N/028245 | 2008/02/25 | 2008/02/25 | Crown Limited | AU | 39 |
| N/028246 | 2008/02/25 | 2008/02/25 | Crown Limited | AU | 41 |
| 14 N/028247 | 2008/02/25 | 2008/02/25 | Crown Limited | AU | 43 |
| N/028491 | 2008/02/25 | 2008/02/25 | Six Continents Hotels, Inc. | US | 35 |
| 15 N/028607 | 2008/02/27 | 2008/02/27 | 十六號碼頭德興(澳門)海鮮火鍋集團有限公司 PONTE 16 TAK HENG (MACAU) SEAFOOD HOT POT GROUP LIMITED |
MO | 43 |
| 16 N/028654 | 2008/02/25 | 2008/02/25 | Crown Limited | AU | 41 |
| 16 N/028655 | 2008/02/25 | 2008/02/25 | Crown Limited | AU | 43 |
| 16 N/028656 | 2008/02/25 | 2008/02/25 | Crown Limited | AU | 39 |
| 16 N/028657 | 2008/02/25 | 2008/02/25 | Crown Limited | AU | 35 |
| 17 N/028658 | 2008/02/25 | 2008/02/25 | Crown Limited | AU | 43 |
| 17 N/028659 | 2008/02/25 | 2008/02/25 | Crown Limited | AU | 41 |
| 17 N/028660 | 2008/02/25 | 2008/02/25 | Crown Limited | AU | 39 |
| 17 N/028661 | 2008/02/25 | 2008/02/25 | Crown Limited | AU | 35 |
| 16 N/028662 | 2008/02/25 | 2008/02/25 | Crown Limited | AU | 43 |
| 16 N/028663 | 2008/02/25 | 2008/02/25 | Crown Limited | AU | 41 |
| 16 N/028664 | 2008/02/25 | 2008/02/25 | Crown Limited | AU | 39 |
| 16 N/028665 | 2008/02/25 | 2008/02/25 | Crown Limited | AU | 35 |
| N/028777 | 2008/02/25 | 2008/02/25 | Crown Limited | AU | 35 |
| N/028966 | 2008/02/25 | 2008/02/25 | MARTELL & Co. | FR | 33 |
| N/028969 | 2008/02/25 | 2008/02/25 | High Tech Computer Corp. | TW | 09 |
| 4 N/029121 | 2008/02/25 | 2008/02/25 | DEQ系統有限公司 DEQ SYSTEMS CORP. |
CA | 09 |
| 4 N/029122 | 2008/02/25 | 2008/02/25 | DEQ系統有限公司 DEQ SYSTEMS CORP. |
CA | 28 |
| 4 N/029123 | 2008/02/25 | 2008/02/25 | DEQ系統有限公司 DEQ SYSTEMS CORP. |
CA | 41 |
| 4 N/029124 | 2008/02/25 | 2008/02/25 | DEQ系統有限公司 DEQ SYSTEMS CORP. |
CA | 09 |
| 4 N/029125 | 2008/02/25 | 2008/02/25 | DEQ系統有限公司 DEQ SYSTEMS CORP. |
CA | 28 |
| 4 N/029126 | 2008/02/25 | 2008/02/25 | DEQ系統有限公司 DEQ SYSTEMS CORP. |
CA | 41 |
| N/029398 | 2008/02/25 | 2008/02/25 | Sa Sa Overseas Limited | VG | 03 |
| N/029399 | 2008/02/25 | 2008/02/25 | Sa Sa Overseas Limited | VG | 05 |
| N/029400 | 2008/02/25 | 2008/02/25 | Sa Sa Overseas Limited | VG | 21 |
| N/029401 | 2008/02/25 | 2008/02/25 | Sa Sa Overseas Limited | VG | 35 |
| N/029402 | 2008/02/25 | 2008/02/25 | Sa Sa Overseas Limited | VG | 41 |
| N/029403 | 2008/02/25 | 2008/02/25 | Sa Sa Overseas Limited | VG | 44 |
| N/029404 | 2008/02/25 | 2008/02/25 | Sa Sa Overseas Limited | VG | 03 |
| N/029405 | 2008/02/25 | 2008/02/25 | Sa Sa Overseas Limited | VG | 05 |
| N/029406 | 2008/02/25 | 2008/02/25 | Sa Sa Overseas Limited | VG | 21 |
| N/029407 | 2008/02/25 | 2008/02/25 | Sa Sa Overseas Limited | VG | 35 |
| N/029408 | 2008/02/25 | 2008/02/25 | Sa Sa Overseas Limited | VG | 41 |
| N/029409 | 2008/02/25 | 2008/02/25 | Sa Sa Overseas Limited | VG | 44 |
| N/029559 | 2008/02/25 | 2008/02/25 | 利威雷順環球公司 Live Nation Worldwide, Inc. |
US | 09 |
| N/029560 | 2008/02/25 | 2008/02/25 | 利威雷順環球公司 Live Nation Worldwide, Inc. |
US | 16 |
| N/029561 | 2008/02/25 | 2008/02/25 | 利威雷順環球公司 Live Nation Worldwide, Inc. |
US | 18 |
| N/029562 | 2008/02/25 | 2008/02/25 | 利威雷順環球公司 Live Nation Worldwide, Inc. |
US | 25 |
| N/029563 | 2008/02/25 | 2008/02/25 | 利威雷順環球公司 Live Nation Worldwide, Inc. |
US | 26 |
| N/029564 | 2008/02/25 | 2008/02/25 | 利威雷順環球公司 Live Nation Worldwide, Inc. |
US | 35 |
| N/029565 | 2008/02/25 | 2008/02/25 | 利威雷順環球公司 Live Nation Worldwide, Inc. |
US | 38 |
| 18 N/029566 | 2008/02/25 | 2008/02/25 | 利威雷順環球公司 Live Nation Worldwide, Inc. |
US | 41 |
| N/029567 | 2008/02/25 | 2008/02/25 | 利威雷順環球公司 Live Nation Worldwide, Inc. |
US | 09 |
| N/029568 | 2008/02/25 | 2008/02/25 | 利威雷順環球公司 Live Nation Worldwide, Inc. |
US | 16 |
| N/029569 | 2008/02/25 | 2008/02/25 | 利威雷順環球公司 Live Nation Worldwide, Inc. |
US | 18 |
| N/029570 | 2008/02/25 | 2008/02/25 | 利威雷順環球公司 Live Nation Worldwide, Inc. |
US | 25 |
| N/029571 | 2008/02/25 | 2008/02/25 | 利威雷順環球公司 Live Nation Worldwide, Inc. |
US | 26 |
| N/029572 | 2008/02/25 | 2008/02/25 | 利威雷順環球公司 Live Nation Worldwide, Inc. |
US | 35 |
| N/029573 | 2008/02/25 | 2008/02/25 | 利威雷順環球公司 Live Nation Worldwide, Inc. |
US | 38 |
| 19 N/029574 | 2008/02/25 | 2008/02/25 | 利威雷順環球公司 Live Nation Worldwide, Inc. |
US | 41 |
| N/029575 | 2008/02/25 | 2008/02/25 | 利威雷順環球公司 Live Nation Worldwide, Inc. |
US | 09 |
| N/029576 | 2008/02/25 | 2008/02/25 | 利威雷順環球公司 Live Nation Worldwide, Inc. |
US | 16 |
| N/029577 | 2008/02/25 | 2008/02/25 | 利威雷順環球公司 Live Nation Worldwide, Inc. |
US | 18 |
| N/029578 | 2008/02/25 | 2008/02/25 | 利威雷順環球公司 Live Nation Worldwide, Inc. |
US | 25 |
| N/029579 | 2008/02/25 | 2008/02/25 | 利威雷順環球公司 Live Nation Worldwide, Inc. |
US | 26 |
| N/029580 | 2008/02/25 | 2008/02/25 | 利威雷順環球公司 Live Nation Worldwide, Inc. |
US | 35 |
| N/029581 | 2008/02/25 | 2008/02/25 | 利威雷順環球公司 Live Nation Worldwide, Inc. |
US | 38 |
| N/029582 | 2008/02/25 | 2008/02/25 | 利威雷順環球公司 Live Nation Worldwide, Inc. |
US | 41 |
| N/029596 | 2008/02/25 | 2008/02/25 | Playboy Enterprises International, Inc. | US | 41 |
| N/029613 | 2008/02/25 | 2008/02/25 | Playboy Enterprises International, Inc. | US | 43 |
| N/029614 | 2008/02/25 | 2008/02/25 | Playboy Enterprises International, Inc. | US | 41 |
| N/029615 | 2008/02/25 | 2008/02/25 | Playboy Enterprises International, Inc. | US | 43 |
| N/029772 | 2008/02/25 | 2008/02/25 | PHILIP MORRIS PRODUCTS S.A. | CH | 34 |
| N/029798 | 2008/02/25 | 2008/02/25 | Société des Hôtels Méridien | FR | 36 |
| N/029799 | 2008/02/25 | 2008/02/25 | Société des Hôtels Méridien | FR | 39 |
| N/029800 | 2008/02/25 | 2008/02/25 | Société des Hôtels Méridien | FR | 41 |
| N/029801 | 2008/02/25 | 2008/02/25 | Société des Hôtels Méridien | FR | 43 |
| N/029803 | 2008/02/25 | 2008/02/25 | Crown Limited | AU | 16 |
| N/029804 | 2008/02/25 | 2008/02/25 | Crown Limited | AU | 17 |
| N/029805 | 2008/02/25 | 2008/02/25 | Crown Limited | AU | 20 |
| N/029806 | 2008/02/25 | 2008/02/25 | Crown Limited | AU | 21 |
| N/029807 | 2008/02/25 | 2008/02/25 | Crown Limited | AU | 22 |
| N/029808 | 2008/02/25 | 2008/02/25 | Crown Limited | AU | 24 |
| N/029809 | 2008/02/25 | 2008/02/25 | Crown Limited | AU | 25 |
| N/029810 | 2008/02/25 | 2008/02/25 | Crown Limited | AU | 26 |
| N/029811 | 2008/02/25 | 2008/02/25 | Crown Limited | AU | 28 |
| N/029812 | 2008/02/25 | 2008/02/25 | Crown Limited | AU | 29 |
| N/029813 | 2008/02/25 | 2008/02/25 | Crown Limited | AU | 30 |
| N/029814 | 2008/02/25 | 2008/02/25 | Crown Limited | AU | 32 |
| N/029815 | 2008/02/25 | 2008/02/25 | Crown Limited | AU | 33 |
| N/029816 | 2008/02/25 | 2008/02/25 | Crown Limited | AU | 34 |
| N/029817 | 2008/02/25 | 2008/02/25 | Crown Limited | AU | 35 |
| N/029818 | 2008/02/25 | 2008/02/25 | Crown Limited | AU | 36 |
| N/029819 | 2008/02/25 | 2008/02/25 | Crown Limited | AU | 37 |
| N/029820 | 2008/02/25 | 2008/02/25 | Crown Limited | AU | 38 |
| N/029821 | 2008/02/25 | 2008/02/25 | Crown Limited | AU | 40 |
| N/029822 | 2008/02/25 | 2008/02/25 | Crown Limited | AU | 42 |
| N/029823 | 2008/02/25 | 2008/02/25 | Crown Limited | AU | 44 |
| N/029824 | 2008/02/25 | 2008/02/25 | Crown Limited | AU | 45 |
| 1 N/029825 | 2008/02/25 | 2008/02/25 | Crown Limited | AU | 16 |
| 1 N/029826 | 2008/02/25 | 2008/02/25 | Crown Limited | AU | 17 |
| 1 N/029827 | 2008/02/25 | 2008/02/25 | Crown Limited | AU | 18 |
| 1 N/029828 | 2008/02/25 | 2008/02/25 | Crown Limited | AU | 20 |
| 1 N/029829 | 2008/02/25 | 2008/02/25 | Crown Limited | AU | 21 |
| 1 N/029830 | 2008/02/25 | 2008/02/25 | Crown Limited | AU | 22 |
| 1 N/029831 | 2008/02/25 | 2008/02/25 | Crown Limited | AU | 24 |
| 1 N/029832 | 2008/02/25 | 2008/02/25 | Crown Limited | AU | 25 |
| 1 N/029833 | 2008/02/25 | 2008/02/25 | Crown Limited | AU | 26 |
| 1 N/029834 | 2008/02/25 | 2008/02/25 | Crown Limited | AU | 27 |
| 1 N/029835 | 2008/02/25 | 2008/02/25 | Crown Limited | AU | 28 |
| 1 N/029836 | 2008/02/25 | 2008/02/25 | Crown Limited | AU | 29 |
| 1 N/029837 | 2008/02/25 | 2008/02/25 | Crown Limited | AU | 30 |
| 1 N/029838 | 2008/02/25 | 2008/02/25 | Crown Limited | AU | 32 |
| 1 N/029839 | 2008/02/25 | 2008/02/25 | Crown Limited | AU | 33 |
| 1 N/029840 | 2008/02/25 | 2008/02/25 | Crown Limited | AU | 34 |
| 1 N/029841 | 2008/02/25 | 2008/02/25 | Crown Limited | AU | 35 |
| 1 N/029842 | 2008/02/25 | 2008/02/25 | Crown Limited | AU | 36 |
| 1 N/029843 | 2008/02/25 | 2008/02/25 | Crown Limited | AU | 37 |
| 1 N/029844 | 2008/02/25 | 2008/02/25 | Crown Limited | AU | 38 |
| 1 N/029845 | 2008/02/25 | 2008/02/25 | Crown Limited | AU | 40 |
| 1 N/029846 | 2008/02/25 | 2008/02/25 | Crown Limited | AU | 42 |
| 1 N/029847 | 2008/02/25 | 2008/02/25 | Crown Limited | AU | 44 |
| 1 N/029848 | 2008/02/25 | 2008/02/25 | Crown Limited | AU | 45 |
| N/029849 | 2008/02/25 | 2008/02/25 | Crown Limited | AU | 16 |
| N/029850 | 2008/02/25 | 2008/02/25 | Crown Limited | AU | 17 |
| N/029851 | 2008/02/25 | 2008/02/25 | Crown Limited | AU | 18 |
| N/029852 | 2008/02/25 | 2008/02/25 | Crown Limited | AU | 20 |
| N/029853 | 2008/02/25 | 2008/02/25 | Crown Limited | AU | 21 |
| N/029854 | 2008/02/25 | 2008/02/25 | Crown Limited | AU | 22 |
| N/029855 | 2008/02/25 | 2008/02/25 | Crown Limited | AU | 24 |
| N/029856 | 2008/02/25 | 2008/02/25 | Crown Limited | AU | 25 |
| N/029857 | 2008/02/25 | 2008/02/25 | Crown Limited | AU | 26 |
| N/029858 | 2008/02/25 | 2008/02/25 | Crown Limited | AU | 27 |
| N/029859 | 2008/02/25 | 2008/02/25 | Crown Limited | AU | 28 |
| N/029860 | 2008/02/25 | 2008/02/25 | Crown Limited | AU | 29 |
| N/029861 | 2008/02/25 | 2008/02/25 | Crown Limited | AU | 30 |
| N/029862 | 2008/02/25 | 2008/02/25 | Crown Limited | AU | 32 |
| N/029863 | 2008/02/25 | 2008/02/25 | Crown Limited | AU | 33 |
| N/029864 | 2008/02/25 | 2008/02/25 | Crown Limited | AU | 34 |
| N/029865 | 2008/02/25 | 2008/02/25 | Crown Limited | AU | 35 |
| N/029866 | 2008/02/25 | 2008/02/25 | Crown Limited | AU | 36 |
| N/029867 | 2008/02/25 | 2008/02/25 | Crown Limited | AU | 37 |
| N/029868 | 2008/02/25 | 2008/02/25 | Crown Limited | AU | 38 |
| N/029869 | 2008/02/25 | 2008/02/25 | Crown Limited | AU | 40 |
| N/029870 | 2008/02/25 | 2008/02/25 | Crown Limited | AU | 42 |
| N/029871 | 2008/02/25 | 2008/02/25 | Crown Limited | AU | 44 |
| N/029872 | 2008/02/25 | 2008/02/25 | Crown Limited | AU | 45 |
| N/029951 | 2008/02/25 | 2008/02/25 | Marie Claire Netherlands B.V. | NL | 25 |
| N/030018 | 2008/02/25 | 2008/02/25 | CESPA S.R.L. | IT | 09 |
| N/030019 | 2008/02/25 | 2008/02/25 | CESPA S.R.L. | IT | 14 |
| N/030020 | 2008/02/25 | 2008/02/25 | CESPA S.R.L. | IT | 18 |
| N/030021 | 2008/02/25 | 2008/02/25 | CESPA S.R.L. | IT | 25 |
| N/030029 | 2008/02/25 | 2008/02/25 | DKSH Hong Kong Limited | HK | 35 |
| N/030136 | 2008/02/25 | 2008/02/25 | UTERQÜE, S.A. | ES | 03 |
| N/030137 | 2008/02/25 | 2008/02/25 | UTERQÜE, S.A. | ES | 09 |
| N/030138 | 2008/02/25 | 2008/02/25 | UTERQÜE, S.A. | ES | 14 |
| N/030139 | 2008/02/25 | 2008/02/25 | UTERQÜE, S.A. | ES | 18 |
| N/030140 | 2008/02/25 | 2008/02/25 | UTERQÜE, S.A. | ES | 25 |
| N/030141 | 2008/02/25 | 2008/02/25 | UTERQÜE, S.A. | ES | 26 |
| N/030142 | 2008/02/25 | 2008/02/25 | UTERQÜE, S.A. | ES | 34 |
| N/030143 | 2008/02/25 | 2008/02/25 | UTERQÜE, S.A. | ES | 35 |
| 20 N/030277 | 2008/02/25 | 2008/02/25 | Cantor Fitzgerald Securities | US | 09 |
| 20 N/030278 | 2008/02/25 | 2008/02/25 | Cantor Fitzgerald Securities | US | 45 |
| 20 N/030279 | 2008/02/25 | 2008/02/25 | Cantor Fitzgerald Securities | US | 41 |
| N/030288 | 2008/02/25 | 2008/02/25 | Flowil International Lighting (Holding) B.V. | NL | 09 |
| N/030289 | 2008/02/25 | 2008/02/25 | Flowil International Lighting (Holding) B.V. | NL | 11 |
| N/030295 | 2008/02/25 | 2008/02/25 | ACCOR | FR | 35 |
| N/030296 | 2008/02/25 | 2008/02/25 | ACCOR | FR | 36 |
| 21 N/030297 | 2008/02/25 | 2008/02/25 | ACCOR | FR | 43 |
| N/030301 | 2008/02/25 | 2008/02/25 | 中國對外貿易運輸(集團)總公司 | CN | 39 |
| N/030302 | 2008/02/25 | 2008/02/25 | 中國對外貿易運輸(集團)總公司 | CN | 35 |
| N/030337 | 2008/02/25 | 2008/02/25 | Cavalia Productions Limited Company | HU | 41 |
| 22 N/030339 | 2008/02/25 | 2008/02/25 | ISS A/S | DK | 35 |
| 22 N/030340 | 2008/02/25 | 2008/02/25 | ISS A/S | DK | 36 |
| 22 N/030342 | 2008/02/25 | 2008/02/25 | ISS A/S | DK | 41 |
| 22 N/030343 | 2008/02/25 | 2008/02/25 | ISS A/S | DK | 42 |
| 22 N/030344 | 2008/02/25 | 2008/02/25 | ISS A/S | DK | 43 |
| 22 N/030345 | 2008/02/25 | 2008/02/25 | ISS A/S | DK | 44 |
| 22 N/030346 | 2008/02/25 | 2008/02/25 | ISS A/S | DK | 45 |
| N/030350 | 2008/02/25 | 2008/02/25 | S. C. Johnson & Son, Inc. | US | 05 |
| N/030351 | 2008/02/25 | 2008/02/25 | Research In Motion Limited | CA | 09 |
| N/030352 | 2008/02/25 | 2008/02/25 | Research In Motion Limited | CA | 38 |
| N/030384 | 2008/02/25 | 2008/02/25 | Tanabe Seiyaku Co., Ltd. | JP | 01 |
| N/030385 | 2008/02/25 | 2008/02/25 | Tanabe Seiyaku Co., Ltd. | JP | 05 |
| N/030391 | 2008/02/25 | 2008/02/25 | Raffles International Limited | SG | 35 |
| N/030392 | 2008/02/25 | 2008/02/25 | Raffles International Limited | SG | 36 |
| N/030393 | 2008/02/25 | 2008/02/25 | Raffles International Limited | SG | 43 |
| N/030394 | 2008/02/25 | 2008/02/25 | Raffles International Limited | SG | 03 |
| N/030395 | 2008/02/25 | 2008/02/25 | Raffles International Limited | SG | 25 |
| N/030447 | 2008/02/25 | 2008/02/25 | SACMI COOPERATIVA MECCANICI IMOLA SOCIETA’ COOPERATIVA | IT | 07 |
| N/030448 | 2008/02/25 | 2008/02/25 | SACMI COOPERATIVA MECCANICI IMOLA SOCIETA’ COOPERATIVA | IT | 09 |
| N/030449 | 2008/02/25 | 2008/02/25 | SACMI COOPERATIVA MECCANICI IMOLA SOCIETA’ COOPERATIVA | IT | 11 |
| N/030450 | 2008/02/25 | 2008/02/25 | SACMI COOPERATIVA MECCANICI IMOLA SOCIETA’ COOPERATIVA | IT | 20 |
| N/030451 | 2008/02/25 | 2008/02/25 | SACMI COOPERATIVA MECCANICI IMOLA SOCIETA’ COOPERATIVA | IT | 35 |
| N/030452 | 2008/02/25 | 2008/02/25 | SACMI COOPERATIVA MECCANICI IMOLA SOCIETA’ COOPERATIVA | IT | 37 |
| N/030453 | 2008/02/25 | 2008/02/25 | SACMI COOPERATIVA MECCANICI IMOLA SOCIETA’ COOPERATIVA | IT | 42 |
| N/030470 | 2008/02/25 | 2008/02/25 | CyberStep, Inc. | JP | 09 |
| N/030471 | 2008/02/25 | 2008/02/25 | CyberStep, Inc. | JP | 41 |
| N/030472 | 2008/02/25 | 2008/02/25 | CyberStep, Inc. | JP | 42 |
| N/030473 | 2008/02/25 | 2008/02/25 | CyberStep, Inc. | JP | 09 |
| N/030474 | 2008/02/25 | 2008/02/25 | CyberStep, Inc. | JP | 41 |
| N/030475 | 2008/02/25 | 2008/02/25 | CyberStep, Inc. | JP | 42 |
| N/030476 | 2008/02/25 | 2008/02/25 | CyberStep, Inc. | JP | 41 |
| N/030477 | 2008/02/25 | 2008/02/25 | 福建晉江德爾惠鞋業有限公司 DE ER HUI SHOES CO., LTD. JINJIANG FUJIAN |
CN | 25 |
| N/030478 | 2008/02/25 | 2008/02/25 | 無錫開普動力有限公司 WUXI KIPOR POWER CO., LTD. |
CN | 07 |
| N/030487 | 2008/02/25 | 2008/02/25 | KERZNER INTERNATIONAL LIMITED | BS | 25 |
| N/030488 | 2008/02/25 | 2008/02/25 | KERZNER INTERNATIONAL LIMITED | BS | 28 |
| N/030489 | 2008/02/25 | 2008/02/25 | KERZNER INTERNATIONAL LIMITED | BS | 36 |
| N/030490 | 2008/02/25 | 2008/02/25 | KERZNER INTERNATIONAL LIMITED | BS | 39 |
| N/030491 | 2008/02/25 | 2008/02/25 | KERZNER INTERNATIONAL LIMITED | BS | 41 |
| N/030492 | 2008/02/25 | 2008/02/25 | KERZNER INTERNATIONAL LIMITED | BS | 43 |
| N/030531 | 2008/02/25 | 2008/02/25 | 上海力申科學儀器有限公司 SHANGHAI LISHEN SCIENTIFIC EQUIPMENT CO., LTD. |
CN | 09 |
| N/030532 | 2008/02/25 | 2008/02/25 | 上海力申科學儀器有限公司 SHANGHAI LISHEN SCIENTIFIC EQUIPMENT CO., LTD. |
CN | 10 |
| N/030533 | 2008/02/25 | 2008/02/25 | 有利科格斯雕塑製品(深圳)有限公司 YAU LEE FORMGLAS (SHENZHEN) LIMITED |
CN | 19 |
| N/030541 | 2008/02/25 | 2008/02/25 | 蔡合旺事業股份有限公司 | TW | 11 |
| N/030542 | 2008/02/25 | 2008/02/25 | 蔡合旺事業股份有限公司 | TW | 10 |
| N/030543 | 2008/02/25 | 2008/02/25 | 蔡合旺事業股份有限公司 | TW | 09 |
| N/030544 | 2008/02/25 | 2008/02/25 | 蔡合旺事業股份有限公司 | TW | 07 |
| N/030545 | 2008/02/25 | 2008/02/25 | 蔡合旺事業股份有限公司 | TW | 32 |
| N/030547 | 2008/02/25 | 2008/02/25 | 蔡合旺事業股份有限公司 | TW | 03 |
| N/030548 | 2008/02/25 | 2008/02/25 | 蔡合旺事業股份有限公司 | TW | 01 |
| N/030549 | 2008/02/25 | 2008/02/25 | 蔡合旺事業股份有限公司 | TW | 32 |
| N/030550 | 2008/02/25 | 2008/02/25 | 蔡合旺事業股份有限公司 | TW | 01 |
| N/030552 | 2008/02/25 | 2008/02/25 | 蔡合旺事業股份有限公司 | TW | 03 |
| N/030583 | 2008/02/25 | 2008/02/25 | 福建省晉江步美斯鞋服有限公司 | CN | 25 |
| N/030584 | 2008/02/25 | 2008/02/25 | 福建省晉江市國輝鞋服有限公司 | CN | 18 |
| N/030585 | 2008/02/25 | 2008/02/25 | 福建省晉江市國輝鞋服有限公司 | CN | 41 |
| N/030586 | 2008/02/25 | 2008/02/25 | 福建省晉江市國輝鞋服有限公司 | CN | 25 |
| N/030587 | 2008/02/25 | 2008/02/25 | 福建省晉江市國輝鞋服有限公司 | CN | 26 |
| N/030588 | 2008/02/25 | 2008/02/25 | 福建省晉江市國輝鞋服有限公司 | CN | 28 |
| N/030589 | 2008/02/25 | 2008/02/25 | 福建省晉江市國輝鞋服有限公司 | CN | 41 |
| N/030590 | 2008/02/25 | 2008/02/25 | 福建省晉江市國輝鞋服有限公司 | CN | 18 |
| N/030591 | 2008/02/25 | 2008/02/25 | 福建省晉江市國輝鞋服有限公司 | CN | 28 |
| N/030592 | 2008/02/25 | 2008/02/25 | 福建省晉江市國輝鞋服有限公司 | CN | 25 |
| N/030593 | 2008/02/25 | 2008/02/25 | 福建省晉江市國輝鞋服有限公司 | CN | 41 |
| N/030594 | 2008/02/25 | 2008/02/25 | 福建省晉江市國輝鞋服有限公司 | CN | 17 |
| N/030595 | 2008/02/25 | 2008/02/25 | 福建省晉江市國輝鞋服有限公司 | CN | 18 |
| N/030596 | 2008/02/25 | 2008/02/25 | 福建省晉江市國輝鞋服有限公司 | CN | 25 |
| N/030597 | 2008/02/25 | 2008/02/25 | 福建省晉江市國輝鞋服有限公司 | CN | 28 |
| N/030598 | 2008/02/25 | 2008/02/25 | 福建省晉江市國輝鞋服有限公司 | CN | 17 |
| N/030599 | 2008/02/25 | 2008/02/25 | 福建省晉江市國輝鞋服有限公司 | CN | 18 |
| N/030600 | 2008/02/25 | 2008/02/25 | 福建省晉江市國輝鞋服有限公司 | CN | 25 |
| N/030601 | 2008/02/25 | 2008/02/25 | 福建省晉江市國輝鞋服有限公司 | CN | 28 |
| N/030618 | 2008/02/25 | 2008/02/25 | 衍生行有限公司 | HK | 30 |
| N/030619 | 2008/02/25 | 2008/02/25 | 衍生行有限公司 | HK | 30 |
| 2 N/030632 | 2008/02/25 | 2008/02/25 | 官也酒業有限公司 | MO | 33 |
| N/030634 | 2008/02/25 | 2008/02/25 | Harrah’s License Company, LLC | US | 41 |
| N/030635 | 2008/02/25 | 2008/02/25 | Harrah’s License Company, LLC | US | 43 |
| 23 N/030637 | 2008/02/25 | 2008/02/25 | CREDIT AGRICOLE ASSET MANAGEMENT-CAAM | FR | 36 |
| 24 N/030638 | 2008/02/25 | 2008/02/25 | Chesterton Global Limited | GB | 35 |
| N/030641 | 2008/02/25 | 2008/02/25 | Caesars World, Inc. | US | 41 |
| N/030642 | 2008/02/25 | 2008/02/25 | Caesars World, Inc. | US | 43 |
| 24 N/030643 | 2008/02/25 | 2008/02/25 | Chesterton Global Limited | GB | 36 |
| N/030644 | 2008/02/25 | 2008/02/25 | 雄獅鉛筆廠股份有限公司 | TW | 09 |
| N/030645 | 2008/02/25 | 2008/02/25 | 雄獅鉛筆廠股份有限公司 | TW | 16 |
| N/030646 | 2008/02/25 | 2008/02/25 | 雄獅鉛筆廠股份有限公司 | TW | 18 |
| N/030647 | 2008/02/25 | 2008/02/25 | 雄獅鉛筆廠股份有限公司 | TW | 25 |
| N/030648 | 2008/02/25 | 2008/02/25 | 雄獅鉛筆廠股份有限公司 | TW | 28 |
| N/030651 | 2008/02/25 | 2008/02/25 | 中山華帝燃具股份有限公司 ZHONGSHAN VANTAGE GAS APPLIANCES STOCK CO., LTD. |
CN | 20 |
| N/030652 | 2008/02/25 | 2008/02/25 | 中山華帝燃具股份有限公司 ZHONGSHAN VANTAGE GAS APPLIANCES STOCK CO., LTD. |
CN | 11 |
| N/030653 | 2008/02/25 | 2008/02/25 | 中山華帝燃具股份有限公司 ZHONGSHAN VANTAGE GAS APPLIANCES STOCK CO., LTD. |
CN | 07 |
| N/030782 | 2008/02/25 | 2008/02/25 | GA MODEFINE S.A. | CH | 09 |
| N/030783 | 2008/02/25 | 2008/02/25 | GABRIELLE STUDIO, INC. | US | 18 |
| 25 N/030784 | 2008/02/25 | 2008/02/25 | GABRIELLE STUDIO, INC. | US | 25 |
| N/030785 | 2008/02/25 | 2008/02/25 | GABRIELLE STUDIO, INC. | US | 35 |
| N/030786 | 2008/02/25 | 2008/02/25 | IMPERIAL TOBACCO LIMITED | GB | 34 |
| N/030819 | 2008/02/25 | 2008/02/25 | Reemtsma Cigarettenfabriken GmbH | DE | 34 |
| N/030826 | 2008/02/25 | 2008/02/25 | 中山華帝燃具股份有限公司 ZHONGSHAN VANTAGE GAS APPLIANCE STOCK CO., LTD. |
CN | 08 |
| N/030827 | 2008/02/25 | 2008/02/25 | 中山華帝燃具股份有限公司 ZHONGSHAN VANTAGE GAS APPLIANCE STOCK CO., LTD. |
CN | 11 |
| N/030828 | 2008/02/25 | 2008/02/25 | 中山華帝燃具股份有限公司 ZHONGSHAN VANTAGE GAS APPLIANCE STOCK CO., LTD. |
CN | 20 |
| N/030829 | 2008/02/25 | 2008/02/25 | 中山華帝燃具股份有限公司 ZHONGSHAN VANTAGE GAS APPLIANCE STOCK CO., LTD. |
CN | 37 |
| N/030833 | 2008/02/25 | 2008/02/25 | Lucky Brand Dungarees, Inc. | US | 14 |
| N/030834 | 2008/02/25 | 2008/02/25 | Lucky Brand Dungarees, Inc. | US | 18 |
| N/030835 | 2008/02/25 | 2008/02/25 | Lucky Brand Dungarees, Inc. | US | 25 |
| N/030836 | 2008/02/25 | 2008/02/25 | Lucky Brand Dungarees, Inc. | US | 35 |
| N/030837 | 2008/02/25 | 2008/02/25 | FREDDY S.p.A. | IT | 25 |
| N/030838 | 2008/02/25 | 2008/02/25 | Mobile Telecommunications Company (KSC) | KW | 09 |
| N/030839 | 2008/02/25 | 2008/02/25 | Mobile Telecommunications Company (KSC) | KW | 38 |
| N/030840 | 2008/02/25 | 2008/02/25 | Havana IP Holdings, LLC | US | 03 |
| N/030841 | 2008/02/25 | 2008/02/25 | Havana IP Holdings, LLC | US | 14 |
| N/030842 | 2008/02/25 | 2008/02/25 | Havana IP Holdings, LLC | US | 18 |
| N/030843 | 2008/02/25 | 2008/02/25 | Havana IP Holdings, LLC | US | 25 |
| N/030844 | 2008/02/25 | 2008/02/25 | Havana IP Holdings, LLC | US | 35 |
| N/030864 | 2008/02/25 | 2008/02/25 | 利安電光源(香港)有限公司 Neonlite Electronic & Lighting (H.K.) Limited |
HK | 11 |
| N/030865 | 2008/02/25 | 2008/02/25 | 利安電光源(香港)有限公司 Neonlite Electronic & Lighting (H.K.) Limited |
HK | 11 |
| N/030900 | 2008/02/25 | 2008/02/25 | American Express Marketing & Development Corp. | US | 36 |
| N/030901 | 2008/02/25 | 2008/02/25 | American Express Marketing & Development Corp. | US | 36 |
| N/030903 | 2008/02/25 | 2008/02/25 | 杭州東華鏈條集團有限公司 HANGZHOU DONGHUA CHAIN GROUP CO., LTD. |
CN | 07 |
| N/030904 | 2008/02/25 | 2008/02/25 | 杭州東華鏈條集團有限公司 HANGZHOU DONGHUA CHAIN GROUP CO., LTD. |
CN | 12 |
| N/030910 | 2008/02/25 | 2008/02/25 | VisionMaker Worldwide, LLC | US | 36 |
| N/030928 | 2008/02/25 | 2008/02/25 | New Balance Athletic Shoe, Inc. | US | 18 |
| N/030929 | 2008/02/25 | 2008/02/25 | New Balance Athletic Shoe, Inc. | US | 18 |
| N/030930 | 2008/02/25 | 2008/02/25 | New Balance Athletic Shoe, Inc. | US | 18 |
| N/030931 | 2008/02/25 | 2008/02/25 | New Balance Athletic Shoe, Inc. | US | 18 |
| N/030932 | 2008/02/25 | 2008/02/25 | New Balance Athletic Shoe, Inc. | US | 18 |
| N/030933 | 2008/02/25 | 2008/02/25 | New Balance Athletic Shoe, Inc. | US | 25 |
| N/030934 | 2008/02/25 | 2008/02/25 | New Balance Athletic Shoe, Inc. | US | 25 |
| N/030935 | 2008/02/25 | 2008/02/25 | New Balance Athletic Shoe, Inc. | US | 25 |
| N/030936 | 2008/02/25 | 2008/02/25 | New Balance Athletic Shoe, Inc. | US | 25 |
| N/030937 | 2008/02/25 | 2008/02/25 | New Balance Athletic Shoe, Inc. | US | 25 |
| N/030938 | 2008/02/25 | 2008/02/25 | Koton Maazacilik Tekstil Sanayi ve Ticaret A.S. | TR | 18 |
| N/030939 | 2008/02/25 | 2008/02/25 | Koton Maazacilik Tekstil Sanayi ve Ticaret A.S. | TR | 25 |
| N/030940 | 2008/02/25 | 2008/02/25 | Koton Maazacilik Tekstil Sanayi ve Ticaret A.S. | TR | 35 |
| N/030941 | 2008/02/25 | 2008/02/25 | Koton Maazacilik Tekstil Sanayi ve Ticaret A.S. | TR | 18 |
| N/030942 | 2008/02/25 | 2008/02/25 | Koton Maazacilik Tekstil Sanayi ve Ticaret A.S. | TR | 25 |
| N/030943 | 2008/02/25 | 2008/02/25 | Koton Maazacilik Tekstil Sanayi ve Ticaret A.S. | TR | 35 |
| N/030944 | 2008/02/25 | 2008/02/25 | 立意有限公司 | MO | 20 |
| 26 N/030945 | 2008/02/25 | 2008/02/25 | 10 LIMITED | HK | 44 |
| 27 N/030946 | 2008/02/25 | 2008/02/25 | 10 LIMITED | HK | 44 |
| N/030947 | 2008/02/25 | 2008/02/25 | Dan-Foam, ApS | DK | 10 |
| N/030948 | 2008/02/25 | 2008/02/25 | Dan-Foam, ApS | DK | 20 |
| N/030949 | 2008/02/25 | 2008/02/25 | Enjoy Media Holdings Limited | VG | 35 |
| 28 N/030950 | 2008/02/25 | 2008/02/25 | Enjoy Media Holdings Limited | VG | 43 |
| N/030951 | 2008/02/25 | 2008/02/25 | Bayerische Staatsbrauerei Weihenstephan | DE | 32 |
| N/030952 | 2008/02/25 | 2008/02/25 | Nestlé Waters | FR | 32 |
| N/030957 | 2008/02/25 | 2008/02/25 | FRATEX INDÚSTRIA E COMÉRCIO LTDA. | BR | 25 |
| N/030958 | 2008/02/25 | 2008/02/25 | FRATEX INDÚSTRIA E COMÉRCIO LTDA. | BR | 25 |
| N/030960 | 2008/02/25 | 2008/02/25 | FRATEX INDÚSTRIA E COMÉRCIO LTDA. | BR | 25 |
| N/030961 | 2008/02/25 | 2008/02/25 | LONG POWER Co., Ltd. | TW | 25 |
| N/030962 | 2008/02/25 | 2008/02/25 | BRIDGESTONE CORPORATION | JP | 12 |
| N/030963 | 2008/02/25 | 2008/02/25 | CYNTHIA ROWLEY | US | 18 |
| N/030964 | 2008/02/25 | 2008/02/25 | CYNTHIA ROWLEY | US | 25 |
| N/030968 | 2008/02/25 | 2008/02/25 | 鍾艷雲 Chong Im Wan |
MO | 29 |
| N/030969 | 2008/02/25 | 2008/02/25 | 鍾艷雲 Chong Im Wan |
MO | 30 |
| N/030970 | 2008/02/25 | 2008/02/25 | 鍾艷雲 Chong Im Wan |
MO | 35 |
| N/030971 | 2008/02/25 | 2008/02/25 | 鍾艷雲 Chong Im Wan |
MO | 43 |
| N/030972 | 2008/02/25 | 2008/02/25 | 傅美仙 | HK | 43 |
| N/030978 | 2008/02/25 | 2008/02/25 | mPerical Asset Management AG | CH | 36 |
| N/031000 | 2008/02/25 | 2008/02/25 | 蔡少龍 Cai Shaolong |
MO | 25 |
| N/031001 | 2008/02/25 | 2008/02/25 | 蔡少龍 Cai Shaolong |
MO | 25 |
| N/031002 | 2008/02/25 | 2008/02/25 | 蔡少龍 Cai Shaolong |
MO | 25 |
| 29 N/031004 | 2008/02/25 | 2008/02/25 | 瑞昌銀號有限公司 | MO | 36 |
| N/031005 | 2008/02/25 | 2008/02/25 | 怡寶食品飲料(深圳)有限公司 C’ESTBON FOOD & BEVERAGE (SHENZHEN) CO., LTD. |
CN | 32 |
| N/031006 | 2008/02/25 | 2008/02/25 | Espresso Americano International, LLC | US | 35 |
| N/031008 | 2008/02/25 | 2008/02/25 | THE SWATCH GROUP MANAGEMENT SERVICES AG | CH | 14 |
| N/031009 | 2008/02/25 | 2008/02/25 | THE SWATCH GROUP MANAGEMENT SERVICES AG | CH | 35 |
| N/031010 | 2008/02/25 | 2008/02/25 | THE SWATCH GROUP MANAGEMENT SERVICES AG | CH | 37 |
| N/031011 | 2008/02/25 | 2008/02/25 | BAYER AKTIENGESELLSCHAFT | DE | 05 |
| N/031012 | 2008/02/25 | 2008/02/25 | BAYER AKTIENGESELLSCHAFT | DE | 05 |
| N/031013 | 2008/02/25 | 2008/02/25 | BAYER AKTIENGESELLSCHAFT | DE | 05 |
| N/031014 | 2008/02/25 | 2008/02/25 | GAP (ITM) INC. | US | 04 |
| N/031015 | 2008/02/25 | 2008/02/25 | Richemont International S.A. | CH | 14 |
| N/031016 | 2008/02/25 | 2008/02/25 | Banco Itau Holding Financeira S/A | BR | 36 |
| N/031017 | 2008/02/25 | 2008/02/25 | Banco Itau Holding Financeira S/A | BR | 36 |
| N/031022 | 2008/02/25 | 2008/02/25 | 麒麟啤酒(珠海)有限公司 | CN | 32 |
| N/031023 | 2008/02/25 | 2008/02/25 | 麒麟啤酒(珠海)有限公司 | CN | 32 |
| 30 N/031024 | 2008/02/25 | 2008/02/25 | 麒麟啤酒(珠海)有限公司 | CN | 32 |
| 30 N/031025 | 2008/02/25 | 2008/02/25 | 麒麟啤酒(珠海)有限公司 | CN | 32 |
| N/031026 | 2008/02/25 | 2008/02/25 | 清新有限公司 | MO | 35 |
| N/031027 | 2008/02/25 | 2008/02/25 | 清新有限公司 | MO | 05 |
| N/031028 | 2008/02/25 | 2008/02/25 | 清新有限公司 | MO | 05 |
| N/031029 | 2008/02/25 | 2008/02/25 | CHANEL | FR | 03 |
| N/031030 | 2008/02/25 | 2008/02/25 | CHANEL | FR | 03 |
| 31 N/031032 | 2008/02/25 | 2008/02/25 | BRI-STAR JEWELLERS LIMITED | HK | 14 |
| N/031033 | 2008/02/25 | 2008/02/25 | BRI-STAR JEWELLERS LIMITED | HK | 14 |
| N/031034 | 2008/02/25 | 2008/02/25 | BRI-STAR JEWELLERS LIMITED | HK | 14 |
| N/031035 | 2008/02/25 | 2008/02/25 | 澳門滋味滿屋餐飲有限公司 COMPANHIA DE COMIDAS E BEBIDAS CHI MEI MUN UK MACAU LIMITADA |
MO | 30 |
| N/031036 | 2008/02/25 | 2008/02/25 | 澳門滋味滿屋餐飲有限公司 COMPANHIA DE COMIDAS E BEBIDAS CHI MEI MUN UK MACAU LIMITADA |
MO | 32 |
| 32 N/031038 | 2008/02/25 | 2008/02/25 | 澳門滋味滿屋餐飲有限公司 COMPANHIA DE COMIDAS E BEBIDAS CHI MEI MUN UK MACAU LIMITADA |
MO | 43 |
| N/031039 | 2008/02/25 | 2008/02/25 | MERCK & CO., INC. | US | 05 |
| N/031040 | 2008/02/25 | 2008/02/25 | 梁華標 | CN | 16 |
| N/031041 | 2008/02/25 | 2008/02/25 | 深圳市環球投資發展有限公司 SHENZHEN HUANQIU INVESTMENT & DEVELOPMENT CO., LTD. |
CN | 25 |
| N/031047 | 2008/02/25 | 2008/02/25 | Swire Resources Limited | HK | 18 |
| N/031048 | 2008/02/25 | 2008/02/25 | Swire Resources Limited | HK | 25 |
| N/031049 | 2008/02/25 | 2008/02/25 | Swire Resources Limited | HK | 35 |
| N/031059 | 2008/02/25 | 2008/02/25 | SW19, Inc. | US | 03 |
| 33 N/031069 | 2008/02/25 | 2008/02/25 | CITY CHAIN COMPANY LIMITED | HK | 35 |
| N/031070 | 2008/02/25 | 2008/02/25 | CITY CHAIN COMPANY LIMITED | HK | 35 |
| N/031071 | 2008/02/25 | 2008/02/25 | IGT | US | 09 |
| N/031072 | 2008/02/25 | 2008/02/25 | IGT | US | 09 |
| N/031073 | 2008/02/25 | 2008/02/25 | IGT | US | 09 |
| N/031074 | 2008/02/25 | 2008/02/25 | IGT | US | 09 |
| N/031075 | 2008/02/25 | 2008/02/25 | IGT | US | 09 |
| N/031076 | 2008/02/25 | 2008/02/25 | IGT | US | 09 |
| N/031077 | 2008/02/25 | 2008/02/25 | IGT | US | 09 |
| N/031078 | 2008/02/25 | 2008/02/25 | IGT | US | 09 |
| N/031079 | 2008/02/25 | 2008/02/25 | IGT | US | 09 |
| N/031080 | 2008/02/25 | 2008/02/25 | IGT | US | 09 |
| N/031081 | 2008/02/25 | 2008/02/25 | IGT | US | 09 |
| N/031082 | 2008/02/25 | 2008/02/25 | IGT | US | 09 |
| N/031083 | 2008/02/25 | 2008/02/25 | IGT | US | 09 |
| N/031084 | 2008/02/25 | 2008/02/25 | IGT | US | 09 |
| N/031085 | 2008/02/25 | 2008/02/25 | IGT | US | 09 |
| N/031086 | 2008/02/25 | 2008/02/25 | IGT | US | 09 |
| N/031087 | 2008/02/25 | 2008/02/25 | L’ Isolante K-Flex s.r.l. | IT | 17 |
| N/031093 | 2008/02/25 | 2008/02/25 | VALEXTRA S.p.A. | IT | 18 |
| N/031094 | 2008/02/25 | 2008/02/25 | Starbucks Corporation | US | 29 |
| N/031095 | 2008/02/25 | 2008/02/25 | Starbucks Corporation | US | 21 |
| N/031096 | 2008/02/25 | 2008/02/25 | Starbucks Corporation | US | 30 |
| N/031097 | 2008/02/25 | 2008/02/25 | Starbucks Corporation | US | 32 |
| N/031098 | 2008/02/25 | 2008/02/25 | SOGEVINUS FINE WINES, S.A. | PT | 33 |
| N/031100 | 2008/02/25 | 2008/02/25 | SOGEVINUS FINE WINES, S.A. | PT | 33 |
| N/031101 | 2008/02/25 | 2008/02/25 | SOGEVINUS FINE WINES, S.A. | PT | 33 |
| N/031108 | 2008/02/25 | 2008/02/25 | NEW TECHNICS CAR AUDIO SDN. BHD. | MY | 09 |
| N/031110 | 2008/02/25 | 2008/02/25 | 利安電光源(香港)有限公司 Neonlite Electronic & Lighting (H.K.) Limited |
HK | 11 |
| 34 N/031111 | 2008/02/25 | 2008/02/25 | 利安電光源(香港)有限公司 Neonlite Electronic & Lighting (H.K.) Limited |
HK | 11 |
| 34 N/031112 | 2008/02/25 | 2008/02/25 | 利安電光源(香港)有限公司 Neonlite Electronic & Lighting (H.K.) Limited |
HK | 11 |
| N/031113 | 2008/02/25 | 2008/02/25 | 利安電光源(香港)有限公司 Neonlite Electronic & Lighting (H.K.) Limited |
HK | 11 |
| N/031114 | 2008/02/25 | 2008/02/25 | 利安電光源(香港)有限公司 Neonlite Electronic & Lighting (H.K.) Limited |
HK | 11 |
| N/031118 | 2008/02/25 | 2008/02/25 | Timberland Switzerland GmbH | CH | 25 |
| N/031120 | 2008/02/25 | 2008/02/25 | 羅穎怡 | HK | 18 |
| N/031121 | 2008/02/25 | 2008/02/25 | 羅穎怡 | HK | 25 |
| N/031122 | 2008/02/25 | 2008/02/25 | 羅穎怡 | HK | 35 |
| N/031123 | 2008/02/25 | 2008/02/25 | Merck & Co., Inc. | US | 05 |
| N/031124 | 2008/02/25 | 2008/02/25 | G.B. International S.p.A. | IT | 09 |
| N/031176 | 2008/02/25 | 2008/02/25 | Société des Produits Nestlé S.A. | CH | 31 |
| N/031181 | 2008/02/25 | 2008/02/25 | Aruze Corporation | JP | 09 |
| N/031182 | 2008/02/25 | 2008/02/25 | Aruze Corporation | JP | 09 |
| N/031183 | 2008/02/25 | 2008/02/25 | Aruze Corporation | JP | 09 |
| N/031184 | 2008/02/25 | 2008/02/25 | Aruze Corporation | JP | 09 |
| N/031185 | 2008/02/25 | 2008/02/25 | Aruze Corporation | JP | 09 |
| N/031186 | 2008/02/25 | 2008/02/25 | Aruze Corporation | JP | 09 |
| N/031187 | 2008/02/25 | 2008/02/25 | Vitasoy International Holdings Limited | HK | 29 |
| N/031188 | 2008/02/25 | 2008/02/25 | Vitasoy International Holdings Limited | HK | 32 |
| N/031189 | 2008/02/25 | 2008/02/25 | Vitasoy International Holdings Limited | HK | 29 |
| N/031190 | 2008/02/25 | 2008/02/25 | Vitasoy International Holdings Limited | HK | 32 |
| N/031194 | 2008/02/25 | 2008/02/25 | Johnson & Johnson | US | 05 |
| N/031195 | 2008/02/25 | 2008/02/25 | CHOPARD INTERNATIONAL, S.A. | CH | 14 |
| N/031200 | 2008/02/25 | 2008/02/25 | 佛山市吉利貿易有限公司 | CN | 33 |
| N/031201 | 2008/02/25 | 2008/02/25 | 羅玉波 | CN | 33 |
| N/031209 | 2008/02/25 | 2008/02/25 | WYNN RESORTS HOLDINGS, LLC | US | 43 |
| N/031210 | 2008/02/25 | 2008/02/25 | WYNN RESORTS HOLDINGS, LLC | US | 41 |
| N/031211 | 2008/02/25 | 2008/02/25 | WYNN RESORTS HOLDINGS, LLC | US | 45 |
| N/031212 | 2008/02/25 | 2008/02/25 | WYNN RESORTS HOLDINGS, LLC | US | 39 |
| N/031213 | 2008/02/25 | 2008/02/25 | WYNN RESORTS HOLDINGS, LLC | US | 36 |
| N/031214 | 2008/02/25 | 2008/02/25 | WYNN RESORTS HOLDINGS, LLC | US | 35 |
| N/031233 | 2008/02/25 | 2008/02/25 | WYNN RESORTS HOLDINGS, LLC | US | 45 |
| N/031234 | 2008/02/25 | 2008/02/25 | WYNN RESORTS HOLDINGS, LLC | US | 43 |
| N/031235 | 2008/02/25 | 2008/02/25 | WYNN RESORTS HOLDINGS, LLC | US | 39 |
| N/031236 | 2008/02/25 | 2008/02/25 | WYNN RESORTS HOLDINGS, LLC | US | 41 |
| N/031237 | 2008/02/25 | 2008/02/25 | WYNN RESORTS HOLDINGS, LLC | US | 36 |
| N/031238 | 2008/02/25 | 2008/02/25 | WYNN RESORTS HOLDINGS, LLC | US | 35 |
| N/031239 | 2008/02/25 | 2008/02/25 | WYNN RESORTS HOLDINGS, LLC | US | 45 |
| N/031240 | 2008/02/25 | 2008/02/25 | WYNN RESORTS HOLDINGS, LLC | US | 43 |
| N/031241 | 2008/02/25 | 2008/02/25 | WYNN RESORTS HOLDINGS, LLC | US | 41 |
| N/031242 | 2008/02/25 | 2008/02/25 | WYNN RESORTS HOLDINGS, LLC | US | 39 |
| N/031243 | 2008/02/25 | 2008/02/25 | WYNN RESORTS HOLDINGS, LLC | US | 36 |
| N/031244 | 2008/02/25 | 2008/02/25 | WYNN RESORTS HOLDINGS, LLC | US | 35 |
| N/031246 | 2008/02/25 | 2008/02/25 | Eli Lilly and Company | US | 05 |
| N/031247 | 2008/02/25 | 2008/02/25 | ASTELLAS PHARMA INC. | JP | 05 |
| N/031248 | 2008/02/25 | 2008/02/25 | 鍾景鴻 Chong Keng Hong |
MO | 43 |
| 鄺巧賢 Kuong Hao In |
MO | 43 | |||
| N/031253 | 2008/02/25 | 2008/02/25 | N.V. TOPRANK CORPORATION | AN | 29 |
| N/031254 | 2008/02/25 | 2008/02/25 | N.V. TOPRANK CORPORATION | AN | 30 |
| N/031255 | 2008/02/25 | 2008/02/25 | N.V. TOPRANK CORPORATION | AN | 43 |
| N/031256 | 2008/02/25 | 2008/02/25 | JUST ONE MORE RESTAURANT CORPORATION | US | 43 |
| N/031257 | 2008/02/25 | 2008/02/25 | Le Saunda Licensing Limited | BS | 18 |
| N/031258 | 2008/02/25 | 2008/02/25 | Le Saunda Licensing Limited | BS | 25 |
| N/031259 | 2008/02/25 | 2008/02/25 | Le Saunda Licensing Limited | BS | 35 |
| N/031260 | 2008/02/25 | 2008/02/25 | 北京奧維蘭服裝服飾有限公司 | CN | 18 |
| N/031261 | 2008/02/25 | 2008/02/25 | 北京奧維蘭服裝服飾有限公司 | CN | 24 |
| N/031262 | 2008/02/25 | 2008/02/25 | 北京奧維蘭服裝服飾有限公司 | CN | 25 |
| N/031270 | 2008/02/25 | 2008/02/25 | 北京福樓餐館有限公司 BEIJING FLO RESTAURANT CO., LTD. |
CN | 43 |
| N/031271 | 2008/02/25 | 2008/02/25 | 北京福樓餐館有限公司 BEIJING FLO RESTAURANT CO., LTD. |
CN | 43 |
| N/031272 | 2008/02/25 | 2008/02/25 | 北京福樓餐館有限公 BEIJING FLO RESTAURANT CO., LTD. |
CN | 43 |
| 35 N/031273 | 2008/02/25 | 2008/02/25 | 澳美高餐飲管理有限公司 | MO | 43 |
| N/031282 | 2008/02/25 | 2008/02/25 | 媽媽世界實業有限公司 | HK | 25 |
| N/031283 | 2008/02/25 | 2008/02/25 | 媽媽世界實業有限公司 | HK | 25 |
| N/031284 | 2008/02/25 | 2008/02/25 | 媽媽世界實業有限公司 | HK | 35 |
| N/031287 | 2008/02/25 | 2008/02/25 | Sutter Home Winery, Inc. | US | 33 |
| N/031288 | 2008/02/25 | 2008/02/25 | Turn On Products Inc. | US | 25 |
| N/031290 | 2008/02/25 | 2008/02/25 | Hyundai Motor Company | KR | 12 |
| N/031291 | 2008/02/25 | 2008/02/25 | 上海豫園商城老城隍廟飲食有限公司 SHANGHAI YUYUANTOURIST MART OLD TEMPLE CATERING CO., LTD. |
CN | 43 |
| 36 N/031292 | 2008/02/25 | 2008/02/25 | 上海豫園商城老城隍廟飲食有限公司 SHANGHAI YUYUANTOURIST MART OLD TEMPLE CATERING CO., LTD. |
CN | 43 |
| N/031293 | 2008/02/25 | 2008/02/25 | 上海豫園商城老城隍廟飲食有限公司 SHANGHAI YUYUANTOURIST MART OLD TEMPLE CATERING CO., LTD. |
CN | 43 |
| N/031295 | 2008/02/25 | 2008/02/25 | Best Western International Inc. | US | 35 |
| N/031296 | 2008/02/25 | 2008/02/25 | Best Western International Inc. | US | 36 |
| N/031297 | 2008/02/25 | 2008/02/25 | E. REMY MARTIN & Cº | FR | 33 |
| N/031298 | 2008/02/25 | 2008/02/25 | HYUNDAI MOTOR COMPANY | KR | 12 |
| N/031299 | 2008/02/25 | 2008/02/25 | Robert Kaplan | US | 18 |
| N/031300 | 2008/02/25 | 2008/02/25 | Robert Kaplan | US | 25 |
| N/031318 | 2008/02/25 | 2008/02/25 | Genting International Management Limited | GB | 16 |
| N/031319 | 2008/02/25 | 2008/02/25 | Genting International Management Limited | GB | 41 |
| N/031320 | 2008/02/25 | 2008/02/25 | Genting International Management Limited | GB | 43 |
| 37 N/031321 | 2008/02/25 | 2008/02/25 | 莉迪詩瑜伽健美有限公司 | MO | 41 |
| N/031337 | 2008/02/25 | 2008/02/25 | Aristocrat Technologies Australia Pty Ltd | AU | 28 |
| N/031339 | 2008/02/25 | 2008/02/25 | Aristocrat Technologies Australia Pty Ltd | AU | 28 |
| N/031340 | 2008/02/25 | 2008/02/25 | Aristocrat Technologies Australia Pty Ltd | AU | 09 |
| N/031341 | 2008/02/25 | 2008/02/25 | Aristocrat Technologies Australia Pty Ltd | AU | 28 |
| 38 N/031342 | 2008/02/25 | 2008/02/25 | Aristocrat Technologies Australia Pty Ltd | AU | 28 |
| N/031343 | 2008/02/25 | 2008/02/25 | Aristocrat Technologies Australia Pty Ltd | AU | 28 |
| N/031344 | 2008/02/25 | 2008/02/25 | Aristocrat Technologies Australia Pty Ltd | AU | 28 |
| N/031345 | 2008/02/25 | 2008/02/25 | Aristocrat Technologies Australia Pty Ltd | AU | 28 |
| N/031346 | 2008/02/25 | 2008/02/25 | Aristocrat Technologies Australia Pty Ltd | AU | 28 |
| N/031347 | 2008/02/25 | 2008/02/25 | Aristocrat Technologies Australia Pty Ltd | AU | 28 |
| N/031348 | 2008/02/25 | 2008/02/25 | Aristocrat Technologies Australia Pty Ltd | AU | 28 |
| N/031349 | 2008/02/25 | 2008/02/25 | Aristocrat Technologies Australia Pty Ltd | AU | 28 |
| N/031353 | 2008/02/25 | 2008/02/25 | BAYERISCHE MOTOREN WERKE AKTIENGESELLSCHAFT | DE | 35 |
| N/031354 | 2008/02/25 | 2008/02/25 | BAYERISCHE MOTOREN WERKE AKTIENGESELLSCHAFT | DE | 36 |
| N/031355 | 2008/02/25 | 2008/02/25 | BAYERISCHE MOTOREN WERKE AKTIENGESELLSCHAFT | DE | 39 |
| N/031356 | 2008/02/25 | 2008/02/25 | BAYERISCHE MOTOREN WERKE AKTIENGESELLSCHAFT | DE | 36 |
| N/031357 | 2008/02/25 | 2008/02/25 | BAYERISCHE MOTOREN WERKE AKTIENGESELLSCHAFT | DE | 36 |
| N/031358 | 2008/02/25 | 2008/02/25 | BAYERISCHE MOTOREN WERKE AKTIENGESELLSCHAFT | DE | 36 |
| N/031359 | 2008/02/25 | 2008/02/25 | Ricegrowers Limited | AU | 30 |
| N/031360 | 2008/02/25 | 2008/02/25 | Bacardi & Company Limited | LI | 33 |
| N/031386 | 2008/02/25 | 2008/02/25 | 龍笛國際有限公司 | MO | 25 |
| N/031413 | 2008/02/25 | 2008/02/25 | 梁玉儀 LEONG IOK I |
MO | 25 |
| N/031414 | 2008/02/25 | 2008/02/25 | PHILIP MORRIS PRODUCTS S.A. | CH | 34 |
| N/031419 | 2008/02/25 | 2008/02/25 | 澳門名澳煙草有限公司 COMPANHIA DE TABACO MENG OU MACAU, LIMITADA |
MO | 34 |
| 39 N/031420 | 2008/02/25 | 2008/02/25 | MGM Grand Paradise S.A. | MO | 43 |
| 40 N/031421 | 2008/02/25 | 2008/02/25 | MGM Grand Paradise S.A. | MO | 43 |
| 1 N/031423 | 2008/02/25 | 2008/02/25 | MGM Grand Paradise S.A. | MO | 43 |
| N/031424 | 2008/02/25 | 2008/02/25 | MGM Grand Paradise S.A. | MO | 43 |
| N/031426 | 2008/02/25 | 2008/02/25 | MGM Grand Paradise S.A. | MO | 43 |
| N/031428 | 2008/02/25 | 2008/02/25 | Roots Canada Ltd. | CA | 35 |
| N/031429 | 2008/02/25 | 2008/02/25 | AVON PRODUCTS, INC. | US | 05 |
| N/031430 | 2008/02/25 | 2008/02/25 | AVON PRODUCTS, INC. | US | 14 |
| N/031431 | 2008/02/25 | 2008/02/25 | AVON PRODUCTS, INC. | US | 18 |
| N/031432 | 2008/02/25 | 2008/02/25 | AVON PRODUCTS, INC. | US | 21 |
| N/031433 | 2008/02/25 | 2008/02/25 | AVON PRODUCTS, INC. | US | 25 |
| N/031434 | 2008/02/25 | 2008/02/25 | AVON PRODUCTS, INC. | US | 35 |
| N/031435 | 2008/02/25 | 2008/02/25 | AVON PRODUCTS, INC. | US | 42 |
| N/031436 | 2008/02/25 | 2008/02/25 | AVON PRODUCTS, INC. | US | 03 |
| N/031438 | 2008/02/25 | 2008/02/25 | LT Game Limited | HK | 41 |
| N/031439 | 2008/02/25 | 2008/02/25 | LT Game Limited | HK | 28 |
| N/031440 | 2008/02/25 | 2008/02/25 | LT Game Limited | HK | 41 |
| N/031450 | 2008/02/25 | 2008/02/25 | IGT | US | 09 |
| N/031459 | 2008/02/25 | 2008/02/25 | TRIUMPH INTERTRADE AG | CH | 25 |
| 41 N/031460 | 2008/02/25 | 2008/02/25 | The Kiss Inc. | JP | 14 |
| N/031461 | 2008/02/25 | 2008/02/25 | The Kiss Inc. | JP | 14 |
| N/031463 | 2008/02/25 | 2008/02/25 | Sagami Rubber Industries Co., Ltd. | JP | 10 |
| N/031464 | 2008/02/25 | 2008/02/25 | Sagami Rubber Industries Co., Ltd. | JP | 10 |
| N/031465 | 2008/02/25 | 2008/02/25 | COMPANHIA DE DESENVOLVIMENTO PREDIAL SAN YOU, LIMITADA | MO | 37 |
| N/031466 | 2008/02/25 | 2008/02/25 | COMPANHIA DE DESENVOLVIMENTO PREDIAL SAN YOU, LIMITADA | MO | 36 |
| N/031467 | 2008/02/25 | 2008/02/25 | BINDA INTERNATIONAL S.A. | LU | 14 |
| 42 N/031468 | 2008/02/25 | 2008/02/25 | Capital Gold Group Holdings, Inc. | US | 14 |
| 42 N/031469 | 2008/02/25 | 2008/02/25 | Capital Gold Group Holdings, Inc. | US | 36 |
| 43 N/031470 | 2008/02/25 | 2008/02/25 | Capital Gold Group Holdings, Inc. | US | 14 |
| 43 N/031471 | 2008/02/25 | 2008/02/25 | Capital Gold Group Holdings, Inc. | US | 36 |
| N/031472 | 2008/02/25 | 2008/02/25 | AGC COAT-TECH CO., LTD. | JP | 02 |
| N/031473 | 2008/02/25 | 2008/02/25 | AGC COAT-TECH CO., LTD. | JP | 37 |
| N/031474 | 2008/02/25 | 2008/02/25 | AGC COAT-TECH CO., LTD. | JP | 02 |
| N/031475 | 2008/02/25 | 2008/02/25 | AGC COAT-TECH CO., LTD. | JP | 37 |
| N/031476 | 2008/02/25 | 2008/02/25 | AGC COAT-TECH CO., LTD. | JP | 02 |
| N/031477 | 2008/02/25 | 2008/02/25 | AGC COAT-TECH CO., LTD. | JP | 37 |
| N/031478 | 2008/02/25 | 2008/02/25 | AGC COAT-TECH CO., LTD. | JP | 02 |
| N/031479 | 2008/02/25 | 2008/02/25 | AGC COAT-TECH CO., LTD. | JP | 37 |
| N/031485 | 2008/02/25 | 2008/02/25 | MANCHESTER UNITED LIMITED | GB | 09 |
| N/031486 | 2008/02/25 | 2008/02/25 | MANCHESTER UNITED LIMITED | GB | 14 |
| N/031487 | 2008/02/25 | 2008/02/25 | MANCHESTER UNITED LIMITED | GB | 16 |
| N/031488 | 2008/02/25 | 2008/02/25 | MANCHESTER UNITED LIMITED | GB | 18 |
| N/031489 | 2008/02/25 | 2008/02/25 | MANCHESTER UNITED LIMITED | GB | 25 |
| N/031490 | 2008/02/25 | 2008/02/25 | MANCHESTER UNITED LIMITED | GB | 28 |
| N/031491 | 2008/02/25 | 2008/02/25 | MANCHESTER UNITED LIMITED | GB | 35 |
| N/031492 | 2008/02/25 | 2008/02/25 | MANCHESTER UNITED LIMITED | GB | 41 |
| 44 N/031495 | 2008/02/25 | 2008/02/25 | MGM Grand Paradise S.A. | MO | 43 |
| 45 N/031496 | 2008/02/25 | 2008/02/25 | MGM Grand Paradise S.A. | MO | 43 |
| 46 N/031497 | 2008/02/25 | 2008/02/25 | MGM Grand Paradise S.A. | MO | 43 |
| 47 N/031498 | 2008/02/25 | 2008/02/25 | MGM Grand Paradise S.A. | MO | 43 |
| N/031499 | 2008/02/25 | 2008/02/25 | MGM Grand Paradise S.A. | MO | 43 |
| N/031516 | 2008/02/25 | 2008/02/25 | Otsuka Pharmaceutical Co., Ltd. | JP | 05 |
| N/031517 | 2008/02/25 | 2008/02/25 | Otsuka Pharmaceutical Co., Ltd. | JP | 10 |
| N/031518 | 2008/02/25 | 2008/02/25 | Otsuka Pharmaceutical Co., Ltd. | JP | 29 |
| N/031519 | 2008/02/25 | 2008/02/25 | Otsuka Pharmaceutical Co., Ltd. | JP | 32 |
| N/031520 | 2008/02/25 | 2008/02/25 | Otsuka Pharmaceutical Co., Ltd. | JP | 30 |
| N/031562 | 2008/02/25 | 2008/02/25 | Google Inc. | US | 35 |
| N/031563 | 2008/02/25 | 2008/02/25 | Google Inc. | US | 35 |
| N/031564 | 2008/02/25 | 2008/02/25 | Google Inc. | US | 45 |
- 1 Não foi concedido o direito no uso exclusivo da(s) palavra(s) «MACAU».
- 2 Não foi concedido o direito no uso exclusivo da(s) palavra(s) «澳門».
- 3 Não foi concedido o direito no uso exclusivo da(s) palavra(s) «HOTELS & RESORTS».
- 4 Não foi concedido o direito no uso exclusivo da(s) palavra(s) «BACCARAT».
- 5 Não foi concedido o direito no uso exclusivo da(s) palavra(s) «CLUB».
- 6 Não foi concedido o direito no uso exclusivo da(s) palavra(s) «Club».
- 7 Não foi concedido o direito no uso exclusivo da(s) palavra(s) «CLUB» e «MACAU».
- 8 Não foi concedido o direito no uso exclusivo da(s) palavra(s) «Luggage».
- 9 Não foi concedido o direito no uso exclusivo da(s) palavra(s) «Baggage».
- 10 Não foi concedido o direito no uso exclusivo da(s) palavra(s) «COTAI» e «CLUB».
- 11 Não foi concedido o direito no uso exclusivo da(s) palavra(s) «Baccarat».
- 12 Não foi concedido o direito no uso exclusivo da(s) palavra(s) «SWISS».
- 13 Não foi concedido o direito no uso exclusivo da(s) palavra(s) «Logistics».
- 14 Não foi concedido o direito no uso exclusivo da(s) palavra(s) «Resorts».
- 15 Não foi concedido o direito no uso exclusivo da(s) palavra(s) «16號碼頭», «海鮮火鍋», «Ponte 16», «Macau», «Seafood Hot Pot», «Group» e «Ltd.».
- 16 Não foi concedido o direito no uso exclusivo da(s) palavra(s) «貴賓會».
- 17 Não foi concedido o direito no uso exclusivo da(s) palavra(s) «VIP CLUB».
- 18 Não foi concedido o direito no uso exclusivo da(s) palavra(s) «ARTIST».
- 19 Não foi concedido o direito no uso exclusivo da(s) palavra(s) «CONCERT».
- 20 Não foi concedido o direito no uso exclusivo da(s) palavra(s) «GAMING».
- 21 Não foi concedido o direito no uso exclusivo da(s) palavra(s) «HOTELS».
- 22 Não foi concedido o direito no uso exclusivo da(s) palavra(s) «FACILITY SERVICES».
- 23 Não foi concedido o direito no uso exclusivo da(s) palavra(s) «ASSET MANAGEMENT».
- 24 Não foi concedido o direito no uso exclusivo da(s) palavra(s) «LONDON».
- 25 Não foi concedido o direito no uso exclusivo da(s) palavra(s) «JEANS».
- 26 Não foi concedido o direito no uso exclusivo da(s) palavra(s) «hairdressing».
- 27 Não foi concedido o direito no uso exclusivo da(s) palavra(s) «HAIR».
- 28 Não foi concedido o direito no uso exclusivo da(s) palavra(s) «INN».
- 29 Não foi concedido o direito no uso exclusivo da(s) palavra(s) «銀號», «有限公司», «CASA DE CÂMBIO» e «LDA.».
- 30 Não foi concedido o direito no uso exclusivo da(s) palavra(s) «啤酒».
- 31 Não foi concedido o direito no uso exclusivo da(s) palavra(s) «珠宝».
- 32 Não foi concedido o direito no uso exclusivo da(s) palavra(s) «GOURMET».
- 33 Não foi concedido o direito no uso exclusivo da(s) palavra(s) «company».
- 34 Não foi concedido o direito no uso exclusivo da(s) palavra(s) «DIMMING».
- 35 Não foi concedido o direito no uso exclusivo da(s) palavra(s) «Cafe».
- 36 Não foi concedido o direito no uso exclusivo da(s) palavra(s) «上海» e «飯店».
- 37 Não foi concedido o direito no uso exclusivo da(s) palavra(s) «YOGA».
- 38 Não foi concedido o direito no uso exclusivo da(s) palavra(s) «JACKPOT».
- 39 Não foi concedido o direito no uso exclusivo da(s) palavra(s) «咖啡», «餅店» e «PATISSERIE».
- 40 Não foi concedido o direito no uso exclusivo da(s) palavra(s) «吧» e «BAR».
- 41 Não foi concedido o direito no uso exclusivo da(s) palavra(s) «www.» e «co.jp».
- 42 Não foi concedido o direito no uso exclusivo da(s) palavra(s) «GROUP».
- 43 Não foi concedido o direito no uso exclusivo da(s) palavra(s) «GROUP» e «HOLDINGS».
- 44 Não foi concedido o direito no uso exclusivo da(s) palavra(s) «Bar».
- 45 Não foi concedido o direito no uso exclusivo da(s) palavra(s) «LAS VEGAS».
- 46 Não foi concedido o direito no uso exclusivo da(s) palavra(s) «BAR».
- 47 Não foi concedido o direito no uso exclusivo da(s) palavra(s) «貴賓廳».
Concessão parcial
| Processo n.º | Data do registo | Data do despacho | Nome do titular | País/Território resid. | Classe | Observações |
| N/30639 | 2008/02/25 | 2008/02/25 | Caesars World, Inc. | US | 41 | Com excepção de «serviços de entretenimento; serviços de casino; serviços de formação» foi concedido o registo para os restantes serviços constantes do pedido de registo de marca. |
| N/30640 | 2008/02/05 | 2008/02/25 | Caesars World, Inc. | US | 43 | Com excepção de «serviços de hotel, motel; serviços de restaurante, bar; serviços de fornecimento de refeições» foi concedido o registo para os restantes serviços constantes do pedido de registo de marca. |
Decisões por sentença
| Processo n.º | Data de vigência | Nome do titular | País/Território resid. | Classe |
| 1
N/21688 1 N/21689 1 N/21690 1 N/21816 1 N/21817 1 N/21818 |
2008/02/22 | HARD ROCK HOLDINGS LIMITED | GB | 25 41 42 25 41 42 |
| 2 N/24229 | 2008/02/21 | 威尼斯人澳門股份有限公司 Venetian Macau S.A., em inglês, Venetian Macau Limited |
MO | 41 |
1. Por sentença do Tribunal Judicial de Base, de 31/01/2008, que transitou em julgado no dia 22/02/2008, o Tribunal decidiu revogar os despachos recorridos, ordenando o registo das marcas em causa.
2. Por sentença do Tribunal Judicial de Base, de 25/01/2008, que transitou em julgado no dia 21/02/2008, foi julgado procedente o recurso, revogando-se o despacho de recusa de registo e concedendo-se à Recorrente o registo da marca em causa.
Protecção de patente de invenção
Concessões
| Processo n.º |
Data do registo |
Data do despacho |
Nome do titular | País/Território resid. |
| I/000219 | 2008/03/03 | 2008/03/03 | Meta-C Corporation | US |
| I/000226 | 2008/03/03 | 2008/03/03 | 廖瑞麟 LIU SUI LUN, ALAN |
HK |
| I/000286 | 2008/03/03 | 2008/03/03 | 阿魯策株式會社 Aruze Corp. |
JP |
| I/000407 | 2008/03/03 | 2008/03/03 | 阿魯策株式會社 ARUZE Corp. |
JP |
| I/000420 | 2008/03/03 | 2008/03/03 | ABRIC WORLDWIDE SDN. BHD. | MY |
Protecção de desenho ou modelo
Concessões
| Processo n.º |
Data do registo |
Data do despacho |
Nome do titular | País/Território resid. |
| D/000350 | 2008/03/05 | 2008/03/05 | OSIM International Ltd | SG |
| D/000351 | 2008/03/05 | 2008/03/05 | OSIM International Ltd | SG |
| D/000352 | 2008/03/05 | 2008/03/05 | OSIM International Ltd | SG |
| D/000387 | 2008/03/05 | 2008/03/05 | Shell Brands International AG | CH |
| D/000388 | 2008/03/05 | 2008/03/05 | Shell Brands International AG | CH |
| D/000389 | 2008/03/05 | 2008/03/05 | Shell Brands International AG | CH |
| D/000390 | 2008/03/05 | 2008/03/05 | Shell Brands International AG | CH |
Protecção de estabelecimento
Concessões
| Processo n.º |
Data do registo |
Data do despacho |
Nome do titular | País/Território resid. |
| E/000089 | 2008/03/05 | 2008/03/05 | 香港通訊一人有限公司 Telecomunicações Hong Kong, Sociedade Unipessoal Lda./Telecom Hong Kong Company Limited |
MO |
| E/000104 | 2008/02/25 | 2008/02/25 | 瑞昌銀號有限公司 | MO |
| E/000105 | 2008/02/25 | 2008/02/25 | 陳錦勝 CHAN KAM SENG |
MO |
| E/000106 | 2008/02/25 | 2008/02/25 | DINING CONCEPTS RESTAURAÇÃO, LIMITADA | MO |
| E/000107 | 2008/02/25 | 2008/02/25 | JBA工程顧問(亞洲)有限公司 JBA CONSULTADORIA DE ENGENHARIA (ÁSIA) LIMITADA |
MO |
- 1 Não foi concedido o direito no uso exclusivo da(s) palavra(s) «香港», «通訊», «Telecom» e «Hong Kong».
- 2 Não foi concedido o direito no uso exclusivo da(s) palavra(s) «銀號», «有限公司», «CASA DE CÂMBIO» e «LDA.».
- 3 Não foi concedido o direito no uso exclusivo da(s) palavra(s) «海鮮», «飯店» e «燉品».
- 4 Não foi concedido o direito no uso exclusivo da(s) palavra(s) «ITALIAN CUISINE».
Protecção de marcas
Renovações
| Processo n.º | Marca n.º |
Data da renovação |
Nome do titular | País/Território resid. |
| 371/INPI | 317-M | 2008/03/04 | LEE KUM KEE COMPANY LIMITED | HK |
| 663/INPI | 602-M | 2008/02/26 | ALLIED DOMECQ SPIRITS & WINE LIMITED | GB |
| 3137/INPI | 3032-M | 2008/02/29 | Johnson & Johnson | US |
| 3451/INPI | 3322-M | 2008/02/21 | EVE HOLDINGS, INC. | US |
| 5983/INPI | 5842-M | 2008/02/25 | DESCAMPS S.A., société anonyme | FR |
| 5984/INPI | 5843-M | 2008/02/25 | DESCAMPS S.A., société anonyme | FR |
| 5985/INPI | 5844-M | 2008/02/25 | DESCAMPS S.A., société anonyme | FR |
| 7542/INPI | 7312-M | 2008/02/27 | MITSUBISHI RAYON KABUSHIKI KAISHA que comercialmente também usa MITSUBISHI RAYON CO., LTD. | JP |
| 8085/INPI | 7795-M | 2008/02/21 | MILTON BRADLEY INTERNATIONAL, INC. | US |
| 8086/INPI | 7796-M | 2008/02/21 | MILTON BRADLEY INTERNATIONAL, INC. | US |
| 8088/INPI | 7798-M | 2008/02/21 | MILTON BRADLEY INTERNATIONAL, INC. | US |
| 8089/INPI | 7799-M | 2008/02/21 | MILTON BRADLEY INTERNATIONAL, INC. | US |
| 8090/INPI | 7800-M | 2008/02/21 | MILTON BRADLEY INTERNATIONAL, INC. | US |
| 8091/INPI | 7801-M | 2008/02/21 | MILTON BRADLEY INTERNATIONAL, INC. | US |
| 9411/INPI | 9284-M | 2008/02/18 | BRITISH AIRWAYS Plc | GB |
| 9555/INPI | 9473-M | 2008/03/04 | Diageo Ireland | IE |
| 10297/INPI | 10207-M | 2008/02/29 | KAM HEUNG FOOD PRODUCTS CO., LTD. | HK |
| 10739/INPI | 10574-M | 2008/02/18 | SOGRAPE VINHOS S.A. | PT |
| 10740/INPI | 10575-M | 2008/02/18 | SOGRAPE VINHOS S.A. | PT |
| 10741/INPI | 10576-M | 2008/02/18 | SOGRAPE VINHOS S.A. | PT |
| 10743/INPI | 10578-M | 2008/02/18 | SOGRAPE VINHOS S.A. | PT |
| 10746/INPI | 10581-M | 2008/03/04 | BVM S.p.A. | IT |
| 10747/INPI | 10582-M | 2008/03/04 | BVM S.p.A. | IT |
| 10748/INPI | 10583-M | 2008/03/04 | BVM S.p.A. | IT |
| 11092/INPI | 10941-M | 2008/03/04 | Alianda Woods PTY LTD | AU |
| 13356/INPI | 13258-M | 2008/03/06 | FERRERO S.p.A. | IT |
| N/005475 | -- | 2008/03/05 | Pfizer Health AB | SE |
| N/005476 | -- | 2008/03/05 | Pfizer Health AB | SE |
| N/005477 | -- | 2008/03/05 | Pfizer Health AB | SE |
| N/005989 | -- | 2008/03/04 | Sun Microsystems, Inc. | US |
| N/006006 | -- | 2008/02/18 | MERCK & CO. INC. | US |
| N/006093 | -- | 2008/02/18 | Discovery Communications, Inc., uma sociedade organizada e existindo segundo as leis do Estado de Delaware | US |
| N/006095 | -- | 2008/02/18 | Discovery Communications, Inc., uma sociedade organizada e existindo segundo as leis do Estado de Delaware | US |
| N/006098 | -- | 2008/02/18 | Discovery Communications, Inc., uma sociedade organizada e existindo segundo as leis do Estado de Delaware | US |
| N/006149 | -- | 2008/02/28 | Micro Compact Car smart GmbH | DE |
| N/006150 | -- | 2008/02/28 | Micro Compact Car smart GmbH | DE |
| N/006151 | -- | 2008/02/28 | Micro Compact Car smart GmbH | DE |
| N/006152 | -- | 2008/02/28 | Micro Compact Car smart GmbH | DE |
| N/006153 | -- | 2008/02/28 | Micro Compact Car smart GmbH | DE |
| N/006154 | -- | 2008/02/28 | Micro Compact Car smart GmbH | DE |
| N/006155 | -- | 2008/02/28 | Micro Compact Car smart GmbH | DE |
| N/006156 | -- | 2008/02/28 | Micro Compact Car smart GmbH | DE |
| N/006157 | -- | 2008/02/28 | Micro Compact Car smart GmbH | DE |
| N/006158 | -- | 2008/02/28 | Micro Compact Car smart GmbH | DE |
| N/006159 | -- | 2008/02/28 | Micro Compact Car smart GmbH | DE |
| N/006429 | -- | 2008/02/20 | Network Travel Enterprises Limited | VG |
| N/006430 | -- | 2008/02/20 | Network Travel Enterprises Limited | VG |
| N/006431 | -- | 2008/02/20 | Network Travel Enterprises Limited | VG |
| N/006432 | -- | 2008/02/20 | Network Travel Enterprises Limited | VG |
| N/006433 | -- | 2008/02/20 | Network Travel Enterprises Limited | VG |
| N/006434 | -- | 2008/02/20 | Network Travel Enterprises Limited | VG |
| N/006435 | -- | 2008/02/20 | Network Travel Enterprises Limited | VG |
| N/006436 | -- | 2008/02/20 | Network Travel Enterprises Limited | VG |
| N/006437 | -- | 2008/02/20 | Network Travel Enterprises Limited | VG |
| N/006438 | -- | 2008/02/20 | Network Travel Enterprises Limited | VG |
| N/006439 | -- | 2008/02/20 | Network Travel Enterprises Limited | VG |
| N/006440 | -- | 2008/02/20 | Network Travel Enterprises Limited | VG |
| N/006441 | -- | 2008/02/20 | Network Travel Enterprises Limited | VG |
| N/006442 | -- | 2008/02/20 | Network Travel Enterprises Limited | VG |
| N/006502 | -- | 2008/02/26 | Société des Produits Nestlé S.A., uma sociedade organizada e existindo segundo as leis da Suíça | CH |
| N/006525 | -- | 2008/02/26 | Compagnie Gervais Danone S.A. | FR |
| N/006526 | -- | 2008/02/26 | Compagnie Gervais Danone S.A. | FR |
| N/006527 | -- | 2008/02/26 | Compagnie Gervais Danone S.A. | FR |
| N/006635 | -- | 2008/02/25 | NEW-RAY TOYS COMPANY LIMITED | VG |
| N/006713 | -- | 2008/02/26 | COMPAGNIE GERVAIS DANONE, (société anonyme) | FR |
| N/006714 | -- | 2008/02/26 | COMPAGNIE GERVAIS DANONE, (société anonyme) | FR |
| N/006715 | -- | 2008/02/26 | COMPAGNIE GERVAIS DANONE, (société anonyme) | FR |
| N/006716 | -- | 2008/02/26 | COMPAGNIE GERVAIS DANONE, (société anonyme) | FR |
| N/006734 | -- | 2008/02/26 | PCCW-HKT DataCom Services Limited | HK |
| N/006735 | -- | 2008/02/26 | PCCW-HKT DataCom Services Limited | HK |
| N/006736 | -- | 2008/02/26 | PCCW-HKT DataCom Services Limited | HK |
| N/006737 | -- | 2008/02/26 | PCCW-HKT DataCom Services Limited | HK |
| N/006738 | -- | 2008/02/26 | PCCW-HKT DataCom Services Limited | HK |
| N/006739 | -- | 2008/02/26 | PCCW-HKT DataCom Services Limited | HK |
| N/006740 | -- | 2008/02/26 | PCCW-HKT DataCom Services Limited | HK |
| N/006741 | -- | 2008/02/26 | PCCW-HKT DataCom Services Limited | HK |
| N/006764 | -- | 2008/02/26 | Royal King International Limited, uma companhia de responsabilidade limitada incorporada sob as leis de Hong Kong | HK |
| N/006812 | -- | 2008/02/26 | JEAN-MARIE PHARMACAL COMPANY LIMITED, uma companhia de responsabilidade limitada organizada e existindo de acordo com as leis de Hong Kong SAR | HK |
| N/006822 | -- | 2008/02/27 | Kadsley Company Limited, uma sociedade organizada e existindo segundo as leis das Ilhas Virgens Britânicas | VG |
| N/006823 | -- | 2008/02/27 | Kadsley Company Limited, uma sociedade organizada e existindo segundo as leis das Ilhas Virgens Britânicas | VG |
| N/006824 | -- | 2008/02/27 | Kadsley Company Limited, uma sociedade organizada e existindo segundo as leis das Ilhas Virgens Britânicas | VG |
| N/006825 | -- | 2008/02/27 | Kadsley Company Limited, uma sociedade organizada e existindo segundo as leis das Ilhas Virgens Britânicas | VG |
| N/006831 | -- | 2008/02/26 | 炳翰製藥廠股份有限公司 Bing Han Pharmaceutical Factory Co., Ltd. |
TW |
| N/006832 | -- | 2008/02/26 | 炳翰製藥廠股份有限公司 Bing Han Pharmaceutical Factory Co., Ltd. |
TW |
| N/006846 | -- | 2008/02/25 | CEREBOS PACIFIC LIMITED, sociedade constituída na República de Singapura | SG |
| N/006847 | -- | 2008/02/25 | CEREBOS PACIFIC LIMITED, sociedade constituída na República de Singapura | SG |
| N/006848 | -- | 2008/02/25 | CEREBOS PACIFIC LIMITED, sociedade constituída na República de Singapura | SG |
| N/006849 | -- | 2008/02/25 | CEREBOS PACIFIC LIMITED, sociedade constituída na República de Singapura | SG |
| N/006850 | -- | 2008/02/25 | CEREBOS PACIFIC LIMITED, sociedade constituída na República de Singapura | SG |
| N/006851 | -- | 2008/02/25 | CEREBOS PACIFIC LIMITED, sociedade constituída na República de Singapura | SG |
| N/006852 | -- | 2008/03/05 | Sun Microsystems, Inc. | US |
| N/006881 | -- | 2008/03/06 | TEIJIN KABUSHIKI KAISHA (TEIJIN LIMITED), corporação organizada e existindo de acordo com as leis do Japão | JP |
| N/006882 | -- | 2008/03/06 | TEIJIN KABUSHIKI KAISHA (TEIJIN LIMITED), corporação organizada e existindo de acordo com as leis do Japão | JP |
| N/006883 | -- | 2008/03/06 | TEIJIN KABUSHIKI KAISHA (TEIJIN LIMITED), corporação organizada e existindo de acordo com as leis do Japão | JP |
| N/006885 | -- | 2008/02/29 | KIMBERLY-CLARK WORLDWIDE, INC., uma sociedade organizada e existindo segundo as leis do Estado de Delaware | US |
| N/006938 | -- | 2008/02/26 | Société des Produits Nestlé S.A. | CH |
| N/006939 | -- | 2008/02/26 | Société des Produits Nestlé S.A. | CH |
| N/006940 | -- | 2008/02/26 | Société des Produits Nestlé S.A. | CH |
| N/006941 | -- | 2008/02/26 | Société des Produits Nestlé S.A. | CH |
| N/006942 | -- | 2008/02/26 | Société des Produits Nestlé S.A. | CH |
| N/006943 | -- | 2008/02/26 | Société des Produits Nestlé S.A. | CH |
| N/006950 | -- | 2008/02/18 | MERCK & CO. INC. | US |
| N/006951 | -- | 2008/02/18 | MERCK & CO. INC. | US |
| N/006953 | -- | 2008/03/06 | Kabushiki Kaisha Sony Computer Entertainment, também negociando como Sony Computer Entertainment Inc., uma sociedade organizada e existindo segundo as leis do Japão | JP |
| N/006954 | -- | 2008/03/06 | Kabushiki Kaisha Sony Computer Entertainment, também negociando como Sony Computer Entertainment Inc., uma sociedade organizada e existindo segundo as leis do Japão | JP |
| N/006991 | -- | 2008/02/25 | Jardine OneSolution Establishment, incorporada no Liechtenstein | LI |
| N/006995 | -- | 2008/02/25 | Jardine OneSolution Establishment, incorporada no Liechtenstein | LI |
| N/007000 | -- | 2008/02/25 | Jardine OneSolution Establishment, incorporada no Liechtenstein | LI |
| N/007024 | -- | 2008/02/25 | Jardine Onesolution Establishment, incorporada no Liechtenstein | LI |
| N/007027 | -- | 2008/02/25 | Jardine OneSolution Establishment, incorporada no Liechtenstein | LI |
| N/007032 | -- | 2008/02/25 | Jardine Onesolution Establishment, incorporada no Liechtenstein | LI |
| N/007046 | -- | 2008/02/25 | Jardine OneSolution Establishment, incorporada no Liechtenstein | LI |
| N/007049 | -- | 2008/02/25 | Jardine OneSolution Establishment, incorporada no Liechtenstein | LI |
| N/007054 | -- | 2008/02/25 | Jardine OneSolution Establishment, incorporada no Liechtenstein | LI |
| N/007217 | -- | 2008/03/05 | Sun Microsystems, Inc. | US |
| N/007221 | -- | 2008/02/25 | MORGAN S.A. | FR |
| N/007232 | -- | 2008/02/29 | KIMBERLY-CLARK WORLDWIDE, INC., uma sociedade organizada e existindo segundo as leis do Estado de Delaware | US |
| N/007233 | -- | 2008/02/29 | KIMBERLY-CLARK WORLDWIDE, INC., uma sociedade organizada e existindo segundo as leis do Estado de Delaware | US |
| N/007234 | -- | 2008/02/29 | KIMBERLY-CLARK WORLDWIDE, INC., uma sociedade organizada e existindo segundo as leis do Estado de Delaware | US |
| N/007235 | -- | 2008/02/29 | KIMBERLY-CLARK WORLDWIDE, INC., uma sociedade organizada e existindo segundo as leis do Estado de Delaware | US |
| N/007236 | -- | 2008/02/29 | KIMBERLY-CLARK WORLDWIDE, INC., uma sociedade organizada e existindo segundo as leis do Estado de Delaware | US |
| N/007372 | -- | 2008/02/29 | CPA AUSTRALIA, uma companhia por garantia limitada organizada e existindo segundo as leis da Commonwealth da Austrália | AU |
| N/007373 | -- | 2008/02/29 | CPA AUSTRALIA, uma companhia por garantia limitada organizada e existindo segundo as leis da Commonwealth da Austrália | AU |
| N/007374 | -- | 2008/02/29 | CPA AUSTRALIA, uma companhia por garantia limitada organizada e existindo segundo as leis da Commonwealth da Austrália | AU |
| N/007375 | -- | 2008/02/29 | CPA AUSTRALIA, uma companhia por garantia limitada organizada e existindo segundo as leis da Commonwealth da Austrália | AU |
| N/007376 | -- | 2008/02/29 | CPA AUSTRALIA, uma companhia por garantia limitada organizada e existindo segundo as leis da Commonwealth da Austrália | AU |
| N/007377 | -- | 2008/02/29 | CPA AUSTRALIA, uma companhia por garantia limitada organizada e existindo segundo as leis da Commonwealth da Austrália | AU |
| N/007378 | -- | 2008/02/29 | CPA AUSTRALIA, uma companhia por garantia limitada organizada e existindo segundo as leis da Commonwealth da Austrália | AU |
| N/007379 | -- | 2008/02/29 | CPA AUSTRALIA, uma companhia por garantia limitada organizada e existindo segundo as leis da Commonwealth da Austrália | AU |
| N/007380 | -- | 2008/02/29 | CPA AUSTRALIA, uma companhia por garantia limitada organizada e existindo segundo as leis da Commonwealth da Austrália | AU |
| N/007381 | -- | 2008/02/29 | CPA AUSTRALIA, uma companhia por garantia limitada organizada e existindo segundo as leis da Commonwealth da Austrália | AU |
| N/007382 | -- | 2008/02/29 | CPA AUSTRALIA, uma companhia por garantia limitada organizada e existindo segundo as leis da Commonwealth da Austrália | AU |
| N/007383 | -- | 2008/02/29 | CPA AUSTRALIA, uma companhia por garantia limitada organizada e existindo segundo as leis da Commonwealth da Austrália | AU |
| N/007384 | -- | 2008/02/29 | CPA AUSTRALIA, uma companhia por garantia limitada organizada e existindo segundo as leis da Commonwealth da Austrália | AU |
| N/007385 | -- | 2008/02/29 | CPA AUSTRALIA, uma companhia por garantia limitada organizada e existindo segundo as leis da Commonwealth da Austrália | AU |
| N/007386 | -- | 2008/02/29 | CPA AUSTRALIA, uma companhia por garantia limitada organizada e existindo segundo as leis da Commonwealth da Austrália | AU |
| N/007387 | -- | 2008/02/29 | CPA AUSTRALIA, uma companhia por garantia limitada organizada e existindo segundo as leis da Commonwealth da Austrália | AU |
| N/007388 | -- | 2008/02/29 | CPA AUSTRALIA, uma companhia por garantia limitada organizada e existindo segundo as leis da Commonwealth da Austrália | AU |
| N/007389 | -- | 2008/02/29 | CPA AUSTRALIA, uma companhia por garantia limitada organizada e existindo segundo as leis da Commonwealth da Austrália | AU |
| N/007502 | -- | 2008/02/20 | Orange Personal Communications Services Limited | GB |
| N/007503 | -- | 2008/02/20 | Orange Personal Communications Services Limited | GB |
| N/007506 | -- | 2008/02/20 | Orange Personal Communications Services Limited | GB |
| N/007507 | -- | 2008/02/20 | Orange Personal Communications Services Limited | GB |
| N/007508 | -- | 2008/02/20 | Orange Personal Communications Services Limited | GB |
| N/007509 | -- | 2008/02/20 | Orange Personal Communications Services Limited | GB |
| N/007510 | -- | 2008/02/20 | Orange Personal Communications Services Limited | GB |
| N/007526 | -- | 2008/02/29 | SLOT - SOCIEDADE DE LOTARIAS E APOSTAS MÚTUAS DE MACAU, LDA. | MO |
Averbamentos
| Processo n.º |
Data do despacho |
Natureza do averbamento |
Requerente/Titular | Modificação |
| 663/INPI (602-M) |
2008/02/26 | Modificação de sede | ALLIED DOMECQ SPIRITS & WINE LIMITED | Chivas House, 72 Chancellors Road, Londres, W6 9RS, Inglaterra |
| 2345/INPI (2241-M) |
2008/03/05 | Transmissão por fusão | Gillette Czech, s.r.o. | Procter & Gamble Czech Republic s.r.o., com sede em Rakovnik, Ottova 402, Post Code: 269 32, Czech Republic |
| 3451/INPI (3322-M) |
2008/02/20 | Modificação de sede | EVE HOLDINGS, INC. | 1105 N. Market Street, Suite 1300, Wilmington, Delaware 19801, USA |
| 5983/INPI (5842-M) |
2008/02/25 | Modificação de identidade | DESCAMPS S.A., société anonyme | DESCAMPS |
| 5984/INPI (5843-M) |
2008/02/25 | Modificação de identidade | DESCAMPS S.A., société anonyme | DESCAMPS |
| 5985/INPI 5844-M) |
2008/02/25 | Modificação de identidade | DESCAMPS S.A., société anonyme | DESCAMPS |
| 6037/INPI (5896-M) |
2008/03/06 | Modificação de identidade | LEGRAND, Société Anonyme | LEGRAND FRANCE |
| 6038/INPI (5897-M) |
2008/03/06 | Modificação de identidade | LEGRAND, Société Anonyme | LEGRAND FRANCE |
| 6039/INPI (5898-M) |
2008/03/06 | Modificação de identidade | LEGRAND, Société Anonyme | LEGRAND FRANCE |
| 6040/INPI (5899-M) |
2008/03/06 | Modificação de identidade | LEGRAND, Société Anonyme | LEGRAND FRANCE |
| 7542/INPI (7312-M) |
2008/02/27 | Modificação de sede | MITSUBISHI RAYON KABUSHIKI KAISHA que comercialmente também usa MITSUBISHI RAYON CO., LTD. | 6-41, Konan 1-Chome, Minato-ku, Tokyo, Japão |
| 8085/INPI (7795-M) |
2008/02/21 | Modificação de identidade | MILTON BRADLEY INTERNATIONAL, INC. | HASBRO INTERNATIONAL, INC. |
| 8085/INPI (7795-M) |
2008/02/21 | Transmissão por fusão | HASBRO INTERNATIONAL, INC. | HASBRO INTERNATIONAL, INC., uma sociedade de Delaware |
| 8086/INPI (7796-M) |
2008/02/21 | Modificação de identidade | MILTON BRADLEY INTERNATIONAL, INC. | HASBRO INTERNATIONAL, INC. |
| 8086/INPI (7796-M) |
2008/02/21 | Transmissão por fusão | HASBRO INTERNATIONAL, INC. | HASBRO INTERNATIONAL, INC., uma sociedade de Delaware |
| 8088/INPI (7798-M) |
2008/02/21 | Modificação de identidade | MILTON BRADLEY INTERNATIONAL, INC. | HASBRO INTERNATIONAL, INC. |
| 8088/INPI (7798-M) |
2008/02/21 | Transmissão por fusão | HASBRO INTERNATIONAL, INC. | HASBRO INTERNATIONAL, INC., uma sociedade de Delaware |
| 8089/INPI (7799-M) |
2008/02/21 | Modificação de identidade | MILTON BRADLEY INTERNATIONAL, INC. | HASBRO INTERNATIONAL, INC. |
| 8089/INPI (7799-M) |
2008/02/21 | Transmissão por fusão | HASBRO INTERNATIONAL, INC. | HASBRO INTERNATIONAL, INC., uma sociedade de Delaware |
| 8090/INPI (7800-M) |
2008/02/21 | Modificação de identidade | MILTON BRADLEY INTERNATIONAL, INC. | HASBRO INTERNATIONAL, INC. |
| 8090/INPI (7800-M) |
2008/02/21 | Transmissão por fusão | HASBRO INTERNATIONAL, INC. | HASBRO INTERNATIONAL, INC., uma sociedade de Delaware |
| 8091/INPI (7801-M) |
2008/02/21 | Modificação de identidade | MILTON BRADLEY INTERNATIONAL, INC. | HASBRO INTERNATIONAL, INC. |
| 8091/INPI (7801-M) |
2008/02/21 | Transmissão por fusão | HASBRO INTERNATIONAL, INC. | HASBRO INTERNATIONAL, INC., uma sociedade de Delaware |
| 9260/INPI (9036-M) |
2008/03/06 | Modificação de sede | MITSUBISHI JIDOSHA KOGYO KABUSHIKI KAISHA | 33-8, Shiba 5-chome, Minato-ku, Tokyo, Japan |
| 9721/INPI (9570-M) |
2008/02/21 | Transmissão | HILTON INTERNATIONAL CO. | HLT International IP LLC, com sede em 9336 Civic Center Drive, Beverly Hills, California 90210, USA |
| 9760/DSE (9892-M) |
2008/02/26 | Transmissão | TSE SUI LUEN JEWELLERY COMPANY LIMITED | Concepts Management (H.K.) Limited, com sede em Ground Floor, Block B, Summit Building, 30 Man Yue Street, Hung Hom, Kowloon, Hong Kong |
| 9761/DSE (9894-M) |
2008/02/26 | Transmissão | TSE SUI LUEN JEWELLERY COMPANY LIMITED | Concepts Management (H.K.) Limited, com sede em Ground Floor, Block B, Summit Building, 30 Man Yue Street, Hung Hom, Kowloon, Hong Kong |
| 9762/DSE (9895-M) |
2008/02/26 | Transmissão | TSE SUI LUEN JEWELLERY COMPANY LIMITED | Concepts Management (H.K.) Limited, com sede em Ground Floor, Block B, Summit Building, 30 Man Yue Street, Hung Hom, Kowloon, Hong Kong |
| 9763/DSE (9893-M) |
2008/02/26 | Transmissão | TSE SUI LUEN JEWELLERY COMPANY LIMITED | Concepts Management (H.K.) Limited, com sede em Ground Floor, Block B, Summit Building, 30 Man Yue Street, Hung Hom, Kowloon, Hong Kong |
| 11092/INPI (10941-M) |
2008/03/04 | Modificação de identidade | Alianda Woods PTY LTD | Nylex Corporation Pty Ltd |
| 11092/INPI (10941-M) |
2008/03/04 | Modificação de sede | Nylex Corporation Pty Ltd | 50 - 70 Stanley Drive, Somerton, Victoria, Australia |
| 12982/INPI (12864-M) |
2008/03/06 | Modificação de identidade | Carlton and United Beverages Limited | Foster’s Australia Limited |
| 12982/INPI (12864-M) |
2008/03/06 | Transmissão | Foster’s Australia Limited | Foster’s Brands Limited, com sede em 70 London Road, Twickenham, Middlesex TW1 3QS, United Kingdom |
| 12982/INPI (12864-M) |
2008/03/06 | Licença de exploração | Foster’s Brands Limited | Foster’s Australia Limited, com sede em 77 Southbank Boulevard, Southbank, Victoria 3006, Australia |
| 12983/INPI (12865-M) |
2008/03/06 | Modificação de identidade | Carlton and United Beverages Limited | Foster’s Australia Limited |
| 12983/INPI (12865-M) |
2008/03/06 | Transmissão | Foster’s Australia Limited | Foster’s Brands Limited, com sede em 70 London Road, Twickenham, Middlesex TW1 3QS, United Kingdom |
| 12983/INPI (12865-M) |
2008/03/06 | Licença de exploração | Foster’s Brands Limited | Foster’s Australia Limited, com sede em 77 Southbank Boulevard, Southbank, Victoria 3006, Australia |
| 12984/INPI (12866-M) |
2008/03/06 | Modificação de identidade | Carlton and United Beverages Limited | Foster’s Australia Limited |
| 12984/INPI (12866-M) |
2008/03/06 | Transmissão | Foster’s Australia Limited | Foster’s Brands Limited, com sede em 70 London Road, Twickenham, Middlesex TW1 3QS, United Kingdom |
| 12984/INPI (12866-M) |
2008/03/06 | Licença de exploração | Foster’s Brands Limited | Foster’s Australia Limited, com sede em 77 Southbank Boulevard, Southbank, Victoria 3006, Australia |
| 13821/INPI (13765-M) |
2008/03/06 | Modificação de identidade | Carlton and United Beverages Limited | Foster’s Australia Limited |
| 13821/INPI (13765-M) |
2008/03/06 | Transmissão | Foster’s Australia Limited | Foster’s Brands Limited, com sede em 70 London Road, Twickenham, Middlesex TW1 3QS, United Kingdom |
| 13821/INPI (13765-M) |
2008/03/06 | Licença de exploração | Foster’s Brands Limited | Foster’s Australia Limited, com sede em 77 Southbank Boulevard, Southbank, Victoria 3006, Australia |
| N/003329 - |
2008/02/22 | Transmissão | HILTON INTERNATIONAL CO. uma sociedade organizada e existindo segundo as leis do Estado de Delaware | HLT International IP LLC, com sede em 9336 Civic Center Drive, Beverly Hills, California 90210, USA |
| N/003657 -- |
2008/02/22 | Transmissão | Hilton International Co. | HLT International IP LLC, com sede em 9336 Civic Center Drive, Beverly Hills, California 90210, USA |
| N/004203 -- |
2008/02/20 | Modificação de sede | Healthy Gain Investments Limited | P. O. Box 957, Offshore Incorporations Centre, Road Town Tortola, British Virgin Islands |
| N/005989 -- |
2008/03/04 | Modificação de sede | Sun Microsystems, Inc. | 4150 Network Circle, Santa Clara, CA 95054, U.S.A. |
| N/006093 -- |
2008/02/18 | Modificação de sede | Discovery Communications, Inc., uma sociedade organizada e existindo segundo as leis do Estado de Delaware | One Discovery Place, Silver Spring, Maryland 20910, U.S.A. |
| N/006093 -- |
2008/02/18 | Modificação de identidade | Discovery Communications, Inc., uma sociedade organizada e existindo segundo as leis do Estado de Delaware | Discovery Communications, LLC |
| N/006095 -- |
2008/02/18 | Modificação de sede | Discovery Communications, Inc., uma sociedade organizada e existindo segundo as leis do Estado de Delaware | One Discovery Place, Silver Spring, Maryland 20910, U.S.A. |
| N/006095 -- |
2008/02/18 | Modificação de identidade | Discovery Communications, Inc., uma sociedade organizada e existindo segundo as leis do Estado de Delaware | Discovery Communications, LLC |
| N/006098 -- |
2008/02/18 | Modificação de sede | Discovery Communications, Inc., uma sociedade organizada e existindo segundo as leis do Estado de Delaware | One Discovery Place, Silver Spring, Maryland 20910, U.S.A. |
| N/006098 -- |
2008/02/18 | Modificação de identidade | Discovery Communications, Inc., uma sociedade organizada e existindo segundo as leis do Estado de Delaware | Discovery Communications, LLC |
| N/006149 -- |
2008/02/28 | Modificação de identidade | Micro Compact Car smart GmbH | smart GmbH |
| N/006149 -- |
2008/02/28 | Transmissão por fusão | smart GmbH | DaimlerChrysler AG |
| N/006149 -- |
2008/02/28 | Modificação de identidade | DaimlerChrysler AG | Daimler AG |
| N/006149 -- |
2008/02/28 | Modificação de sede | Daimler AG | Mercedesstrasse 137, D-70327 Stuttgart, Germany |
| N/006150 -- |
2008/02/28 | Modificação de identidade | Micro Compact Car smart GmbH | smart GmbH |
| N/006150 -- |
2008/02/28 | Transmissão por fusão | smart GmbH | DaimlerChrysler AG |
| N/006150 -- |
2008/02/28 | Modificação de identidade | DaimlerChrysler AG | Daimler AG |
| N/006150 -- |
2008/02/28 | Modificação de sede | Daimler AG | Mercedesstrasse 137, D-70327 Stuttgart, Germany |
| N/006151 -- |
2008/02/28 | Modificação de identidade | Micro Compact Car smart GmbH | smart GmbH |
| N/006151 -- |
2008/02/28 | Transmissão por fusão | smart GmbH | DaimlerChrysler AG |
| N/006151 -- |
2008/02/28 | Modificação de identidade | DaimlerChrysler AG | Daimler AG |
| N/006151 -- |
2008/02/28 | Modificação de sede | Daimler AG | Mercedesstrasse 137, D-70327 Stuttgart, Germany |
| N/006152 -- |
2008/02/28 | Modificação de identidade | Micro Compact Car smart GmbH | smart GmbH |
| N/006152 -- |
2008/02/28 | Transmissão por fusão | smart GmbH | DaimlerChrysler AG |
| N/006152 -- |
2008/02/28 | Modificação de identidade | DaimlerChrysler AG | Daimler AG |
| N/006152 -- |
2008/02/28 | Modificação de sede | Daimler AG | Mercedesstrasse 137, D-70327 Stuttgart, Germany |
| N/006153 -- |
2008/02/28 | Modificação de identidade | Micro Compact Car smart GmbH | smart GmbH |
| N/006153 -- |
2008/02/28 | Transmissão por fusão | smart GmbH | DaimlerChrysler AG |
| N/006153 -- |
2008/02/28 | Modificação de identidade | DaimlerChrysler AG | Daimler AG |
| N/006153 -- |
2008/02/28 | Modificação de sede | Daimler AG | Mercedesstrasse 137, D-70327 Stuttgart, Germany |
| N/006154 -- |
2008/02/28 | Modificação de identidade | Micro Compact Car smart GmbH | smart GmbH |
| N/006154 -- |
2008/02/28 | Transmissão por fusão | smart GmbH | DaimlerChrysler AG |
| N/006154 -- |
2008/02/28 | Modificação de identidade | DaimlerChrysler AG | Daimler AG |
| N/006154 -- |
2008/02/28 | Modificação de sede | Daimler AG | Mercedesstrasse 137, D-70327 Stuttgart, Germany |
| N/006155 -- |
2008/02/28 | Modificação de identidade | Micro Compact Car smart GmbH | smart GmbH |
| N/006155 -- |
2008/02/28 | Transmissão por fusão | smart GmbH | DaimlerChrysler AG |
| N/006155 -- |
2008/02/28 | Modificação de identidade | DaimlerChrysler AG | Daimler AG |
| N/006155 -- |
2008/02/28 | Modificação de sede | Daimler AG | Mercedesstrasse 137, D-70327 Stuttgart, Germany |
| N/006156 -- |
2008/02/28 | Modificação de identidade | Micro Compact Car smart GmbH | smart GmbH |
| N/006156 -- |
2008/02/28 | Transmissão por fusão | smart GmbH | DaimlerChrysler AG |
| N/006156 -- |
2008/02/28 | Modificação de identidade | DaimlerChrysler AG | Daimler AG |
| N/006156 -- |
2008/02/28 | Modificação de sede | Daimler AG | Mercedesstrasse 137, D-70327 Stuttgart, Germany |
| N/006157 -- |
2008/02/28 | Modificação de identidade | Micro Compact Car smart GmbH | smart GmbH |
| N/006157 -- |
2008/02/28 | Transmissão por fusão | smart GmbH | DaimlerChrysler AG |
| N/006157 -- |
2008/02/28 | Modificação de identidade | DaimlerChrysler AG | Daimler AG |
| N/006157 -- |
2008/02/28 | Modificação de sede | Daimler AG | Mercedesstrasse 137, D-70327 Stuttgart, Germany |
| N/006158 -- |
2008/02/28 | Modificação de identidade | Micro Compact Car smart GmbH | smart GmbH |
| N/006158 -- |
2008/02/28 | Transmissão por fusão | smart GmbH | DaimlerChrysler AG |
| N/006158 -- |
2008/02/28 | Modificação de identidade | DaimlerChrysler AG | Daimler AG |
| N/006158 -- |
2008/02/28 | Modificação de sede | Daimler AG | Mercedesstrasse 137, D-70327 Stuttgart, Germany |
| N/006159 -- |
2008/02/28 | Modificação de identidade | Micro Compact Car smart GmbH | smart GmbH |
| N/006159 -- |
2008/02/28 | Transmissão por fusão | smart GmbH | DaimlerChrysler AG |
| N/006159 -- |
2008/02/28 | Modificação de identidade | DaimlerChrysler AG | Daimler AG |
| N/006159 -- |
2008/02/28 | Modificação de sede | Daimler AG | Mercedesstrasse 137, D-70327 Stuttgart, Germany |
| N/006525 -- |
2008/02/26 | Modificação de sede | Compagnie Gervais Danone S.A. | 17 Boulevard Haussmann, 75009 Paris, France |
| N/006526 -- |
2008/02/26 | Modificação de sede | Compagnie Gervais Danone S.A. | 17 Boulevard Haussmann, 75009 Paris, France |
| N/006527 -- |
2008/02/26 | Modificação de sede | Compagnie Gervais Danone S.A. | 17 Boulevard Haussmann, 75009 Paris, France |
| N/006713 -- |
2008/02/26 | Modificação de sede | COMPAGNIE GERVAIS DANONE, (société anonyme) | 17 Boulevard Haussmann, 75009 Paris, France |
| N/006714 -- |
2008/02/26 | Modificação de sede | COMPAGNIE GERVAIS DANONE, (société anonyme) | 17 Boulevard Haussmann, 75009 Paris, France |
| N/006715 -- |
2008/02/26 | Modificação de sede | COMPAGNIE GERVAIS DANONE, (société anonyme) | 17 Boulevard Haussmann, 75009 Paris, France |
| N/006716 -- |
2008/02/26 | Modificação de sede | COMPAGNIE GERVAIS DANONE, (société anonyme) | 17 Boulevard Haussmann, 75009 Paris, France |
| N/006812 -- |
2008/02/26 | Modificação de sede | JEAN-MARIE PHARMACAL COMPANY LIMITED, uma companhia de responsabilidade limitada organizada e existindo de acordo com as leis de Hong Kong SAR | 1/F, GMP Centre, 12 Dai Fu Street, Tai Po Industrial Estate, Tai Po, New Territories, Hong Kong |
| N/006852 -- |
2008/03/05 | Modificação de sede | Sun Microsystems, Inc. | 4150 Network Circle, Santa Clara, CA 95054, U.S.A. |
| N/006881 -- |
2008/03/06 | Transmissão | TEIJIN KABUSHIKI KAISHA (TEIJIN LIMITED), corporação organizada e existindo de acordo com as leis do Japão | TEIJIN PHARMA LIMITED, com sede em 1-1, Uchisaiwai-cho 2-chome, Chiyoda-ku, Tokyo, Japan |
| N/006882 -- |
2008/03/06 | Transmissão | TEIJIN KABUSHIKI KAISHA (TEIJIN LIMITED), corporação organizada e existindo de acordo com as leis do Japão | TEIJIN PHARMA LIMITED, com sede em 1-1, Uchisaiwai-cho 2-chome, Chiyoda-ku, Tokyo, Japan |
| N/006883 -- |
2008/03/06 | Transmissão | TEIJIN KABUSHIKI KAISHA (TEIJIN LIMITED), corporação organizada e existindo de acordo com as leis do Japão | TEIJIN PHARMA LIMITED, com sede em 1-1, Uchisaiwai-cho 2-chome, Chiyoda-ku, Tokyo, Japan |
| N/007217 -- |
2008/03/05 | Modificação de sede | Sun Microsystems, Inc. | 4150 Network Circle, Santa Clara, CA 95054, U.S.A. |
| N/008912 -- |
2008/02/20 | Transmissão por fusão | J.W. Burmester & C.a, S.A. | A.A. CÁLEM & FILHO, S.A., com sede na Av. Diogo Leite, 344, 4400-111 Vila Nova de Gaia, Portugal |
| N/008912 -- |
2008/02/20 | Modificação de identidade | A.A. CÁLEM & FILHO, S.A. | SOGEVINUS FINE WINES, S.A. |
| N/008999 -- |
2008/02/20 | Transmissão por fusão | Gilberts & C.a, S.A. | A.A. CÁLEM & FILHO, S.A., com sede na Av. Diogo Leite, 344, 4400-111 Vila Nova de Gaia, Portugal |
| N/008999 -- |
2008/02/20 | Modificação de identidade | A.A. CÁLEM & FILHO, S.A. | SOGEVINUS FINE WINES, S.A. |
| N/009238 -- |
2008/02/22 | Transmissão | Conrad Hospitality, LLC | HLT Conrad IP LLC, com sede em 9336 Civic Center Drive, Beverly Hills, California 90210, USA |
| N/009717 -- |
2008/02/26 | Modificação de identidade | 河南輪胎股份有限公司 HENAN TYRE CO., LTD. |
風神輪胎股份有限公司 AEOLUS TYRE CO., LTD. |
| N/009718 -- |
2008/02/26 | Modificação de identidade | 河南輪胎股份有限公司 HENAN TYRE CO., LTD. |
風神輪胎股份有限公司 AEOLUS TYRE CO., LTD. |
| N/010380 -- |
2008/03/04 | Penhor dos direitos de propriedade intelectual | 威尼斯人澳門股份有限公司 Venetian Macau S.A., Venetian Macau Limited |
Bank of Nova Scotia, com sede em 580 California Street, Suite 2100, San Francisco, Califórnia 94104, Estados Unidos da América |
| N/010381 -- |
2008/03/04 | Penhor dos direitos de propriedade intelectual | 威尼斯人澳門股份有限公司 Venetian Macau S.A., Venetian Macau Limited |
Bank of Nova Scotia, com sede em 580 California Street, Suite 2100, San Francisco, Califórnia 94104, Estados Unidos da América |
| N/010382 -- |
2008/03/04 | Penhor dos direitos de propriedade intelectual | 威尼斯人澳門股份有限公司 Venetian Macau S.A., Venetian Macau Limited |
Bank of Nova Scotia, com sede em 580 California Street, Suite 2100, San Francisco, Califórnia 94104, Estados Unidos da América |
| N/010383 -- |
2008/03/04 | Penhor dos direitos de propriedade intelectual | 威尼斯人澳門股份有限公司 Venetian Macau S.A., Venetian Macau Limited |
Bank of Nova Scotia, com sede em 580 California Street, Suite 2100, San Francisco, Califórnia 94104, Estados Unidos da América |
| N/010384 -- |
2008/03/04 | Penhor dos direitos de propriedade intelectual | 威尼斯人澳門股份有限公司 Venetian Macau S.A., Venetian Macau Limited |
Bank of Nova Scotia, com sede em 580 California Street, Suite 2100, San Francisco, Califórnia 94104, Estados Unidos da América |
| N/010385 -- |
2008/03/04 | Penhor dos direitos de propriedade intelectual | 威尼斯人澳門股份有限公司 Venetian Macau S.A., Venetian Macau Limited |
Bank of Nova Scotia, com sede em 580 California Street, Suite 2100, San Francisco, Califórnia 94104, Estados Unidos da América |
| N/010386 -- |
2008/03/04 | Penhor dos direitos de propriedade intelectual | 威尼斯人澳門股份有限公司 Venetian Macau S.A., Venetian Macau Limited |
Bank of Nova Scotia, com sede em 580 California Street, Suite 2100, San Francisco, Califórnia 94104, Estados Unidos da América |
| N/010387 -- |
2008/03/04 | Penhor dos direitos de propriedade intelectual | 威尼斯人澳門股份有限公司 Venetian Macau S.A., Venetian Macau Limited |
Bank of Nova Scotia, com sede em 580 California Street, Suite 2100, San Francisco, Califórnia 94104, Estados Unidos da América |
| N/010388 -- |
2008/03/04 | Penhor dos direitos de propriedade intelectual | 威尼斯人澳門股份有限公司 Venetian Macau S.A., Venetian Macau Limited |
Bank of Nova Scotia, com sede em 580 California Street, Suite 2100, San Francisco, Califórnia 94104, Estados Unidos da América |
| N/010389 -- |
2008/03/04 | Penhor dos direitos de propriedade intelectual | 威尼斯人澳門股份有限公司 Venetian Macau S.A., Venetian Macau Limited |
Bank of Nova Scotia, com sede em 580 California Street, Suite 2100, San Francisco, Califórnia 94104, Estados Unidos da América |
| N/010390 -- |
2008/03/04 | Penhor dos direitos de propriedade intelectual | 威尼斯人澳門股份有限公司 Venetian Macau S.A., Venetian Macau Limited |
Bank of Nova Scotia, com sede em 580 California Street, Suite 2100, San Francisco, Califórnia 94104, Estados Unidos da América |
| N/010391 -- |
2008/03/04 | Penhor dos direitos de propriedade intelectual | 威尼斯人澳門股份有限公司 Venetian Macau S.A., Venetian Macau Limited |
Bank of Nova Scotia, com sede em 580 California Street, Suite 2100, San Francisco, Califórnia 94104, Estados Unidos da América |
| N/010393 -- |
2008/03/04 | Penhor dos direitos de propriedade intelectual | 威尼斯人澳門股份有限公司 Venetian Macau S.A., Venetian Macau Limited |
Bank of Nova Scotia, com sede em 580 California Street, Suite 2100, San Francisco, Califórnia 94104, Estados Unidos da América |
| N/010395 -- |
2008/03/04 | Penhor dos direitos de propriedade intelectual | 威尼斯人澳門股份有限公司 Venetian Macau S.A., Venetian Macau Limited |
Bank of Nova Scotia, com sede em 580 California Street, Suite 2100, San Francisco, Califórnia 94104, Estados Unidos da América |
| N/010396 -- |
2008/03/04 | Penhor dos direitos de propriedade intelectual | 威尼斯人澳門股份有限公司 Venetian Macau S.A., Venetian Macau Limited |
Bank of Nova Scotia, com sede em 580 California Street, Suite 2100, San Francisco, Califórnia 94104, Estados Unidos da América |
| N/010397 -- |
2008/03/04 | Penhor dos direitos de propriedade intelectual | 威尼斯人澳門股份有限公司 Venetian Macau S.A., Venetian Macau Limited |
Bank of Nova Scotia, com sede em 580 California Street, Suite 2100, San Francisco, Califórnia 94104, Estados Unidos da América |
| N/010398 -- |
2008/03/04 | Penhor dos direitos de propriedade intelectual | 威尼斯人澳門股份有限公司 Venetian Macau S.A., Venetian Macau Limited |
Bank of Nova Scotia, com sede em 580 California Street, Suite 2100, San Francisco, Califórnia 94104, Estados Unidos da América |
| N/010399 -- |
2008/03/04 | Penhor dos direitos de propriedade intelectual | 威尼斯人澳門股份有限公司 Venetian Macau S.A., Venetian Macau Limited |
Bank of Nova Scotia, com sede em 580 California Street, Suite 2100, San Francisco, Califórnia 94104, Estados Unidos da América |
| N/010400 -- |
2008/03/04 | Penhor dos direitos de propriedade intelectual | 威尼斯人澳門股份有限公司 Venetian Macau S.A., Venetian Macau Limited |
Bank of Nova Scotia, com sede em 580 California Street, Suite 2100, San Francisco, Califórnia 94104, Estados Unidos da América |
| N/010401 -- |
2008/03/04 | Penhor dos direitos de propriedade intelectual | 威尼斯人澳門股份有限公司 Venetian Macau S.A., Venetian Macau Limited |
Bank of Nova Scotia, com sede em 580 California Street, Suite 2100, San Francisco, Califórnia 94104, Estados Unidos da América |
| N/010402 -- |
2008/03/04 | Penhor dos direitos de propriedade intelectual | 威尼斯人澳門股份有限公司 Venetian Macau S.A., Venetian Macau Limited |
Bank of Nova Scotia, com sede em 580 California Street, Suite 2100, San Francisco, Califórnia 94104, Estados Unidos da América |
| N/010403 -- |
2008/03/04 | Penhor dos direitos de propriedade intelectual | 威尼斯人澳門股份有限公司 Venetian Macau S.A., Venetian Macau Limited |
Bank of Nova Scotia, com sede em 580 California Street, Suite 2100, San Francisco, Califórnia 94104, Estados Unidos da América |
| N/010404 -- |
2008/03/04 | Penhor dos direitos de propriedade intelectual | 威尼斯人澳門股份有限公司 Venetian Macau S.A., Venetian Macau Limited |
Bank of Nova Scotia, com sede em 580 California Street, Suite 2100, San Francisco, Califórnia 94104, Estados Unidos da América |
| N/010405 -- |
2008/03/04 | Penhor dos direitos de propriedade intelectual | 威尼斯人澳門股份有限公司 Venetian Macau S.A., Venetian Macau Limited |
Bank of Nova Scotia, com sede em 580 California Street, Suite 2100, San Francisco, Califórnia 94104, Estados Unidos da América |
| N/010406 -- |
2008/03/04 | Penhor dos direitos de propriedade intelectual | 威尼斯人澳門股份有限公司 Venetian Macau S.A., Venetian Macau Limited |
Bank of Nova Scotia, com sede em 580 California Street, Suite 2100, San Francisco, Califórnia 94104, Estados Unidos da América |
| N/010407 -- |
2008/03/04 | Penhor dos direitos de propriedade intelectual | 威尼斯人澳門股份有限公司 Venetian Macau S.A., Venetian Macau Limited |
Bank of Nova Scotia, com sede em 580 California Street, Suite 2100, San Francisco, Califórnia 94104, Estados Unidos da América |
| N/010408 -- |
2008/03/04 | Penhor dos direitos de propriedade intelectual | 威尼斯人澳門股份有限公司 Venetian Macau S.A., Venetian Macau Limited |
Bank of Nova Scotia, com sede em 580 California Street, Suite 2100, San Francisco, Califórnia 94104, Estados Unidos da América |
| N/010409 -- |
2008/03/04 | Penhor dos direitos de propriedade intelectual | 威尼斯人澳門股份有限公司 Venetian Macau S.A., Venetian Macau Limited |
Bank of Nova Scotia, com sede em 580 California Street, Suite 2100, San Francisco, Califórnia 94104, Estados Unidos da América |
| N/010410 -- |
2008/03/04 | Penhor dos direitos de propriedade intelectual | 威尼斯人澳門股份有限公司 Venetian Macau S.A., Venetian Macau Limited |
Bank of Nova Scotia, com sede em 580 California Street, Suite 2100, San Francisco, Califórnia 94104, Estados Unidos da América |
| N/010411 -- |
2008/03/04 | Penhor dos direitos de propriedade intelectual | 威尼斯人澳門股份有限公司 Venetian Macau S.A., Venetian Macau Limited |
Bank of Nova Scotia, com sede em 580 California Street, Suite 2100, San Francisco, Califórnia 94104, Estados Unidos da América |
| N/010412 -- |
2008/03/04 | Penhor dos direitos de propriedade intelectual | 威尼斯人澳門股份有限公司 Venetian Macau S.A., Venetian Macau Limited |
Bank of Nova Scotia, com sede em 580 California Street, Suite 2100, San Francisco, Califórnia 94104, Estados Unidos da América |
| N/010413 -- |
2008/03/04 | Penhor dos direitos de propriedade intelectual | 威尼斯人澳門股份有限公司 Venetian Macau S.A., Venetian Macau Limited |
Bank of Nova Scotia, com sede em 580 California Street, Suite 2100, San Francisco, Califórnia 94104, Estados Unidos da América |
| N/010414 -- |
2008/03/04 | Penhor dos direitos de propriedade intelectual | 威尼斯人澳門股份有限公司 Venetian Macau S.A., Venetian Macau Limited |
Bank of Nova Scotia, com sede em 580 California Street, Suite 2100, San Francisco, Califórnia 94104, Estados Unidos da América |
| N/010485 -- |
2008/03/04 | Penhor dos direitos de propriedade intelectual | 威尼斯人澳門股份有限公司 Venetian Macau S.A., Venetian Macau Limited |
Bank of Nova Scotia, com sede em 580 California Street, Suite 2100, San Francisco, Califórnia 94104, Estados Unidos da América |
| N/010486 -- |
2008/03/04 | Penhor dos direitos de propriedade intelectual | 威尼斯人澳門股份有限公司 Venetian Macau S.A., Venetian Macau Limited |
Bank of Nova Scotia, com sede em 580 California Street, Suite 2100, San Francisco, Califórnia 94104, Estados Unidos da América |
| N/010487 -- |
2008/03/04 | Penhor dos direitos de propriedade intelectual | 威尼斯人澳門股份有限公司 Venetian Macau S.A., Venetian Macau Limited |
Bank of Nova Scotia, com sede em 580 California Street, Suite 2100, San Francisco, Califórnia 94104, Estados Unidos da América |
| N/010488 -- |
2008/03/04 | Penhor dos direitos de propriedade intelectual | 威尼斯人澳門股份有限公司 Venetian Macau S.A., Venetian Macau Limited |
Bank of Nova Scotia, com sede em 580 California Street, Suite 2100, San Francisco, Califórnia 94104, Estados Unidos da América |
| N/010489 -- |
2008/03/04 | Penhor dos direitos de propriedade intelectual | 威尼斯人澳門股份有限公司 Venetian Macau S.A., Venetian Macau Limited |
Bank of Nova Scotia, com sede em 580 California Street, Suite 2100, San Francisco, Califórnia 94104, Estados Unidos da América |
| N/010490 -- |
2008/03/04 | Penhor dos direitos de propriedade intelectual | 威尼斯人澳門股份有限公司 Venetian Macau S.A., Venetian Macau Limited |
Bank of Nova Scotia, com sede em 580 California Street, Suite 2100, San Francisco, Califórnia 94104, Estados Unidos da América |
| N/010491 -- |
2008/03/04 | Penhor dos direitos de propriedade intelectual | 威尼斯人澳門股份有限公司 Venetian Macau S.A., Venetian Macau Limited |
Bank of Nova Scotia, com sede em 580 California Street, Suite 2100, San Francisco, Califórnia 94104, Estados Unidos da América |
| N/010492 -- |
2008/03/04 | Penhor dos direitos de propriedade intelectual | 威尼斯人澳門股份有限公司 Venetian Macau S.A., Venetian Macau Limited |
Bank of Nova Scotia, com sede em 580 California Street, Suite 2100, San Francisco, Califórnia 94104, Estados Unidos da América |
| N/010493 -- |
2008/03/04 | Penhor dos direitos de propriedade intelectual | 威尼斯人澳門股份有限公司 Venetian Macau S.A., Venetian Macau Limited |
Bank of Nova Scotia, com sede em 580 California Street, Suite 2100, San Francisco, Califórnia 94104, Estados Unidos da América |
| N/010494 -- |
2008/03/04 | Penhor dos direitos de propriedade intelectual | 威尼斯人澳門股份有限公司 Venetian Macau S.A., Venetian Macau Limited |
Bank of Nova Scotia, com sede em 580 California Street, Suite 2100, San Francisco, Califórnia 94104, Estados Unidos da América |
| N/010495 -- |
2008/03/04 | Penhor dos direitos de propriedade intelectual | 威尼斯人澳門股份有限公司 Venetian Macau S.A., Venetian Macau Limited |
Bank of Nova Scotia, com sede em 580 California Street, Suite 2100, San Francisco, Califórnia 94104, Estados Unidos da América |
| N/010496 -- |
2008/03/04 | Penhor dos direitos de propriedade intelectual | 威尼斯人澳門股份有限公司 Venetian Macau S.A., Venetian Macau Limited |
Bank of Nova Scotia, com sede em 580 California Street, Suite 2100, San Francisco, Califórnia 94104, Estados Unidos da América |
| N/010497 -- |
2008/03/04 | Penhor dos direitos de propriedade intelectual | 威尼斯人澳門股份有限公司 Venetian Macau S.A., Venetian Macau Limited |
Bank of Nova Scotia, com sede em 580 California Street, Suite 2100, San Francisco, Califórnia 94104, Estados Unidos da América |
| N/010498 -- |
2008/03/04 | Penhor dos direitos de propriedade intelectual | 威尼斯人澳門股份有限公司 Venetian Macau S.A., Venetian Macau Limited |
Bank of Nova Scotia, com sede em 580 California Street, Suite 2100, San Francisco, Califórnia 94104, Estados Unidos da América |
| N/010499 -- |
2008/03/04 | Penhor dos direitos de propriedade intelectual | 威尼斯人澳門股份有限公司 Venetian Macau S.A., Venetian Macau Limited |
Bank of Nova Scotia, com sede em 580 California Street, Suite 2100, San Francisco, Califórnia 94104, Estados Unidos da América |
| N/010740 -- |
2008/03/04 | Penhor dos direitos de propriedade intelectual | 威尼斯人澳門股份有限公司 Venetian Macau S.A., Venetian Macau Limited |
Bank of Nova Scotia, com sede em 580 California Street, Suite 2100, San Francisco, Califórnia 94104, Estados Unidos da América |
| N/010741 -- |
2008/03/04 | Penhor dos direitos de propriedade intelectual | 威尼斯人澳門股份有限公司 Venetian Macau S.A., Venetian Macau Limited |
Bank of Nova Scotia, com sede em 580 California Street, Suite 2100, San Francisco, Califórnia 94104, Estados Unidos da América |
| N/010742 -- |
2008/03/04 | Penhor dos direitos de propriedade intelectual | 威尼斯人澳門股份有限公司 Venetian Macau S.A., Venetian Macau Limited |
Bank of Nova Scotia, com sede em 580 California Street, Suite 2100, San Francisco, Califórnia 94104, Estados Unidos da América |
| N/011414 -- |
2008/02/28 | Transmissão por fusão | smart GmbH | DaimlerChrysler AG |
| N/011414 -- |
2008/02/28 | Modificação de identidade | DaimlerChrysler AG | Daimler AG |
| N/011414 -- |
2008/02/28 | Modificação de sede | Daimler AG | Mercedesstrasse 137, D-70327 Stuttgart, Germany |
| N/011415 -- |
2008/02/28 | Transmissão por fusão | smart GmbH | DaimlerChrysler AG |
| N/011415 -- |
2008/02/28 | Modificação de identidade | DaimlerChrysler AG | Daimler AG |
| N/011415 -- |
2008/02/28 | Modificação de sede | Daimler AG | Mercedesstrasse 137, D-70327 Stuttgart, Germany |
| N/011463 -- |
2008/02/28 | Transmissão por fusão | smart GmbH | DaimlerChrysler AG |
| N/011463 -- |
2008/02/28 | Modificação de identidade | DaimlerChrysler AG | Daimler AG |
| N/011463 -- |
2008/02/28 | Modificação de sede | Daimler AG | Mercedesstrasse 137, D-70327 Stuttgart, Germany |
| N/011464 -- |
2008/02/28 | Transmissão por fusão | smart GmbH | DaimlerChrysler AG |
| N/011464 -- |
2008/02/28 | Modificação de identidade | DaimlerChrysler AG | Daimler AG |
| N/011464 -- |
2008/02/28 | Modificação de sede | Daimler AG | Mercedesstrasse 137, D-70327 Stuttgart, Germany |
| N/011560 -- |
2008/03/06 | Modificação de sede | MITSUBISHI JIDOSHA KOGYO KABUSHIKI KAISHA | 33-8, Shiba 5-chome, Minato-ku, Tokyo, Japan |
| N/011561 -- |
2008/03/06 | Modificação de sede | MITSUBISHI JIDOSHA KOGYO KABUSHIKI KAISHA | 33-8, Shiba 5-chome, Minato-ku, Tokyo, Japan |
| N/011596 -- |
2008/02/26 | Transmissão | Alliance Atlantis Productions, Inc. | Entertainment AB Funding LLC, com sede em 85 Broad Street, New York, New York, United States 10004 |
| N/011597 -- |
2008/02/26 | Transmissão | Alliance Atlantis Productions, Inc. | Entertainment AB Funding LLC, com sede em 85 Broad Street, New York, New York, United States 10004 |
| N/011820 -- |
2008/03/04 | Penhor dos direitos de propriedade intelectual | 威尼斯人澳門股份有限公司 Venetian Macau S.A., Venetian Macau Limited |
Bank of Nova Scotia, com sede em 580 California Street, Suite 2100, San Francisco, Califórnia 94104, Estados Unidos da América |
| N/011821 -- |
2008/03/04 | Penhor dos direitos de propriedade intelectual | 威尼斯人澳門股份有限公司 Venetian Macau S.A., Venetian Macau Limited |
Bank of Nova Scotia, com sede em 580 California Street, Suite 2100, San Francisco, Califórnia 94104, Estados Unidos da América |
| N/011822 -- |
2008/03/04 | Penhor dos direitos de propriedade intelectual | 威尼斯人澳門股份有限公司 Venetian Macau S.A., Venetian Macau Limited |
Bank of Nova Scotia, com sede em 580 California Street, Suite 2100, San Francisco, Califórnia 94104, Estados Unidos da América |
| N/011823 -- |
2008/03/04 | Penhor dos direitos de propriedade intelectual | 威尼斯人澳門股份有限公司 Venetian Macau S.A., Venetian Macau Limited |
Bank of Nova Scotia, com sede em 580 California Street, Suite 2100, San Francisco, Califórnia 94104, Estados Unidos da América |
| N/011985 -- |
2008/03/06 | Modificação de sede | MITSUBISHI JIDOSHA KOGYO KABUSHIKI KAISHA | 33-8, Shiba 5-chome, Minato-ku, Tokyo, Japan |
| N/012406 -- |
2008/03/04 | Penhor dos direitos de propriedade intelectual | 威尼斯人澳門股份有限公司 Venetian Macau S.A., Venetian Macau Limited |
Bank of Nova Scotia, com sede em 580 California Street, Suite 2100, San Francisco, Califórnia 94104, Estados Unidos da América |
| N/012407 -- |
2008/03/04 | Penhor dos direitos de propriedade intelectual | 威尼斯人澳門股份有限公司 Venetian Macau S.A., Venetian Macau Limited |
Bank of Nova Scotia, com sede em 580 California Street, Suite 2100, San Francisco, Califórnia 94104, Estados Unidos da América |
| N/012408 -- |
2008/03/04 | Penhor dos direitos de propriedade intelectual | 威尼斯人澳門股份有限公司 Venetian Macau S.A., Venetian Macau Limited |
Bank of Nova Scotia, com sede em 580 California Street, Suite 2100, San Francisco, Califórnia 94104, Estados Unidos da América |
| N/012409 -- |
2008/03/04 | Penhor dos direitos de propriedade intelectual | 威尼斯人澳門股份有限公司 Venetian Macau S.A., Venetian Macau Limited |
Bank of Nova Scotia, com sede em 580 California Street, Suite 2100, San Francisco, Califórnia 94104, Estados Unidos da América |
| N/012410 -- |
2008/03/04 | Penhor dos direitos de propriedade intelectual | 威尼斯人澳門股份有限公司 Venetian Macau S.A., Venetian Macau Limited |
Bank of Nova Scotia, com sede em 580 California Street, Suite 2100, San Francisco, Califórnia 94104, Estados Unidos da América |
| N/012411 -- |
2008/03/04 | Penhor dos direitos de propriedade intelectual | 威尼斯人澳門股份有限公司 Venetian Macau S.A., Venetian Macau Limited |
Bank of Nova Scotia, com sede em 580 California Street, Suite 2100, San Francisco, Califórnia 94104, Estados Unidos da América |
| N/012909 -- |
2008/03/04 | Penhor dos direitos de propriedade intelectual | 威尼斯人澳門股份有限公司 Venetian Macau S.A., Venetian Macau Limited |
Bank of Nova Scotia, com sede em 580 California Street, Suite 2100, San Francisco, Califórnia 94104, Estados Unidos da América |
| N/012910 -- |
2008/03/04 | Penhor dos direitos de propriedade intelectual | 威尼斯人澳門股份有限公司 Venetian Macau S.A., Venetian Macau Limited |
Bank of Nova Scotia, com sede em 580 California Street, Suite 2100, San Francisco, Califórnia 94104, Estados Unidos da América |
| N/012911 -- |
2008/03/04 | Penhor dos direitos de propriedade intelectual | 威尼斯人澳門股份有限公司 Venetian Macau S.A., Venetian Macau Limited |
Bank of Nova Scotia, com sede em 580 California Street, Suite 2100, San Francisco, Califórnia 94104, Estados Unidos da América |
| N/012912 -- |
2008/03/04 | Penhor dos direitos de propriedade intelectual | 威尼斯人澳門股份有限公司 Venetian Macau S.A., Venetian Macau Limited |
Bank of Nova Scotia, com sede em 580 California Street, Suite 2100, San Francisco, Califórnia 94104, Estados Unidos da América |
| N/012913 -- |
2008/03/04 | Penhor dos direitos de propriedade intelectual | 威尼斯人澳門股份有限公司 Venetian Macau S.A., Venetian Macau Limited |
Bank of Nova Scotia, com sede em 580 California Street, Suite 2100, San Francisco, Califórnia 94104, Estados Unidos da América |
| N/012914 -- |
2008/03/04 | Penhor dos direitos de propriedade intelectual | 威尼斯人澳門股份有限公司 Venetian Macau S.A., Venetian Macau Limited |
Bank of Nova Scotia, com sede em 580 California Street, Suite 2100, San Francisco, Califórnia 94104, Estados Unidos da América |
| N/012915 -- |
2008/03/04 | Penhor dos direitos de propriedade intelectual | 威尼斯人澳門股份有限公司 Venetian Macau S.A., Venetian Macau Limited |
Bank of Nova Scotia, com sede em 580 California Street, Suite 2100, San Francisco, Califórnia 94104, Estados Unidos da América |
| N/012916 -- |
2008/03/04 | Penhor dos direitos de propriedade intelectual | 威尼斯人澳門股份有限公司 Venetian Macau S.A., Venetian Macau Limited |
Bank of Nova Scotia, com sede em 580 California Street, Suite 2100, San Francisco, Califórnia 94104, Estados Unidos da América |
| N/013006 -- |
2008/03/04 | Penhor dos direitos de propriedade intelectual | 威尼斯人澳門股份有限公司 Venetian Macau S.A., Venetian Macau Limited |
Bank of Nova Scotia, com sede em 580 California Street, Suite 2100, San Francisco, Califórnia 94104, Estados Unidos da América |
| N/013007 -- |
2008/03/04 | Penhor dos direitos de propriedade intelectual | 威尼斯人澳門股份有限公司 Venetian Macau S.A., Venetian Macau Limited |
Bank of Nova Scotia, com sede em 580 California Street, Suite 2100, San Francisco, Califórnia 94104, Estados Unidos da América |
| N/013008 -- |
2008/03/04 | Penhor dos direitos de propriedade intelectual | 威尼斯人澳門股份有限公司 Venetian Macau S.A., Venetian Macau Limited |
Bank of Nova Scotia, com sede em 580 California Street, Suite 2100, San Francisco, Califórnia 94104, Estados Unidos da América |
| N/013009 -- |
2008/03/04 | Penhor dos direitos de propriedade intelectual | 威尼斯人澳門股份有限公司 Venetian Macau S.A., Venetian Macau Limited |
Bank of Nova Scotia, com sede em 580 California Street, Suite 2100, San Francisco, Califórnia 94104, Estados Unidos da América |
| N/013010 -- |
2008/03/04 | Penhor dos direitos de propriedade intelectual | 威尼斯人澳門股份有限公司 Venetian Macau S.A., Venetian Macau Limited |
Bank of Nova Scotia, com sede em 580 California Street, Suite 2100, San Francisco, Califórnia 94104, Estados Unidos da América |
| N/013011 -- |
2008/03/04 | Penhor dos direitos de propriedade intelectual | 威尼斯人澳門股份有限公司 Venetian Macau S.A., Venetian Macau Limited |
Bank of Nova Scotia, com sede em 580 California Street, Suite 2100, San Francisco, Califórnia 94104, Estados Unidos da América |
| N/013012 -- |
2008/03/04 | Penhor dos direitos de propriedade intelectual | 威尼斯人澳門股份有限公司 Venetian Macau S.A., Venetian Macau Limited |
Bank of Nova Scotia, com sede em 580 California Street, Suite 2100, San Francisco, Califórnia 94104, Estados Unidos da América |
| N/013013 -- |
2008/03/04 | Penhor dos direitos de propriedade intelectual | 威尼斯人澳門股份有限公司 Venetian Macau S.A., Venetian Macau Limited |
Bank of Nova Scotia, com sede em 580 California Street, Suite 2100, San Francisco, Califórnia 94104, Estados Unidos da América |
| N/013900 -- |
2008/03/06 | Modificação de sede | MITSUBISHI JIDOSHA KOGYO KABUSHIKI KAISHA | 33-8, Shiba 5-chome, Minato-ku, Tokyo, Japan |
| N/015275 -- |
2008/02/20 | Modificação de identidade | Spirits International N.V. | Spirits International B.V. |
| N/015275 -- |
2008/02/20 | Modificação de sede | Spirits International B.V. | 1A, rue Thomas Edison, L-1445 Strassen, Grand Duchy of Luxembourg |
| N/015276 -- |
2008/02/20 | Modificação de identidade | Spirits International N.V. | Spirits International B.V. |
| N/015276 -- |
2008/02/20 | Modificação de sede | Spirits International B.V. | 1A, rue Thomas Edison, L-1445 Strassen, Grand Duchy of Luxembourg |
| N/015277 -- |
2008/02/20 | Modificação de identidade | Spirits International N.V. | Spirits International B.V. |
| N/015277 -- |
2008/02/20 | Modificação de sede | Spirits International B.V. | 1A, rue Thomas Edison, L-1445 Strassen, Grand Duchy of Luxembourg |
| N/015278 -- |
2008/02/20 | Modificação de identidade | Spirits International N.V. | Spirits International B.V. |
| N/015278 -- |
2008/02/20 | Modificação de sede | Spirits International B.V. | 1A, rue Thomas Edison, L-1445 Strassen, Grand Duchy of Luxembourg |
| N/015281 -- |
2008/02/20 | Modificação de identidade | Spirits International N.V. | Spirits International B.V. |
| N/015281 -- |
2008/02/20 | Modificação de sede | Spirits International B.V. | 1A, rue Thomas Edison, L-1445 Strassen, Grand Duchy of Luxembourg |
| N/015282 -- |
2008/02/20 | Modificação de identidade | Spirits International N.V. | Spirits International B.V. |
| N/015282 -- |
2008/02/20 | Modificação de sede | Spirits International B.V. | 1A, rue Thomas Edison, L-1445 Strassen, Grand Duchy of Luxembourg |
| N/015283 -- |
2008/02/26 | Transmissão | Alliance Atlantis Productions, Inc. | Entertainment AB Funding LLC, com sede em 85 Broad Street, New York, New York, United States 10004 |
| N/015535 -- |
2008/03/05 | Modificação de identidade | VULCANIZADOS Y CALZADOS, S.A. | GRUPO VULCASA, S.A. |
| N/015974 -- |
2008/03/03 | Transmissão | LT Game Limited | Jay CHUN, com sede em Flat A, 21/F, Trafalgar Court, 70 Tai Hang Road, Hong Kong |
| N/015975 -- |
2008/03/03 | Transmissão | LT Game Limited | Jay CHUN, com sede em Flat A, 21/F, Trafalgar Court, 70 Tai Hang Road, Hong Kong |
| N/015976 -- |
2008/03/03 | Transmissão | LT Game Limited | Jay CHUN, com sede em Flat A, 21/F, Trafalgar Court, 70 Tai Hang Road, Hong Kong |
| N/015977 -- |
2008/03/03 | Transmissão | LT Game Limited | Jay CHUN, com sede em Flat A, 21/F, Trafalgar Court, 70 Tai Hang Road, Hong Kong |
| N/016056 -- |
2008/03/06 | Modificação de sede | Mitsubishi Jidosha Kogyo Kabushiki Kaisha | 33-8, Shiba 5-chome, Minato-ku, Tokyo, Japan |
| N/016216 -- |
2008/03/04 | Penhor dos direitos de propriedade intelectual | 威尼斯人路氹股份有限公司 Venetian Cotai S.A., Venetian Cotai Limited |
Bank of Nova Scotia, com sede em 580 California Street, Suite 2100, San Francisco, Califórnia 94104, Estados Unidos da América |
| N/016217 -- |
2008/03/04 | Penhor dos direitos de propriedade intelectual | 威尼斯人路氹股份有限公司 Venetian Cotai S.A., Venetian Cotai Limited |
Bank of Nova Scotia, com sede em 580 California Street, Suite 2100, San Francisco, Califórnia 94104, Estados Unidos da América |
| N/016218 -- |
2008/03/04 | Penhor dos direitos de propriedade intelectual | 威尼斯人路氹股份有限公司 Venetian Cotai S.A., Venetian Cotai Limited |
Bank of Nova Scotia, com sede em 580 California Street, Suite 2100, San Francisco, Califórnia 94104, Estados Unidos da América |
| N/016219 -- |
2008/03/04 | Penhor dos direitos de propriedade intelectual | 威尼斯人路氹股份有限公司 Venetian Cotai S.A., Venetian Cotai Limited |
Bank of Nova Scotia, com sede em 580 California Street, Suite 2100, San Francisco, Califórnia 94104, Estados Unidos da América |
| N/016220 -- |
2008/03/04 | Penhor dos direitos de propriedade intelectual | 威尼斯人路氹股份有限公司 Venetian Cotai S.A., Venetian Cotai Limited |
Bank of Nova Scotia, com sede em 580 California Street, Suite 2100, San Francisco, Califórnia 94104, Estados Unidos da América |
| N/016221 -- |
2008/03/04 | Penhor dos direitos de propriedade intelectual | 威尼斯人路氹股份有限公司 Venetian Cotai S.A., Venetian Cotai Limited |
Bank of Nova Scotia, com sede em 580 California Street, Suite 2100, San Francisco, Califórnia 94104, Estados Unidos da América |
| N/016222 -- |
2008/03/04 | Penhor dos direitos de propriedade intelectual | 威尼斯人路氹股份有限公司 Venetian Cotai S.A., Venetian Cotai Limited |
Bank of Nova Scotia, com sede em 580 California Street, Suite 2100, San Francisco, Califórnia 94104, Estados Unidos da América |
| N/016223 -- |
2008/03/04 | Penhor dos direitos de propriedade intelectual | 威尼斯人路氹股份有限公司 Venetian Cotai S.A., Venetian Cotai Limited |
Bank of Nova Scotia, com sede em 580 California Street, Suite 2100, San Francisco, Califórnia 94104, Estados Unidos da América |
| N/016224 -- |
2008/03/04 | Penhor dos direitos de propriedade intelectual | 威尼斯人路氹股份有限公司 Venetian Cotai S.A., Venetian Cotai Limited |
Bank of Nova Scotia, com sede em 580 California Street, Suite 2100, San Francisco, Califórnia 94104, Estados Unidos da América |
| N/016225 -- |
2008/03/04 | Penhor dos direitos de propriedade intelectual | 威尼斯人路氹股份有限公司 Venetian Cotai S.A., Venetian Cotai Limited |
Bank of Nova Scotia, com sede em 580 California Street, Suite 2100, San Francisco, Califórnia 94104, Estados Unidos da América |
| N/016226 -- |
2008/03/04 | Penhor dos direitos de propriedade intelectual | 威尼斯人路氹股份有限公司 Venetian Cotai S.A., Venetian Cotai Limited |
Bank of Nova Scotia, com sede em 580 California Street, Suite 2100, San Francisco, Califórnia 94104, Estados Unidos da América |
| N/016227 -- |
2008/03/04 | Penhor dos direitos de propriedade intelectual | 威尼斯人路氹股份有限公司 Venetian Cotai S.A., Venetian Cotai Limited |
Bank of Nova Scotia, com sede em 580 California Street, Suite 2100, San Francisco, Califórnia 94104, Estados Unidos da América |
| N/016228 -- |
2008/03/04 | Penhor dos direitos de propriedade intelectual | 威尼斯人路氹股份有限公司 Venetian Cotai S.A., Venetian Cotai Limited |
Bank of Nova Scotia, com sede em 580 California Street, Suite 2100, San Francisco, Califórnia 94104, Estados Unidos da América |
| N/016356 -- |
2008/03/04 | Penhor dos direitos de propriedade intelectual | 威尼斯人路氹股份有限公司 Venetian Cotai S.A., Venetian Cotai Limited |
Bank of Nova Scotia, com sede em 580 California Street, Suite 2100, San Francisco, Califórnia 94104, Estados Unidos da América |
| N/016357 -- |
2008/03/04 | Penhor dos direitos de propriedade intelectual | 威尼斯人路氹股份有限公司 Venetian Cotai S.A., Venetian Cotai Limited |
Bank of Nova Scotia, com sede em 580 California Street, Suite 2100, San Francisco, Califórnia 94104, Estados Unidos da América |
| N/016358 -- |
2008/03/04 | Penhor dos direitos de propriedade intelectual | 威尼斯人路氹股份有限公司 Venetian Cotai S.A., Venetian Cotai Limited |
Bank of Nova Scotia, com sede em 580 California Street, Suite 2100, San Francisco, Califórnia 94104, Estados Unidos da América |
| N/016359 -- |
2008/03/04 | Penhor dos direitos de propriedade intelectual | 威尼斯人路氹股份有限公司 Venetian Cotai S.A., Venetian Cotai Limited |
Bank of Nova Scotia, com sede em 580 California Street, Suite 2100, San Francisco, Califórnia 94104, Estados Unidos da América |
| N/016362 -- |
2008/03/04 | Penhor dos direitos de propriedade intelectual | 威尼斯人路氹股份有限公司 Venetian Cotai S.A., Venetian Cotai Limited |
Bank of Nova Scotia, com sede em 580 California Street, Suite 2100, San Francisco, Califórnia 94104, Estados Unidos da América |
| N/016363 -- |
2008/03/04 | Penhor dos direitos de propriedade intelectual | 威尼斯人路氹股份有限公司 Venetian Cotai S.A., Venetian Cotai Limited |
Bank of Nova Scotia, com sede em 580 California Street, Suite 2100, San Francisco, Califórnia 94104, Estados Unidos da América |
| N/016364 -- |
2008/03/04 | Penhor dos direitos de propriedade intelectual | 威尼斯人路氹股份有限公司 Venetian Cotai S.A., Venetian Cotai Limited |
Bank of Nova Scotia, com sede em 580 California Street, Suite 2100, San Francisco, Califórnia 94104, Estados Unidos da América |
| N/016365 -- |
2008/03/04 | Penhor dos direitos de propriedade intelectual | 威尼斯人路氹股份有限公司 Venetian Cotai S.A., Venetian Cotai Limited |
Bank of Nova Scotia, com sede em 580 California Street, Suite 2100, San Francisco, Califórnia 94104, Estados Unidos da América |
| N/016366 -- |
2008/03/04 | Penhor dos direitos de propriedade intelectual | 威尼斯人路氹股份有限公司 Venetian Cotai S.A., Venetian Cotai Limited |
Bank of Nova Scotia, com sede em 580 California Street, Suite 2100, San Francisco, Califórnia 94104, Estados Unidos da América |
| N/016367 -- |
2008/03/04 | Penhor dos direitos de propriedade intelectual | 威尼斯人路氹股份有限公司 Venetian Cotai S.A., Venetian Cotai Limited |
Bank of Nova Scotia, com sede em 580 California Street, Suite 2100, San Francisco, Califórnia 94104, Estados Unidos da América |
| N/016368 -- |
2008/03/04 | Penhor dos direitos de propriedade intelectual | 威尼斯人路氹股份有限公司 Venetian Cotai S.A., Venetian Cotai Limited |
Bank of Nova Scotia, com sede em 580 California Street, Suite 2100, San Francisco, Califórnia 94104, Estados Unidos da América |
| N/016369 -- |
2008/03/04 | Penhor dos direitos de propriedade intelectual | 威尼斯人路氹股份有限公司 Venetian Cotai S.A., Venetian Cotai Limited |
Bank of Nova Scotia, com sede em 580 California Street, Suite 2100, San Francisco, Califórnia 94104, Estados Unidos da América |
| N/016370 -- |
2008/03/04 | Penhor dos direitos de propriedade intelectual | 威尼斯人路氹股份有限公司 Venetian Cotai S.A., Venetian Cotai Limited |
Bank of Nova Scotia, com sede em 580 California Street, Suite 2100, San Francisco, Califórnia 94104, Estados Unidos da América |
| N/016371 -- |
2008/03/04 | Penhor dos direitos de propriedade intelectual | 威尼斯人路氹股份有限公司 Venetian Cotai S.A., Venetian Cotai Limited |
Bank of Nova Scotia, com sede em 580 California Street, Suite 2100, San Francisco, Califórnia 94104, Estados Unidos da América |
| N/016372 -- |
2008/03/04 | Penhor dos direitos de propriedade intelectual | 威尼斯人路氹股份有限公司 Venetian Cotai S.A., Venetian Cotai Limited |
Bank of Nova Scotia, com sede em 580 California Street, Suite 2100, San Francisco, Califórnia 94104, Estados Unidos da América |
| N/016373 -- |
2008/03/04 | Penhor dos direitos de propriedade intelectual | 威尼斯人路氹股份有限公司 Venetian Cotai S.A., Venetian Cotai Limited |
Bank of Nova Scotia, com sede em 580 California Street, Suite 2100, San Francisco, Califórnia 94104, Estados Unidos da América |
| N/016374 -- |
2008/03/04 | Penhor dos direitos de propriedade intelectual | 威尼斯人路氹股份有限公司 Venetian Cotai S.A., Venetian Cotai Limited |
Bank of Nova Scotia, com sede em 580 California Street, Suite 2100, San Francisco, Califórnia 94104, Estados Unidos da América |
| N/016375 -- |
2008/03/04 | Penhor dos direitos de propriedade intelectual | 威尼斯人路氹股份有限公司 Venetian Cotai S.A., Venetian Cotai Limited |
Bank of Nova Scotia, com sede em 580 California Street, Suite 2100, San Francisco, Califórnia 94104, Estados Unidos da América |
| N/016376 -- |
2008/03/04 | Penhor dos direitos de propriedade intelectual | 威尼斯人路氹股份有限公司 Venetian Cotai S.A., Venetian Cotai Limited |
Bank of Nova Scotia, com sede em 580 California Street, Suite 2100, San Francisco, Califórnia 94104, Estados Unidos da América |
| N/018227 -- |
2008/03/04 | Penhor dos direitos de propriedade intelectual | Venetian Macau, S.A., Venetian Macau Limited | Bank of Nova Scotia, com sede em 580 California Street, Suite 2100, San Francisco, Califórnia 94104, Estados Unidos da América |
| N/018228 -- |
2008/03/04 | Penhor dos direitos de propriedade intelectual | Venetian Macau, S.A., Venetian Macau Limited | Bank of Nova Scotia, com sede em 580 California Street, Suite 2100, San Francisco, Califórnia 94104, Estados Unidos da América |
| N/020399 -- |
2008/02/27 | Transmissão | The Boots Company PLC | Reckitt & Colman (Overseas) Limited, com sede em Dansom Lane, Hull HU8 7DS, Inglaterra |
| N/020400 -- |
2008/02/27 | Transmissão | The Boots Company PLC | Reckitt & Colman (Overseas) Limited, com sede em Dansom Lane, Hull HU8 7DS, Inglaterra |
| N/021234 -- |
2008/02/20 | Modificação de sede | Spirits Product International Intellectual Property B.V. | 1A, rue Thomas Edison, L-1445 Strassen, Grand Duchy of Luxembourg |
| N/021235 -- |
2008/02/20 | Modificação de sede | Spirits Product International Intellectual Property B.V. | 1A, rue Thomas Edison, L-1445 Strassen, Grand Duchy of Luxembourg |
| N/021384 -- |
2008/02/22 | Transmissão | 門富士方氏紡織機械(澳門離岸商業服務)有限公司 MONFORTS FONG’S TÊXTEIS MAQUINARIA (COMERCIAL OFFSHORE DE MACAU) LIMITADA |
A. Monforts Textilmaschinen GmbH & Co., com sede em Schwalmstr. 301, 41238 Mönchengladbach, Germany |
| N/021851 -- |
2008/03/06 | Modificação de identidade | Carlton and United Beverages Limited | Foster’s Australia Limited |
| N/021851 -- |
2008/03/06 | Transmissão | Foster’s Australia Limited | Foster’s Brands Limited, com sede em 70 London Road, Twickenham, Middlesex TW1 3QS, United Kingdom |
| N/021851 -- |
2008/03/06 | Licença de exploração | Foster’s Brands Limited | Foster’s Australia Limited, com sede em 77 Southbank Boulevard, Southbank, Victoria 3006, Australia |
| N/021915 -- |
2008/02/22 | Modificação de identidade | The Cartoon Network LP, LLLP | The Cartoon Network, Inc. |
| N/021916 -- |
2008/02/22 | Modificação de identidade | The Cartoon Network LP, LLLP | The Cartoon Network, Inc. |
| N/021917 -- |
2008/02/22 | Modificação de identidade | The Cartoon Network LP, LLLP | The Cartoon Network, Inc. |
| N/022186 -- |
2008/03/04 | Penhor dos direitos de propriedade intelectual | 威尼斯人路氹股份有限公司 Venetian Cotai S.A., Venetian Cotai Limited |
Bank of Nova Scotia, com sede em 580 California Street, Suite 2100, San Francisco, Califórnia 94104, Estados Unidos da América |
| N/022187 -- |
2008/03/04 | Penhor dos direitos de propriedade intelectual | 威尼斯人路氹股份有限公司 Venetian Cotai S.A., Venetian Cotai Limited |
Bank of Nova Scotia, com sede em 580 California Street, Suite 2100, San Francisco, Califórnia 94104, Estados Unidos da América |
| N/022188 -- |
2008/03/04 | Penhor dos direitos de propriedade intelectual | 威尼斯人路氹股份有限公司 Venetian Cotai S.A., Venetian Cotai Limited |
Bank of Nova Scotia, com sede em 580 California Street, Suite 2100, San Francisco, Califórnia 94104, Estados Unidos da América |
| N/023239 -- |
2008/03/06 | Modificação de sede | 新美傢俱有限公司 | 澳門宋玉生廣場238-286號建興隆廣場14樓E-G室 |
| N/023333 -- |
2008/02/20 | Modificação de sede | Spirits Product International Intellectual Property B.V. | 1A, rue Thomas Edison, L-1445 Strassen, Grand Duchy of Luxembourg |
| N/023334 -- |
2008/02/20 | Modificação de sede | Spirits Product International Intellectual Property B.V. | 1A, rue Thomas Edison, L-1445 Strassen, Grand Duchy of Luxembourg |
| N/023335 -- |
2008/02/20 | Modificação de sede | Spirits Product International Intellectual Property B.V. | 1A, rue Thomas Edison, L-1445 Strassen, Grand Duchy of Luxembourg |
| N/023365 -- |
2008/03/04 | Penhor dos direitos de propriedade intelectual | 威尼斯人路氹股份有限公司 Venetian Cotai S.A., em inglês, Venetian Cotai Limited |
Bank of Nova Scotia, com sede em 580 California Street, Suite 2100, San Francisco, Califórnia 94104, Estados Unidos da América |
| N/024375 -- |
2008/02/20 | Modificação de identidade | Spirits International N.V. | Spirits International B.V. |
| N/024375 -- |
2008/02/20 | Modificação de sede | Spirits International B.V. | 1A, rue Thomas Edison, L-1445 Strassen, Grand Duchy of Luxembourg |
| N/024376 -- |
2008/02/20 | Modificação de identidade | Spirits International N.V. | Spirits International B.V. |
| N/024376 -- |
2008/02/20 | Modificação de sede | Spirits International B.V. | 1A, rue Thomas Edison, L-1445 Strassen, Grand Duchy of Luxembourg |
| N/024377 -- |
2008/02/20 | Modificação de identidade | Spirits International N.V. | Spirits International B.V. |
| N/024377 -- |
2008/02/20 | Modificação de sede | Spirits International B.V. | 1A, rue Thomas Edison, L-1445 Strassen, Grand Duchy of Luxembourg |
| N/024378 -- |
2008/02/20 | Modificação de identidade | Spirits International N.V. | Spirits International B.V. |
| N/024378 -- |
2008/02/20 | Modificação de sede | Spirits International B.V. | 1A, rue Thomas Edison, L-1445 Strassen, Grand Duchy of Luxembourg |
| N/024379 -- |
2008/02/20 | Modificação de identidade | Spirits International N.V. | Spirits International B.V. |
| N/024379 -- |
2008/02/20 | Modificação de sede | Spirits International B.V. | 1A, rue Thomas Edison, L-1445 Strassen, Grand Duchy of Luxembourg |
| N/024380 -- |
2008/02/20 | Modificação de identidade | Spirits International N.V. | Spirits International B.V. |
| N/024380 -- |
2008/02/20 | Modificação de sede | Spirits International B.V. | 1A, rue Thomas Edison, L-1445 Strassen, Grand Duchy of Luxembourg |
| N/024381 -- |
2008/02/20 | Modificação de identidade | Spirits International N.V. | Spirits International B.V. |
| N/024381 -- |
2008/02/20 | Modificação de sede | Spirits International B.V. | 1A, rue Thomas Edison, L-1445 Strassen, Grand Duchy of Luxembourg |
| N/024382 -- |
2008/02/20 | Modificação de identidade | Spirits International N.V. | Spirits International B.V. |
| N/024382 -- |
2008/02/20 | Modificação de sede | Spirits International B.V. | 1A, rue Thomas Edison, L-1445 Strassen, Grand Duchy of Luxembourg |
| N/024383 -- |
2008/02/20 | Modificação de identidade | Spirits International N.V. | Spirits International B.V. |
| N/024383 -- |
2008/02/20 | Modificação de sede | Spirits International B.V. | 1A, rue Thomas Edison, L-1445 Strassen, Grand Duchy of Luxembourg |
| N/024384 -- |
2008/02/20 | Modificação de identidade | Spirits International N.V. | Spirits International B.V. |
| N/024384 -- |
2008/02/20 | Modificação de sede | Spirits International B.V. | 1A, rue Thomas Edison, L-1445 Strassen, Grand Duchy of Luxembourg |
| N/024385 -- |
2008/02/20 | Modificação de identidade | Spirits International N.V. | Spirits International B.V. |
| N/024385 -- |
2008/02/20 | Modificação de sede | Spirits International B.V. | 1A, rue Thomas Edison, L-1445 Strassen, Grand Duchy of Luxembourg |
| N/024386 -- |
2008/02/20 | Modificação de identidade | Spirits International N.V. | Spirits International B.V. |
| N/024386 -- |
2008/02/20 | Modificação de sede | Spirits International B.V. | 1A, rue Thomas Edison, L-1445 Strassen, Grand Duchy of Luxembourg |
| N/024387 -- |
2008/02/20 | Modificação de identidade | Spirits International N.V. | Spirits International B.V. |
| N/024387 -- |
2008/02/20 | Modificação de sede | Spirits International B.V. | 1A, rue Thomas Edison, L-1445 Strassen, Grand Duchy of Luxembourg |
| N/024388 -- |
2008/02/20 | Modificação de identidade | Spirits International N.V. | Spirits International B.V. |
| N/024388 -- |
2008/02/20 | Modificação de sede | Spirits International B.V. | 1A, rue Thomas Edison, L-1445 Strassen, Grand Duchy of Luxembourg |
| N/027274 -- |
2008/03/03 | Transmissão | 樂透遊戲有限公司 LT Game Limited |
Jay CHUN, com sede em Flat A, 21/F, Trafalgar Court, 70 Tai Hang Road, Hong Kong |
| N/027909 -- |
2008/03/03 | Transmissão | LT Game Limited | Jay CHUN, com sede em Flat A, 21/F, Trafalgar Court, 70 Tai Hang Road, Hong Kong |
| N/028478 -- |
2008/02/20 | Modificação de sede | Spirits International B.V. | 1A, rue Thomas Edison, L-1445 Strassen, Grand Duchy of Luxembourg |
| N/028479 -- |
2008/02/20 | Modificação de sede | Spirits International B.V. | 1A, rue Thomas Edison, L-1445 Strassen, Grand Duchy of Luxembourg |
| N/028954 -- |
2008/03/03 | Transmissão | LT Game Limited | Jay CHUN, com sede em Flat A, 21/F, Trafalgar Court, 70 Tai Hang Road, Hong Kong |
| N/028955 -- |
2008/03/03 | Transmissão | LT Game Limited | Jay CHUN, com sede em Flat A, 21/F, Trafalgar Court, 70 Tai Hang Road, Hong Kong |
| N/030911 -- |
2008/02/27 | Transmissão | EDMONT P.D’ASCOLI | Seal Trademarks Pty Ltd, com sede em 1 Billabong Place, Burleigh Heads, QLD Australia |
| N/031437 -- |
2008/03/03 | Transmissão | LT Game Limited | Jay CHUN, com sede em Flat A, 21/F, Trafalgar Court, 70 Tai Hang Road, Hong Kong |
| N/031438 -- |
2008/03/03 | Transmissão | LT Game Limited | Jay CHUN, com sede em Flat A, 21/F, Trafalgar Court, 70 Tai Hang Road, Hong Kong |
| N/031439 -- |
2008/03/03 | Transmissão | LT Game Limited | Jay CHUN, com sede em Flat A, 21/F, Trafalgar Court, 70 Tai Hang Road, Hong Kong |
| N/031440 -- |
2008/03/03 | Transmissão | LT Game Limited | Jay CHUN, com sede em Flat A, 21/F, Trafalgar Court, 70 Tai Hang Road, Hong Kong |
| N/031651 -- |
2008/02/22 | Modificação de sede | Healthy Gain Investments Limited | P.O. Box 957, Offshore Incorporations Centre, Road Town Tortola, British Virgin Islands |
| N/031652 -- |
2008/02/22 | Modificação de sede | Healthy Gain Investments Limited | P.O. Box 957, Offshore Incorporations Centre, Road Town Tortola, British Virgin Islands |
| N/031900 -- |
2008/02/27 | Modificação de sede | J. Choo Limited | 4 Lancer Square, Kensington Church Street, London, W8 4EH, United Kingdom |
| N/031901 -- |
2008/02/27 | Modificação de sede | J. Choo Limited | 4 Lancer Square, Kensington Church Street, London, W8 4EH, United Kingdom |
| N/031902 -- |
2008/02/27 | Modificação de sede | J. Choo Limited | 4 Lancer Square, Kensington Church Street, London, W8 4EH, United Kingdom |
| N/031903 -- |
2008/02/27 | Modificação de sede | J. Choo Limited | 4 Lancer Square, Kensington Church Street, London, W8 4EH, United Kingdom |
| N/031904 -- |
2008/02/27 | Modificação de sede | J. Choo Limited | 4 Lancer Square, Kensington Church Street, London, W8 4EH, United Kingdom |
| N/031905 -- |
2008/02/27 | Modificação de sede | J. Choo Limited | 4 Lancer Square, Kensington Church Street, London, W8 4EH, United Kingdom |
| N/031906 -- |
2008/02/27 | Modificação de sede | J. Choo Limited | 4 Lancer Square, Kensington Church Street, London, W8 4EH, United Kingdom |
| N/031907 -- |
2008/02/27 | Modificação de sede | J. Choo Limited | 4 Lancer Square, Kensington Church Street, London, W8 4EH, United Kingdom |
| N/031908 -- |
2008/02/27 | Modificação de sede | J. Choo Limited | 4 Lancer Square, Kensington Church Street, London, W8 4EH, United Kingdom |
| N/031909 -- |
2008/02/27 | Modificação de sede | J. Choo Limited | 4 Lancer Square, Kensington Church Street, London, W8 4EH, United Kingdom |
| N/031910 -- |
2008/02/27 | Modificação de sede | J. Choo Limited | 4 Lancer Square, Kensington Church Street, London, W8 4EH, United Kingdom |
| N/031911 -- |
2008/02/27 | Modificação de sede | J. Choo Limited | 4 Lancer Square, Kensington Church Street, London, W8 4EH, United Kingdom |
| N/031912 -- |
2008/02/27 | Modificação de sede | J. Choo Limited | 4 Lancer Square, Kensington Church Street, London, W8 4EH, United Kingdom |
| N/031913 -- |
2008/02/27 | Modificação de sede | J. Choo Limited | 4 Lancer Square, Kensington Church Street, London, W8 4EH, United Kingdom |
| N/031914 -- |
2008/02/27 | Modificação de sede | J. Choo Limited | 4 Lancer Square, Kensington Church Street, London, W8 4EH, United Kingdom |
| N/031915 -- |
2008/02/27 | Modificação de sede | J. Choo Limited | 4 Lancer Square, Kensington Church Street, London, W8 4EH, United Kingdom |
| N/031916 -- |
2008/02/27 | Modificação de sede | J. Choo Limited | 4 Lancer Square, Kensington Church Street, London, W8 4EH, United Kingdom |
| N/031917 -- |
2008/02/27 | Modificação de sede | J. Choo Limited | 4 Lancer Square, Kensington Church Street, London, W8 4EH, United Kingdom |
| N/031918 -- |
2008/02/27 | Modificação de sede | J. Choo Limited | 4 Lancer Square, Kensington Church Street, London, W8 4EH, United Kingdom |
| N/031919 -- |
2008/02/27 | Modificação de sede | J. Choo Limited | 4 Lancer Square, Kensington Church Street, London, W8 4EH, United Kingdom |
Recusas
| Processo n.º | Data do despacho | Nome do requerente | País/Território resid. | Classe |
Observações Nos termos do RJPI, aprovado pelo D.L. n.º 97/99/M, de 13 de Dezembro |
| N/21257 | 2008/03/07 | 黎潔玲 LAI KIT LENG |
MO | 30 | Alínea a) do n.º 1 e alínea b) do n.º 2 do art.º 214.º, conjugado com a alínea c) do n.º 1 do art.º 9.º e o n.º 1 do art.º 215.º |
| N/21264 | 2008/03/07 | 黎潔玲 LAI KIT LENG |
MO | 35 | Alínea a) do n.º 1 e alínea e) do n.º 2 do art.º 214.º, conjugado com a alínea c) do n.º 1 do art.º 9.º |
| N/22519 N/22520 N/22521 N/22522 N/22523 N/22524 N/22525 N/22526 |
2008/02/20 | Baccarat | FR | 03 20 24 35 36 41 43 44 |
Alínea a) do n.º 2 do art.º 214.º, conjugado com a alínea c) do n.º 1 do art.º 9.º e o art.º 197.º |
| N/27067 | 2008/03/07 | Games And Entertainment Development Company Ltd. | HK | 41 | |
| N/29540 | 2008/03/07 | Monterayas Publishing Limited | HK | 16 | |
| N/23954 | 2008/02/28 | 星加坡鴻威藥業公司 SINGAPORE HEADWAY MEDICINE CO |
HK | 05 | Alínea a) do n.º 2 do art.º 214.º |
| N/29501 N/29502 N/29503 N/29504 N/29509 N/29510 |
2008/03/06 | HEARTS ON FIRE COMPANY, LLC | US | 14 | Alínea a) do n.º 2 do art.º 214.º |
| N/24529 | 2008/03/06 | BP p.l.c. | GB | 01 | Alínea a) do n.º 2 do art.º 214.º, conjugado com o n.º 3 do art.º 214.º e alínea b) do n.º 1 do art.º 199.º |
| N/26606 | 2008/02/29 | Trommsdorff GmbH & Co. KG | DE | 05 | Alínea b) do n.º 2 do art.º 214.º, conjugado com o n.º 1 do art.º 215.º |
| N/30650 | 2008/02/18 | 吉林煙草工業有限責任公司 | CN | 34 | |
| N/28017 | 2008/02/29 | 亞洲煙草集團(澳門)有限公司 COMPANHIA DE TABACO ÁSIA GRUPO (MACAU) LIMITADA/ /ASIA TOBACCO GROUP (MACAU) COMPANY LIMITED |
MO | 34 | Alínea b) do n.º 2 do art.º 214.º, conjugado com o n.º 1 do art.º 215.º e a alínea c) do n.º 1 do art.º 9.º |
| N/31099 | 2008/03/06 | SOGEVINUS FINE WINES, S.A. | PT | 33 |
Protecção de estabelecimento
Recusas
| Processo n.º |
Data do despacho |
Nome do requerente |
País/Território resid. | Observações |
| E/000065 | 2008/03/07 | Challenger (Macau) Acessórios e Assistência Automovel Limitada | MO | Nos termos da alínea b) do n.º 1 do art.º 237.º do RJPI, aprovado pelo D.L. n.º 97/99/M, de 13 de Dezembro. |
Protecção de marcas
Recusa parcial
| Processo n.º |
Data do despacho |
Nome do requerente |
País/Território resid. | Classe |
Observações Nos termos do RJPI, aprovado pelo D.L. n.º 97/99/M, de 13 de Dezembro |
| N/30639 | 2008/02/25 | Caesars World, Inc. | US | 41 | Art.º 216.º, foi recusado o registo nos serviços «serviços de entretenimento; serviços de casino; serviços de formação». |
| N/30640 | 2008/02/25 | Caesars World, Inc. | US | 43 | Art.º 216.º, foi recusado o registo nos serviços «serviços de hotel, motel; serviços de restaurante, bar; serviços de fornecimento de refeições». |
Renúncia de pedido de registo
| Processo n.º |
Data do Despacho |
Nome do Requerente |
País/Território Resid. |
Classe |
| N/31425 | 2008/03/04 | MGM Grand Paradise S.A. | MO | 43 |
Reclamação
| Processo n.º |
Data de entrada |
Nome do requerente |
País/Território resid. |
Nome do oponente |
País/Território resid. |
| N/031853 | 2008/02/25 | Wilhelm Hamm GmbH & Co. KG | DE | DAIMLER CHRYSLER AG | DE |
| N/032067 | 2008/02/29 | N.V. SUMATRA TOBACCO TRADING COMPANY | ID | NANYANG BROTHERS TOBACCO COMPANY LIMITED | HK |
Rectificações
| Marca n.º | Item da rectificação | Onde se lê | Deve ler-se |
| 8940/INPI (8668-M) |
Cancelamento de licença de exploração (B.O. da RAEM n.º 10, II Série, de 5 de Março de 2008) | Rescisão do contrato de licença de exploração em 01/12/2007 à MONTY & TOTCO COMPANY LIMITED. | Termo do Contrato de Licença de Exploração em 01/12/2007, com MONTY & TOTCO COMPANY LIMITED. |
| N/26992 | Lista de serviços (B.O. da RAEM n.º 18, II Série, de 2 de Maio de 2007) | ……;管理顧問及商業組織;…… | ……;商業管理及組織顧問;…… |
| N/26993 | Lista de serviços (B.O. da RAEM n.º 18, II Série, de 2 de Maio de 2007) | ……運輸及其相關資訊;貨物的包裝及儲存;…… | ……運輸及其相關資訊;運輸;貨物的包裝及儲存;…… |
A pedido dos requerentes/titulares respectivos, rectifica-se os seguintes:
| Marca n.º | Item da rectificação | Onde se lê | Deve ler-se |
| N/3555 N/3556 |
Transmissão por fusão-absorção (B.O. da RAEM n.º 36, II Série, de 7 de Setembro de 2005) | Parc Technologique Orléans Charbonnière, 1 Route de Boigny, 45760 Boigny Sur Bionne, França. | 65, avenue Edouard Vaillant 92100 Boulogne Billancourt, França. |
| N/29915 | Lista de serviços (B.O. da RAEM n.º 40, II Série, de 3 de Outubro de 2007) | gestão financeira; …… ; investigação de crédito de entidades colectivas. | bens imobiliários; gestão de edifícios; corretagem ou actuar como agente com respeito ao arrendamento de edifícios; arrendamento de edifícios; compra e venda de edifícios; corretagem ou actuar como agente no que respeita à compra e venda de edifícios, construção ou avaliação de terrenos, gestão de terrenos; corretagem ou actuar como agente com respeito ao arrendamento de terrenos; arrendamento de terrenos; compra e venda de terrenos; corretagem ou actuar como agente com respeito à compra e venda de terrenos; providenciar informação sobre edifícios ou terrenos. |
| N/30341 | Lista de serviços (B.O. da RAEM n.º 49, II Série, de 5 de Dezembro de 2007) | ……; serviços de remoção de neve; manutenção e reparação de instalações de fornecimento de energia; …… | ……; serviços de remoção de neve; serviços de limpeza; manutenção e reparação de instalações de fornecimento de energia; …… |
| N/30422 | Lista de produtos (B.O. da RAEM n.º 49, II Série, de 5 de Dezembro de 2007) | .....; toalhetes («finger towels») impregnados com preparações para limpeza; toalhas contendo preparações de toilete não medicadas; produtos para o cuidado do cabelo; produtos para o cuidado da pele; loções para o banho, desodorizantes, ..... detergentes, geles para uso no cabelo, preparações de toilete não medicadas; dentífricos, champôs, preparações para o cuidado das unhas, .....; água-de-colónia, sabões desinfectantes, sabões desodorizantes, ..... e depois de barbear; cremes, produtos para lavagem ......, artigos de toilete; produtos para o cuidado do corpo, produtos para cuidados de beleza; ......, preparações para descolorar o cabelo; preparações para o cuidado do corpo, tábuas de esmeril, ......, sais para o banho, não para fins medicinais; ......; máscaras de beleza; sabão medicado; verniz para as unhas ......; produtos para remover o verniz das unhas. | .....; toalhetes («finger towels») impregnados com preparações para limpeza; desodorizantes, ...... detergentes, preparações para o cuidado das unhas, .....; água-de-colónia, sabões desodorizantes, ..... e depois de barbear; produtos para lavagem ....., artigos de toilete; produtos para cuidados de beleza; ....., preparações para descolorar o cabelo; tábuas de esmeril, ......, sais para o banho, .....; máscaras de beleza; verniz para as unhas ......; produtos para remover o verniz das unhas; nenhum dos produtos supracitados é para fins medicinais. |
| N/30985 N/30988 |
Lista de produtos (B.O. da RAEM n.º 6, II Série, de 6 de Fevereiro de 2008) | ......, satélites; filmes (películas) impressos, ...... | ......, satélites; microfones; filmes (películas) impressos, ...... |
| N/30986 N/30991 |
Lista de serviços (B.O. da RAEM n.º 6, II Série, de 6 de Fevereiro de 2008) | …….; aluguer de aparelhos para a transmissão das mensagens e vídeo; comunicação através de terminais de computadores ou através de redes de fibras ópticas; …… | ……; aluguer de aparelhos para a transmissão das mensagens e vídeo; aluguer de aparelhos de telecomunicação; comunicação através de terminais de computadores ou através de redes de fibras ópticas; ...... |
| N/31128 N/31132 N/31134 |
Lista de serviços (B.O. da RAEM n.º 6, II Série, de 6 de Fevereiro de 2008) | ......, serviços «building damp- -rooting», …… | ......, serviços de impermeabilização contra a humidade em edifícios, …… |
| N/31584 | Lista de produtos (B.O. da RAEM n.º 6, II Série, de 6 de Fevereiro de 2008) | ……; máquinas de jogos de vídeo «stand-alone»; «slot machines». | ......; máquinas de jogos de vídeo «stand-alone»; máquinas de jogos de vídeo operadas com moedas; «slot machines». |
| N/32002 N/32004 |
Lista de produtos (B.O. da RAEM n.º 6, II Série, de 6 de Fevereiro de 2008) | ……; agulhas de cozer; …… | ......; agulhas de coser; ...... |
| N/32087 | Sede do requerente (B.O. da RAEM n.º 1, II Série, de 2 de Janeiro de 2008) | …… 6300 Zug, Suíça. | ...... 6300, Zug, Switzerland. |
Direcção dos Serviços de Economia, aos 12 de Março de 2008.
O Director dos Serviços, substituto, Sou Tim Peng.



