²Ä 9 ´Á
°Ó¼Ð¤§«OÅ@
¤G¹s¹s¤E¦~¤T¤ë¥|¤é¡A¬P´Á¤T
¸gÀÙ§½
³q§i
°Ó¼Ð¤§«OÅ@
N/38993 ... N/40632 - N/40633 ... N/41025 - N/41026 ... N/41027
°Ó¼Ð½s¸¹¡GN/41026 Ãþ§O¡G 3
¥Ó½Ð¤H¡GVICTORIA¡¦S SECRET STORES BRAND MANAGEMENT, INC., Four Limited Parkway, Reynoldsburg, Ohio 43068, United States of America.
°êÄy¡G¬ü°ê
¬¡°Ê¡G°Ó·~¤Î¤u·~
¥Ó½Ð¤é´Á¡G2009/01/19
²£«~¡GÅ@½§«~¡A¤Æ§©«~¡A¨Åé¥Î¨Å²G¡A¨Åé¥Î¨ÅÁ÷¡A¨Åé¥Î¯»¡A®Þ§©«~¡AªÚ»¾¯¡AÓ¤H¥Î»¤ô¤Îºëªo¡C
°Ó¼Ðºc¦¨¡G

°Ó¼Ð½s¸¹¡GN/41027 Ãþ§O¡G 25
¥Ó½Ð¤H¡GVICTORIA¡¦S SECRET STORES BRAND MANAGEMENT, INC., Four Limited Parkway, Reynoldsburg, Ohio 43068, United States of America.
°êÄy¡G¬ü°ê
¬¡°Ê¡G°Ó·~¤Î¤u·~
¥Ó½Ð¤é´Á¡G2009/01/19
²£«~¡GªA¸Ë¡A¥]¬A¤k¥Î¶K¨¤º¦ç¿Ç¡A¯Ý³ò¡A¤º¦ç¡A®a©~¬ï着¦çªA¡AºÎ¦ç¡A¹B°ÊªA¡A¤W¦ç¡AŨm¡A¿Ç¤l¡Aµu¿Ç¡AÁï¿Ç¤l¡A¥bºI¸È¡A³s¦ç¸È¡A¦èªA¡AŨ¦ç¡A¤ò½u¦ç¡AT«ò¡AŨ«ò¡A¥~®M¡A¾c¡A´UÃþª««~¡C
°Ó¼Ðºc¦¨¡G

³]p¤Î·s«¬¤§«OÅ@
®Ú¾Ú¸g¤Q¤G¤ë¤Q¤T¤é²Ä97/99/M¸¹ªk¥O®Ö㤧¡m¤u·~²£Åvªk«ß¨î«×¡n²Ä¤Q¤Î²Ä¤@¦Ê¤»¤Q¤±ø¤§³W©w¡A¤½¥¬¤U¦C¦b¿Dªù¯S§O¦æ¬F°Ï´£¥Xªº³]p¤Î·s«¬µù¥U¥Ó½Ð¡A¨Ã«ö·Ó¬Û¦Pªk³W²Ä¤@¦Ê¤»¤Q¤»±ø¡A¦Û¦¹¤½¥¬¤é°_¦Üµ¹¤©µù¥U¤§¤é¤î¡A¥ô¦ó²Ä¤T¤H§¡±o´£¥XÁn©ú²§Ä³¡C
³]p©Î·s«¬¤½§G
³]p½s¸¹¡GD/000484
¥Ó½Ð¤é´Á¡G2008/07/30
¥Ó½Ð¤H¡GILLYCAFFÈ S.p.A. CON UNICO SOCIO
°êÄy¡G·N¤j§Q
¦í§}/¦a§}¡GVia Flavia, 110 34147 Trieste (TS) - Italy
¼ÐÃD¡G¾P°â«F¡C
ºKn¡Go quiosque de vendas objecto do projecto está providenciado com um balcão quadrangular, o qual está coberto por uma super-estrutura apoiada em quatro colunas estreitas colocadas nos cantos do dito balcão.
O balcão tem um espaço de quadrangular interior aberto e define, com a super-estrutura, quatro aberturas laterais usadas para oferecer alimentos e bebidas.
A super-estrutura tem a mesma forma do balcão e, no meio, é caracterizada por um orifício quadrangular, que permite a entrada da luz.
As aberturas laterais do quiosque de vendas podem ser deixadas abertas ou podem ser fechadas com persianas de enrolar.
¤ÀÃþ¡G20 - 02
³Ð§@¤H¡GLUCA TRAZZI
Àu¥ýÅv¤é´Á¡G2008/02/19
Àu¥ýÅv°ê®a/¦a°Ï¡G¼Ú¬wÁp·ù
Àu¥ýÅv½s¸¹¡G000880950
ªþ¹Ï

³]p½s¸¹¡GD/000486
¥Ó½Ð¤é´Á¡G2008/08/07
¥Ó½Ð¤H¡GÂÄ¼í´µ¦³¤½¥q
°êÄy¡G±¶§J
¦í§}/¦a§}¡GKouřimská 68, 280 02 Kolín 1, Czech Republic
¼ÐÃD¡GÁʪ«ºô³U¡C
ºKn¡G¨Ï¥Î¤Wz¤u·~¼Ò«¬ªº²£«~¥Dn¬°Áʪ«ºô³U¡C
¤ÀÃþ¡G3 - 01
| ³Ð§@¤H¡G | Zdenek Cervinka (pai) |
| ¡@ | Zdenek Cervinka (filho) |
Àu¥ýÅv¤é´Á¡G2008/02/06
Àu¥ýÅv°ê®a/¦a°Ï¡G±¶§J¦@©M°ê
Àu¥ýÅv½s¸¹¡GPVZ 2008 - 37342
ªþ¹Ï

ÃÄ«~¤Î´Óª«Ãľ¯²£«~¤§«OÅ@¸É¥RÃÒ©ú®Ñ¤§«OÅ@
®Ú¾Ú¸g¤Q¤G¤ë¤Q¤T¤é²Ä97/99/M¸¹ªk¥O®Ö㤧¡m¤u·~²£Åvªk«ß¨î«×¡n²Ä¤Q±ø¤Î²Ä¤@¦Ê¤G¤Q¤»±ø¤§³W©w¡A¤½¥¬¤U¦C¦b¿Dªù¯S§O¦æ¬F°Ï´£¥XªºÃÄ«~¤Î´Óª«Ãľ¯²£«~¤§«OÅ@¸É¥RÃÒ©ú®Ñ¥Ó½Ð¤Î¨ä±Â¤©¡A¨Ã«ö·Ó¬Û¦Pªk³W²Ä¤G¦Ê¤C¤Q¤±ø¦Ü²Ä¤G¦Ê¤C¤Q¤C±ø¤§³W©w¡A¥i©ó¥»¤½§G¤é°_p¤@Ó¤ë´Á¤º´N¤U¦C§å¥Ü¦Vªì¯Åªk°|´£°_¤W¶D¡C
½s¸¹¡GF/000005
ÃÒ©ú®Ñ¥Ó½Ð¤é´Á¡G2008/06/23
ÃÒ©ú®Ñ§å¥Ü¤é´Á¡G2009/02/05
¥Ó½Ð¤H¡Gªkº¿¦è¶®¤Ì´¶¬ù¿«¬ü°ê¤½¥q
°êÄy¡G¬ü°ê
¦í§}/¦a§}¡G¬ü°ê±K°õ¦w7000 Portage Road, Kalamazoo, MI 49001, USA
±M§Q½s¸¹¡GJ/000065
µo©ú±M§Q¤§¼ÐÃD¡G¨ú¥Nªºäú嗪©M噻嗪äúÐüÖJଧܷL¥Íª«¾¯¡C
²£«~º¦¸§ë©ñ¥»¦a°Ï¥«³õ¤§³\¥i½s¸¹¡G600459
²£«~º¦¸§ë©ñ¥»¦a°Ï¥«³õ¤§¤é´Á¡G2002/01/25
²£«~¤§»{§O¸ê®Æ¡GZyvox (Linezolid)
¦³®Ä´Á¡G2021/08/16
½s¸¹¡GF/000006
ÃÒ©ú®Ñ¥Ó½Ð¤é´Á¡G2008/06/23
ÃÒ©ú®Ñ§å¥Ü¤é´Á¡G2009/02/05
¥Ó½Ð¤H¡G¬ü°ê½÷·ç¦³¤½¥q
°êÄy¡G¬ü°ê
¦í§}/¦a§}¡G¬ü°ê¯Ã¬ù¦{235 East 42nd Street, New York, N.Y. 10017, U.S.A.
±M§Q½s¸¹¡GJ/000035
µo©ú±M§Q¤§¼ÐÃD¡G¤TÐüÃþ§Ü¾`µß¾¯ªº»s³Æ¤èªk¡C
²£«~º¦¸§ë©ñ¥»¦a°Ï¥«³õ¤§³\¥i½s¸¹¡G601165
²£«~º¦¸§ë©ñ¥»¦a°Ï¥«³õ¤§¤é´Á¡G2004/03/05
²£«~¤§»{§O¸ê®Æ¡GVfend (Voriconazole)
¦³®Ä´Á¡G2016/08/12
½s¸¹¡GF/000008
ÃÒ©ú®Ñ¥Ó½Ð¤é´Á¡G2008/11/13
ÃÒ©ú®Ñ§å¥Ü¤é´Á¡G2009/02/05
¥Ó½Ð¤H¡G¨U¥§º¸¡E®Ô§B¤½¥q
°êÄy¡G¬ü°ê
¦í§}/¦a§}¡G235 East 42nd Street, New York, N.Y. 10017, U.S.A.
±M§Q½s¸¹¡GJ/000064
µo©ú±M§Q¤§¼ÐÃD¡Gµ²´¹¡eR¡X¡]R*¡AR*¡^¡f¡X2¡X¡]4¡X¬tf°ò¡^¡X£]¡A£_¡X¤Gßm°ò¡X5¡X¡]1¡X¥Ò°ò¤A°ò¡^¡X3¡Xf°ò¡X4¡X¡e¡]f®ò°ò¡^æó°ò¡f¡X1H¡X吡«£¡X1¡X©°»Ä¥b¶tÆQ¡C
²£«~º¦¸§ë©ñ¥»¦a°Ï¥«³õ¤§³\¥i½s¸¹¡G605193
²£«~º¦¸§ë©ñ¥»¦a°Ï¥«³õ¤§¤é´Á¡G1997/10/05
²£«~¤§»{§O¸ê®Æ¡GLipitor (Atorvastatin)
¦³®Ä´Á¡G2017/10/05
µo©ú±M§Q¤§«OÅ@
®Ú¾Ú¸g¤Q¤G¤ë¤Q¤T¤é²Ä97/99/M¸¹ªk¥O®Ö㤧¡m¤u·~²£Åvªk«ß¨î«×¡n²Ä¤Q±ø¤Î²Ä¤K¤Q¤T±ø¤§³W©w¡A¤½¥¬¤U¦C¦b¿Dªù¯S§O¦æ¬F°Ï´£¥Xªºµo©ú±M§Qµù¥U¥Ó½Ð¡A¨Ã«ö·Ó¬Û¦Pªk³W²Ä¤K¤Q¥|±ø¡A¦Û¦¹¤½¥¬¤é°_¦Ü±Â¤©±M§Q¤§¤é¤î¡A¥ô¦ó²Ä¤T¤H§¡±o´£¥XÁn©ú²§Ä³¡C
µo©ú±M§Q¤½§G
µo©ú±M§Q½s¸¹¡GI/000734
ì®×¥Ó½Ð¸¹¡GI/000185
¥Ó½Ð¤é´Á¡G2005/07/25
¥Ó½Ð¤H¡G´L³Õ¬ì§ÞªÑ¥÷¦³¤½¥q
¦í§}/¦a§}¡G¤¤°ê¥xÆW¥x¤¤¥«407¦è¤Ù°Ï¤u·~38¸ô210¸¹5¼Ó¤§8
¼ÐÃD¡G¦Û°Ê¤Æ¶i¦æªº»ëÄ_¹CÀ¸¸Ë¸m¡C
ºKn¡G¤@ºØ±N¶Ç²Îªº»ëÄ_¹CÀ¸¤è¦¡À³¥Î¦b¦Û°Ê¤Æ¸Ë¸mªº»ëÄ_¹CÀ¸¸Ë¸m¡A¤×«ü¤@ºØ¨ã°ª«×¤½¥©Ê¤§»ëÄ_¹CÀ¸¸Ë¸m¡A¨ä³]¦³¤@¨t²Î¥D¾÷¡A©ó¨t²Î¥D¾÷³sµ²³]¦³¤@¦Û°Ê»ëÄ_¸Ë¸m¤Î¤@¿ëÃѸ˸m¡A¨ÃÁp¾÷¦³¤@Ó¥H¤Wªº¹CÀ¸ªÌ¾Þ§@¬É±¸Ë¸m¡F¥»µo©ú§Q¥Î¦Û°Ê»ëÄ_¸Ë¸m¶i¦æ¥´»ë¡A¨Ã¥H¿ëÃѸ˸m¦Û°ÊŪ¨ú¿ëÃѦU»ë¤lªºÂI¼Æ¤Î§PÂ_¬O§_¦³¯}»ë¡B¥ß»ëµ¥¿ù»~ª¬ªp¡A©ó¹CÀ¸ªÌ¥H¹CÀ¸ªÌ¾Þ§@¬É±¸Ë¸m¶i¦æ©ãª`³]©w«á¡A¥Ñ¨t²Î¥D¾÷¶i¦æp¤À¡A¨Ã§Q¥Î¦Û°Ê»ëÄ_¸Ë¸m¶i¦æ¶}»ë¡A¸Ó¹CÀ¸ªÌÀ˵ø¥´»ëµ²ªG¡A¦A¥Ñ¹CÀ¸ªÌ¾Þ§@¬É±¸Ë¸mÅã¥Ü¹CÀ¸ªÌªº±o¤À¤Î¿n¤À¡F¥»µo©ú¦³®Ä¦aÅý¶Ç²Î»ëÄ_¹CÀ¸ªº¥´»ë¡B¿ëÃѧPŪ¡B©ãª`³]©w¡B¶}»ë¤Îp¤Àµ¥¹Lµ{¡Aª½±µ¥Ñ»ëÄ_¹CÀ¸¸Ë¸m¦Û°Ê¤Æ§¹¦¨¡A¯à°÷´£¤É»ëÄ_¹CÀ¸ªº®Ä²v»PÆF¬¡«×¡A¥H¤ÎÅý»ëÄ_¹CÀ¸¨ã¦³°ª«×ªº¤½¥©Ê¡A¯S§O¬O¤£»Ý§ïÅܲ{¦³»ëÄ_¹CÀ¸¤è¦¡¡A¥u»Ý¹B¥Î¥»µo©úªº»ëÄ_¹CÀ¸¸Ë¸m§Y¥i¹ê²{»ëÄ_¹CÀ¸¦Û°Ê¤Æ¤§¥Øªº¡C
¤ÀÃþ¡GA63F9/04
µo©ú¤H¡GªL¤ë¬K
ªþ¹Ï

µo©ú±M§Q½s¸¹¡GI/000799
¥Ó½Ð¤é´Á¡G2008/06/05
¥Ó½Ð¤H¡GIGT
°êÄy¡G¬ü°ê
¦í§}/¦a§}¡G9295 Prototype Drive, Reno Nevada 89521-8986, E.U.A.
¼ÐÃD¡G¥Î©ó¨ã¦³¤¤Â_¥\¯àªºUSBªºÃä±a«H¸¹¡C
ºKn¡G¥»µo©ú´£¨Ñ¤F¥Î©ó¨ã¦³¹ê®É¤¤Â_¥\¯àªºUSBªºÃä±a«H¸¹¡C¥Î©ó¹ï¤¤Â_«H¸¹ªºµw¥óÀË´úªº¨t²Î©M¤èªk´£¨Ñ¤F±N°ªÀW¤¤Â_«H¸¹¬I¥[¦bUSB¹q¤O½u¤W¥Î©ó¶Ç¿é¨ì¤@Ó±±¨î¾¹ªº¯à¤O¡C©ÎªÌ¡A±q¥~³ò³]³Æ¥i¥H²£¥Í¹L¹q¬y¬y°Ê¡A¨Ã¥B¨ä³Q¸ÓUSB¤Wªº·¸¥X¹q¬yÀË´ú¾¹ÀË´ú¡C¬ÛÀ³¦a¡A¸Ó·¸¥X¹q¬yÀË´ú¾¹¥i¥H±N¤@Ó¤¤Â_¡þ·¸¥X¹q¬yÀË´ú«H¸¹¿é¥X¨ì¸Ó±±¨î¾¹¡C
¤ÀÃþ¡GG06F13/24
| µo©ú¤H¡G | John GOODMAN |
| ¡@ | Dung HUA |
| ¡@ | Floyd GOLDSTEIN |
Àu¥ýÅv¤é´Á¡G2007/06/08
Àu¥ýÅv°ê®a/¦a°Ï¡G¬ü°ê
Àu¥ýÅv½s¸¹¡G11/760,473
ªþ¹Ï

µo©ú±M§Q½s¸¹¡GI/000800
¥Ó½Ð¤é´Á¡G2008/06/05
¥Ó½Ð¤H¡GIGT
°êÄy¡G¬ü°ê
¦í§}/¦a§}¡G9295 Prototype Drive, Reno Nevada 89521-8986, E.U.A.
¼ÐÃD¡G¦w¥þ¦Û°Ê¦¬¶°¼Æ¾Úªº¨t²Î©M¤èªk¡C
ºKn¡G¥»µo©ú¯A¤Î¦Û°Ê¼Æ¾Ú¦¬¶°¡A¥]¬A»P¦Ü¤Ö¤@¥x¹CÀ¸¾÷½¢Áp¥H«K±q¦Ü¤Ö¤@¥x¹CÀ¸¤W¦¬¶°¼Æ¾ÚªººÝÂI¡A³q¹LÓ¤H°Ï°ìºô»PºÝÂIÁp³q¥H«K¥HºÝÂIÀò¨ú¼Æ¾Úªº¦Ü¤Ö¤@Ó¶°½u¾¹¡A©M»P¦Ü¤Ö¤@Ó¶°½u¾¹Áp³q¥H«K±q¦Ü¤Ö¤@Ó¶°½u¾¹±µ¦¬¼Æ¾Úªº¦Ü¤Ö¤@Ó»·µ{¦¬¶°ªA°È¾¹¡A¨ä¤¤¡A¦b¤£¥´Â_¦Ü¤Ö¤@¥x¹CÀ¸¾÷¤W©Òª±¹CÀ¸ªº±¡ªp¤U¡A«ö¹w©wªº®É¶¡°Ý¹j±N¼Æ¾Ú±qºÝÂI±À¦V¦Ü¤Ö¤@Ó»·µ{ªA°È¾¹¡C
¤ÀÃþ¡GG06F9/00
| µo©ú¤H¡G | John GOODMAN |
| ¡@ | Dung HUA |
| ¡@ | David C WILLIAMS |
| ¡@ | Fred NESEMEIER |
| ¡@ | Floyd GOLDSTEIN |
Àu¥ýÅv¤é´Á¡G2007/06/14
Àu¥ýÅv°ê®a/¦a°Ï¡G¬ü°ê
Àu¥ýÅv½s¸¹¡G11/763,387
ªþ¹Ï

µo©ú±M§Q½s¸¹¡GI/000813
¥Ó½Ð¤é´Á¡G2008/06/20
¥Ó½Ð¤H¡GIGT
°êÄy¡G¬ü°ê
¦í§}/¦a§}¡G9295 Prototype Drive, Reno Nevada 89521-8986, E.U.A.
¼ÐÃD¡G¼ú«~§I´«¾÷«F¡C
ºKn¡G¥»µo©ú´£¨Ñ¤F¤@ºØ¾÷«F¡A¨ä¥iŪ¨ú«D²{ª÷²¼¾Ú¡A½T©w¤@өΦhÓ¥i³Q§I´«ªº«D²{ª÷²¼¾Ú¬ÛÀ³ªº¥æ©ö¶µ¥Ø¨Ã´£¨Ñ¬ÛÀ³ªº¥æ©ö¶µ¥Ø¡C¸Ó«D²{ª÷²¼¾Ú¥i¥H¬O¡A¨Ò¦p¡A´¶³q¡§§I²{¡¨²¼³æ¡A®Ú¾Ú¥»µo©úªº²¼³æ¡Aª±®a©¾¸Û²¼¾Úµ¥µ¥¡C¥»µo©úªº¤@¨Ç¹ê¬I¤è¦¡´£¨Ñ³Q³]¸m¨Óµo¦æ¥i§I´«¦UºØ§Î¦¡ªº¥æ©öªº«D²{ª÷²¼¾ÚªºEMG¡C«D²{ª÷²¼¾Ú¥i¥H¬O¡A¨Ò¦p¡A½s½X²¼³æ¡C¥t¤@¨Ç¹ê¬I¤è¦¡´£¨Ñ³Q³]¸m¨Ó½s½X¼ú«~¥N½XªºEMG¡A¸Ó¼ú«~¥N½X«ü¥Ü¥i³Q§I´«ªº«D²{ª÷²¼¾Ú¬ÛÀ³ªº¥æ©ö¶µ¥Ø¡CµM¦Ó¡A«D²{ª÷²¼¾Ú¥i¥H©Î¥i¥H¤£«ü¥Ü¼ú«~¥N½X¡C¦pªG«D²{ª÷²¼¾Ú¥]¬A¼ú«~¥N½X¡A¸Ó¼ú«~¥N½X¥i¥H©Î¥i¥H¤£³Q¥H¤H¥iŪªº§Î¦¡«ü¥Ü¡C
¤ÀÃþ¡GA63F11/00
| µo©ú¤H¡G | Richard E ROWE |
| ¡@ | Michael M OBERBERGER |
| ¡@ | Richard PENNINGTON |
Àu¥ýÅv¤é´Á¡G2007/06/22
Àu¥ýÅv°ê®a/¦a°Ï¡G¬ü°ê
Àu¥ýÅv½s¸¹¡G11/821,145
ªþ¹Ï

µo©ú±M§Q½s¸¹¡GI/000814
ì®×¥Ó½Ð¸¹¡GI/000157
¥Ó½Ð¤é´Á¡G2005/03/17
¥Ó½Ð¤H¡Gエソゼル°Ó¨Æ®è¦¡·|ªÀ
°êÄy¡G¤é¥»
¦í§}/¦a§}¡G542-0066¤é¥»°ê¤j¨Á©²¤j¨Á¥«¤¤¥¡°Ï¥Ë«ÎËm¤G¤B¥Ø10µf1¸¹
¼ÐÃD¡G®à±¹CÀ¸¨t²Î¡C
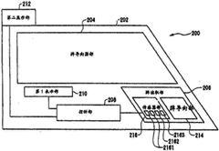
ºKn¡G¥»µo©ú´£¨Ñ¤F¤@ºØ®à±¹CÀ¸¨t²Î¡A¥]¬AµP©MµoµP¾¹¸Ë¸m¡]200¡^¡CµoµP¾¹¸Ë¸m¥]¬A±N±qµP¦¬®e³¡³v±i©â¥XªºµP¾É¦V¹CÀ¸¥xªºµP¾É¦V³¡¡]214¡^¡FŪ¨úªí¥ÜµPÂI¼Æªºµµ¥~½u¤ÏÀ³¥N½Xªº¤£¥i¨£¥ú«¬¶Ç·P¾¹¡]2161¡^¡FÀË´úµP¦³µLªº²Ä¤@©M²Ä¤GµPÀË´ú¶Ç·P¾¹¡]2162, 2163¡^©Mp¶q¦³®ÄµL®Ä§P©w³¡¡C¤£¥i¨£¥ú«¬¶Ç·P¾¹ÀË´úªuµP©â¥X¤è¦V°t¦C¦¨µµ¥~½u¤ÏÀ³¥N½Xªº¥N½Xn¯À¨Ã¿é¥XÀË´ú«H¸¹¡CµoµP¾¹¸Ë¸mÁÙ¥]¬A¡G®Ú¾Ú¤£¥i¨£¥ú«¬¶Ç·P¾¹ªºÀË´ú«H¸¹¨Ï»Pµµ¥~½u¤ÏÀ³¥N½X¬ÛÃöªºµPÂI¼Æ¯S©wªºÂI¯S©w³¡¡F®Ú¾Ú¥Ñ¤£¥i¨£¥ú«¬¶Ç·P¾¹¶¶¦¸Åª¨úªºµPÂI¼Æ§P©wµP¹CÀ¸³Ó±Ñªº³Ó±Ñ§P©w³¡¤Î¿é¥X¹CÀ¸µ²ªGªº¿é¥X³¡¡C
¤ÀÃþ¡GA63F1/18
µo©ú¤H¡G«¥Ð ®õ
Àu¥ýÅv¤é´Á¡G2004/03/19
Àu¥ýÅv°ê®a/¦a°Ï¡G¤é¥»
Àu¥ýÅv½s¸¹¡G2004-079519
ªþ¹Ï

µo©ú±M§Q½s¸¹¡GI/000826
¥Ó½Ð¤é´Á¡G2008/07/07
¥Ó½Ð¤H¡GIGT
°êÄy¡G¬ü°ê
¦í§}/¦a§}¡G9295 Prototype Drive, Reno Nevada 89521-8986, E.U.A.
¼ÐÃD¡G¨Ï¥Î°Ê§@ÃѧOªº°ò©ó§ëª`ªº¹CÀ¸ªº±±¨î¡C
ºKn¡G¥»µo©ú´yz¤F¥Î©ó±±¨î¦b¹CÀ¸¨t²Î¤Wª±°ò©ó§ëª`ªº¹CÀ¸ªº¦UºØ§Þ³N¡C¦b¤@Ó¹ê¬I¨Ò¤¤¹CÀ¸¨t²Î¥i¥]¬A°Ê§@¿é¤J±µ¤f¸Ë¸m¥i¾Þ§@¥HÀË´úÃö©ó¤@¤H©Î¦h¤Hªº¹B°Ê°Ê§@¡A©M°Ê§@¸ÑÄÀ²Õ¥ó¥i¾Þ§@¥HÃѧO¥Ñ°Ê§@¿é¤J±µ¤f¸Ë¸mÀË´úªº¿ï©wªº¹B°Ê©Î°Ê§@¡C¦b¦Ü¤Ö¤@Ó¹ê¬I¨Ò¤¤¡A°Ê§@¸ÑÄÀ²Õ¥ó¤]¥i¾Þ§@¥H²£¥Í¯A¤Î¿ï©wªº¹B°Ê©Î°Ê§@ªº¸ÑÄÀªº°Ê§@¸ÑÄÀ«H®§¡C¦b¦Ü¤Ö¤@Ó¹ê¬I¨Ò¤¤¡A¹CÀ¸¨t²Î¥i¾Þ§@¥H¦Û°Ê°»´ú¥Ñ¥¿¦b¹CÀ¸¨t²Î°Ñ»P¹CÀ¸·|¸Üªºª±®aªº°Ê§@¡F°Ñ¦Ò¤@²Õ¼Ð·Ç¸ÑÄÀ°Ê§@¡F²£¥ÍÃö©ó°Ê§@ªº¸ÑÄÀªº°Ê§@¸ÑÄÀ«H®§¡F¨Ã¨Ï¥Î°Ê§@¸ÑÄÀ·sªº¦Ü¤Ö¤@³¡¤À±À¶i¹CÀ¸·|¸Üªºª¬ºA¡C¦b¦Ü¤Ö¤@Ó¹ê¬I¨Ò¤¤¡A¨t²Î¥i¥]¬A¤â«ù¸Ë¸m¡A¨ä¥i¾Þ§@¥H°õ¦æ¤@өΦhÓÃö©ó°Ê§@ÃѧO©M¡þ©Î¸ÑÄÀªº¥\¯à¡C
¤ÀÃþ¡GG06F17/00
| µo©ú¤H¡G | Harold E MATTICE |
| ¡@ | Chan GRISWOLD |
| ¡@ | James STOCKDALE |
| ¡@ | Richard L WILDER |
| ¡@ | Chris GADDA |
| ¡@ | Binh NGUYEN |
Àu¥ýÅv¤é´Á¡G2007/07/06
Àu¥ýÅv°ê®a/¦a°Ï¡G¬ü°ê
Àu¥ýÅv½s¸¹¡G11/825,477
ªþ¹Ï

µo©ú±M§Q½s¸¹¡GI/000827
¥Ó½Ð¤é´Á¡G2008/07/07
¥Ó½Ð¤H¡GIGT
°êÄy¡G¬ü°ê
¦í§}/¦a§}¡G9295 Prototype Drive, Reno Nevada 89521-8986, E.U.A.
¼ÐÃD¡G°Ê§@±±¨îªº¹CÃÀ³õ©Ò¹CÀ¸¨t²Î¡C
ºKn¡G¥»µo©ú¤½¶}¤F¥Î©ó±±¨î¦b¹CÀ¸¨t²Î¤¤ªº§ëª`°ò¹CÀ¸ªº¦UºØ§Þ³N¡C¦b¤@Ó¹ê¬I¤è¦¡¤¤¡A¹CÀ¸¨t²Î¥i¥]¬A¥i¾Þ§@¥H»P¹CÀ¸±±¨î¾¹³q°Tªº¤â«ù¸Ë¸m¡C¦b¤@Ó¹ê¬I¤è¦¡¤¤¡A¤â«ù¸Ë¸m¥i¥]¬A°Ê§@¿é¤J±µ¤f¸Ë¸m¡A¨ä¥i¾Þ§@¥HÀË´ú»P¤@¤H©Î¦h¤H¬ÛÃöÁpªº²¾°Ê©Î°Ê§@¡A¨Ã¥B¥i¾Þ§@¥H²£¥Í¯A¤Î©Ò¿ï²¾°Ê©Î°Ê§@ªº¸ÑÄÀªº°Ê§@¸ÑÄÀ«H®§¡C¦b¦Ü¤Ö¤@Ó¹ê¬I¤è¦¡¤¤¡A¹CÀ¸¨t²Î¥i¾Þ§@¥H±±¨î¦b¹CÀ¸¨t²Î¤¤¶i¦æªº§ëª`°ò¹CÀ¸¡F¦Û°ÊÀË´ú¥Ñ°Ñ»P¹CÀ¸¨t²Îªº¹CÀ¸·|¸Ü¤¤ªºª±®aµo¥Xªº°Ê§@¡F°Ñ·Ó¤@®M¼Ð·Ç¸ÑÄÀ¸Ó°Ê§@¡FÅTÀ³¸Ó°Ê§@¸ÑÄÀ¡AÃѧO±N±Ò°Êªº¦Ü¤Ö¤@Ó¦æ°Ê¡F¥H¤Î±Ò°Ê¸Ó¦Ü¤Ö¤@Ó¦æ°Ê¡C¦b¦Ü¤Ö¤@Ó¹ê¬I¤è¦¡¤¤¡A¯A¤Î°Ê§@ªº«H®§©M¡þ©Î¯A¤Î°Ê§@¸ÑÄÀªº«H®§¥i³Q°O¿ý¬°»P¹CÀ¸·|¸Ü¬ÛÃöÁpªº¹CÀ¸¾ú¥vªº¤@³¡¤À¡C
¤ÀÃþ¡GA63F9/24
| µo©ú¤H¡G | Harold E MATTICE |
| ¡@ | Chan GRISWOLD |
| ¡@ | James STOCKDALE |
| ¡@ | Richard WILDER |
| ¡@ | Chris GADDA |
| ¡@ | Binh NGUYEN |
Àu¥ýÅv¤é´Á¡G2007/07/06
Àu¥ýÅv°ê®a/¦a°Ï¡G¬ü°ê
Àu¥ýÅv½s¸¹¡G11/825,481
ªþ¹Ï

µo©ú±M§Q½s¸¹¡GI/000828
¥Ó½Ð¤é´Á¡G2008/07/07
¥Ó½Ð¤H¡GMega Fortris (Malaysia) Sdn Bhd
°êÄy¡G°¨¨Ó¦è¨È
¦í§}/¦a§}¡G6 & 8 Jalan Angklung 33/20, Shah Alam Technology Park, Shah Alam, Selangor 40400 Malaysia
¼ÐÃD¡G«O¦w¦sÀx²°¡C
ºKn¡G¥»µo©ú¤½¶}¤F¤@ºØ«O¦w¦sÀx²°¡A¥]¬A¥Ñ¬Û¤¬¿W¥ßªº²°®y©M²°»\²Õ¦¨ªº²°¥»Åé¡A¸Ó²°¥»Åé³]¦³¥Î©ó¦¬¯Ç«O¦w«Ê¦Lªº«Ê¦L®y¡A²°®y¶}¤fªº¥ª¥k¨â°¼Ãä¤À§O¨ã¦³¥ª¥Y½t©M¥k¥Y½t¡A²°»\ªº¥ª¥k¨â°¼Ãä¤À§O¨ã¦³»P¥ª¥Y½t°t¦Xªº¥ª§¨«ù³¡¤À©M»P¥k¥Y½t°t¦Xªº¥k§¨«ù³¡¤À¡A¨Ï²°»\¯à¥¶¶¦a·Æ¤J¤ÎéT¦a¦w¸Ë©ó²°®y¡A¨¾¤î²°»\·Æ¸¨¡A¦P®É¬°²°®y´£¨Ñ°í©T¬`¡A°£«D±N¥ª¡B¥k§¨«ù³¡¤À¯}Ãa¦Ó¯d¤U©î«Êªº²ª¸ñ¡A§_«hÃø¥H±j¦æ¦b²°®y¶}¤fªº¥ª¥k¨â°¼Ã䥴¶}²°»\¡A¦³®Ä¦a¨¾¤î¤F²°¤ºª«¥ó³Q²¾¨«©Î·l 毁¡C¥t¥~¡A²°»\©³±³]¸m¦³ªø¥Y¯¾¡A¨Ï¸Ó¦sÀx²°Ãö³¬®É§ó¥[°í©T¡A¨Ã¯à°÷¨¾¤î²°®y±q°¼±³Q¦V¤ºÀ½À£¡A±q¦Ó¨¾¤î¦sÀx²°¦b¥¼¯d¤U©î«Ê²ª¸ñ«e¦b°¼±³Q¶}±Ò¡C
¤ÀÃþ¡GA45C1/12, E05G1/14
µo©ú¤H¡GCHUA, YUEN KAM
ªþ¹Ï

µo©ú±M§Q½s¸¹¡GI/000835
¥Ó½Ð¤é´Á¡G2008/07/09
¥Ó½Ð¤H¡GIGT
°êÄy¡G¬ü°ê
¦í§}/¦a§}¡G9295 Prototype Drive, Reno Nevada 89521-8986, E.U.A.
¼ÐÃD¡G¹CÀ¸³]³Æ¤W¶°¦¨»·µ{¥D¾÷©M¥»¦aø»sªº¤º®e¡C
ºKn¡G¤@Ó§ëª`¹CÀ¸¾÷¥i¥H³Q°t¸m¬°¤£¶È´£¨Ñ§ëª`¹CÀ¸¡A¦Ó¥B¥i»P´£¨Ñ°T®§©M¡þ©ÎªA°Èªº¤@өΦhÓ¥D¾÷³q°T¡A¸Ó°T®§©M¡þ©ÎªA°È»P¥»¦a§ëª`¹CÀ¸¨Æ¥ó¬ÛÃö¡A¤Wz¨Æ¥ó¥]¬A¦ý¤£©ó¥»¦a¤ñÁÉ¡B¥»¦aÀ\À]¡B¥»¦a®ø®§¡]¨Ò¦p¨Ó¦Û¹CÀ¸«Ø¥ß¦aÂI¤¤ªº¨ä¥Lª±®aªº®ø®§¡^¡A¥»¦aªÀ·|¨Æ¥ó¡B¥»¦aÅé¨|¨Æ¥ó¡B¥»¦a¬ù·|¾÷·|µ¥µ¥¡C¨ä¥L¥D¾÷¤]´£¨Ñ¤F¦³Ãö°Ó°È©Îª÷¿Ä¡]¨Ò¦pªÑ²¼³ø»ù¡^¡BÅé¨|¡B·s»D¡B¤Ñ®ðµ¥µ¥ªº°T®§©M¡þ©ÎªA°È¡C±q¥D¾÷³]³Æ¶Ç»¼µÀW¡BµøÀWµ¥µ¥ªºµ{§Ç¥i¥H»P¥Î¨Ó±±¨î§ëª`¹CÀ¸Åã¥Üªºµ{§Ç¤À¶}¡C¦Ü¤Ö¤@¨Ç³o¼Ëªºµ{§Ç¥i¥H¥Î¨Ó¦b¤@Ó§ëª`¹CÀ¸¾÷ªºµøÀW¨t²Î¤W¿é¥X¤@Ó¬ÛÃöªº¡§¥Ö½§¡¨¡C³o¨Çµ{§Ç¥i¥H¥]¬A´£¨Ñ¤@өΦhÓ¡§µ¡¤f¤p³¡¥ó¡¨¡C¦b¤@¨ÇÀu¿ïªº¹ê¬I¤¤¡A¦Ü¤Ö¤@өΦhÓ¹CÀ¸¾÷¸ê·½ªº¤@ÓìHȯŧO·|³Q´£¨Ñµ¹§ëª`¹CÀ¸ªºÅã¥Ü©M¬ÛÃöªº¥\¯à¡C
¤ÀÃþ¡GA63F9/24
| µo©ú¤H¡G | Richard E ROWE |
| ¡@ | Steven G LEWAY |
| ¡@ | Gregory A SCHLOTTMANN |
| ¡@ | Jacob GRAHAM |
Àu¥ýÅv¤é´Á¡G2007/07/09
Àu¥ýÅv°ê®a/¦a°Ï¡G¬ü°ê
Àu¥ýÅv½s¸¹¡G11/827,060
ªþ¹Ï

µo©ú±M§Q½s¸¹¡GI/000836
¥Ó½Ð¤é´Á¡G2008/07/11
¥Ó½Ð¤H¡GIGT
°êÄy¡G¬ü°ê
¦í§}/¦a§}¡G9295 Prototype Drive, Reno Nevada 89521-8986, E.U.A.
¼ÐÃD¡G°ò©ó°õ¦æª¬ºApºâ¨t²Îªº³B²z¿é¤J¡C
ºKn¡G¥»µo©ú¤½¶}¤F°ò©ó°õ¦æª¬ºApºâ¨t²Îªº³B²z¿é¤J§Þ³N¡C¿é¤J³]³Æ¤@өΦhÓ¤À´²ªº¦ì¸m¡]¦p¡AÂI¡A±¿n¡A°Ï°ì¡A¥±¡^¥i³Q¦³®Ä¦a¬D¿ï¨Ó¥Î©ópºâ¾÷µ{§Ç¥N½X³Q°õ¦æªº½Ð¨Dªº°õ¦æª¬ºA¡C¶È¿é¤J³]³Æªº¿ï©wªº¿é¤J¦ì¸m¥]¬A¨º¨Ç¯à±µ¦¬¦h¸ô¿é¤Jªº»Ýn³QºÊµø¿é¤J¡C¿é¤J³QÀË´ú¨Ã³Q¦³®Ä¦a¹LÂo¥Î©ó°ò©ó¥iµøªº¿é¤J³]³Æ¡]¦p¡AIJºN«Ì¡^¡Cªí¥Ü¿é¤J³]³Æªº¿é¤Jªí±¡]©Î°Ï°ì¡^ªº¥i¨£¹Ï¹³¥i§@¬°¹Ï§Î¼Æ¾Ú³QºIÀò¡]¦p¡A¥Ñ¬Û¾÷ºIÀòªº¹Ï§Î¼Æ¾Ú¡^¡C¥t¥~¡A«ö¶È¹ï¹ïÀ³»P©Îªí¥Ü¿é¤J³]³Æªº¿ï©w¿é¤J¦ì¸mªº¹Ï§Î¼Æ¾Ú³¡¤À¡]§Y¡A¥Î©ó·í«e°õ¦æ¼úª¬ºAªº¿ï©w¿é¤J¦ì¸m¡^³B²zªº¤èªk¦³®Ä¦a¹LÂo¸ÓºIÀòªº¹Ï¹³¡C¤@өΦhÓ¬õ¥~¡]IR¡^¥ú·½°t¸m¬°µo®g¥Î©ó¦hÂIIJºN«Ìªº¨ü±±IR¥ú¡CIR¥ú½u¥i³Q¦³®Äªº«Ê³¬¦b¦bIJºN«Ìªºªí±¤º¡Aɦ¹¶i¤Jªþªñ©M¡þ©Î»PIJºN«Ì±µÄ²ªºª«Å骺¥X²{§«Ãª¤F¸Ó¨ü±±IR¥ú¨Ã¨Ï±o¨ä°¾Â÷¥XIJºN«Ìªºªí±¡A¥HP¥¦¥i³QIRÀË´ú¾÷ºc¡]¦p¡A¬Û¾÷¡^ºIÀò¡C¤@өΦhÓ³QIRÀË´ú¾÷ºcºIÀòªº¹Ï§Î¼Æ¾Ú³¡¤ÀÀH«á³Q¤ÀªR¨ÓÀË´ú³Q´£¨Ñ¨Ó§@¬°¿é¤Jªº¹êÅ饨¼Ðªº¥X²{¡C¦P¼Ë¦a¡A¬Û¹ï§ó§¹µ½ªºÀË´ú¾÷ºc³Q±Ä¥Î©M¡þ©Î¨t²Î©Ê¯à¥i¥H±o¨ì§ïµ½¡C¿é¤JÀË´ú¾÷ºc¥i³Q¦³®Ä¦a½Õ¾ã¨ì¸Ñ¨M¥]¬A¿é¤Jªí±ªº¿i·lªº¤£¦P±¡ªp¡C
¤ÀÃþ¡GG06F9/00
| µo©ú¤H¡G | Harold E MATTICE |
| ¡@ | Christian E GADDA |
| ¡@ | Chauncey W GRISWOLD |
| ¡@ | Richard L WILDER |
| ¡@ | James W STOCKDALE |
Àu¥ýÅv¤é´Á¡G2007/07/11
Àu¥ýÅv°ê®a/¦a°Ï¡G¬ü°ê
Àu¥ýÅv½s¸¹¡G11/776,434
ªþ¹Ï

µo©ú±M§Q½s¸¹¡GI/000838
¥Ó½Ð¤é´Á¡G2008/07/29
¥Ó½Ð¤H¡GIGT
°êÄy¡G¬ü°ê
¦í§}/¦a§}¡G9295 Prototype Drive, Reno Nevada 89521, E.U.A.
¼ÐÃD¡GµêÀÀ¹CÃÀ³õ¥D¾÷¡C
ºKn¡G¥»µo©ú´yz¤F¦b¹CÃÀ³õ©Î¨ä¥L¹CÀ¸³]¬I¤º§ïµ½Ó©Ê¤ÆªA°È¨t²Î©M¤èªk¡C¸Ó¨t²Î©M¤èªk´£¨Ñ«KÄâÓ¤HªA°È¸Ë¸mµ¹Ó¤H¡F¸Ó¸Ë¸m¤¹³\¹CÀ¸³]¬I»PÓ¤H³q¸Ü¡A¦Ó¤£½×¥L̦b¹CÃÀ³õªº¦ì¸m¡Cµo°e¨ìÓ¤H«H®§¥i¯à¬OөʤƩM©w¨îªº¡C«KÄâÓ¤HªA°È¸Ë¸m¤]¥i³Q¥Î¨Ó°lÂܦb¹CÀ¸³]¬I¤ºÓ¤Hªº¦ì¸m¡CÓ¤H¤]¥i¥Î«KÄâÓ¤HªA°È¸Ë¸mµo°e®ø®§¡A¨Ò¦p¡An¨D¹CÃÀ³õû¤u»P¤§¹ï¸Ü¡A©Î´£¥X¨ä¥LÓ¤HªA°Èn¨D¡C
¤ÀÃþ¡GH04Q7/20
| µo©ú¤H¡G | Chauncey W. GRISWOLD |
| ¡@ | Harold E MATTICE |
| ¡@ | Christian E. GADDA |
| ¡@ | Richard L. WILDER |
| ¡@ | James W. STOCKDALE |
Àu¥ýÅv¤é´Á¡G2007/07/29
Àu¥ýÅv°ê®a/¦a°Ï¡G¬ü°ê
Àu¥ýÅv½s¸¹¡G11/829,921
ªþ¹Ï

µo©ú±M§Q½s¸¹¡GI/000851
¥Ó½Ð¤é´Á¡G2008/08/25
¥Ó½Ð¤H¡GIGT
°êÄy¡G¬ü°ê
¦í§}/¦a§}¡G9295 Prototype Drive, Reno Nevada 89521, E.U.A.
¼ÐÃD¡G¨ã¦³²{ª÷Âà´«¥\¯àªº¦h³f¹ôÃþ«¬¹CÀ¸¾÷¡C
ºKn¡G³s±µ¨ì¹CÀ¸ºôµ¸¤W©Î¦p¿W¥ß³]³Æ¾Þ§@ªº¹CÀ¸¾÷¡A¯à±µ¨ü¨âºØ©Î§ó¦h³q³f¥Î©ó§ëª`¹CÀ¸¡C¸Ó³]³Æ¤º³¡¾Þ§@§Q¥Î¥»°ê³f¹ôÃþ«¬¨Ã±N«D³f¹ô¶r²¼Âà´«¨ì¥H©wªº©Î¥iÅܲ{«H¥Î§Î¦¡ªº¥»°êª÷ÃB¡C¦h³q³fªº³]³Æ³Q±Ä¥Î¨Ó³q¹L½Õ¾ã 滙»ù¡Aªð¦^²vªíµ¥¹ªÀy©w«H¥Îªº¨Ï¥Î¡C³o¨Ç¯S¼x¡A¦P©w«H¥Îµ²¦X¡AÁٯണ¨Ñ¤èªk¨ÓºÊµø¹CÀ¸¾÷¤WÀݥΩM¹Hªk¦æ¬°¨Ã¹ê¬I©wª±®a·l¥¢ªº¤èªk¡C¬Y«áÂà´«³B²z³Q¥Î¨Ó«OÃÒª±®aªð¦^«DÂà´«ª÷ÃB¡C¹CÀ¸¾÷¦³¥t¥~ªºµw©M³np¶qªí¥H³B²z¦h³f¹ôÃþ«¬¡C
¤ÀÃþ¡GA63F9/24
| µo©ú¤H¡G | William R. Brosnan |
| ¡@ | Bryan D. Wolf |
| ¡@ | Stephen W. Morro |
| ¡@ | Terrence Lee McCreary, Jr. |
| ¡@ | M. Ali Saffari |
| ¡@ | John W. Chamberlain |
Àu¥ýÅv¤é´Á¡G2007/08/24
Àu¥ýÅv°ê®a/¦a°Ï¡G¬ü°ê
Àu¥ýÅv½s¸¹¡G11/844,526
ªþ¹Ï

µo©ú±M§Q½s¸¹¡GI/000856
ì®×¥Ó½Ð¸¹¡GI/000460
¥Ó½Ð¤é´Á¡G2005/03/17
¥Ó½Ð¤H¡Gエソゼル°Ó¨Æ®è¦¡·|ªÀ
°êÄy¡G¤é¥»
¦í§}/¦a§}¡G542-0066¤é¥»°ê¤j¨Á©²¤j¨Á¥«¤¤¥¡°Ï¥Ë«ÎËm¤G¤B¥Ø10µf1¸¹
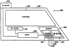
¼ÐÃD¡GµoµP¸Ë¸m¡C
ºKn¡G¥»µo©ú´£¨Ñ¤@ºØ¥i¦³§U©ó¹CÀ¸ªº¶i¦æ¨Ã¥i¨¾¤î¤£¥¿·í¦æ¬°ªºµoµP¸Ë¸m¡CµoµP¸Ë¸m¡]200¡^³]¸m¦b¹CÀ¸¥x¡]20¡^¤W¡A¦b¨ä´ßÅé¡]202¡^¤W³]¸mµoµP³¡¡]204¡^©MµP¾É¦V³¡¡]214¡^¡C³q¹L¤â°Ê±qµoµP³¡¡]204¡^³v±i©â¥XªºµP³QµP¾É¦V³¡¡]214¡^¦V¹CÀ¸¥x¡]20¡^¤W¤Þ¾É¡C¦bµP¾É¦V³¡¡]214¡^¤W³]¦³¹ï©â¥XªºµP¶i¦æÅª¨úªº¶Ç·P¾¹³¡¡]216¡^¡C±±¨î³¡¡]208¡^°ò©ó¶Ç·P¾¹³¡¡]216¡^ªºÅª¨úµ²ªG§PÂ_¹CÀ¸ªº³Ót¨Ã¥ÑÅã¥Ü³¡¡]210¡B212¡^Åã¥Ü³Ót¡C¥Ñ¦¹¡A¥i¦³§U©ó¹CÀ¸ªº¶i¦æ¡A¨Ã¯à°÷¨¾¤î¤£¥¿·í¦æ¬°¡C
¤ÀÃþ¡GA63F1/18
µo©ú¤H¡G«¥Ð ®õ
Àu¥ýÅv¤é´Á¡G2004/03/19
Àu¥ýÅv°ê®a/¦a°Ï¡G¤é¥»
Àu¥ýÅv½s¸¹¡G2004-079519
ªþ¹Ï

µo©ú±M§Q½s¸¹¡GI/000877
ì®×¥Ó½Ð¸¹¡GI/000434
¥Ó½Ð¤é´Á¡G2007/06/13
¥Ó½Ð¤H¡GIGT
°êÄy¡G¬ü°ê
¦í§}/¦a§}¡G9295 Prototype Drive, Reno, Nevada 89521--8986, United States of America
¼ÐÃD¡GªA°È¾¹°ò¦½ä³Õ¨t²Î©Mµ{¦¡¡A¬°¤F´£¨Ñ¤@өΦhÓ¤£¦PªºÀA¼ÐÁÉ¡C
ºKn¡G¤@Ó½ä³Õ¨t²Î¥]§t¤@Ó¤¤¥¡ªA°È¾¹©Î±±¨î¾¹¡A¨ä¿é°e¦hÓ¤£¦P©R¥O¨ì¦hÓ½ä³Õ¹CÀ¸¾÷¡A©R¥O¬Û¦Pªº¹CÀ¸¾÷´£¨Ñ«DÀA¼ÐÁɹCÀ¸©MÀA¼ÐÁɹCÀ¸¡C
¤ÀÃþ¡GA63F9/24
| µo©ú¤H¡G | Gregory A.SCHLOTTMANN |
| ¡@ | Jacob Thomas GRAHAM |
| ¡@ | Bryan D. WOLF |
| ¡@ | Anthony J. BAERLOCHER |
| ¡@ | Richard J. SCHNEIDER |
| ¡@ | Cara L. IDDINGS |
| ¡@ | Vince MANFREDI |
| ¡@ | Mechael MACVITTIE |
Àu¥ýÅv¤é´Á¡G2006/06/13
Àu¥ýÅv°ê®a/¦a°Ï¡G¬ü°ê
Àu¥ýÅv½s¸¹¡G60/804,642
Àu¥ýÅv¤é´Á¡G2006/11/07
Àu¥ýÅv°ê®a/¦a°Ï¡G¬ü°ê
Àu¥ýÅv½s¸¹¡G60/864,711
ªþ¹Ï

µo©ú±M§Q½s¸¹¡GI/000879
¥Ó½Ð¤é´Á¡G2008/11/10
¥Ó½Ð¤H¡GIGT
°êÄy¡G¬ü°ê
¦í§}/¦a§}¡G9295 Prototype Drive, Reno Nevada 89521, E.U.A.
¼ÐÃD¡G¥Î©ó®à±¹CÀ¸ª¬ºA¸òÂܪº¦Û°Ê§Þ³N¡C
ºKn¡G¥»µo©ú¤½¶}ªº§Þ³N©ö©ó¦b¥]¬A²Ä¤@²{³õ®T¼Ö³õ¹CÀ¸®à±ªº¹CÀ¸¨t²Î¶i¦æ¹CÀ¸¬¡°Êªº¹CÀ¸ª¬ºA¸òÂÜ¡C¦b¦Ü¤Ö¤@Ó¹ê¬I¨Ò¤¤¡A¸Ó¨t²Î¡A¨ä¶i¦æ¦p¤U¾Þ§@¡G±±¨î¦b²Ä¤@¹CÀ¸®à±©Òª±ªº°ò©ó¤ä¥Iªº¹CÀ¸¡F¦b²Ä¤@¹CÀ¸®à±¶i¦æ²Ä¤@¬¡°Ê¹CÀ¸´Á¶¡¡F¦Û°ÊÀË´ú²Ä¤@®à±¹CÀ¸ª¬ºA§ïÅܨƥó¡A¥Î©óIJµo²Ä¤@¬¡°Ê¹CÀ¸´Á¶¡ªºª¬ºA§ïÅÜ¡F¥H¤Î¨Ï¥Î»P²Ä¤@®à±¹CÀ¸ª¬ºA§ïÅܨƥó¬ÛÃöªº«H®§ªº¦Ü¤Ö¤@³¡¤À¡A¦Û°Ê§ó·s²Ä¤@¹CÀ¸´Á¶¡ªºª¬ºA¡C®Ú¾Ú¯S©w¹ê¬I¨Ò¡A²Ä¤@®à±¹CÀ¸ª¬ºA§ïÅܨƥó¥]¬A¥i¥H¥]¬A¡]©Î¥i¥H¹ïÀ³©ó¡^¤U¦C¨Æ¥óªº¦Ü¤Ö¤@Ó¡G»P²Ä¤@ª±®aªºª«²z¤â¶Õ©Î°Ê§@¬ÛÃöªº¨Æ¥ó¡F»P²Ä¤@®T¼Ö³õ¹µûªºª«²z¤â¶Õ©Î°Ê§@¬ÛÃöªº¨Æ¥ó¡F»P²Ä¤@ª±®aªº¤fÀY«ü¥O¬ÛÃöªº¨Æ¥ó¡F»P®T¼Ö³õ¹µûªº¤fÀY«ü¥O¬ÛÃöªº¨Æ¥ó¡F©M¡þ©Î»P¦b¹CÀ¸®à±ªº©x¤è«ü©w¤ä¥I°Ï¤§¥~¥X²{ªº¤ä¥I¬¡°Ê¬ÛÃöªº¨Æ¥ó¡C¦b¦Ü¤Ö¤@Ó¹ê¬I¨Ò¤¤¡AÃö©ó©Ò¿ï¼Ð·Ç¥i¥H¤ÀªR©M¡þ©Î¸ÑÄÀ²Ä¤@®à±¹CÀ¸ª¬ºA§ïÅܨƥó¡A¨Ã¥BÅTÀ³²Ä¤@®à±¹CÀ¸ª¬ºA§ïÅܨƥ󪺤ÀªR©M¡þ©Î¸ÑÄÀ¡A¥i¥H¦Û°Ê±À¶i¡]©M¡þ©Î§ó·s¡^²Ä¤@¹CÀ¸´Á¶¡ªºª¬ºA¡C
¤ÀÃþ¡GA63F13/00
| µo©ú¤H¡G | ROGER WILLIAM HARRIS |
| ¡@ | HAROLD E. MATTICE |
| ¡@ | BIHN T. NGUYEN |
| ¡@ | NEVIN A. BURRILL |
| ¡@ | TIMOTHY W. MOSER |
| ¡@ | EDUARDO SAMUEL MEZA |
| ¡@ | STEVEN M. PANKAS |
| ¡@ | GAVIN McPHAIL |
Àu¥ýÅv¤é´Á¡G2007/11/08
Àu¥ýÅv°ê®a/¦a°Ï¡G¬ü°ê
Àu¥ýÅv½s¸¹¡G60/986,507
ªþ¹Ï

µo©ú±M§Q½s¸¹¡GI/000880
¥Ó½Ð¤é´Á¡G2008/11/10
¥Ó½Ð¤H¡GIGT
°êÄy¡G¬ü°ê
¦í§}/¦a§}¡G9295 Prototype Drive, Reno Nevada 89521-8986, E.U.A.
¼ÐÃD¡G³z©úªºµPÅã¥Ü¾¹¡C
ºKn¡G¥»µo©ú©Òzªº¤¬°Ê¹CÀ¸®à¥]¬A¤@өΦhÓµøÀWÅã¥Ü¾¹¡C³oÓ¤¬°Ê¹CÀ¸®à¥iÀË´ú©MÃѧO¦b¤¬°Ê¹CÀ¸®à¤Wªº¤£¦PÃþ«¬ªº¦³§Îª«Åé¡A¤@ºØÃþ«¬ªº¦³§Îª«Åé¦Ü¤Ö¨ã¦³¤@Ó¥\¯à¡A´N¬O³z¹L³oºØÃþ«¬¦³§Îª«Å骺³z©ú³¡¤À¥i¥H¬Ý¨ì¦bµøÀWÅã¥Ü¾¹¤WªºµøÀWÅã¥Üµ¡¤f¡C¦bµøÀWÅã¥Üµ¡¤fªºµøÀW¹Ï¹³¥iÅã¥Ü¸ò©Òz¥\¯à¬ÛÃöªº¤º®e¡C¤¬°Ê¹CÀ¸®à¥i¥H¥Î¨Óª±°ò©ó§ëª`ªº®à±¹CÀ¸¡A¦b©Òz¹CÀ¸®à¤W»P¦³§Îª«Åé¬ÛÃöªº¥\¯à¯A¤Î°ò©ó§ëª`¹CÀ¸¹B¦æ©Î¯A¤Î¤@Ó¯S©wª±®a°ò©ó§ëª`¹CÀ¸¡C¤@ºØ«K©óª±®aÄâ±aªº¤j³¡¤À¬O³z©úªº«H¥Î¥d¯ë¤j¤pªºª«Åé¬O³oÃþ¥i¥H©M¤¬°Ê¹CÀ¸®àµ²¦X¨Ï¥Îªº¦³§Îª«Å骺¤@Ó¨Ò¤l¡C
¤ÀÃþ¡GA63F9/24
µo©ú¤H¡GWILLIAM R. WELLS
Àu¥ýÅv¤é´Á¡G2007/11/09
Àu¥ýÅv°ê®a/¦a°Ï¡G¬ü°ê
Àu¥ýÅv½s¸¹¡G11/938,179
ªþ¹Ï

µo©ú±M§Q½s¸¹¡GI/000881
¥Ó½Ð¤é´Á¡G2008/11/10
¥Ó½Ð¤H¡GIGT
°êÄy¡G¬ü°ê
¦í§}/¦a§}¡G9295 Prototype Drive, Reno Nevada 89521-8986, E.U.A.
¼ÐÃD¡Gª±®a¼úÀy¿ï¾Ü¡C
ºKn¡G¤@ºØ¼úÀyºÞ²zªA°È¾¹¥i¨ã¦³³B²z¾¹¡A¥Î©ó±N¦hÓ¼úÀy¶Ç¿éµ¹¦hÓ¹CÀ¸¸Ë¸m¤¤ªº¦Ü¤Ö¤@Ó¡A¥Î©óª±®a¨Ó¿ï¾Ü©M°t¸m¡A¨Ã¥Î©ó±µ¦¬¨Ó¦Û©ó¦hÓªA°È¾¹¥H¤Î¦hÓ¹CÀ¸¸Ë¸mªº¼Æ¾Ú¡C¼Æ¾Ú®w¥i»P³B²z¾¹¶i¦æ³q°T¡A¥Î©ó¹ï¨Ó¦Û©ó¦hÓ¹CÀ¸¸Ë¸m¥H¤Î¦hÓªA°È¾¹ªº¼Æ¾Ú¶i¦æ¦sÀx¡A¸Ó¼Æ¾Ú®w¨ã¦³¦sÀx¾¹¡A¥Î©ó¦sÀx¦hÓ¼úÀy¡A¦hÓ¼úÀy¤¤ªº¨C¤@Ó§¡»P¦Ü¤Ö¤@Ө㦳¸ê®æ¼úÀy¼Ð·Ç¬ÛÃö¡Aª±®a¼Æ¾Ú®w¡A¥Î©ó±q¦hÓ¹CÀ¸¸Ë¸m¥H¤Î¦hÓªA°È¾¹©Ò±µ¦¬¨ìªºª±®a¼Æ¾Ú¶i¦æ¦sÀx¡A¼Æ¾Ú¤ÀªR¾¹¡A¥Î©ó½T©wª±®a¬O§_²Å¦Xª±¦hÓ¼úÀy¤¤¨C¤@Óªº¸ê®æ¡A¥H¤ÎÁpô¥¥x¡A¥Î©ó±Nª±®a»P¦hÓ¼úÀy¤¤ªº¦Ü¤Ö¨âÓ¬ÛÁpô¡C
¤ÀÃþ¡GA63F9/24
| µo©ú¤H¡G | CARA IDDINGS |
| ¡@ | TIMOTHY W. MOSER |
Àu¥ýÅv¤é´Á¡G2007/11/08
Àu¥ýÅv°ê®a/¦a°Ï¡G¬ü°ê
Àu¥ýÅv½s¸¹¡G11/937,383
ªþ¹Ï

µo©ú±M§Q½s¸¹¡GI/000882
¥Ó½Ð¤é´Á¡G2008/11/10
¥Ó½Ð¤H¡GIGT
°êÄy¡G¬ü°ê
¦í§}/¦a§}¡G9295 Prototype Drive, Reno Nevada 89521, E.U.A.
¼ÐÃD¡G¨ã¦³ª±®a±µÄ²«Ìªº´¼¯à¦hª±®a¹CÀ¸¨t²Î¡C
ºKn¡G¥»µo©ú¤½¶}¤F¦UºØ§Þ³N¡A¨ä¥Î©ó«P¶i»P´¼¯à¦hª±®a¹q¤l¹CÀ¸¨t²Îªº°ò©ó¤â¶Õªº¤¬°Ê¡A¸Ó´¼¯àª±®a¹q¤l¹CÀ¸¨t²Î¥]¬A¦h¥Î¤á¡B¦h±µÄ²¿é¤JÅã¥Üªí±¡A¨ä¯à°÷¨Ãµo¦a¤ä«ù¤@өΦhӥΤá¦b¿é¤JÅã¥Üªí±³B©Îªþªñ°õ¦æªº°ò©ó±µÄ²©M¡þ©Î°ò©ó«D±µÄ²ªº¤â¶Õ¡C¤â¶Õ¥i¥H¥]¬A³æÓ±µÄ²¡B¦h±µÄ²¡B©M¡þ©Îªñ±µÄ²¤â¶Õ¡C¬Y¨Ç¹CÀ¸¨t²Î¹ê¬I¤è¦¡¥i¥H¥]¬A¦Û°Ê¤Æ¤â¸òÂÜ¥\¯à¡A¨ä¥Î©óÃѧO©M¡þ©Î¸òÂÜ»P¹CÀ¸ªí±¤¬°Êªº¥Î¤áªº¤â¡C¦b¬Y¨Ç¹CÀ¸¨t²Î¹ê¬I¤è¦¡¤¤¡A¦hª±®a¡B¦h±µÄ²¿é¤JÅã¥Üªí±¥i¥H±Ä¥Î¥]¬A¦h¼hÅã¥Ü«Ìªº¦h¼hÅã¥Ü¡]MLD¡^Åã¥Ü³]³Æ¦Ó¹ê¬I¡C¦b¦¹¤½¶}ªº¦UºØÃþ«¬ªº¯A¤ÎMLDªºÅã¥Ü§Þ³N¥i¥H¦³§Q¦a¥Î©ó«P¶i°ò©ó¤â¶Õªº¥Î¤á»P°ò©óMLDªº¦h¥Î¤á¡B¦h±µÄ²¿é¤JÅã¥Üªí±ªº¤¬°Ê©M¡þ©Î«P¶i¦b¹CÀ¸¨t²Î³B¶i¦æªº¦UºØÃþ«¬ªº¬¡°Ê¡A¥]¬A¡A¨Ò¦p¡A¦UºØÃþ«¬ªº¯A¤Î¹CÀ¸©M¡þ©Î¯A¤Î§ëª`ªº¬¡°Ê¡C®Ú¾Ú¦UºØ¹ê¬I¤è¦¡¡A³q¹L¦b¦h¥Î¤á¡B¦h±µÄ²¿é¤JÅã¥Üªí±³B©Î¤§¤W°õ¦æ¦UºØÃþ«¬ªº¤â¶Õ¡A»P¦h¥Î¤á¡B¦h±µÄ²¿é¤JÅã¥Üªí±¤¬°Êªº¥Î¤á¥i¥H¹ï¹CÀ¸¨t²Î¶Ç¹F¹CÀ¸«ü¥O¡B§ëª`«ü¥O©M¡þ©Î¨ä¥¦Ãþ«¬ªº«ü¥O¡C¦b¬Y¨Ç¹ê¬I¤è¦¡¤¤¡A¹CÀ¸¨t²Î¥i¥H¥]¬A¤â¶Õ³B²z¥\¯à¡A¨ä¥Î©ó¡GÀË´ú¥Î¤á¤â¶Õ¡BÃѧO°õ¦æ©ÒÀË´ú¤â¶Õªº¥Î¤á¡BÃѧO¤â¶Õ¡B¸ÑÄÀ¤â¶Õ¡B±N¸Ó¤â¶Õ¬M®g©ó¤@өΦhÓ¾A©yªº¥\¯à¡B©M¡þ©Î±Ò°Ê¸Ó¥\¯à¡C¦b¦Ü¤Ö¬Y¨Ç¹ê¬I¤è¦¡¤¤¡A¸Ó¤â¶Õ³B²z¥i¥H¦Ò¼{¦UºØ¥~³¡¦]¯À¡B±¡ªp¡B©M¡þ©Î°T®§¡A¨ä¨Ò¦p¥i«P¶i¾A·íªº©M¡þ©Î¾A©yªº¤â¶ÕÃѧO¡B¤â¶Õ¸ÑÄÀ¡B©M¡þ©Î¤â¶Õ¡X¡X¥\¯à¬M®g¡C
¤ÀÃþ¡GA63F9/24
| µo©ú¤H¡G | William R WELLS |
| ¡@ | Dwayne A DAVIS |
| ¡@ | James W. STOCKDALE |
| ¡@ | Harold E MATTICE |
| ¡@ | Roger William HARRIS |
| ¡@ | Joseph Randy HEDRICK |
| ¡@ | Bryan D WOLF |
| ¡@ | Michael P KHAMIS |
| ¡@ | David MYERS |
| ¡@ | Bihn T. NGUYEN |
| ¡@ | David PALMER |
| ¡@ | Christain R CHAMPAGNE |
Àu¥ýÅv¤é´Á¡G2007/11/08
Àu¥ýÅv°ê®a/¦a°Ï¡G¬ü°ê
Àu¥ýÅv½s¸¹¡G60/986,507
Àu¥ýÅv¤é´Á¡G2007/11/09
Àu¥ýÅv°ê®a/¦a°Ï¡G¬ü°ê
Àu¥ýÅv½s¸¹¡G11/938,031
Àu¥ýÅv¤é´Á¡G2007/11/09
Àu¥ýÅv°ê®a/¦a°Ï¡G¬ü°ê
Àu¥ýÅv½s¸¹¡G11/938,179
Àu¥ýÅv¤é´Á¡G2007/11/09
Àu¥ýÅv°ê®a/¦a°Ï¡G¬ü°ê
Àu¥ýÅv½s¸¹¡G11/983,467
Àu¥ýÅv¤é´Á¡G2007/11/09
Àu¥ýÅv°ê®a/¦a°Ï¡G¬ü°ê
Àu¥ýÅv½s¸¹¡G60/986,844
Àu¥ýÅv¤é´Á¡G2007/11/09
Àu¥ýÅv°ê®a/¦a°Ï¡G¬ü°ê
Àu¥ýÅv½s¸¹¡G60/986,858
Àu¥ýÅv¤é´Á¡G2007/11/09
Àu¥ýÅv°ê®a/¦a°Ï¡G¬ü°ê
Àu¥ýÅv½s¸¹¡G60/986,870
Àu¥ýÅv¤é´Á¡G2007/11/09
Àu¥ýÅv°ê®a/¦a°Ï¡G¬ü°ê
Àu¥ýÅv½s¸¹¡G61/002,576
Àu¥ýÅv¤é´Á¡G2007/11/12
Àu¥ýÅv°ê®a/¦a°Ï¡G¬ü°ê
Àu¥ýÅv½s¸¹¡G60/987,276
Àu¥ýÅv¤é´Á¡G2008/07/10
Àu¥ýÅv°ê®a/¦a°Ï¡G¬ü°ê
Àu¥ýÅv½s¸¹¡G12/170,878
Àu¥ýÅv¤é´Á¡G2008/10/10
Àu¥ýÅv°ê®a/¦a°Ï¡G¬ü°ê
Àu¥ýÅv½s¸¹¡G12/249,771
Àu¥ýÅv¤é´Á¡G2008/11/05
Àu¥ýÅv°ê®a/¦a°Ï¡G¬ü°ê
Àu¥ýÅv½s¸¹¡G12/265,627
ªþ¹Ï

µo©ú±M§Q¥Ó½Ð¤§©µ¦ùªº«OÅ@
®Ú¾Ú¸g¤Q¤G¤ë¤Q¤T¤é²Ä97/99/M¸¹ªk¥O®Ö㤧¡m¤u·~²£Åvªk«ß¨î«×¡n²Ä¤Q±ø¤Î²Ä¤@¦Ê¤G¤Q¤E¦Ü¤@¦Ê¤T¤Q¤±ø¤§³W©w¡Aµ²¦X¡m°ê®aª¾ÃѲ£Åv§½»P¿Dªù¯S§O¦æ¬F°Ï¸gÀÙ§½Ãö©ó¦bª¾ÃѲ£Åv»â°ì¦X§@ªº¨óij¡n²Ä¥|±ø¤Î²Ä¤±ø¤§³W©w¡A¤½§G¤U¦Cµo©ú±M§Q¤§©µ¦ù¡C
µo©ú±M§Q¥Ó½Ð¤§©µ¦ù
½s¸¹¡GJ/000181
©µ¦ù¥Ó½Ð¤é´Á¡G2007/12/19
¥Ó½Ð¤H¡GIGT
°êÄy¡G¬ü°ê
¦í§}/¦a§}¡G9295 Prototype Drive Reno, NV 89521, United States of America
¼ÐÃD¡G¨ã¦³¦hÓ¦@¨É¦hÓµ²ªGÅã¥Ü¾¹ªº¹CÀ¸¸Ë¸mªº¹CÀ¸¨t²Î¡C
ºKn¡G¥»µo©ú´£¨Ñ¨ä¤¤¦hÓ¹CÀ¸¸Ë¸m³q¹L¦@¦P¼úª÷¨Æ¥ó³s±µªº¹CÀ¸¸Ë¸m¨t²Î¡C¦b¤@¹ê¬I¨Ò¤¤¡A³s±µªº¹CÀ¸¾÷¸Ë¸m¨t²Î¥]¬A¦@¨Éªº²Å¸¹²£¥ÍÅã¥Ü¾¹¡A¨ä¾Fªñ©ó¦hÓ¬ÛÃöÁp¹CÀ¸¸Ë¸m¤¤ªº¨C¤@Ó¸m©ñ¨Ã¨ã¦³¦hÓ³¡¤À¤Î¦b¨C¤@³¡¤ÀÅã¥ÜªºÈ¡C°ò©ó¼úª÷¨Æ¥óªº¸Ñµo¡A¥ô¦ó²Å¦X±ø¥ó°Ñ»P¼úª÷¨Æ¥óªºª±®a¥iÀò±o±q¼úª÷¨Æ¥ó¥]¬A¦@¨ÉÅã¥Ü¾¹²£¥Íªºµ²ªG¡C·í¦@¨ÉÅã¥Ü¾¹³Q¿E¬¡®É¡A¨ä¦P®É²£¥Í»P¨C¤@¹CÀ¸¸Ë¸m¬ÛÃöÁpªº³æ¿Wµ²ªG¡Cµ²ªGªÅ¶¡¤W¬Û¤¬¬ÛÃö¡A±q¦Ó»P¤@¹CÀ¸¸Ë¸m¬ÛÃöÁpªºµ²ªGªºÀH¾÷²£¥Í¦Û°Ê²£¥Í»P¨C¤@¹CÀ¸¸Ë¸m¬ÛÃöÁpªºÀH¾÷µ²ªG¡CµM¦Ó¡A¨C¤@¹CÀ¸¸Ë¸m¶È¦b¨ä¤w°Ñ»PÀH¾÷²£¥Í®É¤~±µ¦¬µ²ªG¡C
¤º¦a¥Ó½Ð¤é¡G2005/08/26
¤º¦a¥Ó½Ð¸¹¡G200580038183.5
¤º¦a¤½¶}¤é¡G2008/06/11
¤º¦a¤½¶}¸¹¡GCN 101198384A
¤ÀÃþ¡GA63F13/00
| µo©ú¤H¡G | ¬ù·æ¤Ò¡DE.¡D¥d©ú¬ì |
| ¡@ | ¦wªF¥§¡DJ.¡D¨©¬¥»®º¸ |
| ¡@ | »ô§J¡D¥¬¨½º¸ |
| ¡@ | º~´µ¡D®J§Q¨È´µ |
| ¡@ | «O§Q®R¡DùªN´µ |
| ¡@ | §Jº¸¡DT.¡D°ÇĬº¸ |
| ¡@ | ®J¨½§J¡DL.¡D¥Ë®æ¯Ç |
| ¡@ | §J¨½´µ¦«¥±¡DD.¡D¥d§Q´µ°Ç |
| ¡@ | ¬_§J¡DA.¡D¯S¼w´Ë |
| ¡@ | ÁÚ§Jº¸¡D³Á§Jºû¸¦ |
Àu¥ýÅv¤é´Á¡G2004/09/01
Àu¥ýÅv°ê®a/¦a°Ï¡G¬ü°ê
Àu¥ýÅv½s¸¹¡G60/606,239
±ÂÅvªºµo©ú±M§Q¤§©µ¦ù
®Ú¾Ú¸g¤Q¤G¤ë¤Q¤T¤é²Ä97/99/M¸¹ªk¥O®Ö㤧¡m¤u·~²£Åvªk«ß¨î«×¡n²Ä¤Q±ø¤Î²Ä¤@¦Ê¤G¤Q¤E¦Ü¤@¦Ê¤T¤Q¤±ø¤§³W©w¡Aµ²¦X¡m°ê®aª¾ÃѲ£Åv§½»P¿Dªù¯S§O¦æ¬F°Ï¸gÀÙ§½Ãö©ó¦bª¾ÃѲ£Åv»â°ì¦X§@ªº¨óij¡n²Ä¥|±ø¤Î²Ä¤±ø¤§³W©w¡A¤½§G¤U¦C±ÂÅvªºµo©ú±M§Q¥Ó½Ð¤§©µ¦ù¡C
±ÂÅvªºµo©ú±M§Q¤§©µ¦ù
½s¸¹¡GJ/000105
©µ¦ù¥Ó½Ð¤é´Á¡G2007/03/19
©µ¦ù§å¥Ü¤é´Á¡G2009/02/02
¥Ó½Ð¤H¡G¶×¶©´×·~¦³¤½¥q
°êÄy¡G®Ú¾Ú»´äªk¨Ò¦¨¥ß
¦í§}/¦a§}¡G»´ä»´ä¥J¶À¦Ë§|·~¿³µó11¸¹«n滙¼s³õ6¼Ó601-5«Ç
¼ÐÃD¡G¸}¤â¬[¡C
ºKn¡G¤@ºØ¥Î©ó¥¿«Ø¿vªº«Ø¿vª«ªº¸}¤â¬[µ²ºc¡A¨ä§Î¦¡¬°°ò¥»¤W¤Gºûªº¤º¬]¬[©M¤@Ó¤jÅé¤W¤Gºûªº¥~¬]¬[¬Û¤¬Áp±µ¡A¬]¬[¤¤ªº¨C¤@Ó¥]¬A²Óªøµ²ºc¥ó§Î¦¡ªº©Ó«ºc¥ó¡A¸Ó²Óªøµ²ºc¥ó¥]¬A°ò¥»¤ô¥ªº¾î§ý©M½Ýª½ªº¤ä¬W¬Û¥æ§Î¦¨¬]¬[¡A¸}¤â¬[µ²ºc³o¼Ë«Ø³y¡A¨Ï±o¦Ü¤Ö³¡¤À¤º¬]¬[ªº©Ó«¾î§ý»P§G¸m¦b¬Û¦P°ª«×ªº¥~¬]¬[¤¤ªº¦UÓ©Ó«¾î§ý¹ïÀ³¡A¸}¤â¬[µ²ºcÁÙ¥]¬A¤@өΦhÓªº¥»O¡A¨CÓ¥»O§G¸m¦b¬Û¦P°ª«×ªº¤º¡B¥~¬]¬[ªº¨âÓ¹ïÀ³©Ó«¾î§ý¤§¶¡¡A¨ä¤¤©Òz¥»O¤W¦³¤@Ó¥X¤J¶}¤f³q©¹¸}¤â¬[µ²ºcªº¤U³¡°Ï°ì¡A¸}¤â¬[µ²ºcÁÙ¥]¬A¦w¸Ë¨ì¸}¤â¬[¤W¡B¥Î©ó¤u¤H³q¹L¥X¤J¶}¤fªº±è¤l¡C
¤º¦a¥Ó½Ð¤é¡G2000/07/28
¤º¦a±M§Q¸¹¡G200610073535.7
¤º¦a¤½¶}¤é¡G2006/11/15
¤º¦a¤½§i¤é¡G2008/09/17
¤º¦a¤½§i¸¹¡GCN 100419191C
¤ÀÃþ¡GE04G1/15, E04G5/10
µo©ú¤H¡G Ĭ¦¼¦¨
Àu¥ýÅv¤é´Á¡G1999/07/28
Àu¥ýÅv°ê®a/¦a°Ï¡G·s¦èÄõ
Àu¥ýÅv½s¸¹¡G336959
Àu¥ýÅv¤é´Á¡G1999/09/27
Àu¥ýÅv°ê®a/¦a°Ï¡G¿D¤j§Q¨È
Àu¥ýÅv½s¸¹¡GPQ3192
ªþ¹Ï

½s¸¹¡GJ/000261
©µ¦ù¥Ó½Ð¤é´Á¡G2008/10/28
©µ¦ù§å¥Ü¤é´Á¡G2009/02/02
¥Ó½Ð¤H¡G¦¿¨}¤@¦¨
°êÄy¡G¤é¥»
¦í§}/¦a§}¡G4-1-11-201, Matsuba-cho, Kashiwa-shi, Chiba 277-0827 Japan
¼ÐÃD¡G§ë¼vÅã¥Ü¾¹©M§ë¼vÅã¥Ü¨t²Î¡C
ºKn¡G§ë¼vÅã¥Ü¾¹D¥]¬A¡GÀò¨ú¸Ë¸m¡]2¡^¡A¥Î©óÀò±oºc¦¨¹Ï¹³ªº¨CÓ¹³¯Àªº¹³¯ÀÈCg©M²`«×ÈCz¡Fµo¥ú¸Ë¸m¡]3¡^¡A¥Î©ó¿é¥X»P¨CÓ¹³¯Àªº¹³¯ÀȹïÀ³ªº¹³¯ÀÅã¥Ü¥úLd¡F¥ú¾ÉÅé¡]5¡^¡A¥Î©ó±N¹³¯ÀÅã¥Ü¥úLd¤Þ¾É¨ì§ë¼v«Ì¹õ¡]8¡^¤W»P¹³¯À¹ïÀ³ªº¦ì¸m¡F¥H¤Î±±¨î¸Ë¸m¡A¥Î©ó®Ú¾Ú¹³¯Àªº²`«×ÈCz¡A§ïÅܹ³¯ÀÅã¥Ü¥úLd¨ì§ë¼v«Ì¹õ¡]8¡^ªº¥ú¸ôªø«×¡C¥ú¾ÉÅé¡]5¡^ °t³Æ¦³¨ã¦³©¼¦¹±¹ïªºÃ象]511a¡^ªº¤Ï®g¾¹¡]51¡^¡C¥ú¸ôªø«×±±¨î¸Ë¸m¡]3¡^ ®Ú¾Ú¹³¯Àªº²`«×ÈCz¡A§ïÅܹ³¯ÀÅã¥Ü¥ú¦b¤Ï®g¾¹¡]51¡^ªºÃ象]511a¡^¤Wªº¤Ï®g¦¸¼Æ¡C
¤º¦a¥Ó½Ð¤é¡G2005/04/01
¤º¦a±M§Q¸¹¡G200580010243.2
¤º¦a¤½¶}¤é¡G2007/03/28
¤º¦a¤½§i¤é¡G2008/08/20
¤º¦a¤½§i¸¹¡GCN 100412613C
¤ÀÃþ¡GG02B27/22, G03B35/00, G03B35/18, H04N13/04
µo©ú¤H¡G¦¿¨}¤@¦¨
Àu¥ýÅv¤é´Á¡G2004/04/02
Àu¥ýÅv°ê®a/¦a°Ï¡G¤é¥»
Àu¥ýÅv½s¸¹¡G110254/2004
ªþ¹Ï

½s¸¹¡GJ/000270
©µ¦ù¥Ó½Ð¤é´Á¡G2008/11/25
©µ¦ù§å¥Ü¤é´Á¡G2009/02/02
¥Ó½Ð¤H¡Gªü¾|µ¦®è¦¡·|ªÀ
°êÄy¡G¤é¥»
¦í§}/¦a§}¡G3-1-25, Ariake, Koto-ku, Tokyo 135-0063 Japan
¼ÐÃD¡G¹CÀ¸¾÷¡C
ºKn¡G¦b§ë¹ô¾÷¡]1¡^¤¤¡A·í¹CÀ¸ªÌIJºN¹ïÀ³©ó§ëª`¼ÆÅã¥Ü³¡¤À¡]32¡^¶ê©PªºÄ²ºN±ªO¡]5k¡^®É¡A¼Æ¦rÁä½L¹Ï¹³Åã¥Ü¦b²G´¹Åã¥Ü±ªO¡]5d¡^¤W¨Ã¥B³q¹L¼Æ¦rÁä½L³]³Æ¡]30¡^¨Ï¼Æ¦rÈ¿é¤J¾Þ§@¿E¬¡¡C¼Æ¦rȥѼƦrÁä½L³]³Æ¡]30¡^¿é¤J¤§«á¡A¦pªG¹CÀ¸ªÌ¾Þ§@±Ò°Ê§ý¡]9¡^©Î±ÛÂà¶}Ãö¡]13¡^©Î¡§³Ì¤j§ëª`¡¨¶}Ãö¡]17¡^¡A«h¼Æ¦rÁä½L¹Ï¹³®ø¥¢¡C¨ä«á¡A§ëª`¼Æ¥Ñ¥DCPU¡]42¡^ÃѧO¡C¦pªG¥DCPU¡]42¡^ÃѧO¥X§ëª`¼Æ¡A¥Ñ¥DCPU¡]42¡^±N³q¹L¥Î§ëª`¼Æ¼¥H¹ïÀ³©ó¤@ª`ªº³æ¦ì¼ÆÈpºâ¥Xªº¼ÆÈ³]¸m¬°§ëª`¼ÆÈ¡C¨ä«á¡A·í°ò©ó¹CÀ¸ªÌ¾Þ§@±Ò°Ê§ý¡]9¡^©Î±ÛÂà¶}Ãö¡]13¡^©Î¡§³Ì¤j§ëª`¡¨¶}Ãö¡]17¡^®É¡A±²µ©¡]2¡V4¡^¶i¦æÂà°Ê¨Ã±Ò°Ê§ë¹ô¾÷¡C
¤º¦a¥Ó½Ð¤é¡G2004/10/10
¤º¦a±M§Q¸¹¡G200410085046.4
¤º¦a¤½¶}¤é¡G2005/04/13
¤º¦a¤½§i¤é¡G2008/10/22
¤º¦a¤½§i¸¹¡GCN 100427165C
¤ÀÃþ¡GA63F13/00, G07F17/32
µo©ú¤H¡G½_§ø©¯¬ö
Àu¥ýÅv¤é´Á¡G2003/10/10
Àu¥ýÅv°ê®a/¦a°Ï¡G¤é¥»
Àu¥ýÅv½s¸¹¡G352221/2003
ªþ¹Ï

½s¸¹¡GJ/000272
©µ¦ù¥Ó½Ð¤é´Á¡G2008/12/05
©µ¦ù§å¥Ü¤é´Á¡G2009/02/02
¥Ó½Ð¤H¡Gªü¾|µ¦®è¦¡·|ªÀ
°êÄy¡G¤é¥»
¦í§}/¦a§}¡G¤é¥»°êªF¨Ê³£¦¿ªF°Ï¦³©ú3¤B¥Ø1µf¦a25
¼ÐÃD¡G¹CÀ¸¾÷¡C
ºKn¡G®Ú¾Ú¥»µo©úªº¹CÀ¸¾÷¨ã¦³¦b¨ä¤W¦U¦Û§Î¦¨¦hӲŸ¹ªººu¶b¡]3L¡B3C¡B3R¡^¡F¥Î©ó±ÛÂà©M°±¤îºu¶bªº¨B¶i¹q°Ê¾÷¡]59L¡B59C¡B59R¡^¡A¥Î©ó°±¤îºu¶b¡]3L¡B3C¡B3R¡^±ÛÂ઺°±¤î«ö¶s¡]11L¡B11C¡B11R¡^¥H¤Î¥Î©ó±±¨î¨B¶i¹q°Ê¾÷ªº±ÛÂà©M°±¤îªº·L«¬pºâ¾÷¡]40¡^©M¹q°Ê¾÷ÅX°Ê¹q¸ô¡]49¡^¡A·L«¬pºâ¾÷¡]40¡^©M¹q°Ê¾÷ÅX°Ê¹q¸ô¡]49¡^¨âªÌ±N¨B¶i¹q°Ê¾÷¤¤¨C¤@¨Bªº¨B¶i¨¤¹º¤À¬°¦hÓ¤p¨B¶i¨¤¡A¦]¦¹·L«¬pºâ¾÷¡]40¡^©M¹q°Ê¾÷ÅX°Ê¹q¸ô¡]49¡^¨âªÌ°ò©ó¤À¦¨ªº¨B¶i¨¤¹ê¬I¨B¶i¹q°Ê¾÷ªº¨B¶i±±¨î¡C
¤º¦a¥Ó½Ð¤é¡G2004/12/24
¤º¦a±M§Q¸¹¡G200410104485.5
¤º¦a¤½¶}¤é¡G2005/07/20
¤º¦a¤½§i¤é¡G2008/10/15
¤º¦a¤½§i¸¹¡GCN 100425310C
¤ÀÃþ¡GA63F13/00, G07F17/34, H02P8/00
µo©ú¤H¡G·®¤ì§µ¤Ò
Àu¥ýÅv¤é´Á¡G2003/12/25
Àu¥ýÅv°ê®a/¦a°Ï¡G¤é¥»
Àu¥ýÅv½s¸¹¡G2003-431049
ªþ¹Ï

½s¸¹¡GJ/000273
©µ¦ù¥Ó½Ð¤é´Á¡G2008/12/09
©µ¦ù§å¥Ü¤é´Á¡G2009/02/02
¥Ó½Ð¤H¡G¬d´¶º¸°ªº¸¤Ò¤½¥q
°êÄy¡G¬ü°ê
¦í§}/¦a§}¡G12540 Seminole Beach Road, North Palm Beach, Florida 33408, USA
¼ÐÃD¡G°ªº¸¤Ò²y±ì¤Î»s³y¤èªk¡C
ºKn¡G¥»µo©ú¯A¤Î¤@ºØ¨ã¦³§ïµ½ªº¥¿Å©Ê¯à©M·PÆ[¤ÏõXªº°ªº¸¤Ò±À§ý¤Î¨ä§ï¶iªº¸Ë¸m¤èªk¡C©Òz±À§ý¥]¬A¡G§ý¨¡]40¡^¡F¥Ñ¸û§C½è¶q±K«×§÷®Æ»s¦¨ªº§ýÀV¡]34¡^©M§ýÀY¨¡]20¡^ªº²Õ¸Ë³æ¤¸¡F©µ¦ù³q¹L²Õ¸Ë³æ¤¸¨Ã¦ù¤J§ý¨¤¤ªº¥[±j¥ó¡]38¡^¡F©M¥Ñ¸û°ª½è¶q±K«×§÷®Æ»s¦¨ªº§ýÀY«a¡]12¡^¡A¨ä¨ã¦³·¥°¼³k³¡¡]14¡^ ©M¸ò³¡¡]16¡^¥H¤Î¦ì©ó³k³¡©M¸ò³¡¤§¶¡ªº¸¡ªO¡]28¡^¡A©Òz¥[±j¥ó±q³s±µ§ýÀY«a¡B²Õ¸Ëªº§ýÀY¨©M§ýÀV¥H¤Î§ý¨ªº¸¡ªO¦V¤W©µ¦ù¡C©Òz»s³y¤èªk¥]¬A¿W¯Sªº§ýÀY«a©M²Õ¸Ëªº²Õ¥ó¥H¤Î§ï¶iªº²Õ¸Ë¤èªk¡C
¤º¦a¥Ó½Ð¤é¡G2004/11/22
¤º¦a±M§Q¸¹¡G200480034693.0
¤º¦a¤½¶}¤é¡G2006/12/27
¤º¦a¤½§i¤é¡G2008/09/17
¤º¦a¤½§i¸¹¡GCN 100418596C
¤ÀÃþ¡GA63B53/04, A63B53/10
µo©ú¤H¡G«Où¡DB¡D´µ¨Ø§J¯S
Àu¥ýÅv¤é´Á¡G2003/11/24
Àu¥ýÅv°ê®a/¦a°Ï¡G¬ü°ê
Àu¥ýÅv½s¸¹¡G10/720,936
ªþ¹Ï

½s¸¹¡GJ/000284
©µ¦ù¥Ó½Ð¤é´Á¡G2008/12/29
©µ¦ù§å¥Ü¤é´Á¡G2009/02/02
¥Ó½Ð¤H¡Gªü¾|µ¦®è¦¡·|ªÀ
°êÄy¡G¤é¥»
¦í§}/¦a§}¡G3-1-25, Ariake, Koto-Ku, Tokyo 135-0063 Japan
¼ÐÃD¡G¹CÀ¸¾÷¡C
ºKn¡G¤@ºØ¹CÀ¸¾÷¡A¨ã¦³¥Î©óÅã¥Ü»P¹CÀ¸¬ÛÃöªºµ²ªGªº¹CÀ¸µ²ªGÅã¥Ü¸Ë¸m©M¥Î©ó·í¯S©w¹CÀ¸µ²ªGÅã¥Ü¦b¹CÀ¸µ²ªGÅã¥Ü¸Ë¸m¤W®É²£¥Í¹CÀ¸ªÌªº¦³§Qª¬ºAªº¦³§Qª¬ºA²£¥Í¸Ë¸m¡C¨ä¤¤¡A¸Ó¹CÀ¸µ²ªGÅã¥Ü¸Ë¸m¥]¬A²Ä¤@Åã¥Ü¸Ë¸m©M²Ä¤GÅã¥Ü¸Ë¸m¡A¸Ó²Ä¤GÅã¥Ü¸Ë¸m±q¹CÀ¸¾÷ªº«e±¬Ý³]¸m¦b¤ñ²Ä¤@Åã¥Ü¸Ë¸mªºÅã¥Ü°Ï§ó¾a«e±¡A¨Ã¥B¸Ó²Ä¤GÅã¥Ü¸Ë¸m¨ã¦³²Å¸¹Åã¥Ü°Ï¡A¸Ó²Å¸¹Åã¥Ü°Ï¯à°÷³z¥ú¦aÅã¥Ü²Ä¤@Åã¥Ü¸Ë¸mªºÅã¥Üµ²ªG¡A¨Ã¥B¡AÅã¥Ü±±¨î¸Ë¸m±±¨î²Ä¤GÅã¥Ü¸Ë¸m¡A¥H«K±N¹CÀ¸«H®§¡]21a¡^±q¥]¬A²Å¸¹Åã¥Ü°Ïªº°Ï°ì¡]21L¡B21C¡B21R¡^²¾°Ê¨ì¨ÃÅã¥Ü¦b¤£¥]¬A²Å¸¹Åã¥Ü°Ïªº°Ï°ì¡]23¡^¡C
¤º¦a¥Ó½Ð¤é¡G2004/03/01
¤º¦a±M§Q¸¹¡G200410007675.5
¤º¦a¤½¶}¤é¡G2005/09/07
¤º¦a¤½§i¤é¡G2008/12/03
¤º¦a¤½§i¸¹¡GCN 100438943C
¤ÀÃþ¡GA63F13/00, G07F17/34
| µo©ú¤H¡G | ¨¬¥ß©y¹t |
| ¡@ | ¤¤¤t¤Ó¥ |
ªþ¹Ï

½s¸¹¡GJ/000285
©µ¦ù¥Ó½Ð¤é´Á¡G2008/12/29
©µ¦ù§å¥Ü¤é´Á¡G2009/02/02
¥Ó½Ð¤H¡Gªü¾|µ¦®è¦¡·|ªÀ
°êÄy¡G¤é¥»
¦í§}/¦a§}¡G3-1-25, Ariake, Koto-Ku, Tokyo 135-0063 Japan
¼ÐÃD¡G¹CÀ¸¾÷¡C
¤º¦a¥Ó½Ð¤é¡G2004/03/01
¤º¦a±M§Q¸¹¡G200410007682.5
¤º¦a¤½¶}¤é¡G2005/09/07
¤º¦a¤½§i¤é¡G2008/11/26
¤º¦a¤½§i¸¹¡GCN 100435896C
¤ÀÃþ¡GA63F13/00, G07F17/34
| µo©ú¤H¡G | ¦¿´Ë©M¾ð |
| ¡@ | ¤«§ø^¦W |
ªþ¹Ï

½s¸¹¡GJ/000289
©µ¦ù¥Ó½Ð¤é´Á¡G2008/12/30
©µ¦ù§å¥Ü¤é´Á¡G2009/02/02
¥Ó½Ð¤H¡Gªü¾|µ¦®è¦¡·|ªÀ
°êÄy¡G¤é¥»
¦í§}/¦a§}¡G3-1-25, Ariake, Koto-ku, Tokyo 135-0063, Japan
¼ÐÃD¡G¹CÀ¸¾÷¡C
ºKn¡G¥»µo©ú´£¨Ñ¤@ºØ¹CÀ¸¾÷¡A¸Ó¹CÀ¸¾÷¥]¬A¡G¥iÅÜÅã¥Ü¸Ë¸m¡A°t¸m¬°²£¥Í¦hӲŸ¹ªº¥iÅÜÅã¥Ü¡F«eÅã¥Ü¸Ë¸m¡A§G¸m¦b©Òz¥iÅÜÅã¥Ü¸Ë¸mªº«e±¡A¨Ïª±®a¯à°÷³q¹L¥¦¬Ý¨ì¥iÅÜÅã¥Ü¸Ë¸m¤Wªº²Å¸¹¡A¸Ó«eÅã¥Ü¸Ë¸mÁÙ¥i¥HÅã¥Ü¦UºØ¹Ï¹³¡F©MÅã¥ÜÁY©ñ¸Ë¸m¡A¨ä¥i¥H©ñ¤j©ÎÁY¤p«eÅã¥Ü¸Ë¸m©M/©Î¥iÅÜÅã¥Ü¸Ë¸m¤WªºÅã¥Ü¡C®Ú¾Ú¥»µo©úªº¹CÀ¸¾÷¯à°÷©ñ¤j©ÎÁY¤pÅã¥ÜÂà½L¤Wªº²Å¸¹¥H¤Î®ÄªG¹Ï¹³¡A¥H§ó¦n¦a¼W 强¹CÀ¸ªº®T¼Ö©Ê¡C
¤º¦a¥Ó½Ð¤é¡G2004/02/20
¤º¦a±M§Q¸¹¡G200410006867.4
¤º¦a¤½¶}¤é¡G2005/05/04
¤º¦a¤½§i¤é¡G2008/10/01
¤º¦a¤½§i¸¹¡GCN 100421752C
¤ÀÃþ¡GA63F13/00, A63F5/04
µo©ú¤H¡G©£¥Ð©M¥Í
Àu¥ýÅv¤é´Á¡G2003/10/31
Àu¥ýÅv°ê®a/¦a°Ï¡G¬ü°ê
Àu¥ýÅv½s¸¹¡G10/697,942
ªþ¹Ï

½s¸¹¡GJ/000290
©µ¦ù¥Ó½Ð¤é´Á¡G2008/12/30
©µ¦ù§å¥Ü¤é´Á¡G2009/02/02
¥Ó½Ð¤H¡Gªü¾|µ¦®è¦¡·|ªÀ
°êÄy¡G¤é¥»
¦í§}/¦a§}¡G3-1-25 Ariake, Koto-ku, Tokyo 135-0063, Japan
¼ÐÃD¡G¹CÀ¸¾÷¡C
ºKn¡G¤@ºØ¹CÀ¸¾÷¡A¥]¬A¡G²G´¹Åã¥Ü¾¹¡A¸Ó²G´¹Åã¥Ü¾¹¨ã¦³²G´¹±ªOÅé©M³]¸m¦b²G´¹±ªOÅéI±ªº¥ú¾ÉªO¡A¥ú¾ÉªO¥Î©ó±N²G´¹±ªOÅ骺·Ó©ú¸Ë¸mµo®gªº¥ú¤Þ¾É¨ì²G´¹±ªOÅé¡F©M³]¸m¦b²G´¹Åã¥Ü¾¹ªºI±ªº¥iÅÜÅã¥Ü¸Ë¸m¡A¨ã¦³±Æ¦C¦¨¤@¦æªº¦hÓÂ൩¡AÂ൩¤W±Æ¥¬¦³¦hӲŸ¹¡C¥ú¾ÉªO¤W»PÂ൩¬Û¹ïªº³¡¤À³Q¤Á¶}©Î¦bÂ൩°¼§Î¦¨¦³¥W¤f³¡¤À¡A¤Á¤f³¡¤À©Î¥W¤f³¡¤ÀªººÝ±¶i¦æ¹L¥ú´²®g³B²z¡C
¤º¦a¥Ó½Ð¤é¡G2004/03/01
¤º¦a±M§Q¸¹¡G200410008265.2
¤º¦a¤½¶}¤é¡G2004/12/01
¤º¦a¤½§i¤é¡G2008/10/01
¤º¦a¤½§i¸¹¡GCN 100421748C
¤ÀÃþ¡GA63F5/04, A63F3/00, A63F13/00
| µo©ú¤H¡G | ¨¦§ø¹F«Û |
| ¡@ | Ãö¤f³Õ¤å |
Àu¥ýÅv¤é´Á¡G2003/05/14
Àu¥ýÅv°ê®a/¦a°Ï¡G¤é¥»
Àu¥ýÅv½s¸¹¡G136633/2003
ªþ¹Ï

½s¸¹¡GJ/000291
©µ¦ù¥Ó½Ð¤é´Á¡G2008/12/30
©µ¦ù§å¥Ü¤é´Á¡G2009/02/02
¥Ó½Ð¤H¡Gªü¾|µ¦®è¦¡·|ªÀ
°êÄy¡G¤é¥»
¦í§}/¦a§}¡G3-1-25 Ariake, Koto-ku, Tokyo 135-0063, Japan
¼ÐÃD¡G¹CÀ¸¾÷¡C
ºKn¡G¤@ºØ¹CÀ¸¾÷1¡A¥]¬A¡G²Å¸¹¦CÅã¥Ü¸Ë¸m¡]¨Ò¦p¡A¥ªÂ൩¡]3L¡^¡B¤¤¶¡Â൩¡]3C¡^¡B¥kÂ൩¡]3R¡^¡^¡A¥Î©óÅã¥Ü¦hӲŸ¹¡A¥H¥Ñª±®a¨Ó±Æ¦C³o¨Ç²Å¸¹¡F¾Þ§@§ý©Î«ö¶sªº¾Þ§@¿é¤J¸Ë¸m¡A¡]¨Ò¦p¡A±Ò°Ê§ý¡]6¡^¡B¥ª°±¤î«ö¶s¡]7L¡^¡B¤¤¶¡°±¤î«ö¶s¡]7C¡^¡B¥k°±¤î«ö¶s¡]7R¡^¡^¡Aª±®a¾Þ§@¸Ó¾Þ§@¿é¤J¸Ë¸m¨Óª±¹CÀ¸¡F¤º³¡©â±m¸Ë¸m¡]¨Ò¦p¡A¥D±±¨î¹q¸ô¡]71¡^¡^¡A¥Î©ó±Ä¥ÎÀH¾÷¼Æ¨Ó°õ¦æ¹CÀ¸ªº¤º³¡©â±m¡F·Ó©ú¸Ë¸m¡]¨Ò¦p¡A·Ó©ú¿O³¡¥ó¡]104¡^¡^¡A¥Î©ó¹ï¦b¹CÀ¸¾÷¡]1¡^ªº¾÷Âd¤W§Î¦¨ªº¦«½L¡]¨Ò¦p¡A¨ü¹ô¦«½L¡]16¡^¡^¶i¦æ·Ó©ú¡F©M³z©ú³¡¥ó¡]¨Ò¦p¡A³z©ú³¡¥ó¡]105¡^¡^¡A¥i©î¨ø¦a¦ì©ó·Ó©ú¸Ë¸m¡]104¡^©M¦«½L¡]16¡^¤§¶¡¡C
¤º¦a¥Ó½Ð¤é¡G2004/03/01
¤º¦a±M§Q¸¹¡G200410006946.5
¤º¦a¤½¶}¤é¡G2005/09/07
¤º¦a¤½§i¤é¡G2008/10/01
¤º¦a¤½§i¸¹¡GCN 100421747C
¤ÀÃþ¡GA63F3/00, A63F7/00, A63F13/00
µo©ú¤H¡G¦¿´Ë©M¾ð
ªþ¹Ï

½s¸¹¡GJ/000295
©µ¦ù¥Ó½Ð¤é´Á¡G2009/01/19
©µ¦ù§å¥Ü¤é´Á¡G2009/02/02
¥Ó½Ð¤H¡Gºë¤u·R´¶¥Í®è¦¡·|ªÀ
°êÄy¡G¤é¥»
¦í§}/¦a§}¡G4-1, Nishi-Shinjuku 2-chome, Shinjuku-ku, Tokyo, Japan
¼ÐÃD¡G¾¥²°¡C
ºKn¡G¥»µo©ú¤½¶}¤F¤@ºØ¾¥²°¦w¸Ë¡þ©î°£³]³Æ¡B°O¿ý¸Ë¸m¡B²GÅé¼Q®g¸Ë¸m©M²GÅé®e¾¹¡C¸Ó¥Î©ó²GÅé¼Q®g¸Ë¸mªº²GÅé®e¾¹¥]¬A¡G´ßÅé¡A©Òz´ßÅé¦b¨ä¤º³¡¨ã¦³²GÅé®e¯Ç³¡¤À¡F¨ÑÀ³³¡¤À¡A©Òz¨ÑÀ³³¡¤À§Î¦¨¦b´ßÅ骺²Ä¤@°¼¾À¤W¡A¨Ã¥B²GÅé®e¯Ç³¡¤À¤¤ªº²GÅé³q¹L©Òz¨ÑÀ³³¡¤À¥i¥H¬y¨ì¥~³¡¡F±µÄ²³¡¤À¡A©Òz±µÄ²³¡¤À¥i¥H±µÄ²©Òz²GÅé¼Q®g¸Ë¸mªº·Æ¶ôªº¤@³¡¤À¡A¥H¦b´¡¤J²GÅé®e¾¹ªº¤è¦V¤W²¾°Ê·Æ¶ô¡F©M°t¦X³¡¤À¡A©Òz°t¦X³¡¤À³Q°t¸m¨Ó»P·Æ¶ôªºÂê©w³¡¤À°t¦X¡C±µÄ²³¡¤À©M°t¦X³¡¤À§Î¦¨¦b´ßÅ骺²Ä¤G°¼¾À¤W¡A²Ä¤G°¼¾À»P²Ä¤@°¼¾À¬Û¥æ¡C
¤º¦a¥Ó½Ð¤é¡G2004/12/22
¤º¦a±M§Q¸¹¡G200410102408.6
¤º¦a¤½¶}¤é¡G2005/07/13
¤º¦a¤½§i¤é¡G2008/12/03
¤º¦a¤½§i¸¹¡GCN 100439107C
¤ÀÃþ¡GB41J2/175, B41J2/145, B41J2/01
| µo©ú¤H¡G | 坂¤«±d¤H |
| ¡@ | «~¥ÐÁo |
| ¡@ | ¶ø³¥¼w¦¸¦ |
| ¡@ | ¤pªLÁo |
| ¡@ | ªù¥Ðפ@ |
Àu¥ýÅv¤é´Á¡G2003/12/22
Àu¥ýÅv°ê®a/¦a°Ï¡G¤é¥»
Àu¥ýÅv½s¸¹¡G424832/2003
Àu¥ýÅv¤é´Á¡G2004/02/06
Àu¥ýÅv°ê®a/¦a°Ï¡G¤é¥»
Àu¥ýÅv½s¸¹¡G031295/2004
Àu¥ýÅv¤é´Á¡G2004/02/09
Àu¥ýÅv°ê®a/¦a°Ï¡G¤é¥»
Àu¥ýÅv½s¸¹¡G032152/2004
Àu¥ýÅv¤é´Á¡G2004/08/25
Àu¥ýÅv°ê®a/¦a°Ï¡G¤é¥»
Àu¥ýÅv½s¸¹¡G244780/2004
ªþ¹Ï

®Ú¾Ú¸g¤Q¤G¤ë¤Q¤T¤é²Ä97/99/M¸¹ªk¥O®Ö㤧¡m¤u·~²£Åvªk«ß¨î«×¡n²Ä¤Q±ø²Ä¤@´Úd¡^¶µ¡B²Ä¤G´Ú¤Î²Ä¤G¦Ê¤C¤Q¤±ø¦Ü²Ä¤G¦Ê¤C¤Q¤C±ø¤§³W©w¡A¥i©ó¥»¤½§G¤é°_p¤@Ó¤ë´Á¤º´N¤U¦C§å¥Ü¦Vªì¯Åªk°|´£°_¤W¶D¡C
°Ó¼Ð¤§«OÅ@
§åµ¹
| µ{§Ç½s¸¹ | µù¥U¤é´Á | §å¥Ü¤é´Á | µù¥UÅv§Q¤H¤§¦WºÙ | ©ÒÄݰê/ ¦a°Ï |
¤ÀÃþ |
| 1 N/025973 | 2009/02/02 | 2009/02/02 | «Â¥§´µ¤H®È¹C¦³¤½¥q Venetian Viagens, Limitada / Venetian Travel Limited |
MO | 39 |
| 2 N/025975 | 2009/02/02 | 2009/02/02 | «Â¥§´µ¤H®È¹C¦³¤½¥q Venetian Viagens, Limitada / Venetian Travel Limited |
MO | 39 |
| 3 N/025976 | 2009/02/02 | 2009/02/02 | «Â¥§´µ¤H®È¹C¦³¤½¥q Venetian Viagens, Limitada / Venetian Travel Limited |
MO | 39 |
| 4 N/025978 | 2009/02/02 | 2009/02/02 | «Â¥§´µ¤H®È¹C¦³¤½¥q Venetian Viagens, Limitada / Venetian Travel Limited |
MO | 39 |
| 5 N/025979 | 2009/02/02 | 2009/02/02 | «Â¥§´µ¤H®È¹C¦³¤½¥q Venetian Viagens, Limitada / Venetian Travel Limited |
MO | 39 |
| 6 N/025981 | 2009/02/02 | 2009/02/02 | «Â¥§´µ¤H®È¹C¦³¤½¥q Venetian Viagens, Limitada / Venetian Travel Limited |
MO | 39 |
| 7 N/025982 | 2009/02/02 | 2009/02/02 | «Â¥§´µ¤H®È¹C¦³¤½¥q Venetian Viagens, Limitada / Venetian Travel Limited |
MO | 39 |
| 8 N/025984 | 2009/02/02 | 2009/02/02 | «Â¥§´µ¤H®È¹C¦³¤½¥q Venetian Viagens, Limitada / Venetian Travel Limited |
MO | 39 |
| 9 N/025985 | 2009/02/02 | 2009/02/02 | «Â¥§´µ¤H®È¹C¦³¤½¥q Venetian Viagens, Limitada / Venetian Travel Limited |
MO | 39 |
| 10 N/026014 | 2009/02/02 | 2009/02/02 | Cyber One Agents Limited | HK | 14 |
| 10 N/026015 | 2009/02/02 | 2009/02/02 | Cyber One Agents Limited | HK | 16 |
| 10 N/026016 | 2009/02/02 | 2009/02/02 | Cyber One Agents Limited | HK | 18 |
| 10 N/026017 | 2009/02/02 | 2009/02/02 | Cyber One Agents Limited | HK | 20 |
| 10 N/026018 | 2009/02/02 | 2009/02/02 | Cyber One Agents Limited | HK | 24 |
| 10 N/026019 | 2009/02/02 | 2009/02/02 | Cyber One Agents Limited | HK | 25 |
| 10 N/026020 | 2009/02/02 | 2009/02/02 | Cyber One Agents Limited | HK | 28 |
| 10 N/026021 | 2009/02/02 | 2009/02/02 | Cyber One Agents Limited | HK | 35 |
| 10 N/026022 | 2009/02/02 | 2009/02/02 | Cyber One Agents Limited | HK | 36 |
| 10 N/026023 | 2009/02/02 | 2009/02/02 | Cyber One Agents Limited | HK | 38 |
| 10 N/026024 | 2009/02/02 | 2009/02/02 | Cyber One Agents Limited | HK | 39 |
| 10 N/026025 | 2009/02/02 | 2009/02/02 | Cyber One Agents Limited | HK | 41 |
| 10 N/026026 | 2009/02/02 | 2009/02/02 | Cyber One Agents Limited | HK | 43 |
| 11 N/028988 | 2009/02/02 | 2009/02/02 | Star Cruise Management Limited | IM | 41 |
| 11 N/028989 | 2009/02/02 | 2009/02/02 | Star Cruise Management Limited | IM | 43 |
| 12 N/030627 | 2009/02/02 | 2009/02/02 | Aruze Corporation | JP | 09 |
| 13 N/030629 | 2009/02/02 | 2009/02/02 | Aruze Corporation | JP | 09 |
| N/031546 | 2009/02/02 | 2009/02/02 | J. & P. Coats, Limited | GB | 23 |
| 14 N/031995 | 2009/02/02 | 2009/02/02 | New Cotai Entertainment (Macau), Ltd. | MO | 41 |
| 14 N/031996 | 2009/02/02 | 2009/02/02 | New Cotai Entertainment (Macau), Ltd. | MO | 43 |
| 15 N/031997 | 2009/02/02 | 2009/02/02 | New Cotai Entertainment (Macau), Ltd. | MO | 41 |
| 14 N/031998 | 2009/02/02 | 2009/02/02 | New Cotai Entertainment (Macau), Ltd. | MO | 43 |
| N/032947 | 2009/02/02 | 2009/02/02 | West Paces Hotel Group Asia Pte. Ltd. | SG | 36 |
| N/032948 | 2009/02/02 | 2009/02/02 | West Paces Hotel Group Asia Pte. Ltd. | SG | 43 |
| N/033568 | 2009/02/02 | 2009/02/02 | Sociedade De Jogos De Macau, S.A. | MO | 41 |
| 16 N/033812 | 2009/02/02 | 2009/02/02 | ð°¨× Matthew Tang |
US | 41 |
| N/034450 | 2009/02/02 | 2009/02/02 | Okamoto Industries (H.K.) Ltd. | HK | 10 |
| N/034513 | 2009/02/02 | 2009/02/02 | BACCARAT | FR | 03 |
| N/034514 | 2009/02/02 | 2009/02/02 | BACCARAT | FR | 08 |
| N/034515 | 2009/02/02 | 2009/02/02 | BACCARAT | FR | 11 |
| N/034516 | 2009/02/02 | 2009/02/02 | BACCARAT | FR | 14 |
| N/034517 | 2009/02/02 | 2009/02/02 | BACCARAT | FR | 16 |
| N/034518 | 2009/02/02 | 2009/02/02 | BACCARAT | FR | 18 |
| N/034519 | 2009/02/02 | 2009/02/02 | BACCARAT | FR | 20 |
| N/034520 | 2009/02/02 | 2009/02/02 | BACCARAT | FR | 21 |
| N/034521 | 2009/02/02 | 2009/02/02 | BACCARAT | FR | 24 |
| N/034522 | 2009/02/02 | 2009/02/02 | BACCARAT | FR | 25 |
| N/034523 | 2009/02/02 | 2009/02/02 | BACCARAT | FR | 26 |
| N/034524 | 2009/02/02 | 2009/02/02 | BACCARAT | FR | 34 |
| N/034525 | 2009/02/02 | 2009/02/02 | BACCARAT | FR | 35 |
| N/034526 | 2009/02/02 | 2009/02/02 | BACCARAT | FR | 36 |
| N/034527 | 2009/02/02 | 2009/02/02 | BACCARAT | FR | 38 |
| N/034528 | 2009/02/02 | 2009/02/02 | BACCARAT | FR | 39 |
| N/034529 | 2009/02/02 | 2009/02/02 | BACCARAT | FR | 41 |
| N/034530 | 2009/02/02 | 2009/02/02 | BACCARAT | FR | 43 |
| N/034531 | 2009/02/02 | 2009/02/02 | BACCARAT | FR | 44 |
| N/034593 | 2009/02/02 | 2009/02/02 | BACCARAT | FR | 43 |
| 17 N/034594 | 2009/02/02 | 2009/02/02 | BACCARAT | FR | 43 |
| N/034953 | 2009/02/02 | 2009/02/02 | Deutsche Bahn AG | DE | 16 |
| N/034954 | 2009/02/02 | 2009/02/02 | Deutsche Bahn AG | DE | 20 |
| N/034955 | 2009/02/02 | 2009/02/02 | Deutsche Bahn AG | DE | 39 |
| 13 N/035122 | 2009/02/02 | 2009/02/02 | Aruze Corporation | JP | 09 |
| N/035131 | 2009/02/02 | 2009/02/02 | American-Cigarette Company (Overseas) Limited | CH | 34 |
| N/035248 | 2009/02/02 | 2009/02/02 | American-Cigarette Company (Overseas) Limited | CH | 34 |
| N/035249 | 2009/02/02 | 2009/02/02 | American-Cigarette Company (Overseas) Limited | CH | 34 |
| N/035250 | 2009/02/02 | 2009/02/02 | American-Cigarette Company (Overseas) Limited | CH | 34 |
| N/035372 | 2009/02/02 | 2009/02/02 | SOREMARTEC S.A. | BE | 30 |
| N/035389 | 2009/02/02 | 2009/02/02 | Pfizer Inc. | US | 05 |
| 18 N/035511 | 2009/02/02 | 2009/02/02 | Niche Media Holdings, LLC | US | 16 |
| 18 N/035512 | 2009/02/02 | 2009/02/02 | Niche Media Holdings, LLC | US | 41 |
| N/035706 | 2009/02/02 | 2009/02/02 | American-Cigarette Company (Overseas) Limited | CH | 34 |
| N/035707 | 2009/02/02 | 2009/02/02 | American-Cigarette Company (Overseas) Limited | CH | 34 |
| N/035708 | 2009/02/02 | 2009/02/02 | American-Cigarette Company (Overseas) Limited | CH | 34 |
| N/035709 | 2009/02/02 | 2009/02/02 | American-Cigarette Company (Overseas) Limited | CH | 34 |
| N/035711 | 2009/02/02 | 2009/02/02 | Ferrarelle S.p.A. | IT | 32 |
| N/035712 | 2009/02/02 | 2009/02/02 | Ferrarelle S.p.A. | IT | 32 |
| N/035753 | 2009/02/02 | 2009/02/02 | l¥Í¦æ¦³¤½¥q | HK | 03 |
| N/035754 | 2009/02/02 | 2009/02/02 | l¥Í¦æ¦³¤½¥q | HK | 05 |
| N/035755 | 2009/02/02 | 2009/02/02 | l¥Í¦æ¦³¤½¥q | HK | 03 |
| N/035756 | 2009/02/02 | 2009/02/02 | l¥Í¦æ¦³¤½¥q | HK | 05 |
| N/035987 | 2009/02/02 | 2009/02/02 | West Paces Hotel Group Asia Pte. Ltd. | SG | 35 |
| N/035988 | 2009/02/02 | 2009/02/02 | West Paces Hotel Group Asia Pte. Ltd. | SG | 43 |
| 11 N/036127 | 2009/02/02 | 2009/02/02 | ³Í±Ûªù°s©±ºÞ²z¦³¤½¥q Companhia de Administração Hotelaria Arco do Triunfo Limitada / Arc of Triumph Hotel Management Company Limited |
MO | 39 |
| 11 N/036128 | 2009/02/02 | 2009/02/02 | ³Í±Ûªù°s©±ºÞ²z¦³¤½¥q Companhia de Administração Hotelaria Arco do Triunfo Limitada / Arc of Triumph Hotel Management Company Limited |
MO | 41 |
| 11 N/036129 | 2009/02/02 | 2009/02/02 | ³Í±Ûªù°s©±ºÞ²z¦³¤½¥q Companhia de Administração Hotelaria Arco do Triunfo Limitada / Arc of Triumph Hotel Management Company Limited |
MO | 43 |
| 19 N/036130 | 2009/02/02 | 2009/02/02 | ³Í±Ûªù°s©±ºÞ²z¦³¤½¥q Companhia de Administração Hotelaria Arco do Triunfo Limitada / Arc of Triumph Hotel Management Company Limited |
MO | 39 |
| 19 N/036131 | 2009/02/02 | 2009/02/02 | ³Í±Ûªù°s©±ºÞ²z¦³¤½¥q Companhia de Administração Hotelaria Arco do Triunfo Limitada / Arc of Triumph Hotel Management Company Limited |
MO | 41 |
| 19 N/036132 | 2009/02/02 | 2009/02/02 | ³Í±Ûªù°s©±ºÞ²z¦³¤½¥q Companhia de Administração Hotelaria Arco do Triunfo Limitada / Arc of Triumph Hotel Management Company Limited |
MO | 43 |
| 20 N/036133 | 2009/02/02 | 2009/02/02 | ³Í±Ûªù°s©±ºÞ²z¦³¤½¥q Companhia de Administração Hotelaria Arco do Triunfo Limitada / Arc of Triumph Hotel Management Company Limited |
MO | 39 |
| 20 N/036134 | 2009/02/02 | 2009/02/02 | ³Í±Ûªù°s©±ºÞ²z¦³¤½¥q Companhia de Administração Hotelaria Arco do Triunfo Limitada / Arc of Triumph Hotel Management Company Limited |
MO | 41 |
| 20 N/036135 | 2009/02/02 | 2009/02/02 | ³Í±Ûªù°s©±ºÞ²z¦³¤½¥q Companhia de Administração Hotelaria Arco do Triunfo Limitada / Arc of Triumph Hotel Management Company Limited |
MO | 43 |
| 20 N/036136 | 2009/02/02 | 2009/02/02 | ³Í±Ûªù°s©±ºÞ²z¦³¤½¥q Companhia de Administração Hotelaria Arco do Triunfo Limitada / Arc of Triumph Hotel Management Company Limited |
MO | 39 |
| 20 N/036137 | 2009/02/02 | 2009/02/02 | ³Í±Ûªù°s©±ºÞ²z¦³¤½¥q Companhia de Administração Hotelaria Arco do Triunfo Limitada / Arc of Triumph Hotel Management Company Limited |
MO | 41 |
| 20 N/036138 | 2009/02/02 | 2009/02/02 | ³Í±Ûªù°s©±ºÞ²z¦³¤½¥q Companhia de Administração Hotelaria Arco do Triunfo Limitada / Arc of Triumph Hotel Management Company Limited |
MO | 43 |
| 21 N/036273 | 2009/02/02 | 2009/02/02 | Ferrarelle S.p.A. | IT | 32 |
| N/036572 | 2009/02/02 | 2009/02/02 | ESQUIRES COFFEE CHINA LIMITED | NZ | 30 |
| N/036573 | 2009/02/02 | 2009/02/02 | ESQUIRES COFFEE CHINA LIMITED | NZ | 43 |
| N/036574 | 2009/02/02 | 2009/02/02 | LSD GLOBAL LIMITED | NZ | 30 |
| N/036575 | 2009/02/02 | 2009/02/02 | LSD GLOBAL LIMITED | NZ | 43 |
| N/036576 | 2009/02/02 | 2009/02/02 | LSD GLOBAL LIMITED | NZ | 30 |
| N/036577 | 2009/02/02 | 2009/02/02 | LSD GLOBAL LIMITED | NZ | 43 |
| 22 N/036710 | 2009/02/02 | 2009/02/02 | Palmerston Limited | IM | 09 |
| N/036711 | 2009/02/02 | 2009/02/02 | Palmerston Limited | IM | 35 |
| N/036712 | 2009/02/02 | 2009/02/02 | Palmerston Limited | IM | 36 |
| N/036713 | 2009/02/02 | 2009/02/02 | Palmerston Limited | IM | 37 |
| N/036714 | 2009/02/02 | 2009/02/02 | Palmerston Limited | IM | 38 |
| N/036715 | 2009/02/02 | 2009/02/02 | Palmerston Limited | IM | 39 |
| N/036716 | 2009/02/02 | 2009/02/02 | Palmerston Limited | IM | 41 |
| N/036717 | 2009/02/02 | 2009/02/02 | Palmerston Limited | IM | 42 |
| N/037396 | 2009/02/02 | 2009/02/02 | PUMA AG Rudolf Dassler Sport | DE | 03 |
| N/037397 | 2009/02/02 | 2009/02/02 | PUMA AG Rudolf Dassler Sport | DE | 14 |
| N/037398 | 2009/02/02 | 2009/02/02 | PUMA AG Rudolf Dassler Sport | DE | 18 |
| N/037399 | 2009/02/02 | 2009/02/02 | PUMA AG Rudolf Dassler Sport | DE | 25 |
| N/037400 | 2009/02/02 | 2009/02/02 | PUMA AG Rudolf Dassler Sport | DE | 28 |
| N/037479 | 2009/02/02 | 2009/02/02 | Groz-Beckert KG | DE | 01 |
| N/037480 | 2009/02/02 | 2009/02/02 | Groz-Beckert KG | DE | 03 |
| N/037481 | 2009/02/02 | 2009/02/02 | Groz-Beckert KG | DE | 04 |
| N/037482 | 2009/02/02 | 2009/02/02 | Groz-Beckert KG | DE | 07 |
| N/037483 | 2009/02/02 | 2009/02/02 | Groz-Beckert KG | DE | 20 |
| N/037484 | 2009/02/02 | 2009/02/02 | Groz-Beckert KG | DE | 21 |
| N/037485 | 2009/02/02 | 2009/02/02 | Groz-Beckert KG | DE | 23 |
| N/037486 | 2009/02/02 | 2009/02/02 | Groz-Beckert KG | DE | 24 |
| N/037487 | 2009/02/02 | 2009/02/02 | Groz-Beckert KG | DE | 26 |
| N/037488 | 2009/02/02 | 2009/02/02 | Groz-Beckert KG | DE | 38 |
| N/037489 | 2009/02/02 | 2009/02/02 | Groz-Beckert KG | DE | 42 |
| N/037558 | 2009/02/02 | 2009/02/02 | ·R[¸Ö±M·~¦³¤½¥q AMOS PROFESSIONAL CORPORATION |
KR | 03 |
| N/037561 | 2009/02/02 | 2009/02/02 | µL²K¥[¤Æ§©«~¦³¤½¥q Fantastic Natural Cosmetics Limited |
HK | 03 |
| N/037562 | 2009/02/02 | 2009/02/02 | µL²K¥[¤Æ§©«~¦³¤½¥q Fantastic Natural Cosmetics Limited |
HK | 05 |
| N/037563 | 2009/02/02 | 2009/02/02 | µL²K¥[¤Æ§©«~¦³¤½¥q Fantastic Natural Cosmetics Limited |
HK | 29 |
| N/037564 | 2009/02/02 | 2009/02/02 | µL²K¥[¤Æ§©«~¦³¤½¥q Fantastic Natural Cosmetics Limited |
HK | 30 |
| N/037565 | 2009/02/02 | 2009/02/02 | µL²K¥[¤Æ§©«~¦³¤½¥q Fantastic Natural Cosmetics Limited |
HK | 32 |
| N/037566 | 2009/02/02 | 2009/02/02 | µL²K¥[¤Æ§©«~¦³¤½¥q Fantastic Natural Cosmetics Limited |
HK | 35 |
| N/037567 | 2009/02/02 | 2009/02/02 | µL²K¥[¤Æ§©«~¦³¤½¥q Fantastic Natural Cosmetics Limited |
HK | 03 |
| N/037568 | 2009/02/02 | 2009/02/02 | µL²K¥[¤Æ§©«~¦³¤½¥q Fantastic Natural Cosmetics Limited |
HK | 05 |
| N/037569 | 2009/02/02 | 2009/02/02 | µL²K¥[¤Æ§©«~¦³¤½¥q Fantastic Natural Cosmetics Limited |
HK | 29 |
| N/037570 | 2009/02/02 | 2009/02/02 | µL²K¥[¤Æ§©«~¦³¤½¥q Fantastic Natural Cosmetics Limited |
HK | 30 |
| N/037571 | 2009/02/02 | 2009/02/02 | µL²K¥[¤Æ§©«~¦³¤½¥q Fantastic Natural Cosmetics Limited |
HK | 32 |
| N/037572 | 2009/02/02 | 2009/02/02 | µL²K¥[¤Æ§©«~¦³¤½¥q Fantastic Natural Cosmetics Limited |
HK | 35 |
| N/037573 | 2009/02/02 | 2009/02/02 | µL²K¥[¤Æ§©«~¦³¤½¥q Fantastic Natural Cosmetics Limited |
HK | 03 |
| N/037574 | 2009/02/02 | 2009/02/02 | µL²K¥[¤Æ§©«~¦³¤½¥q Fantastic Natural Cosmetics Limited |
HK | 05 |
| N/037575 | 2009/02/02 | 2009/02/02 | µL²K¥[¤Æ§©«~¦³¤½¥q Fantastic Natural Cosmetics Limited |
HK | 29 |
| N/037576 | 2009/02/02 | 2009/02/02 | µL²K¥[¤Æ§©«~¦³¤½¥q Fantastic Natural Cosmetics Limited |
HK | 30 |
| N/037577 | 2009/02/02 | 2009/02/02 | µL²K¥[¤Æ§©«~¦³¤½¥q Fantastic Natural Cosmetics Limited |
HK | 32 |
| N/037578 | 2009/02/02 | 2009/02/02 | µL²K¥[¤Æ§©«~¦³¤½¥q Fantastic Natural Cosmetics Limited |
HK | 35 |
| N/037579 | 2009/02/02 | 2009/02/02 | µL²K¥[¤Æ§©«~¦³¤½¥q Fantastic Natural Cosmetics Limited |
HK | 03 |
| N/037580 | 2009/02/02 | 2009/02/02 | µL²K¥[¤Æ§©«~¦³¤½¥q Fantastic Natural Cosmetics Limited |
HK | 05 |
| N/037581 | 2009/02/02 | 2009/02/02 | µL²K¥[¤Æ§©«~¦³¤½¥q Fantastic Natural Cosmetics Limited |
HK | 29 |
| N/037582 | 2009/02/02 | 2009/02/02 | µL²K¥[¤Æ§©«~¦³¤½¥q Fantastic Natural Cosmetics Limited |
HK | 30 |
| N/037583 | 2009/02/02 | 2009/02/02 | µL²K¥[¤Æ§©«~¦³¤½¥q Fantastic Natural Cosmetics Limited |
HK | 32 |
| N/037584 | 2009/02/02 | 2009/02/02 | µL²K¥[¤Æ§©«~¦³¤½¥q Fantastic Natural Cosmetics Limited |
HK | 35 |
| N/037648 | 2009/02/02 | 2009/02/02 | ¹B°Ê«Ò°êªÑ¥÷¤½¥q EMPIRE OF SPORTS AG |
CH | 09 |
| N/037649 | 2009/02/02 | 2009/02/02 | ¹B°Ê«Ò°êªÑ¥÷¤½¥q EMPIRE OF SPORTS AG |
CH | 16 |
| N/037650 | 2009/02/02 | 2009/02/02 | ¹B°Ê«Ò°êªÑ¥÷¤½¥q EMPIRE OF SPORTS AG |
CH | 28 |
| N/037651 | 2009/02/02 | 2009/02/02 | ¹B°Ê«Ò°êªÑ¥÷¤½¥q EMPIRE OF SPORTS AG |
CH | 35 |
| N/037652 | 2009/02/02 | 2009/02/02 | ¹B°Ê«Ò°êªÑ¥÷¤½¥q EMPIRE OF SPORTS AG |
CH | 38 |
| N/037653 | 2009/02/02 | 2009/02/02 | ¹B°Ê«Ò°êªÑ¥÷¤½¥q EMPIRE OF SPORTS AG |
CH | 41 |
| N/037654 | 2009/02/02 | 2009/02/02 | ¹B°Ê«Ò°êªÑ¥÷¤½¥q EMPIRE OF SPORTS AG |
CH | 42 |
| N/037718 | 2009/02/02 | 2009/02/02 | Magneti Marelli Sistemas Automotivos Indústria e Comércio Ltda. | BR | 07 |
| N/037719 | 2009/02/02 | 2009/02/02 | Magneti Marelli Sistemas Automotivos Indústria e Comércio Ltda. | BR | 12 |
| N/037820 | 2009/02/02 | 2009/02/02 | OPTIC COUTURE LIMITED | GB | 09 |
| N/037833 | 2009/02/02 | 2009/02/02 | Schneider Electric S.A. | FR | 09 |
| N/037834 | 2009/02/02 | 2009/02/02 | Schneider Electric S.A. | FR | 09 |
| 23 N/037839 | 2009/02/02 | 2009/02/02 | I.P. Rights Licensing LLC | HK | 25 |
| 23 N/037840 | 2009/02/02 | 2009/02/02 | I.P. Rights Licensing LLC | HK | 41 |
| 23 N/037841 | 2009/02/02 | 2009/02/02 | I.P. Rights Licensing LLC | HK | 43 |
| N/037851 | 2009/02/02 | 2009/02/02 | Superga Trademark S.A. | LU | 09 |
| N/037852 | 2009/02/02 | 2009/02/02 | Superga Trademark S.A. | LU | 18 |
| N/037853 | 2009/02/02 | 2009/02/02 | Superga Trademark S.A. | LU | 25 |
| N/037854 | 2009/02/02 | 2009/02/02 | Superga Trademark S.A. | LU | 09 |
| N/037855 | 2009/02/02 | 2009/02/02 | Superga Trademark S.A. | LU | 18 |
| N/037856 | 2009/02/02 | 2009/02/02 | Superga Trademark S.A. | LU | 25 |
| N/037876 | 2009/02/02 | 2009/02/02 | British American Tobacco (Brands) Inc. | US | 34 |
| N/037878 | 2009/02/02 | 2009/02/02 | EUROFUSION, S.A. | PA | 32 |
| N/037879 | 2009/02/02 | 2009/02/02 | PERIDEO S.A. | GR | 14 |
| N/037880 | 2009/02/02 | 2009/02/02 | PERIDEO S.A. | GR | 18 |
| N/037881 | 2009/02/02 | 2009/02/02 | PERIDEO S.A. | GR | 20 |
| N/037882 | 2009/02/02 | 2009/02/02 | PERIDEO S.A. | GR | 34 |
| N/037883 | 2009/02/02 | 2009/02/02 | PERIDEO S.A. | GR | 14 |
| N/037884 | 2009/02/02 | 2009/02/02 | PERIDEO S.A. | GR | 18 |
| N/037885 | 2009/02/02 | 2009/02/02 | PERIDEO S.A. | GR | 20 |
| N/037886 | 2009/02/02 | 2009/02/02 | PERIDEO S.A. | GR | 34 |
| N/037887 | 2009/02/02 | 2009/02/02 | Magnotta Winery Estates Limited | CA | 33 |
| N/037888 | 2009/02/02 | 2009/02/02 | JOHNSON & JOHNSON CONSUMER FRANCE SAS | FR | 03 |
| N/037889 | 2009/02/02 | 2009/02/02 | ¤¤°êÁp¦X³q«H¦³¤½¥q CHINA UNITED TELECOMMUNICATIONS CORPORATION |
CN | 09 |
| N/037890 | 2009/02/02 | 2009/02/02 | ¤¤°êÁp¦X³q«H¦³¤½¥q CHINA UNITED TELECOMMUNICATIONS CORPORATION |
CN | 38 |
| N/037897 | 2009/02/02 | 2009/02/02 | High Tech Computer Corporation | TW | 09 |
| N/037898 | 2009/02/02 | 2009/02/02 | Nissan Jidosha Kabushiki Kaisha (also trading as Nissan Motor Co., Ltd.) | JP | 04 |
| N/037899 | 2009/02/02 | 2009/02/02 | ±ç§®®R Leong Mio Na |
MO | 16 |
| N/037900 | 2009/02/02 | 2009/02/02 | ¼B¤pªi | CN | 33 |
| N/037905 | 2009/02/02 | 2009/02/02 | SALVATORE FERRAGAMO ITALIA S.p.A. | IT | 35 |
| N/037906 | 2009/02/02 | 2009/02/02 | Las Vegas Convention and Visitors Authority | US | 35 |
| N/037907 | 2009/02/02 | 2009/02/02 | JOHN VARVATOS APPAREL CORP. | US | 03 |
| N/037908 | 2009/02/02 | 2009/02/02 | MARC JACOBS TRADEMARKS LLC | US | 18 |
| N/037909 | 2009/02/02 | 2009/02/02 | MARC JACOBS TRADEMARKS LLC | US | 25 |
| N/037910 | 2009/02/02 | 2009/02/02 | MARC JACOBS TRADEMARKS LLC | US | 09 |
| N/037911 | 2009/02/02 | 2009/02/02 | MARC JACOBS TRADEMARKS LLC | US | 14 |
| N/037912 | 2009/02/02 | 2009/02/02 | MARC JACOBS TRADEMARKS LLC | US | 18 |
| N/037913 | 2009/02/02 | 2009/02/02 | MARC JACOBS TRADEMARKS LLC | US | 25 |
| N/037914 | 2009/02/02 | 2009/02/02 | Otsuka Pharmaceutical Co., Ltd. | JP | 05 |
| N/037915 | 2009/02/02 | 2009/02/02 | KONINKLIJKE PHILIPS ELECTRONICS N.V. | NL | 09 |
| N/037916 | 2009/02/02 | 2009/02/02 | Henri Wintermans Cigars B.V. | NL | 34 |
| N/037917 | 2009/02/02 | 2009/02/02 | Wyeth | US | 05 |
| N/037918 | 2009/02/02 | 2009/02/02 | Melco Crown Entertainment Limited | KY | 35 |
| N/037919 | 2009/02/02 | 2009/02/02 | Melco Crown Entertainment Limited | KY | 36 |
| N/037920 | 2009/02/02 | 2009/02/02 | Melco Crown Entertainment Limited | KY | 37 |
| N/037921 | 2009/02/02 | 2009/02/02 | Melco Crown Entertainment Limited | KY | 39 |
| N/037922 | 2009/02/02 | 2009/02/02 | Melco Crown Entertainment Limited | KY | 41 |
| N/037923 | 2009/02/02 | 2009/02/02 | Melco Crown Entertainment Limited | KY | 43 |
| N/037924 | 2009/02/02 | 2009/02/02 | Melco Crown Entertainment Limited | KY | 44 |
| N/037925 | 2009/02/02 | 2009/02/02 | Melco Crown Entertainment Limited | KY | 45 |
| N/037926 | 2009/02/02 | 2009/02/02 | Global Retail Trademarks Limited | HK | 35 |
| N/037928 | 2009/02/02 | 2009/02/02 | ¤W®ü¥ìªÜ¤ß®®ªA¹¢¦³¤½¥q | CN | 25 |
| N/037929 | 2009/02/02 | 2009/02/02 | ¤W®ü¥ìªÜ¤ß®®ªA¹¢¦³¤½¥q | CN | 25 |
| N/037930 | 2009/02/02 | 2009/02/02 | ¤W®ü¥ìªÜ¤ß®®ªA¹¢¦³¤½¥q | CN | 25 |
| N/037931 | 2009/02/02 | 2009/02/02 | ¤¤ì¦Ê³f¶°¹ÎªÑ¥÷¦³¤½¥q ZOWEE DEPARTMENT STORES GROUP STOCK CO., LTD. |
CN | 35 |
| N/037932 | 2009/02/02 | 2009/02/02 | ¦¿Ä¬²±¥@Ä_¥É¦³¤½¥q | CN | 35 |
| N/037933 | 2009/02/02 | 2009/02/02 | ¿Dªù¤H°ê»ÚºÞ²z¦³¤½¥q COMPANHIA DE GESTÃO INTERNACIONAL MACAU FRIEND, LIMITADA |
MO | 29 |
| N/037934 | 2009/02/02 | 2009/02/02 | ¿Dªù¤H°ê»ÚºÞ²z¦³¤½¥q COMPANHIA DE GESTÃO INTERNACIONAL MACAU FRIEND, LIMITADA |
MO | 30 |
| N/037935 | 2009/02/02 | 2009/02/02 | ¿Dªù¤H°ê»ÚºÞ²z¦³¤½¥q COMPANHIA DE GESTÃO INTERNACIONAL MACAU FRIEND, LIMITADA |
MO | 31 |
| N/037936 | 2009/02/02 | 2009/02/02 | ¿Dªù¤H°ê»ÚºÞ²z¦³¤½¥q COMPANHIA DE GESTÃO INTERNACIONAL MACAU FRIEND, LIMITADA |
MO | 32 |
| N/037937 | 2009/02/02 | 2009/02/02 | ¿Dªù¤H°ê»ÚºÞ²z¦³¤½¥q COMPANHIA DE GESTÃO INTERNACIONAL MACAU FRIEND, LIMITADA |
MO | 43 |
| N/037938 | 2009/02/02 | 2009/02/02 | Construction Research & Technology GmbH | DE | 19 |
| 24 N/037940 | 2009/02/02 | 2009/02/02 | Tiara Hotels & Resorts | AE | 43 |
| 25 N/037941 | 2009/02/02 | 2009/02/02 | AIT Worldwide Logistics, Inc. | US | 39 |
| 26 N/037951 | 2009/02/02 | 2009/02/02 | STARWORLD HOTEL COMPANY LIMITED | MO | 43 |
| N/037952 | 2009/02/02 | 2009/02/02 | ¦ó¥É¬Â He Yuling |
MO | 41 |
| N/037953 | 2009/02/02 | 2009/02/02 | ¦ó¥É¬Â He Yuling |
MO | 45 |
| N/037954 | 2009/02/02 | 2009/02/02 | ³¯¸q°O«Ø§÷¦³¤½¥q COMPANHIA DE MATERIAIS DE CONSTRUÇÃO CHAN YEE KEI LDA., em inglês ¡§CHAN YEE KEE BUILDING MATERIALS CO., LTD.¡¨ |
MO | 06 |
| N/037955 | 2009/02/02 | 2009/02/02 | ³¯¸q°O«Ø§÷¦³¤½¥q COMPANHIA DE MATERIAIS DE CONSTRUÇÃO CHAN YEE KEI LDA., em inglês ¡§CHAN YEE KEE BUILDING MATERIALS CO., LTD.¡¨ |
MO | 11 |
| N/037956 | 2009/02/02 | 2009/02/02 | ³¯¸q°O«Ø§÷¦³¤½¥q COMPANHIA DE MATERIAIS DE CONSTRUÇÃO CHAN YEE KEI LDA., em inglês ¡§CHAN YEE KEE BUILDING MATERIALS CO., LTD.¡¨ |
MO | 20 |
| N/037957 | 2009/02/02 | 2009/02/02 | ³¯¸q°O«Ø§÷¦³¤½¥q COMPANHIA DE MATERIAIS DE CONSTRUÇÃO CHAN YEE KEI LDA., em inglês ¡§CHAN YEE KEE BUILDING MATERIALS CO., LTD.¡¨ |
MO | 21 |
| N/037958 | 2009/02/02 | 2009/02/02 | Watson Enterprises Limited | VG | 44 |
| N/037959 | 2009/02/02 | 2009/02/02 | Watson Enterprises Limited | VG | 44 |
| N/037960 | 2009/02/02 | 2009/02/02 | VISTA ALEGRE ATLANTIS, S.A. | PT | 21 |
| 27 N/037961 | 2009/02/02 | 2009/02/02 | Aruze Corporation | JP | 09 |
| N/037962 | 2009/02/02 | 2009/02/02 | Aruze Corporation | JP | 09 |
| N/037963 | 2009/02/02 | 2009/02/02 | MARC JACOBS TRADEMARKS LLC | US | 18 |
| N/037964 | 2009/02/02 | 2009/02/02 | MARC JACOBS TRADEMARKS LLC | US | 25 |
| N/037965 | 2009/02/02 | 2009/02/02 | Potter Electric Signal Company, LLC | US | 09 |
| N/037969 | 2009/02/02 | 2009/02/02 | IGT | US | 09 |
| N/037970 | 2009/02/02 | 2009/02/02 | IGT | US | 09 |
| N/037971 | 2009/02/02 | 2009/02/02 | IGT | US | 09 |
| N/037972 | 2009/02/02 | 2009/02/02 | IGT | US | 09 |
| N/037973 | 2009/02/02 | 2009/02/02 | IGT | US | 09 |
| N/037974 | 2009/02/02 | 2009/02/02 | IGT | US | 09 |
| N/037975 | 2009/02/02 | 2009/02/02 | IGT | US | 09 |
| N/037976 | 2009/02/02 | 2009/02/02 | IGT | US | 09 |
| N/037977 | 2009/02/02 | 2009/02/02 | IGT | US | 09 |
| N/037978 | 2009/02/02 | 2009/02/02 | IGT | US | 09 |
| N/037979 | 2009/02/02 | 2009/02/02 | IGT | US | 09 |
| N/037980 | 2009/02/02 | 2009/02/02 | IGT | US | 09 |
| N/037981 | 2009/02/02 | 2009/02/02 | IGT | US | 09 |
| N/037982 | 2009/02/02 | 2009/02/02 | IGT | US | 09 |
| N/037983 | 2009/02/02 | 2009/02/02 | IGT | US | 09 |
| N/037984 | 2009/02/02 | 2009/02/02 | IGT | US | 09 |
| N/037986 | 2009/02/02 | 2009/02/02 | IGT | US | 09 |
| N/037987 | 2009/02/02 | 2009/02/02 | KABUSHIKI KAISHA TOSHIBA, also trading as Toshiba Corporation | JP | 09 |
| N/037988 | 2009/02/02 | 2009/02/02 | KABUSHIKI KAISHA TOSHIBA, also trading as Toshiba Corporation | JP | 09 |
| N/037989 | 2009/02/02 | 2009/02/02 | Aristocrat Technologies Australia Pty Ltd | AU | 28 |
| N/037991 | 2009/02/02 | 2009/02/02 | Aristocrat Technologies Australia Pty Ltd | AU | 09 |
| N/037992 | 2009/02/02 | 2009/02/02 | Aristocrat Technologies Australia Pty Ltd | AU | 09 |
| N/037993 | 2009/02/02 | 2009/02/02 | Aristocrat Technologies Australia Pty Ltd | AU | 28 |
| N/037994 | 2009/02/02 | 2009/02/02 | Aristocrat Technologies Australia Pty Ltd | AU | 28 |
| N/037995 | 2009/02/02 | 2009/02/02 | Aristocrat Technologies Australia Pty Ltd | AU | 28 |
| N/037996 | 2009/02/02 | 2009/02/02 | Aristocrat Technologies Australia Pty Ltd | AU | 28 |
| N/037997 | 2009/02/02 | 2009/02/02 | ªù´I¤h¤è¤ó¯¼Â´¾÷±ñ¡]¿DªùÂ÷©¤°Ó·~ªA°È¡^¦³¤½¥q MONFORTS FONG¡¦S TÊXTEIS MAQUINARIA (COMERCIAL OFFSHORE DE MACAU) LIMITADA |
MO | 07 |
| N/037998 | 2009/02/02 | 2009/02/02 | ªù´I¤h¤è¤ó¯¼Â´¾÷±ñ¡]¿DªùÂ÷©¤°Ó·~ªA°È¡^¦³¤½¥q MONFORTS FONG¡¦S TÊXTEIS MAQUINARIA (COMERCIAL OFFSHORE DE MACAU) LIMITADA |
MO | 07 |
| N/037999 | 2009/02/02 | 2009/02/02 | V Intellect Company Limited | HK | 03 |
| N/038000 | 2009/02/02 | 2009/02/02 | V Intellect Company Limited | HK | 04 |
| N/038001 | 2009/02/02 | 2009/02/02 | V Intellect Company Limited | HK | 08 |
| N/038002 | 2009/02/02 | 2009/02/02 | V Intellect Company Limited | HK | 14 |
| N/038003 | 2009/02/02 | 2009/02/02 | V Intellect Company Limited | HK | 16 |
| N/038004 | 2009/02/02 | 2009/02/02 | V Intellect Company Limited | HK | 18 |
| N/038005 | 2009/02/02 | 2009/02/02 | V Intellect Company Limited | HK | 21 |
| N/038006 | 2009/02/02 | 2009/02/02 | V Intellect Company Limited | HK | 22 |
| N/038007 | 2009/02/02 | 2009/02/02 | V Intellect Company Limited | HK | 24 |
| N/038008 | 2009/02/02 | 2009/02/02 | V Intellect Company Limited | HK | 25 |
| N/038010 | 2009/02/02 | 2009/02/02 | V Intellect Company Limited | HK | 43 |
| N/038014 | 2009/02/02 | 2009/02/02 | Babylon Limited | IL | 09 |
| N/038015 | 2009/02/02 | 2009/02/02 | Babylon Limited | IL | 09 |
| N/038016 | 2009/02/02 | 2009/02/02 | DFS Group L.P. | US | 35 |
| N/038017 | 2009/02/02 | 2009/02/02 | DFS Group L.P. | US | 35 |
| 28 N/038020 | 2009/02/02 | 2009/02/02 | MAESTRO LABORATORIES SDN. BHD. | MY | 03 |
| N/038021 | 2009/02/02 | 2009/02/02 | ºÖ«Ø¬Ù®Ê¦¿¥«·s¬ö¤¸¾c·~µo®i¦³¤½¥q | CN | 25 |
| N/038022 | 2009/02/02 | 2009/02/02 | TOUGH JEANS LIMITED | HK | 18 |
| N/038023 | 2009/02/02 | 2009/02/02 | TOUGH JEANS LIMITED | HK | 25 |
| N/038024 | 2009/02/02 | 2009/02/02 | CHENG, Yiu Cho Joe | US | 03 |
| N/038025 | 2009/02/02 | 2009/02/02 | CHENG, Yiu Cho Joe | US | 18 |
| N/038026 | 2009/02/02 | 2009/02/02 | CHENG, Yiu Cho Joe | US | 25 |
| N/038027 | 2009/02/02 | 2009/02/02 | ILLYCAFFÈ S.p.A. CON UNICO SOCIO | IT | 09 |
| N/038028 | 2009/02/02 | 2009/02/02 | ILLYCAFFÈ S.p.A. CON UNICO SOCIO | IT | 16 |
| N/038029 | 2009/02/02 | 2009/02/02 | ILLYCAFFÈ S.p.A. CON UNICO SOCIO | IT | 24 |
| N/038030 | 2009/02/02 | 2009/02/02 | ILLYCAFFÈ S.p.A. CON UNICO SOCIO | IT | 25 |
| N/038031 | 2009/02/02 | 2009/02/02 | ILLYCAFFÈ S.p.A. CON UNICO SOCIO | IT | 30 |
| N/038032 | 2009/02/02 | 2009/02/02 | ILLYCAFFÈ S.p.A. CON UNICO SOCIO | IT | 32 |
| N/038033 | 2009/02/02 | 2009/02/02 | ILLYCAFFÈ S.p.A. CON UNICO SOCIO | IT | 33 |
| N/038034 | 2009/02/02 | 2009/02/02 | ILLYCAFFÈ S.p.A. CON UNICO SOCIO | IT | 35 |
| N/038035 | 2009/02/02 | 2009/02/02 | Pasquale Bruni S.p.A. | IT | 14 |
| N/038039 | 2009/02/02 | 2009/02/02 | Montres Antima S.A. | CH | 14 |
| N/038040 | 2009/02/02 | 2009/02/02 | Diageo Scotland Limited | GB | 33 |
| N/038041 | 2009/02/02 | 2009/02/02 | Diageo Scotland Limited | GB | 33 |
| N/038042 | 2009/02/02 | 2009/02/02 | Construction Research & Technology GmbH | DE | 19 |
| N/038043 | 2009/02/02 | 2009/02/02 | Construction Research & Technology GmbH | DE | 19 |
| N/038044 | 2009/02/02 | 2009/02/02 | Construction Research & Technology GmbH | DE | 01 |
| N/038045 | 2009/02/02 | 2009/02/02 | Construction Research & Technology GmbH | DE | 17 |
| N/038046 | 2009/02/02 | 2009/02/02 | Samsung Electronics Co., Ltd. | KR | 09 |
| N/038053 | 2009/02/02 | 2009/02/02 | ¿Dªù^¤~¦³¤½¥q MACAUHR LIMITADA |
MO | 16 |
| 29 N/038054 | 2009/02/02 | 2009/02/02 | ¿Dªù^¤~¦³¤½¥q MACAUHR LIMITADA |
MO | 16 |
| N/038055 | 2009/02/02 | 2009/02/02 | ¿Dªù^¤~¦³¤½¥q MACAUHR LIMITADA |
MO | 35 |
| N/038057 | 2009/02/02 | 2009/02/02 | IGT | US | 09 |
| N/038061 | 2009/02/02 | 2009/02/02 | IGT | US | 09 |
| N/038062 | 2009/02/02 | 2009/02/02 | IGT | US | 09 |
| N/038063 | 2009/02/02 | 2009/02/02 | IGT | US | 09 |
| N/038064 | 2009/02/02 | 2009/02/02 | IGT | US | 09 |
| N/038065 | 2009/02/02 | 2009/02/02 | IGT | US | 09 |
| N/038066 | 2009/02/02 | 2009/02/02 | IGT | US | 09 |
| N/038067 | 2009/02/02 | 2009/02/02 | IGT | US | 09 |
| N/038068 | 2009/02/02 | 2009/02/02 | IGT | US | 09 |
| N/038069 | 2009/02/02 | 2009/02/02 | IGT | US | 09 |
| N/038070 | 2009/02/02 | 2009/02/02 | IGT | US | 09 |
| N/038071 | 2009/02/02 | 2009/02/02 | IGT | US | 09 |
| N/038072 | 2009/02/02 | 2009/02/02 | IGT | US | 09 |
| N/038073 | 2009/02/02 | 2009/02/02 | IGT | US | 09 |
| N/038074 | 2009/02/02 | 2009/02/02 | °¶µØ¡]¶°¹Î¡^¶T©ö¦³¤½¥q VIVA (GROUP) TRADING COMPANY LIMITED |
MO | 03 |
| N/038075 | 2009/02/02 | 2009/02/02 | °¶µØ¡]¶°¹Î¡^¶T©ö¦³¤½¥q VIVA (GROUP) TRADING COMPANY LIMITED |
MO | 03 |
| N/038076 | 2009/02/02 | 2009/02/02 | ªL¬f¡]¿Dªù¡^¶T©ö¦³¤½¥q LAMBERT (MACAU) IMPORT & EXPORT CO. LTD. |
MO | 32 |
| N/038077 | 2009/02/02 | 2009/02/02 | Aruze Corporation | JP | 09 |
| N/038078 | 2009/02/02 | 2009/02/02 | Aruze Corporation | JP | 09 |
| N/038079 | 2009/02/02 | 2009/02/02 | Samsonite Corporation | US | 18 |
| N/038080 | 2009/02/02 | 2009/02/02 | Samsonite Corporation | US | 18 |
| N/038081 | 2009/02/02 | 2009/02/02 | ùģ¿³ | HK | 35 |
| N/038082 | 2009/02/02 | 2009/02/02 | ¥þ«l¦³¤½¥q Global Active Limited |
SG | 05 |
| N/038083 | 2009/02/02 | 2009/02/02 | ¥þ«l¦³¤½¥q Global Active Limited |
SG | 29 |
| N/038084 | 2009/02/02 | 2009/02/02 | ¥þ«l¦³¤½¥q Global Active Limited |
SG | 30 |
| N/038085 | 2009/02/02 | 2009/02/02 | ¥þ«l¦³¤½¥q Global Active Limited |
SG | 32 |
| N/038086 | 2009/02/02 | 2009/02/02 | ¥þ«l¦³¤½¥q Global Active Limited |
SG | 35 |
| N/038087 | 2009/02/02 | 2009/02/02 | ¥þ«l¦³¤½¥q Global Active Limited |
SG | 05 |
| N/038088 | 2009/02/02 | 2009/02/02 | ¥þ«l¦³¤½¥q Global Active Limited |
SG | 29 |
| N/038089 | 2009/02/02 | 2009/02/02 | ¥þ«l¦³¤½¥q Global Active Limited |
SG | 30 |
| N/038090 | 2009/02/02 | 2009/02/02 | ¥þ«l¦³¤½¥q Global Active Limited |
SG | 32 |
| N/038091 | 2009/02/02 | 2009/02/02 | ¥þ«l¦³¤½¥q Global Active Limited |
SG | 35 |
| N/038095 | 2009/02/02 | 2009/02/02 | Construction Research & Technology GmbH | DE | 19 |
| 20 N/038096 | 2009/02/02 | 2009/02/02 | ¿Dªù¤£©]«°¶Ç´C§ë¸ê¶°¹Î¦³¤½¥q | MO | 16 |
| 20 N/038097 | 2009/02/02 | 2009/02/02 | ¿Dªù¤£©]«°¶Ç´C§ë¸ê¶°¹Î¦³¤½¥q | MO | 35 |
| 20 N/038098 | 2009/02/02 | 2009/02/02 | ¿Dªù¤£©]«°¶Ç´C§ë¸ê¶°¹Î¦³¤½¥q | MO | 41 |
| N/038099 | 2009/02/02 | 2009/02/02 | Diageo North America, Inc. | US | 33 |
| N/038101 | 2009/02/02 | 2009/02/02 | KIRIN HOLDINGS KABUSHIKI KAISHA (ALSO TRADING AS KIRIN HOLDINGS CO., LTD.) | JP | 05 |
| N/038102 | 2009/02/02 | 2009/02/02 | KIRIN HOLDINGS KABUSHIKI KAISHA (ALSO TRADING AS KIRIN HOLDINGS CO., LTD.) | JP | 30 |
| N/038104 | 2009/02/02 | 2009/02/02 | KIRIN HOLDINGS KABUSHIKI KAISHA (ALSO TRADING AS KIRIN HOLDINGS CO., LTD.) | JP | 33 |
| N/038106 | 2009/02/02 | 2009/02/02 | KIRIN HOLDINGS KABUSHIKI KAISHA (ALSO TRADING AS KIRIN HOLDINGS CO., LTD.) | JP | 30 |
| N/038109 | 2009/02/02 | 2009/02/02 | OPA Holdings Limited | HK | 16 |
| N/038110 | 2009/02/02 | 2009/02/02 | OPA Holdings Limited | HK | 18 |
| N/038111 | 2009/02/02 | 2009/02/02 | OPA Holdings Limited | HK | 25 |
| N/038112 | 2009/02/02 | 2009/02/02 | OPA Holdings Limited | HK | 35 |
| N/038113 | 2009/02/02 | 2009/02/02 | COMPAÑIA INDUSTRIAL DE TABACOS MONTE PAZ S.A. | UY | 34 |
| N/038114 | 2009/02/02 | 2009/02/02 | ¤sªF¥ýÁn³Á±o¬z¥Íª«»sÃĦ³¤½¥q SHANDONG SIMCERE-MEDGENN BIO-PHARMACEUTICAL CO., LTD. |
CN | 05 |
| N/038115 | 2009/02/02 | 2009/02/02 | British American Tobacco (Brands) Inc. | US | 34 |
| N/038116 | 2009/02/02 | 2009/02/02 | Annex Brands, Inc. | US | 35 |
| N/038117 | 2009/02/02 | 2009/02/02 | Annex Brands, Inc. | US | 39 |
| N/038118 | 2009/02/02 | 2009/02/02 | Annex Brands, Inc. | US | 40 |
| N/038119 | 2009/02/02 | 2009/02/02 | Annex Brands, Inc. | US | 41 |
| N/038120 | 2009/02/02 | 2009/02/02 | RE/MAX International, Inc. | US | 35 |
| N/038121 | 2009/02/02 | 2009/02/02 | RE/MAX International, Inc. | US | 36 |
| N/038124 | 2009/02/02 | 2009/02/02 | ³ø³ß³¾¶°¹Î¦³¤½¥q BAOXINIAO GROUP CO., LTD. |
CN | 18 |
| N/038125 | 2009/02/02 | 2009/02/02 | ³ø³ß³¾¶°¹Î¦³¤½¥q BAOXINIAO GROUP CO., LTD. |
CN | 25 |
| N/038126 | 2009/02/02 | 2009/02/02 | ³qµ{°ê»Ú¦³¤½¥q LION SHARE INTERNATIONAL LIMITED |
HK | 16 |
| N/038128 | 2009/02/02 | 2009/02/02 | KO IO - COMPANHIA DE SOM E IMAGEM (INTERNACIONAL), LIMITADA | MO | 09 |
| N/038129 | 2009/02/02 | 2009/02/02 | KO IO - COMPANHIA DE SOM E IMAGEM (INTERNACIONAL), LIMITADA | MO | 35 |
| N/038150 | 2009/02/02 | 2009/02/02 | EXXON MOBIL CORPORATION | US | 35 |
| N/038151 | 2009/02/02 | 2009/02/02 | EXXON MOBIL CORPORATION | US | 43 |
| N/038152 | 2009/02/02 | 2009/02/02 | S.S. SEIYAKU KABUSHIKI KAISHA (SSP CO., LTD.) | JP | 05 |
| 30 N/038153 | 2009/02/02 | 2009/02/02 | S.S. SEIYAKU KABUSHIKI KAISHA (SSP CO., LTD.) | JP | 03 |
| 30 N/038154 | 2009/02/02 | 2009/02/02 | S.S. SEIYAKU KABUSHIKI KAISHA (SSP CO., LTD.) | JP | 05 |
| 30 N/038155 | 2009/02/02 | 2009/02/02 | S.S. SEIYAKU KABUSHIKI KAISHA (SSP CO., LTD.) | JP | 30 |
| N/038156 | 2009/02/02 | 2009/02/02 | The H. D. Lee Company, Inc. | US | 25 |
| N/038157 | 2009/02/02 | 2009/02/02 | The H. D. Lee Company, Inc. | US | 41 |
| N/038158 | 2009/02/02 | 2009/02/02 | ¿Dªù^¤~¦³¤½¥q MACAUHR LIMITADA |
MO | 42 |
| N/038160 | 2009/02/02 | 2009/02/02 | ¦ó°ê¼Ù | HK | 30 |
| N/038161 | 2009/02/02 | 2009/02/02 | ¦ó°ê¼Ù | HK | 29 |
| N/038162 | 2009/02/02 | 2009/02/02 | ¦ó°ê¼Ù | HK | 29 |
| N/038163 | 2009/02/02 | 2009/02/02 | ¦ó°ê¼Ù | HK | 29 |
| N/038164 | 2009/02/02 | 2009/02/02 | ±d®¶¦³¤½¥q | HK | 03 |
| N/038165 | 2009/02/02 | 2009/02/02 | ¦ã§J³tªA¹¢¦³¤½¥q X¡¦Zuit Apparel Limited |
HK | 25 |
| N/038166 | 2009/02/02 | 2009/02/02 | PHILIP MORRIS PRODUCTS S.A. | CH | 34 |
| N/038167 | 2009/02/02 | 2009/02/02 | ¤¤°ê»È¦æªÑ¥÷¦³¤½¥q | CN | 36 |
| N/038168 | 2009/02/02 | 2009/02/02 | ¼sªF¸t¬ù¿«°ê»Ú¶T©ö¦³¤½¥q ST. JOHN INTERNATIONAL TRADING CO., LTD. |
CN | 25 |
| N/038169 | 2009/02/02 | 2009/02/02 | ¼sªF¸t¬ù¿«°ê»Ú¶T©ö¦³¤½¥q ST. JOHN INTERNATIONAL TRADING CO., LTD. |
CN | 18 |
| N/038170 | 2009/02/02 | 2009/02/02 | ®}À鶯 | CN | 30 |
| N/038185 | 2009/02/02 | 2009/02/02 | Nanyang Brothers Tobacco Company Limited | HK | 34 |
| N/038186 | 2009/02/02 | 2009/02/02 | Nanyang Brothers Tobacco Company Limited | HK | 34 |
| N/038187 | 2009/02/02 | 2009/02/02 | BIOFARMA | FR | 05 |
| N/038188 | 2009/02/02 | 2009/02/02 | BIOFARMA | FR | 05 |
| N/038189 | 2009/02/02 | 2009/02/02 | The Coca-Cola Company | US | 30 |
| N/038190 | 2009/02/02 | 2009/02/02 | The Coca-Cola Company | US | 32 |
| N/038191 | 2009/02/02 | 2009/02/02 | Carview Corporation | JP | 35 |
| N/038192 | 2009/02/02 | 2009/02/02 | VALENTINO S.p.A. | IT | 03 |
| N/038193 | 2009/02/02 | 2009/02/02 | VALENTINO S.p.A. | IT | 09 |
| N/038194 | 2009/02/02 | 2009/02/02 | VALENTINO S.p.A. | IT | 14 |
| N/038195 | 2009/02/02 | 2009/02/02 | VALENTINO S.p.A. | IT | 16 |
| N/038196 | 2009/02/02 | 2009/02/02 | VALENTINO S.p.A. | IT | 18 |
| N/038197 | 2009/02/02 | 2009/02/02 | VALENTINO S.p.A. | IT | 21 |
| N/038198 | 2009/02/02 | 2009/02/02 | VALENTINO S.p.A. | IT | 24 |
| N/038199 | 2009/02/02 | 2009/02/02 | VALENTINO S.p.A. | IT | 35 |
| N/038200 | 2009/02/02 | 2009/02/02 | VALENTINO S.p.A. | IT | 18 |
| N/038201 | 2009/02/02 | 2009/02/02 | VALENTINO S.p.A. | IT | 25 |
| N/038202 | 2009/02/02 | 2009/02/02 | VALENTINO S.p.A. | IT | 03 |
| N/038203 | 2009/02/02 | 2009/02/02 | VALENTINO S.p.A. | IT | 09 |
| N/038204 | 2009/02/02 | 2009/02/02 | VALENTINO S.p.A. | IT | 14 |
| N/038205 | 2009/02/02 | 2009/02/02 | VALENTINO S.p.A. | IT | 16 |
| N/038206 | 2009/02/02 | 2009/02/02 | VALENTINO S.p.A. | IT | 18 |
| N/038207 | 2009/02/02 | 2009/02/02 | VALENTINO S.p.A. | IT | 24 |
| N/038208 | 2009/02/02 | 2009/02/02 | VALENTINO S.p.A. | IT | 25 |
| N/038209 | 2009/02/02 | 2009/02/02 | VALENTINO S.p.A. | IT | 35 |
| 31 N/038210 | 2009/02/02 | 2009/02/02 | ¿Dªù¤£©]«°¶Ç´C§ë¸ê¶°¹Î¦³¤½¥q | MO | 35 |
| N/038211 | 2009/02/02 | 2009/02/02 | Asics Corporation | JP | 25 |
| N/038213 | 2009/02/02 | 2009/02/02 | Aristocrat Technologies Australia Pty Ltd | AU | 28 |
| N/038217 | 2009/02/02 | 2009/02/02 | NIPPON MENARD COSMETIC CO., LTD. | JP | 03 |
| N/038218 | 2009/02/02 | 2009/02/02 | NIPPON MENARD COSMETIC CO., LTD. | JP | 03 |
| N/038223 | 2009/02/02 | 2009/02/02 | J¤p¥ HU XIAOPING |
CN | 29 |
| N/038224 | 2009/02/02 | 2009/02/02 | ¹çªi¶øÑÔ¾÷±ñ¦³¤½¥q NINGBO AOSHENG MACHINE CO., LTD. |
CN | 07 |
| N/038225 | 2009/02/02 | 2009/02/02 | ®ý¦¿¤ªÚÂN¹ê·~ªÑ¥÷¦³¤½¥q ZHEJIANG WUFANGZHAI INDUSTRY CO., LTD. |
CN | 30 |
| N/038226 | 2009/02/02 | 2009/02/02 | ®ý¦¿¤ªÚÂN¹ê·~ªÑ¥÷¦³¤½¥q ZHEJIANG WUFANGZHAI INDUSTRY CO., LTD. |
CN | 43 |
| N/038227 | 2009/02/02 | 2009/02/02 | Hotel Waldo Limitada | MO | 43 |
| N/038228 | 2009/02/02 | 2009/02/02 | Hotel Waldo Limitada | MO | 43 |
| N/038229 | 2009/02/02 | 2009/02/02 | Hotel Waldo Limitada | MO | 43 |
| N/038230 | 2009/02/02 | 2009/02/02 | Hotel Waldo Limitada | MO | 43 |
| N/038232 | 2009/02/02 | 2009/02/02 | WMS Gaming Inc. | US | 41 |
| N/038233 | 2009/02/02 | 2009/02/02 | WMS Gaming Inc. | US | 41 |
| N/038234 | 2009/02/02 | 2009/02/02 | WMS Gaming Inc. | US | 41 |
| N/038235 | 2009/02/02 | 2009/02/02 | WMS Gaming Inc. | US | 41 |
| 32 N/038236 | 2009/02/02 | 2009/02/02 | ¤O¹F¸ê°TªA°È¦³¤½¥q | MO | 42 |
| N/038238 | 2009/02/02 | 2009/02/02 | Golay-Buchel et Cie S.A. | CH | 14 |
| N/038239 | 2009/02/02 | 2009/02/02 | Gelpeixe - Alimentos Congelados, S.A. | PT | 29 |
| 33 N/038240 | 2009/02/02 | 2009/02/02 | ³¢§g°¶ KUOK KUAN WAI |
MO | 30 |
| N/038241 | 2009/02/02 | 2009/02/02 | Kabushiki Kaisha Guramu (GRAMME CO.) | JP | 14 |
| N/038242 | 2009/02/02 | 2009/02/02 | Kabushiki Kaisha Guramu (GRAMME CO.) | JP | 35 |
| N/038243 | 2009/02/02 | 2009/02/02 | Kabushiki Kaisha Guramu (GRAMME CO.) | JP | 14 |
| N/038244 | 2009/02/02 | 2009/02/02 | Kabushiki Kaisha Guramu (GRAMME CO.) | JP | 35 |
| N/038246 | 2009/02/02 | 2009/02/02 | Asics Corporation | JP | 18 |
| N/038247 | 2009/02/02 | 2009/02/02 | NISSIN SHOKUHIN KABUSHIKI KAISHA doing business as NISSIN FOOD PRODUCTS CO., LTD. | JP | 30 |
| N/038248 | 2009/02/02 | 2009/02/02 | SATCHI SINGAPORE PTE LTD. | SG | 18 |
| N/038249 | 2009/02/02 | 2009/02/02 | SATCHI SINGAPORE PTE LTD. | SG | 25 |
| N/038250 | 2009/02/02 | 2009/02/02 | High Tech Computer Corporation | TW | 09 |
| 34 N/038251 | 2009/02/02 | 2009/02/02 | Best Western International, Inc. | US | 35 |
| N/038253 | 2009/02/02 | 2009/02/02 | Aristocrat Technologies Australia Pty Ltd | AU | 28 |
| N/038255 | 2009/02/02 | 2009/02/02 | Jo Malone Inc. | US | 04 |
| 35 N/038256 | 2009/02/02 | 2009/02/02 | Diageo North America, Inc. | US | 33 |
| N/038257 | 2009/02/02 | 2009/02/02 | MOMO DESIGN s.r.l. | IT | 14 |
| 36 N/038258 | 2009/02/02 | 2009/02/02 | Kaspersky Lab, ZAO | RU | 09 |
| 36 N/038259 | 2009/02/02 | 2009/02/02 | Kaspersky Lab, ZAO | RU | 42 |
| N/038260 | 2009/02/02 | 2009/02/02 | Marlies Dekkers Holding B.V. | NL | 25 |
| N/038261 | 2009/02/02 | 2009/02/02 | MD Group B.V. | NL | 25 |
| N/038262 | 2009/02/02 | 2009/02/02 | MD Group B.V. | NL | 09 |
| N/038263 | 2009/02/02 | 2009/02/02 | MD Group B.V. | NL | 25 |
| N/038264 | 2009/02/02 | 2009/02/02 | ¤Ú§JµÜ¥þ²y§ë¸ê¤½¥q Barclays Global Investors, N.A. |
US | 36 |
| N/038265 | 2009/02/02 | 2009/02/02 | ¤Ú§JµÜ¥þ²y§ë¸ê¤½¥q Barclays Global Investors, N.A. |
US | 36 |
| N/038269 | 2009/02/02 | 2009/02/02 | Retail Brand Alliance, Inc. | US | 03 |
| 37 N/038270 | 2009/02/02 | 2009/02/02 | Heirs of Alex and Engracia Reyes, Sr., Inc. | PH | 30 |
| 38 N/038271 | 2009/02/02 | 2009/02/02 | Heirs of Alex and Engracia Reyes, Sr., Inc. | PH | 43 |
| N/038272 | 2009/02/02 | 2009/02/02 | PHILIP MORRIS PRODUCTS S.A. | CH | 34 |
| N/038273 | 2009/02/02 | 2009/02/02 | ±ä®ü¿P Chou Hoi In |
MO | 05 |
| N/038274 | 2009/02/02 | 2009/02/02 | ¤×°ê©¾ | CN | 20 |
| N/038275 | 2009/02/02 | 2009/02/02 | Aruze Corporation | JP | 09 |
| N/038276 | 2009/02/02 | 2009/02/02 | Aruze Corporation | JP | 09 |
| N/038280 | 2009/02/02 | 2009/02/02 | BRIDGESTONE CORPORATION | JP | 12 |
| N/038281 | 2009/02/02 | 2009/02/02 | BRIDGESTONE CORPORATION | JP | 12 |
| N/038282 | 2009/02/02 | 2009/02/02 | BRIDGESTONE CORPORATION | JP | 12 |
| N/038284 | 2009/02/02 | 2009/02/02 | EINSTEIN AND NOAH CORP. | US | 30 |
| N/038285 | 2009/02/02 | 2009/02/02 | EINSTEIN AND NOAH CORP. | US | 43 |
| N/038286 | 2009/02/02 | 2009/02/02 | International Organization for Standardization | CH | 16 |
| N/038287 | 2009/02/02 | 2009/02/02 | International Organization for Standardization | CH | 35 |
| N/038288 | 2009/02/02 | 2009/02/02 | International Organization for Standardization | CH | 38 |
| N/038289 | 2009/02/02 | 2009/02/02 | International Organization for Standardization | CH | 41 |
| N/038290 | 2009/02/02 | 2009/02/02 | International Organization for Standardization | CH | 42 |
| N/038291 | 2009/02/02 | 2009/02/02 | International Organization for Standardization | CH | 16 |
| N/038292 | 2009/02/02 | 2009/02/02 | International Organization for Standardization | CH | 35 |
| N/038293 | 2009/02/02 | 2009/02/02 | International Organization for Standardization | CH | 38 |
| N/038294 | 2009/02/02 | 2009/02/02 | International Organization for Standardization | CH | 41 |
| N/038295 | 2009/02/02 | 2009/02/02 | International Organization for Standardization | CH | 42 |
| N/038296 | 2009/02/02 | 2009/02/02 | Asics Corporation | JP | 25 |
| N/038297 | 2009/02/02 | 2009/02/02 | Aristocrat Technologies Australia Pty Ltd | AU | 09 |
| N/038298 | 2009/02/02 | 2009/02/02 | Chubb Hong Kong Limited | HK | 38 |
| N/038303 | 2009/02/02 | 2009/02/02 | SAFILO - Società Azionaria Fabbrica Italiana Lavorazione Occhiali S.p.A. | IT | 09 |
| N/038304 | 2009/02/02 | 2009/02/02 | SAFILO - Società Azionaria Fabbrica Italiana Lavorazione Occhiali S.p.A. | IT | 35 |
| N/038305 | 2009/02/02 | 2009/02/02 | SAFILO - Società Azionaria Fabbrica Italiana Lavorazione Occhiali S.p.A. | IT | 44 |
| N/038306 | 2009/02/02 | 2009/02/02 | ±çµØ¼Ð | CN | 16 |
| N/038307 | 2009/02/02 | 2009/02/02 | ²a¦w¥«±d¹F¹}®Æ¦³¤½¥q HUAIAN CITY KANGDA FEED CO., LTD. |
CN | 31 |
| N/038311 | 2009/02/02 | 2009/02/02 | ¤W®ü¤Ñ¤k¦Ü·R¹¢«~¦³¤½¥q | CN | 18 |
| N/038312 | 2009/02/02 | 2009/02/02 | ¤W®ü¤Ñ¤k¦Ü·R¹¢«~¦³¤½¥q | CN | 14 |
| N/038313 | 2009/02/02 | 2009/02/02 | ¤W®ü¤Ñ¤k¦Ü·R¹¢«~¦³¤½¥q | CN | 25 |
| N/038314 | 2009/02/02 | 2009/02/02 | ªe¥_«n·¾Äq·~¶°¹Î¦³¤½¥q | CN | 19 |
| N/038315 | 2009/02/02 | 2009/02/02 | COMPAGNIA DEL VIAGGIO S.R.L. | IT | 18 |
| N/038316 | 2009/02/02 | 2009/02/02 | COMPAGNIA DEL VIAGGIO S.R.L. | IT | 18 |
| N/038317 | 2009/02/02 | 2009/02/02 | Aruze Corporation | JP | 09 |
| N/038318 | 2009/02/02 | 2009/02/02 | Aruze Corporation | JP | 09 |
| N/038319 | 2009/02/02 | 2009/02/02 | Aruze Corporation | JP | 09 |
| N/038320 | 2009/02/02 | 2009/02/02 | Aruze Corporation | JP | 09 |
| N/038321 | 2009/02/02 | 2009/02/02 | Aruze Corporation | JP | 09 |
| N/038322 | 2009/02/02 | 2009/02/02 | Aruze Corporation | JP | 09 |
| N/038323 | 2009/02/02 | 2009/02/02 | Aruze Corporation | JP | 09 |
| N/038324 | 2009/02/02 | 2009/02/02 | Aruze Corporation | JP | 09 |
| N/038325 | 2009/02/02 | 2009/02/02 | Aruze Corporation | JP | 09 |
| 39 N/038326 | 2009/02/02 | 2009/02/02 | Aruze Corporation | JP | 09 |
| N/038327 | 2009/02/02 | 2009/02/02 | Aruze Corporation | JP | 09 |
| 39 N/038328 | 2009/02/02 | 2009/02/02 | Aruze Corporation | JP | 09 |
| N/038329 | 2009/02/02 | 2009/02/02 | Aruze Corporation | JP | 09 |
| 13 N/038330 | 2009/02/02 | 2009/02/02 | Aruze Corporation | JP | 09 |
| N/038331 | 2009/02/02 | 2009/02/02 | Aruze Corporation | JP | 09 |
| 40 N/038332 | 2009/02/02 | 2009/02/02 | Aruze Corporation | JP | 09 |
| N/038333 | 2009/02/02 | 2009/02/02 | Aruze Corporation | JP | 09 |
| N/038334 | 2009/02/02 | 2009/02/02 | High Tech Computer Corporation | TW | 09 |
| N/038335 | 2009/02/02 | 2009/02/02 | §»§Q¤H¹Ø«OÀI¡]°ê»Ú¡^¦³¤½¥q Manulife (International) Limited |
HK | 16 |
| N/038336 | 2009/02/02 | 2009/02/02 | §»§Q¤H¹Ø«OÀI¡]°ê»Ú¡^¦³¤½¥q Manulife (International) Limited |
HK | 36 |
| N/038337 | 2009/02/02 | 2009/02/02 | §»§Q¤H¹Ø«OÀI¡]°ê»Ú¡^¦³¤½¥q Manulife (International) Limited |
HK | 16 |
| N/038338 | 2009/02/02 | 2009/02/02 | §»§Q¤H¹Ø«OÀI¡]°ê»Ú¡^¦³¤½¥q Manulife (International) Limited |
HK | 36 |
| N/038339 | 2009/02/02 | 2009/02/02 | Aristocrat Technologies Australia Pty Ltd | AU | 28 |
| N/038342 | 2009/02/02 | 2009/02/02 | Pµo¶T©ö¶°¹Î¦³¤½¥q | MO | 16 |
| N/038343 | 2009/02/02 | 2009/02/02 | Pµo¶T©ö¶°¹Î¦³¤½¥q | MO | 34 |
| N/038344 | 2009/02/02 | 2009/02/02 | ¿Dªù¬ì¾ÇÀ]ªÑ¥÷¦³¤½¥q | MO | 41 |
| N/038345 | 2009/02/02 | 2009/02/02 | FANCL CORPORATION | JP | 29 |
| N/038346 | 2009/02/02 | 2009/02/02 | FANCL CORPORATION | JP | 30 |
| N/038347 | 2009/02/02 | 2009/02/02 | FANCL CORPORATION | JP | 32 |
| N/038348 | 2009/02/02 | 2009/02/02 | FANCL CORPORATION | JP | 29 |
| N/038349 | 2009/02/02 | 2009/02/02 | FANCL CORPORATION | JP | 30 |
| N/038350 | 2009/02/02 | 2009/02/02 | FANCL CORPORATION | JP | 32 |
| N/038351 | 2009/02/02 | 2009/02/02 | The Coca-Cola Company | US | 32 |
| N/038354 | 2009/02/02 | 2009/02/02 | l¥Í¦æ¦³¤½¥q | HK | 32 |
| N/038356 | 2009/02/02 | 2009/02/02 | STARBUCKS CORPORATION | US | 30 |
| N/038357 | 2009/02/02 | 2009/02/02 | Invesco Holding Company Limited | US | 36 |
| N/038358 | 2009/02/02 | 2009/02/02 | PHILIP MORRIS PRODUCTS S.A. | CH | 34 |
| N/038359 | 2009/02/02 | 2009/02/02 | Best Western International, Inc. | US | 43 |
| N/038360 | 2009/02/02 | 2009/02/02 | CORTEFIEL, S.A. | ES | 25 |
| N/038361 | 2009/02/02 | 2009/02/02 | CORTEFIEL, S.A. | ES | 35 |
| N/038362 | 2009/02/02 | 2009/02/02 | Church & Dwight Co., Inc. | US | 03 |
| N/038363 | 2009/02/02 | 2009/02/02 | Church & Dwight Co., Inc. | US | 05 |
| N/038364 | 2009/02/02 | 2009/02/02 | Church & Dwight Co., Inc. | US | 21 |
| N/038365 | 2009/02/02 | 2009/02/02 | ùÚ°·¡]¿Dªù¡^¤ú¬ì¶°¹Î¦³¤½¥q | MO | 44 |
| N/038366 | 2009/02/02 | 2009/02/02 | ¼B¤pªi | CN | 35 |
| N/038367 | 2009/02/02 | 2009/02/02 | Wyeth | US | 05 |
| N/038368 | 2009/02/02 | 2009/02/02 | Wyeth | US | 05 |
| N/038369 | 2009/02/02 | 2009/02/02 | Wyeth | US | 05 |
| N/038370 | 2009/02/02 | 2009/02/02 | Wyeth | US | 05 |
| N/038371 | 2009/02/02 | 2009/02/02 | Wyeth | US | 05 |
| N/038372 | 2009/02/02 | 2009/02/02 | Wyeth | US | 05 |
| N/038373 | 2009/02/02 | 2009/02/02 | Wyeth | US | 05 |
| N/038374 | 2009/02/02 | 2009/02/02 | Encysive Pharmaceuticals Inc. | US | 05 |
| N/038375 | 2009/02/02 | 2009/02/02 | DIMMINACO AG | CH | 05 |
| 41 N/038388 | 2009/02/02 | 2009/02/02 | «íµØ¡]¿Dªù¡^¸Ë¹¢¤uµ{¦³¤½¥q HENG WAH (MACAO) DECORATION COMPANY LIMITED |
MO | 37 |
| 42 N/038390 | 2009/02/02 | 2009/02/02 | Hong Kong Trade Development Council | HK | 35 |
| 42 N/038391 | 2009/02/02 | 2009/02/02 | Hong Kong Trade Development Council | HK | 35 |
| 42 N/038392 | 2009/02/02 | 2009/02/02 | Hong Kong Trade Development Council | HK | 35 |
| N/038414 | 2009/02/02 | 2009/02/02 | LOUIS VUITTON MALLETIER | FR | 18 |
| N/038415 | 2009/02/02 | 2009/02/02 | GOLDEN WAREHOUSE LOGISTICS LIMITED | MO | 39 |
| N/038416 | 2009/02/02 | 2009/02/02 | MONTRES CORUM Sàrl | CH | 14 |
| N/038432 | 2009/02/02 | 2009/02/02 | PCI Augsburg GmbH | DE | 01 |
| N/038433 | 2009/02/02 | 2009/02/02 | PCI Augsburg GmbH | DE | 19 |
| 43 N/038440 | 2009/02/02 | 2009/02/02 | ¾¤¹Å¿· | MO | 35 |
| 43 N/038441 | 2009/02/02 | 2009/02/02 | ¾¤¹Å¿· | MO | 37 |
| N/038442 | 2009/02/02 | 2009/02/02 | GLOBE TELECOM, INC. | PH | 36 |
- 1 ¤£§åµ¹¡§COTAI¡¨¤Î¡§INBOUND¡¨µü»yªº±MÄݨϥÎÅv§Q¡C
- 2 ¤£§åµ¹¡§COTAI¡¨¤Î¡§TOURS¡¨µü»yªº±MÄݨϥÎÅv§Q¡C
- 3 ¤£§åµ¹¡§COTAI¡¨¡A¡§INBOUND¡¨¤Î¡§TOURS¡¨µü»yªº±MÄݨϥÎÅv§Q¡C
- 4 ¤£§åµ¹¡§COTAI¡¨¤Î¡§TRAVEL¡¨µü»yªº±MÄݨϥÎÅv§Q¡C
- 5 ¤£§åµ¹¡§COTAI¡¨¡A¡§INBOUND¡¨¤Î¡§TRAVEL¡¨µü»yªº±MÄݨϥÎÅv§Q¡C
- 6 ¤£§åµ¹¡§COTAI¡¨¤Î¡§TRANSFER¡¨µü»yªº±MÄݨϥÎÅv§Q¡C
- 7 ¤£§åµ¹¡§COTAI¡¨¡A¡§INBOUND¡¨¤Î¡§TRANSFER¡¨µü»yªº±MÄݨϥÎÅv§Q¡C
- 8 ¤£§åµ¹¡§COTAI¡¨¤Î¡§TRANSIT¡¨µü»yªº±MÄݨϥÎÅv§Q¡C
- 9 ¤£§åµ¹¡§COTAI¡¨¡A¡§INBOUND¡¨¤Î¡§TRANSIT¡¨µü»yªº±MÄݨϥÎÅv§Q¡C
- 10 ¤£§åµ¹¡§COTAI¡¨µü»yªº±MÄݨϥÎÅv§Q¡C
- 11 ¤£§åµ¹¡§Macau¡¨µü»yªº±MÄݨϥÎÅv§Q¡C
- 12 ¤£§åµ¹¡§JACKPOT¡¨¤Î¡§7¡¨µü»yªº±MÄݨϥÎÅv§Q¡C
- 13 ¤£§åµ¹¡§JACKPOT¡¨¡A¡§7¡¨¤Î¡§BONUS¡¨µü»yªº±MÄݨϥÎÅv§Q¡C
- 14 ¤£§åµ¹¡§Cotai¡¨µü»yªº±MÄݨϥÎÅv§Q¡C
- 15 ¤£§åµ¹¡§Cotai¡¨¤Î¡§Entertainment¡¨µü»yªº±MÄݨϥÎÅv§Q¡C
- 16 ¤£§åµ¹¡§ASIA¡¨¤Î¡§POKER¡¨µü»yªº±MÄݨϥÎÅv§Q¡C
- 17 ¤£§åµ¹¡§bar¡¨µü»yªº±MÄݨϥÎÅv§Q¡C
- 18 ¤£§åµ¹¡§MACAU¡¨µü»yªº±MÄݨϥÎÅv§Q¡C
- 19 ¤£§åµ¹¡§¿Dªù¡¨µü»yªº±MÄݨϥÎÅv§Q¡C
- 20 ¤£§åµ¹¡§¿Dªù¡¨¤Î¡§MACAU¡¨µü»yªº±MÄݨϥÎÅv§Q¡C
- 21 ¤£§åµ¹¡§ACQUA MINERALE¡¨¡A¡§EFFERVESCENTE¡¨¤Î¡§NATURALE¡¨µü»yªº±MÄݨϥÎÅv§Q¡C
- 22 ¤£§åµ¹¡§USB modem¡¨µü»yªº±MÄݨϥÎÅv§Q¡C
- 23 ¤£§åµ¹¡§CHINA¡¨¤Î¡§MACAU¡¨µü»yªº±MÄݨϥÎÅv§Q¡C
- 24 ¤£§åµ¹¡§HOTELS & RESORTS¡¨µü»yªº±MÄݨϥÎÅv§Q¡C
- 25 ¤£§åµ¹¡§LOGISTICS¡¨µü»yªº±MÄݨϥÎÅv§Q¡C
- 26 ¤£§åµ¹¡§CHINA¡¨µü»yªº±MÄݨϥÎÅv§Q¡C
- 27 ¤£§åµ¹¡§²Ö¿n¼úª÷¡¨µü»yªº±MÄݨϥÎÅv§Q¡C
- 28 ¤£§åµ¹¡§SKIN CARE¡¨µü»yªº±MÄݨϥÎÅv§Q¡C
- 29 ¤£§åµ¹¡§magazine¡¨µü»yªº±MÄݨϥÎÅv§Q¡C
- 30 ¤£§åµ¹¡§¤é¥»¡¨µü»yªº±MÄݨϥÎÅv§Q¡C
- 31 ¤£§åµ¹¡§¿Dªù¡¨¡A¡§¶°¹Î¦³¤½¥q¡¨¡A¡§MACAO¡¨¤Î¡§GROUP COMPANY LIMITED¡¨µü»yªº±MÄݨϥÎÅv§Q¡C
- 32 ¤£§åµ¹¡§ASIA¡¨µü»yªº±MÄݨϥÎÅv§Q¡C
- 33 ¤£§åµ¹¡§»¦Ì¡¨µü»yªº±MÄݨϥÎÅv§Q¡C
- 34 ¤£§åµ¹¡§REWARDS¡¨µü»yªº±MÄݨϥÎÅv§Q¡C
- 35 ¤£§åµ¹¡§BOURBON¡¨µü»yªº±MÄݨϥÎÅv§Q¡C
- 36 ¤£§åµ¹¡§ANTI•VIRUS¡¨µü»yªº±MÄݨϥÎÅv§Q¡C
- 37 ¤£§åµ¹¡§BAKESHOP¡¨µü»yªº±MÄݨϥÎÅv§Q¡C
- 38 ¤£§åµ¹¡§RESTAURANT¡¨µü»yªº±MÄݨϥÎÅv§Q¡C
- 39 ¤£§åµ¹¡§7¡¨µü»yªº±MÄݨϥÎÅv§Q¡C
- 40 ¤£§åµ¹¡§JACKPOT¡¨µü»yªº±MÄݨϥÎÅv§Q¡C
- 41 ¤£§åµ¹¡§(macao) decoration co., ltd.¡¨µü»yªº±MÄݨϥÎÅv§Q¡C
- 42 ¤£§åµ¹¡§»´ä¡¨µü»yªº±MÄݨϥÎÅv§Q¡C
- 43 ¤£§åµ¹¡§³q°T¡¨¤Î¡§TELECOM¡¨µü»yªº±MÄݨϥÎÅv§Q¡C
³¡¥÷§åµ¹
| µ{§Ç½s¸¹ | µù¥U¤é´Á | §å¥Ü¤é´Á | µù¥UÅv§Q¤H¤§¦WºÙ | ©ÒÄݰê/ ¦a°Ï |
¤ÀÃþ | ³Æµù |
| N/034815 | 2009/01/21 | 2009/01/21 | ¾G¦{¥«·sµø©ú¬ì§Þ¤uµ{¦³¤½¥q ZHENGZHOU XINSHIMING SCIENTIFIC & TECHNOLOGICAL ENGINEERING CO., LTD. |
CN | 10 | °£¤F¡§ÂåÀø¾¹±ñ©M»ö¾¹¡¨ ¤Î¡§¤H³y²´·ú¡¨¤§¥~¡A®Öã¨ä¥L²£«~ªº°Ó¼Ðµù¥U¥Ó½Ð¡C |
³]p¤Î·s«¬¤§«OÅ@
§åµ¹
| µ{§Ç½s¸¹ | µù¥U¤é´Á | §å¥Ü¤é´Á | µù¥UÅv§Q¤H¤§¦WºÙ | ©ÒÄݰê/ ¦a°Ï |
| D/000466 D/000473 D/000474 |
2009/02/02 2009/02/02 2009/02/02 |
2009/02/02 2009/02/02 2009/02/02 |
Sony Computer Entertainment Inc. Ferrari S.p.A. Ferrari S.p.A |
JP IT IT |
Àç·~³õ©Ò¦WºÙ¤§«OÅ@
§åµ¹
| µ{§Ç½s¸¹ | µù¥U¤é´Á | §å¥Ü¤é´Á | µù¥UÅv§Q¤H¤§¦WºÙ | ©ÒÄݰê/ ¦a°Ï |
| E/000117 | 2009/02/02 | 2009/02/02 | ¿Dªù^¤~¦³¤½¥q MACAUHR LIMITADA |
MO |
| 1 E/000118 | 2009/02/02 | 2009/02/02 | ¾¤¹Å¿· | MO |
- 1 ¤£§åµ¹¡§³q°T¡¨¤Î¡§TELECOM¡¨µü»yªº±MÄݨϥÎÅv§Q¡C
µo©ú±M§Q¤§«OÅ@
§åµ¹
| µ{§Ç½s¸¹ | µù¥U¤é´Á | §å¥Ü¤é´Á | µù¥UÅv§Q¤H¤§¦WºÙ | ©ÒÄݰê/ ¦a°Ï |
| I/000376 | 2009/01/23 | 2009/01/23 | ªü¾|µ¦®è¦¡·|ªÀ Aruze Corp. |
JP |
| I/000412 | 2009/01/23 | 2009/01/23 | ªü¾|µ¦®è¦¡·|ªÀ Aruze Corp. |
JP |
| I/000497 | 2009/01/23 | 2009/01/23 | ®õ°¶¹q¤lªÑ¥÷¦³¤½¥q ASTRO CORPORATION |
TW |
| I/000516 | 2009/01/23 | 2009/01/23 | Aruze Gaming America, Inc. | US |
| I/000517 | 2009/01/23 | 2009/01/23 | Aruze Gaming America, Inc. | US |
| I/000520 | 2009/01/23 | 2009/01/23 | Aruze Gaming America, Inc. | US |
| I/000524 | 2009/01/23 | 2009/01/23 | Aruze Gaming America, Inc. | US |
| I/000526 | 2009/01/23 | 2009/01/23 | Aruze Gaming America, Inc. | US |
| I/000528 | 2009/01/23 | 2009/01/23 | ªü¾|µ¦¹CÀ¸¬ü°ê¦³¤½¥q ARUZE GAMING AMERICA, INC. |
US |
| I/000531 | 2009/01/23 | 2009/01/23 | Aruze Gaming America, Inc. | US |
| I/000532 | 2009/01/23 | 2009/01/23 | Aruze Gaming America, Inc. | US |
| I/000533 | 2009/01/23 | 2009/01/23 | Aruze Gaming America, Inc. | US |
| I/000544 | 2009/01/23 | 2009/01/23 | Aruze Gaming America, Inc. | US |
| I/000546 | 2009/01/23 | 2009/01/23 | Aruze Gaming America, Inc. | US |
| I/000547 | 2009/01/23 | 2009/01/23 | Aruze Gaming America, Inc. | US |
| I/000555 | 2009/01/23 | 2009/01/23 | Aruze Gaming America, Inc. | US |
| I/000557 | 2009/01/23 | 2009/01/23 | Aruze Gaming America, Inc. | US |
| I/000573 | 2009/01/23 | 2009/01/23 | ªü¾|µ¦®è¦¡·|ªÀ Aruze Corp. |
JP |
°Ó¼Ð¤§«OÅ@
Äò´Á
| µ{§Ç½s¸¹ | °Ó¼Ð½s¸¹ | Äò®i¤é´Á | µù¥UÅv§Q¤H¤§¦WºÙ | ©ÒÄݰê/ ¦a°Ï |
| P/000724 | 663-M | 2009/01/14 | THE CLOROX COMPANY | US |
| P/001128 | 1033-M | 2009/02/03 | KAMEI SPORTS CORPORATION | JP |
| P/001503 | 1407-M | 2009/01/29 | BRISTOL-MYERS SQUIBB FARMACÊUTICA PORTUGUESA, LDA. | PT |
| P/001913 | 1817-M | 2009/01/16 | MASTERCARD INTERNATIONAL INCORPORATED | US |
| P/001914 | 1818-M | 2009/01/16 | MASTERCARD INTERNATIONAL INCORPORATED | US |
| P/002038 | 1941-M | 2009/01/29 | EUROCLEAR PLC | CH |
| P/002208 | 2111-M | 2009/01/30 | Sanyo Electric Co., Ltd. | JP |
| P/003777 | 3648-M | 2009/01/29 | Studio IP Holdings LLC | US |
| P/004334 | 4203-M | 2009/01/23 | Empresa Cubana del Tabaco, (comerciando como CUBATABACO) | CU |
| P/005786 | 5645-M | 2009/01/14 | Phillips-Van Heusen Corporation | US |
| P/005964 | 5823-M | 2009/01/14 | P. T. DJARUM | ID |
| P/005965 | 5824-M | 2009/01/14 | P. T. DJARUM | ID |
| P/006453 | 6278-M | 2009/01/14 | KONICA MINOLTA HOLDINGS, INC. | JP |
| P/006464 | 6289-M | 2009/01/14 | Lorillard Licensing Company LLC | US |
| P/007543 | 7313-M | 2009/01/14 | KAO CORPORATION | JP |
| P/009245 | 9021-M | 2009/01/30 | THE READER¡¦S DIGEST ASSOCIATION, INC. | US |
| P/009246 | 9022-M | 2009/01/30 | THE READER¡¦S DIGEST ASSOCIATION, INC. | US |
| P/009247 | 9023-M | 2009/01/30 | THE READER¡¦S DIGEST ASSOCIATION, INC. | US |
| P/009628 | 9543-M | 2009/01/23 | FEDERAL EXPRESS CORPORATION | US |
| P/011089 | 10938-M | 2009/01/23 | CONCORD WATCH COMPANY, S.A. | CH |
| N/007426 | - | 2009/01/30 | Circle K Stores Inc. | US |
| N/007458 | - | 2009/01/14 | MATSUSHITA ELECTRIC INDUSTRIAL CO., LTD. | JP |
| N/007478 | - | 2009/01/14 | MATSUSHITA ELECTRIC INDUSTRIAL CO., LTD. | JP |
| N/007550 | - | 2009/01/14 | Xingxing Group Co., Ltd. | CN |
| N/007556 | - | 2009/01/29 | NetJets Inc. | US |
| N/007557 | - | 2009/01/29 | NetJets Inc. | US |
| N/007558 | - | 2009/01/29 | NetJets Inc. | US |
| N/007607 | - | 2009/01/14 | SOLVAY (Société Anonyme) | BE |
| N/007608 | - | 2009/01/14 | SOLVAY (Société Anonyme) | BE |
| N/007609 | - | 2009/01/14 | SOLVAY (Société Anonyme) | BE |
| N/007610 | - | 2009/01/14 | SOLVAY (Société Anonyme) | BE |
| N/007887 | - | 2009/01/14 | CABLE AND WIRELESS plc | GB |
| N/007890 | - | 2009/01/14 | CABLE AND WIRELESS plc | GB |
| N/007891 | - | 2009/01/14 | CABLE AND WIRELESS plc | GB |
| N/007892 | - | 2009/01/14 | CABLE AND WIRELESS plc | GB |
| N/007989 | - | 2009/01/14 | BARON PHILIPPE DE ROTHSCHILD S.A. | FR |
| N/007990 | - | 2009/01/14 | BARON PHILIPPE DE ROTHSCHILD S.A. | FR |
| N/007991 | - | 2009/01/14 | BARON PHILIPPE DE ROTHSCHILD S.A. | FR |
| N/007992 | - | 2009/01/23 | BARON PHILIPPE DE ROTHSCHILD S.A. | FR |
| N/007993 | - | 2009/01/14 | BARON PHILIPPE DE ROTHSCHILD S.A. | FR |
| N/008006 | - | 2009/01/14 | Diageo Brands B.V. | NL |
| N/008007 | - | 2009/01/14 | Diageo Brands B.V. | NL |
| N/008083 | - | 2009/01/23 | American International Group, Inc | US |
| N/008084 | - | 2009/01/23 | American International Group, Inc | US |
| N/008085 | - | 2009/01/23 | American International Group, Inc | US |
| N/008106 | - | 2009/01/14 | Anteprima Limited | HK |
| N/008122 | - | 2009/01/30 | ROLEX SA | CH |
| N/008124 | - | 2009/01/30 | ROLEX SA | CH |
| N/008165 | - | 2009/01/14 | LEA & PERRINS LIMITED | GB |
| N/008174 | - | 2009/02/03 | P.T. Sari Incofood Corporation | ID |
| N/008249 | - | 2009/01/14 | BARON PHILIPPE DE ROTHSCHILD S.A. | FR |
| N/008293 | - | 2009/01/23 | Diageo Ireland | IE |
| N/008294 | - | 2009/01/23 | Diageo Ireland | IE |
| N/008295 | - | 2009/01/23 | Diageo Ireland | IE |
| N/008296 | - | 2009/01/23 | Diageo Ireland | IE |
| N/008373 | - | 2009/02/03 | Hutchison Whampoa Enterprises Limited | VG |
| N/008376 | - | 2009/01/30 | IPR PHARMACEUTICALS INC., uma sociedade organizada de acordo com as leis de Porto Rico | PR |
| N/008377 | - | 2009/01/30 | IPR PHARMACEUTICALS INC., uma sociedade organizada de acordo com as leis de Porto Rico | PR |
| N/008395 | - | 2009/01/23 | ¼sªF¬Ù¤E¦¿°s¼t¦³¤½¥q GUANGDONG JIUJIANG DISTILLERY COMPANY LIMITED, uma companhia de responsabilidade limitada incorporada na R.P.C. |
CN |
| N/008448 | - | 2009/02/03 | Clarion Company Limited | JP |
| N/008449 | - | 2009/02/03 | Clarion Company Limited | JP |
| N/008450 | - | 2009/01/14 | Kao Kabushiki Kaisha (que também usa Kao Corporation) | JP |
| N/008451 | - | 2009/01/14 | Kao Kabushiki Kaisha (que também usa Kao Corporation) | JP |
| N/008482 | - | 2009/01/14 | ³Õ¤º¯S¨½¶ë¤å¶ø°Ç¦³¤½¥q Bonneterie Cevenole S.A.R.L. |
FR |
| N/008483 | - | 2009/01/14 | ³Õ¤º¯S¨½¶ë¤å¶ø°Ç¦³¤½¥q Bonneterie Cevenole S.A.R.L. |
FR |
| N/008547 | - | 2009/01/14 | Parfums Rochas S.A.S. | FR |
| N/008548 | - | 2009/01/14 | Parfums Rochas S.A.S. | FR |
| N/008549 | - | 2009/01/14 | Parfums Rochas S.A.S. | FR |
| N/008550 | - | 2009/01/14 | Parfums Rochas S.A.S. | FR |
| N/008554 | - | 2009/02/04 | ¤j©÷¶T©ö¦æ¦³¤½¥q Dah Chong Hong, Limited |
HK |
| N/008555 | - | 2009/02/04 | ¤j©÷¶T©ö¦æ¦³¤½¥q Dah Chong Hong, Limited |
HK |
| N/008556 | - | 2009/01/14 | KIMBERLY-CLARK WORLDWIDE, INC. | US |
| N/008657 | - | 2009/01/23 | GROUPE LE DUFF S.A., sociedade anónima organizada segundo as leis de França | FR |
| N/008658 | - | 2009/01/23 | GROUPE LE DUFF S.A., sociedade anónima organizada segundo as leis de França | FR |
| N/008659 | - | 2009/01/23 | GROUPE LE DUFF S.A., sociedade anónima organizada segundo as leis de França | FR |
| N/008660 | - | 2009/01/23 | BRIDOR, sociedade por acções simplificada organizada segundo as leis de França | FR |
| N/008661 | - | 2009/01/23 | BRIDOR, sociedade por acções simplificada organizada segundo as leis de França | FR |
| N/008662 | - | 2009/01/23 | BRIDOR, sociedade por acções simplificada organizada segundo as leis de França | FR |
| N/008664 | - | 2009/02/04 | Kentucky Fried Chicken International Holdings, Inc. | US |
| N/008665 | - | 2009/02/04 | Kentucky Fried Chicken International Holdings, Inc. | US |
| N/008666 | - | 2009/02/04 | Kentucky Fried Chicken International Holdings, Inc. | US |
| N/008714 | - | 2009/01/16 | THE COCA-COLA COMPANY, sociedade organizada e existindo segundo as leis do Estado de Delaware | US |
| N/008720 | - | 2009/02/04 | ¤j©÷¶T©ö¦æ¦³¤½¥q Dah Chong Hong, Limited |
HK |
| N/008814 | - | 2009/02/04 | Taco Bell Corp. | US |
| N/008815 | - | 2009/02/04 | Taco Bell Corp. | US |
| N/008816 | - | 2009/02/04 | Taco Bell Corp. | US |
| N/008905 | - | 2009/02/04 | Kentucky Fried Chicken International Holdings, Inc. | US |
| N/008906 | - | 2009/02/04 | Kentucky Fried Chicken International Holdings, Inc. | US |
| N/008947 | - | 2009/01/19 | RAINBOW BOUTIQUE E COMPANHIA LIMITADA | MO |
| N/008948 | - | 2009/01/19 | RAINBOW BOUTIQUE E COMPANHIA LIMITADA | MO |
| N/008949 | - | 2009/01/19 | RAINBOW BOUTIQUE E COMPANHIA LIMITADA | MO |
| N/008952 | - | 2009/01/19 | RAINBOW BOUTIQUE E COMPANHIA LIMITADA | MO |
| N/008953 | - | 2009/01/19 | RAINBOW BOUTIQUE E COMPANHIA LIMITADA | MO |
| N/008954 | - | 2009/01/19 | RAINBOW BOUTIQUE E COMPANHIA LIMITADA | MO |
| N/008955 | - | 2009/01/19 | RAINBOW BOUTIQUE E COMPANHIA LIMITADA | MO |
| N/008971 | - | 2009/02/04 | Kentucky Fried Chicken International Holdings, Inc. | US |
| N/009124 | - | 2009/02/04 | PEPSICO, INC. | US |
| N/009125 | - | 2009/02/04 | PEPSICO, INC. | US |
| N/009126 | - | 2009/02/04 | PEPSICO, INC. | US |
| N/009143 | - | 2009/02/04 | Sunray Cave Limited | HK |
| N/009144 | - | 2009/02/04 | Sunray Cave Limited | HK |
| N/009145 | - | 2009/02/04 | Sunray Cave Limited | HK |
| N/009203 | - | 2009/01/14 | CORPORACION HABANOS, S.A. | CU |
| N/009205 | - | 2009/01/14 | CORPORACION HABANOS, S.A. | CU |
| N/009206 | - | 2009/01/14 | CORPORACION HABANOS, S.A. | CU |
| N/009207 | - | 2009/01/14 | CORPORACION HABANOS, S.A. | CU |
| N/009208 | - | 2009/01/14 | CORPORACION HABANOS, S.A. | CU |
| N/009209 | - | 2009/01/14 | CORPORACION HABANOS, S.A. | CU |
| N/009210 | - | 2009/01/14 | CORPORACION HABANOS, S.A. | CU |
| N/009211 | - | 2009/01/14 | CORPORACION HABANOS, S.A. | CU |
| N/009238 | - | 2009/02/04 | HLT Conrad IP LLC | US |
| N/009252 | - | 2009/01/14 | Hoe Hin Pak Fah Yeow Manufactory Limited, uma companhia de responsabilidade limitada incorporada segundo as leis de Hong Kong | HK |
| N/009253 | - | 2009/01/14 | Hoe Hin Pak Fah Yeow Manufactory Limited, uma companhia de responsabilidade limitada incorporada segundo as leis de Hong Kong | HK |
| N/009290 | - | 2009/02/04 | PALMERSTON LIMITED, sociedade organizada de acordo com as leis da Ilha de Man | IM |
| N/009291 | - | 2009/02/04 | PALMERSTON LIMITED, sociedade organizada de acordo com as leis da Ilha de Man | IM |
| N/009292 | - | 2009/02/04 | PALMERSTON LIMITED, sociedade organizada de acordo com as leis da Ilha de Man | IM |
| N/009293 | - | 2009/02/04 | PALMERSTON LIMITED, sociedade organizada de acordo com as leis da Ilha de Man | IM |
| N/009294 | - | 2009/02/04 | PALMERSTON LIMITED, sociedade organizada de acordo com as leis da Ilha de Man | IM |
| N/009295 | - | 2009/02/04 | PALMERSTON LIMITED, sociedade organizada de acordo com as leis da Ilha de Man | IM |
| N/009373 | - | 2009/01/30 | ROLEX SA | CH |
| N/009397 | - | 2009/01/19 | YUM! Brands, Inc. | US |
ÂàÅý©Îªþµù
| µ{§Ç½s¸¹ | §å¥Ü¤é´Á | ªþµù¤§©Ê½è | ¥Ó½Ð¤H/µù¥UÅv§Q¤H | §ó§ï |
| P/000991 (896-M) |
2009/01/14 | ¨Ï¥Î³\¥i | THE COCA-COLA COMPANY, sociedade organizada e existindo segundo as leis do Estado de Delaware | MACAU COCA-COLA BEVERAGE COMPANY LIMITED |
| P/001128 (1033-M) |
2009/02/03 | §ó§ï¦a§} | KAMEI SPORTS CORPORATION | 1-10, Kojimachi, Chiyoda-ku, Tokyo, Japan |
| P/001128 (1033-M) |
2009/02/03 | §ó§ï»{§O¸ê®Æ | KAMEI SPORTS CORPORATION | Kamei Proact Corporation |
| P/001503 (1407-M) |
2009/01/29 | §ó§ï»{§O¸ê®Æ | BRISTOL-MYERS SQUIBB FARMACÊUTICA PORTUGUESA, LDA. | BRISTOL-MYERS SQUIBB FARMACÊUTICA PORTUGUESA, S.A. |
| P/001503 (1407-M) |
2009/01/29 | §ó§ï¦a§} | BRISTOL-MYERS SQUIBB FARMACÊUTICA PORTUGUESA, S.A. | Edifício Fernão de Magalhães, Quinta da Fonte, 2780 Porto Salvo, Portugal |
| P/004214 (4083-M) |
2009/01/23 | ÂàÅý | Beecham Group p.l.c. | Glaxo Group Limited, com sede em Glaxo Wellcome House, Berkeley Avenue, Greenford, Middlesex UB6 0NN, United Kingdom |
| P/004969 (4831-M) |
2009/02/04 | §ó§ï»{§O¸ê®Æ | FESTO AG & CO. | FESTO AG & CO. KG |
| P/004970 (4832-M) |
2009/02/04 | §ó§ï»{§O¸ê®Æ | FESTO AG & CO. | FESTO AG & CO. KG |
| P/005360 (5218-M) |
2009/01/23 | ÂàÅý | Beecham Group p.l.c. | Glaxo Group Limited, com sede em Glaxo Wellcome House, Berkeley Avenue, Greenford, Middlesex UB6 0NN, United Kingdom |
| P/005361 (5219-M) |
2009/01/23 | ÂàÅý | Beecham Group p.l.c. | Glaxo Group Limited, com sede em Glaxo Wellcome House, Berkeley Avenue, Greenford, Middlesex UB6 0NN, United Kingdom |
| P/005378 (5236-M) |
2009/02/03 | §ó§ï»{§O¸ê®Æ | GÉNÉRALE BISCUIT, SOCIÉTÉ ANONYME | GENERALE BISCUIT Sociedade por Acções simplificada |
| P/005379 (5237-M) |
2009/02/03 | §ó§ï»{§O¸ê®Æ | GÉNÉRALE BISCUIT, SOCIÉTÉ ANONYME | GENERALE BISCUIT Sociedade por Acções simplificada |
| P/005484 (5342-M) |
2009/01/23 | ÂàÅý | BEECHAM GROUP P.L.C. | Glaxo Group Limited, com sede em Glaxo Wellcome House, Berkeley Avenue, Greenford, Middlesex UB6 0NN, United Kingdom |
| P/005703 (5561-M) |
2009/01/14 | ÂàÅý | The Wellcome Foundation Limited | Glaxo Group Limited, com sede em Glaxo Wellcome House, Berkeley Avenue, Greenford, Middlesex UB6 0NN, United Kingdom |
| P/005704 (5562-M) |
2009/01/23 | ÂàÅý | THE WELLCOME FOUNDATION LIMITED | Glaxo Group Limited, com sede em Glaxo Wellcome House, Berkeley Avenue, Greenford, Middlesex UB6 0NN, United Kingdom |
| P/005706 (5564-M) |
2009/01/23 | ÂàÅý | THE WELLCOME FOUNDATION LIMITED | Glaxo Group Limited, com sede em Glaxo Wellcome House, Berkeley Avenue, Greenford, Middlesex UB6 0NN, United Kingdom |
| P/005713 (5571-M) |
2009/01/23 | ÂàÅý | THE WELLCOME FOUNDATION LIMITED | Glaxo Group Limited, com sede em Glaxo Wellcome House, Berkeley Avenue, Greenford, Middlesex UB6 0NN, United Kingdom |
| P/005714 (5572-M) |
2009/01/23 | ÂàÅý | THE WELLCOME FOUNDATION LIMITED | Glaxo Group Limited, com sede em Glaxo Wellcome House, Berkeley Avenue, Greenford, Middlesex UB6 0NN, United Kingdom |
| P/005715 (5573-M) |
2009/01/23 | ÂàÅý | THE WELLCOME FOUNDATION LIMITED | Glaxo Group Limited, com sede em Glaxo Wellcome House, Berkeley Avenue, Greenford, Middlesex UB6 0NN, United Kingdom |
| P/005716 (5574-M) |
2009/01/23 | ÂàÅý | THE WELLCOME FOUNDATION LIMITED | Glaxo Group Limited, com sede em Glaxo Wellcome House, Berkeley Avenue, Greenford, Middlesex UB6 0NN, United Kingdom |
| P/005717 (5575-M) |
2009/01/23 | ÂàÅý | THE WELLCOME FOUNDATION LIMITED | Glaxo Group Limited, com sede em Glaxo Wellcome House, Berkeley Avenue, Greenford, Middlesex UB6 0NN, United Kingdom |
| P/005718 (5576-M) |
2009/01/23 | ÂàÅý | THE WELLCOME FOUNDATION LIMITED | Glaxo Group Limited, com sede em Glaxo Wellcome House, Berkeley Avenue, Greenford, Middlesex UB6 0NN, United Kingdom |
| P/005722 (5580-M) |
2009/01/23 | ÂàÅý | THE WELLCOME FOUNDATION LIMITED | Glaxo Group Limited, com sede em Glaxo Wellcome House, Berkeley Avenue, Greenford, Middlesex UB6 0NN, United Kingdom |
| P/005723 (5581-M) |
2009/01/23 | ÂàÅý | THE WELLCOME FOUNDATION LIMITED | Glaxo Group Limited, com sede em Glaxo Wellcome House, Berkeley Avenue, Greenford, Middlesex UB6 0NN, United Kingdom |
| P/005724 (5582-M) |
2009/01/23 | ÂàÅý | THE WELLCOME FOUNDATION LIMITED | Glaxo Group Limited, com sede em Glaxo Wellcome House, Berkeley Avenue, Greenford, Middlesex UB6 0NN, United Kingdom |
| P/005725 (5583-M) |
2009/01/23 | ÂàÅý | THE WELLCOME FOUNDATION LIMITED | Glaxo Group Limited, com sede em Glaxo Wellcome House, Berkeley Avenue, Greenford, Middlesex UB6 0NN, United Kingdom |
| P/005726 (5584-M) |
2009/01/23 | ÂàÅý | THE WELLCOME FOUNDATION LIMITED | Glaxo Group Limited, com sede em Glaxo Wellcome House, Berkeley Avenue, Greenford, Middlesex UB6 0NN, United Kingdom |
| P/005728 (5586-M) |
2009/01/23 | ÂàÅý | The Wellcome Foundation Limited | Glaxo Group Limited, com sede em Glaxo Wellcome House, Berkeley Avenue, Greenford, Middlesex UB6 0NN, United Kingdom |
| P/005855 (5714-M) |
2009/01/23 | ÂàÅý | STAFFORD-MILLER, LTD. | Glaxo Group Limited, com sede em Glaxo Wellcome House, Berkeley Avenue, Greenford, Middlesex UB6 0NN, United Kingdom |
| P/005964 (5823-M) |
2009/01/14 | §ó§ï¦a§} | P. T. DJARUM | JL. Jend. A. Yani No. 28, Kudus 59317, Indonesia |
| P/005965 (5824-M) |
2009/01/14 | §ó§ï¦a§} | P. T. DJARUM | JL. Jend. A. Yani No. 28, Kudus 59317, Indonesia |
| P/006323 (6148-M) |
2009/01/23 | ÂàÅý | Beecham Group p.l.c. | Glaxo Group Limited, com sede em Glaxo Wellcome House, Berkeley Avenue, Greenford, Middlesex UB6 0NN, United Kingdom |
| P/007491 (7261-M) |
2009/01/23 | §ó§ï¦a§} | THE WELLCOME FOUNDATION LIMITED | Glaxo Wellcome House, Berkeley Avenue, Greenford, Middlesex UB6 0NN, United Kingdom |
| P/007491 (7261-M) |
2009/01/23 | ÂàÅý | THE WELLCOME FOUNDATION LIMITED | Glaxo Group Limited, com sede em Glaxo Wellcome House, Berkeley Avenue, Greenford, Middlesex UB6 0NN, United Kingdom |
| P/007727 (7497-M) |
2009/01/14 | ¨Ï¥Î³\¥i | THE COCA-COLA COMPANY, sociedade organizada e existindo segundo as leis do Estado de Delaware | MACAU COCA-COLA BEVERAGE COMPANY LIMITED |
| P/007729 (7499-M) |
2009/01/14 | ¨Ï¥Î³\¥i | THE COCA-COLA COMPANY, sociedade organizada e existindo segundo as leis do Estado de Delaware | MACAU COCA-COLA BEVERAGE COMPANY LIMITED |
| P/007730 (7500-M) |
2009/01/14 | ¨Ï¥Î³\¥i | THE COCA-COLA COMPANY, sociedade organizada e existindo segundo as leis do Estado de Delaware | MACAU COCA-COLA BEVERAGE COMPANY LIMITED |
| P/007731 (7501-M) |
2009/01/14 | ¨Ï¥Î³\¥i | THE COCA-COLA COMPANY, sociedade organizada e existindo segundo as leis do Estado de Delaware | MACAU COCA-COLA BEVERAGE COMPANY LIMITED |
| P/007732 (7502-M) |
2009/01/14 | ¨Ï¥Î³\¥i | THE COCA-COLA COMPANY, sociedade organizada e existindo segundo as leis do Estado de Delaware | MACAU COCA-COLA BEVERAGE COMPANY LIMITED |
| P/007734 (7504-M) |
2009/01/14 | ¨Ï¥Î³\¥i | THE COCA-COLA COMPANY, sociedade organizada e existindo segundo as leis do Estado de Delaware | MACAU COCA-COLA BEVERAGE COMPANY LIMITED |
| P/007735 (7505-M) |
2009/01/14 | ¨Ï¥Î³\¥i | THE COCA-COLA COMPANY, sociedade organizada e existindo segundo as leis do Estado de Delaware | MACAU COCA-COLA BEVERAGE COMPANY LIMITED |
| P/007738 (7508-M) |
2009/01/14 | ¨Ï¥Î³\¥i | THE COCA-COLA COMPANY, sociedade organizada e existindo segundo as leis do Estado de Delaware | MACAU COCA-COLA BEVERAGE COMPANY LIMITED |
| P/007740 (7510-M) |
2009/01/14 | ¨Ï¥Î³\¥i | THE COCA-COLA COMPANY, sociedade organizada e existindo segundo as leis do Estado de Delaware | MACAU COCA-COLA BEVERAGE COMPANY LIMITED |
| P/007742 (7512-M) |
2009/01/14 | ¨Ï¥Î³\¥i | THE COCA-COLA COMPANY, sociedade organizada e existindo segundo as leis do Estado de Delaware | MACAU COCA-COLA BEVERAGE COMPANY LIMITED |
| P/007744 (7514-M) |
2009/01/14 | ¨Ï¥Î³\¥i | THE COCA-COLA COMPANY, sociedade organizada e existindo segundo as leis do Estado de Delaware | MACAU COCA-COLA BEVERAGE COMPANY LIMITED |
| P/007745 (7515-M) |
2009/01/14 | ¨Ï¥Î³\¥i | THE COCA-COLA COMPANY, sociedade organizada e existindo segundo as leis do Estado de Delaware | MACAU COCA-COLA BEVERAGE COMPANY LIMITED |
| P/007748 (7518-M) |
2009/01/14 | ¨Ï¥Î³\¥i | THE COCA-COLA COMPANY, sociedade organizada e existindo segundo as leis do Estado de Delaware | MACAU COCA-COLA BEVERAGE COMPANY LIMITED |
| P/007759 (7529-M) |
2009/01/14 | ¨Ï¥Î³\¥i | THE COCA-COLA COMPANY, sociedade organizada e existindo segundo as leis do Estado de Delaware | MACAU COCA-COLA BEVERAGE COMPANY LIMITED |
| P/007765 (7535-M) |
2009/01/14 | ¨Ï¥Î³\¥i | THE COCA-COLA COMPANY, sociedade organizada e existindo segundo as leis do Estado de Delaware | MACAU COCA-COLA BEVERAGE COMPANY LIMITED |
| P/009134 (8882-M) |
2009/01/23 | §ó§ï¦a§} | THE WELLCOME FOUNDATION LIMITED | Glaxo Wellcome House, Berkeley Avenue, Greenford, Middlesex UB6 0NN, United Kingdom |
| P/009134 (8882-M) |
2009/01/23 | ÂàÅý | THE WELLCOME FOUNDATION LIMITED | Glaxo Group Limited, com sede em Glaxo Wellcome House, Berkeley Avenue, Greenford, Middlesex UB6 0NN, United Kingdom |
| P/009135 (8883-M) |
2009/01/23 | §ó§ï¦a§} | THE WELLCOME FOUNDATION LIMITED | Glaxo Wellcome House, Berkeley Avenue, Greenford, Middlesex UB6 0NN, United Kingdom |
| P/009135 (8883-M) |
2009/01/23 | ÂàÅý | THE WELLCOME FOUNDATION LIMITED | Glaxo Group Limited, com sede em Glaxo Wellcome House, Berkeley Avenue, Greenford, Middlesex UB6 0NN, United Kingdom |
| P/009633 (9548-M) |
2009/02/03 | §ó§ï»{§O¸ê®Æ | GÉNÉRALE BISCUIT, Société Anonyme | GENERALE BISCUIT Sociedade por Acções simplificada |
| P/010076 (9908-M) |
2009/01/14 | ¨Ï¥Î³\¥i | THE COCA-COLA COMPANY, sociedade organizada e existindo segundo as leis do Estado de Delaware | MACAU COCA-COLA BEVERAGE COMPANY LIMITED |
| P/010334 (10244-M) |
2009/02/03 | ÂàÅý | MARS, INCORPORATED | New Uno Holdings Corporation, com sede em 6885 Elm Street, McLean, Virginia 22101, U.S.A. |
| P/010334 (10244-M) |
2009/02/03 | ÂàÅý | New Uno Holdings Corporation | WM Wrigley Jr. Company, com sede em 410 N. Michigan Avenue, Chicago, IL, 60611, U.S.A. |
| P/010515 (10419-M) |
2009/01/14 | ¨Ï¥Î³\¥i | THE COCA-COLA COMPANY, sociedade organizada e existindo segundo as leis do Estado de Delaware | MACAU COCA-COLA BEVERAGE COMPANY LIMITED |
| P/011089 (10938-M) |
2009/01/23 | §ó§ï»{§O¸ê®Æ | CONCORD WATCH COMPANY, S.A. | MGI Luxury Group S.A. |
| P/011142 (10997-M) |
2009/01/23 | §ó§ï¦a§} | The Wellcome Foundation Ltd. | Glaxo Wellcome House, Berkeley Avenue, Greenford, Middlesex UB6 0NN, United Kingdom |
| P/011142 (10997-M) |
2009/01/23 | ÂàÅý | The Wellcome Foundation Ltd. | Glaxo Group Limited, com sede em Glaxo Wellcome House, Berkeley Avenue, Greenford, Middlesex UB6 0NN, United Kingdom |
| P/011934 (11816-M) |
2009/01/23 | ÂàÅý | PROGRESSIVE GAMES, INC. | Shuffle Master, Inc., com sede principal em 1106 Palms Airport Drive, Las Vegas, Nevada 89119, EUA |
| P/012272 (12188-M) |
2009/01/14 | ¨Ï¥Î³\¥i | THE COCA-COLA COMPANY, sociedade organizada e existindo segundo as leis do Estado de Delaware | MACAU COCA-COLA BEVERAGE COMPANY LIMITED |
| P/012592 (12466-M) |
2009/01/23 | ÂàÅý | PROGRESSIVE GAMES, INC. | Shuffle Master, Inc., com sede principal em 1106 Palms Airport Drive, Las Vegas, Nevada 89119, EUA |
| P/013334 (13217-M) |
2009/02/03 | §ó§ï»{§O¸ê®Æ | DISTILLERS CORPORATION LIMITED | DISTELL (PROPRIETARY) LIMITED |
| P/013334 (13217-M) |
2009/02/03 | §ó§ï»{§O¸ê®Æ | DISTELL (PROPRIETARY) LIMITED | DISTELL LIMITED |
| P/013334 (13217-M) |
2009/02/03 | ÂàÅý | DISTELL LIMITED | DISTILLERS CORPORATION LIMITED |
| P/013822 (13766-M) |
2009/01/30 | ¦X¨ÖÂàÅý | D¡¦URBAN INCORPORATED (KABUSHIKI KAISHA D¡¦URBAN), companhia organizada segundo as leis do Japão | RENOWN D¡¦URBAN HOLDINGS INCORPORATED |
| P/013822 (13766-M) |
2009/01/30 | §ó§ï»{§O¸ê®Æ | RENOWN D¡¦URBAN HOLDINGS INCORPORATED | KABUSHIKI KAISHA RENOWN (RENOWN INCORPORATED) |
| P/013979 (13908-M) |
2009/01/14 | ¨Ï¥Î³\¥i | THE COCA-COLA COMPANY, sociedade organizada e existindo segundo as leis do Estado de Delaware | MACAU COCA-COLA BEVERAGE COMPANY LIMITED |
| P/013980 (13909-M) |
2009/01/14 | ¨Ï¥Î³\¥i | THE COCA-COLA COMPANY, sociedade organizada e existindo segundo as leis do Estado de Delaware | MACAU COCA-COLA BEVERAGE COMPANY LIMITED |
| P/013981 (13910-M) |
2009/01/14 | ¨Ï¥Î³\¥i | THE COCA-COLA COMPANY, sociedade organizada e existindo segundo as leis do Estado de Delaware | MACAU COCA-COLA BEVERAGE COMPANY LIMITED |
| P/015240 (15181-M) |
2009/01/14 | ¨Ï¥Î³\¥i | THE COCA-COLA COMPANY, sociedade organizada e existindo segundo as leis do Estado de Delaware | MACAU COCA-COLA BEVERAGE COMPANY LIMITED |
| N/000211 - |
2009/01/30 | ¦X¨ÖÂàÅý | D¡¦URBAN INCORPORATED | RENOWN D¡¦URBAN HOLDINGS INCORPORATED |
| N/000211 - |
2009/01/30 | §ó§ï»{§O¸ê®Æ | RENOWN D¡¦URBAN HOLDINGS INCORPORATED | KABUSHIKI KAISHA RENOWN (RENOWN INCORPORATED) |
| N/000428 - |
2009/01/14 | ¨Ï¥Î³\¥i | THE COCA-COLA COMPANY, sociedade organizada e existindo segundo as leis do Estado de Delaware | MACAU COCA-COLA BEVERAGE COMPANY LIMITED |
| N/000507 - |
2009/01/14 | ¨Ï¥Î³\¥i | THE COCA-COLA COMPANY, sociedade organizada e existindo segundo as leis do Estado de Delaware | MACAU COCA-COLA BEVERAGE COMPANY LIMITED |
| N/000508 - |
2009/01/14 | ¨Ï¥Î³\¥i | THE COCA-COLA COMPANY, sociedade organizada e existindo segundo as leis do Estado de Delaware | MACAU COCA-COLA BEVERAGE COMPANY LIMITED |
| N/000582 - |
2009/02/03 | ÂàÅý | MARS, INCORPORATED, sociedade organizada e existindo segundo as leis do Estado de Delaware | New Uno Holdings Corporation, com sede em 6885 Elm Street, McLean, Virginia 22101, U.S.A. |
| N/000582 - |
2009/02/03 | ÂàÅý | New Uno Holdings Corporation | WM Wrigley Jr. Company, com sede em 410 N. Michigan Avenue, Chicago, IL, 60611, U.S.A. |
| N/000614 - |
2009/02/03 | ÂàÅý | MARS, INCORPORATED, sociedade organizada e existindo segundo as leis do Estado de Delaware | New Uno Holdings Corporation, com sede em 6885 Elm Street, McLean, Virginia 22101, U.S.A. |
| N/000614 - |
2009/02/03 | ÂàÅý | New Uno Holdings Corporation | WM Wrigley Jr. Company, com sede em 410 N. Michigan Avenue, Chicago, IL, 60611, U.S.A. |
| N/000615 - |
2009/02/03 | ÂàÅý | MARS, INCORPORATED, sociedade organizada e existindo segundo as leis do Estado de Delaware | New Uno Holdings Corporation, com sede em 6885 Elm Street, McLean, Virginia 22101, U.S.A. |
| N/000615 - |
2009/02/03 | ÂàÅý | New Uno Holdings Corporation | WM Wrigley Jr. Company, com sede em 410 N. Michigan Avenue, Chicago, IL, 60611, U.S.A. |
| N/000798 - |
2009/02/03 | ÂàÅý | MARS, INCORPORATED, sociedade organizada e existindo segundo as leis do Estado de Delaware | New Uno Holdings Corporation, com sede em 6885 Elm Street, McLean, Virginia 22101, U.S.A. |
| N/000798 - |
2009/02/03 | ÂàÅý | New Uno Holdings Corporation | WM Wrigley Jr. Company, com sede em 410 N. Michigan Avenue, Chicago, IL, 60611, U.S.A. |
| N/000799 - |
2009/02/03 | ÂàÅý | MARS, INCORPORATED, sociedade organizada e existindo segundo as leis do Estado de Delaware | New Uno Holdings Corporation, com sede em 6885 Elm Street, McLean, Virginia 22101, U.S.A. |
| N/000799 - |
2009/02/03 | ÂàÅý | New Uno Holdings Corporation | WM Wrigley Jr. Company, com sede em 410 N. Michigan Avenue, Chicago, IL, 60611, U.S.A. |
| N/000800 - |
2009/02/03 | ÂàÅý | MARS, INCORPORATED, sociedade organizada e existindo segundo as leis do Estado de Delaware | New Uno Holdings Corporation, com sede em 6885 Elm Street, McLean, Virginia 22101, U.S.A. |
| N/000800 - |
2009/02/03 | ÂàÅý | New Uno Holdings Corporation | WM Wrigley Jr. Company, com sede em 410 N. Michigan Avenue, Chicago, IL, 60611, U.S.A. |
| N/000804 - |
2009/02/03 | ÂàÅý | MARS, INCORPORATED, sociedade organizada e existindo segundo as leis do Estado de Delaware | New Uno Holdings Corporation, com sede em 6885 Elm Street, McLean, Virginia 22101, U.S.A. |
| N/000804 - |
2009/02/03 | ÂàÅý | New Uno Holdings Corporation | WM Wrigley Jr. Company, com sede em 410 N. Michigan Avenue, Chicago, IL, 60611, U.S.A. |
| N/000925 - |
2009/02/03 | ÂàÅý | MARS, INCORPORATED, sociedade organizada e existindo segundo as leis do Estado de Delaware | New Uno Holdings Corporation, com sede em 6885 Elm Street, McLean, Virginia 22101, U.S.A. |
| N/000925 - |
2009/02/03 | ÂàÅý | New Uno Holdings Corporation | WM Wrigley Jr. Company, com sede em 410 N. Michigan Avenue, Chicago, IL, 60611, U.S.A. |
| N/001659 - |
2009/01/14 | ¨Ï¥Î³\¥i | THE COCA-COLA COMPANY, sociedade organizada e existindo segundo as leis do Estado de Delaware | MACAU COCA-COLA BEVERAGE COMPANY LIMITED |
| N/001660 - |
2009/01/14 | ¨Ï¥Î³\¥i | THE COCA-COLA COMPANY, sociedade organizada e existindo segundo as leis do Estado de Delaware | MACAU COCA-COLA BEVERAGE COMPANY LIMITED |
| N/001671 - |
2009/01/14 | ¨Ï¥Î³\¥i | THE COCA-COLA COMPANY, sociedade organizada e existindo segundo as leis do Estado de Delaware | MACAU COCA-COLA BEVERAGE COMPANY LIMITED |
| N/001672 - |
2009/01/14 | ¨Ï¥Î³\¥i | THE COCA-COLA COMPANY, sociedade organizada e existindo segundo as leis do Estado de Delaware | MACAU COCA-COLA BEVERAGE COMPANY LIMITED |
| N/002005 - |
2009/02/03 | ÂàÅý | Mars, Incorporated, uma sociedade organizada e existindo segundo as leis do Estado de Delaware | New Uno Holdings Corporation, com sede em 6885 Elm Street, McLean, Virginia 22101, U.S.A. |
| N/002005 - |
2009/02/03 | ÂàÅý | New Uno Holdings Corporation | WM Wrigley Jr. Company, com sede em 410 N. Michigan Avenue, Chicago, IL, 60611, U.S.A. |
| N/002163 - |
2009/01/23 | ÂàÅý | YAMAHA CORPORATION | Yamaha Hatsudoki Kabushiki Kaisha, com sede em 2500 Shingai, Iwata-shi, Shizuoka-ken, Japan |
| N/003774 - |
2009/01/14 | ¨Ï¥Î³\¥i | THE COCA-COLA COMPANY, sociedade organizada e existindo segundo as leis do Estado de Delaware | MACAU COCA-COLA BEVERAGE COMPANY LIMITED |
| N/003775 - |
2009/01/14 | ¨Ï¥Î³\¥i | THE COCA-COLA COMPANY, sociedade organizada e existindo segundo as leis do Estado de Delaware | MACAU COCA-COLA BEVERAGE COMPANY LIMITED |
| N/003776 - |
2009/01/14 | ¨Ï¥Î³\¥i | THE COCA-COLA COMPANY, sociedade organizada e existindo segundo as leis do Estado de Delaware | MACAU COCA-COLA BEVERAGE COMPANY LIMITED |
| N/005034 - |
2009/02/03 | ÂàÅý | Mars, Incorporated, uma sociedade organizada e existindo segundo as leis do Estado de Delaware | New Uno Holdings Corporation, com sede em 6885 Elm Street, McLean, Virginia 22101, U.S.A. |
| N/005034 - |
2009/02/03 | ÂàÅý | New Uno Holdings Corporation | WM Wrigley Jr. Company, com sede em 410 N. Michigan Avenue, Chicago, IL, 60611, U.S.A. |
| N/006733 - |
2009/01/14 | ÂàÅý | PCCW-HKT DataCom Services Limited | PCCW Enterprises Limited, com sede em 39th Floor, PCCW Tower, TaiKoo Place, 979 King¡¦s Road, Quarry Bay, Hong Kong |
| N/006734 - |
2009/01/14 | ÂàÅý | PCCW-HKT DataCom Services Limited | PCCW Enterprises Limited, com sede em 39th Floor, PCCW Tower, TaiKoo Place, 979 King¡¦s Road, Quarry Bay, Hong Kong |
| N/006735 - |
2009/01/14 | ÂàÅý | PCCW-HKT DataCom Services Limited | PCCW Enterprises Limited, com sede em 39th Floor, PCCW Tower, TaiKoo Place, 979 King¡¦s Road, Quarry Bay, Hong Kong |
| N/006736 - |
2009/01/14 | ÂàÅý | PCCW-HKT DataCom Services Limited | PCCW Enterprises Limited, com sede em 39th Floor, PCCW Tower, TaiKoo Place, 979 King¡¦s Road, Quarry Bay, Hong Kong |
| N/006737 - |
2009/01/14 | ÂàÅý | PCCW-HKT DataCom Services Limited | PCCW Enterprises Limited, com sede em 39th Floor, PCCW Tower, TaiKoo Place, 979 King¡¦s Road, Quarry Bay, Hong Kong |
| N/006738 - |
2009/01/14 | ÂàÅý | PCCW-HKT DataCom Services Limited | PCCW Enterprises Limited, com sede em 39th Floor, PCCW Tower, TaiKoo Place, 979 King¡¦s Road, Quarry Bay, Hong Kong |
| N/006739 - |
2009/01/14 | ÂàÅý | PCCW-HKT DataCom Services Limited | PCCW Enterprises Limited, com sede em 39th Floor, PCCW Tower, TaiKoo Place, 979 King¡¦s Road, Quarry Bay, Hong Kong |
| N/006740 - |
2009/01/14 | ÂàÅý | PCCW-HKT DataCom Services Limited | PCCW Enterprises Limited, com sede em 39th Floor, PCCW Tower, TaiKoo Place, 979 King¡¦s Road, Quarry Bay, Hong Kong |
| N/006741 - |
2009/01/14 | ÂàÅý | PCCW-HKT DataCom Services Limited | PCCW Enterprises Limited, com sede em 39th Floor, PCCW Tower, TaiKoo Place, 979 King¡¦s Road, Quarry Bay, Hong Kong |
| N/007237 - |
2009/01/14 | ÂàÅý | PCCW-HKT DataCom Services Limited | PCCW Enterprises Limited, com sede em 39th Floor, PCCW Tower, TaiKoo Place, 979 King¡¦s Road, Quarry Bay, Hong Kong |
| N/007238 - |
2009/01/14 | ÂàÅý | PCCW-HKT DataCom Services Limited | PCCW Enterprises Limited, com sede em 39th Floor, PCCW Tower, TaiKoo Place, 979 King¡¦s Road, Quarry Bay, Hong Kong |
| N/007239 - |
2009/01/14 | ÂàÅý | PCCW-HKT DataCom Services Limited | PCCW Enterprises Limited, com sede em 39th Floor, PCCW Tower, TaiKoo Place, 979 King¡¦s Road, Quarry Bay, Hong Kong |
| N/007240 - |
2009/01/14 | ÂàÅý | PCCW-HKT DataCom Services Limited | PCCW Enterprises Limited, com sede em 39th Floor, PCCW Tower, TaiKoo Place, 979 King¡¦s Road, Quarry Bay, Hong Kong |
| N/007241 - |
2009/01/14 | ÂàÅý | PCCW-HKT DataCom Services Limited | PCCW Enterprises Limited, com sede em 39th Floor, PCCW Tower, TaiKoo Place, 979 King¡¦s Road, Quarry Bay, Hong Kong |
| N/007242 - |
2009/01/14 | ÂàÅý | PCCW-HKT DataCom Services Limited | PCCW Enterprises Limited, com sede em 39th Floor, PCCW Tower, TaiKoo Place, 979 King¡¦s Road, Quarry Bay, Hong Kong |
| N/007243 - |
2009/01/14 | ÂàÅý | PCCW-HKT DataCom Services Limited | PCCW Enterprises Limited, com sede em 39th Floor, PCCW Tower, TaiKoo Place, 979 King¡¦s Road, Quarry Bay, Hong Kong |
| N/007244 - |
2009/01/14 | ÂàÅý | PCCW-HKT DataCom Services Limited | PCCW Enterprises Limited, com sede em 39th Floor, PCCW Tower, TaiKoo Place, 979 King¡¦s Road, Quarry Bay, Hong Kong |
| N/007245 - |
2009/01/14 | ÂàÅý | PCCW-HKT DataCom Services Limited | PCCW Enterprises Limited, com sede em 39th Floor, PCCW Tower, TaiKoo Place, 979 King¡¦s Road, Quarry Bay, Hong Kong |
| N/007293 - |
2009/01/14 | ÂàÅý | PCCW-HKT DataCom Services Limited, uma companhia de responsabilidade limitada | PCCW Enterprises Limited, com sede em 39th Floor, PCCW Tower, TaiKoo Place, 979 King¡¦s Road, Quarry Bay, Hong Kong |
| N/007294 - |
2009/01/14 | ÂàÅý | PCCW-HKT DataCom Services Limited, uma companhia de responsabilidade limitada | PCCW Enterprises Limited, com sede em 39th Floor, PCCW Tower, TaiKoo Place, 979 King¡¦s Road, Quarry Bay, Hong Kong |
| N/007295 - |
2009/01/14 | ÂàÅý | PCCW-HKT DataCom Services Limited, uma companhia de responsabilidade limitada | PCCW Enterprises Limited, com sede em 39th Floor, PCCW Tower, TaiKoo Place, 979 King¡¦s Road, Quarry Bay, Hong Kong |
| N/007296 - |
2009/01/14 | ÂàÅý | PCCW-HKT DataCom Services Limited, uma companhia de responsabilidade limitada | PCCW Enterprises Limited, com sede em 39th Floor, PCCW Tower, TaiKoo Place, 979 King¡¦s Road, Quarry Bay, Hong Kong |
| N/007297 - |
2009/01/14 | ÂàÅý | PCCW-HKT DataCom Services Limited, uma companhia de responsabilidade limitada | PCCW Enterprises Limited, com sede em 39th Floor, PCCW Tower, TaiKoo Place, 979 King¡¦s Road, Quarry Bay, Hong Kong |
| N/007298 - |
2009/01/14 | ÂàÅý | PCCW-HKT DataCom Services Limited, uma companhia de responsabilidade limitada | PCCW Enterprises Limited, com sede em 39th Floor, PCCW Tower, TaiKoo Place, 979 King¡¦s Road, Quarry Bay, Hong Kong |
| N/007299 - |
2009/01/14 | ÂàÅý | PCCW-HKT DataCom Services Limited, uma companhia de responsabilidade limitada | PCCW Enterprises Limited, com sede em 39th Floor, PCCW Tower, TaiKoo Place, 979 King¡¦s Road, Quarry Bay, Hong Kong |
| N/007300 - |
2009/01/14 | ÂàÅý | PCCW-HKT DataCom Services Limited, uma companhia de responsabilidade limitada | PCCW Enterprises Limited, com sede em 39th Floor, PCCW Tower, TaiKoo Place, 979 King¡¦s Road, Quarry Bay, Hong Kong |
| N/007301 - |
2009/01/14 | ÂàÅý | PCCW-HKT DataCom Services Limited, uma companhia de responsabilidade limitada | PCCW Enterprises Limited, com sede em 39th Floor, PCCW Tower, TaiKoo Place, 979 King¡¦s Road, Quarry Bay, Hong Kong |
| N/007912 - |
2009/01/14 | ¨Ï¥Î³\¥i | THE COCA-COLA COMPANY, sociedade organizada e existindo segundo as leis do Estado de Delaware | MACAU COCA-COLA BEVERAGE COMPANY LIMITED |
| N/008165 - |
2009/01/14 | §ó§ï¦a§} | LEA & PERRINS LIMITED | South Building, Hayes Park, Hayes, Middlesex, UB4 8AL Inglaterra |
| N/008482 - |
2009/01/14 | §ó§ï»{§O¸ê®Æ | ³Õ¤º¯S¨½¶ë¤å¶ø°Ç¦³¤½¥q Bonneterie Cevenole S.A.R.L. |
Bonneterie Cevenole |
| N/008483 - |
2009/01/14 | §ó§ï»{§O¸ê®Æ | ³Õ¤º¯S¨½¶ë¤å¶ø°Ç¦³¤½¥q Bonneterie Cevenole S.A.R.L. |
Bonneterie Cevenole |
| N/008535 - |
2009/01/14 | ¨Ï¥Î³\¥i | THE COCA-COLA COMPANY, sociedade organizada e existindo segundo as leis do Estado de Delaware | MACAU COCA-COLA BEVERAGE COMPANY LIMITED |
| N/008660 - |
2009/01/23 | §ó§ï»{§O¸ê®Æ | BRIDOR, sociedade por acções simplificada organizada segundo as leis de França | BRIDOR HOLDING |
| N/008661 - |
2009/01/23 | §ó§ï»{§O¸ê®Æ | BRIDOR, sociedade por acções simplificada organizada segundo as leis de França | BRIDOR HOLDING |
| N/008662 - |
2009/01/23 | §ó§ï»{§O¸ê®Æ | BRIDOR, sociedade por acções simplificada organizada segundo as leis de França | BRIDOR HOLDING |
| N/008714 - |
2009/02/09 | §ó§ï¦a§} | THE COCA-COLA COMPANY, sociedade organizada e existindo segundo as leis do Estado de Delaware | One Coca-Cola Plaza, Atlanta, Georgia 30313, USA |
| N/009143 - |
2009/02/04 | §ó§ï¦a§} | Sunray Cave Limited | Room A7, 9/F, Merit Industrial Centre, 94 Tokwawan Road, Kowloon, Hong Kong |
| N/009144 - |
2009/02/04 | §ó§ï¦a§} | Sunray Cave Limited | Room A7, 9/F, Merit Industrial Centre, 94 Tokwawan Road, Kowloon, Hong Kong |
| N/009145 - |
2009/02/04 | §ó§ï¦a§} | Sunray Cave Limited | Room A7, 9/F, Merit Industrial Centre, 94 Tokwawan Road, Kowloon, Hong Kong |
| N/009190 - |
2009/01/14 | ¨Ï¥Î³\¥i | THE COCA-COLA COMPANY, sociedade organizada e existindo segundo as leis do Estado de Delaware | MACAU COCA-COLA BEVERAGE COMPANY LIMITED |
| N/009191 - |
2009/01/14 | ¨Ï¥Î³\¥i | THE COCA-COLA COMPANY, sociedade organizada e existindo segundo as leis do Estado de Delaware | MACAU COCA-COLA BEVERAGE COMPANY LIMITED |
| N/009437 - |
2009/01/23 | ¨Ï¥Î³\¥i | THE COCA-COLA COMPANY, sociedade organizada e existindo segundo as leis do Estado de Delaware | MACAU COCA-COLA BEVERAGE COMPANY LIMITED |
| N/009487 - |
2009/01/14 | ¨Ï¥Î³\¥i | THE COCA-COLA COMPANY, sociedade organizada e existindo segundo as leis do Estado de Delaware | MACAU COCA-COLA BEVERAGE COMPANY LIMITED |
| N/009675 - |
2009/01/14 | ÂàÅý | PCCW-HKT DataCom Services Limited, uma companhia de responsabilidade limitada | PCCW Enterprises Limited, com sede em 39th Floor, PCCW Tower, TaiKoo Place, 979 King¡¦s Road, Quarry Bay, Hong Kong |
| N/009676 - |
2009/01/14 | ÂàÅý | PCCW-HKT DataCom Services Limited, uma companhia de responsabilidade limitada | PCCW Enterprises Limited, com sede em 39th Floor, PCCW Tower, TaiKoo Place, 979 King¡¦s Road, Quarry Bay, Hong Kong |
| N/009677 - |
2009/01/14 | ÂàÅý | PCCW-HKT DataCom Services Limited, uma companhia de responsabilidade limitada | PCCW Enterprises Limited, com sede em 39th Floor, PCCW Tower, TaiKoo Place, 979 King¡¦s Road, Quarry Bay, Hong Kong |
| N/009678 - |
2009/01/14 | ÂàÅý | PCCW-HKT DataCom Services Limited, uma companhia de responsabilidade limitada | PCCW Enterprises Limited, com sede em 39th Floor, PCCW Tower, TaiKoo Place, 979 King¡¦s Road, Quarry Bay, Hong Kong |
| N/009679 - |
2009/01/14 | ÂàÅý | PCCW-HKT DataCom Services Limited, uma companhia de responsabilidade limitada | PCCW Enterprises Limited, com sede em 39th Floor, PCCW Tower, TaiKoo Place, 979 King¡¦s Road, Quarry Bay, Hong Kong |
| N/009680 - |
2009/01/14 | ÂàÅý | PCCW-HKT DataCom Services Limited, uma companhia de responsabilidade limitada | PCCW Enterprises Limited, com sede em 39th Floor, PCCW Tower, TaiKoo Place, 979 King¡¦s Road, Quarry Bay, Hong Kong |
| N/009681 - |
2009/01/14 | ÂàÅý | PCCW-HKT DataCom Services Limited, uma companhia de responsabilidade limitada | PCCW Enterprises Limited, com sede em 39th Floor, PCCW Tower, TaiKoo Place, 979 King¡¦s Road, Quarry Bay, Hong Kong |
| N/009682 - |
2009/01/14 | ÂàÅý | PCCW-HKT DataCom Services Limited, uma companhia de responsabilidade limitada | PCCW Enterprises Limited, com sede em 39th Floor, PCCW Tower, TaiKoo Place, 979 King¡¦s Road, Quarry Bay, Hong Kong |
| N/009683 - |
2009/01/14 | ÂàÅý | PCCW-HKT DataCom Services Limited, uma companhia de responsabilidade limitada | PCCW Enterprises Limited, com sede em 39th Floor, PCCW Tower, TaiKoo Place, 979 King¡¦s Road, Quarry Bay, Hong Kong |
| N/009684 - |
2009/01/14 | ÂàÅý | PCCW-HKT DataCom Services Limited, uma companhia de responsabilidade limitada | PCCW Enterprises Limited, com sede em 39th Floor, PCCW Tower, TaiKoo Place, 979 King¡¦s Road, Quarry Bay, Hong Kong |
| N/009685 - |
2009/01/14 | ÂàÅý | PCCW-HKT DataCom Services Limited, uma companhia de responsabilidade limitada | PCCW Enterprises Limited, com sede em 39th Floor, PCCW Tower, TaiKoo Place, 979 King¡¦s Road, Quarry Bay, Hong Kong |
| N/009686 - |
2009/01/14 | ÂàÅý | PCCW-HKT DataCom Services Limited, uma companhia de responsabilidade limitada | PCCW Enterprises Limited, com sede em 39th Floor, PCCW Tower, TaiKoo Place, 979 King¡¦s Road, Quarry Bay, Hong Kong |
| N/009687 - |
2009/01/14 | ÂàÅý | PCCW-HKT DataCom Services Limited, uma companhia de responsabilidade limitada | PCCW Enterprises Limited, com sede em 39th Floor, PCCW Tower, TaiKoo Place, 979 King¡¦s Road, Quarry Bay, Hong Kong |
| N/009688 - |
2009/01/14 | ÂàÅý | PCCW-HKT DataCom Services Limited, uma companhia de responsabilidade limitada | PCCW Enterprises Limited, com sede em 39th Floor, PCCW Tower, TaiKoo Place, 979 King¡¦s Road, Quarry Bay, Hong Kong |
| N/009689 - |
2009/01/14 | ÂàÅý | PCCW-HKT DataCom Services Limited, uma companhia de responsabilidade limitada | PCCW Enterprises Limited, com sede em 39th Floor, PCCW Tower, TaiKoo Place, 979 King¡¦s Road, Quarry Bay, Hong Kong |
| N/009690 - |
2009/01/14 | ÂàÅý | PCCW-HKT DataCom Services Limited, uma companhia de responsabilidade limitada | PCCW Enterprises Limited, com sede em 39th Floor, PCCW Tower, TaiKoo Place, 979 King¡¦s Road, Quarry Bay, Hong Kong |
| N/009691 - |
2009/01/14 | ÂàÅý | PCCW-HKT DataCom Services Limited, uma companhia de responsabilidade limitada | PCCW Enterprises Limited, com sede em 39th Floor, PCCW Tower, TaiKoo Place, 979 King¡¦s Road, Quarry Bay, Hong Kong |
| N/009692 - |
2009/01/14 | ÂàÅý | PCCW-HKT DataCom Services Limited, uma companhia de responsabilidade limitada | PCCW Enterprises Limited, com sede em 39th Floor, PCCW Tower, TaiKoo Place, 979 King¡¦s Road, Quarry Bay, Hong Kong |
| N/009787 - |
2009/01/14 | ÂàÅý | SONY KABUSHIKI KAISHA (também comercializando como SONY CORPORATION), uma sociedade organizada e existindo segundo as leis do Japão | Blu-ray Disc Association, com sede em 10 Universal City Plaza, T-100, Universal City, California 91608 U.S.A. |
| N/010313 - |
2009/01/23 | ÂàÅý | Beecham Group p.l.c. | Glaxo Group Limited, com sede em Glaxo Wellcome House, Berkeley Avenue, Greenford, Middlesex UB6 0NN, United Kingdom |
| N/010314 - |
2009/01/23 | ÂàÅý | Beecham Group p.l.c. | Glaxo Group Limited, com sede em Glaxo Wellcome House, Berkeley Avenue, Greenford, Middlesex UB6 0NN, United Kingdom |
| N/010315 - |
2009/01/23 | ÂàÅý | Beecham Group p.l.c. | Glaxo Group Limited, com sede em Glaxo Wellcome House, Berkeley Avenue, Greenford, Middlesex UB6 0NN, United Kingdom |
| N/010316 - |
2009/01/23 | ÂàÅý | Beecham Group p.l.c. | Glaxo Group Limited, com sede em Glaxo Wellcome House, Berkeley Avenue, Greenford, Middlesex UB6 0NN, United Kingdom |
| N/010317 - |
2009/01/23 | ÂàÅý | Beecham Group p.l.c. | Glaxo Group Limited, com sede em Glaxo Wellcome House, Berkeley Avenue, Greenford, Middlesex UB6 0NN, United Kingdom |
| N/010350 - |
2009/01/23 | ÂàÅý | Beecham Group p.l.c. | Glaxo Group Limited, com sede em Glaxo Wellcome House, Berkeley Avenue, Greenford, Middlesex UB6 0NN, United Kingdom |
| N/010351 - |
2009/01/23 | ÂàÅý | Beecham Group p.l.c. | Glaxo Group Limited, com sede em Glaxo Wellcome House, Berkeley Avenue, Greenford, Middlesex UB6 0NN, United Kingdom |
| N/010566 - |
2009/01/14 | ¨Ï¥Î³\¥i | THE COCA-COLA COMPANY, sociedade organizada e existindo segundo as leis do Estado de Delaware | MACAU COCA-COLA BEVERAGE COMPANY LIMITED |
| N/010567 - |
2009/01/14 | ¨Ï¥Î³\¥i | THE COCA-COLA COMPANY, sociedade organizada e existindo segundo as leis do Estado de Delaware | MACAU COCA-COLA BEVERAGE COMPANY LIMITED |
| N/010588 - |
2009/01/14 | ¨Ï¥Î³\¥i | THE COCA-COLA COMPANY, sociedade organizada e existindo segundo as leis do Estado de Delaware | MACAU COCA-COLA BEVERAGE COMPANY LIMITED |
| N/010589 - |
2009/01/14 | ¨Ï¥Î³\¥i | THE COCA-COLA COMPANY, sociedade organizada e existindo segundo as leis do Estado de Delaware | MACAU COCA-COLA BEVERAGE COMPANY LIMITED |
| N/010590 - |
2009/01/14 | ¨Ï¥Î³\¥i | THE COCA-COLA COMPANY, sociedade organizada e existindo segundo as leis do Estado de Delaware | MACAU COCA-COLA BEVERAGE COMPANY LIMITED |
| N/010591 - |
2009/01/14 | ¨Ï¥Î³\¥i | THE COCA-COLA COMPANY, sociedade organizada e existindo segundo as leis do Estado de Delaware | MACAU COCA-COLA BEVERAGE COMPANY LIMITED |
| N/010592 - |
2009/01/14 | ¨Ï¥Î³\¥i | THE COCA-COLA COMPANY, sociedade organizada e existindo segundo as leis do Estado de Delaware | MACAU COCA-COLA BEVERAGE COMPANY LIMITED |
| N/010889 - |
2009/01/29 | ¦X¨ÖÂàÅý | KABUSHIKI KAISHA D¡¦URBAN (D¡¦URBAN INCORPORATED) | RENOWN D¡¦URBAN HOLDINGS INCORPORATED |
| N/010889 - |
2009/01/29 | §ó§ï»{§O¸ê®Æ | RENOWN D¡¦URBAN HOLDINGS INCORPORATED | KABUSHIKI KAISHA RENOWN (RENOWN INCORPORATED) |
| N/010890 - |
2009/01/29 | ¦X¨ÖÂàÅý | KABUSHIKI KAISHA D¡¦URBAN (D¡¦URBAN INCORPORATED) | RENOWN D¡¦URBAN HOLDINGS INCORPORATED |
| N/010890 - |
2009/01/29 | §ó§ï»{§O¸ê®Æ | RENOWN D¡¦URBAN HOLDINGS INCORPORATED | KABUSHIKI KAISHA RENOWN (RENOWN INCORPORATED) |
| N/012333 - |
2009/01/29 | ¦X¨ÖÂàÅý | KABUSHIKI KAISHA D¡¦URBAN (D¡¦URBAN INCORPORATED) | RENOWN D¡¦URBAN HOLDINGS INCORPORATED |
| N/012333 - |
2009/01/29 | §ó§ï»{§O¸ê®Æ | RENOWN D¡¦URBAN HOLDINGS INCORPORATED | KABUSHIKI KAISHA RENOWN (RENOWN INCORPORATED) |
| N/012334 - |
2009/01/29 | ¦X¨ÖÂàÅý | KABUSHIKI KAISHA D¡¦URBAN (D¡¦URBAN INCORPORATED) | RENOWN D¡¦URBAN HOLDINGS INCORPORATED |
| N/012334 - |
2009/01/29 | §ó§ï»{§O¸ê®Æ | RENOWN D¡¦URBAN HOLDINGS INCORPORATED | KABUSHIKI KAISHA RENOWN (RENOWN INCORPORATED) |
| N/012335 - |
2009/01/29 | ¦X¨ÖÂàÅý | KABUSHIKI KAISHA D¡¦URBAN (D¡¦URBAN INCORPORATED) | RENOWN D¡¦URBAN HOLDINGS INCORPORATED |
| N/012335 - |
2009/01/29 | §ó§ï»{§O¸ê®Æ | RENOWN D¡¦URBAN HOLDINGS INCORPORATED | KABUSHIKI KAISHA RENOWN (RENOWN INCORPORATED) |
| N/012336 - |
2009/01/29 | ¦X¨ÖÂàÅý | KABUSHIKI KAISHA D¡¦URBAN (D¡¦URBAN INCORPORATED) | RENOWN D¡¦URBAN HOLDINGS INCORPORATED |
| N/012336 - |
2009/01/29 | §ó§ï»{§O¸ê®Æ | RENOWN D¡¦URBAN HOLDINGS INCORPORATED | KABUSHIKI KAISHA RENOWN (RENOWN INCORPORATED) |
| N/012337 - |
2009/01/29 | ¦X¨ÖÂàÅý | KABUSHIKI KAISHA D¡¦URBAN (D¡¦URBAN INCORPORATED) | RENOWN D¡¦URBAN HOLDINGS INCORPORATED |
| N/012337 - |
2009/01/29 | §ó§ï»{§O¸ê®Æ | RENOWN D¡¦URBAN HOLDINGS INCORPORATED | KABUSHIKI KAISHA RENOWN (RENOWN INCORPORATED) |
| N/012518 - |
2009/01/14 | ¨Ï¥Î³\¥i | THE COCA-COLA COMPANY, sociedade organizada e existindo segundo as leis do Estado de Delaware | MACAU COCA-COLA BEVERAGE COMPANY LIMITED |
| N/012535 - |
2009/01/14 | ¨Ï¥Î³\¥i | THE COCA-COLA COMPANY, sociedade organizada e existindo segundo as leis do Estado de Delaware | MACAU COCA-COLA BEVERAGE COMPANY LIMITED |
| N/013298 - |
2009/01/23 | ÂàÅý | THE WELLCOME FOUNDATION LIMITED | Glaxo Group Limited, com sede em Glaxo Wellcome House, Berkeley Avenue, Greenford, Middlesex UB6 0NN, United Kingdom |
| N/013299 - |
2009/01/23 | ÂàÅý | THE WELLCOME FOUNDATION LIMITED | Glaxo Group Limited, com sede em Glaxo Wellcome House, Berkeley Avenue, Greenford, Middlesex UB6 0NN, United Kingdom |
| N/013300 - |
2009/01/23 | ÂàÅý | THE WELLCOME FOUNDATION LIMITED | Glaxo Group Limited, com sede em Glaxo Wellcome House, Berkeley Avenue, Greenford, Middlesex UB6 0NN, United Kingdom |
| N/013384 - |
2009/01/14 | §ó§ï»{§O¸ê®Æ | Super 8 Motels, Inc. | Super 8 Worldwide, Inc. |
| N/013385 - |
2009/01/14 | §ó§ï»{§O¸ê®Æ | Super 8 Motels, Inc. | Super 8 Worldwide, Inc. |
| N/013386 - |
2009/01/14 | §ó§ï»{§O¸ê®Æ | Super 8 Motels, Inc. | Super 8 Worldwide, Inc. |
| N/013387 - |
2009/01/14 | §ó§ï»{§O¸ê®Æ | Super 8 Motels, Inc. | Super 8 Worldwide, Inc. |
| N/013400 - |
2009/01/14 | §ó§ï»{§O¸ê®Æ | Super 8 Motels, Inc. | Super 8 Worldwide, Inc. |
| N/013401 - |
2009/01/14 | §ó§ï»{§O¸ê®Æ | Super 8 Motels, Inc. | Super 8 Worldwide, Inc. |
| N/015020 - |
2009/01/23 | §ó§ï¦a§} | «¼yÃÓ¤ì¦K¤uÃÀ«~¦³¤½¥q | ¤¤°ê«¼y¥«¸U¦{°ÏÀsÄ_Âùªe¤f¡]»´¤u·~¶é¡^ A«¬¼t©Ð |
| N/015021 - |
2009/01/23 | §ó§ï¦a§} | «¼yÃÓ¤ì¦K¤uÃÀ«~¦³¤½¥q | ¤¤°ê«¼y¥«¸U¦{°ÏÀsÄ_Âùªe¤f¡]»´¤u·~¶é¡^A«¬¼t©Ð |
| N/016208 - |
2009/02/03 | ÂàÅý | Mars, Incorporated, sociedade organizada e existindo segundo as leis do Estado de Delaware | New Uno Holdings Corporation, com sede em 6885 Elm Street, McLean, Virginia 22101, U.S.A. |
| N/016208 - |
2009/02/03 | ÂàÅý | New Uno Holdings Corporation | WM Wrigley Jr. Company, com sede em 410 N. Michigan Avenue, Chicago, IL, 60611, U.S.A. |
| N/016209 - |
2009/02/03 | ÂàÅý | Mars, Incorporated, sociedade organizada e existindo segundo as leis do Estado de Delaware | New Uno Holdings Corporation, com sede em 6885 Elm Street, McLean, Virginia 22101, U.S.A. |
| N/016209 - |
2009/02/03 | ÂàÅý | New Uno Holdings Corporation | WM Wrigley Jr. Company, com sede em 410 N. Michigan Avenue, Chicago, IL, 60611, U.S.A. |
| N/016824 - |
2009/01/14 | ¨Ï¥Î³\¥i | THE COCA-COLA COMPANY | MACAU COCA-COLA BEVERAGE COMPANY LIMITED |
| N/016933 - |
2009/01/14 | ¨Ï¥Î³\¥i | THE COCA-COLA COMPANY | MACAU COCA-COLA BEVERAGE COMPANY LIMITED |
| N/016934 - |
2009/01/14 | ¨Ï¥Î³\¥i | THE COCA-COLA COMPANY | MACAU COCA-COLA BEVERAGE COMPANY LIMITED |
| N/016935 - |
2009/01/23 | ¨Ï¥Î³\¥i | THE COCA-COLA COMPANY | MACAU COCA-COLA BEVERAGE COMPANY LIMITED |
| N/016936 - |
2009/01/14 | ¨Ï¥Î³\¥i | THE COCA-COLA COMPANY | MACAU COCA-COLA BEVERAGE COMPANY LIMITED |
| N/018562 - |
2009/01/14 | ¨Ï¥Î³\¥i | THE COCA-COLA COMPANY | MACAU COCA-COLA BEVERAGE COMPANY LIMITED |
| N/018788 - |
2009/01/23 | ÂàÅý | ¼s¦{ÅQ¤ý¤Æ§©«~¦³¤½¥q | ÅQ¤ý¡]¼s¦{¡^¦³¤½¥q BAWANG (GUANGZHOU) CO., LTD. com sede em Building No. 1 Zibian No. 8, Huanan Road, Xinshi Town, Baiyun District, Guangzhou, Guangdong, P.R. China |
| N/018789 - |
2009/01/23 | ÂàÅý | ¼s¦{ÅQ¤ý¤Æ§©«~¦³¤½¥q | ÅQ¤ý¡]¼s¦{¡^¦³¤½¥q BAWANG (GUANGZHOU) CO., LTD. com sede em Building No. 1 Zibian No. 8, Huanan Road, Xinshi Town, Baiyun District, Guangzhou, Guangdong, P.R. China |
| N/018823 - |
2009/01/19 | §ó§ï»{§O¸ê®Æ | 温¦{¥«´Ë°¨µ£¸Ë¦³¤½¥q WENZHOU SEMIR CHILDREN¡¦S CLOTHING CO., LTD. |
®ý¦¿´Ë°¨ªA¹¢ªÑ¥÷¦³¤½¥q ZHEJIANG SEMIR GARMENT CO., LTD. |
| N/018918 - |
2009/01/14 | ¨Ï¥Î³\¥i | THE COCA-COLA COMPANY | MACAU COCA-COLA BEVERAGE COMPANY LIMITED |
| N/018919 - |
2009/01/14 | ¨Ï¥Î³\¥i | THE COCA-COLA COMPANY | MACAU COCA-COLA BEVERAGE COMPANY LIMITED |
| N/019016 - |
2009/02/03 | ÂàÅý | Mars, Incorporated | New Uno Holdings Corporation, com sede em 6885 Elm Street, McLean, Virginia 22101, U.S.A. |
| N/019016 - |
2009/02/03 | ÂàÅý | New Uno Holdings Corporation | WM Wrigley Jr. Company, com sede em 410 N. Michigan Avenue, Chicago, IL, 60611, U.S.A. |
| N/019032 - |
2009/01/14 | ¨Ï¥Î³\¥i | THE COCA-COLA COMPANY | MACAU COCA-COLA BEVERAGE COMPANY LIMITED |
| N/019033 - |
2009/01/14 | ¨Ï¥Î³\¥i | THE COCA-COLA COMPANY | MACAU COCA-COLA BEVERAGE COMPANY LIMITED |
| N/019034 - |
2009/01/14 | ¨Ï¥Î³\¥i | THE COCA-COLA COMPANY | MACAU COCA-COLA BEVERAGE COMPANY LIMITED |
| N/019035 - |
2009/01/14 | ¨Ï¥Î³\¥i | THE COCA-COLA COMPANY | MACAU COCA-COLA BEVERAGE COMPANY LIMITED |
| N/020283 - |
2009/02/03 | ÂàÅý | Easiyo Products Limited | WESTLAND MILK PRODUCTS IP LIMITED, com sede em 56 Livingstone Street, Hokitika, New Zealand |
| N/020284 - |
2009/02/03 | ÂàÅý | Easiyo Products Limited | WESTLAND MILK PRODUCTS IP LIMITED, com sede em 56 Livingstone Street, Hokitika, New Zealand |
| N/020285 - |
2009/02/03 | ÂàÅý | Easiyo Products Limited | WESTLAND MILK PRODUCTS IP LIMITED, com sede em 56 Livingstone Street, Hokitika, New Zealand |
| N/020286 - |
2009/02/03 | ÂàÅý | Easiyo Products Limited | WESTLAND MILK PRODUCTS IP LIMITED, com sede em 56 Livingstone Street, Hokitika, New Zealand |
| N/020361 - |
2009/01/14 | ¨Ï¥Î³\¥i | THE COCA-COLA COMPANY | MACAU COCA-COLA BEVERAGE COMPANY LIMITED |
| N/020362 - |
2009/01/14 | ¨Ï¥Î³\¥i | THE COCA-COLA COMPANY | MACAU COCA-COLA BEVERAGE COMPANY LIMITED |
| N/020818 - |
2009/01/14 | ¨Ï¥Î³\¥i | THE COCA-COLA COMPANY | MACAU COCA-COLA BEVERAGE COMPANY LIMITED |
| N/021004 - |
2009/01/23 | ÂàÅý | Beecham Group plc | Glaxo Group Limited, com sede em Glaxo Wellcome House, Berkeley Avenue, Greenford, Middlesex UB6 0NN, United Kingdom |
| N/021815 - |
2009/01/14 | ¨Ï¥Î³\¥i | THE COCA-COLA COMPANY | MACAU COCA-COLA BEVERAGE COMPANY LIMITED |
| N/021936 - |
2009/01/14 | ¨Ï¥Î³\¥i | THE COCA-COLA COMPANY | MACAU COCA-COLA BEVERAGE COMPANY LIMITED |
| N/022117 - |
2009/01/14 | ¨Ï¥Î³\¥i | THE COCA-COLA COMPANY | MACAU COCA-COLA BEVERAGE COMPANY LIMITED |
| N/022388 - |
2009/02/03 | §ó§ï»{§O¸ê®Æ | ¯]®ü®æ¤Où¦è¥§ªí·~¦³¤½¥q | ¯]®üù¦è¥§ªí·~¦³¤½¥q |
| N/022389 - |
2009/02/03 | §ó§ï»{§O¸ê®Æ | ¯]®ü®æ¤Où¦è¥§ªí·~¦³¤½¥q | ¯]®üù¦è¥§ªí·~¦³¤½¥q |
| N/022390 - |
2009/02/03 | §ó§ï»{§O¸ê®Æ | ¯]®ü®æ¤Où¦è¥§ªí·~¦³¤½¥q | ¯]®üù¦è¥§ªí·~¦³¤½¥q |
| N/022892 - |
2009/01/23 | ¨Ï¥Î³\¥i | THE COCA-COLA COMPANY | MACAU COCA-COLA BEVERAGE COMPANY LIMITED |
| N/023389 - |
2009/01/14 | ¨Ï¥Î³\¥i | THE COCA-COLA COMPANY | MACAU COCA-COLA BEVERAGE COMPANY LIMITED |
| N/023390 - |
2009/01/14 | ¨Ï¥Î³\¥i | THE COCA-COLA COMPANY | MACAU COCA-COLA BEVERAGE COMPANY LIMITED |
| N/023391 - |
2009/01/14 | ¨Ï¥Î³\¥i | THE COCA-COLA COMPANY | MACAU COCA-COLA BEVERAGE COMPANY LIMITED |
| N/023392 - |
2009/01/14 | ¨Ï¥Î³\¥i | THE COCA-COLA COMPANY | MACAU COCA-COLA BEVERAGE COMPANY LIMITED |
| N/023440 - |
2009/01/14 | ¨Ï¥Î³\¥i | THE COCA-COLA COMPANY | MACAU COCA-COLA BEVERAGE COMPANY LIMITED |
| N/023441 - |
2009/01/14 | ¨Ï¥Î³\¥i | THE COCA-COLA COMPANY | MACAU COCA-COLA BEVERAGE COMPANY LIMITED |
| N/023442 - |
2009/01/14 | ¨Ï¥Î³\¥i | THE COCA-COLA COMPANY | MACAU COCA-COLA BEVERAGE COMPANY LIMITED |
| N/023443 - |
2009/01/14 | ¨Ï¥Î³\¥i | THE COCA-COLA COMPANY | MACAU COCA-COLA BEVERAGE COMPANY LIMITED |
| N/023689 - |
2009/01/16 | ÂàÅý | ªY¸¥xµæÀ\ÆU¦³¤½¥q | ªY¸¹ê·~ªÑ¥÷¦³¤½¥q¡A¦a§}¬°¤¤°ê¥xÆW¥x¥_¥«¤¤¤s°ÏÂù«°µó34¤§1¤§2¸¹¡B34¤§1¸¹¤G¼Ó¤Î34¤§1¸¹¦a¤U¤@¼Ó |
| N/023690 - |
2009/01/16 | ÂàÅý | ªY¸¥xµæÀ\ÆU¦³¤½¥q | ªY¸¹ê·~ªÑ¥÷¦³¤½¥q¡A¦a§}¬°¤¤°ê¥xÆW¥x¥_¥«¤¤¤s°ÏÂù«°µó34¤§1¤§2¸¹¡B34¤§1¸¹¤G¼Ó¤Î34¤§1¸¹¦a¤U¤@¼Ó |
| N/023692 - |
2009/01/23 | ¨Ï¥Î³\¥i | THE COCA-COLA COMPANY | MACAU COCA-COLA BEVERAGE COMPANY LIMITED |
| N/024341 - |
2009/01/14 | ÂàÅý | L. C. Licensing Inc. | Juicy Couture, Inc., com sede em 12720 Wentworth Street Pacoima, California 91331 U.S.A. |
| N/024342 - |
2009/01/14 | ÂàÅý | L. C. Licensing Inc. | Juicy Couture, Inc., com sede em 12720 Wentworth Street Pacoima, California 91331 U.S.A. |
| N/026710 - |
2009/01/29 | §ó§ï»{§O¸ê®Æ | PT. COM-Comunicações Interactivas, S.A. | PT COMUNICAÇÕES S.A. |
| N/028579 - |
2009/01/19 | §ó§ï»{§O¸ê®Æ | ´Ë°¨¶°¹Î¦³¤½¥q SEMIR GROUP CO., LTD. |
®ý¦¿´Ë°¨ªA¹¢ªÑ¥÷¦³¤½¥q¡A¦a§}¬°¤¤°ê®ý¦¿¬Ù·Å¦{¥«¿^®ü·s¾ô¤»i¾ô¸ô1189¸¹ |
| N/028580 - |
2009/01/19 | §ó§ï»{§O¸ê®Æ | ´Ë°¨¶°¹Î¦³¤½¥q SEMIR GROUP CO., LTD. |
®ý¦¿´Ë°¨ªA¹¢ªÑ¥÷¦³¤½¥q¡A¦a§}¬°¤¤°ê®ý¦¿¬Ù·Å¦{¥«¿^®ü·s¾ô¤»i¾ô¸ô1189¸¹ |
| N/028600 - |
2009/01/29 | §ó§ï»{§O¸ê®Æ | PT. COM-Comunicações Interactivas, S.A. | PT COMUNICAÇÕES S.A. |
| N/028601 - |
2009/01/29 | §ó§ï»{§O¸ê®Æ | PT. COM-Comunicações Interactivas, S.A. | PT COMUNICAÇÕES S.A. |
| N/028602 - |
2009/01/29 | §ó§ï»{§O¸ê®Æ | PT. COM-Comunicações Interactivas, S.A. | PT COMUNICAÇÕES S.A. |
| N/028603 - |
2009/01/29 | §ó§ï»{§O¸ê®Æ | PT. COM-Comunicações Interactivas, S.A. | PT COMUNICAÇÕES S.A. |
| N/028604 - |
2009/01/29 | §ó§ï»{§O¸ê®Æ | PT. COM-Comunicações Interactivas, S.A. | PT COMUNICAÇÕES S.A. |
| N/028605 - |
2009/01/29 | §ó§ï»{§O¸ê®Æ | PT. COM-Comunicações Interactivas, S.A. | PT COMUNICAÇÕES S.A. |
| N/028606 - |
2009/01/29 | §ó§ï»{§O¸ê®Æ | PT. COM-Comunicações Interactivas, S.A. | PT COMUNICAÇÕES S.A. |
| N/028870 - |
2009/01/14 | ÂàÅý | ½¬µØ¤@¤H¦³¤½¥q | Terragetik GmbH und Co. Innovations KG, com sede em Nordheimer Str. 14, D-97645 Ostheim/Rhön, Germany |
| N/030670 - |
2009/01/29 | §ó§ï»{§O¸ê®Æ | PT. COM-Comunicações Interactivas, S.A. | PT COMUNICAÇÕES S.A. |
| N/030671 - |
2009/01/29 | §ó§ï»{§O¸ê®Æ | PT. COM-Comunicações Interactivas, S.A. | PT COMUNICAÇÕES S.A. |
| N/030672 - |
2009/01/29 | §ó§ï»{§O¸ê®Æ | PT. COM-Comunicações Interactivas, S.A. | PT COMUNICAÇÕES S.A. |
| N/030673 - |
2009/01/29 | §ó§ï»{§O¸ê®Æ | PT. COM-Comunicações Interactivas, S.A. | PT COMUNICAÇÕES S.A. |
| N/030674 - |
2009/01/29 | §ó§ï»{§O¸ê®Æ | PT. COM-Comunicações Interactivas, S.A. | PT COMUNICAÇÕES S.A. |
| N/030675 - |
2009/01/29 | §ó§ï»{§O¸ê®Æ | PT. COM-Comunicações Interactivas, S.A. | PT COMUNICAÇÕES S.A. |
| N/030676 - |
2009/01/29 | §ó§ï»{§O¸ê®Æ | PT. COM-Comunicações Interactivas, S.A. | PT COMUNICAÇÕES S.A. |
| N/031854 - |
2009/01/29 | §ó§ï»{§O¸ê®Æ | PT. COM-Comunicações Interactivas, S.A. | PT COMUNICAÇÕES S.A. |
| N/031855 - |
2009/01/29 | §ó§ï»{§O¸ê®Æ | PT. COM-Comunicações Interactivas, S.A. | PT COMUNICAÇÕES S.A. |
| N/031856 - |
2009/01/29 | §ó§ï»{§O¸ê®Æ | PT. COM-Comunicações Interactivas, S.A. | PT COMUNICAÇÕES S.A. |
| N/031857 - |
2009/01/29 | §ó§ï»{§O¸ê®Æ | PT. COM-Comunicações Interactivas, S.A. | PT COMUNICAÇÕES S.A. |
| N/031858 - |
2009/01/29 | §ó§ï»{§O¸ê®Æ | PT. COM-Comunicações Interactivas, S.A. | PT COMUNICAÇÕES S.A. |
| N/031859 - |
2009/01/29 | §ó§ï»{§O¸ê®Æ | PT. COM-Comunicações Interactivas, S.A. | PT COMUNICAÇÕES S.A. |
| N/031860 - |
2009/01/29 | §ó§ï»{§O¸ê®Æ | PT. COM-Comunicações Interactivas, S.A. | PT COMUNICAÇÕES S.A. |
| N/031861 - |
2009/01/29 | §ó§ï»{§O¸ê®Æ | PT. COM-Comunicações Interactivas, S.A. | PT COMUNICAÇÕES S.A. |
| N/031862 - |
2009/01/29 | §ó§ï»{§O¸ê®Æ | PT. COM-Comunicações Interactivas, S.A. | PT COMUNICAÇÕES S.A. |
| N/031863 - |
2009/01/29 | §ó§ï»{§O¸ê®Æ | PT. COM-Comunicações Interactivas, S.A. | PT COMUNICAÇÕES S.A. |
| N/031864 - |
2009/01/29 | §ó§ï»{§O¸ê®Æ | PT. COM-Comunicações Interactivas, S.A. | PT COMUNICAÇÕES S.A. |
| N/031865 - |
2009/01/29 | §ó§ï»{§O¸ê®Æ | PT. COM-Comunicações Interactivas, S.A. | PT COMUNICAÇÕES S.A. |
| N/031866 - |
2009/01/29 | §ó§ï»{§O¸ê®Æ | PT. COM-Comunicações Interactivas, S.A. | PT COMUNICAÇÕES S.A. |
| N/031867 - |
2009/01/29 | §ó§ï»{§O¸ê®Æ | PT. COM-Comunicações Interactivas, S.A. | PT COMUNICAÇÕES S.A. |
| N/031868 - |
2009/01/29 | §ó§ï»{§O¸ê®Æ | PT. COM-Comunicações Interactivas, S.A. | PT COMUNICAÇÕES S.A. |
| N/031869 - |
2009/01/29 | §ó§ï»{§O¸ê®Æ | PT. COM-Comunicações Interactivas, S.A. | PT COMUNICAÇÕES S.A. |
| N/031870 - |
2009/01/29 | §ó§ï»{§O¸ê®Æ | PT. COM-Comunicações Interactivas, S.A. | PT COMUNICAÇÕES S.A. |
| N/031871 - |
2009/01/29 | §ó§ï»{§O¸ê®Æ | PT. COM-Comunicações Interactivas, S.A. | PT COMUNICAÇÕES S.A. |
| N/031872 - |
2009/01/29 | §ó§ï»{§O¸ê®Æ | PT. COM-Comunicações Interactivas, S.A. | PT COMUNICAÇÕES S.A. |
| N/031873 - |
2009/01/29 | §ó§ï»{§O¸ê®Æ | PT. COM-Comunicações Interactivas, S.A. | PT COMUNICAÇÕES S.A. |
| N/031874 - |
2009/01/29 | §ó§ï»{§O¸ê®Æ | PT. COM-Comunicações Interactivas, S.A. | PT COMUNICAÇÕES S.A. |
| N/033222 - |
2009/01/21 | ÂàÅý | Eric C. Synstad | Mong Ha Media S.A., com sede em 700 Central Avenue, 409-2400 Desamparados, San Jose, Costa Rica |
| N/033223 - |
2009/01/21 | ÂàÅý | Eric C. Synstad | Mong Ha Media S.A., com sede em 700 Central Avenue, 409-2400 Desamparados, San Jose, Costa Rica |
| N/033224 - |
2009/01/21 | ÂàÅý | Eric C. Synstad | Mong Ha Media S.A., com sede em 700 Central Avenue, 409-2400 Desamparados, San Jose, Costa Rica |
| N/033225 - |
2009/01/21 | ÂàÅý | Eric C. Synstad | Mong Ha Media S.A., com sede em 700 Central Avenue, 409-2400 Desamparados, San Jose, Costa Rica |
| N/033226 - |
2009/01/21 | ÂàÅý | Eric C. Synstad | Mong Ha Media S.A., com sede em 700 Central Avenue, 409-2400 Desamparados, San Jose, Costa Rica |
| N/033227 - |
2009/01/21 | ÂàÅý | Eric C. Synstad | Mong Ha Media S.A., com sede em 700 Central Avenue, 409-2400 Desamparados, San Jose, Costa Rica |
| N/033374 - |
2009/01/14 | §ó§ï¦a§} | Caesars World, Inc. | One Caesars Palace Drive, com sede em Las Vegas, NV 89109, United States of America |
| N/033375 - |
2009/01/14 | §ó§ï¦a§} | Caesars World, Inc. | One Caesars Palace Drive, com sed em Las Vegas, NV 89109, United States of America |
| N/037174 - |
2009/01/30 | ÂàÅý | David Morris International Limited | Exclusive Brands Limited, com sede em 69 Athol Street, Douglas, Isle of Man, IM1 1JE |
| N/037175 - |
2009/01/30 | ÂàÅý | David Morris International Limited | Exclusive Brands Limited, com sede em 69 Athol Street, Douglas, Isle of Man, IM1 1JE |
| N/037514 - |
2009/01/15 | §ó§ï»{§O¸ê®Æ | Heli Express Limited | Sky Shuttle Helicopters Limited |
| N/037515 - |
2009/01/15 | §ó§ï»{§O¸ê®Æ | Heli Express Limited | Sky Shuttle Helicopters Limited |
| N/037516 - |
2009/01/15 | §ó§ï»{§O¸ê®Æ | Heli Express Limited | Sky Shuttle Helicopters Limited |
| N/037517 - |
2009/01/15 | §ó§ï»{§O¸ê®Æ | Heli Express Limited | Sky Shuttle Helicopters Limited |
| N/037518 - |
2009/01/15 | §ó§ï»{§O¸ê®Æ | Heli Express Limited | Sky Shuttle Helicopters Limited |
µo©ú±M§Q¤§«OÅ@
ÂàÅý©Îªþµù
| µ{§Ç½s¸¹ | §å¥Ü¤é´Á | ªþµù¤§©Ê½è | ¥Ó½Ð¤H/µù¥UÅv§Q¤H | §ó§ï |
| I/000806 | 2009/01/21 | ÂàÅý | µØ«HÁp³qªÑ¥÷¦³¤½¥q | µØÁp°ê»Ú°Ó°ÈªÑ¥÷¦³¤½¥q¡A¦a§}¬°¤¤°ê¥xÆW¥x¤¤¥«¦è°Ï¥x¤¤´ä¸ô1¬q199¸¹23¼Ó |
| I/000807 | 2009/01/21 | ÂàÅý | µØ«HÁp³qªÑ¥÷¦³¤½¥q | µØÁp°ê»Ú°Ó°ÈªÑ¥÷¦³¤½¥q¡A¦a§}¬°¤¤°ê¥xÆW¥x¤¤¥«¦è°Ï¥x¤¤´ä¸ô1¬q199¸¹23¼Ó |
°Ó¼Ð¤§«OÅ@
©Úµ´
| µ{§Ç½s¸¹ | §å¥Ü¤é´Á | ¥Ó½Ð¤H¤§¦WºÙ | ©ÒÄݰê/ ¦a°Ï |
¤ÀÃþ |
³Æµù |
| N/33379 N/33380 N/33381 |
2009/01/15 | ¼B²E | CN | 41 | ²Ä214±ø²Ä1´Úa¡^¶µµ²¦X²Ä9±ø²Ä1´Úc¡^¶µ¡C |
| N/35037 | 2009/01/29 | ¬ü°êµØ¹FÃÄ·~¦³¤½¥q | HK | 03 | |
| N/34623 | 2009/02/06 | Dunhill Tobacco of London Limited | GB | 34 | ²Ä214±ø²Ä2´Úb¡^¶µµ²¦X²Ä215±ø²Ä1´Ú¤Î²Ä9±ø²Ä1´Úc¡^¶µ¡C |
| N/36403 | 2009/01/13 | S.A. CONFISERIE LEONIDAS | BE | 29 | ²Ä214±ø²Ä2´Úa¡^¶µ¡C |
| N/36404 | 2009/01/13 | S.A. CONFISERIE LEONIDAS | BE | 30 | ²Ä214±ø²Ä2´Úa¡^¶µ¤Î214±ø²Ä3´Úµ²¦X²Ä199±ø²Ä1´Úb¡^¶µ¡C |
| N/36405 | 2009/01/13 | S.A. CONFISERIE LEONIDAS | BE | 43 | ²Ä214±ø²Ä3´Úµ²¦X²Ä199±ø²Ä1´Úb¡^¶µ¡C |
³¡¥÷©Úµ´
| µ{§Ç½s¸¹ | §å¥Ü¤é´Á | ¥Ó½Ð¤H¤§¦WºÙ | ©ÒÄݰê/¦a°Ï | ¤ÀÃþ | ³Æµù ®Ú¾Ú¸g12¤ë13¤é²Ä97/99/M¸¹ªk¥O®Ö㤧¡m¤u·~²£Åvªk«ß¨î«×¡n |
| N/034815 | 2009/01/21 | ¾G¦{¥«·sµø©ú¬ì§Þ¤uµ{¦³¤½¥q ZHENGZHOU XINSHIMING SCIENTIFIC & TECHNOLOGICAL ENGINEERING CO., LTD. |
CN | 10 | ²Ä216±ø¡A©Úµ´¡§ÂåÀø¾¹±ñ©M»ö¾¹¡¨¤Î¡§¤H³y²´·ú¡¨ªº²£«~¤§µù¥U¡C |
µù¥U¥Ó½Ð¤§©Úµ´
| µ{§Ç½s¸¹ | §å¥Ü¤é´Á | ¥Ó½Ð¤H¤§¦WºÙ | ©ÒÄݰê/¦a°Ï | ¤ÀÃþ | ³Æµù ®Ú¾Ú¸g12¤ë13¤é²Ä97/99/M¸¹ªk¥O®Ö㤧¡m¤u·~²£Åvªk«ß¨î«×¡n |
| N/33421 N/33422 N/33423 N/33424 |
2009/02/09 | ·¨¤¦ Yang Dan |
MO | 35 | ²Ä9±ø²Ä1´Úe¡^¶µ¡C |
| N/38245 | 2009/02/02 | Carlsberg Breweries A/S | DK | 32 | ²Ä9±ø²Ä1´Úf¡^¶µµ²¦X²Ä20±ø²Ä1´Úd¡^¶µ¤Î²Ä25±ø¡C |
| N/38861 N/38862 |
2009/02/02 | Intervet International B.V. | NL | 05 10 |
µo©ú±M§Q¤§«OÅ@
µù¥U¥Ó½Ð¤§©Úµ´
| µ{§Ç½s¸¹ | §å¥Ü¤é´Á | ¥Ó½Ð¤H¤§¦WºÙ | ©ÒÄݰê/¦a°Ï |
³Æµù |
| I/466 I/467 |
2009/01/21 | ¦ã²`¯S°ê»Ú¦w¥þ§Þ³N¡]²`¦`¡^¦³¤½¥q | CN | ²Ä9±ø²Ä1´Úe¡^¶µ¡C |
°Ó¼Ð¤§«OÅ@
©Úµ´¤§¥Ó½Ð
| µ{§Ç½s¸¹ | »¼¥æ¤é´Á | §å¥Ü¤é´Á | ¨ä¥L¦æ¬°¤§©Ê½è | ¥Ó½Ð¤H¤§¦WºÙ |
³Æµù |
| P/3171 | 2007/04/24 | 2009/02/04 | Äò®i | FUNDACIÓN MAPFRE | ²Ä9±ø²Ä1´Úe¡^¶µµ²¦X²Ä20±ø²Ä1´Úd¡^¶µ¤Î²Ä218±ø²Ä2´Ú¡C |
| N/4751 | 2006/08/22 | 2009/02/04 | Äò®i | Mavi Giyim Sanayi ve Ticaret A.S. |
Án©ú²§Ä³
| µ{§Ç½s¸¹ | ¥Ó½Ð¤é´Á | ¥Ó½Ð¤H¤§¦WºÙ | ©ÒÄݰê/¦a°Ï | Án©ú²§Ä³¤H¤§¦WºÙ | ©ÒÄݰê/ ¦a°Ï |
| N/038465 | 2009/02/02 | DEL VALLINO S.p.A.. | IT | BUCCELLATI HOLDING ITALIA S.p.A. | IT |
榏G
| µ{§Ç½s¸¹ | ¥Ó½Ð¤é´Á | ¥Ó½Ð¤H¤§¦WºÙ | ©ÒÄݰê/¦a°Ï | Án©ú²§Ä³¤H¤§¦WºÙ | ©ÒÄݰê/¦a°Ï |
| N/037435 | 2009/01/12 | Las Vegas Sands Corp. | US | PLAZA IP HOLDINGS LLC (USA) | US |
| N/037448 | 2009/01/12 | Las Vegas Sands Corp. | US | PLAZA IP HOLDINGS LLC (USA) | US |
| N/037449 | 2009/01/12 | Las Vegas Sands Corp. | US | PLAZA IP HOLDINGS LLC (USA) | US |
| N/037450 | 2009/01/12 | Las Vegas Sands Corp. | US | PLAZA IP HOLDINGS LLC (USA) | US |
| N/037451 | 2009/01/12 | Las Vegas Sands Corp. | US | PLAZA IP HOLDINGS LLC (USA) | US |
| N/037452 | 2009/01/12 | Las Vegas Sands Corp. | US | PLAZA IP HOLDINGS LLC (USA) | US |
| N/037453 | 2009/01/12 | Las Vegas Sands Corp. | US | PLAZA IP HOLDINGS LLC (USA) | US |
| N/037454 | 2009/01/12 | Las Vegas Sands Corp. | US | PLAZA IP HOLDINGS LLC (USA) | US |
| N/037455 | 2009/01/12 | Las Vegas Sands Corp. | US | PLAZA IP HOLDINGS LLC (USA) | US |
| N/037456 | 2009/01/12 | Las Vegas Sands Corp. | US | PLAZA IP HOLDINGS LLC (USA) | US |
| N/037457 | 2009/01/12 | Las Vegas Sands Corp. | US | PLAZA IP HOLDINGS LLC (USA) | US |
| N/037458 | 2009/01/12 | Las Vegas Sands Corp. | US | PLAZA IP HOLDINGS LLC (USA) | US |
| N/037459 | 2009/01/12 | Las Vegas Sands Corp. | US | PLAZA IP HOLDINGS LLC (USA) | US |
| N/037490 | 2009/01/12 | MGM MIRAGE Hospitality, LLC | US | Maxim¡¦s Caterers Limited | HK |
| N/037491 | 2009/01/12 | MGM MIRAGE Hospitality, LLC | US | Maxim¡¦s Caterers Limited | HK |
| N/037492 | 2009/01/12 | MGM MIRAGE Hospitality, LLC | US | Maxim¡¦s Caterers Limited | HK |
| N/037493 | 2009/01/12 | MGM MIRAGE Hospitality, LLC | US | Maxim¡¦s Caterers Limited | HK |
| N/037494 | 2009/01/12 | MGM MIRAGE Hospitality, LLC | US | Maxim¡¦s Caterers Limited | HK |
| N/037495 | 2009/01/12 | MGM MIRAGE Hospitality, LLC | US | Maxim¡¦s Caterers Limited | HK |
§ó¥¿
| °Ó¼Ð½s¸¹ | §ó¥¿¶µ¥Ø | ì¤å | À³§ï¬° |
| N/32505 N/32506 N/32507 N/32508 |
¥Ó½Ð¤é´Á¡]2008¦~6¤ë4¤é²Ä23´Á²Ä¤G²Õ¡m¿Dªù¯S§O¦æ¬F°Ï¤½³ø¡n¡^ | 2004-05-05 | 2008/05/05 |
| N/38992 | ¥Ó½Ð¤H¦a§}¡]2009¦~2¤ë4¤é²Ä5´Á²Ä¤G²Õ¡m¿Dªù¯S§O¦æ¬F°Ï¤½³ø¡n¡^ | ...... Keyborough Avenue, ...... | ......Keysborough Avenue,...... |
| N/39018 | Àu¥ýÅv½s¸¹¡]2009¦~2¤ë4¤é²Ä5´Á²Ä¤G²Õ¡m¿Dªù¯S§O¦æ¬F°Ï¤½³ø¡n¡^ | MI 2008C0050886 | MI 2008 C 005886 |
N/33932¤ÎN/33935 - 2008¦~11¤ë5¤é²Ä45´Á²Ä¤G²Õ¡m¿Dªù¯S§O¦æ¬F°Ï¤½³ø¡n¡A¦b¡§§åµ¹¡¨Äæ¥Ø¤º¡AÀ³µø§@µL®Ä¥Zµn¡C
¦]¥Zµn©ó¤G¹s¹s¤E¦~¤G¤ë¥|¤é²Ä¤´Á¡m¿Dªù¯S§O¦æ¬F°Ï¤½³ø¡n²Ä¤G²Õ²Ä1668¶¤ºªºµ{§Ç½s¸¹¦³¤£¥¿½T¤§³B¡A²{§ó¥¿¦p¤U¡G
| §ó¥¿¶µ¥Ø | ì¤å¬° | À³§ï¬° |
| µ{§Ç½s¸¹ | ....... N/18555, N/22592, N/22595, N/22597, N/22598 | ....... N/18555, N/22592, N/22595, N/22598 |
À³¦U¥Ó½Ð¤H/Åv§Q¤H¤§n¨D¡A§ó¥¿¦p¤U¡G
| °Ó¼Ð½s¸¹ | §ó¥¿¶µ¥Ø | ì¤å | À³§ï¬° |
| N/33932 N/33935 |
²£«~¦W³æ¡]2008¦~7¤ë2¤é²Ä27´Á²Ä¤G²Õ¡m¿Dªù¯S§O¦æ¬F°Ï¤½³ø¡n¡^ | ¥H³J¥Õ½è¡K¡K±j¤Æ¾¯¡C | ¥H³J¥Õ½è¡Bªo¯×¡B¯×ªÕ»Ä¡B¦h×ô¡BºÒ»ÄÆQ¤ÎÅÖºû¡B§tºû¥L©R²K¥[¾¯¡BÄqª«½è¤Î¤Æ¾Ç¤¸¯À¡B¿W¥ßªº©Î²Õ¦X¬°¥DªºÀç¾i¸É¥R¾¯¡A©Ò¦³³o¨Ç²£«~¦P¼Ë¥Î§@¨ý¹D±j¤Æ ¾¯¡F¥H³J¥Õ½è¡Bªo¯×¡B¯×ªÕ»Ä¡B¦h×ô¡BºÒ»ÄÆQ¤ÎÅÖºû¡B§tºû¥L©R²K¥[¾¯¡BÄqª«½è¤Î¤Æ¾Ç¤¸¯À¡B¿W¥ßªº©Î²Õ¦X¬°¥Dªº¹¥Î¸É¥R¾¯¡A©Ò¦³³o¨Ç²£«~¦P¼Ë¥Î§@¨ý¹D±j¤Æ¾¯¡C |
| N/36571 | Àu¥ýÅv¤é´Á¡]2008¦~12¤ë3¤é²Ä49´Á²Ä¤G²Õ¡m¿Dªù¯S§O¦æ¬F°Ï¤½³ø¡n¡^ | 2008/05/12 | 2007/12/05 |
| N/37492 N/37495 |
ªA°È¦W³æ¡]2008¦~10¤ë3¤é²Ä40´Á²Ä¤G²Õ¡m¿Dªù¯S§O¦æ¬F°Ï¤½³ø¡n¡^ | ¡K¡K¡F´£¨Ñ¤j·|¡B°Q½×·|¡B®iÄý¤Î·|ijªº³]¬I¡FÀ\ÆU¤Î°s§aªA°È¡F©@°ØÆU¡F³Æ¿ì®b®u¡F¨àµ£Å@²z¡F¦Û§UÀ\¡F¡K¡K | ¡K¡K¡F´£¨Ñ¤j·|¡B°Q½×·|¡B®iÄý¤Î·|ijªº³]¬I¡F¨àµ£Å@²z¡F¦Û§UÀ\¡F¡K¡K |
| N/38859 N/38860 |
²£«~¦W³æ ¡]2008¦~12¤ë3¤é²Ä49´Á²Ä¤G²Õ¡m¿Dªù¯S§O¦æ¬F°Ï¤½³ø¡n¡^ | ¡K¡K¡A¸}½ï¤Î¤âµÃ½m²ß¥Î¹]²y¡A¡K¡K | ¡K¡K¡A¸}½ï¤Î¤âµÃ½m²ß¥Îªº³]³Æ¡A¡K¡K |
| N/39718 | ÃC¦â¤§n¨D¡]2009¦~1¤ë7¤é²Ä1´Á²Ä¤G²Õ¡m¿Dªù¯S§O¦æ¬F°Ï¤½³ø¡n¡^ | ¶Â¤Î¥Õ¡C | ¡K¡K |
| N/39777 N/39778 N/39779 N/39780 |
°Ó¼Ð¹Ï®×¡]2009¦~2¤ë4¤é²Ä5´Á²Ä¤G²Õ¡m¿Dªù¯S§O¦æ¬F°Ï¤½³ø¡n¡^ |
|
|
¤G¹s¹s¤E¦~¤G¤ë¤Q¤é©ó¸gÀÙ§½
¥N§½ªø Ĭ²K¥





