²Ä 18 ´Á
°Ó¼Ð¤§«OÅ@
¤G¹s¹s¤E¦~¤¤ë¤»¤é¡A¬P´Á¤T
¸gÀÙ§½
³q§i
°Ó¼Ð¤§«OÅ@
N/40611 ... N/41558 - N/41565 ... N/41890 - N/41891 ... N/41894
°Ó¼Ð½s¸¹¡GN/41891 Ãþ§O¡G 16
¥Ó½Ð¤H¡G¶¶Âס]ª¾ÃѲ£Åv¡^¦³¤½¥q¡A³õ©Ò¡G»´ä·s¬É¸ª¯F¸ªÂ×µó38-42¸¹ Yoo Hoo Tower 14¼Ó¡C
°êÄy¡G®Ú¾Ú»´äªk¨Ò¦¨¥ß
¬¡°Ê¡G°Ó·~¤Î¤u·~
¥Ó½Ð¤é´Á¡G2009/03/23
²£«~¡G³U©Î¶ì®Æ³U¡]«H«Ê¤p³U¡^¡F¯ÈªO²°©Î¯È²°¡F¶ì®Æªwªj¥]¸Ë¥Î«~¡]¥]¸Ë¥Î¡^¡F«H«Ê¡]¤å¨ã¡^¡Fªí®æ¡]¦L¨ê¦nªº¡^¡F¾ý¯»»s¥]¸Ë§÷®Æ¡F¥]¸Ë¯È¡F¥]¸Ë¥Î¶ì®Æ½¤¡F¦L¨ê¥Xª©ª«¡F¦L¨ê®É¨èªí¡F¿ì¤½«Ç¥Î«Ê¤f¾÷¡F«Ê¤f¦L³¹¡FÖß¶Kª«¡]¤å¨ã¡^¡F¥]¸Ë¥ÎÖß½¦ÅÖºû¯È¡FÄú¯È¡F¤å¥ó®M¡]¤å¨ã¡^¡C
°Ó¼Ðºc¦¨¡G

°Ó¼Ð½s¸¹¡GN/41892 Ãþ§O¡G 39
¥Ó½Ð¤H¡G¶¶Âס]ª¾ÃѲ£Åv¡^¦³¤½¥q¡A³õ©Ò¡G»´ä·s¬É¸ª¯F¸ªÂ×µó38-42¸¹ Yoo Hoo Tower 14¼Ó¡C
°êÄy¡G®Ú¾Ú»´äªk¨Ò¦¨¥ß
¬¡°Ê¡G°Ó·~¤Î¤u·~
¥Ó½Ð¤é´Á¡G2009/03/23
ªA°È¡GªÅ¤¤¹B¿é¡F»é²î¹B¿é¡F¨T¨®¹B¿é¡F»¼°e¡]«H¥ó©M°Ó«~¡^¡F°e³f¡F¶lÁʳfª«ªº»¼°e¡F³fª«¶J¦s¡F©ì¹B¡F®ü¤W¹B¿é¡F°Ó«~¥]¸Ë¡F¥]»q§ë»¼¡FÅK¸ô¹B¿é¡Fªe¹B¡C
°Ó¼Ðºc¦¨¡G

°Ó¼Ð½s¸¹¡GN/41893 Ãþ§O¡G 16
¥Ó½Ð¤H¡G¶¶Âס]ª¾ÃѲ£Åv¡^¦³¤½¥q¡A³õ©Ò¡G»´ä·s¬É¸ª¯F¸ªÂ×µó38-42¸¹ Yoo Hoo Tower 14¼Ó¡C
°êÄy¡G®Ú¾Ú»´äªk¨Ò¦¨¥ß
¬¡°Ê¡G°Ó·~¤Î¤u·~
¥Ó½Ð¤é´Á¡G2009/03/23
²£«~¡G³U©Î¶ì®Æ³U¡]«H«Ê¤p³U¡^¡F¯ÈªO²°©Î¯È²°¡F¶ì®Æªwªj¥]¸Ë¥Î«~¡]¥]¸Ë¥Î¡^¡F«H«Ê¡]¤å¨ã¡^¡Fªí®æ¡]¦L¨ê¦nªº¡^¡F¾ý¯»»s¥]¸Ë§÷®Æ¡F¥]¸Ë¯È¡F¥]¸Ë¥Î¶ì®Æ½¤¡F¦L¨ê¥Xª©ª«¡F¦L¨ê®É¨èªí¡F¿ì¤½«Ç¥Î«Ê¤f¾÷¡F«Ê¤f¦L³¹¡FÖß¶Kª«¡]¤å¨ã¡^¡F¥]¸Ë¥ÎÖß½¦ÅÖºû¯È¡FÄú¯È¡F¤å¥ó®M¡]¤å¨ã¡^¡C
°Ó¼Ðºc¦¨¡G

°Ó¼Ð½s¸¹¡GN/41894 Ãþ§O¡G 39
¥Ó½Ð¤H¡G¶¶Âס]ª¾ÃѲ£Åv¡^¦³¤½¥q¡A³õ©Ò¡G»´ä·s¬É¸ª¯F¸ªÂ×µó38-42¸¹ Yoo Hoo Tower 14¼Ó¡C
°êÄy¡G®Ú¾Ú»´äªk¨Ò¦¨¥ß
¬¡°Ê¡G°Ó·~¤Î¤u·~
¥Ó½Ð¤é´Á¡G2009/03/23
ªA°È¡GªÅ¤¤¹B¿é¡F»é²î¹B¿é¡F¨T¨®¹B¿é¡F»¼°e¡]«H¥ó©M°Ó«~¡^¡F°e³f¡F¶lÁʳfª«ªº»¼°e¡F³fª«¶J¦s¡F©ì¹B¡F®ü¤W¹B¿é¡F°Ó«~¥]¸Ë¡F¥]»q§ë»¼¡FÅK¸ô¹B¿é¡Fªe¹B¡C
°Ó¼Ðºc¦¨¡G

³]p¤Î·s«¬¤§«OÅ@
®Ú¾Ú¸g¤Q¤G¤ë¤Q¤T¤é²Ä97/99/M¸¹ªk¥O®Ö㤧¡m¤u·~²£Åvªk«ß¨î«×¡n²Ä¤Q¤Î²Ä¤@¦Ê¤»¤Q¤±ø¤§³W©w¡A¤½¥¬¤U¦C¦b¿Dªù¯S§O¦æ¬F°Ï´£¥Xªº³]p¤Î·s«¬µù¥U¥Ó½Ð¡A¨Ã«ö·Ó¬Û¦Pªk³W²Ä¤@¦Ê¤»¤Q¤»±ø¡A¦Û¦¹¤½¥¬¤é°_¦Üµ¹¤©µù¥U¤§¤é¤î¡A¥ô¦ó²Ä¤T¤H§¡±o´£¥XÁn©ú²§Ä³¡C
³]p©Î·s«¬¤½§G
³]p½s¸¹¡GD/000430
¥Ó½Ð¤é´Á¡G2008/01/29
¥Ó½Ð¤H¡GTHE COCA-COLA COMPANY
°êÄy¡G¬ü°ê
¦í§}/¦a§}¡GOne Coca-Cola Plaza Altanta, GA 30313, United States of America
¼ÐÃD¡G²~³s¸§Î¸Ë¹¢¡C
ºKn¡Gªíz©ÒÅã¥Üªº³]p¹Ïªº§Îª¬¡Aºc§Î¡A¦¡¼Ë¤Î¸Ë¹¢¬OÁnºÙ¨ã¦³·s¿o©Êªº¥~Æ[³]p¯S¦â¡C
¤ÀÃþ¡G9 - 01
| ³Ð§@¤H¡G | Wing Au-Yeung |
| ¡@ | Chen Zheyu |
| ¡@ | Dong Ziye |
Àu¥ýÅv¤é´Á¡G2007/12/12
Àu¥ýÅv°ê®a/¦a°Ï¡G¤¤°ê
Àu¥ýÅv½s¸¹¡G200730283531.7
ªþ¹Ï

³]p½s¸¹¡GD/000431
¥Ó½Ð¤é´Á¡G2008/01/29
¥Ó½Ð¤H¡GTHE COCA-COLA COMPANY
°êÄy¡G¬ü°ê
¦í§}/¦a§}¡GOne Coca-Cola Plaza Altanta, GA 30313, United States of America
¼ÐÃD¡G²~³s¸§Î¸Ë¹¢¡C
ºKn¡Gªíz©ÒÅã¥Üªº³]p¹Ïªº§Îª¬¡Aºc§Î¡A¦¡¼Ë¤Î¸Ë¹¢¬OÁnºÙ¨ã¦³·s¿o©Êªº¥~Æ[³]p¯S¦â¡C
¤ÀÃþ¡G9 - 01
| ³Ð§@¤H¡G | Wing Au-Yeung |
| ¡@ | Chen Zheyu |
| ¡@ | Dong Ziye |
Àu¥ýÅv¤é´Á¡G2007/12/12
Àu¥ýÅv°ê®a/¦a°Ï¡G¤¤°ê
Àu¥ýÅv½s¸¹¡G200730283532.1
ªþ¹Ï

³]p½s¸¹¡GD/000460
¥Ó½Ð¤é´Á¡G2008/04/30
¥Ó½Ð¤H¡GªÜ¨Ê¦³¤½¥q
¦í§}/¦a§}¡G¤¤°ê¥xÆW¬Ù¥x¥_¥««n´ä°Ï«n´ä¸ô¤G¬q99-6¸¹1¼Ó
¼ÐÃD¡G¬~µP¾÷¡C
ºKn¡G¥»¥~Æ[³]p¯A¤Î¤@ºØ¬~µP¾÷¡C
¤ÀÃþ¡G21 - 03
³Ð§@¤H¡G¦ó³Í´ð
ªþ¹Ï

³]p½s¸¹¡GD/000517
¥Ó½Ð¤é´Á¡G2008/10/30
¥Ó½Ð¤H¡GJohn Clement Preston
°êÄy¡G¿D¬w
¦í§}/¦a§}¡G196 Silverwater Road, Silverwater, NSW 2128, Australia
¼ÐÃD¡G»Ù걪O¡C
ºKn¡G¥Ó½Ð¤Hn¨D«OÅ@¸Ó»Ù걪O¤U³¡¨¤¸¨³Bªº°Ï°ì¡A¸Ó°Ï°ì³B¨ã¦³¦V¤ºªº¥x¶¥¦¡¥W³¡¡]©Î¤Á¤f³¡¤À¡^¡C©Ò¥Ü¥Xªº»Ù걪O¥]¬Aºôª¬±ªO³¡¤À¡B¹êÅ鱪O³¡¤À¡B¤ä¼µ§ý©M¤ä¼µ®y¡C¤ä¼µ§ý©M¤ä¼µ®y¥Hµê½u¥Ü¥X¡A¥¦Ì¥u¬O¥Ü·N©Êªº¡A¨Ã¤£ºc¦¨¥»³]pªº³¡¤À¡C»Ù걪Oªº°ª«×©M¼e«×¥iÅÜ¡C
¤ÀÃþ¡G29 - 02
³Ð§@¤H¡GJohn Clement Preston
Àu¥ýÅv¤é´Á¡G2008/04/30
Àu¥ýÅv°ê®a/¦a°Ï¡G¿D¤j§Q¨È
Àu¥ýÅv½s¸¹¡G11996/2008
ªþ¹Ï

Àç·~³õ©Ò¤§¦WºÙ¤Î¼Ð»x¤§«OÅ@
®Ú¾Ú¸g¤Q¤G¤ë¤Q¤T¤é²Ä97/99/M¸¹ªk¥O®Ö㤧¡m¤u·~²£Åvªk«ß¨î«×¡n²Ä¤Q±ø¤Î²Ä¤G¦Ê¥|¤Q¤T±ø¤§³W©w¡A¤½¥¬¤U¦C¦b¿Dªù¯S§O¦æ¬F°Ï´£¥XªºÀç·~³õ©Ò¤§¦WºÙ¤Î¼Ð»xµù¥U¥Ó½Ð¡A¨Ã«ö·Ó¬Û¦Pªk³W²Ä¤G¦Ê¥|¤Q¥|±ø¡A¥Ñ³q§i¤½¥¬¤§¤é°_p¨âÓ¤ë´Á¤º´£¥XÁn©ú²§Ä³¡C
Àç·~³õ©Ò¦WºÙ©Î¼Ð»x¤½§G
½s¸¹¡GE/000121
¥Ó½Ð¤H¡G³¯¾ð¥ú
¦a§}¡G¿Dªùù«O³Õ¤hµó19¸¹
¬¡°Ê¡G°Ó·~
¥Ó½Ð¤é´Á¡G2009/03/16
¦æ·~Ãþ§O¡GÀ\¶¼ªA°È¡C
¦WºÙ/¼Ð»x

µo©ú±M§Q¤§«OÅ@
®Ú¾Ú¸g¤Q¤G¤ë¤Q¤T¤é²Ä97/99/M¸¹ªk¥O®Ö㤧¡m¤u·~²£Åvªk«ß¨î«×¡n²Ä¤Q±ø¤Î²Ä¤K¤Q¤T±ø¤§³W©w¡A¤½¥¬¤U¦C¦b¿Dªù¯S§O¦æ¬F°Ï´£¥Xªºµo©ú±M§Qµù¥U¥Ó½Ð¡A¨Ã«ö·Ó¬Û¦Pªk³W²Ä¤K¤Q¥|±ø¡A¦Û¦¹¤½¥¬¤é°_¦Ü±Â¤©±M§Q¤§¤é¤î¡A¥ô¦ó²Ä¤T¤H§¡±o´£¥XÁn©ú²§Ä³¡C
µo©ú±M§Q¤½§G
µo©ú±M§Q½s¸¹¡GI/000427
¥Ó½Ð¤é´Á¡G2007/06/07
¥Ó½Ð¤H¡GCHUN, Jay
°êÄy¡G¥[®³¤j
¦í§}/¦a§}¡GFlat A, 21/F, Trafalgar Court, 70 Tai Hang Road, Hong Kong
¼ÐÃD¡G¤Ñ°ó±m²°¹CÀ¸¨t²Î¡C
ºKn¡G´¦ÅS¤F¤@ºØª±½ä³õ¹CÀ¸©M¦Ñªê¾÷¹CÀ¸ªº¨t²Î¡C
¤ÀÃþ¡GA63F9/24
µo©ú¤H¡GCHUN, Jay
Àu¥ýÅv¤é´Á¡G2007/05/07
Àu¥ýÅv°ê®a/¦a°Ï¡G¬ü°ê
Àu¥ýÅv½s¸¹¡G11/800,885
ªþ¹Ï

µo©ú±M§Q¡GI/000447
¥Ó½Ð¤é´Á¡G2007/06/28
¥Ó½Ð¤H¡G°ê»Ú¤å¨ã»s³y¼t¦³¤½¥q
°êÄy¡G®Ú¾Ú»´äªk¨Ò¦¨¥ß
¦í§}/¦a§}¡G»´ä·s¬É¸ª¯F¹Å¼y¸ô5-9¸¹«aµØÃè¼t²Ä¤T¤u·~¤j·H16-20¼Ó
¼ÐÃD¡Gºb±ì«ý«¬¤å¥ó§¨¾÷ºc¡C
ºKn¡G¤½¶}¤F¤@ºØºb±ì«ý«¬¤å¥ó§¨¾÷ºc¡]100¡B200¡B300¡B400¡B500¡B600¡B700¡^¡A¸Óºb±ì«ý«¬¤å¥ó§¨¾÷ºc¥]¬A©³®y¡]102¡B202¡^¡F±q©Òz©³®y¦V¤W©µ¦ùªº¨âÓÀô¡A¨CÓÀô¥]¬A©T©w©ó©³®yªº¬W¡]106¡^©M¥i¬Û¹ï©ó©Òz©³®y©M©Òz¬W²¾°Êªº«ý§Î³¡¤À¡]116¡B316¡B416¡^¡Fºb±ì²Õ¥ó¡]118¡B218¡B318¡B418¡B518¡B618¡B718¡^¡A©Òzºb±ì²Õ¥ó¥i¬Û¹ï©ó©Òz©³®y¦b¨âÓéw¦ì¸m¤§¶¡²¾°Ê¡A¥H¬Û¹ï©ó¬W¼Ï¶b±ÛÂà«ý§Î³¡¤À¡A±q¦Ó¦bÀô«Ê³¬µ²ºc©MÀô¥´¶}µ²ºc¤§¶¡¿ï¾Ü©Ê¦a²¾°Ê©ÒzÀô¡F¨ä¤¤¡A©Òzºb±ì²Õ¥ó¥]¬A¥~³¡Áu¡]120¡B220¡B320¡B420¡B520¡B620a¡B620b¡B720¡^©M¤º³¡Áu¡]122¡B222¡B322¡B422¡B522¡B622¡B722¡^¡A¨Ã¥B·íºb±ì²Õ¥ó¦ì©ó¨âÓéw¦ì¸m¤¤ªº²Ä¤@ӮɡA¥~³¡Áu¥i¬Û¹ï©ó¤º³¡Áu¦b¤W³¡¦ì¸m©M¤U³¡¦ì¸m¤§¶¡²¾°Ê¡C
¤ÀÃþ¡GB42F13/24
| µo©ú¤H¡G | §ù®¶·½ |
| ¡@ | ¾G¬x¦p |
| ¡@ | ·¨«i |
Àu¥ýÅv¤é´Á¡G2007/04/11
Àu¥ýÅv°ê®a/¦a°Ï¡G¼Ú¬wÁp·ù
Àu¥ýÅv½s¸¹¡G07251548.9
ªþ¹Ï

µo©ú±M§Q½s¸¹¡GI/000448
¥Ó½Ð¤é´Á¡G2007/06/28
¥Ó½Ð¤H¡G°ê»Ú¤å¨ã»s³y¼t¦³¤½¥q
°êÄy¡G®Ú¾Ú»´äªk¨Ò¦¨¥ß
¦í§}/¦a§}¡G»´ä·s¬É¸ª¯F¹Å¼y¸ô5-9¸¹«aµØÃè¼t²Ä¤T¤u·~¤j·H16-20¼Ó
¼ÐÃD¡Gºb±ì«ý«¬¤å¥ó§¨¾÷ºc¡C
ºKn¡G¤½¶}¤F¤@ºØºb±ì«ý«¬¤å¥ó§¨¾÷ºc¡A¸Óºb±ì«ý«¬¤å¥ó§¨¾÷ºc¥]¬A©³®y¡F¨âÓ±q©Òz©³®y¦V¤W©µ¦ùªºÀô¡A¨CÓÀô¥]¬A©T©w©ó©³®yªº¬W©M¥i¥H¬Û¹ï©ó©³®y©M¬W²¾°Êªº«ý¡Fºb±ì²Õ¥ó¡A©Òzºb±ì²Õ¥ó¥i¥H¬Û¹ï©ó©³®y¦b¨âÓéwµ²ºc¤§¶¡²¾°Ê¡A¨Ï«ý¬Û¹ï©ó¬W¼Ï¶b±ÛÂà¡A¥H¿ï¾Ü©Ê¦a¨Ï©ÒzÀô¦bÀô«Ê³¬µ²ºc©MÀô¥´¶}µ²ºc¤§¶¡²¾°Ê¡C©Òzºb±ì²Õ¥ó¦Ü¤Ö¥]¬A©¼¦¹³s±µªº²Ä¤@³s±ì©M²Ä¤G³s±ì¡A©Òz²Ä¤@³s±ì¥i¥H¬Û¹ï©ó©³®y³ò¶¬Û¹ï©³®y©T©wªº²Ä¤@¶b½u¼Ï¶b±ÛÂà¡A²Ä¤G³s±ì¥i¥H¬Û¹ï©ó©³®y³ò¶¬Û¹ï©³®y©T©wªº²Ä¤G¶b½u¼Ï¶b±ÛÂà¡C·íºb±ì²Õ¥ó¦b©Òz¨âÓéwµ²ºc¤§¶¡²¾°Ê®É¡A²Ä¤@³s±ì¥i¥H¬Û¹ï©ó©Òz©³®y¼Ï¶b±ÛÂà²Ä¤@¨¤«×¡A¥B²Ä¤G³s±ì¥i¥H¬Û¹ï©ó©³®y¼Ï¶b±ÛÂà¤j©ó©Òz²Ä¤@¨¤«×ªº²Ä¤G¨¤«×¡C
¤ÀÃþ¡GB42F13/24
µo©ú¤H¡G¾G¬x¦p
Àu¥ýÅv¤é´Á¡G2007/04/11
Àu¥ýÅv°ê®a/¦a°Ï¡G¼Ú¬wÁp·ù
Àu¥ýÅv½s¸¹¡G07251547.1
ªþ¹Ï

µo©ú±M§Q½s¸¹¡GI/000506
¥Ó½Ð¤é´Á¡G2007/08/17
¥Ó½Ð¤H¡G´L³Õ¬ì§ÞªÑ¥÷¦³¤½¥q
¦í§}/¦a§}¡G¤¤°ê¥xÆW¥x¤¤É]¦è¤Ù°Ï¤u·~38¸ô210¸¹5¼Ó¤§8
¼ÐÃD¡G¨ã¦³¯u¹ê·P¨üªº¹q¤l¼³§JµP¹CÀ¸¸Ë¸m¡C
ºKn¡G¤@ºØ¨ã¦³¯u¹ê·P¨üªº¹q¤l¼³§JµP¹CÀ¸¸Ë¸m¡A¥]¬A¦hӨϥΪ̱µ¤f¥H¤Î¤@Ó¦øªA¸Ë¸m¡F¨ä¤¤¡A¦U¨Ï¥ÎªÌ±µ¤f¥]§t¤@Ó¥H¤W¤â«ù¹q¤l¦¡Á¡½¤Åã¥Ü³æ¤¸¡F¦U¤â«ù¹q¤l¦¡Á¡½¤Åã¥Ü³æ¤¸¥i±µ¨ü¸Ó¨Ï¥ÎªÌ±µ¤f¤§¯S©w¼³§JµP¤º®e¨Ã¿é¥XÅã¥Üµ¹¸Ó¨Ï¥ÎªÌ¡C¹CÀ¸¶i¦æ®É¡A¤@¨Ï¥ÎªÌ¤â«ù¤@Ó¥H¤Wªº¤â«ù¹q¤l¦¡Á¡½¤Åã¥Ü³æ¤¸¡A¨ä¤¤¡A¸Ó¤â«ù¹q¤l¦¡Á¡½¤Åã¥Ü³æ¤¸¥i¬°¹q¤l¯È©Î¥i¼¸©ÊÅã¥Ü¾¹¨î§@¦Ó¨Ï¨ä¥~«¬¥i»P¼³§JµP¬Û®tµL´X¡A¦]¦¹½á¤©¨Ï¥ÎªÌ©ó¶i¦æ¹q¤l¼³§JµP¹CÀ¸®É¡A¥iÀò±o»P§âª±¤@¯ë¼³§JµP®É¬Û¦PªºÄ²·P¤Î½NµPµ¥·P©x¨É¨ü¡A¹F¨ì§ó¨Îªº¹CÀ¸¼Ö½ìªº®ÄªG¡C
¤ÀÃþ¡GA63F9/24
µo©ú¤H¡G³\¶¶©v
ªþ¹Ï

µo©ú±M§Q½s¸¹¡GI/000538
¥Ó½Ð¤é´Á¡G2007/08/31
¥Ó½Ð¤H¡GMAO Inc, DBA MAO Gaming
°êÄy¡G¬ü°ê
¦í§}/¦a§}¡G1636 Popps Ferry Rd, Suite 224, Biloxi, MS 39532 USA
¼ÐÃD¡G®T¼Ö¹CÀ¸³]³Æ¡C
ºKn¡G¥»µo©ú¤½¶}¤@·s¿oªº®T¼Ö¸Ë¸m¡A¤×¨ä¬O¦¹¥Ó½ÐÃö«Y¨ì´£¨ÑÃB¥~¤Uª`ªº¿ï¾Ü»Ý¨D¡C¦¹¥Ó½Ð§ó¶i¤@¨B¦a´yz¶Ç²Î¤Uª`°Ï110¨Ã³Æ¦³¥H¤£¦P°ê®a¼ÐÃѪºÃB¥~¤Uª`°Ï111¤Î117¡C
¤ÀÃþ¡GA63F3/00
µo©ú¤H¡GStacey Perry
ªþ¹Ï

µo©ú±M§Q½s¸¹¡GI/000551
¥Ó½Ð¤é´Á¡G2007/09/05
¥Ó½Ð¤H¡GÄò¤ÑÀÆ
¦í§}/¦a§}¡G¤¤°ê¥xÆW¥x¤¤É]¦è¤Ù°Ï¤u·~38¸ô210¸¹5¼Ó¤§8
¼ÐÃD¡G¹ê®É¥´¦L²£¥Í¼³§JµPªº¼³§JµP¹CÀ¸¸Ë¸m¡C
ºKn¡G¥»µo©ú¬O¤@ºØ¹ê®É¥´¦L²£¥Í¯u¹ê¼³§JµPªº¼³§JµP¹CÀ¸¸Ë¸m¡A¨ä¥]§t¤@¹CÀ¸¦øªA¸Ë¸m¡B¦hӨϥΪ̱µ¤f¥H¤Î¦hÓ¼³§JµP¿é¥X¸Ë¸m¡A¨ä¤¤¡A¸Ó¦hӨϥΪ̱µ¤f¤Î¸Ó¦hÓ¼³§JµP¿é¥X¸Ë¸m¤À§O¥i¶i¦æ°T¸¹¶Ç»¼¡A¦Ó¸Ó¹CÀ¸¦øªA¸Ë¸m¥i¶i¦æ¤@¼³§JµP¹CÀ¸¬yµ{¡A¦p¤@¦Ê®a¼Ö¹CÀ¸¬yµ{¡F¤@ª±®a¥i¹ïÀ³¤@¨Ï¥ÎªÌ±µ¤f¤Î¤@¼³§JµP¿é¥X¸Ë¸m¡A·í¸Ó¼³§JµP¹CÀ¸¬yµ{¶}©l«á¡A¸Óª±®a¥i³q¹L¿é¤J«ü¥O¦Ü¨Ï¥ÎªÌ±µ¤f¨Ó¾Þ±±¸Ó¼³§JµP¹CÀ¸¬yµ{¡A¥B¸Ó¨Ï¥ÎªÌ±µ¤f¦Vª±®aÅã¥Ü¸Ó¼³§JµP¹CÀ¸¬yµ{ªºª¬ºA¡A¦Ó¸Ó¼³§JµP¿é¥X¸Ë¸m«h¥i¥´¦L¿é¥X¤@¹êÅé¼³§JµPµ¹¸Óª±®a¡A¦]¦¹¡A¦b°Ñ»P¹CÀ¸®É½á¤©¸Óª±®a§âª±¹êÅé¼³§JµPªº¯u¹ê·P¨ü¡C
¤ÀÃþ¡GA63F13/00
µo©ú¤H¡GÄò¤ÑÀÆ
ªþ¹Ï

µo©ú±M§Q½s¸¹¡GI/000568
¥Ó½Ð¤é´Á¡G2007/09/18
¥Ó½Ð¤H¡G´L³Õ¬ì§ÞªÑ¥÷¦³¤½¥q
¦í§}/¦a§}¡G¤¤°ê¥xÆW¥x¤¤É]¦è¤Ù°Ï¤u·~38¸ô210¸¹5¼Ó¤§8
¼ÐÃD¡G¨ã¦³¦hºØ¾ú¥v°O¿ý¥\¯àªº»ëÄ_¹CÀ¸¸Ë¸m¡C
ºKn¡G¥»µo©ú¬°¤@ºØ¨ã¦³¦hºØ¾ú¥v°O¿ý¥\¯àªº»ëÄ_¹CÀ¸¸Ë¸m¡A¨ä¥]§t¤@¹CÀ¸¥D¾÷¡B¤@¶}µP¸Ë¸m¥H¤Î¦hӨϥΪ̲׺ݡA¨ä¤¤¡A¸Ó¹CÀ¸¥D¾÷¥i¶i¦æ¤@»ëÄ_¹CÀ¸¬yµ{¡A¸Ó¶}µP¸Ë¸m¥i°t¦X¸Ó»ëÄ_¹CÀ¸¬yµ{ÀH¾÷²£¥Í¤@·n»ëµ²ªG¡A¨C¤@¨Ï¥ÎªÌ²×ºÝ¥]§t¤@¿é¥X¿é¤J±µ¤f¡F¸Ó¿é¥X¿é¤J±µ¤f±µ¨ü¸Ó¹CÀ¸¥D¾÷ªº±±¨î¨ÃÅã¥Ü¤@¾ú¥v°O¿ý¡A¦Ó¸Ó¾ú¥v°O¿ý¥i¥H¤£¦Pªº«¬ºA§e²{¡A¨Ñª±®a¨Ì¾Ú²ßºD¿ï¾Ü¤£¦PªºÅã¥Ü¤è¦¡¡A§@¬°¨ä°Ñ»P¸Ó»ëÄ_¹CÀ¸¬yµ{®Éªº°Ñ¦Ò¡C
¤ÀÃþ¡GA63F9/04
µo©ú¤H¡G³\¶¶©v
ªþ¹Ï

µo©ú±M§Q½s¸¹¡GI/000628
¥Ó½Ð¤é´Á¡G2007/11/08
¥Ó½Ð¤H¡GGAMING PARTNERS INTERNATIONAL
°êÄy¡Gªk°ê
¦í§}/¦a§}¡GZI Beaune-Savigny, Lieudit La Champagne, 21420 Savigny Les Beaune França
¼ÐÃD¡G¦b½ä³õªº®à¤W¹CÀ¸¤º¥Î©ópºâ½äª`ªº¨t²Î¤Îµ{§Ç¡A¦p¼³§JµP¹CÀ¸¡C
ºKn¡GA invenção tem por objecto um sistema, nomeadamente para contar as paradas num jogo de mesa que utiliza fichas, equipada, cada uma, com um chip de identificação por radiofrequência, sendo o valor da ficha inscrito no chip, compreendendo um tabuleiro de jogo, caracterizado por o sistema compreender, pelo menos, uma zona para a leitura dos dados inscritos nas fichas de identificação por radiofrequência, compreendendo cada zona de leitura conjuntos de antena para ler o valor de cada ficha colocada na zona de leitura, e por compreender também meios para calcular um montante total correspondente a soma dos seus valores, estando, pelo menos, uma entre, pelo menos, uma zona de leitura situada no referido tabuleiro.
¤ÀÃþ¡GA63F1/00
| µo©ú¤H¡G | GELINOTTE Emmanuel |
| ¡@ | CAZALIS Lionel |
Àu¥ýÅv¤é´Á¡G2007/04/27
Àu¥ýÅv°ê®a/¦a°Ï¡Gªk°ê
Àu¥ýÅv½s¸¹¡GPCT/FR2007/051189
ªþ¹Ï

µo©ú±M§Q½s¸¹¡GI/000686
¥Ó½Ð¤é´Á¡G2008/01/16
¥Ó½Ð¤H¡G®õ°¶¹q¤lªÑ¥÷¦³¤½¥q
¦í§}/¦a§}¡G¤¤°ê¥xÆW¥x¥_¿¤¤T«¥«¿³¼w¸ô111-1¸¹10¼Ó
¼ÐÃD¡G¯u¤H²ü©x¹êªp³s½u¹CÀ¸¨t²Î¤Î¨ä¹CÀ¸¤èªk¡C
ºKn¡G¤@ºØ¯u¤H²ü©x¹êªp³s½u¹CÀ¸¨t²Î¤Î¨ä¹CÀ¸¤èªk¡A¥Î¥HÅý¦h¼Æ¦Wª±®a»P¦Ü¤Ö¤@²ü©x¶i¦æ¦h¼Æ³õ¤À§O¨ã¦³¦h¼Æ¦^¦Xªº²ü©x¹CÀ¸¡A¸Ó¹CÀ¸¨t²Î¥]§t¡G¦h¼ÆÓÄá¼v³æ¤¸¡B¤@¹CÀ¸¦ø¾¹³æ¤¸¤Î¦h¼ÆÓ«È¤áºÝ³æ¤¸¡C¸Óµ¥Äá¼v³æ¤¸¥H©çÄá¦h¼ÆÓ¹êªpµø°T¡C¸Ó¹CÀ¸¦øªA³æ¤¸¥]¬A¦h¼ÆÓ¹CÀ¸µ{¦¡¡A¨C¤@¹CÀ¸µ{¦¡¨ã¦³¤@¹CÀ¸µe±¡A·í¨ä¤¤¤@²ü©x¹CÀ¸ªº¨ä¤¤¤@¦^¦X¶}©l®É¡A¸Ó¹ïÀ³ªº¹CÀ¸µ{¦¡¥i±µ¨ü¤Uª`¡A¨Ã©ó¸Ó¦^¦X¶}¼ú«á¦Û°Ê¦apºâ¤@¬£±mµ²ªG¡C¸Óµ¥«È¤áºÝ³æ¤¸¤À§OÅã¥Ü¸Óµ¥²ü©x¹CÀ¸ªº¹êªpµø°T¤Î¹CÀ¸µe±¡A¨C¤@«È¤áºÝ³æ¤¸¥Î¥H¨Ñ¨C¤@ª±®a°Ñ»P¸Óµ¥²ü©x¹CÀ¸¨Ã©ó¶}¼ú«á¨Ì¾Ú¸Ó¬£±mµ²ªGÀò±o±mª÷¡C
¤ÀÃþ¡GA63F13/12
µo©ú¤H¡G·¨«n¥
Àu¥ýÅv¤é´Á¡G2007/07/29
Àu¥ýÅv°ê®a/¦a°Ï¡G¤¤°ê¥xÆW
Àu¥ýÅv½s¸¹¡G096123777
ªþ¹Ï

µo©ú±M§Q½s¸¹¡GI/000707
¥Ó½Ð¤é´Á¡G2008/02/20
¥Ó½Ð¤H¡GAruze Gaming America, Inc.
°êÄy¡G¬ü°ê
¦í§}/¦a§}¡G745 Grier Drive, Las Vegas, Nevada 89119, U.S.A.
¼ÐÃD¡G±µ¨üªþ¥[ª`ª÷ªº¹CÀ¸¤èªk©M¹CÀ¸¾÷¡C
ºKn¡G®Ú¾Ú¥»µo©úªº¯ÈµP¹CÀ¸ªº¹CÀ¸¤èªk¥]¬A¥H¤U¨BÆJ¡G¡]a¡^µoµ¹ª±®a¹w©w¼Æ¥ØªºµP§@¬°ª±®aªºµP¡A¨Ã¥Bµoµ¹ÉÜ®a¹w©w¼Æ¥ØªºµP§@¬°ÉÜ®aªºµP¡F¡]b¡^¤Uª`¤£¦P©ó´¶³qBET¡]ª`ª÷¡^ªºªþ¥[BET¡F¡]c¡^¤À§O±N¹w©w¼Æ¥Øªºª±®aªºµP©M¹w©w¼Æ¥ØªºÉÜ®aªºµP¤À¬°¨â²Õ¡F¡]d¡^³q¹L¤ñ¸û¤À¬°¨â²Õªºª±®aªº¨â¤âµP»P¤À¬°¨â²ÕªºÉÜ®aªº¨â¤âµP¡A½T©w¹CÀ¸ªº¿éĹ¡F¡]e¡^·í¦b¨BÆJ¡]d¡^¤¤½T¹CÀ¸¬°¥§½¨Ã¥B¦b¨BÆJ¡]b¡^¤¤¤Uª`¤Fªþ¥[BET¡A±q¹w©w¼Æ¥Øªºª±®aªºµP¤¤¿ï¾ÜµP¡A©M¡]f¡^³q¹L¤ñ¸û¦b¨BÆJ¡]e¡^¤¤¿ï¾Üªºª±®aªº¤@¤âµP»P¬Û¦P¼Æ¥ØªºÉÜ®aªº¤@¤âµP¡A½T©w¹CÀ¸ªº¿éĹ¡C
¤ÀÃþ¡GA63F13/00
µo©ú¤H¡GKazuo Okada
Àu¥ýÅv¤é´Á¡G2007/02/20
Àu¥ýÅv°ê®a/¦a°Ï¡G¬ü°ê
Àu¥ýÅv½s¸¹¡G60/902,097
Àu¥ýÅv¤é´Á¡G2007/10/15
Àu¥ýÅv°ê®a/¦a°Ï¡G¬ü°ê
Àu¥ýÅv½s¸¹¡G11/907,580
ªþ¹Ï

µo©ú±M§Q½s¸¹¡GI/000708
¥Ó½Ð¤é´Á¡G2008/02/20
¥Ó½Ð¤H¡GAruze Gaming America, Inc.
°êÄy¡G¬ü°ê
¦í§}/¦a§}¡G745 Grier Drive, Las Vegas, Nevada 89119, U.S.A.
¼ÐÃD¡G±µ¨üªþ¥[ª`ª÷ªº¹CÀ¸¤èªk©M¹CÀ¸¾÷¡C
ºKn¡G®Ú¾Ú¥»µo©úªº¯ÈµP¹CÀ¸ªº¹CÀ¸¤èªk¥]¬A¥H¤U¨BÆJ¡F¡]a¡^±N¹w©w¼Æ¥Øªº¯ÈµPµoµ¹ª±®a§@¬°ª±®a¯ÈµP¨Ã±N¹w©w¼Æ¥Øªº¯ÈµPµoµ¹ÉÜ®a§@¬°ÉÜ®a¯ÈµP¡F¡]b¡^¤Uª`¤£¦P©ó¥¿±`ª`ª÷ªºªþ¥[ª`ª÷¡F¡]c¡^²Öp¦a²Ö¿n¹w©w¤ñ²vªºªþ¥[ª`ª÷¹ôÈ¡F¡]d¡^±N¹w©w¼Æ¥Øªºª±®a¯ÈµP©M¹w©w¼Æ¥ØªºÉÜ®a¯ÈµP¤À§O¹º¤À¦¨¨â²Õ¯ÈµP¡F¡]e¡^³q¹L±N¹º¤À¦¨¨â²Õªºª±®a¯ÈµPªº¨â¤âµP»P¹º¤À¦¨¨â²ÕªºÉÜ®a¯ÈµPªº¨â¤âµP¶i¦æ¤ñ¸û¨Ó½T©w¹CÀ¸ªº¿éĹ¡F¡]f¡^·í¦b¨BÆJ¡]e¡^¤¤½T©w¹CÀ¸¬O¥§½¨Ã¥B¦b¨BÆJ¡]b¡^¤¤¤Uª`¤Fªþ¥[ª`ª÷®É¡A±q¹w©w¼Æ¥Øªºª±®a¯ÈµP¤¤¿ï¾Ü¯ÈµP¡F¡]g¡^³q¹L±N¦b¨BÆJ¡]f¡^¤¤¿ï¾Üªºª±®a¯ÈµPªº¤@¤âµP»P¬Û¦P¼Æ¥ØªºÉÜ®a¯ÈµPªº¤@¤âµP¶i¦æ¤ñ¸û¨Ó½T©w¹CÀ¸ªº¿éĹ¡F¥H¤Î¡]h¡^·í¦b¨BÆJ¡]g¡^¤¤½T©wª±®a¬OĹ®a®É¡A±q²Öp¦a¦sÀxªº¹ôȤ¤´£¨Ñ¤ä¥I¡C
¤ÀÃþ¡GA63F13/00
µo©ú¤H¡GKazuo Okada
Àu¥ýÅv¤é´Á¡G2007/02/20
Àu¥ýÅv°ê®a/¦a°Ï¡G¬ü°ê
Àu¥ýÅv½s¸¹¡G60/902,094
Àu¥ýÅv¤é´Á¡G2007/10/15
Àu¥ýÅv°ê®a/¦a°Ï¡G¬ü°ê
Àu¥ýÅv½s¸¹¡G11/907,581
ªþ¹Ï

µo©ú±M§Q½s¸¹¡GI/000709
¥Ó½Ð¤é´Á¡G2008/02/20
¥Ó½Ð¤H¡GAruze Gaming America, Inc.
°êÄy¡G¬ü°ê
¦í§}/¦a§}¡G745 Grier Drive, Las Vegas, Nevada 89119, U.S.A.
¼ÐÃD¡G±µ¨üªþ¥[ª`ª÷ªº¹CÀ¸¤èªk©M¹CÀ¸¾÷¡C
ºKn¡G®Ú¾Ú¥»µo©úªº¯ÈµP¹CÀ¸ªº¹CÀ¸¤èªk¥]¬A¥H¤U¨BÆJ¡G¡]a¡^§ë¤U»P¥¿±`ª`ª÷¤£¦Pªºªþ¥[ª`ª÷¡F¡]b¡^°õ¦æ¿í´`°ò¥»³W«h°ò¥»¹CÀ¸¡A¸Ó°ò¥»³W«h¤¤¹CÀ¸ªº¿éŬO°ò©ó¤âµPªº±j®z©Î¤À°tµ¹¦U±i¯ÈµPªºÂI¼ÆªºÁ`©Mªº°ª§C¨Ó½T©wªº¡F©M¡]c¡^·í½T©w©Òz°ò¥»¹CÀ¸ªºµ²ªG¬O¥§½©Îª±®a¿é¨Ã¥B¦b©Òz³B²z¡]a¡^¤¤§ë¤U¤Fªþ¥[ª`ª÷®É¡A°õ¦æ¿í´`¯S®í³W«hªº¯S®í¹CÀ¸¡A¸Ó¯S®í³W«h¦b¤âµPªº±j®z©Î¤À°tµ¹¦U±i¯ÈµPªºÂI¼Æªº¤è±»P°ò¥»³W«h¤£¦P¡C
¤ÀÃþ¡GA63F13/00
µo©ú¤H¡GKazuo Okada
Àu¥ýÅv¤é´Á¡G2007/02/20
Àu¥ýÅv°ê®a/¦a°Ï¡G¬ü°ê
Àu¥ýÅv½s¸¹¡G60/902,095
Àu¥ýÅv¤é´Á¡G2007/10/16
Àu¥ýÅv°ê®a/¦a°Ï¡G¬ü°ê
Àu¥ýÅv½s¸¹¡G11/907,699
ªþ¹Ï

µo©ú±M§Q½s¸¹¡GI/000733
¥Ó½Ð¤é´Á¡G2008/03/10
¥Ó½Ð¤H¡G°ê»Ú¤å¨ã»s³y¼t¦³¤½¥q
°êÄy¡G®Ú¾Ú»´äªk¨Ò¦¨¥ß
¦í§}/¦a§}¡G»´ä·s¬É¸ª¯F¹Å¼y¸ô5¦Ü9¸¹«aµØÃè¼t²Ä¤T¤u·~¤j·H16¦Ü19¼Ó
¼ÐÃD¡Gºb±ì«ý«¬¤å¥ó§¨¾÷ºc¡C
ºKn¡G¤½¶}¤F¤@ºØºb±ì«ý«¬¤å¥ó§¨¾÷ºc¡]100¡A200¡A300¡^¡A¸Ó¾÷ºc¥]¬A¡G©³®y¡]102¡A202¡A302¡^¡F¨âÓÀô¡A¸ÓÀô©T©w¦b©Òz©³®y¤W¨Ã±q¸Ó©³®y¦V¤W©µ¦ù¡A¥H»P¯È¤¤ªº¤Õ°t¦X¡A¨CÓ©ÒzÀô¥]¬A©T©w¦b©Òz©³®y¤Wªº¬W¡]104¡A204¡A304¡^©M¥i¬Û¹ï©ó©Òz¬W²¾°Êªº«ý§Î¥ó¡]106¡A206¡A306¡^¡F¥H¤Îºb±ì²Õ¥ó¡]116¡A216¡A316¡^¡A¥i¥H¾Þ§@©Òzºb±ì²Õ¥ó¡A¨Ï©Òz«ý§Î¥ó¬Û¹ï©ó©Òz¬W¦b©ÒzÀô«Ê³¬ªºÀô«Ê³¬ª¬ºA©M©ÒzÀô¥´¶}ªºÀô¥´¶}ª¬ºA¤§¶¡²¾°Ê¡F©Òzºb±ì²Õ¥óªººb±ì¡]118¡A218¡A318¡^¯à°÷¦V¤U±q²Ä¤@¦ì¸m¡]J¡^¼ÏÂà¨ì²Ä¤G¦ì¸m¡]K¡^¡A¥H¨Ï©ÒzÀô±q©ÒzÀô«Ê³¬ª¬ºA²¾°Ê¨ì©ÒzÀô¥´¶}ª¬ºA¡AÀH«á©Òzºb±ì¯à°÷¦V¤U±q©Òz²Ä¤G¦ì¸m¼ÏÂà¨ì²Ä¤T¦ì¸m¡]L¡^¡A¥H¨Ï©ÒzÀô±q©ÒzÀô¥´¶}ª¬ºA²¾°Ê¨ì©ÒzÀô«Ê³¬ª¬ºA¡Cºb±ìÁÙ¯à°÷¦V¤W¼ÏÂà¡A¦ü¨Ï©ÒzÀô±q©ÒzÀô«Ê³¬ª¬ºA²¾°Ê¨ì©ÒzÀô¥´¶}ª¬ºA¡C©Òzºb±ì¯à°÷¦V¤U¼ÏÂà¡A¥H¦b³s±ì¡]114¡A224¡^ªº²Ä¤@ÂI¤W¬I¥[©Ô¤O¡A¨Ï©Òz³s±ìªu²Ä¤@¤è¦VÂà°Ê¡A©Òzºb±ì¯à°÷¦V¤W¼ÏÂà¡A¥H¦b©Òz³s±ìªº²Ä¤GÂI¤W¬I¥[±À¤O¡A¨Ï©Òz³s±ìªu¬Û¦Pªº²Ä¤@¤è¦VÂà°Ê¡C©Òz³s±ì»P©Òzºb±ì©Ó¸üªº¥t¤@³s±ì¡]122¡A222¡^¥iÃP¶}¦a°t¦X¡C
¤ÀÃþ¡GB42F3/04, B42F13/24
| µo©ú¤H¡G | §ù®¶·½ |
| ¡@ | ¾G¬x¦p |
Àu¥ýÅv¤é´Á¡G2007/08/10
Àu¥ýÅv°ê®a/¦a°Ï¡G¼Ú¬wÁp·ù
Àu¥ýÅv½s¸¹¡G07253152.8
ªþ¹Ï

µo©ú±M§Q½s¸¹¡GI/000735
¥Ó½Ð¤é´Á¡G2008/03/12
¥Ó½Ð¤H¡Gªü¾|µ¦®è¦¡·|ªÀ
°êÄy¡G¤é¥»
¦í§}/¦a§}¡G135-0063¤é¥»°êªF¨Ê³£¦¿ªF°Ï¦³©ú3¤B¥Ø1µf¦a25
¼ÐÃD¡GµP¹CÀ¸¾÷©MµP¹CÀ¸¤èªk¡C
ºKn¡GµP¹CÀ¸¾÷½T©wÉÜ®a¤@¤âµP©M¨CӲ׺ݪºª±®a¤@¤âµP¨Ã¥B«ü©w³Ñ¾lµP²Õ¡C¤ñ¸ûª±®a¤@¤âµP©MÉÜ®a¤@¤âµP¥H¶i¦æ¿éŧPÂ_¨Ã¥B®Ú¾Ú§PÂ_µ²ªGµ¹¤©¼ú½à¡C¦pªG¶i¦æªþ¥[¤Uª`¡A«h¤£¦Ò¼{¿éŧPÂ_ªºµ²ªG¹ï©ó¥Ñ±q³Ñ¾lµP²Õ¤¤¿ï¥X¨Ã½T©wªº²Ä¤@µP²Õ©M±qª±®a¤@¤âµP¤¤¿ï¥X¨Ã½T©wªº²Ä¤GµP²Õºc¦¨ªº¼úª÷¹ï¶HµP²Õ¶i¦æ¼úª÷§PÂ_³B²z¡A¨Ã¥Bµ¹¤©°ò©ó§PÂ_µ²ªGªº¼úª÷¤ä¥I¡C
¤ÀÃþ¡GA63F13/00
µo©ú¤H¡G¦N¿A ¤@¶®
Àu¥ýÅv¤é´Á¡G2007/03/13
Àu¥ýÅv°ê®a/¦a°Ï¡G¤é¥»
Àu¥ýÅv½s¸¹¡G2007-064053
ªþ¹Ï

µo©ú±M§Q½s¸¹¡GI/000736
¥Ó½Ð¤é´Á¡G2008/03/12
¥Ó½Ð¤H¡Gªü¾|µ¦®è¦¡·|ªÀ
°êÄy¡G¤é¥»
¦í§}/¦a§}¡G135-0063¤é¥»°êªF¨Ê³£¦¿ªF°Ï¦³©ú3¤B¥Ø1µf¦a25
¼ÐÃD¡GµP¹CÀ¸¾÷©MµP¹CÀ¸¤èªk¡C
ºKn¡G¦b¤@ºØµP¹CÀ¸¾÷¤Wª±µP¤E¼³§J¡C¦bµP¤E¼³§J¤¤¡A¤ñ¸ûª±®a¤@¤âµP©MÉÜ®a¤@¤âµP¥H¶i¦æ¿éŧPÂ_¡A¨Ã¥B®Ú¾Ú§PÂ_µ²ªGµ¹¤©¼ú½à¡C¦pªG¶i¦æ¤Fªþ¥[¤Uª`¡A«h±qÉÜ®a§C¤âµP¤¤¿ï¾Ü¨Ã½T©w²Ä¤@µP²Õ¡A±qª±®a°ª¤âµP¤¤¿ï¾Ü¨Ã½T©w²Ä¤GµP²Õ¡A»P¿éŧPÂ_µ²ªGµLÃö¡C¹ï©ó¥Ñ²Ä¤@µP²Õ©M²Ä¤GµP²Õºc¦¨ªº¼úª÷¹ï¶HµP²Õ¶i¦æ¼úª÷§PÂ_³B²z¡A¨Ã¥B°ò©ó§PÂ_µ²ªGµ¹¤©¼úª÷¤ä¥I¡C
¤ÀÃþ¡GA63F13/00
µo©ú¤H¡G¦N¿A ¤@¶®
Àu¥ýÅv¤é´Á¡G2007/03/13
Àu¥ýÅv°ê®a/¦a°Ï¡G¤é¥»
Àu¥ýÅv½s¸¹¡G2007-064029
ªþ¹Ï

µo©ú±M§Q½s¸¹¡GI/000737
¥Ó½Ð¤é´Á¡G2008/03/12
¥Ó½Ð¤H¡Gªü¾|µ¦®è¦¡·|ªÀ
°êÄy¡G¤é¥»
¦í§}/¦a§}¡G135-0063¤é¥»°êªF¨Ê³£¦¿ªF°Ï¦³©ú3¤B¥Ø1µf¦a25
¼ÐÃD¡GµP¹CÀ¸¾÷©MµP¹CÀ¸¤èªk¡C
ºKn¡G¥ÎµP¹CÀ¸¾÷ª±µP¤E¼³§J¡C¦bµP¤E¼³§J¤¤¡A¤ñ¸ûª±®a¤@¤âµP©MÉÜ®a¤@¤âµP¥H¶i¦æ¿éŧPÂ_¨Ã¥Bµ¹¤©®Ú¾Ú§PÂ_µ²ªGªº¼ú½à¡C¦pªG¶i¦æ¤Fªþ¥[¤Uª`¡A«h±qÉÜ®a¤@¤âµP¤¤½T©w¥Ñ¤±iµPºc¦¨ªº¼úª÷¹ï¶HµP²Õ¦Ó»P¿éŧPÂ_µ²ªGµLÃö¡C¬°¼úª÷¹ï¶HµP²Õ¶i¦æ¼úª÷§PÂ_³B²z¨Ã¥Bµ¹¤©ª±®a°ò©ó§PÂ_µ²ªGªº¼úª÷¤ä¥I¡C
¤ÀÃþ¡GA63F13/00
µo©ú¤H¡G¦N¿A ¤@¶®
Àu¥ýÅv¤é´Á¡G2007/03/13
Àu¥ýÅv°ê®a/¦a°Ï¡G¤é¥»
Àu¥ýÅv½s¸¹¡G2007-064071
ªþ¹Ï

µo©ú±M§Q½s¸¹¡GI/000738
¥Ó½Ð¤é´Á¡G2008/03/13
¥Ó½Ð¤H¡Gªü¾|µ¦®è¦¡·|ªÀ
°êÄy¡G¤é¥»
¦í§}/¦a§}¡G135-0063¤é¥»°êªF¨Ê³£¦¿ªF°Ï¦³©ú3¤B¥Ø1µf¦a25
¼ÐÃD¡GµP¹CÀ¸¾÷©MµP¹CÀ¸¤èªk¡C
ºKn¡G¦bµP¹CÀ¸¾÷¤¤¹ê¦æ21ÂI¹CÀ¸¡C¦b21ÂI¤¤¡A®Ú¾Úª±®aµP©MÉÜ®aµP¤§¶¡ªº¤ñ¸û¶i¦æ¿éŧPÂ_¡A¨Ã¥B´£¨ÑÅTÀ³§PÂ_µ²ªGªº¼úÀy¡C¦b¶i¦æªþ¥[¤Uª`ªº±¡ªp¤U¡A¤£¦Ò¼{¿éŧPÂ_µ²ªG¹ê¦æ¼úª÷¤ä¥I½T©w³B²z¡C¦b¼úª÷¤ä¥I½T©w³B²z¤¤¡A§PÂ_ª±®aµP¤¤»P¤£¦P©ó21ÂIªº¡§¯B¼Ð¡¨¹CÀ¸¬ÛÃöªº²Õ¦Xªº¹ê²{¡AµM«á½T©wÅTÀ³©Ò¹ê²{²Õ¦Xªº¼úª÷¤ä¥Iªº¤º®e¨Ã¥B¦Vª±®a´£¨Ñ¸Ó¼úª÷¤ä¥I¡C
¤ÀÃþ¡GA63F13/00
µo©ú¤H¡G¦N¿A ¤@¶®
Àu¥ýÅv¤é´Á¡G2007/03/13
Àu¥ýÅv°ê®a/¦a°Ï¡G¤é¥»
Àu¥ýÅv½s¸¹¡G2007-064014
ªþ¹Ï

µo©ú±M§Q½s¸¹¡GI/000739
¥Ó½Ð¤é´Á¡G2008/03/13
¥Ó½Ð¤H¡GHutchison Whampoa Three G IP ¡]Bahamas¡^ Limited
°êÄy¡G¤Ú«¢°¨
¦í§}/¦a§}¡GOffshore Group Chambers, P.O. Box CB-12751, Nassau, New Providence, Bahamas
¼ÐÃD¡G¥Î©ó¦b²¾°Ê³q°Tºôµ¸¤¤¹ê²{ÂkÄݰÏÀ³¥Îªº¤èªk¡C
ºKn¡G¥»µo©ú´£¨Ñ¤F¤@ºØ¦b²¾°Ê³q°Tºôµ¸¤¤¹ê²{ÂkÄݰÏÀ³¥Îªº¤èªk¡A¨ä¤¤·í¥Î¤áªº¤â«ù¾÷¥X²{¦b±Ò¥Îµu¶ZÂ÷ºôµ¸ªºGPS³æ¤¸ªººôµ¸½d³ò¤º®É¡A¦bÂkÄݰϥΤ᪺ÂkÄݦa¤¤¶i¦æ©w¦ìªº¸ÓGPS³æ¤¸±N¨ä¦ì¸m§¤¼Ðªð¦^¸Ó¤â«ù¾÷¡C±N³oÓ¦ì¸m»P©Ò¦sÀxªº¦b¥Î¤áµù¥U®É´£¨ÑªºÂkÄݦì¸mcell-id¶i¦æ¤ñ¸û¡C¦pªG¨âÓ¦ì¸m³B©ó¥i¤¹³\½d³ò¤º¡A«h¤â«ù¾÷³Q¬Ý§@³B©ó¥Î¤áªºÂkÄݦaªþªñ¡A¦Ó¥B·|«ö·ÓÂkÄݰϦ¬¶Oªí¨Ó¦¬¶O¡Aª½¨ì¤â«ù¾÷Â÷¶}ÂkÄݦaªþªñ¡C
¤ÀÃþ¡GH04Q7/38, H04B5/02, H04L29/08
| µo©ú¤H¡G | Erol Hepsaydir |
| ¡@ | Nicola Binucci |
Àu¥ýÅv¤é´Á¡G2007/03/13
Àu¥ýÅv°ê®a/¦a°Ï¡G^°ê
Àu¥ýÅv½s¸¹¡G0704838.2
Àu¥ýÅv¤é´Á¡G2007/08/03
Àu¥ýÅv°ê®a/¦a°Ï¡G^°ê
Àu¥ýÅv½s¸¹¡G0715139.2
ªþ¹Ï

µo©ú±M§Q½s¸¹¡GI/000741
¥Ó½Ð¤é´Á¡G2008/03/14
¥Ó½Ð¤H¡Gªü¾|µ¦®è¦¡·|ªÀ
°êÄy¡G¤é¥»
¦í§}/¦a§}¡G3-1-25, Ariake, Koto-ku, Tokyo 135-0063, Japan
¼ÐÃD¡G¯à°÷³]¸m¤Uª`¼Æ¶q©M¦³®Ä°Ï°ì¼Æ¶qªº¹CÀ¸¾÷¡C
ºKn¡G¥»µo©ú´£¨Ñ¯à°÷³]¸m¤Uª`¼Æ¶q©M¦³®Ä°Ï°ì¼Æ¶qªº¹CÀ¸¾÷¡C·í¿E¬¡¤@өΧó¦h±ø¤ä¥I½u¨Ã¬°¤§³]¸m¤Uª`¼Æ¶q®É¡A³q¹L±N¿E¬¡ªº¤ä¥I½uªº¼Æ¶q¼¥H¨C¤@±ø¤ä¥I½uªº¤Uª`¼Æ¶q¦ÓÀò±oªºÁ`¤Uª`¼Æ¶q¬O¨ü¨ì¨îªº¡C¦b³oӤ象A·íª±®a¾Þ§@¤F½u«ö¶s¡]104¡B105¡B106¡B07¡B108¡^¤¤ªº¤@ӮɡA©Ò¾Þ§@ªº«ö¶sµo¥X²Ä¤@ÃC¦âªº¥ú¡A¨Ã¥B¡A¦b¤Uª`«ö¶s¡]110¡B111¡B112¡B113¡B114¡^¤¤¡Aº¡¨¬Á`¤Uª`¼Æ¶qªº¤@өΧó¦hÓ«ö¶s¡A§Y¯à°÷³Q¾Þ§@ªº«ö¶s¡Aµo¥X²Ä¤GÃC¦âªº¥ú¡C
¤ÀÃþ¡GA63F5/04
µo©ú¤H¡G½_§ø©¯¬ö
Àu¥ýÅv¤é´Á¡G2007/03/16
Àu¥ýÅv°ê®a/¦a°Ï¡G¤é¥»
Àu¥ýÅv½s¸¹¡G2007-068449
ªþ¹Ï

µo©ú±M§Q½s¸¹¡GI/000742
¥Ó½Ð¤é´Á¡G2008/03/14
¥Ó½Ð¤H¡Gªü¾|µ¦®è¦¡·|ªÀ
°êÄy¡G¤é¥»
¦í§}/¦a§}¡G3-1-25, Ariake, Koto-ku, Tokyo 135-0063, Japan
¼ÐÃD¡G¯à°÷³]¸m¤Uª`¼Æªº¹CÀ¸¾÷¡C
ºKn¡G¥»µo©ú¯A¤Î¯à°÷³]¸m¤Uª`¼Æªº¹CÀ¸¾÷¡C¦bÅã¥Ü¦b¤U¹Ï¹³Åã¥ÜªO¤Wªº¤Uª`¼Æ§ïÅÜ«ö¶s²Õ¡]401¡B402¡^¤¤¡A·í¹CÀ¸ªÌIJºN¦hӼƦr«ü¥Ü°Ï¤¤ªº¥ô¦ó¤@ӮɡA¥i¥H«ü©w¤@±ø¤ä¥I½u¡A¨ä¤¤¦UӼƦr«ü¥Ü°Ï§Î¦¨³]¸m¦bÅã¥Üµ¡¡]10A¡^ªº¥ª°¼©ÎÅã¥Üµ¡¡]10E¡^ªº¥k°¼ªº¤@Ó¦C¡C¦Ó¥B¡A·í¹CÀ¸ªÌIJºN¤U¹Ï¹³Åã¥ÜªO¤WÅã¥Üªº«ö¶s¡]301¡B302¡B311¡B312¡B313¡^¤¤ªº¨C¤@ӮɡA¥i¥H§ïÅܰw¹ï«ü©w¤ä¥I½uªº¤Uª`¼Æ¡C¦b³oÂI¤W¡A¹CÀ¸ªÌ¥i¥H³q¹LÂл\¤U¹Ï¹³Åã¥ÜªO¡]6¡^ªºÄ²ºNªO¡]11¡^¨ÓIJºN¥¦Ì¡C
¤ÀÃþ¡GA63F5/04
µo©ú¤H¡G½_§ø©¯¬ö
Àu¥ýÅv¤é´Á¡G2007/03/16
Àu¥ýÅv°ê®a/¦a°Ï¡G¤é¥»
Àu¥ýÅv½s¸¹¡G2007-068484
ªþ¹Ï

µo©ú±M§Q½s¸¹¡GI/000743
¥Ó½Ð¤é´Á¡G2008/03/14
¥Ó½Ð¤H¡Gªü¾|µ¦®è¦¡·|ªÀ
°êÄy¡G¤é¥»
¦í§}/¦a§}¡G135-0063¤é¥»°êªF¨Ê³£¦¿ªF°Ï¦³©ú3¤B¥Ø1µf¦a25
¼ÐÃD¡G¥]¬A³æÓª±®a¯à°÷°õ¦æµP¹CÀ¸ªº¦hӲ׺ݪºµP¹CÀ¸¾÷¤Îª±µP¹CÀ¸ªº¤èªk¡C
ºKn¡G¦b²G´¹Åã¥Ü¾¹201¤¤¡A·í¤lª±®a¸g¥ÑÂл\着²G´¹Åã¥Ü¾¹201ªº³z©úIJºNªO202IJºN¦w±Æ¦b¥D¹CÀ¸Åã¥Ü°Ï°ì2001¤U¤èªº¿ï¾Ü«ö¶s°Ï°ì1206®É¡A¤lª±®a¥i¥H¿ï¾Üª±¥D¹CÀ¸¡C¦¹¥~¡A·í¤lª±®aIJºN¦w±Æ¦b¤l¹CÀ¸Åã¥Ü°Ï°ì2002¤Uªº¿ï¾Ü«ö¶s°Ï°ì1206®É¡A¤lª±®a¥i¥H¿ï¾Ü«á¥x¤Uª`¹CÀ¸§@¬°¤l¹CÀ¸¡C¤lª±®aªº¿ï¾ÜÀu¥ý©ó¤l¹CÀ¸©M¥D¹CÀ¸ªº¶}©l¡C
¤ÀÃþ¡GA63F13/00
µo©ú¤H¡G¦õÃï¥
Àu¥ýÅv¤é´Á¡G2007/03/14
Àu¥ýÅv°ê®a/¦a°Ï¡G¤é¥»
Àu¥ýÅv½s¸¹¡G2007-065827
ªþ¹Ï

µo©ú±M§Q½s¸¹¡GI/000744
¥Ó½Ð¤é´Á¡G2008/03/14
¥Ó½Ð¤H¡Gªü¾|µ¦®è¦¡·|ªÀ
°êÄy¡G¤é¥»
¦í§}/¦a§}¡G135-0063¤é¥»°êªF¨Ê³£¦¿ªF°Ï¦³©ú3¤B¥Ø1µf¦a25
¼ÐÃD¡G¨ã¦³¦h°ÆµPªºµP¹CÀ¸¾÷¥H¤ÎµP¹CÀ¸¤èªk¡C
ºKn¡G¨â°ÆµPA©MB³Q¤Àµoµ¹ÉÜ®a©M¦UÓ¥Dnª±®a1¨ì5¡A¨Ã³Q¥L̦@¨É¡C¨â±i³Q¤À§O¤Àµoµ¹ÉÜ®a©M¦U¥Dª±®aªºµP±q¨â°ÆµPA©MB¤¤³Q½T©w¡C¥t¤@¤è±¡A¨â°ÆµP³Q¤Àµoµ¹¤lª±®a3¡C¨â±i±N³Q¤Àµoµ¹¤lª±®aªºµP±q¨â°ÆµPC©MD¤¤³Q½T©w¡C¦b¨M©w¤¤¡A¤Àµoµ¹ÉÜ®aªº¬Û¦PªºµP±q¨â°ÆµPC©MD¤¤³Q±Æ°£¡CÃþ¦üªº¡A¹ï©ó¤lª±®a5¡A¨â±i³Q¤Àµoµ¹¸Ó¤lª±®aªºµP±q¨â°ÆµPE©MF¤¤³Q½T©w¡C¶i¤@¨B¡A¹ï©ó¤lª±®a8¡A¨â±i³Q¤Àµoµ¹¸Ó¤lª±®aªºµP±q¨â°ÆµPG©MH¤¤³Q½T©w¡C
¤ÀÃþ¡GA63F13/00
µo©ú¤H¡G¦õÃï¥
Àu¥ýÅv¤é´Á¡G2007/03/14
Àu¥ýÅv°ê®a/¦a°Ï¡G¤é¥»
Àu¥ýÅv½s¸¹¡G2007-065830
ªþ¹Ï

µo©ú±M§Q½s¸¹¡GI/000745
¥Ó½Ð¤é´Á¡G2008/03/14
¥Ó½Ð¤H¡Gªü¾|µ¦®è¦¡·|ªÀ
°êÄy¡G¤é¥»
¦í§}/¦a§}¡G¤é¥»°êªF¨Ê³£¦¿ªF°Ï¦³©ú3-1-25
¼ÐÃD¡G¹CÀ¸¸Ë¸m¥H¤Î¹CÀ¸¤èªk¡C
ºKn¡G¥»µo©ú´£¨Ñ¤@ºØ¹CÀ¸¸Ë¸m¤Î¹CÀ¸¤èªk¡C¸Ó¹CÀ¸¸Ë¸m¨ã¦³¡G¹ê¬I½ü½L¹CÀ¸ªº½ü½L¸Ë¸m¡]3¡^¡F»P½ü½L¹CÀ¸¨Ã¦æ¦a¹ê¬I§ë¹ô¹CÀ¸ªº¹Ï¹³Åã¥Ü¸Ë¸m¡]10¡^¡F¥i¥H¶i¦æ¹w´ú¦b¦Ü¤Ö¤@¤è¤¤¹ê¬Iªº¹CÀ¸ªºµ²ªG©Ò¹ïÀ³ªº§ëª`¾Þ§@ªº¡B¦b¹Ï¹³Åã¥Ü¸Ë¸m¡]10¡^¤WÅã¥Üªº¾Þ§@³¡¡F¹ï½ü½L¹CÀ¸¥H¤Î§ë¹ô¹CÀ¸¤¤ªº¹CÀ¸°Ê§@¶i¦æ±±¨î¡A¨Ã¥B¹ï»P¨Ó¦Û¾Þ§@³¡ªº§ëª`¾Þ§@¥H¤Î¦¬¯q¬Û¹ïÀ³ªº¹CÀ¸»ùȪº¤ä¥X³B²z¶i¦æ±±¨îªº±±¨î³¡¡C¨Ã¥B¡A¸Ó±±¨î³¡¥H±N½ü½L¹CÀ¸¤¤ªºµ²ªGÀ³¥Î©ó§ë¹ô¹CÀ¸¡B¨Ï§ë¹ô¹CÀ¸ªºµ²ªG¦¨¥ßªº¤è¦¡¶i¦æ±±¨î¡C
¤ÀÃþ¡GA63F5/00, F63F13/00
µo©ú¤H¡G¦N¿A¤@¶®
Àu¥ýÅv¤é´Á¡G2007/03/15
Àu¥ýÅv°ê®a/¦a°Ï¡G¤é¥»
Àu¥ýÅv½s¸¹¡G2007-066559
ªþ¹Ï

µo©ú±M§Q½s¸¹¡GI/000746
¥Ó½Ð¤é´Á¡G2008/03/14
¥Ó½Ð¤H¡Gªü¾|µ¦®è¦¡·|ªÀ
°êÄy¡G¤é¥»
¦í§}/¦a§}¡G¤é¥»°êªF¨Ê³£¦¿ªF°Ï¦³©ú3-1-25
¼ÐÃD¡G¹CÀ¸¸Ë¸m¥H¤Î¹CÀ¸¤èªk¡C
ºKn¡G¥»µo©ú´£¨Ñ¤@ºØ¹CÀ¸¸Ë¸m¤Î¹CÀ¸¤èªk¡C¸Ó¹CÀ¸¸Ë¸m¨ã¦³¡G¹ê¬I½ü½L¹CÀ¸ªº¤½¦@¯¸¡F³q¹Lºôµ¸¡]200¡^»P¤½¦@¯¸¬Û³s¡B»P½ü½L¹CÀ¸¨Ã¦æ¦a¹ê¬I§ë¹ô¹CÀ¸ªºª±®a²×ºÝ¡]5¡^¡F³]¸m¦bª±®a²×ºÝ¡]5¡^¤¤¡B¥i¥H¶i¦æ¹w°¼¦b¤½¦@¯¸¥H¤Î¸Óª±®a²×ºÝ¡]5¡^¤¤ªº¦Ü¤Ö¤@¤è¤¤¹ê¬Iªº¹CÀ¸ªºµ²ªG©Ò¹ïÀ³ªº§ëª`¾Þ§@ªº¾Þ§@³¡¡F¹ï¤½¦@¯¸¥H¤Îª±®a²×ºÝ¡]5¡^¤¤ªº¹CÀ¸°Ê§@¶i¦æ±±¨î¡A¨Ã¥B¹ï¨Ó¦Û¾Þ§@³¡ªº§ëª`¾Þ§@¡B¥H¤Î¦¬¯q©Ò¹ïÀ³ªº¹CÀ¸»ùȪº¤ä¥X³B²z¶i¦æ±±¨îªº¥D±±¨î³¡¡]80¡^¡C¸Ó¥D±±¨î³¡¡]80¡^±N½ü½L¹CÀ¸ªºµ²ªGÀ³¥Î©ó¦Uª±®a²×ºÝªº§ë¹ô¹CÀ¸¤¤¡A¨Ï§ë¹ô¹CÀ¸ªºµ²ªG¦¨¥ß¡C
¤ÀÃþ¡GA63F5/00, A63F13/00
µo©ú¤H¡G¦N¿A¤@¶®
Àu¥ýÅv¤é´Á¡G2007/03/15
Àu¥ýÅv°ê®a/¦a°Ï¡G¤é¥»
Àu¥ýÅv½s¸¹¡G2007-066560
ªþ¹Ï

µo©ú±M§Q½s¸¹¡GI/000747
¥Ó½Ð¤é´Á¡G2008/03/14
¥Ó½Ð¤H¡GAruze Gaming America, Inc.
°êÄy¡G¬ü°ê
¦í§}/¦a§}¡G745 Grier Drive, Las Vegas, Nevada 89119, U.S.A.
¼ÐÃD¡G±µ¨üªþ¥[ª`ª÷ªº¹CÀ¸¤èªk©M¹CÀ¸¾÷¡C
ºKn¡G®Ú¾Ú¥»µo©úªº¯ÈµP¹CÀ¸ªº¹CÀ¸¤èªk¥]¬A¥H¤U¨BÆJ¡G¡]a¡^¤Uª`¤£¦P©ó¥¿±`ª`ª÷ªºªþ¥[ª`ª÷¡F¡]b¡^¦Vª±®aµo©ñ¯ÈµP¡F¡]c¡^¦b®à¤l¤W©ñ¸m¯ÈµP¡F¡]d¡^½T©w¬O§_¤Uª`¤Fªþ¥[ª`ª÷¡F¡]e¡^·í½T©w¤Uª`¤Fªþ¥[ª`ª÷®É¡A¦b®à¤l¤W°l¥[¯ÈµP¡F¥H¤Î¡]f¡^§Q¥Îµo©ñµ¹ª±®aªº¯ÈµP©M©ñ¸m¦b®à¤l¤Wªº¯ÈµP¨Ó§Î¦¨¤@¤âµP¡C
¤ÀÃþ¡GA63F9/24
µo©ú¤H¡GKazuo Okada
Àu¥ýÅv¤é´Á¡G2007/03/16
Àu¥ýÅv°ê®a/¦a°Ï¡G¬ü°ê
Àu¥ýÅv½s¸¹¡G60/907,017
Àu¥ýÅv¤é´Á¡G2007/10/19
Àu¥ýÅv°ê®a/¦a°Ï¡G¬ü°ê
Àu¥ýÅv½s¸¹¡G11/875,080
ªþ¹Ï

µo©ú±M§Q½s¸¹¡GI/000748
¥Ó½Ð¤é´Á¡G2008/03/18
¥Ó½Ð¤H¡GProgressive Gaming International Corporation
°êÄy¡G¬ü°ê
¦í§}/¦a§}¡G920 Pilot Road, Las Vegas, Nevada 89119 United States of America
¼ÐÃD¡G¥Î©óÅçÃÒ½ä³ÕÄw½Xªº¤@ºØ¤èªk©M¸Ë¸m¡C
ºKn¡G¥Î©óÀËÅç¬Y¤@½ä³ÕÄw½Xªº§¹¾ã©Ê©M¥¿½TȪº¤@ºØ¸Ë¸m©M¤èªk¡C¦³ÃöÄw½X¥]¬A¤@ºØ¥Dn©M¤@ºØ²Ä¤G¯ÅªºÃѧO·½¡C¸û²z·Qªº¥DnÄw½XÃѧO¬O¤@ºØ³Q´O¤Jªº®gÀWÃѧO¼Ðñ¡C²Ä¤G¯ÅªºÄw½XÃѧO¥i¥H¬O¤@ºØ¦r¥À¼Æ¦r¦¡§Ç¦C¸¹¡A¤@ºØ±ø§Î½X©Î¨äµ²¦X¡C¦³Ãö½ä³ÕÄw½XÃöÁp¤@ºØ¹q¤l²M³æ¦Ó³Q¥Í²£¡C¸Ó²M³æ´£¨Ñ¦³Ãö½ä³ÕÄw½Xªº¥Í²£¾ú¥v¡A¥B¬OÅçÃҼƾڪº¤@ºØ·½¡C¸Ó¼Æ¾ÚÀH«á³Q¬Y¤@½ä³Õ¾÷ºc¨Ï¥Î¡A¥H»P¦³Ãö½ä³ÕÄw½Xªºª«²z¥~Æ[¤ñ¸û¦ÓÅçÃÒ¦³Ãö½ä³ÕÄw½Xªº±È¡C¥H³oºØ¤èªk¡A°°³y©Î³Q§ïÅܪº½ä³ÕÄw½X¥i¦b§I²{¤§«e³QÃѧO¡C
¤ÀÃþ¡GH04L9/32
µo©ú¤H¡GRolland N. Steil
Àu¥ýÅv¤é´Á¡G2007/03/19
Àu¥ýÅv°ê®a/¦a°Ï¡G¬ü°ê
Àu¥ýÅv½s¸¹¡G60/919,137
ªþ¹Ï

µo©ú±M§Q½s¸¹¡GI/000751
¥Ó½Ð¤é´Á¡G2008/03/19
¥Ó½Ð¤H¡GSean Malek
°êÄy¡G¬ü°ê
¦í§}/¦a§}¡G5982 Moon Garden Street, Las Vegas, Nevada, United States of America
¼ÐÃD¡G¥H°ò©ó²{ª÷¶i¤JÃBªº¼W¥[¥I¥X¦Ó¶i¦æ¾÷·|¹CÀ¸ªº¨t²Î©M¤èªk¡C
ºKn¡G³Q¤½¶}ªº¬O¤@ºØ¥H°ò©ó²{ª÷¶i¤JÃB©Îªì©l§ë¸êÃBªº¼W¥[¥I¥X¦Ó¶i¦æ¾÷·|¹CÀ¸ªº¨t²Î©M¤èªk¡CÅTÀ³ª±®aªºªì©l§ë¸êÃB©Î²{ª÷¶i¤JÃB¡A¥I¥Xªí³Q¿ï¾Ü¡Cªì©l§ë¸ê¶V¤j¡A«h³Q¿ï¾Üªº¥I¥Xªí¹ïª±®a¶V¦³§Q¡C²{¹ê¾÷·|¹CÀ¸¡A¥Ñ¹q¤l¹CÀ¸¾÷¾¹©Î³]³Æ±À°Êªº¾÷·|¤Î°ò©ó¦øªA¾¹ªº¹CÀ¸¥i¨Ï¥Î¥»¤å¤½¶}ªº¤èªk¡Cª±®a¤]¥i¦¬¨ì¼W¥[ªº¼ú«~¡B½Ñ¦p°ò©óªì©l§ë¸êªº¼W¥[ªºª±®aÂI¼Æ¡C¼ú«~©M¬õ§Q¤]¥i³Q´£¨Ñµ¹®ø¯Óªì©l§ë¸ê¶W¹L³Ì§CÃBªºª±®a¡C
¤ÀÃþ¡GA63F9/24
µo©ú¤H¡GSean Malek
Àu¥ýÅv¤é´Á¡G2007/03/19
Àu¥ýÅv°ê®a/¦a°Ï¡G¬ü°ê
Àu¥ýÅv½s¸¹¡G11/688,111
Àu¥ýÅv¤é´Á¡G2008/03/18
Àu¥ýÅv°ê®a/¦a°Ï¡G¬ü°ê
Àu¥ýÅv½s¸¹¡G12/050,768
ªþ¹Ï

µo©ú±M§Q½s¸¹¡GI/000752
¥Ó½Ð¤é´Á¡G2008/03/20
¥Ó½Ð¤H¡GGEOX S.p.A. ¡]Joint Stock Company¡^
°êÄy¡G·N¤j§Q
¦í§}/¦a§}¡GVia Feltrina Centro, 16 31044 Montebelluna, Località Biadene - (Treviso) Italia
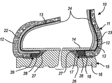
¼ÐÃD¡G¨¾¤ô¤Î³z®ð¤§¦¨«¬¾c¹Ô¤Î»P¦¹¾c¹Ô¤@¨Ö»s³y¤§¾c¤l¡C
ºKn¡G¤@ºØ¤£³z¤ô¤Î³z¤ô»]®ðªº¦¨«¬¾c¹Ô¡A¨ã¦³¥]§t¤£³z¤ô¤Î³z¤ô»]®ð¥B°t¸m©ó¤W³¡°ÏªºÁ¡½¤¡]11¡^¡B©M°t¸m©óÁ¡½¤¡]11¡^¤Uªº¤ä¼µ¼h¡]12¡^¤§µ²ºc¡A¸Ó¤ä¼µ¼h¥Ñ§Ü¤ô¸Ñ§÷®Æ»s¦¨¥B³z®ð©Î¸g¤À´²¬ï¤Õ¡A¥i§@¬°¸}ªº¤ä¼µª«¡A§@¬°¾c¤lªº¦¨«¬°ò©³¡A§@¬°«OÅ@Á¡½¤¡]11¡^¹ï§Ü¶wª«¨ë¤Jªº¤¸¥ó¡A¥B¦b¨Ï¥Î¤¤©Ó¨ü¾c¤l¤¤¤Þ°_ªºÀ³¤O¡F¸ÓÁ¡½¤¡]11¡^©M¤ä¼µ¼h¡]12¡^¬Û¤¬µ²¦X¬°¤@Åé¥H«K»s±o¤Wz¤£³z¤ô¥B¤£·l®`Á¡½¤¡]11¡^³z®ð©Êªº¦¨«¬¾c¹Ô¡C
¤ÀÃþ¡GA43B7/12, A43B13/16
µo©ú¤H¡GMario POLEGATO MORETTI
Àu¥ýÅv¤é´Á¡G2007/03/23
Àu¥ýÅv°ê®a/¦a°Ï¡G·N¤j§Q
Àu¥ýÅv½s¸¹¡GPD2007A000106
ªþ¹Ï

µo©ú±M§Q½s¸¹¡GI/000754
¥Ó½Ð¤é´Á¡G2008/03/24
¥Ó½Ð¤H¡GTHE COCA-COLA COMPANY
°êÄy¡G¬ü°ê
¦í§}/¦a§}¡GOne Coca-Cola Plaza, NW, Atlanta, Georgia 30313, United States of America
¼ÐÃD¡G¥Î©ó§ïÅÜ©@°Ø¿@«×ªº¨t²Î¡C
ºKn¡G¤@ºØ¦³¥iÅÜ¿@«×ªº©@°Ø®e¾¹¡C¸Ó©@°Ø®e¾¹¥]¬A¹ê»Ú¤Wè©Êªº°¼¾À¡A¹ê»Ú¤Wè©Êªº©³³¡©M³Q¸m©ó¨ä¤¤ªº©@°Ø¯»¡C¦h©ó¬ù70%ªº©@°Ø¯»¥i¥]¬A¦b¬ù200¦Ü¬ù300·L¦Ì¤§¶¡ªº²É«×¤À§G¡C©@°Ø¯»¥i¦³¬ù5¦Ü¬ù8§Jªº«¶q¡C
¤ÀÃþ¡GA47J31/00
| µo©ú¤H¡G | Jonathan KIRSCHNER |
| ¡@ | Louis JOSEPH HEINSZ |
Àu¥ýÅv¤é´Á¡G2007/04/02
Àu¥ýÅv°ê®a/¦a°Ï¡G¬ü°ê
Àu¥ýÅv½s¸¹¡G11/695,157
ªþ¹Ï

µo©ú±M§Q½s¸¹¡GI/000757
¥Ó½Ð¤é´Á¡G2008/03/31
¥Ó½Ð¤H¡G¦w¨º}´µÃÄ«~ªÑ¥÷¦³¤½¥q
°êÄy¡G¬ü°ê
¦í§}/¦a§}¡G3115 Merryfield Row, San Diego, California 92121, United States of America
¼ÐÃD¡G5,6-¤G²B-1H-吡Ôr-2-ତƦXª«¡C
ºKn¡G¥»µo©ú¯A¤Î5,6-¤G²B-1H-吡Ôr-2-ତƦXª«¡A¤Î¥Î©óªvÀø¤þ«¬¨xª¢¯f¬r·P¬Vªº§t³oÃþ¤Æ¦Xª«ªºÃĪ«²Õ¦Xª«¡C
¤ÀÃþ¡GA01N43/66, A01N43/64
| µo©ú¤H¡G | Chinh VIET TRAN |
| ¡@ | Frank RUEBSAM |
| ¡@ | Douglas E. MURPHY |
| ¡@ | Peter S. DRAGOVICH |
| ¡@ | Yuefen ZHOU |
| ¡@ | Lijiang CHEN |
| ¡@ | David KUCERA |
| ¡@ | Fritz BLATTER |
| ¡@ | Martin VIERTELHAUS |
Àu¥ýÅv¤é´Á¡G2007/04/03
Àu¥ýÅv°ê®a/¦a°Ï¡G¬ü°ê
Àu¥ýÅv½s¸¹¡G60/907,478
ªþ¹Ï

µo©ú±M§Q½s¸¹¡GI/000758
¥Ó½Ð¤é´Á¡G2008/04/01
¥Ó½Ð¤H¡Gªü¾|µ¦®è¦¡·|ªÀ
°êÄy¡G¤é¥»
¦í§}/¦a§}¡G3-1-25, Ariake, Koto-ku, Tokyo 135-0063 Japan
¼ÐÃD¡G¿ï¾Ü¨ÃÅã¥Ü¯à°÷Àò±o¯S®í¤ä¥Iªº²×ºÝ¸Ë¸mªº¹CÀ¸¾÷¤Î¨äª±ªk¡C
ºKn¡G¥»µo©ú¤½¶}¤F¤@ºØ¿ï¾Ü¨ÃÅã¥Ü¯à°÷Àò±o¯S®í¤ä¥Iªº²×ºÝ¸Ë¸mªº¹CÀ¸¾÷¤Î¨äª±ªk¡C¸Ó¹CÀ¸¾÷¹ï©ó§¡±µ¦¬¯S®í¤ä¥I¥Ø¼Ð¨Ã¼úÀy¤ä¥Iªº¾÷¦ì4¡A°ò©ó¹CÀ¸ªº°õ¦æµ²ªG©M¤Uª`ªº¹CÀ¸È¨Ó¼úÀy°ò¥»¤ä¥I¡C°ò©ó¦UÓ¾÷¦ì4¤¤ªº¤Uª`¨Ó³]¸m¯S®í¤ä¥Iªº¥i¯à¥Ø¼Ð¡C¦pªG³]¸m¤F¥i¯à¥Ø¼Ð¡A«h±N¹Ï¹³¼Æ¾ÚÅã¥Ü¦b¯S®í¤ä¥I²Å¸¹«ü¥Ü¾¹62¤W¥H«ü©w§@¬°¥i¯à¥Ø¼Ðªº¾÷¦ì4¡C±q³o¨Ç¥i¯à¥Ø¼Ð¤¤ÀH¾÷¿ï¾Ü¤@¯S®í¤ä¥I¥Ø¼Ð¡A¨Ã±N¸Ó¯S®í¤ä¥I¥Ø¼ÐÅã¥Ü¦b¼úª÷ÀòĹ«ü¥Ü¾¹63¤W¡A¨Ã¦b¾÷¦ì4¤¤¼úÀy¯S®í¤ä¥I¡C
¤ÀÃþ¡GA63F5/04
µo©ú¤H¡G¤ìÃóӥ°
Àu¥ýÅv¤é´Á¡G2007/04/02
Àu¥ýÅv°ê®a/¦a°Ï¡G¤é¥»
Àu¥ýÅv½s¸¹¡G2007-096352
ªþ¹Ï

µo©ú±M§Q½s¸¹¡GI/000759
¥Ó½Ð¤é´Á¡G2008/04/01
¥Ó½Ð¤H¡Gªü¾|µ¦®è¦¡·|ªÀ
°êÄy¡G¤é¥»
¦í§}/¦a§}¡G¤é¥»°êªF¨Ê³£¦¿ªF°Ï¦³©ú3-1-25
¼ÐÃD¡G¥Î©ó¥]¬A¦hºØ¯ÈµP¹CÀ¸ªº¯ÈµP¹CÀ¸ªº¹CÀ¸¤èªk©M¹CÀ¸¾÷¡C
ºKn¡G¥»µo©ú´£¨Ñ¤F¤@ºØ¥Î©ó¥]¬A¦hºØ¯ÈµP¹CÀ¸ªº¯ÈµP¹CÀ¸ªº¹CÀ¸¤èªk©M¹CÀ¸¾÷¡C¸Ó¤èªk¥]¬A¥H¤U¨BÆJ¡G±µ¨ü¥Î©ó°Ñ»P²Ä¤@¯ÈµP¹CÀ¸ªº²Ä¤@¤Uª`¡F±µ¨ü¥Î©ó°Ñ»P²Ä¤G¯ÈµP¹CÀ¸ªº²Ä¤G¤Uª`¡F´¦¶}«ü©w¼Æ¶qªº¯ÈµP§@¬°¥Î©ó²Ä¤@¯ÈµP¹CÀ¸ªº¯ÈµP¡A¸Ó«ü©w¼Æ¶qªº¯ÈµP¬O±q¥]¬A¨ã¦³²Ä¤@ÃC¦â§@¬°¥Ü¥Xªá¦â©Mµ¥¯Åªºªí±ªºÃC¦âªº¯ÈµP©M¨ã¦³²Ä¤GÃC¦â§@¬°¥Ü¥Xªá¦â©Mµ¥¯Åªºªí±ªºÃC¦âªº¯ÈµPªº¯ÈµP¤¤ÀH¾÷¿ï¾Üªº¡F°ò©ó¹ï²Ä¤@¯ÈµP©Ò´¦¶}ªº¯ÈµPªºµ¥¯Å¡A®Ú¾Ú²Ä¤@¯ÈµP¹CÀ¸ªº³W«h³B²z²Ä¤@¤Uª`¡F¥H¤Î°ò©ó¹ï²Ä¤@¯ÈµP¹CÀ¸©Ò´¦¶}ªº¯ÈµPªºªí±ªºÃC¦â¡A½T©w¥Î©ó²Ä¤G¯ÈµP¹CÀ¸ªº¼úÀyªº²£¥Í¡C
¤ÀÃþ¡GA63F1/00
µo©ú¤H¡G¦N¿A¤@¶®
Àu¥ýÅv¤é´Á¡G2007/04/02
Àu¥ýÅv°ê®a/¦a°Ï¡G¤é¥»
Àu¥ýÅv½s¸¹¡G2007-096672
ªþ¹Ï

µo©ú±M§Q½s¸¹¡GI/000760
¥Ó½Ð¤é´Á¡G2008/04/01
¥Ó½Ð¤H¡Gªü¾|µ¦®è¦¡·|ªÀ
°êÄy¡G¤é¥»
¦í§}/¦a§}¡G3-1-25 Ariake, Koto-ku, Tokyo 135-0063, Japan
¼ÐÃD¡G§ïÅܯS©w¤Uª`Ãþ«¬¤ä¥I²v³]¸mªº½ü½L¹CÀ¸¾÷©M½ü½L¹CÀ¸ªk¡C
ºKn¡G¥»µo©ú´£¨Ñ§ïÅܯS©w¤Uª`Ãþ«¬¤ä¥I²v³]¸mªº½ü½L¹CÀ¸¾÷©M½ü½L¹CÀ¸ªk¡C¦b«Âаõ¦æªº³æ¦ì¹CÀ¸¤¤¡A°õ¦æ¨ä¤¤¦b©Ò¦³¤Uª`Ãþ«¬¤¤ÀH¾÷½T©wn¶i¦æ¤ñ²v¤W½Õªº¤Uª`Ãþ«¬ªº¡§¤ñ²v¤W½Õ½T©w³B²z¡¨¡C·í°õ¦æ¤F¡§¤ñ²v¤W½Õ½T©w³B²z¡¨®É¡A±N¤@өΧó¦hÓ¤Uª`Ãþ«¬½T©w¬°¯S©w¤Uª`Ãþ«¬¡A©Î¨S¦³¤Uª`Ãþ«¬³Q½T©w¬°¯S©w¤Uª`Ãþ«¬¡C·í¦s¦b¦b¡§¤ñ²v¤W½Õ½T©w³B²z¡¨¤¤½T©wªº¯S©w¤Uª`Ãþ«¬®É¡A±N°w¹ï¸Ó¯S©w¤Uª`Ãþ«¬³]¸mªº¤ä¥I²v±q°ò¥»¤ñ²v¤Á´«¨ì°ª©ó¸Ó°ò¥»¤ñ²vªº¯S©w¤ñ²v¡C±q¦Ó¡A·í«ö¦b¡§¤ñ²v¤W½Õ½T©w³B²z¡¨¤¤½T©wªº¯S©w¤Uª`Ãþ«¬¶i¦æ¤Uª`¨Ã«ö¸Ó¤Uª`Ãþ«¬ÀòĹ®É¡An¼úÀyµ¹ª±®aªº¤ä¥I§ó¤j¡C
¤ÀÃþ¡GA63F5/02
µo©ú¤H¡G¤ìÃóӥ°
Àu¥ýÅv¤é´Á¡G2007/04/02
Àu¥ýÅv°ê®a/¦a°Ï¡G¤é¥»
Àu¥ýÅv½s¸¹¡G2007-096213
ªþ¹Ï

µo©ú±M§Q½s¸¹¡GI/000761
¥Ó½Ð¤é´Á¡G2008/04/01
¥Ó½Ð¤H¡Gªü¾|µ¦®è¦¡·|ªÀ
°êÄy¡G¤é¥»
¦í§}/¦a§}¡G3-1-25 Ariake, Koto-ku, Tokyo 135-0063, Japan
¼ÐÃD¡G±q¬P¼Ð°O¶}©l¼úÀy¯S®í¤ä¥Iªº¹CÀ¸¾÷¤Î¨ä¹CÀ¸¤èªk¡C
ºKn¡G¥»µo©ú¯A¤Î±q¬P¼Ð°O¶}©l¼úÀy¯S®í¤ä¥Iªº¹CÀ¸¾÷¤Î¨ä¹CÀ¸¤èªk¡C¹CÀ¸¾÷¥]¬A°õ¦æ¹CÀ¸ªº¹CÀ¸¾÷¥DÅé¡]99¡^¡B¦hӲ׺ݸ˸m¡]101¡^¥H¤Î±±¨î¾¹¡]102¡^¡A¨CÓ©Òz²×ºÝ¸Ë¸m±µ¦¬¹ï©Òz¹CÀ¸ªº¤Uª`¨Ã¼úÀy¤@¤ä¥I¡A©Òz±±¨î¾¹³Q½sµ{¬°¦b©Òz¦hӼаO¤¤±N¤@¯S©w¼Ð°O³]¸m¬°¶}©l¼Ð°O¡]88¡^¡A¨Ï¨CÓ©Òz²×ºÝ¸Ë¸m¦b¨ä¤¤¦sÀx¤Uª`¼Ð°O©M§@¬°¤Uª`¡]101¡^µ¹¥Xªº¹CÀ¸È¡A±q©Òz¦hӼаO¤¤ÀH¾÷¿ï¾Ü¤@ӼаO¡A·í©Òz¤Uª`¼Ð°O¹ïÀ³©ó¿ï¾Üªº¼Ð°O®É°ò©ó§@¬°¤Uª`µ¹¥Xªº©Òz¹CÀ¸È©M¹ïÀ³©ó©Òz¤Uª`¼Ð°Oªº¤ñ²v¼úÀy¤@¤ä¥I¡A¦Ó·í©Òz¿ï¾Üªº¼Ð°O¬°©Òz¬P¼Ð°O¡]88¡^¨Ã¥B©Òz¤Uª`¼Ð°O¬°©Òz¬P¼Ð°O¡]88¡^®É¼úÀy¯SÅv¡C
¤ÀÃþ¡GA63F5/04
µo©ú¤H¡G¤ìÃóӥ°
Àu¥ýÅv¤é´Á¡G2007/04/02
Àu¥ýÅv°ê®a/¦a°Ï¡G¤é¥»
Àu¥ýÅv½s¸¹¡G2007-096451
ªþ¹Ï

µo©ú±M§Q½s¸¹¡GI/000762
¥Ó½Ð¤é´Á¡G2008/04/02
¥Ó½Ð¤H¡Gªü¾|µ¦®è¦¡·|ªÀ
°êÄy¡G¤é¥»
¦í§}/¦a§}¡G¤é¥»°êªF¨Ê³£¦¿ªF°Ï¦³©ú3-1-25
¼ÐÃD¡G»ë¤l¹CÀ¸¸Ë¸m¥H¤Î»ë¤l¹CÀ¸¤èªk¡C
ºKn¡G¥»µo©ú´£¨Ñ»ë¤l¹CÀ¸¸Ë¸m¥H¤Î»ë¤l¹CÀ¸¤èªk¡C¥»µo©úªº»ë¤l¹CÀ¸¸Ë¸m¨ã¦³¡G¹CÀ¸¥x¡A¦hÓ»ë¤l¶i¦æºu°Ê¡A¨Ã¥B¨ã¦³¦hÓ»ë¤l¤¤ªº¤@³¡¤À»ë¤l¶i¤Jªº¥W³B¡F®¶°Ê³¡¡A¨Ï©Òz¹CÀ¸¥x¶i¦æ®¶°Ê¨Ó¨Ï¹CÀ¸¥x¤Wªº»ë¤lºu°Ê¡Fª±®a²×ºÝ¡A¥i¥H¹ï¹CÀ¸¥x°±¤î®¶°Ê¤§«á¦s¦b©ó¹CÀ¸¥x¤Wªº»ë¤lªºÂI¼Æ¡B¥H¤Î¶i¤J¨ì¥W³Bªº»ë¤lªºÂI¼Æ¤¤ªº¦Ü¤Ö¤@¤èªºÂI¼Æ¶i¦æ¹w´ú¨Ó¶i¦æ§ëª`¾Þ§@¡FÂI¼ÆÃѧO³¡¡A¨ä¦b¹CÀ¸¥xªº®¶°Ê°±¤î¤§«á¡A¹ï³B©ó°±¤îª¬ºAªº©Òz¦hÓ»ë¤lªºÂI¼Æ¶i¦æÃѧO¡F¥H¤Î±±¨î³¡¡A¨ä¹ï¹CÀ¸¥xªº®¶°Ê¡B¥H¤Î¹CÀ¸¥x®¶°Êªº°±¤î®É´Á¶i¦æ±±¨î¡A¨Ã¥B¨ü²z¨Ó¦Û¹CÀ¸²×ºÝªº§ëª`¾Þ§@¡A¦Ó¥B°Ñ·Ó¥ÑÂI¼ÆÃѧO³¡½T©wªº»ë¤lªºÂI¼Æ¡A±±¨î»P¦¬¯q¬Û¹ïÀ³ªº¹CÀ¸»ùȪº¤ä¥I³B²z¡C
¤ÀÃþ¡GA63F9/04, A63F13/00
µo©ú¤H¡GÂץгդå
Àu¥ýÅv¤é´Á¡G2007/04/03
Àu¥ýÅv°ê®a/¦a°Ï¡G¤é¥»
Àu¥ýÅv½s¸¹¡G2007-097297
ªþ¹Ï

µo©ú±M§Q½s¸¹¡GI/000763
¥Ó½Ð¤é´Á¡G2008/04/02
¥Ó½Ð¤H¡Gªü¾|µ¦®è¦¡·|ªÀ
°êÄy¡G¤é¥»
¦í§}/¦a§}¡G¤é¥»°êªF¨Ê³£¦¿ªF°Ï¦³©ú3-1-25
¼ÐÃD¡G»ë¤l¹CÀ¸¸Ë¸m¥H¤Î»ë¤l¹CÀ¸¤èªk¡C
ºKn¡G¥»µo©ú´£¨Ñ»ë¤l¹CÀ¸¸Ë¸m¥H¤Î»ë¤l¹CÀ¸¤èªk¡C¥»µo©úªº»ë¤l¹CÀ¸¸Ë¸m¨ã¦³¡G¹CÀ¸¥x¡A¦hÓ»ë¤l¶i¦æºu°Ê¡A¨Ã¥B¨ã¦³¦hÓ»ë¤l¤¤ªº¤@³¡¤À»ë¤l¶i¤Jªº¥W³B¡F®¶°Ê³¡¡A¨Ï©Òz¹CÀ¸¥x®¶°Ê¨Ó¨Ï¹CÀ¸¥x¤Wªº»ë¤lºu°Ê¡Fª±®a²×ºÝ¡A¹ï¹CÀ¸¥x°±¤î®¶°Ê¤§«á¦s¦b©ó¹CÀ¸¥x¤Wªº»ë¤lªºÂI¼Æ¡B¥H¤Î¶i¤J¥W³Bªº»ë¤lªºÂI¼Æ¤¤ªº¦Ü¤Ö¤@¤èªºÂI¼Æ¶i¦æ¹w´ú¡A¥i¥H¶i¦æ§ëª`¾Þ§@¡FÂI¼ÆÃѧO³¡¡A¨ä¦b¹CÀ¸¥xªº®¶°Ê°±¤î¤§«á¡A¹ï³B©ó°±¤îª¬ºAªº©Òz¦hÓ»ë¤lªºÂI¼Æ¶i¦æÃѧO¡F¥H¤Î±±¨î³¡¡A¨ä¨ü²z¨Ó¦Ûª±®a²×ºÝªº§ëª`¾Þ§@¡A¨Ã¥B°Ñ·Ó¥ÑÂI¼ÆÃѧO³¡½T©wªº»ë¤lªºÂI¼Æ¡A±±¨î»P¦¬¯q¬Û¹ïÀ³ªº¹CÀ¸»ùȪº¤ä¥I³B²z¡C¦bª±®a²×ºÝ¤¤¡A·í³W©wªº±ø¥ó¦¨¥ß®É¡A½á»P³q¹LÅX°Ê¾Þ§@«ö¶s¨Ï¹CÀ¸¥x®¶°ÊªºÅv¤O¡C
¤ÀÃþ¡GA63F9/04, A63F13/00
µo©ú¤H¡GÂץгդå
Àu¥ýÅv¤é´Á¡G2007/04/03
Àu¥ýÅv°ê®a/¦a°Ï¡G¤é¥»
Àu¥ýÅv½s¸¹¡G2007-097298
ªþ¹Ï

µo©ú±M§Q½s¸¹¡GI/000765
¥Ó½Ð¤é´Á¡G2008/04/03
¥Ó½Ð¤H¡GLINDA MÜLLER
°êÄy¡G·ç¤h
¦í§}/¦a§}¡GCH-6939 Arosio - Alto Malcantone, Suíça
¼ÐÃD¡G»s³y¤@¨¾¤ô¤Î¥i³z®ð¾c¤§¤èªk¤Î¥Ñ¦¹¤èªk»s±o¤§¾c¡C
ºKn¡G¤@ºØ¥Î©ó»s³y¤@¨¾¤ô¥B¥i³z®ð¾c¤§¤èªk¡A¨ä¥Ñ¥H¤U¨BÆJºc¦¨¡G»s³Æ¤@¾c¤§¤@¾c±¡]12¡^ªº¥b»s¦¨²Õ¥ó¡A¨Ï±o¨ä¥i¸g°t¸m¥H®i¶}¦b¤@¥©Zªí±©Î¦b¨âÓ¬Û¤¬¹ï¸m¤§ªí±¤W¡A±µµÛ¦b¤@¾c±¡]12¡^¤§¸Ó¥b»s¦¨²Õ¥óªº¤º³¡³¡¤À¤W°t¸m¤@¨¾¤ô¥B¥i³z®ð¹j½¤¡]13¡^¡A±µµÛ»s³Æ¥Î©ó¦b¤@¾c±¡]12¡^¤§¸Ó¥b»s¦¨²Õ¥ó»P¸Ó¹j½¤¡]13¡^¤§¶¡¶i¦æÂH¦X¥H«K¤£·|§í¨î¸Ë°t¥ó¤§³z®ð©Êªººc¥ó¡C±µµÛ¡A»s³Æ¤@©Î¦hӧΪ¬¡A¨ä¤jÅ饩Z¦ý¯à°÷¥H¬Û¹ï©óÁ_±µ±µÁ_¤Îºc¦¨¤@¾c±¡]12¡^¤§¸Ó¥b»s¦¨²Õ¥ó¤§¥~³¡ªí±¤§Å|¸m³¡¤Àªº¤£¦P«p«×¤¬¸É¤§¤è¦¡¨Ó¹ï¨ä¦Û¨©w§Î¡A¥B±µµÛ±N¸Ó¹j½¤¡]13¡^½¢±µ¦Ü¤@¾c±¡]12¡^¤§¸Ó¥b»s§@²Õ¥ó¤W¡A¨ä¤¤¸Ó¥b»s¦¨²Õ¥ó¤§¥~³¡³¡¤À¸g°t¸m¥H¨Ï±o¸Ó¥~³¡ªí±¸m©ó¸Ó§Îª¬¤W¡C±µµÛ¡AÂǥѨϸӾc±¡]12¡^§e²{¥¿½T¤§¤Tºû²ÕºA¥B¨Ï¸Ó¾c±¡]12¡^»P¤@¤º©³¡]14¡^µ²¦X¨Ó§¹¦¨¸Ó¾c±¡]12¡^¡A¥B³Ì«á¨Ï¤@¾c©³¡]16¡^»P¸Ó¾c±¡]12¡^¤Î¸Ó¤º©³¡]14¡^µ²¦X¡C
¤ÀÃþ¡GA43B7/12, A43B13/16
µo©ú¤H¡GLinda Müller
Àu¥ýÅv¤é´Á¡G2007/04/03
Àu¥ýÅv°ê®a/¦a°Ï¡G·ç¤h
Àu¥ýÅv½s¸¹¡G00538/07
ªþ¹Ï

µo©ú±M§Q½s¸¹¡GI/000766
¥Ó½Ð¤é´Á¡G2008/04/11
¥Ó½Ð¤H¡GAruze Gaming America, Inc.
°êÄy¡G¬ü°ê
¦í§}/¦a§}¡G745 Grier Drive, Las Vegas, Nevada 89119, U.S.A.
¼ÐÃD¡G§ë¹ô¾÷¤Î¹CÀ¸±±¨î¤èªk¡C
ºKn¡G¥»µo©úªº§ë¹ô¾÷¥]¬A¡G²Å¸¹Åã¥Ü¸Ë¸m¡A¨ä¯à°÷«·s±Æ¦C¦hӲŸ¹¡F¥H¤Î±±¨î¾¹¡A¸Ó±±¨î¾¹³Q½sµ{¬°°õ¦æ¥H¤U³B²z¡G¡]A¡^°õ¦æ¹CÀ¸¡A¦b¸Ó¹CÀ¸¤¤¡A¦b¤Uª`¤F¦b¼Æ¥Ø¤Wµ¥©ó©Î¤p©ó¹w©wªº³Ì¤j¤Uª`¼Æ¥Øªº¹CÀ¸´C¤¶¤§«á¡A³q¹L²Å¸¹Åã¥Ü¸Ë¸m«·s±Æ¦C¦hӲŸ¹¡A¨Ã¤ä¥I¦b¼Æ¥Ø¤W»P±Æ¦Cªº²Å¸¹©Î²Õ¦X¬ÛÀ³ªº¹CÀ¸´C¤¶¡F¡]B¡^¦b§ë¤J¹w©w¼Æ¥Øªº¹CÀ¸´C¤¶ªº±ø¥ó¤U¡A±N¼Ò¦¡±q«D«OÀI¼Ò¦¡Âà´«¨ì«OÀI¼Ò¦¡¡F¡]C¡^¦b«OÀI¼Ò¦¡¤¤¡Apºâ¦bÂà´«¨ì«OÀI¼Ò¦¡¤§«á¶i¦æªº¹CÀ¸ªº¦¸¼Æ¡F¡]D¡^·í¦b³B²z¡]C¡^¤¤pºâªº¹CÀ¸ªº¦¸¼Æ¹F¨ì¯S©w¦¸¼Æ®É¡A¤ä¥I¹w©w¼Æ¥Øªº¹CÀ¸´C¤¶¡F¥H¤Î¡]E¡^·í¨Ïª±®a¯à°÷Â_©w¹CÀ¸¤w¸gµ²§ôªº¹CÀ¸µ²§ô±ø¥ó¦¨¥ß®É¡A±N¦b³B²z¡]C¡^¤¤pºâªº¹CÀ¸ªº¦¸¼Æ²M¹s¡A¨Ã¦P®É±N¼Ò¦¡±q«OÀI¼Ò¦¡Âà´«¨ì«D«OÀI¼Ò¦¡¡C
¤ÀÃþ¡GA63F9/24
µo©ú¤H¡GKazuo Okada
Àu¥ýÅv¤é´Á¡G2007/04/13
Àu¥ýÅv°ê®a/¦a°Ï¡G¬ü°ê
Àu¥ýÅv½s¸¹¡G60/907,674
Àu¥ýÅv¤é´Á¡G2007/10/19
Àu¥ýÅv°ê®a/¦a°Ï¡G¬ü°ê
Àu¥ýÅv½s¸¹¡G11/875,795
ªþ¹Ï

µo©ú±M§Q½s¸¹¡GI/000767
¥Ó½Ð¤é´Á¡G2008/04/11
¥Ó½Ð¤H¡GAruze Gaming America, Inc.
°êÄy¡G¬ü°ê
¦í§}/¦a§}¡G745 Grier Drive, Las Vegas, Nevada 89119, U.S.A.
¼ÐÃD¡G§ë¹ô¾÷¤Î¹CÀ¸±±¨î¤èªk¡C
ºKn¡G¥»µo©úªº§ë¹ô¾÷¥]¬A¡G²Å¸¹Åã¥Ü¸Ë¸m¡A¨ä¯à°÷«·s±Æ¦C¦hӲŸ¹¡F¥H¤Î±±¨î¾¹¡A¸Ó±±¨î¾¹³Q½sµ{¬°°õ¦æ¥H¤U³B²z¡G¡]A¡^°õ¦æ¹CÀ¸¡A¦b¸Ó¹CÀ¸¤¤¡A¦b¤Uª`¤F¦b¼Æ¥Ø¤Wµ¥©ó©Î¤p©ó¹w©wªº³Ì¤j¤Uª`¼Æ¥Øªº¹CÀ¸´C¤¶¤§«á¡A³q¹L²Å¸¹Åã¥Ü¸Ë¸m«·s±Æ¦C¦hӲŸ¹¡A¨Ã¤ä¥I¦b¼Æ¥Ø¤W»P±Æ¦Cªº²Å¸¹©Î²Õ¦X¬ÛÀ³ªº¹CÀ¸´C¤¶¡F¡]B¡^¦b§ë¤J¹w©w¼Æ¥Øªº¹CÀ¸´C¤¶ªº±ø¥ó¤U¡A±N¼Ò¦¡±q«D«OÀI¼Ò¦¡Âà´«¨ì«OÀI¼Ò¦¡¡F¡]C¡^¦b«OÀI¼Ò¦¡¤¤¡Apºâ¦bÂà´«¨ì«OÀI¼Ò¦¡¤§«á¶i¦æªº¹CÀ¸ªº¦¸¼Æ¡F¡]D¡^·í¦b³B²z¡]C¡^¤¤pºâªº¹CÀ¸ªº¦¸¼Æ¹F¨ì¯S©w¦¸¼Æ®É¡A¤ä¥I¹w©w¼Æ¥Øªº¹CÀ¸´C¤¶¡F¡]E¡^·í¨Ïª±®a¯à°÷Â_©w¹CÀ¸¤w¸gµ²§ôªº¹CÀ¸µ²§ô±ø¥ó¦¨¥ß®É¡A±N¦b³B²z¡]C¡^¤¤pºâªº¹CÀ¸ªº¦¸¼Æ²M¹s¡A¨Ã¥BÁÙ±N¼Ò¦¡±q«OÀI¼Ò¦¡Âà´«¨ì«D«OÀI¼Ò¦¡¡F¥H¤Î¡]F¡^¨Ï¿é¥X¸Ë¸m¿é¥XÁnµ©Î¹Ï¹³¡A¸ÓÁnµ©Î¹Ï¹³¦Vª±®a³qª¾¡G¦b°õ¦æ³B²z¡]E¡^®É¡A±N¦b³B²z¡]C¡^¤¤pºâªº¹CÀ¸ªº¦¸¼Æ²M¹s¡A¨Ã¥B¼Ò¦¡¤w¸g±q«OÀI¼Ò¦¡Âà´«¨ì«D«OÀI¼Ò¦¡¡C
¤ÀÃþ¡GA63F9/24
µo©ú¤H¡GKazuo Okada
Àu¥ýÅv¤é´Á¡G2007/04/13
Àu¥ýÅv°ê®a/¦a°Ï¡G¬ü°ê
Àu¥ýÅv½s¸¹¡G60/907,686
Àu¥ýÅv¤é´Á¡G2007/10/22
Àu¥ýÅv°ê®a/¦a°Ï¡G¬ü°ê
Àu¥ýÅv½s¸¹¡G11/876,031
ªþ¹Ï

µo©ú±M§Q½s¸¹¡GI/000768
¥Ó½Ð¤é´Á¡G2008/04/11
¥Ó½Ð¤H¡GAruze Gaming America, Inc.
°êÄy¡G¬ü°ê
¦í§}/¦a§}¡G745 Grier Drive, Las Vegas, Nevada 89119, U.S.A.
¼ÐÃD¡G§ë¹ô¾÷©M¹CÀ¸ªº±±¨î¤èªk¡C
ºKn¡G¥»µo©úªº§ë¹ô¾÷¡A¥]¬A¡G¯à«·s±Æ¦C¦hӲŸ¹ªº²Å¸¹Åã¥Ü³]³Æ¡F¥H¤Î±±¨î¾¹¡A¸Ó±±¨î¾¹³Q½sµ{¨Ó°õ¦æ¥H¤U³B²z¡G¡]A¡^°õ¦æ¹CÀ¸¡A¦b¸Ó¹CÀ¸¤¤¡A¦b¤Uª`¤F¼Æ¥Ø¤Wµ¥©ó©Î¤p©ó¹w¥ý³]©wªº³Ì¤j¤Uª`¼Æ¥Øªº¹CÀ¸´C¤¶«á¡A³q¹L²Å¸¹Åã¥Ü³]³Æ«·s±Æ¦C¦hӲŸ¹¡A¨Ã¥B¤ä¥I¼Æ¥Ø¤W»P«·s±Æ¦Cªº²Å¸¹©Î¨ä²Õ¦X¬Û¹ïÀ³ªº¹CÀ¸´C¤¶¡F¡]B¡^¦b§ë¤J¹w©w¼Æ¥Øªº¹CÀ¸´C¤¶ªº±ø¥ó¤U¡A±N¼Ò¦¡±q«D«OÀI¼Ò¦¡Âà´«¨ì«OÀI¼Ò¦¡¡F¡]C¡^¦b«OÀI¼Ò¦¡¤¤¡Ap¼Æ¦bÂà´«¨ì«OÀI¼Ò¦¡¤§«á¶i¦æªº¹CÀ¸¦¸¼Æ¡F¡]D¡^·í¦b³B²z¡]C¡^¤¤p¼Æªº¹CÀ¸¦¸¼Æ¹F¨ì¯S©w¦¸¼Æ®É¡A¤ä¥I¹w©w¼Æ¥Øªº¹CÀ¸´C¤¶¡F¡]E¡^½T©w¦b³B²z¡]C¡^¤¤p¼Æªº¹CÀ¸¦¸¼Æ¹F¨ì³qª¾³]©wȤ§«á¦b¹F¨ì¯S©w¦¸¼Æ¤§«e°õ¦æªº¹CÀ¸´Á¶¡¡A¬O§_¤w¸g«Ø¥ß¹w©w¼úÀy¡A³qª¾³]©wȤñ¯S©w¦¸¼Æ¤p¹w©wÈ¡F¥H¤Î¡]F¡^·í¦b³B²z¡]E¡^¤¤½T©w«Ø¥ß¼úÀy®É¡A¦b¤ä¥I³B²z¡]D¡^¤¤ªº¹CÀ¸´C¤¶®É¡A°ò©ó¼úÀy°õ¦æ¹CÀ¸´C¤¶ªº¤ä¥I¡C
¤ÀÃþ¡GA63F9/24
µo©ú¤H¡GKazuo Okada
Àu¥ýÅv¤é´Á¡G2007/04/13
Àu¥ýÅv°ê®a/¦a°Ï¡G¬ü°ê
Àu¥ýÅv½s¸¹¡G60/907,673
Àu¥ýÅv¤é´Á¡G2007/10/22
Àu¥ýÅv°ê®a/¦a°Ï¡G¬ü°ê
Àu¥ýÅv½s¸¹¡G11/876,060
ªþ¹Ï

µo©ú±M§Q½s¸¹¡GI/000769
¥Ó½Ð¤é´Á¡G2008/04/11
¥Ó½Ð¤H¡GAruze Corp.
°êÄy¡G¤é¥»
¦í§}/¦a§}¡G3-1-25, Ariake, Koto-Ku, Tokyo 135-0063, Japan
¼ÐÃD¡G¹CÀ¸¾÷©M¹CÀ¸±±¨î¤èªk¡C
ºKn¡G®Ú¾Ú¥»µo©úªº¹CÀ¸¾÷¥]¬A±±¨î¾¹¡A¨ä³Q½sµ{¥H¶i¦æ¥H¤U³B²z¡G¡]A¡^°õ¦æ¦bBET¹CÀ¸´C¤¶«áº¡¨¬¹w©w±ø¥ó®É¤ä¥I¹CÀ¸´C¤¶ªº¹CÀ¸¡A¡]B¡^¦b¤w§ë¤J¹CÀ¸´C¤¶ªº±ø¥ó¤U¡A¨Ï¼Ò¦¡±q«D«OÀI¼Ò¦¡Âà´«¦Ü«OÀI¼Ò¦¡¡A¡]C¡^²Ö¿n¦a¦sÀxBET©M¡þ©Î§ë¤Jªº¹CÀ¸´C¤¶¡A¡]D¡^¹ï¦bÂà´«¦Ü©Òz«OÀI¼Ò¦¡«á°õ¦æªº¹CÀ¸ªº¦¸¼Æ¶i¦æp¼Æ¡A¡]E¡^·í¹CÀ¸¦¸¼Æ¹F¨ì»P§ë¤Jªº¹CÀ¸´C¤¶ªº¼Æ¥Ø¬Û¹ïÀ³ªº¹CÀ¸¦¸¼Æ®É¡AÂà´«¦Ü©Òz«D«OÀI¼Ò¦¡¡A©M¡]F¡^·í¹CÀ¸¦¸¼Æ¹F¨ì¯S©w¦¸¼Æ®É¡A¤ä¥I²Ö¿n¦sÀxªº¹CÀ¸´C¤¶¡C
¤ÀÃþ¡GA63F13/00, A63F9/24,
| µo©ú¤H¡G | Jun Fujimoto |
| ¡@ | Yukinori Inamura |
Àu¥ýÅv¤é´Á¡G2007/04/13
Àu¥ýÅv°ê®a/¦a°Ï¡G¬ü°ê
Àu¥ýÅv½s¸¹¡G60/907,687
Àu¥ýÅv¤é´Á¡G2007/10/31
Àu¥ýÅv°ê®a/¦a°Ï¡G¬ü°ê
Àu¥ýÅv½s¸¹¡G11/932,038
ªþ¹Ï

µo©ú±M§Q½s¸¹¡GI/000770
¥Ó½Ð¤é´Á¡G2008/04/11
¥Ó½Ð¤H¡GAruze Corp.
°êÄy¡G¤é¥»
¦í§}/¦a§}¡G3-1-25, Ariake, Koto-Ku, Tokyo 135-0063, Japan
¼ÐÃD¡G¹CÀ¸¾÷©M¹CÀ¸±±¨î¤èªk¡C
ºKn¡G¨Ì·Ó¥»µo©úªº¹CÀ¸¾÷¥]¬A±±¨î¾¹¡A³Q½sµ{¨Ó°õ¦æ¥H¤U³B²z¡G¡]A¡^·í¦b¼Æ¥Ø¤W¹ïÀ³©ó¹w©w³Ì¤p¤Uª`³æ¦ìªº¦ÛµM¼Æ¿ªº¹CÀ¸´C¤¶³Q¤Uª`©ó¦hÓ¤Uª`¹ï¶H¤W®É¡A¨ä¤¤¦hÓ¤Uª`¹ï¶Hªº¹CÀ¸µ²ªG¬O©¼¦¹¿W¥ß¦a½T©wªº¡A®Ú¾Ú¹CÀ¸´C¤¶¤Uª`¶q©M©Òz¤Uª`¹ï¶Hªº¼Æ¥Ø¨Ó½T©w¨CÓ©Òz¤Uª`¹ï¶H¤Wªº¤Uª`È¡A¥H¤Î½T©w©Òz¦U¦Û¤Uª`¹ï¶Hªº©Òz¹CÀ¸µ²ªG¡A®Ú¾Ú©Òz¤Uª`ȤΨä©Òz¹CÀ¸µ²ªG¨Ó¬°¨CÓ¤Uª`¹ï¶H½T©w¤ä¥I¶q¡A¨Ã¥B³q¹L¹ï¤ä¥I¶q¶i¦æÁ`p¨Ó½T©w³æÓ³æ¦ì¹CÀ¸ªº¹w´Á¤ä¥I¶q¡F¡]B¡^½T©w³q¹L±N¦b©Òz³B²z¡]A¡^¤¤©Ò½T©wªº³æÓ³æ¦ì¹CÀ¸ªº¹w´Á¤ä¥I¶q°£¥H©Òz³Ì¤p¤Uª`³æ¦ì©ÒÀò±oªº¤p¼ÆÈ¡F¡]C¡^¦Vª±®a¤ä¥I³q¹L±q¦b©Òz³B²z¡]A¡^¤¤©Ò½T©wªº³æÓ³æ¦ì¹CÀ¸ªº¹w´Á¤ä¥I¶q¤¤´î¥h¦b©Òz³B²z¡]B¡^¤¤©Ò½T©wªº¤p¼ÆÈ¦Ó½T©wªº¶qªº¹CÀ¸´C¤¶¡A§@¬°¹ï³æÓ³æ¦ì¹CÀ¸ªº¼úÀy¡F¡]D¡^¹ï¤w¸g°õ¦æªº©Òz³æ¦ì¹CÀ¸ªº¼Æ¥Ø¶i¦æp¼Æ¡F¨Ã¥B¡]E¡^·í¦b©Òz³B²z¡]D¡^¤¤©Òp¼Æªº³æ¦ì¹CÀ¸ªº¼Æ¥Ø¹F¨ì¯S©w¼Æ¥Ø®É¡A¤ä¥I¹w©w¶qªº¹CÀ¸´C¤¶¡C
¤ÀÃþ¡GA63F9/24
| µo©ú¤H¡G | Jun Fujimoto |
| ¡@ | Yukinori Inamura |
Àu¥ýÅv¤é´Á¡G2007/04/13
Àu¥ýÅv°ê®a/¦a°Ï¡G¬ü°ê
Àu¥ýÅv½s¸¹¡G60/907,671
Àu¥ýÅv¤é´Á¡G2007/10/30
Àu¥ýÅv°ê®a/¦a°Ï¡G¬ü°ê
Àu¥ýÅv½s¸¹¡G11/929,158
ªþ¹Ï

µo©ú±M§Q½s¸¹¡GI/000771
¥Ó½Ð¤é´Á¡G2008/04/11
¥Ó½Ð¤H¡GAruze Corp.
°êÄy¡G¤é¥»
¦í§}/¦a§}¡G3-1-25, Ariake, Koto-Ku, Tokyo 135-0063, Japan
¼ÐÃD¡G¹CÀ¸¾÷©M¹CÀ¸ªº±±¨î¤èªk¡C
ºKn¡G¥»µo©ú´£¨Ñ¤F¤@ºØ§ë¹ô¾÷¡A¥]¬A¡G±±¨î¾¹¡A±±¨î¾¹³Q½sµ{¥H°õ¦æ¥H¤U³B²z¡G¡]A¡^·í¹ï¦hÓ¤Uª`¹ï¶H¤Uª`»P¹w¥ý½T©wªº³Ì¤p¤Uª`³æ¦ìªº¦ÛµM¼Æ¿¬Û¹ïÀ³ªº¼ÆÈªº¹CÀ¸´C¤¶®É¡A¨ä¤¤¦hÓ¤Uª`¹ï¶Hªº¹CÀ¸µ²ªG¬O¤À§O½T©wªº¡A½T©w¥H¤U¤º®e¡G®Ú¾Ú¤Uª`¹CÀ¸´C¤¶ªºÈ©M¤Uª`¹ï¶Hªº¼Æ¥Ø¨Ó½T©w¹ï¨CÓ¤Uª`¹ï¶Hªº¤Uª`È¡A½T©w¨CÓ¤Uª`¹ï¶Hªº¹CÀ¸µ²ªG¡A©M®Ú¾Ú¤Uª`È©M¹CÀ¸µ²ªG¨Ó½T©w¨CÓ¤Uª`¹ï¶Hªº¤ä¥IÈ¡A¨Ã²Õ¦X¤ä¥IÈ¥H½T©w³æÓ³æ¦ì¹CÀ¸ªº¦ôp¤ä¥IÈ¡F¡]B¡^½T©w³q¹L§â¦b³B²z¡]A¡^¤¤©Ò½T©wªº³æÓ³æ¦ì¹CÀ¸ªº¦ôp¤ä¥IȰ£¥H³Ì¤p¤Uª`³æ¦ì¦ÓÀò±oªº¹sÀYÈ¡F¡]C¡^¦Vª±®a¤ä¥I³q¹L±q³B²z¡]A¡^©Ò½T©wªº³æÓ³æ¦ì¹CÀ¸ªº¦ôp¤ä¥IȤ¤´î¥h³B²z¡]B¡^¤¤©Ò½T©wªº¹sÀYȦÓÀò±oªº¼ÆÈªº¹CÀ¸´C¤¶¡A§@¬°³æÓ³æ¦ì¹CÀ¸ªº¼ú½à¡F¡]D¡^²Öp¦a²Ö¥[¦b³æ¦ì¹CÀ¸¤¤¤Uª`ªº¹CÀ¸´C¤¶©M¡þ©Î¹ïÀ³©ó¦b³B²z¡]B¡^¤¤©Ò½T©wªº¹sÀYȪº¹CÀ¸´C¤¶¡F¡]E¡^¹ï¦b³æ¦ì¹CÀ¸¤¤¤Uª`ªº¹CÀ¸´C¤¶ªº¼Æ¥Ø¶i¦æp¼Æ¡F¥H¤Î¡]F¡^·í¦b³B²z¡]E¡^¤¤p¼Æªº¹CÀ¸´C¤¶ªº¼Æ¥Ø¤w¸g¹F¨ì¯S©w¼Æ¥Ø®É¡A¤ä¥I¦b³B²z¡]D¡^¤¤²Öp¦a²Ö¥[ªº¹CÀ¸´C¤¶¡C
¤ÀÃþ¡GA63F9/24
| µo©ú¤H¡G | Jun Fujimoto |
| ¡@ | Yukinori Inamura |
Àu¥ýÅv¤é´Á¡G2007/04/13
Àu¥ýÅv°ê®a/¦a°Ï¡G¬ü°ê
Àu¥ýÅv½s¸¹¡G60/907,672
Àu¥ýÅv¤é´Á¡G2007/10/31
Àu¥ýÅv°ê®a/¦a°Ï¡G¬ü°ê
Àu¥ýÅv½s¸¹¡G11/932,816
ªþ¹Ï

µo©ú±M§Q½s¸¹¡GI/000772
¥Ó½Ð¤é´Á¡G2008/04/11
¥Ó½Ð¤H¡GAruze Corp.
°êÄy¡G¤é¥»
¦í§}/¦a§}¡G3-1-25, Ariake, Koto-Ku, Tokyo 135-0063, Japan
¼ÐÃD¡G¹CÀ¸¾÷©M¹CÀ¸ªº±±¨î¤èªk¡C
ºKn¡G¥»µo©úªº¤@ºØ¹CÀ¸¾÷¥]¬A¡G±±¨î¾¹¡A³Q½sµ{¥H°õ¦æ¥H¤U³B²z¡F¡]A¡^·í¦b¼Æ¥Ø¤W»P¹w©w³Ì¤p¤Uª`³æ¦ìªº¦ÛµM¼Æ¿¼Æ¬Û¹ïÀ³ªº¹CÀ¸´C¤¶³Q¤Uª`©ó¦hÓ¤Uª`¹ï¶H®É¡A¨ä¤¤¦hÓ¤Uª`¹ï¶Hªº¹CÀ¸µ²ªG¬O©¼¦¹¿W¥ß¦a½T©wªº¡A®Ú¾Ú¹CÀ¸´C¤¶¤Uª`¶q©M¤Uª`¹ï¶Hªº¼Æ¥Ø¨Ó½T©w¹ï¨CÓ¤Uª`¹ï¶Hªº¤Uª`È¡A¨Ã½T©w¦U¦Û¤Uª`¹ï¶Hªº¹CÀ¸µ²ªG¡A®Ú¾Ú¤Uª`ȤΨä¹CÀ¸µ²ªG¨Ó½T©w¹ï¨CÓ¤Uª`¹ï¶Hªº¤ä¥I¶q¡A¥H¤Î³q¹L±N¤ä¥I¶q¶i¦æ¦Xp½T©w¹ï³æÓ³æ¦ì¹CÀ¸ªº¹w´Á¤ä¥I¶q¡F¡]B¡^½T©w³q¹L±N¦b³B²z¡]A¡^¤¤½T©wªº¹ï³æÓ³æ¦ì¹CÀ¸ªº¹w´Á¤ä¥I¶q°£¥H³Ì¤p¤Uª`³æ¦ì©ÒÀò±oªº¹sÀYÈ¡FC¡^¦Vª±®a¤ä¥I³q¹L±q¦b³B²z¡]A¡^¤¤½T©wªº¹ï³æÓ³æ¦ì¹CÀ¸ªº¹w´Á¤ä¥I¶q¤¤´î¤Ö¦b³B²z¡]B¡^¤¤½T©wªº¹sÀYȦӽT©wªº¶q¡A§@¬°¹ï³æÓ³æ¦ì¹CÀ¸ªº¤ä¥I¶q¡F¡]D¡^²Ö¿n¼W¥[¦b³B²z¡]B¡^¤¤½T©wªº¹sÀYÈ¡F¡]E¡^·í¦b³B²z¡]D¡^¤¤²Ö¿n¼W¥[ªº¹sÀYȩΪ̦b³B²z¡]D¡^¤¤²Ö¿n¼W¥[¹sÀYȪº³æ¦ì¹CÀ¸¼Æ¥Ø¤w¸g¹F¨ì¹w©wȮɡA±N¼Ò¦¡±q«D«OÀI¼Ò¦¡Âà´«¨ì«OÀI¼Ò¦¡¡F¥H¤Î¡]F¡^·í¦b«OÀI¼Ò¦¡¤¤«Ø¥ß¤F¹w©wIJµo±ø¥ó®É¡A°õ¦æ¹ïª±®a¬Û¹ï¦³§Qªº¼úÀy¹CÀ¸¡C
¤ÀÃþ¡GA63F9/24
| µo©ú¤H¡G | Jun Fujimoto |
| ¡@ | Yukinori Inamura |
Àu¥ýÅv¤é´Á¡G2007/04/13
Àu¥ýÅv°ê®a/¦a°Ï¡G¬ü°ê
Àu¥ýÅv½s¸¹¡G60/907,669
Àu¥ýÅv¤é´Á¡G2007/10/30
Àu¥ýÅv°ê®a/¦a°Ï¡G¬ü°ê
Àu¥ýÅv½s¸¹¡G11/929,389
ªþ¹Ï

µo©ú±M§Q½s¸¹¡GI/000773
¥Ó½Ð¤é´Á¡G2008/04/11
¥Ó½Ð¤H¡GAruze Corp.
°êÄy¡G¤é¥»
¦í§}/¦a§}¡G3-1-25, Ariake, Koto-Ku, Tokyo 135-0063, Japan
¼ÐÃD¡G¹CÀ¸¾÷©M¹CÀ¸ªº±±¨î¤èªk¡C
ºKn¡G¥»µo©úªº¹CÀ¸¾÷¥]¬A¡G±±¨î¾¹¡A¨ä³Q½sµ{¥H°õ¦æ¥H¤U³B²z¡G¡]A¡^·í»P¹w©w³Ì¤p¤Uª`³æ¦ìªº¦ÛµM¼Æ¿¬Û¹ïÀ³ªº¼Æ¶qªº¹CÀ¸´C¤¶³Q¤Uª`©ó¦hÓ¤Uª`¹ï¶H®É¡A¨ä¤¤¸Ó¦hÓ¤Uª`¹ï¶Hªº¹CÀ¸µ²ªG¬O©¼¦¹¿W¥ß¦a½T©wªº¡A°ò©ó¹CÀ¸´C¤¶ªº¤Uª`¶q©M¤Uª`¹ï¶Hªº¼Æ¥Ø¨Ó½T©w¹ï¨CÓ¤Uª`¹ï¶Hªº¤Uª`È¡A¨Ã½T©w¦UÓ¤Uª`¹ï¶Hªº¹CÀ¸µ²ªG¡A°ò©ó¤Uª`ȤΨä¹CÀ¸µ²ªG¨Ó½T©w¨CÓ¤Uª`¹ï¶Hªº¤ä¥IÃB¡A¨Ã³q¹L±N¤ä¥IÃB¬Û¥[¨Ó½T©w¤@Ó³æ¦ì¹CÀ¸ªº¹w´Á¤ä¥IÃB¡F¡]B¡^½T©w³q¹L±N³B²z¡]A¡^¤¤©Ò½T©wªº¤@Ó³æ¦ì¹CÀ¸ªº¹w´Á¤ä¥IÃB°£¥H³Ì¤p¤Uª`³æ¦ì¦ÓÀò±oªº¹sÀYÈ¡F¡]C¡^¦Vª±®a¤ä¥I³q¹L±q³B²z¡]A¡^¤¤©Ò½T©wªº¤@Ó³æ¦ì¹CÀ¸ªº¹w´Á¤ä¥IÃB´î¥h³B²z¡]B¡^¤¤©Ò½T©wªº¹sÀYȦӽT©wªº¼Æ¶q¡A§@¬°¤@Ó³æ¦ì¹CÀ¸ªº¤ä¥IÃB¡F¡]D¡^±N³B²z¡]B¡^¤¤©Ò½T©wªº¹sÀYȲ֥[°_¨Ó¡F¡]E¡^¦pªG³B²z¡]D¡^¤¤©Ò²Ö¥[ªº¹sÀYȩΪ̳B²z¡]D¡^¤¤¹ï¨ä²£¥Íªº¹sÀYȶi¦æ¤F²Ö¥[ªº³æ¦ì¹CÀ¸ªº¼Æ¥Ø¤w¸g¹F¨ì¹w©wÈ¡A¨º»ò±N¼Ò¦¡±q«D«OÀI¼Ò¦¡Âà´«¨ì«OÀI¼Ò¦¡¡F¥H¤Î¡]F¡^·í¦b¤Wz«OÀI¼Ò¦¡¤¤«Ø¥ß¤F¹w©wIJµo±ø¥ó®É¡A°õ¦æ§Y¨Ïª±®a¨S¦³¹ï¨ä¤Uª`¹CÀ¸´C¤¶¤]³Q°õ¦æªº§K¶O¹CÀ¸¡C
¤ÀÃþ¡GA63F9/24
| µo©ú¤H¡G | Jun Fujimoto |
| ¡@ | Yukinori Inamura |
Àu¥ýÅv¤é´Á¡G2007/04/13
Àu¥ýÅv°ê®a/¦a°Ï¡G¬ü°ê
Àu¥ýÅv½s¸¹¡G60/907,688
Àu¥ýÅv¤é´Á¡G2007/10/31
Àu¥ýÅv°ê®a/¦a°Ï¡G¬ü°ê
Àu¥ýÅv½s¸¹¡G11/932,962
ªþ¹Ï

µo©ú±M§Q½s¸¹¡GI/000774
¥Ó½Ð¤é´Á¡G2008/04/11
¥Ó½Ð¤H¡Gªü¾|µ¦¹CÀ¸¬ü°ê¦³¤½¥q
°êÄy¡G¬ü°ê
¦í§}/¦a§}¡G745 Grier Drive, Las Vegas, Nevada 89119, U.S.A.
¼ÐÃD¡G¥i¶i¦æ§@¬°Àò¨ú«OÀI¤ä¥Iªº±ø¥óªº³f¹ô»ùȤUª`ªº¹CÀ¸¾÷¡C
ºKn¡G¥»µo©ú¯A¤Î¥i¶i¦æ§@¬°Àò¨ú«OÀI¤ä¥Iªº±ø¥óªº³f¹ô»ùȤUª`ªº¹CÀ¸¾÷¡CÅã¥Ü¾¹Åã¥Ü»P³æ¦ì¹CÀ¸¦³Ãöªº¹Ï¹³´V¡A¦b³W©wªº±ø¥ó¤U´_¦ìªºp¼Æ¾¹ÀH着³æ¦ì¹CÀ¸ªº°õ¦æ¦Ó¼W¤jp¼ÆÈ¡A¥H¤Î¡A±±¨î¾¹³q¹L¥~³¡¿é¤J±N³f¹ô»ùȪº¤Uª`¼ÆÃBªº¤W½T©w¬°¦b³æ¦ì¹CÀ¸¤¤Àò¨ú«OÀI¤ä¥Iªº±ø¥ó¡A·í³æ¦ì¹CÀ¸ªº¹CÀ¸µ²ªG¬°¯S©w¹CÀ¸µ²ªG®É¤ä¥I³W©w¼ÆÃBªº³f¹ô»ùÈ¡A¦b¤Uª`¼ÆÃBªº¤W½d³ò¤§¤º±µ¨ü§@¬°Àò¨ú«OÀI¤ä¥Iªº±ø¥óªº³f¹ô»ùȤUª`¡A¨Ã¥B·íp¼ÆÈ¤w¹F¨ì¦b¨ã¦³§@¬°Àò¨ú«OÀI¤ä¥Iªº±ø¥óªº¸ê¹ô»ùȤUª`ªº³æ¦ì¹CÀ¸¤¤ªº¹w©wªº¤Wp¼ÆÈ®Éµ¹¥X«OÀI¤ä¥I¡C
¤ÀÃþ¡GA63F9/24
µo©ú¤H¡G©£¥Ð ©M¥Í
Àu¥ýÅv¤é´Á¡G2007/04/13
Àu¥ýÅv°ê®a/¦a°Ï¡G¬ü°ê
Àu¥ýÅv½s¸¹¡G60/907,680
Àu¥ýÅv¤é´Á¡G2007/11/15
Àu¥ýÅv°ê®a/¦a°Ï¡G¬ü°ê
Àu¥ýÅv½s¸¹¡G11/940,966
ªþ¹Ï

µo©ú±M§Q½s¸¹¡GI/000775
¥Ó½Ð¤é´Á¡G2008/04/11
¥Ó½Ð¤H¡Gªü¾|µ¦¹CÀ¸¬ü°ê¦³¤½¥q
°êÄy¡G¬ü°ê
¦í§}/¦a§}¡G745 Grier Drive, Las Vegas, Nevada 89119, U.S.A.
¼ÐÃD¡G¥Î©óÀH着¹CÀ¸ªº°õ¦æ¬°«OÀI´£¨Ñ²Ö¶i¬õ§Qªº¹CÀ¸¾÷¤Î¨ä¹CÀ¸¤èªk¡C
ºKn¡G¤@ºØ¹CÀ¸¾÷¡A¨ã¦³±±¨î¾¹¡A·í¥Ñª±®a¥H¤Uª`½äª`ªº¤W¨Ó°õ¦æn³QÅã¥Ü¦b¤U³¡²G´¹Åã¥Ü¾¹¤Wªº§ë¹ô¹CÀ¸®É¡A¸Ó±±¨î¾¹¨ã¦³¬°¹ï¤w°õ¦æªº´©§U³]¸m¹CÀ¸ªº¦¸¼Æ¶i¦æp¼Æ¦Ó¥Ñp¼Æ¾¹p¼Æªº§ë¹ô¹CÀ¸¡A¨Ã¥B¹ï©ó´©§U³]¸m¹CÀ¸ªºp¼Æ¤w¹F¨ì1000Ó¹CÀ¸¨Ã¥B¨S¦³²£¥Í60¿©Î§ó¦hªº¤À¬õªº±¡ªp¡A¸Ó±±¨î¾¹¹ï´©§U¤ä¥I´£¨Ñ¤À¬õ¡A¸Ó¤À¬õ¤w¸g²Ö¿n¤F»P¨ì¥Ø«e¬°¤î¤w°õ¦æªº§ë¹ô¹CÀ¸ªº³Ì¤j¤Uª`ªº¨º¨Ç½äª`ªº³¡¤À½äª`¬Û¹ïÀ³ªº¤ñ¨Ò¡A¥H¤Î»P¨ì¥Ø«e¬°¤î¤w°õ¦æªº§ë¹ô¹CÀ¸¤¤²£¥Íªº¨º¨Ç¤À¬õ¤¤ªº³¡¤À¤À¬õ¬Û¹ïÀ³ªº¤ñ¨Ò¡A¦P®É¡A¥Î©ó´©§U¤ä¥Iªº¤À¬õ³q¹L¼ú³¹¤ä¥I³Q´£¨Ñµ¹¼ú³¹½L¡C
¤ÀÃþ¡GA63F9/24
µo©ú¤H¡G©£¥Ð ©M¥Í
Àu¥ýÅv¤é´Á¡G2007/04/13
Àu¥ýÅv°ê®a/¦a°Ï¡G¬ü°ê
Àu¥ýÅv½s¸¹¡G60/907,681
Àu¥ýÅv¤é´Á¡G2007/12/03
Àu¥ýÅv°ê®a/¦a°Ï¡G¬ü°ê
Àu¥ýÅv½s¸¹¡G11/949,337
ªþ¹Ï

µo©ú±M§Q½s¸¹¡GI/000776
¥Ó½Ð¤é´Á¡G2008/04/11
¥Ó½Ð¤H¡Gªü¾|µ¦®è¦¡·|ªÀ
°êÄy¡G¤é¥»
¦í§}/¦a§}¡G¤é¥»°êªF¨Ê³£¦¿ªF°Ï¦³©ú3-1-25
¼ÐÃD¡G¹CÀ¸¾÷¤Î¨ä¹CÀ¸¤èªk¡C
ºKn¡G¤@ºØ°õ¦æ³æ¦ì¹CÀ¸ªº¹CÀ¸¾÷¤Î¨ä¹CÀ¸¤èªk¡A¦b³æ¦ì¹CÀ¸¤¤½T©w³æ¦ì¹CÀ¸ªºµ²ªG¬O§_¦³¥²n¤ä¥I¼úÀy¡C¸Ó¹CÀ¸¾÷¥]¬A¤U³¡LCD¡A¥Î©óÅã¥Ü©M³æ¦ì¹CÀ¸¬ÛÃöªº¹Ï¹³¡Ap¼Æ¾¹¡A¥Î©ó¥H³sÄòªº³æ¦ì¹CÀ¸²Ö¿np¼ÆÈ¡A¨Ã¥B·íº¡¨¬¹w©wªº´_¦ì±ø¥ó®É±N¸Óp¼ÆÈ´_¦ì¡A¥H¤Î±±¨î¾¹¡C·í³æ¦ì¹CÀ¸ªºµ²ªGÅܦ¨¯S©wµ²ªG®É¡A±±¨î¾¹¦Vª±®a´£¨Ñ¹w©wªº¼úÀy¡C±±¨î¾¹ÁÙ±µ¦¬¥Î©ó«OÀI¤ä¥Iªº¤Uª`¡C¦¹¥~¡A·í¦b³æ¦ì¹CÀ¸¤¤³q¹L¥Î©ó«OÀI¤ä¥Iªº¤Uª`p¼ÆÈ¹F¨ì¹w©wȮɱ±¨î¾¹°õ¦æÂà¤J²Ä¤G¹CÀ¸¡A¨Ã®Ú¾Ú²Ä¤G¹CÀ¸ªºµ²ªG±±¨î¾¹´£¨Ñ´©§U¤ä¥I¡C
¤ÀÃþ¡GA63F9/24
| µo©ú¤H¡G | ´I¤h¥» ²E |
| ¡@ | ½_§ø ©¯¬ö |
Àu¥ýÅv¤é´Á¡G2007/04/13
Àu¥ýÅv°ê®a/¦a°Ï¡G¬ü°ê
Àu¥ýÅv½s¸¹¡G60/907,685
Àu¥ýÅv¤é´Á¡G2007/12/04
Àu¥ýÅv°ê®a/¦a°Ï¡G¬ü°ê
Àu¥ýÅv½s¸¹¡G11/987,731
ªþ¹Ï

µo©ú±M§Q½s¸¹¡GI/000777
¥Ó½Ð¤é´Á¡G2008/04/11
¥Ó½Ð¤H¡Gªü¾|µ¦®è¦¡·|ªÀ
°êÄy¡G¤é¥»
¦í§}/¦a§}¡G¤é¥»°êªF¨Ê³£¦¿ªF°Ï¦³©ú3-1-25
¼ÐÃD¡G¨ã¦³«OÀI¤ä¥Iªº¹CÀ¸¾÷¤Î¨ä¹CÀ¸¤èªk¡C
ºKn¡G¤@ºØ¹CÀ¸¾÷¡A¥]¬AÅã¥Ü¾¹¡A¥Î©óÅã¥ÜÃö©ó³æ¦ì¹CÀ¸ªº¹Ï¹³¡A¦b³æ¦ì¹CÀ¸¤¤½T©w¬O§_¦Vª±®a´£¨Ñ¤ä¥Iµ²ªG¡Fp¼Æ¾¹¡A¥Î©ó¥H³æ¦ì¹CÀ¸ªº³sÄò°õ¦æ²Ö¿np¼ÆÈ¡A¨Ã¥B·íº¡¨¬¹w©wªº´_¦ì±ø¥ó®É±Np¼ÆÈ´_¦ì¡F¥H¤Î±±¨î¾¹¡C¸Ó±±¨î¾¹±µ¦¬¹ï³æ¦ì¹CÀ¸ªº²Ä¤@¤Uª`¨Ã¥B·í³æ¦ì¹CÀ¸ªºµ²ªG¦¨¬°¯S©wµ²ªG®É¦Vª±®a¤ä¥I¹w©wªº¼úÀy¡C¸Ó±±¨î¾¹ÁÙ±µ¦¬¥Î©ó«OÀI¤ä¥Iªº²Ä¤G¤Uª`¡C¦¹¥~¡A·í¦b¨ã¦³²Ä¤G¤Uª`ªº³æ¦ì¹CÀ¸¤¤p¼ÆÈ¹F¨ì¹w©wȮɸӱ±¨î¾¹°õ¦æÂà¤J¤£»Ýn²Ä¤@¤Uª`ªº¦Û¥Ñ¹CÀ¸¡A¨Ã¥B®Ú¾Ú¦Û¥Ñ¹CÀ¸ªºµ²ªG´£¨Ñ«OÀI¤ä¥I¡C
¤ÀÃþ¡GA63F9/24
| µo©ú¤H¡G | ´I¤h¥» ²E |
| ¡@ | ½_§ø ©¯¬ö |
Àu¥ýÅv¤é´Á¡G2007/04/13
Àu¥ýÅv°ê®a/¦a°Ï¡G¬ü°ê
Àu¥ýÅv½s¸¹¡G60/907,670
Àu¥ýÅv¤é´Á¡G2007/12/04
Àu¥ýÅv°ê®a/¦a°Ï¡G¬ü°ê
Àu¥ýÅv½s¸¹¡G11/987,730
ªþ¹Ï

µo©ú±M§Q½s¸¹¡GI/000778
¥Ó½Ð¤é´Á¡G2008/04/11
¥Ó½Ð¤H¡Gªü¾|µ¦®è¦¡·|ªÀ
°êÄy¡G¤é¥»
¦í§}/¦a§}¡G¤é¥»°êªF¨Ê³£¦¿ªF°Ï¦³©ú3-1-25
¼ÐÃD¡G¹CÀ¸¾÷¤Î¨ä¹CÀ¸¤èªk¡C
ºKn¡G¤@ºØ°õ¦æ³æ¦ì¹CÀ¸ªº¹CÀ¸¾÷¤Î¨ä¹CÀ¸¤èªk¡A°õ¦æ½T©w¬O§_³æ¦ì¹CÀ¸ªºµ²ªGÀ³¸Ó¼úµ¹¼úÀyªº³æ¦ì¹CÀ¸¡C¸Ó¹CÀ¸¾÷¥]¬A¡G¤U³¡LCD¡A¥Î©óÅã¥Ü»P³æ¦ì¹CÀ¸¬ÛÃöªº¹Ï¹³¡Fp¼Æ¾¹¡A¥Î©óÀH 着³sÄòªº³æ¦ì¹CÀ¸¦Ó²Ö¿np¼ÆÈ¡A¨Ã¥B·íº¡¨¬¹w©wªº´_¦ì±ø¥ó®É±N¸Óp¼ÆÈ´_¦ì¡F¥H¤Î±±¨î¾¹¡C·í³æ¦ì¹CÀ¸ªºµ²ªGÅܦ¨¯S©wµ²ªG®É¡A±±¨î¾¹¦Vª±®a´£¨Ñ¹w©wªº¼úÀy¡C±±¨î¾¹ÁÙ±µ¦¬¥Î©ó«OÀI¤ä¥Iªº½äª`¡C¦¹¥~¡A·í¦b¨ã¦³¥Î©ó«OÀI¤ä¥Iªº½äª`ªº³æ¦ì¹CÀ¸¤¤p¼ÆÈ¹F¨ì¹w©wȮɡA±±¨î¾¹¦Vª±®a´£¨Ñ²Ö¶i¼úª÷¡C
¤ÀÃþ¡GA63F9/24
| µo©ú¤H¡G | ´I¤h¥» ²E |
| ¡@ | ½_§ø ©¯¬ö |
Àu¥ýÅv¤é´Á¡G2007/04/13
Àu¥ýÅv°ê®a/¦a°Ï¡G¬ü°ê
Àu¥ýÅv½s¸¹¡G60/907,684
Àu¥ýÅv¤é´Á¡G2007/12/05
Àu¥ýÅv°ê®a/¦a°Ï¡G¬ü°ê
Àu¥ýÅv½s¸¹¡G11/950,941
ªþ¹Ï

µo©ú±M§Q½s¸¹¡GI/000779
¥Ó½Ð¤é´Á¡G2008/04/11
¥Ó½Ð¤H¡Gªü¾|µ¦®è¦¡·|ªÀ
°êÄy¡G¤é¥»
¦í§}/¦a§}¡G¤é¥»°êªF¨Ê³£¦¿ªF°Ï¦³©ú3-1-25
¼ÐÃD¡G¹CÀ¸¾÷¤Î¨ä±±¨î¤èªk¡C
ºKn¡G¥»µo©ú¯A¤Î¹CÀ¸¾÷¤Î¨ä±±¨î¤èªk¡C·í³æ¦ì¹CÀ¸p¼Æ¾¹ªºÈTa¹F¨ìTa max®É¡A§ë¹ô¦¡¹CÀ¸¾÷°õ¦æ´©§U¤ä¥I¡C
¤ÀÃþ¡GA63F9/24
| µo©ú¤H¡G | ´I¤h¥» ²E |
| ¡@ | ½_§ø ©¯¬ö |
Àu¥ýÅv¤é´Á¡G2007/04/13
Àu¥ýÅv°ê®a/¦a°Ï¡G¬ü°ê
Àu¥ýÅv½s¸¹¡G60/907,675
Àu¥ýÅv¤é´Á¡G2007/12/05
Àu¥ýÅv°ê®a/¦a°Ï¡G¬ü°ê
Àu¥ýÅv½s¸¹¡G11/951,061
ªþ¹Ï

µo©ú±M§Q½s¸¹¡GI/000780
¥Ó½Ð¤é´Á¡G2008/04/11
¥Ó½Ð¤H¡Gªü¾|µ¦®è¦¡·|ªÀ
°êÄy¡G¤é¥»
¦í§}/¦a§}¡G¤é¥»°êªF¨Ê³£¦¿ªF°Ï¦³©ú3-1-25
¼ÐÃD¡G¹CÀ¸¾÷¤Î¨ä±±¨î¤èªk¡C
ºKn¡G¥»µo©ú´£¨Ñ¤F¤@ºØ¹CÀ¸¾÷¤Î¨ä¹CÀ¸¤èªk¡A¸Ó¹CÀ¸¾÷¥]¬A¡G¤Uª`¶}Ãö¡A¥i¦b¨CÓ³æ¦ì¹CÀ¸¤¤ªº¦hºØ¼Ò¦¡¤Uª`¡FÅã¥Ü¾¹¡A¾A¥Î©óÅã¥Ü¹CÀ¸ªºµ²ªG¡F¥H¤Î±±¨î¾¹¡A¥i¥H°õ¦æ¤U¦C¾Þ§@¡G³q¹L¤Uª`³B²z«ÂЦa°õ¦æ³æ¦ì¹CÀ¸¡A¸Ó³æ¦ì¹CÀ¸¦b¾Þ§@¤Uª`¶}Ãö¶i¦æ¦hÓ¼Ò¦¡ªº¤@Ó¤Uª`ªº±ø¥ó¤U¶}©l¨Ã¥B³q¹L¦bÅã¥Ü¾¹¤WÅã¥Ü¹CÀ¸ªºµ²ªG¨Óµ²§ô¡F¦sÀx³Ì¤j¤Uª`³æ¦ì¹CÀ¸ªº°õ¦æ¦¸¼Æ¡F½T©w¦sÀxªº°õ¦æ¦¸¼Æ¬O§_¤w¸g¹F¨ì¹w©wªº¦¸¼Æ¡F·í½T©w¦sÀxªº°õ¦æ¦¸¼Æ¤w¸g¹F¨ì¹w©wªº¦¸¼Æ®É¡A°õ¦æ¨M©w¼úÀy¼Æ¶qªº¯S®í¹CÀ¸¡F°ò©ó¯S®í¹CÀ¸ªºµ²ªG¨M©w¼úÀyªº¼Æ¶q¡F¥H¤Î±N¨M©wªº¼úÀy¼Æ¶q¥[¨ì¤Uª`¦sÀx¾¹¤¤©Î¬O´£¨Ñ¸Ó¨M©wªº¼úÀy¼Æ¶q¡C¨ä¤¤·í³æ¦ì¹CÀ¸p¼Æ¾¹ªºÈTa¹F¨ìTa max®É¡A§ë¹ô¦¡¹CÀ¸¾÷°õ¦æ´©§U¤ä¥I¡C
¤ÀÃþ¡GA63F9/24
| µo©ú¤H¡G | ´I¤h¥» ²E |
| ¡@ | ½_§ø ©¯¬ö |
Àu¥ýÅv¤é´Á¡G2007/04/13
Àu¥ýÅv°ê®a/¦a°Ï¡G¬ü°ê
Àu¥ýÅv½s¸¹¡G60/907,683
Àu¥ýÅv¤é´Á¡G2007/12/05
Àu¥ýÅv°ê®a/¦a°Ï¡G¬ü°ê
Àu¥ýÅv½s¸¹¡G11/951,125
ªþ¹Ï

µo©ú±M§Q½s¸¹¡GI/000781
¥Ó½Ð¤é´Á¡G2008/04/11
¥Ó½Ð¤H¡Gªü¾|µ¦®è¦¡·|ªÀ
°êÄy¡G¤é¥»
¦í§}/¦a§}¡G¤é¥»°êªF¨Ê³£¦¿ªF°Ï¦³©ú3-1-25
¼ÐÃD¡G´£¨Ñ¥Î©ó«OÀIªº¼úÀyªº¹CÀ¸¾÷¤Î¨ä¹CÀ¸¤èªk¡C
ºKn¡G¦b¹CÀ¸¾÷¤¤¡A·í¦b¤U³¡²G´¹Åã¥Ü¾¹ªº«Ì¹õ¤WÅã¥Üªº§ë¹ô¹CÀ¸¥Hª±®a¹ï¨ä¤Uª`ªº³Ì¤j½äª`¨Ó°õ¦æ®É¡A±±¨î¾¹¨Ï§ë¹ô¹CÀ¸¥Ñ¥Î©ó¹ï´©§U³]¸m¹CÀ¸¶i¦æp¼Æªºp¼Æ¾¹¨Óp¼Æ¡C·í¥Ñp¼Æ¾¹¹ï©ó´©§U³]¸m¹CÀ¸p¼Æªºp¼ÆÈ¹F¨ì1000¦¸¹CÀ¸¨Ã¥Bª½¨ì¦¹¨è³£¨S¦³µo¥Í60¿©Î§ó¦hªº¼úÀy®É¡A±±¨î¾¹´£¨Ñ¤w¼W¥[¤F¼W¶qªº¼úÀy§@¬°´©§U¤ä¥I¡A¨CÓ¼W¶qµ¥©ó¹ï¨´¤µ¬°¤î¤w¸g°õ¦æªº¨C¦¸§ë¹ô¹CÀ¸¤Uª`ªº½äª`ªº¤@³¡¤À¡C±±¨î¾¹³q¹L¦V¼ú³¹¦«½L¤ä¥X¼ú³¹¨Ó´£¨Ñ´©§U¤ä¥Iªº¼úÀy¡C
¤ÀÃþ¡GA63F13/00
| µo©ú¤H¡G | ´I¤h¥» ²E |
| ¡@ | ½_§ø ©¯¬ö |
Àu¥ýÅv¤é´Á¡G2007/04/13
Àu¥ýÅv°ê®a/¦a°Ï¡G¬ü°ê
Àu¥ýÅv½s¸¹¡G60/907,682
Àu¥ýÅv¤é´Á¡G2008/02/01
Àu¥ýÅv°ê®a/¦a°Ï¡G¬ü°ê
Àu¥ýÅv½s¸¹¡G12/024,571
ªþ¹Ï

µo©ú±M§Q½s¸¹¡GI/000782
¥Ó½Ð¤é´Á¡G2008/04/11
¥Ó½Ð¤H¡Gªü¾|µ¦®è¦¡·|ªÀ
°êÄy¡G¤é¥»
¦í§}/¦a§}¡G¤é¥»°êªF¨Ê³£¦¿ªF°Ï¦³©ú3-1-25
¼ÐÃD¡G¹ê²{¬°Àò¨ú«OÀI¤ä¥I¦Ó¤Uª`ªº¹CÀ¸¾÷¤Î¨ä¹CÀ¸¤èªk¡C
ºKn¡G¤@ºØ¹CÀ¸¾÷¡A¥]¬A¡GÅã¥Ü¾¹¡A°t¸m¨ÓÅã¥Ü»P³æ¦ì¹CÀ¸¦³Ãöªº¹Ï¹³¡A¥H½T©w¹CÀ¸µ²ªG¬O§_»Ýnµ¹¥X¼úÀy¡Fp¼Æ¾¹¡A°t¸m¨Ó¦b³W©wªº´_¦ì±ø¥ó¤U´_¦ì¡A¨Ã¥BÀH着³æ¦ì¹CÀ¸ªº°õ¦æ¦Ó¼W¥[p¼ÆÈ¡F¥H¤Î±±¨î¾¹¡C¸Ó±±¨î¾¹°õ¦æ±±¨î¥H«K·í³æ¦ì¹CÀ¸ªº¹CÀ¸µ²ªGº¡¨¬¯S©w¹CÀ¸µ²ªG®É¡A´£¨Ñ³W©w¼ÆÃBªº¼úÀy¡F±µ¦¬§@¬°Àò¨ú«OÀI¤ä¥Iªº¥ý¨M±ø¥óªº¹ï³]©w¬°²Õªº¥ô·N¦¸¼Æªº³æ¦ì¹CÀ¸§@¥Xªº¤Uª`¡F¥H¤Î·íp¼ÆÈ¤w¹F¨ì¦b³æ¦ì¹CÀ¸²Õ¤¤ªº¹w©wȮɡA´£¨Ñ³W©w¼ÆÃBªº¼úÀy¡C
¤ÀÃþ¡GG07F17/32
| µo©ú¤H¡G | ´I¤h¥» ²E |
| ¡@ | ½_§ø ©¯¬ö |
Àu¥ýÅv¤é´Á¡G2007/04/13
Àu¥ýÅv°ê®a/¦a°Ï¡G¬ü°ê
Àu¥ýÅv½s¸¹¡G60/907,677
Àu¥ýÅv¤é´Á¡G2008/01/30
Àu¥ýÅv°ê®a/¦a°Ï¡G¬ü°ê
Àu¥ýÅv½s¸¹¡G12/022,686
ªþ¹Ï

µo©ú±M§Q½s¸¹¡GI/000783
¥Ó½Ð¤é´Á¡G2008/04/11
¥Ó½Ð¤H¡Gªü¾|µ¦®è¦¡·|ªÀ
°êÄy¡G¤é¥»
¦í§}/¦a§}¡G¤é¥»°êªF¨Ê³£¦¿ªF°Ï¦³©ú3-1-25
¼ÐÃD¡G¹ê²{¹ïÀò±o«OÀI¤ä¥I¶i¦æ¤Uª`ªº¹CÀ¸¾÷¤Î¨ä¹CÀ¸¤èªk¡C
ºKn¡G¥»µo©ú¯A¤Î¤@ºØ¹CÀ¸¾÷¡A¥¦¥]¬AÅã¥Ü¾¹¡A¨ä°t¸m¦¨Åã¥Ü»P³æ¦ì¹CÀ¸¦³Ãöªº¹Ï¹³¡A¥Î¥H§PÂ_¹CÀ¸µ²ªG¬O§_À³¨ü¼úÀy¡Fp¼Æ¾¹¡A¨ä³]¸m¦¨¦b¹w©wªº´_¦ì±ø¥ó¤U¶i¦æ´_¦ì¡A¥B¨C·í¹B¦æ³æ¦ì¹CÀ¸®É¡A»¼¼Wp¼ÆÈ¡F¥H¤Î±±¨î¾¹¡C¸Ó±±¨î¾¹¦b³æ¦ì¹CÀ¸ªº¹CÀ¸µ²ªGº¡¨¬¯S©w¹CÀ¸µ²ªG®É°õ¦æ±±¨î¥H¹B¦æ²Ä¤GÓ¹CÀ¸¡C¸Ó±±¨î¾¹°õ¦æ±±¨î¥H±µ¦¬½äª`§@¬°¹ïÀò±o«OÀI¤ä¥Iªº¥ý¨M±ø¥ó¡A¨ä¤¤¹ï¥ô·N¼Æ¶qªº³]¸m¦¨¤@²Õªº³æ¦ì¹CÀ¸¤U½äª`¡A¥B°õ¦æ±±¨î¥H¦b¸Ó²Õ³æ¦ì¹CÀ¸¤ºªºp¼ÆÈ¹F¨ì¹w©wȮɹB¦æ²Ä¤GÓ¹CÀ¸¡A¨ä¤¤¹ï¸Ó²Õ³æ¦ì¹CÀ¸¤U½äª`§@¬°¹ïÀò±o«OÀI¤ä¥Iªº¥ý¨M±ø¥ó¡C
¤ÀÃþ¡GA63F9/24
| µo©ú¤H¡G | ´I¤h¥» ²E |
| ¡@ | ½_§ø ©¯¬ö |
Àu¥ýÅv¤é´Á¡G2007/04/13
Àu¥ýÅv°ê®a/¦a°Ï¡G¬ü°ê
Àu¥ýÅv½s¸¹¡G60/907,679
Àu¥ýÅv¤é´Á¡G2008/01/31
Àu¥ýÅv°ê®a/¦a°Ï¡G¬ü°ê
Àu¥ýÅv½s¸¹¡G12/023,773
ªþ¹Ï

µo©ú±M§Q½s¸¹¡GI/000784
¥Ó½Ð¤é´Á¡G2008/04/11
¥Ó½Ð¤H¡Gªü¾|µ¦®è¦¡·|ªÀ
°êÄy¡G¤é¥»
¦í§}/¦a§}¡G¤é¥»°êªF¨Ê³£¦¿ªF°Ï¦³©ú3-1-25
¼ÐÃD¡G¯à°÷¬°Àò±o«OÀI¤ä¥I¤Uª`ªº¹CÀ¸¾÷¥H¤Î¨Ï¥Î¸Ó¹CÀ¸¾÷¶i¦æ¹CÀ¸ªº¤èªk¡C
ºKn¡G¥»µo©ú¯A¤Î¤@ºØ¹CÀ¸¾÷¡A°t¸m¥Î©ó¦b¤TÓÅã¥Ü°Ï°ì¤º¨÷°Ê²Å¸¹¡A¨Ã¦b²Å¸¹¡§7¡¨°±¤î¦b¨C¤@ÓÅã¥Ü°Ï°ì¤¤®É°õ¦æ§K¶O¹CÀ¸¡C¦¹¥~¡A¦b¶i¦æ¤F1000Ó¹CÀ¸¦Ó¦b¥ô¤@¹CÀ¸¤¤²Å¸¹¡§7¡¨¨S¦³¦b¤TÓÅã¥Ü°Ï°ì¤¤±Æ¦¨¤@¦æ¤§«á¡A¸Ó¹CÀ¸¾÷°õ¦æ§K¶O¹CÀ¸¡C§â¸g¹L1000Ó¹CÀ¸¦ÓIJµoªº§K¶O¹CÀ¸ªº°õ¦æºÙ¬°´©§U¤ä¥I¡C¬°¤FÀò±o´©§U¤ä¥I¡Aª±®a¹ï´©§U¤ä¥I¤Uª`¡C¦b¤Uª`ªº°Ê§@¤¤¡A±N¨Ò¦p10Ó¹CÀ¸ªº¦hÓ¹CÀ¸©w¸q¬°¤@²Õ¡A¦Ó¥Bª±®a¥i¥H¥H²Õ¬°°ò¦¶i¦æ¤Uª`¡C
¤ÀÃþ¡GA63F9/24
| µo©ú¤H¡G | ´I¤h¥» ²E |
| ¡@ | ½_§ø ©¯¬ö |
Àu¥ýÅv¤é´Á¡G2007/04/13
Àu¥ýÅv°ê®a/¦a°Ï¡G¬ü°ê
Àu¥ýÅv½s¸¹¡G60/907,678
Àu¥ýÅv¤é´Á¡G2008/01/31
Àu¥ýÅv°ê®a/¦a°Ï¡G¬ü°ê
Àu¥ýÅv½s¸¹¡G12/023,838
ªþ¹Ï

µo©ú±M§Q½s¸¹¡GI/000785
¥Ó½Ð¤é´Á¡G2008/04/11
¥Ó½Ð¤H¡Gªü¾|µ¦¹CÀ¸¬ü°ê¦³¤½¥q
°êÄy¡G¬ü°ê
¦í§}/¦a§}¡G745 Grier Drive, Las Vegas, Nevada 89119, U.S.A.
¼ÐÃD¡G¹CÀ¸³]³Æ¡C
ºKn¡G¥»µo©ú´£¨Ñ¤@ºØ¹CÀ¸³]³Æ¡A¥]¬A¡G¦sÀx¸Ë¸m¡A¥Î©ó¦sÀx¦hºØ°Ñ¦Ò¼Æ¥Ø¡A¨CºØ°Ñ¦Ò¼Æ¥Ø§¡ªí¥Ü³æ¦ì¹CÀ¸ªº°õ¦æ¦¸¼Æ¡A¸Ó°õ¦æ¦¸¼Æ¦b´£¨Ñ¼úÀyªº³õ¦X¤U±o¨ì¡F¥H¤Î±±¨î¾¹¡A¥Î©ó°õ¦æ¤U¦C¾Þ§@¡G°õ¦æ±±¨î¥H«ÂЦa°õ¦æ³æ¦ì¹CÀ¸¡F¨C·íº¡¨¬¹w©w´_¦ì±ø¥ó®É¡A°õ¦æ±±¨î¥H¼ÆÈ±q¤p¨ì¤jªº¶¶§Ç¨Ï¦hºØ°Ñ¦Ò¼Æ¥ØµL®Ä¡F¦sÀx¨CÓ³æ¦ì¹CÀ¸ªº°õ¦æ¦¸¼Æ¡F½T©w¦sÀxªº³æ¦ì¹CÀ¸ªº°õ¦æ¦¸¼Æ¬O§_¹F¨ì¥ô¦ó¦³®Äªº°Ñ¦Ò¼Æ¥Ø¡F·í½T©w¦sÀxªº³æ¦ì¹CÀ¸ªº°õ¦æ¦¸¼Æ¤w¸g¹F¨ì¥ô¦ó¦³®Äªº°Ñ¦Ò¼Æ¥Ø®É¡A´£¨Ñ¼úÀy¡F¥H¤Î¨Ï¦sÀxªº³æ¦ì¹CÀ¸ªº°õ¦æ¦¸¼Æ¹F¨ìªº°Ñ¦Ò¼Æ¥ØµL®Ä¡C¦b¥»µo©ú¹ê¬I¨Ò¤¤¡A·í³æ¦ì¹CÀ¸p¼Æ¾¹ªºÈTa¹F¨ìTa max k®É¡A§ë¹ô¦¡¹CÀ¸¾÷10°õ¦æ´©§U¤ä¥I¡C
¤ÀÃþ¡GA63F9/24
µo©ú¤H¡G©£¥Ð ©M¥Í
Àu¥ýÅv¤é´Á¡G2007/04/13
Àu¥ýÅv°ê®a/¦a°Ï¡G¬ü°ê
Àu¥ýÅv½s¸¹¡G60/907,668
Àu¥ýÅv¤é´Á¡G2007/10/18
Àu¥ýÅv°ê®a/¦a°Ï¡G¬ü°ê
Àu¥ýÅv½s¸¹¡G11/907,890
ªþ¹Ï

µo©ú±M§Q½s¸¹¡GI/000786
¥Ó½Ð¤é´Á¡G2008/04/11
¥Ó½Ð¤H¡Gªü¾|µ¦®è¦¡·|ªÀ
°êÄy¡G¤é¥»
¦í§}/¦a§}¡G¤é¥»°êªF¨Ê³£¦¿ªF°Ï¦³©ú3-1-25
¼ÐÃD¡G´£¨Ñ«OÀI¼úÀyªº¹CÀ¸¾÷¤Î¨ä¹CÀ¸¤èªk¡C
ºKn¡G¥»µo©ú´£¨Ñ¤@ºØ´£¨Ñ«OÀI¼úÀyªº¹CÀ¸¾÷¤Î¨ä¹CÀ¸¤èªk¡C¦b¹CÀ¸¾÷¤¤¡A·í¥H¥Ñª±®a¤Uª`ªº³Ì¤j½äª`¨Ó°õ¦æ¦b¤U³¡²G´¹Åã¥Ü¾¹ªº«Ì¹õ¤WÅã¥Üªº§ë¹ô¦¡¹CÀ¸®É¡A±±¨î¾¹¨Ï¥Ñp¼Æ¾¹p¼Æ§ë¹ô¦¡¹CÀ¸¥Hp¼Æ´©§U³]¸m¹CÀ¸¡C·íp¼Æ¾¹¹ï´©§U³]¸m¹CÀ¸ªºp¼ÆÈ¹F¨ì1000¦¸¨Ã¥B¨ì¨º®ÉÁÙ¨S¦³60¿©Î§ó°ª¿ªº¼úÀy¥X²{®É¡A±±¨î¾¹¨Ï¤U³¡²G´¹Åã¥Ü¾¹¦b¨ä«Ì¹õ¤WÅã¥Ü¦Û¥Ñ¹CÀ¸¥H°õ¦æ¦Û¥Ñ¹CÀ¸¡C¥t¥~¡A±±¨î¾¹´£¨Ñ¬ÛÀ³©ó¦b¦Û¥Ñ¹CÀ¸¤¤¥X²{ªºÀò³Ó²Õ¦Xªº¼úÀy§@¬°´©§U¤ä¥I¡C±±¨î¾¹³q¹L¦V¼ú³¹¦«½L¤ä¥I¼ú³¹¨Ó´£¨Ñ´©§U¤ä¥Iªº¼úÀy¡C
¤ÀÃþ¡GA63F9/24
| µo©ú¤H¡G | ´I¤h¥» ²E |
| ¡@ | ½_§ø ©¯¬ö |
Àu¥ýÅv¤é´Á¡G2007/04/13
Àu¥ýÅv°ê®a/¦a°Ï¡G¬ü°ê
Àu¥ýÅv½s¸¹¡G60/907,676
Àu¥ýÅv¤é´Á¡G2008/01/31
Àu¥ýÅv°ê®a/¦a°Ï¡G¬ü°ê
Àu¥ýÅv½s¸¹¡G12/023,591
ªþ¹Ï

µo©ú±M§Q½s¸¹¡GI/000789
¥Ó½Ð¤é´Á¡G2008/04/17
¥Ó½Ð¤H¡GGEOX S.p.A.
°êÄy¡G·N¤j§Q
¦í§}/¦a§}¡GVia Feltrina Centro, 16 31044 Montebelluna, Località Biadene - (Treviso) Itália
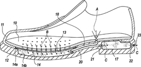
¼ÐÃD¡G¨ã¦³µ²¦X¥Î©ó³z®ð¤Î±j¢ªÅ®ð´`Àô¤§¸Ë¸mªº¾c¡C
ºKn¡G¤@ºØ¨ã¦³µ²¦X¥Î©ó³z®ð¤Î±j¢ªÅ®ð´`Àô¤§¸Ë¸m¤§¾c¥Ñ¤@¥i³z®ð©Î³]¦³³q¤Õ¤§²Õ¦X¤º©³¡]10¡^¡B¤@©T©w¦Ü¸Ó¤º©³¡]10¡^¤§Ãä½tªº¾c±¡]11¡^¤Î¤@°t¸m©ó¸Ó¤º©³¡]10¡^¤Î¸Ó¾c±¡]11¡^¤§Ãä½t¤U¤èªº¾c©³¡]12¡B112¡^²Õ¦¨¡A¸Ó¾c¥]§t¦Û¸Ó¾c©³¡]12¡B112¡^¤º´£¨Ñ¤§³Ñ¾l³¡¤À±K«Êªº¦Ü¤Ö¤@µÄ«Ç¡]14¡B114¡^¡A¸ÓµÄ«Ç¨ã¦³¤@±¦V¸Ó¥i³z®ð©Î¦h¤Õ²Õ¦X¤º©³¡]10¡^¥B¥Ñ¤@¨¾¤ô¥B¥i³z¤ô»]®ð¤§¹j½¤¡]13¡B113¡^ºc¦¨ªº¤W¾À¡A¸ÓµÄ«Ç¡]14¡B114¡^¨ã¦³¥Î©ó§ïÅܨ䤤©Ò§tªÅ®ðªº¶i®ðºÞ¤Î¥X®ðºÞ¡]18¡B118¡F20¡B120¡^¡C
¤ÀÃþ¡GA43B7/08, A43B7/00
µo©ú¤H¡GMario Polegato Moretti
Àu¥ýÅv¤é´Á¡G2007/04/17
Àu¥ýÅv°ê®a/¦a°Ï¡G·N¤j§Q
Àu¥ýÅv½s¸¹¡GPD2007A000141
ªþ¹Ï

µo©ú±M§Q½s¸¹¡GI/000790
¥Ó½Ð¤é´Á¡G2008/04/23
¥Ó½Ð¤H¡GBALLY GAMING, INC.
°êÄy¡G¬ü°ê
¦í§}/¦a§}¡G6601 South Bermuda Road, Las Vegas, Nevada 89119, United States of America
¼ÐÃD¡G¥Î©ó¹CÀ¸³]³Æªº§ï¨}«áų©w¨t²Î¡C
ºKn¡G©Ò©ÜÅSªº¤å³¹¬O¨Ï¥Î¼Æ¦rñ¦W§Þ³NÃѧO¦sÀx³]³Æ¤W¤@өΦhÓ²M³æªº¨t²Î¦X¤èªk¡C¨CÓ²M³æ¥]§t¤@Ó¤å¥ó°O¿ý¦Cªí¡A¨CÓ°O¿ý¥]§t¦sÀx³]³Æ¤Wªº¤å¥ó¦WºÙ©M±q¤å¥ó¤º®e¤¤±o¨ìªºÃ±¦WÈ¡C±Ò°Ê®É¡A¹CÀ¸¾÷º¥ýÃѧO²M³æ¤º®e¡AµM«á¨Ï¥Î²M³æ¤WªºÃ±¦WÈÃѧO¤å¥ó¤º®e¡C±Ò°Ê©M´¶³qªº¾Þ§@¹Lµ{¤¤¡A»Ýn®É¨Ï¥Îñ¦W®Ö¹ê¤å¥ó¡C³oºØ¤èªk¥[§Ö¤F±Ò°Ê³t«×¡A¨Ã¥B¤£¥ÎÀˬd¨CÓ¤å¥ó©Î«D¦w¥þ´CÅ骺¾ãÓ¤º®eªº¼Æ¦rñ¦W¡C
Ãþ¦ü¦a¡A´£¥X¤F¥i¥HÃѧO¿ò¯d³n¥ó²Õ¥ó¦Ó¤£¥²§ïÅÜ¿ò¯d²Õ¥óªº¤èªk¡C§ó±j¤jªºÃѧOºâªkªº¤¶²Ð©Î¤@Ó³Q©Úµ´ªº¨p¤H±K½X³q±`·|n¨D³n¥ó²Õ¥ó«·s½s͍Ӥä«ù·sºâªk©Î¨p¦³¤½Æ_¹ï¡FµM¦Ó¡A¤@Ó¥i¯à§ïÅܺâªk©M±K½X¹ïªº¤èªk³Q´£¥X¨ÃÀ³¥Î¦b¿ò¯d²Õ¥ó¡A³oÓ¤èªk¤£¥Î«½sĶ¡B«´ú¸Õ¡B«Ã±¦W©Î¦VºÞ¨î¾÷¨î«´£¥æ²Õ¥ó¡CÁÙ´£¥X¤F¤@ºØ«Ø¥ß¥]§t¹CÀ¸¾Þ§@¨t²Î©M¬ÛÃöÃѧO¼Ò¶ô¡B¤å¥ó¨t²ÎÅX°Ê©M¡þ©Îºôµ¸ÅX°Êªº¥i«HÀô¹Òªº¨t²Î©M¤èªk¡A¤Wz¹CÀ¸¾Þ§@¨t²Î©M¬ÛÃöÃѧO¼Ò¶ô¡B¤å¥ó¨t²ÎÅX°Ê©M¡þ©Îºôµ¸ÅX°Ê¥i¯à¦bÃѧO¦sÀx³]³Æ¤Wªº¤@өΦhÓ²M³æªº¹Lµ{¤¤¥Î¨ì¡C
¤ÀÃþ¡GA63F13/00, G06F9/445, H04L9/00
| µo©ú¤H¡G | Robert W. Crowder, Jr. |
| ¡@ | Anthony E. Green |
Àu¥ýÅv¤é´Á¡G2007/04/23
Àu¥ýÅv°ê®a/¦a°Ï¡G¬ü°ê
Àu¥ýÅv½s¸¹¡G11/739,078
ªþ¹Ï

µo©ú±M§Q½s¸¹¡GI/000791
¥Ó½Ð¤é´Á¡G2008/04/28
¥Ó½Ð¤H¡GBALLY GAMING, INC.
°êÄy¡G¬ü°ê
¦í§}/¦a§}¡G6601 South Bermuda Road, Las Vegas, Nevada 89119, United States of America
¼ÐÃD¡G³nÁä¼öÂI¿Eµo¨t²Î©M¤èªk¡C
ºKn¡G¤@Ó¹CÀ¸¨t²Î¡A¥]¬A¤@¥x©Î¦h¥x¹CÀ¸¾÷¡B¤@ÓÅã¥Ü¨t²Î¡A¥H¤Î¤@Óª±®a¿é¤J¨t²Î¡C¨äÅã¥Ü¨t²Î¥]¬A¤@ÓÅã¥Ü«Ì¡A¥Î¥HÅã¥Üª±®a¤¬°Ê«H®§¡A¦Ó¨äª±®a¿é¤J¨t²Î¥]¬A¤@®M¦¸¯Å¿é¤J¤èªk¡C¨ä¦¸¯Å¿é¤J¤èªk¥]¬A¥¬½uÁp±µ¨ì¯S©w¤§§¤¼Ð©w¦ìªºÂI©Î°Ï°ì¡]¡y¼öÂI¡z¡^ªº³nÁä¡C¦b³o¤è±¡A¿Eµo¤@ªT³nÁä¡A´N¬Û·í©ó¤@¦¸¹«¼Ð¡yÂIÀ»¡z©Î¬OIJºN«Ì¡y°Ê§@¡z¡C¨ä³nÁ䪺³n¥ó¹ê²{¡A¿W¥ß©ó·í«eÅã¥Üªº¤º®e¡Aª½¨ì©w¦ì«ö¶s°¸¨¨ì»P³nÁä¬ÛÃöÁpªº¡y¼öÂI¡z¬°¤î¡C©ó¦¹¡A·í¤@Ó³nÁä³Q«öÀ£ªº®ÉÔ¡A¥¦´N·|¦b¨ä¬ÛÀ³ªº¡y¼öÂI¡z§¤¼Ð¤W²£¥Í¤@¦¸¹«¼ÐÂIÀ»°Ê§@¡C¥Ñ©ó¤£»Ýn¥N½XÅܧó¡A³nÁä¥i¥H¦b²{¦³¤º®e¤W¹ê²{¡C¬ÛÀ³¦a¡A³nÁä¨Ï±o¤º®e¶}µo¤Hû¥i¥H¶}µo¤º®e¡A¦Ó¤£¥Îªþ¥[¥N½X¨Ó¹ê²{³nÁ䥻¨¡C¥H³oºØ¤è¦¡¡A¦]»P¨ä¦b¤@Ó¡y¼öÂI¡z§¤¼Ð¤W²£¥Íªº¹«¼ÐÂIÀ»°Ê§@ªº¾Þ§@¨t²Î¦³³q«H¡A³nÁä¹ê²{³Q²¤Æ¤F¡C
¤ÀÃþ¡GA63F9/24
| µo©ú¤H¡G | Kiran Brahmandam |
| ¡@ | Vijay Kompella |
| ¡@ | James W. Morrow |
| ¡@ | Carmen DiMichele |
Àu¥ýÅv¤é´Á¡G2007/04/30
Àu¥ýÅv°ê®a/¦a°Ï¡G¬ü°ê
Àu¥ýÅv½s¸¹¡G11/742,429
ªþ¹Ï

µo©ú±M§Q½s¸¹¡GI/000793
¥Ó½Ð¤é´Á¡G2008/05/06
¥Ó½Ð¤H¡Gªü¾|µ¦®è¦¡·|ªÀ
°êÄy¡G¤é¥»
¦í§}/¦a§}¡G135-0063¤é¥»°êªF¨Ê³£¦¿ªF°Ï¦³©ú3¤B¥Ø1µf¦a25
¼ÐÃD¡G¹CÀ¸¾÷¡C
ºKn¡G¥»µo©ú¤½¶}¤F¤@ºØ¹CÀ¸¾÷¡A¨ä¥]¬AÅã¥Ü¸Ë¸m¡B¦sÀx¾¹©M±±¨î¾¹¡C±±¨î¾¹³Q°t¸m¦¨¨ã¦³°õ¦æ¥H¤U¾Þ§@ªºÅÞ¿è¡G¡]a¡^ÅTÀ³©ó±µ¨ü¨ìª±®a¥Î¥H¶}©l¹CÀ¸ªº¾Þ§@¡A³q¹L°õ¦æ©â¼ú¨Ó½T©w±Nn¦bÅã¥Ü¸Ë¸m¤WÅã¥Üªº²Å¸¹²Õ¦X¡F¡]b¡^¨ÏÅã¥Ü¸Ë¸m°õ¦æ²Å¸¹ªº¥iÅÜÅã¥Ü¡F¡]c¡^¨ÏÅã¥Ü¸Ë¸m®Ú¾Ú©â¼úªºµ²ªG¨Ó°õ¦æ²Å¸¹ªºÀRºAÅã¥Ü¡F¡]d¡^·í²Å¸¹ªºÀRºAÅã¥Ü»P¯S©wªº²Å¸¹²Õ¦X¬Û¤Ç°t®É¡A±±¨î¦sÀx¾¹²Ö¿n¦a¦sÀxÂI¼Æ¡CÂI¼Æªº¼Æ¥Ø¤p©ó°õ¦æ¯S§Oµ{§Ç©Ò»ÝªºìHÈ¡A©Òz¯S§Oµ{§Ç¾A©ó¦Vª±®a´£¨ÑŧQ¡C·í¦b¦sÀx¾¹¤¤¦sÀxªºÂI¼ÆªºÁ`©M¤w¸g¹F¨ììHȮɡA±±¨î¾¹°õ¦æ¯S§Oµ{§Ç¡C
¤ÀÃþ¡GA63F5/04
| µo©ú¤H¡G | ´I¤h¥»²E |
| ¡@ | ½_§ø©¯¬ö |
| ¡@ | ¦N¿A¤@¶® |
Àu¥ýÅv¤é´Á¡G2007/05/08
Àu¥ýÅv°ê®a/¦a°Ï¡G¤é¥»
Àu¥ýÅv½s¸¹¡G2007-123959
ªþ¹Ï

µo©ú±M§Q½s¸¹¡GI/000794
¥Ó½Ð¤é´Á¡G2008/05/06
¥Ó½Ð¤H¡Gªü¾|µ¦®è¦¡·|ªÀ
°êÄy¡G¤é¥»
¦í§}/¦a§}¡G135-0063¤é¥»°êªF¨Ê³£¦¿ªF°Ï¦³©ú3¤B¥Ø1µf¦a25
¼ÐÃD¡G¹CÀ¸¾÷¡C
ºKn¡G¥»µo©ú´£¨Ñ¤F¤@ºØ¹CÀ¸¾÷¡A¥]¬AÅã¥Ü¸Ë¸m¡B¦sÀx¾¹©M±±¨î¾¹¡C±±¨î¾¹³Q°t¸m¦³¶i¦æ¥H¤U¾Þ§@ªºÅÞ¿è¡G¡]a¡^³q¹L°õ¦æ©â¼ú¡A½T©wn¦bÅã¥Ü¸Ë¸m¤WÅã¥Üªº²Å¸¹²Õ¦X¡F¡]b¡^¨ÏÅã¥Ü¸Ë¸m°õ¦æ¦hӲŸ¹ªº¥iÅÜÅã¥Ü¡F¡]c¡^¨ÏÅã¥Ü¸Ë¸m¨Ì·Ó©â¼úªºµ²ªG¨Ó°õ¦æ¦hӲŸ¹ªºÀR¤îÅã¥Ü¡F¡]d¡^·í¦hӲŸ¹ªºÀR¤îÅã¥Ü»P«ù©wªº²Å¸¹²Õ¦X¬Û¤Ç°t®É¡A±±¨î¦sÀx¾¹¥H²Ö¿n¦sÀx¹w©w¼Æ¥ØªºÂI¼Æ¡C·í¦sÀx¾¹¤¤¦sÀxªºÂI¼ÆªºÁ`©M¤w¸g¹F¨ì§@¬°¯S§O¹CÀ¸§¹¦¨µ²ªGªºìHȮɡA±±¨î¾¹¤¹³\¹CÀ¸ªÌ¦b¸Ó¯S§O¹CÀ¸¥H«á¨Ã¥B¦bº¡¨¬¹w©w±ø¥ó¥H«eªº¹CÀ¸´Á¶¡¤º¡A¥H¦³§Qªº§Î¶ÕÄ~Äò¹CÀ¸¡C
¤ÀÃþ¡GA63F5/04
| µo©ú¤H¡G | ´I¤h¥»²E |
| ¡@ | ½_§ø©¯¬ö |
| ¡@ | ¦N¿A¤@¶® |
Àu¥ýÅv¤é´Á¡G2007/05/08
Àu¥ýÅv°ê®a/¦a°Ï¡G¤é¥»
Àu¥ýÅv½s¸¹¡G2007-123960
ªþ¹Ï

µo©ú±M§Q½s¸¹¡GI/000859
¥Ó½Ð¤é´Á¡G2008/09/11
¥Ó½Ð¤H¡G¥î«lè
°êÄy¡G¤¤°ê
¦í§}/¦a§}¡G¿Dªù³Ò°Ê¸`¤j°¨¸ôª÷®ü¤sªá¶é²Ä¤C®y15¼ÓA
¼ÐÃD¡G®ñ¤ÆÁÙì´¶³q°®¹q¦À¥R¹q¾¹¡C
ºKn¡G¥»µo©ú¤½¶}¤F¤@ºØ§Q¥Î®ñ¤ÆÁÙìì²z¹ê¬I¥R¹qªº¡B¦w¥þ©Ê°ªªº´¶³q°®¹q¦À¦Û½Õ¸`¹q¬y¥R¹q¾¹¡C©Òz´¶³q°®¹q¦À¦Û½Õ¸`¹q¬y¥R¹q¾¹¥]¬A¤ÀÀ£¹q¸ô¡]1¡^¡B¾ã¬y¾¹¡]2¡^¡BÂoªi©MÃÀ£¹q¸ô¡]3¡^¡B¬y¹qªý¡]R3¡^¡B¤À¬y¹q¸ô¡]4¡^©M¨¾°f¬y©M«ü¥Ü¤¸¥ó¡]5¡^¡A©Òz¾ã¬y¾¹¡]2¡^ªº¥æ¬y¿é¤JºÝ³q¹L©Òz¤ÀÀ£¹q¾¹¡]1¡^»P¹qºô¹q·½¬Û³s±µ¡A©Òz¾ã¬y¾¹¡]2¡^ªºª½¬y¿é¥XºÝ³q¹L©ÒzÂoªi©MÃÀ£¹q¸ô¡]3¡^¸g©Òz¬y¹qªý¡]R3¡^»P¤À¬y¹q¸ô¡]4¡^¬Û³s±µ¡A³Q¥R¹q¹q¦À¡]BT¡^¸g©Òz¨¾°f¬y©M«ü¥Ü¤¸¥ó¡]5¡^»P©Òz¤À¬y¹q¾¹¡]4¡^¬Û¨ÃÁp¡C¥»µo©ú¥Î©ó¹ï´¶³q°®¹q¦À¤ÏÂÐ¥R¹q¡A¹ï´¶³qÆP©Ê°®¹q¦À¥R¹q®ÄªG§ó¨Î¡C
¤ÀÃþ¡GH02J7/00
µo©ú¤H¡G¥î«lè
ªþ¹Ï

±ÂÅvªºµo©ú±M§Q¤§©µ¦ù
®Ú¾Ú¸g¤Q¤G¤ë¤Q¤T¤é²Ä97/99/M¸¹ªk¥O®Ö㤧¡m¤u·~²£Åvªk«ß¨î«×¡n²Ä¤Q±ø¤Î²Ä¤@¦Ê¤G¤Q¤E¦Ü¤@¦Ê¤T¤Q¤±ø¤§³W©w¡Aµ²¦X¡m°ê®aª¾ÃѲ£Åv§½»P¿Dªù¯S§O¦æ¬F°Ï¸gÀÙ§½Ãö©ó¦bª¾ÃѲ£Åv»â°ì¦X§@ªº¨óij¡n²Ä¥|±ø¤Î²Ä¤±ø¤§³W©w¡A¤½§G¤U¦C±ÂÅvªºµo©ú±M§Q¥Ó½Ð¤§©µ¦ù¡C
½s¸¹¡GJ/000008
©µ¦ù¥Ó½Ð¤é´Á¡G2005/06/27
©µ¦ù§å¥Ü¤é´Á¡G2009/03/12
¥Ó½Ð¤H¡Gªü¾|µ¦®è¦¡·|ªÀ
°êÄy¡G¤é¥»
¦í§}/¦a§}¡G3-1-25, Ariake, Koto-Ku, Tokyo 135-0063 Japan
¥Ó½Ð¤H¡G®è¦¡·|ªÀÁɶð
°êÄy¡G¤é¥»
¦í§}/¦a§}¡G3-1-25, Ariake, Koto-Ku, Tokyo 135-0063 Japan
¼ÐÃD¡G¨ã¦³¤º¸m¿Ó®¶¼ÐÅÒªº¥d¤¶½è¡B¥d¤¶½èªº»s³y¤èªk¥H¤Î¹ï¶H»{§O¸Ë¸m¡C
ºKn¡G¤@ºØ¯à°÷»{§O¹ï¶H¡]11¡^ªº¤ÀµoÃþ«¬©M¤Àµo¦ì¸mªº¹ï¶H»{§O¸Ë¸m¡A¨ä³]¸m¦³¡G¦hºØ¿Ó®¶¼ÐÅÒ¡]1¡B2¡B3¡B¡K¡^¡A¥Î©óµo°e©¼¦¹¤£¦PÀW²vªº¦^ªi¡]F1¡BF2¡BF3¡K¡^¡F¹ï¶H®e¯Ç³¡¤ÀZ¡A¥Î©ó®e¯Ç¤À§O³]¸m¦³¦hÓ¿Ó®¶¼ÐÅÒªº¦hÓ¹ï¶H¡FÀË´ú¨t²Î9¡B9¡¦¡A¥Î©ó¦V±q¹ï¶H®e¯Ç³¡¤À¤Àµo¨ì¹w©w¤Àµo°Ï¡]A¡BB¡K¡^ªº¦U¹ï¶Hµo°e¹w©wÀW²vªºµL½u¹qªi¡]W1¡BW2¡BW3¡BW4¡BW5¡BW6¡BW7¡BW8¡^¨Ã¥Î©ó¦bµo°eµL½u¹qªi®É¹ï±q¦hºØ¿Ó®¶¼ÐÅÒµo°eªº¦^ªi¶i¦æÀË´ú¡F¥H¤Î»{§O¨t²Î27¡A¥Î©ó®Ú¾Ú¥ÑÀË´ú¨t²ÎÀË´úªº¦^ªi¨Ó»{§O¹ï¶Hªº¤ÀµoÃþ«¬©M¤Àµo¦ì¸m¡C³q¹L²³æ¥B§C¦¨¥»¨Ã®ø°£¤F¹ïn»{§OªºÃþ¶q»PÃþ«¬ªº©wªº»s³y¤èªk¡A´£¨Ñ¨ã¦³@¥Î©Ê¦nªº¤º¸m¿Ó®¶¼ÐÅÒªº¥d¤¶½è¡C
¤º¦a¥Ó½Ð¤é¡G2003/12/25
¤º¦a±M§Q¸¹¡G200380107771.0
¤º¦a¤½¶}¤é¡G2006/02/08
¤º¦a¤½§i¤é¡G2008/07/09
¤º¦a¤½§i¸¹¡GCN 100401316C
¤ÀÃþ¡GG06K19/077, G06K19/07, G06K17/00, H04B1/59, A63F1/14
| µo©ú¤H¡G | ´I¤h¥»²E |
| ¡@ | ¦N©£¤@ºa |
Àu¥ýÅv¤é´Á¡G2002/12/27
Àu¥ýÅv°ê®a/¦a°Ï¡G¤é¥»
Àu¥ýÅv½s¸¹¡G381251/2002
Àu¥ýÅv¤é´Á¡G2002/12/27
Àu¥ýÅv°ê®a/¦a°Ï¡G¤é¥»
Àu¥ýÅv½s¸¹¡G381497/2002
ªþ¹Ï

½s¸¹¡GJ/000076
©µ¦ù¥Ó½Ð¤é´Á¡G2006/09/28
©µ¦ù§å¥Ü¤é´Á¡G2009/03/12
¥Ó½Ð¤H¡G°p¬O®è¦¡·|ªÀ
°êÄy¡G¤é¥»
¦í§}/¦a§}¡G¤é¥»°ê¨Ê³£©²ºð³¡¥««C³¥Ëm¿¯©Ò1µf¦a
¼ÐÃD¡G¦Û°ÊÁ_¦X¾¹¥ÎÁ_¦X¸Éºó§÷®Æ¡C
ºKn¡G¥»µo©ú¯A¤Î¾A¥Î©ó¥~¬ì¤â³Nµ¥¤¤¼sªx¨Ï¥Îªº¦Û°ÊÁ_¦X¾¹ªºµ©ª¬Á_¦X¸Éºó§÷®Æ¡A¨ä´£°ª¤Fµ©ª¬¤Æªº¥Í²£²v¡A¥B©ö©ó¶i¦æ©î½u¾Þ§@¡C¥Øªº¦b©ó¸Ñ¨M¥Ñ²{¦³ªºÁ{®É±µ¦X¤Þ°_ªº²æ¸¨¡B¥Ñ¦êÁ_²£¥Íªº¥Í²£²v§C¤U©M¼ô½mªº½ÒÃD¡A¥Ñ©óÁ¡¤ùª¬Å骺ºØÃþ¡BÁ_¦X¶ZÂ÷¦Ó¤£¯à¶¶§Q¦a©î½uªº½ÒÃD¡C¨ãÅé¦a»¡¯A¤Î¤@ºØ¦Û°ÊÁ_¦X¾¹¥ÎÁ_¦X¸Éºó§÷®Æ¡A¦bÁ_¦XÁ¡¤ùª¬Å骺¨âºÝ³¡¦Ó§Î¦¨µ©ª¬ªº¦Û°ÊÁ_¦X¾¹¥ÎÁ_¦X¸Éºó§÷®Æªººc¦¨¤¤¡A¯S¼x¦b©ó¡A¥H¥Ñ¤@®Ú½uºc¦¨ªº³æ½uÃì§ÎÁ_ªk§@¬°¨äÁ_¦X¤èªk¡A¨Ã¾A·í©µ¦ù¥XÁ_¦Xµ²§ô³Bªº½uÀY¡C
¤º¦a¥Ó½Ð¤é¡G2004/07/16
¤º¦a±M§Q¸¹¡G200480020618.9
¤º¦a¤½¶}¤é¡G2006/08/23
¤º¦a¤½§i¤é¡G2008/12/24
¤º¦a¤½§i¸¹¡GCN 100444905C
¤ÀÃþ¡GA61L17/00, A61B17/04, A61B17/08
| µo©ú¤H¡G | ¤U¦a¼s¤§ |
| ¡@ | ¤j¨¦»ô |
Àu¥ýÅv¤é´Á¡G2003/07/17
Àu¥ýÅv°ê®a/¦a°Ï¡G¤é¥»
Àu¥ýÅv½s¸¹¡G198240/2003
ªþ¹Ï

½s¸¹¡GJ/000241
©µ¦ù¥Ó½Ð¤é´Á¡G2008/08/25
©µ¦ù§å¥Ü¤é´Á¡G2009/03/12
¥Ó½Ð¤H¡GSICIS S.R.L.
°êÄy¡G·N¤j§Q
¦í§}/¦a§}¡GVia Canala, 75/79 - 48100 Ravenna, Itália
¼ÐÃD¡GÀð¾À©M/©Î¦aªO²¡¿j¤Î¨ä»s³y¤èªk©M³]³Æ¡C
ºKn¡G¤@ºØÀð¾À²¡¿j©M/©Î¦aªO²¡¿j¡]10¡^¡A¥]¬A¤@Ó®e¯Ç¤¸¥ó¡]1¡^©M¤@ºØ¶ñ¥R§÷®Æ¡]2¡^¡A©Òz¶ñ¥R§÷®Æ³]¸m¦b®e¯Ç¤¸¥ó¤º¡A¨Ã¥Ñ¤@ºØ¨ã¦³55-85¡]³Ì¦n75¡^ªº¨v¤óDµw«×¡B¥B¨ä¦b«Ç·Å¤Uªº¾®©T®É¶¡¦b5-15¤ÀÄÁ¡]³Ì¦n¬°10¤ÀÄÁ¡^ªº»E¦X§÷®Æºc¦¨¡C©Òz¶ñ¥R§÷®Æ¡]2¡^¥Ñ¤@ºØ¦h²Õ¤À§÷®Æ¡A³Ì¦n¬°Âù²Õ¤À§÷®Æ§Î¦¨¡C¥Î©ó»s³yÀð¾À²¡¿j©M/©Î¦aªO²¡¿jªº³]³Æ¡]20¡^¥]¬A¦Ü¤Ö¤@Өѵ¹ÀY¡]22¡^¡A¨ä³]¦³¼Q®g¸Ë¸m¡]24¡^¡A¸Ó¼Q®g¸Ë¸m¨ã¦³¥Î©ó¦hºØ²Õ¤À¤¤¨C¤@²Õ¤Àªº¿W¥ß¨Ñµ¹ºÞ¸ô¡]26¡A28¡^¡C³q¹L¥Î©ó²V¦X¦hºØ²Õ¤Àªº³æ¤@¼Q¼L¡]30¡^±N¶ñ¥R§÷®Æ¡]2¡^¨Ñµ¹¦Ü®e¯Ç¤¸¥ó¡]1¡^¤º¡A¥H§Î¦¨Àð¾À²¡¿j©M/©Î¦aªO²¡¿j¡]10¡^¡C
¤º¦a¥Ó½Ð¤é¡G2002/06/07
¤º¦a±M§Q¸¹¡G02829017.8
¤º¦a¤½¶}¤é¡G2005/06/15
¤º¦a¤½§i¤é¡G2008/10/01
¤º¦a¤½§i¸¹¡GCN 100422480C
¤ÀÃþ¡GE04F15/02, B29D31/00, B29C67/24, B29B7/76, F16K31/122, F16K11/10, F16K1/38, F16K41/04, B05B7/04
µo©ú¤H¡G¤ò¨½»ô¶ø¡D´¶©Ô®w»ô
ªþ¹Ï

½s¸¹¡GJ/000260
©µ¦ù¥Ó½Ð¤é´Á¡G2008/10/24
©µ¦ù§å¥Ü¤é´Á¡G2009/03/12
¥Ó½Ð¤H¡G¨U¥§º¸¡D®Ô§B¦³³d¥ô¤½¥q
°êÄy¡G¬ü°ê
¦í§}/¦a§}¡G201 Tabor Road, Morris Plains, NJ 07950, U.S.A.
¼ÐÃD¡G¥Î©óªvÀøºë¯«¤Àµõ¯gªº¡e1,8¡f萘Ôr¡X2¡Xà¬Ãþ©M¬ÛÃö¤Æ¦Xª«¡C
ºKn¡G¥»µo©ú¯A¤Î³q¦¡¡]1¡^ªº¤Æ¦Xª«¡A¨ä¤¤G¡BA¡BZ¡BQ¡BX¡BY©MR1©MR2¦p¥»»¡©ú®Ñ¤¤©Ò©w¸q¡F¥»µo©úÁÙ¯A¤Î§t¦³³q¦¡¡]1¡^¤Æ¦Xª«ªºÃĪ«²Õ¦Xª«¤Î¨ä¦bªvÀø¤¤¼Ï¯«¸g¨t²Î©M¨ä¥¦»ÙꤤªºÀ³¥Î¡C
¤º¦a¥Ó½Ð¤é¡G2004/08/13
¤º¦a±M§Q¸¹¡G200480024150.0
¤º¦a¤½¶}¤é¡G2006/09/27
¤º¦a¤½§i¤é¡G2008/10/01
¤º¦a¤½§i¸¹¡GCN 100422181C
¤ÀÃþ¡GC07D471/04, C07D498/04, A61K31/4375, A61K31/519, A61K31/5365, A61P25/18
| µo©ú¤H¡G | J¡D§J©Ô§J |
| ¡@ | J¡DÀ¹ºû´µ |
| ¡@ | D¡Dµá¥± |
| ¡@ | L¡D¶O |
| ¡@ | L¡D¥±Äõ§JªL |
| ¡@ | K¡Dº~¥§¤à |
| ¡@ | D¡D¬ù¿«»¹ |
| ¡@ | B¡D¥§¤Áº¸´Ë |
| ¡@ | ¼Ú¥ß¤½ |
| ¡@ | J¡DT¡D¹p¬£®¦ |
| ¡@ | M¡D¨Uº¸¯S´µ |
| ¡@ | A¡DD¡DÃh¯S |
| ¡@ | ¦¶§Ó°· |
Àu¥ýÅv¤é´Á¡G2003/08/22
Àu¥ýÅv°ê®a/¦a°Ï¡G¬ü°ê
Àu¥ýÅv½s¸¹¡G60/497,370
ªþ¹Ï

½s¸¹¡GJ/000263
©µ¦ù¥Ó½Ð¤é´Á¡G2008/11/04
©µ¦ù§å¥Ü¤é´Á¡G2009/03/12
¥Ó½Ð¤H¡Gªü´µ¯S©Ô´¿¥§¥d¦³¤½¥q
°êÄy¡G·ç¨å
¦í§}/¦a§}¡GSE-151, 85 Soedertaeje, Sweden
¼ÐÃD¡Gªü¨º¦±Ðü¦b»s³Æ¥Î©óªvÀø±w¦³¦´Á¨Å¸¢Àùªºµ´¸g«áªº°ü¤kªºÃĪ«¤è±ªº¥Î³~¡C
ºKn¡G¥»µo©ú´£¨Ñ¤Fªü¨º¦±Ðü©Î¨äÃľǤW¥i±µ¨üªºÆQ¦b»s³Æ¥Î©ó°§C±w¦³¦´Á¨Å¸¢Àùªº°ü¤kªºÀù¯g´_µo²vªºÃĪ«¤¤ªºÀ³¥Î¡C¥»µo©úÁÙ´£¨Ñ¤Fªü¨º¦±Ðü©Î¨äÃľǤW¥i±µ¨üªºÆQ¦b»s³Æ¥Î©ó°§C±w¦³¦´Á¨Å¸¢Àùªºµ´¸g«á°ü¤kªº·s¥Í¹ï°¼ìµo©Ê¸~½Fªºµo¯f²vªºÃĪ«¤¤ªºÀ³¥Î¡C
¤º¦a¥Ó½Ð¤é¡G2002/12/06
¤º¦a±M§Q¸¹¡G02824544.X
¤º¦a¤½¶}¤é¡G2005/06/22
¤º¦a¤½§i¤é¡G2008/08/06
¤º¦a¤½§i¸¹¡GCN 100408036C
¤ÀÃþ¡GA61K31/4196, A61P35/00
| µo©ú¤H¡G | P¡D´¶Ã¹º¸¼w |
| ¡@ | A¡DùªN´µ |
| ¡@ | B¡D¨U´µ |
| ¡@ | M¡D§ù§J´µ |
Àu¥ýÅv¤é´Á¡G2001/12/10
Àu¥ýÅv°ê®a/¦a°Ï¡G^°ê
Àu¥ýÅv½s¸¹¡G0129457.8
½s¸¹¡GJ/000268
©µ¦ù¥Ó½Ð¤é´Á¡G2008/11/21
©µ¦ù§å¥Ü¤é´Á¡G2009/03/12
¥Ó½Ð¤H¡Gªü¾|µ¦®è¦¡·|ªÀ
°êÄy¡G¤é¥»
¦í§}/¦a§}¡G¤é¥»°êªF¨Ê³£¦¿ªF°Ï¦³©ú3¤B¥Ø1µf¦a25
¼ÐÃD¡G¥Î©ó¹CÀ¸¾÷ªº¹q°Ê¾÷°±¤î±±¨î¸Ë¸m¤Î±a¦³¸Ó¸Ë¸mªº¹CÀ¸¾÷¡C
ºKn¡G¦b¹CÀ¸¾÷¤¤¡A·íÅX°Ê¹q°Ê¾÷ªº¹q°Ê¾÷ÅX°Ê«ü¥O®Ú¾Ú¨Ó¦Û¥~³¡ªº«ü¥O²£¥Í®É¡A¤@ÓùÚ©wªº¹qÀ£³Q¬I¥[¨ì¹q°Ê¾÷¤W¡A¨Ã¥B¸Ó¹q°Ê¾÷³q¹L¹q°Ê¾÷ÅX°Ê¹q¸ô¡]39¡^³QÅX°Ê¡C¦Ó¥B·í¹q°Ê¾÷¤¤¬y°ÊªºÀyºÏ¹q¬y®Ú¾Ú³q¹L¹q°Ê¾÷ÅX°Ê¹q¸ô¡]39¡^¬I¥[¨ì¹q°Ê¾÷¤WªºùÚ©wªº¹qÀ£¦¨¬°²Ä¤@¹q¬yȮɡA±a¦³³q¹q®É¶¡©MÂ_¹q®É¶¡ªº¹qÀ£³q¹L¹q°Ê¾÷ÅX°Ê¹q¸ô¡]39¡^³Q¤Ï´_¬I¥[¨ì¹q°Ê¾÷¤W¡C¦¹¥~¡A·í¹q°Ê¾÷ªº±ÛÂà³t«×®Ú¾Ú³q¹L¹q°Ê¾÷ÅX°Ê¹q¸ô¡]39¡^¬I¥[ªº±a¦³³q¹q®É¶¡©MÂ_¹q®É¶¡ªº¹qÀ£Åܬ°ùÚ©w®É¡AùÚ©wªº¹qÀ£®Ú¾Ú¹q°Ê¾÷°±¤î«ü¥O³q¹L¹q°Ê¾÷ÅX°Ê¹q¸ô¡]39¡^¬I¥[¨ì¹q°Ê¾÷¤W¡A¥Ñ¦¹°±¤î¹q°Ê¾÷¡C
¤º¦a¥Ó½Ð¤é¡G2004/11/17
¤º¦a±M§Q¸¹¡G200410097438.2
¤º¦a¤½¶}¤é¡G2005/05/25
¤º¦a¤½§i¤é¡G2008/09/24
¤º¦a¤½§i¸¹¡GCN 100420499C
¤ÀÃþ¡GA63F5/04, H02P3/06
µo©ú¤H¡G¹a¤ì¶¯¤@¦
Àu¥ýÅv¤é´Á¡G2003/11/21
Àu¥ýÅv°ê®a/¦a°Ï¡G¤é¥»
Àu¥ýÅv½s¸¹¡G2003-392452
ªþ¹Ï

½s¸¹¡GJ/000269
©µ¦ù¥Ó½Ð¤é´Á¡G2008/11/24
©µ¦ù§å¥Ü¤é´Á¡G2009/03/12
¥Ó½Ð¤H¡Gªü´µ§Q±d¡]·ç¨å¡^¦³¤½¥q
°êÄy¡G·ç¨å
¦í§}/¦a§}¡GSE-151, 85 Soedertalje, Sweden
¼ÐÃD¡Gf¦}«}Ðül¥Íª«¡C
ºKn¡G¥»µo©ú¯A¤Î·sªº¦¡¡]I¡^¤Æ¦Xª«¡A¨ä¤¤R1¦ÜR9¦p¦¡I¤¤©Ò©w¸q¡A©Î¨äÆQ¡B·»¾¯¦Xª«©Î·»¾¯¤ÆÆQ¡A¥¦Ìªº»s³Æ¤èªk¥H¤Î¯A¤Î¥Î©ó»s³Æ¥¦Ìªº·sªº¤¤¶¡Åé¡A§t¦³©Òz¤Æ¦Xª«ªºÃĪ«»s¾¯¥H¤Î¯A¤Î©Òz¤Æ¦Xª«¦bªvÀø¤¤ªº¥Î³~¡C
¤º¦a¥Ó½Ð¤é¡G2004/05/13
¤º¦a±M§Q¸¹¡G200480012619.9
¤º¦a¤½¶}¤é¡G2006/06/07
¤º¦a¤½§i¤é¡G2008/08/27
¤º¦a¤½§i¸¹¡GCN 100413849C
¤ÀÃþ¡GC07D235/08, C07D235/30, A61K31/502, A61P29/00
| µo©ú¤H¡G | C¤Ò®æ¥§¡D¨©Áɼw´µ°ò |
| ¡@ | ^®æ¡D§J´µ |
| ¡@ | °¨¤B¡D¥§¬¥¤Ò |
| ¡@ | }}º¸¡Dù¸¦¦è |
| ¡@ | ¦w}´µ¡D´µµÜ¶ð´µ |
| ¡@ | °¨¯ý¡D´µ¤å´Ë |
Àu¥ýÅv¤é´Á¡G2003/05/16
Àu¥ýÅv°ê®a/¦a°Ï¡G·ç¨å
Àu¥ýÅv½s¸¹¡G0301446-1
Àu¥ýÅv¤é´Á¡G2004/01/12
Àu¥ýÅv°ê®a/¦a°Ï¡G·ç¨å
Àu¥ýÅv½s¸¹¡G0400043-6
ªþ¹Ï

½s¸¹¡GJ/000274
©µ¦ù¥Ó½Ð¤é´Á¡G2008/12/16
©µ¦ù§å¥Ü¤é´Á¡G2009/03/12
¥Ó½Ð¤H¡G½÷·ç²£«~¤½¥q
°êÄy¡G¬ü°ê
¦í§}/¦a§}¡GEastern Point Road, Groton, Connecticut 06340, United States of America
¼ÐÃD¡G§@¬°PDE2§í¨î¾¯ªº吡Ôr¦}¡e2,3¡Xd¡fáGÔr¡X2,4¡X¤GÓi¡C
ºKn¡G¥»µo©ú´£¨Ñ¦¡¡]I¡^ªº¤Æ¦Xª«¡A¨ä«eÃĤγo¨Ç¤Æ¦Xª«©Î«eÃĪºÃĪ«¤W¥i±µ¨üªºÆQ¡A¨ä¤¤n¡BX¤ÎY¬O¦p¤å¤¤©Ò©w¸q¡F¨äÃĪ«²Õ¦Xª«¡F¨ä²Õ¦X¡F¤Î¨ä¥Î³~¡C
¤º¦a¥Ó½Ð¤é¡G2004/12/06
¤º¦a±M§Q¸¹¡G200480037674.3
¤º¦a¤½¶}¤é¡G2007/01/10
¤º¦a¤½§i¤é¡G2008/12/03
¤º¦a¤½§i¸¹¡GCN 100439366C
¤ÀÃþ¡GC07D471/04, A61K31/519, A61P15/00, A61P19/10, A61P9/06, A61P35/00
| µo©ú¤H¡G | T¡DA¡D¨©º¸ |
| ¡@ | R¡DJ¡D¿ú§B´µ |
| ¡@ | K¡DªL |
| ¡@ | §õª´ |
| ¡@ | A¡DI¡D¼¯·çº¸ |
| ¡@ | D¡DD¡D´ö´¶´Ë |
Àu¥ýÅv¤é´Á¡G2003/12/16
Àu¥ýÅv°ê®a/¦a°Ï¡G¬ü°ê
Àu¥ýÅv½s¸¹¡G60/529,994
ªþ¹Ï

½s¸¹¡GJ/000275
©µ¦ù¥Ó½Ð¤é´Á¡G2008/12/16
©µ¦ù§å¥Ü¤é´Á¡G2009/03/12
¥Ó½Ð¤H¡G½÷·ç¤jÃļt
°êÄy¡G¬ü°ê
¦í§}/¦a§}¡G235 East 42nd Street, New York, NY 10017-5755, U.S.A.
¼ÐÃD¡G¥i¥Î©óªvÀø°ª¦åÀ£ªº5,7¡X¤G®ò°ò吡Ðü¦}¡e4,3¡Xd¡fáGÔr¡C
ºKn¡G¥»µo©ú¯A¤Î¦¡¡]I¡^¤Æ¦Xª«¡C
¤º¦a¥Ó½Ð¤é¡G2004/04/22
¤º¦a±M§Q¸¹¡G200480011467.0
¤º¦a¤½¶}¤é¡G2006/05/31
¤º¦a¤½§i¤é¡G2008/12/03
¤º¦a¤½§i¸¹¡GCN 100439371C
¤ÀÃþ¡GC07D487/04, A61K31/505, A61K31/519
| µo©ú¤H¡G | A¡DS¡D¨©º¸ |
| ¡@ | D¡DG¡D¥¬®Ô |
| ¡@ | D¡DN¡DA¡DºÖ§J´µ |
| ¡@ | I¡DR¡D°¨¤° |
| ¡@ | A¡DI¡D²ö¹pº¸ |
| ¡@ | M¡DJ¡D©¬º¸Àq |
| ¡@ | C¡DA¡D·Å´µ¬¥ |
Àu¥ýÅv¤é´Á¡G2003/04/29
Àu¥ýÅv°ê®a/¦a°Ï¡G^°ê
Àu¥ýÅv½s¸¹¡G0309780.5
Àu¥ýÅv¤é´Á¡G2003/11/28
Àu¥ýÅv°ê®a/¦a°Ï¡G^°ê
Àu¥ýÅv½s¸¹¡G0327748.0
ªþ¹Ï

½s¸¹¡GJ/000276
©µ¦ù¥Ó½Ð¤é´Á¡G2008/12/16
©µ¦ù§å¥Ü¤é´Á¡G2009/03/12
¥Ó½Ð¤H¡Gªkº¿¦è¶®¤Ì´¶¬ù¿«¬ü°ê¤½¥q
°êÄy¡G¬ü°ê
¦í§}/¦a§}¡G301 Henrietta Street, Kalamazoo, Michigan 49007, U.S.A.
¼ÐÃD¡G¥]¬AN¡X¡e2¡X¡]¤G¤A®ò°ò ¡^¤A°ò¡f¡X5¡X¡e¡]5¡X¬t¡X2¡X®ñ¥N¡X3H¡X吲哚¡X3¡X¨È°ò¡^¥Ò°ò¡f¡X2,4¡X¤G¥Ò°ò¡X1H¡X吡«£¡X3¡X¥ÒñQÓiªºÄ«ªG»ÄÆQªº´¹Åé¡B¨ä»s³Æ¤èªk©M¨ä²Õ¦Xª«¡C
ºKn¡G¥»µo©ú´£¨Ñ´¹Åé¤Î¨ä²Õ¦Xª«¡A¨ä¤¤¸Ó´¹Åé¥]¬AN¡X¡e2¡X¡]¤G¤A®ò°ò¡^¤A°ò¡f¡X5¡X¡e¡]5¡X¬t¡X1¡A2¡X¤G²B¡X2¡X®ñ¥N¡X3H¡X吲哚¡X3¡X¨È°ò¡^¥Ò°ò¡f¡X2¡A4¡X¤G¥Ò°ò¡X1H¡X吡 «£¡X3¡X¥Ò酰ÓiªºÄ«ªG»ÄÆQ¡CÁÙ¤½¶}¤F»s³Æ³oÃþ´¹Å骺¤èªk¡C
¤º¦a¥Ó½Ð¤é¡G2002/08/13
¤º¦a±M§Q¸¹¡G02815892.X
¤º¦a¤½¶}¤é¡G2004/11/03
¤º¦a¤½§i¤é¡G2008/12/03
¤º¦a¤½§i¸¹¡GCN 100439360C
¤ÀÃþ¡GC07D403/06
| µo©ú¤H¡G | M¡DÀN§Q |
| ¡@ | T¡DJ¡D¥±µÜ§J |
| ¡@ | S¡DP¡D´¶¹p´µ¬ì¯S |
| ¡@ | M¡DT¡D°¨¬¥¥§ |
Àu¥ýÅv¤é´Á¡G2001/08/15
Àu¥ýÅv°ê®a/¦a°Ï¡G¬ü°ê
Àu¥ýÅv½s¸¹¡G60/312,353
½s¸¹¡GJ/000277
©µ¦ù¥Ó½Ð¤é´Á¡G2008/12/17
©µ¦ù§å¥Ü¤é´Á¡G2009/03/12
¥Ó½Ð¤H¡G¨L±Ó
°êÄy¡G¤¤°ê
¦í§}/¦a§}¡G¤¤°ê®ý¦¿¬ÙªC¦{¥«¿½¤s°Ï¨|¤~¥_¸ô728¸¹®ý¦¿¿½¤sÂå°|ÀËÅç¬ì
¼ÐÃD¡G§tÁpfÂù઺ªvÀø¨xª¢ÃĪ«¡C
ºKn¡G¤½¶}¤F§t¦³ÁpfÂùà©M¤¤ÃÄ´£¨úª«ªº¨ó¦PÃĥβզXª«¡A¥H¤Î¸Ó²Õ¦Xª«¦b»s³Æ»²§UªvÀø¨xª¢ªºÃĪ«¤¤ªºÀ³¥Î¡C
¤º¦a¥Ó½Ð¤é¡G2006/08/17
¤º¦a±M§Q¸¹¡G200610109487.2
¤º¦a¤½¶}¤é¡G2007/02/07
¤º¦a¤½§i¤é¡G2008/11/19
¤º¦a¤½§i¸¹¡GCN 100434096C
¤ÀÃþ¡GA61K36/73, A61K36/71, A61K36/539, A61K36/484, A61K36/481, A61K36/286, A61K36/236, A61K36/232, A61K31/36, A61P1/16, A61P31/20
µo©ú¤H¡G¨L±Ó
½s¸¹¡GJ/000278
©µ¦ù¥Ó½Ð¤é´Á¡G2008/12/17
©µ¦ù§å¥Ü¤é´Á¡G2009/03/12
¥Ó½Ð¤H¡G¨L±Ó
°êÄy¡G¤¤°ê
¦í§}/¦a§}¡G¤¤°ê®ý¦¿¬ÙªC¦{¥«¿½¤s°Ï¨|¤~¥_¸ô728¸¹®ý¦¿¿½¤sÂå°|ÀËÅç¬ì
¼ÐÃD¡G§t¦³ÁpfÂù઺ÃĪ«¡C
ºKn¡G¤½¶}¤F§t¦³ÁpfÂùà©M¤¤ÃÄ´£¨úª«ªº¨ó¦PÃĥβզXª«¡A¥H¤Î¸Ó²Õ¦Xª«¦b»s³Æ»²§UªvÀø¨xª¢ªºÃĪ«¤¤ªºÀ³¥Î¡C
¤º¦a¥Ó½Ð¤é¡G2006/08/17
¤º¦a±M§Q¸¹¡G200610109490.4
¤º¦a¤½¶}¤é¡G2007/02/07
¤º¦a¤½§i¤é¡G2008/10/01
¤º¦a¤½§i¸¹¡GCN 100421704C
¤ÀÃþ¡GA61K36/896, A61K36/815, A61K36/74, A61K36/57, A61K36/185, A61K36/076, A61K36/06, A61K35/56, A61K33/06, A61K31/36, A61P1/16, A61P31/20
µo©ú¤H¡G¨L±Ó
½s¸¹¡GJ/000279
©µ¦ù¥Ó½Ð¤é´Á¡G2008/12/17
©µ¦ù§å¥Ü¤é´Á¡G2009/03/12
¥Ó½Ð¤H¡G¨L±Ó
°êÄy¡G¤¤°ê
¦í§}/¦a§}¡G¤¤°ê®ý¦¿¬ÙªC¦{¥«¿½¤s°Ï¨|¤~¥_¸ô728¸¹®ý¦¿¿½¤sÂå°|ÀËÅç¬ì
¼ÐÃD¡G§tÁpfÂù઺¤¤¦èÃIJզXª«¡C
ºKn¡G¤½¶}¤F§t¦³ÁpfÂùà©M¤¤ÃÄ´£¨úª«ªº¨ó¦PÃĥβզXª«¡A¥H¤Î¸Ó²Õ¦Xª«¦b»s³Æ»²§UªvÀø¨xª¢ªºÃĪ«¤¤ªºÀ³¥Î¡C
¤º¦a¥Ó½Ð¤é¡G2006/08/17
¤º¦a±M§Q¸¹¡G200610109488.7
¤º¦a¤½¶}¤é¡G2007/02/07
¤º¦a¤½§i¤é¡G2008/10/01
¤º¦a¤½§i¸¹¡GCN 100421692C
¤ÀÃþ¡GA61K36/744, A61K36/59, A61K31/36, A61P1/16, A61P31/20
µo©ú¤H¡G¨L±Ó
½s¸¹¡GJ/000280
©µ¦ù¥Ó½Ð¤é´Á¡G2008/12/17
©µ¦ù§å¥Ü¤é´Á¡G2009/03/12
¥Ó½Ð¤H¡G³¯¬õ«G
°êÄy¡G¤¤°ê
¦í§}/¦a§}¡G¤¤°ê®ý¦¿¬Ù¸q¯Q¥«¨ª©¤Âí¤W¤K¥Û§ø
¼ÐÃD¡G§t¦³²¸´¶Ã¹¹ç©M¤¤ÃÄ´£¨úª«ªº¨ó¦PÃĥβզXª«¡C
ºKn¡G¤½¶}¤F§t¦³²¸´¶Ã¹¹ç©M¤¤ÃÄ´£¨úª«ªº¨ó¦PÃĥβզXª«¡A¥H¤Î¸Ó²Õ¦Xª«¦b»s³Æ»²§UªvÀø¨xª¢ªºÃĪ«¤¤ªºÀ³¥Î¡C
¤º¦a¥Ó½Ð¤é¡G2006/07/04
¤º¦a±M§Q¸¹¡G200610098509.X
¤º¦a¤½¶}¤é¡G2007/01/24
¤º¦a¤½§i¤é¡G2008/10/01
¤º¦a¤½§i¸¹¡GCN 100421688C
¤ÀÃþ¡GA61K36/71, A61K31/197, A61P1/16, A61P31/20
| µo©ú¤H¡G | J«Ø·ì |
| ¡@ | «Àx |
½s¸¹¡GJ/000281
©µ¦ù¥Ó½Ð¤é´Á¡G2008/12/18
©µ¦ù§å¥Ü¤é´Á¡G2009/03/12
¥Ó½Ð¤H¡G¤W®ü¤Ñ¤h¤OÃÄ·~¦³¤½¥q
°êÄy¡G¤¤°ê
¦í§}/¦a§}¡G¤¤°ê¤W®ü¥«±i¦¿°ª¬ì§Þ¶é°Ï©~¨½¸ô280¸¹
¼ÐÃD¡G§t¬¡©Ê§¿¿E酶쪺²Õ¦Xª«¡B¨äá°®¤èªk¤Îá°®»s¾¯¡C
ºKn¡G¥»µo©ú¯A¤ÎÂåÃÄ»â°ì¡A¨ãÅé¯A¤Î¤@ºØ§t¦³¬¡©Ê§¿¿E酶쪺ÃĪ«²Õ¦Xª«¡B¨äá°®¤èªk¤Îá°®»s¾¯¡C
¤º¦a¥Ó½Ð¤é¡G2004/08/06
¤º¦a±M§Q¸¹¡G200410058006.0
¤º¦a¤½¶}¤é¡G2006/02/08
¤º¦a¤½§i¤é¡G2008/09/24
¤º¦a¤½§i¸¹¡GCN 100420485C
¤ÀÃþ¡GA61K38/49, A61K9/19, A61P7/02, A61P9/10
| µo©ú¤H¡G | «¸¿P |
| ¡@ | JÅK±j |
| ¡@ | ¨v¦¨¯ª |
ªþ¹Ï

½s¸¹¡GJ/000282
©µ¦ù¥Ó½Ð¤é´Á¡G2008/12/19
©µ¦ù§å¥Ü¤é´Á¡G2009/03/12
¥Ó½Ð¤H¡Gªü´µ§Q±d¡]^°ê¡^¦³¤½¥q
°êÄy¡G^°ê
¦í§}/¦a§}¡G15 Stanhope Gate, London, Greater London W1K 1LN, GB
¼ÐÃD¡GùĬ¥ï¥L¥Å¶tÆQªº»s³Æ¤èªk¡C
ºKn¡G´yz¤F§ï¶iªº¡]E¡^¡X7¡X¡e4¡X¡]4¡X¬tf°ò¡^¡X6¡X²§¤þ°ò¡X2¡X¡e¥Ò°ò¡]¥ÒÁD酰°ò¡^®ò°ò¡fáGÔr¡X5¡X°ò¡f¡]3R¡A5S¡^¡X3¡A5¡X¤Gßm°ò©°¡X6¡X²m»Ä¶tÆQ¡]¦¡¡]1¡^¡^ªº»s³Æ¤èªk¡A¸ÓÆQ¥Î©ó¥Í²£¤×¨ä¥Î©óªvÀø°ªÁx©T¾J¦å¯g¡B°ª¯×³J¥Õ¦å¯g©M°Ê¯ßµ°¼Ëµw¤ÆªºÃĪ«¡C
¤º¦a¥Ó½Ð¤é¡G2004/06/03
¤º¦a±M§Q¸¹¡G200480015482.2
¤º¦a¤½¶}¤é¡G2006/07/05
¤º¦a¤½§i¤é¡G2008/10/01
¤º¦a¤½§i¸¹¡GCN 100422157C
¤ÀÃþ¡GC07D239/42
| µo©ú¤H¡G | J¡DN¡D§J©Ô¥¬ |
| ¡@ | J¡DÀNº¸³Õ¨½ |
| ¡@ | N¡DP¡D®õ°Ç |
Àu¥ýÅv¤é´Á¡G2003/06/05
Àu¥ýÅv°ê®a/¦a°Ï¡G^°ê
Àu¥ýÅv½s¸¹¡G0312896.4
Àu¥ýÅv¤é´Á¡G2003/10/24
Àu¥ýÅv°ê®a/¦a°Ï¡G^°ê
Àu¥ýÅv½s¸¹¡G0324793.9
ªþ¹Ï

½s¸¹¡GJ/000286
©µ¦ù¥Ó½Ð¤é´Á¡G2008/12/29
©µ¦ù§å¥Ü¤é´Á¡G2009/03/12
¥Ó½Ð¤H¡G®è¦¡·|ªÀ¤j¶ï»sÃĤu³õ
°êÄy¡G¤é¥»
¦í§}/¦a§}¡G115, Aza Kuguhara, Tateiwa, Muyacho, Naruto-shi, Tokushima 772-8601, Japan
¼ÐÃD¡G³ò³N´Á¦å¿}ȤW¤É§í¨î¾¯¡C
ºKn¡G¥»µo©ú´£¨Ñ¤F³ò³N´Á¦å¿}ȤW¤É§í¨î¾¯¡A¨ä¯S¼x¦b©ó¥]§t¤äÃì®ò°ò»Ä¡B¥i¥HÅ餺ÂàÅܦ¨¤äÃì®ò°ò»Äªº¤Æ¦Xª«¡B©Î±q¤äÃì®ò°ò»ÄÂಾ®ò°òªº¤Æ¦Xª«¡C¸Ó³ò³N´Á¦å¿}ȤW¤É§í¨î¾¯¥i¥Î§@ÃĪ«¡A¸ÓÃĪ«¹ï¬¡Åé¬O¦w¥þªº¡A§í¨î¥Ñ³Â¾K¡B¤â³Nµ¥¤Þ°_ªº¦å¿}Ȫº²§±`¤É°ª¡A¨Ã¥B¹ï³ò³N´Á±wªÌµ¹ÃĮɯà°÷¾A·í±±¨î¦å¿}¡C
¤º¦a¥Ó½Ð¤é¡G2004/02/05
¤º¦a±M§Q¸¹¡G200480003625.8
¤º¦a¤½¶}¤é¡G2006/03/15
¤º¦a¤½§i¤é¡G2008/11/26
¤º¦a¤½§i¸¹¡GCN 100435788C
¤ÀÃþ¡GA61K31/198, A61K38/00, A61P3/10, A61P43/00
| µo©ú¤H¡G | ¤s©£¤@¥ |
| ¡@ | ¤T¥»¹t¬v |
| ¡@ | ¤g©~¶®¤l |
| ¡@ | ºÖ¥Ã¹ý¤] |
| ¡@ | ¤¤¤sº¡¶¯ |
Àu¥ýÅv¤é´Á¡G2003/02/06
Àu¥ýÅv°ê®a/¦a°Ï¡G¤é¥»
Àu¥ýÅv½s¸¹¡G29260/2003
Àu¥ýÅv¤é´Á¡G2003/08/08
Àu¥ýÅv°ê®a/¦a°Ï¡G¤é¥»
Àu¥ýÅv½s¸¹¡G290792/2003
½s¸¹¡GJ/000287
©µ¦ù¥Ó½Ð¤é´Á¡G2008/12/29
©µ¦ù§å¥Ü¤é´Á¡G2009/03/12
¥Ó½Ð¤H¡G«¢º¸¡DC¡D¯Áº¸¯S
°êÄy¡G¬ü°ê
¦í§}/¦a§}¡G10150B Valencia Drive, Seffner, FL 33854, U.S.A.
¼ÐÃD¡G¦bµ¼Ö²Å¸¹©M¾Ç²ß¼Ö¾¹¤¤´£¨Ñ«ü¾Éªº¥æ¤¬¦¡¹CÀ¸¡C
ºKn¡G±Nµ¼ÖÁä½L¡]150¡^³s±µ¨ìpºâ¾÷¡]100¡^¡Cpºâ¾÷¡]100¡^¹ê²{¹Ï§Î¥Î¤á±µ¤f¡]350¡^¡A¥H¥Î©ó±Ð¾É¥Î¤á¼u«µ¼Ö¾¹¡]150¡^¡C¨Ï¥Î¨Ò¦pMIDI¤å¥ó¡]400¡^ªºpºâ¾÷¥iŪµ¼Ö¤å¥ó¨ÓÅX°Ê¹CÀ¸¥Ø¼Ðªº³Ð«Ø¡A¸Ó¹CÀ¸¥Ø¼Ð¥Ñ°_©lÂIªu´Â¦VµêÀÀÁä½L¡]200i¡^Á䪺¸ô®|¦æ¶i¡C¦b¤@ºØ§Î¦¡¤¤¡A·í¥Î¤á¦b¹CÀ¸¥Ø¼Ð¨ì¹FµêÀÀÁä½L¡]200i¡^¹ïÀ³Á䪺¬Y¬q®É¶¡µ¡¤f¤º«ö¤Uµ¼ÖÁä½L¡]150¡^ªºÁä®É¡A±N¥ÎµÀWªí²{¡BµøÀWªí²{©M/©Î¹CÀ¸ÂI¼Æ¨Ó¼úÀy¥Î¤á¡C¦b¤@ӧ󦳲Õ´ªº¾Ç²ß¼Ò¦¡¤¤¡A¥i¥Î¥Î¤á¦b³q¦Vºë³qªº¹D¸ô¤W´x´¤ªº¦³¿ï¾Ü©Ê¡Bº¥¶iªº¡BÃø«×§ó¤jªº¬D¾Ô¨Ó¼u«µ¹CÀ¸¡C
¤º¦a¥Ó½Ð¤é¡G2002/10/18
¤º¦a±M§Q¸¹¡G02820835.8
¤º¦a¤½¶}¤é¡G2005/01/26
¤º¦a¤½§i¤é¡G2008/11/26
¤º¦a¤½§i¸¹¡GCN 100437662C
¤ÀÃþ¡GG09B15/00
µo©ú¤H¡G«¢º¸¡DC¡D¯Áº¸¯S
Àu¥ýÅv¤é´Á¡G2001/10/20
Àu¥ýÅv°ê®a/¦a°Ï¡G¬ü°ê
Àu¥ýÅv½s¸¹¡G60/347,554
ªþ¹Ï

½s¸¹¡GJ/000293
©µ¦ù¥Ó½Ð¤é´Á¡G2009/01/05
©µ¦ù§å¥Ü¤é´Á¡G2009/03/12
¥Ó½Ð¤H¡GÀq§J¤½¥q
°êÄy¡G¬ü°ê
¦í§}/¦a§}¡G126 East Lincoln Avenue, Rahway, NJ, U.S.A.
¼ÐÃD¡G¤G肽°ò肽酶¡XIV§í¨î¾¯ªºÁC»ÄÆQ¡C
ºKn¡G4¡X®ñ¥N¡X4¡X¡e3¡X¡]¤T¬t¥Ò°ò¡^¡X5¡A6¡X¤G²B¡e1¡A2¡A4¡f¤TÐü¦}¡e4¡A3¡Xa¡f吡嗪¡X7¡]8H¡^°ò¡f¡X1¡X¡]2¡A4¡A5¡X¤T¬tf°ò¡^¤BÖJ¡X2¡XÓiªº¤G²BÁC»ÄÆQ¬O¤@ºØ¦³®Äªº¤G 肽°ò肽酶¡XIV§í¨î¾¯¡A¨Ã¥B¨ã¦³¹w¨¾©M¡þ©ÎªvÀø«D¯Ø®q¯À¨Ì¿à«¬¿}§¿¯f¡]¤]ºÙ¬°II«¬¿}§¿¯f¡^ªº¥Î³~¡C¥»µo©úÁÙ¯A¤Î¸Ó¤G²BÁC»ÄÆQªºµ²´¹³æ¤ô¦Xª«¡A¥H¤Î¥¦ªº»s³Æ¤èªk¡B¥]§t¦¹·s§Î¦¡ªºÃĪ«²Õ¦Xª«©M¥Î©óªvÀø¿}§¿¯f¡BªÎD¯g©M°ª¦åÀ£ªº¤èªk¡C
¤º¦a¥Ó½Ð¤é¡G2004/06/18
¤º¦a±M§Q¸¹¡G200480017544.3
¤º¦a¤½¶}¤é¡G2006/09/13
¤º¦a¤½§i¤é¡G2008/11/05
¤º¦a¤½§i¸¹¡GCN 100430397C
¤ÀÃþ¡GC07D487/04, A61K31/4985, A61P3/10
| µo©ú¤H¡G | S¡DH¡D¦è´¶´µ |
| ¡@ | ³¯±ÓµØ |
| ¡@ | R¡DR¡D¶Oº¸§Q¶ð |
| ¡@ | K¡Dº~´Ë |
| ¡@ | I¡D§õ |
| ¡@ | V¡DK¡Dºû¼w©Ô |
| ¡@ | R¡DM¡D¤p·Å´µÃ¹ |
Àu¥ýÅv¤é´Á¡G2003/06/24
Àu¥ýÅv°ê®a/¦a°Ï¡G¬ü°ê
Àu¥ýÅv½s¸¹¡G60/482,161
根據經十二月十三日第97/99/M號法令核准之《 工業產權法律制度》第十條第一款d)項、第二款及第二百七十五條至第二百七十七條之規定,可於本公佈日起計一個月期限內就下列批示向初級法院提起上訴。
商標之保護
批給
| 程序編號 | 註冊日期 | 批示日期 | 註冊權利人之名稱 | 所屬國/地區 | 分類 |
| N/024314 | 2009/03/26 | 2009/03/26 | Project Orbis International, Inc. | US | 16 |
| N/024323 | 2009/03/26 | 2009/03/26 | Project Orbis International, Inc. | US | 16 |
| N/024332 | 2009/03/26 | 2009/03/26 | Project Orbis International, Inc. | US | 16 |
| N/032219 | 2009/03/26 | 2009/03/26 | Dopod Corporation | KY | 09 |
| N/032220 | 2009/03/26 | 2009/03/26 | Dopod Corporation | KY | 38 |
| N/032221 | 2009/03/26 | 2009/03/26 | Dopod Corporation | KY | 09 |
| N/032222 | 2009/03/26 | 2009/03/26 | Dopod Corporation | KY | 38 |
| N/032701 | 2009/03/26 | 2009/03/26 | Jumeirah International LLC | AE | 36 |
| N/033120 | 2009/03/26 | 2009/03/26 | Matsushita Electric Industrial Co., Ltd. | JP | 07 |
| N/033121 | 2009/03/26 | 2009/03/26 | Matsushita Electric Industrial Co., Ltd. | JP | 09 |
| N/033122 | 2009/03/26 | 2009/03/26 | Matsushita Electric Industrial Co., Ltd. | JP | 11 |
| 1 N/033646 | 2009/03/26 | 2009/03/26 | Edipresse Hong Kong Limited | HK | 16 |
| 1 N/033647 | 2009/03/26 | 2009/03/26 | Edipresse Hong Kong Limited | HK | 41 |
| N/033829 | 2009/03/26 | 2009/03/26 | The Saul Zaentz Company | US | 30 |
| N/034195 | 2009/03/26 | 2009/03/26 | Cosimo GUCCI LUDOLF | IT | 18 |
| N/034196 | 2009/03/26 | 2009/03/26 | Cosimo GUCCI LUDOLF | IT | 25 |
| N/035391 | 2009/03/26 | 2009/03/26 | IGT | US | 09 |
| N/035503 | 2009/03/26 | 2009/03/26 | 富麗華國際酒店管理有限公司 Furama Hotels International Management Pte Ltd |
SG | 43 |
| N/036234 | 2009/03/26 | 2009/03/26 | Dinis Manuel Madaleno Rodrigues | PT | 42 |
| N/036392 | 2009/03/26 | 2009/03/26 | KABUSHIKI KAISHA YAKULT HONSHA | JP | 29 |
| N/036393 | 2009/03/26 | 2009/03/26 | KABUSHIKI KAISHA YAKULT HONSHA | JP | 30 |
| N/036394 | 2009/03/26 | 2009/03/26 | KABUSHIKI KAISHA YAKULT HONSHA | JP | 32 |
| 2 N/037013 | 2009/03/26 | 2009/03/26 | BONJOUR COSMETIC (OVERSEAS) LIMITED | HK | 44 |
| N/037115 | 2009/03/26 | 2009/03/26 | PHILIP MORRIS PRODUCTS S.A. | CH | 34 |
| N/037174 | 2009/03/26 | 2009/03/26 | Exclusive Brands Limited | IM | 14 |
| N/037175 | 2009/03/26 | 2009/03/26 | Exclusive Brands Limited | IM | 35 |
| N/037184 | 2009/03/26 | 2009/03/26 | SOCIETE JAS HENNESSY & CO | FR | 33 |
| N/037185 | 2009/03/26 | 2009/03/26 | SOCIETE JAS HENNESSY & CO | FR | 33 |
| 3 N/037716 | 2009/03/26 | 2009/03/26 | Magneti Marelli Sistemas Automotivos Indústria e Comércio Ltda. | BR | 07 |
| 3 N/037717 | 2009/03/26 | 2009/03/26 | Magneti Marelli Sistemas Automotivos Indústria e Comércio Ltda. | BR | 12 |
| N/038036 | 2009/03/26 | 2009/03/26 | 中國全球紙業集團控股有限公司 | HK | 07 |
| N/038037 | 2009/03/26 | 2009/03/26 | 中國全球紙業集團控股有限公司 | HK | 16 |
| N/038038 | 2009/03/26 | 2009/03/26 | 中國全球紙業集團控股有限公司 | HK | 40 |
| N/038100 | 2009/03/26 | 2009/03/26 | Cho Heng Rice Vermicelli Factory Co., Ltd. | TH | 30 |
| N/038171 | 2009/03/26 | 2009/03/26 | 衍生行有限公司 | HK | 05 |
| N/038172 | 2009/03/26 | 2009/03/26 | 衍生行有限公司 | HK | 30 |
| N/038175 | 2009/03/26 | 2009/03/26 | 衍生行有限公司 | HK | 05 |
| N/038176 | 2009/03/26 | 2009/03/26 | 衍生行有限公司 | HK | 30 |
| N/038177 | 2009/03/26 | 2009/03/26 | 衍生行有限公司 | HK | 05 |
| N/038178 | 2009/03/26 | 2009/03/26 | 衍生行有限公司 | HK | 30 |
| N/038179 | 2009/03/26 | 2009/03/26 | 衍生行有限公司 | HK | 05 |
| N/038180 | 2009/03/26 | 2009/03/26 | 衍生行有限公司 | HK | 30 |
| N/038181 | 2009/03/26 | 2009/03/26 | 衍生行有限公司 | HK | 03 |
| N/038182 | 2009/03/26 | 2009/03/26 | 衍生行有限公司 | HK | 05 |
| N/038183 | 2009/03/26 | 2009/03/26 | 衍生行有限公司 | HK | 03 |
| N/038184 | 2009/03/26 | 2009/03/26 | 衍生行有限公司 | HK | 05 |
| N/038214 | 2009/03/26 | 2009/03/26 | 衍生行有限公司 | HK | 05 |
| N/038215 | 2009/03/26 | 2009/03/26 | 衍生行有限公司 | HK | 30 |
| N/038216 | 2009/03/26 | 2009/03/26 | 衍生行有限公司 | HK | 35 |
| N/038231 | 2009/03/26 | 2009/03/26 | WMS Gaming Inc. | US | 41 |
| 4 N/038544 | 2009/03/26 | 2009/03/26 | Nioxin Research Laboratories, Inc. | US | 03 |
| 5 N/038572 | 2009/03/26 | 2009/03/26 | Galaxy Entertainment Licensing Limited | VG | 39 |
| 5 N/038573 | 2009/03/26 | 2009/03/26 | Galaxy Entertainment Licensing Limited | VG | 41 |
| 5 N/038574 | 2009/03/26 | 2009/03/26 | Galaxy Entertainment Licensing Limited | VG | 43 |
| 5 N/038575 | 2009/03/26 | 2009/03/26 | Galaxy Entertainment Licensing Limited | VG | 44 |
| 6 N/038576 | 2009/03/26 | 2009/03/26 | Galaxy Entertainment Licensing Limited | VG | 39 |
| 6 N/038577 | 2009/03/26 | 2009/03/26 | Galaxy Entertainment Licensing Limited | VG | 41 |
| 6 N/038578 | 2009/03/26 | 2009/03/26 | Galaxy Entertainment Licensing Limited | VG | 43 |
| 6 N/038579 | 2009/03/26 | 2009/03/26 | Galaxy Entertainment Licensing Limited | VG | 44 |
| N/038616 | 2009/03/26 | 2009/03/26 | 吳樂毅 NG Lok Ngai |
MO | 05 |
| N/038769 | 2009/03/26 | 2009/03/26 | Vitasoy International Holdings Limited | HK | 29 |
| N/038770 | 2009/03/26 | 2009/03/26 | Vitasoy International Holdings Limited | HK | 32 |
| N/038771 | 2009/03/26 | 2009/03/26 | Vitasoy International Holdings Limited | HK | 29 |
| N/038772 | 2009/03/26 | 2009/03/26 | Vitasoy International Holdings Limited | HK | 32 |
| N/038773 | 2009/03/26 | 2009/03/26 | Vitasoy International Holdings Limited | HK | 29 |
| N/038774 | 2009/03/26 | 2009/03/26 | Vitasoy International Holdings Limited | HK | 32 |
| N/038775 | 2009/03/26 | 2009/03/26 | Vitasoy International Holdings Limited | HK | 29 |
| N/038776 | 2009/03/26 | 2009/03/26 | Vitasoy International Holdings Limited | HK | 32 |
| N/038792 | 2009/03/26 | 2009/03/26 | ALEXANDRE DE PARIS INTERNATIONAL | BE | 03 |
| N/038793 | 2009/03/26 | 2009/03/26 | ALEXANDRE DE PARIS INTERNATIONAL | BE | 09 |
| N/038794 | 2009/03/26 | 2009/03/26 | ALEXANDRE DE PARIS INTERNATIONAL | BE | 18 |
| N/038795 | 2009/03/26 | 2009/03/26 | ALEXANDRE DE PARIS INTERNATIONAL | BE | 21 |
| N/038796 | 2009/03/26 | 2009/03/26 | ALEXANDRE DE PARIS INTERNATIONAL | BE | 26 |
| N/038797 | 2009/03/26 | 2009/03/26 | ALEXANDRE DE PARIS INTERNATIONAL | BE | 44 |
| N/038799 | 2009/03/26 | 2009/03/26 | Evonik Fibres GmbH | AT | 01 |
| N/038800 | 2009/03/26 | 2009/03/26 | Evonik Fibres GmbH | AT | 17 |
| N/038801 | 2009/03/26 | 2009/03/26 | Evonik Fibres GmbH | AT | 22 |
| N/038802 | 2009/03/26 | 2009/03/26 | Evonik Fibres GmbH | AT | 23 |
| N/038804 | 2009/03/26 | 2009/03/26 | 和園國際集團有限公司 WAEN International Ltd |
HK | 43 |
| N/038805 | 2009/03/26 | 2009/03/26 | 和園國際集團有限公司 WAEN International Ltd |
HK | 43 |
| N/038806 | 2009/03/26 | 2009/03/26 | 和園國際集團有限公司 WAEN International Ltd |
HK | 43 |
| N/038807 | 2009/03/26 | 2009/03/26 | 和園國際集團有限公司 WAEN International Ltd |
HK | 43 |
| 7 N/038811 | 2009/03/26 | 2009/03/26 | Metro Broadcast Corporation Limited | HK | 38 |
| 8 N/038812 | 2009/03/26 | 2009/03/26 | Metro Broadcast Corporation Limited | HK | 36 |
| 8 N/038813 | 2009/03/26 | 2009/03/26 | Metro Broadcast Corporation Limited | HK | 41 |
| N/038814 | 2009/03/26 | 2009/03/26 | Metro Broadcast Corporation Limited | HK | 16 |
| N/038815 | 2009/03/26 | 2009/03/26 | Metro Broadcast Corporation Limited | HK | 35 |
| 9 N/038816 | 2009/03/26 | 2009/03/26 | Metro Broadcast Corporation Limited | HK | 36 |
| 10 N/038817 | 2009/03/26 | 2009/03/26 | Metro Broadcast Corporation Limited | HK | 38 |
| 9 N/038818 | 2009/03/26 | 2009/03/26 | Metro Broadcast Corporation Limited | HK | 41 |
| N/038824 | 2009/03/26 | 2009/03/26 | De Beers Centenary AG | CH | 09 |
| N/038825 | 2009/03/26 | 2009/03/26 | De Beers Centenary AG | CH | 37 |
| N/038826 | 2009/03/26 | 2009/03/26 | De Beers Centenary AG | CH | 40 |
| N/038827 | 2009/03/26 | 2009/03/26 | De Beers Centenary AG | CH | 41 |
| N/038828 | 2009/03/26 | 2009/03/26 | De Beers Centenary AG | CH | 42 |
| N/038849 | 2009/03/26 | 2009/03/26 | Regal Ware, Inc. | US | 08 |
| N/038850 | 2009/03/26 | 2009/03/26 | Regal Ware, Inc. | US | 11 |
| N/038851 | 2009/03/26 | 2009/03/26 | Regal Ware, Inc. | US | 21 |
| N/038870 | 2009/03/26 | 2009/03/26 | SAFILO - Società Azionaria Fabbrica Italiana Lavorazione Occhiali S.p.A. | IT | 35 |
| N/038871 | 2009/03/26 | 2009/03/26 | SAFILO - Società Azionaria Fabbrica Italiana Lavorazione Occhiali S.p.A. | IT | 44 |
| N/038877 | 2009/03/26 | 2009/03/26 | 金鎮錫 KIM, Jin-Seok |
KR | 43 |
| N/038882 | 2009/03/26 | 2009/03/26 | PHILIP MORRIS PRODUCTS S.A. | CH | 34 |
| N/038935 | 2009/03/26 | 2009/03/26 | Double Eagle Brands 2 N.V. | AN | 33 |
| N/038936 | 2009/03/26 | 2009/03/26 | Erbaviva LLC | US | 03 |
| N/038961 | 2009/03/26 | 2009/03/26 | Loro Piana S.p.A. | IT | 24 |
| N/038962 | 2009/03/26 | 2009/03/26 | Loro Piana S.p.A. | IT | 25 |
| N/038963 | 2009/03/26 | 2009/03/26 | Loro Piana S.p.A. | IT | 27 |
| N/038982 | 2009/03/26 | 2009/03/26 | Tequila Don Julio, S.A. de C.V. | MX | 33 |
| N/038983 | 2009/03/26 | 2009/03/26 | Tequila Don Julio, S.A. de C.V. | MX | 33 |
| N/038984 | 2009/03/26 | 2009/03/26 | Tequila Don Julio, S.A. de C.V. | MX | 33 |
| N/038985 | 2009/03/26 | 2009/03/26 | Diane von Furstenberg Studio | US | 14 |
| N/038986 | 2009/03/26 | 2009/03/26 | Diane von Furstenberg Studio | US | 18 |
| N/038987 | 2009/03/26 | 2009/03/26 | Diane von Furstenberg Studio | US | 24 |
| N/038988 | 2009/03/26 | 2009/03/26 | Diane von Furstenberg Studio | US | 25 |
| N/038989 | 2009/03/26 | 2009/03/26 | Diane von Furstenberg Studio | US | 35 |
| N/038990 | 2009/03/26 | 2009/03/26 | Diane von Furstenberg Studio | US | 25 |
| N/038991 | 2009/03/26 | 2009/03/26 | Diane von Furstenberg Studio | US | 35 |
| N/038998 | 2009/03/26 | 2009/03/26 | The Basketball Marketing Company, Inc. | US | 09 |
| N/038999 | 2009/03/26 | 2009/03/26 | The Basketball Marketing Company, Inc. | US | 14 |
| N/039000 | 2009/03/26 | 2009/03/26 | The Basketball Marketing Company, Inc. | US | 18 |
| N/039001 | 2009/03/26 | 2009/03/26 | The Basketball Marketing Company, Inc. | US | 25 |
| N/039002 | 2009/03/26 | 2009/03/26 | The Basketball Marketing Company, Inc. | US | 28 |
| N/039003 | 2009/03/26 | 2009/03/26 | The Basketball Marketing Company, Inc. | US | 41 |
| N/039004 | 2009/03/26 | 2009/03/26 | The Basketball Marketing Company, Inc. | US | 09 |
| N/039005 | 2009/03/26 | 2009/03/26 | The Basketball Marketing Company, Inc. | US | 14 |
| N/039006 | 2009/03/26 | 2009/03/26 | The Basketball Marketing Company, Inc. | US | 18 |
| N/039007 | 2009/03/26 | 2009/03/26 | The Basketball Marketing Company, Inc. | US | 25 |
| N/039008 | 2009/03/26 | 2009/03/26 | The Basketball Marketing Company, Inc. | US | 28 |
| N/039009 | 2009/03/26 | 2009/03/26 | The Basketball Marketing Company, Inc. | US | 41 |
| N/039012 | 2009/03/26 | 2009/03/26 | 霍尼韋爾國際公司 Honeywell International Inc. |
US | 09 |
| 11 N/039013 | 2009/03/26 | 2009/03/26 | Tie Rack Trading Limited | GB | 14 |
| 11 N/039014 | 2009/03/26 | 2009/03/26 | Tie Rack Trading Limited | GB | 25 |
| 11 N/039015 | 2009/03/26 | 2009/03/26 | Tie Rack Trading Limited | GB | 35 |
| N/039053 | 2009/03/26 | 2009/03/26 | Ozone Community Corporation | JP | 09 |
| N/039054 | 2009/03/26 | 2009/03/26 | Ozone Community Corporation | JP | 14 |
| N/039055 | 2009/03/26 | 2009/03/26 | Ozone Community Corporation | JP | 16 |
| N/039056 | 2009/03/26 | 2009/03/26 | Ozone Community Corporation | JP | 18 |
| N/039057 | 2009/03/26 | 2009/03/26 | Ozone Community Corporation | JP | 20 |
| N/039058 | 2009/03/26 | 2009/03/26 | Ozone Community Corporation | JP | 24 |
| N/039059 | 2009/03/26 | 2009/03/26 | Ozone Community Corporation | JP | 25 |
| N/039060 | 2009/03/26 | 2009/03/26 | Ozone Community Corporation | JP | 26 |
| N/039061 | 2009/03/26 | 2009/03/26 | Ozone Community Corporation | JP | 28 |
| N/039062 | 2009/03/26 | 2009/03/26 | Ozone Community Corporation | JP | 34 |
| N/039072 | 2009/03/26 | 2009/03/26 | Green House Foods Co., Ltd. | JP | 29 |
| N/039073 | 2009/03/26 | 2009/03/26 | Green House Foods Co., Ltd. | JP | 30 |
| N/039074 | 2009/03/26 | 2009/03/26 | Green House Foods Co., Ltd. | JP | 43 |
| N/039082 | 2009/03/26 | 2009/03/26 | Glaxo Group Limited | GB | 05 |
| N/039083 | 2009/03/26 | 2009/03/26 | Narai Intertrade Company Limited | TH | 18 |
| N/039084 | 2009/03/26 | 2009/03/26 | Narai Intertrade Company Limited | TH | 18 |
| N/039085 | 2009/03/26 | 2009/03/26 | 心思洋行有限公司 Agência Comercial Sincero Lda./Sincero Company Limited |
MO | 43 |
| N/039086 | 2009/03/26 | 2009/03/26 | SHUFFLE MASTER, INC. | US | 09 |
| N/039088 | 2009/03/26 | 2009/03/26 | SHUFFLE MASTER, INC. | US | 41 |
| N/039099 | 2009/03/26 | 2009/03/26 | 普露詩安股份有限公司 POURSOIN INTERNATIONAL CO., LTD. |
TW | 25 |
| 12 N/039100 | 2009/03/26 | 2009/03/26 | YVON MAU | FR | 33 |
| N/039102 | 2009/03/26 | 2009/03/26 | Kabushiki Kaisha BENEX também comercializando como BENEX Corporation | JP | 06 |
| 13 N/039103 | 2009/03/26 | 2009/03/26 | Hearts On Fire Company, LLC | US | 14 |
| N/039104 | 2009/03/26 | 2009/03/26 | 廣州石頭記飾品有限公司 GUANGZHOU ISTONE JEWELRY CO., LTD. |
CN | 14 |
| N/039105 | 2009/03/26 | 2009/03/26 | 常熟市金唐市水產品有限公司 CHANGSHU JINTANG AQUATIC PRODUCTS CO., LTD. |
CN | 31 |
| N/039112 | 2009/03/26 | 2009/03/26 | 梁少芬 Liang Shaofen |
MO | 30 |
| N/039113 | 2009/03/26 | 2009/03/26 | IMI CORPORATION | TW | 03 |
| N/039120 | 2009/03/26 | 2009/03/26 | Christian Georges Audigier | US | 25 |
| N/039128 | 2009/03/26 | 2009/03/26 | JUVENA (INTERNATIONAL) AG | CH | 03 |
| N/039129 | 2009/03/26 | 2009/03/26 | JUVENA (INTERNATIONAL) AG | CH | 03 |
| N/039140 | 2009/03/26 | 2009/03/26 | Boat House Group Limited | VG | 12 |
| N/039141 | 2009/03/26 | 2009/03/26 | 厲曉麟 Li Xiao Lin |
CN | 29 |
| N/039142 | 2009/03/26 | 2009/03/26 | 厲曉麟 Li Xiao Lin |
CN | 30 |
| N/039143 | 2009/03/26 | 2009/03/26 | 厲曉麟 Li Xiao Lin |
CN | 43 |
| N/039144 | 2009/03/26 | 2009/03/26 | Groz-Beckert KG | DE | 01 |
| N/039145 | 2009/03/26 | 2009/03/26 | Groz-Beckert KG | DE | 03 |
| N/039146 | 2009/03/26 | 2009/03/26 | Groz-Beckert KG | DE | 04 |
| N/039147 | 2009/03/26 | 2009/03/26 | Groz-Beckert KG | DE | 07 |
| N/039148 | 2009/03/26 | 2009/03/26 | Groz-Beckert KG | DE | 20 |
| N/039149 | 2009/03/26 | 2009/03/26 | Groz-Beckert KG | DE | 21 |
| N/039150 | 2009/03/26 | 2009/03/26 | Groz-Beckert KG | DE | 23 |
| N/039151 | 2009/03/26 | 2009/03/26 | Groz-Beckert KG | DE | 24 |
| N/039152 | 2009/03/26 | 2009/03/26 | Groz-Beckert KG | DE | 26 |
| N/039153 | 2009/03/26 | 2009/03/26 | Groz-Beckert KG | DE | 38 |
| N/039154 | 2009/03/26 | 2009/03/26 | Groz-Beckert KG | DE | 42 |
| N/039155 | 2009/03/26 | 2009/03/26 | 戴文軍 | CN | 29 |
| N/039156 | 2009/03/26 | 2009/03/26 | The Saul Zaentz Company | US | 16 |
| N/039157 | 2009/03/26 | 2009/03/26 | The Saul Zaentz Company | US | 16 |
| N/039158 | 2009/03/26 | 2009/03/26 | The Saul Zaentz Company | US | 16 |
| N/039161 | 2009/03/26 | 2009/03/26 | 新濠活力集團有限公司 | MO | 32 |
| N/039162 | 2009/03/26 | 2009/03/26 | 新濠活力集團有限公司 | MO | 36 |
| N/039163 | 2009/03/26 | 2009/03/26 | 新濠活力集團有限公司 | MO | 38 |
| N/039164 | 2009/03/26 | 2009/03/26 | 新濠活力集團有限公司 | MO | 39 |
| N/039165 | 2009/03/26 | 2009/03/26 | 威德集團有限公司 Westop Holdings Limited |
HK | 43 |
| N/039166 | 2009/03/26 | 2009/03/26 | 威德集團有限公司 Westop Holdings Limited |
HK | 43 |
| N/039167 | 2009/03/26 | 2009/03/26 | 海文有限公司 Pacific Life Limited |
HK | 43 |
| N/039168 | 2009/03/26 | 2009/03/26 | 海文有限公司 Pacific Life Limited |
HK | 43 |
| N/039169 | 2009/03/26 | 2009/03/26 | 世能有限公司 Global Linkage Limited |
HK | 43 |
| N/039170 | 2009/03/26 | 2009/03/26 | 世能有限公司 Global Linkage Limited |
HK | 43 |
| N/039171 | 2009/03/26 | 2009/03/26 | 廣州澳希亞實業有限公司 OUSIA (GUANGZHOU) INDUSTRIAL CO., LTD. |
CN | 03 |
| N/039172 | 2009/03/26 | 2009/03/26 | Guess?, Inc. | US | 09 |
| N/039173 | 2009/03/26 | 2009/03/26 | Guess?, Inc. | US | 14 |
| N/039174 | 2009/03/26 | 2009/03/26 | Guess?, Inc. | US | 35 |
| N/039175 | 2009/03/26 | 2009/03/26 | Google Inc. | US | 09 |
| N/039176 | 2009/03/26 | 2009/03/26 | Google Inc. | US | 35 |
| N/039177 | 2009/03/26 | 2009/03/26 | Google Inc. | US | 42 |
| N/039181 | 2009/03/26 | 2009/03/26 | CONNAUGHT TECHNOLOGY CORPORATION | US | 05 |
| N/039182 | 2009/03/26 | 2009/03/26 | De Beers Centenary AG | CH | 14 |
| N/039183 | 2009/03/26 | 2009/03/26 | De Beers Centenary AG | CH | 35 |
| N/039184 | 2009/03/26 | 2009/03/26 | 羅偉明 Lo Wai Meng |
MO | 43 |
| N/039185 | 2009/03/26 | 2009/03/26 | 羅偉明 Lo Wai Meng |
MO | 30 |
| N/039189 | 2009/03/26 | 2009/03/26 | HOUSE & LOFT PROMOTION S.R.L. | IT | 36 |
| N/039190 | 2009/03/26 | 2009/03/26 | OLYMP Bezner GmbH & Co. KG | DE | 25 |
| N/039191 | 2009/03/26 | 2009/03/26 | 王明詩 Wong Meng Si |
MO | 25 |
| 14 N/039192 | 2009/03/26 | 2009/03/26 | 澳門鹿港餐飲有限公司 MACAU BELLAGIO RESTAURANTE LIMITADA |
MO | 43 |
| 14 N/039193 | 2009/03/26 | 2009/03/26 | 澳門鹿港餐飲有限公司 MACAU BELLAGIO RESTAURANTE LIMITADA |
MO | 43 |
| 14 N/039194 | 2009/03/26 | 2009/03/26 | 澳門鹿港餐飲有限公司 MACAU BELLAGIO RESTAURANTE LIMITADA |
MO | 43 |
| N/039195 | 2009/03/26 | 2009/03/26 | 深圳市千百味餐飲管理有限公司 | CN | 43 |
| 15 N/039196 | 2009/03/26 | 2009/03/26 | 深圳市千百味餐飲管理有限公司 | CN | 43 |
| N/039197 | 2009/03/26 | 2009/03/26 | HARD ROCK HOLDINGS LIMITED | GB | 03 |
| N/039198 | 2009/03/26 | 2009/03/26 | HARD ROCK HOLDINGS LIMITED | GB | 09 |
| N/039199 | 2009/03/26 | 2009/03/26 | HARD ROCK HOLDINGS LIMITED | GB | 14 |
| N/039200 | 2009/03/26 | 2009/03/26 | HARD ROCK HOLDINGS LIMITED | GB | 16 |
| N/039201 | 2009/03/26 | 2009/03/26 | HARD ROCK HOLDINGS LIMITED | GB | 21 |
| N/039202 | 2009/03/26 | 2009/03/26 | HARD ROCK HOLDINGS LIMITED | GB | 24 |
| N/039203 | 2009/03/26 | 2009/03/26 | HARD ROCK HOLDINGS LIMITED | GB | 25 |
| N/039204 | 2009/03/26 | 2009/03/26 | HARD ROCK HOLDINGS LIMITED | GB | 28 |
| N/039205 | 2009/03/26 | 2009/03/26 | HARD ROCK HOLDINGS LIMITED | GB | 35 |
| N/039206 | 2009/03/26 | 2009/03/26 | HARD ROCK HOLDINGS LIMITED | GB | 41 |
| N/039207 | 2009/03/26 | 2009/03/26 | HARD ROCK HOLDINGS LIMITED | GB | 44 |
| N/039210 | 2009/03/26 | 2009/03/26 | LABORATOIRE HRA-PHARMA | FR | 05 |
| N/039211 | 2009/03/26 | 2009/03/26 | LABORATOIRE HRA-PHARMA | FR | 44 |
| N/039212 | 2009/03/26 | 2009/03/26 | LABORATOIRE HRA-PHARMA | FR | 05 |
| N/039213 | 2009/03/26 | 2009/03/26 | LABORATOIRE HRA-PHARMA | FR | 44 |
| 16 N/039214 | 2009/03/26 | 2009/03/26 | 澳門牛奶有限公司 LEITARIA DE MACAU LIMITADA |
MO | 29 |
| 16 N/039215 | 2009/03/26 | 2009/03/26 | 澳門牛奶有限公司 LEITARIA DE MACAU LIMITADA |
MO | 30 |
| 16 N/039216 | 2009/03/26 | 2009/03/26 | 澳門牛奶有限公司 LEITARIA DE MACAU LIMITADA |
MO | 29 |
| 16 N/039217 | 2009/03/26 | 2009/03/26 | 澳門牛奶有限公司 LEITARIA DE MACAU LIMITADA |
MO | 30 |
| N/039218 | 2009/03/26 | 2009/03/26 | 阿波羅雪糕有限公司 GELADOS APPOLO COMPANHIA LIMITADA |
MO | 29 |
| N/039219 | 2009/03/26 | 2009/03/26 | 阿波羅雪糕有限公司 GELADOS APPOLO COMPANHIA LIMITADA |
MO | 30 |
| N/039220 | 2009/03/26 | 2009/03/26 | DONALD J. TRUMP | US | 36 |
| N/039221 | 2009/03/26 | 2009/03/26 | DONALD J. TRUMP | US | 37 |
| N/039222 | 2009/03/26 | 2009/03/26 | DONALD J. TRUMP | US | 41 |
| N/039223 | 2009/03/26 | 2009/03/26 | DONALD J. TRUMP | US | 43 |
| N/039224 | 2009/03/26 | 2009/03/26 | SACENTRO - COMÉRCIO DE TÊXTEIS, S.A. | PT | 25 |
| N/039225 | 2009/03/26 | 2009/03/26 | The Coca-Cola Company | US | 30 |
| N/039226 | 2009/03/26 | 2009/03/26 | The Coca-Cola Company | US | 32 |
| N/039229 | 2009/03/26 | 2009/03/26 | Paua Group International Limited | HK | 03 |
| N/039230 | 2009/03/26 | 2009/03/26 | Paua Group International Limited | HK | 16 |
| N/039231 | 2009/03/26 | 2009/03/26 | Paua Group International Limited | HK | 18 |
| N/039232 | 2009/03/26 | 2009/03/26 | Paua Group International Limited | HK | 35 |
| N/039233 | 2009/03/26 | 2009/03/26 | Paua Group International Limited | HK | 41 |
| N/039234 | 2009/03/26 | 2009/03/26 | Paua Group International Limited | HK | 44 |
| N/039235 | 2009/03/26 | 2009/03/26 | SmithKline Beecham p.l.c. | GB | 05 |
| N/039236 | 2009/03/26 | 2009/03/26 | SmithKline Beecham p.l.c. | GB | 05 |
| N/039239 | 2009/03/26 | 2009/03/26 | 莊銀吉 廖維良 |
MY | 16 |
| N/039240 | 2009/03/26 | 2009/03/26 | Melco Crown Entertainment Limited | KY | 09 |
| N/039241 | 2009/03/26 | 2009/03/26 | Melco Crown Entertainment Limited | KY | 28 |
| N/039242 | 2009/03/26 | 2009/03/26 | Melco Crown Entertainment Limited | KY | 39 |
| N/039243 | 2009/03/26 | 2009/03/26 | Melco Crown Entertainment Limited | KY | 41 |
| N/039244 | 2009/03/26 | 2009/03/26 | Melco Crown Entertainment Limited | KY | 09 |
| N/039245 | 2009/03/26 | 2009/03/26 | Melco Crown Entertainment Limited | KY | 28 |
| N/039246 | 2009/03/26 | 2009/03/26 | 香港商斯特拉露娜索爾有限公司 Stella Luna Sol Limited |
HK | 14 |
| N/039247 | 2009/03/26 | 2009/03/26 | 香港商斯特拉露娜索爾有限公司 Stella Luna Sol Limited |
HK | 18 |
| N/039248 | 2009/03/26 | 2009/03/26 | 香港商斯特拉露娜索爾有限公司 Stella Luna Sol Limited |
HK | 25 |
| N/039249 | 2009/03/26 | 2009/03/26 | 香港商斯特拉露娜索爾有限公司 Stella Luna Sol Limited |
HK | 14 |
| N/039250 | 2009/03/26 | 2009/03/26 | 香港商斯特拉露娜索爾有限公司 Stella Luna Sol Limited |
HK | 18 |
| N/039251 | 2009/03/26 | 2009/03/26 | 香港商斯特拉露娜索爾有限公司 Stella Luna Sol Limited |
HK | 25 |
| N/039262 | 2009/03/26 | 2009/03/26 | STARGAMES CORPORATION PTY LTD | AU | 28 |
| N/039263 | 2009/03/26 | 2009/03/26 | The Saul Zaentz Company | US | 09 |
| N/039264 | 2009/03/26 | 2009/03/26 | The Saul Zaentz Company | US | 25 |
| N/039265 | 2009/03/26 | 2009/03/26 | The Saul Zaentz Company | US | 28 |
| N/039266 | 2009/03/26 | 2009/03/26 | The Saul Zaentz Company | US | 41 |
| N/039267 | 2009/03/26 | 2009/03/26 | The Saul Zaentz Company | US | 09 |
| N/039268 | 2009/03/26 | 2009/03/26 | The Saul Zaentz Company | US | 25 |
| N/039269 | 2009/03/26 | 2009/03/26 | The Saul Zaentz Company | US | 28 |
| N/039270 | 2009/03/26 | 2009/03/26 | The Saul Zaentz Company | US | 41 |
| N/039271 | 2009/03/26 | 2009/03/26 | The Saul Zaentz Company | US | 09 |
| N/039272 | 2009/03/26 | 2009/03/26 | The Saul Zaentz Company | US | 25 |
| N/039273 | 2009/03/26 | 2009/03/26 | The Saul Zaentz Company | US | 28 |
| N/039274 | 2009/03/26 | 2009/03/26 | The Saul Zaentz Company | US | 41 |
| N/039275 | 2009/03/26 | 2009/03/26 | 悅盈餐飲有限公司 SOCIEDADE DE RESTAURANTE MERIT GAIN LIMITADA |
MO | 43 |
| N/039276 | 2009/03/26 | 2009/03/26 | 張少華 CHEONG SIO WA |
MO | 18 |
| N/039277 | 2009/03/26 | 2009/03/26 | 天津津酒集團有限公司 | CN | 33 |
| N/039278 | 2009/03/26 | 2009/03/26 | 安樂亭株式會社 ANRAKUTEI CO., LTD. (KABUSHIKI KAISHA ANRAKUTEI) |
JP | 25 |
| N/039279 | 2009/03/26 | 2009/03/26 | 安樂亭株式會社 ANRAKUTEI CO., LTD. (KABUSHIKI KAISHA ANRAKUTEI) |
JP | 29 |
| N/039280 | 2009/03/26 | 2009/03/26 | 安樂亭株式會社 ANRAKUTEI CO., LTD. (KABUSHIKI KAISHA ANRAKUTEI) |
JP | 30 |
| N/039281 | 2009/03/26 | 2009/03/26 | 安樂亭株式會社 ANRAKUTEI CO., LTD. (KABUSHIKI KAISHA ANRAKUTEI) |
JP | 43 |
| N/039285 | 2009/03/26 | 2009/03/26 | 心薈管理有限公司 Xin Management Limited |
HK | 35 |
| N/039286 | 2009/03/26 | 2009/03/26 | 心薈管理有限公司 Xin Management Limited |
HK | 43 |
| N/039287 | 2009/03/26 | 2009/03/26 | 心薈管理有限公司 Xin Management Limited |
HK | 43 |
| N/039288 | 2009/03/26 | 2009/03/26 | 心薈管理有限公司 Xin Management Limited |
HK | 43 |
| N/039289 | 2009/03/26 | 2009/03/26 | 心薈管理有限公司 Xin Management Limited |
HK | 43 |
| N/039290 | 2009/03/26 | 2009/03/26 | 心薈管理有限公司 Xin Management Limited |
HK | 43 |
| N/039291 | 2009/03/26 | 2009/03/26 | SHERATON INTERNATIONAL INC. | US | 43 |
| N/039294 | 2009/03/26 | 2009/03/26 | BAYER AKTIENGESELLSCHAFT | DE | 05 |
| N/039295 | 2009/03/26 | 2009/03/26 | BAYER AKTIENGESELLSCHAFT | DE | 05 |
| N/039296 | 2009/03/26 | 2009/03/26 | BAYER AKTIENGESELLSCHAFT | DE | 05 |
| N/039297 | 2009/03/26 | 2009/03/26 | BAYER AKTIENGESELLSCHAFT | DE | 05 |
| N/039298 | 2009/03/26 | 2009/03/26 | BAYER AKTIENGESELLSCHAFT | DE | 05 |
| N/039299 | 2009/03/26 | 2009/03/26 | BAYER AKTIENGESELLSCHAFT | DE | 05 |
| N/039301 | 2009/03/26 | 2009/03/26 | Solare Hotels and Resorts Co., Ltd. | JP | 35 |
| N/039302 | 2009/03/26 | 2009/03/26 | Solare Hotels and Resorts Co., Ltd. | JP | 41 |
| 17 N/039303 | 2009/03/26 | 2009/03/26 | Solare Hotels and Resorts Co., Ltd. | JP | 43 |
| N/039304 | 2009/03/26 | 2009/03/26 | Solare Hotels and Resorts Co., Ltd. | JP | 44 |
| N/039315 | 2009/03/26 | 2009/03/26 | Malaysia Dairy Industries Pte Ltd | SG | 29 |
| N/039316 | 2009/03/26 | 2009/03/26 | Malaysia Dairy Industries Pte Ltd | SG | 30 |
| N/039317 | 2009/03/26 | 2009/03/26 | Malaysia Dairy Industries Pte Ltd | SG | 32 |
| N/039319 | 2009/03/26 | 2009/03/26 | Malaysia Dairy Industries Pte Ltd | SG | 30 |
| N/039320 | 2009/03/26 | 2009/03/26 | Malaysia Dairy Industries Pte Ltd | SG | 32 |
| N/039321 | 2009/03/26 | 2009/03/26 | MOULIN ROUGE | BE | 33 |
| N/039323 | 2009/03/26 | 2009/03/26 | RESERVOIR TEAM | FR | 09 |
| N/039324 | 2009/03/26 | 2009/03/26 | RESERVOIR TEAM | FR | 14 |
| N/039325 | 2009/03/26 | 2009/03/26 | RESERVOIR TEAM | FR | 16 |
| N/039326 | 2009/03/26 | 2009/03/26 | RESERVOIR TEAM | FR | 18 |
| N/039327 | 2009/03/26 | 2009/03/26 | RESERVOIR TEAM | FR | 24 |
| N/039328 | 2009/03/26 | 2009/03/26 | RESERVOIR TEAM | FR | 25 |
| N/039329 | 2009/03/26 | 2009/03/26 | FULL PROSPECT (IP) PTE. LTD. | SG | 25 |
| N/039330 | 2009/03/26 | 2009/03/26 | FULL PROSPECT (IP) PTE. LTD. | SG | 03 |
| N/039331 | 2009/03/26 | 2009/03/26 | FULL PROSPECT (IP) PTE. LTD. | SG | 05 |
| N/039332 | 2009/03/26 | 2009/03/26 | FULL PROSPECT (IP) PTE. LTD. | SG | 35 |
| N/039333 | 2009/03/26 | 2009/03/26 | FULL PROSPECT (IP) PTE. LTD. | SG | 42 |
| N/039334 | 2009/03/26 | 2009/03/26 | FULL PROSPECT (IP) PTE. LTD. | SG | 03 |
| N/039335 | 2009/03/26 | 2009/03/26 | FULL PROSPECT (IP) PTE. LTD. | SG | 05 |
| N/039336 | 2009/03/26 | 2009/03/26 | FULL PROSPECT (IP) PTE. LTD. | SG | 09 |
| N/039337 | 2009/03/26 | 2009/03/26 | FULL PROSPECT (IP) PTE. LTD. | SG | 18 |
| N/039338 | 2009/03/26 | 2009/03/26 | FULL PROSPECT (IP) PTE. LTD. | SG | 25 |
| N/039339 | 2009/03/26 | 2009/03/26 | FULL PROSPECT (IP) PTE. LTD. | SG | 28 |
| N/039340 | 2009/03/26 | 2009/03/26 | FULL PROSPECT (IP) PTE. LTD. | SG | 35 |
| N/039341 | 2009/03/26 | 2009/03/26 | FULL PROSPECT (IP) PTE. LTD. | SG | 42 |
| N/039342 | 2009/03/26 | 2009/03/26 | FULL PROSPECT (IP) PTE. LTD. | SG | 03 |
| N/039343 | 2009/03/26 | 2009/03/26 | FULL PROSPECT (IP) PTE. LTD. | SG | 05 |
| N/039344 | 2009/03/26 | 2009/03/26 | FULL PROSPECT (IP) PTE. LTD. | SG | 35 |
| N/039345 | 2009/03/26 | 2009/03/26 | FULL PROSPECT (IP) PTE. LTD. | SG | 42 |
| N/039346 | 2009/03/26 | 2009/03/26 | FULL PROSPECT (IP) PTE. LTD. | SG | 03 |
| N/039347 | 2009/03/26 | 2009/03/26 | FULL PROSPECT (IP) PTE. LTD. | SG | 05 |
| N/039348 | 2009/03/26 | 2009/03/26 | FULL PROSPECT (IP) PTE. LTD. | SG | 09 |
| N/039349 | 2009/03/26 | 2009/03/26 | FULL PROSPECT (IP) PTE. LTD. | SG | 18 |
| N/039350 | 2009/03/26 | 2009/03/26 | FULL PROSPECT (IP) PTE. LTD. | SG | 25 |
| N/039351 | 2009/03/26 | 2009/03/26 | FULL PROSPECT (IP) PTE. LTD. | SG | 28 |
| N/039352 | 2009/03/26 | 2009/03/26 | FULL PROSPECT (IP) PTE. LTD. | SG | 35 |
| N/039353 | 2009/03/26 | 2009/03/26 | FULL PROSPECT (IP) PTE. LTD. | SG | 42 |
| N/039356 | 2009/03/26 | 2009/03/26 | Jumeirah International LLC | AE | 03 |
| N/039357 | 2009/03/26 | 2009/03/26 | Jumeirah International LLC | AE | 44 |
| N/039358 | 2009/03/26 | 2009/03/26 | Gallaher Limited | GB | 34 |
| N/039362 | 2009/03/26 | 2009/03/26 | NEC SOFT, Ltd. | JP | 09 |
| N/039363 | 2009/03/26 | 2009/03/26 | IGT | US | 09 |
| N/039364 | 2009/03/26 | 2009/03/26 | IGT | US | 09 |
| N/039365 | 2009/03/26 | 2009/03/26 | IGT | US | 09 |
| N/039367 | 2009/03/26 | 2009/03/26 | IGT | US | 09 |
| N/039368 | 2009/03/26 | 2009/03/26 | IGT | US | 09 |
| N/039369 | 2009/03/26 | 2009/03/26 | IGT | US | 09 |
| N/039370 | 2009/03/26 | 2009/03/26 | IGT | US | 09 |
| N/039371 | 2009/03/26 | 2009/03/26 | IGT | US | 09 |
| N/039373 | 2009/03/26 | 2009/03/26 | IGT | US | 09 |
| N/039374 | 2009/03/26 | 2009/03/26 | MONTRES CORUM Sàrl | CH | 14 |
| 18 N/039375 | 2009/03/26 | 2009/03/26 | COMPANHIA DE CONSTRUÇÃO E FOMENTO PREDIAL POU IEK, S.A. | MO | 43 |
| N/039377 | 2009/03/26 | 2009/03/26 | Bridgestone Licensing Services, Inc. | US | 12 |
| N/039378 | 2009/03/26 | 2009/03/26 | FLAVOR FULL FOODS INC. | TW | 29 |
| N/039379 | 2009/03/26 | 2009/03/26 | FLAVOR FULL FOODS INC. | TW | 30 |
| N/039380 | 2009/03/26 | 2009/03/26 | FUSO ELECTRIC INDUSTRIAL CO., LTD | JP | 09 |
| N/039381 | 2009/03/26 | 2009/03/26 | HACHI-BAN CO., LTD. | JP | 43 |
| N/039382 | 2009/03/26 | 2009/03/26 | HACHI-BAN CO., LTD. | JP | 43 |
| N/039383 | 2009/03/26 | 2009/03/26 | 遠茂光電股份有限公司 OPTODISC TECHNOLOGY CORPORATION |
TW | 09 |
| N/039384 | 2009/03/26 | 2009/03/26 | 遠茂光電股份有限公司 OPTODISC TECHNOLOGY CORPORATION |
TW | 09 |
| N/039385 | 2009/03/26 | 2009/03/26 | Lam Soon Trademark Limited | CK | 29 |
| N/039387 | 2009/03/26 | 2009/03/26 | Lam Soon Trademark Limited | CK | 29 |
| N/039388 | 2009/03/26 | 2009/03/26 | Lam Soon Trademark Limited | CK | 29 |
| N/039389 | 2009/03/26 | 2009/03/26 | 阿迪王體育用品(中國)有限公司 | CN | 18 |
| N/039390 | 2009/03/26 | 2009/03/26 | 阿迪王體育用品(中國)有限公司 | CN | 28 |
| N/039391 | 2009/03/26 | 2009/03/26 | 阿迪王體育用品(中國)有限公司 | CN | 35 |
| N/039392 | 2009/03/26 | 2009/03/26 | 山東好當家海洋發展股份有限公司 Shandong Homey Aquatic Development Co, Ltd |
CN | 29 |
| N/039393 | 2009/03/26 | 2009/03/26 | 山東好當家海洋發展股份有限公司 Shandong Homey Aquatic Development Co, Ltd |
CN | 30 |
| N/039394 | 2009/03/26 | 2009/03/26 | 山東好當家海洋發展股份有限公司 Shandong Homey Aquatic Development Co, Ltd |
CN | 31 |
| N/039395 | 2009/03/26 | 2009/03/26 | 衍生行有限公司 | HK | 05 |
| N/039396 | 2009/03/26 | 2009/03/26 | 衍生行有限公司 | HK | 30 |
| N/039397 | 2009/03/26 | 2009/03/26 | Léon Hatot S.A. (Léon Hatot AG) (Léon Hatot Ltd) | CH | 14 |
| N/039398 | 2009/03/26 | 2009/03/26 | 海馬投資集團有限公司 | CN | 37 |
| N/039399 | 2009/03/26 | 2009/03/26 | 海馬投資集團有限公司 | CN | 04 |
| N/039400 | 2009/03/26 | 2009/03/26 | 海馬投資集團有限公司 | CN | 12 |
| N/039401 | 2009/03/26 | 2009/03/26 | 海馬投資集團有限公司 | CN | 04 |
| N/039402 | 2009/03/26 | 2009/03/26 | 海馬投資集團有限公司 | CN | 37 |
| N/039403 | 2009/03/26 | 2009/03/26 | 海馬投資集團有限公司 | CN | 12 |
| N/039404 | 2009/03/26 | 2009/03/26 | Aruze Corporation | JP | 09 |
| N/039405 | 2009/03/26 | 2009/03/26 | PORTUGÁLIA RESTAURAÇÃO, S.A. | PT | 43 |
| N/039418 | 2009/03/26 | 2009/03/26 | Aristocrat Technologies Australia Pty Ltd | AU | 28 |
| 19 N/039419 | 2009/03/26 | 2009/03/26 | 駿盈餐飲有限公司 RESTAURANTE CHUN IENG, LIMITADA |
MO | 43 |
| 19 N/039420 | 2009/03/26 | 2009/03/26 | 駿盈餐飲有限公司 RESTAURANTE CHUN IENG, LIMITADA |
MO | 43 |
| N/039421 | 2009/03/26 | 2009/03/26 | ASTRO CORPORATION | TW | 09 |
| N/039422 | 2009/03/26 | 2009/03/26 | ASTRO CORPORATION | TW | 09 |
| N/039423 | 2009/03/26 | 2009/03/26 | COMPAÑIA INDUSTRIAL DE TABACOS MONTE PAZ S.A. | UY | 34 |
| N/039424 | 2009/03/26 | 2009/03/26 | COMPAÑIA INDUSTRIAL DE TABACOS MONTE PAZ S.A. | UY | 34 |
| N/039425 | 2009/03/26 | 2009/03/26 | TRETORN AB | SE | 18 |
| N/039426 | 2009/03/26 | 2009/03/26 | TRETORN AB | SE | 25 |
| N/039427 | 2009/03/26 | 2009/03/26 | TRETORN AB | SE | 28 |
| N/039428 | 2009/03/26 | 2009/03/26 | JOHNSON & JOHNSON | US | 05 |
| N/039429 | 2009/03/26 | 2009/03/26 | JOHNSON & JOHNSON | US | 05 |
| N/039458 | 2009/03/26 | 2009/03/26 | Sichuan Wenjun Spirits Company Limited | CN | 32 |
| N/039459 | 2009/03/26 | 2009/03/26 | GAAD Fashion Creation Limited | BS | 18 |
| N/039460 | 2009/03/26 | 2009/03/26 | GAAD Fashion Creation Limited | BS | 25 |
| N/039461 | 2009/03/26 | 2009/03/26 | 山東魯花集團有限公司 | CN | 29 |
| N/039462 | 2009/03/26 | 2009/03/26 | 山東魯花集團有限公司 | CN | 29 |
| N/039463 | 2009/03/26 | 2009/03/26 | 李國成 | CN | 05 |
| N/039464 | 2009/03/26 | 2009/03/26 | 李國成 | CN | 37 |
| N/039466 | 2009/03/26 | 2009/03/26 | 威海環翠樓大藥房連鎖有限公司 Weihai Huancuilou Drugstore Chain Co., Ltd. |
CN | 35 |
| N/039478 | 2009/03/26 | 2009/03/26 | Japan Tobacco Inc. | JP | 34 |
| N/039479 | 2009/03/26 | 2009/03/26 | Toyohiko NISHIBE | JP | 25 |
| N/039480 | 2009/03/26 | 2009/03/26 | 尤仁壽 Yu, Prudencio |
HK | 05 |
| N/039481 | 2009/03/26 | 2009/03/26 | 陳榮旋 CHAN, Wing Suen |
HK | 05 |
| N/039482 | 2009/03/26 | 2009/03/26 | 陳榮旋 CHAN, Wing Suen |
HK | 05 |
| N/039483 | 2009/03/26 | 2009/03/26 | 陳榮旋 CHAN, Wing Suen |
HK | 30 |
| N/039484 | 2009/03/26 | 2009/03/26 | 億美裝修工程有限公司 | MO | 37 |
| N/039485 | 2009/03/26 | 2009/03/26 | Zebra Co., Ltd. | JP | 16 |
| N/039486 | 2009/03/26 | 2009/03/26 | INDUSTRIA DE DISEÑO TEXTIL, S.A. (INDITEX, S.A.) | ES | 26 |
| N/039487 | 2009/03/26 | 2009/03/26 | INDUSTRIA DE DISEÑO TEXTIL, S.A. (INDITEX, S.A.) | ES | 26 |
| N/039488 | 2009/03/26 | 2009/03/26 | INDUSTRIA DE DISEÑO TEXTIL, S.A. (INDITEX, S.A.) | ES | 09 |
| N/039489 | 2009/03/26 | 2009/03/26 | INDUSTRIA DE DISEÑO TEXTIL, S.A. (INDITEX, S.A.) | ES | 14 |
| N/039490 | 2009/03/26 | 2009/03/26 | 鷹列諮詢株式會社 Eagle Matrix Consulting Co., Ltd. |
JP | 43 |
| N/039491 | 2009/03/26 | 2009/03/26 | 鷹列諮詢株式會社 Eagle Matrix Consulting Co., Ltd. |
JP | 43 |
| N/039492 | 2009/03/26 | 2009/03/26 | 澳門人國際管理有限公司 COMPANHIA DE GESTÃO INTERNACIONAL MACAU FRIEND, LIMITADA |
MO | 32 |
| N/039493 | 2009/03/26 | 2009/03/26 | 澳門人國際管理有限公司 COMPANHIA DE GESTÃO INTERNACIONAL MACAU FRIEND, LIMITADA |
MO | 43 |
| N/039494 | 2009/03/26 | 2009/03/26 | 港九中醫師公會有限公司 | HK | 41 |
| N/039495 | 2009/03/26 | 2009/03/26 | Watson Enterprises Limited | VG | 30 |
| N/039496 | 2009/03/26 | 2009/03/26 | Watson Enterprises Limited | VG | 30 |
| N/039497 | 2009/03/26 | 2009/03/26 | Watson Enterprises Limited | VG | 30 |
| N/039498 | 2009/03/26 | 2009/03/26 | Xerox Corporation | US | 02 |
| N/039499 | 2009/03/26 | 2009/03/26 | Xerox Corporation | US | 09 |
| N/039500 | 2009/03/26 | 2009/03/26 | Xerox Corporation | US | 16 |
| N/039501 | 2009/03/26 | 2009/03/26 | Xerox Corporation | US | 35 |
| N/039502 | 2009/03/26 | 2009/03/26 | Xerox Corporation | US | 37 |
| N/039503 | 2009/03/26 | 2009/03/26 | Xerox Corporation | US | 40 |
| N/039504 | 2009/03/26 | 2009/03/26 | Xerox Corporation | US | 42 |
| N/039506 | 2009/03/26 | 2009/03/26 | 蓬萊諾康藥業有限公司 PENGLAI NUOKANG PHARMACEUTICAL CO., LTD. |
CN | 05 |
| N/039507 | 2009/03/26 | 2009/03/26 | 福建泉州匹克體育用品有限公司 FUJIAN QUANZHOU PEAK SPORTS PRODUCTS CO., LTD. |
CN | 28 |
| N/039508 | 2009/03/26 | 2009/03/26 | 福建泉州匹克體育用品有限公司 FUJIAN QUANZHOU PEAK SPORTS PRODUCTS CO., LTD. |
CN | 18 |
| N/039509 | 2009/03/26 | 2009/03/26 | 大板根育樂事業股份有限公司 THE GREAT ROOTS FORESTRY HOT SPRING & RESORT RECREATION ENTERPRISE CO., LTD. |
TW | 03 |
| N/039510 | 2009/03/26 | 2009/03/26 | 深圳市美道實業發展有限公司 | CN | 14 |
| N/039511 | 2009/03/26 | 2009/03/26 | 深圳市美道實業發展有限公司 | CN | 14 |
| N/039512 | 2009/03/26 | 2009/03/26 | 大連棒棰島海產企業集團有限公司 DALIAN BANGCHUIDAO SEAFOOD ENTERPRISE GROUP CO., LTD. |
CN | 30 |
| N/039513 | 2009/03/26 | 2009/03/26 | 大連棒棰島海產企業集團有限公司 DALIAN BANGCHUIDAO SEAFOOD ENTERPRISE GROUP CO., LTD. |
CN | 29 |
| N/039514 | 2009/03/26 | 2009/03/26 | 紅雲煙草(集團)有限責任公司 | CN | 34 |
| N/039515 | 2009/03/26 | 2009/03/26 | 福建省幸福生物科技有限公司 FUJIAN XINGFU BIO-TECHNOLOGY COMPANY LIMITED |
CN | 30 |
| N/039516 | 2009/03/26 | 2009/03/26 | Badgley Mischka Licensing LLC | US | 03 |
| N/039517 | 2009/03/26 | 2009/03/26 | Badgley Mischka Licensing LLC | US | 09 |
| N/039518 | 2009/03/26 | 2009/03/26 | Badgley Mischka Licensing LLC | US | 14 |
| N/039519 | 2009/03/26 | 2009/03/26 | Badgley Mischka Licensing LLC | US | 18 |
| N/039520 | 2009/03/26 | 2009/03/26 | Badgley Mischka Licensing LLC | US | 24 |
| N/039521 | 2009/03/26 | 2009/03/26 | Badgley Mischka Licensing LLC | US | 25 |
| N/039522 | 2009/03/26 | 2009/03/26 | Badgley Mischka Licensing LLC | US | 35 |
| N/039523 | 2009/03/26 | 2009/03/26 | IP Holdings LLC | US | 03 |
| N/039524 | 2009/03/26 | 2009/03/26 | IP Holdings LLC | US | 09 |
| N/039525 | 2009/03/26 | 2009/03/26 | IP Holdings LLC | US | 14 |
| N/039526 | 2009/03/26 | 2009/03/26 | IP Holdings LLC | US | 18 |
| N/039527 | 2009/03/26 | 2009/03/26 | IP Holdings LLC | US | 24 |
| N/039529 | 2009/03/26 | 2009/03/26 | IP Holdings LLC | US | 35 |
| N/039530 | 2009/03/26 | 2009/03/26 | IP Holdings LLC | US | 03 |
| N/039531 | 2009/03/26 | 2009/03/26 | IP Holdings LLC | US | 09 |
| N/039532 | 2009/03/26 | 2009/03/26 | IP Holdings LLC | US | 14 |
| N/039533 | 2009/03/26 | 2009/03/26 | IP Holdings LLC | US | 18 |
| N/039534 | 2009/03/26 | 2009/03/26 | IP Holdings LLC | US | 24 |
| N/039535 | 2009/03/26 | 2009/03/26 | IP Holdings LLC | US | 25 |
| N/039536 | 2009/03/26 | 2009/03/26 | IP Holdings LLC | US | 35 |
| N/039537 | 2009/03/26 | 2009/03/26 | IP Holdings LLC | US | 03 |
| N/039538 | 2009/03/26 | 2009/03/26 | IP Holdings LLC | US | 09 |
| N/039539 | 2009/03/26 | 2009/03/26 | IP Holdings LLC | US | 14 |
| N/039540 | 2009/03/26 | 2009/03/26 | IP Holdings LLC | US | 18 |
| N/039541 | 2009/03/26 | 2009/03/26 | IP Holdings LLC | US | 24 |
| N/039542 | 2009/03/26 | 2009/03/26 | IP Holdings LLC | US | 25 |
| N/039543 | 2009/03/26 | 2009/03/26 | IP Holdings LLC | US | 35 |
| N/039544 | 2009/03/26 | 2009/03/26 | IP Holdings LLC | US | 03 |
| N/039545 | 2009/03/26 | 2009/03/26 | IP Holdings LLC | US | 09 |
| N/039546 | 2009/03/26 | 2009/03/26 | IP Holdings LLC | US | 14 |
| N/039547 | 2009/03/26 | 2009/03/26 | IP Holdings LLC | US | 18 |
| N/039548 | 2009/03/26 | 2009/03/26 | IP Holdings LLC | US | 24 |
| N/039549 | 2009/03/26 | 2009/03/26 | IP Holdings LLC | US | 25 |
| N/039550 | 2009/03/26 | 2009/03/26 | IP Holdings LLC | US | 35 |
| N/039551 | 2009/03/26 | 2009/03/26 | IP Holdings LLC | US | 03 |
| N/039552 | 2009/03/26 | 2009/03/26 | IP Holdings LLC | US | 09 |
| N/039553 | 2009/03/26 | 2009/03/26 | IP Holdings LLC | US | 14 |
| N/039554 | 2009/03/26 | 2009/03/26 | IP Holdings LLC | US | 18 |
| N/039555 | 2009/03/26 | 2009/03/26 | IP Holdings LLC | US | 24 |
| N/039556 | 2009/03/26 | 2009/03/26 | IP Holdings LLC | US | 25 |
| N/039557 | 2009/03/26 | 2009/03/26 | IP Holdings LLC | US | 35 |
| N/039558 | 2009/03/26 | 2009/03/26 | IP Holdings LLC | US | 03 |
| N/039559 | 2009/03/26 | 2009/03/26 | IP Holdings LLC | US | 09 |
| N/039560 | 2009/03/26 | 2009/03/26 | IP Holdings LLC | US | 14 |
| N/039561 | 2009/03/26 | 2009/03/26 | IP Holdings LLC | US | 18 |
| N/039562 | 2009/03/26 | 2009/03/26 | IP Holdings LLC | US | 24 |
| N/039563 | 2009/03/26 | 2009/03/26 | IP Holdings LLC | US | 25 |
| N/039564 | 2009/03/26 | 2009/03/26 | IP Holdings LLC | US | 35 |
| N/039565 | 2009/03/26 | 2009/03/26 | IP Holdings LLC | US | 03 |
| N/039566 | 2009/03/26 | 2009/03/26 | IP Holdings LLC | US | 09 |
| N/039567 | 2009/03/26 | 2009/03/26 | IP Holdings LLC | US | 14 |
| N/039568 | 2009/03/26 | 2009/03/26 | IP Holdings LLC | US | 18 |
| N/039569 | 2009/03/26 | 2009/03/26 | IP Holdings LLC | US | 24 |
| N/039570 | 2009/03/26 | 2009/03/26 | IP Holdings LLC | US | 35 |
| N/039571 | 2009/03/26 | 2009/03/26 | Mossimo Holdings LLC | US | 03 |
| N/039572 | 2009/03/26 | 2009/03/26 | Mossimo Holdings LLC | US | 09 |
| N/039573 | 2009/03/26 | 2009/03/26 | Mossimo Holdings LLC | US | 14 |
| N/039574 | 2009/03/26 | 2009/03/26 | Mossimo Holdings LLC | US | 18 |
| N/039575 | 2009/03/26 | 2009/03/26 | Mossimo Holdings LLC | US | 24 |
| N/039576 | 2009/03/26 | 2009/03/26 | Mossimo Holdings LLC | US | 25 |
| N/039577 | 2009/03/26 | 2009/03/26 | Mossimo Holdings LLC | US | 35 |
| N/039578 | 2009/03/26 | 2009/03/26 | Mossimo Holdings LLC | US | 03 |
| N/039579 | 2009/03/26 | 2009/03/26 | Mossimo Holdings LLC | US | 09 |
| N/039580 | 2009/03/26 | 2009/03/26 | Mossimo Holdings LLC | US | 14 |
| N/039581 | 2009/03/26 | 2009/03/26 | Mossimo Holdings LLC | US | 18 |
| N/039582 | 2009/03/26 | 2009/03/26 | Mossimo Holdings LLC | US | 24 |
| N/039583 | 2009/03/26 | 2009/03/26 | Mossimo Holdings LLC | US | 25 |
| N/039584 | 2009/03/26 | 2009/03/26 | Mossimo Holdings LLC | US | 35 |
| N/039585 | 2009/03/26 | 2009/03/26 | OP Holdings LLC | US | 03 |
| N/039586 | 2009/03/26 | 2009/03/26 | OP Holdings LLC | US | 09 |
| N/039587 | 2009/03/26 | 2009/03/26 | OP Holdings LLC | US | 14 |
| N/039588 | 2009/03/26 | 2009/03/26 | OP Holdings LLC | US | 18 |
| N/039589 | 2009/03/26 | 2009/03/26 | OP Holdings LLC | US | 24 |
| N/039590 | 2009/03/26 | 2009/03/26 | OP Holdings LLC | US | 25 |
| N/039591 | 2009/03/26 | 2009/03/26 | OP Holdings LLC | US | 35 |
| N/039592 | 2009/03/26 | 2009/03/26 | OP Holdings LLC | US | 03 |
| N/039593 | 2009/03/26 | 2009/03/26 | OP Holdings LLC | US | 09 |
| N/039594 | 2009/03/26 | 2009/03/26 | OP Holdings LLC | US | 14 |
| N/039595 | 2009/03/26 | 2009/03/26 | OP Holdings LLC | US | 18 |
| N/039596 | 2009/03/26 | 2009/03/26 | OP Holdings LLC | US | 24 |
| N/039597 | 2009/03/26 | 2009/03/26 | OP Holdings LLC | US | 25 |
| N/039598 | 2009/03/26 | 2009/03/26 | OP Holdings LLC | US | 35 |
| N/039599 | 2009/03/26 | 2009/03/26 | Studio IP Holdings LLC | US | 03 |
| N/039600 | 2009/03/26 | 2009/03/26 | Studio IP Holdings LLC | US | 09 |
| N/039601 | 2009/03/26 | 2009/03/26 | Studio IP Holdings LLC | US | 14 |
| N/039602 | 2009/03/26 | 2009/03/26 | Studio IP Holdings LLC | US | 18 |
| N/039603 | 2009/03/26 | 2009/03/26 | Studio IP Holdings LLC | US | 24 |
| N/039604 | 2009/03/26 | 2009/03/26 | Studio IP Holdings LLC | US | 25 |
| N/039605 | 2009/03/26 | 2009/03/26 | Studio IP Holdings LLC | US | 35 |
| N/039606 | 2009/03/26 | 2009/03/26 | Studio IP Holdings LLC | US | 03 |
| N/039607 | 2009/03/26 | 2009/03/26 | Studio IP Holdings LLC | US | 09 |
| N/039608 | 2009/03/26 | 2009/03/26 | Studio IP Holdings LLC | US | 14 |
| N/039609 | 2009/03/26 | 2009/03/26 | Studio IP Holdings LLC | US | 18 |
| N/039610 | 2009/03/26 | 2009/03/26 | Studio IP Holdings LLC | US | 24 |
| N/039611 | 2009/03/26 | 2009/03/26 | Studio IP Holdings LLC | US | 25 |
| N/039612 | 2009/03/26 | 2009/03/26 | Studio IP Holdings LLC | US | 35 |
| N/039613 | 2009/03/26 | 2009/03/26 | Studio IP Holdings LLC | US | 03 |
| N/039614 | 2009/03/26 | 2009/03/26 | Studio IP Holdings LLC | US | 09 |
| N/039615 | 2009/03/26 | 2009/03/26 | Studio IP Holdings LLC | US | 14 |
| N/039616 | 2009/03/26 | 2009/03/26 | Studio IP Holdings LLC | US | 18 |
| N/039617 | 2009/03/26 | 2009/03/26 | Studio IP Holdings LLC | US | 24 |
| N/039618 | 2009/03/26 | 2009/03/26 | Studio IP Holdings LLC | US | 25 |
| N/039619 | 2009/03/26 | 2009/03/26 | Studio IP Holdings LLC | US | 35 |
| N/039620 | 2009/03/26 | 2009/03/26 | Studio IP Holdings LLC | US | 03 |
| N/039621 | 2009/03/26 | 2009/03/26 | Studio IP Holdings LLC | US | 09 |
| N/039622 | 2009/03/26 | 2009/03/26 | Studio IP Holdings LLC | US | 14 |
| N/039623 | 2009/03/26 | 2009/03/26 | Studio IP Holdings LLC | US | 18 |
| N/039624 | 2009/03/26 | 2009/03/26 | Studio IP Holdings LLC | US | 24 |
| N/039625 | 2009/03/26 | 2009/03/26 | Studio IP Holdings LLC | US | 25 |
| N/039626 | 2009/03/26 | 2009/03/26 | Studio IP Holdings LLC | US | 35 |
| N/039627 | 2009/03/26 | 2009/03/26 | Studio IP Holdings LLC | US | 03 |
| N/039628 | 2009/03/26 | 2009/03/26 | Studio IP Holdings LLC | US | 09 |
| N/039629 | 2009/03/26 | 2009/03/26 | Studio IP Holdings LLC | US | 14 |
| N/039630 | 2009/03/26 | 2009/03/26 | Studio IP Holdings LLC | US | 18 |
| N/039631 | 2009/03/26 | 2009/03/26 | Studio IP Holdings LLC | US | 24 |
| N/039632 | 2009/03/26 | 2009/03/26 | Studio IP Holdings LLC | US | 25 |
| N/039633 | 2009/03/26 | 2009/03/26 | Studio IP Holdings LLC | US | 35 |
| N/039634 | 2009/03/26 | 2009/03/26 | Studio IP Holdings LLC | US | 03 |
| N/039635 | 2009/03/26 | 2009/03/26 | Studio IP Holdings LLC | US | 09 |
| N/039636 | 2009/03/26 | 2009/03/26 | Studio IP Holdings LLC | US | 14 |
| N/039637 | 2009/03/26 | 2009/03/26 | Studio IP Holdings LLC | US | 18 |
| N/039638 | 2009/03/26 | 2009/03/26 | Studio IP Holdings LLC | US | 24 |
| N/039640 | 2009/03/26 | 2009/03/26 | Studio IP Holdings LLC | US | 35 |
| N/039655 | 2009/03/26 | 2009/03/26 | Official Pillowtex LLC | US | 25 |
| N/039656 | 2009/03/26 | 2009/03/26 | Official Pillowtex LLC | US | 35 |
| N/039657 | 2009/03/26 | 2009/03/26 | Official Pillowtex LLC | US | 03 |
| N/039658 | 2009/03/26 | 2009/03/26 | Official Pillowtex LLC | US | 09 |
| N/039659 | 2009/03/26 | 2009/03/26 | Official Pillowtex LLC | US | 14 |
| N/039660 | 2009/03/26 | 2009/03/26 | Official Pillowtex LLC | US | 18 |
| N/039661 | 2009/03/26 | 2009/03/26 | Official Pillowtex LLC | US | 21 |
| N/039662 | 2009/03/26 | 2009/03/26 | Official Pillowtex LLC | US | 24 |
| N/039663 | 2009/03/26 | 2009/03/26 | Official Pillowtex LLC | US | 25 |
| N/039664 | 2009/03/26 | 2009/03/26 | Official Pillowtex LLC | US | 35 |
| N/039673 | 2009/03/26 | 2009/03/26 | Official Pillowtex LLC | US | 03 |
| N/039674 | 2009/03/26 | 2009/03/26 | Official Pillowtex LLC | US | 09 |
| N/039675 | 2009/03/26 | 2009/03/26 | Official Pillowtex LLC | US | 14 |
| N/039676 | 2009/03/26 | 2009/03/26 | Official Pillowtex LLC | US | 18 |
| N/039677 | 2009/03/26 | 2009/03/26 | Official Pillowtex LLC | US | 21 |
| N/039678 | 2009/03/26 | 2009/03/26 | Official Pillowtex LLC | US | 24 |
| N/039679 | 2009/03/26 | 2009/03/26 | Official Pillowtex LLC | US | 25 |
| N/039680 | 2009/03/26 | 2009/03/26 | Official Pillowtex LLC | US | 35 |
| N/039681 | 2009/03/26 | 2009/03/26 | Official Pillowtex LLC | US | 03 |
| N/039682 | 2009/03/26 | 2009/03/26 | Official Pillowtex LLC | US | 09 |
| N/039683 | 2009/03/26 | 2009/03/26 | Official Pillowtex LLC | US | 14 |
| N/039684 | 2009/03/26 | 2009/03/26 | Official Pillowtex LLC | US | 18 |
| N/039685 | 2009/03/26 | 2009/03/26 | Official Pillowtex LLC | US | 21 |
| N/039686 | 2009/03/26 | 2009/03/26 | Official Pillowtex LLC | US | 24 |
| N/039687 | 2009/03/26 | 2009/03/26 | Official Pillowtex LLC | US | 25 |
| N/039688 | 2009/03/26 | 2009/03/26 | Official Pillowtex LLC | US | 35 |
| N/039689 | 2009/03/26 | 2009/03/26 | Artful Holdings LLC | US | 03 |
| N/039690 | 2009/03/26 | 2009/03/26 | Artful Holdings LLC | US | 09 |
| N/039691 | 2009/03/26 | 2009/03/26 | Artful Holdings LLC | US | 14 |
| N/039692 | 2009/03/26 | 2009/03/26 | Artful Holdings LLC | US | 18 |
| N/039693 | 2009/03/26 | 2009/03/26 | Artful Holdings LLC | US | 24 |
| N/039694 | 2009/03/26 | 2009/03/26 | Artful Holdings LLC | US | 35 |
| N/039695 | 2009/03/26 | 2009/03/26 | 龐金琪 | CN | 42 |
| N/039696 | 2009/03/26 | 2009/03/26 | 上海美特斯邦威服飾股份有限公司 SHANGHAI METERSBONWE FASHION & ACCESSORIES CO., LTD. |
CN | 18 |
| N/039697 | 2009/03/26 | 2009/03/26 | 上海美特斯邦威服飾股份有限公司 SHANGHAI METERSBONWE FASHION & ACCESSORIES CO., LTD. |
CN | 25 |
| N/039701 | 2009/03/26 | 2009/03/26 | TOEI KABUSHIKI KAISHA | JP | 28 |
| N/039702 | 2009/03/26 | 2009/03/26 | VINIPORTUGAL-ASSOCIAÇÃO INTERPROFISSIONAL PARA A PROMOÇÃO DOS VINHOS PORTUGUESES | PT | 35 |
| N/039703 | 2009/03/26 | 2009/03/26 | IGT | US | 09 |
| N/039704 | 2009/03/26 | 2009/03/26 | IGT | US | 09 |
| N/039705 | 2009/03/26 | 2009/03/26 | IGT | US | 09 |
| N/039706 | 2009/03/26 | 2009/03/26 | IGT | US | 09 |
| N/039707 | 2009/03/26 | 2009/03/26 | IGT | US | 09 |
| N/039708 | 2009/03/26 | 2009/03/26 | IGT | US | 09 |
| N/039709 | 2009/03/26 | 2009/03/26 | IGT | US | 09 |
| N/039710 | 2009/03/26 | 2009/03/26 | IGT | US | 09 |
| N/039711 | 2009/03/26 | 2009/03/26 | IGT | US | 09 |
| N/039712 | 2009/03/26 | 2009/03/26 | IGT | US | 09 |
| N/039713 | 2009/03/26 | 2009/03/26 | IGT | US | 09 |
| N/039714 | 2009/03/26 | 2009/03/26 | IGT | US | 09 |
| N/039715 | 2009/03/26 | 2009/03/26 | IGT | US | 09 |
| N/039716 | 2009/03/26 | 2009/03/26 | IGT | US | 09 |
| N/039719 | 2009/03/26 | 2009/03/26 | 羅國恩 | HK | 11 |
| N/039720 | 2009/03/26 | 2009/03/26 | Famous Amos Chocolate Chip Cookie Company, LLC | US | 30 |
| N/039721 | 2009/03/26 | 2009/03/26 | Aruze Corp. | JP | 09 |
| N/039722 | 2009/03/26 | 2009/03/26 | Kabushiki Kaisha Vent International | JP | 03 |
| N/039723 | 2009/03/26 | 2009/03/26 | Kabushiki Kaisha Vent International | JP | 08 |
| N/039724 | 2009/03/26 | 2009/03/26 | Kabushiki Kaisha Vent International | JP | 09 |
| N/039725 | 2009/03/26 | 2009/03/26 | Kabushiki Kaisha Vent International | JP | 14 |
| N/039726 | 2009/03/26 | 2009/03/26 | Kabushiki Kaisha Vent International | JP | 16 |
| N/039727 | 2009/03/26 | 2009/03/26 | Kabushiki Kaisha Vent International | JP | 18 |
| N/039728 | 2009/03/26 | 2009/03/26 | Kabushiki Kaisha Vent International | JP | 20 |
| N/039729 | 2009/03/26 | 2009/03/26 | Kabushiki Kaisha Vent International | JP | 21 |
| N/039730 | 2009/03/26 | 2009/03/26 | Kabushiki Kaisha Vent International | JP | 24 |
| N/039731 | 2009/03/26 | 2009/03/26 | Kabushiki Kaisha Vent International | JP | 25 |
| N/039732 | 2009/03/26 | 2009/03/26 | Kabushiki Kaisha Vent International | JP | 28 |
| N/039733 | 2009/03/26 | 2009/03/26 | Kabushiki Kaisha Vent International | JP | 35 |
| N/039734 | 2009/03/26 | 2009/03/26 | Kabushiki Kaisha Vent International | JP | 03 |
| N/039735 | 2009/03/26 | 2009/03/26 | Kabushiki Kaisha Vent International | JP | 08 |
| N/039736 | 2009/03/26 | 2009/03/26 | Kabushiki Kaisha Vent International | JP | 09 |
| N/039737 | 2009/03/26 | 2009/03/26 | Kabushiki Kaisha Vent International | JP | 14 |
| N/039738 | 2009/03/26 | 2009/03/26 | Kabushiki Kaisha Vent International | JP | 16 |
| N/039739 | 2009/03/26 | 2009/03/26 | Kabushiki Kaisha Vent International | JP | 18 |
| N/039740 | 2009/03/26 | 2009/03/26 | Kabushiki Kaisha Vent International | JP | 20 |
| N/039741 | 2009/03/26 | 2009/03/26 | Kabushiki Kaisha Vent International | JP | 21 |
| N/039742 | 2009/03/26 | 2009/03/26 | Kabushiki Kaisha Vent International | JP | 24 |
| N/039743 | 2009/03/26 | 2009/03/26 | Kabushiki Kaisha Vent International | JP | 25 |
| N/039744 | 2009/03/26 | 2009/03/26 | Kabushiki Kaisha Vent International | JP | 28 |
| N/039745 | 2009/03/26 | 2009/03/26 | Kabushiki Kaisha Vent International | JP | 35 |
| N/039746 | 2009/03/26 | 2009/03/26 | Kabushiki Kaisha Vent International | JP | 03 |
| N/039747 | 2009/03/26 | 2009/03/26 | Kabushiki Kaisha Vent International | JP | 08 |
| N/039748 | 2009/03/26 | 2009/03/26 | Kabushiki Kaisha Vent International | JP | 09 |
| N/039749 | 2009/03/26 | 2009/03/26 | Kabushiki Kaisha Vent International | JP | 14 |
| N/039750 | 2009/03/26 | 2009/03/26 | Kabushiki Kaisha Vent International | JP | 16 |
| N/039751 | 2009/03/26 | 2009/03/26 | Kabushiki Kaisha Vent International | JP | 18 |
| N/039752 | 2009/03/26 | 2009/03/26 | Kabushiki Kaisha Vent International | JP | 20 |
| N/039753 | 2009/03/26 | 2009/03/26 | Kabushiki Kaisha Vent International | JP | 21 |
| N/039754 | 2009/03/26 | 2009/03/26 | Kabushiki Kaisha Vent International | JP | 24 |
| N/039755 | 2009/03/26 | 2009/03/26 | Kabushiki Kaisha Vent International | JP | 25 |
| N/039756 | 2009/03/26 | 2009/03/26 | Kabushiki Kaisha Vent International | JP | 28 |
| N/039757 | 2009/03/26 | 2009/03/26 | Kabushiki Kaisha Vent International | JP | 35 |
| N/039758 | 2009/03/26 | 2009/03/26 | Kabushiki Kaisha Vent International | JP | 03 |
| N/039759 | 2009/03/26 | 2009/03/26 | Kabushiki Kaisha Vent International | JP | 08 |
| N/039760 | 2009/03/26 | 2009/03/26 | Kabushiki Kaisha Vent International | JP | 09 |
| N/039761 | 2009/03/26 | 2009/03/26 | Kabushiki Kaisha Vent International | JP | 14 |
| N/039762 | 2009/03/26 | 2009/03/26 | Kabushiki Kaisha Vent International | JP | 16 |
| N/039763 | 2009/03/26 | 2009/03/26 | Kabushiki Kaisha Vent International | JP | 18 |
| N/039764 | 2009/03/26 | 2009/03/26 | Kabushiki Kaisha Vent International | JP | 20 |
| N/039765 | 2009/03/26 | 2009/03/26 | Kabushiki Kaisha Vent International | JP | 21 |
| N/039766 | 2009/03/26 | 2009/03/26 | Kabushiki Kaisha Vent International | JP | 24 |
| N/039767 | 2009/03/26 | 2009/03/26 | Kabushiki Kaisha Vent International | JP | 25 |
| N/039768 | 2009/03/26 | 2009/03/26 | Kabushiki Kaisha Vent International | JP | 28 |
| N/039769 | 2009/03/26 | 2009/03/26 | Kabushiki Kaisha Vent International | JP | 35 |
| N/039770 | 2009/03/26 | 2009/03/26 | Kabushiki Kaisha Vent International | JP | 35 |
| N/039771 | 2009/03/26 | 2009/03/26 | Kabushiki Kaisha Vent International | JP | 35 |
| N/039772 | 2009/03/26 | 2009/03/26 | Kabushiki Kaisha Vent International | JP | 35 |
| N/039774 | 2009/03/26 | 2009/03/26 | 斯蒂姆布魯克私人有限公司 Steambrook Pty Ltd |
AU | 03 |
| N/039775 | 2009/03/26 | 2009/03/26 | 斯蒂姆布魯克私人有限公司 Steambrook Pty Ltd |
AU | 25 |
| N/039776 | 2009/03/26 | 2009/03/26 | 斯蒂姆布魯克私人有限公司 Steambrook Pty Ltd |
AU | 35 |
| N/039894 | 2009/03/26 | 2009/03/26 | FRANCISCO DE MOURA GUEDES LOPES GALVÃO | MO | 25 |
| N/039998 | 2009/03/26 | 2009/03/26 | Guizhou Yibai Pharmaceutical Company Limited | CN | 05 |
- 1 不批給¡§Macau¡¨詞語的專屬使用權利。
- 2 不批給¡§極速纖體專家¡¨詞語的專屬使用權利。
- 3 不批給¡§câmbio manual¡¨及¡§controle eletrônico¡¨詞 語的專屬使用權利。
- 4 不批給¡§SMOOTHING REFLECTIVES¡¨詞語的專屬使用權利 。
- 5 不批給¡§MACAU¡¨詞語的專屬使用權利。
- 6 不批給¡§澳門¡¨詞語的專屬使用權利。
- 7 不批給¡§BROADCAST¡¨詞語的專屬使用權利。
- 8 不批給¡§財經台¡¨,¡§財經網¡¨¡§www.¡¨及¡§com.hk¡¨詞語的專屬使用權利。
- 9 不批給¡§財經台¡¨及¡§FINANCE¡¨詞語的專屬使用權利。
- 10 不批給¡§財經台¡¨詞語的專屬使用權利。
- 11 不批給¡§LONDON¡¨詞語的專屬使用權利。
- 12 不批給¡§BORDEAUX¡¨及¡§SAUVIGNON¡¨詞語的專屬使用權利 。
- 13 不批給¡§THE MOST PERFECTLY CUT DIAMOND IN THE WORLD¡¨詞語的專屬使用權利。
- 14 不批給¡§CAFE¡¨詞語的專屬使用權利。
- 15 不批給¡§Chinese Noodles Restaurants¡¨詞語 的專屬使用權利。
- 16 不批給¡§Macao¡¨詞語的專屬使用權利。
- 17 不批給¡§HOTEL¡¨詞語的專屬使用權利。
- 18 不批給¡§酒店¡¨,¡§HOTEL¡¨及¡§MACAU¡¨詞語的專屬使用權利。
- 19 不批給¡§意大利餐廳¡¨及¡§Italian Restaurant¡¨詞語的 專屬使用權利。
判決決定
| 程序編號 | 生效日期 | 註冊權利人之名稱 | 所屬國/地區 | 分類 |
| 1 N/024236 | 2009/03/17 | 威尼斯人澳門股份有限公司 Venetian Macau S.A., em inglês, Venetian Macau Limited |
MO | 35 |
1. 根據於2009年3月2日初級法院之判決,並於2009年3月17日已轉 為確定判決,裁判上訴部份理由成立,並廢止被上訴之批示以及命令核准第N/24236號商標於第35類服務之註冊,但詞語¡§路 氹¡¨及¡§COTAI¡¨不由上訴人專屬使用。
發明專利之保護
批給
| 程序編號 | 註冊日期 | 批示日期 |
註冊權利人之名稱 |
所屬國/地區 |
| I/000156 | 2009/03/13 | 2009/03/13 | 阿魯策株式會社 ARUZE CORP. |
JP |
| I/000157 | 2009/03/13 | 2009/03/13 | エソゼル商事株式會社 Angel Co., Ltd. |
JP |
| I/000162 | 2009/03/13 | 2009/03/13 | 阿魯策株式會社 ARUZE CORP. |
JP |
| I/000213 | 2009/03/13 | 2009/03/13 | 阿魯策株式會社 ARUZE CORP. |
JP |
| I/000253 | 2009/03/13 | 2009/03/13 | 阿魯策株式會社 ARUZE CORP. |
JP |
| ¡@ | ¡@ | ¡@ | 株式會社賽塔 Seta Corp. |
JP |
| ¡@ | ¡@ | ¡@ | 株式會社MINERVA MINERVA Corp. |
JP |
| I/000287 | 2009/03/13 | 2009/03/13 | 阿魯策株式會社 ARUZE CORP. |
JP |
| I/000300 | 2009/03/13 | 2009/03/13 | 阿魯策株式會社 ARUZE CORP. |
JP |
| I/000353 | 2009/03/13 | 2009/03/13 | Aruze Corp. | JP |
| I/000385 | 2009/03/13 | 2009/03/13 | 阿魯策株式會社 ARUZE CORP. |
JP |
| I/000393 | 2009/03/13 | 2009/03/13 | Genting (NSW) Pty Ltd | AU |
| I/000397 | 2009/03/13 | 2009/03/13 | 阿魯策株式會社 ARUZE CORP. |
JP |
| I/000417 | 2009/03/13 | 2009/03/13 | Aruze Corp. | JP |
| I/000418 | 2009/03/13 | 2009/03/13 | Aruze Corp. | JP |
| I/000590 | 2009/03/13 | 2009/03/13 | Aruze Gaming America, Inc. | US |
| I/000591 | 2009/03/13 | 2009/03/13 | 阿魯策株式會社 ARUZE CORP. |
JP |
營業場所名稱之保護
批給
| 程序編號 | 註冊日期 | 批示日期 | 註冊權利人之名稱 | 所屬國/地區 |
| E/000119 | 2009/03/26 | 2009/03/26 | 陳雪玲 Chen Xueling |
MO |
| 1 E/000120 | 2009/03/26 | 2009/03/26 | 羅偉明 Lo Wai Meng |
MO |
1 不批給¡§麵家¡¨詞語的專屬使用權利。
實用專利之保護
批給
| 程序編號 | 註冊日期 | 批示日期 | 註冊權利人之名稱 | 所屬國/地區 |
| U/000015 | 2009/03/13 | 2009/03/13 | 李忠錦 LEI CHONG KAM |
MO |
| U/000030 | 2009/03/13 | 2009/03/13 | 任鵬飛 | CN |
| U/000033 | 2009/03/13 | 2009/03/13 | 任鵬飛 | CN |
商標之保護
續期
| 程序編號 | 商標編號 | 續展日期 | 註冊權利人之名稱 | 所屬國/地區 |
| P/000964 | 869-M | 2009/03/30 | VISA INTERNATIONAL SERVICE ASSOCIATION | US |
| P/001126 | 1031-M | 2009/04/03 | ACADEMY OF MOTION PICTURE ARTS AND SCIENCES | US |
| P/001127 | 1032-M | 2009/04/03 | ACADEMY OF MOTION PICTURE ARTS AND SCIENCES | US |
| P/001727 | 1631-M | 2009/04/03 | ACADEMY OF MOTION PICTURE ARTS AND SCIENCES | US |
| P/001728 | 1632-M | 2009/04/03 | ACADEMY OF MOTION PICTURE ARTS AND SCIENCES | US |
| P/001917 | 1821-M | 2009/03/17 | DD IP Holder LLC | US |
| P/001920 | 1824-M | 2009/03/12 | RCI, LLC | US |
| P/001957 | 1860-M | 2009/03/13 | EMERSON ELECTRIC CO. | US |
| P/001958 | 1861-M | 2009/03/13 | EMERSON ELECTRIC CO. | US |
| P/002449 | 2345-M | 2009/03/26 | THE BLACK & DECKER CORPORATION | US |
| P/002820 | 2716-M | 2009/03/30 | EMERSON ELECTRIC CO. | US |
| P/002833 | 2729-M | 2009/03/30 | EMERSON ELECTRIC CO. | US |
| P/003018 | 2913-M | 2009/03/26 | DEL MONTE CORPORATION | US |
| P/003020 | 2915-M | 2009/03/26 | DEL MONTE CORPORATION | US |
| P/003864 | 3735-M | 2009/03/13 | X/Open Company Limited | GB |
| P/003865 | 3736-M | 2009/03/13 | X/Open Company Limited | GB |
| P/003918 | 3789-M | 2009/03/25 | Chrysler LLC | US |
| P/003919 | 3790-M | 2009/03/25 | Chrysler LLC | US |
| P/003920 | 3791-M | 2009/03/25 | Chrysler LLC | US |
| P/003921 | 3792-M | 2009/03/25 | Chrysler LLC | US |
| P/003929 | 3800-M | 2009/03/25 | Chrysler LLC | US |
| P/003970 | 3841-M | 2009/04/03 | SYNGENTA PARTICIPATIONS AG | CH |
| P/004195 | 4064-M | 2009/03/25 | Chrysler LLC | US |
| P/004221 | 4090-M | 2009/03/25 | Chrysler LLC | US |
| P/004222 | 4091-M | 2009/03/25 | Chrysler LLC | US |
| P/004231 | 4100-M | 2009/03/25 | Chrysler LLC | US |
| P/004232 | 4101-M | 2009/03/25 | Chrysler LLC | US |
| P/004233 | 4102-M | 2009/03/25 | Chrysler LLC | US |
| P/004250 | 4119-M | 2009/03/25 | Chrysler LLC | US |
| P/004255 | 4124-M | 2009/03/25 | Chrysler LLC | US |
| P/004741 | 4602-M | 2009/03/26 | TIE RACK TRADING LIMITED | GB |
| P/004834 | 4695-M | 2009/03/30 | WARNER BROS. RECORDS INC., uma sociedade organizada e existindo segundo as leis do Estado de Delaware | US |
| P/004835 | 4696-M | 2009/03/13 | WBR/SIRE VENTURES INC., uma sociedade organizada e existindo segundo as leis do Estado de Delaware | US |
| P/005370 | 5228-M | 2009/03/25 | Chrysler LLC | US |
| P/006231 | 6056-M | 2009/03/18 | NISSAN JIDOSHA KABUSHIKI KAISHA (que também usa Nissan Motor Co., Ltd.) | JP |
| P/006232 | 6057-M | 2009/03/18 | NISSAN JIDOSHA KABUSHIKI KAISHA, que também usa NISSAN MOTOR COMPANY, LTD. | JP |
| P/006233 | 6058-M | 2009/03/18 | NISSAN JIDOSHA KABUSHIKI KAISHA (que também usa Nissan Motor Company, Ltd.) | JP |
| P/006234 | 6059-M | 2009/03/18 | NISSAN JIDOSHA KABUSHIKI KAISHA, que também usa Nissan Motor Co. Ltd. | JP |
| P/006245 | 6070-M | 2009/03/19 | Tommy Hilfiger Licensing, LLC | US |
| P/006251 | 6076-M | 2009/03/19 | Tommy Hilfiger Licensing, LLC | US |
| P/006262 | 6087-M | 2009/03/19 | Tommy Hilfiger Licensing, LLC | US |
| P/006295 | 6120-M | 2009/03/19 | Tommy Hilfiger Licensing, LLC | US |
| P/006299 | 6124-M | 2009/03/19 | Tommy Hilfiger Licensing, LLC | US |
| P/006302 | 6127-M | 2009/03/18 | NISSAN JIDOSHA KABUSHIKI KAISHA (também usando comercialmente Nissan Motor Company, Ltd.) | JP |
| P/006305 | 6130-M | 2009/03/12 | Glaxo Group Limited | GB |
| P/006325 | 6150-M | 2009/03/25 | Chrysler LLC | US |
| P/006365 | 6190-M | 2009/03/12 | Glaxo Group Limited | GB |
| P/006385 | 6210-M | 2009/04/03 | NISSAN JIDOSHA KABUSHIKI KAISHA (usando também NISSAN MOTOR COMPANY, LTD.) | JP |
| P/006667 | 6455-M | 2009/04/03 | NISSAN JIDOSHA KABUSHIKI KAISHA que usa comercialmente NISSAN MOTOR CO, LTD.) | JP |
| P/007504 | 7274-M | 2009/03/17 | THE GIDEONS INTERNATIONAL, corporação do Estado de Illinois | US |
| P/007705 | 7475-M | 2009/03/13 | BRISTOL-MYYERS SQUIBB COMPANY | US |
| P/009063 | 8795-M | 2009/03/12 | LANCASTER GROUP AG. | DE |
| P/009314 | 9082-M | 2009/04/03 | MGI Luxury Group, S.A. | CH |
| P/009814 | 9631-M | 2009/03/12 | CHANEL | FR |
| P/010474 | 10349-M | 2009/03/18 | JOHN CRANE, INC. | US |
| P/010916 | 10739-M | 2009/03/13 | HLT DOMESTIC IP LLC. | US |
| P/010917 | 10740-M | 2009/03/13 | HLT DOMESTIC IP LLC. | US |
| P/010918 | 10741-M | 2009/03/13 | HLT DOMESTIC IP LLC. | US |
| P/010933 | 10756-M | 2009/03/13 | NUMA JEANNIN S.A. | CH |
| P/011569 | 11532-M | 2009/03/17 | V&S VIN & SPRIT AKTIEBOLAG (publ) | SE |
| P/011694 | 11621-M | 2009/03/12 | ANSUL, INCORPORATED | US |
| P/011695 | 11622-M | 2009/03/12 | ANSUL, INCORPORATED | US |
| P/012232 | 12121-M | 2009/03/26 | Mandarin Oriental Hotel Group Limited | HK |
| P/012233 | 12122-M | 2009/03/26 | Mandarin Oriental Hotel Group Limited | HK |
| N/007659 | - | 2009/03/12 | Cerveceria Modelo, S.ª De C.V. | MX |
| N/007660 | - | 2009/03/12 | Cerveceria Modelo, S.ª De C.V. | MX |
| N/007881 | - | 2009/03/18 | UNITED AIR LINES, INC. uma sociedade organizada e existindo segundo as leis do Estado de Delaware | US |
| N/007974 | - | 2009/03/26 | CAVES ALIANÇA S.A. | PT |
| N/007994 | - | 2009/04/03 | GROUPEMENT FONCIER AGRICOLE DES VIGNOBLES DE LA BARONNE PHILIPPINE DE ROTHSCHILD | FR |
| N/007995 | - | 2009/04/03 | GROUPEMENT FONCIER AGRICOLE DES VIGNOBLES DE LA BARONNE PHILIPPINE DE ROTHSCHILD | FR |
| N/007996 | - | 2009/04/03 | GROUPEMENT FONCIER AGRICOLE DES VIGNOBLES DE LA BARONNE PHILIPPINE DE ROTHSCHILD | FR |
| N/008039 | - | 2009/03/25 | CIRO PAONE S.p.A. | IT |
| N/008088 | - | 2009/03/30 | Hovione FarmaCiência S.A. | MO |
| N/008089 | - | 2009/03/30 | Hovione FarmaCiência S.A. | MO |
| N/008090 | - | 2009/03/30 | Hovione FarmaCiência S.A. | MO |
| N/008270 | - | 2009/03/25 | Tully¡¦s Coffee Corporation | US |
| N/008271 | - | 2009/03/25 | Tully¡¦s Coffee Corporation | US |
| N/008272 | - | 2009/03/25 | Tully¡¦s Coffee Corporation | US |
| N/008318 | - | 2009/03/30 | Kabushiki Kaisha Sony Computer Entertainment (Sony Computer Entertainment Inc.) | JP |
| N/008424 | - | 2009/03/23 | ANGEL CO., LTD., uma sociedade por acções organizada segundo as leis do Japão | JP |
| N/008425 | - | 2009/03/23 | ANGEL CO., LTD., uma sociedade por acções organizada segundo as leis do Japão | JP |
| N/008529 | - | 2009/03/12 | British American Tobacco (Brands) Limited | GB |
| N/008534 | - | 2009/03/13 | TABACALERA DEL ESTE, S.A. | PY |
| N/008551 | - | 2009/04/03 | 佛山市南海區九江信源興酒類有限公司 | CN |
| N/008724 | - | 2009/03/25 | British American Tobacco (Brands) Inc. | US |
| N/008761 | - | 2009/03/25 | SOCIÉTÉ NOUVELLE DEL ARTE, sociedade por acções simplificada organizada segundo as leis de França | FR |
| N/008762 | - | 2009/03/25 | SOCIÉTÉ NOUVELLE DEL ARTE, sociedade por acções simplificada organizada segundo as leis de França | FR |
| N/008763 | - | 2009/03/25 | SOCIÉTÉ NOUVELLE DEL ARTE, sociedade por acções simplificada organizada segundo as leis de França | FR |
| N/008794 | - | 2009/03/20 | Clarion Co., Ltd | JP |
| N/008795 | - | 2009/03/20 | Clarion Co., Ltd | JP |
| N/008813 | - | 2009/03/13 | United Power Asia Limited | HK |
| N/008826 | - | 2009/03/12 | American-Cigarette Company (Overseas) Limited | CH |
| N/008842 | - | 2009/03/12 | Esprit International | US |
| N/008843 | - | 2009/03/12 | Esprit International | US |
| N/008844 | - | 2009/03/12 | Esprit International | US |
| N/008845 | - | 2009/03/12 | Esprit International | US |
| N/008846 | - | 2009/03/12 | Esprit International | US |
| N/008847 | - | 2009/03/12 | Esprit International | US |
| N/008848 | - | 2009/03/12 | Esprit International | US |
| N/008849 | - | 2009/03/12 | Esprit International | US |
| N/008854 | - | 2009/03/13 | Hu Kim Ai comercializando como Geneve Timepiece, organizado e existindo segundo as leis da Malásia | MY |
| N/008856 | - | 2009/03/17 | 福建七匹狼集團公司 FUJIAN SEPTWOLVES GROUP CORP. |
CN |
| N/008864 | - | 2009/03/25 | Ardath Tobacco Company Limited | GB |
| N/008913 | - | 2009/03/25 | Société de Conseils de Recherches et D¡¦Applications Scientifiques (S.C.R.A.S.) | FR |
| N/008914 | - | 2009/03/25 | Société de Conseils de Recherches et D¡¦Applications Scientifiques (S.C.R.A.S.) | FR |
| N/008915 | - | 2009/03/25 | Société de Conseils de Recherches et D¡¦Applications Scientifiques (S.C.R.A.S.) | FR |
| N/008916 | - | 2009/03/25 | Société de Conseils de Recherches et D¡¦Applications Scientifiques (S.C.R.A.S.) | FR |
| N/008917 | - | 2009/03/25 | Société de Conseils de Recherches et D¡¦Applications Scientifiques (S.C.R.A.S.) | FR |
| N/008918 | - | 2009/03/25 | Société de Conseils de Recherches et D¡¦Applications Scientifiques (S.C.R.A.S.) | FR |
| N/008919 | - | 2009/03/25 | Société de Conseils de Recherches et D¡¦Applications Scientifiques (S.C.R.A.S.) | FR |
| N/008920 | - | 2009/03/25 | Société de Conseils de Recherches et D¡¦Applications Scientifiques (S.C.R.A.S.) | FR |
| N/008921 | - | 2009/03/25 | Société de Conseils de Recherches et D¡¦Applications Scientifiques (S.C.R.A.S.) | FR |
| N/008922 | - | 2009/03/25 | Société de Conseils de Recherches et D¡¦Applications Scientifiques (S.C.R.A.S.) | FR |
| N/008923 | - | 2009/03/25 | Société de Conseils de Recherches et D¡¦Applications Scientifiques (S.C.R.A.S.) | FR |
| N/008930 | - | 2009/03/12 | Lam Soon Trademark Limited | CK |
| N/008937 | - | 2009/03/17 | 泉通國際食品發展有限公司 DESENVOLVIMENTO DE COMESTÍVEL CHUN TONG INTERNACIONAL LIMITADA |
MO |
| N/008968 | - | 2009/03/13 | 老人頭服飾有限公司 Boutique Lou Ian Tao, Limitada |
MO |
| N/008987 | - | 2009/03/20 | Vodafone Group Plc | GB |
| N/008988 | - | 2009/03/20 | Vodafone Group Plc | GB |
| N/008989 | - | 2009/03/20 | Vodafone Group Plc | GB |
| N/008990 | - | 2009/03/20 | Vodafone Group Plc | GB |
| N/008991 | - | 2009/03/20 | Vodafone Group Plc | GB |
| N/008992 | - | 2009/03/20 | Vodafone Group Plc | GB |
| N/009001 | - | 2009/03/17 | SILVER VANTAGE LIMITED, uma companhia de responsabilidade limitada incorporada de Hong Kong | HK |
| N/009002 | - | 2009/03/17 | SILVER VANTAGE LIMITED, uma companhia de responsabilidade limitada incorporada de Hong Kong | HK |
| N/009003 | - | 2009/03/17 | SILVER VANTAGE LIMITED, uma companhia de responsabilidade limitada incorporada de Hong Kong | HK |
| N/009004 | - | 2009/03/17 | SILVER VANTAGE LIMITED, uma companhia de responsabilidade limitada incorporada de Hong Kong | HK |
| N/009005 | - | 2009/03/17 | SILVER VANTAGE LIMITED, uma companhia de responsabilidade limitada incorporada de Hong Kong | HK |
| N/009006 | - | 2009/03/17 | SILVER VANTAGE LIMITED, uma companhia de responsabilidade limitada incorporada de Hong Kong | HK |
| N/009007 | - | 2009/03/17 | SILVER VANTAGE LIMITED, uma companhia de responsabilidade limitada incorporada de Hong Kong | HK |
| N/009008 | - | 2009/03/17 | SILVER VANTAGE LIMITED, uma companhia de responsabilidade limitada incorporada de Hong Kong | HK |
| N/009009 | - | 2009/03/17 | SILVER VANTAGE LIMITED, uma companhia de responsabilidade limitada incorporada de Hong Kong | HK |
| N/009010 | - | 2009/03/26 | Rollei Fototechnic GmbH | DE |
| N/009011 | - | 2009/03/26 | Rollei Fototechnic GmbH | DE |
| N/009015 | - | 2009/03/12 | Kuok Oils & Grains Pte Ltd | SG |
| N/009016 | - | 2009/03/12 | Kuok Oils & Grains Pte Ltd | SG |
| N/009017 | - | 2009/03/12 | Kuok Oils & Grains Pte Ltd | SG |
| N/009018 | - | 2009/03/12 | Kuok Oils & Grains Pte Ltd | SG |
| N/009019 | - | 2009/03/12 | Kuok Oils & Grains Pte Ltd | SG |
| N/009020 | - | 2009/03/12 | Kuok Oils & Grains Pte Ltd | SG |
| N/009021 | - | 2009/03/12 | Kuok Oils & Grains Pte Ltd | SG |
| N/009022 | - | 2009/03/12 | Kuok Oils & Grains Pte Ltd | SG |
| N/009024 | - | 2009/03/20 | Caesars World, Inc. | US |
| N/009025 | - | 2009/03/20 | Caesars World, Inc. | US |
| N/009054 | - | 2009/03/13 | 大昌貿易行有限公司 Dah Chong Hong, Limited |
HK |
| N/009060 | - | 2009/03/24 | 博內特里塞文奧勒有限公司 Bonneterie Cévenole S.A.R.L. |
FR |
| N/009061 | - | 2009/03/24 | 博內特里塞文奧勒有限公司 Bonneterie Cévenole S.A.R.L. |
FR |
| N/009098 | - | 2009/03/17 | SILVER VANTAGE LIMITED, uma companhia de responsabilidade limitada incorporada de Hong Kong | HK |
| N/009099 | - | 2009/03/17 | SILVER VANTAGE LIMITED, uma companhia de responsabilidade limitada incorporada de Hong Kong | HK |
| N/009100 | - | 2009/03/17 | SILVER VANTAGE LIMITED, uma companhia de responsabilidade limitada incorporada de Hong Kong | HK |
| N/009101 | - | 2009/03/17 | SILVER VANTAGE LIMITED, uma companhia de responsabilidade limitada incorporada de Hong Kong | HK |
| N/009102 | - | 2009/03/17 | SILVER VANTAGE LIMITED, uma companhia de responsabilidade limitada incorporada de Hong Kong | HK |
| N/009103 | - | 2009/03/17 | SILVER VANTAGE LIMITED, uma companhia de responsabilidade limitada incorporada de Hong Kong | HK |
| N/009104 | - | 2009/03/17 | SILVER VANTAGE LIMITED, uma companhia de responsabilidade limitada incorporada de Hong Kong | HK |
| N/009105 | - | 2009/03/17 | SILVER VANTAGE LIMITED, uma companhia de responsabilidade limitada incorporada de Hong Kong | HK |
| N/009106 | - | 2009/03/17 | SILVER VANTAGE LIMITED, uma companhia de responsabilidade limitada incorporada de Hong Kong | HK |
| N/009129 | - | 2009/03/23 | 珠海格力電器股份有限公司 | CN |
| N/009130 | - | 2009/03/23 | 珠海格力電器股份有限公司 | CN |
| N/009131 | - | 2009/03/23 | 珠海格力電器股份有限公司 | CN |
| N/009135 | - | 2009/04/08 | 廣東美的電器股份有限公司 | CN |
| N/009151 | - | 2009/03/12 | SHUN TAK, SERVIÇOS DE GESTÃO, S. A. (em inglês, Shun Tak Management Services Group Limited) | MO |
| N/009152 | - | 2009/03/12 | SHUN TAK, SERVIÇOS DE GESTÃO, S. A. (em inglês, Shun Tak Management Services Group Limited) | MO |
| N/009153 | - | 2009/03/12 | SHUN TAK, SERVIÇOS DE GESTÃO, S. A. (em inglês, Shun Tak Management Services Group Limited) | MO |
| N/009154 | - | 2009/03/12 | SHUN TAK, SERVIÇOS DE GESTÃO, S. A. (em inglês, Shun Tak Management Services Group Limited) | MO |
| N/009155 | - | 2009/03/12 | SHUN TAK, SERVIÇOS DE GESTÃO, S. A. (em inglês, Shun Tak Management Services Group Limited) | MO |
| N/009156 | - | 2009/03/12 | SHUN TAK, SERVIÇOS DE GESTÃO, S. A. (em inglês, Shun Tak Management Services Group Limited) | MO |
| N/009157 | - | 2009/03/12 | SHUN TAK, SERVIÇOS DE GESTÃO, S. A. (em inglês, Shun Tak Management Services Group Limited) | MO |
| N/009158 | - | 2009/03/12 | SHUN TAK, SERVIÇOS DE GESTÃO, S. A. (em inglês, Shun Tak Management Services Group Limited) | MO |
| N/009159 | - | 2009/03/12 | SHUN TAK, SERVIÇOS DE GESTÃO, S. A. (em inglês, Shun Tak Management Services Group Limited) | MO |
| N/009160 | - | 2009/03/12 | SHUN TAK, SERVIÇOS DE GESTÃO, S. A. (em inglês, Shun Tak Management Services Group Limited) | MO |
| N/009161 | - | 2009/03/12 | SHUN TAK, SERVIÇOS DE GESTÃO, S. A. (em inglês, Shun Tak Management Services Group Limited) | MO |
| N/009162 | - | 2009/03/12 | SHUN TAK, SERVIÇOS DE GESTÃO, S. A. (em inglês, Shun Tak Management Services Group Limited) | MO |
| N/009163 | - | 2009/03/12 | SHUN TAK, SERVIÇOS DE GESTÃO, S. A. (em inglês, Shun Tak Management Services Group Limited) | MO |
| N/009164 | - | 2009/03/12 | SHUN TAK, SERVIÇOS DE GESTÃO, S. A. (em inglês, Shun Tak Management Services Group Limited) | MO |
| N/009165 | - | 2009/03/12 | SHUN TAK, SERVIÇOS DE GESTÃO, S. A. (em inglês, Shun Tak Management Services Group Limited) | MO |
| N/009166 | - | 2009/03/12 | SHUN TAK, SERVIÇOS DE GESTÃO, S. A. (em inglês, Shun Tak Management Services Group Limited) | MO |
| N/009167 | - | 2009/03/12 | SHUN TAK, SERVIÇOS DE GESTÃO, S. A. (em inglês, Shun Tak Management Services Group Limited) | MO |
| N/009168 | - | 2009/03/12 | SHUN TAK, SERVIÇOS DE GESTÃO, S. A. (em inglês, Shun Tak Management Services Group Limited) | MO |
| N/009169 | - | 2009/03/12 | SHUN TAK, SERVIÇOS DE GESTÃO, S. A. (em inglês, Shun Tak Management Services Group Limited) | MO |
| N/009170 | - | 2009/03/12 | SHUN TAK, SERVIÇOS DE GESTÃO, S. A. (em inglês, Shun Tak Management Services Group Limited) | MO |
| N/009171 | - | 2009/03/12 | SHUN TAK, SERVIÇOS DE GESTÃO, S. A. (em inglês, Shun Tak Management Services Group Limited) | MO |
| N/009172 | - | 2009/03/12 | SHUN TAK, SERVIÇOS DE GESTÃO, S. A. (em inglês, Shun Tak Management Services Group Limited) | MO |
| N/009173 | - | 2009/03/12 | SHUN TAK, SERVIÇOS DE GESTÃO, S. A. (em inglês, Shun Tak Management Services Group Limited) | MO |
| N/009174 | - | 2009/03/12 | SHUN TAK, SERVIÇOS DE GESTÃO, S. A. (em inglês, Shun Tak Management Services Group Limited) | MO |
| N/009175 | - | 2009/03/12 | SHUN TAK, SERVIÇOS DE GESTÃO, S. A. (em inglês, Shun Tak Management Services Group Limited) | MO |
| N/009176 | - | 2009/03/12 | SHUN TAK, SERVIÇOS DE GESTÃO, S. A. (em inglês, Shun Tak Management Services Group Limited) | MO |
| N/009177 | - | 2009/03/12 | SHUN TAK, SERVIÇOS DE GESTÃO, S.A. (em inglês, Shun Tak Management Services Group Limited) | MO |
| N/009178 | - | 2009/03/12 | SHUN TAK, SERVIÇOS DE GESTÃO, S. A. (em inglês, Shun Tak Management Services Group Limited) | MO |
| N/009179 | - | 2009/03/12 | SHUN TAK, SERVIÇOS DE GESTÃO, S. A. (em inglês, Shun Tak Management Services Group Limited) | MO |
| N/009180 | - | 2009/03/12 | SHUN TAK, SERVIÇOS DE GESTÃO, S. A. (em inglês, Shun Tak Management Services Group Limited) | MO |
| N/009187 | - | 2009/03/30 | Ma Pak Leung Co., Ltd. | HK |
| N/009188 | - | 2009/03/30 | Ma Pak Leung Co., Ltd. | HK |
| N/009192 | - | 2009/03/30 | Reinhold Richter | DE |
| N/009193 | - | 2009/03/30 | Reinhold Richter | DE |
| N/009296 | - | 2009/03/13 | United Power Asia Limited | HK |
| N/009332 | - | 2009/03/26 | CORPORACION HABANOS, S.A. | CU |
| N/009395 | - | 2009/03/12 | Earth Chemical Company Limited | JP |
| N/009396 | - | 2009/03/12 | Earth Chemical Company Limited | JP |
| N/009440 | - | 2009/03/26 | AKI HABARA ELECTRIC CORPORATION PTE LTD, uma companhia incorporada em Singapura | SG |
| N/009441 | - | 2009/03/26 | AKI HABARA ELECTRIC CORPORATION PTE LTD, uma companhia incorporada em Singapura | SG |
| N/009442 | - | 2009/03/26 | AKI HABARA ELECTRIC CORPORATION PTE LTD, uma companhia incorporada em Singapura | SG |
| N/009443 | - | 2009/03/26 | AKI HABARA ELECTRIC CORPORATION PTE LTD, uma companhia incorporada em Singapura | SG |
| N/009518 | - | 2009/03/24 | Bonneterie Cevenole S.A.R.L. | FR |
| N/009519 | - | 2009/03/24 | Bonneterie Cevenole S.A.R.L. | FR |
| N/009520 | - | 2009/03/24 | Bonneterie Cevenole S.A.R.L. | FR |
| N/009521 | - | 2009/03/24 | Bonneterie Cevenole S.A.R.L. | FR |
| N/009522 | - | 2009/03/24 | Bonneterie Cevenole S.A.R.L. | FR |
| N/009523 | - | 2009/03/24 | Bonneterie Cevenole S.A.R.L. | FR |
| N/009524 | - | 2009/03/24 | Bonneterie Cevenole S.A.R.L. | FR |
| N/009525 | - | 2009/03/24 | Bonneterie Cevenole S.A.R.L. | FR |
| N/009526 | - | 2009/03/24 | Bonneterie Cevenole S.A.R.L. | FR |
| N/009527 | - | 2009/03/24 | Bonneterie Cevenole S.A.R.L. | FR |
| N/009528 | - | 2009/03/24 | Bonneterie Cevenole S.A.R.L. | FR |
| N/009529 | - | 2009/03/24 | Bonneterie Cevenole S.A.R.L. | FR |
| N/009559 | - | 2009/03/12 | Japan Tobacco Inc. | JP |
| N/009633 | - | 2009/03/30 | Newise International Limited | HK |
| N/009654 | - | 2009/03/26 | EMERSON ELECTRIC CO., sociedade do Missouri | US |
| N/009660 | - | 2009/03/26 | JOHNSON & JOHNSON | US |
| N/009667 | - | 2009/03/26 | JOHNSON & JOHNSON | US |
| N/009673 | - | 2009/03/30 | 浙江步森服飾股份有限公司 Zhejiang Busen Garments Co., Ltd. |
CN |
| N/009716 | - | 2009/03/20 | S. C. Johnson & Son, Inc. | US |
附註
| 程序編號 | 批示日期 | 附註之性質 | 申請人/註冊權利人 | 更改 |
| P/000370 (316-M) |
2009/03/30 | §ó§ï¦a§} | LEE KUM KEE COMPANY LIMITED | 2-4 Dai Fat Street, Tai Po Industrial Estate, Tai Po, New Territories, Hong Kong |
| P/000401 (347-M) |
2009/03/23 | §ó§ï¦a§} | LRC PRODUCTS LIMITED | Toft Hall, Holmes Chapel Road, Toft, Knutsford, Cheshire WA16 9PD, Inglaterra |
| P/000401 (347-M) |
2009/03/23 | §ó§ï¦a§} | LRC PRODUCTS LIMITED | 35 New Bridge Street, London EC4V 6BW, Inglaterra |
| P/000964 (869-M) |
2009/03/30 | §ó§ï¦a§} | VISA INTERNATIONAL SERVICE ASSOCIATION | 900 Metro Center Boulevard, Foster City, California 94404, U.S.A. |
| P/001276 (1181-M) |
2009/03/12 | §ó§ï¦a§} | ARJO WIGGINS FINE PAPERS LIMITED | Fine Papers House, PO Box 88, Lime Tree Way, Chineham, Basingstoke, Hampshire RG24 8BA, United Kingdom |
| P/001449 (1353-M) |
2009/03/23 | §ó§ï»{§O¸ê®Æ | CAPITOL RECORDS, INC. | Capitol Records LLC |
| P/001449 (1353-M) |
2009/03/23 | §ó§ï¦a§} | Capitol Records LLC | 150 Fifth Avenue, 11th Floor, New York, NY 10011, U.S.A. |
| P/001451 (1355-M) |
2009/03/23 | §ó§ï»{§O¸ê®Æ | CAPITOL RECORDS, INC. | Capitol Records LLC |
| P/001451 (1355-M) |
2009/03/23 | §ó§ï¦a§} | Capitol Records LLC | 150 Fifth Avenue, 11th Floor, New York, NY 10011, U.S.A. |
| P/003370 (3241-M) |
2009/03/24 | ÂàÅý | THE JACOB¡¦S BAKERY LIMITED | Danone Asia Pte Limited, com sede em Temasek Avenue, 34-02 Millenia Tower, 039192 Singapore |
| P/003960 (3831-M) |
2009/03/17 | §ó§ï»{§O¸ê®Æ | SANOFI-SYNTHELABO | SANOFI-AVENTIS |
| P/004834 (4695-M) |
2009/03/30 | §ó§ï¦a§} | WARNER BROS. RECORDS INC., uma sociedade organizada e existindo segundo as leis do Estado de Delaware | 3300 Warner Boulevard, Burbank, California, United States of America |
| P/004835 (4696-M) |
2009/03/13 | §ó§ï¦a§} | WBR/SIRE VENTURES INC., uma sociedade organizada e existindo segundo as leis do Estado de Delaware | 3300 Warner Boulevard, Burbank, California, U.S.A. |
| P/005453 (5311-M) |
2009/03/17 | §ó§ï»{§O¸ê®Æ | SANOFI-SYNTHELABO | SANOFI-AVENTIS |
| P/005496 (5354-M) |
2009/03/17 | §ó§ï»{§O¸ê®Æ | SANOFI-SYNTHELABO | SANOFI-AVENTIS |
| P/006679 (6467-M) |
2009/03/17 | §ó§ï»{§O¸ê®Æ | SANOFI-SYNTHELABO | SANOFI-AVENTIS |
| P/007371 (7141-M) |
2009/03/12 | ¦X¨ÖÂàÅý | BÉNÉDICTINE, DISTILLERIE DE LA LIQUEUR DE L¡¦ANCIENNE ABBAYE DE FÉCAMP, Société anonyme | Bacardi France, com sede em 19 Avenue Michelet 93400 Saint Ouen, France |
| P/007504 (7274-M) |
2009/03/17 | §ó§ï¦a§} | THE GIDEONS INTERNATIONAL, corporação do Estado de Illinois | 50 Century Boulevard, Nashville, Tennessee 37214, Estados Unidos da América |
| P/007585 (7355-M) |
2009/03/23 | §ó§ï¦a§} | Conopco, Inc. | 700 Sylvan Avenue, Englewood Cliffs, New Jersey 07632, United States of America |
| P/009063 (8795-M) |
2009/03/12 | §ó§ï»{§O¸ê®Æ | Lancaster Group AG. | LANCASTER GROUP GmbH |
| P/009063 (8795-M) |
2009/03/12 | §ó§ï»{§O¸ê®Æ | LANCASTER GROUP GmbH | COTY PRESTIGE LANCASTER GROUP GmbH |
| P/009063 (8795-M) |
2009/03/12 | §ó§ï¦a§} | COTY PRESTIGE LANCASTER GROUP GmbH | Fort Malakoff Park, Rheinstrasse 4E, 55116 Mainz, Germany |
| P/009446 (9323-M) |
2009/03/24 | §ó§ï»{§O¸ê®Æ | CAPITOL RECORDS, INC. | Capitol Records LLC |
| P/009446 (9323-M) |
2009/03/24 | §ó§ï¦a§} | Capitol Records LLC | 150 Fifth Avenue, 11th Floor, New York, NY 10011, U.S.A. |
| P/009830 (9654-M) |
2009/03/12 | §ó§ï»{§O¸ê®Æ | KIRIN BEER KABUSHIKI KAISHA que também usa KIRIN BREWERY CO., LTD. | KIRIN HOLDINGS KABUSHIKI KAISHA (also trading as Kirin Holdings Co., Ltd.) |
| P/009831 (9655-M) |
2009/03/12 | §ó§ï»{§O¸ê®Æ | KIRIN BEER KABUSHIKI KAISHA que também usa KIRIN BREWERY CO., LTD. | KIRIN HOLDINGS KABUSHIKI KAISHA (also trading as Kirin Holdings Co., Ltd.) |
| P/009832 (9656-M) |
2009/03/12 | §ó§ï»{§O¸ê®Æ | KIRIN BEER KABUSHIKI KAISHA que também usa KIRIN BREWERY CO., LTD. | KIRIN HOLDINGS KABUSHIKI KAISHA (also trading as Kirin Holdings Co., Ltd.) |
| P/009833 (9657-M) |
2009/03/12 | §ó§ï»{§O¸ê®Æ | KIRIN BEER KABUSHIKI KAISHA que também usa KIRIN BREWERY CO., LTD. | KIRIN HOLDINGS KABUSHIKI KAISHA (also trading as Kirin Holdings Co., Ltd.) |
| P/010286 (10201-M) |
2009/03/24 | §ó§ï¦a§} | GLAXO GROUP LIMITED | Glaxo Wellcome House, Berkeley Avenue, Greenford, Middlesex, UB6 0NN, United Kingdom |
| P/010933 (10756-M) |
2009/03/13 | §ó§ï¦a§} | NUMA JEANNIN S.A. | Lenzlinger & Studer Alpenstrasse 12, 6304 Zug, Switzerland |
| N/007974 | 2009/03/26 | 更改認別資料 | CAVES ALIANÇA S.A. | Aliança - Vinhos de Portugal, S.A. |
| N/008318 | 2009/03/30 | §ó§ï¦a§} | Kabushiki Kaisha Sony Computer Entertainment (Sony Computer Entertainment Inc.) | 2-6-21, Minami-aoyama, Minato-ku, Tokyo 107-0062, Japan |
| N/008378 | 2009/03/17 | §ó§ï»{§O¸ê®Æ | SANOFI-SYNTHELABO, uma sociedade organizada e existindo segundo as leis de França | SANOFI-AVENTIS |
| N/008424 | 2009/03/23 | §ó§ï»{§O¸ê®Æ | ANGEL CO., LTD., uma sociedade por acções organizada segundo as leis do Japão | Angel Playing Cards Co., Ltd. |
| N/008425 | 2009/03/23 | §ó§ï»{§O¸ê®Æ | ANGEL CO., LTD., uma sociedade por acções organizada segundo as leis do Japão | Angel Playing Cards Co., Ltd. |
| N/008426 | 2009/04/03 | §ó§ï¦a§} | OSI Pharmaceuticals, Inc. | 41 Pinelawn Road, Melville, New York 11747 U.S.A. |
| N/008930 | 2009/03/12 | §ó§ï¦a§} | Lam Soon Trademark Limited | BCI House, Avarua, Rarotonga, Cook Islands |
| N/008937 | 2009/03/17 | §ó§ï¦a§} | 泉通國際食品發展有限公司 Desenvolvimento de Comestível Chun Tong Internacional Limitada |
澳門火船頭街十四號內港粵通大廈地下B舖 |
| N/009001 | 2009/03/17 | ÂàÅý | SILVER VANTAGE LIMITED, uma companhia de responsabilidade limitada incorporada de Hong Kong | Fantastic Natural Cosmetics Limited, com sede em 20/F., Sun Life Tower, The Gateway, Harbour City, 15 Canton Road, Tsim Sha Tsui, Kowloon, Hong Kong |
| N/009002 | 2009/03/17 | ÂàÅý | SILVER VANTAGE LIMITED, uma companhia de responsabilidade limitada incorporada de Hong Kong | Fantastic Natural Cosmetics Limited, com sede em 20/F., Sun Life Tower, The Gateway, Harbour City, 15 Canton Road, Tsim Sha Tsui, Kowloon, Hong Kong |
| N/009003 | 2009/03/17 | ÂàÅý | SILVER VANTAGE LIMITED, uma companhia de responsabilidade limitada incorporada de Hong Kong | Fantastic Natural Cosmetics Limited, com sede em 20/F., Sun Life Tower, The Gateway, Harbour City, 15 Canton Road, Tsim Sha Tsui, Kowloon, Hong Kong |
| N/009004 | 2009/03/17 | ÂàÅý | SILVER VANTAGE LIMITED, uma companhia de responsabilidade limitada incorporada de Hong Kong | Fantastic Natural Cosmetics Limited, com sede em 20/F., Sun Life Tower, The Gateway, Harbour City, 15 Canton Road, Tsim Sha Tsui, Kowloon, Hong Kong |
| N/009005 | 2009/03/17 | ÂàÅý | SILVER VANTAGE LIMITED, uma companhia de responsabilidade limitada incorporada de Hong Kong | Fantastic Natural Cosmetics Limited, com sede em 20/F., Sun Life Tower, The Gateway, Harbour City, 15 Canton Road, Tsim Sha Tsui, Kowloon, Hong Kong |
| N/009006 | 2009/03/17 | ÂàÅý | SILVER VANTAGE LIMITED, uma companhia de responsabilidade limitada incorporada de Hong Kong | Fantastic Natural Cosmetics Limited, com sede em 20/F., Sun Life Tower, The Gateway, Harbour City, 15 Canton Road, Tsim Sha Tsui, Kowloon, Hong Kong |
| N/009007 | 2009/03/17 | ÂàÅý | SILVER VANTAGE LIMITED, uma companhia de responsabilidade limitada incorporada de Hong Kong | Fantastic Natural Cosmetics Limited, com sede em 20/F., Sun Life Tower, The Gateway, Harbour City, 15 Canton Road, Tsim Sha Tsui, Kowloon, Hong Kong |
| N/009008 | 2009/03/17 | ÂàÅý | SILVER VANTAGE LIMITED, uma companhia de responsabilidade limitada incorporada de Hong Kong | Fantastic Natural Cosmetics Limited, com sede em 20/F., Sun Life Tower, The Gateway, Harbour City, 15 Canton Road, Tsim Sha Tsui, Kowloon, Hong Kong |
| N/009009 | 2009/03/17 | ÂàÅý | SILVER VANTAGE LIMITED, uma companhia de responsabilidade limitada incorporada de Hong Kong | Fantastic Natural Cosmetics Limited, com sede em 20/F., Sun Life Tower, The Gateway, Harbour City, 15 Canton Road, Tsim Sha Tsui, Kowloon, Hong Kong |
| N/009010 | 2009/03/26 | §ó§ï»{§O¸ê®Æ | Rollei Fototechnic GmbH | Rollei GmbH |
| N/009011 | 2009/03/26 | §ó§ï»{§O¸ê®Æ | Rollei Fototechnic GmbH | Rollei GmbH |
| N/009060 | 2009/03/24 | §ó§ï»{§O¸ê®Æ | 博內特里塞文奧勒有限公司 Bonneterie Cévenole S.A.R.L. |
Bonneterie Cevenole |
| N/009061 | 2009/03/24 | §ó§ï»{§O¸ê®Æ | 博內特里塞文奧勒有限公司 Bonneterie Cévenole S.A.R.L. |
Bonneterie Cevenole |
| N/009098 | 2009/03/17 | ÂàÅý | SILVER VANTAGE LIMITED, uma companhia de responsabilidade limitada incorporada de Hong Kong | Fantastic Natural Cosmetics Limited, com sede em 20/F., Sun Life Tower, The Gateway, Harbour City, 15 Canton Road, Tsim Sha Tsui, Kowloon, Hong Kong |
| N/009099 | 2009/03/17 | 轉讓 | SILVER VANTAGE LIMITED, uma companhia de responsabilidade limitada incorporada de Hong Kong | Fantastic Natural Cosmetics Limited, com sede em 20/F., Sun Life Tower, The Gateway, Harbour City, 15 Canton Road, Tsim Sha Tsui, Kowloon, Hong Kong |
| N/009100 | 2009/03/17 | 轉讓T | SILVER VANTAGE LIMITED, uma companhia de responsabilidade limitada incorporada de Hong Kong | Fantastic Natural Cosmetics Limited, com sede em 20/F., Sun Life Tower, The Gateway, Harbour City, 15 Canton Road, Tsim Sha Tsui, Kowloon, Hong Kong |
| N/009101 | 2009/03/17 | 轉讓 | SILVER VANTAGE LIMITED, uma companhia de responsabilidade limitada incorporada de Hong Kong | Fantastic Natural Cosmetics Limited, com sede em 20/F., Sun Life Tower, The Gateway, Harbour City, 15 Canton Road, Tsim Sha Tsui, Kowloon, Hong Kong |
| N/009102 | 2009/03/17 | 轉讓 | SILVER VANTAGE LIMITED, uma companhia de responsabilidade limitada incorporada de Hong Kong | Fantastic Natural Cosmetics Limited, com sede em 20/F., Sun Life Tower, The Gateway, Harbour City, 15 Canton Road, Tsim Sha Tsui, Kowloon, Hong Kong |
| N/009103 | 2009/03/17 | 轉讓 | SILVER VANTAGE LIMITED, uma companhia de responsabilidade limitada incorporada de Hong Kong | Fantastic Natural Cosmetics Limited, com sede em 20/F., Sun Life Tower, The Gateway, Harbour City, 15 Canton Road, Tsim Sha Tsui, Kowloon, Hong Kong |
| N/009104 | 2009/03/17 | 轉讓 | SILVER VANTAGE LIMITED, uma companhia de responsabilidade limitada incorporada de Hong Kong | Fantastic Natural Cosmetics Limited, com sede em 20/F., Sun Life Tower, The Gateway, Harbour City, 15 Canton Road, Tsim Sha Tsui, Kowloon, Hong Kong |
| N/009105 | 2009/03/17 | 轉讓 | SILVER VANTAGE LIMITED, uma companhia de responsabilidade limitada incorporada de Hong Kong | Fantastic Natural Cosmetics Limited, com sede em 20/F., Sun Life Tower, The Gateway, Harbour City, 15 Canton Road, Tsim Sha Tsui, Kowloon, Hong Kong |
| N/009106 | 2009/03/17 | 轉讓 | SILVER VANTAGE LIMITED, uma companhia de responsabilidade limitada incorporada de Hong Kong | Fantastic Natural Cosmetics Limited, com sede em 20/F., Sun Life Tower, The Gateway, Harbour City, 15 Canton Road, Tsim Sha Tsui, Kowloon, Hong Kong |
| N/009422 | 2009/03/12 | 更改認別資料 | KIRIN BEER KABUSHIKI KAISHA (ALSO TRADING AS KIRIN BREWERY CO., LTD.) | KIRIN HOLDINGS KABUSHIKI KAISHA (also trading as Kirin Holdings Co., Ltd.) |
| N/009423 | 2009/03/12 | 更改認別資料 | KIRIN BEER KABUSHIKI KAISHA (ALSO TRADING AS KIRIN BREWERY CO., LTD.) | KIRIN HOLDINGS KABUSHIKI KAISHA (also trading as Kirin Holdings Co., Ltd.) |
| N/009518 | 2009/03/24 | 更改認別資料 | Bonneterie Cevenole S.A.R.L. | Bonneterie Cevenole |
| N/009519 | 2009/03/24 | 更改認別資料 | Bonneterie Cevenole S.A.R.L. | Bonneterie Cevenole |
| N/009520 | 2009/03/24 | 更改認別資料 | Bonneterie Cevenole S.A.R.L. | Bonneterie Cevenole |
| N/009521 | 2009/03/24 | 更改認別資料 | Bonneterie Cevenole S.A.R.L. | Bonneterie Cevenole |
| N/009522 | 2009/03/24 | §ó§ï»{§O¸ê®Æ | Bonneterie Cevenole S.A.R.L. | Bonneterie Cevenole |
| N/009523 | 2009/03/24 | §ó§ï»{§O¸ê®Æ | Bonneterie Cevenole S.A.R.L. | Bonneterie Cevenole |
| N/009524 | 2009/03/24 | §ó§ï»{§O¸ê®Æ | Bonneterie Cevenole S.A.R.L. | Bonneterie Cevenole |
| N/009525 | 2009/03/24 | §ó§ï»{§O¸ê®Æ | Bonneterie Cevenole S.A.R.L. | Bonneterie Cevenole |
| N/009526 | 2009/03/24 | §ó§ï»{§O¸ê®Æ | Bonneterie Cevenole S.A.R.L. | Bonneterie Cevenole |
| N/009527 | 2009/03/24 | §ó§ï»{§O¸ê®Æ | Bonneterie Cevenole S.A.R.L. | Bonneterie Cevenole |
| N/009528 | 2009/03/24 | §ó§ï»{§O¸ê®Æ | Bonneterie Cevenole S.A.R.L. | Bonneterie Cevenole |
| N/009529 | 2009/03/24 | §ó§ï»{§O¸ê®Æ | Bonneterie Cevenole S.A.R.L. | Bonneterie Cevenole |
| N/009737 | 2009/03/17 | ÂàÅý | SILVER VANTAGE LIMITED, uma companhia de responsabilidade limitada incorporada de Hong Kong | Fantastic Natural Cosmetics Limited, com sede em 20/F., Sun Life Tower, The Gateway, Harbour City, 15 Canton Road, Tsim Sha Tsui, Kowloon, Hong Kong |
| N/009738 | 2009/03/17 | ÂàÅý | SILVER VANTAGE LIMITED, uma companhia de responsabilidade limitada incorporada de Hong Kong | Fantastic Natural Cosmetics Limited, com sede em 20/F., Sun Life Tower, The Gateway, Harbour City, 15 Canton Road, Tsim Sha Tsui, Kowloon, Hong Kong |
| N/010112 | 2009/03/12 | §ó§ï»{§O¸ê®Æ | KIRIN BEER KABUSHIKI KAISHA (ALSO TRADING AS KIRIN BREWERY CO., LTD) | KIRIN HOLDINGS KABUSHIKI KAISHA (also trading as Kirin Holdings Co., Ltd.) |
| N/010113 | 2009/03/26 | §ó§ï»{§O¸ê®Æ | KIRIN BEER KABUSHIKI KAISHA (ALSO TRADING AS KIRIN BREWERY CO., LTD) | KIRIN HOLDINGS KABUSHIKI KAISHA (also trading as Kirin Holdings Co., Ltd.) |
| N/010453 | 2009/03/24 | §ó§ï»{§O¸ê®Æ | ANGEL CO., LTD | Angel Playing Cards Co., Ltd. |
| N/010511 | 2009/03/23 | §ó§ï»{§O¸ê®Æ | ANGEL CO., LTD., uma sociedade por acções organizada segundo as leis do Japão | Angel Playing Cards Co., Ltd. |
| N/011460 | 2009/03/24 | §ó§ï»{§O¸ê®Æ | ANGEL CO., LTD. | Angel Playing Cards Co., Ltd. |
| N/011759 | 2009/03/24 | ¦X¨ÖÂàÅý | PASTA BRAVO, LLC | Pizza Hut, Inc., com sede em 14841 North Dallas Parkway, Dallas, Texas, United States of America |
| N/011759 | 2009/03/24 | ÂàÅý | Pizza Hut, Inc. | Pizza Hut International, LLC |
| N/011760 | 2009/03/24 | ¦X¨ÖÂàÅý | PASTA BRAVO, LLC | Pizza Hut, Inc., com sede em 14841 North Dallas Parkway, Dallas, Texas, United States of America |
| N/011760 | 2009/03/24 | ÂàÅý | Pizza Hut, Inc. | Pizza Hut International, LLC |
| N/011761 | 2009/03/24 | ¦X¨ÖÂàÅý | PASTA BRAVO, LLC | Pizza Hut, Inc., com sede em 14841 North Dallas Parkway, Dallas, Texas, United States of America |
| N/011761 | 2009/03/24 | ÂàÅý | Pizza Hut, Inc. | Pizza Hut International, LLC |
| N/011824 | 2009/03/24 | §ó§ï»{§O¸ê®Æ | ANGEL CO., LTD | Angel Playing Cards Co., Ltd. |
| N/012274 | 2009/04/02 | 更改地址 | 麒麟啤酒(珠海)有限公司 | 中國珠海市高新區金鼎金環東路38號 |
| N/013655 | 2009/03/23 | §ó§ï»{§O¸ê®Æ | ANGEL CO., LTD., uma sociedade por acções organizada segundo as leis do Japão | Angel Playing Cards Co., Ltd. |
| N/013677 | 2009/04/02 | 更改地址 | 麒麟啤酒(珠海)有限公司 | 中國珠海市高新區金鼎金環東路38號 |
| N/014122 | 2009/03/12 | §ó§ï»{§O¸ê®Æ | KIRIN BEER KABUSHIKI KAISHA (also trading as Kirin Brewery Co., Ltd.) | KIRIN HOLDINGS KABUSHIKI KAISHA (also trading as Kirin Holdings Co., Ltd.) |
| N/014123 | 2009/03/12 | §ó§ï»{§O¸ê®Æ | KIRIN BEER KABUSHIKI KAISHA (also trading as Kirin Brewery Co., Ltd.) | KIRIN HOLDINGS KABUSHIKI KAISHA (also trading as Kirin Holdings Co., Ltd.) |
| N/014152 | 2009/03/26 | ÂàÅý | Schneider Electronic GmbH | Schneider Electronic S.A., com sede em 43-45, Boulevard Franklin Roosevelt, F-92500 Rueil-Malmaison, France |
| N/014153 | 2009/03/26 | ÂàÅý | Schneider Electronic GmbH | Schneider Electronic S.A., com sede em 43-45, Boulevard Franklin Roosevelt, F-92500 Rueil-Malmaison, France |
| N/014155 | 2009/03/26 | ÂàÅý | Schneider Electronic GmbH | Schneider Electronic S.A., com sede em 43-45, Boulevard Franklin Roosevelt, F-92500 Rueil-Malmaison, France |
| N/014813 | 2009/03/12 | 更改認別資料 | KIRIN BEER KABUSHIKI KAISHA (Also Trading as Kirin Brewery Co., Ltd.) | KIRIN HOLDINGS KABUSHIKI KAISHA (also trading as Kirin Holdings Co., Ltd.) |
| N/015160 | 2009/03/23 | §ó§ï»{§O¸ê®Æ | Capitol Records, Inc. | Capitol Records LLC |
| N/015160 | 2009/03/23 | 更改地址 | Capitol Records LLC | 150 Fifth Avenue, 11th Floor, New York, NY 10011, U.S.A. |
| N/015161 | 2009/03/23 | 更改認別資料 | Capitol Records, Inc. | Capitol Records LLC |
| N/015161 | 2009/03/23 | 更改地址 | Capitol Records LLC | 150 Fifth Avenue, 11th Floor, New York, NY 10011, U.S.A. |
| N/015162 | 2009/03/23 | 更改認別資料 | Capitol Records, Inc. | Capitol Records LLC |
| N/015162 | 2009/03/23 | 更改地址 | Capitol Records LLC | 150 Fifth Avenue, 11th Floor, New York, NY 10011, U.S.A. |
| N/015163 | 2009/03/24 | 更改認別資料 | Capitol Records, Inc. | Capitol Records LLC |
| N/015163 | 2009/03/24 | 更改地址 | Capitol Records LLC | 150 Fifth Avenue, 11th Floor, New York, NY 10011, U.S.A. |
| N/015164 | 2009/03/23 | 更改認別資料 | Capitol Records, Inc. | Capitol Records LLC |
| N/015164 | 2009/03/23 | 更改地址 | Capitol Records LLC | 150 Fifth Avenue, 11th Floor, New York, NY 10011, U.S.A. |
| N/015528 | 2009/03/12 | 更改認別資料 | KIRIN BEER KABUSHIKI KAISHA (also trading as Kirin Brewery Co., Ltd.) | KIRIN HOLDINGS KABUSHIKI KAISHA (also trading as Kirin Holdings Co., Ltd.) |
| N/015640 | 2009/03/12 | 更改認別資料 | KIRIN BEER KABUSHIKI KAISHA (also trading as Kirin Brewery Co., Ltd.) | KIRIN HOLDINGS KABUSHIKI KAISHA (also trading as Kirin Holdings Co., Ltd.) |
| N/016439 | 2009/03/26 | 轉讓 | Frucor Beverages Limited | Compagnie Gervais Danone, com sede em 17, Boulevard Haussmann, 75009, França |
| N/018982 | 2009/03/23 | 使用許可 | THE COCA-COLA COMPANY | MACAU COCA-COLA BEVERAGE COMPANY LIMITED |
| N/018983 | 2009/03/23 | 使用許可 | THE COCA-COLA COMPANY | MACAU COCA-COLA BEVERAGE COMPANY LIMITED |
| N/019241 | 2009/03/12 | 更改認別資料 | KIRIN BEER KABUSHIKI KAISHA (also trading as Kirin Brewery Co., Ltd.) | KIRIN HOLDINGS KABUSHIKI KAISHA (also trading as Kirin Holdings Co., Ltd.) |
| N/020771 | 2009/03/12 | 轉讓 | L.C. Licensing, Inc. | Juicy Couture, Inc., com sede em 12720 Wentworth Street Pacoima, California 91331 U.S.A. |
| N/020772 | 2009/03/12 | 轉讓 | L.C. Licensing, Inc. | Juicy Couture, Inc., com sede em 12720 Wentworth Street Pacoima, California 91331 U.S.A. |
| N/020773 | 2009/03/12 | ÂàÅý | L.C. Licensing, Inc. | Juicy Couture, Inc., com sede em 12720 Wentworth Street Pacoima, California 91331 U.S.A. |
| N/021808 | 2009/03/24 | 轉讓 | Glaxo Group Limited | Glaxo Wellcome Manufacturing Pte Ltd., com sede em 1 Pioneer Sector 1, Jurong Singapore 628413, Singapore |
| N/021930 | 2009/03/12 | §ó§ï»{§O¸ê®Æ | KIRIN BEER KABUSHIKI KAISHA (also trading as KIRIN BREWERY CO., LTD.) | KIRIN HOLDINGS KABUSHIKI KAISHA (also trading as Kirin Holdings Co., Ltd.) |
| N/021942 | 2009/03/23 | §ó§ï»{§O¸ê®Æ | ANGEL CO., LTD. | Angel Playing Cards Co., Ltd. |
| N/022325 | 2009/04/02 | §ó§ï¦a§} | 麒麟啤酒(珠海)有限公司 | 中國珠海市高新區金鼎金環東路38號 |
| N/022326 | 2009/04/02 | §ó§ï¦a§} | 麒麟啤酒(珠海)有限公司 | 中國珠海市高新區金鼎金環東路38號 |
| N/022327 | 2009/04/02 | §ó§ï¦a§} | 麒麟啤酒(珠海)有限公司 | 中國珠海市高新區金鼎金環東路38號 |
| N/024101 | 2009/03/12 | ÂàÅý | L.C. Licensing, Inc. | Juicy Couture, Inc., com sede em 12720 Wentworth Street Pacoima, California 91331 U.S.A. |
| N/024102 | 2009/03/12 | 轉讓 | L.C. Licensing, Inc. | Juicy Couture, Inc., com sede em 12720 Wentworth Street Pacoima, California 91331 U.S.A. |
| N/024337 | 2009/03/12 | ÂàÅý | L.C. Licensing, Inc. | Juicy Couture, Inc., com sede em 12720 Wentworth Street Pacoima, California 91331 U.S.A. |
| N/024432 | 2009/03/12 | §ó§ï»{§O¸ê®Æ | KIRIN BEER KABUSHIKI KAISHA (also trading as KIRIN BREWERY CO., LTD.) | KIRIN HOLDINGS KABUSHIKI KAISHA (also trading as Kirin Holdings Co., Ltd.) |
| N/024433 | 2009/03/12 | §ó§ï»{§O¸ê®Æ | KIRIN BEER KABUSHIKI KAISHA (also trading as KIRIN BREWERY CO., LTD.) | KIRIN HOLDINGS KABUSHIKI KAISHA (also trading as Kirin Holdings Co., Ltd.) |
| N/024434 | 2009/03/12 | §ó§ï»{§O¸ê®Æ | KIRIN BEER KABUSHIKI KAISHA (also trading as KIRIN BREWERY CO., LTD.) | KIRIN HOLDINGS KABUSHIKI KAISHA (also trading as Kirin Holdings Co., Ltd.) |
| N/024435 | 2009/03/12 | §ó§ï»{§O¸ê®Æ | KIRIN BEER KABUSHIKI KAISHA (also trading as KIRIN BREWERY CO., LTD.) | KIRIN HOLDINGS KABUSHIKI KAISHA (also trading as Kirin Holdings Co., Ltd.) |
| N/024693 | 2009/03/26 | ÂàÅý | InBev Nederland N.V. | United Dutch Breweries B.V., com sede em Minervum 7208, 4817 ZJ Breda, The Netherlands |
| N/026507 | 2009/03/12 | §ó§ï»{§O¸ê®Æ | KIRIN BEER KABUSHIKI KAISHA (também comercializando como Kirin Brewery Co., Ltd.) | KIRIN HOLDINGS KABUSHIKI KAISHA (also trading as Kirin Holdings Co., Ltd.) |
| N/026508 | 2009/03/12 | §ó§ï»{§O¸ê®Æ | KIRIN BEER KABUSHIKI KAISHA (também comercializando como Kirin Brewery Co., Ltd.) | KIRIN HOLDINGS KABUSHIKI KAISHA (also trading as Kirin Holdings Co., Ltd.) |
| N/027438 | 2009/03/24 | §ó§ï»{§O¸ê®Æ | MELCO PBL ENTERTAINMENT (Macau) LIMITED | MELCO CROWN ENTERTAINMENT LIMITED |
| N/027439 | 2009/03/24 | §ó§ï»{§O¸ê®Æ | MELCO PBL ENTERTAINMENT (Macau) LIMITED | MELCO CROWN ENTERTAINMENT LIMITED |
| N/027440 | 2009/03/24 | §ó§ï»{§O¸ê®Æ | MELCO PBL ENTERTAINMENT (Macau) LIMITED | MELCO CROWN ENTERTAINMENT LIMITED |
| N/027441 | 2009/03/24 | §ó§ï»{§O¸ê®Æ | MELCO PBL ENTERTAINMENT (Macau) LIMITED | MELCO CROWN ENTERTAINMENT LIMITED |
| N/027442 | 2009/03/24 | §ó§ï»{§O¸ê®Æ | MELCO PBL ENTERTAINMENT (Macau) LIMITED | MELCO CROWN ENTERTAINMENT LIMITED |
| N/027443 | 2009/03/24 | §ó§ï»{§O¸ê®Æ | MELCO PBL ENTERTAINMENT (Macau) LIMITED | MELCO CROWN ENTERTAINMENT LIMITED |
| N/029051 | 2009/04/02 | §ó§ï¦a§} | 麒麟啤酒(珠海)有限公司 | 中國珠海市高新區金鼎金環東路38號 |
| N/029052 | 2009/04/02 | §ó§ï¦a§} | 麒麟啤酒(珠海)有限公司 | 中國珠海市高新區金鼎金環東路38號 |
| N/031022 | 2009/04/02 | §ó§ï¦a§} | 麒麟啤酒(珠海)有限公司 | 中國珠海市高新區金鼎金環東路38號 |
| N/031023 | 2009/04/02 | §ó§ï¦a§} | 麒麟啤酒(珠海)有限公司 | 中國珠海市高新區金鼎金環東路38號 |
| N/031024 | 2009/04/02 | §ó§ï¦a§} | 麒麟啤酒(珠海)有限公司 | 中國珠海市高新區金鼎金環東路38號 |
| N/031025 | 2009/04/02 | §ó§ï¦a§} | 麒麟啤酒(珠海)有限公司 | 中國珠海市高新區金鼎金環東路38號 |
| N/032643 | 2009/03/23 | §ó§ï»{§O¸ê®Æ | Angel Co., Ltd. | Angel Playing Cards Co., Ltd. |
| N/033003 | 2009/03/23 | §ó§ï»{§O¸ê®Æ | ANGEL CO., LTD. | Angel Playing Cards Co., Ltd. |
| N/033735 | 2009/03/24 | ÂàÅý | Glaxo Group Limited | Glaxo Wellcome Manufacturing Pte Ltd., com sede em 1 Pioneer Sector 1, Jurong Singapore 628413, Singapore |
| N/033736 | 2009/03/24 | ÂàÅý | Glaxo Group Limited | Glaxo Wellcome Manufacturing Pte Ltd., com sede em 1 Pioneer Sector 1, Jurong Singapore 628413, Singapore |
| N/034437 | 2009/03/23 | §ó§ï»{§O¸ê®Æ | HTS Deutschland GmbH & Co. KG | CWS-boco Deutschland GmbH |
| N/034438 | 2009/03/23 | §ó§ï»{§O¸ê®Æ | HTS Deutschland GmbH & Co. KG | CWS-boco Deutschland GmbH |
| N/034439 | 2009/03/23 | §ó§ï»{§O¸ê®Æ | HTS Deutschland GmbH & Co. KG | CWS-boco Deutschland GmbH |
| N/034440 | 2009/03/23 | §ó§ï»{§O¸ê®Æ | HTS Deutschland GmbH & Co. KG | CWS-boco Deutschland GmbH |
| N/034441 | 2009/03/23 | §ó§ï»{§O¸ê®Æ | HTS Deutschland GmbH & Co. KG | CWS-boco Deutschland GmbH |
| N/034442 | 2009/03/23 | §ó§ï»{§O¸ê®Æ | HTS Deutschland GmbH & Co. KG | CWS-boco Deutschland GmbH |
| N/034443 | 2009/03/23 | §ó§ï»{§O¸ê®Æ | HTS Deutschland GmbH & Co. KG | CWS-boco Deutschland GmbH |
| N/034444 | 2009/03/23 | §ó§ï»{§O¸ê®Æ | HTS Deutschland GmbH & Co. KG | CWS-boco Deutschland GmbH |
| N/034818 | 2009/03/12 | §ó§ï»{§O¸ê®Æ | Diethelm Travel Asia AG | Diethelm Travel Holding Ltd |
| N/034819 | 2009/03/12 | §ó§ï»{§O¸ê®Æ | Diethelm Travel Asia AG | Diethelm Travel Holding Ltd |
| N/036472 | 2009/03/23 | §ó§ï»{§O¸ê®Æ | ANGEL CO., LTD. | Angel Playing Cards Co., Ltd. |
| N/036473 | 2009/03/23 | §ó§ï»{§O¸ê®Æ | ANGEL CO., LTD. | Angel Playing Cards Co., Ltd. |
| N/036911 | 2009/04/06 | ¨Ï¥Î³\¥i | Melco Crown Entertainment Limited | MPEL SERVICES LIMITED |
| N/036911 | 2009/04/06 | °Æ¨Ï¥Î³\¥i | MPEL SERVICES LIMITED | MELCO CROWN (COD) HOTÉIS, LIMITADA |
| N/036912 | 2009/04/06 | ¨Ï¥Î³\¥i | Melco Crown Entertainment Limited | MPEL SERVICES LIMITED |
| N/036912 | 2009/04/06 | °Æ¨Ï¥Î³\¥i | MPEL SERVICES LIMITED | MELCO CROWN (COD) HOTÉIS, LIMITADA |
| N/036913 | 2009/04/06 | ¨Ï¥Î³\¥i | Melco Crown Entertainment Limited | MPEL SERVICES LIMITED |
| N/036913 | 2009/04/06 | °Æ¨Ï¥Î³\¥i | MPEL SERVICES LIMITED | MELCO CROWN (COD) HOTÉIS, LIMITADA |
| N/036914 | 2009/04/06 | ¨Ï¥Î³\¥i | Melco Crown Entertainment Limited | MPEL SERVICES LIMITED |
| N/036914 | 2009/04/06 | °Æ¨Ï¥Î³\¥i | MPEL SERVICES LIMITED | MELCO CROWN (COD) HOTÉIS, LIMITADA |
| N/036916 | 2009/04/06 | ¨Ï¥Î³\¥i | Melco Crown Entertainment Limited | MPEL SERVICES LIMITED |
| N/036916 | 2009/04/06 | °Æ¨Ï¥Î³\¥i | MPEL SERVICES LIMITED | MELCO CROWN (COD) HOTÉIS, LIMITADA |
| N/038898 | 2009/03/23 | ÂàÅý | Abercrombie & Fitch Trading Co. | J.M.H. Trademark, Inc., com sede em 6301 Fitch Path, New Albany, Ohio 43054, E.U.A. |
| N/038899 | 2009/03/23 | ÂàÅý | Abercrombie & Fitch Trading Co. | J.M.H. Trademark, Inc., com sede em 6301 Fitch Path, New Albany, Ohio 43054, E.U.A. |
| N/039017 | 2009/03/26 | 更改認別資料 | ANGEL CO., LTD. | Angel Playing Cards Co., Ltd. |
發明專利延伸之保護
附註
| 程序編號 | 批示日期 | 附註之性質 | 申請人/註冊權利人 | 更改 |
| J/000001 | 2009/04/08 | 合併轉讓 | 拜爾公司 | Bayer Schering Pharma Aktiengesellschaft, com sede em Müllerstrasse 178, 13353 Berlin, Germany |
商標之保護
拒絕
| 程式編號 | 批示日期 |
申請人之名稱 |
所屬國/地區 | 分類 |
備註 根據經12月13日第97/99/M號法令核准之《工業產權法律制度》 |
|
| N/30965 N/30966 |
2009/04/02 | Hong Kong Express Airways Limited | HK | 39 | ²Ä9±ø²Ä1´Úe¡^¶µ¡C | |
| N/36379 | 2009/04/07 | 吳家權 Ung Ka Kun |
MO | 05 | ||
| N/36518 | 2009/04/02 | ZHU LE GUN JULIA | MO | 05 | ||
| N/36668 | 2009/04/02 | Mobil Petroleum Company Inc. | US | 04 | ||
| N/37156 | 2009/04/02 | 佛山市順德區碧桂園物業發展有限公司 | CN | 32 | ||
| N/32505 N/32507 |
N/32506 N/32508 |
2009/03/25 | 卓能(集團)有限公司 | HK | 37 36 |
²Ä214±ø²Ä2´Úb¡^¶µ¡C |
| N/37478 N/37605 N/37607 N/37615 |
N/37606 N/37614 |
2009/04/02 | 蔡英 Choi Ieng |
MO | 24 18 25 25 |
|
| N/33222 N/33223 N/33224 N/33225 N/33226 N/33227 |
2009/03/17 | Mong Ha Media S.A. | CR | 16 25 35 41 42 43 |
²Ä214±ø²Ä1´Úb¡^¶µµ²¦X²Ä215±ø¤Î²Ä214±ø²Ä2´Úe¡^¶µ ¡C | |
| N/34532 N/34533 |
2009/04/02 | BACCARAT | FR | 38 39 |
²Ä214±ø²Ä2´Úa¡^¶µµ²¦X²Ä9±ø²Ä1´Úc¡^¶µ¤Î²Ä197±ø¡C | |
| N/36286 | 2009/04/09 | CORTEFIEL, S.A. | ES | 25 | ²Ä214±ø²Ä2´Úa¡^¶µ¡C | |
| N/36464 | 2009/04/09 | ZHU LE GUN JULIA | MO | 05 | ||
| N/36519 | 2009/04/02 | 吳家權 Ung Ka Kun |
MO | 05 | ||
| N/37472 | 2009/04/03 | 蔡英 Choi Ieng |
MO | 24 | ||
| N/37367 N/37603 N/37612 |
N/37475 N/37604 N/37613 |
2009/03/17 | 蔡英 Choi Ieng |
MO | 24 18 25 |
²Ä214±ø²Ä1´Úa¡^¶µµ²¦X²Ä9±ø²Ä1´Úc¡^ ¶µ¡C |
| N/37368 N/37372 N/37590 N/37599 N/37608 N/37611 |
N/37369 N/37591 N/37600 N/37609 |
2009/03/16 | 蔡英 Choi Ieng |
MO | 24 24 03 18 25 25 |
|
| N/37370 N/37467 N/37596 N/37616 |
N/37371 N/37474 |
2009/04/02 | 蔡英 Choi Ieng |
MO | 24 24 03 25 |
|
| N/37469 N/37595 |
2009/03/25 | 蔡英 Choi Ieng |
MO | 24 03 |
||
| N/37470 | 2009/04/02 | 蔡英 Choi Ieng |
MO | 24 | ²Ä214±ø²Ä2´Úb¡^¶µ¤Î²Ä1´Úa¡^¶µ µ²¦X²Ä9±ø²Ä1´Úc¡^¶µ¡C | |
| N/38422 | 2009/03/16 | 歐陽順蘭 Ao Ieong Son Lan |
MO | 07 | ||
| 程式編號 | 批示日期 | 申請人之名稱 | 所屬國/地區 | 分類 | 備註
根據經12月13日第97/99/M號法令核准之《工業產權法律制度》 |
| N/37471 N/37588 N/37597 |
2009/04/02 | 蔡英 Choi Ieng |
MO | 24 03 05 |
²Ä214±ø²Ä1´Úc¡^¶µ¡C |
| N/37473 N/37589 N/37598 |
2009/03/16 | 蔡英 Choi Ieng |
MO | 24 03 18 |
²Ä214±ø²Ä1´Úa¡^¶µ¤Îb¡^¶µµ²¦X²Ä9±ø²Ä1´Úc¡^¶µ¡C |
| N/37594 | 2009/04/02 | 蔡英 Choi Ieng |
MO | 03 | ²Ä214±ø²Ä2´Úb¡^¶µµ²¦X²Ä215±ø²Ä1´Ú¤Î²Ä9±ø²Ä1´Úc¡^¶µ¡C |
合議庭裁決
| 程式編號 | 生效日期 | 申請人之名稱 | 所屬國/地區 | 分類 |
|
1 N/12786 |
2009/03/16 |
鴻福置業股份有限公司 Sociedade de Investimento Predial Hong Hock, S.A. e, em inglês Hong Hock Development Company Limited |
MO | 42 |
1. 根據中級法院2009年2月26日之合議庭裁判,並於2009年3月16日 已轉為確定裁決,裁判上訴理由不成立,並拒絕 ¡§Sociedade de Investimento Predial Hong Hock, S.A.¡¨ 第N/12786號 商標之註冊。
宣佈失效之申請
| 程序編號 | 申請日期 | µù¥UÅv§Q¤H¤§¦WºÙ | ©ÒÄݰê/¦a°Ï | 宣佈失效申請人之名稱 | 所屬國/地區 |
| N/014440 | 2009/02/23 |
Hoi Sio Hong |
MO |
Rich Products Corporation |
US |
放棄
| µ{§Ç½s¸¹ | °Ó¼Ð½s¸¹ | 批示日期 | 註冊權利人/申請人之名稱 | 所屬國/地區 |
| N/008649 | - | 2009/04/03 | AIRWALK INTERNATIONAL, LLC | US |
| N/008650 | - | 2009/04/03 | AIRWALK INTERNATIONAL, LLC | US |
| N/008651 | - | 2009/04/03 | AIRWALK INTERNATIONAL, LLC | US |
| N/008652 | - | 2009/04/03 | AIRWALK INTERNATIONAL, LLC | US |
| N/008653 | - | 2009/04/03 | AIRWALK INTERNATIONAL, LLC | US |
| N/008654 | - | 2009/04/03 | AIRWALK INTERNATIONAL, LLC | US |
| N/034914 | - | 2009/04/06 | WYNN RESORTS HOLDINGS, LLC | US |
| N/034915 | - | 2009/04/06 | WYNN RESORTS HOLDINGS, LLC | US |
| N/034916 | - | 2009/04/06 | WYNN RESORTS HOLDINGS, LLC | US |
| N/034917 | - | 2009/04/06 | WYNN RESORTS HOLDINGS, LLC | US |
| N/034918 | - | 2009/04/06 | WYNN RESORTS HOLDINGS, LLC | US |
| N/034919 | - | 2009/04/06 | WYNN RESORTS HOLDINGS, LLC | US |
| N/035330 | - | 2009/04/03 | JOHNSON & JOHNSON, uma sociedade organizada e existindo segundo as leis do Estado de Nova Jérsia | US |
營業場所名稱之保護
放棄
| 程序編號 | 批示日期 | 註冊權利人/申請人之名稱 | 所屬國/地區 |
| E/000113 | 2009/04/01 |
王傳宗 |
MO |
商標之保護
聲明異議
| 程序編號 | 申請日期 | 申請人之名稱 | 所屬國/地區 | 聲明異議人之名稱 | 所屬國/地區 |
| N/039188 | 2009/03/06 | 吳家權 Ung Ka Kun |
MO | 源吉林 YUEN KUT LAM FIRM |
HK |
| N/039322 | 2009/03/09 | RESERVOIR TEAM | FR | CHANEL | FR |
| N/039467 | 2009/03/09 | ALBERTO GARCÍA SANCHEZ | MO | MERCADONA, S.A. | ES |
| N/039915 | 2009/04/06 | 澳越國際(香港)有限公司 M & V Int¡¦l Manufacturing (HK) Limited |
HK | Cortefiel, S.A. | ES |
| N/040015 | 2009/04/06 | 數據資訊服務有限公司 PCCW-HKT DataCom Services Limited |
HK | NEXT EUROPE B.V. | NL |
| N/040090 | 2009/04/06 | 徐美珍 Choi Mei Chan |
MO | Disney Enterprises, Inc. | US |
| N/040239 | 2009/04/06 | ALBERTO GARCÍA SANCHEZ | MO | MERCADONA, S.A. | ES |
| N/040240 | 2009/04/06 | ALBERTO GARCÍA SANCHEZ | MO | MERCADONA, S.A. | ES |
答辯
| 程序編號 | 申請日期 | 申請人之名稱 | 所屬國/地區 | 聲明異議人之名稱 | 所屬國/地區 |
| N/038352 | 2009/02/09 |
Kenzo TSUJIMOTO |
JP |
KENZO S.A. |
FR |
更正
|
商標編號 |
更正項目 | 原文 | 應改為 |
| N/28579 N/28580 |
附註之性質(2009年3月4日第9期第二組《澳門特別行政區公報》) | 更改認別資料 | ÂàÅý |
| N/31289 | 優先權之要求﹙2008年2月6日第6期第二組《澳門特別行政區公報》﹚ | ...... | Àu¥ýÅv¤é´Á: 2007/06/01 Àu¥ýÅv°ê ®a/¦a°Ï: 德國 Àu¥ýÅv½s¸¹ : 30735558.6 |
| N/33374 | 更改地址(2009年3月4日第9期第二組《澳門特別行政區公報》) | ...... Drive, com sede em Las Vegas, ...... | ...... Drive, Las Vegas, ...... |
| N/33375 | 更改地址(2009年3月4日第9期第二組《澳門特別行政區公報》) | ...... Drive, com sede em Las Vegas, ...... | ...... Drive, Las Vegas, ...... |
| N/34431 | 部份批給(2009年4月1日第13期第二組《澳門特別行政區公報》) | ...... | 不批給¡§美白精華丸¡¨詞語的專屬使用權利。 |
| N/35388 | 產品名單(2008年9月3日第36期第二組《澳門特別行政區公報》) | ¡K¡K;構成部件,¡K¡K | ¡K¡K;上述提及所有產品的構成部件,組件及配件;¡K¡K |
| N/36354 N/36355 |
申請人地址(2008年9月3日第36期第二組《澳門特別行政區公報》) | Suite 370, 118 South ...... | 118 South ...... |
| N/38915 N/38916 N/38917 N/38918 N/38919 N/38920 N/38921 N/38922 N/38923 N/38924 |
批給(2009年4月1日第13期第二組《澳門特別行政區公報》) | 24 N/038915 24 N/038916 24 N/038917 24 N/038918 24 N/038919 24 N/038920 24 N/038921 24 N/038922 24 N/038923 24 N/038924 |
25 N/038915 25 N/038916 25 N/038917 25 N/038918 25 N/038919 25 N/038920 25 N/038921 25 N/038922 25 N/038923 25 N/038924 |
| N/39052 | 批給(2009年4月1日第13期第二組《澳門特別行政區公報》) | 25 N/039052 | 24 N/039052 |
| N/40550 N/40551 N/40552 N/40553 |
申請人地址(2009年3月4日第9期第二組《澳門特別行政區公報》) | ...... CH-9008 ...... | ...... CH-8008 ...... |
| N/40797 | 產品名單(2009年3月4日第9期第二組《澳門特別行政區公報》) | ...... tardes ¡K¡K | ...... tartes ¡K¡K |
| N/41125 N/41126 |
申請人地址(2009年4月1日第13期第二組《澳門特別行政區公報》) | ...... Tavemes ...... | ......Tavernes...... |
| N/41178 N/41179 |
申請人名稱(2009年4月1日第13期第二組《澳門特別行政區公報》) | CRAFF ...... | GRAFF...... |
應各申請人/權利人之要求,更正如下:
| 商標編號 | 更正項目 | 原文 | 應改為 |
| P/5303 (5161-M) |
轉讓(2008年5月7日第19期第二組《澳門特別行政區公報》) | PHILIP MORRIS BELGIUM B.V.B.A. | PHILIP MORRIS BELGIUM B.V.B.A. (Besloten Vennootschap met Beperkte Aansprakelijkheid) |
| N/27058 N/27059 N/27060 N/27061 |
¥Ó½Ð¤H¦a§}¡]2007¦~5¤ë2¤é²Ä18´Á²Ä¤G²Õ¡m¿Dªù¯S§O¦æ¬F°Ï¤½³ø¡n¡^ | ...... Brookefield ...... | ...... Brookfield ...... |
| N/31008 N/31009 N/31010 |
註冊權利人之名稱(2008年4月2日第14期第二組《澳門特別行政區公報》) | THE SWATCH GROUP MANAGEMENT SERVICES AG | THE SWATCH GROUP MANAGEMENT SERVICES AG (The Swatch Group Management Services SA) (The Swatch Group Management Services Ltd) |
| N/32629 N/32630 N/32631 |
註冊權利人之名稱(2008年12月3日第49期第二組《澳門特別行政區公報》) | The Swatch Group Management Services AG | The Swatch Group Management Services AG (The Swatch Group Management Services SA) (The Swatch Group Management Services Ltd) |
| N/32901 N/32902 N/32903 N/32904 |
申請人地址(2008年5月7日第19期第二組《澳門特別行政區公報》) | ...... Brookefield ...... | ...... Brookfield ...... |
| N/35708 | 顏色之要求(2008年7月2日第27期第二組《澳門特別行政區公報》) | ¡K¡K灰紫色¡K¡K | ¡K¡K灰色,紫色¡K¡K |
| N/38718 | 商標圖案(2008年12月3日第49期第二組《澳門特別行政區公報》) |
|
|
| N/38780 | 註冊權利人之名稱(2009年4月1日第13期第二組《澳門特別行政區公報》) | ...... in ...... | ...... In ...... |
| N/39359 N/39360 |
申請人地址(2009年2月4日第5期第二組《澳門特別行政區公報》) | ...... Moralejas, ..... | ...... Moraleja, ..... |
| N/39361 | 商標圖案(2009年1月7日第1期第二組《澳門特別行政區公報》) |
|
|
| N/39445 | 產品名單(2009年2月4日第5期第二組《澳門特別行政區公報》) | ¡K¡K;人工授精用蛋白乳精液;¡K¡K | ¡K¡K¡F³J¥Õ¤û¥¤¡F¤H¤u±Âºë¥Îºë²G¡F¡K¡K |
| N/39453 | 優先權編號(2009年1月7日第1期第二組《澳門特別行政區公 報》) | 576315 | 55745/2008 |
| N/39454 | 576314 | 55738/2008 | |
| N/39455 | 576316 | 55746/2008 | |
| N/39456 | 576317 | 55750/2008 | |
| N/39457 | 576318 | 55752/2008 | |
| N/39942 N/39945 |
服務名單(2009年2月4日第5期第二組《澳門特別行政區公報》) | ¡K¡K;臨時住宿服務;酒店、旅館及渡假酒店服務;¡K¡K | ¡K¡K;臨時住宿服務;住所(旅館、供膳寄宿處);酒店、旅館及渡假酒店服務;¡K¡K |
| N/40173 | 服務名單(2009年2月4日第5期第二組《澳門特別行政區公報》) | ¡K¡K(看孩子);為動物提供食宿;出租椅子¡K¡K | ¡K¡K(看孩子);出租椅子¡K¡K |
| N/40325 | 產品名單(2009年2月4日第5期第二組《澳門特別行政區公報》) | ......,男士襯衫,...... | ......,禮服襯衫,...... |
| N/40397 | 優先權之要求﹙2009年3月4日第9期第二組《澳門特別行政區公報》﹚ | ------ | Àu¥ýÅv¤é´Á: 2008/11/27 Àu¥ýÅv°ê ®a/¦a°Ï: 德國 Àu¥ýÅv½s¸¹: 30 2008 075 017.0 |
| N/40421 | 產品名單(2009年3月4日第9期第二組《澳門特別行政區公報》) | ¡K¡K,枕頭,鏡子,鏡框,擱板,¡K¡K | ¡K¡K,坐墊,鏡子,照相架,櫃,¡K¡K |
| N/40444 | 優先權之要求﹙2009年3月4日第9期第二組《澳門特別行政區公報》﹚ | ¡K¡K | Àu¥ýÅv¤é´Á: 2008/11/27 Àu¥ýÅv°ê ®a/¦a°Ï: 德國 Àu¥ýÅv½s¸¹: DE 30 2008 074 964.4 |
| N/40609 | 產品名單(2009年4月1日第13期第二組《澳門特別行政區公報》) | ¡K¡K,煙草罐(非貴重金屬製也非鍍有其合金),煙盒和煙灰缸(非貴重金屬製也非鍍有其合金 );煙斗,...... | ¡K¡K,煙草罐,煙盒和煙灰缸;煙斗, |
| N/40682 | 申請人地址(2009年3月4日第9期第二組《澳門特別行政區公報》) | Trimphweg ..... | Triumphweg ..... |
| N/40948 N/40949 N/40950 N/40951 N/40952 |
商標圖案(2009年3月4日第9期第二組《澳門特別行政區公報》) |
|
|
| N/40953 N/40954 N/40955 N/40956 N/40957 |
商標圖案(2009年3月4日第9期第二組《澳門特別行政區公報》) ¡@ |
|
|
¤G¹s¹s¤E¦~¥|¤ë¤Q¤¤é©ó¸gÀÙ§½
¥N§½ªø Ĭ²K¥










