Número 26
II
SÉRIE
Quarta-feira, 1 de Julho de 2009
DIRECÇÃO DOS SERVIÇOS DE ECONOMIA
Aviso
Protecção de marcas
N/39 465 ... N/43 049 - N/43 050 ... N/43 051
Marca n.º N/43 050 Classe 28.ª
Requerente: Stargames Corporation Pty Limited, 1 Sheridan Close, Milperra NSW 2214, Australia.
Nacionalidade: australiana
Actividade: comercial e industrial
Data do pedido: 2009/05/20
Produtos: máquinas de jogo electrónicas com ou sem apresentação de vídeo na classe 28.ª
A marca consiste em:

Marca n.º N/43 051 Classe 28.ª
Requerente: Stargames Corporation Pty Limited, 1 Sheridan Close, Milperra NSW 2214, Australia.
Nacionalidade: australiana
Actividade: comercial e industrial
Data do pedido: 2009/05/20
Produtos: máquinas de jogo electrónicas com ou sem apresentação de vídeo na classe 28.ª
A marca consiste em:

Protecção de nomes e insígnias de estabelecimento
De acordo com os artigos 10.º e 243.º do RJPI, aprovado pelo Decreto-Lei n.º 97/99/M, de 13 de Dezembro, a seguir se publicam os pedidos de registo de nomes e insígnias de estabelecimento para a RAEM e da data da publicação do aviso, começa a contar-se o prazo de dois meses para a apresentação de reclamações, em conformidade com o artigo 244.º do mesmo diploma.
Publicação de nomes ou insígnias de estabelecimento
N.º: E/000125
Requerente: CHALLENGER (MACAU) ACESSÓRIOS E ASSISTÊNCIA AUTOMÓVEL LIMITADA
Sede: Avenida Comercial de Macau, s/n.º, Cave-2, Complexo Commercial Yaohan, em Macau
Actividade: comercial
Data do pedido: 2009/05/18
Tipo de actividade: Centro de cuidado e de beleza de automóveis.
Reivindicação de cores: o fundo do rectângulo é de cor vermelha, os caracteres chineses e as letras inglesas são de cor branca com as bordas pretas, os caracteres chineses “挑戰者汽車美容中心” são de cor preta e os caracteres chineses “汽車美容” “專業首選” são de cor preta.
Nome/Insígnia

N.º: E/000127
Requerente: SOCIEDADE DE RESTAURANTE MERIT GAIN LIMITADA
Sede: Avenida da Amizade, n.º 1023, Edifício «Nam Fong», 2.º andar «P-V», Macau
Actividade: comercial e industrial
Data do pedido: 2009/05/20
Tipo de actividade: serviços de restaurante, actividade principal é exploração de restaurante, venda de «barbecue» japonês, serviços de alimentos deliciosos japoneses.
Reivindicação de cores: vermelho e preto, tal como representados na figura.
Nome/Insígnia

Protecção de desenhos e modelos
De acordo com os artigos 10.º e 165.º do RJPI, aprovado pelo Decreto-Lei n.º 97/99/M, de 13 de Dezembro, a seguir se publicam os pedidos de registo de desenhos e modelos para a RAEM e a partir da data desta publicação até à data da sua concessão, qualquer terceiro pode apresentar reclamações, em conformidade com o artigo 166.º do mesmo diploma.
Publicação de desenho ou modelo
Desenho n.º: D/000467
Data do pedido: 2008/06/12
Requerente: 續天曙
Domicílio/Sede: 中國台灣台中市西屯區工業區38路210號5樓之8
Título: Máquinas de jogos de redondeza (II).
Resumo: 本創作係一種圓形式遊戲機(II)之造型,由立體圖配合其他視圖觀之,其外觀特點主要在於具有立體圓曲面之外觀,突顯出該圓形式遊戲機之立體曲線美 感,係特別於中心設有賭輪盤,其上蓋設有圓形之蓋體,該蓋體外周則環設朝內漸斜之環形區,該環形區外周並等距環設有數平台,該等平台上具有顯示幕,該等平台並朝下一體彎曲 並朝中心漸收束,且其間具有分隔之矩形體,表現出其外觀華麗大方之巧思創新,以提供最完整且符合需求之設計,突顯出該圓形式遊戲機之整體立體曲線美感。
Classificação: 21 - 03
Criador: 續天曙
Figura

Desenho n.º: D/000468
Data do pedido: 2008/06/12
Requerente: 續天曙
Domicílio/Sede: 中國台灣台中市西屯區工業區38路210號5樓之8
Título: Máquinas de jogos de redondeza (I).
Resumo: 本創作係一種圓形式遊戲機(I)之造型,由立體圖配合其他視圖觀之,其外觀特點主要在於具有立體圓曲面之外觀,突顯出該圓形式遊戲機之立體曲線美感 ,係特別於中心設有賭輪盤,其上蓋設有圓形之蓋體,該蓋體外周則環設朝內漸斜之環形區,該環形區外周並等距環設有數平台,該等平台上具有顯示幕,該等平台並朝下一體彎曲並 朝中心漸收束,且其間具有分隔之矩形體,表現出其外觀華麗大方之巧思創新,以提供最完整且符合需求之設計,突顯出該圓形式遊戲機之整體立體曲線美感。
Classificação: 21 - 03
Criador: 續天曙
Figura

Desenho n.º: D/000469
Data do pedido: 2008/06/12
Requerente: 續天曙
Domicílio/Sede: 中國台灣台中市西屯區工業區38路210號5樓之8
Título: Máquinas verticais de jogos.
Resumo: 本創作係一種直立式遊戲機之造型,由立體圖配合其他視圖觀之,其外觀特點主要在於具有立體矩形之外觀,突顯出該直立式遊戲機之立體曲線美感,係於該 直立式遊戲機前側由上而下分別排列設有顯示幕,並於下端朝前傾斜設有一基座,該基座上並設有一操作台面,該操作台面上設有數操作件,並於該直立式遊戲機前側四周凸設有圓弧 曲線之邊框,由整體外觀表現出大方之現代設計美學巧思創新,以提供最完整且符合需求之設計,突顯出該直立式遊戲機之整體立體曲線美感。
Classificação: 21 - 03
Criador: 續天曙
Figura

Desenho n.º: D/000470
Data do pedido: 2008/06/12
Requerente: 續天曙
Domicílio/Sede: 中國台灣台中市西屯區工業區38路210號5樓之8
Título: Máquinas lisas de jogos.
Resumo: 本創作係一種平坦式遊戲機之造型,由立體圖配合其他視圖觀之,其外觀特點主要在於具有立體矩形之外觀,突顯出該平坦式遊戲機之立體曲線美感,係於該 機台頂面設有一平坦之顯示幕,該顯示幕周圍設有邊框,其上並設有操作鈕,並於該顯示幕上、下端凸設有傾斜朝上之基板,使該機台上端形成一台面,並由該台面底部朝下漸收束延 伸形成有一立柱,該立柱下方並結合有一基座,該基座之前端形成朝下傾斜之基面,其後端則形成圓弧凸狀之邊框,其整體外觀表現出大方及現代化設計美學之巧思創新,以提供最完 整且符合需求之設計,突顯出該平坦式遊戲機之整體立體曲線美感。
Classificação: 21 - 03
Criador: 續天曙
Figura

Desenho n.º: D/000472
Data do pedido: 2008/06/20
Requerente: ILLYCAFFÈ S.P.A. CON UNICO SOCIO
Nacionalidade: italiana
Domicílio/Sede: Via Flavia, 110 34147 Trieste (TS) - Italy
Título: Quiosque de vendas.
Resumo: o quiosque de vendas objecto do desenho dispõe de um balcão e de uma coluna colocada respectivamente de uma forma coaxial. O balcão é em formato cilíndrico e dispõe de um espaço interior circular aberto para servir alimentos e bebidas. A coluna é num formato cilíndrico e a sua base estende-se substancialmente a partir do centro do espaço interior circular aberto. A novidade do desenho é a forma cilíndrica correlacionada do balcão e da coluna.
Classificação: 20 - 02
Criador: LUCA TRAZZI
Figura

Desenho n.º: D/000475
Data do pedido: 2008/06/24
Requerente: 澳門特別行政區政府能源業發展辦公室
Nacionalidade: constituída segundo as leis de Macau
Domicílio/Sede: 澳門新口岸宋玉生廣場398號中航大厦7樓
Título: Brinquedo.
Classificação: 21 - 01
Criador: 謝家慧
Figura

Desenho n.º: D/000476
Data do pedido: 2008/06/24
Requerente: 澳門特別行政區政府能源業發展辦公室
Nacionalidade: constituída segundo as leis de Macau
Domicílio/Sede: 澳門新口岸宋玉生廣場398號中航大厦7樓
Título: Brinquedo.
Classificação: 21 - 01
Criador: 謝家慧
Figura

Desenho n.º: D/000477
Data do pedido: 2008/06/24
Requerente: 澳門特別行政區政府能源業發展辦公室
Nacionalidade: constituída segundo as leis de Macau
Domicílio/Sede: 澳門新口岸宋玉生廣場398號中航大厦7樓
Título: Brinquedo.
Classificação: 21 - 01
Criador: 謝家慧
Figura

Desenho n.º: D/000478
Data do pedido: 2008/06/24
Requerente: 澳門特別行政區政府能源業發展辦公室
Nacionalidade: constituída segundo as leis de Macau
Domicílio/Sede: 澳門新口岸宋玉生廣場398號中航大厦7樓
Título: Brinquedo.
Classificação: 21 - 01
Criador: 謝家慧
Figura

Desenho n.º: D/000479
Data do pedido: 2008/06/24
Requerente: 澳門特別行政區政府能源業發展辦公室
Nacionalidade: constituída segundo as leis de Macau
Domicílio/Sede: 澳門新口岸宋玉生廣場398號中航大厦7樓
Título: Brinquedo.
Classificação: 21 - 01
Criador: 謝家慧
Figura

Desenho n.º: D/000480
Data do pedido: 2008/06/24
Requerente: 澳門特別行政區政府能源業發展辦公室
Nacionalidade: constituída segundo as leis de Macau
Domicílio/Sede: 澳門新口岸宋玉生廣場398號中航大厦7樓
Título: Brinquedo.
Classificação: 21 - 01
Criador: 謝家慧
Figura

Desenho n.º: D/000481
Data do pedido: 2008/06/24
Requerente: 澳門特別行政區政府能源業發展辦公室
Nacionalidade: constituída segundo as leis de Macau
Domicílio/Sede: 澳門新口岸宋玉生廣場398號中航大厦7樓
Título: Brinquedo.
Classificação: 21 - 01
Criador: 謝家慧
Figura

Desenho n.º: D/000530
Data do pedido: 2008/12/12
Requerente: Kelsen A/S
Nacionalidade: dinamarquesa
Domicílio/Sede: Bredgade 25-35, 8766 Nørre Snede, Denmark
Título: Caixa para empacotamento («cookies» de chocolate).
Resumo: as características do desenho para as quais a novidade é reivindicada são o padrão e o ornamento do artigo conforme se mostra nas representações.
Classificação: 9 - 03
Criador: CHIU Yiu Ming
Data de prioridade: 2008/06/13
País/Território de prioridade: R.P.China
Número de prioridade: 200830130330.8
Figura

Desenho n.º: D/000544
Data do pedido: 2009/03/30
Requerente: Lam Tsz Kwan
Nacionalidade: chinesa
Domicílio/Sede: 澳門氹仔成都街至尊花城第2幢麗翠閣19樓E座
Título: Cavaletes.
Resumo: 以木為材料製作獨立組件,並配合木梯一併使用。
Criador: Lam Tsz Kwan
Figura

Protecção de patentes de invenção
De acordo com os artigos 10.º e 83.º do RJPI, aprovado pelo Decreto-Lei n.º 97/99/M, de 13 de Dezembro, a seguir se publicam os pedidos de registo de patentes de invenção para a RAEM e a partir da data desta publicação até à data da atribuição da patente, qualquer terceiro pode apresentar reclamações, em conformidade com o artigo 84.º do mesmo diploma.
Publicação de patente de invenção
Patente de invenção n.º: I/000595
Data do pedido: 2007/10/11
Requerente: 微妙軟體股份有限公司
Domicílio/Sede: 中國台灣高雄巿明誠二路491號12樓
Título: Máquina de jogos electrónica com o cálculo e a probabilidade.
Resumo: 本設計係關於一種兼具計算與機率之電子遊戲機,主要設計一種提供遊戲過程中,揭示一對應式與運算式,在時間限制下,令遊戲參與者可有快速運算之機會 ,且可於事後驗證之昭信,而提昇遊戲過程之公平與公開性。
Classificação: A63F13/00
Inventor: 彭雲清
Figura

Patente de invenção n.º: I/000660
Data do pedido: 2007/11/21
Requerente: NEXON CORPORATION
Nacionalidade: sul-coreana
Domicílio/Sede: 705-25 Yeoksam-dong, Gangnam-gu, Seoul, Republic of Korea
Título: Caça-níqueis que pode realizar subjogo e seu método.
Resumo: 本發明涉及一種可以在拉霸遊戲中不受中獎條件影響而根據遊戲畫面上出現的特定符號進行子遊戲(Sub Game)的拉霸遊戲機及其方法,本發明拉霸 遊戲機包括:主遊戲單元,使各自具有符號的多個卷軸(Reel)旋轉後停止,如果出現符合獎勵條件的符號就給予獎勵;以及子遊戲單元,上述卷軸停止後出現一定數量的遊戲幣 符號時就進行第一子遊戲,上述第一子遊戲在上述子遊戲單元生成遊戲幣物品並掉到獎勵單元上時就給予獎勵。
本發明可進行子遊戲的拉霸遊戲機及其方法只要在進行拉霸遊戲時遊戲畫面上出現特定符號,就不管是否拉霸遊戲的符合中獎條件而在不影響拉霸遊戲的情況下進行獨立的子遊 戲,在子遊戲之一的遊戲幣遊戲中,遊戲幣物品根據銷(Pin)的彈性作用而朝上/下/左/右方向移動並掉落,如果掉到獎勵單元上則給予玩家一定獎勵而增添其樂趣。
Classificação: A63F13/00
Inventor: 朴秀賢
Data de prioridade: 2007/10/24
País/Território de prioridade: Coreia do Sul
Número de prioridade: 10-2007-0107181
Figura

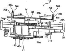
Patente de invenção n.º: I/000842
Data do pedido: 2008/08/20
Requerente: Aruze Corp.
Nacionalidade: japonesa
Domicílio/Sede: 3-1-25, Ariake, Koto-Ku, Tokyo 135-0063 Japan
Título: Máquina de jogos de multijogadores.
Resumo: 提供了一種遊戲機,所述遊戲機包括主顯示器和在遊戲區域中的多個終端。多個終端位於主顯示器前面,並且沿通道的兩側設置。終端包括具有靠背的座位、 開口、座位包圍部和副顯示器。開口形成在終端的一側,使得玩家可以在通道和座位之間移動。座位包圍部除具有開口的一側以外包圍座位。副顯示器設置在相對於座位包圍部上的終 端的前部。座位可以在從靠背面向開口的第一位置到靠背面向主顯示器的第二位置的範圍內旋轉。
Classificação: A63F13/00
Inventor: SAITO Hiroki
Data de prioridade: 2007/08/22
País/Território de prioridade: Japão
Número de prioridade: 2007-215676
Figura

Patente de invenção n.º: I/000844
Data do pedido: 2008/08/21
Requerente: Aruze Corp.
Nacionalidade: japonesa
Domicílio/Sede: 3-1-25, Ariake, Koto-ku, Tokyo 135-0063, Japan
Título: Máquina de jogos e seu método de controlo.
Resumo: 本發明提供一種遊戲機及其控制方法。遊戲機測量每當第一匹馬通過檢測點時的行程時間並在每一個遊戲終端中設置行程時間。當對每一個遊戲終端設置的行 程時間與測量的行程時間相一致時,對一致的遊戲終端提供獎勵。
Classificação: A63F9/14
| Inventor: | Hiroki SATO |
| Hirobumi TOYODA |
Data de prioridade: 2007/08/22
País/Território de prioridade: Japão
Número de prioridade: 2007-216104
Figura

Patente de invenção n.º: I/000845
Data do pedido: 2008/08/21
Requerente: Aruze Corp.
Nacionalidade: japonesa
Domicílio/Sede: 3-1-25, Ariake, Koto-ku, Tokyo 135-0063, Japan
Título: Máquina de jogos e seu método de controlo.
Resumo: 一種遊戲機,包括:公共顯示器、競賽遊戲控制器以及遊戲終端。競賽遊戲控制器,用於確定在競賽遊戲中的賽馬的動作模式,並且基於所確定的動作模式來 執行在公共顯示器上顯示的競賽遊戲。每個遊戲終端都包括指定開關和單獨的顯示器,用於接收遊戲者的下注。指定開關用於指定在單獨的顯示器上觀看被下注賽馬的三維圖像的視角 。每個遊戲終端都接收來自競賽遊戲控制器的所確定的動作模式,基於所接收到的動作模式來生成從通過指定開關指定的視角觀看的被下注的賽馬的三維圖像的幀數據,並且與在公共 顯示器上顯的競賽遊戲的進程同步地,基於所生成的幀數據在單獨的顯示器上顯示三維圖像。
Classificação: A63F9/14
Inventor: Hiroki SAITO
Data de prioridade: 2007/08/22
País/Território de prioridade: Japão
Número de prioridade: 2007-216047
Figura

Patente de invenção n.º: I/000846
Data do pedido: 2008/08/21
Requerente: Aruze Corp.
Nacionalidade: japonesa
Domicílio/Sede: 3-1-25, Ariake, Koto-ku, Tokyo 135-0063, Japan
Título: Máquina de jogos e seu método de controlo.
Resumo: 本發明涉及遊戲機及其控制方法。遊戲機包括控制器和遊戲終端。控制器將對於比賽下注的部分進行競爭累積為獎金計數值。控制器使得滿足一定條件的遊戲 終端有資格參與獎勵遊戲。控制器對於有資格的遊戲終端分配在獎勵遊戲中賽跑的一個或多個賽馬。控制器對於分配了在獎勵遊戲中獲勝的一個或多個賽馬的一個或多個遊戲終端提供 全部或部份獎金計數值。
Classificação: A63F5/04
Inventor: Hiroki SAITO
Data de prioridade: 2007/08/22
País/Território de prioridade: Japão
Número de prioridade: 2007-215808
Figura

Patente de invenção n.º: I/000847
Data do pedido: 2008/08/22
Requerente: Aruze Corp.
Nacionalidade: japonesa
Domicílio/Sede: 3-1-25, Ariake, Koto-Ku, Tokyo 135-0063 Japan
Título: Equipamento de máquina de jogos em que as competições são executadas por vários objectos de competição e seu método de controlo de jogos.
Resumo: 本發明的遊戲設備當在多個比賽對象相互競賽以求獲勝的比賽束結前滿足指定條件時,以首先下注的量作為上限的量提供遊戲媒介。
Classificação: A63F13/00
| Inventor: | Hirobumi Toyoda |
| Katsuhiro Kido |
Data de prioridade: 2007/08/22
País/Território de prioridade: Japão
Número de prioridade: 2007-216234
Figura

Patente de invenção n.º: I/000848
Data do pedido: 2008/08/22
Requerente: Aruze Corp.
Nacionalidade: japonesa
Domicílio/Sede: 3-1-25, Ariake, Koto-Ku, Tokyo 135-0063 Japan
Título: Equipamento de jogos em que as competições são executadas por vários objectos de competição e seu método de controlo de jogos.
Resumo: 一種遊戲機,其包括編程為執行以下處理的控制器:
(A)當指定條件成立時,進行特別比賽遊戲,在所述特別比賽遊戲中多個競賽對象相互競爭以求獲勝;
(B)從多個支付等級中確定一個支付等級;和
(C)當處理(A)中執行的特別比賽遊戲產生指定結果時,基於處理(B)中確定的等級提供支付。
Classificação: A63F13/00
Inventor: Hiroki Saito
Data de prioridade: 2007/08/22
País/Território de prioridade: Japão
Número de prioridade: 2007-216228
Figura

Patente de invenção n.º: I/000849
Data do pedido: 2008/08/22
Requerente: Aruze Corp.
Nacionalidade: japonesa
Domicílio/Sede: 3-1-25, Ariake, Koto-Ku, Tokyo 135-0063 Japan
Título: Equipamento de jogos que executa as competições com vários objectos de competição e seu método de controlo de jogos.
Resumo: 本發明的遊戲設備設置有顯示器和附帶顯示器。根據本發明,當在競賽遊戲正在進行的時間或者在從一次競賽遊戲結束到下一次競賽遊戲開始之前的時間期間 ,輸入了進行與競賽遊戲不同的附帶遊戲的命令時,在發生了命令的輸入的終端上執行附帶遊戲。然後,在終端中設置的附帶顯示器上顯示與附帶遊戲有關的圖像。
Classificação: A63F13/00
Inventor: Hiroki Saito
Data de prioridade: 2007/08/22
País/Território de prioridade: Japão
Número de prioridade: 2007-216227
Figura

Patente de invenção n.º: I/000850
Data do pedido: 2008/08/22
Requerente: Aruze Corp.
Nacionalidade: japonesa
Domicílio/Sede: 3-1-25, Ariake, Koto-Ku, Tokyo 135-0063 Japan
Título: Dispositivo de jogos que executa as competições com vários objectos de competição e seu método de controlo de jogos.
Resumo: 本發明的遊戲裝置包括:圖像顯示器;輸入裝置,多個遊戲者能夠使用該輸入裝置對參加競賽遊戲的競賽對象輸入注金,在該競賽遊戲中多個競賽對象為了獲 勝而相互競爭;以及控制器,該控制器被編程以便執行處理:(A)進行競賽遊戲,以及(B)在圖像顯示器上顯示出基於注金的信息的圖像,該注金是在處理(A)中執行的競賽遊 戲結束之前從輸入裝置輸入的。
Classificação: A63F13/00
| Inventor: | Hirobumi Toyoda |
| Hiroki Saito |
Data de prioridade: 2007/08/22
País/Território de prioridade: Japão
Número de prioridade: 2007-216232
Figura

Patente de invenção n.º: I/000855
Data do pedido: 2008/09/03
Requerente: Aruze Corp.
Nacionalidade: japonesa
Domicílio/Sede: 3-1-25, Ariake, Koto-Ku, Tokyo 135-0063, Japan
Título: Equipamento para o processamento de notas bancárias.
Resumo: 一種紙幣處理設備,包括:可朝向紙幣傳送路徑的中心移動,並且調整被傳送紙幣的側緣以使紙幣平行於傳送方向而被對準的可動片,其中驅動源傳送紙幣通 過紙幣傳送路徑;以及控制驅動源的驅動的控制裝置。在這裏,在紙幣通過可動片之後,控制裝置驅動驅動源以將可動片從可動片接觸紙幣側緣的位置朝向紙幣傳送路徑的中心移動。
Classificação: B65H9/00
Inventor: NIREKI Takao
Data de prioridade: 2007/09/03
País/Território de prioridade: Japão
Número de prioridade: 2007-227540
Data de prioridade: 2007/10/24
País/Território de prioridade: Japão
Número de prioridade: 2007-276600
Figura

Patente de invenção n.º: I/000860
Data do pedido: 2008/09/12
Requerente: Aruze Corp.
Nacionalidade: japonesa
Domicílio/Sede: 3-1-25, Ariake, Koto-ku, Tokyo, 135-0063 Japan
Título: Máquina de jogos e sistema de jogos utilizando fichas.
Resumo: 遊戲籌碼30具有嵌入在其中的IC標記34,以及打印在其上的憑肉眼不可見的特別的條形碼101。服務器基於由讀取器38讀出的IC標記34的個別 信息,基於由條形碼掃描器102讀出的特別條形碼101的個別信息,基於稱量裝置40獲取的重量數據以及基於在相機103中處理的圖像數據,計算遊戲籌碼30的數目。此外 ,服務器核對這樣計算出的遊戲籌碼30部分的數目或總數,並且從顯示器或揚聲器輸出核對結果。
Classificação: A63F9/24
Inventor: KOYAMA, Toshimi
Data de prioridade: 2007/09/13
País/Território de prioridade: Japão
Número de prioridade: 2007-237459
Data de prioridade: 2007/09/13
País/Território de prioridade: Japão
Número de prioridade: 2007-237460
Data de prioridade: 2007/09/13
País/Território de prioridade: Japão
Número de prioridade: 2007-237461
Figura

Patente de invenção n.º: I/000861
Data do pedido: 2008/09/12
Requerente: Aruze Corp.
Nacionalidade: japonesa
Domicílio/Sede: 3-1-25, Ariake, Koto-ku, Tokyo, Japan
Título: Caça-níqueis com jogo de prémio.
Resumo: 來自通過在液晶面板5B中處於透明狀態的顯示窗W1、W2和W3重新設置的符號中的作為支付線L的指定目標處理的符號可以包括空白。在這種情況下, 在這些空白之上,沒有被繪製在卷輪R1、R2和R3的卷輪帶上的﹝怪物﹞符號可以被分別顯示在各個顯示窗W1、W2和W3上。這些﹝怪物﹞符號從液晶面板5B中的各個顯示 窗W1、W2和W3顯示窗W1、W2和W3內移動到外並且在顯示窗W1、W2和W3的下面,在那裏它們被顯示。在這種情況下,﹝怪物﹞符號變成作為支付線L的指定目標被處 理的符號,代替空白,導致獎金遊戲觸發。
Classificação: A63F5/04
Inventor: YOSHIZAWA, Kazumasa
Data de prioridade: 2007/09/13
País/Território de prioridade: Japão
Número de prioridade: 2007-237462
Figura

Patente de invenção n.º: I/000862
Data do pedido: 2008/09/19
Requerente: Aruze Corp.
Nacionalidade: japonesa
Domicílio/Sede: 3-1-25, Ariake, Koto-Ku, Tokyo 135-0063 Japan
Título: Máquina accionada com moedas que mostra os efeitos de representação à base das proporções de volume de pagamento e de volume de aposta.
Resumo: 一種投幣機,其包括顯示裝置、卷筒、下注單元、電機、存儲器和控制器。控制器被配置為:(a)響應於所接受的注金執行抽獎;(b)向每個電機發送表 示旋轉每個卷筒的指令的訊號;(c)根據抽獎結果確定要獎賞給遊戲者的積分量;(d)根據積分量與所接受注金的比例確定要在顯示裝置上顯示的圖像;(e)使顯示裝置顯示在 (d)中所確定的圖像;(f)根據抽獎結果向每個電機發送表示使每個卷筒停止的指令的訊號;以及(g)當每個卷筒停止時,將在(c)中所確定的積分量獎賞給遊戲者。
Classificação: A63F5/04
Inventor: AJIRO Arata
Data de prioridade: 2007/09/21
País/Território de prioridade: Japão
Número de prioridade: 2007-244620
Figura

Patente de invenção n.º: I/000863
Data do pedido: 2008/10/10
Requerente: Aruze Corp.
Nacionalidade: japonesa
Domicílio/Sede: 3-1-25, Ariake, Koto-ku, Tokyo 135-0063 Japan
Título: Máquina de jogos.
Resumo: 免費遊戲開始前,投幣機在可變顯示部分顯示選擇屏幕,並且接受由玩家作出的相關於第一備選圖像和第二備選圖像的選擇。通過抽選,將包括數量多於通常 卷輪帶的“禿鷹”符號的第一特定卷輪帶或第二特定卷輪帶與第一備選圖像和第二被選圖像相關聯。主CPU將與每個卷輪顯示部分相關聯的通常卷輪帶轉變成基於玩家作出的選擇的 特定卷輪帶。然後,主CPU應用已經改變的特定卷輪帶執行免費遊戲。
Classificação: A63F13/00
| Inventor: | NISHIMURA, Hiroyuki |
| KATO, Yoichi | |
| SAITO, Hiroki |
Data de prioridade: 2007/10/12
País/Território de prioridade: Japão
Número de prioridade: 2007-266445
Figura

Patente de invenção n.º: I/000864
Data do pedido: 2008/10/10
Requerente: Aruze Corp.
Nacionalidade: japonesa
Domicílio/Sede: 3-1-25, Ariake, Koto-ku, Tokyo, Japan
Título: Máquina de jogos.
Resumo: 在獎金遊戲中,投幣式遊戲機將由禿鷹符號和羽毛符號組成的獎金卷輪帶關聯至卷輪顯示部。此後,投幣式遊戲機接受玩家選擇一個支付線作出的選擇操作。 投幣式遊戲機基於獎金卷輪帶以可變方式和停止方式顯示符號。投幣式遊戲機依照以停止方式顯示在所選擇的支付線上得禿鷹符號的數量確定諸如大累積賭注獎勵的獎金內容。然後, 投幣式遊戲機獎勵給玩家具有如此確定的內容的獎金。
Classificação: A63F13/00
| Inventor: | NISHIMURA, Hiroyuki |
| KATO, Yoichi | |
| SAITO, Kiroki |
Data de prioridade: 2007/10/12
País/Território de prioridade: Japão
Número de prioridade: 2007-266433
Figura

Patente de invenção n.º: I/000865
Data do pedido: 2008/10/15
Requerente: Aruze Gaming America, Inc.
Nacionalidade: americana
Domicílio/Sede: 745 Grier Drive, Las Vegas, Nevada 89119, U.S.A.
Título: Sistema de jogos.
Resumo: 一種遊戲系統,包括多個遊戲機和公共顯示器。並且,該遊戲系統具有處理器,該處理器使得預定遊戲機的顯示器的圖像效果與公共顯示器的圖像效果互相合 作。
Classificação: A63F5/04
Inventor: OKADA, Kazuo
Data de prioridade: 2007/10/18
País/Território de prioridade: Estados Unidos da América
Número de prioridade: 60/981,008
Data de prioridade: 2008/02/21
País/Território de prioridade: Estados Unidos da América
Número de prioridade: 12/034,869
Data de prioridade: 2008/03/14
País/Território de prioridade: Japão
Número de prioridade: 2008-065494
Figura

Patente de invenção n.º: I/000866
Data do pedido: 2008/10/15
Requerente: Aruze Corp.
Nacionalidade: japonesa
Domicílio/Sede: 3-1-25, Ariake, Koto-ku, Tokyo, Japan
Título: Máquina de jogos.
Resumo: 本文描述了一種遊戲環境。如果預定數目或更多標記被顯示,則執行累進機會遊戲之一。此外,基於所顯示的標記確定將要執行的累進機會遊戲。如果在累進 機會遊戲中實現累進獎金,則將提供對應於累進獎金的大獎量。
Classificação: A63F5/04
Inventor: Yoichi KATO
Data de prioridade: 2007/10/16
País/Território de prioridade: Japão
Número de prioridade: 2007-269291
Figura

Patente de invenção n.º: I/000867
Data do pedido: 2008/10/15
Requerente: Aruze Corp.
Nacionalidade: japonesa
Domicílio/Sede: 3-1-25, Ariake, Koto-ku, Tokyo 135-0063 Japan
Título: Máquina de jogos.
Resumo: 本發明描述了一種遊戲環境。如果預定數量以上的標記被顯示在基礎遊戲中,則執行累進機會遊戲。另,該累進機會遊戲是選擇類型遊戲。累進機會遊戲中的 選項的可選數基於基礎遊戲的下注量來確定。
Classificação: A63F5/04
Inventor: Yoichi KATO
Data de prioridade: 2007/10/16
País/Território de prioridade: Japão
Número de prioridade: 2007-269292
Figura

Patente de invenção n.º: I/000868
Data do pedido: 2008/10/16
Requerente: Aruze Corp.
Nacionalidade: japonesa
Domicílio/Sede: 3-1-25, Ariake, Koto-ku, Tokyo 135-0063 Japan
Título: Máquina de jogos.
Resumo: 描述了一種遊戲環境。如果預定數以上的標記被顯示,則將要執行一個累進機會遊戲。同樣,基於顯示的標記來確定將要執行的累進機會遊戲。同樣,以預定 的圖像效果來顯示標記。如果在累進機會遊戲中實現累進獎金,則將提供與累進獎金相對應的大獎量。
Classificação: A63F5/04
| Inventor: | Ryo ISOGAI |
| Masaya HONDA | |
| Naoki NOMURA |
Data de prioridade: 2007/10/16
País/Território de prioridade: Japão
Número de prioridade: 2007-269293
Figura

Patente de invenção n.º: I/000869
Data do pedido: 2008/10/17
Requerente: Aruze Gaming America, Inc.
Nacionalidade: norte-americana
Domicílio/Sede: 745 Grier Drive, Las Vegas, Nevada 89119, U.S.A.
Título: Sistema de jogos.
Resumo: 遊戲系統包括多個遊戲機和共同顯示器。並且,該遊戲系統具有處理器。該處理器與其他遊戲機通訊,從而如果任一多個遊戲機滿足預定條件,就在多個遊戲 機的各顯示器上產生圖像效果。因此,增強了娛樂性,並且允許吸引玩家。
Classificação: A63F5/04
Inventor: OKADA Kazuo
Data de prioridade: 2007/10/18
País/Território de prioridade: Estados Unidos da América
Número de prioridade: 60/981,002
Data de prioridade: 2008/02/21
País/Território de prioridade: Estados Unidos da América
Número de prioridade: 12/034,951
Data de prioridade: 2008/03/14
País/Território de prioridade: Japão
Número de prioridade: 2008-065495
Figura

Patente de invenção n.º: I/000870
Data do pedido: 2008/10/23
Requerente: 仙妮蕾德公司
Nacionalidade: americana
Domicílio/Sede: 美國加利福尼亞90501多倫斯市阿巴羅尼大街1625號
Título: Tampa de depósito hermética de segurança.
Resumo: 本發明公開了一種安全密封的貯存室瓶蓋,該瓶蓋優選地包括兩個互鎖地配合到一起的部件。底部件包括用於容置該頂部件的腔、底部密封件、用於緊固到口 上帶螺紋的容器的表面、螺紋口密封件和鎖定密封件。頂部件包括用於容置並存儲飲料添加劑的貯存室。頂部件中的貯存室的形狀允許該貯存室用作斷裂密封件的穿透元件。兩個部件 優選地都包括不透明材料,其阻擋光線防止飲料添加劑變質。當兩個部件配合到一起時,多個密封件防止飲料添加劑由於受熱、潮濕、空氣及其它環境因素變質,密封件還防止瓶中的 流體過早地與飲料添加劑混合。
Classificação: B65D51/28
Inventor: 陳德福
Data de prioridade: 2007/10/25
País/Território de prioridade: Estados Unidos da América
Número de prioridade: 60/982,582
Data de prioridade: 2007/11/29
País/Território de prioridade: Estados Unidos da América
Número de prioridade: 60/991,137
Figura

Patente de invenção n.º: I/000871
Data do pedido: 2008/10/24
Requerente: Aruze Corp.
Nacionalidade: japonesa
Domicílio/Sede: 3-1-25, Ariake, Koto-Ku, Tokyo 135-0063 Japan
Título: Equipamento para o processamento de papel.
Resumo: 本發明提供一種紙張處理裝置,包括:插入口,在其中插入紙張;紙張輸送機構,用於傳送插入到插入口中的紙張;紙張移動通道,紙張通過該紙張移動通道 輸送;傳感器,用於檢測在紙張移動通道中存在的紙張;一對接觸部件,用於固定紙張;驅動源,用於將該對接觸部件對中之一向另一個移動;以及控制裝置,用於控制驅動源的驅動 。該對接觸部件中的任何一個被驅動以輸送紙張。控制裝置控制驅動力以移動該對接觸部件中的任何一個,使得在紙張插入之前該對接觸部件保持分開,並且該對接觸部件變得相互靠 近。
Classificação: G07D9/00, B65H5/02
Inventor: NIREKI Takao
Data de prioridade: 2007/10/24
País/Território de prioridade: Japão
Número de prioridade: 2007-276602
Figura

Patente de invenção n.º: I/000872
Data do pedido: 2008/10/24
Requerente: Aruze Gaming America, Inc.
Nacionalidade: norte-americana
Domicílio/Sede: 745 Grier Drive, Las Vegas, Nevada 89119, U.S.A.
Título: Caça-níqueis com função de segurança e seu método de jogos.
Resumo: 本發明的投幣機包括:能夠變化地顯示多個符號的符號顯示裝置;和控制器,該控制器被編程以執行下列處理:(A)執行普通遊戲,其中在已投注數目等於 或少於先前設定的最大投注數的遊戲媒介後,由符號顯示裝置變化地顯示然後停止地顯示多個符號,並且根據停止地顯示的符號或其組合來確定支付值;(B)在已投入預定數目的遊 戲媒介的情況下,將模式從非保險模式轉換至保險模式;(C)在保險模式中,計數在模式已轉換至保險模式後進行的普通遊戲的次數;和(D)當在處理(C)中計數的普通遊戲的 次數達到特定次數時,支付預定數目的遊戲媒介,並進行即使未投注遊戲媒介也執行的免費遊戲。
Classificação: A63F9/24
Inventor: Kazuo OKADA
Data de prioridade: 2007/10/26
País/Território de prioridade: Estados Unidos da América
Número de prioridade: 60/983,007
Data de prioridade: 2008/03/12
País/Território de prioridade: Estados Unidos da América
Número de prioridade: 12/047,002
Figura

Patente de invenção n.º: I/000874
Data do pedido: 2008/10/28
Requerente: IGT
Nacionalidade: americana
Domicílio/Sede: 9295 Prototype Drive, Reno, Nevada 89521-8986 E.U.A.
Título: Máquina de jogos com conteúdo de visualização controlado exteriormente.
Resumo: sistema de jogos, incluindo vários dispositivos anfitriões cada um acoplado a uma ou mais máquinas de jogos, em que o conteúdo proporcionado pelo dispositivo anfitrião é enviado para a máquina de jogos. Para enviar o conteúdo proporcionado pelo anfitrião remoto, pode ser utilizado um processo controlado pelo anfitrião, que é autenticado pela máquina de jogos e executado numa posição segura de memória, de tal forma que está isolada de outros processos que se executam na máquina de jogos. Os processos controlados pelo anfitrião podem ser isolados do processo utilizado para executar o jogo de probabilidades jogado na máquina de jogos, de tal forma que o conteúdo produzido pelo processo controlado pelo anfitrião não altera a execução do jogo de probabilidades.
Classificação: A63F9/24
| Inventor: | Reid M. Weber |
| Erik B. Petersen | |
| Adrian R. Marcu | |
| William C. Little | |
| Steven G. Lemay |
Data de prioridade: 2008/10/12
País/Território de prioridade: Estados Unidos da América
Número de prioridade: 12/209,608
Figura

Protecção de extensão de pedido de paternte de invenção
De acordo com os artigos 10.º e 129.º a 135.º do RJPI, aprovado pelo Decreto-Lei n.º 97/99/M, de 13 de Dezembro, conjugados com os artigos 4.º e 5.º do «Acordo de Cooperação entre a Direcção Nacional da Propriedade Intelectual e a Direcção dos Serviços de Economia da RAEM na Área dos Direitos de Propriedade Intelectual», a seguir se publica o pedido de extensão pedido(s) de patente de invenção.
Extensão de pedido de patente de invenção
N.º: J/000322
Data de pedido de extensão: 2009/03/25
Requerente: Lim Jee Keng, James
Nacionalidade: singapuriana
Domicílio/Sede: 10 Admiralty Street, #06-15, North Link Building, Singapore 757695
Título: Painel composto de cimento-espuma e sistema de painel para tectos.
Resumo: 一種屋頂或頂板的覆層板和結構。每個覆層板具有輕質芯材,其中通過延伸橫貫所述芯材的底表面的溝槽形成一個或多個通道。在所述芯材的頂部和側面上形 成剛性混凝土外殼並使其延伸至所述芯材的底部邊緣。所述芯材底表面中的溝槽延伸穿過所述剛性外殼的底部部分,以形成至少一個橫貫所述覆層板底部的連續通道。因此,覆層板下 方的水通過開口通道流向排水系統,消除了在覆層板之間進行防水或密封的需要。覆層板直接鋪在膜上以保護所述膜並且立即可以步行通行。
Data de pedido nacional: 2006/04/28
Número de pedido nacional: 200680037168.3
Data de publicação nacional: 2008/10/08
Número de publicação nacional: CN 101283149A
Classificação: E04B2/32
Inventor: Lim Jee Keng, James
Data de prioridade: 2005/10/05
País/Território de prioridade: Singapura
Número de prioridade: 200506472-0
Figura

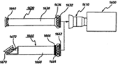
N.º: J/000331
Data de pedido de extensão: 2009/05/06
Requerente: GLOBAL BIONIC OPTICS PTY LTD
Nacionalidade: australiana
Domicílio/Sede: 27/52 Glen Avenue, Randwick, NSW 2031, Australia
Título: Sistema de lentes ópticas.
Resumo: 光學透鏡附件(1630,1640)以及相機被公開。附件(1630,1640) 包括用於與相機和光學透鏡中的至少一個相配嚙合的耦合機制 (1632,1662) 。筒(1638,1668)在一端耦合到耦合機制(1632, 1662)。負透鏡單元(1640,1670)耦合到伸長筒(1638,1668) 的另一端。屈光透鏡(1634,1664) 被設置在筒(1638,1668)與耦合機制(1632,1662)之間。耦合機制(1632,1662)、屈光透鏡(1634,1664)以及筒(1638,1668) 都與光軸對準。還公開了一種雙轉體光學透鏡系統,包括:負透鏡單元;方向相對於負透鏡單元的光軸成一角度的反射鏡;用於將入射光線旋轉90度並顛倒圖像的屋脊棱鏡;允許負 透鏡單元關於垂直軸線旋轉的旋轉機制;圖像旋轉器,其包括一個能夠顛倒圖像的棱鏡,該棱鏡被設置在圖像旋轉器內;以及另一個旋轉機制,其允許屋脊棱鏡關於圖像旋轉器的光軸 旋轉。
Data de pedido nacional: 2006/08/10
Número de pedido nacional: 200680004870.X
Data de publicação nacional: 2008/06/04
Número de publicação nacional: CN 101194197A
Classificação: G02B7/00, G02B13/06, G02B13/00, G02B27/64
Inventor: FRAZIER, James, Albert
Data de prioridade: 2005/08/11
País/Território de prioridade: Austrália
Número de prioridade: 2005904334
Data de prioridade: 2005/10/12
País/Território de prioridade: Austrália
Número de prioridade: 2005905635
Data de prioridade: 2005/11/03
País/Território de prioridade: Austrália
Número de prioridade: PCT/AU2005/001675
Data de prioridade: 2006/04/28
País/Território de prioridade: Austrália
Número de prioridade: 2006902230
Data de prioridade: 2006/06/23
País/Território de prioridade: Austrália
Número de prioridade: 2006903397
Data de prioridade: 2006/08/09
País/Território de prioridade: Austrália
Número de prioridade: 2006904322
Figura

N.º: J/000332
Data de pedido de extensão: 2009/05/06
Requerente: GLOBAL BIONIC OPTICS PTY LTD
Nacionalidade: australiana
Domicílio/Sede: 27/52 Glen Avenue, Randwick, NSW 2031, Australia
Título: Sistema de lentes ópticas.
Resumo: 公開了廣角、深景、近聚焦光學系統(1100,1200,1300,1400)。根據一個方面,光學系統(1100)包括負透鏡單元(1110)和 中繼透鏡(1160)。負透鏡單元(1110)接受來自空間中物體的輻射。中繼透鏡(1160)耦合到負透鏡單元(1110)。負透鏡單元(1110) 和中繼透鏡(1160) 按照那個順序在光軸上對準。負透鏡單元(1110) 在中繼透鏡(1160)上形成第一圖像以便在離中繼透鏡(1160)一段距離的最終圖像平面上形成最終圖像。中繼透鏡 (1160)可以包括一個變焦透鏡或變焦透鏡組件,其可以是可移動的。
Data de pedido nacional: 2006/08/10
Número de pedido nacional: 200680004872.9
Data de publicação nacional: 2008/06/25
Número de publicação nacional: CN 101208626A
Classificação: G02B13/00, G02B13/24, G02B17/00
Inventor: FRAZIER, James, Albert
Data de prioridade: 2005/08/11
País/Território de prioridade: Austrália
Número de prioridade: 2005904334
Data de prioridade: 2005/10/12
País/Território de prioridade: Austrália
Número de prioridade: 2005905635
Data de prioridade: 2005/11/03
País/Território de prioridade: Austrália
Número de prioridade: PCT/AU2005/001675
Data de prioridade: 2006/04/28
País/Território de prioridade: Austrália
Número de prioridade: 2006902230
Data de prioridade: 2006/06/23
País/Território de prioridade: Austrália
Número de prioridade: 2006903397
Data de prioridade: 2006/08/09
País/Território de prioridade: Austrália
Número de prioridade: 2006904322
Figura

N.º: J/000333
Data de pedido de extensão: 2009/05/06
Requerente: GLOBAL BIONIC OPTICS PTY LTD
Nacionalidade: australiana
Domicílio/Sede: 27/52 Glen Avenue, Randwick, NSW 2031, Australia
Título: Lentes.
Resumo: 描述了一種透鏡,所述透鏡包括限定在其間的腔的第一和第二壁 (12、10),所述腔包含液體(14)。壁(12)的至少一個是柔性的,並且可通過 調整至少一個柔性壁(12)的形狀來改變所述腔中液體(14)的量,從而調整透鏡的焦度。一個或者多個柔性壁可以具有在壁中靠近壁的外圍形成的至少一個凹槽(15)。在另 一配置中,柔性壁和第二壁粘接、焊接或者熔合在一起。在又一個配置中,透鏡包括柔性壁和第二壁。柔性壁是彈性的,並且在其中心區域較薄,其中所述柔性壁能夠相對於第二壁偏 移。還描述了製造用於透鏡的柔性壁的方法。
Data de pedido nacional: 2006/06/20
Número de pedido nacional: 200680028544.2
Data de publicação nacional: 2008/08/06
Número de publicação nacional: CN 101238395A
Classificação: G02B1/06
| Inventor: | FRAZIER, James, Albert |
| PARKS, Peter, Denison |
Data de prioridade: 2005/06/21
País/Território de prioridade: Estados Unidos da América
Número de prioridade: 60/692,486
Data de prioridade: 2005/06/29
País/Território de prioridade: Reino Unido
Número de prioridade: 0513347.5
Figura

Extensão de patente concedida
De acordo com os artigos 10.º e 129.º a 135.º do RJPI, aprovado pelo Decreto-Lei n.º 97/99/M, de 13 de Dezembro, conjugados com os artigos 4.º e 5.º do «Acordo de Cooperação entre a Direcção Nacional da Propriedade Intelectual e a Direcção dos Serviços de Economia da RAEM na Área dos Direitos de Propriedade Intelectual», a seguir se publica a extensão de patente(s) de invenção concedida(s).
Extensão de patente de invenção concedida
N.º: J/000265
Data de pedido de extensão: 2008/11/10
Data de despacho de extensão: 2009/05/26
Requerente: ARCHIMEDES DEVELOPMENT LIMITED
Nacionalidade: britânica
Domicílio/Sede: Albert Einstein Centre, Nottingham, Science and Technology Park, University Boulevard, Nottingham, NG7 2TN, UK
Título: Composições farmacêuticas incluindo fentanyl para aplicação intranasal.
Resumo: 本發明提供了用於對動物鼻內給藥芬太尼或其可藥用鹽的組合物,其包括(i)芬太尼或其可藥用鹽和(ii)可藥用添加劑的水溶液,其中可藥用添加劑選 自(a)果膠和(b)泊洛沙姆和脫乙醯殼多糖或脫乙醯殼多糖的鹽或衍生物;條件是當組合物包括果膠時,該組合物基本上不含二價金屬離子;並且,與以同樣劑量鼻內給藥的芬太 尼簡單水溶液相比,本發明的組合物提供了以相同芬太尼劑量鼻內給藥簡單水溶液實現的血漿峰濃度(Cmax)的10%到80%的芬太尼血漿峰濃度(Cmax)。
Data de pedido nacional: 2004/01/12
Número de patente nacional: 200480002000.X
Data de publicação nacional: 2006/01/18
Data de anúncio nacional: 2008/10/08
Número de anúncio nacional: CN 100423709C
Classificação: A61K9/00, A61K31/4468, A61P25/04
| Inventor: | CASTILE, Jonathan, David |
| WATTS, Peter, James | |
| LAFFERTY, William, Columbus, Ian | |
| SMITH, Alan |
Data de prioridade: 2003/01/10
País/Território de prioridade: Reino Unido
Número de prioridade: 0300531.1
Figura

N.º: J/000271
Data de pedido de extensão: 2008/12/04
Data de despacho de extensão: 2009/05/26
Requerente: Advantica Intellectual Property Limited
Nacionalidade: britânica
Domicílio/Sede: Holywell Park, New Ashby Road, Loughborough, Leicestershire LE11 3GR, United Kingdom
Título: Determinação da composição efectiva de mistura de gases hidrocarbónicos.
Resumo: 一種測定含有多種烴氣的氣體混合物的有效組分的方法和裝置,該方法包括:選取一種或多種有效烴代表氣體混合物中多種烴氣,有效烴的數量小於其組份要 測定的氣體混合物中的烴氣數量,測定其要測定有效組份的氣體混合物中的多種特性,被測定特性數小於要測組分的總數,並從氣體混合物的特性測量測定氣體混合物中的有效組份, 預定參數取決於要測的特性,並知道氣體混合物中組份的總計為100%。
Data de pedido nacional: 2001/11/12
Número de patente nacional: 01821290.5
Data de publicação nacional: 2004/03/17
Data de anúncio nacional: 2008/09/10
Número de anúncio nacional: CN 100417943C
Classificação: G01N33/22
Inventor: 羅伯特.R.瑟斯頓
Data de prioridade: 2000/11/15
País/Território de prioridade: Reino Unido
Número de prioridade: 0027875.4
Data de prioridade: 2001/05/29
País/Território de prioridade: Reino Unido
Número de prioridade: 0112924.6
Figura

N.º: J/000283
Data de pedido de extensão: 2008/12/29
Data de despacho de extensão: 2009/05/26
Requerente: Koretide Corp.
Nacionalidade: chinesa
Domicílio/Sede: Room 17200, Building 16# 498 Guoshoujing Road, Pudong Newarea Shanghai, 201203 P.R. China
Título: Método de processamento de objecto de dados de auto-descrição.
Resumo: 一種自描述數據對象的處理方法,在使用數據對象時,對數據對象實例分配內存空間,對該數據對象實例進行賦值,當取消對該數據對象實例使用時,釋放該 數據對象佔用的存儲空間。本發明使用戶不需要了解該數據類型的內部結構,僅通過該數據類型提供的方法,可方便地訪問相應的內部結構成員。本發明在兼容COM技術的前提下, 提供了數據類型的內存結構。本發明適用於“客戶/中間件/服務器”三層乃至多層體系結構、中間件技術和Grid網絡計算。並且具有如下的優點:可通過有限的參數傳遞,得到 理想的數據信息;能有效地降低服務構件的負載,並能快速響應應用請求;減少了數據的二義性,避免了計算錯誤;滿足了構件的兼容性要求。
Data de pedido nacional: 2002/12/31
Número de patente nacional: 02159494.5
Data de publicação nacional: 2004/07/14
Data de anúncio nacional: 2008/10/01
Número de anúncio nacional: CN 100422932C
Classificação: G06F9/45
| Inventor: | 陳榕 |
| 梁宇洲 | |
| 葉忠強 | |
| 王維漢 | |
| Figura |

N.º: J/000307
Data de pedido de extensão: 2009/02/19
Data de despacho de extensão: 2009/05/26
Requerente: SERUMWERK BERNBURG AG
Nacionalidade: alemã
Domicílio/Sede: Hallesche Landstraße 105 b, 06406 Bernburg, Germany
Título: Medicamento contendo efector do metabolismo de glutatione e ácido alfalipóico para uso no tratamento de substituição de rim.
Resumo: 本發明涉及一種藥物,其包括谷胱甘肽代謝的效應子以及α—硫辛酸、其鹽和/或其前藥作為同時、單獨或者順序治療腎替代療法中的硫醇——二硫化物狀態 紊亂、以及其中免疫細胞的硫醇——二硫化物狀態發生紊亂的綜合症的組合藥劑。校正硫醇代謝缺乏是非常重要的,可作為許多不同病因之疾病的基礎療法,特別是在需要腎替代治療 的情況中。
Data de pedido nacional: 2002/05/24
Número de patente nacional: 02810976.7
Data de publicação nacional: 2004/09/22
Data de anúncio nacional: 2008/11/26
Número de anúncio nacional: CN 100435793C
Classificação: A61K31/385, A61K31/401, A61K31/403, A61K31/137, A61P13/12
| Inventor: | TÄGER, Michael |
| ANSORGE, Siegfried | |
| FRIES, Gerhard | |
| KOEGST, Dieter |
Data de prioridade: 2001/05/28
País/Território de prioridade: Alemanha
Número de prioridade: 10125883.6
N.º: J/000309
Data de pedido de extensão: 2009/02/20
Data de despacho de extensão: 2009/05/26
Requerente: ELAN PHARMA INTERNATIONAL LIMITED
Nacionalidade: irlandesa
Domicílio/Sede: Monksland, Athlone, County Westmeath, Ireland
Requerente: WYETH
Nacionalidade: norte-americana
Domicílio/Sede: Five Giralda Farms, Madison, NJ 07940, U.S.A.
Título: Anticorpos humanizados que reconhecem peptidoβamiloide.
Resumo: 本發明涉及識別β澱粉樣肽的人源化抗體。具體而言,本發明提供一種含有人源化重鏈和人源化輕鏈的人源化免疫球蛋白或其抗原給合片段,其能夠以至少107M-1的 結合親合力特異性結合到β澱粉樣肽(Aβ)。本發明還提供含有所述人源化免疫球蛋白或其抗原給合片段的藥物組合物,及其用於治療與患者腦中的Aβ澱粉樣沉積物相關的疾病。
Data de pedido nacional: 2001/12/06
Número de patente nacional: 01820170.9
Data de publicação nacional: 2004/10/27
Data de anúncio nacional: 2009/01/07
Número de anúncio nacional: CN 100448893C
Classificação: C07K16/18, A61P25/28, A61K39/395, C12N15/13, C12N15/85, C12N5/10
| Inventor: | Guriq BASI |
| Jose SALDANHA | |
| Dale B. SCHENK |
Data de prioridade: 2000/12/06
País/Território de prioridade: Estados Unidos da América
Número de prioridade: 60/251,892
N.º: J/000310
Data de pedido de extensão: 2009/02/23
Data de despacho de extensão: 2009/05/26
Requerente: ASTRAZENECA AB
Nacionalidade: sueca
Domicílio/Sede: SE-151, 85 Sodertalje, Sweden
Título: Derivados de 4-anilino quinazolina que servem como agentes antiproliferativos.
Resumo: 本發明涉及式(I)的喹唑啉衍生物,其中各個Q1、Z、R1和Q2具有本說明書中定義的任何意義;所述化合物的製備方法、含有它們的藥用組合物以及 它們在製備用於在預防或治療對抑制erbB受體酪氨酸激酶敏感的腫瘤中用作抗增殖劑的藥物中的用途。
Data de pedido nacional: 2003/03/26
Número de patente nacional: 03811739.8
Data de publicação nacional: 2005/08/17
Data de anúncio nacional: 2008/12/03
Número de anúncio nacional: CN 100439344C
Classificação: C07D239/94, C07D401/12, C07D401/14, C07D403/14, C07D491/04, A61K31/517, A61P35/00
| Inventor: | R.H.布拉博里 |
| L.F.A.亨內奎恩 | |
| J.G.凱特爾 |
Data de prioridade: 2002/03/28
País/Território de prioridade: Reino Unido
Número de prioridade: 0207323.7
Data de prioridade: 2002/12/24
País/Território de prioridade: Reino Unido
Número de prioridade: 0230086.1
Data de prioridade: 2003/01/28
País/Território de prioridade: Reino Unido
Número de prioridade: 0301916.3
Figura

N.º: J/000316
Data de pedido de extensão: 2009/03/05
Data de despacho de extensão: 2009/05/26
Requerente: IF CO., LTD.
Nacionalidade: japonesa
Domicílio/Sede: 25-8 Hatsudai 1-chome, Shibuya-ku, Tokyo, Japan
Título: Dispositivo para mostrar imagens tridimensionais.
Resumo: 本發明提供不需要多個特殊設備,可以應用在多個領域,價廉並且具有實用性的、成為用於實現新的圖像顯示手段的立體圖像顯示裝置。其特徵在於:具備能 夠再生顯示圖像的第一圖像再生部分和第二圖像再生部分,第一圖像再生部分具有顯示圖像的彎曲狀的再生面板,第二圖像再生部分具有顯示圖像的彎曲狀的顯示面板,再生面板和顯 示面板設置為將相互的凸面側呈相對立狀,顯示面板的表面是能夠反射第一圖像再生部分再生的圖像的反射面,上述再生面板的表面是不能反射上述第二圖像再生部分再生的圖像的非 反射面。
Data de pedido nacional: 2004/08/24
Número de patente nacional: 200410064406.2
Data de publicação nacional: 2005/07/20
Data de anúncio nacional: 2008/12/24
Número de anúncio nacional: CN 100445803C
Classificação: G02B27/22, H04N13/04, G03B21/00, G03B35/18
Inventor: 翁長裕
Data de prioridade: 2004/01/13
País/Território de prioridade: Japão
Número de prioridade: 2004-005036
Figura

N.º: J/000318
Data de pedido de extensão: 2009/03/12
Data de despacho de extensão: 2009/05/26
Requerente: Merck & Co., Inc.
Nacionalidade: americana
Domicílio/Sede: 126 East Lincoln Avenue, Rahway, NJ, U.S.A.
Título: Compostos químicos de indol com a actividade antidiabética.
Resumo: 具有芳氧基鏈烷酸取代基或芳基鏈烷酸取代基的吲哚化合物是PPARγ的激動劑或部分激動劑,並且可用於治療和控制是2型糖尿病的症狀的高血糖以及經 常與2型糖尿病有關的異常脂肪血症、高脂血症、高膽固醇血症、高甘油三酯血症和肥胖。
Data de pedido nacional: 2003/08/27
Número de patente nacional: 03820691.9
Data de publicação nacional: 2005/10/05
Data de anúncio nacional: 2009/02/04
Número de anúncio nacional: CN 100457730C
Classificação: C07D209/12, A61K31/404, A61P3/10, C07D401/04, C07D209/36, C07D413/04, C07D209/30, C07D401/06, C07D405/06, C07D403/12, C07D209/10
| Inventor: | J.J.阿克頓三世 |
| S.D.德本哈姆 | |
| 劉堃 | |
| P.T.梅因克 | |
| H.B.伍德 | |
| R.M.布拉克 |
Data de prioridade: 2002/08/29
País/Território de prioridade: Estados Unidos da América
Número de prioridade: 60/406,741
Data de prioridade: 2003/01/17
País/Território de prioridade: Estados Unidos da América
Número de prioridade: 60/440,672
N.º: J/000320
Data de pedido de extensão: 2009/03/20
Data de despacho de extensão: 2009/05/26
Requerente: 陳紅亮
Nacionalidade: chinesa
Domicílio/Sede: 中國浙江省義烏市赤岸鎮上八石村
Título: Composição medicinal sinérgica que contem álcool dicíclico.
Resumo: 公開了含有雙環醇和中藥提取物的協同藥用組合物,以及該組合物在製備輔助治療肝炎的藥物中的應用。
Data de pedido nacional: 2006/07/06
Número de patente nacional: 200610090961.1
Data de publicação nacional: 2007/01/24
Data de anúncio nacional: 2008/12/24
Número de anúncio nacional: CN 100444865C
Classificação: A61K36/815, A61K36/73, A61K36/57, A61K36/06, A61K35/56, A61K33/06, A61K31/36, A61P1/16, A61P31/20
| Inventor: | 胡建瑜 |
| 孫偉 |
N.º: J/000326
Data de pedido de extensão: 2009/04/17
Data de despacho de extensão: 2009/05/26
Requerente: Koretide Corp.
Nacionalidade: chinesa
Domicílio/Sede: 中國上海市浦東新區郭守敬路498號浦東軟件園17號樓2層
Título: Método para processamento de informação errada com componente de «software».
Resumo: 本發明公開了一種軟件構件處理錯誤信息的方法,包括以下步驟:構件方法調用時,若構件平臺中預先定義的通用錯誤號能滿足實際需要,則返回一個通用錯 誤號;否則,返回一個特殊錯誤號並通過跨進程或跨機器調用過程,傳遞字符串或URL類型的錯誤信息;傳遞錯誤信息時,首先判斷該構件方法調用結果,若該結果不屬於特殊錯誤 號中的一個,則收集調用結果並將其打包;否則,從服務端的用戶棧頂取出錯誤信息,將其添加在該調用結果後面並打包;將打包後的結果傳遞給客戶端的代理,代理拿到結果後,如 果經判斷該結果不屬於特殊錯誤號中的一個,則進行解包;否則,在執行解包操作的同時將錯誤信息添加到客戶端的用戶棧頂。解決了由自定義錯誤號引起的問題。
Data de pedido nacional: 2006/05/30
Número de patente nacional: 200610027060.8
Data de publicação nacional: 2007/12/05
Data de anúncio nacional: 2009/01/21
Número de anúncio nacional: CN 100454272C
Classificação: G06F11/36
| Inventor: | 陳榕 |
| 王晨輝 | |
| 沈金 |
Figura

N.º: J/000327
Data de pedido de extensão: 2009/04/17
Data de despacho de extensão: 2009/05/26
Requerente: Koretide Corp.
Nacionalidade: chinesa
Domicílio/Sede: 中國上海市浦東新區郭守敬路498號浦東軟件園17號樓2層
Título: Método de operação automática para teste de interface no sistema de operação do tipo incorporado.
Resumo: 本發明涉及一種嵌入式操作系統中接口測試的自動化運行方法,包括開發機定期生成測試對象、測試執行腳本和測試用例信息、將測試對象傳輸到目標機、目 標機啟動系統並下載測試執行腳本、循環下載測試用例信息運行並產生測試輸出信息、向開發機傳送該測試輸出信息和測試結束信息、開發機將標準輸出信息與測試輸出信息進行比較 後得到測試運行結果。採用該種嵌入式操作系統中接口測試的自動化運行方法,無需人工干預,節約了人力資源,有效縮短了回歸測試的週期,保證嵌入式系統開發快速平穩的推進, 性能穩定可靠,而且對於應用接口的測試也同樣適用,能夠為應用開發帶來益處,適用範圍較為廣泛,為嵌入式系統及其上層軟件的進一步發展奠定了堅實的基礎。
Data de pedido nacional: 2006/09/29
Número de patente nacional: 200610116867.9
Data de publicação nacional: 2007/03/21
Data de anúncio nacional: 2009/02/04
Número de anúncio nacional: CN 100458729C
Classificação: G06F11/36
| Inventor: | 雷光亮 |
| 付強 |
Figura

N.º: J/000328
Data de pedido de extensão: 2009/04/17
Data de despacho de extensão: 2009/05/26
Requerente: OTSUKA PHARMACEUTICAL FACTORY, INC.
Nacionalidade: japonesa
Domicílio/Sede: 115, Aza Kuguhara, Tateiwa, Muyacho, Naruto-Shi, Tokushima 772-8601, Japan
Título: Preparação de combinação asséptica.
Resumo: 本發明提供在使用時混合的無菌組合製劑,其特徵在於相同的藥物組分被分開並保存在兩個或多個室中。本發明的無菌組合製劑在用時混合並且用作輸液、各 種透析液、眼內灌注液/洗液、心臟灌注液、心肌保護液、腹腔灌洗液、臟器保存液等,消除了由醫療過失產生的對活體的不利影響。
Data de pedido nacional: 2004/06/04
Número de patente nacional: 200480015801.X
Data de publicação nacional: 2006/07/12
Data de anúncio nacional: 2009/03/25
Número de anúncio nacional: CN 100471480C
Classificação: A61J1/10
| Inventor: | SUMIYOSHI, Nobuaki |
| MITSUMOTO, Yasuhiro | |
| ARITA, Shigeaki | |
| TANI, Seiji | |
| KOBAYASHI, Masaru |
Data de prioridade: 2003/06/06
País/Território de prioridade: Japão
Número de prioridade: 163013/2003
Figura

N.º: J/000329
Data de pedido de extensão: 2009/04/22
Data de despacho de extensão: 2009/05/26
Requerente: Aruze Corp.
Nacionalidade: japonesa
Domicílio/Sede: 3-1-25, Ariake, Koto-ku, Tokyo, Japan
Título: Máquina de jogos.
Resumo: 一種遊戲機包括:一箱體;一位於該箱體前面的裝飾面板;安裝在該箱體前面的顯示窗;多個旋轉轉軸,每個旋轉轉軸具有多個位於其外周的符號;多個通過 顯示窗可視的符號;一光源單元,用於從箱體內照明裝飾面板;和一反射單元,用於引導光源單元發出的光以照亮多個符號。
Data de pedido nacional: 2004/03/19
Número de patente nacional: 200410029463.7
Data de publicação nacional: 2005/09/21
Data de anúncio nacional: 2009/02/18
Número de anúncio nacional: CN 100462120C
Classificação: A63F13/00, G07F17/34
Inventor: Okada Kazuo
Figura

N.º: J/000330
Data de pedido de extensão: 2009/04/30
Data de despacho de extensão: 2009/05/26
Requerente: BALLY GAMING, INC.
Nacionalidade: americana
Domicílio/Sede: 6601 South Bermuda Road, Las Vegas, Nevada 89119, United States of America
Título: Método e dispositivo que utilizam múltiplos símbolos legíveis por máquina nas cartas de póker.
Resumo: 一摞撲克牌被支持以顯露帶有第一機器可讀標記的部分帶有的信息和帶有第二機器可讀標記的部分帶有的信息,這樣,來自多張牌中的第一和第二機器可讀標 記的每一個可由至少一個讀牌器讀取。第二機器可讀標記可提供冗餘、或與第一機器可讀標記有關,以允許檢驗撲克牌。
Data de pedido nacional: 2003/02/05
Número de patente nacional: 03805089.7
Data de publicação nacional: 2005/07/13
Data de anúncio nacional: 2009/02/04
Número de anúncio nacional: CN 100457222C
Classificação: A63F1/06, A63F1/00
| Inventor: | 理查德.索爾蒂斯 |
| 理查德.休伊曾加 |
Data de prioridade: 2002/02/06
País/Território de prioridade: Estados Unidos da América
Número de prioridade: 60/354,683
Figura

Em conformidade com a alínea d) dos n.os 1 e 2 do artigo 10.º do RJPI, aprovado pelo Decreto-Lei n.º 97/99/M, de 13 de De-zembro, e de acordo com os artigos 275.º a 277.º do referido diploma, cabe recurso para o Tribunal Judicial de Base, dos despachos abaixo mencionados, no prazo de um mês a contar da data desta publicação.
Concessões
| Processo n.º | Data do registo |
Data do despacho |
Nome do titular | País/Território resid. |
Classe |
| N/022217 | 2009/05/25 | 2009/05/25 | Cathay Financial Holding Co., Ltd. | TW | 36 |
| N/022218 | 2009/05/25 | 2009/05/25 | Cathay Financial Holding Co., Ltd. | TW | 36 |
| N/022219 | 2009/05/25 | 2009/05/25 | Cathay Financial Holding Co., Ltd. | TW | 36 |
| N/022220 | 2009/05/25 | 2009/05/25 | Cathay Financial Holding Co., Ltd. | TW | 36 |
| N/022221 | 2009/05/25 | 2009/05/25 | Cathay Financial Holding Co., Ltd. | TW | 36 |
| N/024071 | 2009/05/25 | 2009/05/25 | Cathay Pacific Airways Limited | HK | 36 |
| N/025819 | 2009/05/25 | 2009/05/25 | Cathay Financial Holding Co., Ltd. | TW | 35 |
| N/025820 | 2009/05/25 | 2009/05/25 | Cathay Financial Holding Co., Ltd. | TW | 36 |
| N/025821 | 2009/05/25 | 2009/05/25 | Cathay Financial Holding Co., Ltd. | TW | 35 |
| N/025822 | 2009/05/25 | 2009/05/25 | Cathay Financial Holding Co., Ltd. | TW | 36 |
| N/025964 | 2009/05/25 | 2009/05/25 | Cathay Financial Holding Co., Ltd. | TW | 36 |
| N/028312 | 2009/05/25 | 2009/05/25 | ABRO INDUSTRIES, INC. | US | 01 |
| N/033932 | 2009/05/25 | 2009/05/25 | BARRY CALLEBAUT FRANCE S.A.S. | FR | 05 |
| N/033935 | 2009/05/25 | 2009/05/25 | BARRY CALLEBAUT FRANCE S.A.S. | FR | 05 |
| 1 N/035132 | 2009/05/25 | 2009/05/25 | 衍生行有限公司 | HK | 35 |
| N/036029 | 2009/05/25 | 2009/05/25 | LiFung Trinity Management (Singapore) Pte. Ltd. | SG | 26 |
| N/036030 | 2009/05/25 | 2009/05/25 | LiFung Trinity Management (Singapore) Pte. Ltd. | SG | 28 |
| N/036031 | 2009/05/25 | 2009/05/25 | LiFung Trinity Management (Singapore) Pte. Ltd. | SG | 35 |
| N/036032 | 2009/05/25 | 2009/05/25 | LiFung Trinity Management (Singapore) Pte. Ltd. | SG | 03 |
| N/036033 | 2009/05/25 | 2009/05/25 | LiFung Trinity Management (Singapore) Pte. Ltd. | SG | 09 |
| N/036034 | 2009/05/25 | 2009/05/25 | LiFung Trinity Management (Singapore) Pte. Ltd. | SG | 14 |
| N/036035 | 2009/05/25 | 2009/05/25 | LiFung Trinity Management (Singapore) Pte. Ltd. | SG | 16 |
| N/036036 | 2009/05/25 | 2009/05/25 | LiFung Trinity Management (Singapore) Pte. Ltd. | SG | 18 |
| N/036037 | 2009/05/25 | 2009/05/25 | LiFung Trinity Management (Singapore) Pte. Ltd. | SG | 24 |
| N/036038 | 2009/05/25 | 2009/05/25 | LiFung Trinity Management (Singapore) Pte. Ltd. | SG | 25 |
| N/036039 | 2009/05/25 | 2009/05/25 | LiFung Trinity Management (Singapore) Pte. Ltd. | SG | 26 |
| N/036040 | 2009/05/25 | 2009/05/25 | LiFung Trinity Management (Singapore) Pte. Ltd. | SG | 28 |
| N/036041 | 2009/05/25 | 2009/05/25 | LiFung Trinity Management (Singapore) Pte. Ltd. | SG | 35 |
| 2 N/036864 | 2009/05/25 | 2009/05/25 | 港昇(亞洲)有限公司 | HK | 36 |
| 2 N/036865 | 2009/05/25 | 2009/05/25 | 港昇(亞洲)有限公司 | HK | 36 |
| 2 N/037016 | 2009/05/25 | 2009/05/25 | 港昇(亞洲)有限公司 | HK | 37 |
| 2 N/037017 | 2009/05/25 | 2009/05/25 | 港昇(亞洲)有限公司 | HK | 37 |
| N/037832 | 2009/05/25 | 2009/05/25 | Schneider Electric S.A. | FR | 09 |
| N/038047 | 2009/05/25 | 2009/05/25 | Juicy Couture, Inc. | US | 03 |
| N/038048 | 2009/05/25 | 2009/05/25 | Juicy Couture, Inc. | US | 09 |
| N/038049 | 2009/05/25 | 2009/05/25 | Juicy Couture, Inc. | US | 14 |
| N/038050 | 2009/05/25 | 2009/05/25 | Juicy Couture, Inc. | US | 16 |
| N/038051 | 2009/05/25 | 2009/05/25 | Juicy Couture, Inc. | US | 18 |
| N/038052 | 2009/05/25 | 2009/05/25 | Juicy Couture, Inc. | US | 25 |
| N/038352 | 2009/05/25 | 2009/05/25 | Kenzo TSUJIMOTO | JP | 33 |
| N/038564 | 2009/05/25 | 2009/05/25 | 梁麗紅 LEONG LAI HONG |
MO | 30 |
| 3 N/038594 | 2009/05/25 | 2009/05/25 | Tokyo Keisu Industry Co., Ltd. | JP | 28 |
| N/038722 | 2009/05/25 | 2009/05/25 | The Coca-Cola Company | US | 32 |
| N/038859 | 2009/05/25 | 2009/05/25 | Playboy Enterprises International, Inc. | US | 28 |
| N/038860 | 2009/05/25 | 2009/05/25 | Playboy Enterprises International, Inc. | US | 28 |
| 4 N/038898 | 2009/05/25 | 2009/05/25 | J.M.H. Trademark, Inc. | US | 03 |
| 4 N/038899 | 2009/05/25 | 2009/05/25 | J.M.H. Trademark, Inc. | US | 03 |
| N/038947 | 2009/05/25 | 2009/05/25 | Playboy Enterprises International, Inc. | US | 16 |
| N/038948 | 2009/05/25 | 2009/05/25 | Playboy Enterprises International, Inc. | US | 16 |
| N/038993 | 2009/05/25 | 2009/05/25 | Traci-Pharm Pty Ltd | AU | 05 |
| 5 N/039017 | 2009/05/25 | 2009/05/25 | Angel Playing Cards Co., Ltd. | JP | 28 |
| N/039063 | 2009/05/25 | 2009/05/25 | Sunny Delight Beverages Co. | US | 30 |
| N/039064 | 2009/05/25 | 2009/05/25 | Sunny Delight Beverages Co. | US | 32 |
| N/039065 | 2009/05/25 | 2009/05/25 | Sunny Delight Beverages Co. | US | 43 |
| N/039066 | 2009/05/25 | 2009/05/25 | Sunny Delight Beverages Co. | US | 30 |
| N/039067 | 2009/05/25 | 2009/05/25 | Sunny Delight Beverages Co. | US | 32 |
| N/039068 | 2009/05/25 | 2009/05/25 | Sunny Delight Beverages Co. | US | 43 |
| N/039069 | 2009/05/25 | 2009/05/25 | Sunny Delight Beverages Co. | US | 30 |
| N/039070 | 2009/05/25 | 2009/05/25 | Sunny Delight Beverages Co. | US | 32 |
| N/039071 | 2009/05/25 | 2009/05/25 | Sunny Delight Beverages Co. | US | 43 |
| N/039227 | 2009/05/25 | 2009/05/25 | TONINO LAMBORGHINI S.R.L. | IT | 18 |
| N/039228 | 2009/05/25 | 2009/05/25 | TONINO LAMBORGHINI S.R.L. | IT | 25 |
| N/039305 | 2009/05/25 | 2009/05/25 | RSM McGladrey, Inc. | US | 09 |
| McGladrey & Pullen, LLP | US | ||||
| N/039306 | 2009/05/25 | 2009/05/25 | RSM McGladrey, Inc. | US | 35 |
| McGladrey & Pullen, LLP | US | ||||
| N/039307 | 2009/05/25 | 2009/05/25 | RSM McGladrey, Inc. | US | 36 |
| McGladrey & Pullen, LLP | US | ||||
| N/039308 | 2009/05/25 | 2009/05/25 | RSM McGladrey, Inc. | US | 42 |
| McGladrey & Pullen, LLP | US | ||||
| N/039309 | 2009/05/25 | 2009/05/25 | RSM McGladrey, Inc. | US | 45 |
| McGladrey & Pullen, LLP | US | ||||
| N/039310 | 2009/05/25 | 2009/05/25 | RSM McGladrey, Inc. | US | 09 |
| McGladrey & Pullen, LLP | US | ||||
| N/039311 | 2009/05/25 | 2009/05/25 | RSM McGladrey, Inc. | US | 35 |
| McGladrey & Pullen, LLP | US | ||||
| N/039312 | 2009/05/25 | 2009/05/25 | RSM McGladrey, Inc. | US | 36 |
| McGladrey & Pullen, LLP | US | ||||
| N/039313 | 2009/05/25 | 2009/05/25 | RSM McGladrey, Inc. | US | 42 |
| McGladrey & Pullen, LLP | US | ||||
| N/039314 | 2009/05/25 | 2009/05/25 | RSM McGladrey, Inc. | US | 45 |
| McGladrey & Pullen, LLP | US | ||||
| N/039406 | 2009/05/25 | 2009/05/25 | 珠海市魅族科技有限公司 | CN | 09 |
| N/039505 | 2009/05/25 | 2009/05/25 | Guccio Gucci S.p.A. | IT | 14 |
| N/039642 | 2009/05/25 | 2009/05/25 | Official Pillowtex LLC | US | 09 |
| N/039650 | 2009/05/25 | 2009/05/25 | Official Pillowtex LLC | US | 09 |
| N/039698 | 2009/05/25 | 2009/05/25 | Tom Lee Music Foundation Ltd. | HK | 41 |
| N/039699 | 2009/05/25 | 2009/05/25 | Tom Lee Music Foundation Ltd. | HK | 41 |
| N/039718 | 2009/05/25 | 2009/05/25 | 大藍天國際有限公司 Great Blue Sky International Company Limited |
MO | 34 |
| N/039777 | 2009/05/25 | 2009/05/25 | Melco Crown Entertainment Limited | KY | 39 |
| N/039778 | 2009/05/25 | 2009/05/25 | Melco Crown Entertainment Limited | KY | 41 |
| N/039779 | 2009/05/25 | 2009/05/25 | Melco Crown Entertainment Limited | KY | 43 |
| N/039780 | 2009/05/25 | 2009/05/25 | Melco Crown Entertainment Limited | KY | 45 |
| N/039956 | 2009/05/25 | 2009/05/25 | Destination Macau Limited | MO | 16 |
| N/039958 | 2009/05/25 | 2009/05/25 | 徐錦全 TSUI, KAM CHUEN |
HK | 05 |
| N/039959 | 2009/05/25 | 2009/05/25 | ROBERTO DE ASSIS MOREIRA & CIA LTDA | BR | 03 |
| N/039960 | 2009/05/25 | 2009/05/25 | ROBERTO DE ASSIS MOREIRA & CIA LTDA | BR | 09 |
| N/039961 | 2009/05/25 | 2009/05/25 | ROBERTO DE ASSIS MOREIRA & CIA LTDA | BR | 16 |
| N/039962 | 2009/05/25 | 2009/05/25 | ROBERTO DE ASSIS MOREIRA & CIA LTDA | BR | 25 |
| N/039963 | 2009/05/25 | 2009/05/25 | ROBERTO DE ASSIS MOREIRA & CIA LTDA | BR | 28 |
| N/039964 | 2009/05/25 | 2009/05/25 | ROBERTO DE ASSIS MOREIRA & CIA LTDA | BR | 32 |
| N/039965 | 2009/05/25 | 2009/05/25 | ROBERTO DE ASSIS MOREIRA & CIA LTDA | BR | 35 |
| N/039966 | 2009/05/25 | 2009/05/25 | ROBERTO DE ASSIS MOREIRA & CIA LTDA | BR | 41 |
| N/039968 | 2009/05/25 | 2009/05/25 | Fung Holdings Limited | VG | 36 |
| 6 N/040034 | 2009/05/25 | 2009/05/25 | 康振有限公司 | HK | 03 |
| 4 N/040118 | 2009/05/25 | 2009/05/25 | FERRARI S.p.A. | IT | 09 |
| 4 N/040119 | 2009/05/25 | 2009/05/25 | FERRARI S.p.A. | IT | 12 |
| 4 N/040120 | 2009/05/25 | 2009/05/25 | FERRARI S.p.A. | IT | 25 |
| 4 N/040121 | 2009/05/25 | 2009/05/25 | FERRARI S.p.A. | IT | 28 |
| N/040168 | 2009/05/25 | 2009/05/25 | FRISCHLI MILCHWERKE GmbH | DE | 29 |
| N/040191 | 2009/05/25 | 2009/05/25 | SC DU CHEVAL BLANC | FR | 33 |
| N/040192 | 2009/05/25 | 2009/05/25 | SC DU CHEVAL BLANC | FR | 33 |
| N/040321 | 2009/05/25 | 2009/05/25 | 中糧國際(北京)有限公司 COFCO INTERNATIONAL (BEIJING) LTD |
CN | 30 |
| N/040322 | 2009/05/25 | 2009/05/25 | 中糧國際(北京)有限公司 COFCO INTERNATIONAL (BEIJING) LTD |
CN | 30 |
| N/040360 | 2009/05/25 | 2009/05/25 | HLT International IP LLC | US | 41 |
| N/040361 | 2009/05/25 | 2009/05/25 | HLT International IP LLC | US | 43 |
| N/040362 | 2009/05/25 | 2009/05/25 | HLT International IP LLC | US | 44 |
| 7 N/040363 | 2009/05/25 | 2009/05/25 | De Beers Centenary AG | CH | 14 |
| 7 N/040364 | 2009/05/25 | 2009/05/25 | De Beers Centenary AG | CH | 35 |
| N/040365 | 2009/05/25 | 2009/05/25 | Construction Research & Technology GmbH | DE | 01 |
| N/040367 | 2009/05/25 | 2009/05/25 | 上海金錢豹宴會餐飲管理有限公司 SHANGHAI GOLDEN JAGUAR BANQUET AND CUISINE MANAGEMENT CO., LTD. |
CN | 43 |
| N/040368 | 2009/05/25 | 2009/05/25 | 廣東美味鮮調味食品有限公司 GUANGDONG MEIWEIXIAN FLAVORING FOODS CO., LTD. |
CN | 29 |
| N/040369 | 2009/05/25 | 2009/05/25 | Jumeirah International LLC | AE | 16 |
| N/040370 | 2009/05/25 | 2009/05/25 | Jumeirah International LLC | AE | 35 |
| N/040371 | 2009/05/25 | 2009/05/25 | Jumeirah International LLC | AE | 36 |
| N/040372 | 2009/05/25 | 2009/05/25 | Jumeirah International LLC | AE | 41 |
| N/040373 | 2009/05/25 | 2009/05/25 | Jumeirah International LLC | AE | 43 |
| N/040374 | 2009/05/25 | 2009/05/25 | Jumeirah International LLC | AE | 44 |
| N/040375 | 2009/05/25 | 2009/05/25 | Lanificio Ermenegildo Zegna & Figli S.p.A. | IT | 24 |
| N/040379 | 2009/05/25 | 2009/05/25 | The Coca-Cola Company | US | 30 |
| N/040380 | 2009/05/25 | 2009/05/25 | The Coca-Cola Company | US | 32 |
| N/040383 | 2009/05/25 | 2009/05/25 | EMILIO PUCCI INTERNATIONAL BV | NL | 18 |
| N/040384 | 2009/05/25 | 2009/05/25 | EMILIO PUCCI INTERNATIONAL BV | NL | 24 |
| N/040385 | 2009/05/25 | 2009/05/25 | EMILIO PUCCI INTERNATIONAL BV | NL | 25 |
| N/040386 | 2009/05/25 | 2009/05/25 | BERLUTI | FR | 18 |
| N/040387 | 2009/05/25 | 2009/05/25 | BERLUTI | FR | 24 |
| N/040388 | 2009/05/25 | 2009/05/25 | BERLUTI | FR | 25 |
| N/040389 | 2009/05/25 | 2009/05/25 | GAP (ITM) INC. | US | 18 |
| N/040390 | 2009/05/25 | 2009/05/25 | GAP (ITM) INC. | US | 25 |
| N/040391 | 2009/05/25 | 2009/05/25 | GAP (ITM) INC. | US | 35 |
| N/040392 | 2009/05/25 | 2009/05/25 | GAP (ITM) INC. | US | 18 |
| N/040393 | 2009/05/25 | 2009/05/25 | GAP (ITM) INC. | US | 25 |
| N/040394 | 2009/05/25 | 2009/05/25 | GAP (ITM) INC. | US | 35 |
| N/040395 | 2009/05/25 | 2009/05/25 | Loris Azzaro B.V. | NL | 03 |
| N/040396 | 2009/05/25 | 2009/05/25 | Loris Azzaro B.V. | NL | 18 |
| N/040398 | 2009/05/25 | 2009/05/25 | Hamm Lizenzen GmbH | DE | 25 |
| N/040399 | 2009/05/25 | 2009/05/25 | ACHILLES SPORTS PTE. LTD. | SG | 03 |
| N/040400 | 2009/05/25 | 2009/05/25 | ACHILLES SPORTS PTE. LTD. | SG | 05 |
| N/040401 | 2009/05/25 | 2009/05/25 | ACHILLES SPORTS PTE. LTD. | SG | 24 |
| N/040402 | 2009/05/25 | 2009/05/25 | 奧斯卡迪拉倫塔有限公司 Oscar de la Renta, Ltd. |
US | 09 |
| N/040403 | 2009/05/25 | 2009/05/25 | 奧斯卡迪拉倫塔有限公司 Oscar de la Renta, Ltd. |
US | 18 |
| N/040404 | 2009/05/25 | 2009/05/25 | 奧斯卡迪拉倫塔有限公司 Oscar de la Renta, Ltd. |
US | 20 |
| N/040405 | 2009/05/25 | 2009/05/25 | 奧斯卡迪拉倫塔有限公司 Oscar de la Renta, Ltd. |
US | 21 |
| N/040406 | 2009/05/25 | 2009/05/25 | 奧斯卡迪拉倫塔有限公司 Oscar de la Renta, Ltd. |
US | 24 |
| N/040407 | 2009/05/25 | 2009/05/25 | 奧斯卡迪拉倫塔有限公司 Oscar de la Renta, Ltd. |
US | 25 |
| N/040408 | 2009/05/25 | 2009/05/25 | 奧斯卡迪拉倫塔有限公司 Oscar de la Renta, Ltd. |
US | 09 |
| N/040409 | 2009/05/25 | 2009/05/25 | 奧斯卡迪拉倫塔有限公司 Oscar de la Renta, Ltd. |
US | 18 |
| N/040410 | 2009/05/25 | 2009/05/25 | 奧斯卡迪拉倫塔有限公司 Oscar de la Renta, Ltd. |
US | 20 |
| N/040411 | 2009/05/25 | 2009/05/25 | 奧斯卡迪拉倫塔有限公司 Oscar de la Renta, Ltd. |
US | 21 |
| N/040412 | 2009/05/25 | 2009/05/25 | 奧斯卡迪拉倫塔有限公司 Oscar de la Renta, Ltd. |
US | 24 |
| N/040413 | 2009/05/25 | 2009/05/25 | 奧斯卡迪拉倫塔有限公司 Oscar de la Renta, Ltd. |
US | 25 |
| N/040414 | 2009/05/25 | 2009/05/25 | 奧斯卡迪拉倫塔有限公司 Oscar de la Renta, Ltd. |
US | 09 |
| N/040415 | 2009/05/25 | 2009/05/25 | 奧斯卡迪拉倫塔有限公司 Oscar de la Renta, Ltd. |
US | 18 |
| N/040416 | 2009/05/25 | 2009/05/25 | 奧斯卡迪拉倫塔有限公司 Oscar de la Renta, Ltd. |
US | 20 |
| N/040417 | 2009/05/25 | 2009/05/25 | 奧斯卡迪拉倫塔有限公司 Oscar de la Renta, Ltd. |
US | 21 |
| N/040418 | 2009/05/25 | 2009/05/25 | 奧斯卡迪拉倫塔有限公司 Oscar de la Renta, Ltd. |
US | 24 |
| N/040419 | 2009/05/25 | 2009/05/25 | 奧斯卡迪拉倫塔有限公司 Oscar de la Renta, Ltd. |
US | 25 |
| N/040420 | 2009/05/25 | 2009/05/25 | J. & P. COATS, LIMITED | GB | 23 |
| N/040422 | 2009/05/25 | 2009/05/25 | 深圳市鴻潤達數碼科技有限公司 Shenzhen HongRunDa Digital Technology Co., Ltd. |
CN | 09 |
| N/040423 | 2009/05/25 | 2009/05/25 | 株洲千金藥業股份有限公司 ZHUZHOU QIANJIN PHARMACEUTICAL CO., LTD. |
CN | 05 |
| N/040424 | 2009/05/25 | 2009/05/25 | FURLA S.p.A. | IT | 03 |
| N/040425 | 2009/05/25 | 2009/05/25 | FURLA S.p.A. | IT | 24 |
| N/040426 | 2009/05/25 | 2009/05/25 | EMILIO PUCCI INTERNATIONAL BV | NL | 18 |
| N/040427 | 2009/05/25 | 2009/05/25 | EMILIO PUCCI INTERNATIONAL BV | NL | 25 |
| N/040428 | 2009/05/25 | 2009/05/25 | 澳門人國際管理有限公司 COMPANHIA DE GESTÃO INTERNACIONAL MACAU FRIEND, LIMITADA |
MO | 30 |
| N/040429 | 2009/05/25 | 2009/05/25 | 澳門人國際管理有限公司 COMPANHIA DE GESTÃO INTERNACIONAL MACAU FRIEND, LIMITADA |
MO | 43 |
| N/040430 | 2009/05/25 | 2009/05/25 | Atelier de Production et de Creation | FR | 25 |
| N/040431 | 2009/05/25 | 2009/05/25 | STEFANO RICCI S.p.A. | IT | 03 |
| N/040432 | 2009/05/25 | 2009/05/25 | STEFANO RICCI S.p.A. | IT | 09 |
| N/040433 | 2009/05/25 | 2009/05/25 | STEFANO RICCI S.p.A. | IT | 14 |
| N/040434 | 2009/05/25 | 2009/05/25 | STEFANO RICCI S.p.A. | IT | 18 |
| N/040435 | 2009/05/25 | 2009/05/25 | STEFANO RICCI S.p.A. | IT | 21 |
| N/040436 | 2009/05/25 | 2009/05/25 | STEFANO RICCI S.p.A. | IT | 25 |
| N/040437 | 2009/05/25 | 2009/05/25 | Kabushiki Kaisha Under Cover (Under Cover Co., Ltd.) | JP | 24 |
| N/040438 | 2009/05/25 | 2009/05/25 | Kabushiki Kaisha Under Cover (Under Cover Co., Ltd.) | JP | 25 |
| N/040439 | 2009/05/25 | 2009/05/25 | Bottega Veneta International S.A.R.L. | LU | 24 |
| N/040440 | 2009/05/25 | 2009/05/25 | KABUSHIKI KAISHA RENOWN (RENOWN INCORPORATED) | JP | 24 |
| N/040441 | 2009/05/25 | 2009/05/25 | ithk tm Ltd | VG | 03 |
| N/040442 | 2009/05/25 | 2009/05/25 | ithk tm Ltd | VG | 18 |
| N/040443 | 2009/05/25 | 2009/05/25 | ithk tm Ltd | VG | 24 |
| N/040445 | 2009/05/25 | 2009/05/25 | 博內特里塞文奧勒有限公司 BONNETERIE CEVENOLE |
FR | 18 |
| N/040446 | 2009/05/25 | 2009/05/25 | 博內特里塞文奧勒有限公司 BONNETERIE CEVENOLE |
FR | 25 |
| N/040447 | 2009/05/25 | 2009/05/25 | 博內特里塞文奧勒有限公司 BONNETERIE CEVENOLE |
FR | 18 |
| N/040448 | 2009/05/25 | 2009/05/25 | 博內特里塞文奧勒有限公司 BONNETERIE CEVENOLE |
FR | 25 |
| N/040449 | 2009/05/25 | 2009/05/25 | PUMA AG Rudolf Dassler Sport | DE | 25 |
| N/040450 | 2009/05/25 | 2009/05/25 | Wolfers International Limited | HK | 14 |
| N/040451 | 2009/05/25 | 2009/05/25 | 泛達詩(亞太)有限公司 Fantaisie (Asia Pacific) Limited |
HK | 14 |
| N/040452 | 2009/05/25 | 2009/05/25 | YKK CORPORATION | JP | 06 |
| N/040453 | 2009/05/25 | 2009/05/25 | YKK CORPORATION | JP | 19 |
| N/040454 | 2009/05/25 | 2009/05/25 | YKK CORPORATION | JP | 37 |
| N/040455 | 2009/05/25 | 2009/05/25 | YKK CORPORATION | JP | 42 |
| N/040456 | 2009/05/25 | 2009/05/25 | YKK CORPORATION | JP | 06 |
| N/040457 | 2009/05/25 | 2009/05/25 | YKK CORPORATION | JP | 19 |
| N/040458 | 2009/05/25 | 2009/05/25 | YKK CORPORATION | JP | 37 |
| N/040459 | 2009/05/25 | 2009/05/25 | YKK CORPORATION | JP | 42 |
| N/040460 | 2009/05/25 | 2009/05/25 | FMTM Distribution Ltd | IM | 14 |
| N/040461 | 2009/05/25 | 2009/05/25 | IGT | US | 09 |
| N/040462 | 2009/05/25 | 2009/05/25 | Cable and Wireless plc. | GB | 09 |
| N/040464 | 2009/05/25 | 2009/05/25 | Cable and Wireless plc. | GB | 38 |
| N/040466 | 2009/05/25 | 2009/05/25 | Senet International Limited | HK | 18 |
| N/040467 | 2009/05/25 | 2009/05/25 | Senet International Limited | HK | 25 |
| N/040468 | 2009/05/25 | 2009/05/25 | Senet International Limited | HK | 35 |
| N/040469 | 2009/05/25 | 2009/05/25 | Senet International Limited | HK | 18 |
| N/040470 | 2009/05/25 | 2009/05/25 | Senet International Limited | HK | 25 |
| N/040471 | 2009/05/25 | 2009/05/25 | Senet International Limited | HK | 35 |
| N/040472 | 2009/05/25 | 2009/05/25 | Senet International Limited | HK | 18 |
| N/040473 | 2009/05/25 | 2009/05/25 | Senet International Limited | HK | 25 |
| N/040474 | 2009/05/25 | 2009/05/25 | Senet International Limited | HK | 35 |
| N/040475 | 2009/05/25 | 2009/05/25 | Senet International Limited | HK | 18 |
| N/040476 | 2009/05/25 | 2009/05/25 | Senet International Limited | HK | 25 |
| N/040477 | 2009/05/25 | 2009/05/25 | Senet International Limited | HK | 35 |
| N/040478 | 2009/05/25 | 2009/05/25 | Dunhill Tobacco of London Limited | GB | 34 |
| N/040497 | 2009/05/25 | 2009/05/25 | Thierry Mugler Parfums S.A.S. | FR | 03 |
| N/040498 | 2009/05/25 | 2009/05/25 | STARGAMES CORPORATION PTY LTD | AU | 28 |
| N/040517 | 2009/05/25 | 2009/05/25 | 新西方旅遊用品有限公司 New West Travel Necessities Co., Ltd. |
MO | 03 |
| N/040518 | 2009/05/25 | 2009/05/25 | 新西方旅遊用品有限公司 New West Travel Necessities Co., Ltd. |
MO | 14 |
| N/040519 | 2009/05/25 | 2009/05/25 | 新西方旅遊用品有限公司 New West Travel Necessities Co., Ltd. |
MO | 18 |
| N/040520 | 2009/05/25 | 2009/05/25 | 新西方旅遊用品有限公 New West Travel Necessities Co., Ltd. |
MO | 25 |
| N/040521 | 2009/05/25 | 2009/05/25 | 新西方旅遊用品有限公司 New West Travel Necessities Co., Ltd. |
MO | 03 |
| N/040522 | 2009/05/25 | 2009/05/25 | 新西方旅遊用品有限公司 New West Travel Necessities Co., Ltd. |
MO | 14 |
| N/040523 | 2009/05/25 | 2009/05/25 | 新西方旅遊用品有限公司 New West Travel Necessities Co., Ltd. |
MO | 18 |
| N/040524 | 2009/05/25 | 2009/05/25 | 新西方旅遊用品有限公司 New West Travel Necessities Co., Ltd. |
MO | 25 |
| N/040525 | 2009/05/25 | 2009/05/25 | 新西方旅遊用品有限公司 New West Travel Necessities Co., Ltd. |
MO | 03 |
| N/040526 | 2009/05/25 | 2009/05/25 | 新西方旅遊用品有限公司 New West Travel Necessities Co., Ltd. |
MO | 14 |
| N/040527 | 2009/05/25 | 2009/05/25 | 新西方旅遊用品有限公司 New West Travel Necessities Co., Ltd. |
MO | 18 |
| N/040528 | 2009/05/25 | 2009/05/25 | 新西方旅遊用品有限公司 New West Travel Necessities Co., Ltd. |
MO | 25 |
| N/040529 | 2009/05/25 | 2009/05/25 | 新西方旅遊用品有限公司 New West Travel Necessities Co., Ltd. |
MO | 03 |
| N/040530 | 2009/05/25 | 2009/05/25 | 新西方旅遊用品有限公司 New West Travel Necessities Co., Ltd. |
MO | 14 |
| N/040531 | 2009/05/25 | 2009/05/25 | 新西方旅遊用品有限公司 New West Travel Necessities Co., Ltd. |
MO | 18 |
| N/040532 | 2009/05/25 | 2009/05/25 | 新西方旅遊用品有限公司 New West Travel Necessities Co., Ltd. |
MO | 25 |
| N/040533 | 2009/05/25 | 2009/05/25 | 浙江豪中豪健康產品有限公司 | CN | 10 |
| N/040534 | 2009/05/25 | 2009/05/25 | 上海永琪美容美髮經營管理有限公司 | CN | 44 |
| N/040535 | 2009/05/25 | 2009/05/25 | 河北三井工貿集團有限公司 | CN | 33 |
| N/040536 | 2009/05/25 | 2009/05/25 | 河北三井工貿集團有限公司 | CN | 33 |
| N/040537 | 2009/05/25 | 2009/05/25 | 北京恒信博遠科技發展有限公司 | CN | 09 |
| N/040538 | 2009/05/25 | 2009/05/25 | Temple St. Clair LLC | US | 14 |
| N/040539 | 2009/05/25 | 2009/05/25 | Colliers Macaulay Nicolls Inc. | CA | 35 |
| N/040540 | 2009/05/25 | 2009/05/25 | Colliers Macaulay Nicolls Inc. | CA | 36 |
| N/040541 | 2009/05/25 | 2009/05/25 | Colliers Macaulay Nicolls Inc. | CA | 37 |
| N/040542 | 2009/05/25 | 2009/05/25 | Colliers Macaulay Nicolls Inc. | CA | 35 |
| N/040543 | 2009/05/25 | 2009/05/25 | Colliers Macaulay Nicolls Inc. | CA | 36 |
| N/040544 | 2009/05/25 | 2009/05/25 | Colliers Macaulay Nicolls Inc. | CA | 37 |
| N/040549 | 2009/05/25 | 2009/05/25 | 盤中餐糧油食品(長沙)有限公司 Panzhongcan Cereals Oils & Foodstuffs (Changsha) Co., Ltd |
CN | 29 |
| N/040554 | 2009/05/25 | 2009/05/25 | A.S.H.S. Limited | GB | 03 |
| N/040555 | 2009/05/25 | 2009/05/25 | A.S.H.S. Limited | GB | 18 |
| N/040556 | 2009/05/25 | 2009/05/25 | A.S.H.S. Limited | GB | 25 |
| 8 N/040557 | 2009/05/25 | 2009/05/25 | A.S.H.S. Limited | GB | 03 |
| 8 N/040558 | 2009/05/25 | 2009/05/25 | A.S.H.S. Limited | GB | 18 |
| 8 N/040559 | 2009/05/25 | 2009/05/25 | A.S.H.S. Limited | GB | 25 |
| N/040560 | 2009/05/25 | 2009/05/25 | Messe Düsseldorf GmbH | DE | 16 |
| N/040561 | 2009/05/25 | 2009/05/25 | Messe Düsseldorf GmbH | DE | 35 |
| N/040562 | 2009/05/25 | 2009/05/25 | Messe Düsseldorf GmbH | DE | 41 |
| N/040563 | 2009/05/25 | 2009/05/25 | ZWILLING J.A. HENCKELS AG | DE | 08 |
| N/040564 | 2009/05/25 | 2009/05/25 | ZWILLING J.A. HENCKELS AG | DE | 21 |
| N/040565 | 2009/05/25 | 2009/05/25 | 北京紅都集團公司 Beijing Hongdu Group Corp. |
CN | 25 |
| N/040566 | 2009/05/25 | 2009/05/25 | 福羅格斯利普酒業公司 FROG’S LEAP WINERY |
US | 33 |
| 9 N/040567 | 2009/05/25 | 2009/05/25 | 多泰投資有限公司 MORETIDE INVESTMENTS LIMITED |
HK | 29 |
| 9 N/040568 | 2009/05/25 | 2009/05/25 | 多泰投資有限公司 MORETIDE INVESTMENTS LIMITED |
HK | 30 |
| N/040569 | 2009/05/25 | 2009/05/25 | 多泰投資有限公司 MORETIDE INVESTMENTS LIMITED |
HK | 32 |
| N/040570 | 2009/05/25 | 2009/05/25 | 多泰投資有限公司 MORETIDE INVESTMENTS LIMITED |
HK | 33 |
| N/040571 | 2009/05/25 | 2009/05/25 | 多泰投資有限公司 MORETIDE INVESTMENTS LIMITED |
HK | 35 |
| N/040572 | 2009/05/25 | 2009/05/25 | 多泰投資有限公司 MORETIDE INVESTMENTS LIMITED |
HK | 29 |
| N/040573 | 2009/05/25 | 2009/05/25 | 多泰投資有限公司 MORETIDE INVESTMENTS LIMITED |
HK | 30 |
| N/040574 | 2009/05/25 | 2009/05/25 | 多泰投資有限公司 MORETIDE INVESTMENTS LIMITED |
HK | 32 |
| N/040575 | 2009/05/25 | 2009/05/25 | 多泰投資有限公司 MORETIDE INVESTMENTS LIMITED |
HK | 33 |
| N/040576 | 2009/05/25 | 2009/05/25 | 多泰投資有限公司 MORETIDE INVESTMENTS LIMITED |
HK | 35 |
| N/040579 | 2009/05/25 | 2009/05/25 | WYNN RESORTS HOLDINGS, LLC | US | 35 |
| N/040580 | 2009/05/25 | 2009/05/25 | BRIONI - ROMAN STYLE S.p.A. | IT | 03 |
| N/040581 | 2009/05/25 | 2009/05/25 | 威尼斯人澳門股份有限公司 VENETIAN MACAU, S.A. / VENETIAN MACAU, LIMITED |
MO | 35 |
| N/040582 | 2009/05/25 | 2009/05/25 | 威尼斯人澳門股份有限公司 VENETIAN MACAU, S.A. / VENETIAN MACAU, LIMITED |
MO | 39 |
| N/040583 | 2009/05/25 | 2009/05/25 | 威尼斯人澳門股份有限公司 VENETIAN MACAU, S.A. / VENETIAN MACAU, LIMITED |
MO | 41 |
| N/040584 | 2009/05/25 | 2009/05/25 | 威尼斯人澳門股份有限公司 VENETIAN MACAU, S.A. / VENETIAN MACAU, LIMITED |
MO | 43 |
| N/040585 | 2009/05/25 | 2009/05/25 | 威尼斯人澳門股份有限公司 VENETIAN MACAU, S.A. / VENETIAN MACAU, LIMITED |
MO | 45 |
| N/040587 | 2009/05/25 | 2009/05/25 | 博內特里塞文奧勒有限公司 BONNETERIE CEVENOLE |
FR | 18 |
| N/040588 | 2009/05/25 | 2009/05/25 | 博內特里塞文奧勒有限公司 BONNETERIE CEVENOLE |
FR | 25 |
| N/040589 | 2009/05/25 | 2009/05/25 | 博內特里塞文奧勒有限公司 BONNETERIE CEVENOLE |
FR | 35 |
| N/040590 | 2009/05/25 | 2009/05/25 | 博內特里塞文奧勒有限公司 BONNETERIE CEVENOLE |
FR | 18 |
| N/040591 | 2009/05/25 | 2009/05/25 | 博內特里塞文奧勒有限公司 BONNETERIE CEVENOLE |
FR | 25 |
| N/040592 | 2009/05/25 | 2009/05/25 | 博內特里塞文奧勒有限公司 BONNETERIE CEVENOLE |
FR | 35 |
| N/040593 | 2009/05/25 | 2009/05/25 | 博內特里塞文奧勒有限公司 BONNETERIE CEVENOLE |
FR | 18 |
| N/040594 | 2009/05/25 | 2009/05/25 | 博內特里塞文奧勒有限公司 BONNETERIE CEVENOLE |
FR | 25 |
| N/040595 | 2009/05/25 | 2009/05/25 | 博內特里塞文奧勒有限公司 BONNETERIE CEVENOLE |
FR | 35 |
| N/040596 | 2009/05/25 | 2009/05/25 | 博內特里塞文奧勒有限公司 BONNETERIE CEVENOLE |
FR | 18 |
| N/040597 | 2009/05/25 | 2009/05/25 | 博內特里塞文奧勒有限公司 BONNETERIE CEVENOLE |
FR | 25 |
| N/040598 | 2009/05/25 | 2009/05/25 | 博內特里塞文奧勒有限公司 BONNETERIE CEVENOLE |
FR | 35 |
| N/040601 | 2009/05/25 | 2009/05/25 | 陳榮達 Chan Weng Tat |
MO | 02 |
| N/040602 | 2009/05/25 | 2009/05/25 | Crown Melbourne Limited | AU | 43 |
| N/040603 | 2009/05/25 | 2009/05/25 | Meritas Malta Holdings Limited | MT | 41 |
| N/040604 | 2009/05/25 | 2009/05/25 | Meritas Malta Holdings Limited | MT | 41 |
| N/040605 | 2009/05/25 | 2009/05/25 | ICONIX CHINA LIMITED | HK | 20 |
| N/040606 | 2009/05/25 | 2009/05/25 | ICONIX CHINA LIMITED | HK | 21 |
| N/040607 | 2009/05/25 | 2009/05/25 | ICONIX CHINA LIMITED | HK | 24 |
| N/040608 | 2009/05/25 | 2009/05/25 | ICONIX CHINA LIMITED | HK | 27 |
| N/040610 | 2009/05/25 | 2009/05/25 | Otsuka Syokuhin Kabushiki Kaisha d/b/a Otsuka Foods Co., Ltd. | JP | 30 |
| N/040614 | 2009/05/25 | 2009/05/25 | DIASORIN S.p.A. | IT | 01 |
| N/040615 | 2009/05/25 | 2009/05/25 | DIASORIN S.p.A. | IT | 05 |
| N/040616 | 2009/05/25 | 2009/05/25 | DIASORIN S.p.A. | IT | 09 |
| N/040617 | 2009/05/25 | 2009/05/25 | DIASORIN S.p.A. | IT | 10 |
| N/040618 | 2009/05/25 | 2009/05/25 | DIASORIN S.p.A. | IT | 42 |
| N/040619 | 2009/05/25 | 2009/05/25 | DIASORIN S.p.A. | IT | 01 |
| N/040620 | 2009/05/25 | 2009/05/25 | DIASORIN S.p.A. | IT | 05 |
| N/040621 | 2009/05/25 | 2009/05/25 | DIASORIN S.p.A. | IT | 09 |
| N/040622 | 2009/05/25 | 2009/05/25 | DIASORIN S.p.A. | IT | 10 |
| N/040623 | 2009/05/25 | 2009/05/25 | 中國國際金融有限公司 China International Capital Corporation Limited |
CN | 36 |
| N/040624 | 2009/05/25 | 2009/05/25 | 中國國際金融有限公司 China International Capital Corporation Limited |
CN | 36 |
| N/040625 | 2009/05/25 | 2009/05/25 | Aristocrat Technologies Australia Pty Ltd | AU | 09 |
| N/040626 | 2009/05/25 | 2009/05/25 | Aristocrat Technologies Australia Pty Ltd | AU | 28 |
| N/040627 | 2009/05/25 | 2009/05/25 | Watson Enterprises Limited | VG | 35 |
| N/040628 | 2009/05/25 | 2009/05/25 | Watson Enterprises Limited | VG | 36 |
| N/040629 | 2009/05/25 | 2009/05/25 | Watson Enterprises Limited | VG | 35 |
| N/040630 | 2009/05/25 | 2009/05/25 | Watson Enterprises Limited | VG | 36 |
| N/040631 | 2009/05/25 | 2009/05/25 | Watson Enterprises Limited | VG | 35 |
| N/040632 | 2009/05/25 | 2009/05/25 | Watson Enterprises Limited | VG | 36 |
| N/040633 | 2009/05/25 | 2009/05/25 | China Quanjude (Group) Co., Ltd. | CN | 29 |
| N/040634 | 2009/05/25 | 2009/05/25 | China Quanjude (Group) Co., Ltd. | CN | 30 |
| N/040635 | 2009/05/25 | 2009/05/25 | China Quanjude (Group) Co., Ltd. | CN | 43 |
| N/040636 | 2009/05/25 | 2009/05/25 | Pelco, Inc. | US | 09 |
| N/040637 | 2009/05/25 | 2009/05/25 | Duraine S.A. | CH | 14 |
| N/040639 | 2009/05/25 | 2009/05/25 | C.W.F. Children Worldwide Fashion | FR | 25 |
| N/040640 | 2009/05/25 | 2009/05/25 | C.W.F. Children Worldwide Fashion | FR | 35 |
| 10 N/040641 | 2009/05/25 | 2009/05/25 | IDI Farmaceutici S.r.l. | IT | 03 |
| 10 N/040642 | 2009/05/25 | 2009/05/25 | IDI Farmaceutici S.r.l. | IT | 05 |
| N/040643 | 2009/05/25 | 2009/05/25 | JOHNSON & JOHNSON, uma sociedade organizada e existindo segundo as leis do Estado de Nova Jérsia | US | 05 |
| N/040644 | 2009/05/25 | 2009/05/25 | NEC CORPORATION | JP | 09 |
| N/040645 | 2009/05/25 | 2009/05/25 | CHOPARD INTERNATIONAL S.A. | CH | 14 |
| N/040646 | 2009/05/25 | 2009/05/25 | Lotte Co., Ltd. | JP | 30 |
| N/040654 | 2009/05/25 | 2009/05/25 | PIERRE BALMAIN S.A. | FR | 14 |
| N/040655 | 2009/05/25 | 2009/05/25 | PIERRE BALMAIN S.A. | FR | 18 |
| N/040656 | 2009/05/25 | 2009/05/25 | 衍生行有限公司 | HK | 05 |
| N/040657 | 2009/05/25 | 2009/05/25 | 衍生行有限公司 | HK | 30 |
| N/040658 | 2009/05/25 | 2009/05/25 | 衍生行有限公司 | HK | 05 |
| N/040659 | 2009/05/25 | 2009/05/25 | 衍生行有限公司 | HK | 30 |
| N/040660 | 2009/05/25 | 2009/05/25 | Shanghai Hutchison Whitecat Company Limited | CN | 03 |
| N/040661 | 2009/05/25 | 2009/05/25 | Shanghai Hutchison Whitecat Company Limited | CN | 05 |
| N/040662 | 2009/05/25 | 2009/05/25 | Shanghai Hutchison Whitecat Company Limited | CN | 03 |
| N/040663 | 2009/05/25 | 2009/05/25 | Shanghai Hutchison Whitecat Company Limited | CN | 05 |
| N/040664 | 2009/05/25 | 2009/05/25 | Shanghai Hutchison Whitecat Company Limited | CN | 03 |
| N/040665 | 2009/05/25 | 2009/05/25 | Shanghai Hutchison Whitecat Company Limited | CN | 05 |
| N/040666 | 2009/05/25 | 2009/05/25 | YELL! HOLDING ITALIA S.p.A. | IT | 03 |
| N/040667 | 2009/05/25 | 2009/05/25 | YELL! HOLDING ITALIA S.p.A. | IT | 09 |
| N/040668 | 2009/05/25 | 2009/05/25 | YELL! HOLDING ITALIA S.p.A. | IT | 14 |
| N/040669 | 2009/05/25 | 2009/05/25 | YELL! HOLDING ITALIA S.p.A. | IT | 16 |
| N/040670 | 2009/05/25 | 2009/05/25 | YELL! HOLDING ITALIA S.p.A. | IT | 18 |
| N/040671 | 2009/05/25 | 2009/05/25 | YELL! HOLDING ITALIA S.p.A. | IT | 20 |
| N/040672 | 2009/05/25 | 2009/05/25 | YELL! HOLDING ITALIA S.p.A. | IT | 25 |
| N/040673 | 2009/05/25 | 2009/05/25 | YELL! HOLDING ITALIA S.p.A. | IT | 28 |
| N/040674 | 2009/05/25 | 2009/05/25 | TSUNEISHI HOLDINGS CORPORATION | JP | 12 |
| N/040675 | 2009/05/25 | 2009/05/25 | TSUNEISHI HOLDINGS CORPORATION | JP | 37 |
| N/040676 | 2009/05/25 | 2009/05/25 | BAROQUE JAPAN LIMITED | JP | 25 |
| N/040678 | 2009/05/25 | 2009/05/25 | Edwin Co., Ltd. | JP | 35 |
| N/040679 | 2009/05/25 | 2009/05/25 | 什麼狗百貨有限公司 WhatDog Department Store Inc. |
TW | 03 |
| 11 N/040680 | 2009/05/25 | 2009/05/25 | MGM Grand Paradise S.A. | MO | 33 |
| N/040681 | 2009/05/25 | 2009/05/25 | 王海棠 Wong Hoi Tong |
MO | 34 |
| N/040684 | 2009/05/25 | 2009/05/25 | Manufacture Roger Dubuis S.A. | CH | 14 |
| N/040685 | 2009/05/25 | 2009/05/25 | Manufacture Roger Dubuis S.A. | CH | 14 |
| N/040711 | 2009/05/25 | 2009/05/25 | SOFTLIMITS, S.A. | PT | 09 |
| N/040712 | 2009/05/25 | 2009/05/25 | SOFTLIMITS, S.A. | PT | 09 |
| N/040713 | 2009/05/25 | 2009/05/25 | SOFTLIMITS, S.A. | PT | 09 |
| N/040714 | 2009/05/25 | 2009/05/25 | SOFTLIMITS, S.A. | PT | 09 |
| N/040715 | 2009/05/25 | 2009/05/25 | Mülhens GmbH & Co. KG | DE | 03 |
| N/040716 | 2009/05/25 | 2009/05/25 | 泰豪集團有限公司 | CN | 07 |
| N/040717 | 2009/05/25 | 2009/05/25 | Crown Melbourne Limited | AU | 43 |
| N/040718 | 2009/05/25 | 2009/05/25 | CHAMPAGNE MOËT & CHAMDON | FR | 33 |
| 12 N/040719 | 2009/05/25 | 2009/05/25 | 梁富源 Leong Fu Iun |
MO | 43 |
| N/040720 | 2009/05/25 | 2009/05/25 | ERMANNO DAELLI | IT | 18 |
| N/040721 | 2009/05/25 | 2009/05/25 | ERMANNO DAELLI | IT | 25 |
| N/040722 | 2009/05/25 | 2009/05/25 | 瑞士商.歐思藍股份有限公司 AUCERA S.A. |
CH | 20 |
| N/040723 | 2009/05/25 | 2009/05/25 | 瑞士商.歐思藍股份有限公司 AUCERA S.A. |
CH | 20 |
| N/040724 | 2009/05/25 | 2009/05/25 | 寶星(1)有限公司 | HK | 14 |
| N/040725 | 2009/05/25 | 2009/05/25 | 寶星(1)有限公司 | HK | 16 |
| N/040726 | 2009/05/25 | 2009/05/25 | Shipley & Halmos, LLC | US | 25 |
| N/040732 | 2009/05/25 | 2009/05/25 | Rimowa GmbH | DE | 09 |
| N/040733 | 2009/05/25 | 2009/05/25 | Rimowa GmbH | DE | 18 |
| N/040734 | 2009/05/25 | 2009/05/25 | 王冰 | CN | 25 |
| N/040735 | 2009/05/25 | 2009/05/25 | 北京國美電器有限公司 BEIJING GOME APPLIANCE CO., LTD. |
CN | 35 |
| N/040736 | 2009/05/25 | 2009/05/25 | 北京國美電器有限公司 BEIJING GOME APPLIANCE CO., LTD. |
CN | 37 |
| N/040745 | 2009/05/25 | 2009/05/25 | Davidoff & Cie S.A. | CH | 34 |
| N/040746 | 2009/05/25 | 2009/05/25 | Let’s Talk Entertainment Agency Pty Ltd | AU | 09 |
| N/040747 | 2009/05/25 | 2009/05/25 | Let’s Talk Entertainment Agency Pty Ltd | AU | 16 |
| N/040748 | 2009/05/25 | 2009/05/25 | Let’s Talk Entertainment Agency Pty Ltd | AU | 41 |
| N/040749 | 2009/05/25 | 2009/05/25 | The Coca-Cola Company | US | 32 |
| N/040750 | 2009/05/25 | 2009/05/25 | The Coca-Cola Company | US | 32 |
| N/040751 | 2009/05/25 | 2009/05/25 | The Coca-Cola Company | US | 41 |
| N/040752 | 2009/05/25 | 2009/05/25 | The Coca-Cola Company | US | 32 |
| N/040753 | 2009/05/25 | 2009/05/25 | The Coca-Cola Company | US | 41 |
| N/040754 | 2009/05/25 | 2009/05/25 | The Coca-Cola Company | US | 32 |
| N/040755 | 2009/05/25 | 2009/05/25 | The Coca-Cola Company | US | 41 |
| N/040756 | 2009/05/25 | 2009/05/25 | The Coca-Cola Company | US | 32 |
| N/040757 | 2009/05/25 | 2009/05/25 | The Coca-Cola Company | US | 41 |
| N/040758 | 2009/05/25 | 2009/05/25 | The Coca-Cola Company | US | 32 |
| N/040759 | 2009/05/25 | 2009/05/25 | The Coca-Cola Company | US | 41 |
| N/040760 | 2009/05/25 | 2009/05/25 | The Coca-Cola Company | US | 32 |
| N/040761 | 2009/05/25 | 2009/05/25 | The Coca-Cola Company | US | 41 |
| N/040762 | 2009/05/25 | 2009/05/25 | The Coca-Cola Company | US | 32 |
| N/040763 | 2009/05/25 | 2009/05/25 | The Coca-Cola Company | US | 41 |
| N/040764 | 2009/05/25 | 2009/05/25 | The Coca-Cola Company | US | 32 |
| N/040765 | 2009/05/25 | 2009/05/25 | The Coca-Cola Company | US | 41 |
| N/040766 | 2009/05/25 | 2009/05/25 | The Coca-Cola Company | US | 32 |
| N/040767 | 2009/05/25 | 2009/05/25 | The Coca-Cola Company | US | 41 |
| N/040768 | 2009/05/25 | 2009/05/25 | The Coca-Cola Company | US | 32 |
| N/040769 | 2009/05/25 | 2009/05/25 | The Coca-Cola Company | US | 41 |
| N/040770 | 2009/05/25 | 2009/05/25 | 立意有限公司 | MO | 01 |
| N/040771 | 2009/05/25 | 2009/05/25 | 北京南新倉商貿有限公司 Beijing Nanxincang Trading Co., Ltd. |
CN | 43 |
| N/040772 | 2009/05/25 | 2009/05/25 | Sugar Foods Corporation | US | 30 |
| N/040773 | 2009/05/25 | 2009/05/25 | Sugar Foods Corporation | US | 30 |
| N/040774 | 2009/05/25 | 2009/05/25 | CINQ HUITIEMES | FR | 18 |
| N/040775 | 2009/05/25 | 2009/05/25 | CINQ HUITIEMES | FR | 25 |
| N/040776 | 2009/05/25 | 2009/05/25 | ExxonMobil Oil Corporation | US | 04 |
| N/040777 | 2009/05/25 | 2009/05/25 | 活力水源出品有限公司 | MO | 30 |
| N/040778 | 2009/05/25 | 2009/05/25 | 活力水源出品有限公司 | MO | 32 |
| N/040779 | 2009/05/25 | 2009/05/25 | Wakabayashi Co., Ltd. | JP | 25 |
| N/040780 | 2009/05/25 | 2009/05/25 | 新西方旅遊用品有限公司 NEW WEST TRAVEL NECESSITIES CO., LTD. |
MO | 04 |
| N/040781 | 2009/05/25 | 2009/05/25 | 新西方旅遊用品有限公司 NEW WEST TRAVEL NECESSITIES CO., LTD. |
MO | 04 |
| N/040782 | 2009/05/25 | 2009/05/25 | 新西方旅遊用品有限公司 NEW WEST TRAVEL NECESSITIES CO., LTD. |
MO | 04 |
| N/040783 | 2009/05/25 | 2009/05/25 | 新西方旅遊用品有限公司 NEW WEST TRAVEL NECESSITIES CO., LTD. |
MO | 04 |
| N/040784 | 2009/05/25 | 2009/05/25 | 旅行者便利店連鎖有限公司 TRAVELLERS CONVENIENCE CHAIN STORES COMPANY LIMITED |
HK | 03 |
| N/040785 | 2009/05/25 | 2009/05/25 | 旅行者便利店連鎖有限公司 TRAVELLERS CONVENIENCE CHAIN STORES COMPANY LIMITED |
HK | 04 |
| N/040786 | 2009/05/25 | 2009/05/25 | 旅行者便利店連鎖有限公司 TRAVELLERS CONVENIENCE CHAIN STORES COMPANY LIMITED |
HK | 08 |
| N/040787 | 2009/05/25 | 2009/05/25 | 旅行者便利店連鎖有限公司 TRAVELLERS CONVENIENCE CHAIN STORES COMPANY LIMITED |
HK | 14 |
| N/040788 | 2009/05/25 | 2009/05/25 | 旅行者便利店連鎖有限公司 TRAVELLERS CONVENIENCE CHAIN STORES COMPANY LIMITED |
HK | 16 |
| N/040789 | 2009/05/25 | 2009/05/25 | 旅行者便利店連鎖有限公司 TRAVELLERS CONVENIENCE CHAIN STORES COMPANY LIMITED |
HK | 18 |
| N/040790 | 2009/05/25 | 2009/05/25 | 旅行者便利店連鎖有限公司 TRAVELLERS CONVENIENCE CHAIN STORES COMPANY LIMITED |
HK | 21 |
| N/040791 | 2009/05/25 | 2009/05/25 | 旅行者便利店連鎖有限公司 TRAVELLERS CONVENIENCE CHAIN STORES COMPANY LIMITED |
HK | 24 |
| N/040792 | 2009/05/25 | 2009/05/25 | 旅行者便利店連鎖有限公司 TRAVELLERS CONVENIENCE CHAIN STORES COMPANY LIMITED |
HK | 25 |
| N/040793 | 2009/05/25 | 2009/05/25 | 旅行者便利店連鎖有限公司 TRAVELLERS CONVENIENCE CHAIN STORES COMPANY LIMITED |
HK | 30 |
| N/040794 | 2009/05/25 | 2009/05/25 | 旅行者便利店連鎖有限公司 TRAVELLERS CONVENIENCE CHAIN STORES COMPANY LIMITED |
HK | 32 |
| N/040795 | 2009/05/25 | 2009/05/25 | 旅行者便利店連鎖有限公司 TRAVELLERS CONVENIENCE CHAIN STORES COMPANY LIMITED |
HK | 35 |
| 13 N/040796 | 2009/05/25 | 2009/05/25 | 深圳市南洋金象實業發展有限公司 | CN | 14 |
| N/040797 | 2009/05/25 | 2009/05/25 | DD IP Holder LLC | US | 30 |
| N/040798 | 2009/05/25 | 2009/05/25 | 廣州市福田實業有限公司 | CN | 29 |
| N/040799 | 2009/05/25 | 2009/05/25 | 廣州市福田實業有限公司 | CN | 30 |
| N/040800 | 2009/05/25 | 2009/05/25 | 廣州市福田實業有限公司 | CN | 31 |
| N/040801 | 2009/05/25 | 2009/05/25 | 廣州市福田實業有限公司 | CN | 32 |
| N/040802 | 2009/05/25 | 2009/05/25 | 廣州市福田實業有限公司 | CN | 35 |
| N/040803 | 2009/05/25 | 2009/05/25 | 廣州市福田實業有限公司 | CN | 39 |
| N/040804 | 2009/05/25 | 2009/05/25 | 廣州市福田實業有限公司 | CN | 43 |
| N/040805 | 2009/05/25 | 2009/05/25 | 曾麗錦 | CN | 14 |
| N/040806 | 2009/05/25 | 2009/05/25 | ECCO SKO A/S | DK | 25 |
| N/040807 | 2009/05/25 | 2009/05/25 | Mitsubishi Denki Kabushiki Kaisha (Mitsubishi Electric Corporation) | JP | 09 |
| N/040808 | 2009/05/25 | 2009/05/25 | Mitsubishi Denki Kabushiki Kaisha (Mitsubishi Electric Corporation) | JP | 11 |
| N/040809 | 2009/05/25 | 2009/05/25 | Mitsubishi Denki Kabushiki Kaisha (Mitsubishi Electric Corporation) | JP | 09 |
| N/040810 | 2009/05/25 | 2009/05/25 | Mitsubishi Denki Kabushiki Kaisha (Mitsubishi Electric Corporation) | JP | 11 |
| N/040811 | 2009/05/25 | 2009/05/25 | Mitsubishi Denki Kabushiki Kaisha (Mitsubishi Electric Corporation) | JP | 09 |
| N/040812 | 2009/05/25 | 2009/05/25 | Mitsubishi Denki Kabushiki Kaisha (Mitsubishi Electric Corporation) | JP | 11 |
| N/040813 | 2009/05/25 | 2009/05/25 | 洪秀宏 HUNG, Hsiu Hung |
TW | 43 |
| N/040814 | 2009/05/25 | 2009/05/25 | J.TUNE創意株式會社 J.TUNE CREATIVE INC. |
KR | 09 |
| N/040815 | 2009/05/25 | 2009/05/25 | J.TUNE創意株式會社 J.TUNE CREATIVE INC. |
KR | 14 |
| N/040816 | 2009/05/25 | 2009/05/25 | J.TUNE創意株式會社 J.TUNE CREATIVE INC. |
KR | 18 |
| N/040817 | 2009/05/25 | 2009/05/25 | J.TUNE創意株式會社 J.TUNE CREATIVE INC. |
KR | 25 |
| N/040819 | 2009/05/25 | 2009/05/25 | 博內特里塞文奧勒有限公司 BONNETERIE CEVENOLE |
FR | 18 |
| N/040820 | 2009/05/25 | 2009/05/25 | 博內特里塞文奧勒有限公司 BONNETERIE CEVENOLE |
FR | 25 |
| N/040821 | 2009/05/25 | 2009/05/25 | 博內特里塞文奧勒有限公司 BONNETERIE CEVENOLE |
FR | 18 |
| N/040822 | 2009/05/25 | 2009/05/25 | 博內特里塞文奧勒有限公司 BONNETERIE CEVENOLE |
FR | 25 |
| N/040823 | 2009/05/25 | 2009/05/25 | 博內特里塞文奧勒有限公司 BONNETERIE CEVENOLE |
FR | 18 |
| N/040824 | 2009/05/25 | 2009/05/25 | 博內特里塞文奧勒有限公司 BONNETERIE CEVENOLE |
FR | 25 |
| N/040825 | 2009/05/25 | 2009/05/25 | 博內特里塞文奧勒有限公司 BONNETERIE CEVENOLE |
FR | 18 |
| N/040826 | 2009/05/25 | 2009/05/25 | 博內特里塞文奧勒有限公司 BONNETERIE CEVENOLE |
FR | 25 |
| N/040827 | 2009/05/25 | 2009/05/25 | 博內特里塞文奧勒有限公司 BONNETERIE CEVENOLE |
FR | 18 |
| N/040828 | 2009/05/25 | 2009/05/25 | 博內特里塞文奧勒有限公司 BONNETERIE CEVENOLE |
FR | 25 |
| N/040829 | 2009/05/25 | 2009/05/25 | 博內特里塞文奧勒有限公司 BONNETERIE CEVENOLE |
FR | 18 |
| N/040830 | 2009/05/25 | 2009/05/25 | 博內特里塞文奧勒有限公司 BONNETERIE CEVENOLE |
FR | 25 |
| N/040831 | 2009/05/25 | 2009/05/25 | 博內特里塞文奧勒有限公司 BONNETERIE CEVENOLE |
FR | 18 |
| N/040832 | 2009/05/25 | 2009/05/25 | 博內特里塞文奧勒有限公司 BONNETERIE CEVENOLE |
FR | 25 |
| N/040833 | 2009/05/25 | 2009/05/25 | 博內特里塞文奧勒有限公司 BONNETERIE CEVENOLE |
FR | 18 |
| N/040834 | 2009/05/25 | 2009/05/25 | 博內特里塞文奧勒有限公司 BONNETERIE CEVENOLE |
FR | 25 |
| N/040835 | 2009/05/25 | 2009/05/25 | 博內特里塞文奧勒有限公司 BONNETERIE CEVENOLE |
FR | 18 |
| N/040836 | 2009/05/25 | 2009/05/25 | 博內特里塞文奧勒有限公司 BONNETERIE CEVENOLE |
FR | 25 |
| N/040837 | 2009/05/25 | 2009/05/25 | 博內特里塞文奧勒有限公司 BONNETERIE CEVENOLE |
FR | 18 |
| N/040838 | 2009/05/25 | 2009/05/25 | 博內特里塞文奧勒有限公司 BONNETERIE CEVENOLE |
FR | 25 |
| N/040839 | 2009/05/25 | 2009/05/25 | Avon Products, Inc. | US | 05 |
| N/040840 | 2009/05/25 | 2009/05/25 | Avon Products, Inc. | US | 29 |
| N/040841 | 2009/05/25 | 2009/05/25 | Avon Products, Inc. | US | 30 |
| N/040842 | 2009/05/25 | 2009/05/25 | Avon Products, Inc. | US | 05 |
| N/040843 | 2009/05/25 | 2009/05/25 | Avon Products, Inc. | US | 29 |
| N/040844 | 2009/05/25 | 2009/05/25 | Avon Products, Inc. | US | 30 |
| N/040845 | 2009/05/25 | 2009/05/25 | Burling Limited | VG | 25 |
| N/040846 | 2009/05/25 | 2009/05/25 | Burling Limited | VG | 25 |
| N/040847 | 2009/05/25 | 2009/05/25 | 凱聯環球有限公司 Unison Worldwide Limited |
HK | 25 |
| N/040848 | 2009/05/25 | 2009/05/25 | HARD ROCK HOLDINGS LIMITED | GB | 35 |
| N/040850 | 2009/05/25 | 2009/05/25 | ASAHI BREWERIES, LTD. | JP | 29 |
| N/040851 | 2009/05/25 | 2009/05/25 | ASAHI BREWERIES, LTD. | JP | 30 |
| N/040852 | 2009/05/25 | 2009/05/25 | ASAHI BREWERIES, LTD. | JP | 32 |
| N/040853 | 2009/05/25 | 2009/05/25 | ASAHI BREWERIES, LTD. | JP | 33 |
| N/040854 | 2009/05/25 | 2009/05/25 | 大葉出入口有限公司 | MO | 25 |
| N/040855 | 2009/05/25 | 2009/05/25 | Avex Group Holdings Inc. | JP | 14 |
| N/040856 | 2009/05/25 | 2009/05/25 | Avex Group Holdings Inc. | JP | 18 |
| N/040857 | 2009/05/25 | 2009/05/25 | Avex Group Holdings Inc. | JP | 24 |
| N/040858 | 2009/05/25 | 2009/05/25 | Avex Group Holdings Inc. | JP | 26 |
| N/040859 | 2009/05/25 | 2009/05/25 | Avex Group Holdings Inc. | JP | 28 |
| 11 N/040861 | 2009/05/25 | 2009/05/25 | 澳門蓮花衛視傳媒有限公司 | MO | 38 |
| 14 N/040862 | 2009/05/25 | 2009/05/25 | 澳門蓮花衛視傳媒有限公司 | MO | 38 |
| 15 N/040863 | 2009/05/25 | 2009/05/25 | 澳門蓮花衛視傳媒有限公司 | MO | 38 |
| N/040864 | 2009/05/25 | 2009/05/25 | 香港太平館餐飲有限公司 | HK | 35 |
| N/040865 | 2009/05/25 | 2009/05/25 | 香港太平館餐飲有限公司 | HK | 35 |
| N/040866 | 2009/05/25 | 2009/05/25 | 香港太平館餐飲有限公司 | HK | 35 |
| N/040867 | 2009/05/25 | 2009/05/25 | 香港太平館餐飲有限公司 | HK | 43 |
| N/040868 | 2009/05/25 | 2009/05/25 | 香港太平館餐飲有限公司 | HK | 43 |
| N/040869 | 2009/05/25 | 2009/05/25 | 香港太平館餐飲有限公司 | HK | 43 |
| N/040870 | 2009/05/25 | 2009/05/25 | GEKKEIKAN SAKE COMPANY, LTD. | JP | 33 |
| N/040871 | 2009/05/25 | 2009/05/25 | GEKKEIKAN SAKE COMPANY, LTD. | JP | 33 |
| N/040872 | 2009/05/25 | 2009/05/25 | GEKKEIKAN SAKE COMPANY, LTD. | JP | 33 |
| N/040890 | 2009/05/25 | 2009/05/25 | Kabushiki Kaisha DONQ, d/b/a DONQ, CO., LTD. | JP | 32 |
| N/040891 | 2009/05/25 | 2009/05/25 | Kabushiki Kaisha DONQ, d/b/a DONQ, CO., LTD. | JP | 35 |
| N/040892 | 2009/05/25 | 2009/05/25 | Kabushiki Kaisha DONQ, d/b/a DONQ, CO., LTD. | JP | 43 |
| N/040893 | 2009/05/25 | 2009/05/25 | The Thai Silk Company Limited | TH | 24 |
| N/040894 | 2009/05/25 | 2009/05/25 | 徐靖雲 XU JINGYUN |
MO | 43 |
| N/040895 | 2009/05/25 | 2009/05/25 | 徐靖雲 XU JINGYUN |
MO | 14 |
| N/040896 | 2009/05/25 | 2009/05/25 | Mount Everest Mineral Water Limited | IN | 16 |
| N/040898 | 2009/05/25 | 2009/05/25 | SUMITOMO RUBBER INDUSTRIES, LTD. | JP | 12 |
| N/040899 | 2009/05/25 | 2009/05/25 | SUMITOMO RUBBER INDUSTRIES, LTD. | JP | 12 |
| N/040900 | 2009/05/25 | 2009/05/25 | Carlos Duque Simões David Silva Lopes | MO | 42 |
| N/040901 | 2009/05/25 | 2009/05/25 | MicroStrain, Inc. | US | 09 |
| N/040902 | 2009/05/25 | 2009/05/25 | STAR CRUISES (BVI) LIMITED | VG | 35 |
| N/040903 | 2009/05/25 | 2009/05/25 | STAR CRUISES (BVI) LIMITED | VG | 36 |
| N/040904 | 2009/05/25 | 2009/05/25 | STAR CRUISES (BVI) LIMITED | VG | 41 |
| N/040905 | 2009/05/25 | 2009/05/25 | STAR CRUISES (BVI) LIMITED | VG | 42 |
| N/040906 | 2009/05/25 | 2009/05/25 | STAR CRUISES (BVI) LIMITED | VG | 43 |
| N/040907 | 2009/05/25 | 2009/05/25 | STAR CRUISES (BVI) LIMITED | VG | 35 |
| N/040908 | 2009/05/25 | 2009/05/25 | STAR CRUISES (BVI) LIMITED | VG | 36 |
| N/040909 | 2009/05/25 | 2009/05/25 | STAR CRUISES (BVI) LIMITED | VG | 41 |
| N/040910 | 2009/05/25 | 2009/05/25 | STAR CRUISES (BVI) LIMITED | VG | 42 |
| N/040911 | 2009/05/25 | 2009/05/25 | STAR CRUISES (BVI) LIMITED | VG | 43 |
| N/040912 | 2009/05/25 | 2009/05/25 | STAR CRUISES (BVI) LIMITED | VG | 35 |
| N/040913 | 2009/05/25 | 2009/05/25 | STAR CRUISES (BVI) LIMITED | VG | 36 |
| N/040914 | 2009/05/25 | 2009/05/25 | STAR CRUISES (BVI) LIMITED | VG | 41 |
| N/040915 | 2009/05/25 | 2009/05/25 | STAR CRUISES (BVI) LIMITED | VG | 42 |
| N/040916 | 2009/05/25 | 2009/05/25 | STAR CRUISES (BVI) LIMITED | VG | 43 |
| N/040917 | 2009/05/25 | 2009/05/25 | STAR CRUISES (BVI) LIMITED | VG | 35 |
| N/040918 | 2009/05/25 | 2009/05/25 | STAR CRUISES (BVI) LIMITED | VG | 36 |
| N/040919 | 2009/05/25 | 2009/05/25 | STAR CRUISES (BVI) LIMITED | VG | 41 |
| N/040920 | 2009/05/25 | 2009/05/25 | STAR CRUISES (BVI) LIMITED | VG | 42 |
| N/040921 | 2009/05/25 | 2009/05/25 | STAR CRUISES (BVI) LIMITED | VG | 43 |
| N/040922 | 2009/05/25 | 2009/05/25 | STAR CRUISES (BVI) LIMITED | VG | 35 |
| N/040923 | 2009/05/25 | 2009/05/25 | STAR CRUISES (BVI) LIMITED | VG | 36 |
| N/040924 | 2009/05/25 | 2009/05/25 | STAR CRUISES (BVI) LIMITED | VG | 41 |
| N/040925 | 2009/05/25 | 2009/05/25 | STAR CRUISES (BVI) LIMITED | VG | 42 |
| N/040926 | 2009/05/25 | 2009/05/25 | STAR CRUISES (BVI) LIMITED | VG | 43 |
| N/040927 | 2009/05/25 | 2009/05/25 | STAR CRUISES (BVI) LIMITED | VG | 35 |
| N/040928 | 2009/05/25 | 2009/05/25 | STAR CRUISES (BVI) LIMITED | VG | 36 |
| N/040929 | 2009/05/25 | 2009/05/25 | STAR CRUISES (BVI) LIMITED | VG | 41 |
| N/040930 | 2009/05/25 | 2009/05/25 | STAR CRUISES (BVI) LIMITED | VG | 42 |
| N/040931 | 2009/05/25 | 2009/05/25 | STAR CRUISES (BVI) LIMITED | VG | 43 |
| N/040932 | 2009/05/25 | 2009/05/25 | STAR CRUISES (BVI) LIMITED | VG | 35 |
| N/040933 | 2009/05/25 | 2009/05/25 | STAR CRUISES (BVI) LIMITED | VG | 36 |
| N/040934 | 2009/05/25 | 2009/05/25 | STAR CRUISES (BVI) LIMITED | VG | 41 |
| N/040935 | 2009/05/25 | 2009/05/25 | STAR CRUISES (BVI) LIMITED | VG | 42 |
| N/040936 | 2009/05/25 | 2009/05/25 | STAR CRUISES (BVI) LIMITED | VG | 43 |
| N/040937 | 2009/05/25 | 2009/05/25 | STAR CRUISES (BVI) LIMITED | VG | 35 |
| N/040938 | 2009/05/25 | 2009/05/25 | STAR CRUISES (BVI) LIMITED | VG | 36 |
| N/040939 | 2009/05/25 | 2009/05/25 | STAR CRUISES (BVI) LIMITED | VG | 41 |
| N/040940 | 2009/05/25 | 2009/05/25 | STAR CRUISES (BVI) LIMITED | VG | 42 |
| N/040941 | 2009/05/25 | 2009/05/25 | STAR CRUISES (BVI) LIMITED | VG | 43 |
| N/040942 | 2009/05/25 | 2009/05/25 | Toyota Jidosha Kabushiki Kaisha (also trading as Toyota Motor Corporation) | JP | 12 |
| N/040943 | 2009/05/25 | 2009/05/25 | American-Cigarette Company (Overseas) Limited | CH | 34 |
| N/040944 | 2009/05/25 | 2009/05/25 | 劉志偉 LAO CHI WAI |
MO | 43 |
| N/040945 | 2009/05/25 | 2009/05/25 | Avex Group Holdings Inc. | JP | 09 |
| N/040946 | 2009/05/25 | 2009/05/25 | Avex Group Holdings Inc. | JP | 25 |
| N/040947 | 2009/05/25 | 2009/05/25 | Avex Group Holdings Inc. | JP | 41 |
| N/040958 | 2009/05/25 | 2009/05/25 | GENERAL RE CORPORATION | US | 36 |
| N/040959 | 2009/05/25 | 2009/05/25 | Mars, Incorporated | US | 25 |
| N/040960 | 2009/05/25 | 2009/05/25 | DD IP Holder LLC | US | 30 |
| N/040961 | 2009/05/25 | 2009/05/25 | DD IP Holder LLC | US | 32 |
| N/040962 | 2009/05/25 | 2009/05/25 | Pellini Caffè S.p.A. | IT | 30 |
| N/040963 | 2009/05/25 | 2009/05/25 | PHILIP MORRIS PRODUCTS S.A. | CH | 34 |
| N/040964 | 2009/05/25 | 2009/05/25 | MOULIN ROUGE | BE | 09 |
| N/040966 | 2009/05/25 | 2009/05/25 | MOULIN ROUGE | BE | 25 |
| N/040967 | 2009/05/25 | 2009/05/25 | JOHNSON & JOHNSON, uma sociedade organizada e existindo segundo as leis do Estado de Nova Jérsia | US | 05 |
| N/040968 | 2009/05/25 | 2009/05/25 | JOHNSON & JOHNSON, uma sociedade organizada e existindo segundo as leis do Estado de Nova Jérsia | US | 05 |
| N/040969 | 2009/05/25 | 2009/05/25 | TAKEDA PHARMACEUTICAL COMPANY LIMITED | JP | 05 |
| N/040970 | 2009/05/25 | 2009/05/25 | TAKEDA PHARMACEUTICAL COMPANY LIMITED | JP | 05 |
| N/040971 | 2009/05/25 | 2009/05/25 | 澳門貿易投資促進局 | MO | 35 |
| N/040972 | 2009/05/25 | 2009/05/25 | 澳門貿易投資促進局 | MO | 35 |
| N/040973 | 2009/05/25 | 2009/05/25 | 澳門貿易投資促進局 | MO | 35 |
| N/040974 | 2009/05/25 | 2009/05/25 | PEPSICO, INC. | US | 32 |
| N/040976 | 2009/05/25 | 2009/05/25 | KABUSHIKI KAISHA RENOWN (RENOWN INCORPORATED) | JP | 25 |
| N/040977 | 2009/05/25 | 2009/05/25 | 泰山體育產業集團有限公司 | CN | 25 |
| N/040978 | 2009/05/25 | 2009/05/25 | 泰山體育產業集團有限公司 | CN | 27 |
| N/040979 | 2009/05/25 | 2009/05/25 | 泰山體育產業集團有限公司 | CN | 28 |
| N/040980 | 2009/05/25 | 2009/05/25 | 泰山體育產業集團有限公司 | CN | 28 |
| N/040981 | 2009/05/25 | 2009/05/25 | 陸強 DAVIE LU |
CN | 35 |
| N/040982 | 2009/05/25 | 2009/05/25 | 黑龍江五大連池仙池礦泉飲品有限公司 | CN | 32 |
| N/040984 | 2009/05/25 | 2009/05/25 | VICTORIA’S SECRET STORES BRAND MANAGEMENT, INC | US | 25 |
| 16 N/040993 | 2009/05/25 | 2009/05/25 | 譚焯歡 Tam Cheok Fun |
MO | 29 |
| N/040994 | 2009/05/25 | 2009/05/25 | Glen Raven, Inc. | US | 24 |
| N/040995 | 2009/05/25 | 2009/05/25 | 佰得童裝有限公司 Companhia de Importação e Exportação La Compagnie des Petits, Limitada / La Compagnie des Petits Limited |
MO | 25 |
| N/040998 | 2009/05/25 | 2009/05/25 | 衍生行有限公司 | HK | 03 |
| N/040999 | 2009/05/25 | 2009/05/25 | 衍生行有限公司 | HK | 05 |
| N/041001 | 2009/05/25 | 2009/05/25 | Macdonald & Muir Limited | GB | 33 |
| N/041014 | 2009/05/25 | 2009/05/25 | RSM McGladrey, Inc. | US | 09 |
| McGladrey & Pullen, LLP | US | ||||
| N/041015 | 2009/05/25 | 2009/05/25 | RSM McGladrey, Inc. | US | 35 |
| McGladrey & Pullen, LLP | US | ||||
| N/041016 | 2009/05/25 | 2009/05/25 | RSM McGladrey, Inc. | US | 36 |
| McGladrey & Pullen, LLP | US | ||||
| N/041017 | 2009/05/25 | 2009/05/25 | RSM McGladrey, Inc. | US | 42 |
| McGladrey & Pullen, LLP | US | ||||
| N/041018 | 2009/05/25 | 2009/05/25 | RSM McGladrey, Inc. | US | 45 |
| McGladrey & Pullen, LLP | US | ||||
| N/041020 | 2009/05/25 | 2009/05/25 | ARJO WIGGINS FINE PAPERS LIMITED | GB | 16 |
| N/041021 | 2009/05/25 | 2009/05/25 | ARJO WIGGINS FINE PAPERS LIMITED | GB | 16 |
| N/041022 | 2009/05/25 | 2009/05/25 | ARJO WIGGINS FINE PAPERS LIMITED | GB | 16 |
| N/041023 | 2009/05/25 | 2009/05/25 | ARJO WIGGINS FINE PAPERS LIMITED | GB | 16 |
| N/041024 | 2009/05/25 | 2009/05/25 | ARJO WIGGINS FINE PAPERS LIMITED | GB | 16 |
| N/041025 | 2009/05/25 | 2009/05/25 | ARJO WIGGINS FINE PAPERS LIMITED | GB | 16 |
| N/041026 | 2009/05/25 | 2009/05/25 | VICTORIA’S SECRET STORES BRAND MANAGEMENT, INC. | US | 03 |
| N/041027 | 2009/05/25 | 2009/05/25 | VICTORIA’S SECRET STORES BRAND MANAGEMENT, INC. | US | 25 |
- 1 Não foi concedido o direito no uso exclusivo da(s) palavra(s) «香港著名品牌» e «Hong Kong SUPER BRAND».
- 2 Não foi concedido o direito no uso exclusivo da(s) palavra(s) «COTAI».
- 3 Não foi concedido o direito no uso exclusivo da(s) palavra(s) «TOKYO».
- 4 Não foi concedido o direito no uso exclusivo da(s) palavra(s) «CALIFORNIA».
- 5 Não foi concedido o direito no uso exclusivo da(s) palavra(s) «POKER».
- 6 Não foi concedido o direito no uso exclusivo da(s) palavra(s) ««ION»System».
- 7 Não foi concedido o direito no uso exclusivo da(s) palavra(s) «JEWELLER».
- 8 Não foi concedido o direito no uso exclusivo da(s) palavra(s) «LONDON».
- 9 Não foi concedido o direito no uso exclusivo da(s) palavra(s) «食品».
- 10 Não foi concedido o direito no uso exclusivo da(s) palavra(s) «ITALY».
- 11 Não foi concedido o direito no uso exclusivo da(s) palavra(s) «澳門» e «MACAU».
- 12 Não foi concedido o direito no uso exclusivo da(s) palavra(s) «香茅豬扒包» e «咖啡豬扒包».
- 13 Não foi concedido o direito no uso exclusivo da(s) palavra(s) «珠宝» e «JEWELRY».
- 14 Não foi concedido o direito no uso exclusivo da(s) palavra(s) «MACAU».
- 15 Não foi concedido o direito no uso exclusivo da(s) palavra(s) «澳門».
- 16 Não foi concedido o direito no uso exclusivo da(s) palavra(s) «魚翅» e «SHARK’S FIN».
Protecção de desenho ou modelo
Concessões
| Processo n.º | Data do registo |
Data do despacho |
Nome do titular | País/Território resid. |
| D/000291 | 2009/05/26 | 2009/05/26 | New Action Gaming, LLC | US |
| D/000292 | 2009/05/26 | 2009/05/26 | New Action Gaming, LLC | US |
| D/000293 | 2009/05/26 | 2009/05/26 | New Action Gaming, LLC | US |
| D/000348 | 2009/05/26 | 2009/05/26 | MIRAN LIPOVEC | SI |
| D/000421 | 2009/05/26 | 2009/05/26 | 智控系統(澳門)有限公司 | MO |
Protecção de marcas
Renovações
| Processo n.º | Marca n.º | Data da renovação |
Nome do titular | País/Território resid. |
| P/000844 | 754-M | 2009/05/25 | HBI Branded Apparel Enterprises, LLC | US |
| P/002577 | 2473-M | 2009/05/19 | FORTRON INDUSTRIES | US |
| P/003019 | 2914-M | 2009/05/14 | Dr. Pepper/Seven-Up, Inc. | US |
| P/003386 | 3257-M | 2009/06/01 | MERCK & CO., INC. | US |
| P/003389 | 3260-M | 2009/06/01 | MERCK & CO. INC. | US |
| P/003576 | 3447-M | 2009/05/15 | OTIS ELEVATOR COMPANY, uma sociedade organizada e existindo segundo as leis do Estado de New Jersey | US |
| P/003577 | 3448-M | 2009/05/15 | OTIS ELEVATOR COMPANY, uma sociedade organizada e existindo segundo as leis do Estado de New Jersey | US |
| P/003578 | 3449-M | 2009/05/15 | OTIS ELEVATOR COMPANY, uma sociedade organizada e existindo segundo as leis do Estado de New Jersey | US |
| P/003769 | 3640-M | 2009/05/25 | CARITA | FR |
| P/003787 | 3658-M | 2009/06/01 | MERCK & CO. INC. | US |
| P/003857 | 3728-M | 2009/05/13 | NIN JIOM MEDICINE MANUFACTORY (H.K.) LIMITED | HK |
| P/003858 | 3729-M | 2009/05/13 | NIN JIOM MEDICINE MANUFACTORY (H.K.) LIMITED | HK |
| P/003859 | 3730-M | 2009/05/13 | NIN JIOM MEDICINE MANUFACTORY (H.K.) LIMITED | HK |
| P/003916 | 3787-M | 2009/06/01 | ATLANTIC RECORDING CORPORATION | US |
| P/003936 | 3807-M | 2009/06/01 | MERCK & CO., INC. | US |
| P/003939 | 3810-M | 2009/06/01 | MERCK & CO., INC. | US |
| P/004263 | 4132-M | 2009/05/14 | CITA TABACOS DE CANARIAS, S.L. | ES |
| P/004915 | 4777-M | 2009/06/01 | MERCK & CO., INC. | US |
| P/004958 | 4820-M | 2009/06/02 | ITT INDUSTRIES, INC. | US |
| P/005420 | 5278-M | 2009/06/01 | MERCK & CO. INC. | US |
| P/006456 | 6281-M | 2009/05/27 | GOLDLION (FAR EAST) LIMITED | HK |
| P/006457 | 6282-M | 2009/05/27 | GOLDLION (FAR EAST) LIMITED | HK |
| P/006659 | 6447-M | 2009/05/26 | LU FRANCE (Sociedade por Acções Simplificada) | FR |
| P/007442 | 7212-M | 2009/05/25 | SMITHKLINE BEECHAM p.l.c. | GB |
| P/007443 | 7213-M | 2009/05/25 | SMITHKLINE BEECHAM p.l.c. | GB |
| P/007446 | 7216-M | 2009/05/26 | Duck Global Licensing AG (Duck Global Licensing S.A.) (Duck Global Licensing Ltd) | CH |
| P/007713 | 7483-M | 2009/05/25 | KNORR-NAHRMITTEL AKTIENGESELLSCHAFT | CH |
| P/007934 | 7704-M | 2009/05/26 | WYETH | US |
| P/008383 | 8093-M | 2009/05/13 | GALILEO INTERNATIONAL TECHNOLOGY, LLC | BB |
| P/008384 | 8094-M | 2009/05/13 | GALILEO INTERNATIONAL TECHNOLOGY, LLC | BB |
| P/008385 | 8095-M | 2009/05/13 | GALILEO INTERNATIONAL TECHNOLOGY, LLC | BB |
| P/009436 | 9313-M | 2009/05/13 | Eu Yan Sang International Ltd. | SG |
| P/009503 | 9380-M | 2009/05/25 | RECKITT & COLMAN (OVERSEAS) LIMITED | GB |
| P/009571 | 9488-1-M | 2009/05/14 | Maxifirm Holdings Limited | HK |
| P/009572 | 9489-M | 2009/05/14 | Maxifirm Holdings Limited | HK |
| P/010986 | 10774-M | 2009/05/25 | Multi Access Limited | VG |
| P/010987 | 10775-M | 2009/05/25 | Multi Access Limited | VG |
| P/011025 | 10818-M | 2009/05/13 | SEARS BRANDS, LLC | US |
| P/011480 | 11439-M | 2009/05/27 | HOE HIN PAK FAH YEOW MANUFACTORY LIMITED | HK |
| P/011481 | 11440-M | 2009/05/27 | HOE HIN PAK FAH YEOW MANUFACTORY LIMITED | HK |
| P/011482 | 11441-M | 2009/05/27 | HOE HIN PAK FAH YEOW MANUFACTORY LIMITED | HK |
| P/011483 | 11442-M | 2009/05/27 | HOE HIN PAK FAH YEOW MANUFACTORY LIMITED | HK |
| P/011568 | 11531-M | 2009/05/25 | DANZAS AEI INC. | US |
| P/011636 | 11128-M | 2009/05/19 | EXXONMOBIL OIL CORPORATION | US |
| P/011637 | 11129-M | 2009/05/19 | EXXONMOBIL OIL CORPORATION | US |
| P/013914 | 15508-M | 2009/05/25 | Mio Lok Tin | MO |
| P/015153 | 15501-M | 2009/05/19 | 健康元藥業集團股份有限公司 Joincare Pharmaceutical Group Industry Co., Ltd. |
CN |
| P/015154 | 15502-M | 2009/05/19 | 健康元藥業集團股份有限公司 Joincare Pharmaceutical Group Industry Co., Ltd. |
CN |
| P/015155 | 15503-M | 2009/05/19 | 健康元藥業集團股份有限公司 Joincare Pharmaceutical Group Industry Co., Ltd. |
CN |
| P/015163 | 15432-M | 2009/05/14 | UNILEVER N.V. | NL |
| P/015259 | 15513-M | 2009/06/02 | Dell Inc. | US |
| P/015260 | 15514-M | 2009/06/02 | Dell Inc. | US |
| P/015261 | 15515-M | 2009/06/02 | Dell Inc. | US |
| P/015262 | 15516-M | 2009/06/02 | Dell Inc. | US |
| P/015263 | 15517-M | 2009/06/02 | Dell Inc. | US |
| P/015483 | 15420-M | 2009/05/26 | NSE Products, Inc. | US |
| N/005796 | - | 2009/05/26 | BURBERRY LIMITED | GB |
| N/005797 | - | 2009/05/26 | BURBERRY LIMITED | GB |
| N/005798 | - | 2009/05/26 | BURBERRY LIMITED | GB |
| N/007732 | - | 2009/05/25 | Man Wui Stationery Office Supplies Co., Ltd | HK |
| N/007749 | - | 2009/05/25 | PHARMACIA & UPJOHN CORK LTD | IE |
| N/007750 | - | 2009/05/25 | PHARMACIA & UPJOHN CORK LTD | IE |
| N/007751 | - | 2009/05/25 | PHARMACIA & UPJOHN CORK LTD | IE |
| N/007829 | - | 2009/05/25 | Hyundai Motor Company | KR |
| N/008257 | - | 2009/05/26 | JOHN PLAYER & SONS LIMITED | IE |
| N/008465 | - | 2009/05/13 | Nin Jiom Medicine Manufactory (HK) Limited | HK |
| N/008466 | - | 2009/05/13 | Nin Jiom Medicine Manufactory (HK) Limited | HK |
| N/008467 | - | 2009/05/13 | Nin Jiom Medicine Manufactory (HK) Limited | HK |
| N/008537 | - | 2009/05/15 | NINE WEST DEVELOPMENT CORPORATION | US |
| N/008538 | - | 2009/05/15 | NINE WEST DEVELOPMENT CORPORATION | US |
| N/008713 | - | 2009/05/13 | Chan Chuen Fat | HK |
| N/008938 | - | 2009/05/26 | VTECH HOLDINGS LIMITED | HK |
| N/008939 | - | 2009/05/26 | VTECH HOLDINGS LIMITED | HK |
| N/009057 | - | 2009/05/19 | FÁBRICA DE TABACO YUN FU (MACAU), LIMITADA | MO |
| N/009112 | - | 2009/05/13 | Wyeth | US |
| N/009113 | - | 2009/05/13 | Wyeth | US |
| N/009114 | - | 2009/05/13 | Wyeth | US |
| N/009123 | - | 2009/05/14 | Amgen Inc. | US |
| N/009146 | - | 2009/06/02 | 通利建築置業工程有限公司 Companhia de Construção e Obras de Engenharia Tong Lei, Limitada |
MO |
| N/009147 | - | 2009/06/02 | 通利建築置業工程有限公司 Companhia de Construção e Obras de Engenharia Tong Lei, Limitada |
MO |
| N/009148 | - | 2009/06/02 | 通利建築置業工程有限公司 Companhia de Construção e Obras de Engenharia Tong Lei, Limitada |
MO |
| N/009149 | - | 2009/06/02 | 通利建築置業工程有限公司 Companhia de Construção e Obras de Engenharia Tong Lei, Limitada |
MO |
| N/009150 | - | 2009/06/02 | 通利建築置業工程有限公司 Companhia de Construção e Obras de Engenharia Tong Lei, Limitada |
MO |
| N/009181 | - | 2009/05/25 | Six Continents Hotels, Inc. | US |
| N/009182 | - | 2009/05/25 | Six Continents Hotels, Inc. | US |
| N/009183 | - | 2009/05/25 | Six Continents Hotels, Inc. | US |
| N/009184 | - | 2009/05/25 | Six Continents Hotels, Inc. | US |
| N/009189 | - | 2009/05/26 | GAP (ITM) INC. | US |
| N/009195 | - | 2009/05/14 | Luigi Lavazza S.p.A. | IT |
| N/009204 | - | 2009/05/13 | CORPORACION HABANOS, S.A. | CU |
| N/009212 | - | 2009/05/25 | COMMERZBANK Aktiengesellschaft | DE |
| N/009282 | - | 2009/05/14 | Unilever N.V. | NL |
| N/009283 | - | 2009/05/14 | Unilever N.V. | NL |
| N/009300 | - | 2009/06/02 | GREY PANTHERS LIMITED | GB |
| N/009301 | - | 2009/05/26 | KFRAFT FOODS HOLDINGS, INC. | US |
| N/009317 | - | 2009/05/19 | CHEMOFORMA AG, uma sociedade por acções suíça | CH |
| N/009326 | - | 2009/05/26 | BIOFARMA (Société Anonyme) | FR |
| N/009366 | - | 2009/06/01 | NISSAN JIDOSHA KABUSHIKI KAISHA (trading also as NISSAN MOTOR CO., LTD.), uma sociedade por acções organizada segundo as leis do Japão | JP |
| N/009425 | - | 2009/06/01 | SmithKline Beecham (Cork) Limited | IE |
| N/009429 | - | 2009/05/14 | 雷茨飯店有限公司 The Ritz Hotel, Limited, uma companhia organizada segundo as leis de Inglaterra |
GB |
| N/009438 | - | 2009/05/13 | 郭東林 GUO DONG LIN |
CN |
| N/009500 | - | 2009/05/13 | Neway Karaoke Box Limited | HK |
| N/009502 | - | 2009/05/19 | CHAN Francis Kwok Foo (um cidadão dos Estados Unidos da América) | US |
| N/009503 | - | 2009/05/13 | Yeung Koon Yat | HK |
| N/009547 | - | 2009/05/14 | Watson Enterprises Limited | VG |
| N/009548 | - | 2009/05/14 | Watson Enterprises Limited | VG |
| N/009628 | - | 2009/05/26 | Six Continents Hotels, Inc. | US |
| N/009629 | - | 2009/05/26 | Six Continents Hotels, Inc. | US |
| N/009630 | - | 2009/05/26 | Six Continents Hotels, Inc. | US |
| N/009631 | - | 2009/05/26 | Six Continents Hotels, Inc. | US |
| N/009671 | - | 2009/05/15 | 四川舍得酒業有限公司 SHEDE WINERY CO., LTD. SICHUAN, uma sociedade organizada e existindo segundo as leis da República Popular da China |
CN |
| N/009672 | - | 2009/05/15 | 四川沱牌曲酒股份有限公司 TUOPAI YEAST LIQOUR CO., LTD. SICHUAN CHINA, uma sociedade organizada e existindo segundo as leis da República Popular da China |
CN |
| N/009699 | - | 2009/05/26 | NSE Products, Inc. | US |
| N/009700 | - | 2009/05/26 | NSE Products, Inc. | US |
| N/009701 | - | 2009/05/26 | NSE Products, Inc. | US |
| N/009717 | - | 2009/05/13 | 風神輪胎股份有限公司 AEOLUS TYRE CO., LTD. |
CN |
| N/009718 | - | 2009/05/13 | 風神輪胎股份有限公司 AEOLUS TYRE CO., LTD. |
CN |
| N/009743 | - | 2009/05/14 | MAESTRO INTERNATIONAL INCORPORATED | US |
| N/009774 | - | 2009/05/26 | Optical 88 Limited | HK |
| N/009806 | - | 2009/05/27 | WRANGLER APPAREL CORP. | US |
| N/009812 | - | 2009/05/14 | Vitasoy International Holdings Limited | HK |
| N/009813 | - | 2009/05/14 | Vitasoy International Holdings Limited | HK |
| N/009824 | - | 2009/05/26 | Six Continents Hotels, Inc. | US |
| N/009825 | - | 2009/05/26 | Six Continents Hotels, Inc. | US |
| N/009826 | - | 2009/05/26 | Six Continents Hotels, Inc. | US |
| N/009827 | - | 2009/05/26 | Six Continents Hotels, Inc. | US |
| N/009832 | - | 2009/05/26 | Six Continents Hotels, Inc. | US |
| N/009833 | - | 2009/05/26 | Six Continents Hotels, Inc. | US |
| N/009841 | - | 2009/05/26 | Six Continents Hotels, Inc. | US |
| N/009842 | - | 2009/05/26 | Six Continents Hotels, Inc. | US |
| N/009843 | - | 2009/05/26 | Six Continents Hotels, Inc. | US |
| N/009844 | - | 2009/05/26 | Six Continents Hotels, Inc. | US |
| N/009900 | - | 2009/05/14 | The B.V.D. LICENSING CORPORATION, uma sociedade organizada e existindo segundo as leis do Estado de Delaware | US |
| N/009923 | - | 2009/05/14 | 廣西金嗓子有限責任公司 GUANGXI GOLDEN THROAT CO., LTD, uma sociedade organizada e existindo segundo as leis da República Popular da China |
CN |
| N/009937 | - | 2009/06/02 | 京都養生堂製藥廠有限公司 JING DU YANG SHENG TANG CHINESE HERBAL MANUFACTURING LIMITED |
HK |
| N/009938 | - | 2009/06/02 | 京都養生堂製藥廠有限公司 JING DU YANG SHENG TANG CHINESE HERBAL MANUFACTURING LIMITED |
HK |
| N/009945 | - | 2009/05/14 | 7-ELEVEN, INC., uma sociedade organizada e existindo segundo as leis do Estado do Texas | US |
| N/009946 | - | 2009/05/14 | 7-ELEVEN, INC., uma sociedade organizada e existindo segundo as leis do Estado do Texas | US |
| N/009951 | - | 2009/06/01 | SmithKline Beecham (Cork) Limited | IE |
| N/010010 | - | 2009/05/14 | Watson Enterprises Limited | VG |
| N/010011 | - | 2009/05/14 | Watson Enterprises Limited | VG |
Averbamentos
| Processo n.º | Data do despacho |
Natureza do |
Requerente/Titular |
Modificação |
| P/002577 (2473-M) |
2009/05/19 | Modificação de sede | FORTRON INDUSTRIES | 8040 Dixie Highway Florence KY 41042, Estados Unidos da América |
| P/003070 (2965-M) |
2009/05/13 | Modificação de identidade | MATSUSHITA ELECTRIC INDUSTRIAL CO. LTD. (MATSUSHITA DENKI SANGYO KABUSHIKI KAISHA) | Panasonic Corporation |
| P/003071 (2966-M) |
2009/05/13 | Modificação de identidade | MATSUSHITA ELECTRIC INDUSTRIAL CO. LTD. (MATSUSHITA DENKI SANGYO KABUSHIKI KAISHA) | Panasonic Corporation |
| P/003072 (2967-M) |
2009/05/13 | Modificação de identidade | MATSUSHITA ELECTRIC INDUSTRIAL CO. LTD. (MATSUSHITA DENKI SANGYO KABUSHIKI KAISHA) | Panasonic Corporation |
| P/003073 (2968-M) |
2009/05/13 | Modificação de identidade | MATSUSHITA ELECTRIC INDUSTRIAL CO., LTD. | Panasonic Corporation |
| P/003082 (2977-M) |
2009/05/13 | Modificação de identidade | MATSUSHITA ELECTRIC INDUSTRIAL CO., LTD. (MATSUSHITA DENKI SANGYO KABUSHIKI KAISHA) | Panasonic Corporation |
| P/003083) (2978-M) |
2009/05/13 | Modificação de identidade | MATSUSHITA ELECTRIC INDUSTRIAL CO. LTD. (MATSUSHITA DENKI SANGYO KABUSHIKI KAISHA) | Panasonic Corporation |
| P/003086 (2981-M) |
2009/05/13 | Modificação de identidade | MATSUSHITA ELECTRIC INDUSTRIAL CO. LTD. (MATSUSHITA DENKI SANGYO KABUSHIKI KAISHA) | Panasonic Corporation |
| P/003087 (2982-M) |
2009/05/13 | Modificação de identidade | MATSUSHITA ELECTRIC INDUSTRIAL CO. LTD. (MATSUSHITA DENKI SANGYO KABUSHIKI KAISHA) | Panasonic Corporation |
| P/003857 (3728-M) |
2009/05/13 | Modificação de sede | NIN JIOM MEDICINE MANUFACTORY (H.K.) LIMITED | Blk. A, 16/F., Texaco Industrial Centre, 256-264 Texaco Road, Tsuen Wan, New Territories, Hong Kong |
| P/003858 (3729-M) |
2009/05/13 | Modificação de sede | NIN JIOM MEDICINE MANUFACTORY (H.K.) LIMITED | Blk. A, 16/F., Texaco Industrial Centre, 256-264 Texaco Road, Tsuen Wan, New Territories, Hong Kong |
| P/003859 (3730-M) |
2009/05/13 | Modificação de sede | NIN JIOM MEDICINE MANUFACTORY (H.K.) LIMITED | Blk. A, 16/F., Texaco Industrial Centre, 256-264 Texaco Road, Tsuen Wan, New Territories, Hong Kong |
| P/003916 (3787-M) |
2009/06/01 | Modificação de sede | ATLANTIC RECORDING CORPORATION | 1290 Avenue of the Americas, New York, New York, United States of America |
| P/004263 (4132-M) |
2009/05/14 | Transmissão por fusão | CITA TABACOS DE CANARIAS, S.L. | GALLAHER CANARIAS, S.A., com sede em 20 Canarias, Las Palmas 35002, Spain |
| P/005106 (4968-M) |
2009/05/25 | Modificação de identidade | Henkel KGaA | Henkel AG & Co. KGaA |
| P/007446 (7216-M) |
2009/05/26 | Modificação de sede | DURING AG | Seestrasse 7a, 6052 Hergiswil, Switzerland |
| P/007446 (7216-M) |
2009/05/26 | Modificação de identidade | DURING AG | Düring Lizenzen AG |
| P/007446 (7216-M) |
2009/05/26 | Modificação de identidade | Düring Lizenzen AG | Duck Global Licensing AG (Duck Global Licensing S.A.) (Duck Global Licensing Ltd) |
| P/007446 (7216-M) |
2009/05/26 | Modificação de sede | Duck Global Licensing AG (Duck Global Licensing S.A.) (Duck Global Licensing Ltd) | c/o Fischer & Partner, Schulhausstrasse 9, 6052 Hergiswil, Switzerland |
| P/007673 (7443-M) |
2009/05/27 | Modificação de sede | WRANGLER APPAREL CORP. | 3411 Silverside Road, Wilmington, Delaware 19810, United States of America |
| P/007674 (7444-M) |
2009/05/27 | Modificação de sede | WRANGLER APPAREL CORP. | 3411 Silverside Road, Wilmington, Delaware 19810, United States of America |
| P/007675 (7445-M) |
2009/05/27 | Modificação de sede | WRANGLER APPAREL CORP. | 3411 Silverside Road, Wilmington, Delaware 19810, United States of America |
| P/007676 (7446-M) |
2009/05/27 | Modificação de sede | WRANGLER APPAREL CORP. | 3411 Silverside Road, Wilmington, Delaware 19810, United States of America |
| P/007677 (7447-M |
2009/05/27 | Modificação de sede | WRANGLER APPAREL CORP. | 3411 Silverside Road, Wilmington, Delaware 19810, United States of America |
| P/007678 (7448-M |
2009/05/27 | Modificação de sede | WRANGLER APPAREL CORP. | 3411 Silverside Road, Wilmington, Delaware 19810, United States of America |
| P/007679 (7449-M) |
2009/05/27 | Modificação de sede | WRANGLER APPAREL CORP. | 3411 Silverside Road, Wilmington, Delaware 19810, United States of America |
| P/007680 (7450-M) |
2009/05/27 | Modificação de sede | WRANGLER APPAREL CORP. | 3411 Silverside Road, Wilmington, Delaware 19810, United States of America |
| P/007681 (7451-M) |
2009/05/27 | Modificação de sede | WRANGLER APPAREL CORP. | 3411 Silverside Road, Wilmington, Delaware 19810, United States of America |
| P/007682 (7452-M) |
2009/05/27 | Modificação de sede | WRANGLER APPAREL CORP. | 3411 Silverside Road, Wilmington, Delaware 19810, United States of America |
| P/007683 (7453-M) |
2009/05/27 | Modificação de sede | WRANGLER APPAREL CORP. | 3411 Silverside Road, Wilmington, Delaware 19810, United States of America |
| P/007934 (7704-M) |
2009/05/26 | Modificação de sede | WYETH | Five Giralda Farms, Madison, New Jersey 07940-0874, Estados Unidos da América |
| P/014865 (14743-M) |
2009/06/03 | Modificação de sede | NINE WEST DEVELOPMENT CORPORATION | 1007 Orange Street, Suite 225, Wilmington, Delaware 19801, U.S.A. |
| P/014866 (14744-M) |
2009/06/03 | Modificação de sede | NINE WEST DEVELOPMENT CORPORATION | 1007 Orange Street, Suite 225, Wilmington, Delaware 19801, U.S.A. |
| P/014869 (14747-M) |
2009/06/03 | Modificação de sede | NINE WEST DEVELOPMENT CORPORATION | 1007 Orange Street, Suite 225, Wilmington, Delaware 19801, U.S.A. |
| P/014870 (14748-M) |
2009/06/03 | Modificação de sede | NINE WEST DEVELOPMENT CORPORATION | 1007 Orange Street, Suite 225, Wilmington, Delaware 19801, U.S.A. |
| P/014871 (14749-M) |
2009/06/03 | Modificação de sede | NINE WEST DEVELOPMENT CORPORATION | 1007 Orange Street, Suite 225, Wilmington, Delaware 19801, U.S.A. |
| P/014872 (14750-M) |
2009/06/03 | Modificação de sede | NINE WEST DEVELOPMENT CORPORATION | 1007 Orange Street, Suite 225, Wilmington, Delaware 19801, U.S.A. |
| P/014873 (14751-M) |
2009/06/03 | Modificação de sede | NINE WEST DEVELOPMENT CORPORATION | 1007 Orange Street, Suite 225, Wilmington, Delaware 19801, U.S.A. |
| P/014874 (14752-M) |
2009/06/03 | Modificação de sede | NINE WEST DEVELOPMENT CORPORATION | 1007 Orange Street, Suite 225, Wilmington, Delaware 19801, U.S.A. |
| P/015153 (15501-M |
2009/05/19 | Modificação de identidade | 深圳太太藥業股份有限公司 Shenzhen Taitai Pharmaceutical Industry Co., Ltd |
Shenzhen Joincare Pharmaceutical Group Industry Co., Ltd. |
| P/015153 (15501-M |
2009/05/19 | Modificação de sede | 深圳健康藥業集團股份有限公司 Shenzhen Joincare Pharmaceutical Group Industry Co., Ltd. |
23f, Diwang Commercial Centre, Xinxing Square, N.º 5002 Shennan East Rd., Luohu District, Shenzhen City, Guangdong Province, China |
| P/015153 (15501-M |
2009/05/19 | Modificação de identidade | 深圳健康藥業集團股份有限公司 Shenzhen Joincare Pharmaceutical Group Industry Co., Ltd. |
Joincare Pharmaceutical Group Industry Co., Ltd. |
| P/015153 (15501-M |
2009/05/19 | Modificação de sede | 健康元藥業集團股份有限公司 Joincare Pharmaceutical Group Industry Co., Ltd. |
Joincare Pharmaceutical Group Building, N.º 17 Lang Shan Road, North Area Of High-Tech Park, Nanshan District, Shenzhen City, Guangdong Province, China |
| P/015154 (15502-M |
2009/05/19 | Modificação de identidade | 深圳太太藥業股份有限公司 Shenzhen Taitai Pharmaceutical Industry Co., Ltd |
Shenzhen Joincare Pharmaceutical Group Industry Co., Ltd. |
| P/015154 (15502-M |
2009/05/19 | Modificação de sede | 深圳健康藥業集團股份有限公司 Shenzhen Joincare Pharmaceutical Group Industry Co., Ltd. |
23f, Diwang Commercial Centre, Xinxing Square, N.º 5002 Shennan East Rd., Luohu District, Shenzhen City, Guangdong Province, China |
| P/015154 (15502-M |
2009/05/19 | Modificação de identidade | 深圳健康藥業集團股份有限公司 Shenzhen Joincare Pharmaceutical Group Industry Co., Ltd. |
Joincare Pharmaceutical Group Industry Co., Ltd. |
| P/015154 (15502-M |
2009/05/19 | Modificação de sede | 健康元藥業集團股份有限公司 Joincare Pharmaceutical Group Industry Co., Ltd. |
Joincare Pharmaceutical Group Building, N.º 17 Lang Shan Road, North Area Of High-Tech Park, Nanshan District, Shenzhen City, Guangdong Province, China |
| P/015155 (15503-M |
2009/05/19 | Modificação de identidade | 深圳太太藥業股份有限公司 Shenzhen Taitai Pharmaceutical Industry Co., Ltd |
Shenzhen Joincare Pharmaceutical Group Industry Co., Ltd. |
| P/015155 (15503-M |
2009/05/19 | Modificação de sede | 深圳健康藥業集團股份有限公司 Shenzhen Joincare Pharmaceutical Group Industry Co., Ltd. |
23f, Diwang Commercial Centre, Xinxing Square, N.º 5002 Shennan East Rd., Luohu District, Shenzhen City, Guangdong Province, China |
| P/015155 (15503-M |
2009/05/19 | Modificação de identidade | 深圳健康藥業集團股份有限公司 Shenzhen Joincare Pharmaceutical Group Industry Co., Ltd. |
Joincare Pharmaceutical Group Industry Co., Ltd. |
| P/015155 (15503-M |
2009/05/19 | Modificação de sede | 健康元藥業集團股份有限公司 Joincare Pharmaceutical Group Industry Co., Ltd. |
Joincare Pharmaceutical Group Building, N.º 17 Lang Shan Road, North Area Of High-Tech Park, Nanshan District, Shenzhen City, Guangdong Province, China |
| N/000554 | 2009/06/01 | Modificação de identidade | NISSIN SHOKUHIN KABUSHIKI KAISHA, também negociando como Nissin Food Products Co., Ltd. | NISSIN FOODS HOLDINGS CO., LTD. |
| N/000555 | 2009/06/01 | Modificação de identidade | NISSIN SHOKUHIN KABUSHIKI KAISHA, também negociando como Nissin Food Products Co., Ltd. | NISSIN FOODS HOLDINGS CO., LTD. |
| N/000556 | 2009/06/01 | Modificação de identidade | NISSIN SHOKUHIN KABUSHIKI KAISHA, também negociando como Nissin Food Products Co., Ltd. | NISSIN FOODS HOLDINGS CO., LTD. |
| N/001170 | 2009/05/25 | Licença de exploração | Bloomberg Finance L.P. | Bloomberg L.P., com sede em 731 Lexington Avenue, New York, New York 10022, USA |
| N/003175 | 2009/05/19 | Modificação de sede | KRAFT FOODS SCHWEIZ HOLDING AG. | Lindbergh - Allee 1, 8152 Glattpark, Switzerland |
| N/003175 | 2009/05/19 | Modificação de identidade | KRAFT FOODS SCHWEIZ HOLDING AG. | Kraft Foods Schweiz Holding GmbH |
| N/003175 | 2009/05/19 | Transmissão | Kraft Foods Schweiz Holding GmbH | Kraft Foods Belgium Intellectual Property BVBA (SPRL), com sede em Brusselsesteenweg 450, 1500 Halle, Belgium |
| N/003180 | 2009/05/19 | Modificação de sede | KRAFT FOODS SCHWEIZ HOLDING AG. | Lindbergh - Allee 1, 8152 Glattpark, Switzerland |
| N/003180 | 2009/05/19 | Modificação de identidade | KRAFT FOODS SCHWEIZ HOLDING AG. | Kraft Foods Schweiz Holding GmbH |
| N/003180 | 2009/05/19 | Transmissão | Kraft Foods Schweiz Holding GmbH | Kraft Foods Deutschland Holding GmbH, com sede em Langemarckstrasse 4-20, 28199 Bremen, Germany |
| N/007447 | 2009/05/13 | Modificação de identidade | MATSUSHITA ELECTRIC INDUSTRIAL CO., LTD. | Panasonic Corporation |
| N/007458 | 2009/05/13 | Modificação de identidade | MATSUSHITA ELECTRIC INDUSTRIAL CO., LTD. | Panasonic Corporation |
| N/007459 | 2009/05/13 | Modificação de identidade | MATSUSHITA ELECTRIC INDUSTRIAL CO., LTD. | Panasonic Corporation |
| N/007468 | 2009/05/13 | Modificação de identidade | MATSUSHITA ELECTRIC INDUSTRIAL CO., LTD. | Panasonic Corporation |
| N/007469 | 2009/05/13 | Modificação de identidade | MATSUSHITA ELECTRIC INDUSTRIAL CO., LTD. | Panasonic Corporation |
| N/007470 | 2009/05/13 | Modificação de identidade | MATSUSHITA ELECTRIC INDUSTRIAL CO., LTD. | Panasonic Corporation |
| N/007471 | 2009/05/13 | Modificação de identidade | MATSUSHITA ELECTRIC INDUSTRIAL CO., LTD. | Panasonic Corporation |
| N/007472 | 2009/05/13 | Modificação de identidade | MATSUSHITA ELECTRIC INDUSTRIAL CO., LTD. | Panasonic Corporation |
| N/007473 | 2009/05/13 | Modificação de identidade | MATSUSHITA ELECTRIC INDUSTRIAL CO., LTD. | Panasonic Corporation |
| N/007474 | 2009/05/13 | Modificação de identidade | MATSUSHITA ELECTRIC INDUSTRIAL CO., LTD. | Panasonic Corporation |
| N/007475 | 2009/05/13 | Modificação de identidade | MATSUSHITA ELECTRIC INDUSTRIAL CO., LTD. | Panasonic Corporation |
| N/007476 | 2009/05/13 | Modificação de identidade | MATSUSHITA ELECTRIC INDUSTRIAL CO., LTD. | Panasonic Corporation |
| N/007477 | 2009/05/13 | Modificação de identidade | MATSUSHITA ELECTRIC INDUSTRIAL CO., LTD. | Panasonic Corporation |
| N/007478 | 2009/05/13 | Modificação de identidade | MATSUSHITA ELECTRIC INDUSTRIAL CO., LTD. | Panasonic Corporation |
| N/007479 | 2009/05/13 | Modificação de identidade | MATSUSHITA ELECTRIC INDUSTRIAL CO., LTD. | Panasonic Corporation |
| N/007480 | 2009/05/13 | Modificação de identidade | MATSUSHITA ELECTRIC INDUSTRIAL CO., LTD. | Panasonic Corporation |
| N/007481 | 2009/05/13 | Modificação de identidade | MATSUSHITA ELECTRIC INDUSTRIAL CO., LTD. | Panasonic Corporation |
| N/007482 | 2009/05/13 | Modificação de identidade | MATSUSHITA ELECTRIC INDUSTRIAL CO., LTD. | Panasonic Corporation |
| N/007483 | 2009/05/13 | Modificação de identidade | MATSUSHITA ELECTRIC INDUSTRIAL CO., LTD. | Panasonic Corporation |
| N/007484 | 2009/05/13 | Modificação de identidade | MATSUSHITA ELECTRIC INDUSTRIAL CO., LTD. | Panasonic Corporation |
| N/007485 | 2009/05/13 | Modificação de identidade | MATSUSHITA ELECTRIC INDUSTRIAL CO., LTD. | Panasonic Corporation |
| N/007486 | 2009/05/13 | Modificação de identidade | MATSUSHITA ELECTRIC INDUSTRIAL CO., LTD. | Panasonic Corporation |
| N/007487 | 2009/05/13 | Modificação de identidade | MATSUSHITA ELECTRIC INDUSTRIAL CO., LTD. | Panasonic Corporation |
| N/007488 | 2009/05/13 | Modificação de identidade | MATSUSHITA ELECTRIC INDUSTRIAL CO., LTD. | Panasonic Corporation |
| N/007489 | 2009/05/13 | Modificação de identidade | MATSUSHITA ELECTRIC INDUSTRIAL CO., LTD. | Panasonic Corporation |
| N/007490 | 2009/05/13 | Modificação de identidade | MATSUSHITA ELECTRIC INDUSTRIAL CO., LTD. | Panasonic Corporation |
| N/007491 | 2009/05/13 | Modificação de identidade | MATSUSHITA ELECTRIC INDUSTRIAL CO., LTD. | Panasonic Corporation |
| N/007749 | 2009/05/25 | Modificação de identidade | PHARMACIA & UPJOHN CORK LTD | PFIZER CORK LIMITED |
| N/007750 | 2009/05/25 | Modificação de identidade | PHARMACIA & UPJOHN CORK LTD | PFIZER CORK LIMITED |
| N/007751 | 2009/05/25 | Modificação de identidade | PHARMACIA & UPJOHN CORK LTD | Pifzer Cork Limited |
| N/008257 | 2009/05/26 | Modificação de sede | JOHN PLAYER & SONS LIMITED | 21 Beckett Way, Park West, Nangor Road, Dublin 12, Ireland |
| N/008537 | 2009/05/15 | Modificação de sede | NINE WEST DEVELOPMENT CORPORATION | 1007 Orange Street, Suite 225, Wilmington, Delaware 19801, U.S.A. |
| N/008538 | 2009/05/15 | Modificação de sede | NINE WEST DEVELOPMENT CORPORATION | 1007 Orange Street, Suite 225, Wilmington, Delaware 19801, U.S.A. |
| N/009212 | 2009/05/26 | Modificação de sede | COMMERZBANK Aktiengesellschaft | Kaiserstraße 16 – 60311 Frankfurt Am Main, Alemanha |
| N/009300 | 2009/06/02 | Modificação de sede | GREY PANTHERS LIMITED | St.Helen’s, 1 Undershaft, London EC3P 3DQ, Reino Unido |
| N/009438 | 2009/05/13 | Transmissão | 東莞市東越服裝有限公司 DONGGUAN DONGYUE CAPARISON CO., LTD, uma companhia de responsabilidade limitada organizada e existindo segundo as leis da República Popular da China |
GUO DONG LIN, com sede em N.º 2, Dongxia 3 Lane, Humen Town, Dongguan City, Guangdong Province, P.R. China |
| N/009806 | 2009/05/27 | Modificação de sede | WRANGLER APPAREL CORP. | 3411 Silverside Road, Wilmington, Delaware 19810, United States of America |
| N/011234 | 2009/05/13 | Modificação de identidade | Matsushita Electric Industrial Co., Ltd. | Panasonic Corporation |
| N/011235 | 2009/05/13 | Modificação de identidade | Matsushita Electric Industrial Co., Ltd. | Panasonic Corporation |
| N/011236 | 2009/05/13 | Modificação de identidade | Matsushita Electric Industrial Co., Ltd. | Panasonic Corporation |
| N/011237 | 2009/05/13 | Modificação de identidade | Matsushita Electric Industrial Co., Ltd. | Panasonic Corporation |
| N/011238 | 2009/05/13 | Modificação de identidade | Matsushita Electric Industrial Co., Ltd. | Panasonic Corporation |
| N/011239 | 2009/05/13 | Modificação de identidade | Matsushita Electric Industrial Co., Ltd. | Panasonic Corporation |
| N/011240 | 2009/05/13 | Modificação de identidade | Matsushita Electric Industrial Co., Ltd. | Panasonic Corporation |
| N/011241 | 2009/05/13 | Modificação de identidade | Matsushita Electric Industrial Co., Ltd. | Panasonic Corporation |
| N/011242 | 2009/05/13 | Modificação de identidade | Matsushita Electric Industrial Co., Ltd. | Panasonic Corporation |
| N/011243 | 2009/05/13 | Modificação de identidade | Matsushita Electric Industrial Co., Ltd. | Panasonic Corporation |
| N/011244 | 2009/05/13 | Modificação de identidade | Matsushita Electric Industrial Co., Ltd. | Panasonic Corporation |
| N/011245 | 2009/05/13 | Modificação de identidade | Matsushita Electric Industrial Co., Ltd. | Panasonic Corporation |
| N/011246 | 2009/05/13 | Modificação de identidade | Matsushita Electric Industrial Co., Ltd. | Panasonic Corporation |
| N/011247 | 2009/05/13 | Modificação de identidade | Matsushita Electric Industrial Co., Ltd. | Panasonic Corporation |
| N/012745 | 2009/05/13 | Modificação de identidade | Matsushita Electric Industrial Co., Ltd. | Panasonic Corporation |
| N/012746 | 2009/05/13 | Modificação de identidade | Matsushita Electric Industrial Co., Ltd. | Panasonic Corporation |
| N/012747 | 2009/05/13 | Modificação de identidade | Matsushita Electric Industrial Co., Ltd. | Panasonic Corporation |
| N/013696 | 2009/05/25 | Licença de exploração | Bloomberg Finance L.P. | Bloomberg L.P., com sede em 731 Lexington Avenue, New York, New York 10022, USA |
| N/013697 | 2009/05/25 | Licença de exploração | Bloomberg Finance L.P. | Bloomberg L.P., com sede em 731 Lexington Avenue, New York, New York 10022, USA |
| N/013698 | 2009/05/25 | Licença de exploração | Bloomberg Finance L.P. | Bloomberg L.P., com sede em 731 Lexington Avenue, New York, New York 10022, USA |
| N/013699 | 2009/05/25 | Licença de exploração | Bloomberg Finance L.P. | Bloomberg L.P., com sede em 731 Lexington Avenue, New York, New York 10022, USA |
| N/013700 | 2009/05/25 | Licença de exploração | Bloomberg Finance L.P. | Bloomberg L.P., com sede em 731 Lexington Avenue, New York, New York 10022, USA |
| N/013701 | 2009/05/25 | Licença de exploração | Bloomberg Finance L.P. | Bloomberg L.P., com sede em 731 Lexington Avenue, New York, New York 10022, USA |
| N/013702 | 2009/05/25 | Licença de exploração | Bloomberg Finance L.P. | Bloomberg L.P., com sede em 731 Lexington Avenue, New York, New York 10022, USA |
| N/014606 | 2009/05/25 | Licença de exploração | Bloomberg Finance L.P. | Bloomberg L.P., com sede em 731 Lexington Avenue, New York, New York 10022, USA |
| N/014607 | 2009/05/25 | Licença de exploração | Bloomberg Finance L.P. | Bloomberg L.P., com sede em 731 Lexington Avenue, New York, New York 10022, USA |
| N/014608 | 2009/05/25 | Licença de exploração | Bloomberg Finance L.P. | Bloomberg L.P., com sede em 731 Lexington Avenue, New York, New York 10022, USA |
| N/014609 | 2009/05/25 | Licença de exploração | Bloomberg Finance L.P. | Bloomberg L.P., com sede em 731 Lexington Avenue, New York, New York 10022, USA |
| N/020296 | 2009/06/01 | Modificação de identidade | KIRIN BEER KABUSHIKI KAISHA (also trading as Kirin Brewery Co., Ltd.) | KIRIN HOLDINGS KABUSHIKI KAISHA (also trading as Kirin Holdings Co., Ltd.) |
| N/020297 | 2009/06/01 | Modificação de identidade | KIRIN BEER KABUSHIKI KAISHA (also trading as Kirin Brewery Co., Ltd.) | KIRIN HOLDINGS KABUSHIKI KAISHA (also trading as Kirin Holdings Co., Ltd.) |
| N/020357 | 2009/06/02 | Transmissão por fusão | COMPAL - COMPANHIA PRODUTORA DE CONSERVAS ALIMENTARES, S.A. | Sumolis-Gestão de Marcas, S.A., com sede na Estrada da Portela, n.º 9, Portela de Carnaxide, 2790-124 Carnaxide, Portugal |
| N/020357 | 2009/06/02 | Modificação de identidade | Sumolis-Gestão de Marcas, S.A. | Sumol+Compal Marcas, S.A. |
| N/020358 | 2009/06/02 | Transmissão por fusão | COMPAL -COMPANHIA PRODUTORA DE CONSERVAS ALIMENTARES, S.A. | Sumolis-Gestão de Marcas, S.A., com sede na Estrada da Portela, n.º 9, Portela de Carnaxide, 2790-124 Carnaxide, Portugal |
| N/020358 | 2009/06/02 | Modificação de identidade | Sumolis-Gestão de Marcas, S.A. | Sumol+Compal Marcas, S.A. |
| N/020359 | 2009/06/02 | Transmissão por fusão | COMPAL - COMPANHIA PRODUTORA DE CONSERVAS ALIMENTARES, S.A. | Sumolis-Gestão de Marcas, S.A., com sede na Estrada da Portela, n.º 9, Portela de Carnaxide, 2790-124 Carnaxide, Portugal |
| N/020359 | 2009/06/02 | Modificação de identidade | Sumolis-Gestão de Marcas, S.A. | Sumol+Compal Marcas, S.A. |
| N/020360 | 2009/06/02 | Transmissão por fusão | COMPAL - COMPANHIA PRODUTORA DE CONSERVAS ALIMENTARES, S.A. | Sumolis-Gestão de Marcas, S.A., com sede na Estrada da Portela, n.º 9, Portela de Carnaxide, 2790-124 Carnaxide, Portugal |
| N/020360 | 2009/06/02 | Modificação de identidade | Sumolis-Gestão de Marcas, S.A. | Sumol+Compal Marcas, S.A. |
| N/025422 | 2009/06/01 | Modificação de identidade | KIRIN BEER KABUSHIKI KAISHA (also trading as KIRIN BREWERY CO., LTD.) | KIRIN HOLDINGS KABUSHIKI KAISHA (also trading as Kirin Holdings Co., Ltd.) |
| N/025423 | 2009/06/01 | Modificação de identidade | KIRIN BEER KABUSHIKI KAISHA (also trading as KIRIN BREWERY CO., LTD.) | KIRIN HOLDINGS KABUSHIKI KAISHA (also trading as Kirin Holdings Co., Ltd.) |
| N/025424 | 2009/06/01 | Modificação de identidade | KIRIN BEER KABUSHIKI KAISHA (also trading as KIRIN BREWERY CO., LTD.) | KIRIN HOLDINGS KABUSHIKI KAISHA (also trading as Kirin Holdings Co., Ltd.) |
| N/025425 | 2009/06/01 | Modificação de identidade | KIRIN BEER KABUSHIKI KAISHA (also trading as KIRIN BREWERY CO., LTD.) | KIRIN HOLDINGS KABUSHIKI KAISHA (also trading as Kirin Holdings Co., Ltd.) |
| N/028969 | 2009/06/02 | Modificação de identidade | High Tech Computer Corp. | HTC CORPORATION |
| N/029004 | 2009/06/02 | Modificação de identidade | HIGH TECH COMPUTER CORPORATION | HTC CORPORATION |
| N/029004 | 2009/06/02 | Modificação de sede | HTC CORPORATION | N.º 23, Xinghua Rd., Taoyuan City, Taoyuan County 330, Taiwan, China |
| N/029047 | 2009/05/15 | Transmissão | FRANCK MULLER WATCHLAND SA | FMTM Distribution Ltd., com sede em 1st Floor, Chesterfield House, 7-13 Victoria Street, IM1 2LR Douglas, Isle of Man |
| N/029048 | 2009/05/15 | Transmissão | FRANCK MULLER WATCHLAND SA | FMTM Distribution Ltd., com sede em 1st Floor, Chesterfield House, 7-13 Victoria Street, IM1 2LR Douglas, Isle of Man |
| N/029049 | 2009/05/15 | Transmissão | FRANCK MULLER WATCHLAND SA | FMTM Distribution Ltd., com sede em 1st Floor, Chesterfield House, 7-13 Victoria Street, IM1 2LR Douglas, Isle of Man |
| N/029104 | 2009/06/02 | Modificação de identidade | High Tech Computer Corporation | HTC CORPORATION |
| N/029104 | 2009/06/02 | Modificação de sede | HTC CORPORATION | N.º 23, Xinghua Road., Taoyuan City, Taoyuan County 330, Taiwan, China |
| N/029105 | 2009/06/02 | Modificação de identidade | High Tech Computer Corporation | HTC CORPORATION |
| N/029105 | 2009/06/02 | Modificação de sede | HTC CORPORATION | N.º 23, Xinghua Road., Taoyuan City, Taoyuan County 330, Taiwan, China |
| N/029180 | 2009/05/14 | Transmissão | 美商博奕研究國際股份有限公司 Gaming Laboratories International, Inc. |
Gaming Laboratories International, LLC, com sede em 600 Airport Road, Lakewood, New Jersey, 08701, USA |
| N/029181 | 2009/05/14 | Transmissão | 美商博奕研究國際股份有限公司 Gaming Laboratories International, Inc. |
Gaming Laboratories International, LLC, com sede em 600 Airport Road, Lakewood, New Jersey, 08701, USA |
| N/029480 | 2009/06/02 | Modificação de identidade | High Tech Computer Corp. | HTC CORPORATION |
| N/029481 | 2009/06/02 | Modificação de identidade | High Tech Computer Corp. | HTC CORPORATION |
| N/030098 | 2009/06/02 | Modificação de identidade | High Tech Computer Corp. | HTC CORPORATION |
| N/031545 | 2009/05/14 | Transmissão | Gaming Laboratories International, Inc. | Gaming Laboratories International, LLC, com sede em 600 Airport Road, Lakewood, New Jersey, 08701, USA |
| N/031973 | 2009/05/14 | Modificação de sede | Coby Electronics Corporation | 1991 Marcus Avenue, Suite 301, Lake Success, N.Y. 11042, U.S.A. |
| N/032674 | 2009/06/01 | Modificação de identidade | NISSIN SHOKUHIN KABUSHIKI KAISHA doing business as NISSIN FOOD PRODUCTS CO., LTD. | NISSIN FOODS HOLDINGS CO., LTD. |
| N/032675 | 2009/06/01 | Modificação de identidade | NISSIN SHOKUHIN KABUSHIKI KAISHA doing business as NISSIN FOOD PRODUCTS CO., LTD. | NISSIN FOODS HOLDINGS CO., LTD. |
| N/032676 | 2009/06/01 |
Modificação de identidade |
NISSIN SHOKUHIN KABUSHIKI KAISHA doing business as NISSIN FOOD PRODUCTS CO., LTD. | NISSIN FOODS HOLDINGS CO., LTD. |
| N/033066 | 2009/05/14 | Modificação de identidade | Chipidea-Microelectrónica, S.A. | MIPSABG Chipidea, Lda. |
| N/033120 | 2009/05/13 | Modificação de identidade | Matsushita Electric Industrial Co., Ltd. | Panasonic Corporation |
| N/033121 | 2009/05/13 | Modificação de identidade | Matsushita Electric Industrial Co., Ltd. | Panasonic Corporation |
| N/033122 | 2009/05/13 | Modificação de identidade | Matsushita Electric Industrial Co., Ltd. | Panasonic Corporation |
| N/033387 | 2009/06/01 | Modificação de identidade | NISSIN SHOKUHIN KABUSHIKI KAISHA doing business as NISSIN FOOD PRODUCTS CO., LTD. | NISSIN FOODS HOLDINGS CO., LTD. |
| N/033388 | 2009/06/01 | Modificação de identidade | NISSIN SHOKUHIN KABUSHIKI KAISHA doing business as NISSIN FOOD PRODUCTS CO., LTD. | NISSIN FOODS HOLDINGS CO., LTD. |
| N/033697 | 2009/06/02 | Modificação de identidade | High Tech Computer Corp. | HTC CORPORATION |
| N/034120 | 2009/05/13 | Transmissão | 鴻運貿易(國際)有限公司 Hung Win Trading Company Limited |
Po Chai Lemonin Medicine Company Limited, com sede em Flat B, 20/F, Block 3, Victoria Centre, 15 Watson Road, Hong Kong |
| N/034148 | 2009/06/01 | Modificação de identidade | NISSIN SHOKUHIN KABUSHIKI KAISHA doing business as NISSIN FOOD PRODUCTS CO., LTD. | NISSIN FOODS HOLDINGS CO., LTD. |
| N/034149 | 2009/06/01 | Modificação de identidade | NISSIN SHOKUHIN KABUSHIKI KAISHA doing business as NISSIN FOOD PRODUCTS CO., LTD. | NISSIN FOODS HOLDINGS CO., LTD. |
| N/034353 | 2009/06/02 | Modificação de identidade | High Tech Computer Corp. | HTC CORPORATION |
| N/037096 | 2009/05/14 | Transmissão | SUNTORY LIMITED | SUNTORY HOLDINGS LIMITED, com sede em 1-40, Dojimahama 2-Chome, Kita-Ku, Osaka-Shi, Osaka 530-8203, Japan |
| N/037097 | 2009/05/14 | Transmissão | SUNTORY LIMITED | SUNTORY HOLDINGS LIMITED, com sede em 1-40, Dojimahama 2-Chome, Kita-Ku, Osaka-Shi, Osaka 530-8203, Japan |
| N/037098 | 2009/05/14 | Transmissão | SUNTORY LIMITED | SUNTORY HOLDINGS LIMITED, com sede em 1-40, Dojimahama 2-Chome, Kita-Ku, Osaka-Shi, Osaka 530-8203, Japan |
| N/037099 | 2009/05/14 | Transmissão | SUNTORY LIMITED | SUNTORY HOLDINGS LIMITED, com sede em 1-40, Dojimahama 2-Chome, Kita-Ku, Osaka-Shi, Osaka 530-8203, Japan |
| N/037100 | 2009/05/14 | Transmissão | SUNTORY LIMITED | SUNTORY HOLDINGS LIMITED, com sede em 1-40, Dojimahama 2-Chome, Kita-Ku, Osaka-Shi, Osaka 530-8203, Japan |
| N/037101 | 2009/05/14 | Transmissão | SUNTORY LIMITED | SUNTORY HOLDINGS LIMITED, com sede em 1-40, Dojimahama 2-Chome, Kita-Ku, Osaka-Shi, Osaka 530-8203, Japan |
| N/037102 | 2009/05/14 | Transmissão | SUNTORY LIMITED | SUNTORY HOLDINGS LIMITED, com sede em 1-40, Dojimahama 2-Chome, Kita-Ku, Osaka-Shi, Osaka 530-8203, Japan |
| N/037103 | 2009/05/14 | Transmissão | SUNTORY LIMITED | SUNTORY HOLDINGS LIMITED, com sede em 1-40, Dojimahama 2-Chome, Kita-Ku, Osaka-Shi, Osaka 530-8203, Japan |
| N/037104 | 2009/05/14 | Transmissão | SUNTORY LIMITED | SUNTORY HOLDINGS LIMITED, com sede em 1-40, Dojimahama 2-Chome, Kita-Ku, Osaka-Shi, Osaka 530-8203, Japan |
| N/037105 | 2009/05/14 | Transmissão | SUNTORY LIMITED | SUNTORY HOLDINGS LIMITED, com sede em 1-40, Dojimahama 2-Chome, Kita-Ku, Osaka-Shi, Osaka 530-8203, Japan |
| N/037897 | 2009/06/02 | Modificação de identidade | High Tech Computer Corporation | HTC CORPORATION |
| N/038250 | 2009/06/02 | Modificação de identidade | High Tech Computer Corporation | HTC CORPORATION |
| N/038334 | 2009/06/02 | Modificação de identidade | High Tech Computer Corporation | HTC CORPORATION |
| N/038811 | 2009/06/01 | Transmissão | Metro Broadcast Corporation Limited | Metro Enterprises Limited, com sede em P.O. Box 957, Offshore Incorporations Centre, Road Town, Tortola, British Virgin Islands |
| N/038812 | 2009/06/01 | Transmissão | Metro Broadcast Corporation Limited | Metro Enterprises Limited, com sede em P.O. Box 957, Offshore Incorporations Centre, Road Town, Tortola, British Virgin Islands |
| N/038813 | 2009/06/01 | Transmissão | Metro Broadcast Corporation Limited | Metro Enterprises Limited, com sede em P.O. Box 957, Offshore Incorporations Centre, Road Town, Tortola, British Virgin Islands |
| N/038814 | 2009/06/01 | Transmissão | Metro Broadcast Corporation Limited | Metro Enterprises Limited, com sede em P.O. Box 957, Offshore Incorporations Centre, Road Town, Tortola, British Virgin Islands |
| N/038815 | 2009/06/01 | Transmissão | Metro Broadcast Corporation Limited | Metro Enterprises Limited, com sede em P.O. Box 957, Offshore Incorporations Centre, Road Town, Tortola, British Virgin Islands |
| N/038816 | 2009/06/01 | Transmissão | Metro Broadcast Corporation Limited | Metro Enterprises Limited, com sede em P.O. Box 957, Offshore Incorporations Centre, Road Town, Tortola, British Virgin Islands |
| N/038817 | 2009/06/01 | Transmissão | Metro Broadcast Corporation Limited | Metro Enterprises Limited, com sede em P.O. Box 957, Offshore Incorporations Centre, Road Town, Tortola, British Virgin Islands |
| N/038818 | 2009/06/01 | Transmissão | Metro Broadcast Corporation Limited | Metro Enterprises Limited, com sede em P.O. Box 957, Offshore Incorporations Centre, Road Town, Tortola, British Virgin Islands |
| N/038879 | 2009/06/02 | Modificação de identidade | High Tech Computer Corporation | HTC CORPORATION |
| N/040054 | 2009/06/02 | Modificação de identidade | High Tech Computer Corporation | HTC CORPORATION |
| Processo n.º | Data do despacho |
Natureza do averbamento | Requerente | Modificação | ||
| N/018604 N/018605 N/018606 N/018607 N/027444 N/027445 N/027446 N/027447 N/027448 N/027449 N/027450 N/027451 N/027452 N/027453 N/027454 N/027455 N/027456 N/027457 N/027458 |
N/027459 N/027460 N/027461 N/027462 N/027463 N/027464 N/027465 N/027466 N/027467 N/027468 N/027469 N/027470 N/035452 N/035453 N/035454 N/035455 N/035456 N/035457 N/035458 |
N/035459 N/035460 N/035461 N/035462 N/035463 N/035464 N/035465 N/035466 N/035467 N/035468 N/035469 N/035470 N/035471 N/035472 N/035473 N/035474 N/035475 |
2009/05/27 | Penhor de direitos de Propriedade Intelectual | COD TEATRO LIMITADA | DB TRUSTEES (HONG KONG) LIMITED |
| N/018604 N/018605 N/018606 N/018607 N/027444 N/027445 N/027446 N/027447 N/027448 N/027449 N/027450 N/027451 N/027452 N/027453 N/027454 N/027455 N/027456 N/027457 N/027458 |
N/027459 N/027460 N/027461 N/027462 N/027463 N/027464 N/027465 N/027466 N/027467 N/027468 N/027469 N/027470 N/035452 N/035453 N/035454 N/035455 N/035456 N/035457 N/035458 |
N/035459 N/035460 N/035461 N/035462 N/035463 N/035464 N/035465 N/035466 N/035467 N/035468 N/035469 N/035470 N/035471 N/035472 N/035473 N/035474 N/035475 |
2009/05/27 | Penhor de direitos de Propriedade Intelectual | MELCO CROWN (COD) DESENVOLVIMENTOS, LIMITADA | DB TRUSTEES (HONG KONG) LIMITED |
| N/018604 N/018605 N/018606 N/018607 N/027444 N/027445 N/027446 N/027447 |
N/027448 N/027449 N/027450 N/027451 N/027452 N/027453 N/027454 N/027455 |
N/027456 N/027457 N/027458 N/027459 N/027460 N/027461 N/027462 N/027463 |
2009/05/27 | Penhor de direitos de Propriedade Intelectual | MELCO CROWN (COD) EMPREENDIMENTOS, LIMITADA | DB TRUSTEES (HONG KONG) LIMITED |
| N/027464 N/027465 N/027466 N/027467 N/027468 N/027469 N/027470 N/035452 N/035453 N/035454 N/035455 |
N/035456 N/035457 N/035458 N/035459 N/035460 N/035461 N/035462 N/035463 N/035464 N/035465 N/035466 |
N/035467 N/035468 N/035469 N/035470 N/035471 N/035472 N/035473 N/035474 N/035475 |
2009/05/27 | Penhor de direitos de Propriedade Intelectual | MELCO CROWN (COD) EMPREENDIMENTOS, LIMITADA | DB TRUSTEES (HONG KONG) LIMITED |
| N/018604 N/018605 N/018606 N/018607 N/027444 N/027445 N/027446 N/027447 N/027448 N/027449 N/027450 N/027451 N/027452 N/027453 N/027454 N/027455 N/027456 N/027457 N/027458 |
N/027459 N/027460 N/027461 N/027462 N/027463 N/027464 N/027465 N/027466 N/027467 N/027468 N/027469 N/027470 N/035452 N/035453 N/035454 N/035455 N/035456 N/035457 N/035458 |
N/035459 N/035460 N/035461 N/035462 N/035463 N/035464 N/035465 N/035466 N/035467 N/035468 N/035469 N/035470 N/035471 N/035472 N/035473 N/035474 N/035475 |
2009/05/27 | Penhor de direitos de Propriedade Intelectual | MELCO CROWN (COD) SERVIÇOS DE COMÉRCIO, LIMITADA | DB TRUSTEES (HONG KONG) LIMITED |
| N/018604 N/018605 N/018606 N/018607 N/027444 N/027445 N/027446 N/027447 N/027448 N/027449 N/027450 N/027451 N/027452 N/027453 N/027454 N/027455 N/027456 N/027457 N/027458 |
N/027459 N/027460 N/027461 N/027462 N/027463 N/027464 N/027465 N/027466 N/027467 N/027468 N/027469 N/027470 N/035452 N/035453 N/035454 N/035455 N/035456 N/035457 N/035458 |
N/035459 N/035460 N/035461 N/035462 N/035463 N/035464 N/035465 N/035466 N/035467 N/035468 N/035469 N/035470 N/035471 N/035472 N/035473 N/035474 N/035475 |
2009/05/27 | Penhor de direitos de Propriedade Intelectual | MELCO CROWN COD (GH) HOTEL LIMITADA | DB TRUSTEES (HONG KONG) LIMITED |
| N/018604 N/018605 N/018606 N/018607 N/027444 N/027445 N/027446 N/027447 N/027448 N/027449 N/027450 N/027451 N/027452 N/027453 N/027454 N/027455 N/027456 N/027457 N/027458 |
N/027459 N/027460 N/027461 N/027462 N/027463 N/027464 N/027465 N/027466 N/027467 N/027468 N/027469 N/027470 N/035452 N/035453 N/035454 N/035455 N/035456 N/035457 N/035458 |
N/035459 N/035460 N/035461 N/035462 N/035463 N/035464 N/035465 N/035466 N/035467 N/035468 N/035469 N/035470 N/035471 N/035472 N/035473 N/035474 N/035475 |
2009/05/27 | Penhor de direitos de Propriedade Intelectual | MELCO CROWN COD (HR) HOTEL LIMITADA | DB TRUSTEES (HONG KONG) LIMITED |
| N/015264 N/015265 N/019384 N/019385 N/019386 N/019387 N/029432 N/029433 N/029434 N/029435 N/029436 N/029437 N/029438 N/029439 |
2009/05/27 | Penhor de direitos de Propriedade Intelectual | MELCO CROWN (CAFÉ) LIMITADA | DB TRUSTEES (HONG KONG) LIMITED | ||
| N/000101 N/000102 N/000103 N/000106 N/000107 N/000108 N/000109 N/000110 N/017829 N/017830 N/017832 N/017833 N/017835 N/017836 N/017838 |
N/017839 N/018553 N/018554 N/018555 N/022592 N/022595 N/022598 N/026330 N/026331 N/026332 N/026333 N/026334 N/026335 N/026336 N/026337 |
N/026338 N/026339 N/026340 N/026341 N/026342 N/026343 N/026344 N/026345 N/026346 N/026347 N/026348 N/026349 N/026350 N/026351 N/026352 |
2009/05/27 | Penhor de direitos de Propriedade Intelectual | MELCO CROWN (CM) HOTEL, LIMITADA | DB TRUSTEES (HONG KONG) LIMITED |
| N/026353 N/026354 N/026355 N/026356 N/026357 N/026358 N/026359 N/026360 N/026361 N/026362 N/026363 |
N/026364 N/026365 N/026366 N/026367 N/026368 N/026369 N/026370 N/026371 N/026372 N/026373 N/026374 |
N/026375 N/026376 N/026377 N/026378 N/026379 N/026380 N/026623 N/026624 N/026625 N/026626 |
2009/05/27 | Penhor de direitos de Propriedade Intelectual | MELCO CROWN (CM) HOTEL, LIMITADA | DB TRUSTEES (HONG KONG) LIMITED |
| N/000101 N/000102 N/000103 N/000106 N/000107 N/000108 N/000109 N/000110 N/017829 N/017830 N/017832 N/017833 N/017835 N/017836 N/017838 N/017839 N/018553 N/018554 N/018555 N/018604 N/018605 N/018606 N/018607 N/022592 N/022595 N/022598 |
N/027444 N/027445 N/027446 N/027447 N/027448 N/027449 N/027450 N/027451 N/027452 N/027453 N/027454 N/027455 N/027456 N/027457 N/027458 N/027459 N/027460 N/027461 N/027462 N/027463 N/027464 N/027465 N/027466 N/027467 N/027468 N/027469 |
N/027470 N/035452 N/035453 N/035454 N/035455 N/035456 N/035457 N/035458 N/035459 N/035460 N/035461 N/035462 N/035463 N/035464 N/035465 N/035466 N/035467 N/035468 N/035469 N/035470 N/035471 N/035472 N/035473 N/035474 N/035475 |
2009/05/27 | Penhor de direitos de Propriedade Intelectual | MELCO CROWN (COD) HOTÉIS, LIMITADA | DB TRUSTEES (HONG KONG) LIMITED |
| N/000101 N/000102 N/000103 N/000106 N/000107 N/000108 N/000109 N/000110 N/017829 N/017830 N/017832 N/017833 |
N/017835 N/017836 N/017838 N/017839 N/018553 N/018554 N/018555 N/018604 N/018605 N/018606 N/018607 N/022592 |
N/022595 N/022598 N/027444 N/027445 N/027446 N/027447 N/027448 N/027449 N/027450 N/027451 N/027452 N/027453 |
2009/05/27 | Penhor de direitos de Propriedade Intelectual | MELCO CROWN COD (CT) HOTEL LIMITADA | DB TRUSTEES (HONG KONG) LIMITED |
| N/027454 N/027455 N/027456 N/027457 N/027458 N/027459 N/027460 N/027461 N/027462 N/027463 N/027464 N/027465 N/027466 N/027467 |
N/027468 N/027469 N/027470 N/035452 N/035453 N/035454 N/035455 N/035456 N/035457 N/035458 N/035459 N/035460 N/035461 N/035462 |
N/035463 N/035464 N/035465 N/035466 N/035467 N/035468 N/035469 N/035470 N/035471 N/035472 N/035473 N/035474 N/035475 |
2009/05/27 | Penhor de direitos de Propriedade Intelectual | MELCO CROWN COD (CT) HOTEL LIMITADA | DB TRUSTEES (HONG KONG) LIMITED |
| N/000101 N/000102 N/000103 N/000106 N/000107 N/000108 N/000109 N/000110 N/015264 N/015265 N/017829 N/017830 N/017832 N/017833 N/017835 N/017836 N/017838 N/017839 N/018553 N/018554 N/018555 N/018604 N/018605 N/018606 N/018607 N/019384 N/019385 N/019386 N/019387 N/022592 N/022595 |
N/022598 N/027444 N/027445 N/027446 N/027447 N/027448 N/027449 N/027450 N/027451 N/027452 N/027453 N/027454 N/027455 N/027456 N/027457 N/027458 N/027459 N/027460 N/027461 N/027462 N/027463 N/027464 N/027465 N/027466 N/027467 N/027468 N/027469 N/027470 N/029432 N/029433 N/029434 |
N/029435 N/029436 N/029437 N/029438 N/029439 N/035452 N/035453 N/035454 N/035455 N/035456 N/035457 N/035458 N/035459 N/035460 N/035461 N/035462 N/035463 N/035464 N/035465 N/035466 N/035467 N/035468 N/035469 N/035470 N/035471 N/035472 N/035473 N/035474 N/035475 |
2009/05/27 | Penhor de direitos de Propriedade Intelectual | MELCO CROWN HOSPITALIDADE E SERVIÇOS, LIMITADA | DB TRUSTEES (HONG KONG) LIMITED |
| N/000101 N/000102 N/000103 N/000106 |
N/000107 N/000108 N/000109 N/000110 |
N/015264 N/015265 N/017829 N/017830 |
2009/05/27 | Penhor de direitos de Propriedade Intelectual | MELCO CROWN JOGOS (MACAU), S.A. | DB TRUSTEES (HONG KONG) LIMITED |
| N/017832 N/017833 N/017835 N/017836 N/017838 N/017839 N/018553 N/018554 N/018555 N/018604 N/018605 N/018606 N/018607 N/019384 N/019385 N/019386 N/019387 N/022592 N/022595 N/022598 N/027444 N/027445 N/027446 N/027447 N/027448 N/027449 N/027450 |
N/027451 N/027452 N/027453 N/027454 N/027455 N/027456 N/027457 N/027458 N/027459 N/027460 N/027461 N/027462 N/027463 N/027464 N/027465 N/027466 N/027467 N/027468 N/027469 N/027470 N/029432 N/029433 N/029434 N/029435 N/029436 N/029437 N/029438 |
N/029439 N/035452 N/035453 N/035454 N/035455 N/035456 N/035457 N/035458 N/035459 N/035460 N/035461 N/035462 N/035463 N/035464 N/035465 N/035466 N/035467 N/035468 N/035469 N/035470 N/035471 N/035472 N/035473 N/035474 N/035475 |
2009/05/27 | Penhor de direitos de Propriedade Intelectual | MELCO CROWN JOGOS (MACAU), S.A. | DB TRUSTEES (HONG KONG) LIMITED |
Protecção de patente de invenção
Averbamentos
| Processo n.º | Data do despacho |
Natureza do averbamento |
Requerente/Titular | Modificação |
| I/000109 | 2009/05/14 | Modificação de identidade |
VendingData Corporation | Elixir Gaming Technologies, Inc. |
| I/000109 | 2009/05/14 | Modificação de sede |
VendingData Corporation | 6650 Via Austi Parkway, Suite 170, Las Vegas, NV 89119, E.U.A. |
| I/000109 | 2009/05/14 | Transmissão | Elixir Gaming Technologies, Inc. | Shuffle Master, Inc., com sede em 1106 Palms Airport Drive, Las Vegas, Nevada 89119, USA |
Protecção de marcas
Recusas
| Processo N.º | Data do despacho |
Nome do requerente | País/Território resid. | Classe | Observações Nos termos do RJPI, aprovado pelo D.L. n.° 97/99/M, de 13 de Dezembro |
| N/35406 N/35407 N/35408 N/35409 N/35410 N/35411 |
2009/05/26 | Galaxy Entertainment Licensing Limited | VG | 39 41 43 39 41 43 |
N.º 3 do art.º 214.º, conjugado com a alínea b) do n.º 1 do art.º 199.º |
| N/35674 N/35675 |
2009/05/19 | 李濟中 Lei Chai Cong |
MO | 29 | Alínea e) do n.º 1 do art.º 9.º |
| N/38943 | 2009/05/21 | 金蒔有限公司 GOLD SEASONS COMPANY LIMITED |
MO | 05 | |
| N/37113 N/37124 |
2009/05/19 | Sociedade de Jogos de Macau, S.A. | MO | 41 | Alínea b) do n.º 2 do art.º 214.º, conjugado com o n.º 1 do art.º 215.º e a alínea c) do n.º 1 do art.º 9.º |
| N/38173 | 2009/06/01 | 衍生行有限公司 | HK | 05 | Alínea a) do n.º 2 e o n.º 3 do art.º 214.º, conjugado com a alínea b) do n.º 1 do art.º 199.º |
| N/38174 | 2009/06/01 | 衍生行有限公司 | HK | 30 | N.º 3 do art.º 214.º, conjugado com a alínea b) do n.º 1 do art.º 199.º |
| N/38523 | 2009/06/02 | 佳盈商業服務有限公司 COMPANHIA DE CONSULTADORIA COMERCIAL GOOD PROFIT LIMITADA |
MO | 35 | Alínea b) do n.º 2 do art.º 214.º |
| N/38538 N/38539 |
2009/05/19 | 衍生行有限公司 | HK | 05 30 |
N.º 3 do art.º 214.º, conjugado com a alínea c) do n.º 1 do art.º 199.º |
| N/39318 | 2009/06/01 | Malaysia Dairy Industries Pte Ltd | SG | 29 | Alínea a) do n.º 2 do art.º 214.º, conjugado com a alínea c) do n.º 1 do art.º 9.º |
Decisões por acórdão
| Processo n.º | Data do vigência |
Nome do titular | País/Território resid. |
Classe |
| 1 N/023060 | 2009/04/22 | 徐州市創力科技有限公司 | CN | 01 |
1 Por acórdão de 19 de Março de 2009, do Tribunal de Segunda Instância, que transitou em julgado no dia 22 de Abril de 2009, foi julgado procedente o recurso, revogando-se a sentença recorrida e determinando-se a recusa do registo da marca em causa.
Protecção de patente de invenção
Recusas
| Processo N.º | Data do despacho |
Nome do requerente |
País/Território resid. | Observações Nos termos do RJPI, aprova do pelo D.L. n.º 97/99/M, de 13 de Dezembro |
| I/98 | 2009/05/27 | Hutchison Whampoa Three G IP (Bahamas) Limited | BS | Alíneas a) e f) do n.º 1 do art.º 9.º, conjugado com os art.os 98.º e 66.º |
| I/289 | 2009/05/27 | 阿魯策株式會社 Aruze Corp. 株式會社賽塔 Seta Corp. |
JP JP |
|
| I/309 | 2009/05/27 | Progressive Gaming International Corporation | US | |
| I/346 | 2009/05/27 | Aruze Corp. | JP | |
| I/487 I/514 |
2009/05/27 | 阿魯策株式會社 Aruze Corp. |
JP | |
| I/500 | 2009/05/27 | Aruze Gaming America, Inc. | US | |
| I/179 | 2009/05/18 | 阿魯策株式會社 ARUZE CORP. |
JP | Alínea a) do n.º 1 do art.º 9.º, conjugado com os art.os 98.º e 66.º |
| I/223 | ||||
| I/265 | 2009/05/18 | Jay CHUN | HK | |
| I/277 | 2009/05/18 | 阿魯策株式會社 Aruze Corp. |
JP | |
| I/314 | 2009/05/18 | William Owen Cudlipp | AU | |
| I/326 | 2009/05/18 | ARUZE CORP. | JP | |
| I/402 | 2009/05/18 | 屈臣氏企業有限公司 Watson Enterprises Limited |
VG | |
| I/212 | 2009/05/18 | 阿魯策株式會社 ARUZE CORP. |
JP | Alínea a) do n.º 1 do art.º 9.º, conjugado com o art.º 98.º e o n .º 1 do art.º 80.º |
| I/262 | 2009/05/18 | 阿魯策株式會社 Aruze Corp. |
JP | |
| I/358 | 2009/05/18 | Aruze Corp. | JP | |
| I/233 | 2009/05/18 | Cudlipp, William Owen | AU | Alínea a) do n.º 1 do art.º 9.º, conjugado com os art.os 98.º, 65.º e 66.º |
| I/327 | 2009/05/18 | ARUZE CORP. | JP | |
| I/357 I/381 |
2009/05/18 | Aruze Corp. | JP | |
| I/378 | 2009/05/18 | Stargames Corporation Pty Ltd | AU | |
| I/398 I/410 I/477 |
2009/05/18 | 阿魯策株式會社 Aruze Corp. |
JP | |
| I/470 I/481 |
2009/05/18 | Aruze Gaming America, Inc. | US | |
| I/455 | 2009/05/27 | 典範集團有限公司 Masterwork Group Limited |
VG | Alínea a) do n.º 1 do art.º 9.º, conjugado com o art.º 98.º e a alínea d) do n.º 1 do art.º 62.º |
| I/508 | 2009/05/27 | IGT | US | |
| I/705 I/710 |
2009/05/27 | Aruze Corp. | JP |
Protecção de marcas
Renúncias
| Processo N.º | Data do despacho |
Nome do titular/Requerente | País/Território resid. |
| N/18552 | 2009/05/21 | 薛月英 SIE, YE ING |
HK |
| N/30292 N/30655 N/30656 |
2009/05/21 | Crocs, Inc. | US |
| N/41960 N/41961 N/41962 |
2009/05/19 | 唐嘉樂 TONG KA LOK |
MO |
Indeferimento de pedido de declaração de caducidade
| Processo N.º | Data de apresentação |
Data do despacho |
Nome do requerente | Observações |
| N/14440 | 2009/02/23 | 2009/05/19 | Rich Products Corporation | Nos termos do art.º 232.º e o n.º 5 do art.º 52.º do RJPI, aprovado pelo D.L. n.º 97/99/M, de 13 de Dezembro. |
Reclamações
| Processo n.º | Data de entrada |
Nome do requerente | País/Território resid. |
Nome do oponente | País/Território resid. |
| N/041055 | 2009/06/01 | E. & J. GALLO WINERY | US | Red Bull AG | CH |
| N/041075 | 2009/05/26 | Caesars World, Inc. | US | GLOBAL-DINING, INC. | JP |
| N/041166 | 2009/06/01 | CIE EXPLOITATION DES SERVICES AUXILIAIRES AERIENS SERVAIR | FR | SOGRAPE VINHOS, S.A. | PT |
Contestações
| Processo n.º | Data de entrada |
Nome do requerente | País/Território resid. |
Nome do oponente | País/Território resid. |
| N/039915 | 2009/05/18 | 澳越國際(香港)有限公司 M & V Int’l Manufacturing (HK) Limited |
HK | Cortefiel, S.A. | ES |
| N/040015 | 2009/05/18 | 數據資訊服務有限公司 PCCW-HKT DataCom Services Limited |
HK | NEXT EUROPE B.V. | NL |
Rectificações
| Marca n.º | Item da rectificação | Onde se lê | Deve ler-se |
| N/14152 N/14153 N/14155 |
Averbamentos (B.O. da RAEM n.º 18, II Série, de 6 de Maio de 2009) | Schneider Electronic S.A. | Schneider Electric S.A. |
| N/29503 | Data de vigência de Decisões por sentença (B.O. da RAEM n.º 22, II Série, de 3 de Junho de 2009) |
2009/02/07 | 2009/01/07 |
A pedido dos requerentes/titulares respectivos, rectifica-se o seguinte:
| Marca n.º | Item da rectificação | Onde se lê | Deve ler-se |
| N/38353 | Lista de produtos (B.O. da RAEM n.º 45, II Série, de 5 de Novembro de 2008) | Café; chá; ..... bebidas de café; chocolate. | Café |
| N/40048 | Lista de produtos (B.O. da RAEM n.º 5, II Série, de 4 de Feveriro de 2009) | Bebidas não alcoólicas, incluindo todas as bebidas gasosas à base de soja, sumos de todos os tipos (incluídos nesta classe); preparações para fazer bebidas incluindo pós, extractos e produtos concentrados para fazer bebidas não alcoólicas gasosas e não gasosas, refrigerantes e xaropes. | Águas e águas minerais. |
| N/40638 | Lista de produtos (B.O. da RAEM n.º 9, II Série, de 4 de Março de 2009) | Meios de comunicação para fins retalhistas; ...... | Vendas através de meios de comunicação para fins retalhistas; ..... |
| N/40888 | Lista de produtos (B.O. da RAEM n.º 9, II Série, de 4 de Março de 2009) | Óleos e gorduras alimentares; ..... | Óleos e gorduras alimentares; lacticínios; produtos de carne processada; produtos de peixe processados; vegetais e frutas processadas; caril, estufado, misturas de sopas, na classe 29.ª |
| N/40889 | Lista de produtos (B.O. da RAEM n.º 9, II Série, de 4 de Março de 2009) | Chá; café (torrado, em pó, granulado, ou em bebidas); ..... | Chá; café (torrado, em pó, granulado, ou em bebidas); cacau (torrado, em pó, granulado, ou em bebida); preparados de cereais; açúcar em cubo, frutose (para alimentos), açúcar cristalizado (sem ser para confeitaria), açúcar; molhos para salada, molho branco; sandes; pãezinhos cozidos a vapor recheados com carne moída (niku-manjuh); hambúrgueres (sandes); pizas; pacotes de almoços (preparados); cachorros quentes (sandes); empadas de carne; massa ravioli; artigos de confeitaria, mel, pães e pãezinhos, na classe 30.ª |
| N/40897 | Lista de produtos (B.O. da RAEM n.º 9, II Série, de 4 de Março de 2009) |
Cervejas ...... bebidas. | Águas minerais e gaseificadas e outras bebidas não alcoólicas. |
| N/40965 | Lista de produtos (B.O. da RAEM n.º 9, II Série, de 4 de Março de 2009) | ......, sacos para pôr ao ombro, ...... | ......, sacos de compras, ...... |
| N/41146 N/41147 |
Nome do requerente (B.O. da RAEM n.º 13, II Série, de 1 de Abril de 2009) | Eat & Co. | EAT & CO., LIMITED |
| N/41567 | Figura da marca (B.O. da RAEM n.º 18, II Série, de 6 de Maio de 2009) |
Direcção dos Serviços de Economia, aos 5 de Julho de 2009.
O Director dos Serviços, substituto, Sou Tim Peng.



