²Ä 40 ´Á
°Ó¼Ð¤§«OÅ@
¤G¹s¹s¤E¦~¤Q¤ë¤C¤é¡A¬P´Á¤T
¸gÀÙ§½
³q§i
°Ó¼Ð¤§«OÅ@
N/43016 ... N/44521 - N/44522 ... N/44798 - N/44832 ... N/44835
°Ó¼Ð½s¸¹¡GN/44832 Ãþ§O¡G 43
¥Ó½Ð¤H¡Gª÷³£¦W©±Ü¦³¤½¥q¡A³õ©Ò¡GSul da Marina Taipa-Sul, Rotunda do Dique Oeste Lote A1, Taipa, Macau.
°êÄy¡G®Ú¾Ú¿Dªùªk¨Ò¦¨¥ß
¬¡°Ê¡G°Ó·~
¥Ó½Ð¤é´Á¡G2009/09/01
ªA°È¡G´£¨Ñ¹ª«©M¶¼®ÆªA°È¡FÁ{®É¦í±J¡C
°Ó¼Ðºc¦¨¡G

ÃC¦â¤§n¨D¡Gª÷¦â¡A¦p¹Ï©Ò¥Ü¡C
°Ó¼Ð½s¸¹¡GN/44833 Ãþ§O¡G 35
¥Ó½Ð¤H¡Gª÷³£¦W©±Ü¦³¤½¥q¡A³õ©Ò¡GSul da Marina Taipa-Sul, Rotunda do Dique Oeste Lote A1, Taipa, Macau.
°êÄy¡G®Ú¾Ú¿Dªùªk¨Ò¦¨¥ß
¬¡°Ê¡G°Ó·~
¥Ó½Ð¤é´Á¡G2009/09/01
ªA°È¡G¼s§i¡F¹ê·~¸gÀç¡F¹ê·~ºÞ²z¡F¿ì¤½¨Æ°È¡C
°Ó¼Ðºc¦¨¡G

ÃC¦â¤§n¨D¡Gª÷¦â¡A¦p¹Ï©Ò¥Ü¡C
°Ó¼Ð½s¸¹¡GN/44834 Ãþ§O¡G 39
¥Ó½Ð¤H¡Gª÷³£¦W©±Ü¦³¤½¥q¡A³õ©Ò¡GSul da Marina Taipa-Sul, Rotunda do Dique Oeste Lote A1, Taipa, Macau.
°êÄy¡G®Ú¾Ú¿Dªùªk¨Ò¦¨¥ß
¬¡°Ê¡G°Ó·~
¥Ó½Ð¤é´Á¡G2009/09/01
ªA°È¡G¹B¿é¡F°Ó«~¥]¸Ë©M¶JÂáF®È¦æ¦w±Æ¡C
°Ó¼Ðºc¦¨¡G

ÃC¦â¤§n¨D¡Gª÷¦â¡A¦p¹Ï©Ò¥Ü¡C
°Ó¼Ð½s¸¹¡GN/44835 Ãþ§O¡G 41
¥Ó½Ð¤H¡Gª÷³£¦W©±Ü¦³¤½¥q¡A³õ©Ò¡GSul da Marina Taipa - Sul, Rotunda do Dique Oeste Lote A1, Taipa, Macau.
°êÄy¡G®Ú¾Ú¿Dªùªk¨Ò¦¨¥ß
¬¡°Ê¡G°Ó·~
¥Ó½Ð¤é´Á¡G2009/09/01
ªA°È¡G±Ð¨|¡F´£¨Ñ°ö°V¡F®T¼Ö¡F¤åÅ鬡°Ê¡C
°Ó¼Ðºc¦¨¡G

ÃC¦â¤§n¨D¡Gª÷¦â¡A¦p¹Ï©Ò¥Ü¡C
Àç·~³õ©Ò¤§¦WºÙ¤Î¼Ð»x¤§«OÅ@
®Ú¾Ú¸g¤Q¤G¤ë¤Q¤T¤é²Ä97/99/M¸¹ªk¥O®Ö㤧¡m¤u·~²£Åvªk«ß¨î«×¡n²Ä¤Q±ø¤Î²Ä¤G¦Ê¥|¤Q¤T±ø¤§³W©w¡A¤½¥¬¤U¦C¦b¿Dªù¯S§O¦æ¬F°Ï´£¥XªºÀç·~³õ©Ò¤§¦WºÙ¤Î¼Ð»xµù¥U¥Ó½Ð¡A¨Ã«ö·Ó¬Û¦Pªk³W²Ä¤G¦Ê¥|¤Q¥|±ø¡A¥Ñ³q§i¤½¥¬¤§¤é°_p¨âÓ¤ë´Á¤º´£¥XÁn©ú²§Ä³¡C
Àç·~³õ©Ò¦WºÙ©Î¼Ð»x¤½§G
½s¸¹¡GE/000126
¥Ó½Ð¤H¡G¸¶V°ê»Ú¹«~¦³¤½¥q
¦a§}¡G¿Dªù¶®·G³X¤j°¨¸ô72¸¹Ä_¬ü¦w¤j·H¦a¤UC®y
¬¡°Ê¡G°Ó·~
¥Ó½Ð¤é´Á¡G2009/05/19
¦æ·~Ãþ§O¡G´£¨Ñ¹ª«¤Î¶¼®ÆªA°È¡C
ÃC¦ân¨D¡G¶À¦â¡B¥Õ¦â¡BÂŦâ¡B¦×¦â¡A¦p¹Ï©Ò¥Ü¡C
¦WºÙ/¼Ð»x

½s¸¹¡GE/000129
¥Ó½Ð¤H¡Gª÷±_¶T©ö¦³¤½¥q
¦a§}¡G氹¥J¿c·GY°¨¸ô980¸¹
¬¡°Ê¡G°Ó·~
¥Ó½Ð¤é´Á¡G2009/07/27
¦æ·~Ãþ§O¡GÀ\ÆU¡C
ÃC¦ân¨D¡G¤ì°¸¸²°êÀ\¡ACozinha Pinocchio Comida a Portuguesa ¦rÅ鬰¦Ì¦â¡A¾ðµP©M¤ì°¸¹Ï®×¬°°Ø¦â¡C
¦WºÙ/¼Ð»x

½s¸¹¡GE/000130
¥Ó½Ð¤H¡GMeow Space
¦a§}¡GCalçada da Paz, n.º 14, Edifício Heng Tai Lau, rés-do-chão «G», Macau
¬¡°Ê¡G°Ó·~¤Î¤u·~
¥Ó½Ð¤é´Á¡G2009/08/05
¦æ·~Ãþ§O¡G¶H¤úª««~¤Î¦UÃþÃÀ³N«~ªº¹s°â¡C
ÃC¦ân¨D¡G¦p´£¥æ³õ©Ò¦WºÙ¤Î¼Ð»xªº¶Â¦â¤Î¶À¦â¡]¦âª© 116¡^¡C
¦WºÙ/¼Ð»x

½s¸¹¡GE/000131
¥Ó½Ð¤H¡G¬ü¤ß»æ©±¦³¤½¥q
¦a§}¡G¿Dªù¶Â¨FÀô158¸¹²Ä¤»µó«Â¶¯¤u·~¤¤¤ß14¼ÓA®y
¬¡°Ê¡G°Ó·~¤Î¤u·~
¥Ó½Ð¤é´Á¡G2009/09/01
¦æ·~Ãþ§O¡G³J¿|¡AÄÑ¥]¡A¿|ÂI¤Î¿}ªGªº»s³y¤Î¹s°â©Î§åµo©M¥X¤J¤fªº¤@¯ë°Ó·~¡C
¦WºÙ/¼Ð»x

³]p¤Î·s«¬¤§«OÅ@
®Ú¾Ú¸g¤Q¤G¤ë¤Q¤T¤é²Ä97/99/M¸¹ªk¥O®Ö㤧¡m¤u·~²£Åvªk«ß¨î«×¡n²Ä¤Q¤Î²Ä¤@¦Ê¤»¤Q¤±ø¤§³W©w¡A¤½¥¬¤U¦C¦b¿Dªù¯S§O¦æ¬F°Ï´£¥Xªº³]p¤Î·s«¬µù¥U¥Ó½Ð¡A¨Ã«ö·Ó¬Û¦Pªk³W²Ä¤@¦Ê¤»¤Q¤»±ø¡A¦Û¦¹¤½¥¬¤é°_¦Üµ¹¤©µù¥U¤§¤é¤î¡A¥ô¦ó²Ä¤T¤H§¡±o´£¥XÁn©ú²§Ä³¡C
³]p©Î·s«¬¤½§G
³]p½s¸¹¡GD/000464
¥Ó½Ð¤é´Á¡G2008/05/08
¥Ó½Ð¤H¡GSHUFFLE MASTER, INC.
°êÄy¡G¬ü°ê
¦í§}/¦a§}¡G1106 Palms Airport Drive, Las Vegas, Nevada 89119, U.S.A.
¼ÐÃD¡G³Õ±mÂi±¡C
ºKn¡G³Q¤½¶}ªº¬O¤@ºØ¥Î©ó½ä³õ³Õ±mÂi±ªº¸Ë¹¢³]p¡C¸ÓÂi±¥]¬A¤@ºØªø¤è§Î°Ï°ì¡A¸Ó°Ï°ì¦³¥Î©óÅã¥Ü½Ñ¦p¹CÀ¸¦WºÙªº¸ê°T¥H¤Î¸Ë¹¢³]pªº¸Ë¹¢ª«¡C¸ÓÂi±³]p¥]¬A6Óª±®a°Ï°ì¡A¦Ó¦UÓª±®a°Ï°ì§¡¦³¹CÀ¸¤¸¥ó±µ¦¬½Ñ°Ï°ìªº¸Ë¹¢§G¸m¡C¸Ó³]p¤]¥]¬A¤@ºØµoµP¤H¦ì¸m¡A¦Ó¸Ó¦ì¸m¦³¦UµoµP¤H¹CÀ¸¤¸¥ó±µ¦¬°Ï°ìªº¸Ë¹¢§G¸m¡C¤@ºØ¥Î©ó©ñ¸m¥\¯àÄw½X½Lªº°Ï°ì¥Hµê½uªí¥Ü¡C
¤ÀÃþ¡G6 - 03
| ³Ð§@¤H¡G | Natalie A. Murphy |
| ¡@ | Daymon B. Savage |
| ¡@ | Roger M. Snow |
Àu¥ýÅv¤é´Á¡G2007/11/09
Àu¥ýÅv°ê®a/¦a°Ï¡G¬ü°ê
Àu¥ýÅv½s¸¹¡G29/293,221
ªþ¹Ï

³]p½s¸¹¡GD/000465
¥Ó½Ð¤é´Á¡G2008/05/08
¥Ó½Ð¤H¡GSHUFFLE MASTER, INC.
°êÄy¡G¬ü°ê
¦í§}/¦a§}¡G1106 Palms Airport Drive, Las Vegas, Nevada 89119, U.S.A.
¼ÐÃD¡G³Õ±mÂi±¡C
ºKn¡G³Q¤½¶}ªº¬O¤@ºØ¥Î©ó½ä³õ³Õ±mÂi±ªº¸Ë¹¢³]p¡C¸ÓÂi±¥]¬A¥Î©óÅã¥Ü½Ñ¦p¹CÀ¸¦WºÙªº¸ê°T¥H¤Î¸Ë¹¢³]p¤§¸Ë¹¢ª«¡C¸ÓÂi±³]p¥]¬A6Óª±®a°Ï°ì¡A¦Ó¦UÓª±®a°Ï°ì§¡¦³¦U¹CÀ¸¤¸¥ó±µ¦¬°Ï°ìªº¸Ë¹¢§G¸m¡C¤@ºØ¥Î©ó©ñ¸m¥\¯àÄw½X½Lªº°Ï°ì¥Hµê½uªí¥Ü¡C
¤ÀÃþ¡G6 - 03
| ³Ð§@¤H¡G | Kirsten A. Clark |
| ¡@ | Roger M. Snow |
| ¡@ | Mark L. Yoseloff |
Àu¥ýÅv¤é´Á¡G2007/11/09
Àu¥ýÅv°ê®a/¦a°Ï¡G¬ü°ê
Àu¥ýÅv½s¸¹¡G29/293,222
ªþ¹Ï

³]p½s¸¹¡GD/000518
¥Ó½Ð¤é´Á¡G2008/10/30
¥Ó½Ð¤H¡GHISAMITSU PHARMACEUTICAL CO., INC.
°êÄy¡G¤é¥»
¦í§}/¦a§}¡G408, Tashirodaikan-machi, Tosu-shi, Saga 841-0017, Japan
¼ÐÃD¡G¥]¸Ë¡]¥]¸Ë²°¡^¡C
ºKn¡Geste artigo é uma embalagem (caixa para empacotamento) para um «pack» cosmético para o rosto ou algo semelhante.
¤ÀÃþ¡G9 - 03
| ³Ð§@¤H¡G | Shigeo KUSUMI |
| ¡@ | Homare KAMEKURA |
| ¡@ | Megumi HIROSE |
Àu¥ýÅv¤é´Á¡G2008/09/19
Àu¥ýÅv°ê®a/¦a°Ï¡G¤é¥»
Àu¥ýÅv½s¸¹¡G2008-024138
ªþ¹Ï

³]p½s¸¹¡GD/000519
¥Ó½Ð¤é´Á¡G2008/11/06
¥Ó½Ð¤H¡Gªü¾|µ¦®è¦¡·|ªÀ
°êÄy¡G¤é¥»
¦í§}/¦a§}¡G¤é¥»ªF¨Ê³£¦¿ªF°Ï¦³©ú3¤B¥Ø1µf¦a25
¼ÐÃD¡G¹CÀ¸¾÷¡C
ºKn¡G¾A¥Î¥»¥DÃD¥Ó½Ð¥~Æ[³]pªº²£«~¬O¤@Ãþ¹CÀ¸¾÷¡A¦pªþ¹Ï©Ò¥Ü¡A¨Ò¦p¡A¦b¡§¹Ï12¥»³Ð§@¤§¨Ï¥Îª¬ºA¤Uªº²Ä¤@°Ñ¦Ò¹Ï¡¨©M¡§¹Ï13¥»³Ð§@¤§¨ä¥L¨Ï¥Îª¬ºA¤Uªº²Ä¤G°Ñ¦Ò¹Ï¡¨¤¤¡A³q¹L³s±µY¤z¿W¥ß¹CÀ¸¾÷¡]¾Þ§@³¡¥ó¡^µ¥¨Ó¾A¥Î¥»¥DÃD¥~Æ[³]p¥Ó½Ð¡C¾aªñ¤W¥b³¡¤Àªº³¡¤À¥Ñ³z©ú§÷®Æºc¦¨¡A¹CÀ¸ªÌ¯à°÷³q¹LµøÄ±½T»{¹CÀ¸ª¬ºA¡]°Ñ¨£°Ñ¦Ò³zµø¹Ï¡^¡C
¤ÀÃþ¡G21 - 03
| ³Ð§@¤H¡G | ©£³¡ õ¤Ò |
| ¡@ | ¦õ¦õ¤ì ªÚ´¼ |
Àu¥ýÅv¤é´Á¡G2008/09/24
Àu¥ýÅv°ê®a/¦a°Ï¡G¤é¥»
Àu¥ýÅv½s¸¹¡G2008-024427
ªþ¹Ï

³]p½s¸¹¡GD/000520
¥Ó½Ð¤é´Á¡G2008/11/06
¥Ó½Ð¤H¡Gªü¾|µ¦®è¦¡·|ªÀ
°êÄy¡G¤é¥»
¦í§}/¦a§}¡G¤é¥»ªF¨Ê³£¦¿ªF°Ï¦³©ú3¤B¥Ø1µf¦a25
¼ÐÃD¡G¹CÀ¸¾÷¡C
ºKn¡G¾A¥Î¥»¥DÃD¥Ó½Ð¥~Æ[³]pªº²£«~¬O¤@Ãþ¹CÀ¸¾÷¡A¦pªþ¹Ï©Ò¥Ü¡A¨Ò¦p¡A¦b¡§¹Ï9¥»³Ð§@¤§¨Ï¥Îª¬ºA¤Uªº²Ä¤@°Ñ¦Ò¹Ï¡¨©M¡§¹Ï10¥»³Ð§@¤§¨ä¥L¨Ï¥Îª¬ºA¤Uªº²Ä¤G°Ñ¦Ò¹Ï¡¨¤¤¡A³q¹L³s±µ¨ä¥L¹CÀ¸¾÷µ¥¨Ó¨Ï¥Î¥»¥DÃD¥Ó½Ð¥~Æ[³]p¡C¨Ã¥B¡A¥»¥DÃD¥Ó½Ð¥~Æ[³]p¤]¯à°÷³Q¥Î§@©ó¹CÀ¸ªº³æÓ³æ¤¸¡C
¤ÀÃþ¡G21 - 03
| ³Ð§@¤H¡G | ©£³¡ õ¤Ò |
| ¡@ | ²M¤ô ®Ì |
Àu¥ýÅv¤é´Á¡G2008/09/24
Àu¥ýÅv°ê®a/¦a°Ï¡G¤é¥»
Àu¥ýÅv½s¸¹¡G2008-024428
ªþ¹Ï

³]p½s¸¹¡GD/000521
¥Ó½Ð¤é´Á¡G2008/11/06
¥Ó½Ð¤H¡Gªü¾|µ¦®è¦¡·|ªÀ
°êÄy¡G¤é¥»
¦í§}/¦a§}¡G¤é¥»ªF¨Ê³£¦¿ªF°Ï¦³©ú3¤B¥Ø1µf¦a25
¼ÐÃD¡G¹CÀ¸¾÷¡C
ºKn¡G¾A¥Î¥»¥DÃD¥Ó½Ð¥~Æ[³]pªº²£«~¬O¤@Ãþ¹CÀ¸¾÷¡A¦pªþ¹Ï©Ò¥Ü¡A¨Ò¦p¡A¦b¡§¹Ï9¥»³Ð§@¤§¨Ï¥Îª¬ºA¤Uªº²Ä¤@°Ñ¦Ò¹Ï¡¨©M¡§¹Ï10¥»³Ð§@¤§¨ä¥L¨Ï¥Îª¬ºA¤Uªº²Ä¤G°Ñ¦Ò¹Ï¡¨¤¤¡A³q¹L³s±µ¨ä¥L¹CÀ¸¾÷µ¥¨Ó¨Ï¥Î¥»¥DÃD¥Ó½Ð¥~Æ[³]p¡C¨Ã¥B¡A¥»¥DÃD¥Ó½Ð¥~Æ[³]p¤]¯à°÷³Q¥Î§@¥Î©ó¹CÀ¸ªº³æÓ³æ¤¸¡C
¤ÀÃþ¡G21 - 03
| ³Ð§@¤H¡G | ©£³¡ õ¤Ò |
| ¡@ | ²M¤ô ®Ì |
Àu¥ýÅv¤é´Á¡G2008/09/24
Àu¥ýÅv°ê®a/¦a°Ï¡G¤é¥»
Àu¥ýÅv½s¸¹¡G2008-024429
ªþ¹Ï

³]p½s¸¹¡GD/000536
¥Ó½Ð¤é´Á¡G2009/02/26
¥Ó½Ð¤H¡GVogel¡¦s Holding B.V.
°êÄy¡G²üÄõ
¦í§}/¦a§}¡GHondsruglaan 93, 5628 DB Eindhoven, The Netherlands
¼ÐÃD¡GµÅT¸Ë¸m¤ä¬[¡C
ºKn¡GEste artigo é um suporte para aparelhos audiovisuais, especialmente ecrãs de TV.
¤ÀÃþ¡G14 - 99
³Ð§@¤H¡GEwald van Kuijk
Àu¥ýÅv¤é´Á¡G2008/08/26
Àu¥ýÅv°ê®a/¦a°Ï¡G¼Ú¬wÁp·ù
Àu¥ýÅv½s¸¹¡G001003206
ªþ¹Ï

³]p½s¸¹¡GD/000537
¥Ó½Ð¤é´Á¡G2009/02/26
¥Ó½Ð¤H¡GVogel¡¦s Holding B.V.
°êÄy¡G²üÄõ
¦í§}/¦a§}¡GHondsruglaan 93, 5628 DB Eindhoven, The Netherlands
¼ÐÃD¡GµÅT¸Ë¸m¤ä¬[¡C
ºKn¡GEste artigo é um suporte para aparelhos audiovisuais, especialmente ecrãs de TV.
¤ÀÃþ¡G14 - 99
³Ð§@¤H¡GEwald van Kuijk
Àu¥ýÅv¤é´Á¡G2008/08/26
Àu¥ýÅv°ê®a/¦a°Ï¡G¼Ú¬wÁp·ù
Àu¥ýÅv½s¸¹¡G001003206
ªþ¹Ï

³]p½s¸¹¡GD/000538
¥Ó½Ð¤é´Á¡G2009/03/05
¥Ó½Ð¤H¡GSHUFFLE MASTER, INC.
°êÄy¡G¬ü°ê
¦í§}/¦a§}¡G1106 Palms Airport Drive, Las Vegas, Nevada 89119, U.S.A.
¼ÐÃD¡GµoµP¾¹¡C
ºKn¡GÉ revelado um desenho ornamental de um «sapato» para entrega de cartas. O «sapato» para a entrega de cartas é alongado, e inclui um cartucho que é removível de uma base. O cartucho tem uma tampa alongada dividida em dois segmentos, cada segmento separado por uma linha divisória com uma forma decorativa. A base tem uma extremidade para a entrega de cartas frontal curva, inclinada e um recesso alongado e substancialmente rectangular para aceitar o cartucho. Na extremidade da base oposta à extremidade para a entrega das cartas e aproximadamente central em relação a essa extremidade existe uma projecção afilada que se estende horizontalmente para fora para além dessa extremidade. A base tem superfícies laterais superiores alongadas que são curvadas e estão elevadas por baixo da tampa alongada do cartucho rectangular, formando «degraus» com o cartucho. Numa extremidade frontal de cada lado alongado existe uma superfície de rampa inclinada que termina ao longo de uma superfície superior da extremidade de entrega.
¤ÀÃþ¡G21 - 03
³Ð§@¤H¡GPaul K. Scheper
Attila Grauzer
Àu¥ýÅv¤é´Á¡G2008/09/05
Àu¥ýÅv°ê®a/¦a°Ï¡G¬ü°ê
Àu¥ýÅv½s¸¹¡G29/310,722
ªþ¹Ï

³]p½s¸¹¡GD/000539
¥Ó½Ð¤é´Á¡G2009/03/17
¥Ó½Ð¤H¡GDe Beers Centenary AG
°êÄy¡G·ç¤h
¦í§}/¦a§}¡GAlpenstrasse 5, 6000 Luzern 6, Switzerland
¼ÐÃD¡G³S¤f¶s¡C
ºKn¡GUm fio individual de ouro com uma secção circular cria uma laçada que está dobrada sobre si própria. A laçada é segura por uma segunda laçada feita de fio de ouro com uma secção circular. A mola do fecho dos botões de punho é formada por um fecho semi-trabalhado standard.
A parte da mola poderia ser mudada de acordo com os requisitos do fabricante.
¤ÀÃþ¡G11 - 01
³Ð§@¤H¡GCostantino Papadimitriou
Àu¥ýÅv¤é´Á¡G2008/09/18
Àu¥ýÅv°ê®a/¦a°Ï¡G¼Ú¬wÁp·ù
Àu¥ýÅv½s¸¹¡G001005441
ªþ¹Ï

³]p½s¸¹¡GD/000540
¥Ó½Ð¤é´Á¡G2009/03/17
¥Ó½Ð¤H¡GDe Beers Centenary AG
°êÄy¡G·ç¤h
¦í§}/¦a§}¡GAlpenstrasse 5, 6000 Luzern 6, Switzerland
¼ÐÃD¡G¦ÕÀô¡C
ºKn¡GHá diversos elementos que nos permitem considerar a armação dos brincos uma peça única.
O pino sob a armação é um elemento não visto anteriormente em nenhuma jóia e está estritamente ligado ao ícone do nosso logótipo.
Os vértices do ícone estão alinhados com a projecção das garras: isto realça a ideia de uma projecção do ícone.
Também o formato dos lados da armação lembra uma metade do pino.
O formato da ponta de cada uma das garras é triangular. Este formato caracteriza o formato das partes individuais da armação que também têm uma secção triangular lisa.
¤ÀÃþ¡G11 - 01
³Ð§@¤H¡GCostantino Papadimitriou
Àu¥ýÅv¤é´Á¡G2008/09/18
Àu¥ýÅv°ê®a/¦a°Ï¡G¼Ú¬wÁp·ù
Àu¥ýÅv½s¸¹¡G001005441
ªþ¹Ï

³]p½s¸¹¡GD/000541
¥Ó½Ð¤é´Á¡G2009/03/17
¥Ó½Ð¤H¡GDe Beers Centenary AG
°êÄy¡G·ç¤h
¦í§}/¦a§}¡GAlpenstrasse 5, 6000 Luzern 6, Switzerland
¼ÐÃD¡G¦Q¼Y¡C
ºKn¡GHá diversos elementos que nos permitem considerar a armação do pendente uma peça única.
O pino sob a armação é um elemento não visto anteriormente em nenhuma jóia e está estritamente ligado ao ícone do nosso logótipo.
Os vértices do ícone estão alinhados com a projecção das garras: isto realça a ideia de uma projecção do ícone.
Também o formato dos lados da armação lembra uma metade do pino.
O formato da ponta de cada uma das garras é triangular. Este formato caracteriza o formato das partes individuais da armação que também têm uma secção triangular lisa.
¤ÀÃþ¡G11 - 01
³Ð§@¤H¡GCostantino Papadimitriou
Àu¥ýÅv¤é´Á¡G2008/09/18
Àu¥ýÅv°ê®a/¦a°Ï¡G¼Ú¬wÁp·ù
Àu¥ýÅv½s¸¹¡G001005441
ªþ¹Ï

³]p½s¸¹¡GD/000542
¥Ó½Ð¤é´Á¡G2009/03/17
¥Ó½Ð¤H¡GDe Beers Centenary AG
°êÄy¡G·ç¤h
¦í§}/¦a§}¡GAlpenstrasse 5, 6000 Luzern 6, Switzerland
¼ÐÃD¡G«üÀô¡C
ºKn¡GEste modelo é baseado numa sucessão de módulos.
Cada módulo tem em cada ponta um buraco que permite cada módulo ser enfiado no seguinte. Desta maneira cada módulo é também flexível permitindo curvar-se de modo a quem esse módulo possa tomar o formato duma pulseira.
¤ÀÃþ¡G11 - 01
³Ð§@¤H¡GCostantino Papadimitriou
Àu¥ýÅv¤é´Á¡G2008/09/18
Àu¥ýÅv°ê®a/¦a°Ï¡G¼Ú¬wÁp·ù
Àu¥ýÅv½s¸¹¡G001005441
ªþ¹Ï

³]p½s¸¹¡GD/000543
¥Ó½Ð¤é´Á¡G2009/03/17
¥Ó½Ð¤H¡GDe Beers Centenary AG
°êÄy¡G·ç¤h
¦í§}/¦a§}¡GAlpenstrasse 5, 6000 Luzern 6, Switzerland
¼ÐÃD¡GÀVÁå¡C
ºKn¡GO modelo é baseado numa sucessão de módulos. Cada módulo tem em cada ponta um buraco que permite cada módulo ser enfiado no seguinte. Desta maneira cada módulo é também flexível permitindo curvar-se de modo a quem esse módulo possa tomar o formato dum colar. O fecho do colar é criado por um fecho standard semi-acabado.
A distância entre cada módulo poderia ser mudada para limitar a quantidade de diamantes.
¤ÀÃþ¡G11 - 01
³Ð§@¤H¡GCostantino Papadimitriou
Àu¥ýÅv¤é´Á¡G2008/09/18
Àu¥ýÅv°ê®a/¦a°Ï¡G¼Ú¬wÁp·ù
Àu¥ýÅv½s¸¹¡G001005441
ªþ¹Ï

³]p½s¸¹¡GD/000545
¥Ó½Ð¤é´Á¡G2009/03/31
¥Ó½Ð¤H¡GCAVAGNA GROUP S.p.A.
°êÄy¡G·N¤j§Q
¦í§}/¦a§}¡GVia Statale, 11/13-25010 Ponte San Marco di Calcinato (BS) - Italy
¼ÐÃD¡G´îÀ£¾¹¡C
ºKn¡Ga novidade do desenho reside nas características da forma e da configuração do artigo como se mostra nas representações.
¤ÀÃþ¡G23 - 01
³Ð§@¤H¡GBernard SCHLICK
Àu¥ýÅv¤é´Á¡G2008/10/03
Àu¥ýÅv°ê®a/¦a°Ï¡G¼Ú¬wÁp·ù
Àu¥ýÅv½s¸¹¡G001014138
ªþ¹Ï

³]p½s¸¹¡GD/000546
¥Ó½Ð¤é´Á¡G2009/03/31
¥Ó½Ð¤H¡GCAVAGNA GROUP S.p.A.
°êÄy¡G·N¤j§Q
¦í§}/¦a§}¡GVia Statale, 11/13-25010 Ponte San Marco di Calcinato (BS) - Italy
¼ÐÃD¡G´îÀ£¾¹¡C
ºKn¡Ga novidade do desenho reside nas características da forma e da configuração do artigo como se mostra nas representações.
¤ÀÃþ¡G23 - 01
³Ð§@¤H¡GBernard SCHLICK
Àu¥ýÅv¤é´Á¡G2008/10/03
Àu¥ýÅv°ê®a/¦a°Ï¡G¼Ú¬wÁp·ù
Àu¥ýÅv½s¸¹¡G001014138
ªþ¹Ï

±ÂÅvªºµo©ú±M§Q¤§©µ¦ù
®Ú¾Ú¸g¤Q¤G¤ë¤Q¤T¤é²Ä97/99/M¸¹ªk¥O®Ö㤧¡m¤u·~²£Åvªk«ß¨î«×¡n²Ä¤Q±ø¤Î²Ä¤@¦Ê¤G¤Q¤E¦Ü¤@¦Ê¤T¤Q¤±ø¤§³W©w¡Aµ²¦X¡m°ê®aª¾ÃѲ£Åv§½»P¿Dªù¯S§O¦æ¬F°Ï¸gÀÙ§½Ãö©ó¦bª¾ÃѲ£Åv»â°ì¦X§@ªº¨óij¡n²Ä¥|±ø¤Î²Ä¤±ø¤§³W©w¡A¤½§G¤U¦C±ÂÅvªºµo©ú±M§Q¥Ó½Ð¤§©µ¦ù¡C
±ÂÅvªºµo©ú±M§Q¤§©µ¦ù
½s¸¹¡GJ/000353
©µ¦ù¥Ó½Ð¤é´Á¡G2009/07/09
©µ¦ù§å¥Ü¤é´Á¡G2009/09/01
¥Ó½Ð¤H¡G¼¯¦«Ã¹©Ô¤½¥q
°êÄy¡G¬ü°ê
¦í§}/¦a§}¡G1303 E. Algonquin Road, Schaumburg, Illinois 60196, USA
¼ÐÃD¡G¨ã¦³´O¤J¦¡¤¸¥óªº¹q¸ôªO¤Î»s³y¤èªk¡C
ºKn¡G¤@ºØÅ¨©³²Õ¥ó¡]10¡^¤Î¨ä»s³y¤èªk¡A¨ã¦³¦Ü¤Ö¤@Ó¦bŨ©³®Ö¡]22¡^ ªº¤Õ¡]24¡^¤¤ªº´O¤J¦¡¤¸¥ó¡]25¡^¡A¨Ã¥B¥]¬A³s±µ¦Ü¸ÓŨ©³®Öªº²Ä¤@ªþµÛ¼h¡]20¡^¡A©M¦b¸ÓŨ©³®Öªº¦Ü¤Ö³¡¤À³»³¡ªí±¤W©M³¡¤À¸Ó´O¤J¦¡¤¸¥ó¤Wªº²Ä¤GªþµÛ¼h¡]26¡^¡C¸ÓŨ©³²Õ¥óÁÙ¥i¥]¬AªþµÛ¦Ü¸ÓŨ©³®Ö©³³¡ªí±ªº²Ä¤@¶Ç¾É¼h¡]18¡^©M¦b¸Ó²Ä¤GªþµÛ¼h¤Wªº²Ä¤G¶Ç¾É¼h¡]28¡^¡C¸ÓŨ©³²Õ¥óÁÙ¥i¥]¬A¸Ó´O¤J¦¡¤¸¥ó¶Ç¾Éªí±©M¸Ó²Ä¤@¶Ç¾É¼h»P¸Ó²Ä¤G¶Ç¾É¼h¤¤¦Ü¤Ö¤@Ó¶¡ªº¤¬³s¡]36¡^¡C¸Ó¤¬³s¥i³q¹L¦Ü¤ÖÁ{®É¼ÉÅS¸Ó´O¤J¦¡¤¸¥óªº¦Ü¤Ö¤@Ó¶Ç¾Éªí±¡]32¡^ªº¶}¤Õ¡]34¡^¦Ó§Î¦¨¡C
¤º¦a¥Ó½Ð¤é¡G2004/07/20
¤º¦a±M§Q¸¹¡G200480020331.6
¤º¦a¤½¶}¤é¡G2006/08/23
¤º¦a¤½§i¤é¡G2009/05/20
¤º¦a¤½§i¸¹¡GCN 100490611C
¤ÀÃþ¡GH05K3/36, H05K3/30, H01K3/10, H05K7/10
| µo©ú¤H¡G | ¸â©i¤h¡DA¡D¦õ¬¥ |
| ¡@ | ¬ù¿«¡DK¡Dªü§Q©_ |
| ¡@ | ¬ù¿«¡DC¡D¤ÚÀs |
| ¡@ | ¥[¨½¡DR¡D¥¬º¸º~´µ |
| ¡@ | ¬ù¿«¡DÀN§Q |
| ¡@ | ¦ë§Q¡DF¡D§Q¥¬°Ò |
Àu¥ýÅv¤é´Á¡G2003/07/24
Àu¥ýÅv°ê®a/¦a°Ï¡G¬ü°ê
Àu¥ýÅv½s¸¹¡G10/626,058
ªþ¹Ï

½s¸¹¡GJ/000355
©µ¦ù¥Ó½Ð¤é´Á¡G2009/07/22
©µ¦ù§å¥Ü¤é´Á¡G2009/09/01
¥Ó½Ð¤H¡G¦ã¤¦¥§§J´µ¡]¶}°Ò¡^¦³¤½¥q
°êÄy¡G^°ê
¦í§}/¦a§}¡Gc/o Walkers SPV Limited, Box 908-GT, Walker House, 265 Mary Street, Grand Cayman, Cayman Islands
¥Ó½Ð¤H¡Gªk°ê°ê®a¬ì¾Ç¬ã¨s¤¤¤ß
°êÄy¡Gªk°ê
¦í§}/¦a§}¡G3, rue Michel-Ange, Cedex 16, F-75794 Paris, France
¥Ó½Ð¤H¡G»X©¼§Q®J²Ä¤G¤j¾Ç
°êÄy¡Gªk°ê
¦í§}/¦a§}¡G2 place Eugene Bataillon 34095, Montpellier 5, France
¼ÐÃD¡G¥Î©óªvÀø¤A«¬¨xª¢ªº£]¡ÐL¡Ð2¡¦¡Ð²æ®ñ¡Ð®Ö苷¡C
ºKn¡G¥»µo©ú¯A¤ÎªvÀø±J¥D¤A«¬¨xª¢·P¬Vªº¤èªk¡A¸Ó¤èªk¥]¬A¬I¥Î¦³®Ä¶qªº¡B¨ã¦³§Ü¡ÐHBV¥Íª«¬¡©Êªº2¡¦¡Ð²æ®ñ¡Ð£]¡ÐL¡Ð¨ª¦¡¡Ð呋³ä¥³¿}®Ö苷©Î¨äÃľǤW¥i±µ¨üªºÆQ©Î¨ä«eÃÄ¡A¨ä¤¤ªº2¡¦¡Ð²æ®ñ¡Ð£]¡ÐL¡Ð¨ª¦¡¡Ð 呋³ä¥³¿}®Ö苷¨ã¦³¦¡¡]I¡^µ²ºc¡A¨ä¤¤R¿ï¦Û°ò¹ÎH¡Aª½Ãì¡B¤äÃì©ÎÀôª¬ªºÖJ°ò¡ACO¡ÐÖJ°ò¡ACO¡ÐªÚ°ò¡ACO¡ÐÖJ®ñÖJ°ò¡ACO¡ÐªÚ®ñ°òÖJ°ò¡ACO¡Ð¨ú¥NªºªÚ°ò¡AÖJ°òÁD酰°ò¡AªÚ°òÁD 酰°ò¡AªÚÖJ°òÁD酰°ò¡A®ò°ò»Ä´Ý°ò¡A¤@¡B¤G©Î¤TÁC»Äà¡A©ÎÁC»Äàl¥Íª«¡F¥H¤ÎBASE¬OáIËï©ÎáGÔr碱°ò¡A¥¦Ì¥i¿ï¾Ü¦a³Q¨ú¥N¡C2¡¦¡Ð²æ®ñ¡Ð£]¡ÐL¡Ð¨ª¦¡¡Ð呋³ä¥³¿}®Ö苷©Î¨äÃľǤW¥i±µ¨üªºÆQ©Î¨ä«eÃÄ¥i³æ¿Wµ¹ÃÄ¡A¤]¥i¥H ©M¨ä¥Lªº2¡¦¡Ð²æ®ñ¡Ð£]¡ÐL¡Ð¨ª¦¡¡Ð呋³ä¥³¿}®Ö苷µ²¦X¥ÎÃÄ¡A©Î»P¨ä¥L§Ü¤A«¬¨xª¢Ãľ¯µ²¦X¥ÎÃÄ¡C
¤º¦a¥Ó½Ð¤é¡G1999/08/10
¤º¦a±M§Q¸¹¡G02126573.9
¤º¦a¤½¶}¤é¡G2004/03/03
¤º¦a¤½§i¤é¡G2009/04/29
¤º¦a¤½§i¸¹¡GCN 100482236C
¤ÀÃþ¡GA61K31/706, A61P1/16, A61P31/12
| µo©ú¤H¡G | ¦Nº¸´µ¡D®æ¯ÁªL |
| ¡@ | Åý¡Ð¸ô©ö´µ¡D¥ì©i¤Ú§J |
| ¡@ | °¨¤B¡DL¡D¥¬Äõ¯S |
Àu¥ýÅv¤é´Á¡G1998/08/10
Àu¥ýÅv°ê®a/¦a°Ï¡G¬ü°ê
Àu¥ýÅv½s¸¹¡G60/096,110
Àu¥ýÅv¤é´Á¡G1999/04/28
Àu¥ýÅv°ê®a/¦a°Ï¡G¬ü°ê
Àu¥ýÅv½s¸¹¡G60/131,352
ªþ¹Ï

½s¸¹¡GJ/000356
©µ¦ù¥Ó½Ð¤é´Á¡G2009/07/24
©µ¦ù§å¥Ü¤é´Á¡G2009/09/01
¥Ó½Ð¤H¡G½÷·ç°·±d¤½¥q
°êÄy¡G·ç¨å
¦í§}/¦a§}¡GLindhagensgatan 133, Stockholm, SE-112 87, Sweden
¼ÐÃD¡G·s¿o¤Æ¦Xª«¡A¨ä¥Î³~¤Î»sªk¡C
ºKn¡G¥»µo©ú¤½¶}¤F¦¡Iªº·s¿o¤Æ¦Xª«¡A¤Î¨ä»P¥Í²z¤W¥i±µ¨üªº»Ä©Ò§Î¦¨ªºÆQ¡G¨ä¤¤R1¡BR2¡BR3¡BR4¡BR5¡BR6¡BR7©MAr¦PÅv§Qn¨D1¤¤©Ò©w¸q¡A·í¦¹¤Æ¦Xª«¥i¥H±Û¥ú²§ºcÅé§Î¦¡¦s¦b®É¡A©Òz¤Æ¦Xª«ªº®ø±Û²V¦Xª«¤Î³æÓ¹ï¬M²§ºcÅé¡C¦¹¤Æ¦Xª«¨ã¦³§ÜÁx 碱¯àªº¬¡©Ê¡A¥»µo©ú¯A¤Î¤F§@¬°ªvÀø¬¡©Êª«½èªº¦¡I¤Æ¦Xª«¡A§t¦³¦¡I¤Æ¦Xª«ªºÃĪ«²Õ¦Xª«¡A¦¡I¤Æ¦Xª«¦b»s³Æ§ÜÁx碱¯àÃĪ«¤Wªº¥Î³~¡A¦¡I¤Æ¦Xª«¦bªvÀø§¿¥¢¸T¤Wªº¥Î³~¥H¤Î»s³Æ¦¡I¤Æ¦Xª«ªº¤èªk¡C
¤º¦a¥Ó½Ð¤é¡G1998/03/26
¤º¦a±M§Q¸¹¡G200410095276.9
¤º¦a¤½¶}¤é¡G2005/07/13
¤º¦a¤½§i¤é¡G2009/04/29
¤º¦a¤½§i¸¹¡GCN 100482635C
¤ÀÃþ¡GC07C215/54, C07C217/62, C07C211/06, C07C237/30, C07D333/20, A61K31/137, A61K31/165, A61K31/381, A61P13/00
| µo©ú¤H¡G | R¡D¬ù¿«´Ë |
| ¡@ | M¡D«¢©Ô¼w´Ë |
| ¡@ | E¡DªL§B®æ |
| ¡@ | J¡D¥Ë§B®æ |
| ¡@ | K¡D¨©º¸¹p®¦ |
| ¡@ | R¡D¦ã»X¼w |
| ¡@ | B¡D´µ³ì§B®æ |
Àu¥ýÅv¤é´Á¡G1997/03/27
Àu¥ýÅv°ê®a/¦a°Ï¡G·ç¨å
Àu¥ýÅv½s¸¹¡G9701144-9
ªþ¹Ï

½s¸¹¡GJ/000357
©µ¦ù¥Ó½Ð¤é´Á¡G2009/07/24
©µ¦ù§å¥Ü¤é´Á¡G2009/09/01
¥Ó½Ð¤H¡G¥ìµÜ§Q§Q¤½¥q
°êÄy¡G¬ü°ê
¦í§}/¦a§}¡GLilly Corporate Center, Indianapolis, IN 46285, USA
¼ÐÃD¡G«ú§Ü©Ê§Ü¡ÐhTNFSF13b¤H§ÜÅé¡C
ºKn¡G¥»µo©ú¤½¶}¤F¯S²§©Êµ²¦XTNFSF13b¦h肽ªº¤H³æ§J¶©§ÜÅé¡C³o¨Ç§ÜÅé¹ïhTNFSF13b¨ã¦³°ª¿Ë©M©Ê¡]¨Ò¦p¡AKD=10-8M
©Î§ó§C¡^¡A¦ÛTNFSF13b¸ÑÂ÷ªº³t²vºC¡]¨Ò¦p¡AKoff=10-3sec-1©Î§ó§C¡^¡A¨Ã¥B¥i¥HÅé¥~¤ÎÅ餺¤¤©MTNFSF13bªº¬¡©Ê¡C¦b¨ä¤¤¤@Ó¹ê¬I¤è®×¤¤¡A¥»µo©úªº§ÜÅé¥Î©ó§í¨î¤HÃþ³Q¸ÕªÌ¤¤ªºTNFSF13b¬¡©Ê¡A©Òz³Q¸ÕªÌ±w¦³¨ä¤¤hTNFSF13b¬¡©Ê¦³®`ªº¯e¯f¡C¥»µo©úÁÙ¥]¬A½s½X¥»µo©ú§ÜÅ骺®Ö»Ä¡A¥H¤Î¥Î©óªí¹F¥¦Ìªº¸üÅé©M±J¥D²ÓM¡C
¤º¦a¥Ó½Ð¤é¡G2002/08/15
¤º¦a±M§Q¸¹¡G02815921.7
¤º¦a¤½¶}¤é¡G2004/10/27
¤º¦a¤½§i¤é¡G2009/06/10
¤º¦a¤½§i¸¹¡GCN 100497392C
¤ÀÃþ¡GC07K16/24, C12N15/14, C12N15/63, A61K39/395, A61P1/00, A61P1/04, A61P11/06, A61P15/08, A61P17/06, A61P19/02, A61P31/00, A61P33/00, A61P35/00, A61P37/06
| µo©ú¤H¡G | V¡DP¡D®æº¸ªk¿Õ¥Ë |
| ¡@ | J¡DE¡D«¢°Ç |
| ¡@ | K¡DK¡D°ò§J§Q |
| ¡@ | D¡DR¡Dºû¹ýº¸ |
| ¡@ | R¡D©Ô´µ¯Ç¬d©Ô©i |
Àu¥ýÅv¤é´Á¡G2001/08/16
Àu¥ýÅv°ê®a/¦a°Ï¡G¬ü°ê
Àu¥ýÅv½s¸¹¡G60/312,808
½s¸¹¡GJ/000358
©µ¦ù¥Ó½Ð¤é´Á¡G2009/07/27
©µ¦ù§å¥Ü¤é´Á¡G2009/09/01
¥Ó½Ð¤H¡Gªü¾|µ¦®è¦¡·|ªÀ
°êÄy¡G¤é¥»
¦í§}/¦a§}¡G3-1-25 Ariake, Koto-ku, Tokyo 135-0063, Japan
¼ÐÃD¡G¼ö¹qÂà´«¾¹¡C
ºKn¡G¥»µo©ú´£¨Ñ¤F¤@ºØ¼ö¹qÂà´«¾¹¡A¨ä¸Ñ¨M¤F¥Ñ©ó¥b¾ÉÅ骺¤£§¡¤Ã¯S©Ê¤Þ°_ªºÂà´«®Ä²vªº°§C©M¥Ñ©ó¦U¼ö¹qÂà´«¾¹¤§¶¡ªº¼ö¿±µÈ¨t¼Æ¤Þ°_ªº¨CÓ¤¸¥ó³æ¤¸©M¹q·¥¤§¶¡ªºªþµÛ±j«×ªº°§C¡C¥t¥~¡A³q¹L×§ï³æÓ¸Ë¸mªºµ²ºc¦Ó¥´ºâ§ïµ½¹q¼öÂà´«®Ä²v¡C³æÓ¤¸¥ó³æ¤¸¡]13¡^³Q³]¸m¦b¼ö¹qÂà´«¾¹¡]10¡^ªºªO¡]5¡B12¡^¤W¡A¨ä¤¤³æÓ¤¸¥ó³æ¤¸¡]13¡^¥Ñ¿Nµ²Å鳿¤¸ºc¦¨ªº¬Û¦PÃþ«¬ªº¥b¾ÉÅé»s¦¨¡A¨CÓ¿Nµ²Å鳿¤¸¥]§tª÷Äݤ¸¯À®ñ¤Æª«¡Bµ}¤g¤¸¯À®ñ¤Æª«©M¿ø¡C½¤ª¬ªºÁ¡½¤¹q·¥³Q³]¸m¦b§N«o©M¥[¼öªí±¤W¡A¥H«K»P¿Nµ²Å鳿¤¸¦¨¬°¤@Åé¡C¦b³o¨Ç°¼¡A¤Þ½u¡]16¡^³Q©¼¦¹¦êÁp³s±µ¡C
¤º¦a¥Ó½Ð¤é¡G2005/06/16
¤º¦a±M§Q¸¹¡G200580020331.0
¤º¦a¤½¶}¤é¡G2007/05/23
¤º¦a¤½§i¤é¡G2009/07/01
¤º¦a¤½§i¸¹¡GCN 100508232C
¤ÀÃþ¡GH01L35/32, H01L35/22
µo©ú¤H¡G°ª¾ôùÚ
Àu¥ýÅv¤é´Á¡G2004/06/22
Àu¥ýÅv°ê®a/¦a°Ï¡G¤é¥»
Àu¥ýÅv½s¸¹¡G183998/2004
ªþ¹Ï

½s¸¹¡GJ/000359
©µ¦ù¥Ó½Ð¤é´Á¡G2009/07/27
©µ¦ù§å¥Ü¤é´Á¡G2009/09/01
¥Ó½Ð¤H¡G²ï©Ô§õ¤½¥q
°êÄy¡G²üÄõ
¦í§}/¦a§}¡GKeulsekade 143 3532 AA Utrecht, The Netherlands
¼ÐÃD¡G¤À°t¾¹¡C
ºKn¡G¤@ºØ¥Î©ó¤À°tÂH¸Y²GÅ骺¤À°t¾¹¡A¥]¬A¡G¥Î©ó®e¯ÇÂH¸Y²GÅ骺®e¾¹¡F»P¸Ó®e¾¹¬Û³sªº°t¦X¥ó¡F¥H¤Î¥Ñ°t¦X¥ó¨îªººu¤l¡]6¡^¡A¸Óºu¤l±q°t¦X¥ó³¡¤À¦a¬ð¥X¡A¨ä¤¤¡A¦b¾Þ§@¤¤¡A°t¦X¥ó»Pºu¤l¤§¶¡¦s¦b·L¤p¶¡»Ø¡A¨Ï²GÅé¯à°÷±qºu¤lªº´Â¤ºªº³¡¤À³Q¨ú¥Î¡A¥B³q¹Lºu¤lªººu°Ê¡A²GÅé¯à°÷³Q¶Ç»¼¨ì¥~±±q¦Ó³Q¤À°t¡C®Ú¾Ú¥»µo©ú¡A¸Ó°t¦X¥ó¥]¬A¡G°ò³¡¡A¸Ó°ò³¡¥]¬Aµw½èªººc§Î§÷®Æ¡F©µ¦ù¨ì¤@¥~½t¦Ó¨î¸Óºu¤lªº¸È³¡ ¡]4¡^¡A¸Ó¸È³¡»P°ò³¡¬Û±µ¦X¡F¸Ó¸È³¡¥]¬A¬Û¹ï¸û³nªºÀH§Î§÷®Æ¡A¨ä»Pºu¤lªº§Îª¬½ü¹ø¤@P¡F¥H¹w©wªº¤O§@¥Î¦b¸È³¡¤W«öÀ£ºu¤lªº°¾²¾¤¸¥ó¡]9¡^¡C
¤º¦a¥Ó½Ð¤é¡G2004/05/10
¤º¦a±M§Q¸¹¡G200480012615.0
¤º¦a¤½¶}¤é¡G2006/06/07
¤º¦a¤½§i¤é¡G2009/07/01
¤º¦a¤½§i¸¹¡GCN 100506109C
¤ÀÃþ¡GA45D34/04
µo©ú¤H¡G}º¸§J¡D¸ë®¦¡D¥¬¨¯§J
Àu¥ýÅv¤é´Á¡G2003/05/09
Àu¥ýÅv°ê®a/¦a°Ï¡G²üÄõ
Àu¥ýÅv½s¸¹¡G1023384
ªþ¹Ï

½s¸¹¡GJ/000360
©µ¦ù¥Ó½Ð¤é´Á¡G2009/07/27
©µ¦ù§å¥Ü¤é´Á¡G2009/09/01
¥Ó½Ð¤H¡G¤é¦NµØ®è¦¡·|ªÀ
°êÄy¡G¤é¥»
¦í§}/¦a§}¡G12, Shiodome-cho, Minato-ku, Nagoya-shi, Aichi 455-8550, Japan
¼ÐÃD¡G¥~¾ÀªO¥Îªº©T©wª÷ÄÝ¥ó¤Î¥~¾À¬I¤uµ²ºc¡C
ºKn¡G¤@ºØ©T©wª÷ÄÝ¥ó¡]10¡^¡A¨ã³Æ¡G°òªO³¡¡]11¡^¡F³»¥X±¡]12¡^¡A¨ä³q¹L½ÄÀ£¥[¤u¡A¨Ï°£¥h°òªO³¡¡]11¡^ªº¤W½t°¼©M»P¨ä±µÄòªº¤¤¥¡°Ï°ìªº°Ï°ì¡A¥H»P°òªO³¡¡]11¡^§Î¦¨¥¦æªº±ªº¤è¦¡¡A¦V«e¤è°¼³»¥X¦Ó§Î¦¨¡F©Ó¨ü³¡¡]13¡^¡A¨ä±N³»¥X±¡]12¡^ªº¤UºÝ¦b¤ô¥¤è¦VÅs¦±¦Ó§Î¦¨¡F¤W¤î°Ê¤ù¡]14¡^¤Î¤U¤î°Ê¤ù¡]15¡^¡]¡]15A¡^¡B¡]15B¡^¡^¡A¨ä¦b©Ó¨ü³¡¡]13¡^ªº«eºÝ³q¹L¤W¤è¤Î¤U¤èªºÅs¦±¥[¤u¦Ó§Î¦¨¡A»P¥~¾ÀªO¡]60¡^ªº¤î°Ê¼Ñ¡]61¡^¥d¦X¡C¦b¥~¨¤³¡µ¥¤¤¡A±N°¼½t¨ã¦³¤î°Ê¼Ñ¡]61¡^ªº¥~¨¤¥~¾ÀªO¡]600¡^©M¥~¾ÀªO¡]60¡^¡A³q¹L¨Ï©T©wª÷ÄÝ¥ó¡]10¡^ªº¤W¤î°Ê¤ù¡]14¡^¤Î¤U¤î°Ê¤ù¡]15¡^»P¨ä¤î°Êªºª¬ºA¡A©T©w©ó«Ø¿vª«°¼¡C
¤º¦a¥Ó½Ð¤é¡G2006/04/13
¤º¦a±M§Q¸¹¡G200610073608.2
¤º¦a¤½¶}¤é¡G2006/10/18
¤º¦a¤½§i¤é¡G2009/06/17
¤º¦a¤½§i¸¹¡GCN 100501103C
¤ÀÃþ¡GE04F13/26, E04F13/07
µo©ú¤H¡GªÎ®üÁoªÛ
Àu¥ýÅv¤é´Á¡G2005/04/15
Àu¥ýÅv°ê®a/¦a°Ï¡G¤é¥»
Àu¥ýÅv½s¸¹¡G2005-118452
ªþ¹Ï

½s¸¹¡GJ/000362
©µ¦ù¥Ó½Ð¤é´Á¡G2009/08/03
©µ¦ù§å¥Ü¤é´Á¡G2009/09/01
¥Ó½Ð¤H¡Gªü¾|µ¦®è¦¡·|ªÀ
°êÄy¡G¤é¥»
¦í§}/¦a§}¡G3-1-25 Ariake, Koto-ku, Tokyo 135-0063, Japan
¥Ó½Ð¤H¡G®è¦¡·|ªÀÁɶð
°êÄy¡G¤é¥»
¦í§}/¦a§}¡G3-1-25 Ariake, Koto-ku, Tokyo 135-0063, Japan
¼ÐÃD¡G¶r²¼ÅçÃҸ˸m¥H¤Î¥]¬A¸Ó¸Ë¸mªº¹CÀ¸¾÷¡C
ºKn¡G¤@ºØ¶r²¼ÅçÃҸ˸m¥]¬A¡G¥DÅé¡A¸Ó¥DÅé¨ã¦³¶r²¼ÅçÃÒ³¡¤À©M¥Î©ó¶Ç°e¶r²¼ªº¶r²¼¶Ç°e¾÷ºc¡A¸Ó¶r²¼ÅçÃÒ³¡¤À¥Î©óÅçÃÒ³q¹L¶r²¼´¡¤J¶}¤f´¡¤Jªº¶r²¼ªº¦³®Ä©Ê¡F¥H¤Î¶r²¼«O«ù¾¹¡A¸Ó¶r²¼«O«ù¾¹¦w¸Ë¦b¥DÅé¤W¡A¥Î©ó«O«ù¥Ñ¶r²¼ÅçÃÒ³¡¤À½T©w¬°¦³®Äªº¶r²¼¡C¸Ó¥DÅé¨ã¦³¼Æ¾Ú°O¿ý¤¶½è´¡¤J¶}¤f¡A¥d§Î¼Æ¾Ú°O¿ý¤¶½è´¡¤J¸Ó¼Æ¾Ú°O¿ý¤¶½è´¡¤J¶}¤f¡A¥B¸Ó¥DÅé¥]¬A¼Æ¾Ú°O¿ý¤¶½è³B²z¾¹¡A¸Ó¼Æ¾Ú°O¿ý¤¶½è³B²z¾¹°õ¦æ¦V¼Æ¾Ú°O¿ý¤¶½è¼g¤J¼Æ¾Ú/±q¼Æ¾Ú°O¿ý¤¶½èŪ¥X¼Æ¾Ú¤¤ªº¦Ü¤Ö¤@Ó¡C©Òz¶r²¼´¡¤J¶}¤f¨ã¦³¥Ñ¥©Z¤Þ¾É¥±©wªº©³ªí±¡A¸Ó¥©Z¤Þ¾É¥±°ò¥»¤ô¥¦a¤Þ¾É¶r²¼¡A¥B©Òz¼Æ¾Ú°O¿ý¤¶½è´¡¤J¶}¤f¶}¤f©ó¸Ó¤Þ¾É¥±¤W¡C
¤º¦a¥Ó½Ð¤é¡G2005/03/03
¤º¦a±M§Q¸¹¡G200510051300.3
¤º¦a¤½¶}¤é¡G2005/09/07
¤º¦a¤½§i¤é¡G2009/07/01
¤º¦a¤½§i¸¹¡GCN 100507956C
¤ÀÃþ¡GG07D7/00, G07F17/34, A63F13/00, A63F5/04
µo©ú¤H¡G¦N©£¤@ºa
Àu¥ýÅv¤é´Á¡G2004/03/05
Àu¥ýÅv°ê®a/¦a°Ï¡G¤é¥»
Àu¥ýÅv½s¸¹¡G2004-062257
ªþ¹Ï

µo©ú±M§Q¤§«OÅ@
®Ú¾Ú¸g¤Q¤G¤ë¤Q¤T¤é²Ä97/99/M¸¹ªk¥O®Ö㤧¡m¤u·~²£Åvªk«ß¨î«×¡n²Ä¤Q±ø¤Î²Ä¤K¤Q¤T±ø¤§³W©w¡A¤½¥¬¤U¦C¦b¿Dªù¯S§O¦æ¬F°Ï´£¥Xªºµo©ú±M§Qµù¥U¥Ó½Ð¡A¨Ã«ö·Ó¬Û¦Pªk³W²Ä¤K¤Q¥|±ø¡A¦Û¦¹¤½¥¬¤é°_¦Ü±Â¤©±M§Q¤§¤é¤î¡A¥ô¦ó²Ä¤T¤H§¡±o´£¥XÁn©ú²§Ä³¡C
µo©ú±M§Q¤½§G
µo©ú±M§Q½s¸¹¡GI/000676
¥Ó½Ð¤é´Á¡G2007/12/17
¥Ó½Ð¤H¡GÄò¤ÑÀÆ
¦í§}/¦a§}¡G¤¤°ê¥xÆW¥x¤¤É]¦è¤Ù°Ï¤u·~38¸ô210¸¹5¼Ó¤§8
¼ÐÃD¡G¨ã¦³¦h«½ß²v³]©w¥\¯àªº¹q¤l»«ªG¹CÀ¸¸Ë¸m¤Î¤èªk¡C
ºKn¡G¥»µo©ú¬°¤@ºØ¨ã¦³¦h«½ß²v³]©w¥\¯àªº¹q¤l»«ªG¹CÀ¸¸Ë¸m¡A¨ä¥]§t¡G¤@¦øªA¸Ë¸m¥H¤Î³s±µ¸Ó¦øªA¸Ë¸mªº¦hӨϥΪ̱µ¤f¡A¨ä¤¤¡A¸Ó¦øªA¸Ë¸m¥i°õ¦æ¤@»«ªG¹CÀ¸¬yµ{¡A¨C¤@ª±®a¥i¹ïÀ³¤@¨Ï¥ÎªÌ±µ¤f¡A¨Ã¥i³q¹L¸Ó¨Ï¥ÎªÌ±µ¤f¡A¦b¸Ó»«ªG¹CÀ¸¬yµ{¶i¦æ¤¤¡A¨Ì¾Ú³ß¦n¿ï©w¸Ó»«ªG¹CÀ¸¬yµ{ªº½ß²v¡A¥H¹F¨ì§ó¦nªº¹CÀ¸®ÄªG¡C
¤ÀÃþ¡GA63F9/24
µo©ú¤H¡GÄò¤ÑÀÆ
ªþ¹Ï

µo©ú±M§Q½s¸¹¡GI/000682
¥Ó½Ð¤é´Á¡G2008/01/03
¥Ó½Ð¤H¡GÄò¤ÑÀÆ
¦í§}/¦a§}¡G¤¤°ê¥xÆW¥x¤¤¥«¦è¤Ù°Ï¤u·~38¸ô210¸¹5¼Ó¤§8
¼ÐÃD¡G¨ã¦³±Æ°£²ø®a¿WĹ¥\¯àªº¹CÀ¸¸Ë¸m¤Î±Æ°£²ø®a¿WĹªº¤èªk¡C
ºKn¡G¥»µo©ú¬°¤@ºØ¨ã¦³±Æ°£²ø®a¿WĹ¥\¯àªº¹CÀ¸¸Ë¸m¤Î±Æ°£²ø®a¿WĹªº¤èªk¡A¨ä¤¤¡A¸Ó¨ã¦³±Æ°£²ø®a¿WĹ¥\¯àªº¹CÀ¸¸Ë¸m¥]§t¤@¹CÀ¸¥D¾÷¡A¥H¤Î¤À§O»P¸Ó¹CÀ¸¥D¾÷¹q©Ê³s±µ¨Ã¨ü¸Ó¹CÀ¸¥D¾÷±±¨îªº¦hӨϥΪ̲׺ݤΤ@¶}µP¸Ë¸m¡A¨ä¤¤¡A·í¸Ó¶}µP¸Ë¸mªº¶}µPµ²ªG§Î¦¨¤@²ø®a¿WĹª¬ºA®É¡A¸Ó¹CÀ¸¸Ë¸m«h¿ï¾Ü¤@Ó¥H¤Wªº¯S©wª±®a¬£µ¹½ßª÷¡A¨Ï°Ñ»Pªºª±®a§ó¦³°Ñ»P·NÄ@¨Ã¥B±j¤Æ¤F¹CÀ¸¼Ö½ìªº®ÄªG¡C
¤ÀÃþ¡GA63F9/24
µo©ú¤H¡G³\¶¶©v
ªþ¹Ï

µo©ú±M§Q½s¸¹¡GI/000702
¥Ó½Ð¤é´Á¡G2008/02/01
¥Ó½Ð¤H¡GÄò¤ÑÀÆ
¦í§}/¦a§}¡G¤¤°ê¥xÆW¥x¤¤¥«¦è¤Ù°Ï¤u·~38¸ô210¸¹5¼Ó¤§8
¼ÐÃD¡G¨ã¦³¦h¼Ë±mª÷³]pªº»«ªG¹CÀ¸¸Ë¸m¤Î°õ¦æ¤èªk¡C
ºKn¡G¥»µo©ú¬O¤@ºØ¨ã¦³¦h¼Ë±mª÷³]pªº»«ªG¹CÀ¸¸Ë¸m¤Î°õ¦æ¤èªk¡A¸Ó¨ã¦³¦h¼Ë±mª÷³]pªº»«ªG¹CÀ¸¸Ë¸m¥]§t¤@¹CÀ¸¥D¾÷¡B¤@¶}µP¸Ë¸m¥H¤Î½Æ¼ÆÓ¨Ï¥ÎªÌ±µ¤f¡A¸Ó¹CÀ¸¥D¾÷¬°¥i°õ¦æ¤@¦h¼Ë±mª÷»«ªG¹CÀ¸°õ¦æ¤èªkªºªA°È¾¹¡F¸Ó¶}µP¸Ë¸m»P¸Ó¹CÀ¸¥D¾÷¹q©Ê³s±µ¡A¨ä±µ¨ü¸Ó¹CÀ¸¥D¾÷¤§±±¨î¨Ã°t¦X¸Ó¦h¼Ë±mª÷»«ªG¹CÀ¸°õ¦æ¤èªk¶i¦æ¤@¶}²y°Ê§@¡F¦UӨϥΪ̱µ¤f§¡»P¸Ó¹CÀ¸¥D¾÷¹q©Ê³s±µ¡F¸Ó¦h¼Ë±mª÷»«ªG¹CÀ¸°õ¦æ¤èªk¥]§t¤@¶}¥X¯«¯µ±mª÷¥H¤Î¤@¬£µ¹¯S§O»«ªG±mª÷ªº¨BÆJ¡Aª±®a¥i³q¹L¨Ï¥ÎªÌ±µ¤f°Ñ»P¸Ó¦h¼Ë±mª÷»«ªG¹CÀ¸°õ¦æ¤èªk®É¡A¦³¾÷·|Àò±o¸Ó¯«¯µ±mª÷¤Î¯S§O»«ªG±mª÷¡A¦Ó¹F¨ì¦h¼Ë¤Æªº¬£±mªº§Þ³N®ÄªG¡C
¤ÀÃþ¡GA63F9/24
µo©ú¤H¡G³\¶¶©v
ªþ¹Ï

µo©ú±M§Q½s¸¹¡GI/000703
¥Ó½Ð¤é´Á¡G2008/02/05
¥Ó½Ð¤H¡G´^¥ò¼m
°êÄy¡G¤¤°ê
¦í§}/¦a§}¡G»´ä¤EÀsÆ[¶í¦¨·~µó11-13¸¹µØ¦¨¤u°Ó¤¤¤ß11¦r¼Ó3«Ç
¼ÐÃD¡G»»±±¯ß½Ä¹q¬y«O°·¾c¡C
ºKn¡G¥»µo©ú±M§Q¯A¤Î¤@ºØ»»±±¯ß½Ä¹q¬y«O°·¾c¡A¥]¬A¾c©³¡B©ñ¸m©Òz¾c©³¤Wªº¾c¹Ô¡B¥H¤Î³s±µ¦b¾c©³¤Wªº¾c±¡F©Òz¾c¹Ô¤W³]¦³¬Û¹jµ´ªº¥¿·¥¤Ît·¥¡F¦b©Òz¾c©³¤º³]¸m¦³²£¥Í¯ß½Ä¹q¬yªº¯ß½Äµo¥Í¾¹¡A¨ä¥]¬A»P©Òz¾c¹Ô¤Wªº¥¿·¥¹q³s±µªº¥¿·¥ºÝ¡B¥H¤Î»P©Òz¾c¹Ô¤Wªºt·¥¹q³s±µªºt·¥ºÝ¡F©Òz¥¿·¥¡Bt·¥¡B¤HÅ騬³¡»P©Òz¯ß½Äµo¥Í¾¹³s±µ¦¨¦^¸ô¡FÁÙ¥]¬A¤@¥Î©ó±µ¦¬¥~³¡»»±±¾¹µo¥Xªº¡B±±¨î©Òz¯ß½Äµo¥Í¾¹ªº¶}Ãö¡B¹qÀ£±j«×©MÀW²vªº±±¨î°T¸¹ªº»»±±°T¸¹±µ¦¬¾¹¡A©Òz»»±±°T¸¹±µ¦¬¾¹»P©Òz¯ß½Ä°T¸¹µo¥Í¾¹³s±µ¡C¥»µo©ú±M§Q¤è«K¥Î¤á¦Û¤v©Î¥L¤H¹ï¯ß½Ä¹q¬y«O°·¾c¶i¦æ½Õ¸`¡A§ó©ö©ó¨Ï¥Î¡C
¤ÀÃþ¡GA43B7/00, A61N1/32
µo©ú¤H¡G´^¥ò¼m
ªþ¹Ï

µo©ú±M§Q½s¸¹¡GI/000889
¥Ó½Ð¤é´Á¡G2008/11/28
¥Ó½Ð¤H¡GElektroncek d.d.
°êÄy¡G´µ¬¥¤å¥§¨È
¦í§}¡þ¦a§}¡GGorenjska cesta 23, menges SI-1234, SLOVENIA
¼ÐÃD¡G¬~µP¸Ë¸m¡C
ºKn¡G¤@ºØ¬~µP¸Ë¸m¡A¥]§t¡G¦Ü¤Ö¤TӯȵPÀx¦s¾¹¡A¨CÓ§¡¾A¥Î©ó®e¯Ç¦Ü¤Ö¤@°Æ¯ÈµP¡F¤@ºØ¿é°e¾÷¨î¾A¥Î©ó¦b¨CӯȵPÀx¦s¾¹©M¦Ü¤Ö¥t¥~¤GӯȵPÀx¦s¾¹¤§¶¡¿é°e¯ÈµP¡A¸Ó¥i±±¨îªº¿é°e¾÷¨î¦b¦Ü¤Ö¤GӯȵPÀx¦s¾¹¤¤¿ï¾Ü¤@ӥتº¦a¯ÈµPÀx¦s¾¹¡F¤Î¤@ºØ±±¨î¾¹¡A¸Ó±±¨î¾¹³Q¦w±Æ¥Î©ó±±¨î³B©ó¬~µP¼Ò¦¡¤Uªº¿é°e¾÷¨î¡A¦b¸Ó¾÷¨î¤U¡A¯ÈµP¦b¤@Óì©l¯ÈµPÀx¦s¾¹©M¦Ü¤Ö¤Gӥتº¦a¯ÈµPÀx¦s¾¹¤¤¿ï¾Ü¤@Ó¤§¶¡³Q¶Ç°e¡C
¤ÀÃþ¡GA63F1/12
| µo©ú¤H¡G | Joze Pececnik |
| ¡@ | Mirko Klanjscek |
| ¡@ | Ivo Zavbi |
| ¡@ | Ales Zupancic |
| ¡@ | Peter Kroselj |
| ¡@ | Urban Bergant |
Àu¥ýÅv¤é´Á¡G2007/11/29
Àu¥ýÅv°ê®a/¦a°Ï¡G¿D¤j§Q¨È
Àu¥ýÅv½s¸¹¡G2007906534
ªþ¹Ï

µo©ú±M§Q½s¸¹¡GI/000891
¥Ó½Ð¤é´Á¡G2008/12/15
¥Ó½Ð¤H¡GBALLY GAMING, INC.
°êÄy¡G¬ü°ê
¦í§}/¦a§}¡G6601 South Bermuda Road, Las Vegas, Nevada 89119, United States of America
¼ÐÃD¡G¦b²V¦X²¼/³f¹ô¹CÀ¸¾÷¤¤´£¨Ñ¹CÀ¸¹ê¨ÒÁʶRªº¨t²Î¡B¤èªk¤Î¸Ë¸m¡C
ºKn¡G¨t²Î¡B¤èªk¥H¤Î¸Ë¸m¯à°÷¨Ï±oª±®a¥i¥H¨Ï¥Î¹w¤ä¥I²¼©Î¨Ï¥Î¥t¤@»ùȶµ¦b¹CÀ¸¨t²Î¤¤ÁʶR¹CÀ¸¹ê¨Ò¡C¸Ó¹CÀ¸¨t²Î¥i¥H½T©w³f¹ô³æ¦ìªº±ÃB¡A¨Ã¥Í¦¨ªí¥Ü¸Ó±ÃBªº·|¸Ü½Ð¨D¡C¸Ó¹CÀ¸¨t²ÎÁÙ¥i¥H½T©w²¼ªº²¼¥N½X¡A¨Ã¥Í¦¨ªí¥Ü¸Ó²¼¥N½Xªº·|¸Ü½Ð¨D¡C»·µ{±ÂÅv¤è¥i¥HÅTÀ³©ó±µ¦¬¨ì·|¸Ü½Ð¨D¦Ó¦V¹CÀ¸¨t²Î´£¨Ñªí¥Ü®T¼Ö«H¥Î¼Æ¶qªº¹CÀ¸±ÂÅv¡C
¤ÀÃþ¡GA63F13/00
| µo©ú¤H¡G | Mick Delaney |
| ¡@ | Warren White |
| ¡@ | Dale Hermansen |
| ¡@ | Travis Green |
| ¡@ | Doug Harvey |
| ¡@ | Nathan Burkett |
| ¡@ | Eugene Malina |
| ¡@ | Dale Shepherd |
Àu¥ýÅv¤é´Á¡G2007/12/28
Àu¥ýÅv°ê®a/¦a°Ï¡G¬ü°ê
Àu¥ýÅv½s¸¹¡G11/966,840
ªþ¹Ï

µo©ú±M§Q½s¸¹¡GI/000892
¥Ó½Ð¤é´Á¡G2008/12/16
¥Ó½Ð¤H¡GRimowa GmbH
°êÄy¡G¼w°ê
¦í§}/¦a§}¡GMathias-Brüggen-Strasse 118 50829 Köln Germany
¼ÐÃD¡G¤¤¶¡ªO¡C
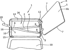
ºKn¡G¤@ºØ¦æ§õ½c¡A¥]§t¦³¦Ü¤Ö¤@Ó¦æ§õ½c½c¾À¡]16¡^»P±q¦æ§õ½c½c¾À¡]16¡^¥Y¥Xªº¦Ü¤Ö¤@Ó°¼¾À¡]10¡B12¡B14¡B15¡^©w¸qªº¦Ü¤Ö¤@Ó¤º³¡®e¿n¡]26¡^¡A¤º³¡®e¿n¡]26¡^³Q¦Ü¤Ö¤@Ó¤¤¶¡ªO¡]6¡^¤À¹j¡A¦Ü¤Ö¤@Ó¦æ§õ±a¡]2¡B4¡^¦b²Ä¤@¥½ºÝ»P¤¤¶¡ªO¡]6¡^©T©w¡A¦Ü¤Ö¤@Ӥ޾ɸ˸m¡]8¡^ªu¦æ§õ½c½c¾À¡]16¡^¥H¤Î¦Ü¤Ö¨âӬ۹諸°¼¾À¡]10¡B12¡^¥i½Õ¸`¦a¤Þ¾É¦æ§õ±a¡]2¡B4¡^¡A¨Ï¤¤¶¡ªO¡]6¡^¦Ü¦æ§õ½c¾À¡]16¡^ªº¶ZÂ÷¥iÅܤƦa½Õ¸`¡A¦æ§õ±a¡]2¡B4¡^ªÅ¶~ªº²Ä¤G¥½ºÝ¦P¼Ë¥i¥H©T©w¨ì¤¤¶¡ªO¡]6¡^¡C
¤ÀÃþ¡GA45C13/02
µo©ú¤H¡GDieter Morszeck
Àu¥ýÅv¤é´Á¡G2007/12/18
Àu¥ýÅv°ê®a/¦a°Ï¡G¼w°ê
Àu¥ýÅv½s¸¹¡G20 2007 017 410.1
ªþ¹Ï

®Ú¾Ú¸g¤Q¤G¤ë¤Q¤T¤é²Ä97/99/M¸¹ªk¥O®Ö㤧¡m¤u·~²£Åvªk«ß¨î«×¡n²Ä¤Q±ø²Ä¤@´Úd¡^¶µ¡B²Ä¤G´Ú¤Î²Ä¤G¦Ê¤C¤Q¤±ø¦Ü²Ä¤G¦Ê¤C¤Q¤C±ø¤§³W©w¡A¥i©ó¥»¤½§G¤é°_p¤@Ó¤ë´Á¤º´N¤U¦C§å¥Ü¦Vªì¯Åªk°|´£°_¤W¶D¡C
°Ó¼Ð¤§«OÅ@
§åµ¹
| µ{§Ç½s¸¹ | µù¥U¤é´Á | §å¥Ü¤é´Á | µù¥UÅv§Q¤H¤§¦WºÙ | ©ÒÄݰê/¦a°Ï | ¤ÀÃþ |
| N/031455 | 2009/08/24 | 2009/08/24 | CHOPARD INTERNATIONAL S.A. | CH | 14 |
| N/035268 | 2009/08/24 | 2009/08/24 | Las Vegas Sands Corp. | US | 12 |
| N/035274 | 2009/08/24 | 2009/08/24 | Las Vegas Sands Corp. | US | 12 |
| N/035280 | 2009/08/24 | 2009/08/24 | Las Vegas Sands Corp. | US | 12 |
| N/035283 | 2009/08/24 | 2009/08/24 | Las Vegas Sands Corp. | US | 12 |
| N/035294 | 2009/08/24 | 2009/08/24 | Las Vegas Sands Corp. | US | 12 |
| N/036512 | 2009/08/24 | 2009/08/24 | Melco Crown Entertainment Limited | KY | 35 |
| N/036513 | 2009/08/24 | 2009/08/24 | Melco Crown Entertainment Limited | KY | 36 |
| N/036514 | 2009/08/24 | 2009/08/24 | Melco Crown Entertainment Limited | KY | 39 |
| N/036515 | 2009/08/24 | 2009/08/24 | Melco Crown Entertainment Limited | KY | 41 |
| N/036516 | 2009/08/24 | 2009/08/24 | Melco Crown Entertainment Limited | KY | 43 |
| N/036517 | 2009/08/24 | 2009/08/24 | Melco Crown Entertainment Limited | KY | 44 |
| N/038103 | 2009/08/24 | 2009/08/24 | KIRIN HOLDINGS KABUSHIKI KAISHA (ALSO TRADING AS KIRIN HOLDINGS CO., LTD.) | JP | 32 |
| N/038107 | 2009/08/24 | 2009/08/24 | KIRIN HOLDINGS KABUSHIKI KAISHA (ALSO TRADING AS KIRIN HOLDINGS CO., LTD.) | JP | 32 |
| N/039208 | 2009/08/24 | 2009/08/24 | Bart DE POOTER | BE | 41 |
| N/039209 | 2009/08/24 | 2009/08/24 | Bart DE POOTER | BE | 43 |
| N/039451 | 2009/08/24 | 2009/08/24 | NISSIN FOODS HOLDINGS CO., LTD. | JP | 29 |
| N/039452 | 2009/08/24 | 2009/08/24 | NISSIN FOODS HOLDINGS CO., LTD. | JP | 30 |
| N/040015 | 2009/08/24 | 2009/08/24 |
¼Æ¾Ú¸ê°TªA°È¦³¤½¥q PCCW-HKT DataCom Services Limited |
HK | 35 |
| N/040281 | 2009/08/24 | 2009/08/24 | ³Ò«Ø«n | CN | 35 |
| N/040282 | 2009/08/24 | 2009/08/24 | ³Ò«Ø«n | CN | 35 |
| N/040283 | 2009/08/24 | 2009/08/24 | ³Ò«Ø«n | CN | 35 |
| N/040381 | 2009/08/24 | 2009/08/24 | The Coca-Cola Company | US | 30 |
| N/040382 | 2009/08/24 | 2009/08/24 | The Coca-Cola Company | US | 32 |
| N/040397 | 2009/08/24 | 2009/08/24 | Hamm Lizenzen GmbH | DE | 25 |
| N/040444 | 2009/08/24 | 2009/08/24 | Hamm Lizenzen GmbH | DE | 25 |
| N/040463 | 2009/08/24 | 2009/08/24 | Cable and Wireless plc. | GB | 09 |
| N/040465 | 2009/08/24 | 2009/08/24 | Cable and Wireless plc. | GB | 38 |
| 1 N/040577 | 2009/08/24 | 2009/08/24 |
¦h®õ§ë¸ê¦³¤½¥q MORETIDE INVESTMENTS LIMITED |
HK | 29 |
| 1 N/040578 | 2009/08/24 | 2009/08/24 |
¦h®õ§ë¸ê¦³¤½¥q MORETIDE INVESTMENTS LIMITED |
HK | 35 |
| N/040882 | 2009/08/24 | 2009/08/24 | Aristocrat Technologies Australia Pty Ltd | AU | 28 |
| N/041129 | 2009/08/24 | 2009/08/24 | VALTIMET | FR | 06 |
| N/041130 | 2009/08/24 | 2009/08/24 | VALTIMET | FR | 07 |
| N/041131 | 2009/08/24 | 2009/08/24 | VALTIMET | FR | 11 |
| N/041132 | 2009/08/24 | 2009/08/24 | VALTIMET | FR | 39 |
| N/041133 | 2009/08/24 | 2009/08/24 | VALTIMET | FR | 42 |
| N/041135 | 2009/08/24 | 2009/08/24 | VICTORIA¡¦S SECRET STORES BRAND MANAGEMENT, INC. | US | 03 |
| N/041146 | 2009/08/24 | 2009/08/24 | EAT & CO., LIMITED | JP | 30 |
| N/041147 | 2009/08/24 | 2009/08/24 | EAT & CO., LIMITED | JP | 43 |
| N/041375 | 2009/08/24 | 2009/08/24 | Merck & Co. Inc. | US | 05 |
| N/041376 | 2009/08/24 | 2009/08/24 | Merck & Co. Inc. | US | 05 |
| N/041428 | 2009/08/24 | 2009/08/24 |
¶ÀÀéÅv WONG, CHAN KUEN |
HK | 05 |
| N/041460 | 2009/08/24 | 2009/08/24 | Sumitomo Metal Industries, Ltd. | JP | 06 |
| N/041461 | 2009/08/24 | 2009/08/24 | Sumitomo Metal Industries, Ltd. | JP | 07 |
| N/041463 | 2009/08/24 | 2009/08/24 | Sumitomo Metal Industries, Ltd. | JP | 06 |
| N/041464 | 2009/08/24 | 2009/08/24 | Sumitomo Metal Industries, Ltd. | JP | 07 |
| N/041465 | 2009/08/24 | 2009/08/24 | Sumitomo Metal Industries, Ltd. | JP | 12 |
| N/041466 | 2009/08/24 | 2009/08/24 | Polmos Zyrardow Sp. zo. o | PL | 33 |
| N/041541 | 2009/08/24 | 2009/08/24 | SBE ENTERTAINMENT GROUP, LLC | US | 43 |
| N/041559 | 2009/08/24 | 2009/08/24 | De La Rue Holdings Plc | GB | 09 |
| N/041560 | 2009/08/24 | 2009/08/24 | De La Rue Holdings Plc | GB | 16 |
| N/041561 | 2009/08/24 | 2009/08/24 | De La Rue Holdings Plc | GB | 09 |
| N/041562 | 2009/08/24 | 2009/08/24 | De La Rue Holdings Plc | GB | 16 |
| N/041591 | 2009/08/24 | 2009/08/24 | E.R. Squibb & Sons, L.L.C. | US | 05 |
| N/041592 | 2009/08/24 | 2009/08/24 | E.R. Squibb & Sons, L.L.C. | US | 05 |
| N/041593 | 2009/08/24 | 2009/08/24 | E.R. Squibb & Sons, L.L.C. | US | 05 |
| N/041605 | 2009/08/24 | 2009/08/24 | MBL Akustikgeräte GmbH & Co. KG | DE | 09 |
| N/041614 | 2009/08/24 | 2009/08/24 | Leonhard Heyden GmbH | DE | 18 |
| N/041615 | 2009/08/24 | 2009/08/24 | Leonhard Heyden GmbH | DE | 25 |
| N/041617 | 2009/08/24 | 2009/08/24 |
°ª°¶ Kou Wai |
MO | 09 |
| N/041623 | 2009/08/24 | 2009/08/24 | Leonhard Heyden GmbH | DE | 18 |
| N/041624 | 2009/08/24 | 2009/08/24 | Leonhard Heyden GmbH | DE | 25 |
| N/041655 | 2009/08/24 | 2009/08/24 | SHUFFLE MASTER, INC. | US | 28 |
| N/041656 | 2009/08/24 | 2009/08/24 | SHUFFLE MASTER, INC. | US | 09 |
| N/041657 | 2009/08/24 | 2009/08/24 | SHUFFLE MASTER, INC. | US | 28 |
| N/041684 | 2009/08/24 | 2009/08/24 | SBE LICENSING, LLC | US | 43 |
| 2 N/041695 | 2009/08/24 | 2009/08/24 |
·½¦NªL YUEN KUT LAM FIRM |
HK | 05 |
| N/041723 | 2009/08/24 | 2009/08/24 | TRUSSARDI S.p.A. | IT | 03 |
| N/041724 | 2009/08/24 | 2009/08/24 | TRUSSARDI S.p.A. | IT | 09 |
| N/041725 | 2009/08/24 | 2009/08/24 | TRUSSARDI S.p.A. | IT | 11 |
| N/041726 | 2009/08/24 | 2009/08/24 | TRUSSARDI S.p.A. | IT | 14 |
| N/041727 | 2009/08/24 | 2009/08/24 | TRUSSARDI S.p.A. | IT | 16 |
| N/041728 | 2009/08/24 | 2009/08/24 | TRUSSARDI S.p.A. | IT | 18 |
| N/041729 | 2009/08/24 | 2009/08/24 | TRUSSARDI S.p.A. | IT | 20 |
| N/041730 | 2009/08/24 | 2009/08/24 | TRUSSARDI S.p.A. | IT | 21 |
| N/041731 | 2009/08/24 | 2009/08/24 | TRUSSARDI S.p.A. | IT | 24 |
| N/041732 | 2009/08/24 | 2009/08/24 | TRUSSARDI S.p.A. | IT | 25 |
| N/041733 | 2009/08/24 | 2009/08/24 | TRUSSARDI S.p.A. | IT | 35 |
| N/041734 | 2009/08/24 | 2009/08/24 | TRUSSARDI S.p.A. | IT | 41 |
| N/041735 | 2009/08/24 | 2009/08/24 | TRUSSARDI S.p.A. | IT | 43 |
| N/041761 | 2009/08/24 | 2009/08/24 | LOTTE CO., LTD. | JP | 25 |
| N/041762 | 2009/08/24 | 2009/08/24 | LOTTE CO., LTD. | JP | 28 |
| N/041763 | 2009/08/24 | 2009/08/24 | Government of Canada, Department of Foreign Affairs and International Trade | CA | 35 |
| N/041796 | 2009/08/24 | 2009/08/24 | Mascolo Group Limited | GB | 03 |
| N/041800 | 2009/08/24 | 2009/08/24 | ICHIBANYA CO., LTD. | JP | 29 |
| N/041801 | 2009/08/24 | 2009/08/24 | ICHIBANYA CO., LTD. | JP | 30 |
| N/041802 | 2009/08/24 | 2009/08/24 | ICHIBANYA CO., LTD. | JP | 35 |
| N/041803 | 2009/08/24 | 2009/08/24 | ICHIBANYA CO., LTD. | JP | 36 |
| N/041804 | 2009/08/24 | 2009/08/24 | ICHIBANYA CO., LTD. | JP | 43 |
| N/041808 | 2009/08/24 | 2009/08/24 | PHILIP MORRIS PRODUCTS S.A. | CH | 34 |
| N/041814 | 2009/08/24 | 2009/08/24 | ¦w¦N¿¤¹A·~§½¯ù¸¯¸ | CN | 30 |
| N/041836 | 2009/08/24 | 2009/08/24 | NATURA BISSE INTERNATIONAL, S.A. | ES | 03 |
| N/041852 | 2009/08/24 | 2009/08/24 |
¤¤¤s¥«®æ¬ü³q¥Î¹q¤l¦³¤½¥q Zhongshan K-mate General Electronics Co., Ltd. |
CN | 09 |
| N/041895 | 2009/08/24 | 2009/08/24 | Sheraton International, Inc. | US | 20 |
| N/041896 | 2009/08/24 | 2009/08/24 | Sheraton International, Inc. | US | 24 |
| N/041897 | 2009/08/24 | 2009/08/24 | Sheraton International, Inc. | US | 43 |
| N/041901 | 2009/08/24 | 2009/08/24 | Nintendo Co., Ltd. | JP | 09 |
| N/041902 | 2009/08/24 | 2009/08/24 | Nintendo Co., Ltd. | JP | 16 |
| N/041903 | 2009/08/24 | 2009/08/24 | Nintendo Co., Ltd. | JP | 25 |
| N/041904 | 2009/08/24 | 2009/08/24 | Nintendo Co., Ltd. | JP | 28 |
| N/041905 | 2009/08/24 | 2009/08/24 | Nintendo Co., Ltd. | JP | 35 |
| N/041906 | 2009/08/24 | 2009/08/24 | Nintendo Co., Ltd. | JP | 36 |
| N/041907 | 2009/08/24 | 2009/08/24 | Nintendo Co., Ltd. | JP | 38 |
| N/041908 | 2009/08/24 | 2009/08/24 | Nintendo Co., Ltd. | JP | 41 |
| N/041909 | 2009/08/24 | 2009/08/24 | Nintendo Co., Ltd. | JP | 42 |
| N/041910 | 2009/08/24 | 2009/08/24 | Nintendo Co., Ltd. | JP | 09 |
| N/041911 | 2009/08/24 | 2009/08/24 | Nintendo Co., Ltd. | JP | 16 |
| N/041912 | 2009/08/24 | 2009/08/24 | Nintendo Co., Ltd. | JP | 25 |
| N/041913 | 2009/08/24 | 2009/08/24 | Nintendo Co., Ltd. | JP | 28 |
| N/041914 | 2009/08/24 | 2009/08/24 | Nintendo Co., Ltd. | JP | 35 |
| N/041915 | 2009/08/24 | 2009/08/24 | Nintendo Co., Ltd. | JP | 36 |
| N/041916 | 2009/08/24 | 2009/08/24 | Nintendo Co., Ltd. | JP | 38 |
| N/041917 | 2009/08/24 | 2009/08/24 | Nintendo Co., Ltd. | JP | 41 |
| N/041918 | 2009/08/24 | 2009/08/24 | Nintendo Co., Ltd. | JP | 42 |
| N/041919 | 2009/08/24 | 2009/08/24 | Nintendo Co., Ltd. | JP | 09 |
| N/041920 | 2009/08/24 | 2009/08/24 | Nintendo Co., Ltd. | JP | 16 |
| N/041921 | 2009/08/24 | 2009/08/24 | Nintendo Co., Ltd. | JP | 28 |
| N/041922 | 2009/08/24 | 2009/08/24 | Nintendo Co., Ltd. | JP | 35 |
| N/041923 | 2009/08/24 | 2009/08/24 | Nintendo Co., Ltd. | JP | 36 |
| N/041924 | 2009/08/24 | 2009/08/24 | Nintendo Co., Ltd. | JP | 38 |
| N/041925 | 2009/08/24 | 2009/08/24 | Nintendo Co., Ltd. | JP | 41 |
| N/041926 | 2009/08/24 | 2009/08/24 | Nintendo Co., Ltd. | JP | 42 |
| N/041927 | 2009/08/24 | 2009/08/24 | Nintendo Co., Ltd. | JP | 09 |
| N/041928 | 2009/08/24 | 2009/08/24 | Nintendo Co., Ltd. | JP | 16 |
| N/041929 | 2009/08/24 | 2009/08/24 | Nintendo Co., Ltd. | JP | 28 |
| N/041930 | 2009/08/24 | 2009/08/24 | Nintendo Co., Ltd. | JP | 35 |
| N/041931 | 2009/08/24 | 2009/08/24 | Nintendo Co., Ltd. | JP | 36 |
| N/041932 | 2009/08/24 | 2009/08/24 | Nintendo Co., Ltd. | JP | 38 |
| N/041933 | 2009/08/24 | 2009/08/24 | Nintendo Co., Ltd. | JP | 41 |
| N/041934 | 2009/08/24 | 2009/08/24 | Nintendo Co., Ltd. | JP | 42 |
| N/041937 | 2009/08/24 | 2009/08/24 |
¦ó°ö¦~ He Peinian |
MO | 11 |
| 3 N/041938 | 2009/08/24 | 2009/08/24 | Hearts on Fire Company, LLC | US | 14 |
| N/041939 | 2009/08/24 | 2009/08/24 | HOME BOX OFFICE, INC. | US | 09 |
| N/041940 | 2009/08/24 | 2009/08/24 | HOME BOX OFFICE, INC. | US | 28 |
| N/041941 | 2009/08/24 | 2009/08/24 | JOOP! GmbH | DE | 09 |
| N/041942 | 2009/08/24 | 2009/08/24 | Magazzin Group Limited | HK | 14 |
| N/041943 | 2009/08/24 | 2009/08/24 | Magazzin Group Limited | HK | 18 |
| N/041944 | 2009/08/24 | 2009/08/24 | Magazzin Group Limited | HK | 25 |
| N/041945 | 2009/08/24 | 2009/08/24 | Magazzin Group Limited | HK | 35 |
| N/041946 | 2009/08/24 | 2009/08/24 | LABORATOIRES LA PRAIRIE S.A. | CH | 03 |
| N/041947 | 2009/08/24 | 2009/08/24 | LABORATOIRES LA PRAIRIE S.A. | CH | 03 |
| N/041948 | 2009/08/24 | 2009/08/24 | OFW¶W¥«¦³¤½¥q | MO | 43 |
| N/041949 | 2009/08/24 | 2009/08/24 | ¹´Âצ榳¤½¥q | HK | 30 |
| N/041950 | 2009/08/24 | 2009/08/24 | ¹´Âצ榳¤½¥q | HK | 29 |
| N/041951 | 2009/08/24 | 2009/08/24 | ¹´Âצ榳¤½¥q | HK | 30 |
| N/041952 | 2009/08/24 | 2009/08/24 | ¦ò¤s¥«ª÷«°³tṫ~¦³¤½¥q | CN | 30 |
| N/041954 | 2009/08/24 | 2009/08/24 | TRIANGLE COATINGS, INC. | US | 02 |
| N/041955 | 2009/08/24 | 2009/08/24 | TRIANGLE COATINGS, INC. | US | 02 |
| N/041956 | 2009/08/24 | 2009/08/24 | Podlaska Wytwornia Wodek ¡§Polmos¡¨ Spolka Akcyjna | PL | 33 |
| N/041957 | 2009/08/24 | 2009/08/24 | Podlaska Wytwornia Wodek ¡§Polmos¡¨ Spolka Akcyjna | PL | 33 |
| N/041958 | 2009/08/24 | 2009/08/24 | Koei Co., Ltd. | JP | 09 |
| N/041959 | 2009/08/24 | 2009/08/24 | Koei Co., Ltd. | JP | 41 |
| N/041963 | 2009/08/24 | 2009/08/24 | VALIO LTD. | FI | 05 |
| N/041964 | 2009/08/24 | 2009/08/24 | VALIO LTD. | FI | 29 |
| N/041965 | 2009/08/24 | 2009/08/24 | VALIO LTD. | FI | 32 |
| N/041987 | 2009/08/24 | 2009/08/24 | OFW¶W¥«¦³¤½¥q | MO | 35 |
| N/041988 | 2009/08/24 | 2009/08/24 |
¤W®ü¤O¥Ó¬ì¾Ç»ö¾¹¦³¤½¥q Shanghai Lishen Scientific Equipment Co., Ltd. |
CN | 07 |
| N/041989 | 2009/08/24 | 2009/08/24 |
¦w½ñ¡]¤¤°ê¡^¦³¤½¥q ANTA (CHINA) CO., LTD. |
CN | 28 |
| N/041990 | 2009/08/24 | 2009/08/24 |
¦w½ñ¡]¤¤°ê¡^¦³¤½¥q ANTA (CHINA) CO., LTD. |
CN | 18 |
| N/041991 | 2009/08/24 | 2009/08/24 |
¦w½ñ¡]¤¤°ê¡^¦³¤½¥q ANTA (CHINA) CO., LTD. |
CN | 25 |
| N/041992 | 2009/08/24 | 2009/08/24 |
¦w½ñ¡]¤¤°ê¡^¦³¤½¥q ANTA (CHINA) CO., LTD. |
CN | 18 |
| N/041993 | 2009/08/24 | 2009/08/24 |
¦w½ñ¡]¤¤°ê¡^¦³¤½¥q ANTA (CHINA) CO., LTD. |
CN | 25 |
| N/041994 | 2009/08/24 | 2009/08/24 |
¦w½ñ¡]¤¤°ê¡^¦³¤½¥q ANTA (CHINA) CO., LTD. |
CN | 28 |
| N/041995 | 2009/08/24 | 2009/08/24 |
¦w½ñ¡]¤¤°ê¡^¦³¤½¥q ANTA (CHINA) CO., LTD. |
CN | 18 |
| N/041996 | 2009/08/24 | 2009/08/24 |
¦w½ñ¡]¤¤°ê¡^¦³¤½¥q ANTA (CHINA) CO., LTD. |
CN | 25 |
| N/041997 | 2009/08/24 | 2009/08/24 |
¦w½ñ¡]¤¤°ê¡^¦³¤½¥q ANTA (CHINA) CO., LTD. |
CN | 28 |
| N/041998 | 2009/08/24 | 2009/08/24 |
§d´I°ê NG FU KUOK |
MO | 30 |
| N/042000 | 2009/08/24 | 2009/08/24 |
§d´I°ê NG FU KUOK |
MO | 30 |
| N/042001 | 2009/08/24 | 2009/08/24 |
§d´I°ê NG FU KUOK |
MO | 30 |
| N/042002 | 2009/08/24 | 2009/08/24 | µØ¤ÑÀs¶°¹Î¦³¤½¥q | MO | 35 |
| N/042005 | 2009/08/24 | 2009/08/24 | ENHANCED LIFE SERVICES LIMITED | HK | 09 |
| N/042006 | 2009/08/24 | 2009/08/24 | Nutro Products, Inc | US | 31 |
| N/042007 | 2009/08/24 | 2009/08/24 | Nutro Products, Inc | US | 31 |
| N/042008 | 2009/08/24 | 2009/08/24 | Nutro Products, Inc | US | 31 |
| N/042009 | 2009/08/24 | 2009/08/24 |
¤Ó¦w°ó¶°¹Î¦³¤½¥q Taiantang Group Co., Ltd. |
CN | 05 |
| N/042010 | 2009/08/24 | 2009/08/24 |
¤Ó¦w°ó¶°¹Î¦³¤½ Taiantang Group Co., Ltd. |
CN | 44 |
| N/042013 | 2009/08/24 | 2009/08/24 | Nintendo Co., Ltd. | JP | 09 |
| N/042014 | 2009/08/24 | 2009/08/24 | Nintendo Co., Ltd. | JP | 16 |
| N/042015 | 2009/08/24 | 2009/08/24 | Nintendo Co., Ltd. | JP | 28 |
| N/042016 | 2009/08/24 | 2009/08/24 | Nintendo Co., Ltd. | JP | 35 |
| N/042017 | 2009/08/24 | 2009/08/24 | Nintendo Co., Ltd. | JP | 38 |
| N/042018 | 2009/08/24 | 2009/08/24 | Nintendo Co., Ltd. | JP | 41 |
| N/042019 | 2009/08/24 | 2009/08/24 | Juicy Couture, Inc. | US | 14 |
| N/042020 | 2009/08/24 | 2009/08/24 | Juicy Couture, Inc. | US | 18 |
| N/042021 | 2009/08/24 | 2009/08/24 | Juicy Couture, Inc. | US | 25 |
| N/042022 | 2009/08/24 | 2009/08/24 | Juicy Couture, Inc. | US | 35 |
| N/042024 | 2009/08/24 | 2009/08/24 | Starbucks Corporation | US | 30 |
| N/042028 | 2009/08/24 | 2009/08/24 | Super 8 Worldwide, Inc. | US | 35 |
| N/042029 | 2009/08/24 | 2009/08/24 | Super 8 Worldwide, Inc. | US | 43 |
| N/042030 | 2009/08/24 | 2009/08/24 | Melco Crown Entertainment Limited | KY | 41 |
| N/042031 | 2009/08/24 | 2009/08/24 | Melco Crown Entertainment Limited | KY | 41 |
| N/042032 | 2009/08/24 | 2009/08/24 | Melco Crown Entertainment Limited | KY | 41 |
| N/042033 | 2009/08/24 | 2009/08/24 | Melco Crown Entertainment Limited | KY | 41 |
| N/042034 | 2009/08/24 | 2009/08/24 | Melco Crown Entertainment Limited | KY | 41 |
| N/042035 | 2009/08/24 | 2009/08/24 | Melco Crown Entertainment Limited | KY | 41 |
| N/042036 | 2009/08/24 | 2009/08/24 | Melco Crown Entertainment Limited | KY | 43 |
| N/042037 | 2009/08/24 | 2009/08/24 | Melco Crown Entertainment Limited | KY | 43 |
| N/042038 | 2009/08/24 | 2009/08/24 | Melco Crown Entertainment Limited | KY | 43 |
| N/042039 | 2009/08/24 | 2009/08/24 | Melco Crown Entertainment Limited | KY | 43 |
| N/042040 | 2009/08/24 | 2009/08/24 | Melco Crown Entertainment Limited | KY | 43 |
| N/042041 | 2009/08/24 | 2009/08/24 | Melco Crown Entertainment Limited | KY | 43 |
| N/042042 | 2009/08/24 | 2009/08/24 | Melco Crown Entertainment Limited | KY | 41 |
| N/042043 | 2009/08/24 | 2009/08/24 | Melco Crown Entertainment Limited | KY | 41 |
| N/042044 | 2009/08/24 | 2009/08/24 | Melco Crown Entertainment Limited | KY | 41 |
| N/042045 | 2009/08/24 | 2009/08/24 | Melco Crown Entertainment Limited | KY | 41 |
| N/042046 | 2009/08/24 | 2009/08/24 | Melco Crown Entertainment Limited | KY | 43 |
| N/042047 | 2009/08/24 | 2009/08/24 | Melco Crown Entertainment Limited | KY | 43 |
| N/042048 | 2009/08/24 | 2009/08/24 | Melco Crown Entertainment Limited | KY | 43 |
| N/042049 | 2009/08/24 | 2009/08/24 | Melco Crown Entertainment Limited | KY | 43 |
| N/042050 | 2009/08/24 | 2009/08/24 | Melco Crown Entertainment Limited | KY | 41 |
| N/042051 | 2009/08/24 | 2009/08/24 | Melco Crown Entertainment Limited | KY | 41 |
| N/042052 | 2009/08/24 | 2009/08/24 | Melco Crown Entertainment Limited | KY | 41 |
| N/042053 | 2009/08/24 | 2009/08/24 | Melco Crown Entertainment Limited | KY | 41 |
| N/042054 | 2009/08/24 | 2009/08/24 | Melco Crown Entertainment Limited | KY | 41 |
| N/042055 | 2009/08/24 | 2009/08/24 | Melco Crown Entertainment Limited | KY | 41 |
| N/042056 | 2009/08/24 | 2009/08/24 | Melco Crown Entertainment Limited | KY | 41 |
| N/042057 | 2009/08/24 | 2009/08/24 | Melco Crown Entertainment Limited | KY | 41 |
| N/042058 | 2009/08/24 | 2009/08/24 | Melco Crown Entertainment Limited | KY | 43 |
| N/042059 | 2009/08/24 | 2009/08/24 | Melco Crown Entertainment Limited | KY | 43 |
| N/042060 | 2009/08/24 | 2009/08/24 | Melco Crown Entertainment Limited | KY | 43 |
| N/042061 | 2009/08/24 | 2009/08/24 | Melco Crown Entertainment Limited | KY | 43 |
| N/042062 | 2009/08/24 | 2009/08/24 | Melco Crown Entertainment Limited | KY | 43 |
| N/042063 | 2009/08/24 | 2009/08/24 | Melco Crown Entertainment Limited | KY | 43 |
| N/042064 | 2009/08/24 | 2009/08/24 | Melco Crown Entertainment Limited | KY | 43 |
| N/042065 | 2009/08/24 | 2009/08/24 | Melco Crown Entertainment Limited | KY | 43 |
| N/042066 | 2009/08/24 | 2009/08/24 | Melco Crown Entertainment Limited | KY | 41 |
| N/042067 | 2009/08/24 | 2009/08/24 | Melco Crown Entertainment Limited | KY | 41 |
| N/042068 | 2009/08/24 | 2009/08/24 | Melco Crown Entertainment Limited | KY | 41 |
| N/042069 | 2009/08/24 | 2009/08/24 | Melco Crown Entertainment Limited | KY | 41 |
| N/042070 | 2009/08/24 | 2009/08/24 | Melco Crown Entertainment Limited | KY | 41 |
| N/042071 | 2009/08/24 | 2009/08/24 | Melco Crown Entertainment Limited | KY | 41 |
| N/042072 | 2009/08/24 | 2009/08/24 | Melco Crown Entertainment Limited | KY | 41 |
| N/042073 | 2009/08/24 | 2009/08/24 | Melco Crown Entertainment Limited | KY | 41 |
| N/042074 | 2009/08/24 | 2009/08/24 | Melco Crown Entertainment Limited | KY | 43 |
| N/042075 | 2009/08/24 | 2009/08/24 | Melco Crown Entertainment Limited | KY | 43 |
| N/042076 | 2009/08/24 | 2009/08/24 | Melco Crown Entertainment Limited | KY | 43 |
| N/042077 | 2009/08/24 | 2009/08/24 | Melco Crown Entertainment Limited | KY | 43 |
| N/042078 | 2009/08/24 | 2009/08/24 | Melco Crown Entertainment Limited | KY | 43 |
| N/042079 | 2009/08/24 | 2009/08/24 | Melco Crown Entertainment Limited | KY | 43 |
| N/042080 | 2009/08/24 | 2009/08/24 | Melco Crown Entertainment Limited | KY | 43 |
| N/042081 | 2009/08/24 | 2009/08/24 | Melco Crown Entertainment Limited | KY | 43 |
| N/042082 | 2009/08/24 | 2009/08/24 | Melco Crown Entertainment Limited | KY | 41 |
| N/042083 | 2009/08/24 | 2009/08/24 | Melco Crown Entertainment Limited | KY | 41 |
| N/042084 | 2009/08/24 | 2009/08/24 | Melco Crown Entertainment Limited | KY | 41 |
| N/042085 | 2009/08/24 | 2009/08/24 | Melco Crown Entertainment Limited | KY | 41 |
| N/042086 | 2009/08/24 | 2009/08/24 | Melco Crown Entertainment Limited | KY | 41 |
| N/042087 | 2009/08/24 | 2009/08/24 | Melco Crown Entertainment Limited | KY | 41 |
| N/042088 | 2009/08/24 | 2009/08/24 | Melco Crown Entertainment Limited | KY | 41 |
| N/042089 | 2009/08/24 | 2009/08/24 | Melco Crown Entertainment Limited | KY | 41 |
| N/042090 | 2009/08/24 | 2009/08/24 | Melco Crown Entertainment Limited | KY | 41 |
| N/042091 | 2009/08/24 | 2009/08/24 | Melco Crown Entertainment Limited | KY | 41 |
| N/042092 | 2009/08/24 | 2009/08/24 | Melco Crown Entertainment Limited | KY | 43 |
| N/042093 | 2009/08/24 | 2009/08/24 | Melco Crown Entertainment Limited | KY | 43 |
| N/042094 | 2009/08/24 | 2009/08/24 | Melco Crown Entertainment Limited | KY | 43 |
| N/042095 | 2009/08/24 | 2009/08/24 | Melco Crown Entertainment Limited | KY | 43 |
| N/042096 | 2009/08/24 | 2009/08/24 | Melco Crown Entertainment Limited | KY | 43 |
| N/042097 | 2009/08/24 | 2009/08/24 | Melco Crown Entertainment Limited | KY | 43 |
| N/042098 | 2009/08/24 | 2009/08/24 | Melco Crown Entertainment Limited | KY | 43 |
| N/042099 | 2009/08/24 | 2009/08/24 | Melco Crown Entertainment Limited | KY | 43 |
| N/042100 | 2009/08/24 | 2009/08/24 | Melco Crown Entertainment Limited | KY | 43 |
| N/042101 | 2009/08/24 | 2009/08/24 | Melco Crown Entertainment Limited | KY | 43 |
| N/042103 | 2009/08/24 | 2009/08/24 | Melco Crown Entertainment Limited | KY | 35 |
| N/042106 | 2009/08/24 | 2009/08/24 | Melco Crown Entertainment Limited | KY | 36 |
| N/042108 | 2009/08/24 | 2009/08/24 | Melco Crown Entertainment Limited | KY | 39 |
| N/042109 | 2009/08/24 | 2009/08/24 | Melco Crown Entertainment Limited | KY | 39 |
| N/042110 | 2009/08/24 | 2009/08/24 | Melco Crown Entertainment Limited | KY | 39 |
| N/042111 | 2009/08/24 | 2009/08/24 | Melco Crown Entertainment Limited | KY | 41 |
| N/042112 | 2009/08/24 | 2009/08/24 | Melco Crown Entertainment Limited | KY | 41 |
| N/042113 | 2009/08/24 | 2009/08/24 | Melco Crown Entertainment Limited | KY | 41 |
| N/042114 | 2009/08/24 | 2009/08/24 |
ªL¤å®p Lam Man Fong |
MO | 35 |
| N/042115 | 2009/08/24 | 2009/08/24 |
ªL¤å®p Lam Man Fong |
MO | 37 |
| N/042116 | 2009/08/24 | 2009/08/24 |
ªL¤å®p Lam Man Fong |
MO | 42 |
| N/042117 | 2009/08/24 | 2009/08/24 | Einstein Progetti e Prodotti S.p.A. | IT | 25 |
| N/042118 | 2009/08/24 | 2009/08/24 | Einstein Progetti e Prodotti S.p.A. | IT | 25 |
| N/042119 | 2009/08/24 | 2009/08/24 | Sichuan Wenjun Spirits Company Limited | CN | 33 |
| N/042120 | 2009/08/24 | 2009/08/24 | Sichuan Wenjun Spirits Company Limited | CN | 33 |
| N/042121 | 2009/08/24 | 2009/08/24 | Melco Crown Entertainment Limited | KY | 35 |
| N/042122 | 2009/08/24 | 2009/08/24 | Melco Crown Entertainment Limited | KY | 35 |
| N/042123 | 2009/08/24 | 2009/08/24 | Melco Crown Entertainment Limited | KY | 35 |
| N/042124 | 2009/08/24 | 2009/08/24 | Melco Crown Entertainment Limited | KY | 35 |
| N/042125 | 2009/08/24 | 2009/08/24 | Melco Crown Entertainment Limited | KY | 35 |
| N/042126 | 2009/08/24 | 2009/08/24 | Melco Crown Entertainment Limited | KY | 35 |
| N/042127 | 2009/08/24 | 2009/08/24 | Melco Crown Entertainment Limited | KY | 35 |
| N/042128 | 2009/08/24 | 2009/08/24 | Melco Crown Entertainment Limited | KY | 35 |
| N/042129 | 2009/08/24 | 2009/08/24 | Melco Crown Entertainment Limited | KY | 36 |
| N/042130 | 2009/08/24 | 2009/08/24 | Melco Crown Entertainment Limited | KY | 36 |
| N/042131 | 2009/08/24 | 2009/08/24 | Melco Crown Entertainment Limited | KY | 36 |
| N/042132 | 2009/08/24 | 2009/08/24 | Melco Crown Entertainment Limited | KY | 36 |
| N/042133 | 2009/08/24 | 2009/08/24 | Melco Crown Entertainment Limited | KY | 36 |
| N/042134 | 2009/08/24 | 2009/08/24 | Melco Crown Entertainment Limited | KY | 36 |
| N/042135 | 2009/08/24 | 2009/08/24 | Melco Crown Entertainment Limited | KY | 36 |
| N/042136 | 2009/08/24 | 2009/08/24 | Melco Crown Entertainment Limited | KY | 36 |
| N/042137 | 2009/08/24 | 2009/08/24 | Melco Crown Entertainment Limited | KY | 37 |
| N/042138 | 2009/08/24 | 2009/08/24 | Melco Crown Entertainment Limited | KY | 37 |
| N/042139 | 2009/08/24 | 2009/08/24 | Melco Crown Entertainment Limited | KY | 37 |
| N/042140 | 2009/08/24 | 2009/08/24 | Melco Crown Entertainment Limited | KY | 37 |
| N/042141 | 2009/08/24 | 2009/08/24 | Melco Crown Entertainment Limited | KY | 37 |
| N/042142 | 2009/08/24 | 2009/08/24 | Melco Crown Entertainment Limited | KY | 37 |
| N/042143 | 2009/08/24 | 2009/08/24 | Melco Crown Entertainment Limited | KY | 37 |
| N/042144 | 2009/08/24 | 2009/08/24 | Melco Crown Entertainment Limited | KY | 37 |
| N/042145 | 2009/08/24 | 2009/08/24 | Melco Crown Entertainment Limited | KY | 39 |
| N/042146 | 2009/08/24 | 2009/08/24 | Melco Crown Entertainment Limited | KY | 39 |
| N/042147 | 2009/08/24 | 2009/08/24 | Melco Crown Entertainment Limited | KY | 39 |
| N/042148 | 2009/08/24 | 2009/08/24 | Melco Crown Entertainment Limited | KY | 39 |
| N/042149 | 2009/08/24 | 2009/08/24 | Melco Crown Entertainment Limited | KY | 39 |
| N/042150 | 2009/08/24 | 2009/08/24 | Melco Crown Entertainment Limited | KY | 39 |
| N/042151 | 2009/08/24 | 2009/08/24 | Melco Crown Entertainment Limited | KY | 39 |
| N/042152 | 2009/08/24 | 2009/08/24 | Melco Crown Entertainment Limited | KY | 39 |
| N/042153 | 2009/08/24 | 2009/08/24 | Melco Crown Entertainment Limited | KY | 41 |
| N/042154 | 2009/08/24 | 2009/08/24 | Melco Crown Entertainment Limited | KY | 41 |
| N/042155 | 2009/08/24 | 2009/08/24 | Melco Crown Entertainment Limited | KY | 41 |
| N/042156 | 2009/08/24 | 2009/08/24 | Melco Crown Entertainment Limited | KY | 41 |
| N/042157 | 2009/08/24 | 2009/08/24 | Melco Crown Entertainment Limited | KY | 41 |
| N/042158 | 2009/08/24 | 2009/08/24 | Melco Crown Entertainment Limited | KY | 41 |
| N/042159 | 2009/08/24 | 2009/08/24 | Melco Crown Entertainment Limited | KY | 41 |
| N/042160 | 2009/08/24 | 2009/08/24 | Melco Crown Entertainment Limited | KY | 41 |
| N/042161 | 2009/08/24 | 2009/08/24 | Melco Crown Entertainment Limited | KY | 43 |
| N/042162 | 2009/08/24 | 2009/08/24 | Melco Crown Entertainment Limited | KY | 43 |
| N/042163 | 2009/08/24 | 2009/08/24 | Melco Crown Entertainment Limited | KY | 43 |
| N/042164 | 2009/08/24 | 2009/08/24 | Melco Crown Entertainment Limited | KY | 43 |
| N/042165 | 2009/08/24 | 2009/08/24 | Melco Crown Entertainment Limited | KY | 43 |
| N/042166 | 2009/08/24 | 2009/08/24 | Melco Crown Entertainment Limited | KY | 43 |
| N/042167 | 2009/08/24 | 2009/08/24 | Melco Crown Entertainment Limited | KY | 43 |
| N/042168 | 2009/08/24 | 2009/08/24 | Melco Crown Entertainment Limited | KY | 43 |
| N/042169 | 2009/08/24 | 2009/08/24 | Melco Crown Entertainment Limited | KY | 44 |
| N/042170 | 2009/08/24 | 2009/08/24 | Melco Crown Entertainment Limited | KY | 44 |
| N/042171 | 2009/08/24 | 2009/08/24 | Melco Crown Entertainment Limited | KY | 44 |
| N/042172 | 2009/08/24 | 2009/08/24 | Melco Crown Entertainment Limited | KY | 44 |
| N/042173 | 2009/08/24 | 2009/08/24 | Melco Crown Entertainment Limited | KY | 44 |
| N/042174 | 2009/08/24 | 2009/08/24 | Melco Crown Entertainment Limited | KY | 44 |
| N/042175 | 2009/08/24 | 2009/08/24 | Melco Crown Entertainment Limited | KY | 44 |
| N/042176 | 2009/08/24 | 2009/08/24 | Melco Crown Entertainment Limited | KY | 44 |
| N/042177 | 2009/08/24 | 2009/08/24 | Melco Crown Entertainment Limited | KY | 35 |
| N/042178 | 2009/08/24 | 2009/08/24 | Melco Crown Entertainment Limited | KY | 35 |
| N/042179 | 2009/08/24 | 2009/08/24 | Melco Crown Entertainment Limited | KY | 35 |
| N/042180 | 2009/08/24 | 2009/08/24 | Melco Crown Entertainment Limited | KY | 35 |
| N/042181 | 2009/08/24 | 2009/08/24 | Melco Crown Entertainment Limited | KY | 35 |
| N/042182 | 2009/08/24 | 2009/08/24 | Melco Crown Entertainment Limited | KY | 35 |
| N/042183 | 2009/08/24 | 2009/08/24 | Melco Crown Entertainment Limited | KY | 35 |
| N/042184 | 2009/08/24 | 2009/08/24 | Melco Crown Entertainment Limited | KY | 35 |
| N/042185 | 2009/08/24 | 2009/08/24 | Melco Crown Entertainment Limited | KY | 39 |
| N/042186 | 2009/08/24 | 2009/08/24 | Melco Crown Entertainment Limited | KY | 39 |
| N/042187 | 2009/08/24 | 2009/08/24 | Melco Crown Entertainment Limited | KY | 39 |
| N/042188 | 2009/08/24 | 2009/08/24 | Melco Crown Entertainment Limited | KY | 39 |
| N/042189 | 2009/08/24 | 2009/08/24 | Melco Crown Entertainment Limited | KY | 39 |
| N/042190 | 2009/08/24 | 2009/08/24 | Melco Crown Entertainment Limited | KY | 39 |
| N/042191 | 2009/08/24 | 2009/08/24 | Melco Crown Entertainment Limited | KY | 39 |
| N/042192 | 2009/08/24 | 2009/08/24 | Melco Crown Entertainment Limited | KY | 39 |
| N/042193 | 2009/08/24 | 2009/08/24 | Melco Crown Entertainment Limited | KY | 41 |
| N/042194 | 2009/08/24 | 2009/08/24 | Melco Crown Entertainment Limited | KY | 41 |
| N/042195 | 2009/08/24 | 2009/08/24 | Melco Crown Entertainment Limited | KY | 41 |
| N/042196 | 2009/08/24 | 2009/08/24 | Melco Crown Entertainment Limited | KY | 41 |
| N/042197 | 2009/08/24 | 2009/08/24 | Melco Crown Entertainment Limited | KY | 41 |
| N/042198 | 2009/08/24 | 2009/08/24 | Melco Crown Entertainment Limited | KY | 41 |
| N/042199 | 2009/08/24 | 2009/08/24 | Melco Crown Entertainment Limited | KY | 41 |
| N/042200 | 2009/08/24 | 2009/08/24 | Melco Crown Entertainment Limited | KY | 41 |
| N/042201 | 2009/08/24 | 2009/08/24 | Melco Crown Entertainment Limited | KY | 43 |
| N/042202 | 2009/08/24 | 2009/08/24 | Melco Crown Entertainment Limited | KY | 43 |
| N/042203 | 2009/08/24 | 2009/08/24 | Melco Crown Entertainment Limited | KY | 43 |
| N/042204 | 2009/08/24 | 2009/08/24 | Melco Crown Entertainment Limited | KY | 43 |
| N/042205 | 2009/08/24 | 2009/08/24 | Melco Crown Entertainment Limited | KY | 43 |
| N/042206 | 2009/08/24 | 2009/08/24 | Melco Crown Entertainment Limited | KY | 43 |
| N/042207 | 2009/08/24 | 2009/08/24 | Melco Crown Entertainment Limited | KY | 43 |
| N/042208 | 2009/08/24 | 2009/08/24 | Melco Crown Entertainment Limited | KY | 43 |
| N/042214 | 2009/08/24 | 2009/08/24 | Richemont International S.A. | CH | 14 |
| N/042215 | 2009/08/24 | 2009/08/24 | Sociedade de Turismo e Diversões de Macau, S.A. | MO | 35 |
| N/042216 | 2009/08/24 | 2009/08/24 | Sociedade de Turismo e Diversões de Macau, S.A. | MO | 41 |
| N/042217 | 2009/08/24 | 2009/08/24 | Sociedade de Turismo e Diversões de Macau, S.A. | MO | 43 |
| N/042218 | 2009/08/24 | 2009/08/24 | Sociedade de Turismo e Diversões de Macau, S.A. | MO | 35 |
| N/042219 | 2009/08/24 | 2009/08/24 | Sociedade de Turismo e Diversões de Macau, S.A. | MO | 41 |
| N/042220 | 2009/08/24 | 2009/08/24 | Sociedade de Turismo e Diversões de Macau, S.A. | MO | 43 |
| N/042221 | 2009/08/24 | 2009/08/24 | ANTALIS INTERNATIONAL | FR | 16 |
| N/042222 | 2009/08/24 | 2009/08/24 | ANTALIS INTERNATIONAL | FR | 35 |
| N/042223 | 2009/08/24 | 2009/08/24 | ANTALIS INTERNATIONAL | FR | 16 |
| N/042224 | 2009/08/24 | 2009/08/24 | ANTALIS INTERNATIONAL | FR | 35 |
| N/042225 | 2009/08/24 | 2009/08/24 | ANTALIS INTERNATIONAL | FR | 16 |
| N/042233 | 2009/08/24 | 2009/08/24 | Kwong¡¦s Art Jewellery Trading Company Limited | HK | 06 |
| N/042234 | 2009/08/24 | 2009/08/24 | Kwong¡¦s Art Jewellery Trading Company Limited | HK | 14 |
| N/042235 | 2009/08/24 | 2009/08/24 | Kwong¡¦s Art Jewellery Trading Company Limited | HK | 16 |
| N/042236 | 2009/08/24 | 2009/08/24 | Kwong¡¦s Art Jewellery Trading Company Limited | HK | 35 |
| N/042237 | 2009/08/24 | 2009/08/24 | Kwong¡¦s Art Jewellery Trading Company Limited | HK | 36 |
| N/042238 | 2009/08/24 | 2009/08/24 | Kwong¡¦s Art Jewellery Trading Company Limited | HK | 37 |
| N/042239 | 2009/08/24 | 2009/08/24 | Kwong¡¦s Art Jewellery Trading Company Limited | HK | 40 |
| N/042240 | 2009/08/24 | 2009/08/24 | Kwong¡¦s Art Jewellery Trading Company Limited | HK | 42 |
| N/042241 | 2009/08/24 | 2009/08/24 |
¤ý¶Ç©v Wong Chung Tsung |
MO | 29 |
| N/042242 | 2009/08/24 | 2009/08/24 |
¤ý¶Ç©v Wong Chung Tsung |
MO | 30 |
| N/042243 | 2009/08/24 | 2009/08/24 | Melco Crown Entertainment Limited | KY | 09 |
| N/042244 | 2009/08/24 | 2009/08/24 | Melco Crown Entertainment Limited | KY | 09 |
| N/042245 | 2009/08/24 | 2009/08/24 | Melco Crown Entertainment Limited | KY | 09 |
| N/042246 | 2009/08/24 | 2009/08/24 | Melco Crown Entertainment Limited | KY | 28 |
| N/042247 | 2009/08/24 | 2009/08/24 | Melco Crown Entertainment Limited | KY | 28 |
| N/042248 | 2009/08/24 | 2009/08/24 | Melco Crown Entertainment Limited | KY | 28 |
| N/042249 | 2009/08/24 | 2009/08/24 | Melco Crown Entertainment Limited | KY | 39 |
| N/042250 | 2009/08/24 | 2009/08/24 | Melco Crown Entertainment Limited | KY | 39 |
| N/042251 | 2009/08/24 | 2009/08/24 | Melco Crown Entertainment Limited | KY | 39 |
| N/042252 | 2009/08/24 | 2009/08/24 | Melco Crown Entertainment Limited | KY | 41 |
| N/042253 | 2009/08/24 | 2009/08/24 | Melco Crown Entertainment Limited | KY | 41 |
| N/042254 | 2009/08/24 | 2009/08/24 | Melco Crown Entertainment Limited | KY | 41 |
| N/042255 | 2009/08/24 | 2009/08/24 | Melco Crown Entertainment Limited | KY | 41 |
| N/042256 | 2009/08/24 | 2009/08/24 | Melco Crown Entertainment Limited | KY | 41 |
| N/042257 | 2009/08/24 | 2009/08/24 | Melco Crown Entertainment Limited | KY | 41 |
| N/042258 | 2009/08/24 | 2009/08/24 | Melco Crown Entertainment Limited | KY | 41 |
| N/042259 | 2009/08/24 | 2009/08/24 | Melco Crown Entertainment Limited | KY | 41 |
| N/042260 | 2009/08/24 | 2009/08/24 | Melco Crown Entertainment Limited | KY | 41 |
| N/042261 | 2009/08/24 | 2009/08/24 | Melco Crown Entertainment Limited | KY | 41 |
| N/042262 | 2009/08/24 | 2009/08/24 | Melco Crown Entertainment Limited | KY | 41 |
| N/042263 | 2009/08/24 | 2009/08/24 | Melco Crown Entertainment Limited | KY | 43 |
| N/042264 | 2009/08/24 | 2009/08/24 | Melco Crown Entertainment Limited | KY | 43 |
| N/042265 | 2009/08/24 | 2009/08/24 | Melco Crown Entertainment Limited | KY | 43 |
| N/042266 | 2009/08/24 | 2009/08/24 | Melco Crown Entertainment Limited | KY | 43 |
| N/042267 | 2009/08/24 | 2009/08/24 | Melco Crown Entertainment Limited | KY | 43 |
| N/042268 | 2009/08/24 | 2009/08/24 | Melco Crown Entertainment Limited | KY | 43 |
| N/042269 | 2009/08/24 | 2009/08/24 | Melco Crown Entertainment Limited | KY | 43 |
| N/042270 | 2009/08/24 | 2009/08/24 | Melco Crown Entertainment Limited | KY | 43 |
| N/042271 | 2009/08/24 | 2009/08/24 | Melco Crown Entertainment Limited | KY | 41 |
| N/042272 | 2009/08/24 | 2009/08/24 | Melco Crown Entertainment Limited | KY | 41 |
| N/042273 | 2009/08/24 | 2009/08/24 | Melco Crown Entertainment Limited | KY | 41 |
| N/042274 | 2009/08/24 | 2009/08/24 | Melco Crown Entertainment Limited | KY | 41 |
| N/042275 | 2009/08/24 | 2009/08/24 | Melco Crown Entertainment Limited | KY | 41 |
| N/042276 | 2009/08/24 | 2009/08/24 | Melco Crown Entertainment Limited | KY | 41 |
| N/042277 | 2009/08/24 | 2009/08/24 | Melco Crown Entertainment Limited | KY | 41 |
| N/042278 | 2009/08/24 | 2009/08/24 | Melco Crown Entertainment Limited | KY | 41 |
| N/042279 | 2009/08/24 | 2009/08/24 | Melco Crown Entertainment Limited | KY | 43 |
| N/042280 | 2009/08/24 | 2009/08/24 | Melco Crown Entertainment Limited | KY | 43 |
| N/042281 | 2009/08/24 | 2009/08/24 | Melco Crown Entertainment Limited | KY | 43 |
| N/042282 | 2009/08/24 | 2009/08/24 | Melco Crown Entertainment Limited | KY | 43 |
| N/042283 | 2009/08/24 | 2009/08/24 | Melco Crown Entertainment Limited | KY | 43 |
| N/042284 | 2009/08/24 | 2009/08/24 | Melco Crown Entertainment Limited | KY | 43 |
| N/042285 | 2009/08/24 | 2009/08/24 | Melco Crown Entertainment Limited | KY | 43 |
| N/042286 | 2009/08/24 | 2009/08/24 | Melco Crown Entertainment Limited | KY | 43 |
| N/042287 | 2009/08/24 | 2009/08/24 | Melco Crown Entertainment Limited | KY | 43 |
| N/042288 | 2009/08/24 | 2009/08/24 | Melco Crown Entertainment Limited | KY | 43 |
| N/042289 | 2009/08/24 | 2009/08/24 | Melco Crown Entertainment Limited | KY | 43 |
| N/042290 | 2009/08/24 | 2009/08/24 | Melco Crown Entertainment Limited | KY | 43 |
| N/042291 | 2009/08/24 | 2009/08/24 | Melco Crown Entertainment Limited | KY | 43 |
| N/042292 | 2009/08/24 | 2009/08/24 | Melco Crown Entertainment Limited | KY | 43 |
| N/042293 | 2009/08/24 | 2009/08/24 | Melco Crown Entertainment Limited | KY | 43 |
| N/042294 | 2009/08/24 | 2009/08/24 | Melco Crown Entertainment Limited | KY | 43 |
| N/042295 | 2009/08/24 | 2009/08/24 | Melco Crown Entertainment Limited | KY | 16 |
| N/042296 | 2009/08/24 | 2009/08/24 | Melco Crown Entertainment Limited | KY | 16 |
| N/042297 | 2009/08/24 | 2009/08/24 | Melco Crown Entertainment Limited | KY | 16 |
| 4 N/042298 | 2009/08/24 | 2009/08/24 | Melco Crown Entertainment Limited | KY | 16 |
| N/042299 | 2009/08/24 | 2009/08/24 | Melco Crown Entertainment Limited | KY | 39 |
| N/042300 | 2009/08/24 | 2009/08/24 | Melco Crown Entertainment Limited | KY | 39 |
| N/042301 | 2009/08/24 | 2009/08/24 | Melco Crown Entertainment Limited | KY | 39 |
| 4 N/042302 | 2009/08/24 | 2009/08/24 | Melco Crown Entertainment Limited | KY | 39 |
| N/042303 | 2009/08/24 | 2009/08/24 | Melco Crown Entertainment Limited | KY | 41 |
| N/042304 | 2009/08/24 | 2009/08/24 | Melco Crown Entertainment Limited | KY | 41 |
| N/042305 | 2009/08/24 | 2009/08/24 | Melco Crown Entertainment Limited | KY | 41 |
| 4 N/042306 | 2009/08/24 | 2009/08/24 | Melco Crown Entertainment Limited | KY | 41 |
| N/042307 | 2009/08/24 | 2009/08/24 | Melco Crown Entertainment Limited | KY | 43 |
| N/042308 | 2009/08/24 | 2009/08/24 | Melco Crown Entertainment Limited | KY | 43 |
| N/042309 | 2009/08/24 | 2009/08/24 | Melco Crown Entertainment Limited | KY | 43 |
| 4 N/042310 | 2009/08/24 | 2009/08/24 | Melco Crown Entertainment Limited | KY | 43 |
| N/042311 | 2009/08/24 | 2009/08/24 | Melco Crown Entertainment Limited | KY | 43 |
| N/042312 | 2009/08/24 | 2009/08/24 | Melco Crown Entertainment Limited | KY | 43 |
| N/042313 | 2009/08/24 | 2009/08/24 | Melco Crown Entertainment Limited | KY | 43 |
| N/042314 | 2009/08/24 | 2009/08/24 | Melco Crown Entertainment Limited | KY | 43 |
| N/042315 | 2009/08/24 | 2009/08/24 | Melco Crown Entertainment Limited | KY | 43 |
| N/042316 | 2009/08/24 | 2009/08/24 | Melco Crown Entertainment Limited | KY | 43 |
| N/042317 | 2009/08/24 | 2009/08/24 | Melco Crown Entertainment Limited | KY | 43 |
| N/042318 | 2009/08/24 | 2009/08/24 | Melco Crown Entertainment Limited | KY | 43 |
| N/042319 | 2009/08/24 | 2009/08/24 | Melco Crown Entertainment Limited | KY | 43 |
| N/042320 | 2009/08/24 | 2009/08/24 | Melco Crown Entertainment Limited | KY | 43 |
| N/042321 | 2009/08/24 | 2009/08/24 | Melco Crown Entertainment Limited | KY | 43 |
| N/042322 | 2009/08/24 | 2009/08/24 | Melco Crown Entertainment Limited | KY | 43 |
| N/042323 | 2009/08/24 | 2009/08/24 | Melco Crown Entertainment Limited | KY | 43 |
| N/042324 | 2009/08/24 | 2009/08/24 | Melco Crown Entertainment Limited | KY | 43 |
| N/042325 | 2009/08/24 | 2009/08/24 | Melco Crown Entertainment Limited | KY | 43 |
| N/042326 | 2009/08/24 | 2009/08/24 | Melco Crown Entertainment Limited | KY | 43 |
| N/042327 | 2009/08/24 | 2009/08/24 | Melco Crown Entertainment Limited | KY | 43 |
| N/042328 | 2009/08/24 | 2009/08/24 | Melco Crown Entertainment Limited | KY | 43 |
| N/042329 | 2009/08/24 | 2009/08/24 | Melco Crown Entertainment Limited | KY | 43 |
| N/042330 | 2009/08/24 | 2009/08/24 | Melco Crown Entertainment Limited | KY | 43 |
| N/042331 | 2009/08/24 | 2009/08/24 | Melco Crown Entertainment Limited | KY | 43 |
| N/042332 | 2009/08/24 | 2009/08/24 | Melco Crown Entertainment Limited | KY | 43 |
| N/042333 | 2009/08/24 | 2009/08/24 | Melco Crown Entertainment Limited | KY | 43 |
| N/042334 | 2009/08/24 | 2009/08/24 | Melco Crown Entertainment Limited | KY | 43 |
| N/042335 | 2009/08/24 | 2009/08/24 | Melco Crown Entertainment Limited | KY | 43 |
| N/042336 | 2009/08/24 | 2009/08/24 | Melco Crown Entertainment Limited | KY | 43 |
| N/042337 | 2009/08/24 | 2009/08/24 | Melco Crown Entertainment Limited | KY | 43 |
| N/042338 | 2009/08/24 | 2009/08/24 | Melco Crown Entertainment Limited | KY | 43 |
| N/042339 | 2009/08/24 | 2009/08/24 | Melco Crown Entertainment Limited | KY | 43 |
| N/042340 | 2009/08/24 | 2009/08/24 | Melco Crown Entertainment Limited | KY | 43 |
| N/042341 | 2009/08/24 | 2009/08/24 | Melco Crown Entertainment Limited | KY | 43 |
| N/042342 | 2009/08/24 | 2009/08/24 | Melco Crown Entertainment Limited | KY | 43 |
| N/042343 | 2009/08/24 | 2009/08/24 | Melco Crown Entertainment Limited | KY | 43 |
| N/042344 | 2009/08/24 | 2009/08/24 | Melco Crown Entertainment Limited | KY | 43 |
| N/042345 | 2009/08/24 | 2009/08/24 | Melco Crown Entertainment Limited | KY | 43 |
| N/042346 | 2009/08/24 | 2009/08/24 | Melco Crown Entertainment Limited | KY | 43 |
| N/042347 | 2009/08/24 | 2009/08/24 | Melco Crown Entertainment Limited | KY | 43 |
| N/042348 | 2009/08/24 | 2009/08/24 | Melco Crown Entertainment Limited | KY | 43 |
| N/042349 | 2009/08/24 | 2009/08/24 | Melco Crown Entertainment Limited | KY | 43 |
| N/042350 | 2009/08/24 | 2009/08/24 | Melco Crown Entertainment Limited | KY | 43 |
| N/042351 | 2009/08/24 | 2009/08/24 | SINKO INDUSTRIES LTD. | JP | 11 |
| N/042352 | 2009/08/24 | 2009/08/24 | SINKO INDUSTRIES LTD. | JP | 11 |
| N/042353 | 2009/08/24 | 2009/08/24 | Godiva Belgium B.V.B.A. / S.P.R.L. | BE | 03 |
| N/042354 | 2009/08/24 | 2009/08/24 | Godiva Belgium B.V.B.A. / S.P.R.L. | BE | 04 |
| N/042355 | 2009/08/24 | 2009/08/24 | Godiva Belgium B.V.B.A. / S.P.R.L. | BE | 03 |
| N/042356 | 2009/08/24 | 2009/08/24 | Godiva Belgium B.V.B.A. / S.P.R.L. | BE | 04 |
| N/042357 | 2009/08/24 | 2009/08/24 | SONEPAR | FR | 35 |
| N/042358 | 2009/08/24 | 2009/08/24 | SONEPAR | FR | 37 |
| N/042359 | 2009/08/24 | 2009/08/24 | SONEPAR | FR | 39 |
| N/042360 | 2009/08/24 | 2009/08/24 | SONEPAR | FR | 41 |
| N/042361 | 2009/08/24 | 2009/08/24 | SONEPAR | FR | 42 |
| N/042362 | 2009/08/24 | 2009/08/24 | SONEPAR | FR | 35 |
| N/042363 | 2009/08/24 | 2009/08/24 | SONEPAR | FR | 37 |
| N/042364 | 2009/08/24 | 2009/08/24 | SONEPAR | FR | 39 |
| N/042365 | 2009/08/24 | 2009/08/24 | SONEPAR | FR | 41 |
| N/042366 | 2009/08/24 | 2009/08/24 | SONEPAR | FR | 42 |
| N/042367 | 2009/08/24 | 2009/08/24 | Hovione FarmaCiência S.A. | MO | 05 |
| N/042369 | 2009/08/24 | 2009/08/24 | ¤¤°ê¹q«H¡]¿Dªù¡^¦³¤½¥q | MO | 38 |
| N/042371 | 2009/08/24 | 2009/08/24 | ¤¤°ê¹q«H¡]¿Dªù¡^¦³¤½¥q | MO | 38 |
| N/042372 | 2009/08/24 | 2009/08/24 | ¤¤°ê¹q«H¡]¿Dªù¡^¦³¤½¥q | MO | 38 |
| N/042379 | 2009/08/24 | 2009/08/24 | Hutchison Whampoa Enterprises Limited | VG | 09 |
| N/042380 | 2009/08/24 | 2009/08/24 | Hutchison Whampoa Enterprises Limited | VG | 16 |
| N/042381 | 2009/08/24 | 2009/08/24 | Hutchison Whampoa Enterprises Limited | VG | 38 |
| N/042382 | 2009/08/24 | 2009/08/24 | Hutchison Whampoa Enterprises Limited | VG | 42 |
| N/042383 | 2009/08/24 | 2009/08/24 |
¤¤»R°ê»Ú¨Æ·~¦³¤½¥q CHUNG WU INTERNATIONAL ENTERPRISE CO., LTD. |
TW | 43 |
| N/042384 | 2009/08/24 | 2009/08/24 |
M&HºÞ²z¦³¤½¥q M&H MANAGEMENT LIMITED |
MU | 43 |
| N/042385 | 2009/08/24 | 2009/08/24 |
M&HºÞ²z¦³¤½¥q M&H MANAGEMENT LIMITED |
MU | 44 |
| 5 N/042386 | 2009/08/24 | 2009/08/24 |
M&HºÞ²z¦³¤½¥q M&H MANAGEMENT LIMITED |
MU | 43 |
| N/042389 | 2009/08/24 | 2009/08/24 | ¦wÀ²ªï¾r¶°¹Î¦³¤½¥q | CN | 33 |
| N/042390 | 2009/08/24 | 2009/08/24 |
²`¦`¥«½´©÷¹ê·~¦³¤½¥q SHENZHEN PENGCHANG INDUSTRY COMPANY LIMITED |
CN | 36 |
| N/042394 | 2009/08/24 | 2009/08/24 | WMS Gaming Inc. | US | 41 |
| N/042395 | 2009/08/24 | 2009/08/24 |
³¯¿²¿² Chan Chon Chon |
MO | 41 |
| N/042400 | 2009/08/24 | 2009/08/24 |
¬I¨q®ð Si Sao Hei |
MO | 25 |
| N/042401 | 2009/08/24 | 2009/08/24 |
¬I¨q®ð Si Sao Hei |
MO | 25 |
| N/042402 | 2009/08/24 | 2009/08/24 |
¬I¨q®ð Si Sao Hei |
MO | 25 |
| N/042403 | 2009/08/24 | 2009/08/24 |
¬I¨q®ð Si Sao Hei |
MO | 25 |
| N/042404 | 2009/08/24 | 2009/08/24 |
³¯§E°·¤å Chan U Kin Man |
MO | 30 |
| N/042406 | 2009/08/24 | 2009/08/24 | Helly Hansen AS | NO | 35 |
| N/042407 | 2009/08/24 | 2009/08/24 | Helly Hansen AS | NO | 35 |
| N/042408 | 2009/08/24 | 2009/08/24 | Helly Hansen AS | NO | 25 |
| N/042409 | 2009/08/24 | 2009/08/24 | Helly Hansen AS | NO | 25 |
| N/042410 | 2009/08/24 | 2009/08/24 | Manufacture Roger Dubuis S.A. | CH | 14 |
| N/042411 | 2009/08/24 | 2009/08/24 | Disney Enterprises, Inc. | US | 25 |
| N/042422 | 2009/08/24 | 2009/08/24 | FUSHUN YONGMAO CONSTRUCTION MACHINERY CO., LTD | CN | 07 |
| N/042423 | 2009/08/24 | 2009/08/24 | FUSHUN YONGMAO CONSTRUCTION MACHINERY CO., LTD | CN | 07 |
| N/042424 | 2009/08/24 | 2009/08/24 |
³¯·ç±j CHAN SOI KEONG |
MO | 30 |
| N/042425 | 2009/08/24 | 2009/08/24 | ¼s¦è¬h¤u¶°¹Î¦³¤½¥q | CN | 07 |
| N/042428 | 2009/08/24 | 2009/08/24 |
³Á°·¤~ Mak Kin Choi |
MO | 41 |
| N/042429 | 2009/08/24 | 2009/08/24 | ôÛ¤ñ¨È°ê®a©@°Ø«~Áp·ù | CO | 11 |
| N/042430 | 2009/08/24 | 2009/08/24 | ôÛ¤ñ¨È°ê®a©@°Ø«~Áp·ù | CO | 16 |
| N/042431 | 2009/08/24 | 2009/08/24 | ôÛ¤ñ¨È°ê®a©@°Ø«~Áp·ù | CO | 18 |
| N/042432 | 2009/08/24 | 2009/08/24 | ôÛ¤ñ¨È°ê®a©@°Ø«~Áp·ù | CO | 21 |
| N/042433 | 2009/08/24 | 2009/08/24 | ôÛ¤ñ¨È°ê®a©@°Ø«~Áp·ù | CO | 25 |
| N/042434 | 2009/08/24 | 2009/08/24 | ôÛ¤ñ¨È°ê®a©@°Ø«~Áp·ù | CO | 30 |
| N/042435 | 2009/08/24 | 2009/08/24 | ôÛ¤ñ¨È°ê®a©@°Ø«~Áp·ù | CO | 43 |
| N/042436 | 2009/08/24 | 2009/08/24 | ôÛ¤ñ¨È°ê®a©@°Ø«~Áp·ù | CO | 11 |
| N/042437 | 2009/08/24 | 2009/08/24 | ôÛ¤ñ¨È°ê®a©@°Ø«~Áp·ù | CO | 16 |
| N/042438 | 2009/08/24 | 2009/08/24 | ôÛ¤ñ¨È°ê®a©@°Ø«~Áp·ù | CO | 18 |
| N/042439 | 2009/08/24 | 2009/08/24 | ôÛ¤ñ¨È°ê®a©@°Ø«~Áp·ù | CO | 21 |
| N/042440 | 2009/08/24 | 2009/08/24 | ôÛ¤ñ¨È°ê®a©@°Ø«~Áp·ù | CO | 25 |
| N/042441 | 2009/08/24 | 2009/08/24 | ôÛ¤ñ¨È°ê®a©@°Ø«~Áp·ù | CO | 30 |
| N/042442 | 2009/08/24 | 2009/08/24 | ôÛ¤ñ¨È°ê®a©@°Ø«~Áp·ù | CO | 32 |
| N/042443 | 2009/08/24 | 2009/08/24 | ôÛ¤ñ¨È°ê®a©@°Ø«~Áp·ù | CO | 43 |
| N/042452 | 2009/08/24 | 2009/08/24 | ôÛ¤ñ¨È°ê®a©@°Ø«~Áp·ù | CO | 11 |
| N/042453 | 2009/08/24 | 2009/08/24 | ôÛ¤ñ¨È°ê®a©@°Ø«~Áp·ù | CO | 16 |
| N/042454 | 2009/08/24 | 2009/08/24 | ôÛ¤ñ¨È°ê®a©@°Ø«~Áp·ù | CO | 18 |
| N/042455 | 2009/08/24 | 2009/08/24 | ôÛ¤ñ¨È°ê®a©@°Ø«~Áp·ù | CO | 21 |
| N/042456 | 2009/08/24 | 2009/08/24 | ôÛ¤ñ¨È°ê®a©@°Ø«~Áp·ù | CO | 25 |
| N/042457 | 2009/08/24 | 2009/08/24 | ôÛ¤ñ¨È°ê®a©@°Ø«~Áp·ù | CO | 30 |
| N/042458 | 2009/08/24 | 2009/08/24 | ôÛ¤ñ¨È°ê®a©@°Ø«~Áp·ù | CO | 32 |
| N/042459 | 2009/08/24 | 2009/08/24 | ôÛ¤ñ¨È°ê®a©@°Ø«~Áp·ù | CO | 43 |
| N/042463 | 2009/08/24 | 2009/08/24 | ôÛ¤ñ¨È°ê®a©@°Ø«~Áp·ù | CO | 30 |
| N/042464 | 2009/08/24 | 2009/08/24 | ôÛ¤ñ¨È°ê®a©@°Ø«~Áp·ù | CO | 32 |
| N/042465 | 2009/08/24 | 2009/08/24 | ôÛ¤ñ¨È°ê®a©@°Ø«~Áp·ù | CO | 43 |
| 6 N/042467 | 2009/08/24 | 2009/08/24 | ôÛ¤ñ¨È°ê®a©@°Ø«~Áp·ù | CO | 32 |
| 6 N/042468 | 2009/08/24 | 2009/08/24 | ôÛ¤ñ¨È°ê®a©@°Ø«~Áp·ù | CO | 43 |
| N/042469 | 2009/08/24 | 2009/08/24 | ôÛ¤ñ¨È°ê®a©@°Ø«~Áp·ù | CO | 30 |
| N/042470 | 2009/08/24 | 2009/08/24 | ôÛ¤ñ¨È°ê®a©@°Ø«~Áp·ù | CO | 32 |
| N/042471 | 2009/08/24 | 2009/08/24 | ôÛ¤ñ¨È°ê®a©@°Ø«~Áp·ù | CO | 43 |
| 7 N/042473 | 2009/08/24 | 2009/08/24 | ôÛ¤ñ¨È°ê®a©@°Ø«~Áp·ù | CO | 32 |
| 7 N/042474 | 2009/08/24 | 2009/08/24 | ôÛ¤ñ¨È°ê®a©@°Ø«~Áp·ù | CO | 43 |
| N/042476 | 2009/08/24 | 2009/08/24 | ¹QÀAÀÜ | CN | 21 |
| N/042477 | 2009/08/24 | 2009/08/24 | ¹QÀAÀÜ | CN | 21 |
| N/042478 | 2009/08/24 | 2009/08/24 | ¤¤°ê»È¦æªÑ¥÷¦³¤½¥q | CN | 09 |
| N/042479 | 2009/08/24 | 2009/08/24 | ¤¤°ê»È¦æªÑ¥÷¦³¤½¥q | CN | 14 |
| N/042480 | 2009/08/24 | 2009/08/24 | ¤¤°ê»È¦æªÑ¥÷¦³¤½¥q | CN | 16 |
| N/042481 | 2009/08/24 | 2009/08/24 | ¤¤°ê»È¦æªÑ¥÷¦³¤½¥q | CN | 35 |
| N/042482 | 2009/08/24 | 2009/08/24 | ¤¤°ê»È¦æªÑ¥÷¦³¤½¥q | CN | 36 |
| N/042483 | 2009/08/24 | 2009/08/24 | ¤¤°ê»È¦æªÑ¥÷¦³¤½¥q | CN | 37 |
| N/042484 | 2009/08/24 | 2009/08/24 | ¤¤°ê»È¦æªÑ¥÷¦³¤½¥q | CN | 38 |
| N/042485 | 2009/08/24 | 2009/08/24 | ¤¤°ê»È¦æªÑ¥÷¦³¤½¥q | CN | 41 |
| N/042486 | 2009/08/24 | 2009/08/24 | ¤¤°ê»È¦æªÑ¥÷¦³¤½¥q | CN | 42 |
| N/042487 | 2009/08/24 | 2009/08/24 | ¤¤°ê»È¦æªÑ¥÷¦³¤½¥q | CN | 43 |
| N/042488 | 2009/08/24 | 2009/08/24 | ¤¤°ê»È¦æªÑ¥÷¦³¤½¥q | CN | 09 |
| N/042489 | 2009/08/24 | 2009/08/24 | ¤¤°ê»È¦æªÑ¥÷¦³¤½¥q | CN | 14 |
| N/042490 | 2009/08/24 | 2009/08/24 | ¤¤°ê»È¦æªÑ¥÷¦³¤½¥q | CN | 16 |
| N/042491 | 2009/08/24 | 2009/08/24 | ¤¤°ê»È¦æªÑ¥÷¦³¤½¥q | CN | 35 |
| N/042492 | 2009/08/24 | 2009/08/24 | ¤¤°ê»È¦æªÑ¥÷¦³¤½¥q | CN | 36 |
| N/042493 | 2009/08/24 | 2009/08/24 | ¤¤°ê»È¦æªÑ¥÷¦³¤½¥q | CN | 37 |
| N/042494 | 2009/08/24 | 2009/08/24 | ¤¤°ê»È¦æªÑ¥÷¦³¤½¥q | CN | 38 |
| N/042495 | 2009/08/24 | 2009/08/24 | ¤¤°ê»È¦æªÑ¥÷¦³¤½¥q | CN | 41 |
| N/042496 | 2009/08/24 | 2009/08/24 | ¤¤°ê»È¦æªÑ¥÷¦³¤½¥q | CN | 42 |
| N/042497 | 2009/08/24 | 2009/08/24 | ¤¤°ê»È¦æªÑ¥÷¦³¤½¥q | CN | 43 |
| N/042498 | 2009/08/24 | 2009/08/24 | ¤¤°ê»È¦æªÑ¥÷¦³¤½¥q | CN | 09 |
| N/042499 | 2009/08/24 | 2009/08/24 | ¤¤°ê»È¦æªÑ¥÷¦³¤½¥q | CN | 14 |
| N/042500 | 2009/08/24 | 2009/08/24 | ¤¤°ê»È¦æªÑ¥÷¦³¤½¥q | CN | 16 |
| N/042501 | 2009/08/24 | 2009/08/24 | ¤¤°ê»È¦æªÑ¥÷¦³¤½¥q | CN | 35 |
| N/042502 | 2009/08/24 | 2009/08/24 | ¤¤°ê»È¦æªÑ¥÷¦³¤½¥q | CN | 36 |
| N/042503 | 2009/08/24 | 2009/08/24 | ¤¤°ê»È¦æªÑ¥÷¦³¤½¥q | CN | 37 |
| N/042504 | 2009/08/24 | 2009/08/24 | ¤¤°ê»È¦æªÑ¥÷¦³¤½¥q | CN | 38 |
| N/042505 | 2009/08/24 | 2009/08/24 | ¤¤°ê»È¦æªÑ¥÷¦³¤½¥q | CN | 41 |
| N/042506 | 2009/08/24 | 2009/08/24 | ¤¤°ê»È¦æªÑ¥÷¦³¤½¥q | CN | 42 |
| N/042507 | 2009/08/24 | 2009/08/24 | ¤¤°ê»È¦æªÑ¥÷¦³¤½¥q | CN | 43 |
| N/042508 | 2009/08/24 | 2009/08/24 | ¤¤°ê»È¦æªÑ¥÷¦³¤½¥q | CN | 09 |
| N/042509 | 2009/08/24 | 2009/08/24 | ¤¤°ê»È¦æªÑ¥÷¦³¤½¥q | CN | 14 |
| N/042510 | 2009/08/24 | 2009/08/24 | ¤¤°ê»È¦æªÑ¥÷¦³¤½¥q | CN | 16 |
| N/042511 | 2009/08/24 | 2009/08/24 | ¤¤°ê»È¦æªÑ¥÷¦³¤½¥q | CN | 35 |
| N/042512 | 2009/08/24 | 2009/08/24 | ¤¤°ê»È¦æªÑ¥÷¦³¤½¥q | CN | 36 |
| N/042513 | 2009/08/24 | 2009/08/24 | ¤¤°ê»È¦æªÑ¥÷¦³¤½¥q | CN | 37 |
| N/042514 | 2009/08/24 | 2009/08/24 | ¤¤°ê»È¦æªÑ¥÷¦³¤½¥q | CN | 38 |
| N/042515 | 2009/08/24 | 2009/08/24 | ¤¤°ê»È¦æªÑ¥÷¦³¤½¥q | CN | 41 |
| N/042516 | 2009/08/24 | 2009/08/24 | ¤¤°ê»È¦æªÑ¥÷¦³¤½¥q | CN | 42 |
| N/042517 | 2009/08/24 | 2009/08/24 | ¤¤°ê»È¦æªÑ¥÷¦³¤½¥q | CN | 43 |
| N/042518 | 2009/08/24 | 2009/08/24 | ¤¤°ê»È¦æªÑ¥÷¦³¤½¥q | CN | 09 |
| N/042519 | 2009/08/24 | 2009/08/24 | ¤¤°ê»È¦æªÑ¥÷¦³¤½¥q | CN | 14 |
| N/042520 | 2009/08/24 | 2009/08/24 | ¤¤°ê»È¦æªÑ¥÷¦³¤½¥q | CN | 16 |
| N/042521 | 2009/08/24 | 2009/08/24 | ¤¤°ê»È¦æªÑ¥÷¦³¤½¥q | CN | 35 |
| N/042522 | 2009/08/24 | 2009/08/24 | ¤¤°ê»È¦æªÑ¥÷¦³¤½¥q | CN | 36 |
| N/042523 | 2009/08/24 | 2009/08/24 | ¤¤°ê»È¦æªÑ¥÷¦³¤½¥q | CN | 37 |
| N/042524 | 2009/08/24 | 2009/08/24 | ¤¤°ê»È¦æªÑ¥÷¦³¤½¥q | CN | 38 |
| N/042525 | 2009/08/24 | 2009/08/24 | ¤¤°ê»È¦æªÑ¥÷¦³¤½¥q | CN | 41 |
| N/042526 | 2009/08/24 | 2009/08/24 | ¤¤°ê»È¦æªÑ¥÷¦³¤½¥q | CN | 42 |
| N/042527 | 2009/08/24 | 2009/08/24 | ¤¤°ê»È¦æªÑ¥÷¦³¤½¥q | CN | 43 |
| N/042528 | 2009/08/24 | 2009/08/24 | ¤¤°ê»È¦æªÑ¥÷¦³¤½¥q | CN | 09 |
| N/042529 | 2009/08/24 | 2009/08/24 | ¤¤°ê»È¦æªÑ¥÷¦³¤½¥q | CN | 14 |
| N/042530 | 2009/08/24 | 2009/08/24 | ¤¤°ê»È¦æªÑ¥÷¦³¤½¥q | CN | 16 |
| N/042531 | 2009/08/24 | 2009/08/24 | ¤¤°ê»È¦æªÑ¥÷¦³¤½¥q | CN | 35 |
| N/042532 | 2009/08/24 | 2009/08/24 | ¤¤°ê»È¦æªÑ¥÷¦³¤½¥q | CN | 36 |
| N/042533 | 2009/08/24 | 2009/08/24 | ¤¤°ê»È¦æªÑ¥÷¦³¤½¥q | CN | 37 |
| N/042534 | 2009/08/24 | 2009/08/24 | ¤¤°ê»È¦æªÑ¥÷¦³¤½¥q | CN | 38 |
| N/042535 | 2009/08/24 | 2009/08/24 | ¤¤°ê»È¦æªÑ¥÷¦³¤½¥q | CN | 41 |
| N/042536 | 2009/08/24 | 2009/08/24 | ¤¤°ê»È¦æªÑ¥÷¦³¤½¥q | CN | 42 |
| N/042537 | 2009/08/24 | 2009/08/24 | ¤¤°ê»È¦æªÑ¥÷¦³¤½¥q | CN | 43 |
| N/042538 | 2009/08/24 | 2009/08/24 | ¤¤°ê»È¦æªÑ¥÷¦³¤½¥q | CN | 36 |
| N/042539 | 2009/08/24 | 2009/08/24 | ¤¤°ê»È¦æªÑ¥÷¦³¤½¥q | CN | 36 |
| N/042540 | 2009/08/24 | 2009/08/24 | ¤¤°ê»È¦æªÑ¥÷¦³¤½¥q | CN | 36 |
| N/042541 | 2009/08/24 | 2009/08/24 | ¤¤°ê»È¦æªÑ¥÷¦³¤½¥q | CN | 36 |
| N/042542 | 2009/08/24 | 2009/08/24 | E. REMY MARTIN & C¢X | FR | 29 |
| N/042543 | 2009/08/24 | 2009/08/24 | E. REMY MARTIN & C¢X | FR | 30 |
| N/042551 | 2009/08/24 | 2009/08/24 | ²`¦`¥«°Ò©gªâ°w´«~¦³¤½¥q | CN | 25 |
| N/042552 | 2009/08/24 | 2009/08/24 | ¥_¨Ê¿P¨Ê°à°s¶°¹Î¤½¥q | CN | 32 |
| N/042553 | 2009/08/24 | 2009/08/24 | BIOIBERICA, S.A. | ES | 01 |
| N/042554 | 2009/08/24 | 2009/08/24 |
¤ýªø¼y Wong Cheong Heng |
MO | 34 |
| N/042561 | 2009/08/24 | 2009/08/24 |
®]©ú±j SUN MINGQIANG |
CN | 38 |
| N/042563 | 2009/08/24 | 2009/08/24 | Consitex S.A. | CH | 14 |
| N/042564 | 2009/08/24 | 2009/08/24 | Consitex S.A. | CH | 16 |
| N/042566 | 2009/08/24 | 2009/08/24 | Toyota Jidosha Kabushiki Kaisha (also trading as Toyota Motor Corporation) | JP | 12 |
| N/042567 | 2009/08/24 | 2009/08/24 | IGT | US | 09 |
| N/042568 | 2009/08/24 | 2009/08/24 | IGT | US | 09 |
| N/042569 | 2009/08/24 | 2009/08/24 | IGT | US | 09 |
| N/042570 | 2009/08/24 | 2009/08/24 | IGT | US | 09 |
| N/042571 | 2009/08/24 | 2009/08/24 | IGT | US | 09 |
| N/042572 | 2009/08/24 | 2009/08/24 | IGT | US | 09 |
| N/042573 | 2009/08/24 | 2009/08/24 | IGT | US | 09 |
| N/042574 | 2009/08/24 | 2009/08/24 | IGT | US | 09 |
| N/042575 | 2009/08/24 | 2009/08/24 | IGT | US | 09 |
| N/042576 | 2009/08/24 | 2009/08/24 | IGT | US | 09 |
| N/042586 | 2009/08/24 | 2009/08/24 | A.I.A. S.p.A. AGRICOLA ITALIANA ALIMENTARE | IT | 29 |
| N/042587 | 2009/08/24 | 2009/08/24 | A.I.A. S.p.A. AGRICOLA ITALIANA ALIMENTARE | IT | 29 |
| N/042599 | 2009/08/24 | 2009/08/24 | Nintendo Co., Ltd. | JP | 09 |
| N/042600 | 2009/08/24 | 2009/08/24 | Nintendo Co., Ltd. | JP | 16 |
| N/042601 | 2009/08/24 | 2009/08/24 | Nintendo Co., Ltd. | JP | 28 |
| N/042602 | 2009/08/24 | 2009/08/24 | Nintendo Co., Ltd. | JP | 35 |
| N/042603 | 2009/08/24 | 2009/08/24 | Nintendo Co., Ltd. | JP | 38 |
| N/042604 | 2009/08/24 | 2009/08/24 | Nintendo Co., Ltd. | JP | 41 |
| N/042605 | 2009/08/24 | 2009/08/24 | Nintendo Co., Ltd. | JP | 42 |
| 8 N/042606 | 2009/08/24 | 2009/08/24 | THE WELLCARE S.R.L. | IT | 03 |
| N/042607 | 2009/08/24 | 2009/08/24 | THE WELLCARE S.R.L. | IT | 03 |
| N/042608 | 2009/08/24 | 2009/08/24 | STEFANEL - S.p.A. | IT | 25 |
- 1 ¤£§åµ¹¡§Àu½è¡¨µü»yªº±MÄݨϥÎÅv§Q¡C
- 2 ¤£§åµ¹¡§¥Ì©M¯ù¡¨¤Î¡§KAM WO TEA¡¨µü»yªº±MÄݨϥÎÅv§Q¡C
- 3 ¤£§åµ¹¡§THE WORLD¡¦S MOST PERFECTLY CUT DIAMOND¡¨µü»yªº±MÄݨϥÎÅv§Q¡C
- 4 ¤£§åµ¹¡§MACAU¡¨µü»yªº±MÄݨϥÎÅv§Q¡C
- 5 ¤£§åµ¹¡§.com¡¨µü»yªº±MÄݨϥÎÅv§Q¡C
- 6 ¤£§åµ¹¡§ôÛ¤ñ¨È¡¨µü»yªº±MÄݨϥÎÅv§Q¡C
- 7 ¤£§åµ¹¡§Colombia¡¨µü»yªº±MÄݨϥÎÅv§Q¡C
- 8 ¤£§åµ¹¡§skin care¡¨µü»yªº±MÄݨϥÎÅv§Q¡C
Àç·~³õ©Ò¦WºÙ¤§«OÅ@
§åµ¹
| µ{§Ç½s¸¹ | µù¥U¤é´Á | §å¥Ü¤é´Á | µù¥UÅv§Q¤H¤§¦WºÙ | ©ÒÄݰê/¦a°Ï |
| 1 E/000116 | 2009/08/24 | 2009/08/24 | AomenTV Limited | MO |
| E/000121 | 2009/08/24 | 2009/08/24 |
³¯¾ð¥ú CHAN SU KUONG |
MO |
| E/000122 | 2009/08/24 | 2009/08/24 |
³¯§E°·¤å Chan U Kin Man |
MO |
| 2 E/000123 | 2009/08/24 | 2009/08/24 |
³£¥«°Ó¶T¦³¤½¥q AGENCIA COMERCIAL TOU SI LDA. / SUCCEED TRADE LTD. |
MO |
- 1 ¤£§åµ¹¡§¿Dªù¡¨µü»yªº±MÄݨϥÎÅv§Q¡C
- 2 ¤£§åµ¹¡§www.¡¨¤Î¡§.com¡¨µü»yªº±MÄݨϥÎÅv§Q¡C
³]p¤Î·s«¬¤§«OÅ@
§åµ¹
| µ{§Ç½s¸¹ | µù¥U¤é´Á | §å¥Ü¤é´Á | µù¥UÅv§Q¤H¤§¦WºÙ | ©ÒÄݰê/¦a°Ï |
| D/000301 | 2009/09/01 | 2009/09/01 | Shuffle Master, Inc. | US |
| D/000496 | 2009/09/01 | 2009/09/01 | De Beers Centenary AG | CH |
| D/000497 | 2009/09/01 | 2009/09/01 | De Beers Centenary AG | CH |
| D/000498 | 2009/09/01 | 2009/09/01 | De Beers Centenary AG | CH |
| D/000499 | 2009/09/01 | 2009/09/01 | De Beers Centenary AG | CH |
| D/000500 | 2009/09/01 | 2009/09/01 | De Beers Centenary AG | CH |
| D/000501 | 2009/09/01 | 2009/09/01 | De Beers Centenary AG | CH |
| D/000502 | 2009/09/01 | 2009/09/01 | De Beers Centenary AG | CH |
| D/000503 | 2009/09/01 | 2009/09/01 | De Beers Centenary AG | CH |
| D/000504 | 2009/09/01 | 2009/09/01 | De Beers Centenary AG | CH |
| D/000505 | 2009/09/01 | 2009/09/01 | De Beers Centenary AG | CH |
| D/000506 | 2009/09/01 | 2009/09/01 | De Beers Centenary AG | CH |
| D/000507 | 2009/09/01 | 2009/09/01 | De Beers Centenary AG | CH |
| D/000529 | 2009/09/01 | 2009/09/01 | SEIKO EPSON CORPORATION | JP |
| D/000533 | 2009/09/01 | 2009/09/01 | Otsuka Pharmaceutical Co., Ltd. | JP |
µo©ú±M§Q¤§«OÅ@
§åµ¹
| µ{§Ç½s¸¹ | µù¥U¤é´Á | §å¥Ü¤é´Á | µù¥UÅv§Q¤H¤§¦WºÙ | ©ÒÄݰê/¦a°Ï |
| I/000128 | 2009/08/20 | 2009/08/20 |
¶ø±ø ½å¤@¤Î¾ô¥» ´¼¦æ Kenichi OKUJYO e Tomoyuki HASHIMOTO |
JP |
| I/000242 | 2009/08/20 | 2009/08/20 |
ªü¾|µ¦®è¦¡·|ªÀ Aruze Corp. |
JP |
| I/000439 | 2009/08/20 | 2009/08/20 | Aruze Corp. | JP |
| I/000440 | 2009/08/20 | 2009/08/20 | Aruze Corp. | JP |
| I/000460 | 2009/08/20 | 2009/08/20 | Angel Playing Cards Co., Ltd. | JP |
| I/000535 | 2009/08/20 | 2009/08/20 |
ªü¾|µ¦®è¦¡·|ªÀ Aruze Corp. |
JP |
| I/000539 | 2009/08/20 | 2009/08/20 |
ªü¾|µ¦®è¦¡·|ªÀ Aruze Corp. |
JP |
| I/000548 | 2009/08/20 | 2009/08/20 | Aruze Gaming America, Inc. | US |
| I/000558 | 2009/08/20 | 2009/08/20 |
ªü¾|µ¦®è¦¡·|ªÀ Aruze Corp. |
JP |
| I/000564 | 2009/08/20 | 2009/08/20 |
ªü¾|µ¦¹CÀ¸¬ü°ê¦³¤½¥q Aruze Gaming America, Inc. |
US |
| I/000681 | 2009/08/20 | 2009/08/20 |
®õ°¶¹q¤lªÑ¥÷¦³¤½¥q ASTRO CORPORATION |
TW |
°Ó¼Ð¤§«OÅ@
Äò´Á
| µ{§Ç½s¸¹ | °Ó¼Ð½s¸¹ | Äò®i¤é´Á | µù¥UÅv§Q¤H¤§¦WºÙ | ©ÒÄݰê/¦a°Ï |
| P/001983 | 1886-M | 2009/08/17 | E.R. SQUIBB & SONS, LLC | US |
| P/002034 | 1937-M | 2009/08/17 | E.R. SQUIBB & SONS, LLC | US |
| P/003764 | 3635-M | 2009/09/08 | NETHERBY LIMITED | GB |
| P/005419 | 5277-M | 2009/08/31 | MERRELL PHARMACEUTICALS INC. | US |
| P/006303 | 6128-M | 2009/08/18 | SIMON & SCHUSTER, INC. | US |
| P/006794 | 6582-M | 2009/09/01 | LUCULLUS FOOD & WINES COMPANY, LIMITED | HK |
| P/009005 | 8736-M | 2009/08/17 | THE REGENTS OF THE UNIVERSITY OF CALIFORNIA | US |
| P/009375 | 9143-M | 2009/08/25 | C.S.S. JEWELLERY COMPANY LIMITED | HK |
| P/010185 | 10107-M | 2009/08/18 | COMPAQ TRADEMARK, B.V. | NL |
| P/010229 | 10150-M | 2009/08/17 | BURBERRY LIMITED | GB |
| P/010246 | 10156-M | 2009/08/25 | HILLMAN MATTRESS MANUFACTORY LIMITED | HK |
| P/010624 | 10509-M | 2009/08/12 | WOLVERINE WORLD WIDE, INC. | US |
| P/010811 | 10916-M | 2009/08/20 | INVESTCORP S.A. | LU |
| P/011258 | 11272-M | 2009/08/17 | WOLVERINE WORLD WIDE, INC. | US |
| P/012143 | 11987-M | 2009/09/08 | ZEBRA CO. LTD. | JP |
| P/015484 | 15421-M | 2009/08/25 | GUANGDONG FOODSTUFFS IMPORT & EXPORT (GROUP) CORPORATION | CN |
| P/015536 | 15494-M | 2009/08/12 | ASSOCIAZIONE RADIO MARIA | IT |
| P/015549 | 12164-M | 2009/08/18 | SUNFLEX SPORT SCHNELLBUGEL+ZIMMERMANN GmbH + CO. KG | DE |
| N/000023 | - | 2009/08/20 | CAMUS LA GRANDE MARQUE, société anonyme | FR |
| N/000087 | - | 2009/08/31 | Anteprima Limited | HK |
| N/000151 | - | 2009/08/31 | Anteprima Limited | HK |
| N/000184 | - | 2009/09/08 | SABONA RHEUMATIC RELIEF CO LIMITED | GB |
| N/008292 | - | 2009/08/25 | Diageo Ireland | IE |
| N/008749 | - | 2009/08/12 | REPUBLIC TECHNOLOGIES (NA) LLC | US |
| N/009080 | - | 2009/08/31 | Pfizer Health AB | SE |
| N/009115 | - | 2009/08/31 | Kabushiki Kaisha Sony Computer Entertainment (Sony Computer Entertainment Inc.) | JP |
| N/009116 | - | 2009/08/31 | Kabushiki Kaisha Sony Computer Entertainment (Sony Computer Entertainment Inc.) | JP |
| N/009200 | - | 2009/08/18 | PT Comunicações, S.A. | PT |
| N/009201 | - | 2009/08/18 | PT Comunicaçõs, S.A. | PT |
| N/009272 | - | 2009/09/08 | Ho Chai Kung Medicine Manufactory Limited | HK |
| N/009280 | - | 2009/08/14 |
³\¤Ö¶¯ Hoi Sio Hong |
MO |
| N/009281 | -- | 2009/08/14 |
³\¤Ö¶¯ Hoi Sio Hong |
MO |
| N/009398 | -- | 2009/08/17 | WOLVERINE OUTDOORS, INC., uma sociedade norte-americana (Estado de Michigan) | US |
| N/009399 | -- | 2009/08/17 | WOLVERINE OUTDOORS, INC., uma sociedade norte-americana (Estado de Michigan) | US |
| N/009406 | -- | 2009/08/18 | MULHENS GmbH & C¢X KG | DE |
| N/009407 | -- | 2009/08/17 | Man Sang Innovations Limited | HK |
| N/009422 | -- | 2009/09/08 | KIRIN HOLDINGS KABUSHIKI KAISHA (also trading as Kirin Holdings Co., Ltd.) | JP |
| N/009423 | -- | 2009/09/08 | KIRIN HOLDINGS KABUSHIKI KAISHA (also trading as Kirin Holdings Co., Ltd.) | JP |
| N/009428 | -- | 2009/08/20 | Warner-Lambert Company LLC | US |
| N/009478 | -- | 2009/08/19 | NICI AG | DE |
| N/009479 | -- | 2009/08/19 | NICI AG | DE |
| N/009480 | -- | 2009/08/19 | NICI AG | DE |
| N/009481 | -- | 2009/08/19 | NICI AG | DE |
| N/009482 | -- | 2009/08/19 | NICI AG | DE |
| N/009483 | -- | 2009/08/19 | NICI AG | DE |
| N/009484 | -- | 2009/08/19 | NICI AG | DE |
| N/009488 | -- | 2009/08/17 | Hu Kim Ai comercializando como Geneve Timepiece, organizada e existindo segundo as leis da Malásia | MY |
| N/009489 | -- | 2009/08/17 | Hu Kim Ai comercializando como Geneve Timepiece, organizada e existindo segundo as leis da Malásia | MY |
| N/009490 | -- | 2009/08/17 | Hu Kim Ai comercializando como Geneve Timepiece, organizada e existindo segundo as leis da Malásia | MY |
| N/009491 | -- | 2009/08/17 | Hu Kim Ai comercializando como Geneve Timepiece, organizada e existindo segundo as leis da Malásia | MY |
| N/009492 | -- | 2009/08/17 | Hu Kim Ai comercializando como Geneve Timepiece, organizada e existindo segundo as leis da Malásia | MY |
| N/009493 | -- | 2009/08/17 | Hu Kim Ai comercializando como Geneve Timepiece, organizada e existindo segundo as leis da Malásia | MY |
| N/009540 | -- | 2009/08/18 | TURBOJET FERRY SERVICES (MACAU) LIMITED | MO |
| N/009551 | -- | 2009/08/14 |
³\¤Ö¶¯ Hoi Sio Hong |
MO |
| N/009552 | -- | 2009/08/14 |
³\¤Ö¶¯ Hoi Sio Hong |
MO |
| N/009553 | -- | 2009/08/14 |
³\¤Ö¶¯ Hoi Sio Hong |
MO |
| N/009556 | -- | 2009/08/17 | SOCIETE DU FIGARO S.A. | FR |
| N/009614 | -- | 2009/08/17 | LIZ CLAIBORNE, INC., uma sociedade organizada e existindo segundo as leis do Estado de Delaware | US |
| N/009615 | -- | 2009/08/17 | LIZ CLAIBORNE, INC., uma sociedade organizada e existindo segundo as leis do Estado de Delaware | US |
| N/009616 | -- | 2009/08/25 | PHARMACIA & UPJOHN COMPANY LLC | US |
| N/009632 | -- | 2009/08/31 | Sweetyet Development Ltd. | HK |
| N/009634 | -- | 2009/08/17 | LUBRIZOL ADVANCED MATERIALS, INC. | US |
| N/009636 | -- | 2009/08/17 | LUBRIZOL ADVANCED MATERIALS, INC. | US |
| N/009674 | -- | 2009/08/17 | Forum Restaurant (1977) Ltd | HK |
| N/009675 | -- | 2009/08/20 | PCCW Enterprises Limited | HK |
| N/009676 | -- | 2009/08/20 | PCCW Enterprises Limited | HK |
| N/009677 | -- | 2009/08/20 | PCCW Enterprises Limited | HK |
| N/009678 | -- | 2009/08/20 | PCCW Enterprises Limited | HK |
| N/009679 | -- | 2009/08/20 | PCCW Enterprises Limited | HK |
| N/009680 | -- | 2009/08/20 | PCCW Enterprises Limited | HK |
| N/009681 | -- | 2009/08/20 | PCCW Enterprises Limited | HK |
| N/009682 | -- | 2009/08/20 | PCCW Enterprises Limited | HK |
| N/009683 | -- | 2009/08/20 | PCCW Enterprises Limited | HK |
| N/009684 | -- | 2009/08/20 | PCCW Enterprises Limited | HK |
| N/009685 | -- | 2009/08/20 | PCCW Enterprises Limited | HK |
| N/009686 | -- | 2009/08/20 | PCCW Enterprises Limited | HK |
| N/009687 | -- | 2009/08/20 | PCCW Enterprises Limited | HK |
| N/009688 | -- | 2009/08/20 | PCCW Enterprises Limited | HK |
| N/009689 | -- | 2009/08/20 | PCCW Enterprises Limited | HK |
| N/009690 | -- | 2009/08/20 | PCCW Enterprises Limited | HK |
| N/009691 | -- | 2009/08/20 | PCCW Enterprises Limited | HK |
| N/009692 | -- | 2009/08/20 | PCCW Enterprises Limited | HK |
| N/009693 | -- | 2009/08/17 | KGI HONG KONG LIMITED, uma companhia de responsabilidade limitada incorporada e existindo segundo as leis de Hong Kong | HK |
| N/009694 | -- | 2009/08/17 | KGI HONG KONG LIMITED, uma companhia de responsabilidade limitada incorporada e existindo segundo as leis de Hong Kong | HK |
| N/009695 | -- | 2009/08/17 | KGI HONG KONG LIMITED, uma companhia de responsabilidade limitada incorporada e existindo segundo as leis de Hong Kong | HK |
| N/009696 | -- | 2009/08/17 | KGI HONG KONG LIMITED, uma companhia de responsabilidade limitada incorporada e existindo segundo as leis de Hong Kong | HK |
| N/009697 | -- | 2009/08/17 | KGI HONG KONG LIMITED, uma companhia de responsabilidade limitada incorporada e existindo segundo as leis de Hong Kong | HK |
| N/009698 | -- | 2009/08/17 | KGI HONG KONG LIMITED, uma companhia de responsabilidade limitada incorporada e existindo segundo as leis de Hong Kong | HK |
| N/009719 | -- | 2009/08/25 |
µ{¶W»¨ CHING, CHIU HO |
MO |
| N/009739 | -- | 2009/08/12 | CASTROL LIMITED | GB |
| N/009745 | -- | 2009/08/31 | EU YAN SANG INTERNATIONAL LTD., uma companhia incorporada em Singapura | SG |
| N/009750 | -- | 2009/08/25 | Kabushiki Kaisha Fast Retailing (d/b/a Fast Retailing Co., Ltd), uma companhia limitada | JP |
| N/009751 | -- | 2009/08/25 | Kabushiki Kaisha Fast Retailing (d/b/a Fast Retailing Co., Ltd), uma companhia limitada | JP |
| N/009752 | -- | 2009/08/25 | Kabushiki Kaisha Fast Retailing (d/b/a Fast Retailing Co., Ltd), uma companhia limitada | JP |
| N/009753 | -- | 2009/08/25 | Kabushiki Kaisha Fast Retailing (d/b/a Fast Retailing Co., Ltd), uma companhia limitada | JP |
| N/009754 | -- | 2009/08/25 | Kabushiki Kaisha Fast Retailing (d/b/a Fast Retailing Co., Ltd), uma companhia limitada | JP |
| N/009755 | -- | 2009/08/25 | Kabushiki Kaisha Fast Retailing (d/b/a Fast Retailing Co., Ltd), uma companhia limitada | JP |
| N/009756 | -- | 2009/08/25 | Kabushiki Kaisha Fast Retailing (d/b/a Fast Retailing Co., Ltd), uma companhia limitada | JP |
| N/009757 | -- | 2009/09/08 | FANCL CORPORATION | JP |
| N/009762 | -- | 2009/09/08 | FANCL CORPORATION | JP |
| N/009767 | -- | 2009/09/08 | FANCL CORPORATION | JP |
| N/009772 | -- | 2009/08/31 | Bayerische Motoren Werke Aktiengesellschaft, uma sociedade incorporada e existindo segundo as leis alemãs | DE |
| N/009773 | -- | 2009/08/31 | Bayerische Motoren Werke Aktiengesellschaft, uma sociedade incorporada e existindo segundo as leis alemãs | DE |
| N/009775 | -- | 2009/09/08 | GeVeMa GmbH | DE |
| N/009782 | -- | 2009/08/31 | Bayerische Motoren Werke Aktiengesellschaft, uma sociedade incorporada e existindo segundo as leis alemãs | DE |
| N/009783 | -- | 2009/08/31 | Bayerische Motoren Werke Aktiengesellschaft, uma sociedade incorporada e existindo segundo as leis alemãs | DE |
| N/009784 | -- | 2009/08/31 | Bayerische Motoren Werke Aktiengesellschaft, uma sociedade incorporada e existindo segundo as leis alemãs | DE |
| N/009785 | -- | 2009/08/31 | Bayerische Motoren Werke Aktiengesellschaft, uma sociedade incorporada e existindo segundo as leis alemãs | DE |
| N/009788 | -- | 2009/08/26 |
§g¬F°ê»Ú¡]¿Dªù¡^ ¦³¤½¥q CROSS INTERNATIONAL (MACAU) LTD. |
MO |
| N/009821 | -- | 2009/08/17 | CITIGROUP INC. | US |
| N/009828 | -- | 2009/08/25 |
¼sªF¬Ù¹«~¶i¥X¤f¶°¹Î¤½¥q Guangdong Foodstuffs Import & Export (Group) Corporation |
CN |
| N/009829 | -- | 2009/08/25 |
¼sªF¬Ù¹«~¶i¥X¤f¶°¹Î¤½¥q Guangdong Foodstuffs Import & Export (Group) Corporation |
CN |
| N/009830 | -- | 2009/08/25 |
¼sªF¬Ù¹«~¶i¥X¤f¶°¹Î¤½¥q Guangdong Foodstuffs Import & Export (Group) Corporation |
CN |
| N/009831 | -- | 2009/08/25 |
¼sªF¬Ù¹«~¶i¥X¤f¶°¹Î¤½¥q Guangdong Foodstuffs Import & Export (Group) Corporation |
CN |
| N/009850 | -- | 2009/09/08 | Forbo Financial Services AG | CH |
| N/009916 | -- | 2009/08/31 | China Mobile Communications Corporation | CN |
| N/009950 | -- | 2009/08/31 | EU YAN SANG INTERNATIONAL LTD., uma companhia incorporada em Singapura | SG |
| N/009969 | -- | 2009/08/17 | CSL Behring GmbH | DE |
| N/009974 | -- | 2009/08/31 | Ocean Park Corporation | HK |
| N/009975 | -- | 2009/08/31 | Ocean Park Corporation | HK |
| N/009993 | -- | 2009/08/31 | ALTICOR INC., uma sociedade organizada e existindo segundo as leis do Estado de Michigan | US |
| N/009995 | -- | 2009/08/31 | ALTICOR INC., uma sociedade organizada e existindo segundo as leis do Estado de Michigan | US |
| N/009997 | -- | 2009/08/31 | ALTICOR INC., uma sociedade organizada e existindo segundo as leis do Estado de Michigan | US |
| N/009999 | -- | 2009/08/31 | ALTICOR INC., uma sociedade organizada e existindo segundo as leis do Estado de Michigan | US |
| N/010060 | -- | 2009/08/12 | Raymond Weil SA | CH |
| N/010106 | -- | 2009/08/25 |
¸t²ï©Ô®É¸Ë¦³¤½¥q ST. SARA FASHION COMPANY LIMITED |
HK |
| N/010107 | -- | 2009/08/25 |
¸t²ï©Ô®É¸Ë¦³¤½¥q ST. SARA FASHION COMPANY LIMITED |
HK |
| N/010132 | -- | 2009/08/31 | EU YAN SANG INTERNATIONAL LTD., uma companhia incorporada em Singapura | SG |
| N/010133 | -- | 2009/08/31 | EU YAN SANG INTERNATIONAL LTD., uma companhia incorporada em Singapura | SG |
| N/010155 | -- | 2009/08/25 | REUTERS LIMITED | GB |
| N/010156 | -- | 2009/08/25 | REUTERS LIMITED | GB |
| N/010184 | -- | 2009/08/17 | Scania CV AB | SE |
| N/010185 | -- | 2009/08/17 | Scania CV AB | SE |
| N/010186 | -- | 2009/08/17 | Scania CV AB | SE |
| N/010187 | -- | 2009/08/17 | Scania CV AB | SE |
| N/010195 | -- | 2009/08/12 |
ì¸s°ê»ÚªÑ¥÷¦³¤½¥q Roctrans International Corp. |
TW |
| N/010196 | -- | 2009/08/12 |
ì¸s°ê»ÚªÑ¥÷¦³¤½¥q Roctrans International Corp. |
TW |
| N/010199 | -- | 2009/08/17 | Christian Lacroix, SNC | FR |
| N/010200 | -- | 2009/08/17 | Christian Lacroix, SNC | FR |
| N/010380 | -- | 2009/08/26 |
«Â¥§´µ¤H¿DªùªÑ¥÷¦³¤½¥q Venetian Macau, S.A., Venetian Macau Limited |
MO |
| N/010381 | -- | 2009/08/26 |
«Â¥§´µ¤H¿DªùªÑ¥÷¦³¤½¥q Venetian Macau, S.A., Venetian Macau Limited |
MO |
| N/010382 | -- | 2009/08/26 |
«Â¥§´µ¤H¿DªùªÑ¥÷¦³¤½¥q Venetian Macau, S.A., Venetian Macau Limited |
MO |
| N/010383 | -- | 2009/08/26 |
«Â¥§´µ¤H¿DªùªÑ¥÷¦³¤½¥q Venetian Macau, S.A., Venetian Macau Limited |
MO |
| N/010384 | -- | 2009/08/26 |
«Â¥§´µ¤H¿DªùªÑ¥÷¦³¤½¥q Venetian Macau, S.A., Venetian Macau Limited |
MO |
| N/010385 | -- | 2009/08/26 |
«Â¥§´µ¤H¿DªùªÑ¥÷¦³¤½¥q Venetian Macau, S.A., Venetian Macau Limited |
MO |
| N/010386 | -- | 2009/08/26 |
«Â¥§´µ¤H¿DªùªÑ¥÷¦³¤½¥q Venetian Macau, S.A., Venetian Macau Limited |
MO |
| N/010387 | -- | 2009/08/26 |
«Â¥§´µ¤H¿DªùªÑ¥÷¦³¤½¥q Venetian Macau, S.A., Venetian Macau Limited |
MO |
| N/010388 | -- | 2009/08/26 |
«Â¥§´µ¤H¿DªùªÑ¥÷¦³¤½¥q Venetian Macau, S.A., Venetian Macau Limited |
MO |
| N/010389 | -- | 2009/08/26 |
«Â¥§´µ¤H¿DªùªÑ¥÷¦³¤½¥q Venetian Macau, S.A., Venetian Macau Limited |
MO |
| N/010390 | -- | 2009/08/26 |
«Â¥§´µ¤H¿DªùªÑ¥÷¦³¤½¥q Venetian Macau, S.A., Venetian Macau Limited |
MO |
| N/010391 | -- | 2009/08/26 |
«Â¥§´µ¤H¿DªùªÑ¥÷¦³¤½¥q Venetian Macau, S.A., Venetian Macau Limited |
MO |
| N/010393 | -- | 2009/08/26 |
«Â¥§´µ¤H¿DªùªÑ¥÷¦³¤½¥q Venetian Macau, S.A., Venetian Macau Limited |
MO |
| N/010395 | -- | 2009/08/26 |
«Â¥§´µ¤H¿DªùªÑ¥÷¦³¤½¥q Venetian Macau, S.A., Venetian Macau Limited |
MO |
| N/010396 | -- | 2009/08/26 |
«Â¥§´µ¤H¿DªùªÑ¥÷¦³¤½¥q Venetian Macau, S.A., Venetian Macau Limited |
MO |
| N/010397 | -- | 2009/08/26 |
«Â¥§´µ¤H¿DªùªÑ¥÷¦³¤½¥q Venetian Macau, S.A., Venetian Macau Limited |
MO |
| N/010398 | -- | 2009/08/26 |
«Â¥§´µ¤H¿DªùªÑ¥÷¦³¤½¥q Venetian Macau, S.A., Venetian Macau Limited |
MO |
| N/010399 | -- | 2009/08/26 |
«Â¥§´µ¤H¿DªùªÑ¥÷¦³¤½¥q Venetian Macau, S.A., Venetian Macau Limited |
MO |
| N/010400 | -- | 2009/08/26 |
«Â¥§´µ¤H¿DªùªÑ¥÷¦³¤½¥q Venetian Macau, S.A., Venetian Macau Limited |
MO |
| N/010401 | -- | 2009/08/26 |
«Â¥§´µ¤H¿DªùªÑ¥÷¦³¤½¥q Venetian Macau, S.A., Venetian Macau Limited |
MO |
| N/010402 | -- | 2009/08/26 |
«Â¥§´µ¤H¿DªùªÑ¥÷¦³¤½¥q Venetian Macau, S.A., Venetian Macau Limited |
MO |
| N/010403 | -- | 2009/08/26 |
«Â¥§´µ¤H¿DªùªÑ¥÷¦³¤½¥q Venetian Macau, S.A., Venetian Macau Limited |
MO |
| N/010404 | -- | 2009/08/26 |
«Â¥§´µ¤H¿DªùªÑ¥÷¦³¤½¥q Venetian Macau, S.A., Venetian Macau Limited |
MO |
| N/010405 | -- | 2009/08/26 |
«Â¥§´µ¤H¿DªùªÑ¥÷¦³¤½¥q Venetian Macau, S.A., Venetian Macau Limited |
MO |
| N/010406 | -- | 2009/08/26 |
«Â¥§´µ¤H¿DªùªÑ¥÷¦³¤½¥q Venetian Macau, S.A., Venetian Macau Limited |
MO |
| N/010407 | -- | 2009/08/26 |
«Â¥§´µ¤H¿DªùªÑ¥÷¦³¤½¥q Venetian Macau, S.A., Venetian Macau Limited |
MO |
| N/010408 | -- | 2009/08/26 |
«Â¥§´µ¤H¿DªùªÑ¥÷¦³¤½¥q Venetian Macau, S.A., Venetian Macau Limited |
MO |
| N/010409 | -- | 2009/08/26 |
«Â¥§´µ¤H¿DªùªÑ¥÷¦³¤½¥q Venetian Macau, S.A., Venetian Macau Limited |
MO |
| N/010410 | -- | 2009/08/26 |
«Â¥§´µ¤H¿DªùªÑ¥÷¦³¤½¥q Venetian Macau, S.A., Venetian Macau Limited |
MO |
| N/010411 | -- | 2009/08/26 |
«Â¥§´µ¤H¿DªùªÑ¥÷¦³¤½¥q Venetian Macau, S.A., Venetian Macau Limited |
MO |
| N/010412 | -- | 2009/08/26 |
«Â¥§´µ¤H¿DªùªÑ¥÷¦³¤½¥q Venetian Macau, S.A., Venetian Macau Limited |
MO |
| N/010413 | -- | 2009/08/26 |
«Â¥§´µ¤H¿DªùªÑ¥÷¦³¤½¥q Venetian Macau, S.A., Venetian Macau Limited |
MO |
| N/010414 | -- | 2009/08/26 |
«Â¥§´µ¤H¿DªùªÑ¥÷¦³¤½¥q Venetian Macau, S.A., Venetian Macau Limited |
MO |
| N/010455 | -- | 2009/08/12 |
¦ò¤s¥«¤Ó¦N°s¼t¦³¤½¥q FOSHAN TAIJI WINE CO., LTD |
CN |
| N/010456 | -- | 2009/08/12 |
¦ò¤s¥«¤Ó¦N°s¼t¦³¤½¥q FOSHAN TAIJI WINE CO., LTD |
CN |
| N/010485 | -- | 2009/08/26 |
«Â¥§´µ¤H¿DªùªÑ¥÷¦³¤½¥q Venetian Macau, S.A., Venetian Macau Limited |
MO |
| N/010486 | -- | 2009/08/26 |
«Â¥§´µ¤H¿DªùªÑ¥÷¦³¤½¥q Venetian Macau, S.A., Venetian Macau Limited |
MO |
| N/010487 | -- | 2009/08/26 |
«Â¥§´µ¤H¿DªùªÑ¥÷¦³¤½¥q Venetian Macau, S.A., Venetian Macau Limited |
MO |
| N/010488 | -- | 2009/08/26 |
«Â¥§´µ¤H¿DªùªÑ¥÷¦³¤½¥q Venetian Macau, S.A., Venetian Macau Limited |
MO |
| N/010489 | -- | 2009/08/26 |
«Â¥§´µ¤H¿DªùªÑ¥÷¦³¤½¥q Venetian Macau, S.A., Venetian Macau Limited |
MO |
| N/010490 | -- | 2009/08/26 |
«Â¥§´µ¤H¿DªùªÑ¥÷¦³¤½¥q Venetian Macau, S.A., Venetian Macau Limited |
MO |
| N/010491 | -- | 2009/08/26 |
«Â¥§´µ¤H¿DªùªÑ¥÷¦³¤½¥q Venetian Macau, S.A., Venetian Macau Limited |
MO |
| N/010492 | -- | 2009/08/26 |
«Â¥§´µ¤H¿DªùªÑ¥÷¦³¤½¥q Venetian Macau, S.A., Venetian Macau Limited |
MO |
| N/010493 | -- | 2009/08/26 |
«Â¥§´µ¤H¿DªùªÑ¥÷¦³¤½¥q Venetian Macau, S.A., Venetian Macau Limited |
MO |
| N/010494 | -- | 2009/08/26 |
«Â¥§´µ¤H¿DªùªÑ¥÷¦³¤½¥q Venetian Macau, S.A., Venetian Macau Limited |
MO |
| N/010495 | -- | 2009/08/26 |
«Â¥§´µ¤H¿DªùªÑ¥÷¦³¤½¥q Venetian Macau, S.A., Venetian Macau Limited |
MO |
| N/010496 | -- | 2009/08/26 |
«Â¥§´µ¤H¿DªùªÑ¥÷¦³¤½¥q Venetian Macau, S.A., Venetian Macau Limited |
MO |
| N/010497 | -- | 2009/08/26 |
«Â¥§´µ¤H¿DªùªÑ¥÷¦³¤½¥q Venetian Macau, S.A., Venetian Macau Limited |
MO |
| N/010498 | -- | 2009/08/26 |
«Â¥§´µ¤H¿DªùªÑ¥÷¦³¤½¥q Venetian Macau, S.A., Venetian Macau Limited |
MO |
| N/010499 | -- | 2009/08/26 |
«Â¥§´µ¤H¿DªùªÑ¥÷¦³¤½¥q Venetian Macau, S.A., Venetian Macau Limited |
MO |
| N/010510 | -- | 2009/08/18 | Taiwan Fuji Latex Co., Ltd | TW |
ªþµù
| µ{§Ç½s¸¹ | §å¥Ü¤é´Á |
ªþµù¤§©Ê½è |
¥Ó½Ð¤H/µù¥UÅv§Q¤H | §ó§ï |
|
P/001515 (1419-M) |
2009/08/18 | ÂàÅý | BRISTOL-MYERS SQUIBB COMPANY | MJN Restructuring Holdco, Inc., com sede em 2400 West Lloyd Expressway, Evansville, Indiana 47721, United States of America |
|
P/001515 (1419-M) |
2009/08/18 | ¦X¨ÖÂàÅý | MJN Restructuring Holdco, Inc. | Mead Johnson Nutrition Company, com sede em 2400 West Lloyd Expressway, Evansville, Indiana 47721, United States of America |
|
P/001978 (1881-M) |
2009/08/13 | ÂàÅý | E.R. SQUIBB & SONS, LLC | ConvaTec Inc., com sede em 200 Headquarters Park Drive, Skillman, NJ 08558, United States of America |
|
P/001983 (1886-M) |
2009/08/17 | ÂàÅý | E.R. SQUIBB & SONS, LLC | ConvaTec Inc., com sede em 200 Headquarters Park Drive, Skillman, NJ 08558, United States of America |
|
P/002034 (1937-M) |
2009/08/17 | ÂàÅý | E.R. SQUIBB & SONS, LLC | ConvaTec Inc., com sede em 200 Headquarters Park Drive, Skillman, NJ 08558, United States of America |
|
P/002688 (2584-M) |
2009/08/13 | ÂàÅý | E.R. SQUIBB & SONS,LLC | ConvaTec Inc., com sede em 200 Headquarters Park Drive, Skillman, NJ 08558, United States of America |
|
P/005419 (5277-M) |
2009/08/31 | §ó§ï¦a§} | MERRELL PHARMACEUTICALS INC. | 3711 Kennett Pike, Suite 200, Greenville, Delaware 19807, U.S.A. |
|
P/005419 (5277-M) |
2009/08/31 | ¦X¨ÖÂàÅý | MERRELL PHARMACEUTICALS INC. | AVENTIS INC., com sede em 3711 Kennett Pike, Suite 200, Greenville, Delaware 19807, U.S.A. |
|
P/006793 (6581-M) |
2009/08/31 | §ó§ï¦a§} | LUCULLUS FOOD & WINES COMPANY, LIMITED | 5/F, Good Prospect Factory Building, 33-35 Wong Chuk Hang Road, Aberdeen, Hong Kong |
|
P/006794 (6582-M) |
2009/08/31 | §ó§ï¦a§} | LUCULLUS FOOD & WINES COMPANY, LIMITED | 5/F, Good Prospect Factory Building, 33-35 Wong Chuk Hang Road, Aberdeen, Hong Kong |
|
P/006796 (6584-M) |
2009/08/31 | §ó§ï¦a§} | LUCULLUS FOOD & WINES COMPANY, LIMITED | 5/F, Good Prospect Factory Building, 33-35 Wong Chuk Hang Road, Aberdeen, Hong Kong |
|
P/006797 (6585-M) |
2009/08/31 | §ó§ï¦a§} | LUCULLUS FOOD & WINES COMPANY, LIMITED | 5/F, Good Prospect Factory Building, 33-35 Wong Chuk Hang Road, Aberdeen, Hong Kong |
|
P/011539 (11498-M) |
2009/08/31 | ÂàÅý | FORTUNE PHARMACAL COMPANY LIMITED | FTM Holding Limited, com sede em 5th Floor, Safety Godown Industrial Building, 56 Ka Yip Street, Chai Wan, Hong Kong |
|
P/011540 (11499-M) |
2009/08/31 | ÂàÅý | FORTUNE PHARMACAL COMPANY LIMITED | FTM Holding Limited, com sede em 5th Floor, Safety Godown Industrial Building, 56 Ka Yip Street, Chai Wan, Hong Kong |
|
P/011541 (11500-M) |
2009/08/31 | ÂàÅý | FORTUNE PHARMACAL COMPANY LIMITED | FTM Holding Limited, com sede em 5th Floor, Safety Godown Industrial Building, 56 Ka Yip Street, Chai Wan, Hong Kong |
|
P/011568 (11531-M) |
2009/08/18 | ¦X¨ÖÂàÅý | DANZAS AEI INC. | Danzas AEI (OH), Inc., com sede em 1200 South Pine Island Road, Plantation, FL 33324, United States of America |
|
P/011568 (11531-M) |
2009/08/18 | ¦X¨ÖÂàÅý | Danzas AEI (OH), Inc. | DHL Holdings (USA) (OH), Inc., com sede em 1200 South Pine Island Road, Plantation, FL 33324, United States of America |
|
P/011568 (11531-M) |
2009/08/18 | §ó§ï»{§O¸ê®Æ | DHL Holdings (USA) (OH), Inc. | DHL Holdings (USA), Inc. |
|
P/015536 (15494-M) |
2009/08/12 | §ó§ï¦a§} | ASSOCIAZIONE RADIO MARIA | Via Turati 7, 22036 Erba CO, Italy |
|
P/015549 (12164-M) |
2009/08/18 | §ó§ï»{§O¸ê®Æ |
SUNFLEX SPORT SCHNELLBUGEL+ZIMME RMANN
GmbH + CO. KG |
SUNFLEX SPORT GmbH + CO. KG |
| N/000284 | 2009/08/13 | ÂàÅý | E.R. SQUIBB & SONS, LLC | ConvaTec Inc., com sede em 200 Headquarters Park Drive, Skillman, NJ 08558, United States of America |
| N/000285 | 2009/08/13 | ÂàÅý | E.R. SQUIBB & SONS, LLC | ConvaTec Inc., com sede em 200 Headquarters Park Drive, Skillman, NJ 08558, United States of America |
| N/001630 | 2009/08/12 | ÂàÅý | Pfizer Health AB | PFIZER CONSUMER HEALTHCARE HEALTH AB, com sede em SE-112 87, Stockholm, Sweden |
| N/001631 | 2009/08/12 | ÂàÅý | Pfizer Health AB | PFIZER CONSUMER HEALTHCARE HEALTH AB, com sede em SE-112 87, Stockholm, Sweden |
| N/003094 | 2009/08/17 | ÂàÅý | TELEFONICA MOVILES, S.A. | TELEFÓNICA, S.A., com sede em C/Gran Vía, 28 - 28013 Madrid, Spain |
| N/005475 | 2009/08/12 | ÂàÅý | Pfizer Health AB | PFIZER CONSUMER HEALTHCARE HEALTH AB, com sede em SE-112 87, Stockholm, Sweden |
| N/005476 | 2009/08/12 | ÂàÅý | Pfizer Health AB | PFIZER CONSUMER HEALTHCARE HEALTH AB, com sede em SE-112 87, Stockholm, Sweden |
| N/005477 | 2009/08/12 | ÂàÅý | Pfizer Health AB | PFIZER CONSUMER HEALTHCARE HEALTH AB, com sede em SE-112 87, Stockholm, Sweden |
| N/009115 | 2009/08/31 | §ó§ï¦a§} | Kabushiki Kaisha Sony Computer Entertainment (Sony Computer Entertainment Inc.) | 2-6-21, Minami-aoyama, Minato-ku, Tóquio 107-0062, Japão |
| N/009116 | 2009/08/31 | §ó§ï¦a§} | Kabushiki Kaisha Sony Computer Entertainment (Sony Computer Entertainment Inc.) | 2-6-21, Minami-aoyama, Minato-ku, Tóquio 107-0062, Japão |
| N/009407 | 2009/08/31 | §ó§ï¦a§} | Man Sang Innovations Limited | Suites 2208, 22nd Floor, Sun Life Tower, The Gateway, 15 Canton Road, Tsimshatsui, Kowloon, Hong Kong |
| N/009428 | 2009/08/20 | §ó§ï¦a§} | Warner-Lambert Company LLC | 235 East 42nd Street, New York, New York 10017, E.U.A. |
| N/009540 | 2009/08/18 | §ó§ï¦a§} | TURBOJET FERRY SERVICES (MACAU) LIMITED | Avenida da Amizade, s/n.º, Piso 2, Sala n.º 2-011B, Porto Exterior, Terminal Marítimo de Macau, Macau |
| N/009556 | 2009/08/17 | §ó§ï¦a§} | SOCIETE DU FIGARO S.A. | 14, boulevard Haussmann, 75009, Paris, França |
| N/009757 | 2009/09/08 | §ó§ï¦a§} | FANCL CORPORATION | 89-1, Yamashita-cho, Naka-ku, Yokohama, Kanagawa-ken, Japan |
| N/009762 | 2009/09/08 | §ó§ï¦a§} | FANCL CORPORATION | 89-1, Yamashita-cho, Naka-ku, Yokohama, Kanagawa-ken, Japan |
| N/009767 | 2009/09/08 | §ó§ï¦a§} | FANCL CORPORATION | 89-1, Yamashita-cho, Naka-ku, Yokohama, Kanagawa-ken, Japan |
| N/010106 | 2009/08/25 | §ó§ï¦a§} |
¸t²ï©Ô®É¸Ë¦³¤½¥q ST. SARA FASHION COMPANY LIMITED |
C13, 3/F, Block C, Hong Kong Industrial Centre, 489-491 Castle Peak Road, Kowloon, Hong Kong |
| N/010107 | 2009/08/25 | §ó§ï¦a§} |
¸t²ï©Ô®É¸Ë¦³¤½¥q ST. SARA FASHION COMPANY LIMITED |
C13, 3/F, Block C, Hong Kong Industrial Centre, 489-491 Castle Peak Road, Kowloon, Hong Kong |
| N/010155 | 2009/08/31 | §ó§ï¦a§} | REUTERS LIMITED | Canary Wharf, The Thomson, Reuters Bldg., South Colo-nnade, E14 5EP London, United Kingdom |
| N/010156 | 2009/08/31 | §ó§ï¦a§} | REUTERS LIMITED | Canary Wharf, The Thomson, Reuters Bldg., South Colo-nnade, E14 5EP London, United Kingdom |
| N/010510 | 2009/08/18 | §ó§ï¦a§} | Taiwan Fuji Latex Co., Ltd | 9FL. N.º 343, Sec. 5, Nan-Jing East Road, Song-Shan District, Taipei, Taiwan, China |
| N/012507 | 2009/08/31 | §ó§ï»{§O¸ê®Æ | ¤º»X¥j¤p§À¦ÏÀ\¶¼³sÂ꦳¤½¥q | ¤º»X¥j¤p§À¦ÏÀ\¶¼³sÂêªÑ¥÷¦³¤½¥q |
| N/012507 | 2009/08/31 | §ó§ï¦a§} |
¤º»X¥j¤p§À¦ÏÀ\¶¼³sÂêªÑ¥÷¦³¤½¥q Inner Mongolia Xiao Wei Yang Catering Franchise Co., Ltd. |
¤¤°ê¤º»X¥j¥]ÀY¥««C¤s°Ï¤å¤Æ¸ô24¸¹ |
| N/013530 | 2009/08/17 | ÂàÅý | Pharmacia & Upjohn Company LLC | C.P. Pharmaceuticals International C.V., com sede em 235 East 42nd Street, New York, New York 10017, U.S.A. |
| N/016641 | 2009/08/13 | ÂàÅý | Harrah¡¦s License Company, LLC | HIE Holdings Topco, Inc., com sede em One Caesars Palace Drive, Las Vegas, NV 89109, USA |
| N/016641 | 2009/08/13 | ÂàÅý | HIE Holdings Topco, Inc. | HIE Holdings, Inc., com sede em One Caesars Palace Drive, Las Vegas, NV 89109, USA |
| N/016641 | 2009/08/13 | ÂàÅý | HIE Holdings, Inc. | Harrah¡¦s Interactive Entertainment, Inc., com sede em One Caesars Palace Drive, Las Vegas, NV 89109, USA |
| N/016642 | 2009/08/13 | ÂàÅý | Harrah¡¦s License Company, LLC | HIE Holdings Topco, Inc., com sede em One Caesars Palace Drive, Las Vegas, NV 89109, USA |
| N/016642 | 2009/08/13 | ÂàÅý | HIE Holdings Topco, Inc. | HIE Holdings, Inc., com sede em One Caesars Palace Drive, Las Vegas, NV 89109, USA |
| N/016642 | 2009/08/13 | ÂàÅý | HIE Holdings, Inc. | Harrah¡¦s Interactive Entertainment, Inc., com sede em One Caesars Palace Drive, Las Vegas, NV 89109, USA |
| N/016643 | 2009/08/13 | ÂàÅý | Harrah¡¦s License Company, LLC | HIE Holdings Topco, Inc., com sede em One Caesars Palace Drive, Las Vegas, NV 89109, USA |
| N/016643 | 2009/08/13 | ÂàÅý | HIE Holdings Topco, Inc. | HIE Holdings, Inc., com sede em One Caesars Palace Drive, Las Vegas, NV 89109, USA |
| N/016643 | 2009/08/13 | ÂàÅý | HIE Holdings, Inc. | Harrah¡¦s Interactive Entertainment, Inc., com sede em One Caesars Palace Drive, Las Vegas, NV 89109, USA |
| N/016644 | 2009/08/13 | ÂàÅý | Harrah¡¦s License Company, LLC | HIE Holdings Topco, Inc., com sede em One Caesars Palace Drive, Las Vegas, NV 89109, USA |
| N/016644 | 2009/08/13 | ÂàÅý | HIE Holdings Topco, Inc. | HIE Holdings, Inc., com sede em One Caesars Palace Drive, Las Vegas, NV 89109, USA |
| N/016644 | 2009/08/13 | ÂàÅý | HIE Holdings, Inc. | Harrah¡¦s Interactive Entertainment, Inc., com sede em One Caesars Palace Drive, Las Vegas, NV 89109, USA |
| N/017575 | 2009/08/17 | §ó§ï¦a§} | Pharmacia & Upjohn Company LLC | 100 Route 206 North, Peapack, New Jersey 07977, U.S.A. |
| N/017575 | 2009/08/17 | ÂàÅý | Pharmacia & Upjohn Company LLC | C.P. Pharmaceuticals International C.V., com sede em 235 East 42nd Street, New York, New York 10017, U.S.A. |
| N/017576 | 2009/08/17 |
§ó§ï¦a§} ¡@ |
Pharmacia & Upjohn Company LLC | 100 Route 206 North, Peapack, New Jersey 07977, U.S.A. |
| N/017576 | 2009/08/17 | ÂàÅý | Pharmacia & Upjohn Company LLC | C.P. Pharmaceuticals International C.V., com sede em 235 East 42nd Street, New York, New York 10017, U.S.A. |
| N/018988 | 2009/09/08 | ÂàÅý | Double Eagle Brands N.V. e Stichting DEB | Double Eagle Brands 1 N.V., com sede em Kaya W.F.G. Mensing 32, Willemstad, Curaçao, Netherlands Antilles |
| N/020105 | 2009/09/08 | ÂàÅý | Double Eagle Brands N.V. e Stichting DEB | Double Eagle Brands 1 N.V., com sede em Kaya W.F.G. Mensing 32, Willemstad, Curaçao, Netherlands Antilles |
| N/020145 | 2009/08/25 | §ó§ï»{§O¸ê®Æ | N.V. Godiva Belgium S.A. | Godiva Belgium B.V.B.A./S.P.R.L. |
| N/020145 | 2009/08/25 | §ó§ï¦a§} | Godiva Belgium B.V.B.A./S.P.R.L. | Wapenstilstandstraat 5, 1081 Brussels, Belgium |
| N/021602 | 2009/08/13 | ÂàÅý | ANTICA ERBORISTERIA S.R.L. | ANTICA ERBORISTERIA S.p.A., com sede em Via Tiburtina, 1325 - 00131 - Roma, Italia |
| N/022912 | 2009/08/25 | §ó§ï»{§O¸ê®Æ | N.V. GODIVA BELGIUM S.A. | Godiva Belgium B.V.B.A./S.P.R.L. |
| N/022912 | 2009/08/25 | §ó§ï¦a§} | Godiva Belgium B.V.B.A./S.P.R.L. | Wapenstilstandstraat 5, 1081 Brussels, Belgium |
| N/022913 | 2009/08/25 | §ó§ï»{§O¸ê®Æ | N.V. GODIVA BELGIUM S.A. | Godiva Belgium B.V.B.A./S.P.R.L. |
| N/022913 | 2009/08/25 | §ó§ï¦a§} | Godiva Belgium B.V.B.A./S.P.R.L. | Wapenstilstandstraat 5, 1081 Brussels, Belgium |
| N/022914 | 2009/08/25 | §ó§ï»{§O¸ê®Æ | N.V. GODIVA BELGIUM S.A. | Godiva Belgium B.V.B.A./S.P.R.L. |
| N/022914 | 2009/08/25 | §ó§ï¦a§} | Godiva Belgium B.V.B.A./S.P.R.L. | Wapenstilstandstraat 5, 1081 Brussels, Belgium |
| N/027369 | 2009/08/17 | ÂàÅý | UCB PHARMA, S.A. | GlaxoSmithKline Trading Services Limited, com sede em 6900 Cork Airport Business Park, Kinsale Road, Cork, Ireland |
| N/028157 | 2009/08/17 | ÂàÅý | UCB PHARMA, S.A. | GlaxoSmithKline Trading Services Limited, com sede em 6900 Cork Airport Business Park, Kinsale Road, Cork, Ireland |
| N/028609 | 2009/08/31 | §ó§ï»{§O¸ê®Æ | ¤º»X¥j¤p§À¦ÏÀ\¶¼³sÂ꦳¤½¥q | ¤º»X¥j¤p§À¦ÏÀ\¶¼³sÂêªÑ¥÷¦³¤½¥q |
| N/028609 | 2009/08/31 | §ó§ï¦a§} |
¤º»X¥j¤p§À¦ÏÀ\¶¼³sÂêªÑ¥÷¦³¤½¥q Inner Mongolia Xiao Wei Yang Catering Franchise Co., Ltd. |
¤¤°ê¤º»X¥j¥]ÀY¥««C¤s°Ï¤å¤Æ¸ô24¸¹ |
| N/029490 | 2009/08/31 | §ó§ï¦a§} |
Às®q¹«~¦³¤½¥q Lucullus Food & Wines Company, Limited |
5/F, Good Prospect Factory Building, 33-35 Wong Chuk Hang Road, Aberdeen, Hong Kong |
| N/029491 | 2009/08/31 | §ó§ï¦a§} |
Às®q¹«~¦³¤½¥q Lucullus Food & Wines Company, Limited |
5/F, Good Prospect Factory Building, 33-35 Wong Chuk Hang Road, Aberdeen, Hong Kong |
| N/029649 | 2009/08/25 | §ó§ï»{§O¸ê®Æ | N.V. Godiva Belgium S.A. | Godiva Belgium B.V.B.A./S.P.R.L. |
| N/029649 | 2009/08/25 | §ó§ï¦a§} | Godiva Belgium B.V.B.A./S.P.R.L. | Wapenstilstandstraat 5, 1081 Brussels, Belgium |
| N/029650 | 2009/08/25 | §ó§ï»{§O¸ê®Æ | N.V. Godiva Belgium S.A. | Godiva Belgium B.V.B.A./S.P.R.L. |
| N/029650 | 2009/08/25 | §ó§ï¦a§} | Godiva Belgium B.V.B.A./S.P.R.L. | Wapenstilstandstraat 5, 1081 Brussels, Belgium |
| N/036099 | 2009/08/18 | ÂàÅý | Harrah¡¦s License Company, LLC | HIE Holdings Topco, Inc., com sede em One Caesars Palace Drive, Las Vegas, NV 89109 USA |
| N/036099 | 2009/08/18 | ÂàÅý | HIE Holdings Topco, Inc. | HIE Holdings, Inc., com sede em One Caesars Palace Drive, Las Vegas, NV 89109, USA |
| N/036099 | 2009/08/18 | ÂàÅý | HIE Holdings, Inc. | Harrah¡¦s Interactive Entertainment, Inc., com sede em One Caesars Palace Drive, Las Vegas, NV 89109, USA |
| N/036100 | 2009/08/18 | ÂàÅý | Harrah¡¦s License Company, LLC | HIE Holdings Topco, Inc., com sede em One Caesars Palace Drive, Las Vegas, NV 89109, USA |
| N/036100 | 2009/08/18 | ÂàÅý | HIE Holdings Topco, Inc. | HIE Holdings, Inc., com sede em One Caesars Palace Drive, Las Vegas, NV 89109, USA |
| N/036100 | 2009/08/18 | ÂàÅý | HIE Holdings, Inc. | Harrah¡¦s Interactive Entertainment, Inc., com sede em One Caesars Palace Drive, Las Vegas, NV 89109, USA |
| N/039551 | 2009/09/08 | ÂàÅý | IP Holdings LLC | London Fog (China) Limited, com sede em 2116 Hutchison House, 10 Harcourt Road, Central, Hong Kong |
| N/039552 | 2009/09/08 | ÂàÅý | IP Holdings LLC | London Fog (China) Limited, com sede em 2116 Hutchison House, 10 Harcourt Road, Central, Hong Kong |
| N/039553 | 2009/09/08 | ÂàÅý | IP Holdings LLC | London Fog (China) Limited, com sede em 2116 Hutchison House, 10 Harcourt Road, Central, Hong Kong |
| N/039554 | 2009/09/08 | ÂàÅý | IP Holdings LLC | London Fog (China) Limited, com sede em 2116 Hutchison House, 10 Harcourt Road, Central, Hong Kong |
| N/039555 | 2009/09/08 | ÂàÅý | IP Holdings LLC | London Fog (China) Limited, com sede em 2116 Hutchison House, 10 Harcourt Road, Central, Hong Kong |
| N/039556 | 2009/09/08 | ÂàÅý | IP Holdings LLC | London Fog (China) Limited, com sede em 2116 Hutchison House, 10 Harcourt Road, Central, Hong Kong |
| N/039557 | 2009/09/08 | ÂàÅý | IP Holdings LLC | London Fog (China) Limited, com sede em 2116 Hutchison House, 10 Harcourt Road, Central, Hong Kong |
| N/039558 | 2009/09/08 | ÂàÅý | IP Holdings LLC | London Fog (China) Limited, com sede em 2116 Hutchison House, 10 Harcourt Road, Central, Hong Kong |
| N/039559 | 2009/09/08 | ÂàÅý | IP Holdings LLC | London Fog (China) Limited, com sede em 2116 Hutchison House, 10 Harcourt Road, Central, Hong Kong |
| N/039560 | 2009/09/08 | ÂàÅý | IP Holdings LLC | London Fog (China) Limited, com sede em 2116 Hutchison House, 10 Harcourt Road, Central, Hong Kong |
| N/039561 | 2009/09/08 | ÂàÅý | IP Holdings LLC | London Fog (China) Limited, com sede em 2116 Hutchison House, 10 Harcourt Road, Central, Hong Kong |
| N/039562 | 2009/09/08 | ÂàÅý | IP Holdings LLC | London Fog (China) Limited, com sede em 2116 Hutchison House, 10 Harcourt Road, Central, Hong Kong |
| N/039563 | 2009/09/08 | ÂàÅý | IP Holdings LLC | London Fog (China) Limited, com sede em 2116 Hutchison House, 10 Harcourt Road, Central, Hong Kong |
| N/039564 | 2009/09/08 | ÂàÅý | IP Holdings LLC | London Fog (China) Limited, com sede em 2116 Hutchison House, 10 Harcourt Road, Central, Hong Kong |
ªþµù
| µ{§Ç½s¸¹ | §å¥Ü¤é´Á | ªþµù¤§©Ê½è | ¥Ó½Ð¤H/µù¥UÅv§Q¤H | §ó§ï |
|
N/036512 N/036513 N/036514 N/036515 N/036516 N/036517 |
2009/09/09 | ¨Ï¥Î³\¥i | Melco Crown Entertainment Limited | MPEL SERVICES LIMITED |
| °Æ¨Ï¥Î³\¥i | MPEL SERVICES LIMITED | MELCO CROWN (COD)EMPREENDIMENTOS, LIMITADA | ||
| MELCO CROWN (COD)DESENVOLVIMENTOS, LIMITADA | ||||
| MELCO CROWN (COD) SERVIÇOS DE COMÉRCIO, LIMITADA | ||||
| MELCO CROWN (CM)DESENVOLVIMENTOS, S.A. | ||||
| COD TEATRO LIMITADA | ||||
| MELCO CROWN (CM) HOTEL, LIMITADA | ||||
| MELCO CROWN JOGOS (MACAU), S.A. | ||||
| MELCO CROWN COD (GH) HOTEL LIMITADA | ||||
| MELCO CROWN COD (HR) HOTEL LIMITADA | ||||
| MELCO CROWN (CAFÉ) LIMITADA | ||||
| MELCO CROWN HOSPITALIDADE E SERVIÇOS, LIMITADA | ||||
| MELCO CROWN (COD) HOTÉIS, LIMITADA | ||||
| FUTURO DOURADO (SERVIÇOS DE GESTÃO), LIMITADA | ||||
| MELCO CROWN COD (CT) HOTEL LIMITADA | ||||
| §ó§ï¨Ï¥Î¦X¦P³Q³\¥i¤H¤§»{§O¸ê®Æ | MELCO CROWN (CM) HOTEL, LIMITADA | Altira Hotel, Limitada | ||
| MELCO CROWN (CM) DESENVOLVIMENTOS, S.A. | Altira Desenvolvimentos, S.A. | |||
|
N/036911 N/036912 N/036913 N/036914 N/036915 N/036916 |
2009/09/09 |
ª¾ÃѲ£ÅvÅv§Q¥X½è¤§µ¹¥I ¡@ |
MELCO CROWN (COD) HOTÉIS, LIMITADA | DB Trustees (Hong Kong) Limited |
©Úµ´
| µ{§Ç½s¸¹ | §å¥Ü¤é´Á | ¥Ó½Ð¤H¤§¦WºÙ | ©ÒÄݰê/¦a°Ï | ¤ÀÃþ |
³Æµù ®Ú¾Ú¸g12¤ë13¤é²Ä97/99/M¸¹ªk¥O®Ö㤧¡m¤u·~²£Åvªk«ß¨î«×¡n |
| N/036359 | 2009/08/12 |
§d®aÅv Ung Ka Kun |
MO | 5 | ²Ä9±ø²Ä1´Úe¡^¶µ¡C |
| N/036380 | 2009/08/12 |
§d®aÅv Ung Ka Kun |
MO | 5 | ²Ä9±ø²Ä1´Úe¡^¶µ¡C |
| N/040737 | 2009/08/14 |
¼s¦{¥ì·à¸ô¶T©ö¦³¤½¥q GUANGZHOU EASYO TRADING CO., LTD. |
CN | 25 | ²Ä9±ø²Ä1´Úe¡^¶µ¡C |
| N/040738 | 2009/08/14 |
¼s¦{¥ì·à¸ô¶T©ö¦³¤½¥q GUANGZHOU EASYO TRADING CO., LTD. |
CN | 18 | ²Ä9±ø²Ä1´Úe¡^¶µ¡C |
| N/040739 | 2009/08/14 |
¼s¦{¥ì·à¸ô¶T©ö¦³¤½¥q GUANGZHOU EASYO TRADING CO., LTD. |
CN | 3 | ²Ä9±ø²Ä1´Úe¡^¶µ¡C |
| N/040740 | 2009/08/14 |
¼s¦{¥ì·à¸ô¶T©ö¦³¤½¥q GUANGZHOU EASYO TRADING CO., LTD. |
CN | 3 | ²Ä9±ø²Ä1´Úe¡^¶µ¡C |
| N/040741 | 2009/08/14 |
¼s¦{¥ì·à¸ô¶T©ö¦³¤½¥q GUANGZHOU EASYO TRADING CO., LTD. |
CN | 18 | ²Ä9±ø²Ä1´Úe¡^¶µ¡C |
| N/040742 | 2009/08/14 |
¼s¦{¥ì·à¸ô¶T©ö¦³¤½¥q GUANGZHOU EASYO TRADING CO., LTD. |
CN | 25 | ²Ä9±ø²Ä1´Úe¡^¶µ¡C |
| N/040743 | 2009/08/14 |
¼s¦{¥ì·à¸ô¶T©ö¦³¤½¥q GUANGZHOU EASYO TRADING CO., LTD. |
CN | 18 | ²Ä9±ø²Ä1´Úe¡^¶µ¡C |
©ñ±ó
| µ{§Ç½s¸¹ | °Ó¼Ð½s¸¹ | §å¥Ü¤é´Á | µù¥UÅv§Q¤H/¥Ó½Ð¤H¤§¦WºÙ | ©ÒÄݰê/¦a°Ï |
| N/016613 | -- | 2009/09/04 |
©P¬õi Chao Hong Hong |
MO |
| N/042003 | -- | 2009/08/17 | Jorge Chao de Almeida | MO |
| N/042004 | -- | 2009/08/17 | Jorge Chao de Almeida | MO |
³¡¤À©ñ±ó
|
µ{§Ç½s¸¹ ¡@ |
§å¥Ü¤é´Á | µù¥UÅv§Q¤H¤§¦WºÙ | ©ÒÄݰê/¦a°Ï | ©ñ±ó³¡¤À | «O¯d³¡¤À |
| N/09775 | 2009/09/08 | GeVeMa GmbH |
DE |
°sºë¶¼®Æ¡]°à°s°£¥~¡^¡A¤×«ü¯P°s¡C |
§Q¤f°s¡C |
Án©ú²§Ä³
| µ{§Ç½s¸¹ | ¥Ó½Ð¤é´Á | ¥Ó½Ð¤H¤§¦WºÙ | ©ÒÄݰê/¦a°Ï | Án©ú²§Ä³¤H¤§¦WºÙ | ©ÒÄݰê/¦a°Ï |
| N/040257 | 2009/08/31 | Nature Vet Pty Ltd. | AU | FERRING B.V. | NL |
| N/042616 | 2009/09/01 | GOODMAID CHEMICALS CORP. Sdn. Bhd. | MY | The Clorox Company | US |
| N/042841 | 2009/08/28 | ¹çªi¸gÀÙ§Þ³N¶}µo°Ï¯Á¬ì¯¼Â´«~¦³¤½¥q | CN | Kufner Textil GmbH | DE |
| N/042842 | 2009/08/28 | ¹çªi¸gÀÙ§Þ³N¶}µo°Ï¯Á¬ì¯¼Â´«~¦³¤½¥q | CN | Kufner Textil GmbH | DE |
| N/042843 | 2009/08/28 | ¹çªi¸gÀÙ§Þ³N¶}µo°Ï¯Á¬ì¯¼Â´«~¦³¤½¥q | CN | Kufner Textil GmbH | DE |
| N/042889 | 2009/08/28 | ¹ù¬KÁø | CN | PIGEON CORPORATION | JP |
| N/042890 | 2009/09/01 | ¹ù¬KÁø | CN | Mapa GmbH Gummi-und Plastikwerke | DE |
榏G
| µ{§Ç½s¸¹ | ¥Ó½Ð¤é´Á | ¥Ó½Ð¤H¤§¦WºÙ | ©ÒÄݰê/¦a°Ï | Án©ú²§Ä³¤H¤§¦WºÙ | ©ÒÄݰê/¦a°Ï |
| N/042102 | 2009/09/07 | Melco Crown Entertainment Limited | KY | Citigroup Inc. | US |
| N/042104 | 2009/09/07 | Melco Crown Entertainment Limited | KY | Citigroup Inc. | US |
| N/042105 | 2009/09/07 | Melco Crown Entertainment Limited | KY | Citigroup Inc. | US |
| N/042107 | 2009/09/07 | Melco Crown Entertainment Limited | KY | Citigroup Inc. | US |
§ó¥¿
| °Ó¼Ð½s¸¹ | §ó¥¿¶µ¥Ø | À³¥[¤W |
| N/31965 | Àu¥ýÅv¤§n¨D¡]2008¦~4¤ë2¤é²Ä14´Á²Ä¤G²Õ¡m¿Dªù¯S§O¦æ¬F°Ï¤½³ø¡n¡^ |
Àu¥ýÅv¤é´Á: 2007/04/24 Àu¥ýÅv°ê®a/¦a°Ï: ¿D¤j§Q¨È Àu¥ýÅv½s¸¹: 1172622 |
| N/43838 | ²£«~¦W³æ¡]2009¦~9¤ë2¤é²Ä35´Á²Ä¤G²Õ¡m¿Dªù¯S§O¦æ¬F°Ï¤½³ø¡n¡^ |
°Ó¼Ð´yz¡G °Ó¼Ð¬O¥Ñ¤@Ó¥i¦ù®iªºªø¤è§Î®e¾¹ªº¥ßÅé§Îª¬©Òºc¦¨¡A¨ä±a¦³¤@ӥΧ@éT²~¤lªº¤º³¡°t¥ó¡A¨Ã±a¦³¡§LOUIS XIII¡¨¡B¥HÃÀ³N§Î¦¡ªº¡§de Remy Martin¡¨ªº¦³Ãö¤å¦r¤Î®i¥Ü¤F¤@¦·¦Ê¦Xªáªº¸Ë¹¢¹Ï®×¡C |
¡@
| °Ó¼Ð½s¸¹ | §ó¥¿¶µ¥Ø | ì¤å | À³§ï¬° |
| N/33321 | §P¨M¨M©w¡]2009¦~9¤ë2¤é²Ä35´Á²Ä¤G²Õ¡m¿Dªù¯S§O¦æ¬F°Ï¤½³ø¡n¡^ | 1. ¡K¡K¡A«ü©wµù¥U©ó²Ä43ÃþªA°Èªº²ÄN/33322¸¹¤Î²ÄN/33326¸¹°Ó¼Ð¡A¡K¡K | 1. ¡K¡K¡A«ü©wµù¥U©ó²Ä43ÃþªA°Èªº²ÄN/33321¸¹¤Î²ÄN/33326¸¹°Ó¼Ð¡A¡K¡K |
|
N/39905 N/39911 |
²£«~¦W³æ¡]2009¦~2¤ë4¤é²Ä5´Á²Ä¤G²Õ¡m¿Dªù¯S§O¦æ¬F°Ï¤½³ø¡n¡^ | ¡K¡K¡F¸J¡F¹«~©Î¶¼®Æ¥Î¹j¼ö®e¾¹¡F¡K¡K | ¡K¡K¡F¹«~©Î¶¼®Æ¥Î¸J¡A¹j¼ö®e¾¹¡F¡K¡K |
| N/40437 | ²£«~¦W³æ¡]2009¦~3¤ë4¤é²Ä9´Á²Ä¤G²Õ¡m¿Dªù¯S§O¦æ¬F°Ï¤½³ø¡n¡^ | ¡K¡K¡A¥¼¥[¤u¤ò´à¡A¡K¡K | ¡K¡K¡A¤ò´à¡A¥¼¥[¤u´ª«¡A¡K¡K |
| N/40439 | ²£«~¦W³æ¡]2009¦~3¤ë4¤é²Ä9´Á²Ä¤G²Õ¡m¿Dªù¯S§O¦æ¬F°Ï¤½³ø¡n¡^ | ¡K¡K¡A¯Dî¡A¨FÅy¤y¡A¡K¡K | ¡K¡K¡A¯Dî¡A¯D¤y¡A¨FÅy¤y¡A¡K¡K |
| N/40644 | ²£«~¦W³æ¡]2009¦~3¤ë4¤é²Ä9´Á²Ä¤G²Õ¡m¿Dªù¯S§O¦æ¬F°Ï¤½³ø¡n¡^ | ¡K¡K¡B°s©±¬¡°Ê¤ÎªA°È¡K¡K | ¡K¡K¡B·í¦a¨Æ©y¤Î°s©±ªA°È¡K¡K |
|
N/43303 N/43305 |
²£«~¦W³æ¡]2009¦~8¤ë5¤é²Ä31´Á²Ä¤G²Õ¡m¿Dªù¯S§O¦æ¬F°Ï¤½³ø¡n¡^ | ¡K¡K¡A°¨¨ã¤Î¾b¨ã¡F¾c¥Î³U¡F¡K¡K | ¡K¡K¡A°¨¨ã¤Î¾b¨ã¡F±¾ªÓ³U¡F¾c¥Î³U¡F¡K¡K |
À³¦U¥Ó½Ð¤H/Åv§Q¤H¤§n¨D¡A§ó¥¿¦p¤U¡G
| °Ó¼Ð½s¸¹ | §ó¥¿¶µ¥Ø | ì¤å | À³§ï¬° |
| N/35767 | ¥Ó½Ð¤H¦a§}¡]2008¦~8¤ë6¤é²Ä32´Á²Ä¤G²Õ¡m¿Dªù¯S§O¦æ¬F°Ï¤½³ø¡n¡^ | ...... Hallan ...... | ...... Hallam ...... |
| N/41881 | ²£«~¦W³æ¡]2009¦~5¤ë6¤é²Ä18´Á²Ä¤G²Õ¡m¿Dªù¯S§O¦æ¬F°Ï¤½³ø¡n¡^ | °à°s¡K¡K¨ä¥L¶¼®Æ¥Îªº»s¾¯¡C | °à°s¡C |
| N/42577 | ¥Ó½Ð¤H¦a§}¡]2009¦~6¤ë3¤é²Ä22´Á²Ä¤G²Õ¡m¿Dªù¯S§O¦æ¬F°Ï¤½³ø¡n¡^ | ¡K¡K¤¤¿³µó¡K¡K | ¡K¡K¤¤¤ßµó¡K¡K |
| N/42616 | ²£«~¦W³æ¡]2009¦~7¤ë1¤é²Ä26´Á²Ä¤G²Õ¡m¿Dªù¯S§O¦æ¬F°Ï¤½³ø¡n¡^ | º}¥Õ¾¯¡K¡K¤ú»I¡C | ¬~¦ç¥Îº}¥Õ¾¯¤Î¨ä¥Lª«®Æ¡A²M¼ä¡AÀ¿«G¡A¥hº{¤Î¬ã¿i¥Î»s¾¯¡A¬~¦çªÎ¨m¡C |
| N/44108 | °Ó¼Ð¹Ï®×¡]2009¦~9¤ë2¤é²Ä35´Á²Ä¤G²Õ¡m¿Dªù¯S§O¦æ¬F°Ï¤½³ø¡n¡^ |
|
|
¤G¹s¹s¤E¦~¤E¤ë¤Q¤@¤é©ó¸gÀÙ§½
§½ªø Ĭ²K¥





