Número 44
II
SÉRIE
Quarta-feira, 4 de Novembro de 2009
DIRECÇÃO DOS SERVIÇOS DE ECONOMIA
Aviso
Protecção de marcas
N/43 419 ... N/44 936 - N/44 937 ... N/45 320 - N/45 321 ... N/45 332
Marca n.º N/45 321 Classe 44.ª
Requerente: VENETIAN COTAI, S.A., VENETIAN COTAI LIMITED, Estrada da Baía de Nossa Senhora de Esperança, the Venetian Macao Resort Hotel, Executive Offices – L2, Taipa, Macau.
Nacionalidade: constituída segundo as leis de Macau
Actividade: comercial e industrial
Data do pedido: 2009/09/29
Serviços: salões de beleza; estâncias termais de saúde; massagens.
A marca consiste em:

Marca n.º N/45 322 Classe 45.ª
Requerente: VENETIAN COTAI, S.A., VENETIAN COTAI LIMITED, Estrada da Baía de Nossa Senhora de Esperança, the Venetian Macao Resort Hotel, Executive Offices – L2, Taipa, Macau.
Nacionalidade: constituída segundo as leis de Macau
Actividade: comercial e industrial
Data do pedido: 2009/09/29
Serviços: serviços de guardas de segurança.
A marca consiste em:

Marca n.º N/45 323 Classe 35.ª
Requerente: 翔越國際集團有限公司,Sede: 香港威利蔴街6號威華商業中心10字樓1002-3室。
Nacionalidade: constituída segundo as leis de H.K.
Actividade: comercial e industrial
Data do pedido: 2009/09/29
Serviços: publicidade; gestão comercial; administração comercial; serviços de escritório.
A marca consiste em:

Marca n.º N/45 324 Classe 28.ª
Requerente: Aristocrat Technologies Australia Pty Ltd, 71 Longueville Road, Lane Cove, New South Wales 2066, Australia.
Nacionalidade: australiana
Actividade: comercial e industrial
Data do pedido: 2009/09/29
Produtos: máquinas de jogo e de póquer electrónicas, caça-níqueis para o jogo; máquinas de jogo e de póquer ligadas electronicamente.
A marca consiste em:

Marca n.º N/45 325 Classe 28.ª
Requerente: Aristocrat Technologies Australia Pty Ltd, 71 Longueville Road, Lane Cove, New South Wales 2066, Australia.
Nacionalidade: australiana
Actividade: comercial e industrial
Data do pedido: 2009/09/29
Produtos: máquinas de jogo e de póquer electrónicas, caça-níqueis para o jogo; máquinas de jogo e de póquer ligadas electronicamente.
A marca consiste em:

Marca n.º N/45 326 Classe 9.ª
Requerente: Aristocrat Technologies Australia Pty Ltd, 71 Longueville Road, Lane Cove, New South Wales 2066, Australia.
Nacionalidade: australiana
Actividade: comercial e industrial
Data do pedido: 2009/09/29
Produtos: sistemas de gestão de máquina de jogo para ser usado por estabelecimentos de jogo, incluindo hardware e software informático para monitorização, gestão e transmissão de informações sobre actividades dos jogadores e das máquinas de jogo e para recolher, integrar, calcular, analisar, seguir e gerir contas financeiras dos jogadores.
A marca consiste em:

Marca n.º N/45 327 Classe 14.ª
Requerente: Chow Tai Fook Jewellery Company Limited, 31st Floor, New World Tower, 16-18 Queen’s Road Central, Hong Kong.
Nacionalidade: constituída segundo as leis de H.K.
Actividade: comercial e industrial
Data do pedido: 2009/09/29
Produtos: metais preciosos e suas ligas e artigos em metais preciosos ou em plaqué não incluídos noutras classes; artigos de joalharia, pedras preciosas, relojoaria e instrumentos cronométricos.
A marca consiste em:

Reivindicação de cores: tons de vermelho (C0 M100 Y61 K43 e C0 M91 Y100 K23) e branco.
Marca n.º N/45 328 Classe 16.ª
Requerente: Chow Tai Fook Jewellery Company Limited, 31st Floor, New World Tower, 16-18 Queen’s Road Central, Hong Kong.
Nacionalidade: constituída segundo as leis de H.K.
Actividade: comercial e industrial
Data do pedido: 2009/09/29
Produtos: papel, cartão e artigos feitos nestas matérias, não incluídos noutras classes; materiais impressos; materiais para encadernação; fotografias; artigos de papelaria; adesivos para papelaria ou para uso doméstico; materiais para pintores; pincéis; máquinas de escrever e artigos de escritório (excepto mobiliário); material de instrução e ensino (excepto aparelhos); materiais plásticos para embalagem (não incluídos noutras classes); tipos para impressoras; blocos para impressoras.
A marca consiste em:

Reivindicação de cores: tons de vermelho (C0 M100 Y61 K43 e C0 M91 Y100 K23) e branco.
Marca n.º N/45 329 Classe 35.ª
Requerente: Chow Tai Fook Jewellery Company Limited, 31st Floor, New World Tower, 16-18 Queen’s Road Central, Hong Kong.
Nacionalidade: constituída segundo as leis de H.K.
Actividade: comercial e industrial
Data do pedido: 2009/09/29
Serviços: serviços de venda a grosso e de venda a retalho para artigos de joalharia, pedras preciosas, relojoaria e instrumentos cronométricos, e artigos em plaqué ou feitos de metais preciosos e suas ligas; serviços de informações e assessoria relacionados com todos os serviços acima mencionados; serviços de agências de exportação-importação para artigos de joalharia, pedras preciosas, relojoaria e instrumentos cronométricos, e artigos em plaqué ou feitos de metais preciosos e suas ligas.
A marca consiste em:

Reivindicação de cores: tons de vermelho (C0 M100 Y61 K43 e C0 M91 Y100 K23) e branco.
Marca n.º N/45 330 Classe 37.ª
Requerente: Chow Tai Fook Jewellery Company Limited, 31st Floor, New World Tower, 16-18 Queen’s Road Central, Hong Kong.
Nacionalidade: constituída segundo as leis de H.K.
Actividade: comercial e industrial
Data do pedido: 2009/09/29
Serviços: serviços de reparação e limpeza relacionados com artigos de joalharia, pedras preciosas, relojoaria e instrumentos cronométricos; serviços de conserto de relógios de mesa e parede e relógios; serviços de remontagem de artigos de joalharia, serviços de assessoria relacionado com os acima mencionados.
A marca consiste em:

Reivindicação de cores: tons de vermelho (C0 M100 Y61 K43 e C0 M91 Y100 K23) e branco.
Marca n.º N/45 331 Classe 40.ª
Requerente: Chow Tai Fook Jewellery Company Limited, 31st Floor, New World Tower, 16-18 Queen’s Road Central, Hong Kong.
Nacionalidade: constituída segundo as leis de H.K.
Actividade: comercial e industrial
Data do pedido: 2009/09/29
Serviços: revestimento de artigos de metais e joalharia, galvanoplastia, cromagem, galvanização, folha de ouro, revestimento de metais; esmaltagem, gravação e entalhação de artigos de joalharia, relojoaria e instrumentos cronométricos, e artigos de metais; serviços de corte de chaves; polimento de metais; serviços de assessoria relacionados com todos os serviços acima mencionados; processamento de artigos de joalharia, pedras preciosas, relojoaria e instrumentos cronométricos, e artigos em plaqué ou feitos de metais preciosos e suas ligas.
A marca consiste em:

Reivindicação de cores: tons de vermelho (C0 M100 Y61 K43 e C0 M91 Y100 K23) e branco.
Marca n.º N/45 332 Classe 42.ª
Requerente: Chow Tai Fook Jewellery Company Limited, 31st Floor, New World Tower, 16-18 Queen’s Road Central, Hong Kong.
Nacionalidade: constituída segundo as leis de H.K.
Actividade: comercial e industrial
Data do pedido: 2009/09/29
Serviços: desenhos de artigos de joalharia; desenhos de embalagens para artigos de joalharia e pedras preciosas; autenticação de artigos de joalharia, metais preciosos, pedras preciosas e trabalhos de artes; serviços gemológicos; serviços profissionalizados de consultoria informativa e assessoria relacionados com artigos de joalharia, metais preciosos e pedras preciosas; pesquisa e análise de artigos de joalharia, metais preciosos e pedras preciosas.
A marca consiste em:

Reivindicação de cores: tons de vermelho (C0 M100 Y61 K43 e C0 M91 Y100 K23) e branco.
Protecção de nomes e insígnias de estabelecimento
De acordo com os artigos 10.º e 243.º do RJPI, aprovado pelo Decreto-Lei n.º 97/99/M, de 13 de Dezembro, a seguir se publicam os pedidos de registo de nomes e insígnias de estabelecimento para a RAEM e da data da publicação do aviso, começa a contar-se o prazo de dois meses para a apresentação de reclamações, em conformidade com o artigo 244.º do mesmo diploma.
Publicação de nomes ou insígnias de estabelecimento
Estabelecimento n.º: E/000132
Requerente: Sio Chan Tim
Sede: 澳門雅廉訪大馬路41號
Actividade: comercial
Data do pedido: 2009/09/25
Tipo de actividade: restauração.
Reivindicação de cores: a cor da expressão“補之林”é amarela com o fundo preto.
Nome/Insignia

Protecção de desenhos e modelos
De acordo com os artigos 10.º e 165.º do RJPI, aprovado pelo Decreto-Lei n.º 97/99/M, de 13 de Dezembro, a seguir se publicam os pedidos de registo de desenhos e modelos para a RAEM e a partir da data desta publicação até à data da sua concessão, qualquer terceiro pode apresentar reclamações, em conformidade com o artigo 166.º do mesmo diploma.
Publicação de desenho ou modelo
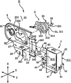
Desenho n.º: D/000550
Data do pedido: 2009/04/16
Requerente: Konami Gaming, Incorporated
Nacionalidade: americana
Domicílio/Sede: 585 Trade Center Drive, Las Vegas, NV 89119, U.S.A.
Título: Armário de uma máquina de jogo.
Resumo: as características do desenho para o qual a novidade é reivindicada são a forma, configuração, ornamentação e/ou a combinação disso no artigo como se mostra nas representações.
Classificação: 21 - 03
Criador: TAKEUCHI Mitsushige
Data de prioridade: 2008/10/20
País/Território de prioridade: Estados Unidos da América
Número de prioridade: 29/312,430
Figura

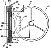
Desenho n.º: D/000551
Data do pedido: 2009/04/16
Requerente: Konami Gaming, Incorporated
Nacionalidade: americana
Domicílio/Sede: 585 Trade Center Drive, Las Vegas, NV 89119, U.S.A.
Título: Unidade de exposição rotativa para uma máquina de jogo.
Resumo: As características do desenho para o qual a novidade é reivindicada são a forma, configuração, ornamentação e/ou a combinação disso no artigo como se mostra nas representações.
Classificação: 21 - 03
Criador: TAKEUCHI Mitsushige
Data de prioridade: 2008/10/20
País/Território de prioridade: Estados Unidos da América
Número de prioridade: 29/312,429
Figura

Protecção de extensão de pedido de patente de invenção
De acordo com os artigos 10.º e 129.º a 135.º do RJPI, aprovado pelo Decreto-Lei n.º 97/99/M, de 13 de Dezembro, conjugados com os artigos 4.º e 5.º do «Acordo de Cooperação entre a Direcção Nacional da Propriedade Intelectual e a Direcção dos Serviços de Economia da RAEM na Área dos Direitos de Propriedade Intelectual», a seguir se publica a extensão de pedidos de patente de invenção.
Extensão de pedido de patente de invenção
N.º: J/000369
Data de pedido de extensão: 2009/08/12
Requerente: Lei Se Un
Nacionalidade: chinesa
Domicílio/Sede: 澳門高園街12號粵華花園5樓V
Título: Um tipo de máquina para cortar azulejos à prova de poeiras.
Resumo: 本發明公開了一種防塵瓷磚切割機架,其包括底座,所述底座上設置有斜向設置的滑軌、機架上座以及安裝手提切割機的機座,所述滑軌上套裝有推板,所述 機架上座上設置有承托瓷片的平衡路軌,所述底座上還設置有水槽;本產品能夠同時實現瓷磚的直邊和斜邊的特殊切割要求,並保證了切割精度,達到工作可靠、節省材料、無粉塵、 環保無污染,使用安全的目的,從而可以廣泛用於室內外大小型鋪設瓷片工程之用。
Data de pedido nacional: 2009/02/27
Número de pedido nacional: 200910037463.4
Data de publicação nacional: 2009/07/29
Número de publicação nacional: CN 101491925A
Classificação: B28D7/02, B28D7/04, B28D1/22
Inventor: Lei Se Un
Figura

N.º: J/000343
Data de pedido de extensão: 2009/06/16
Requerente: AVENTIS PHARMACEUTICALS, INC.
Nacionalidade: americana
Domicílio/Sede: Route 202-206, P.O. Box 6800, Bridgewater, New Jersey, 08807-0800, United States of America
Título: Derivados novos de piperidina anti-histamínicos e substâncias intermédias para sua preparação.
Resumo: 本發明涉及分子式如上的新的呱啶衍生物,其中R1是H或C1~C6烷基,其C1~C6烷基部分是直鏈或支鏈;且R2和R3獨立地代表C1~C6烷基 ,其C1~C6烷基部分是直鏈或支鏈。
Data de pedido nacional: 1999/06/17
Número de pedido nacional: 200610003627.8
Data de publicação nacional: 2006/07/26
Número de publicação nacional: CN 1807394A
Classificação: C07C69/738, C07D211/22, C07C259/06, A61K31/445
| Inventor: | 蒂莫西.A.艾爾斯 |
| 保羅.W.布朗 |
Data de prioridade: 1998/07/02
País/Território de prioridade: Estados Unidos da América
Número de prioridade: 09/109,542
Figura

No: J/000321
Data de pedido de extensão: 2009/03/25
Requerente: GUNZE LIMITED
Nacionalidade: japonesa
Domicílio/Sede: 1, Zeze, Aono-cho, Ayabe-shi, Kyoto, 6238511, Japan
Título: Polímero biodegradável e bioabsorvível que contém uma quantidade mais baixa de catalisador de metal e seu método de preparação.
Resumo: 本發明提供了具有極低的金屬催化劑含量、同時保持適用於醫療用植入物等所期望的性質的、安全的生物可降解的及生物可吸收的聚合物及其製備方法。本發 明還提供了可應用於工業規模的、使生物可降解的及生物可吸收的聚合物中的金屬催化劑含量降低的方法。具體地,還公開了製備金屬催化劑含量以金屬換算低於1ppm的生物可降 解的及生物可吸收的聚合物的方法,其特徵在於,包括 (1) 在金屬催化劑的存在下,使摩爾比為40/60至60/40的丙交酯和ε-己內酯進行共聚以製備共聚物,以及 (2) 將該共聚物在低於40oC的温度下用含有體積比為25/75至45/55的乙酸和異丙醇的混合溶劑洗滌並乾燥。還公開了製備金屬催化劑含量以金屬換算低於1ppm的生物可 降解的及生物可吸收的聚合物的方法,其特徵在於,包括 (1) 在金屬催化劑的存在下,使摩爾比65/35至85/15的丙交酯和ε-己內酯進行共聚以製備共聚物,以及 (2) 將該共聚物在低於40ºC的温度下用含有體積比為45/55至55/45的乙酸和異丙醇的混合溶劑洗滌並乾燥。
Data de pedido nacional: 2007/06/18
Número de pedido nacional: 200780022257.5
Data de publicação nacional: 2009/06/24
Número de publicação nacional: CN 101466758A
Classificação: C08G63/08, A61L17/00, A61L27/00, A61L31/00, C08G63/90, C08L101/16
| Inventor: | 有村英俊 |
| 高橋佳丈 | |
| 山內康治 |
Data de prioridade: 2006/06/28
País/Território de prioridade: Japão
Número de prioridade: 178805/2006
Data de prioridade: 2006/06/28
País/Território de prioridade: Japão
Número de prioridade: 178808/2006
Figura

Extensão de patente de invenção concedida
De acordo com os artigos 10.º e 129.º a 135.º do RJPI, aprovado pelo Decreto-Lei n.º 97/99/M, de 13 de Dezembro, conjugados com os artigos 4.º e 5.º do «Acordo de Cooperação entre a Direcção Nacional da Propriedade Intelectual e a Direcção dos Serviços de Economia da RAEM na Área dos Direitos de Propriedade Intelectual», a seguir se publica a extensão de patente(s) de invenção concedida(s).
Extensão de patente de invenção concedida
No: J/000003
Data de pedido de extensão: 2004/12/13
Data de despacho de extensão: 2009/09/25
Requerente: Aruze Corp.
Nacionalidade: japonesa
Domicílio/Sede: 3-1-25, Ariake, Koto-ku, Tokyo 135-0063, Japan
Título: Máquina de jogos.
Resumo: 遊戲機。當向ATX電源 (70) 提供交流電源時,從ATX電源 (70) 向PC板 (41) 提供子電源。當將子電源提供給PC板 (41) 時,通過由CPU根 據BIOS執行的處理,向ATX電源 (70) 輸出PWOK信號,並且從ATX電源 (70) 向PC板 (41) 提供主電源。因此,可以自動地執行向PC板 (41) 提供主電源以 及遊戲處理程序的啟動處理,而不需要電源開關的傳統手工操作,從而可以容易地啟動投幣遊戲機。
Data de pedido nacional: 2004/12/10
Número de patente nacional: 200410102253.6
Data de publicação nacional: 2005/06/15
Data de anúncio nacional: 2009/07/08
Número de anúncio nacional: CN 100511294C
Classificação: G07F17/32, A63F7/02, A63F9/24, A63F13/00, G06F19/00
| Inventor: | 武田賢豪 |
| 岸英明 |
Data de prioridade: 2003/12/12
País/Território de prioridade: Japão
Número de prioridade: 2003-414289
Figura

N.º: J/000053
Data de pedido de extensão: 2006/03/14
Data de despacho de extensão: 2009/10/07
Requerente: Arena Pharmaceuticals, Inc.
Nacionalidade: americana
Domicílio/Sede: 6166 Nancy Ridge Drive San Diego California 92121, U.S.A.
Título: “Trisubstituted aryl” e derivados de “heteroaryl” que servem como as preparações reguladoras de metabolismo, e destinados a prevenção e ao tratamento das doenças relativas.
Resumo: 本發明是關於作為新陳代謝調節劑的式 (I) 三取代芳基和雜芳基衍生物。因此,本發明的化合物可用於預防或治療代謝病症和其併發症,例如糖尿病和肥胖 症。
Data de pedido nacional: 2004/07/09
Número de patente nacional: 200480019950.3
Data de publicação nacional: 2006/08/23
Data de anúncio nacional: 2009/07/08
Número de anúncio nacional: CN 100509798C
Classificação: C07D401/12, C07D401/14, C07D403/12, C07D405/14, C07D409/14, C07D413/14, C07D417/14, C07D239/52, A61K31/506, A61K31/5377, A61K31/505, A61P3/10
| Inventor: | 羅伯特.M.瓊斯 |
| 格雷姆.森普爾 | |
| 熊易峰 | |
| 辛泳俊 | |
| 任少君 | |
| 伊梅爾達.考爾德倫 | |
| 金.孫.卡洛琳.蔡 | |
| 比阿特麗斯.菲奧拉萬蒂 | |
| 于爾格.萊曼 | |
| 馬克.A.布魯斯 |
Data de prioridade: 2003/07/11
País/Território de prioridade: Estados Unidos da América
Número de prioridade: 60/486,728
Data de prioridade: 2003/07/14
País/Território de prioridade: Estados Unidos da América
Número de prioridade: 60/487,370
Figura

No: J/000254
Data de pedido de extensão: 2008/09/30
Data de despacho de extensão: 2009/09/25
Requerente: Pharmacia Corporation
Nacionalidade: americana
Domicílio/Sede: 100 Route 206 North Peapack, New Jersey 07977, USA
Título: Forma de «eplerenone crystalline».
Resumo: 本發明提供了在貯存和使用正常溫度下有高度物理穩定性的醛固酮受體拮抗劑藥物依匹樂酮的新晶形 (晶形L) 。本發明還提供了藥物組合物,其中包含依匹 樂酮晶形L和一種或多種可藥用賦形劑,其中所述組合物在約10-約1000mg的總依匹樂酮單位劑量中任選包含一種或多種依匹樂酮的其它固態形式。本發明提供了製備依匹樂 酮晶形L的方法和製備包含依匹樂酮晶形L的組合物的方法。本發明提供了預防和/或治療醛固酮介導的病症或疾病的方法,包括給個體施用治療有效量的依匹樂酮,其中所施用的依 匹樂酮至少有一部分是依匹樂酮晶形L。
Data de pedido nacional: 2000/12/04
Número de patente nacional: 00805771.0
Data de publicação nacional: 2003/07/30
Data de anúncio nacional: 2008/08/27
Número de anúncio nacional: CN 100413881C
Classificação: C07J71/00, A61K31/58, A61P9/00
| Inventor: | K.P.巴頓 |
| H.T.戈德 | |
| S.甘澤 | |
| C.R.利特勒 | |
| P.S.穆迪帕利 | |
| T.B.波沙德特 | |
| M.V.卡洛斯 | |
| S.德賽 | |
| L.J.菲羅 | |
| M.A.皮茨 | |
| D.R.皮利保斯卡斯 | |
| Y.-L.L.邢 | |
| G.L.斯塔爾 | |
| J.J.維佐雷克 | |
| C.Y.彥 |
Data de prioridade: 1999/12/08
País/Território de prioridade: Estados Unidos da América
Número de prioridade: 60/169707
Data de prioridade: 1999/12/08
País/Território de prioridade: Estados Unidos da América
Número de prioridade: 60/169608
Data de prioridade: 1999/12/08
País/Território de prioridade: Estados Unidos da América
Número de prioridade: 60/169556
Data de prioridade: 1999/12/08
País/Território de prioridade: Estados Unidos da América
Número de prioridade: 60/169683
Data de prioridade: 1999/12/08
País/Território de prioridade: Estados Unidos da América
Número de prioridade: 60/169807
Data de prioridade: 1999/12/08
País/Território de prioridade: Estados Unidos da América
Número de prioridade: 60/169639
Figura

No: J/000288
Data de pedido de extensão: 2008/12/30
Data de despacho de extensão: 2009/09/25
Requerente: Aruze Corp.
Nacionalidade: japonesa
Domicílio/Sede: 3-1-25, Ariake, Koto-ku, Tokyo 135-0063, Japan
Título: Equipamento terminal de rede, servidor de distribuição e sistema de cliente/servidor.
Resumo: 提供一種技術,在不提供任何特殊單元或設備的情況下,通過從網絡上不僅下載應用程序而且下載OS,使得終端設備可以運行。一種系統包括:OS配送服 務器,它具有預先存貯在其中的OS數據;應用程序配送服務器,它具有預先存儲在其中的應用程序數據;LAN內服務器,它從OS配送服務器接收OS數據並存儲該OS數據,激 活該OS數據作為它自己的OS,和從應用程序配送服務器接收應用程序數據並存儲該應用程序數據;以及網絡終端設備,它能夠從LAN內配送服務器接收OS數據和應用程序數據 ,激活該OS數據作為它自己的OS,並在該OS上激活包含在該應用程序數據中的應用程序。
Data de pedido nacional: 2005/09/28
Número de patente nacional: 200510113346.3
Data de publicação nacional: 2006/04/05
Data de anúncio nacional: 2008/11/26
Número de anúncio nacional: CN 100437488C
Classificação: G06F9/445, H04L12/00, H04L29/12
| Inventor: | 藤森賢一 |
| 島淳 |
Data de prioridade: 2004/09/28
País/Território de prioridade: Japão
Número de prioridade: 2004-282029
Figura

N.º: J/000341
Data de pedido de extensão: 2009/06/03
Data de despacho de extensão: 2009/09/25
Requerente: Aruze Corp.
Nacionalidade: japonesa
Domicílio/Sede: 3-1-25, Ariake, Koto-ku, Tokyo, Japan
Título: Máquina de jogos.
Resumo: 本發明的遊戲機包括一投幣機,其具有:提供多個可變顯示的可變顯示設備,以及液晶顯示設備,具有用於在可變顯示設備表面反射的表面反射光的透射區域 。其中,可變顯示設備包括旋轉主體,該旋轉主體接受可用於抑制光澤的表面處理並且描繪有多個符號。
Data de pedido nacional: 2005/06/02
Número de patente nacional: 200510073544.1
Data de publicação nacional: 2005/12/14
Data de anúncio nacional: 2009/04/29
Número de anúncio nacional: CN 100482300C
Classificação: A63F5/04
| Inventor: | Hirofumi SEKIGUCHI |
| Tatsuhiko TANIMURA |
Data de prioridade: 2004/06/04
País/Território de prioridade: Japão
Número de prioridade: 2004-167696
Figura

N.º: J/000363
Data de pedido de extensão: 2009/08/03
Data de despacho de extensão: 2009/09/25
Requerente: NORITZ CORPORATION
Nacionalidade: japonesa
Domicílio/Sede: 93, Edomachi, Chuo-ku, Kobe-shi, Hyogo 653-0033, Japan
Título: Dispositivo de ignição.
Resumo: 一種點火裝置,將本體機殼的導軌插入嵌合於固定在燃燒器殼上的托座的卡裝片之間的縫隙中,並將本體安裝在托座上。隨著插入嵌合,高電壓輸出端子接受 被保持於托座上的點火火花塞的高電壓輸入端子的插入並被導通、作為托座一部分的板狀端子被進入接地側連接端子並被導通,並且凸出片的凸部與配合孔配合並被定位及卡住。根據 該點火裝置,在將放電電極部與本體直接連接時,能夠用一個操作即可完成高電壓輸出側及接地側雙方的連接,實現組裝的高效率化。
Data de pedido nacional: 2004/07/28
Número de patente nacional: 200410058712.5
Data de publicação nacional: 2005/02/23
Data de anúncio nacional: 2009/07/08
Número de anúncio nacional: CN 100510538C
Classificação: F23Q3/00
| Inventor: | 壽山英也 |
| 吉本厚志 | |
| 植原浩三 | |
| 久門正明 | |
| 仲井諭 | |
| 川內一哉 | |
| 佐伯卓治 | |
| 木村新悟 | |
| 田中直己 |
Data de prioridade: 2003/08/22
País/Território de prioridade: Japão
Número de prioridade: 2003-299301
Data de prioridade: 2004/01/30
País/Território de prioridade: Japão
Número de prioridade: 2004-022522
Data de prioridade: 2004/06/02
País/Território de prioridade: Japão
Número de prioridade: 2004-165051
Figura

N.º: J/000365
Data de pedido de extensão: 2009/08/06
Data de despacho de extensão: 2009/10/07
Requerente: KYOWA HAKKO KIRIN CO., LTD.
Nacionalidade: japonesa
Domicílio/Sede: 1-6-1, Ohtemachi, Chiyoda-ku, Tokyo 100-8185, Japan
Requerente: FUJIFILM CORPORATION
Nacionalidade: japonesa
Domicílio/Sede: 26-30, Nishiazabu 2-chome, Minato-ku, Tokyo 106-0031, Japan
Título: Derivado de “thiadiazoline”.
Resumo: 1. 如通式 IA-v iii 表示的噻二唑啉衍生物或其可藥用鹽:在通式 IA-v iii 中,R2A為-COC (CH3) 3,R3A為-COCH3,R4A為 -CH2NHSO2CH=CH2;R2A為-COC (CH3) 3,R3A為-COC (CH3) 3,R4A為-CH2NHSO2CH=CH2;R2A為-COC (CH3) 3,R3A為 -COCH3,R4A為-CH2NHSO2 (CH2) 2NHCH2CH3;R2A為-COC (CH3) 3,R3A為-COC (CH3) 3,R4A為-CH2NHSO2 (CH2) 2NHCH2CH3; 或R2A為-COC (CH3) 3,R3A為-COCH (CH3) 2,R4A為- (CH2) 2NHSO2CH3等。提供由上述通式表示的噻二唑啉衍生物或其可藥用鹽作為有效 成分的治療大腸癌的製劑。
Data de pedido nacional: 2002/12/11
Número de patente nacional: 02827984.0
Data de publicação nacional: 2005/05/18
Data de anúncio nacional: 2009/05/06
Número de anúncio nacional: CN 100484928C
Classificação: C07D285/135, C07D417/04, C07D285/14, A61K31/433, A61K31/4439, A61K31/497, A61K31/5377, A61P35/00
| Inventor: | 村形力 |
| 加藤一彥 | |
| 太田義久 | |
| 中井龍一郎 | |
| 山下順範 | |
| 高橋健 | |
| 仲野智久 | |
| 井野洋二 |
Data de prioridade: 2001/12/11
País/Território de prioridade: Japão
Número de prioridade: 377456/2001
Data de prioridade: 2002/08/16
País/Território de prioridade: Japão
Número de prioridade: 237399/2002
Figura

N.º: J/000366
Data de pedido de extensão: 2009/08/07
Data de despacho de extensão: 2009/10/07
Requerente: Merck & Co., Inc.
Nacionalidade: americana
Domicílio/Sede: 126 East Lincoln Avenue, Rahway, NJ 07065-0907, U.S.A.
Título: Expressão optimizada de HPV31L1 na levedura.
Resumo: 提供了編碼HPV31 L1蛋白質的合成DNA分子。具體地,本發明提供了編碼HPV31 L1蛋白質的多核苷酸,其中所述多核苷酸沒有酵母識別的 內部轉錄終止信號。還提供了編碼HPV31 L1的合成多核苷酸,其中該多核苷酸已經經密碼子優化以在酵母細胞中高水平表達。該合成分子可用於產生HPV31病毒類似顆粒 (VLPs) ,和產生含有HPV31 VLPs的疫苗和藥物組合物。本發明的疫苗通過中和抗體和細胞介導的免疫提供了針對乳頭瘤病毒感染的有效免疫預防。
Data de pedido nacional: 2004/03/19
Número de patente nacional: 200480007725.8
Data de publicação nacional: 2006/04/19
Data de anúncio nacional: 2009/07/01
Número de anúncio nacional: CN 100506999C
Classificação: C12P21/06
| Inventor: | K.U.詹森 |
| L.D.舒爾茨 | |
| M.P.尼佩 | |
| H.Z.馬庫斯 |
Data de prioridade: 2003/03/24
País/Território de prioridade: Estados Unidos da América
Número de prioridade: 60/457,172
N.º: J/000370
Data de pedido de extensão: 2009/08/14
Data de despacho de extensão: 2009/10/07
Requerente: Koretide Corp.
Nacionalidade: chinesa
Domicílio/Sede: Room 17200, Building 16# 498 Guoshoujing Road, Pudong Newarea Shanghai, 201203, P.R. China
Título: Método para implementação da construção de invólucro de componente no sistema de software de componente.
Resumo: 本發明涉及一種構件化軟件系統中實現構件外殼類構建的方法,包括系統根據用戶輸入產生構件外殼類的相應功能代碼信息、系統調用構件編譯工具編譯構件 代碼並進行構件外殼類擴展代碼的編譯生成處理操作、系統進行相應的構件外殼類實例化處理操作。採用該種構件化軟件系統中實現構件外殼類構建的方法,可以靈活增加輔助代碼且 不會影響用戶構件方法的實現和調用者的代碼,而且能夠對所有構件增加某種公共的功能和實現,同時對於調用者和被調用者完全透明,實現過程簡單方便,提高了軟件開發效率,移 植性、兼容性和代碼複用性較好,使用起來快捷靈活,工作性能穩定可靠,適用範圍較為廣泛,為現代計算機構件化軟件技術的進一步發展奠定了堅實的基礎。
Data de pedido nacional: 2007/12/26
Número de patente nacional: 200710173115.0
Data de publicação nacional: 2008/06/11
Data de anúncio nacional: 2009/06/03
Número de anúncio nacional: CN 100495332C
Classificação: G06F9/44
| Inventor: | 宋世軍 |
| 梁宇洲 | |
| 陳榕 | |
| 牛靖宇 |
Figura

N.º: J/000371
Data de pedido de extensão: 2009/08/14
Data de despacho de extensão: 2009/10/07
Requerente: Koretide Corp.
Nacionalidade: chinesa
Domicílio/Sede: Room 17200, Building 16# 498 Guoshoujing Road, Pudong Newarea Shanghai, 201203, P.R. China
Título: Um tipo de método baseado no circuito/processo de movimento de rotina de trabalho/rotina dirigente.
Resumo: 一種基於工作例程/主導例程運行線程/進程的方法,它包括在客戶端和服務端操作系統內核中預先實現工作例程/主導例程對象,該對象至少有啟動與結束 兩個方法;在服務端創建線程/進程時,調用線程/進程對象接口智能指針的啟動方法啟動服務端線程/進程對象執行,將線程運行轉化為運行工作例程對象;將進程加載/運行應用 程序的可執行模塊轉化為運行一主導例程對象;運行結束時,再調用結束方法,結束線程/進程。本發明在面向構件的編程環境中,客戶程序訪問系統,經過工作例程/主導例程運行 ,執行代理構件功能,啟動線程/進程,滿足本地/遠程應用服務,可實現服務功能的遠程運行、本地應用,更適於下一代網絡服務。
Data de pedido nacional: 2003/01/22
Número de patente nacional: 03100828.3
Data de publicação nacional: 2004/08/11
Data de anúncio nacional: 2009/06/03
Número de anúncio nacional: CN 100495334C
Classificação: G06F9/445, G06F9/46
| Inventor: | 陳榕 |
| 林清洪 | |
| 陳志成 |
Figura

N.º: J/000373
Data de pedido de extensão: 2009/08/17
Data de despacho de extensão: 2009/10/07
Requerente: BIOFERMIN PHARMACEUTICAL CO., LTD.
Nacionalidade: japonesa
Domicílio/Sede: 5, Sanbancho 5-chome, Nagata-ku, Kobe-shi, Hyogo 653-0011, Japan
Título: Comprimido com bactérias intestinais.
Resumo: 本發明提供可以有效攝取腸內細菌,且可以長期保存的含有腸內細菌的片劑。
Data de pedido nacional: 2003/02/17
Número de patente nacional: 03103726.7
Data de publicação nacional: 2004/08/25
Data de anúncio nacional: 2009/07/08
Número de anúncio nacional: CN 100508993C
Classificação: A61K35/74, A61K9/20, A61P1/14
| Inventor: | MIZUGUCHI Taiji |
| HOSOKAWA Yoshihiko | |
| ARAI Teruhiko | |
| YAMAGUCHI Satoshi |
N.º: J/000375
Data de pedido de extensão: 2009/08/26
Data de despacho de extensão: 2009/10/07
Requerente: Mark NOAR
Nacionalidade: americana
Domicílio/Sede: 11 Alterwood Lane Owings Mills Maryland, 21117, USA
Título: Sistema de «electroviscerogram» inteligente com auto-interpretação.
Resumo: 本發明提供智能的自判析內臟電圖的系統和方法。一種檢測並判析來自腹內器官的肌電活動的方法。電極獲得與器官肌電活動有關的隨時間變化的第一信號。 呼吸傳感器獲得關於患者呼吸的第二信號。建立第一和第二信號的初始參數範圍。處理器基於初始參數範圍確定在第一和第二信號中都發生人為現象的分鐘段。然後確定是否存在第一 和第二信號中無人為現象的分鐘段。在確定存在足夠的無人為現象的分鐘段之後改變患者的狀況。在改變患者的狀況之後在存儲器中同時記錄第一和第二信號一段時間。處理器確定在 記錄的第一和第二信號中是否發生人為現象。選擇記錄的第一和第二信號中無人為現象的分鐘段以進行分析。通過處理器來分析所選分鐘段以自動確定器官狀況。
Data de pedido nacional: 2005/03/02
Número de patente nacional: 200580007442.8
Data de publicação nacional: 2007/03/14
Data de anúncio nacional: 2009/07/22
Número de anúncio nacional: CN 100515328C
Classificação: A61B5/04
Inventor: Mark NOAR
Data de prioridade: 2004/03/08
País/Território de prioridade: Estados Unidos da América
Número de prioridade: 60/550,333
Data de prioridade: 2005/03/01
País/Território de prioridade: Estados Unidos da América
Número de prioridade: 11/067,926
Figura

N.º: J/000378
Data de pedido de extensão: 2009/08/26
Data de despacho de extensão: 2009/09/25
Requerente: Aruze Corp.
Nacionalidade: japonesa
Domicílio/Sede: 3-1-25, Ariake, Koto-ku, Tokyo, Japan
Título: Máquina de jogos.
Resumo: 本發明提供一種例如投幣遊戲機或者彈球盤機的遊戲機,其包括一顯示設備,其中像素單元a和b是通過佈置分別顯示預定色彩的多種像素電極R、G和B中 的每一種而構成的,一個像素是由一對相鄰像素單元a和b構成的,用於一個像素的信息信號以相同的時間提供給包括在每個像素單元對a和b中的、用於相同色彩的各個像素電極 (Ra,Rb) 、 (Ga,Gb) 和 (Ba,Bb) 。
Data de pedido nacional: 2004/03/19
Número de patente nacional: 200410029473.0
Data de publicação nacional: 2005/04/06
Data de anúncio nacional: 2009/07/29
Número de anúncio nacional: CN 100520864C
Classificação: G09F9/30, G09F9/35, G09G3/20, A63F13/00
Inventor: Nobuyuki NONAKA
Data de prioridade: 2003/03/28
País/Território de prioridade: Japão
Número de prioridade: 2003-092521
Data de prioridade: 2003/03/28
País/Território de prioridade: Japão
Número de prioridade: 2003-092529
Data de prioridade: 2003/10/31
País/Território de prioridade: Estados Unidos da América
Número de prioridade: 10/697947
Data de prioridade: 2003/10/31
País/Território de prioridade: Estados Unidos da América
Número de prioridade: 10/697245
Figura

N.º: J/000381
Data de pedido de extensão: 2009/09/02
Data de despacho de extensão: 2009/09/25
Requerente: Aruze Corp.
Nacionalidade: japonesa
Domicílio/Sede: 3-1-25 Ariake, Koto-ku, Tokyo 135-0063, Japan
Título: Máquina de jogos.
Resumo: 一種遊戲機,其中液晶佈置在轉筒的前面,該遊戲機包括:多個轉筒3,具有其上排列多個符號的曲面形狀的多個符號排列面,用於可變地顯示均由多個符號 構成的多個符號行;液晶504,佈置在轉筒3的前面並且與轉筒3相對,用於通過平坦的符號透過面顯示符號,也顯示與遊戲相關的圖像;轉筒背光燈513,用於照亮符號;轉筒 側面反射體320,佈置在轉筒3的側面,用於覆蓋符號排列面和符號透過面之間的在轉筒3的側面上形成的區域,以輔助液晶504的圖像顯示。
Data de pedido nacional: 2004/03/01
Número de patente nacional: 200410008269.0
Data de publicação nacional: 2005/09/07
Data de anúncio nacional: 2009/07/29
Número de anúncio nacional: CN 100518871C
Classificação: A63F13/00, A63F5/04
| Inventor: | 井村英明 |
| 大桃伸吾 |
Figura

N.º: J/000383
Data de pedido de extensão: 2009/09/03
Data de despacho de extensão: 2009/10/07
Requerente: TRANSTECH PHARMA, INC.
Nacionalidade: americana
Domicílio/Sede: Suite 110, 4170 Mendenhall Oaks Parkway, High Point, NC 27265, U.S.A.
Título: Derivados de «mono- and bicyclic azole» para inibição da interacção de «ligands» com «rage».
Resumo:本發明提供式I的某些化合物,其中A1是O、S或-N (R2) -,它們的製備方法,包括所述化合物的藥物組合物和它們在治療人類或動物病症中的用途。 本發明的化合物用作高級糖化終產物受體 (RAGE) 和它的配體,如高級糖化終產物 (AGEs) 、S100/鈣粒蛋白/EN-RAGE、β-澱粉狀蛋白和兩性黴素之間相互作 用的調節劑和用於管理、治療、控制,或作為由RAGE引起的人類疾病輔助治療。這種疾病或病況包括急性和慢性炎症、糖尿病晚期併發症的發展,如增加的血管滲透性、腎病、動 脈粥樣硬化、和視網膜病、阿爾茨海默病的發展、勃起機能障礙、和腫瘤的侵入和轉移。
Data de pedido nacional: 2003/03/05
Número de patente nacional: 03805204.0
Data de publicação nacional: 2005/06/29
Data de anúncio nacional: 2009/08/12
Número de anúncio nacional: CN 100525763C
Classificação: A61K31/4184, A61K31/4164, C07D235/18, C07D233/64, A61P3/10, C07D235/12, C07D405/04, C07D235/08, C07D401/04, C07D453/02, C07D401/12, C07D403/12, C07D235/30, C07D403/14, C07D401/14
| Inventor: | MJALLI, Adnan M., M. |
| ADREWS, Robert, C. | |
| GOPALASWAMY, Ramesh | |
| HARI, Anitha | |
| AVOR, Kwasi | |
| QABAJA, Ghassan | |
| GUO, Xiao-chuan | |
| GUPTA, Suparna | |
| JONES, David, R. | |
| CHEN, Xin |
Data de prioridade: 2002/03/05
País/Território de prioridade: Estados Unidos da América
Número de prioridade: 60/361,983
Figura

N.º: J/000384
Data de pedido de extensão: 2009/09/07
Data de despacho de extensão: 2009/10/07
Requerente: MOTOROLA, INC.
Nacionalidade: americana
Domicílio/Sede: 1303 E. Algonquin Road, Schaumburg, Illinois 60196, U.S.A.
Título: Circuito e método de um aparelho para cancelamento de eco.
Resumo: 本發明公開一種回波消除器電路 (10) 與方法,其衰減至少後回波消除器上行數據 (90) ,以產生衰減的上行數據 (100) ,以響應基於上行回波返回 損失的衰減數據 (40) 。回波消除器電路 (10) 包括基於回波返回損失的衰減數據發生器 (20) 以及至少上行數據衰減器 (30) 。基於回波返回損失的衰減數據發生器 (20) 產生基於上行回波返回損失的衰減數據 (40) ,以響應回波返回損失數據 (70) 。回波返回損失數據 (70) 基於衰減的下行數據 (50) 、預回波消除器上行數據 (60) 、和/或 放大器增益數據 (80) 中的至少一個。上行數據衰減器 (30) 衰減後回波消除器上行數據 (90) ,以根據基於上行回波返回損失的衰減數據 (40) ,產生衰減的上行數據 (100) 。
Data de pedido nacional: 2004/12/13
Número de patente nacional: 200410101116.0
Data de publicação nacional: 2005/08/24
Data de anúncio nacional: 2009/06/10
Número de anúncio nacional: CN 100499721C
Classificação: H04M9/08, H04B3/20, G10L21/02
| Inventor: | Keith L. OWENS |
| James B. PIKET |
Christopher W. SPRINGFIELD
Data de prioridade: 2003/12/12
País/Território de prioridade: Estados Unidos da América
Número de prioridade: 10/735,272
Figura

N.º: J/000385
Data de pedido de extensão: 2009/09/07
Data de despacho de extensão: 2009/09/25
Requerente: ARUZE Corp.
Nacionalidade: japonesa
Domicílio/Sede: 3-1-25, Ariake, Koto-ku, Tokyo 135-0063, Japan
Título: Máquina de jogos.
Resumo: 本發明提供了一種遊戲機,遊戲機具有能夠吸引玩家興趣的各種吸引力。遊戲機包括遊戲空間,通過使用遊戲幣遊戲得以實施;發射裝置,用於將遊戲幣發射 到所述遊戲空間內;支付裝置,可選擇以不同的支付模式支付遊戲幣;抽獎裝置,實施抽獎以確定設定條件是否滿足;以及控制裝置,用於所述支付裝置的驅動控制,使遊戲幣的支付 方式根據所述抽獎裝置的抽獎結果的不同而不同。
Data de pedido nacional: 2004/09/24
Número de patente nacional: 200410075279.6
Data de publicação nacional: 2005/04/20
Data de anúncio nacional: 2009/07/29
Número de anúncio nacional: CN 100518870C
Classificação: A63F3/00, G07F17/38
Inventor: Takanori HATTORI
Data de prioridade: 2003/09/26
País/Território de prioridade: Japão
Número de prioridade: 2003-336356
Figura

Protecção de patentes de invenção
De acordo com os artigos 10.º e 83.º do RJPI, aprovado pelo Decreto-Lei n.º 97/99/M, de 13 de Dezembro, a seguir se publicam os pedidos de registo de patentes de invenção para a RAEM e a partir da data desta publicação até à data da atribuição da patente, qualquer terceiro pode apresentar reclamações, em conformidade com o artigo 84.º do mesmo diploma.
Protecção de patentes de invenção
Patente de invenção n.º: I/000894
Data do pedido: 2009/01/05
Requerente: IGT
Nacionalidade: americana
Domicílio/Sede: 9295 Prototype Drive, Reno Nevada 89521-8986, E.U.A.
Título: Métodos e sistemas de apostas distribuídas.
Resumo: divulgam-se várias técnicas para facilitar as actividades ligadas às apostas paralelas conduzidas num casino que inclui uma rede de jogos de casino. Pelo menos numa forma de realização, a rede de jogos inclui uma pluralidade de dispositivos de jogos, incluindo um primeiro dispositivo de jogo. Pode ser recebido um pedido de apostador paralelo para relacionar um primeiro apostador paralelo com um primeiro alvo. Pelo menos numa forma de realização, o primeiro alvo pode ser seleccionado de um grupo de possíveis alvos que, por exemplo, podem incluir, mas não se limitam a, um ou mais dos seguintes (ou suas combinações): jogadores de casino, mesas de jogo, dispositivos de jogo electrónico (EGDs), temas de jogo, denominações de jogo, mesas de aposta, etc. Pode ser determinada uma identidade de um primeiro jogador associado à produção do primeiro pedido de apostador paralelo. Pode iniciar-se automaticamente uma primeira sessão de apostador paralelo. Pelo menos numa forma de realização, o início da primeira sessão de apostador paralelo pode incluir a colocação automática do primeiro apostador paralelo na rede de jogos do casino e associando o primeiro apostador paralelo colocado ao primeiro jogador identificado. Numa forma de realização, o primeiro apostador paralelo inclui um primeiro critério de apostador paralelo especificando que um resultado do primeiro apostador paralelo está relacionado com, pelo menos, um acontecimento associado a uma diferente jogada de jogo do jogador que está associada ao primeiro alvo.
Classificação: A63F9/24
| Inventor: | Dwayne A Davis |
| Christian R Champagne | |
| David Palmer | |
| Michael P. Khamis | |
| David Myers | |
| Richard E. Rowe | |
| Richard J. Schneider | |
| Damien C Ennis | |
| Darryll Pleasant |
Data de prioridade: 2008/01/04
País/Território de prioridade: Estados Unidos da América
Número de prioridade: 61/010,084
Data de prioridade: 2008/11/05
País/Território de prioridade: Estados Unidos da América
Número de prioridade: 12/265,627
Data de prioridade: 2008/12/24
País/Território de prioridade: Estados Unidos da América
Número de prioridade: 12/344,115
Figura

Patente de invenção n.º: I/000897
No. do pedido inicial: I/000536
Data do pedido: 2007/08/29
Requerente: Aruze Corp.
Nacionalidade: japonesa
Domicílio/Sede: 3-1-25, Ariake, Koto-ku, Tokyo 135-0063, Japan
Título: Caça-níqueis e respectivo método de operação.
Resumo: 在顯示器上顯示預定演示圖像後,通過從具有不同屬性的多個符號中選擇符號來確定要排列的符號。當停止所述已確定的符號時,在各個顯示區中,按任意順 序,順序地停止顯示所述已確定的符號。在這種情況下,閃爍已經停止顯示的符號。此外,在閃爍期間,將已經排列的符號的屬性從初始排列時的第一屬性改成第二屬性。此外,對所 確定的每一個符號,設置作為刪除該符號所需時間的消光時間。接着,從在顯示器上最終排列符號開始經過預定時段以後,在下述任何一種情況下,即存在具有不同大小和相同屬性的 預定數量或更多符號的情況,以及存在具有相同屬性的預定數量或更多符號的情況,提供相應的獎勵。
Classificação: A63F13/00, A63F5/04, G07F17/32
Inventor: SAITO, Hiroki
Data de prioridade: 2006/08/29
País/Território de prioridade: Japão
Número de prioridade: 2006-232738
Figura

Patente de invenção n.º: I/000898
Data do pedido: 2009/01/16
Requerente: MUDALLA TECHNOLOGY, INC.
Nacionalidade: americana
Domicílio/Sede: 2505 Anthem Village Drive, Suite E-496 Henderson, Nevada 89052, E.U.A.
Título: Aposta de casino à base de tempo utilizando o reinvestimento opcional.
Resumo: 使用可選再投資的基於時間的下注允許娛樂場遊戲者以基於時間的和基於信用的混合方式來玩他們喜愛的娛樂場遊戲。遊戲者以設定的價格來購買在遊戲機上 的時間窗口合同,以保證他或者她在他的合同的全部持續時間,按照他選擇的步調來玩遊戲的能力。因為遊戲者在時間合同的執行期間累積贏利,因此遊戲者可以通過在他的合同結束 時輸出這些現金來保護他或者她的增長贏利,或者可以選擇將他的部分或者全部增長贏利進行重新投資,以得到隨着時間合同進展而獲得更大贏利的機會。所述遊戲者可以通過經由動 態下注選擇菜單進行額外下注,來激活這種可選功能。
Classificação: A63F9/24
| Inventor: | Alexander Popovich |
| Thierry Brunet De Courssou | |
| Cameron Anthony Filipour | |
| Adam Singer |
Data de prioridade: 2008/01/18
País/Território de prioridade: Estados Unidos da América
Número de prioridade: 61/022,198
Figura

Patente de invenção n.º: I/000902
Data do pedido: 2009/01/29
Requerente: LOGIGATES S.R.L.
Nacionalidade: italiana
Domicílio/Sede: Via Oroboni 27, 20161, Milano, Italy
Título: Método de processamento de peças ou partes de máquina, em particular de método de processamento de peças ou partes de máquina de corte de couro, e peças ou partes de máquina obtidas com tal método.
Resumo: 一種處理機器部件或零件的方法包含一個提供一機器部件或零件的步驟,該部件或零件包含至少一個由金屬構成的主基體;一個把塗層塗在該機器部件或零件 上的步驟,該塗層具有減少摩擦和/或防磨損和/或防黏附特性;該方法進一步包含一個對該機器或零件實施低溫冷卻的步驟,該低溫冷卻步驟同時作用於該主基體和該塗層並在實施 該塗層的步驟之後。
Classificação: C21D6/04, C14B1/00
Inventor: Giovanni FOSSATI
Data de prioridade: 2008/01/30
País/Território de prioridade: Itália
Número de prioridade: PCT/IT2008/000056
Patente de invenção n.º: I/000908
Data do pedido: 2009/02/06
Requerente: Aruze Corp.
Nacionalidade: japonesa
Domicílio/Sede: 3-1-25 Ariake, Koto-ku, Tokyo 135-0063, Japan
Título: Sistema de jogos com pluralidade de caça-níqueis e seu método de controlo.
Resumo: 本發明涉及具有多個投幣遊戲機的遊戲系統以及該遊戲系統的控制方法。該遊戲系統包括多個投幣遊戲機。每個投幣遊戲機包括顯示器和控制器,該顯示器顯 示符號,該控制器對排列在該顯示器上的符號進行重新排列。當在通過虛擬連接所述多個投幣遊戲機設置的顯示器而獲得的一個連接顯示帶上滾動多個符號時,各顯示器分別顯示位於 該顯示器上的符號。
Classificação: A63F9/24
Inventor: Kazumasa Yoshizawa
Data de prioridade: 2008/02/08
País/Território de prioridade: Estados Unidos da América
Número de prioridade: 61/027,256
Data de prioridade: 2008/11/10
País/Território de prioridade: Estados Unidos da América
Número de prioridade: 12/268,000
Figura

Patente de invenção n.º: I/000979
No. do pedido inicial: I/000438
Data do pedido: 2007/06/13
Requerente: Aruze Corp.
Nacionalidade: japonesa
Domicílio/Sede: 3-1-25, Ariake, Koto-ku, Tokyo 135-0063, Japan
Título: Caça-níqueis e método de controlo de jogos.
Resumo: 本發明的投幣機包括:能夠變動顯示多個圖標的圖標顯示裝置;圖像或聲音的輸出裝置;和以執行下述 (A) ~ (F) 處理的方式被編程的控制器,處理 (A) ,執行以下遊戲:下注預先設定的最大下注數以下的遊戲介質後,由上述圖標顯示裝置進行上述多個圖標的變動顯示後,進行停止顯示,支付對應於被停止顯示的上述多個圖標或它們 的組合的數量的遊戲介質,處理 (B) ,將投入預定數的遊戲介質作為條件,從無保險模式轉換到有保險模式,處理 (C) ,在上述有保險模式中,對轉換到上述有保險模式後進行的 遊戲次數進行計數,處理 (D) ,由上述處理 (C) 計數的遊戲次數達到特定次數時,支付預定數的遊戲介質,處理 (E) ,在預定的保險解除條件成立時,從上述有保險模式轉換到 上述無保險模式,處理 (F) ,在從上述有保險模式轉換到上述無保險模式的情況下,由上述輸出裝置,將顯示已轉換到上述無保險模式的信息進行輸出。
Classificação: A63F5/04
Inventor: Kazuo Okada
Data de prioridade: 2007/03/20
País/Território de prioridade: Japão
Número de prioridade: 2007-073524
Figura

Em conformidade com a alínea d) dos n.os 1 e 2 do artigo 10.º do RJPI, aprovado pelo Decreto-Lei n.º 97/99/M, de 13 de De-zembro, e de acordo com os artigos 275.º a 277.º do referido diploma, cabe recurso para o Tribunal Judicial de Base, dos despachos abaixo mencionados, no prazo de um mês a contar da data desta publicação.
Protecção de marcas
Concessões
| Processo n.º | Data do registo |
Data do despacho |
Nome do titular | País/Território resid. |
Classe |
| N/033329 | 2009/09/25 | 2009/09/25 | Las Vegas Sands Corp. | US | 35 |
| N/033330 | 2009/09/25 | 2009/09/25 | Las Vegas Sands Corp. | US | 39 |
| N/033331 | 2009/09/25 | 2009/09/25 | Las Vegas Sands Corp. | US | 41 |
| N/033332 | 2009/09/25 | 2009/09/25 | Las Vegas Sands Corp. | US | 43 |
| N/033333 | 2009/09/25 | 2009/09/25 | Las Vegas Sands Corp. | US | 45 |
| N/033334 | 2009/09/25 | 2009/09/25 | Las Vegas Sands Corp. | US | 35 |
| N/033335 | 2009/09/25 | 2009/09/25 | Las Vegas Sands Corp. | US | 39 |
| N/033336 | 2009/09/25 | 2009/09/25 | Las Vegas Sands Corp. | US | 41 |
| N/033337 | 2009/09/25 | 2009/09/25 | Las Vegas Sands Corp. | US | 43 |
| N/033338 | 2009/09/25 | 2009/09/25 | Las Vegas Sands Corp. | US | 45 |
| N/034160 | 2009/09/25 | 2009/09/25 | Las Vegas Sands Corp. | US | 35 |
| N/034161 | 2009/09/25 | 2009/09/25 | Las Vegas Sands Corp. | US | 39 |
| N/034162 | 2009/09/25 | 2009/09/25 | Las Vegas Sands Corp. | US | 41 |
| N/034163 | 2009/09/25 | 2009/09/25 | Las Vegas Sands Corp. | US | 43 |
| N/034164 | 2009/09/25 | 2009/09/25 | Las Vegas Sands Corp. | US | 35 |
| N/034165 | 2009/09/25 | 2009/09/25 | Las Vegas Sands Corp. | US | 39 |
| N/034166 | 2009/09/25 | 2009/09/25 | Las Vegas Sands Corp. | US | 41 |
| N/034167 | 2009/09/25 | 2009/09/25 | Las Vegas Sands Corp. | US | 43 |
| N/034168 | 2009/09/25 | 2009/09/25 | Las Vegas Sands Corp. | US | 35 |
| N/034169 | 2009/09/25 | 2009/09/25 | Las Vegas Sands Corp. | US | 39 |
| N/034170 | 2009/09/25 | 2009/09/25 | Las Vegas Sands Corp. | US | 41 |
| N/034171 | 2009/09/25 | 2009/09/25 | Las Vegas Sands Corp. | US | 43 |
| N/038353 | 2009/09/25 | 2009/09/25 | 哥倫比亞國家咖啡品聯盟 FEDERACIÓN NACIONAL DE CAFETEROS DE COLOMBIA |
CO | 30 |
| N/039465 | 2009/09/25 | 2009/09/25 | XL ENERGY MARKETING Sp. z o. o | PL | 32 |
| 1N/040007 | 2009/09/25 | 2009/09/25 | Caesars World, Inc. | US | 41 |
| 2N/040048 | 2009/09/25 | 2009/09/25 | 維他奶國際集團有限公司 Vitasoy International Holdings Limited |
HK | 32 |
| 1N/040378 | 2009/09/25 | 2009/09/25 | Caesars World, Inc. | US | 25 |
| N/040638 | 2009/09/25 | 2009/09/25 | Nuance-Watson (HK) Limited | HK | 35 |
| 3N/040849 | 2009/09/25 | 2009/09/25 | 周少聰 CHAO SIU CHONG |
MO | 09 |
| N/040874 | 2009/09/25 | 2009/09/25 | Aristocrat Technologies Australia Pty Ltd | AU | 28 |
| N/040875 | 2009/09/25 | 2009/09/25 | Aristocrat Technologies Australia Pty Ltd | AU | 28 |
| N/040877 | 2009/09/25 | 2009/09/25 | Aristocrat Technologies Australia Pty Ltd | AU | 28 |
| N/040888 | 2009/09/25 | 2009/09/25 | Kabushiki Kaisha DONQ, d/b/a DONQ, CO., LTD. | JP | 29 |
| N/040889 | 2009/09/25 | 2009/09/25 | Kabushiki Kaisha DONQ, d/b/a DONQ, CO., LTD. | JP | 30 |
| 4N/040897 | 2009/09/25 | 2009/09/25 | Mount Everest Mineral Water Limited | IN | 32 |
| N/040965 | 2009/09/25 | 2009/09/25 | MOULIN ROUGE | BE | 18 |
| 1N/041074 | 2009/09/25 | 2009/09/25 | Caesars World, Inc. | US | 43 |
| 5N/041103 | 2009/09/25 | 2009/09/25 | J.M.H. Trademark, Inc. | US | 25 |
| 5N/041104 | 2009/09/25 | 2009/09/25 | J.M.H. Trademark, Inc. | US | 25 |
| N/041134 | 2009/09/25 | 2009/09/25 | Beaming Success Limited | VG | 29 |
| N/041242 | 2009/09/25 | 2009/09/25 | LAURETANA S.p.A. | IT | 32 |
| N/041346 | 2009/09/25 | 2009/09/25 | 唐永明 TONG WING MING |
MO | 05 |
| N/041455 | 2009/09/25 | 2009/09/25 | ENERGY BRANDS INC. | US | 32 |
| N/041462 | 2009/09/25 | 2009/09/25 | Sumitomo Metal Industries, Ltd. | JP | 12 |
| N/041567 | 2009/09/25 | 2009/09/25 | Triumph Intertrade AG | CH | 25 |
| N/041569 | 2009/09/25 | 2009/09/25 | 飛亞達 (香港) 有限公司 FIYTA (HONG KONG) LIMITED |
HK | 14 |
| N/041572 | 2009/09/25 | 2009/09/25 | 飛亞達 (香港) 有限公司 FIYTA (HONG KONG) LIMITED |
HK | 14 |
| N/041660 | 2009/09/25 | 2009/09/25 | Aristocrat Technologies Australia Pty Ltd | AU | 09 |
| N/041661 | 2009/09/25 | 2009/09/25 | Aristocrat Technologies Australia Pty Ltd | AU | 28 |
| N/041662 | 2009/09/25 | 2009/09/25 | Aristocrat Technologies Australia Pty Ltd | AU | 28 |
| N/041663 | 2009/09/25 | 2009/09/25 | Aristocrat Technologies Australia Pty Ltd | AU | 28 |
| N/041664 | 2009/09/25 | 2009/09/25 | Aristocrat Technologies Australia Pty Ltd | AU | 28 |
| N/041665 | 2009/09/25 | 2009/09/25 | Aristocrat Technologies Australia Pty Ltd | AU | 09 |
| N/041666 | 2009/09/25 | 2009/09/25 | Aristocrat Technologies Australia Pty Ltd | AU | 28 |
| N/041667 | 2009/09/25 | 2009/09/25 | Aristocrat Technologies Australia Pty Ltd | AU | 28 |
| N/041668 | 2009/09/25 | 2009/09/25 | Aristocrat Technologies Australia Pty Ltd | AU | 28 |
| N/041669 | 2009/09/25 | 2009/09/25 | Aristocrat Technologies Australia Pty Ltd | AU | 28 |
| N/041670 | 2009/09/25 | 2009/09/25 | Aristocrat Technologies Australia Pty Ltd | AU | 28 |
| N/041671 | 2009/09/25 | 2009/09/25 | Aristocrat Technologies Australia Pty Ltd | AU | 28 |
| N/041672 | 2009/09/25 | 2009/09/25 | Aristocrat Technologies Australia Pty Ltd | AU | 28 |
| N/041673 | 2009/09/25 | 2009/09/25 | Aristocrat Technologies Australia Pty Ltd | AU | 28 |
| N/041697 | 2009/09/25 | 2009/09/25 | 澳門第一大藥廠有限公司 | MO | 05 |
| N/041698 | 2009/09/25 | 2009/09/25 | 澳門第一大藥廠有限公司 | MO | 05 |
| N/041699 | 2009/09/25 | 2009/09/25 | 澳門第一大藥廠有限公司 | MO | 05 |
| N/041700 | 2009/09/25 | 2009/09/25 | 澳門第一大藥廠有限公司 | MO | 05 |
| N/041701 | 2009/09/25 | 2009/09/25 | 澳門第一大藥廠有限公司 | MO | 05 |
| N/041702 | 2009/09/25 | 2009/09/25 | 澳門第一大藥廠有限公司 | MO | 05 |
| N/041703 | 2009/09/25 | 2009/09/25 | 澳門啤酒有限公司 | MO | 32 |
| N/041704 | 2009/09/25 | 2009/09/25 | 澳門啤酒有限公司 | MO | 32 |
| N/041705 | 2009/09/25 | 2009/09/25 | 澳門啤酒有限公司 | MO | 32 |
| N/041706 | 2009/09/25 | 2009/09/25 | 澳門啤酒有限公司 | MO | 32 |
| N/041737 | 2009/09/25 | 2009/09/25 | Intel Corporation | US | 09 |
| N/041738 | 2009/09/25 | 2009/09/25 | Intel Corporation | US | 41 |
| N/041739 | 2009/09/25 | 2009/09/25 | Intel Corporation | US | 42 |
| N/041741 | 2009/09/25 | 2009/09/25 | MERCADONA, S.A. | ES | 35 |
| N/041751 | 2009/09/25 | 2009/09/25 | 澳門第一大藥廠有限公司 | MO | 05 |
| N/041794 | 2009/09/25 | 2009/09/25 | RUM CREATION & PRODUCTS INC. | VG | 33 |
| N/041807 | 2009/09/25 | 2009/09/25 | PHILIP MORRIS PRODUCTS S.A. | CH | 34 |
| N/041865 | 2009/09/25 | 2009/09/25 | 孔凡朋 | CN | 42 |
| N/041935 | 2009/09/25 | 2009/09/25 | Aristocrat Technologies Australia Pty Ltd. | AU | 28 |
| N/041953 | 2009/09/25 | 2009/09/25 | 佛山泰顏高塗料有限公司 | CN | 02 |
| N/041966 | 2009/09/25 | 2009/09/25 | Kabushiki Kaisha DONQ, d/b/a DONQ, CO., LTD. | JP | 29 |
| N/041967 | 2009/09/25 | 2009/09/25 | Kabushiki Kaisha DONQ, d/b/a DONQ, CO., LTD. | JP | 30 |
| N/041968 | 2009/09/25 | 2009/09/25 | Kabushiki Kaisha DONQ, d/b/a DONQ, CO., LTD. | JP | 32 |
| N/041969 | 2009/09/25 | 2009/09/25 | Kabushiki Kaisha DONQ, d/b/a DONQ, CO., LTD. | JP | 35 |
| N/041970 | 2009/09/25 | 2009/09/25 | Kabushiki Kaisha DONQ, d/b/a DONQ, CO., LTD. | JP | 43 |
| N/041971 | 2009/09/25 | 2009/09/25 | Kabushiki Kaisha DONQ, d/b/a DONQ, CO., LTD. | JP | 29 |
| N/041972 | 2009/09/25 | 2009/09/25 | Kabushiki Kaisha DONQ, d/b/a DONQ, CO., LTD. | JP | 30 |
| N/041973 | 2009/09/25 | 2009/09/25 | Kabushiki Kaisha DONQ, d/b/a DONQ, CO., LTD. | JP | 32 |
| N/041974 | 2009/09/25 | 2009/09/25 | Kabushiki Kaisha DONQ, d/b/a DONQ, CO., LTD. | JP | 35 |
| N/041975 | 2009/09/25 | 2009/09/25 | Kabushiki Kaisha DONQ, d/b/a DONQ, CO., LTD. | JP | 43 |
| N/041976 | 2009/09/25 | 2009/09/25 | Kabushiki Kaisha DONQ, d/b/a DONQ, CO., LTD. | JP | 29 |
| N/041977 | 2009/09/25 | 2009/09/25 | Kabushiki Kaisha DONQ, d/b/a DONQ, CO., LTD. | JP | 30 |
| N/041978 | 2009/09/25 | 2009/09/25 | Kabushiki Kaisha DONQ, d/b/a DONQ, CO., LTD. | JP | 32 |
| N/041979 | 2009/09/25 | 2009/09/25 | Kabushiki Kaisha DONQ, d/b/a DONQ, CO., LTD. | JP | 35 |
| N/041980 | 2009/09/25 | 2009/09/25 | Kabushiki Kaisha DONQ, d/b/a DONQ, CO., LTD. | JP | 43 |
| N/041985 | 2009/09/25 | 2009/09/25 | Taipa Village Entretenimento Limitada | MO | 41 |
| N/041986 | 2009/09/25 | 2009/09/25 | Taipa Village Entretenimento Limitada | MO | 41 |
| N/041999 | 2009/09/25 | 2009/09/25 | 吳富國 NG FU KUOK |
MO | 30 |
| N/042025 | 2009/09/25 | 2009/09/25 | American Dairy Queen Corporation | US | 43 |
| N/042026 | 2009/09/25 | 2009/09/25 | American Dairy Queen Corporation | US | 30 |
| N/042027 | 2009/09/25 | 2009/09/25 | American Dairy Queen Corporation | US | 30 |
| N/042209 | 2009/09/25 | 2009/09/25 | Thien Long Group Corporation | VN | 16 |
| N/042210 | 2009/09/25 | 2009/09/25 | Thien Long Group Corporation | VN | 16 |
| N/042211 | 2009/09/25 | 2009/09/25 | Thien Long Group Corporation | VN | 16 |
| N/042212 | 2009/09/25 | 2009/09/25 | RAINBOW CONCEPT LTD. | MO | 35 |
| N/042213 | 2009/09/25 | 2009/09/25 | RAINBOW CONCEPT LTD. | MO | 41 |
| N/042229 | 2009/09/25 | 2009/09/25 | Starent Networks Corp. | US | 09 |
| N/042230 | 2009/09/25 | 2009/09/25 | Starent Networks Corp. | US | 09 |
| N/042387 | 2009/09/25 | 2009/09/25 | 山東鋼鐵集團有限公司 SHANDONG IRON & STEEL GROUP CO., LTD. |
CN | 06 |
| N/042388 | 2009/09/25 | 2009/09/25 | 山東鋼鐵集團有限公司 SHANDONG IRON & STEEL GROUP CO., LTD. |
CN | 06 |
| N/042396 | 2009/09/25 | 2009/09/25 | SBE ENTERTAINMENT GROUP, LLC | US | 43 |
| N/042397 | 2009/09/25 | 2009/09/25 | SBE ENTERTAINMENT GROUP, LLC | US | 44 |
| N/042398 | 2009/09/25 | 2009/09/25 | 蘇富榮 So Fu Wing |
HK | 30 |
| N/042399 | 2009/09/25 | 2009/09/25 | 蘇富榮 So Fu Wing |
HK | 43 |
| N/042475 | 2009/09/25 | 2009/09/25 | IL LUOGO DI AIMO E NADIA Srl | IT | 43 |
| N/042545 | 2009/09/25 | 2009/09/25 | Brompton Bicycle Limited | GB | 11 |
| N/042547 | 2009/09/25 | 2009/09/25 | Brompton Bicycle Limited | GB | 18 |
| N/042556 | 2009/09/25 | 2009/09/25 | 王長慶 Wong Cheong Heng |
MO | 34 |
| N/042557 | 2009/09/25 | 2009/09/25 | 王長慶 Wong Cheong Heng |
MO | 34 |
| N/042565 | 2009/09/25 | 2009/09/25 | 廣州市采奴化妝品有限公司 | CN | 03 |
| N/042596 | 2009/09/25 | 2009/09/25 | 傑森石膏板 (嘉興) 有限公司 | CN | 19 |
| N/042597 | 2009/09/25 | 2009/09/25 | 南寧市搜浩娛樂管理有限公司 | CN | 43 |
| N/042598 | 2009/09/25 | 2009/09/25 | 欣特峽商貿 (上海) 有限公司 | CN | 05 |
| N/042609 | 2009/09/25 | 2009/09/25 | 長溢國際實業有限公司 | MO | 29 |
| N/042610 | 2009/09/25 | 2009/09/25 | 長溢國際實業有限公司 | MO | 32 |
| N/042611 | 2009/09/25 | 2009/09/25 | 長溢國際實業有限公司 | MO | 43 |
| N/042612 | 2009/09/25 | 2009/09/25 | Media-Saturn-Holding GmbH | DE | 35 |
| N/042613 | 2009/09/25 | 2009/09/25 | Media-Saturn-Holding GmbH | DE | 35 |
| N/042614 | 2009/09/25 | 2009/09/25 | 吳龍煌 Ng Long Wong |
MO | 30 |
| N/042615 | 2009/09/25 | 2009/09/25 | GOODMAID CHEMICALS CORP. Sdn. Bhd. | MY | 03 |
| N/042617 | 2009/09/25 | 2009/09/25 | TOUGH JEANS LIMITED | HK | 18 |
| N/042618 | 2009/09/25 | 2009/09/25 | TOUGH JEANS LIMITED | HK | 25 |
| N/042619 | 2009/09/25 | 2009/09/25 | TOSANI S.R.L. | IT | 14 |
| N/042620 | 2009/09/25 | 2009/09/25 | TOSANI S.R.L. | IT | 18 |
| N/042621 | 2009/09/25 | 2009/09/25 | TOSANI S.R.L. | IT | 25 |
| N/042622 | 2009/09/25 | 2009/09/25 | TOSANI S.R.L. | IT | 35 |
| N/042623 | 2009/09/25 | 2009/09/25 | 昇耀集團有限公司 BRILLIANT RISE HOLDINGS LIMITED |
HK | 32 |
| N/042624 | 2009/09/25 | 2009/09/25 | 六福集團有限公司 LUK FOOK HOLDINGS COMPANY LIMITED |
HK | 14 |
| N/042626 | 2009/09/25 | 2009/09/25 | CHRONO AG | CH | 14 |
| N/042627 | 2009/09/25 | 2009/09/25 | Japan External Trade Organization | JP | 41 |
| N/042628 | 2009/09/25 | 2009/09/25 | Japan External Trade Organization | JP | 14 |
| N/042629 | 2009/09/25 | 2009/09/25 | Japan External Trade Organization | JP | 16 |
| N/042630 | 2009/09/25 | 2009/09/25 | Japan External Trade Organization | JP | 20 |
| N/042631 | 2009/09/25 | 2009/09/25 | Japan External Trade Organization | JP | 21 |
| N/042632 | 2009/09/25 | 2009/09/25 | Japan External Trade Organization | JP | 24 |
| N/042633 | 2009/09/25 | 2009/09/25 | Japan External Trade Organization | JP | 25 |
| N/042634 | 2009/09/25 | 2009/09/25 | Japan External Trade Organization | JP | 41 |
| N/042635 | 2009/09/25 | 2009/09/25 | Parfums Christian Dior | FR | 03 |
| N/042636 | 2009/09/25 | 2009/09/25 | Aruze Corporation | JP | 09 |
| N/042637 | 2009/09/25 | 2009/09/25 | IWAKI Houseware Co., LTD. | JP | 21 |
| N/042638 | 2009/09/25 | 2009/09/25 | Hyundai Corporation | KR | 35 |
| N/042639 | 2009/09/25 | 2009/09/25 | SHUFFLE MASTER, INC. | US | 28 |
| N/042640 | 2009/09/25 | 2009/09/25 | Forbo Financial Services AG | CH | 27 |
| N/042645 | 2009/09/25 | 2009/09/25 | 英利生股份有限公司 ELISON FASHION CO., LTD. |
TW | 18 |
| N/042646 | 2009/09/25 | 2009/09/25 | 英利生股份有限公司 ELISON FASHION CO., LTD. |
TW | 25 |
| N/042647 | 2009/09/25 | 2009/09/25 | 英利生股份有限公司 ELISON FASHION CO., LTD. |
TW | 18 |
| N/042648 | 2009/09/25 | 2009/09/25 | 英利生股份有限公司 ELISON FASHION CO., LTD. |
TW | 25 |
| N/042649 | 2009/09/25 | 2009/09/25 | «FINANSCONSULT» EOOD | BG | 34 |
| N/042650 | 2009/09/25 | 2009/09/25 | «FINANSCONSULT» EOOD | BG | 34 |
| N/042651 | 2009/09/25 | 2009/09/25 | «FINANSCONSULT» EOOD | BG | 34 |
| N/042652 | 2009/09/25 | 2009/09/25 | Hutchison Whampoa Enterprises Limited | VG | 03 |
| N/042653 | 2009/09/25 | 2009/09/25 | 中歐貿易一人有限公司 CHINA-EURO TRADING COMPANY LIMITED |
MO | 21 |
| N/042654 | 2009/09/25 | 2009/09/25 | 安徽榮達禽業開發有限公司 | CN | 29 |
| N/042655 | 2009/09/25 | 2009/09/25 | 郭兆榮 | CN | 05 |
| N/042656 | 2009/09/25 | 2009/09/25 | 郭兆榮 | CN | 03 |
| N/042657 | 2009/09/25 | 2009/09/25 | 北京市爆肚馮飲食服務有限責任公司 BEIJING BAODUFENG FOOD AND BEVERAGE SERVICE CO., LTD. |
CN | 43 |
| N/042658 | 2009/09/25 | 2009/09/25 | 梁新紅 | CN | 30 |
| N/042659 | 2009/09/25 | 2009/09/25 | 周川弟 | CN | 25 |
| N/042660 | 2009/09/25 | 2009/09/25 | The Coca-Cola Company | US | 32 |
| N/042661 | 2009/09/25 | 2009/09/25 | The Coca-Cola Company | US | 32 |
| N/042662 | 2009/09/25 | 2009/09/25 | The Coca-Cola Company | US | 32 |
| N/042663 | 2009/09/25 | 2009/09/25 | A & F Trademark, Inc. | US | 18 |
| N/042664 | 2009/09/25 | 2009/09/25 | J.M.H. Trademark, Inc. | US | 18 |
| N/042665 | 2009/09/25 | 2009/09/25 | PHILIP MORRIS PRODUCTS S.A. | CH | 34 |
| N/042667 | 2009/09/25 | 2009/09/25 | Peek & Cloppenburg KG | DE | 25 |
| N/042668 | 2009/09/25 | 2009/09/25 | 中山盛興股份有限公司 | CN | 37 |
| N/042669 | 2009/09/25 | 2009/09/25 | 唐嘉文 TONG KA MAN |
HK | 14 |
| N/042670 | 2009/09/25 | 2009/09/25 | 策劃者國際有限公司 Mastermind Production International Limited |
HK | 14 |
| N/042671 | 2009/09/25 | 2009/09/25 | 策劃者國際有限公司 Mastermind Production International Limited |
HK | 18 |
| N/042672 | 2009/09/25 | 2009/09/25 | 策劃者國際有限公司 Mastermind Production International Limited |
HK | 25 |
| N/042673 | 2009/09/25 | 2009/09/25 | 策劃者國際有限公司 Mastermind Production International Limited |
HK | 35 |
| N/042674 | 2009/09/25 | 2009/09/25 | 策劃者國際有限公司 Mastermind Production International Limited |
HK | 14 |
| N/042675 | 2009/09/25 | 2009/09/25 | 策劃者國際有限公司 Mastermind Production International Limited |
HK | 18 |
| N/042676 | 2009/09/25 | 2009/09/25 | 策劃者國際有限公司 Mastermind Production International Limited |
HK | 25 |
| N/042677 | 2009/09/25 | 2009/09/25 | 策劃者國際有限公司 Mastermind Production International Limited |
HK | 35 |
| N/042679 | 2009/09/25 | 2009/09/25 | Bare Escentuals Beauty, Inc. | US | 05 |
| N/042680 | 2009/09/25 | 2009/09/25 | Bare Escentuals Beauty, Inc. | US | 21 |
| N/042681 | 2009/09/25 | 2009/09/25 | Bare Escentuals Beauty, Inc. | US | 35 |
| N/042683 | 2009/09/25 | 2009/09/25 | Bare Escentuals Beauty, Inc. | US | 05 |
| N/042684 | 2009/09/25 | 2009/09/25 | Bare Escentuals Beauty, Inc. | US | 35 |
| N/042685 | 2009/09/25 | 2009/09/25 | Bare Escentuals Beauty, Inc. | US | 03 |
| N/042686 | 2009/09/25 | 2009/09/25 | 衍生行有限公司 | HK | 05 |
| N/042687 | 2009/09/25 | 2009/09/25 | 衍生行有限公司 | HK | 05 |
| N/042688 | 2009/09/25 | 2009/09/25 | Stargames Corporation Pty Limited | AU | 28 |
| N/042689 | 2009/09/25 | 2009/09/25 | Stargames Corporation Pty Limited | AU | 28 |
| N/042690 | 2009/09/25 | 2009/09/25 | Stargames Corporation Pty Limited | AU | 28 |
| N/042691 | 2009/09/25 | 2009/09/25 | MSUPER有限公司 | MO | 30 |
| N/042692 | 2009/09/25 | 2009/09/25 | MSUPER有限公司 | MO | 32 |
| N/042694 | 2009/09/25 | 2009/09/25 | Ocean Park Corporation | HK | 42 |
| N/042695 | 2009/09/25 | 2009/09/25 | Ocean Park Corporation | HK | 43 |
| N/042697 | 2009/09/25 | 2009/09/25 | Ocean Park Corporation | HK | 42 |
| N/042698 | 2009/09/25 | 2009/09/25 | Ocean Park Corporation | HK | 43 |
| N/042700 | 2009/09/25 | 2009/09/25 | Ocean Park Corporation | HK | 42 |
| N/042701 | 2009/09/25 | 2009/09/25 | Ocean Park Corporation | HK | 43 |
| N/042703 | 2009/09/25 | 2009/09/25 | Ocean Park Corporation | HK | 42 |
| N/042704 | 2009/09/25 | 2009/09/25 | Ocean Park Corporation | HK | 43 |
| N/042705 | 2009/09/25 | 2009/09/25 | EAT & CO., LIMITED | JP | 30 |
| N/042706 | 2009/09/25 | 2009/09/25 | EAT & CO., LIMITED | JP | 43 |
| N/042707 | 2009/09/25 | 2009/09/25 | GIVENCHY | FR | 09 |
| N/042708 | 2009/09/25 | 2009/09/25 | GIVENCHY | FR | 14 |
| N/042709 | 2009/09/25 | 2009/09/25 | GIVENCHY | FR | 18 |
| N/042710 | 2009/09/25 | 2009/09/25 | Parfums Christian Dior | FR | 03 |
| N/042711 | 2009/09/25 | 2009/09/25 | Parfums Christian Dior | FR | 03 |
| N/042712 | 2009/09/25 | 2009/09/25 | Starbucks Corporation | US | 29 |
| N/042713 | 2009/09/25 | 2009/09/25 | Starbucks Corporation | US | 30 |
| N/042714 | 2009/09/25 | 2009/09/25 | Starbucks Corporation | US | 32 |
| N/042715 | 2009/09/25 | 2009/09/25 | PEPSICO, INC. | US | 32 |
| N/042716 | 2009/09/25 | 2009/09/25 | PEPSICO, INC. | US | 32 |
| N/042717 | 2009/09/25 | 2009/09/25 | MSS MACAU LIMITADA | MO | 35 |
| N/042718 | 2009/09/25 | 2009/09/25 | MSS MACAU LIMITADA | MO | 37 |
| N/042719 | 2009/09/25 | 2009/09/25 | MSS MACAU LIMITADA | MO | 39 |
| N/042722 | 2009/09/25 | 2009/09/25 | IGT | US | 09 |
| N/042723 | 2009/09/25 | 2009/09/25 | IGT | US | 09 |
| N/042724 | 2009/09/25 | 2009/09/25 | IGT | US | 09 |
| N/042725 | 2009/09/25 | 2009/09/25 | IGT | US | 09 |
| N/042727 | 2009/09/25 | 2009/09/25 | 廣東彩艷股份有限公司 Guangdong Charming CO., LTD |
CN | 30 |
| N/042728 | 2009/09/25 | 2009/09/25 | 恆華 (澳門) 裝飾工程有限公司 HENG WAH (MACAO) DECORATION COMPANY LIMITED |
MO | 37 |
| N/042729 | 2009/09/25 | 2009/09/25 | 台灣優生股份有限公司 | TW | 10 |
| N/042730 | 2009/09/25 | 2009/09/25 | 台灣優生股份有限公司 | TW | 03 |
| N/042731 | 2009/09/25 | 2009/09/25 | 台灣優生股份有限公司 | TW | 05 |
| N/042732 | 2009/09/25 | 2009/09/25 | 台灣優生股份有限公司 | TW | 10 |
| N/042733 | 2009/09/25 | 2009/09/25 | 台灣優生股份有限公司 | TW | 16 |
| N/042734 | 2009/09/25 | 2009/09/25 | 台灣優生股份有限公司 | TW | 21 |
| N/042735 | 2009/09/25 | 2009/09/25 | 台灣優生股份有限公司 | TW | 25 |
| N/042736 | 2009/09/25 | 2009/09/25 | 台灣優生股份有限公司 | TW | 03 |
| N/042737 | 2009/09/25 | 2009/09/25 | 台灣優生股份有限公司 | TW | 05 |
| N/042738 | 2009/09/25 | 2009/09/25 | 台灣優生股份有限公司 | TW | 10 |
| N/042739 | 2009/09/25 | 2009/09/25 | 台灣優生股份有限公司 | TW | 16 |
| N/042740 | 2009/09/25 | 2009/09/25 | 台灣優生股份有限公司 | TW | 21 |
| N/042741 | 2009/09/25 | 2009/09/25 | 台灣優生股份有限公司 | TW | 25 |
| N/042742 | 2009/09/25 | 2009/09/25 | Standard Chartered PLC | GB | 09 |
| N/042743 | 2009/09/25 | 2009/09/25 | Standard Chartered PLC | GB | 16 |
| N/042744 | 2009/09/25 | 2009/09/25 | Standard Chartered PLC | GB | 36 |
| N/042745 | 2009/09/25 | 2009/09/25 | Olem Shoe Corp. | US | 25 |
| N/042746 | 2009/09/25 | 2009/09/25 | CAPCOM CO., LTD. | JP | 09 |
| N/042747 | 2009/09/25 | 2009/09/25 | CAPCOM CO., LTD. | JP | 41 |
| N/042749 | 2009/09/25 | 2009/09/25 | CLUB HOUSE ITALIA S.p.A. | IT | 42 |
| N/042750 | 2009/09/25 | 2009/09/25 | N.V. Sumatra Tobacco Trading Company | ID | 34 |
| N/042751 | 2009/09/25 | 2009/09/25 | N.V. Sumatra Tobacco Trading Company | ID | 34 |
| N/042752 | 2009/09/25 | 2009/09/25 | N.V. Sumatra Tobacco Trading Company | ID | 34 |
| N/042753 | 2009/09/25 | 2009/09/25 | COMPANHIA DE CENTRO DE CLÍNICA PROFISSIONAL DOCTORS LIMITADA | MO | 44 |
| N/042754 | 2009/09/25 | 2009/09/25 | 澳優乳品 (湖南) 有限公司 | CN | 29 |
| N/042755 | 2009/09/25 | 2009/09/25 | 澳優乳品 (湖南) 有限公司 | CN | 05 |
| N/042756 | 2009/09/25 | 2009/09/25 | 澳優乳品 (湖南) 有限公司 | CN | 29 |
| N/042757 | 2009/09/25 | 2009/09/25 | 澳優乳品 (湖南) 有限公司 | CN | 05 |
| N/042758 | 2009/09/25 | 2009/09/25 | 澳優乳品 (湖南) 有限公司 | CN | 29 |
| N/042759 | 2009/09/25 | 2009/09/25 | 澳優乳品 (湖南) 有限公司 | CN | 05 |
| N/042760 | 2009/09/25 | 2009/09/25 | 重慶市東方魔湯美食開發有限公司 | CN | 43 |
| N/042761 | 2009/09/25 | 2009/09/25 | 黃福陽 | CN | 30 |
| N/042762 | 2009/09/25 | 2009/09/25 | 華潤萬家 (香港) 有限公司 China Resources Vanguard (Hong Kong) Company Limited |
HK | 35 |
| N/042763 | 2009/09/25 | 2009/09/25 | 華潤萬家 (香港) 有限公司 China Resources Vanguard (Hong Kong) Company Limited |
HK | 38 |
| N/042764 | 2009/09/25 | 2009/09/25 | 華潤萬家 (香港) 有限公司 China Resources Vanguard (Hong Kong) Company Limited |
HK | 39 |
| N/042765 | 2009/09/25 | 2009/09/25 | 華潤萬家 (香港) 有限公司 China Resources Vanguard (Hong Kong) Company Limited |
HK | 41 |
| N/042766 | 2009/09/25 | 2009/09/25 | 華潤萬家 (香港) 有限公司 China Resources Vanguard (Hong Kong) Company Limited |
HK | 42 |
| N/042767 | 2009/09/25 | 2009/09/25 | 華潤萬家 (香港) 有限公司 China Resources Vanguard (Hong Kong) Company Limited |
HK | 45 |
| N/042768 | 2009/09/25 | 2009/09/25 | Aspect Group Limited | KY | 09 |
| N/042769 | 2009/09/25 | 2009/09/25 | Aspect Group Limited | KY | 28 |
| N/042770 | 2009/09/25 | 2009/09/25 | Aspect Group Limited | KY | 09 |
| N/042771 | 2009/09/25 | 2009/09/25 | Aspect Group Limited | KY | 28 |
| N/042772 | 2009/09/25 | 2009/09/25 | Quench, LLC | US | 33 |
| N/042773 | 2009/09/25 | 2009/09/25 | 永南食品有限公司 Winner Food Products Limited |
HK | 30 |
| N/042774 | 2009/09/25 | 2009/09/25 | Cerruti 1881 s.a.s. | FR | 18 |
| N/042775 | 2009/09/25 | 2009/09/25 | Cerruti 1881 s.a.s. | FR | 25 |
| N/042779 | 2009/09/25 | 2009/09/25 | Nintendo Co., Ltd. | JP | 09 |
| N/042780 | 2009/09/25 | 2009/09/25 | Nintendo Co., Ltd. | JP | 28 |
| N/042781 | 2009/09/25 | 2009/09/25 | Nintendo Co., Ltd. | JP | 35 |
| N/042782 | 2009/09/25 | 2009/09/25 | Nintendo Co., Ltd. | JP | 38 |
| N/042783 | 2009/09/25 | 2009/09/25 | Nintendo Co., Ltd. | JP | 41 |
| N/042784 | 2009/09/25 | 2009/09/25 | Nintendo Co., Ltd. | JP | 42 |
| N/042785 | 2009/09/25 | 2009/09/25 | Nintendo Co., Ltd. | JP | 09 |
| N/042786 | 2009/09/25 | 2009/09/25 | Nintendo Co., Ltd. | JP | 28 |
| N/042787 | 2009/09/25 | 2009/09/25 | Nintendo Co., Ltd. | JP | 35 |
| N/042788 | 2009/09/25 | 2009/09/25 | Nintendo Co., Ltd. | JP | 38 |
| N/042789 | 2009/09/25 | 2009/09/25 | Nintendo Co., Ltd. | JP | 41 |
| N/042790 | 2009/09/25 | 2009/09/25 | Nintendo Co., Ltd. | JP | 42 |
| N/042791 | 2009/09/25 | 2009/09/25 | 偉來光學有限公司 WIDE LOYAL LIMITADA/WIDE LOYAL VISION LIMITED |
MO | 11 |
| N/042792 | 2009/09/25 | 2009/09/25 | Aristocrat Technologies Australia Pty Ltd | AU | 28 |
| N/042793 | 2009/09/25 | 2009/09/25 | Aristocrat Technologies Australia Pty Ltd | AU | 28 |
| N/042794 | 2009/09/25 | 2009/09/25 | Aristocrat Technologies Australia Pty Ltd | AU | 28 |
| N/042795 | 2009/09/25 | 2009/09/25 | Aristocrat Technologies Australia Pty Ltd | AU | 28 |
| N/042796 | 2009/09/25 | 2009/09/25 | Aristocrat Technologies Australia Pty Ltd | AU | 28 |
| N/042797 | 2009/09/25 | 2009/09/25 | Aristocrat Technologies Australia Pty Ltd | AU | 28 |
| N/042798 | 2009/09/25 | 2009/09/25 | Aristocrat Technologies Australia Pty Ltd | AU | 28 |
| N/042799 | 2009/09/25 | 2009/09/25 | Aristocrat Technologies Australia Pty Ltd | AU | 28 |
| N/042800 | 2009/09/25 | 2009/09/25 | Aristocrat Technologies Australia Pty Ltd | AU | 28 |
| N/042801 | 2009/09/25 | 2009/09/25 | Aristocrat Technologies Australia Pty Ltd | AU | 28 |
| N/042802 | 2009/09/25 | 2009/09/25 | Aristocrat Technologies Australia Pty Ltd | AU | 28 |
| N/042803 | 2009/09/25 | 2009/09/25 | UNITED GENE HIGH-TECH GROUP LIMITED | HK | 05 |
| N/042804 | 2009/09/25 | 2009/09/25 | UNITED GENE HIGH-TECH GROUP LIMITED | HK | 42 |
| N/042805 | 2009/09/25 | 2009/09/25 | UNITED GENE HIGH-TECH GROUP LIMITED | HK | 44 |
| N/042806 | 2009/09/25 | 2009/09/25 | 創新安燃環保能源有限公司 | MO | 35 |
| N/042807 | 2009/09/25 | 2009/09/25 | JA Licensing, LLC | US | 03 |
| N/042810 | 2009/09/25 | 2009/09/25 | Ocean Park Corporation | HK | 44 |
| N/042811 | 2009/09/25 | 2009/09/25 | Ocean Park Corporation | HK | 44 |
| N/042812 | 2009/09/25 | 2009/09/25 | Ocean Park Corporation | HK | 44 |
| N/042813 | 2009/09/25 | 2009/09/25 | Ocean Park Corporation | HK | 44 |
| N/042815 | 2009/09/25 | 2009/09/25 | Ocean Park Corporation | HK | 42 |
| N/042816 | 2009/09/25 | 2009/09/25 | Ocean Park Corporation | HK | 43 |
| N/042817 | 2009/09/25 | 2009/09/25 | Ocean Park Corporation | HK | 44 |
| N/042818 | 2009/09/25 | 2009/09/25 | Cartier International N.V. | NL | 03 |
| N/042819 | 2009/09/25 | 2009/09/25 | Ponte Vecchio Hotta Corporation | JP | 14 |
| N/042820 | 2009/09/25 | 2009/09/25 | Ponte Vecchio Hotta Corporation | JP | 14 |
| N/042821 | 2009/09/25 | 2009/09/25 | 奧羅科有限公司 OROCO LIMITED |
HK | 25 |
| N/042822 | 2009/09/25 | 2009/09/25 | 亞鉑興業有限公司 | TW | 04 |
| N/042824 | 2009/09/25 | 2009/09/25 | 脫普聚益股份有限公司 | TW | 21 |
| N/042825 | 2009/09/25 | 2009/09/25 | 脫普聚益股份有限公司 | TW | 24 |
| N/042826 | 2009/09/25 | 2009/09/25 | 脫普聚益股份有限公司 | TW | 16 |
| N/042827 | 2009/09/25 | 2009/09/25 | 脫普聚益股份有限公司 | TW | 21 |
| N/042828 | 2009/09/25 | 2009/09/25 | 脫普聚益股份有限公司 | TW | 24 |
| N/042830 | 2009/09/25 | 2009/09/25 | 阿露娜咖啡印度咖喱屋個人企業主 ARUNA’S INDIAN CURRY & CAFÉ HOUSE/ /ESTABELECIMENTO DE COMIDAS E CAFÉ CARIL INDIANA ARUNA |
MO | 43 |
| N/042831 | 2009/09/25 | 2009/09/25 | Watson Enterprises Limited | VG | 03 |
| N/042836 | 2009/09/25 | 2009/09/25 | Compagnie Financiere Tradition | CH | 36 |
| N/042837 | 2009/09/25 | 2009/09/25 | Kabushiki Kaisha Fujikura (Fujikura Ltd.) | JP | 09 |
| N/042839 | 2009/09/25 | 2009/09/25 | Diageo Brands B.V. | NL | 33 |
| N/042840 | 2009/09/25 | 2009/09/25 | Diageo Brands B.V. | NL | 33 |
| N/042844 | 2009/09/25 | 2009/09/25 | Shenzhen Hongjiayuan Communication Technology Co., Ltd. | CN | 09 |
| N/042845 | 2009/09/25 | 2009/09/25 | BasicNet S.p.A. | IT | 09 |
| N/042846 | 2009/09/25 | 2009/09/25 | BasicNet S.p.A. | IT | 18 |
| N/042847 | 2009/09/25 | 2009/09/25 | BasicNet S.p.A. | IT | 25 |
| N/042848 | 2009/09/25 | 2009/09/25 | HTC CORPORATION | TW | 09 |
| N/042854 | 2009/09/25 | 2009/09/25 | Lam Soon Trademark Limited | CK | 29 |
| N/042855 | 2009/09/25 | 2009/09/25 | Lam Soon Trademark Limited | CK | 29 |
| N/042856 | 2009/09/25 | 2009/09/25 | Lam Soon Trademark Limited | CK | 29 |
| N/042857 | 2009/09/25 | 2009/09/25 | Bayer Aktiengesellschaft | DE | 05 |
| N/042858 | 2009/09/25 | 2009/09/25 | 馮貴明 Fong Kuai Meng |
MO | 03 |
| N/042859 | 2009/09/25 | 2009/09/25 | 李文彬 LEE MAN PAN |
MO | 43 |
| N/042860 | 2009/09/25 | 2009/09/25 | 李文彬 LEE MAN PAN |
MO | 43 |
| N/042861 | 2009/09/25 | 2009/09/25 | Companhia de Desenvolvimento e Fomento Predial Lek Hang, Limitada | MO | 36 |
| N/042862 | 2009/09/25 | 2009/09/25 | Companhia de Desenvolvimento e Fomento Predial Lek Hang, Limitada | MO | 37 |
| N/042863 | 2009/09/25 | 2009/09/25 | Companhia de Desenvolvimento e Fomento Predial Lek Hang, Limitada | MO | 39 |
| N/042864 | 2009/09/25 | 2009/09/25 | FirstService Corporation | CA | 36 |
| N/042865 | 2009/09/25 | 2009/09/25 | FirstService Corporation | CA | 36 |
| N/042866 | 2009/09/25 | 2009/09/25 | JOHNSON & JOHNSON (uma sociedade organizada e existindo segundo as leis de Estado de Nova Jérsia) | US | 05 |
| N/042867 | 2009/09/25 | 2009/09/25 | Fraser and Neave, Limited | SG | 29 |
| N/042868 | 2009/09/25 | 2009/09/25 | GITI TIRE PTE. LTD. | SG | 12 |
| 6N/042869 | 2009/09/25 | 2009/09/25 | GITI TIRE PTE. LTD. | SG | 12 |
| N/042870 | 2009/09/25 | 2009/09/25 | SHIMA SEIKI MFG., LTD. | JP | 07 |
| N/042871 | 2009/09/25 | 2009/09/25 | SHIMA SEIKI MFG., LTD. | JP | 09 |
| N/042872 | 2009/09/25 | 2009/09/25 | SHIMA SEIKI MFG., LTD. | JP | 37 |
| N/042873 | 2009/09/25 | 2009/09/25 | BenQ Corporation | TW | 09 |
| N/042877 | 2009/09/25 | 2009/09/25 | CYM Holdings Ltd. | HK | 14 |
| N/042879 | 2009/09/25 | 2009/09/25 | CYM Holdings Ltd. | HK | 25 |
| N/042880 | 2009/09/25 | 2009/09/25 | CYM Holdings Ltd. | HK | 35 |
| N/042881 | 2009/09/25 | 2009/09/25 | 康振有限公司 | HK | 03 |
| N/042883 | 2009/09/25 | 2009/09/25 | The Football Association Limited | GB | 25 |
| N/042884 | 2009/09/25 | 2009/09/25 | 北京燕京啤酒集團公司 | CN | 32 |
| N/042885 | 2009/09/25 | 2009/09/25 | 廣州市花都區食養坊餐廳 GUANGZHOU CITY HUADU DISTRICT RAISING FRESH SQUARE RESTAURANT |
CN | 43 |
| 7N/042886 | 2009/09/25 | 2009/09/25 | SAMSUNG ELECTRONICS CO., Ltd. | KR | 11 |
| N/042887 | 2009/09/25 | 2009/09/25 | International Pet Food Co., Ltd. | TH | 31 |
| N/042888 | 2009/09/25 | 2009/09/25 | 何培年 He Peinian |
MO | 09 |
| N/042891 | 2009/09/25 | 2009/09/25 | Double Eagle Brands N.V. | NL | 33 |
| N/042892 | 2009/09/25 | 2009/09/25 | Double Eagle Brands N.V. | NL | 33 |
| N/042893 | 2009/09/25 | 2009/09/25 | BAYER AKTIENGESELLSCHAFT | DE | 05 |
| N/042894 | 2009/09/25 | 2009/09/25 | BAYER AKTIENGESELLSCHAFT | DE | 05 |
| N/042895 | 2009/09/25 | 2009/09/25 | BAYER AKTIENGESELLSCHAFT | DE | 05 |
| N/042896 | 2009/09/25 | 2009/09/25 | BAYER AKTIENGESELLSCHAFT | DE | 05 |
| N/042897 | 2009/09/25 | 2009/09/25 | BAYER AKTIENGESELLSCHAFT | DE | 05 |
| N/042898 | 2009/09/25 | 2009/09/25 | BAYER AKTIENGESELLSCHAFT | DE | 05 |
| N/042899 | 2009/09/25 | 2009/09/25 | Concepts Management (H.K.) Limited | HK | 14 |
| N/042900 | 2009/09/25 | 2009/09/25 | Concepts Management (H.K.) Limited | HK | 35 |
| N/042901 | 2009/09/25 | 2009/09/25 | Emanuel Ungaro | FR | 03 |
| N/042902 | 2009/09/25 | 2009/09/25 | Emanuel Ungaro | FR | 09 |
| N/042903 | 2009/09/25 | 2009/09/25 | Emanuel Ungaro | FR | 14 |
| N/042904 | 2009/09/25 | 2009/09/25 | Emanuel Ungaro | FR | 18 |
| N/042905 | 2009/09/25 | 2009/09/25 | Emanuel Ungaro | FR | 24 |
| N/042906 | 2009/09/25 | 2009/09/25 | Emanuel Ungaro | FR | 25 |
| N/042910 | 2009/09/25 | 2009/09/25 | CATENA SA | CH | 14 |
| N/042911 | 2009/09/25 | 2009/09/25 | CATENA SA | CH | 14 |
| N/042912 | 2009/09/25 | 2009/09/25 | CATENA SA | CH | 14 |
| N/042913 | 2009/09/25 | 2009/09/25 | CATENA SA | CH | 14 |
| N/042914 | 2009/09/25 | 2009/09/25 | CATENA SA | CH | 14 |
| N/042915 | 2009/09/25 | 2009/09/25 | CATENA SA | CH | 14 |
| N/042916 | 2009/09/25 | 2009/09/25 | GAMING PARTNERS INTERNATIONAL USA, Inc. | US | 28 |
| N/042917 | 2009/09/25 | 2009/09/25 | GAMING PARTNERS INTERNATIONAL USA, Inc. | US | 28 |
| N/042918 | 2009/09/25 | 2009/09/25 | Bristol-Myers Squibb Company | US | 05 |
| N/042919 | 2009/09/25 | 2009/09/25 | Vasco International Sàrl | LU | 33 |
| N/042920 | 2009/09/25 | 2009/09/25 | Vasco International Sàrl | LU | 33 |
| N/042921 | 2009/09/25 | 2009/09/25 | Vasco International Sàrl | LU | 33 |
| N/042924 | 2009/09/25 | 2009/09/25 | 凱鋒 (亞洲) 有限公司 Azona (Asia) Limited |
HK | 18 |
| N/042925 | 2009/09/25 | 2009/09/25 | 凱鋒 (亞洲) 有限公司 Azona (Asia) Limited |
HK | 18 |
| N/042926 | 2009/09/25 | 2009/09/25 | 凱鋒 (亞洲) 有限公司 Azona (Asia) Limited |
HK | 18 |
| N/042927 | 2009/09/25 | 2009/09/25 | 凱鋒 (亞洲) 有限公司 Azona (Asia) Limited |
HK | 18 |
| N/042928 | 2009/09/25 | 2009/09/25 | 凱鋒 (亞洲) 有限公司 Azona (Asia) Limited |
HK | 22 |
| N/042929 | 2009/09/25 | 2009/09/25 | 凱鋒 (亞洲) 有限公司 Azona (Asia) Limited |
HK | 22 |
| N/042930 | 2009/09/25 | 2009/09/25 | 凱鋒 (亞洲) 有限公司 Azona (Asia) Limited |
HK | 22 |
| N/042931 | 2009/09/25 | 2009/09/25 | 凱鋒 (亞洲) 有限公司 Azona (Asia) Limited |
HK | 22 |
| N/042932 | 2009/09/25 | 2009/09/25 | 凱鋒 (亞洲) 有限公司 Azona (Asia) Limited |
HK | 25 |
| N/042933 | 2009/09/25 | 2009/09/25 | 凱鋒 (亞洲) 有限公司 Azona (Asia) Limited |
HK | 25 |
| N/042934 | 2009/09/25 | 2009/09/25 | 凱鋒 (亞洲) 有限公司 Azona (Asia) Limited |
HK | 25 |
| N/042935 | 2009/09/25 | 2009/09/25 | 凱鋒 (亞洲) 有限公司 Azona (Asia) Limited |
HK | 25 |
| N/043008 | 2009/09/25 | 2009/09/25 | K-ONE 娛樂有限公司 | MO | 43 |
| N/043010 | 2009/09/25 | 2009/09/25 | 陳梓霖 Chan Chi Lam |
MO | 43 |
| N/043014 | 2009/09/25 | 2009/09/25 | 戴麗嫦 TAI LAI SEONG |
MO | 19 |
| N/043015 | 2009/09/25 | 2009/09/25 | Toyota Jidosha Kabushiki Kaisha (also trading as Toyota Motor Corporation) | JP | 12 |
| N/043030 | 2009/09/25 | 2009/09/25 | 格雷西亞諾瓦有限責任公司 Glacia Nova, LLC |
US | 32 |
| N/043031 | 2009/09/25 | 2009/09/25 | 格雷西亞諾瓦有限責任公司 Glacia Nova, LLC |
US | 32 |
| N/043032 | 2009/09/25 | 2009/09/25 | 格雷西亞諾瓦有限責任公司 Glacia Nova, LLC |
US | 32 |
| N/043033 | 2009/09/25 | 2009/09/25 | 志強電器服務中心有限公司 | MO | 37 |
| N/043040 | 2009/09/25 | 2009/09/25 | Aruze Corporation | JP | 09 |
| N/043043 | 2009/09/25 | 2009/09/25 | 澳門社會服務中心 | MO | 41 |
| N/043044 | 2009/09/25 | 2009/09/25 | 澳門社會服務中心 | MO | 41 |
| N/043045 | 2009/09/25 | 2009/09/25 | 張慶海 | CN | 25 |
| N/043046 | 2009/09/25 | 2009/09/25 | 超然咖啡食品有限公司 EXCELENTE COFFEE & FOOD PRODUCTS COMPANY LIMITED |
MO | 29 |
| N/043047 | 2009/09/25 | 2009/09/25 | 超然國際集團有限公司 SOCIEDADE INTERNACIONAL GRUPO EXCELENTE, LIMITADA |
MO | 35 |
| N/043048 | 2009/09/25 | 2009/09/25 | Aruze Corporation | JP | 09 |
| N/043049 | 2009/09/25 | 2009/09/25 | Aruze Corporation | JP | 09 |
| N/043050 | 2009/09/25 | 2009/09/25 | Stargames Corporation Pty Limited | AU | 28 |
| N/043581 | 2009/10/13 | 2009/10/13 | 澳門廠商聯合會 | MO | 05 |
| N/043582 | 2009/10/13 | 2009/10/13 | 澳門廠商聯合會 | MO | 11 |
| N/043583 | 2009/10/13 | 2009/10/13 | 澳門廠商聯合會 | MO | 15 |
| N/043584 | 2009/10/13 | 2009/10/13 | 澳門廠商聯合會 | MO | 16 |
| N/043585 | 2009/10/13 | 2009/10/13 | 澳門廠商聯合會 | MO | 18 |
| N/043586 | 2009/10/13 | 2009/10/13 | 澳門廠商聯合會 | MO | 20 |
| N/043587 | 2009/10/13 | 2009/10/13 | 澳門廠商聯合會 | MO | 21 |
| N/043588 | 2009/10/13 | 2009/10/13 | 澳門廠商聯合會 | MO | 25 |
| N/043589 | 2009/10/13 | 2009/10/13 | 澳門廠商聯合會 | MO | 28 |
| N/043590 | 2009/10/13 | 2009/10/13 | 澳門廠商聯合會 | MO | 29 |
| N/043592 | 2009/10/13 | 2009/10/13 | 澳門廠商聯合會 | MO | 32 |
| N/043593 | 2009/10/13 | 2009/10/13 | 澳門廠商聯合會 | MO | 33 |
| N/043594 | 2009/10/13 | 2009/10/13 | 澳門廠商聯合會 | MO | 34 |
- 1 Não foi concedido o direito no uso exclusivo da(s) palavra(s) «MACAU».
- 2 Não foi concedido o direito no uso exclusivo da(s) palavra(s) «礦物質水» e «Mineralized Water».
- 3 Não foi concedido o direito no uso exclusivo da(s) palavra(s) «MACAU» e «CHINA».
- 4 Não foi concedido o direito no uso exclusivo da(s) palavra(s) «mineral water».
- 5 Não foi concedido o direito no uso exclusivo da(s) palavra(s) «CALIFORNIA».
- 6 Não foi concedido o direito no uso exclusivo da(s) palavra(s) «輪胎».
- 7 Não foi concedido o direito no uso exclusivo da(s) palavra(s) «Plasma» e «ion».
Protecção de nome ou insígnia de estabelecimento
Concessão
| Processo n.º | Data do registo |
Data do despacho |
Nome do titular | País/Território resid. |
| E/000127 | 2009/09/25 | 2009/09/25 | 悅盈餐飲有限公司 SOCIEDADE DE RESTAURANTE MERIT GAIN LIMITADA |
MO |
Protecção de desenho ou modelo
Concessões
| Processo n.º | Data do registo |
Data do despacho |
Nome do titular | País/Território resid. |
| D/000416 | 2009/09/25 | 2009/09/25 | CASINO’ MUNICIPALE DI VENEZIA S.p.A. | IT |
| D/000495 | 2009/09/25 | 2009/09/25 | De Beers Centenary AG | CH |
| D/000531 | 2009/09/25 | 2009/09/25 | Sony Computer Entertainment Inc. | JP |
| D/000532 | 2009/09/25 | 2009/09/25 | Sony Computer Entertainment Inc. | JP |
Protecção de patente de invenção
Concessões
| Processo n.º | Data do registo |
Data do despacho |
Nome do titular | País/Território resid. |
| I/000429 | 2009/10/06 | 2009/10/06 | 阿魯策株式會社 Aruze Corp. |
JP |
| I/000430 | 2009/10/06 | 2009/10/06 | 阿魯策株式會社 Aruze Corp. |
JP |
| I/000432 | 2009/10/06 | 2009/10/06 | 阿魯策株式會社 Aruze Corp. |
JP |
| I/000441 | 2009/10/06 | 2009/10/06 | Aruze Corp. | JP |
| I/000445 | 2009/10/06 | 2009/10/06 | Aruze Corp. | JP |
| I/000493 | 2009/10/06 | 2009/10/06 | Aruze Gaming America, Inc. | US |
| I/000522 | 2009/10/06 | 2009/10/06 | 阿魯策遊戲美國有限公司 Aruze Gaming America, Inc. |
US |
| I/000527 | 2009/10/06 | 2009/10/06 | 阿魯策株式會社 Aruze Corp. |
JP |
| I/000559 | 2009/10/06 | 2009/10/06 | 泰偉電子股份有限公司 ASTRO CORPORATION |
TW |
| I/000718 | 2009/10/06 | 2009/10/06 | 阿魯策株式會社 Aruze Corp. |
JP |
| I/000723 | 2009/10/06 | 2009/10/06 | 阿魯策株式會社 Aruze Corp. |
JP |
Protecção de marcas
Decisões por sentença
| Processo n.º | Data de vigência |
Nome do titular | País/Terri- tório resid. |
Classe |
| 1 N/030306 | 2009/10/05 | RE/MAX INTERNATIONAL, INC. | US | 36 |
| 1 N/030307 | 2009/10/05 | RE/MAX INTERNATIONAL, INC. | US | 35 |
1 Por sentença do Tribunal Judicial de Base, de 14/09/2009, que transitou em julgado no dia 05/10/2009, foi julgado procedente o recurso, decidindo anular os despachos recorridos e ordenando o registo da marca n.º N/030306 na classe 36.ª e a marca n.º N/030307 na classe 35.ª
Concessão parcial
| Processo n.º | Data do registo |
Data do despacho |
Nome do titular | País/Território resid. |
Classe | Observações |
| N/039639 | 2009/10/08 | 2009/10/08 | Studio IP Holdings LLC | US | 25 | Com excepção de «chapelaria, roupa interior, camisas, camisoas de malha (peitilhos de camisa), fatos, casacos,“t-shirts”, camisolas, sapatos, fitas para a cabeça (vestuário)», foi concedido o registo para os restantes produtos constantes do pedido de registo de marca. |
Renovações
| Processo n.º | Marca n.º | Data da renovação |
Nome do titular | País/Território resid. |
| P/003590 | 3461-M | 2009/09/17 | THE H. D. LEE COMPANY, INC., uma sociedade organizada e existindo segundo as leis do Estado de Delaware | US |
| P/003615 | 3486-M | 2009/09/21 | MILLER BREWING INTERNATIONAL, INC. | US |
| P/004220 | 4089-M | 2009/09/17 | CHRYSLER GROUP LLC | US |
| P/008451 | 8161-M | 2009/09/21 | Toshiba Tec Kabushiki Kaisha (TOSHIBA TEC CORPORATION) | JP |
| P/008700 | 8448-M | 2009/09/17 | Motul | FR |
| P/008701 | 8449-M | 2009/09/17 | Motul | FR |
| P/010637 | 10522-M | 2009/09/17 | Valentino S.p.A. | IT |
| P/010638 | 10523-M | 2009/09/17 | Valentino S.p.A. | IT |
| P/010639 | 10524-M | 2009/09/17 | Valentino S.p.A. | IT |
| P/010914 | 10736-M | 2009/09/24 | MERCK & CO. INC. | US |
| P/011267 | 11290-M | 2009/09/17 | BEIERSDORF AG | DE |
| P/015175 | 15443-M | 2009/09/24 | Dah Chong Hong, Limited | HK |
| P/015177 | 15445-M | 2009/09/24 | Dah Chong Hong, Limited | HK |
| P/015180 | 15448-M | 2009/09/24 | Dah Chong Hong, Limited. | HK |
| P/015279 | 15527-M | 2009/09/21 | Tung Fung Tai Ginseng Limited | HK |
| P/015457 | 15394-M | 2009/09/17 | DURAVIT AG | DE |
| P/015458 | 15395-M | 2009/09/17 | DURAVIT AG | DE |
| P/015489 | 15426-M | 2009/09/17 | W & LT Sefranek + Co. | CH |
| P/015490 | 15427-M | 2009/09/17 | W & LT Sefranek + Co. | CH |
| P/015491 | 15428-M | 2009/09/17 | W & LT Sefranek + Co. | CH |
| P/015507 | 15465-M | 2009/09/24 | KABUSHIKI KAISHA SEGA (SEGA CORPORATION) | JP |
| N/000090 | - | 2009/09/17 | 中國貴州茅臺酒廠有限責任公司 China Kweichow Moutai Distillery Co., Ltd. |
CN |
| N/008959 | - | 2009/09/17 | Tsai's Kitchen (Holdings) Limited | HK |
| N/008986 | - | 2009/09/21 | POPSTAR TRADING LIMITED | HK |
| N/009030 | - | 2009/09/17 | Orange Personal Communications Services Limited | GB |
| N/009382 | - | 2009/09/24 | BACARDI & COMPANY LIMITED, sociedade organizada e existindo segundo as leis do Principado de Liechtenstein | BS |
| N/009487 | - | 2009/09/17 | THE COCA-COLA COMPANY, sociedade organizada e existindo segundo as leis do Estado de Delaware | US |
| N/009560 | - | 2009/09/24 | MERCK & CO., INC. | US |
| N/009787 | - | 2009/09/21 | Blu-ray Disc Association | US |
| N/009797 | - | 2009/09/24 | Mülhens GmbH & Cº. KG | DE |
| N/010013 | - | 2009/09/30 | Starbucks Corporation | US |
| N/010014 | - | 2009/09/30 | Starbucks Corporation | US |
| N/010015 | - | 2009/09/30 | Starbucks Corporation | US |
| N/010016 | - | 2009/09/30 | Starbucks Corporation | US |
| N/010017 | - | 2009/09/30 | Starbucks Corporation | US |
| N/010018 | - | 2009/09/30 | Starbucks Corporation | US |
| N/010019 | - | 2009/09/30 | Starbucks Corporation | US |
| N/010020 | - | 2009/09/30 | Starbucks Corporation | US |
| N/010021 | - | 2009/09/30 | Starbucks Corporation | US |
| N/010022 | - | 2009/09/30 | Starbucks Corporation | US |
| N/010023 | - | 2009/09/30 | Starbucks Corporation | US |
| N/010024 | - | 2009/09/30 | Starbucks Corporation | US |
| N/010025 | - | 2009/09/30 | Starbucks Corporation | US |
| N/010026 | - | 2009/09/30 | Starbucks Corporation | US |
| N/010027 | - | 2009/09/30 | Starbucks Corporation | US |
| N/010028 | - | 2009/09/30 | Starbucks Corporation | US |
| N/010029 | - | 2009/09/30 | Starbucks Corporation | US |
| N/010030 | - | 2009/09/30 | Starbucks Corporation | US |
| N/010031 | - | 2009/09/30 | Starbucks Corporation | US |
| N/010032 | - | 2009/09/30 | Starbucks Corporation | US |
| N/010033 | - | 2009/09/30 | Starbucks Corporation | US |
| N/010034 | - | 2009/09/30 | Starbucks Corporation | US |
| N/010035 | - | 2009/09/30 | Starbucks Corporation | US |
| N/010036 | - | 2009/09/30 | Starbucks Corporation | US |
| N/010037 | - | 2009/09/30 | Starbucks Corporation | US |
| N/010038 | - | 2009/09/30 | Starbucks Corporation | US |
| N/010039 | - | 2009/09/30 | Starbucks Corporation | US |
| N/010040 | - | 2009/09/30 | Starbucks Corporation | US |
| N/010041 | - | 2009/09/30 | Starbucks Corporation | US |
| N/010042 | - | 2009/09/30 | Starbucks Corporation | US |
| N/010043 | - | 2009/09/30 | Starbucks Corporation | US |
| N/010044 | - | 2009/09/30 | Starbucks Corporation | US |
| N/010045 | - | 2009/09/30 | Starbucks Corporation | US |
| N/010047 | - | 2009/09/30 | Starbucks Corporation | US |
| N/010049 | - | 2009/09/30 | Starbucks Corporation | US |
| N/010050 | - | 2009/09/30 | Starbucks Corporation | US |
| N/010051 | - | 2009/09/30 | Starbucks Corporation | US |
| N/010052 | - | 2009/09/30 | Starbucks Corporation | US |
| N/010053 | - | 2009/09/30 | Starbucks Corporation | US |
| N/010054 | - | 2009/09/30 | Starbucks Corporation | US |
| N/010055 | - | 2009/09/30 | Starbucks Corporation | US |
| N/010056 | - | 2009/09/30 | Starbucks Corporation | US |
| N/010057 | - | 2009/09/30 | Starbucks Corporation | US |
| N/010074 | - | 2009/09/17 | GENERALE BISCUIT Sociedade por Acções simplificada | FR |
| N/010188 | - | 2009/09/24 | Merck & Co., Inc. | US |
| N/010303 | - | 2009/09/17 | Perfetti Van Melle Benelux B.V. uma sociedade organizada e existindo segundo as leis do Reino da Holanda | NL |
| N/010304 | - | 2009/09/17 | Perfetti Van Melle Benelux B.V. uma sociedade organizada e existindo segundo as leis do Reino da Holanda | NL |
| N/010560 | - | 2009/09/17 | Liu Tat Fai | MO |
| N/010656 | - | 2009/09/17 | KOSÉ Corporation, uma sociedade organizada e existindo segundo as leis do Japão | JP |
| N/010657 | - | 2009/09/17 | KOSÉ Corporation, uma sociedade organizada e existindo segundo as leis do Japão | JP |
Averbamentos
| Processo n.º | Data do despacho |
Natureza do averbamento |
Requerente/Titular | Conteúdo |
| P/001301 (1206-M) |
2009/09/14 | Transmissão | Chrysler LLC | NEW CARCO ACQUISITION LLC, com sede em 1000 Chrysler Drive, City of Auburn Hills, State of Michigan 48326, United States of America |
| P/001301 (1206-M) |
2009/09/14 | Modificação de identidade | NEW CARCO ACQUISITION LLC | CHRYSLER GROUP LLC |
| P/00367 (3541-M) |
2009/09/21 | Modificação de identidade | OAG WORLDWIDE LIMITED | UBM Aviation Worldwide Limited |
| P/003852 (3723-M) |
2009/09/14 | Transmissão | Chrysler LLC | NEW CARCO ACQUISITION LLC, com sede em 1000 Chrysler Drive, City of Auburn Hills, State of Michigan 48326, United States of America |
| P/003852 (3723-M) |
2009/09/14 | Modificação de identidade | NEW CARCO ACQUISITION LLC | CHRYSLER GROUP LLC |
| P/003918 (3789-M) |
2009/09/14 | Transmissão | Chrysler LLC | NEW CARCO ACQUISITION LLC, com sede em 1000 Chrysler Drive, City of Auburn Hills, State of Michigan 48326, United States of America |
| P/003918 (3789-M) |
2009/09/14 | Modificação de identidade | NEW CARCO ACQUISITION LLC | CHRYSLER GROUP LLC |
| P/003919 (3790-M) |
2009/09/14 | Transmissão | Chrysler LLC | NEW CARCO ACQUISITION LLC, com sede em 1000 Chrysler Drive, City of Auburn Hills, State of Michigan 48326, United States of America |
| P/003919 (3790-M) |
2009/09/14 | Modificação de identidade | NEW CARCO ACQUISITION LLC | CHRYSLER GROUP LLC |
| P/003920 (3791-M) |
2009/09/14 | Transmissão | Chrysler LLC | NEW CARCO ACQUISITION LLC, com sede em 1000 Chrysler Drive, City of Auburn Hills, State of Michigan 48326, United States of America |
| P/003920 (3791-M) |
2009/09/14 | Modificação de identidade | NEW CARCO ACQUISITION LLC | CHRYSLER GROUP LLC |
| P/003921 (3792-M) |
2009/09/14 | Transmissão | Chrysler LLC | NEW CARCO ACQUISITION LLC, com sede em 1000 Chrysler Drive, City of Auburn Hills, State of Michigan 48326, United States of America |
| P/003921 (3792-M) |
2009/09/14 | Modificação de identidade | NEW CARCO ACQUISITION LLC | CHRYSLER GROUP LLC |
| P/003929 (3800-M) |
2009/09/14 | Transmissão | Chrysler LLC | NEW CARCO ACQUISITION LLC, com sede em 1000 Chrysler Drive, City of Auburn Hills, State of Michigan 48326, United States of America |
| P/003929 (3800-M) |
2009/09/14 | Modificação de identidade | NEW CARCO ACQUISITION LLC | CHRYSLER GROUP LLC |
| P/004195 (4064-M) |
2009/09/14 | Transmissão | Chrysler LLC | NEW CARCO ACQUISITION LLC, com sede em 1000 Chrysler Drive, City of Auburn Hills, State of Michigan 48326, United States of America |
| P/004195 (4064-M) |
2009/09/14 | Modificação de identidade | NEW CARCO ACQUISITION LLC | CHRYSLER GROUP LLC |
| P/004220 (4089-M) |
2009/09/14 | Transmissão | Chrysler LLC | NEW CARCO ACQUISITION LLC, com sede em 1000 Chrysler Drive, City of Auburn Hills, State of Michigan 48326, United States of America |
| P/004220 (4089-M) |
2009/09/14 | Modificação de identidade | NEW CARCO ACQUISITION LLC | CHRYSLER GROUP LLC |
| P/004221 (4090-M) |
2009/09/14 | Transmissão | Chrysler LLC | NEW CARCO ACQUISITION LLC, com sede em 1000 Chrysler Drive, City of Auburn Hills, State of Michigan 48326, United States of America |
| P/004221 (4090-M) |
2009/09/14 | Modificação de identidade | NEW CARCO ACQUISITION LLC | CHRYSLER GROUP LLC |
| P/004222 (4091-M) |
2009/09/14 | Transmissão | Chrysler LLC | NEW CARCO ACQUISITION LLC, com sede em 1000 Chrysler Drive, City of Auburn Hills, State of Michigan 48326, United States of America |
| P/004222 (4091-M) |
2009/09/14 | Modificação de identidade | NEW CARCO ACQUISITION LLC | CHRYSLER GROUP LLC |
| P/004231 (4100-M) |
2009/09/14 | Transmissão | Chrysler LLC | NEW CARCO ACQUISITION LLC, com sede em 1000 Chrysler Drive, City of Auburn Hills, State of Michigan 48326, United States of America |
| P/004231 (4100-M) |
2009/09/14 | Modificação de identidade | NEW CARCO ACQUISITION LLC | CHRYSLER GROUP LLC |
| P/004232 (4101-M) |
2009/09/14 | Transmissão | Chrysler LLC | NEW CARCO ACQUISITION LLC, com sede em 1000 Chrysler Drive, City of Auburn Hills, State of Michigan 48326, United States of America |
| P/004232 (4101-M) |
2009/09/14 | Modificação de identidade | NEW CARCO ACQUISITION LLC | CHRYSLER GROUP LLC |
| P/004233 (4102-M) |
2009/09/14 | Transmissão | Chrysler LLC | NEW CARCO ACQUISITION LLC, com sede em 1000 Chrysler Drive, City of Auburn Hills, State of Michigan 48326, United States of America |
| P/004233 (4102-M) |
2009/09/14 | Modificação de identidade | NEW CARCO ACQUISITION LLC | CHRYSLER GROUP LLC |
| P/004250 (4119-M) |
2009/09/14 | Transmissão | Chrysler LLC | NEW CARCO ACQUISITION LLC, com sede em 1000 Chrysler Drive, City of Auburn Hills, State of Michigan 48326, United States of America |
| P/004250 (4119-M) |
2009/09/14 | Modificação de identidade | NEW CARCO ACQUISITION LLC | CHRYSLER GROUP LLC |
| P/004255 (4124-M) |
2009/09/14 | Transmissão | Chrysler LLC | NEW CARCO ACQUISITION LLC, com sede em 1000 Chrysler Drive, City of Auburn Hills, State of Michigan 48326, United States of America |
| P/004255 (4124-M) |
2009/09/14 | Modificação de identidade | NEW CARCO ACQUISITION LLC | CHRYSLER GROUP LLC |
| P/004934 (4796-M) |
2009/09/14 | Transmissão | Chrysler LLC | NEW CARCO ACQUISITION LLC, com sede em 1000 Chrysler Drive, City of Auburn Hills, State of Michigan 48326, United States of America |
| P/004934 (4796-M) |
2009/09/14 | Modificação de identidade | NEW CARCO ACQUISITION LLC | CHRYSLER GROUP LLC |
| P/005370 (5228-M) |
2009/09/14 | Transmissão | Chrysler LLC | NEW CARCO ACQUISITION LLC, com sede em 1000 Chrysler Drive, City of Auburn Hills, State of Michigan 48326, United States of America |
| P/005370 (5228-M) |
2009/09/14 | Modificação de identidade | NEW CARCO ACQUISITION LLC | CHRYSLER GROUP LLC |
| P/005434 (5292-M) |
2009/09/14 | Transmissão | Chrysler LLC | NEW CARCO ACQUISITION LLC, com sede em 1000 Chrysler Drive, City of Auburn Hills, State of Michigan 48326, United States of America |
| P/005434 (5292-M) |
2009/09/14 | Modificação de identidade | NEW CARCO ACQUISITION LLC | CHRYSLER GROUP LLC |
| P/005435 (5293-M) |
2009/09/14 | Transmissão | Chrysler LLC | NEW CARCO ACQUISITION LLC, com sede em 1000 Chrysler Drive, City of Auburn Hills, State of Michigan 48326, United States of America |
| P/005435 (5293-M) |
2009/09/14 | Modificação de identidade | NEW CARCO ACQUISITION LLC | CHRYSLER GROUP LLC |
| P/005439 (5297-M) |
2009/09/14 | Transmissão | Chrysler LLC | NEW CARCO ACQUISITION LLC, com sede em 1000 Chrysler Drive, City of Auburn Hills, State of Michigan 48326, United States of America |
| P/005439 (5297-M) |
2009/09/14 | Modificação de identidade | NEW CARCO ACQUISITION LLC | CHRYSLER GROUP LLC |
| P/00546 (5322-M) |
2009/09/14 | Transmissão | Chrysler LLC | NEW CARCO ACQUISITION LLC, com sede em 1000 Chrysler Drive, City of Auburn Hills, State of Michigan 48326, United States of America |
| P/00546 (5322-M) |
2009/09/14 | Modificação de identidade | NEW CARCO ACQUISITION LLC | CHRYSLER GROUP LLC |
| P/00546 (5323-M) |
2009/09/14 | Transmissão | Chrysler LLC | NEW CARCO ACQUISITION LLC, com sede em 1000 Chrysler Drive, City of Auburn Hills, State of Michigan 48326, United States of America |
| P/00546 (5323-M) |
2009/09/14 | Modificação de identidade | NEW CARCO ACQUISITION LLC | CHRYSLER GROUP LLC |
| P/00546 (5324-M) |
2009/09/14 | Transmissão | Chrysler LLC | NEW CARCO ACQUISITION LLC, com sede em 1000 Chrysler Drive, City of Auburn Hills, State of Michigan 48326, United States of America |
| P/00546 (5324-M) |
2009/09/14 | Modificação de identidade | NEW CARCO ACQUISITION LLC | CHRYSLER GROUP LLC |
| P/00546 (5325-M) |
2009/09/14 | Transmissão | Chrysler LLC | NEW CARCO ACQUISITION LLC, com sede em 1000 Chrysler Drive, City of Auburn Hills, State of Michigan 48326, United States of America |
| P/00546 (5325-M) |
2009/09/14 | Modificação de identidade | NEW CARCO ACQUISITION LLC | CHRYSLER GROUP LLC |
| P/00546 (5326-M) |
2009/09/14 | Transmissão | Chrysler LLC | NEW CARCO ACQUISITION LLC, com sede em 1000 Chrysler Drive, City of Auburn Hills, State of Michigan 48326, United States of America |
| P/00546 (5326-M) |
2009/09/14 | Modificação de identidade | NEW CARCO ACQUISITION LLC | CHRYSLER GROUP LLC |
| P/00546 (5327-M) |
2009/09/14 | Transmissão | Chrysler LLC | NEW CARCO ACQUISITION LLC, com sede em 1000 Chrysler Drive, City of Auburn Hills, State of Michigan 48326, United States of America |
| P/00546 (5327-M) |
2009/09/14 | Modificação de identidade | NEW CARCO ACQUISITION LLC | CHRYSLER GROUP LLC |
| P/00547 (5328-M) |
2009/09/14 | Transmissão | Chrysler LLC | NEW CARCO ACQUISITION LLC, com sede em 1000 Chrysler Drive, City of Auburn Hills, State of Michigan 48326, United States of America |
| P/00547 (5328-M) |
2009/09/14 | Modificação de identidade | NEW CARCO ACQUISITION LLC | CHRYSLER GROUP LLC |
| P/00547 (5329-M) |
2009/09/14 | Transmissão | Chrysler LLC | NEW CARCO ACQUISITION LLC, com sede em 1000 Chrysler Drive, City of Auburn Hills, State of Michigan 48326, United States of America |
| P/00547 (5329-M) |
2009/09/14 | Modificação de identidade | NEW CARCO ACQUISITION LLC | CHRYSLER GROUP LLC |
| P/00632 (6150-M) |
2009/09/14 | Transmissão | Chrysler LLC | NEW CARCO ACQUISITION LLC, com sede em 1000 Chrysler Drive, City of Auburn Hills, State of Michigan 48326, United States of America |
| P/00632 (6150-M) |
2009/09/14 | Modificação de identidade | NEW CARCO ACQUISITION LLC | CHRYSLER GROUP LLC |
| P/00845 (8161-M) |
2009/09/21 | Modificação de sede | Toshiba Tec Kabushiki Kaisha (TOSHIBA TEC CORPORATION) |
2-17-2, Higashi Gotanda, Shinagawa-ku, Tóquio, Japão |
| P/00902 (8758-M) |
2009/10/08 | Licença de exploração por parcial | Full Prospect (IP) Pte. Ltd. | Fila Luxembourg S.A.R.L. Produto: Vestuário para patinagem. |
| P/00902 (8759-M) |
2009/10/08 | Licença de exploração por parcial | Full Prospect (IP) Pte. Ltd. | Fila Luxembourg S.A.R.L. Produtos: Patins em linha; acessórios de patinagem. |
| P/00902 (8760-M) |
2009/10/08 | Licença de exploração por parcial | Full Prospect (IP) Pte. Ltd. | Fila Luxembourg S.A.R.L. Produto: Vestuário para patinagem. |
| P/00903 (8761-M) |
2009/10/08 | Licença de exploração por parcial | Full Prospect (IP) Pte. Ltd. | Fila Luxembourg S.A.R.L. Produtos: Patins em linha; acessórios de patinagem. |
| P/01435 (14284-M) |
2009/09/14 | Transmissão | Chrysler LLC | NEW CARCO ACQUISITION LLC, com sede em 1000 Chrysler Drive, City of Auburn Hills, State of Michigan 48326, United States of America |
| P/01435 (14284-M) |
2009/09/14 | Modificação de identidade | NEW CARCO ACQUISITION LLC | CHRYSLER GROUP LLC |
| P/01459 (14536-M) |
2009/09/22 | Modificação de sede | Flowil International Lighting (Holding) B.V. | Prins Bernhardplein 200, 1097JB Amesterdão, Holanda |
| N/000660 | 2009/10/08 | Licença de exploração por parcial | Full Prospect (IP) Pte. Ltd. | Fila Luxembourg S.A.R.L. Produto: Vestuário para patinagem. |
| N/001216 | 2009/10/08 | Licença de exploração por parcial | Full Prospect (IP) Pte. Ltd. | Fila Luxembourg S.A.R.L. Produtos: Óculos, óculos de sol. |
| N/001217 | 2009/10/08 | Licença de exploração por parcial | Full Prospect (IP) Pte. Ltd. | Fila Luxembourg S.A.R.L. Produtos: Óculos, óculos de sol. |
| N/005465 | 2009/10/08 | Transmissão | China Medical Centre | WONG TO YICK WOOD LOCK OINTMENT LIMITED, com sede em 4/F, Mai Shun Industrial Building, N.os 18-24, Kwai Cheong Road, Kwai Chung, New Territories, Hong Kong |
| N/006628 | 2009/09/21 | Modificação de sede | AROME BAKERY (H.K.) COMPANY LIMITED | 3505, 35th Floor, Gloucester Tower, The Landmark, 11 Pedder Street, Central, Hong Kong |
| N/006633 | 2009/09/21 | Modificação de sede | AROME BAKERY (H.K.) COMPANY LIMITED | 3505, 35th Floor, Gloucester Tower, The Landmark, 11 Pedder Street, Central, Hong Kong |
| N/009376 | 2009/09/23 | Transmissão | 廣東中順紙業集團有限公司 Guangdong Zhongshun Paper Industry Group Co., Ltd |
梁少明,地址為中國中山市東升鎮龍成路8號 |
| N/009937 | 2009/09/14 | Modificação de sede | 京都養生堂製藥廠有限公司 JING DU YANG SHENG TANG CHINESE HERBAL MANUFACTURING LIMITED |
Units 1-12, 9th Floor, Block A, Vigor Industrial Building, N.os 14-20 Cheung Tat Road, Tsing Yi, New Territories, Hong Kong |
| N/009938 | 2009/09/14 | Modificação de sede | 京都養生堂製藥廠有限公司 JING DU YANG SHENG TANG CHINESE HERBAL MANUFACTURING LIMITED |
Units 1-12, 9th Floor, Block A, Vigor Industrial Building, N.os 14-20 Cheung Tat Road, Tsing Yi, New Territories, Hong Kong |
| N/013783 | 2009/09/21 | Modificação de sede | Ye Shanghai Limited | 12/F, Tesbury Centre, 28 Queen's Road East, Wanchai, Hong Kong |
| N/014552 | 2009/09/29 | Modificação de sede | FASHIONTV.COM GmbH | Brienner Str. 21, 80333 Munich, Germany |
| N/018385 | 2009/09/21 | Modificação de identidade | CARIBBEAN DISTILLERS CORPORATION, LIMITED | PATRÓN SPIRITS INTERNATIONAL AG |
| N/018385 | 2009/09/21 | Modificação de sede | PATRÓN SPIRITS INTERNATIONAL AG | Spitalstrasse 5, 8200 Schaffhausen, Suíça |
| N/020937 | 2009/09/23 | Transmissão | 江門中裕摩托集團有限公司 JIANGMEN ZHONGYU MOTOR (GROUP) CO., LTD. |
廣東大冶摩托車技術有限公司,地址為中國廣東江門市金甌路188號 |
| N/025938 | 2009/09/21 | Modificação de identidade | 上海邵萬生商貿合作公司 SHANGHAI SHAO WAN SHENG TRADING COOPERATION CO., LTD. |
Shanghai Shao Wan Sheng Trading Co., Ltd. |
| N/032037 | 2009/09/24 | Transmissão | Pfizer Products Inc. | C.P. Pharmaceuticals International C.V. com sede em C.P. Pharmaceuticals International C.V., c/o General Partners, Pfizer Manufacturing LLC and Pfizer Production LLC, 235 East 42nd Street, New York, New York 10017, E.U.A. |
| N/032123 | 2009/09/24 | Transmissão | PFIZER PRODUCTS INC. | C.P. Pharmaceuticals International C.V. com sede em C.P. Pharmaceuticals International C.V., c/o General Partners, Pfizer Manufacturing LLC and Pfizer Production LLC, 235 East 42nd Street, New York, New York 10017, E.U.A. |
| N/032824 | 2009/09/21 | Modificação de identidade | CARIBBEAN DISTILLERS CORPORATION, LIMITED | PATRÓN SPIRITS INTERNATIONAL AG |
| N/032824 | 2009/09/21 | Modificação de sede | PATRÓN SPIRITS INTERNATIONAL AG | Spitalstrasse 5, 8200 Schaffhausen, Suíça |
| N/033300 | 2009/09/24 | Transmissão | Pfizer Products Inc. | C.P. Pharmaceuticals International C.V. com sede em C.P. Pharmaceuticals International C.V., c/o General Partners, Pfizer Manufacturing LLC and Pfizer Production LLC, 235 East 42nd Street, New York, New York 10017, E.U.A. |
| N/033301 | 2009/09/24 | Transmissão | Pfizer Products Inc. | C.P. Pharmaceuticals International C.V. com sede em C.P. Pharmaceuticals International C.V., c/o General Partners, Pfizer Manufacturing LLC and Pfizer Production LLC, 235 East 42nd Street, New York, New York 10017, E.U.A. |
| N/035035 | 2009/09/30 | Transmissão | Andreas Fleck | Audi AG, com sede em D-85045 Ingolstadt, Germany |
| N/035036 | 2009/09/30 | Transmissão | Andreas Fleck | Audi AG, com sede em D-85045 Ingolstadt, Germany |
| N/035834 | 2009/09/16 | Modificação de identidade | U Luck Company Limited | HANG LOK GROUP COMPANY LIMITED |
| N/035918 | 2009/09/29 | Transmissão | IP Holdings LLC | Rampage China Limited, com sede em Scotia Centre, 4th Floor, P.O. Box 2804, George Town, Grand Cayman KY1-1112, Cayman Islands |
| N/036235 | 2009/09/23 | Modificação de identidade | KABUSHIKI KAISHA SQUARE ENIX (also trading as Square Enix Co., Ltd.) | KABUSHIKI KAISHA SQUARE ENIX HOLDINGS (also trading as SQUARE ENIX HOLDINGS CO., LTD.) |
| N/036235 | 2009/09/23 | Transmissão | KABUSHIKI KAISHA SQUARE ENIX HOLDINGS (also trading as SQUARE ENIX HOLDINGS CO., LTD.) | KABUSHIKI KAISHA SQUARE ENIX (also trading as SQUARE ENIX CO., LTD.), com sede em 3-22-7 Yoyogi, Shibuya-ku, Tokyo, Japan |
| N/036236 | 2009/09/23 | Modificação de identidade | KABUSHIKI KAISHA SQUARE ENIX (also trading as Square Enix Co., Ltd.) | KABUSHIKI KAISHA SQUARE ENIX HOLDINGS (also trading as SQUARE ENIX HOLDINGS CO., LTD.) |
| N/036236 | 2009/09/23 | Transmissão | KABUSHIKI KAISHA SQUARE ENIX HOLDINGS (also trading as SQUARE ENIX HOLDINGS CO., LTD.) | KABUSHIKI KAISHA SQUARE ENIX (also trading as SQUARE ENIX CO., LTD.), com sede em 3-22-7 Yoyogi, Shibuya-ku, Tokyo, Japan |
| N/036237 | 2009/09/23 | Modificação de identidade | KABUSHIKI KAISHA SQUARE ENIX (also trading as Square Enix Co., Ltd.) | KABUSHIKI KAISHA SQUARE ENIX HOLDINGS (also trading as SQUARE ENIX HOLDINGS CO., LTD.) |
| N/036237 | 2009/09/23 | Transmissão | KABUSHIKI KAISHA SQUARE ENIX HOLDINGS (also trading as SQUARE ENIX HOLDINGS CO., LTD.) | KABUSHIKI KAISHA SQUARE ENIX (also trading as SQUARE ENIX CO., LTD.), com sede em 3-22-7 Yoyogi, Shibuya-ku, Tokyo, Japan |
| N/036238 | 2009/09/23 | Modificação de identidade | KABUSHIKI KAISHA SQUARE ENIX (also trading as Square Enix Co., Ltd.) | KABUSHIKI KAISHA SQUARE ENIX HOLDINGS (also trading as SQUARE ENIX HOLDINGS CO., LTD.) |
| N/036238 | 2009/09/23 | Transmissão | KABUSHIKI KAISHA SQUARE ENIX HOLDINGS (also trading as SQUARE ENIX HOLDINGS CO., LTD.) | KABUSHIKI KAISHA SQUARE ENIX (also trading as SQUARE ENIX CO., LTD.), com sede em 3-22-7 Yoyogi, Shibuya-ku, Tokyo, Japan |
| N/036823 | 2009/09/22 | Transmissão | Standard Chartered PLC | THREADNEEDLE ASSET MANAGEMENT HOLDINGS LIMITED, com sede em 60 St Mary Axe, London EC3A 8JQ, United Kingdom |
| N/036833 | 2009/09/22 | Modificação de identidade | THOMSON FINANCE S.A. | Thomson Reuters Finance S.A. |
| N/036833 | 2009/09/22 | Modificação de sede | Thomson Reuters Finance S.A. | Neuhofstrasse 1, CH-6341 Baar, Switzerland |
| N/036834 | 2009/09/22 | Modificação de identidade | THOMSON FINANCE S.A. | Thomson Reuters Finance S.A. |
| N/036834 | 2009/09/22 | Modificação de sede | Thomson Reuters Finance S.A. | Neuhofstrasse 1, CH-6341 Baar, Switzerland |
| N/036835 | 2009/09/22 | Modificação de identidade | THOMSON FINANCE S.A. | Thomson Reuters Finance S.A. |
| N/036835 | 2009/09/22 | Modificação de sede | Thomson Reuters Finance S.A. | Neuhofstrasse 1, CH-6341 Baar, Switzerland |
| N/036836 | 2009/09/22 | Modificação de identidade | THOMSON FINANCE S.A. | Thomson Reuters Finance S.A. |
| N/036836 | 2009/09/22 | Modificação de sede | Thomson Reuters Finance S.A. | Neuhofstrasse 1, CH-6341 Baar, Switzerland |
| N/036837 | 2009/09/22 | Modificação de identidade | THOMSON FINANCE S.A. | Thomson Reuters Finance S.A. |
| N/036837 | 2009/09/22 | Modificação de sede | Thomson Reuters Finance S.A. | Neuhofstrasse 1, CH-6341 Baar, Switzerland |
| N/036838 | 2009/09/22 | Modificação de identidade | THOMSON FINANCE S.A. | Thomson Reuters Finance S.A. |
| N/036838 | 2009/09/22 | Modificação de sede | Thomson Reuters Finance S.A. | Neuhofstrasse 1, CH-6341 Baar, Switzerland |
| N/036839 | 2009/09/22 | Modificação de identidade | THOMSON FINANCE S.A. | Thomson Reuters Finance S.A. |
| N/036839 | 2009/09/22 | Modificação de sede | Thomson Reuters Finance S.A. | Neuhofstrasse 1, CH-6341 Baar, Switzerland |
| N/036840 | 2009/09/22 | Modificação de identidade | THOMSON FINANCE S.A. | Thomson Reuters Finance S.A. |
| N/036840 | 2009/09/22 | Modificação de sede | Thomson Reuters Finance S.A. | Neuhofstrasse 1, CH-6341 Baar, Switzerland |
| N/036841 | 2009/09/22 | Modificação de identidade | THOMSON FINANCE S.A. | Thomson Reuters Finance S.A. |
| N/036841 | 2009/09/22 | Modificação de sede | Thomson Reuters Finance S.A. | Neuhofstrasse 1, CH-6341 Baar, Switzerland |
| N/037829 | 2009/09/14 | Modificação de identidade | HOTEL KINGSWAY, LIMITADA | HOTEL LAN KWAI FONG (MACAU) LIMITED |
| N/039565 | 2009/09/29 | Transmissão | IP Holdings LLC | Rampage China Limited, com sede em Scotia Centre, 4th Floor, P.O. Box 2804, George Town, Grand Cayman KY1-1112, Cayman Islands |
| N/039566 | 2009/09/29 | Transmissão | IP Holdings LLC | Rampage China Limited, com sede em Scotia Centre, 4th Floor, P.O. Box 2804, George Town, Grand Cayman KY1-1112, Cayman Islands |
| N/039567 | 2009/09/29 | Transmissão | IP Holdings LLC | Rampage China Limited, com sede em Scotia Centre, 4th Floor, P.O. Box 2804, George Town, Grand Cayman KY1-1112, Cayman Islands |
| N/039568 | 2009/09/29 | Transmissão | IP Holdings LLC | Rampage China Limited, com sede em Scotia Centre, 4th Floor, P.O. Box 2804, George Town, Grand Cayman KY1-1112, Cayman Islands |
| N/039569 | 2009/09/29 | Transmissão | IP Holdings LLC | Rampage China Limited, com sede em Scotia Centre, 4th Floor, P.O. Box 2804, George Town, Grand Cayman KY1-1112, Cayman Islands |
| N/039570 | 2009/09/29 | Transmissão | IP Holdings LLC | Rampage China Limited, com sede em Scotia Centre, 4th Floor, P.O. Box 2804, George Town, Grand Cayman KY1-1112, Cayman Islands |
| N/041110 | 2009/09/14 | Modificação de identidade | HOTEL KINGSWAY, LIMITADA | HOTEL LAN KWAI FONG (MACAU) LIMITED |
| N/041620 | 2009/09/14 | Modificação de sede | 京都養生堂製藥廠有限公司 Jing Du Yang Sheng Tang Chinese Herbal Manufacturing Limited |
Units 1-12, 9th Floor, Block A, Vigor Industrial Building, N.os 14-20 Cheung Tat Road, Tsing Yi, New Territories, Hong Kong |
| N/041621 | 2009/09/14 | Modificação de sede | 京都養生堂製藥廠有限公司 Jing Du Yang Sheng Tang Chinese Herbal Manufacturing Limited |
Units 1-12, 9th Floor, Block A, Vigor Industrial Building, N.os 14-20 Cheung Tat Road, Tsing Yi, New Territories, Hong Kong |
| N/043393 | 2009/09/14 | Modificação de identidade | HOTEL KINGSWAY, LIMITADA | HOTEL LAN KWAI FONG (MACAU) LIMITED |
Averbamentos
| Processo n.º |
Data do despacho |
Natureza do averbamento | Requerente/Titular | Conteúdo | ||
| N/041473 N/041474 N/041475 N/041476 N/041477 N/041478 N/041479 N/041480 N/041481 N/041482 |
N/041483 N/041484 N/041485 N/041486 N/041487 N/041488 N/041489 N/041490 N/041491 N/041492 |
N/041493 N/041494 N/041495 N/041496 N/041497 N/041498 N/041499 N/041500 N/041501 N/041502 |
2009/10/13 | Licença de exploração | Melco Crown Entertainment Limited | MPEL SERVICES LIMITED |
| Sublicença de exploração | MPEL SERVICES LIMITED | Melco Crown Jogos (Macau), S.A. | ||||
| Sublicença de exploração | MPEL SERVICES LIMITED | Altira Hotel, Limitada | ||||
| N/041503 N/041504 N/041505 N/041506 N/041507 N/041508 N/041509 N/041510 N/041511 N/041512 N/041513 N/041514 N/041515 N/041516 N/041517 N/041518 N/041519 N/041520 N/041521 N/041522 N/041523 |
N/041524 N/041525 N/041526 N/041527 N/041528 N/041529 N/041530 N/041531 N/041532 N/041533 N/041534 N/041535 N/041536 N/041537 N/041538 N/041539 N/041540 N/041713 N/041714 N/041715 N/041716 |
N/041717 N/041718 N/041719 N/041720 N/042295 N/042296 N/042297 N/042298 N/042299 N/042300 N/042301 N/042302 N/042303 N/042304 N/042305 N/042306 N/042307 N/042308 N/042309 N/042310 |
2009/10/13 | Licença de exploração | Melco Crown Entertainment Limited | MPEL SERVICES LIMITED |
| Sublicença de exploração | MPEL SERVICES LIMITED | Melco Crown Jogos (Macau), S.A. | ||||
| Sublicença de exploração | MPEL SERVICES LIMITED | Altira Hotel, Limitada | ||||
Protecção de patente de invenção
Averbamentos
| Processo n.º | Data do despacho |
Natureza do averbamento |
Requerente/Titular | Conteúdo |
| I/000392 | 2009/10/12 | Transmissão | Progressive Gaming International Corporation | Private Equity Management Group Financial Corporation, com sede em One Park Plaza Suite 500, Irvine, California 92614, U.S.A. |
| I/000392 | 2009/10/12 | Transmissão | Private Equity Management Group Financial Corporation | IGT, com sede em 9295 Prototype Drive, Reno, Nevada 89521-8986, U.S.A. |
Protecção de marcas
Recusas
| Processo n.º | Data do despacho |
Nome do requerente | País/Território resid. |
Classe | Observações Nos termos do RJPI, aprovado pelo D.L. n.º 97/99/M, de 13 de Dezembro |
| N/036564 | 2009/10/09 | 水研社有限公司 Drink-Tea Co., Ltd. |
TW | 43 | Alínea e) do n.º 1 do art.º 9.º |
| N/040677 | 2009/10/09 | JUMBO RICH BUILDING SUPPLIES LIMITED | HK | 17 | Alínea e) do n.º 1 do art.º 9.º |
| N/041075 | 2009/09/28 | Caesars World, Inc. | US | 43 | Alínea b) do n.º 2 do art.º 214.º, conjugado com o n.º 1 do art.º 215.º |
| N/041427 | 2009/09/17 | 黃燦權 WONG, CHAN KUEN |
HK | 5 | N.º 3 do art.º 214.º, conjugado com a alínea b) do n.º 1 do art.º 199.º |
| N/041750 | 2009/10/08 | 澳門第一大藥廠有限公司 | MO | 5 | Alínea a) do n.º 1 do art.º 214.º, conjugado com a alínea c) do n.º 1 do art.º 9.º e a alínea f) do n.º 2 do art.º 214.º |
| N/041835 | 2009/09/21 | 林翠姬 Lam Choi Kei |
MO | 32 | Alínea b) do n.º 2 do art.º 214.º |
| N/042578 | 2009/10/09 | 梁國輝 LEONG KUOC FAI |
MO | 18 | Alínea a) do n.º 2 do art.º 214.º |
| N/042579 | 2009/10/09 | 梁國輝 LEONG KUOC FAI |
MO | 25 | Alínea a) do n.º 2 do art.º 214.º |
Protecção de desenho ou modelo
Recusas
| Processo n.º | Data do despacho |
Nome do requerente | País/Território resid. |
Observações Nos termos do RJPI, aprovado pelo D.L. n.º 97/99/M, de 13 de Dezembro |
| D/000287 | 2009/10/06 | THE COCA-COLA COMPANY | US | Alínea a) do art.º 173.º, conjugado com a alínea f) do n.º 1 do art.º 9.º |
| D/000288 | 2009/10/06 | THE COCA-COLA COMPANY | US | Alínea a) do art.º 173.º, conjugado com a alínea f) do n.º 1 do art.º 9.º |
| D/000294 | 2009/10/06 | 梁展超 LEONG CHUN CHIO |
MO | Alínea a) do art.º 173.º, conjugado com a alínea f) do n.º 1 do art.º 9.º |
| D/000321 | 2009/10/06 | OSIM International Ltd | SG | Alínea a) do art.º 173.º, conjugado com a alínea f) do n.º 1 do art.º 9.º |
Protecção de patente de invenção
Recusas
| Processo n.º | Data do despacho |
Nome do requerente | País/Território resid. |
Observações Nos termos do RJPI, aprovado pelo D.L. n.º 97/99/M, de 13 de Dezembro |
| I/000428 | 2009/09/28 | IGT | US | Alínea a) do n.º 1 do art.º 9.º, conjugado com o art.º 98.º e n.º 1 do art.º 80.º |
| I/000434 | 2009/09/28 | IGT | US | Alínea a) do n.º 1 do art.º 9.º, conjugado com o art.º 98.º e n.º 1 do art.º 80.º |
| I/000491 | 2009/09/28 | Aruze Gaming America, Inc. | US | Alínea a) do n.º 1 do art.º 9.º, conjugado com os artigos 98.º e 66.º |
| I/000492 I/000511 |
2009/09/28 2009/09/28 |
Aruze Gaming America, Inc. 株式會社賽塔 Seta Corp. 阿魯策株式會社 Aruze Corp. |
US JP JP |
Alínea a) do n.º 1 do art.º 9.º,
conjugado com os artigos 98.º e 66.º Alínea a) do n.º 1 do art.º 9.º, conjugado com os artigos 98.º e 66.º |
| I/000515 | 2009/09/28 | 阿魯策遊戲美國有限公司 Aruze Gaming America, Inc. |
US | Alínea a) do n.º 1 do art.º 9.º, conjugado com os artigos 98.º e 66.º |
| I/000545 | 2009/09/28 | Aruze Gaming America, Inc. | US | Alínea a) do n.º 1 do art.º 9.º, conjugado com os artigos 98.º e 66.º |
Protecção de marcas
Recusa parcial
| Processo n.º | Data do despacho |
Nome do requerente | País/Território resid. |
Classe | Observações
Nos termos do RJPI, aprovado pelo D.L. n.º 97/99/M, de 13 de Dezembro |
| N/039639 | 2009/10/08 | Studio IP Holdings LLC | US | 25 | Art.º 216.º, conjugado com o art.º 204.º foi recusado o registo nos produtos: «chapelaria, roupa interior, camisas, camisolas de malha (peitilhos de camisa), fatos, casacos, ‘t-shirts’, camisolas, sapatos, fitas para a cabeça (vestuário)». |
Recusa de pedidos de registo
| Processo n.º | Data do despacho |
Nome do requerente |
País/Território resid. |
Classe | Observações Nos termos do RJPI, aprovado pelo D.L. n.º 97/99/M, de 13 de Dezembro |
| N/041358 | 2009/09/17 | Lighting Partner B.V. | NL | 11 | Alínea f) do n.º 1 do art.º 9.º, conjugado com a alínea d) do n.º 1 do art.º 20.º e art.º 25.º |
Renúncia
| Processo n.º | Marca n.º | Data do despacho | Nome do Titular/Requerente | País/Território resid. |
| N/044363 | - | 2009/09/18 | Sesame SK Production Limited | HK |
Reclamações
| Processo n.º | Data de entrada |
Nome do requerente | País/ /Território resid. |
Nome do oponente | País/Território resid. |
| N/043493 | 2009/10/05 | Sociedade de Entrega de Valores PCI Express PADALA (Macau), Limitada | MO | Stichting BDO | NL |
| N/043494 | 2009/10/05 | Sociedade de Entrega de Valores PCI Express PADALA (Macau), Limitada | MO | Stichting BDO | NL |
| N/043495 | 2009/10/05 | Sociedade de Entrega de Valores PCI Express PADALA (Macau), Limitada | MO | Stichting BDO | NL |
| N/043515 | 2009/09/30 | WYNN RESORTS HOLDINGS, LLC | US | CROWN MELBOURNE LIMITED | AU |
| N/043516 | 2009/09/30 | WYNN RESORTS HOLDINGS, LLC | US | CROWN MELBOURNE LIMITED | AU |
| N/043517 | 2009/09/30 | WYNN RESORTS HOLDINGS, LLC | US | CROWN MELBOURNE LIMITED | AU |
| N/043518 | 2009/09/30 | WYNN RESORTS HOLDINGS, LLC | US | CROWN MELBOURNE LIMITED | AU |
| N/043519 | 2009/09/30 | WYNN RESORTS HOLDINGS, LLC | US | CROWN MELBOURNE LIMITED | AU |
| N/043520 | 2009/09/30 | WYNN RESORTS HOLDINGS, LLC | US | CROWN MELBOURNE LIMITED | AU |
| N/043521 | 2009/09/30 | WYNN RESORTS HOLDINGS, LLC | US | CROWN MELBOURNE LIMITED | AU |
| N/043522 | 2009/09/30 | WYNN RESORTS HOLDINGS, LLC | US | CROWN MELBOURNE LIMITED | AU |
| N/043567 | 2009/09/30 | WYNN RESORTS HOLDINGS, LLC | US | Melco Crown Entertainment Limited | KY |
| N/043568 | 2009/09/30 | WYNN RESORTS HOLDINGS, LLC | US | Melco Crown Entertainment Limited | KY |
| N/043569 | 2009/09/30 | WYNN RESORTS HOLDINGS, LLC | US | Melco Crown Entertainment Limited | KY |
| N/043570 | 2009/09/30 | WYNN RESORTS HOLDINGS, LLC | US | Melco Crown Entertainment Limited | KY |
| N/043571 | 2009/09/30 | WYNN RESORTS HOLDINGS, LLC | US | Melco Crown Entertainment Limited | KY |
| N/043572 | 2009/09/30 | WYNN RESORTS HOLDINGS, LLC | US | Melco Crown Entertainment Limited | KY |
| N/043573 | 2009/09/30 | WYNN RESORTS HOLDINGS, LLC | US | Melco Crown Entertainment Limited | KY |
| N/043574 | 2009/09/30 | WYNN RESORTS HOLDINGS, LLC | US | Melco Crown Entertainment Limited | KY |
| N/043591 | 2009/10/05 | 澳門廠商聯合會 | MO | Mars, Incorporated | US |
| N/043628 | 2009/10/05 | N.V. Sumatra Tobacco Trading Company | ID | Qantas Airways Limited | AU |
| N/043634 | 2009/09/30 | 新葡京酒店管理股份有限公司 GRAND LISBOA - HOTÉIS E ADMINISTRAÇÃO, S.A./GRAND LISBOA - HOTEL ADMINISTRATION COMPANY LIMITED |
MO | CROWN MELBOURNE LIMITED | AU |
Contestação
| Processo n.º | Data
de entrada |
Nome do requerente | País/ /Território resid. |
Nome do oponente | País/Território resid. |
| N/040257 N/042616 |
2009/09/21 2009/10/05 |
Nature Vet Pty Ltd. GOODMAID CHEMICALS CORP. Sdn. Bhd. |
AU MY |
FERRING B.V. The Clorox Company |
NL US |
Rectificações
A pedido dos requerentes/titulares respectivos, rectifica-se o seguinte:
| Marca n.º | Item da rectificação | Onde se lê | Deve ler-se |
| N/6628 N/6633 |
Transmissão (B.O. da
RAEM n.º 23, II Série, de 4 de Junho de 2008) |
Arome Bakery (Hong Kong) Company Limited | AROME BAKERY (H.K.) COMPANY LIMITED |
| N/22777 N/22778 N/22779 N/22780 |
Sede de requerente (B.O. da RAEM n.º 31, II Série, de 2 de Agosto de 2006) | 3-2 Minatojimanakamachi 6-chome, Chuo-ku, Kobe-shi, Hyogo 650-8550 Japan | 3-2, 6-chome, Minatojima Nakamachi, Chuo-ku, Kobe 650-0046, Japan |
| N/36992 N/36993 N/36994 N/36995 |
Nome do titular (B.O. da RAEM n.º 5, II Série, de 4 de Fevereiro de 2009) | AROME BAKERY (H.K.) CO. LIMITED | AROME BAKERY (H.K.) COMPANY LIMITED |
| N/39122 N/39123 N/39124 N/39125 N/39126 N/39127 |
Sede de requerente (B.O. da RAEM n.º 5, II Série, de 4 de Fevereiro de 2009) | ......Australiana. | ......Austrália. |
| N/41347 | Figura da marca (B.O.
da RAEM n.º 13, II Série, de 1 de Abril de 2009) |
![]() |
![]() |
| N/43491 | Lista de produtos (B.O. da RAEM n.º 35, II Série, de 2 de Setembro de 2009) | Utensílios ...... bebidas. | Recipientes com isolamento térmico para alimentos e bebidas. |
| N/43718 | Lista de serviços e n.º de prioridade (B.O. da RAEM n.º 35, II Série, de 2 de Setembro de 2009) | ……;為旅客的酒店房間預留服務;…… M2858884-3 |
……;為旅客預留酒店房間的服務;…… 2858884 |
| N/44130 | Lista de produtos (B.O. da RAEM n.º 35, II Série, de 2 de Setembro de 2009) | Software informático para gestão de informação, gestão de registos, ...... | Software informático para fins de gestão de informação, gestão de registos, ...... |
Direcção dos Serviços de Economia, aos 15 de Outubro de 2009.
O Director dos Serviços, Sou Tim Peng.





