²Ä 16 ´Á
°Ó¼Ð¤§«OÅ@
¤G¹s¤@¤@¦~¥|¤ë¤G¤Q¤é¡A¬P´Á¤T
¸gÀÙ§½
³q§i
°Ó¼Ð¤§«OÅ@
N/52986 ... N/55030 - N/55031 ... N/55378
°Ó¼Ð½s¸¹¡GN/55031 Ãþ§O¡G 18
¥Ó½Ð¤H¡G®ý¦¿¤j¦ÛµM¾c·~¦³¤½¥q¡A³õ©Ò¡G¤¤°ê®ý¦¿¬Ù·Å¦{¥«ÀsÆW°Ïª¬¤¸Âí¤T´Á¤u·~°Ï¡C
°êÄy¡G¤¤°ê
¬¡°Ê¡G°Ó·~¤Î¤u·~
¥Ó½Ð¤é´Á¡G2011/03/10
²£«~¡G¥é¥Ö²¡F¤â´£¥]¡F®È¦æ¥]¡F³ÃѥΥָ˹¢¡F¥Ö»s±a¤l¡F¸Ê¥Ö¡F³Ê¡F¤â§ú¡F°¨¨ã¥Î¥Ö±a¡F»¸z¸z¦ç¡C
°Ó¼Ðºc¦¨¡G

°Ó¼Ð½s¸¹¡GN/55032 Ãþ§O¡G 25
¥Ó½Ð¤H¡G®ý¦¿¤j¦ÛµM¾c·~¦³¤½¥q¡A³õ©Ò¡G¤¤°ê®ý¦¿¬Ù·Å¦{¥«ÀsÆW°Ïª¬¤¸Âí¤T´Á¤u·~°Ï¡C
°êÄy¡G¤¤°ê
¬¡°Ê¡G°Ó·~¤Î¤u·~
¥Ó½Ð¤é´Á¡G2011/03/10
²£«~¡G¾c¡F¹B°Ê¾c¡F²D¾c¡F¹u¡F¾c©M¹uªºª÷Äݪþ¥ó¡FªA¸Ë¡F»â±a¡FªA¸Ë±a¡]¦çªA¡^¡FÄû¡F´U¡C
°Ó¼Ðºc¦¨¡G

°Ó¼Ð½s¸¹¡GN/55033 Ãþ§O¡G 36
¥Ó½Ð¤H¡G¨®¦ì¬Ó¦³¤½¥q¡A³õ©Ò¡G¿Dªù¼}©Ô¤h¤j°¨¸ô1-D¸¹ÀA¿³¤j·H¦a¤UE®y¡C
°êÄy¡G®Ú¾Ú¿Dªùªk¨Ò¦¨¥ß
¬¡°Ê¡G°Ó·~
¥Ó½Ð¤é´Á¡G2011/03/10
ªA°È¡G¤£°Ê²£¥X¯²¡F¸g¬ö¡F¤£°Ê²£¥N²z¡F¦í©Ð¥N²z¡F¤£°Ê²£¸g¬ö¡F¤£°Ê²£¦ô»ù¡F¤£°Ê²£ºÞ²z¡F¯²ª÷°U¦¬¡C
°Ó¼Ðºc¦¨¡G

°Ó¼Ð½s¸¹¡GN/55034 Ãþ§O¡G 36
¥Ó½Ð¤H¡G¨®¦ì¬Ó¦³¤½¥q¡A³õ©Ò¡G¿Dªù¼}©Ô¤h¤j°¨¸ô1-D¸¹ÀA¿³¤j·H¦a¤UE®y¡C
°êÄy¡G®Ú¾Ú¿Dªùªk¨Ò¦¨¥ß
¬¡°Ê¡G°Ó·~
¥Ó½Ð¤é´Á¡G2011/03/10
ªA°È¡G¤£°Ê²£¥X¯²¡F¸g¬ö¡F¤£°Ê²£¥N²z¡F¦í©Ð¥N²z¡F¤£°Ê²£¸g¬ö¡F¤£°Ê²£¦ô»ù¡F¤£°Ê²£ºÞ²z¡F¯²ª÷°U¦¬¡C
°Ó¼Ðºc¦¨¡G

°Ó¼Ð½s¸¹¡GN/55035 Ãþ§O¡G 36
¥Ó½Ð¤H¡G¨®¦ì¬Ó¦³¤½¥q¡A³õ©Ò¡G¿Dªù¼}©Ô¤h¤j°¨¸ô1-D¸¹ÀA¿³¤j·H¦a¤UE®y¡C
°êÄy¡G®Ú¾Ú¿Dªùªk¨Ò¦¨¥ß
¬¡°Ê¡G°Ó·~
¥Ó½Ð¤é´Á¡G2011/03/10
ªA°È¡G¤£°Ê²£¥X¯²¡F¸g¬ö¡F¤£°Ê²£¥N²z¡F¦í©Ð¥N²z¡F¤£°Ê²£¸g¬ö¡F¤£°Ê²£¦ô»ù¡F¤£°Ê²£ºÞ²z¡F¯²ª÷°U¦¬¡C
°Ó¼Ðºc¦¨¡G

°Ó¼Ð½s¸¹¡GN/55036 Ãþ§O¡G 5
¥Ó½Ð¤H¡GCelgene Corporation, 86 Morris Avenue, Summit, New Jersey 07901, United States of America.
°êÄy¡G¬ü°ê
¬¡°Ê¡G°Ó·~¤Î¤u·~
¥Ó½Ð¤é´Á¡G2011/03/10
²£«~¡G¤HÃþ¥Î§ÜÀùÃÄ«~¡C
°Ó¼Ðºc¦¨¡G

°Ó¼Ð½s¸¹¡GN/55037 Ãþ§O¡G 5
¥Ó½Ð¤H¡GCelgene Corporation, 86 Morris Avenue, Summit, New Jersey 07901, United States of America.
°êÄy¡G¬ü°ê
¬¡°Ê¡G°Ó·~¤Î¤u·~
¥Ó½Ð¤é´Á¡G2011/03/10
²£«~¡G¤HÃþ¥Î§ÜÀùÃÄ«~¡C
°Ó¼Ðºc¦¨¡G

°Ó¼Ð½s¸¹¡GN/55038 Ãþ§O¡G 5
¥Ó½Ð¤H¡G¤sªF¨Bªø»sÃĦ³¤½¥q¡A³õ©Ò¡G¤¤µØ¤H¥Á¦@©M°ê¤sªF¬ÙÛ]¿A¥«¤¤µØ¦è¸ô369¸¹¡C
°êÄy¡G¤¤°ê
¬¡°Ê¡G°Ó·~¤Î¤u·~
¥Ó½Ð¤é´Á¡G2011/03/10
²£«~¡G¤H¥ÎÃÄ¡F¤¤ÃÄ¡FÂåÃÄ»s¾¯¡FÂå¥Î¥Íª«»s¾¯¡F¤Æ¾ÇÃĪ«»s¾¯¡FÂå¥ÎÃįó¡F·L¥Íª«¥ÎÀç¾iª«½è¡FÂå¥Î®ðÅé¡FÀ¦¨à¹«~¡F°£¯ó¾¯¡F·À·L¥Íª«¾¯¡FÂå¥ÎÀç¾i²K¥[¾¯¡F®ø¬r¾¯¡FÁô§Î²´Ãè²M¼ä¾¯¡FÂå¥ÎÀç¾i«~¡F²b¤Æ¾¯¡FÃ~Âå¥ÎÃÄ¡F®ûÃIJGªº¯È¤yÁ¡¯È¡F¥~¬ì¼Å®Æ¡F¤ú¥Î¥ú¼ä¾¯¡F¤¤ÃijU¡Fºû¥Í¯À»s¾¯¡F³½¨xªo¡Fì®ÆÃÄ¡FÂå¥Î¥ÕÌÒ¹«~¡FÂå¥ÎÀç¾i¶¼®Æ¡FÂå¥Î§ZÁC¯×¡F¤H¥Î©MÃ~¥Î·L¶q¤¸¯À»s¾¯¡F¸ÉÃÄ¡]ÃÄ¡^¡FÃĪ«¶¼®Æ¡FÂå¥ÎÀç¾i¹«~¡F½Ã¥Í¤y¡C
°Ó¼Ðºc¦¨¡G

°Ó¼Ð½s¸¹¡GN/55039 Ãþ§O¡G 5
¥Ó½Ð¤H¡G½Ã§÷R & DºÞ²z¦³¤½¥q¡A³õ©Ò¡G¤é¥»ªF¨Ê³£¤å¨Ê°Ï¤p¥Û¤t4¤B¥Ø6µf10¸¹¡C
°êÄy¡G¤é¥»
¬¡°Ê¡G°Ó·~¤Î¤u·~
¥Ó½Ð¤é´Á¡G2011/03/10
²£«~¡GÂåÃÄ»s¾¯¡FÂå¥ÎÀç¾i¶¼®Æ¡FÂå¥ÎÀç¾i«~¡C
°Ó¼Ðºc¦¨¡G

°Ó¼Ð½s¸¹¡GN/55040 Ãþ§O¡G 30
¥Ó½Ð¤H¡G½Ã§÷R & DºÞ²z¦³¤½¥q¡A³õ©Ò¡G¤é¥»ªF¨Ê³£¤å¨Ê°Ï¤p¥Û¤t4¤B¥Ø6µf10¸¹¡C
°êÄy¡G¤é¥»
¬¡°Ê¡G°Ó·~¤Î¤u·~
¥Ó½Ð¤é´Á¡G2011/03/10
²£«~¡G«DÂå¥ÎÀç¾i²G¡F«DÂå¥ÎÀç¾i»I¡F«DÂå¥ÎÀç¾i¯»¡F«DÂå¥ÎÀç¾i½¦Ån¡F«DÂå¥ÎÀç¾i¤ù¾¯¡C
°Ó¼Ðºc¦¨¡G

°Ó¼Ð½s¸¹¡GN/55041 Ãþ§O¡G 32
¥Ó½Ð¤H¡G½Ã§÷R & DºÞ²z¦³¤½¥q¡A³õ©Ò¡G¤é¥»ªF¨Ê³£¤å¨Ê°Ï¤p¥Û¤t4¤B¥Ø6µf10¸¹¡C
°êÄy¡G¤é¥»
¬¡°Ê¡G°Ó·~¤Î¤u·~
¥Ó½Ð¤é´Á¡G2011/03/10
²£«~¡GµL°sºë¶¼®Æ¡C
°Ó¼Ðºc¦¨¡G

°Ó¼Ð½s¸¹¡GN/55042 Ãþ§O¡G 39
¥Ó½Ð¤H¡G³¯¤s®ü¡A³õ©Ò¡GBeco da Ilha Verde, n.º 62, 2-andar D, Industrial da Ilha Verde, Macau.
°êÄy¡G¤¤°ê
¬¡°Ê¡G°Ó·~
¥Ó½Ð¤é´Á¡G2011/03/10
ªA°È¡G¹B¿éªA°È¡Aª«¬yªA°È¡C
°Ó¼Ðºc¦¨¡G

ÃC¦â¤§n¨D¡G¶À¦â¡A¶Â¦â¡A¦p¹Ï©Ò¥Ü¡C
°Ó¼Ð½s¸¹¡GN/55043 Ãþ§O¡G 39
¥Ó½Ð¤H¡G³¯¤s®ü¡A³õ©Ò¡GBeco da Ilha Verde, n.º 62, 2-andar D, Industrial da Ilha Verde, Macau.
°êÄy¡G¤¤°ê
¬¡°Ê¡G°Ó·~
¥Ó½Ð¤é´Á¡G2011/03/10
ªA°È¡G¹B¿éªA°È¡Aª«¬yªA°È¡C
°Ó¼Ðºc¦¨¡G

ÃC¦â¤§n¨D¡G¶À¦â¡A¶Â¦â¡A¦p¹Ï©Ò¥Ü¡C
°Ó¼Ð½s¸¹¡GN/55044 Ãþ§O¡G 30
¥Ó½Ð¤H¡GKabushiki Kaisha Mary Chocolate Company, also trading as Mary Chocolate Co., Ltd., 1-14, Oomori Nishi 7-chome, Ota-ku, Tóquio, Japão.
°êÄy¡G¤é¥»
¬¡°Ê¡G°Ó·~¤Î¤u·~
¥Ó½Ð¤é´Á¡G2011/03/10
²£«~¡G¿}ªG²£«~¡F±a¸²µå°®ªºÄÑ¥]¤Î¤û¥¤³J¿|¡F¿|ÂI²£«~¡F¥©§J¤O¡Fµw»æ°®¡F»æ°®¡F¿}¶ô¡F¦è¬v®ß¿}Á÷¡]µ²´¹®ß¤l¡^¡C
°Ó¼Ðºc¦¨¡G

°Ó¼Ð½s¸¹¡GN/55055 Ãþ§O¡G 45
¥Ó½Ð¤H¡G°ê»Ú«OÃð¿Dªù¦³¤½¥q¡A³õ©Ò¡G¿Dªù¶Â¨FÀô¤¤µó¼sºÖ¦wªá¶é6®y5¼ÓAR¡C
°êÄy¡G®Ú¾Ú¿Dªùªk¨Ò¦¨¥ß
¬¡°Ê¡G°Ó·~
¥Ó½Ð¤é´Á¡G2011/03/11
ªA°È¡G¬°«OÅ@°]²£©M¤H¨¦w¥þªºªA°È¡B¨p¤H«OÃð¡BÅ@°e¡B¦w¥þ¤Î¨¾µs¡Bĵ³ø¨t²ÎªººÊ±±¡BªÀ¥æÅ@°e¡B°»±´¤½¥q¡B©]¶¡Å@½Ã¡B¶}«OÀIÂê¡B´M§ä¤H½Õ¬d¡BÅ@½Ã¶¤¡B²Õ´©v±Ð¶°·|¡Bªv¦w«O½Ã¡C
°Ó¼Ðºc¦¨¡G

ÃC¦â¤§n¨D¡Gª÷¦â¡B¶Â¦â¡B¶À¦â¡BÂŦâ¡B«C¦â¡A¦p¹Ï©Ò¥Ü¡C
°Ó¼Ð½s¸¹¡GN/55056 Ãþ§O¡G 3
¥Ó½Ð¤H¡Gl¥Í¦æ¦³¤½¥q¡A³õ©Ò¡G»´ä·s¬É¤¸®Ô§»·~¦èµó11¸¹¤¸®Ô¬ì§Þ¤¤¤ß12¼ÓB«Ç¡C
°êÄy¡G®Ú¾Ú»´äªk¨Ò¦¨¥ß
¬¡°Ê¡G°Ó·~¤Î¤u·~
¥Ó½Ð¤é´Á¡G2011/03/11
²£«~¡G¤W¥ú¾¯¡A¤W¥úÄú¡A¤W¥úÄú¡]¨T¨®¦Û¦æ¨®¡^¡A¤Wž¯¡]¬~¦ç¥Î¡^¡A¨Å²G¡A°®©Ê¬¡½§±½¤¯»¡A°®¬~¾¯¡A«G¥ú¤Î¬ã¿i¥Î»s¾¯¡A«G¥ú®B»I¡A«G¥úÄú¡A«G¥úÄú¡]¨T¨®¤Î¾¹¨ã¥Î¡^¡A«G¦â¤Æ¾Ç«~¡]¬~¦ç¥Î¡^¡A¤H¥Î¤Æ§©«~¡A¤H³y»®Æ¡A¤HÅé¥Î²M¼ä¾¯¡A¨Ï¨È³Â¥¬µo»¥Î»¯»¡A«OÀã²G¡A«OÀãÁ÷¡A«OÅ@¤Î¬ü¤Æ¥Ö½§¥h¨¤½èÁ÷¡A«OÅ@¥Ö½§¾¯¡A«OÅ@¥Ö½§²£«~¡A×¥Ò²£«~¡A×Å@ºëµØ²G¡A×±¾¯¡A×ÃCÁ÷¡AÓ¤H¥Î°£¯ä¾¯¡AÓ¤HÅ@²z¤Æ¤u²£«~¡AÓ¤H°£¯ä¾¯¡A°²«ü¥Ò¡A°²¤úÀ¿¥ú¾¯¡A°²¤ú²M¬~¾¯¡A°²¥Ò¤ù¡A°²·û¤ò¡A°²·û¤òÂH½¦¡A°²¾vÂH¦X¾¯¡A°²¾vÂH¶K¾¯¡A°·¯Ýªo¡A°·¯ÝÁ÷¡A³Ã¨ã©M¦aªO¥Î©ß¥ú¾¯¡A¥ú·Æ¾¯¡]¤W¼ß¡^¡A¤K¨¤¯õ»»ºë¡A¦A¥Í¾vÅ@²z²G¡A¥V«Cªo¡A§N®ð¾÷²M¬~¾¯¡A§NÁ÷¡A¨í±¥Û¡]®ø¬r«~¡^¡A¨íÄG¤ô¡A«cŽ«á¥Î²G¡A«cލm¡A°Êª«¤Æ§©«~¡A°Êª«¥Î¤Æ§©«~¡A°Êª«¥Î¬~º°¾¯¡A¤Æ§©¾¯¡A¤Æ§©«~¡A¤Æ§©«~²M¬~¾¯¡A¤Æ§©¬V®Æ¡A¤Æ§©´Ö¡A¤Æ§©¤ô¡A¤Æ§©¬~²G¡A¤Æ§©¥ÎÄq¯×¡A¤Æ§©¥Î«~¡A¤Æ§©¥Î¦¬Àľ¯¡A¤Æ§©¥Î§ö¤¯¨Å¡A¤Æ§©¥Î´Ö±ø¡A¤Æ§©¥Î´Öµ³¡A¤Æ§©¥Îªo¡A¤Æ§©¥Îªo¯×¡A¤Æ§©¥Îº}¥Õ¾¯¡]²æ¦â¾¯¡^¡A¤Æ§©¥Î¼í¾v¯×¡A¤Æ§©¥Î¥Ûªoὦ¡A¤Æ§©¥ÎÂH¦X¾¯¡A¤Æ§©¥Î¸Ë¹¢Åܦ⾯¡A¤Æ§©¥Î¹L®ñ¤Æ²B¡A¤Æ§©¥Î³·ªá»I¡A¤Æ§©µ§¡A¤Æ§©¯»¡A¤Æ§©Å@½§«~¡A¤Æ§©»¯»¡A¨ø§©¨Å²G¡A¨ø§©²G¡A¨ø§©¥Î«~¡A¨ø¥Ò¤ô¡A¥h´³Á÷¡A¥h¦Ã¾¯¡A¥h¦Ã²G¡A¥h¦Ã¯»¡A¥h¦Ã»I¡A¥hªo¾¯¡A¥hº£¾¯¡A¥hº{¤ô¡A¥hº{»s¾¯¡A¥hµk«~¡A¥h·ó¤ô¡A¥h½KÁ÷¡A¥h¦â¾¯¡A¥hÄú¤ô¡A¥h¨¤½è»I¡A¥h¨¤½èÁ÷¡A¥hÀY¥Ö¬~¾vÅS¡A¥hÃC®Æ»s¾¯¡A¤f®ð²M·s¾¯¡A¤f®ð²M·s¼QÅx¾¯¡A¤f¬õ¡A¤fµÄ²M»¾¯¡A¤fµÄÅ@²z«~¡]«DÂåÃĥΡ^¡A¦X¦¨ºëªo¡A¦X¦¨»®Æ¡A¦X¦¨»ºë¡A§t®ñ¤Æ§©«~¡A§t®ñ¼Q±¤ô¡A§t®ñ¬~¾v¤ô¡A§t®ñ¥Ö½§²M¼ä«~¡A§t®ñÅ@½§«~¡A§t®ñÅ@¾v¯À¡A§tîÅ»®Æ¡A®B±m¡A®Bªo¡A®B½uµ§¡A®B»I¡A 啫³í¤ô¡]ÀY¾v¥Î«~¡^¡A啫³í»I¡]ÀY¾v¥Î«~¡^¡A¾¹¨ã«G¥ú¤ô¡A¾¹¨ã«G¥ú¯»¡A¾¹¨ã«G¥úÄú¡A¼Q±¤ô¡A¼Q¾v¾¯¡A¼Q¾v½¦¡A¦aªO«G¥ú¤ô¡A¦aªO«G¥ú¯»¡A¦aªO«G¥úÄú¡A¦aªOÄú¡A¦aªO°_Äú¤ô¡A¦aªO¨¾·Æ²G¡A¦aªO¨¾·ÆÄú¡A¦a´à²M¬~¾¯¡A¦aÄú²M°£¾¯¡]¨ê²b¾¯¡^¡A§¡¿Å 啫³í¡]ÀY¾v¥Î«~¡^¡A¼W¥ÕÁ÷¡A¤ÑµMºëªo¡A¤ÑµMªáºë¡A¤ÑµM»®Æ¡A¤ÑµM»ºë¡A¤Ñªãµæºë¡A¤Ó¶§ªo¡A§¨§Jªo¡AÀ¦¨àªo¡AÀ¦¨àÅ@½§«~¡A©w«¬啫³í¡]ÀY¾v¥Î«~¡^¡A©w«¬¼QÃú¡]ÀY¾v¥Î«~¡^¡A©w«¬¤ô¡]ÀY¾v¥Î«~¡^¡A©w«¬»I¡]ÀY¾v¥Î«~¡^¡A³ÃѤμp©Ð²M¼ä¾¯¡A³ÃÑ©M¦aªO¥Î©ß¥ú¾¯¡A®a®x¬~¦ç¥Î«G¦â¤Æ¾Ç«~¡]¬~¦ç¡^¡A®a¥Î¼W«G¤Æ¾Ç»s«~¡]ÃC®Æ¡^¡]¬~¦ç¥Î¡^¡A®a¥Î§ÜÀR¹q¾¯¡A®a¥Î°£«¯¾¯¡A®a¥ÎÀR¹q¨¾¤î¾¯¡AÃdª«¥Î¤Æ§©«~¡AÃdª«¥Î¬~¤ò¤ô¡AÃdª«¥Î»ªi¡A¤u·~¥Î»®Æ¡A±a»¨ýªº¤ô¡A±a»¨ýªº¤ô¡]¤HÅé¥Î¡^¡A´Z©Ò²M¼ä¾¯¡A´Z©Ò¨¾¯ä¤Y¡A¼p©Ð²M¼ä¾¯¡A¼p©Ð°£ªo¾¯¡A±m§©¥Î«~¡A±mªo½¦¡A·L´`Àô¥h´³¬ü®e²G¡A·L¦åºÞ²ÓM±½¤¡A¦¨®M¤Æ§©¥Î¨ã¡A¤â×Å@Á÷¡A¤âÁ÷¡A§íµß¬~¤â¾¯¡A§íµß¬~¤â²G¡A§íµßÅ@¤â½¤¡A§Ü½K²´Á÷¡A©ß¥ú¨Å»I¡A©ß¥ú¥Îª¿Ä¦¥Û¡A©ß¥ú¥Î¯È¡A©ß¥úÄú¡A©ß¥ú»s¾¯¡A©ß¥úÅK¤¦¡A«÷ªá¦aªOÄú¡A«ü¥Ò«O¾iªo¡A«ü¥Ò«O¾i²G¡A«ü¥ÒÀ¿¥ú¾¯¡A«ü¥Òªo¡A«ü¥ÒÀç¾iªo¡A«ü¥ÒÅ@¾¯¡A«ö¼¯ªo¡A«ö¼¯»I¡A«ö¼¯Á÷¡A´§µoÆP¡]®ò¤ô¡^¡]¥h¦Ã¾¯¡^¡A´§µoÆP¡]®ò¡^¡]¥h«¯¾¯¡^¡A¼¯µ·¡]ÀY¾v¥Î«~¡^¡A¾×·¬Á¼þ²M¬~¾¯¡AÀ¿«G¾¯¡AÀ¿«G¥Î¾¯¡AÀ¿«G¯È¡]®ûÀ¿«G¾¯¡^¡AÀ¿«G»s¾¯¡AÀ¿¬~·»²G¡AÀ¿»È¾¹ªº¯»¥½¡AÀ¿»É¤ô¡AÀ¿¾c»I¡A¦¬¤ò¤Õ¬¡½§¤À¸Ñ¦â¯ÀÁ÷¡A¦¬¤ò¤Õ¬¡½§Á÷¡A¦¬ºò¤ô¥÷±Á÷¡A¦¬ÁY¤ô¡A¾ã¾v²G¡A¤éÁ÷¡A©úÄs¥Û¡]®ø¬r¾¯¡^¡A±ßÁ÷¡A·x¸}Á÷¡A·t½H¦¬¤ò¤Õ±½¤¡A·t½H»I¡]«DÂåÃĥΡ^¡A·t½HÅ@²z¥Î«~¡]«DÂåÃĥΡ^¡A¦±¾v²G¡A§ü¤ì»ºëªo¡A§ö¤¯ªo¡A§ö¤¯ªÎ¨m¡AªMºÐ²M¼ä¾¯¡A¬eòX»ºëªo¡A¬V·û¤òªo¡A¬V¾v¾¯¡A¬V¾v©w¦â¾¯¡A¬V¾v¥Î«~¡A¬V¾v¥ÎÂù®ñ¨Å¡A¬V¾v»I¡A¬X³n±½¤¡A¬X¶¶¾¯¡A®Þ§©¥Î«~¡A®Þ§©¥Îªo¡A®Þ§©¥Î·Æ¥Û¯»¡A®Þ§©¥ÎÃC®Æ¡A´Öµ³¡]¤Æ§©¥Î¡^¡A´Óª«¸¤lµo¥ú¾¯¡A¾÷¾¹²M¬~¾¯¡A¾÷¾¹²M¬~¼W±j¾¯¡AÀÈ»ªo¡AÂfÂcªo¡AÂfÂc»ºëªo¡A¦¸´â»Ä¹[¡A¤ò¾v±²¦±¾¯¡A¤ò¾v²æ¦â¾¯¡A®ò¤ô¡]´§µo©ÊÆP¡^¡]¥h«¯¾¯¡^¡A¤ô¥÷±½¤¡A¤ô¤À«O¾i¾¯¡A¤ôªGÀ¿«G¾¯¡A¤ôªG»ºë¡A¦½¨¬¨m¡A¨T¨®¤W¥ú¾¯¡A¨T¨®«G¥ú¤ô¡A¨T¨®«G¥ú¯»¡A¨T¨®«G¥úÄú¡A¨N¯D¨Å¡A¨N¯D²G¡A¨N¯D¥Î«~¡A¨N¯Dºë¡A¨N¯DÅS¡Aªo©Ê¬¡½§±½¤¯»¡Aªwªj¾v½¦¡A¬~¤â¾¯¡A¬~¤â²G¡A¬~¤â¨m²G¡A¬~¤â»I¡A¬~¤âÅS¡A¬~À¿¡]¥h¦Ã¡^¤Î¬ã¿i¥Î»s¾¯¡A¬~º°¤W¥ú¯»¡A¬~º°¾¯¡A¬~º°¾¯¡]¤£§tÃÄ¡^¡A¬~º°¥Î¤Æ§©«~¡A¬~º°¥Î¨m¾ð¥Ö¡A¬~¼äºë¡A¬~¾þ¥Î¤Æ§©«~¡A¬~¤ú¥Î»s¾¯¡A¬~¥Ò¤ô¡A¬~Äú¤ô¡A¬~¦ç¤W¥ú¾¯¡A¬~¦ç¤Wž¯¡A¬~¦ç¾¯¡A¬~¦ç®ûªw¾¯¡A¬~¦ç²G¡A¬~¦ç²y¡A¬~¦ç²£«~¡A¬~¦ç¥Î¤Wž¯¡A¬~¦ç¥Î¥hº{¾¯¡A¬~¦ç¥ÎÀ¿«G¾¯¡A¬~¦ç¥Î¬X¶¶¾¯¡A¬~¦ç¥Î²M¼ä¾¯¡A¬~¦ç¥Î²M¼äª««~¡A¬~¦ç¥Îº}¥Õ¾¯¡A¬~¦ç¥Î¼ß¯»¡A¬~¦ç¥Î¾ý¯»¡A¬~¦ç¥Î¨mªo¡A¬~¦ç¥Î¬ã¿i¾¯¡A¬~¦ç¥ÎÄú¡A¬~¦ç¯»¡A¬~¦ç»I¡A¬~¦çÄú¡A¬~±¨Å¡A¬~±¨Å¡A¬~±¨m¡A¬~±»I¡A¬~ÀY¤ô¡A¬~ÀY¤ôºëªo¡A¬~¾v¨Å¡A¬~¾v¾¯¡A¬~¾v¤ô¡A¬~¾v²G¡A¬~¾v¥Î¾¯¡A¬~¾v¯»¡A¬~¾vºë¡A¬~¾v»I¡A¬~¾vÅS¡A¬¡¤Æ¦¬¤ò¤Õ¦¬ªo±½¤¡A¬¡¤Æ±Ó·P¬~±Á÷¡]¤£§tÃÄ¡^¡A¬¡¤Æ¬~±Á÷¡A¬¡²ÓM¤éÁ÷¡A¬¡²ÓM±ßÁ÷¡A¬¡²ÓM²´Á÷¡A¬¡²ÓMÀVÁ÷¡A¬¡½§¤À¸Ñ¦â¯À¤ô¡A¬¡½§¤À¸Ñ¦â¯ÀÁ÷¡A¬¡½§¯S±j¤À¸Ñ¦â¯À«ö¼¯Á÷¡A¬¡½§¿i¦â¯À¯»¡A¯B¥Û¡A¯D«Ç²M¼ä¾¯¡A¯D«Çºëªo¡A¯Dªo¡A¯D²G¡A¯DÆQ¡A®û¤Æ§©«~¥Îªº½Ã¥Í¯È¡A®û¤Æ§©«~ªº½Ã¥Í¯È¡A®û¤Æ§©¤ôªºÁ¡¯È¡A®û¬~¦çªA»s¾¯¡A®û²M¼ä¾¯ªº²M¼ä¥¬¡A®ø¬r´Ö¡]¤Æ§©¥Î¨ã¡^¡A®ø¬r¨m¡A²G´¹¿Ã¹õ²M¼ä¾¯¡A²O¯DÅS¡A²b¤Æ¼ß²G¡A²b¤ÆºëµØ¨Å²G¡A²b¤Æ¦Ù½§ªwªjÁ÷¡A²b¥Õ¥ú±mÁ÷¡A²`¼h²M¼ä 啫³í¡A²`¼h²M°£¾¯¡A²`¼h¼ä½§¾¯¡A²`¼h¼ä½§¥Î«~¡A²`¼h¼ä½§Á÷¡A²M¼ä¥Î啫³í¡A²M¬rªÎ¨m¡A²M¬~¾¯¡A²M¬~¼oº޹D¥Î»s¾¯¡A²M¬~¥Î¬~º°ÆP¡A²M¬~¥Î¤õ¤s¦Ç¡A²M¼ä°²¤ú¥Î»s¾¯¡A²M¼ä¾¯¡A²M¼ä¾¯¡]¤Æ§©«~¡^¡A²M¼ä¥hº{¥ÎÀã¯È¤y¡A²M¼ä¤Î¬ã¿i¥Î»s¾¯¡A²M¼ä 啫³í¡A²M¼ä¼QÃú¡A²M¼ä¥¤¡A²M¼ä¥Î啫³í¡A²M¼ä¥Îªo¡A²M¼ä¥Î¤õ¤s¦Ç¡A²M¼ä¥Î¥Õ°î¡A²M¼ä¥Î¯»¥½¡A²M¼ä¥ÎÅ@½§ÅS¡A²M¼ä¨m¡A²M¼ä¥Ö½§²£«~¡A²M¼ä¯»¥½¡A²M¼äºë¡A²M¼ä»s¾¯¡A²M¼äÁ÷¡A²M²n¾¯¡A´îªÎªo¡]«DÃĥΡ^¡A´îªÎ¥Î¤Æ§©«~¡A´îªÎ¥Î¤Æ§©«~¡]«DÃĥΡ^¡A´îªÎ¯»¾¯¡]«DÃĥΡ^¡A´îªÎÁ÷¡]«DÃĥΡ^¡A·Å¬uªw¾¯¡A´þ¼í¼ä½§¾¯¡A´þ¼íºëµØ¨Å²G¡A´þ¾i²´Á÷¡A´þ¾iÁ÷¡Aº}º{¾¯¡Aº}¼ä¾¯¡Aº}¥Õ¾¯¡]¬~¦ç¥Î¡^¡Aº}¥Õ¤ô¡Aº}¥ÕÆP¡Aº}¥ÕĬ¥´¡Aº}¥ÕÁ÷¡Aº}¥ÕÆQ¡Aº}¯»¡Aº¤¤f¤ô¡A¼ä´Z¾¯¡A¼ä´Z²G¡A¼ä¤â 啫³í¡A¼ä½§¨Å¡A¼ä½§¨ÅÁ÷¡A¼ä½§«~¡A¼ä½§²G¡A¼ä½§¯»¥½¡A¼ä½§»I¡A¼ä½§Á÷¡A¼ä½§ÅS¡A¼ä±¨Å¡A¼ä±ªd¡]µL»®Æ¡^¡A¼ä¾¦¾¯¡A¼í¡]Å@¡^½§¾®½¦¡A¼í®Bªo¡A¼í®B»I¡A¼í¤â»I¡A¼í¤âÁ÷¡A¼í«ü²G¡A¼í½§¨Å²G¡A¼í½§¤ô¡A¼í½§ªo¡A¼í½§²G¡A¼í½§»I¡A¼í½§Á÷¡A¼í½§ÅS¡A¼íÁy¾¯¡A¼í¨¬Á÷¡A¼í¾v¨Å¡A¼í¾v¼QÃú¡A¼í¾v»I¡A¼í¾vÅS¡A¼íŽÄú¡AÀ㯻¡AÀã¯È¤y¡A¯Q¾v¨Å¡AÖKªo¾¯¡]¬ü¾v¥Î«~¡^¡AÖKªo»I¡]¬ü¾v¥Î«~¡^¡AµLÁC¦ç»â¼ä²b¾¯¡AÂȮơAÂÈ»]»s¾¯¡]»®Æ¡^¡AÂÈ»]»s¾¯¡]»®Æ¡^¡AÂȦç¯ó»¤ô¡AÂȦç¯ó»ªo¡AÂÈ»ªo¡A¿S·û¤ò²G¡A¿S¾v¤¤©M¾¯¡A¿S¾v¾¯¡A¿S¾v²G¡AÀç¾i¬¡½§ÅS¡AÀç¾i±½¤¡A²n½§¤ô¡A²n½§¤ô¡]ÅS¡^¡A²n¨¯»¡AÀð¯È¬~º°¾¯¡A¤ú¥Î©ß¥ú¾¯¡A¤ú¥Îº}¥Õ¾®½¦¡A¤ú¯»¡A¤ú»I¡A¤ú»I¤Î¬~¤ú¥Î»s¾¯¡A¤ú»I¤Î²M¼ä»s¾¯¡A¤ú¾¦Å@²z¥Î«~¡]«DÂåÃĥΡ^¡Aª´ºÀªo¡A¬Á¼þÀ¿²b¾¯¡A¬Á¼þ¤ô¡A¬Á¼þ²M¼ä¾¯¡A¬Á¼þ¬â¥¬¡A¬Á¼þ¬â¯È¡A¬Ã¯]»I¡A¬Ã¯]Á÷¡Aµ[¬Ä¡]»¤ô¡^¡A¥Í¾v¤ô¡A¥Í¾vªo¡A¥Î©ó²M¼ä©M°£¹ÐªºÅø¸ËÀ£ÁYªÅ®ð¡Aµe¬Ü¹]µ§¡A·ó¤l¤ô¡A·ó¤l¯»¡A¥Õ°î¯»¡A¦Êªá»¡]»®Æ¡^¡A¨m¯»¡A¥Ö½§¼W¥Õ¨Å»I¡A¥Ö½§¼W¥Õ¨ÅÁ÷¡A¥Ö½§¼W¥ÕÁ÷¡A¥Ö½§²M¬~¯»¥½¡A¥Ö½§²M¼ä¥Î¾¯¡A¥Ö½§²M¼äÅS¡A¥Ö¯ó«OÅ@¾¯¡A¥Ö²«OÅ@¾¯¡]¤W¥ú¡^¡A¥Ö²ªo¡A¥Ö²¬~º°¾¯¡A¥Ö²²M¼ä¾¯¡A¥Ö²º}¥Õ»s¾¯¡A¥Ö²¥ÎÄú¡A¥Ö²»I¡A¥Ö²Äú¡A¥Ö²¨¾»G¾¯¡]©ß¥ú¾¯¡^¡A¥Ö¾c«G¥ú¾¯¡A¿d¬~«Ç¬~º°¨Å²G¡A¿d¬~«Ç¥Î¬~º°¨Å¾¯¡Aª½¾v»I¡A¬Ù´³±½¤¡A¬Ü¤ò¤Æ§©«~¡A¬Üµ§¡A²´¼v»I¡A²´¼vÁ÷¡A²´½u²G¡A²´½uµ§¡A²´½¤¡A²´³¡«O¾i«~¡]«DÂåÃĥΡ^¡A²´³¡ 啫³í¡A²´³¡ºëµØ¯À¡]«DÂåÃĥΡ^¡A²´³¡Å@²z¥Î«~¡]«DÂåÃĥΡ^¡A²´Á÷¡A·û¤ò¥Î¤Æ§©»s¾¯¡A·û¤ò¥Îª«®Æ¡A·û¤òµ§¡A·û¤ò»I¡A¬â¥¬¡A¬â¥¬¡]¿iÀ¿¥Î¥¬¡^¡A¬â¯È¡A¬ã¿i¾¯¡A¬ã¿i¥Î§÷®Æ¤Î¨ä»s¾¯¡A¬ã¿i»I¡AºÒ¤Æª¿¡]¬ã¿i®Æ¡^¡A¿i¥ú¥Î¥ÛÀY¡A¿i¥ú¥Û¡A¿i¥ú»s¾¯¡A¿i¤M¥Ö±a¥Î³n»I¡A¿i§Q»s¾¯¡A¿i«cޤM¥Î³n»I¡A¿i¬â¬~±¨Å¡A¿i¬â»I¡A²½¯«¥Îªº»¡A¬ì¶©»¤ô¡A¯»¨ëÁ÷¡A¯»¨ëÅS¡A¯»©³¡]¤Æ§©«~¡^¡A¯»±ø¡]¤Æ§©«~¡^¡A¯»»æ¡]¤Æ§©«~¡^¡Aºëªo¡AºëµØ²G¡]¤Æ§©«~¡^¡AºëµØ¯À¡]¤Æ§©«~¡^¡A¯¼Â´«~¤W¥ú¨m¡AµµÃ¹à¬¡]»¤ô¡^¡A²ÓM¦¬ºò±½¤¡A²ÓM¤ò¤Õ×Å@²G¡A²ÓM¤ô¥÷¤éÁ÷¡A²ÓM¤ô¥÷±ßÁ÷¡A²ÓM¤ô¥÷¬¡½§²G¡A²ÓM¤ô¥÷²´Á÷¡A´ª«¬X³n¾¯¡]¬~¦ç¥Î¡^¡A´ª«³n¤Æ¾¯¡]¬~¦ç¥Î¡^¡A¦Ïµ³¬~º°¾¯¡A¬ü¤Æ¥Ö½§²£«~¡A¬ü®e¤Æ§©«~¡A¬ü®e¥Î¶K¥¬¦¡±½¤¡A¬ü®e¥Î±½¤¡A¬ü®eÅ@½§¥Î«~¡A¬ü®eÅ@¾v¥Î«~¡A¬ü®e±½¤¡A¬ü®e±½¤¤Æ§©«~¡A¬ü¥Ò¥Î«~¡A¬ü¥Õ¤Æ§©¤ô¡A¬ü¥Õ´«½§²£«~¡A¬ü¥Õ¼ß¡A¬ü¥Õµo¥úÁ÷¡A¬ü¥Õ¯»¡A¬ü¥ÕºëµØ¨Å²G¡A¬ü¥Õ»I¡A¬ü¥Õ¸ÉÀã±½¤¡A¬ü¥Õ¸ÉÀã±Á÷¡A¬ü¥Õ¨¤½è¨N¯D¨Å¡A¬ü¥ÕÅ@½§¨Å¡A¬ü¥ÕÅ@½§«~¡A¬ü¥ÕÅ@½§Á÷¡A¬ü¥ÕÁ÷¡A¬ü¥ÕÅS¡A¬ü¥Õ±½¤¡A¬ü¨Á÷¡A¬üÅ齤¡A¬ü¾v¥Î«~¡A¬ü¾vÅ@²z«~¡A¬ü¾¦¥Î«~¡A¦Ù½§ºëµØ²G¡]«DÂåÃĥΡ^¡A¦Ù½§Å@²z²£«~¡]«DÂåÃĥΡ^¡AªÎ 皀¡AªÎ¨m¡]¶ô¡^¡A¯Ú¯×¡A²æ¤ò¾¯¡A²æ¤ò»I¡A²æ¤ò»s¾¯¡A²æ¯×¥ÎªQ¸`ªo¡A²æ¾v¾¯¡A¸}³¡Å@²z¥Î«~¡]«DÂåÃĥΡ^¡A»IÁ÷¡A¦Û¦æ¨®¤W¥úÄú¡AªâªÚ³U¡]°®ªáä»P»®Æªº²V¦Xª«¡^¡Aªáºë¡]»®Æ¡^¡AªáÅS¤ô¡Aªá»®Æì®Æ¡AªÚ»¾¯¡AªÚ»¾¯¡]»ºëªo¡^¡A[²úªo¡A¯ù¯D¥]¡A¯ó²ù´þ¾i¼í½§Á÷¡A 萜²mÖL¡]ªÚ»ªo¡^¡A½ªG¬~¼ä²G¡AÁ¡²üªo¡]ªÚ»ªo¡^¡AÂȦç¯ó»¤ô¡AÂȦç¯ó»ªo¡AÃĨm¡AĬ¥´ÆP²G¡A³J¿|½Õ¨ý»®Æ¡]»ºëªo¡^¡A¦çª«¬X¶¶¾¯¡AµôÁ_¥ÎÄú¡A¸Ë¹¢¥Ò±¥Î«~¡A»s»®Æ»¤ô¥Îªo¡A¸Ñ¦â¯À±½¤¡AÅ@®Bªo¡AÅ@®B»I¡AÅ@®BÁ÷¡AÅ@¤â»I¡AÅ@¤âÁ÷¡AÅ@²z²G¡AÅ@²´¾®½¦¡AÅ@²´²G¡AÅ@²´Á÷¡AÅ@½§¨Å¡AÅ@½§¾®½¦¡AÅ@½§«~¡AÅ@½§ªo¡AÅ@½§¬~±¨Å¡AÅ@½§²G¡AÅ@½§²M¼ä¥Î«~¡AÅ@½§¥Î¾¯¡AÅ@½§¥Î¤Æ§©¾¯¡AÅ@½§¥Î¼í¾v¯×¡AÅ@½§ºëµØ»I¡AÅ@½§ºëµØÁ÷¡AÅ@½§»I¡AÅ@½§Á÷¡AÅ@½§±½¤¡AÅ@½§±Á÷¡AÅ@»â½¤¡AÅ@¾v¨Å¡AÅ@¾v¾¯¡AÅ@¾v©w«¬¨Å¾¯¡AÅ@¾v¤ô¡AÅ@¾vªo¡AÅ@¾v²G¡AÅ@¾v¯À¡AÅ@¾vÁ÷¡AÂׯݨŲG¡AÂׯݯ»¾¯¡AtÂ÷¤l»I¡A¶K¥Ò½¦¤ô¡A°_º{¤ô¡A¶W®ñ¤Æª«ª[¤Æ»Ã¯À¼í½§»e¡A¨¬×Å@Á÷¡A¨¬³¡²M¼ä²G¡A¨Åé¨Å²G¡A¨Åé«ö¼¯¥Î»ªo¡A¨Åé´þ¼íÁ÷¡A¨Åé¥Î¬ü¥Õ¸ÉÀã²£«~¡A¨®¥Î§N®ð²M¬~¾¯¡A¨®¥Î¥hº{¤Î¬ã¿i¥Î»s¾¯¡A¨®¥ÎÀ¿«G¾¯¡A¨®¥Î¤ô½c²M¬~¾¯¡A¨®¥Î²M¼ä¾¯¡A¨®¥Î¬Á¼þ²M¼ä¾¯¡A³n¤Æ¾¯¡A³n¤Æ¦Ù½§¤ô¡A³n¤Æ¦Ù½§±½¤¡A³z©ú®B»I¡A³q´ë¾¯¡A³y«¬ 啫³í¡]ÀY¾v¥Î¡^¡A³y«¬¼QÃú¡]ÀY¾v¥Î¡^¡A³y«¬ªwªj¡]ÀY¾v¥Î¡^¡A³y«¬ªd¡]ÀY¾v¥Î¡^¡A³y«¬¾v½¦¡]ÀY¾v¥Î¡^¡A»Ã¯À¤J¯D¾¯¡AîÅ»®Æ¡Aª÷è¬â¡Aª÷è¬â¡]¬ã¿i¥Î¡^¡Aª÷ÄݲM¼ä¾¯¡Aª÷ÄݺҤƪ¿¡]¬ã¿i®Æ¡^¡Aª÷¿û¾T¡]¬ã¿i®Æ¡^¡A¾Tº{²M°£¾¯¡A¨¾±Ó·P«OÀãÅ@½§²G¡]«DÂåÃĥΡ^¡A¨¾±Ó·P¼ä½§²£«~¡]«DÂåÃĥΡ^¡A¨¾±Ó¤ô¥÷²ÓM²G¡]«DÂåÃĥΡ^¡A¨¾±ÓÁ÷¡]«DÂåÃĥΡ^¡A¨¾ÅΨŲG¡A¨¾Åξ¯¡A¨¾Åξ¯¡]¤Æ§©«~¡^¡A¨¾ÅΤô¥÷Á÷¡A¨¾ÅΪo¡A¨¾Å⣫~¡A¨¾ÅÎÁ÷¡A¨¾ÅÎÅS¡A¨¾¦½¾¯¡]¤Æ§©«~¡^¡A¤î¦½¾¯¡A¨¾¦½ªÎ¨m¡A¨¾½K»I¡A¨¾½KÁ÷¡A¨¾²æ¾v¬~¾vÅS¡A¨¾°I¦ÑÀç¾iªo¡]«DÂåÃĥΡ^¡A¨¾µõ´þ¼í¥Î«~¡]«DÂåÃĥΡ^¡A°£«ü¥Òªo»s¾¯¡A°£¦½¤ò¥ÎÄú¡A°£¦½ªÎ¨m¡A°£ªo¾¯¡A°£½KÁ÷¡A°£¯äªÎ¨m¡A°£Äú¥ÎªQ¸`ªo¡A°£ù×»s¾¯¡AÂù®ñ¥¤¡]¤Æ§©«~¡^¡A³·ªá»I¡]¤Æ§©«~¡^¡A¹q¾¹ªí±²M¼ä¾¯¡A¹q¸Ü²M¼ä¾¯¡A¹q¾v¤ô¡A«D¥Í²£¾Þ§@©MÂå¥Îªº¥h«¯¾¯¡A«D¥Í²£¹Lµ{¤¤¥Îªº²æ¯×¾¯¡A«DÃĥꤤf¾¯¡A«DÂå¥Î¨N¯DÆQ¡A«DÂå¥Îº¤¤f¾¯¡A«DÂå¥Îº¤¤f¤ô¡A«DÂå¥Î 潄¤f¾¯¡A±½¤¡A±½¤¯»¡A±³¡²M¼ä²G¡A±Á÷¡A±Á÷¡]¤Æ§©«~¡^¡A¾c¦K¥ÎÄú¡A¾cÀ¿«G¾¯¡A¾cªo¡A¾c½uÄú¡A¾cÄú¡A¹w¨¾³¶´³±½¤¡]«DÂåÃĥΡ^¡AÀY¾v¼QÃú¡AÀY¾v©w«¬Ãúµ·¡AÀY¾v¥Î¤Æ§©«~¡AÀY¾vÅ@²z¾¯¡]«DÂåÃĥΡ^¡AÀY¾vÅ@²z¥Î«~¡]«DÂåÃĥΡ^¡AÀV½¤¡AÀVÁ÷¡A¶¼®Æ¥Î»®Æ¡]»ºëªo¡^¡A¶¼®Æ¥Î»ºë¡]»ºëªo¡^¡A»¡A»®Æ¡A»®Æ¡]¤Æ§©«~¡^¡A»®Æ¥ÎÁ¡²ü¡A»®Æºëªo¡A»¤ì¡A»ÂfÂcªo¡A»¤ô¡A»¤ôºë¡A»¤ô»®Æ¡A»ªo¡A»¨m¡A»¨m»ºë¡A»ºë¡A»ºëªo¡A»¯ó¾J¡A»ÂÈ¡A»ÂȺëªo¡A»ÅéÅS¡A°©½¦ì±½¤¡A°©½¦²´Á÷¡AÅ黾¯¡A¾v«¬Å@²z²£«~¡A¾v§Àªo¡A¾v±m¡A¾v¤ô¡A¾vªo¡A¾v½¤¡A¾v½¦¡A¾vÄú¡A¾vÁ÷¡AÄGެV®Æ¡AÄGŽ¥ÎÄú¡AÅe»¡]»®Æ¡^¡A³Â¥¬ÂÈ»§ô¡A¶À¼Ìªoºë¡C
°Ó¼Ðºc¦¨¡G

°Ó¼Ð½s¸¹¡GN/55057 Ãþ§O¡G 5
¥Ó½Ð¤H¡Gl¥Í¦æ¦³¤½¥q¡A³õ©Ò¡G»´ä·s¬É¤¸®Ô§»·~¦èµó11¸¹¤¸®Ô¬ì§Þ¤¤¤ß12¼ÓB«Ç¡C
°êÄy¡G®Ú¾Ú»´äªk¨Ò¦¨¥ß
¬¡°Ê¡G°Ó·~¤Î¤u·~
¥Ó½Ð¤é´Á¡G2011/03/11
²£«~¡G¤T´â¥ÒÖJ¡A¤T¸K¥ÒÖJ¡A¤¤°ê¤H°Ñ»s«~¡A¤¤¦¡Àç¾i¹«~¡]ÃĥΡ^¡A¤¤¦¡Àç¾i¶¼«~¡]ÃĥΡ^¡A¤¤¦¡ÂåÃÄÀç¾i«~¡A¤¤¼Ï¯«¸g¨t²Î¥ÎÃÄ¡A¤¤¼Ï¯«¸g¨t²Î¥ÎÃľ¯¡A¯óÃÄ¡A¤¤¯óÃÄ»I¡A¤¤¯óÃÄÃĪo¡A¤¤¯óÃÄ»s¦¨«~¡A¤¤ÃĦ¨ÃÄ¡A¤¤ÃĦ¨ÃĤfªA²G¡A¤¤ÃĦ¨ÃĨR¾¯¡A¤¤ÃĦ¨ÃÄ»I¥¬¡A¤¤ÃÄ´²¡A¤¤Ãħ÷´ö¥]¡A¤¤ÃĨN¯DÅS¡A¤¤ÃĪo¡A¤¤ÃIJ´ºw¾¯¡A¤¤ÃÄÃħ÷¡A¤¤ÃÄÃÄ»I¡A¤¤ÃÄÃİs¡A¤¤ÃÄ»s¾¯¡A¤¤ÃÄ»s¯»¡A¤¤ÃĶK¡A¤¤Ãİs»s¾¯¡A¤¤Ãͼ¤ù¡A¨Å¿}¡A¨Å¯×¡A°®Å~Ãľ¯¡A°®»sÃĥεߡA¤H°Ñ¡A¤H°Ñ»s«~¡]¤fªA²G¡^¡A¤H°Ñ»s«~¡]¤ù¾¯¡^¡A¤H°Ñ»s«~¡]¯»¾¯¡^¡A¤H°Ñ»s«~¡]Áû²É¾¯¡^¡A¤H°ÑÆFªÛÌU¤l¯»¡]Ãĥι«~¡^¡A¤H¤u¨üºë¥Îºë²G¡A¤H¥Î¤¤ÃÄ»s¾¯¡A¤H¥Î©MÃ~¥Î·L¶q¤¸¯À»s¾¯¡A¤H¥Î§½³¡©Ê§ÜÅðµßÃÄ«~¡A¤H¥Î·L¶q¤¸¯À»s¾¯¡A¤H¥Î±þµß¾¯¡A¤H¥Î¥Íª«»s¾¯¡A¤H¥Î¬Ì]¡A¤H¥Î²üº¸»X¡A¤H¥ÎÃÄ¡A¤H¥ÎÃÄ«~¡A¤H¥ÎÃĪo¡A¤H¥Î¨¾°A²G¡A¤H¥ÎÅX°A¶K¤ù¡A¥N¥Î¦å¼ß¡A¥HÄqª«½è¬°¥Dªº°·±d¹«~¸É¥R¾¯¡A¥Hºû¥L©R¬°¥Dªº°·±d¹«~¸É¥R¾¯¡A¦÷º¿¦å²y³J¥Õ»s¾¯¡A«K¯µµÎ½w¾¯¡A«O°·¯ù¥]¡]¤¤¯óÃÄ¡^¡A°²¤ú¥Î²¡®Æ¡A°²¤úÂH¦X¾¯¡A°²¤úÂH½¦¾¯¡A°·±dÀç¾i¹«~¡]ÂåÃĥΡ^¡A°·±d¸É«~¡]¤¤¯óÃÄ¡^¡A°·±d¹«~²K¥[¾¯¡]Âå¥Î¡^¡A°·¯«¸g¾¯¡A¶Ê¥Í¾¯¡A¶Ë··P«_»s¾¯¡A¶Ë·ªo¡A§K¬Ì¸ÕÅç¥ÎÃÄ«~¡A§K¬Ì½Õ¸`Ãľ¯¡A¤ºªA¤¤¦¨ÃÄ«~¡A¤ºªA«O°·ÃĤY¡]Âå¥Î¡^¡A¤ºªA¤Î¥~¥ÎÃİs¡A¦B½c¥Î§l¨ý¥]¡A¦B½c°£¯ä¾¯¡]¥h¨ý¾¯¡^¡Aá¶Ë¥ÎÃľ¯¡Aá¶Ë¥ÎÃÄ»I¡Aá¶ËÃÄ»I¡Aá½H»s¾¯¡A¥X¤ú¾¯¡A¤ÀªR¤ÎÂå¾Ç¥Îµ}ÄÀÃľ¯¡A§Q§¿¾¯¡A§U®ø¤Æ¤§¯Ø®q¿E¯À¸É¥R¾¯¡A°Êª«¥Î§tÃĩʬ~º°¾¯¡A°Êª«¥Î±þµß¾¯¡A°Êª«¥Î®ø¬r¾¯¡A°Êª«¥ÎÃÄ«~¡A°Êª«¥Î½Ã¥Í»s¾¯¡A°Êª«¥Î¨¾±H¥ÍÂήM°é¡A°Êª«¥Î¨¾±H¥ÍÂÎÀV°é¡A°Êª«¿á¥Î½¦¦X¾¯¡A°Êª«¿á¥Î½¦ÂH¾¯¡A¥] 紥Á^±a¡A¥]²Ï¶Ë¤f¥ÎÁ^±a¡A¤Æ¾Çì®ÆÃÄ¡A¤Æ¾Ç¿d¬~«Ç¥Î®ø¬r¾¯¡A¤Æ¾ÇÃĪ«»s¾¯¡A¤Æ¾ÇÁ×¥¥¾¯¡A¤Æ¾ÇÅXÂÎÅX°A¾¯¡A¥_¬ü¶À³sÆP¡A§ZÁC¯×¯»¡]ÃĥΡ^¡A§ZÁC¯×Áû²É¡]ÃĥΡ^¡A¥hÀã¯ù¡A¥hÀY¥Ö®hªºÃĪ«»s¾¯¡A°Ñªá®ø´÷¯ù¡A°Ñ¯ñ¡A°Ñ¯ñ»s«~¡A¤ÎÆFªÛÌU¤l¯»¡]Âå¥Î¡^¡A¤fªA¥ÎL½L¯À½¦Ån¡]Âå¥Î¡^¡A¤fªA¬Ì]¡]Âå¥Î¡^¡A¤fªAÃIJG¡A¤f½H¤Î¸´þªvÀø»e¾¯¡A¤fµÄ¤îµh¾¯¡A¤fµÄ®øª¢¾¯¡A¥j©Ôº¸¤ó¤ô¡]µ}¦¸¾L»Ä¹]·»²G¡^¡A¥i¥d¦]¡A¦UÃþ¨k¤k¶Ê±¡ÂåÃÄ¡A¦QÁw»I¡A§t¨EÃľ¯¡A§tÄqª«½è¤§Àç¾i¸É¥R«~¡A§tºû¥L©R¤§Àç¾i¸É¥R«~¡A§t³J¥Õ½è¤§Àç¾i²K¥[¾¯¡]ÃĥΡ^¡A§t³J¥Õ½è¤§Àç¾i¯»¡]ÃĥΡ^¡A§t³J¥Õ½è¨Å¾¯¡]ÃĥΡ^¡A§t»Ã¥Àµß¤§¼ÌªÛÀç¾i¸É¥R¾¯¡]ÃĥΡ^¡A§tªø¥Õ¤s¤H°Ñ¦¨¥÷ªºÂå¥ÎÀç¾i¹«~¡A§t¾~¤ù»s¾¯¡A§l¦¬¦¡¥¢¸T¥Î§¿¥¬¿Ç¡A«y¹Â¿}¼ß¡]ÃĥΡ^¡A«y¹ÂÃÄ¿}¡]ÃĥΡ^¡A÷¨Å¥Î¹Ô¡A³è²G¨ë¿EÃÄ«~¡A³Ý«y»I¡A¶åÆQ¡A¾¹©xªvÀø¾¯¡A¤gÄ[®ø¬r¾¯¡A¤gÄ[®ø¬r»s¾¯¡A§¤½HÃľ¯¡A°ö¾i²Óµß¥Îªº·»¾¯¡A°ö¾i²Óµß¥Îªº¦×´ö¡A¶ñ¶ë¤ú¤Õ¥Î®Æ¡A¶ñ¶ë¤ú¼Ò¥Î®Æ¡A¶ñ¤ú§÷®Æ¡A¥~¶ËÃĥδ֡A¥~¥Î¤¤ÃĤîµh¼Q¾¯¡A¥~¥ÎÀ¿¾¯¡]Âå¥Î¡^¡A¥~¥ÎÃĪo¡A¥~¥ÎÃĪ«¡A¥~¥ÎÃÄ»I¡A¥~¬ì¥]²Ïª«¡A¥~¬ì©MÁB§Î¥ÎÂH©T¾¯¡A¥~¬ì©Î¾ã«¬¥~¬ì¥Î°©ÀYµ²¦Xª«¡A¥~¬ì¤â³N¥Î¥¬¡]´ª«¡^¡A¥~¬ì¤â³N¥ÎµLµß¥¬¡A¥~¬ì¤â³N¥Î³q®ð½¦¥¬¡A¥~¬ì¼Å®Æ¡A¥~¬ì¥Î¼í·Æ³n»I¡]Âå¥Î¡^¡A¥~¬ì¥Î¯½¥¬¡A¥~¬ì¥Î´ª«¡A¥~¬ì¥ÎªÓÁ^±a¡A¥~¬ì²¾´Óª«¡]¬¡²Õ´¡^¡A¤j»[ªo¤Y¡]Âå¥Î¡^¡A¤j»[ªo¯»¡]Âå¥Î¡^¡A¤j»[ºë½¦Ån¡]Âå¥Î¡^¡A¤j¨§²§¶ÀଡA¤ÑµM§ZÁC¯×¡]Âå¥Î¡^¡A¤ÑµM¤j»[ºë¡]ÃĥΡ^¡A¤ÑµMÀç¾i¸É¥R¾¯¡]ÃĥΡ^¡A¥¢¸T§l¦¬Å¨¿Ç¡A¥¢¸T¥Î§¿¥¬¡A¥¢¸T¥Î§¿¿Ç¡A¤k©Ê½Ã¥Í¤y¡A¤k©Ê½Ã¥Í¥Î«~¡A°ü¤k³±¹DÄé¬~Ãľ¯¡AÀ¦¨à¨Å¯»¡AÀ¦¨à¥¤¯»¡AÀ¦¨à¥Î§t¨ÅÄѯ»¡AÀ¦¨à¦Ì¯»¡AÀ¦¨à¨§¥¤¯»¡AÀ¦¨à¹«~¡AÀ¦¨à¹«~ÅøÀY¡AÀ¦¨à¹ª«¡AÀ¦¨à³Á¯»¡A¦w¯vÃÄ¡A¦w¯«Ãľ¯¡A¤p³Á¶ÂÁJ¯f¤Æ¾Ç³B²z¾¯¡A¥§¥j¤B´î°£¾¯¡]Âå¥Î¡^¡A¤sÃỡ]ÃĥΡ^¡A¤w¸ËÃÄ«æ±Ï½c¡A¤Ú¨§²ô¥Ö¡A¥®ÂÎÅX°£¾¯¡A±j¤ß¾¯¡]Âå¥Î¡^¡A·L¥Íª«¥ÎÀç¾iª«½è¡A¤ßŦ¦åºÞ¥ÎÃÄ¡A¤ßŦÅã¼v¾¯¡A¤ß¹q¹Ï´y°O¾¹¹q·¥¥Î¤Æ¾Ç¾ÉÅé¡A«æ±Ï½c¡]¤w¸ËÃÄ¡^¡A«æ±Ï½c¡]³Æ¦nÃĪº¡^¡A·P«_¶Ë·¯À¡]½¦Ån¡^¡A·P«_²G¡AÃh¥¥¶EÂ_¥Î¤Æ¾Ç¾¯¡AÃh¥¥¶EÂ_¥Î¤Æ¾Ç»s¾¯¡A¦¨¤H¯È§¿¿Ç¡A¦¨¤H¯È§¿¤ù¡A§Ù·Ï§U¾¯¡A§Ù·Ï¤fÄZÃÄ¿õ¡A¥´ÂÎÃÄ¡A§í¨îÅðµß¥ÍªøÃľ¯¡A§íµßÅ@¤â½¤¡]ÃĥΡ^¡A§Ü¹½®ñ©ÊÃÄ«~¡A§Ü¹Ã¾¯¡A§Ü§¿»Ä¾¯¡A§Ü©¬ª÷´Ë¯gÃľ¯¡A§Ü¤ß«ß¤£¾ã¾¯¡A§Ü¤ß«ß¤£¾ãÃÄ«~¡A§Ü¤ßµ±µh¾¯¡A§Ü´c©Ê¸~½F¾¯¡A§Ü¼~Æ{Ãľ¯¡A§Ü®ñ¤ÆÀç¾i¸É¥R¾¯¡A§Ü®ñ¤ÆÃľ¯¡A§Ü¦½Ãľ¯¡A§Ü¼ìºÅÃľ¯¡A§ÜÂo¹L©Ê¯fìÅéÃľ¯¡A§Ü¤ú©P¯fªvÀø¾¯¡A§Ü¥Í¯À¡A§Ü¯f¬rÃľ¯¡A§ÜµjÅËÃÄ¡A§Üµg¯eÃľ¯¡A§ÜºÄ¯eÃľ¯¡A§ÜÀù¾¯¡A§ÜÅöíwÃÄ¡A§ÜÅöíwÃľ¯¡A§Ü²Õ´ÓiÃľ¯¡A§Üµ²®Ö¯fÃľ¯¡A§Üµß¯À¡A§Ü¦å²G®ê¶ë¾¯¡A§Ü¹L±ÓÃľ¯¡A§ÜÁôªá´Óª«»s¾¯¡A§Ü·Àã¯f°éÀô¡A§Ü°ª¦åÀ£ÃÄ«~¡A§ÜÆT¾¦Ãľ¯¡A©æÅnª¢Å¨¹Ô¡A®·»aÃÇ¥ÎÂH½¦¡A®·ÃÇÂH½¦¾¯¡A±Æ¬r¤Y¡]Âå¥Î¡^¡A±Æ¬r¥Í¦Ù»I¡]»IÃÄ¡^¡A±Æ¦½ÃÄ¡A±±¨î¥Ö½§¦â¯À¤§¥Í²zÃĪ«¡A´£¯«Ãľ¯¡A´£°ª¤HÅé§K¬Ì¤Oªº«O°·¹«~¡]Âå¥Î¡^¡A·g¾¯¡A¤ä®ðºÞÂX±i¾¯¡]ÃĥΡ^¡A¤ä®ðºÞÂX±i»s¾¯¡A©ñ®g©ÊÃÄ«~¡A©ñ®g½u¥Î³y¼v¾¯¡]Âå¥Î¡^¡A´²¾¯¡]ÃĥΡ^¡A¾ã¸z¾¯¡A¼Å®Æ¯½¥¬¡A¼ÅÃĥΧ÷®Æ¡A´³çº¯»¡A¤ë¸g¹Ô¡A¤ë¸g±a¡A¤ë¸g®ê¡A¤ë¸g¥Î¹Ô¡A¤ë¸g¥Î¤î¦å´Ö¡A¤ë¸gµu¤º¿Ç¡A¤ë¸gÁ^±a¡A¤ë¸g 衞¥Í¥Î«~¡A¤ë¨£¯óªo½¦Ån¡]ÃĥΡ^¡A§ö¤¯¡BÁ¡²ü¿}¬°¥Dnì®Æ»s¦¨ªº«O°·¹«~¡]Âå¥Î¡^¡AªJªI¥Ä¡]ÃĥΡ^¡AªJªI»I¡]ÃĥΡ^¡AªJªIÅS¡]ÃĥΡ^¡AªG¹è¿}¼ß¡]ÃĥΡ^¡A®ê¾¯¡A´Ö²y¡]Âå¥Î¡^¡A´Öªá¡]Âå¥Î¡^¡A´Öªá´Î¡]Âå¥Î¡^¡A´Îª¬²¸¶À¡]®ø¬r¾¯¡^¡A´Óª«ÅÖºû´îªÎ¤ù¡]ÃĥΡ^¡A¼Ì¸£¤Y¡A¼Ì¸£ªo¡]Âå¥Î¡^¡A¼ÌªÛÀç¾i´þ¼í¾¯¡]Âå¥Î¡^¡A¼ÌªÛÀç¾i¸É¥R«~¡]Âå¥Î¡^¡A¼ÌªÛ¤ù¡]Âå¥Î¡^¡A¼ÌªÛµo»Ã²G¡]Âå¥Î¡^¡A¼ÌªÛ¯»¥½¡]Âå¥Î¡^¡A¼ÌªÛ²É¡]Âå¥Î¡^¡A¼ÌªÛºë¡]Âå¥Î¡^¡A¼ÌªÛ½¦Ån¡]Âå¥Î¡^¡A¼ÌªÛ¯ù¡]Âå¥Î¡^¡A¼ÌªÛ¿õ¡]Âå¥Î¡^¡A¼ÌªÛ°¦å¿}¡]Âå¥Î¡^¡A¾ó¥Ö»I¡A¤î«y¤Y¡A¤î«y¾¯¡A¤î«yÅS¡A¤îÂm¾¯¡A¤îµh¾¯¡A¤îµhªo¡A¤îµh»I¡A¤îµhÃÄ¡A¤îµh»s¾¯¡A¤îÄo¤Y¡A¤îÄo¤ô¡A¤î¦å¾¯¡A¤î¦å´²¡A¤î¦å®ê¡A¤î¦å¥ÎÃľ¯¡A¤î¦åÃÄ¡A¤î¦åÃıø¡A±þ±H¥ÍÂξ¯¡A±þ±H¥ÍÂÎÃÄ¡A±þ·L¥Íª«¾¯¡A±þ·À¦³®`°Êª«»s¾¯¡A±þ¯uµß¾¯¡A±þºë¤l¾¯¡A±þµß¾¯¡A±þµß 啫³í¡A±þµßÀã¯È¤y¡A±þµß¥Î«~¡A±þ蟎¾¯¡A±þÂξ¯¡A±þÂμQÃú¾¯¡A±þÂ⣫~¡A±þÂÎÃĤù¡A±þÂÎÃIJɡA±þ¹«¾¯¡A¬rÃÄ¡A¤ò¾v«P¥Í¾¯¡A®ð³Ý¯ù¡A®ñ®ð¯D¬Ö¡A®ò°ò»Ä·»²G¡]Âå¥Î¡^¡A¤ô¾¯¡]ÃĥΤƾǻs¾¯¡^¡A¦½¨¬ÃÄ¡A¨E³n»I¡A¦Ãª«®ø¬r¾¯¡A¨T¨®ªÚ»¾¯¡Aªo¾¯¡]¶Ë·ªo¡^¡Aªo¾¯¡]²M²Dªo¡^¡Aªo¾¯¡]·Àãªo¡^¡Aªv«y¹ÂÃÄ¡Aªv¤p³Á¬\µä¯f¡]¶ÂÁJ¯f¡^ªº¤Æ¾Ç»s¾¯¡Aªv®ð³ÝÃÄ¡Aªv¿S¶Ëªo»I¡Aªv¬ÐÃĵ§¡Aªv²©¾¯¡AªvÀø¤¤¼Ï¯«¸g²§±`»s¾¯¡AªvÀø¨ÅÀù¤§ÃÄ«~¡AªvÀø¤HÃþ¦Õ¯e¥ÎÃÄ«~¡AªvÀø«K¯µªºÃĪ«¡AªvÀø¾®¦å¯À¤¸¹L§C¤§ÃÄ«~¡AªvÀø©I§l¾¹©xÃĪ«¡AªvÀø³ïÄV¤£¾A¤§½¦Ån¡AªvÀø©x¯à©Ê«k°_»ÙꤧÃÄ«~¡AªvÀø¤ß«ß¤£¾ã¤§Ãľ¯¡AªvÀø¤ßŦ¦åºÞ¯e¯f¤§Ãľ¯¡AªvÀø·s³¯¥NÁªv¾¯¡AªvÀøÅζ˳n»I¡AªvÀø²O¯D¥Î®ü¤ô¡AªvÀø¿N¶Ë²G¾¯¯½¥¬¡AªvÀø¿N¶Ë²G»s¾¯¡AªvÀø¿N¶Ë»s¾¯¡AªvÀø¤ú¾¦Ãľ¯¡AªvÀø¥Ö½§¯f¤§Ãľ¯¡AªvÀø¦åºÞ¯e¯f¥Î¦å¼ß¸É±j¹ï§Ü¾¯¡AªvÀø¨Åé·õ¯gªº¤¤¦¨ÃÄ¡AªvÀø«C¬KµkÃľ¯¡AªvÀøÀY¥ÖÃľ¯¡AªvÀø·Àã¥ÎÀô¡Aªv¿}§¿¯fÃľ¯¡Aªvªá¬h¾¯¡Aªv¸²°H¥Î¤Æ¾Ç»s¾¯¡AªvÃý¯¯f¤Æ¾ÇÃľ¯¡Aªv¿ò§¿¾¯¡AªvÀYµhÃÄ«~¡AªvÀYµhÃıø¡AªvÀY¥Ö®hªºÃľ¯¡Aªv·ÀãÃľ¯¡Aªv°©³n¾¯¡Aªd¼Å¾¯¡Aª`®g¥ÎL½L¯À¡]Âå¥Î¡^¡Aª`®g¥Î¸²µå¿}¡]Âå¥Î¡^¡Aª`®g¬Ì]¡]Âå¥Î¡^¡A¬v°Ñ¨R¾¯¡A¬v¦a¶À¥Ì¡A¬~¯DÃľ¯¡A¬~µÇÃľ¯¡A¯D¥Î®ñ®ð¡A¯D¥ÎªvÀø¾¯¡A¯D¥Îªd¼ß¡A®ü¬v¥Íª«¶t¡]ÃĥΡ^¡A®üĦ¤ù¡]ÃĥΡ^¡A®û»sÃIJG¡A®ûªwÃľ¯¡A®ûÃIJGªºÁ¡¯È¡A®ûÃIJGªº½Ã¥Í¯È¡A®û»sÃIJG¡A®ø¤Æ¾¯¡]ÃĥΡ^¡A®ø¬r¤Y¡]½¦Ån¡^¡]ÃĥΡ^¡A®ø¬r¾¯¡A®ø¬r 啫³í¡A®ø¬r´Ö¡A®ø¬r¤ô¡A®ø¬r¥Î«~¡A®ø¬r¯È¤y¡A®ø¬rÃĤô¡A®ø·À¦³®`°Êª«»s¾¯¡A®ø·À¦³®`´Óª«»s¾¯¡A®øª¢¾¯¡A®øª¢ÃĤô¡A®øª¢»s¾¯¡A®øª¢Âíµh¾¯¡A®øª¢Âíµh¶K¥¬¡A®ø²©¤Y¡A®ø¨x¤Y¡]ÃĥΡ^¡A®ø¸~»I¡A®ø°£ÀR¯ß¸~µÈ¾¯¡A²O¤Ú²G»s¾¯¡]ÃĥΡ^¡A²O¤Ú²yT²ÓM³æ®è§ÜÅé¡]ÃĥΡ^¡A²b¤Æ¾¯¡A²b¤Æ»s¾¯¡]ÃĥΡ^¡A²`®üÂD³½ªo¡A²M²Dªo¡]Âå¥Î¡^¡A²K¥[¾¯¡]Âå¥Î¡^¡A²M°£¾ó¥Ö»I·»¾¯¡A´îªÎ¥ÎÃľ¯¡A´îªÎ¯ù¡]Âå¥Î¡^¡A´îªÎÃÄ¡A´îªÎ°¯×¤Y¡]ÃĥΡ^¡A·Å¬u¤ô¡A·À°®¦´¯uµß»s¾¯¡A·À¥®Âξ¯¡A·À·L¥Íª«¾¯¡A·ÀÃǾ¯¡A·À¹«¾¯¡A´þ¸É«~¡]ÃĥΡ^¡Aº}¥Õ¯»¡]®ø¬r¡^¡Aº¤¤f¾¯¡]ÃĥΡ^¡Aº¤¤f¤ô¡]ÃĥΡ^¡A¼í¸z³q«Kªº¤fªA²G¡]¯»¾¯¡^¡]ÃĥΡ^¡A¼í¸z³q«Kªº¤fªA²G¡]Áû²É¾¯¡^¡]ÃĥΡ^¡A¿@ÁYÃỡA¿@ÁY³J¥Õ½è¯»¡]ÃĥΡ^¡AÀã¯lÃľ¯¡AÂm¾¯¡AÂmÃÄ¡AÄé¸z¾¯¡A¬´ÅÖºû²¾´Ó¬¡Åé¯À¡A¯QÀYÆP¡A·ÏâÀ¿õ¾¯¡A·Ïºë¡]±þÂξ¯¡^¡AµLµß¸Õ¾¯¡]ÂåÀø¥Î¡^¡A·Î¦nªºÃÄ¡AâÀ»]´Î¡AâÀ»]¥Î´Ò¡AâÀ»]»¿õ¡A¿N¶ËªvÀøÃľ¯¡A¿S¤õÃÄ«~¡AÀç¾i´þ¸É¾¯¡]ÃĥΡ^¡AÀç¾i¤ù¡]ÃĥΡ^¡AÀç¾i¸É¥R¾¯¡]ÃĥΡ^¡AÀç¾i¸É¥R«~¡]ÃĥΡ^¡AÀç¾i¸É¥R½¦Ån¡]ÃĥΡ^¡AÀç¾i¸É¾¯¡]ÃĥΡ^¡AÀç¾i¸É§U¾¯¡]ÃĥΡ^¡AÀç¾i¹«~¡]ÃĥΡ^¡AÀç¾i¹«~¸É¥Rª«¡]ÃĥΡ^¡A¤ù¾¯¡]ÃĥΤƾǻs¾¯¡^¡A¤ú¶ñ®Æ¡A¤ú¶ñ®Æ¾¯¡A¤ú®ÚºÞªvÀø¾¯¡A¤ú¼Ò¥Î®Æ¡A¤ú¬}¶ñ¥Rª«¡A¤ú¥Î¥ú¼ä¾¯¡A¤ú¥Î¬t¤ÆÃĪ«¡A¤ú¥Î¬ã¿i¯»¡A¤ú¥ÎÂH¦X¾¯¡A¤ú¬ì¥ú¼ä¾¯¡A¤ú¬ì¥Î¦L¼Ò§÷®Æ¡A¤ú¬ì¥Î¾ó½¦¡A¤ú¬ì¥Î¨E¤Æª«¡A¤ú¬ì¥Î¨E¦Xª÷¡A¤ú¬ì¥Î¬ã¿i¾¯¡A¤ú¬ì¥ÎÂH©T¯»¡A¤ú¬ì¥ÎÂH½¦¾¯¡A¤ú¬ì¥ÎÃÄ¡A¤ú¬ì¥ÎÃľ¯¡A¤ú¬ì¥Î¶Q«ª÷ÄݦXª÷¡A¤ú¬ì¥Îª÷¨E¦Xª÷¡A¤ú¬ì¥Î³Â¾K¾¯¡A¤úÄú¡AÂå¥Î³y«¬Äú¡A¤úÂå»s¼Ò¥ÎÄú¡A¤ú¾¦¥Íªø«P¶i¾¯¡A¤ú¾¦ÂH½¦¾¯¡A¤ú¾¦µ²¥Û¥ÎÃľ¯¡A¤ûªì¨Å¤ù¡]ÃĥΡ^¡A¤ûµk¬Ì]¡A¤ûÃÇÅX°£¥Îªo¡]ÃĥΡ^¡A¬¹¯b¥Î¬~º°¾¯¡Aª¯¥Î¬~²bÃľ¯¡Aª¯¥Î¬~º°¾¯¡Aª¯¥Î¬~º°²G¡Aª¯¥ÎÃĤô¡Aª¯¥ÎÅXÂξ¯¡Aª¯¥ÎÅXÂÎÃÄ¡AµU´Ç´²¡]Âå¥Î¡^¡AÃ~¥Î¤Æ¾Ç»s¾¯¡]Âå¥Î¡^¡AÃ~¥Î®ò°ò»Ä¡AÃ~¥Î¬~º°¾¯¡AÃ~¥Î½Ã¥Í¥Î«~¡AÃ~¥Î½Ã¥Í»s¾¯¡]Âå¥Î¡^¡AÃ~ÃÄ¡AÃ~Âå¥Î¤Æ¾Ç»s¾¯¡AÃ~Âå¥Îªo¯×¡AÃ~Âå¥Î¬~²G¡AÃ~Âå¥Î¥Íª«»s¾¯¡AÃ~Âå¥ÎÃÄ¡AÃ~Âå¥Î»s¾¯¡AÃ~Âå¥Î 酶¡AÃ~Âå¥Î酶»s¾¯¡A¥É«Ì·´²¡]ÃĥΡ^¡A¤ý¼ß¡]Âå¥Î¡^¡Aª´ºÀªá¡]ÃĥΡ^¡A¬Ã¯]¼h¯»¡]ÃĥΡ^¡A¬Ã¯]¯»¡]ÃĥΡ^¡A²y®Ú²o¤û»sÂmÃÄ¡AÀô¹Ò½Ã¥Í¥Î®ø¬r¾¯¡A¥Ì¨E¡A¥ÌªoÁC»Äà¡A¥Ì¯ó¡]ÃĥΡ^¡A¥Ì»°s¡]ÃĪ«»s¾¯¡^¡A¥Í¤ÆÃÄ«~¡A¥Íª«ÃÄ«~¡A¥Í²z¥ÎŨ¹Ô¡A¥Í¾v¤Y¡]ÃĥΡ^¡A¥Í¾v¤ô¡]ÃĥΡ^¡A¥Í¾vºë¡]ÃĥΡ^¡A¥Í¾v»I¡]ÃĥΡ^¡A¥Í¾vÃĤô¡]ÃĥΡ^¡AÄqª«½èÀç¾i¸É¥R«~¡AÄqª«¹«~²K¥[¾¯¡AÒç·¬¡µ¸ªo¡]ÃĪo¡^¡A¯«¸g¦w©w¾¯¡]ÃĥΡ^¡A¯«¸g±j°·¾¯¡]ÃĥΡ^¡A¯«¸g©ÊÀYµhÃÄ«~¡A½\Ãþ¥[¤uªº°Æ²£«~¡]Âå¥Î¡^¡AªÅ®ð²b¤Æ¾¯¡AªÅ®ð²b¤Æ»s¾¯¡AªÅ®ð²M·s¾¯¡AªÅ®ð²M²b¾¯¡AªÅ®ð²M¼ä¾¯¡A¦Ë¾L²G¡]Âå¥Î¡^¡A¸`¹©ÎÂå¥Î¾ý¯»¡AÂHÃǯȡAÂHÃǽ¦¡A¿}§¿¯f¤H¹¥ÎªºÄÑ¥]¡A¿}§¿¯f±wªÌ¥Î¤§Àç¾iª«¡]Âå¥Î¡^¡AÁSÄê©Ê¬r¾¯¡A¬õÃĤô¡A¬õ¦å²y¯À¡A¯Ç¨§½¦Ån¡A¯Â¤¤ÃĪŮð±þµß¾¯¡A¯ÂÆFªÛ¯}¾ÀÌU¤l¯»¡]Âå¥Î¡^¡A²Óµß°ö¾i¾¯¡A²Óµß°ö¾i´C¤¶¡A²Óµß¬rÃÄ¡A²Ì³Ð»I¡]ÃĥΡ^¡A¸g¥Ö¿éµ¹¤§³Â¾K¾¯¡Aºî¦XÄqª«½è»s¾¯¡Aºî¦Xºû¥L©R¡AºñĦ¤ù¡]ÃĥΡ^¡AºñĦ¯»¡]ÃĥΡ^¡AºñĦ²É¡]ÃĥΡ^¡AºñĦ¿õ¡]ÃĥΡ^¡Aºû¥L©R¤Y¡Aºû¥L©R°·±d²£«~¡Aºû¥L©R¾¯¡Aºû¥L©R¤ù¡Aºû¥L©R½¦Ån¡Aºû¥L©R¸É¥R¾¯¡Aºû¥L©R¶t¤ù¡Aºû¥Í¯À»s¾¯¡Aºò¨¤º¿ÇŨ¸Ì¡]½Ã¥Í¥Î¡^¡A½w©M«K¯µªºÃĪ«¡AÁ_¦X¥Ö½§¶Ë¤f¥Î½¦¥¬¡AÁY¤l®cÃÄ¡]Âå¥Î¡^¡AÁ^±a¡AÁ^¼Å§÷®Æ¡]Âå¥Î¡^¡AÁ^¼ÅÃÄ«~¡AÅÖºû´îªÎ¯»¡]Âå¥Î¡^¡A¦Õ¥Îºw¾¯¡]ÃĥΡ^¡A¦×çv»T¡]ÃĥΡ^¡A¦×¹ªG½ÅøÀY¡]À¦¨à¥Î¡^¡A¦Ù¦×Ãö¸`¯kµhªvµh¥\®ÄªºÃĪo¡A¦Ù¦×ÃP¦¢¾¯¡]ÃĥΡ^¡A¨xª¢ÀËÅç¸Õ¾¯¡A¨xŦ«OÅ@Ãľ¯¡A¨xÃÄ¡AªÎ¨m¼Ì¸£·g¾¯¡AG¤Y¡AG¨Å¡]Âå¥Î¡^¡AGÃÄ¡AL½L¯À½¦Ån¡]Âå¥Î¡^¡AL½L»¤¾ÉÃÄ¡]Âå¥Î¡^¡AJÅÚ½³¯À¡]Âå¥Î¡^¡A¯Ø®q¯À»s¾¯¡]Âå¥Î¡^¡AÓi°ò»Ä»s¾¯¡]Âå¥Î¡^¡A¯à§lªþªº¶ñ¶ëª«¡A¯ßºÞÂX¤j¾¯¡]Âå¥Î¡^¡A²æ¯×´Ö¡AµÇ®ð¤¦¡]Âå¥Î¡^¡A»G»k©Êµ§¡A¸£«O°·«~¡]Âå¥Î¡^¡A¸}À¹°£Âû²´Àô¡A¸}¥Î¤î¦½¾¯¡A¸zG¤¤¦¨ÃÄ«~¡A¸¡½¤º¯ªRÃIJG¡A»I¾¯¡]ÃĥΡ^¡A»I¥¬¡]ÃĥΡ^¡A»IÃÄ¡A½¦Ån¡]ÃĥΡ^¡A½¦¥¬¡A½¦¥¬¥Û»I¡AÁx¥Ä±ÆªnÃÄ¡AŦ¾¹«O¦sÄé¬y²G¤§¤H¤u¦å²G¡]Âå¥Î¡^¡AŦ¾¹ªvÀø¾¯¡]Âå¥Î¡^¡AÁ{§É¥Î¯×½èª`®g²G¡]Âå¥Î¡^¡AÁ{§É¸ÕÅç¥Î»s¾¯¡]Âå¥Î¡^¡A¿³¾Ä¾¯¡]Âå¥Î¡^¡Aªã¤l¼Å¾¯¯È¡Aªã¤lªd¼Å¾¯¡Aªã¤l»IÃÄ¡Aªã¤l»IÃįȡAªã¥½»IÃÄ¡AªáºX°Ñ¡Aªá¯»ÃþÀç¾i«~¡]Âå¥Î¡^¡AW¯ùªo¤Y¡]Âå¥Î¡^¡A¯ù¾¯¡]ÃĥΡ^¡A¯ù¥]¡]ÃĥΡ^¡A¯ó¥»»s«~¡]ÃĥΡ^¡A¯óÃÄ¡A¯óÃįù¡]ÃĥΡ^¡A¯óÃÄ»s«~¡]ÃĥΡ^¡A²üº¸»X»s¾¯¡]Âå¥Î¡^¡AÛ£¿¸¦hÁÞÅ齦Ån¡]ÃĥΡ^¡AÛ£¿¸µßµ·Å齦Ån¡]ÃĥΡ^¡AÛn 葜¡]Âå¥Î¡^¡A¸²µå¬óºëµØ¯À¡]ÃĥΡ^¡A蒽ªo¡]±þ±H¥ÍÂΥΡ^¡AÁ¡²üªo¡]Âå¥Î¡^¡AÁ¡²üºë¡]Âå¥Î¡^¡AÁ¡²ü¸£¡]Âå¥Î¡^¡AÁ¡²ü¾J¡AÂÈ»¤ù¡]¤¤¯óÃÄ¡^¡AÂÅĦ¡]Á³±ÛĦ¤ù¡^¡]ÃĥΡ^¡AÂÅĦ¤ù¡]ÃĥΡ^¡AÂÅĦ¯»¡]ÃĥΡ^¡AÂÅĦ²É¡]ÃĥΡ^¡AÂÅĦºë¡]ÃĥΡ^¡AÂÅĦ¿õ¡]ÃĥΡ^¡AÃÄ«~½¦Ån¡AÃÄ´²¡AÃħ÷¡AÃĪE¡AÃĤô¡AÃĪo¡AÃįD¥Î®ü¤ô¡AÃÄ®û´Ç¡AÃĤù¡AÃĪ«½¦Ån¡AÃĪ«¶¼®Æ¡AÃĥΤAîÅ¡AÃĥΤAîÇ¡AÃĥΤAîÇ¡]¤¤ÂåÃÄÃİs¡^¡AÃĥΫO°·Àç¾i²£«~¡AÃĥΨà¯ù¡AÃĥΧU®ø¤Æ¾¯¡AÃĥΤƾǻs¾¯¡AÃĥΤfªA²G¡AÃĥΤf»¿}¡AÃĥγï¤ù¡AÃĥγï¿}¡AÃĥμQ¾¯¡AÃĥΤj¶À®Ú¡AÃĥΤpĬ¥´¡AÃĥΩÎÂå¥Î¤ô¾¯¡AÃĥΩÎÂå¥Î¤ù¾¯¡AÃĥΩÎÂå¥Î»I¾¯¡AÃĥΩÎÂå¥Î¶K¾¯¡AÃĥΩÎÂå¥Îª¾¯¡AÃĥηg¾¯¡AÃĥΤ쬴¡AÃĥΧö¤¯¨Å¡AÃĥΪQ¸`ªo¡AÃĥή꾯¡AÃĥήڶô´Óª«¡AÃÄ¥ÎÑÛ¾ð¡AÃÄ¥ÎÑ۾𸣡AÃÄ¥ÎÙ«»Ä¡AÃĥδӪ«¡AÃĥδӪ«®Ú¡AÃĥδӪ«¶¼«~¡AÃĥξð¥Ö¡AÃĥήñ¤ÆÁâ¡AÃĥήò°ò»Ä¡AÃĥΤô¦X´âîÇ¡AÃĥΨI¾ýªd¡AÃĥήø¬r¾¯¡AÃĥη͡AÃÄ¥ÎÀç¾i«~¡AÃĥΤû¥¤»Ã¯À¡AÃĥΥ̯󯻡AÃĥΥÒîÇ¡AÃĥΪº¯óÃͼ®Æ¡AÃĥΥֽ§»I¡AÃĥίuµß´£¨úª«¡AÃĥεv»Ä®ñ¹c¡AÃĥβ¸µØ¡AÃĥθK¡AÃĥθK¤Æª«¡AÃĥΦ˾L²G¡AÃĥο}¡AÃĥο}ªG¡AÃÄ¥ÎÅÖºû¯À¯×¡AÃÄ¥ÎÅÖºû¯ÀîÅ¡AÃÄ¥ÎÅÖÅé°·±d¹«~¡AÃĥν¦¡AÃĥν¦¤Y¡AÃĥν¦Ån¡AÃĥν¦¥¬¡AÃĥν¦´Ö¡AÃĥΪ㥽¡AÃÄ¥ÎV©ÊÆP¡AÃĥίù¡AÃĥίù¥]¡AÃĥίóÃÄ¡AÃĥίóÃįù¡AÃĥγD³Â¤l®û»I¡AÃĥγD³Â¸¢¡AÃĥθɨ¹«~¡AÃÄ¥ÎÅ@½§¾¯¡AÃĥγn»I¡AÃĥξF¥Ò®ñ°òf×ô¡AÃĥΰs¡AÃĥΰs¥Û¨Å¾¯¡AÃÄ¥Îà¡AÃĥλïÀ¡AÃĥλġAÃĥξL»Ä¨Å¡AÃĥξL»ÄÆQ¡AÃĥΰw¾¯¡AÃĥζuÆQ¡AÃĥιc»s¾¯¡AÃĥοõ¾¯¡AÃÄ¥ÎÂíÀRªo¡AÃĥι«~¡AÃĥζ¼®Æ¡AÃĥλ®Æ¡AÃĥγ½¯»¡AÃĥΠ鷄ºë¡AÃÄ¥ÎÆP©Ê¸K¤Æª«¡AÃĥγÁ¨¤¡AÃÄ¥ÎÄѯ»¡AÃÄ¥ÎÀsÁx¡AÃỡAÃÄ»I¡AÃÄ»IÃÄ«~¡AÃĽ¦Ån¡AÃįù¡AÃįó¡AÃįó»s«~¡AÃÄ»s¿}ªG¡AÃÄ»s¿}ªG¡]Âå¥Î¡^¡AÃĶK¡AÃĶK½¦¥¬¡AÃİs¡AĪîP¡]Âå¥Î¡^¡AÂίóºë¡]Âå¥Î¡^¡A°A©È¤ô¡A°A»¡A³J¥Õ¤û¥¤¡A³J¥Õ½è¤§Àç¾i²K¥[¾¯¡]Âå¥Î¡^¡A³J¥Õ½èÀç¾i¸É¥R«~¡]Âå¥Î¡^¡A³J¥Õ½è¤ù¡]Âå¥Î¡^¡A³J¥Õ½è¯»¡]Âå¥Î¡^¡A¸Á¤ýºë¡]Âå¥Î¡^¡A¸Á¬Ó¼ß¡]Âå¥Î¡^¡A¸Á½¦¡]Âå¥Î¡^¡A¸Á»e¡]Âå¥Î¡^¡AÂίóºëµØ¡]Âå¥Î¡^¡AÂίó½¦Ån¡]Âå¥Î¡^¡A¦å²G»s«~¡]Âå¥Î¡^¡A¦å²M¡A¦å²MÀøªk¥ÎÃľ¯¡A¦å²MÂåÀøÃľ¯¡A¦å¼ß¡A¦å²y³J¥Õª`®g¾¯¡]Âå¥Î¡^¡A¦åºÞ¦¬ÁY¾¯¡]Âå¥Î¡^¡A¦å¬õ³J¥Õ¡A¦å¬õ³J¥Õ¤¸¡A¦å¦â³J¥Õ¤¸¡A½Ã¥Í¹Ô¡A½Ã¥Í¤k¿Ç¡A½Ã¥Í®ê¡A½Ã¥Í´Ö¡A½Ã¥Í´Ö¹Ô¡A½Ã¥Í´Ö±ø¡A½Ã¥Í¤î¦å´Ö¶ë¡A½Ã¥Í¤ò¤y±a¡]¤ò¤y¡^¡A½Ã¥Í®ø¬r¾¯¡A½Ã¥Í²y¡A½Ã¥Í¥Î«~¤ÎÃÄ«~¡A½Ã¥Íµu¤º¿Ç¡A½Ã¥Íºò¨¤º¿Ç¡A½Ã¥ÍÁ^±a¡A½Ã¥ÍŨ¿Ç¡A½Ã¥ÍÅ@¹Ô¡A¦çªA©M¯¼Â´«~¥Î°£¯ä¾¯¡A¸É°·ÃÄ¡A¸É¥RÀç¾i«~¡]ÃĥΡ^¡A¸É¥RÀç¾i¶¼®Æ¡]ÃĥΡ^¡A¸É¾¯¡]ÃĥΡ^¡A¸É«~¡]ÃĥΡ^¡A¸É¤ú§÷®Æ¡A¸É¤ú§÷®Æ¤úÄú¡A¸ÉµÇ¤Y¡A¸ÉÃÄ¡]Âå¥Î¡^¡A¸ÉÃÄ¡]ÃÄ¡^¡A¸É¦å¤Y¡]Âå¥Î¡^¡A¸É¦å¾¯¡]Âå¥Î¡^¡A»s·L¥Íª«¥Î°ö¾iª«¡A½Æ¦X®ò°ò»Ä¤ù¡]Âå¥Î¡^¡A½Æ¦Xºû¥Í¯ÀB¤ù¡A½Æ¦Xºû¥Í¯ÀC¤ù¡A¦è¬v°Ñ»s«~¡A¦èÃÄ¡A¦èÃĤ§ì®ÆÃÄ¡A¦èÃľ¯¡A¦èÃÄ«~¡A¦èÃÄÃĤY¡A¦èÃÄÃÄ»I¥¬¡A¸Ñ¬r¤Y¡]Âå¥Î¡^¡A¸Ñ¬r¤ù¡]Âå¥Î¡^¡A¸Ñ¼ö¾¯¡A¸Ñ¼öÃľ¯¡A¸Ñ¼ö°h¿N¾¯¡A½Õ¸`¦åÀ£ªº¯ù¸»s«~¡]Âå¥Î¡^¡A½Õ¸g¤Y¡AÅ@¹Ô¡AÅ@½§Ãľ¯¡A¶K¾¯¡]ÃĥΤƾǻs¾¯¡^¡A¶K¾¯¡]Âå¥Î¡^¡A¿à®ò»ÄÆQ¡]Âå¥Î¡^¡AÂØ½F¹w¨¾¾¯¡]Âå¥Î¡^¡A¶Wµªi¶EÂ_¥Î¶Ç¾É²G¡A¶^¥´À¿¾¯¡A¶^¥´»IÃÄ¡A¶^¥´ÃĤY¡A¶^¥´ÃĪo¡A¶^¥´°s¡A¶^¥´°s¡]ÃĥΡ^¡A¶^¥´·Àã»I¡]»IÃÄ¡^¡A¨®¥Î»®y¡]«DÓ¤H¥Î°£¯ä¾¯¡^¡A»´«KÃĽc¡]¤w¸ËÃĪº¡^¡A»´Âm¾¯¡A¹AÃÄ¡A°h¿NÃÄ¡A³q«K¾¯¡A³q®ð½¦¥¬¡A³y¦å¾¯¡AÁ×¥¥®ê¾¯¡AÁ×¥¥ÃÄ¡A»Äµh¶^¥´·l¶Ë¼ÅÃÄ¡AÂå¾Ç¥Î¸ÕºÞ¤º¶EÂ_¾¯¡AÂå¥ÎX¥ú³y¼v¾¯¡AÂå¥Î¤T¸K¥ÒÖJ¡AÂå¥Î¦õÃÄ¡AÂå¥Î°·±dÀç¾i¹«~¡AÂå¥Î¶Ê°®¾¯¡AÂå¥Î§N¼Å¶K¥¬¡AÂå¥Î¾®½¦¡AÂå¥ÎÄq¯×¡AÂå¥Î¤Æ¾Ç»s¾¯¡AÂå¥Î«n¬ü¤û¥¤µæªº°®¥Ö¡AÂå¥Î§ZÁC¯×¡AÂå¥Î¥h«¯¾¯¡AÂå¥Î¤ÎÃ~Âå¥Î²Óµß¾Ç¬ã¨s»s¾¯¡AÂå¥Î¤ÎÃ~Âå¥Î²Óµß»s¾¯¡AÂå¥Î¤fªA²G¡AÂå¥Î¤fªAÃÄ«~¡AÂå¥Î¤f»¿}¡AÂå¥Î¦P¦ì¯À¡AÂå¥Î 喹啉¡AÂå¥Î¶ñ®Æ¡AÂå¥Î«¶¹ç¡AÂå¥Î¦wªG´µ³£©Ô¾ð¥Ö¡AÂå¥Î·L¥Íª«°ö¾i¾¯¡AÂå¥Î©ÎÃ~Âå¥Î¤Æ¾Ç¸Õ¾¯¡AÂå¥Î©ÎÃ~Âå¥Î·L¥Íª«°ö¾i°ò¡AÂå¥Î©ÎÃ~Âå¥Î·L¥Íª«°ö¾iÅé¡AÂå¥Î©ÎÃ~Âå¥Î·L¥Íª«»s¾¯¡AÂå¥Î¤âÅN¡AÂå¥Î«üÀô¡AÂå¥Î©ñ®g©Êª«½è¡AÂå¥Î¼Å®Æ¡AÂå¥Î®ê¾¯¡AÂå¥Î´Ö¡AÂå¥Î´Öµ³¡AÂå¥Î¼Ì¸£¡AÂå¥Î¼Ì¸£ªo¡AÂå¥Î¾ó¥Ö»I¡AÂå¥ÎÀˬd¥Î¤ô·»©Ê¼í½§á»I¡AÂå¥Î¤îµh»s¾¯¡AÂå¥Î®ðÅé¡AÂå¥Î®ñ¡AÂå¥Î¤ôµí¡AÂå¥Îªo¡AÂå¥Îªo¯×¡AÂå¥Î¯D¾¯¡AÂå¥Î®û²G¡AÂå¥Î²O¯DÆQ¡AÂå¥Î´îªÎ¯ù¡AÂå¥Îº¤¤f¾¯¡AÂå¥Îº¤¤f¤ô¡AÂå¥Î¼í¾v¯×¡AÂå¥Î¾ý¯» 酶¡AÂå¥Î¿E¯À¡AÂå¥Î·ÏâÀ¯óÃÄ¡AÂå¥Î·ÏÃįó¡AÂå¥ÎµL·Ï¯ó»·Ï¡AÂå¥ÎµL·Ï¸»·Ï¡AÂå¥ÎÂÈ»]»s¾¯¡AÂå¥ÎÀç¾i«~¡AÂå¥ÎÀç¾i²K¥[¾¯¡AÂå¥ÎÀç¾iª««~¡AÂå¥ÎÀç¾i¸É¥R«~¡AÂå¥ÎÀç¾i¹«~¡AÂå¥ÎÀç¾i¹ª«¡AÂå¥ÎÀç¾i¶¼®Æ¡AÂå¥Î¤ú¥Î¥ú¼ä¾¯¡AÂå¥Î¥Ìªo¡AÂå¥Î¥Íª«»s¾¯¡AÂå¥Î¥Íª«ÆP¡AÂå¥Îµo»Ã¨Å¾¯¡AÂå¥Î¥ÕÌÒ»s¾¯¡AÂå¥Î¥ÕÌÒ¹«~¡AÂå¥Î²´¸n¡AÂå¥Î¯}©ò¤ì¡AÂå¥Î¸Kª¡AÂå¥ÎÄq¬u¤ô¡AÂå¥Î¿}ªG¡AÂå¥Î¿}¼ß¡AÂå¥ÎÁ^±a¡AÂå¥Î½¦¡AÂå¥Î½¦¥¬¡AÂå¥Î½¦±a¡AÂå¥Îªã¤lªo¡AÂå¥Îªã¥½³n»I¡AÂå¥ÎW¤ìÃÄ¡AÂå¥Î¯õ»¡AÂå¥Î¸²µå¿}¡AÂå¥Îãɳªo¡AÂå¥ÎÁ¡²ü¡AÂå¥ÎÃöÀ¡AÂå¥ÎÃĤY¡AÂå¥ÎÃĪo¡AÂå¥ÎÃĪ«¡AÂå¥ÎÃÄ»I¡AÂå¥ÎÃįó¡AÂå¥Î³J¥Õ½è¡AÂå¥Î¦å¡AÂå¥Î½Ã¥Í»s¾¯¡AÂå¥Î»sÃÄ¡AÂå¥Î¨¤¤eµÜ¡AÂå¥Î¶EÂ_¾¯¡AÂå¥Î¶EÂ_»s¾¯¡AÂå¥Î¹L®ñ¤Æ²B¡AÂå¥Î°s¥Û¡AÂå¥Î°sºë¡AÂå¥Î×ô¡]f¡^¡AÂå¥Î»Ã¯À¡AÂå¥Î 酶¡AÂå¥Î酶»s¾¯¡AÂå¥Îª÷Âû¯Ç¾ð¥Ö¡AÂå¥Î°w¾¯¡AÂå¥Î¹[ÆQ¡AÂå¥ÎÅJ¡AÂå¥ÎªûÁ³ª¬½~¥¬Ã¹»ªo¡]»»I¡^¡AÂå¥ÎÂø×ôªo¡AÂå¥Î¹q¸Ñ½è»s¾¯¡AÂå¥ÎÀYµhÃÄ«~¡AÂå¥ÎÀY¾v¼Wªø¾¯¡AÂå¥Î¹¼¤§í¨î¾¯¡AÂå¥Î¹ª«Àç¾i»s¾¯¡AÂå¥Î¹¥ÎÀç¾i»s¾¯¡AÂå¥Î¹}®Æ²K¥[¾¯¡AÂå¥Î»·Ï¡AÂå¥Î»»I¡AÂå¥Î°©µ¬ÃĤY¡AÂå¥ÎÆQ¡AÂå¥ÎÅe»¯ó×ô¡AÂå¥Î³Á¨Åºë¶¼®Æ¡AÂå¥ÎÅĹ«¥Ö¡AÂåÀø¥Î¾®½¦¡AÂåÀø¥Î¤fµÄ¬~²b¾¯¡AÂåÀø¥Î¥j¬_ÆP¡AÂåÀø¥Î¶ëÃÄ¡AÂåÀø¥Î·L¥Íª«¥ÎÀç¾iª«½è¡AÂåÀø¥Î©ñ®g©Êª«½è¡AÂåÀø¥Î©ñ®g½u³y¼v¾¯¡AÂåÀø¥Î´³çº»ÄÆQ¯»¡AÂåÀø¥Î§ö¤¯¨Å¾¯¡AÂåÀø¥Î¾ó¥Ö»I¡AÂåÀø¥Î®ðÅé¡AÂåÀø¥Î´â¤Æ»Ï¿õ¾¯¡AÂåÀø¥Îªo¡AÂåÀø¥Î¬~²b¾¯¡AÂåÀø¥Î¯D¾¯¡AÂåÀø¥Î¯Dªd¡AÂåÀø¥Î¯DÆQ¡AÂåÀø¥Î®ø¤Æ¾¯¡AÂåÀø¥Î·Å¬u¤ô¡AÂåÀø¥Î¯QÀYÆP¡AÂåÀø¥Î·Ï¯ó¡AÂåÀø¥Î¥Û¦Ç»s¾¯¡AÂåÀø¥Î¸K¡AÂåÀø¥Î¸Kª¡AÂåÀø¥ÎÁC»Ä¥Ìªo¡AÂåÀø¥ÎÄq¬u¤ô¡AÂåÀø¥Î¿}¡AÂåÀø¥Î¯½¥¬¡AÂåÀø¥Î½¦¡AÂåÀø¥Î½¦±a¡AÂåÀø¥Îªã¥½ªo¡AÂåÀø¥Î¯õ»¡AÂåÀø¥Î²üº¸»X¡AÂåÀø¥Î¸²µå¿}¡AÂåÀø¥Î¦å²G¡AÂåÀø¥Î½Ã¥Í»²§U§÷®Æ¤Î¥Î«~¡AÂåÀø¥Î»s»Ä¾¯¡AÂåÀø¥Î¶EÂ_¾¯¡AÂåÀø¥Î³y¼v¾¯¡AÂåÀø¥Î°s¥Û¡AÂåÀø¥Î°sºë¡AÂåÀø¥ÎÂíµh³n»I¡AÂåÀø¥Î³·X¡AÂåÀø¥ÎÅã¼v¾¯¡AÂåÀø¥Î»½¦»s¾¯¡AÂåÀø¥Î°©ÀYµ²¦X¾¯¡AÂåÀø¥ÎÆQ¡AÂåÀø¥Î³ÁªÞ¨Å¡AÂåÀø¥ÎÅðµß¡AÂåÀø¶EÂ_¥Î³y¼v¾¯¡AÂåÀø¹«~¡AÂåÃĤ¤¶¡Åé¡AÂåÃĤY¡AÂåÃÄìÃÄ¡AÂåÃÄÀ¿¾¯¡AÂåÃļŮơAÂåÃĪQ¸`ªo¡AÂåÃÄÀç¾i«~¡AÂåÃĥΰ®»s¹¥Îµß¡AÂåÃĥΨȳ¤¯¡]¯»¡^¡AÂåÃĥΨȳ¤l¡AÂåÃĥΨȳ¤l»æ¯»¡AÂåÃĥΫO°·¶¼«~¡AÂåÃĥΫ~¡AÂåÃĥΤéÅζ˾¯¡AÂåÃĥΤ騾Åξ¯¡AÂåÃÄ¥ÎÅζ˾¯¡AÂåÃĥΧö¤¯¤û¥¤¡AÂåÃĥΪQ¸`ªo¡AÂåÃĥΪQ¯×ªo¡AÂåÃĥΪG½¦¡AÂåÃÄ¥ÎÄå®ç§õ¾ð¥Ö¡AÂåÃĥΨR¾¯¶¼«~¡AÂåÃĥΪd¼ß¡AÂåÃĥά~¾¯¡AÂåÃĥά~²G¡AÂåÃĥά¡©ÊºÒ¡AÂåÃĥμ侯¡AÂåÃĥξý¯»¡AÂåÃĥΤû¥¤µo»Ã¾¯¡AÂåÃĥΥ̯ó¡AÂåÃĥΥ̯ó²ô¡AÂåÃĥΥۦǻs¾¯¡AÂåÃÄ¥ÎÁC»ÄÆQ¡AÂåÃĥο}¼ß¡AÂåÃĥάõ¾ð¥Ö¡AÂåÃÄ¥ÎG³J¥Õ 酶¡AÂåÃĥλG»k¡]±ì¡^¾¯¡AÂåÃÄ¥Î腖¡AÂåÃĥΪ㥽¡AÂåÃÄ¥Îf×ô¡AÂåÃĥίõ»ªo¡AÂåÃĥί󥻡AÂåÃĥί󥻻s¦¨«~¡AÂåÃÄ¥ÎÁ¡²ü¡AÂåÃĥθÁªá¤ô¡AÂåÃĥΰs¥Û¡AÂåÃÄ¥Î×ô¡]f¡^¡AÂåÃĥλåÀ¡AÂåÃĥλåÀµß¡AÂåÃĥοõ¾¯¡AÂåÃÄ¥ÎÁû²É¨R¾¯¡AÂåÃĥγÁ¤ù¡AÂåÃĥγÁªÞ¡AÂåÃÄ»s¾¯¡A³¥¥Í¦è¬v°Ñ»s«~¡Aª÷»Èªá¡]Âå¥Î¡^¡A¶t¤ù¡A¶t¯»¡]Âå¥Î¡^¡A¶t½è¤Îºû¥L©RD»s¾¯¡A¶t½èºû¥L©R»s¾¯¡A¹]¤ô¡AÂí©w¾¯¡AÂíµh¾¯¡AÂíÀR¾¯¡AÂíÀRÃÄ¡AÅK¾N¶t¸»Ä¤ù¡]Âå¥Î¡^¡AÃö¸`¤ºµøÃè¤â³N¥Î¬Á§¿»Ä¡]Âå¥Î¡^¡AÃö¸`ª¢ÃÄ¡]Âå¥Î¡^¡A¨¾±H¥ÍÂλs¾¯¡A¨¾§¿»s¾¯¡A¨¾¤éÅÎÃÄ»I¡A¨¾¬Ì¥ÎÃľ¯¡A¨¾»G¾¯¡A¨¾»G´Ö¡A¨¾jªo¡A¨¾°A²£«~¡]ÃĥΡ^¡A¨¾³E¾¯¡A¨¾³Eªo¡A¨¾³E¤ú¥ÎÃľ¯¡A¨¾³E¯È¡A¨¾·Àã¤âÅN¡A¨¾·Àã«üÀô¡A¨¾·Àã¯f°éÀô¡]Âå¥Î¡^¡A°¿}¨R¾¯¡]ÃĥΡ^¡A°Áx©T¾JÃľ¯¡A°£¤f¯äÃÄ¡A°£§¿»Ä¾¯¡]ÃĥΡ^¡A°£¤ú´³Ãľ¯¡A°£¯ó¾¯¡A°£Ä¦¾¯¡A°£µò½Â¾¯¡A°£Âε⯻¡A°£ù×¾¯¡A°£Âû²´ÃĪ«¡A°£Åð¤Æ¾Ç»s¾¯¡A³±¹D²M¬~²G¡AÁô§Î²´Ãè«O¦s²G¡AÁô§Î²´Ãè²M¬~²G¡AÁô§Î²´Ãè²M¼ä¾¯¡AÁô§Î²´Ãè²M¼ä²G¡AÁô§Î²´Ãè¥Î¬~²b¾¯¡AÁô§Î²´Ãè¥Î·»²G¡AÁô§Î²´Ãè»Ã¯À²M¼ä¤ù¡AÂù®ñ¤ô¡]Âå¥Î¡^¡AÂû²´ªvÀøÃÄ¡AÂû²´ÃÄ»I¡A³·±ù»I¡]Âå¥Î¡^¡AÆFªÛ¡]ÃĥΡ^¡AÆFªÛ¤Y¡]ÃĥΡ^¡AÆFªÛÌU¤l¯»¡]ÃĥΡ^¡AÆFªÛ´£¨úª«¡]ÃĥΡ^¡AÆFªÛ¤ù¡]ÃĥΡ^¡AÆFªÛºë¡]ÃĥΡ^¡AÆFªÛºë¤Y¡]ÃĥΡ^¡AÆFªÛºë¯»¡]ÃĥΡ^¡AÆFªÛ½¦Ån¡]ÃĥΡ^¡AÆFªÛ¯ù¡]ÃĥΡ^¡AÆFªÛÃÄ«~¡A«DÓ¤H¥Î°£¯ä¾¯¡A±¯pªvÀøÃľ¯¡A¹w¨¾ÀY¾v²æ¸¨¥ÎÃľ¯¡AÀYµh¥ÎÃÄ«~¡AÀY¥Ö®hªvÀøÃľ¯¡AÃþ©T¾J¡AÃþ©T¾JÃÄ»I¡A·Àãªo¡]ÃĥΡ^¡A·À㽦¥¬¡]ÃĥΡ^¡A·ÀãÂíµhÃÄ¡A¸´þ¤îµh¾¯¡]ÃĥΡ^¡A¹¼¤À£§í¾¯¡]Âå¥Î¡^¡A¹¥Î´Óª«ÅÖºû¡]«DÀç¾i©Ê¡^¡A¹¥ÎÀç¾iÃĤù¡A¹¥Îµß´£¨úª«¡]Âå¥Î¡^¡A»´ä¸}ÃÄ»I¡A°¨¿ú¤l¡A°¨¿ú¤lÆP¡AÅX©øÂξ¯¡AÅX±ö¬r¾¯¡]Âå¥Î¡^¡AÅX¸zÂÎÃÄ¡AÅX°A¶K¡AÅXÂξ¯¡AÅXÂξ¯¡]¤H©ÎÃ~¥Î¡^¡AÅXÂΥλ¡AÅXÂÎÃÄ¡AÅX·ªo¡]ÃĥΡ^¡AÅX·¶^¥´°s¡]ÃĥΡ^¡AÅ祥»s¾¯¡AÅ祥¸Õ¾¯¡]Âå¥Î¡^¡A°©½¦ì¡]Âå¥Î¡^¡A°©Àf¥ÎÃÄ¡A°ª§t¶q¦ÏL¯À¡]ÃĥΡ^¡A°ª§t¶q³½ªo¡A°ªÄR¤H°Ñ¡A°ªÄR¤H°Ñ»s«~¡A³½ªo¡A³½ªo¤Y¡A³½ªo½¦Ån¡A³½¯»Àç¾i¸É¥R«~¡A³½¨xªo¡AÂB³½ªo¤Y¡AÂB³½ªo½¦Ån¡AÂD³½ªo¡AÂD³½ªo¤Y¡AÂD³½ªo½¦Ån¡AÃT³½³n°©¯»¡AÃT³½³n°©¯À½¦Ån¡]¯»¡^¡AÃT³½³n°©¯À»s¾¯¡AÃT³½³n°©½¦»s¾¯¡AÅÁ³½Åèªo¤Y¡A¾~¤ù¡A¾~¤ù»s¾¯¡A³Â¾K¾¯¡A³Â¾K¾¯¡]³Â¾KÃÄ¡^¡A³Â¾KÃÄ¡AÂH¹«ªO¡AÄÒ°Ñ¡A¹«ÃÄ¡A»ó±Ó·P¤Y¡]ÃĥΡ^¡A¾¦¼Ñ¼ìÁwÃÄ¡C
°Ó¼Ðºc¦¨¡G

°Ó¼Ð½s¸¹¡GN/55064 Ãþ§O¡G 36
¥Ó½Ð¤H¡G¬v®ú@°ò¯S¹ê·~¦³¤½¥q¡A³õ©Ò¡G¤¤°ê®ü«n¬v®ú¥úµØ¤½¥q¤¤¦æ¼Ó236¸¹¡C
°êÄy¡G¤¤°ê
¬¡°Ê¡G°Ó·~¤Î¤u·~
¥Ó½Ð¤é´Á¡G2011/03/11
ªA°È¡G¤£°Ê²£¥X¯²¡F¤£°Ê²£¥N²z¡F¤£°Ê²£¤¤¤¶¡F¤£°Ê²£µû¦ô¡F¤£°Ê²£ºÞ²z¡F¤½´JºÞ²z¡F¤½´J¥X¯²¡F¦í©Ò¡]¤½´J¡^¡F¿ì¤½«Ç¡]¤£°Ê²£¡^¥X¯²¡F¹A³õ¥X¯²¡F«OÀI¡F¸ê¥»§ë¸ê¡FÃÀ³N«~¦ô»ù¡F¸g¬ö¡F¾á«O¡F¶Ò¶°·Oµ½°òª÷¡F¨ü°UºÞ²z¡F¨å·í¡C
°Ó¼Ðºc¦¨¡G

°Ó¼Ð½s¸¹¡GN/55065 Ãþ§O¡G 36
¥Ó½Ð¤H¡G¬v®ú@°ò¯S¹ê·~¦³¤½¥q¡A³õ©Ò¡G¤¤°ê®ü«n¬v®ú¥úµØ¤½¥q¤¤¦æ¼Ó236¸¹¡C
°êÄy¡G¤¤°ê
¬¡°Ê¡G°Ó·~¤Î¤u·~
¥Ó½Ð¤é´Á¡G2011/03/11
ªA°È¡G¤£°Ê²£¥X¯²¡F¤£°Ê²£¥N²z¡F¤£°Ê²£¤¤¤¶¡F¤£°Ê²£µû¦ô¡F¤£°Ê²£ºÞ²z¡F¤½´JºÞ²z¡F¤½´J¥X¯²¡F¦í©Ò¡]¤½´J¡^¡F¿ì¤½«Ç¡]¤£°Ê²£¡^¥X¯²¡F¹A³õ¥X¯²¡F«OÀI¡F¸ê¥»§ë¸ê¡FÃÀ³N«~¦ô»ù¡F¸g¬ö¡F¾á«O¡F¶Ò¶°·Oµ½°òª÷¡F¨ü°UºÞ²z¡F¨å·í¡C
°Ó¼Ðºc¦¨¡G

°Ó¼Ð½s¸¹¡GN/55066 Ãþ§O¡G 36
¥Ó½Ð¤H¡G¬v®ú@°ò¯S¹ê·~¦³¤½¥q¡A³õ©Ò¡G¤¤°ê®ü«n¬v®ú¥úµØ¤½¥q¤¤¦æ¼Ó236¸¹¡C
°êÄy¡G¤¤°ê
¬¡°Ê¡G°Ó·~¤Î¤u·~
¥Ó½Ð¤é´Á¡G2011/03/11
ªA°È¡G¤£°Ê²£¥X¯²¡F¤£°Ê²£¥N²z¡F¤£°Ê²£¤¤¤¶¡F¤£°Ê²£µû¦ô¡F¤£°Ê²£ºÞ²z¡F¤½´JºÞ²z¡F¤½´J¥X¯²¡F¦í©Ò¡]¤½´J¡^¡F¿ì¤½«Ç¡]¤£°Ê²£¡^¥X¯²¡F¹A³õ¥X¯²¡F«OÀI¡F¸ê¥»§ë¸ê¡FÃÀ³N«~¦ô»ù¡F¸g¬ö¡F¾á«O¡F¶Ò¶°·Oµ½°òª÷¡F¨ü°UºÞ²z¡F¨å·í¡C
°Ó¼Ðºc¦¨¡G

°Ó¼Ð½s¸¹¡GN/55067 Ãþ§O¡G 36
¥Ó½Ð¤H¡G¬v®ú@°ò¯S¹ê·~¦³¤½¥q¡A³õ©Ò¡G¤¤°ê®ü«n¬v®ú¥úµØ¤½¥q¤¤¦æ¼Ó236¸¹¡C
°êÄy¡G¤¤°ê
¬¡°Ê¡G°Ó·~¤Î¤u·~
¥Ó½Ð¤é´Á¡G2011/03/11
ªA°È¡G¤£°Ê²£¥X¯²¡F¤£°Ê²£¥N²z¡F¤£°Ê²£¤¤¤¶¡F¤£°Ê²£µû¦ô¡F¤£°Ê²£ºÞ²z¡F¤½´JºÞ²z¡F¤½´J¥X¯²¡F¦í©Ò¡]¤½´J¡^¡F¿ì¤½«Ç¡]¤£°Ê²£¡^¥X¯²¡F¹A³õ¥X¯²¡F«OÀI¡F¸ê¥»§ë¸ê¡FÃÀ³N«~¦ô»ù¡F¸g¬ö¡F¾á«O¡F¶Ò¶°·Oµ½°òª÷¡F¨ü°UºÞ²z¡F¨å·í¡C
°Ó¼Ðºc¦¨¡G

°Ó¼Ð½s¸¹¡GN/55068 Ãþ§O¡G 30
¥Ó½Ð¤H¡GTomohiro SUZUKI, 1-20-2-504, Ebisu, Shibuya-ku, Tokyo, Japan.
°êÄy¡G¤é¥»
¬¡°Ê¡G°Ó·~¤Î¤u·~
¥Ó½Ð¤é´Á¡G2011/03/11
²£«~¡G½\Ãþ»s«~¡F¤¤¦¡Äѱø¡]¥¼¸g²i½Õ¡^¡F²ÓÄѱø¡F¤¤¦¡¦Ì¯»¡]¥¼¸g²i½Õ¡^¡F¤¤¦¡§Y¹ÄÑ¡FÄÑÄ{¡F¤¤¦¡»å¤l¡]¤w²i½Õ¡^¡F¤¤¦¡»]»å¡]¤w²i½Õ¡^¡F±a¦×¸HÀ`ªº»]¥]¡]¤w²i½Õ¡^¡F¿}ªG²£«~¡FÄÑ¥]¤Î¤pÄÑ¥]¡C
°Ó¼Ðºc¦¨¡G

ÃC¦â¤§n¨D¡G¬õ¦â¡Aª÷¦â¡C
°Ó¼Ð½s¸¹¡GN/55069 Ãþ§O¡G 43
¥Ó½Ð¤H¡GTomohiro SUZUKI, 1-20-2-504, Ebisu, Shibuya-ku, Tokyo, Japan.
°êÄy¡G¤é¥»
¬¡°Ê¡G°Ó·~¤Î¤u·~
¥Ó½Ð¤é´Á¡G2011/03/11
ªA°È¡G´£¨Ñ¹«~©M¶¼®Æ¡F°s©±¡F´£¨Ñ¤¤¦¡µæÀa¡F´£¨Ñ¶¼¹ªA°È¡]¹«~©M¶¼®Æ¡^¡FÀ\ÆU¡C
°Ó¼Ðºc¦¨¡G

ÃC¦â¤§n¨D¡G¬õ¦â¡Aª÷¦â¡C
°Ó¼Ð½s¸¹¡GN/55070 Ãþ§O¡G 6
¥Ó½Ð¤H¡GSATS Ltd., 20 Airport Boulevard, Singapore Changi Airport, Singapore 819659.
°êÄy¡G·s¥[©Y
¬¡°Ê¡G°Ó·~¤Î¤u·~
¥Ó½Ð¤é´Á¡G2011/03/11
²£«~¡G¾T¤ù¡F¥Î©ó¹ª«¤Î¶¼®Æ¥]¸Ëªº¾T¤ù®e¾¹¡C
°Ó¼Ðºc¦¨¡G

°Ó¼Ð½s¸¹¡GN/55071 Ãþ§O¡G 9
¥Ó½Ð¤H¡GSATS Ltd., 20 Airport Boulevard, Singapore Changi Airport, Singapore 819659.
°êÄy¡G·s¥[©Y
¬¡°Ê¡G°Ó·~¤Î¤u·~
¥Ó½Ð¤é´Á¡G2011/03/11
²£«~¡G¹q¸£µ{¦¡¤Î³n¥ó¡C
°Ó¼Ðºc¦¨¡G

°Ó¼Ð½s¸¹¡GN/55072 Ãþ§O¡G 16
¥Ó½Ð¤H¡GSATS Ltd., 20 Airport Boulevard, Singapore Changi Airport, Singapore 819659.
°êÄy¡G·s¥[©Y
¬¡°Ê¡G°Ó·~¤Î¤u·~
¥Ó½Ð¤é´Á¡G2011/03/11
²£«~¡G¥]¸Ë¥ÎÂH¦X±a¡F¥]¸Ë¥Î²°¡]¯ÈªO¡^¡F¥]¸Ë¥Î¯ÈªO§÷®Æ¡F¥]¸Ë¥Î³z©ú½¤¡F¥]¸Ë¥Î¯È»s®e¾¹¡F¥]¸Ë¹ª«¥Î¶ì®Æ½¤¡F¥]¸Ë¥Î¯ÈªO²°¡F¥]¸Ë¥Î¦Û°ÊÂH¶Kªº±m¦â¶ì®Æ¶K¡F³ø³¹¡FÂø»x¡]´Á¥Z¡^¡C
°Ó¼Ðºc¦¨¡G

°Ó¼Ð½s¸¹¡GN/55073 Ãþ§O¡G 29
¥Ó½Ð¤H¡GSATS Ltd., 20 Airport Boulevard, Singapore Changi Airport, Singapore 819659.
°êÄy¡G·s¥[©Y
¬¡°Ê¡G°Ó·~¤Î¤u·~
¥Ó½Ð¤é´Á¡G2011/03/11
²£«~¡G¦×¡A³½¡A®a¸V¤Î³¥¨ý¡F¦×¥Ä¡F«O¦s¸Ë¡B§Ná¡B°®»s¤ÎµN¼ôªº¤ôªG¤Î½µæ¡FªGá¡A啫³í¡A»eÀ^¡F³J¡A¥¤¤Î¨Å»s«~¡F¹¥Îªo¤Îªo¯×¡Fªo·Î«~¡F®üÂA»s«~¡F»¸z¤Î»¸z»s«~¡F³J»s«~¡F¤g¨§ªo·Î«~¡F§Y¹¹«~¡F§Y¹¶}G«~¡F¥H¥¤¬°¥Dªº§Y¹²¢«~¡F©@³í¡]§t¦³©Î¤£§t¦³¦Ìªº»s³ÆÀ\¹¡^¡F¥Dn¥Ñ¦×¡B³½¡B³¥¨ý¡B»Û£¡B®a¸V¡B¤ôªG¡B³J¡B¥¤¤Î¨Å»s«~¡B½µæ¤Î®üÂA²Õ¦¨ªº»s³ÆÀ\¹¤Î¶}G«~¡F¶Àªo¡F¤ôªG²¢«~¡F²¢«~¥Î»s¾¯¡F²¢«~¥Î»s¾¯¡]¥H¤ôªG¬°¥Dªº¡^¡F²¢«~¥Î»s¾¯¡]¥H¥¤¬°¥Dªº¡^¡C
°Ó¼Ðºc¦¨¡G

°Ó¼Ð½s¸¹¡GN/55074 Ãþ§O¡G 30
¥Ó½Ð¤H¡GSATS Ltd., 20 Airport Boulevard, Singapore Changi Airport, Singapore 819659.
°êÄy¡G·s¥[©Y
¬¡°Ê¡G°Ó·~¤Î¤u·~
¥Ó½Ð¤é´Á¡G2011/03/11
²£«~¡G©@°Ø¡A¯ù¡A¥i¥i¡A¿}¡A¦Ì¡A¾ý¯»¡A¦è¦Ì¡A©@°Ø¥N¥Î«~¡FÄѯ»¤Î½\Ãþ»s«~¡AÄÑ¥]¡A¿|ÂI²£«~¤Î¿}ªG¡A¦B»s¹«~¡F¸Á»e¡A¿}¼ß¡FÂA»Ã¥À¡Aµo»Ã¯»¡F¹ÆQ¡Aªã¥½¡A¾L¡AÂæ¥Ä¡]½Õ¨ý«~¡^¡F½Õ¨ý®Æ¡F¦B¡F»æ°®¡F³J¿|¡F¹¥ÎÄѹ¡F¦Ì¡F©@³í¯»¡F©@³íÂæ¡F©@³í²V¦Xª«¡FÄѹ¡F¥]§t¡]¥Dn¦a¡^¦Ì¡BÄѹ©Î½\Ãþªº¹w»sÀ\¹¡F¦×¡BÂû¡B³½¤Î®üÂA»s§Ná²£«~¡F§t¦³©Î¥Ñ¤@ºØ©Î§ó¦h¤Wz²£«~»s³yªº¹«~¡F²¢«~¤Î¥¬¨l¡F²¢«~¡]¿}ªG¡^¥Î»s¾¯¡F¤T©úªv¡F¥þÄݦ¹Ãþ¡C
°Ó¼Ðºc¦¨¡G

°Ó¼Ð½s¸¹¡GN/55075 Ãþ§O¡G 31
¥Ó½Ð¤H¡GSATS Ltd., 20 Airport Boulevard, Singapore Changi Airport, Singapore 819659.
°êÄy¡G·s¥[©Y
¬¡°Ê¡G°Ó·~¤Î¤u·~
¥Ó½Ð¤é´Á¡G2011/03/11
²£«~¡G¹A·~¡B¶éÃÀ©MªL·~²£«~¤Î¤£ÄݧOÃþªº½\ª«¡F¬¹¯b¡F·sÂA¤ôªG¤Î½µæ¡FºØ¤l¡A¯ó¤ì¤Îªá¥c¡F°Êª«¹}®Æ¡F³ÁªÞ¡F¥þÄݦ¹Ãþ¡C
°Ó¼Ðºc¦¨¡G

°Ó¼Ð½s¸¹¡GN/55076 Ãþ§O¡G 32
¥Ó½Ð¤H¡GSATS Ltd., 20 Airport Boulevard, Singapore Changi Airport, Singapore 819659.
°êÄy¡G·s¥[©Y
¬¡°Ê¡G°Ó·~¤Î¤u·~
¥Ó½Ð¤é´Á¡G2011/03/11
²£«~¡G°à°s¡FÄq¬u¤ô¤Î¨T¤ô¥H¤Î¨ä¥L¤£§t°sºëªº¶¼®Æ¡F¤ôªG¶¼®Æ¤Î¤ôªG¥Ä¡F¿}¼ß¤Î¨ä¥L»s¶¼®Æ¥Î»s¾¯¡F¥þÄݦ¹Ãþ¡C
°Ó¼Ðºc¦¨¡G

°Ó¼Ð½s¸¹¡GN/55077 Ãþ§O¡G 33
¥Ó½Ð¤H¡GSATS Ltd., 20 Airport Boulevard, Singapore Changi Airport, Singapore 819659.
°êÄy¡G·s¥[©Y
¬¡°Ê¡G°Ó·~¤Î¤u·~
¥Ó½Ð¤é´Á¡G2011/03/11
²£«~¡G§t°sºëªº¶¼®Æ¡]°à°s°£¥~¡^¡FÂû§À°s¡F¥H¤ôªG¬°¥Dªº§t°sºë¶¼®Æ¡F¥þÄݦ¹Ãþ¡C
°Ó¼Ðºc¦¨¡G

°Ó¼Ð½s¸¹¡GN/55078 Ãþ§O¡G 35
¥Ó½Ð¤H¡GSATS Ltd., 20 Airport Boulevard, Singapore Changi Airport, Singapore 819659.
°êÄy¡G·s¥[©Y
¬¡°Ê¡G°Ó·~¤Î¤u·~
¥Ó½Ð¤é´Á¡G2011/03/11
ªA°È¡G¬°²Ä¤TªÌ§Q¯q¦Ó¶×¶°¦UÃþ²£«~¡]¨ä¹B¿é°£¥~¡^¡A¨ÏÅU«È¯à°÷³z¹L°Ó·~¤¤¤ß¡A³z¹L¶l±HqÁʲ£«~ªº¤@¯ë¥Ø¿ý©Î³z¹L¹q°T¤u¨ã¡A©Î¦Û¤@¯ë²£«~ªº¥þ²y³q°Tºôµ¸ºô¯¸©Î§åµoÜ®w¡A«K§Q¦aÆ[¬Ý¤ÎÁʶR³o¨Ç²£«~¡F¦a§}ªí¶×½s¡Fª½±µ¶l±H¼s§i¡F¶T©öÅU°Ý¤Î°Ó·~ºÞ²zªA°È¡A¼s§iªA°È¡A²£«~¤¶²ÐªA°È¡A«Å¶ÇªA°È¡A¥«³õÀç¾P¤Î±À¾PªA°È¡F¥«³õ¤ÀªR¤Î¬ã¨sªA°È¡F¶i¤f¤Î/©Î¥X¤f¥N²zªA°È¡F¥H¤@¥ø·~¦WºÙ·j´M¤ÎÁʶR²£«~¡F»P¤Wz©Ò¦³ªA°È¦³Ãöªº¸ê°T¡BÅU°Ý¤Î¿Ô¸ßªA°È¡F¥þÄݦ¹Ãþ¡C
°Ó¼Ðºc¦¨¡G

°Ó¼Ð½s¸¹¡GN/55079 Ãþ§O¡G 37
¥Ó½Ð¤H¡GSATS Ltd., 20 Airport Boulevard, Singapore Changi Airport, Singapore 819659.
°êÄy¡G·s¥[©Y
¬¡°Ê¡G°Ó·~¤Î¤u·~
¥Ó½Ð¤é´Á¡G2011/03/11
ªA°È¡G²M¼äªA°È¡F¸¦æ¾¹ªº²M¼äªA°È¡F®ø¬rªA°È¡F´£¨Ñ¬~¦ç©±¤Î°®¬~ªA°È¡F´£¨Ñ²M¬~¤Î¼÷¿S¨È³Â¥¬¦çªA°È¡F»P¤Wz©Ò¦³ªA°È¦³Ãöªº¸ê°T¡BÅU°Ý¤Î¿Ô¸ßªA°È¡F¥þÄݦ¹Ãþ¡C
°Ó¼Ðºc¦¨¡G

°Ó¼Ð½s¸¹¡GN/55080 Ãþ§O¡G 39
¥Ó½Ð¤H¡GSATS Ltd., 20 Airport Boulevard, Singapore Changi Airport, Singapore 819659.
°êÄy¡G·s¥[©Y
¬¡°Ê¡G°Ó·~¤Î¤u·~
¥Ó½Ð¤é´Á¡G2011/03/11
ªA°È¡G¸¦æ¾¹³B²zªA°È¡F¦a±¤ä´©ªA°È¡A¦p¼«È¡B¦æ§õ¡B¶l¥ó¡B°Ó«~¤Î³fª«ªº³B²zªA°È¡F®È«È³¦P¡F®È«È¹B¿é¡F³fª«»¼°eªA°È¡F³fª«ªº¸Ë³f¤Î¨ø³f¡F³fª«µo¹B¤Î°e»¼ªA°È¡F»P¾÷³õ³fª«¤Î¶l¥ó°e»¼¦³Ãöªº¾Þ§@ºÞ²z¡F¸¦æ¾¹ªº¾Þ§@ºÞ²z¡F¯èªÅ¯¸¹B§@ªººÞ²z¡F¯èªÅ¤½¥q¹B¿é¤Î¹B¿éªA°È¡F©ó¸¾÷³õªº¼«Èµn°OªA°È¡F¾÷²¼¹w¯dªA°È¡FªÅ¤¤¥æ³qºÞ¨îªA°È¡F¦a±¯èªÅ¥æ³qºÞ¨îªA°È¡FªÅ¤¤¸¦æªA°È¡F¸¦æp¹ºªA°È¡FÀx¦s¡]¹B¿é¡^ªº¦w¥þªA°È¡F¶Q«ª««~ªº«OÅ@¹B¿é¡F»P¦a¶ÔªA°È¡B¨ÑÀ³ÃìºÞ²z¡BÜÀx¤Î¹B¿é¦³Ãöªºª«¬yªA°È¡F¦æ§õ¡B°Ó«~¤Î³fª«ªº¦s©ñ¤ÎÀx¦s¡F¹«~Àx¦sªA°È¡F°Ó«~¡B¹ª«¤Î¹¥Î²£«~ªº°t°e¡]¹B¿é¡^¡F¹ª«¤Î¶¼®Æ°e»¼¡FÀ\¹°e»¼¡F¦w±Æ¹B¿é¡F¹B¿éªA°È¡F´£¨Ñ©ó¸g±`©Ê¯èªÅ®È«Èp¹ºªº¹B¿éªA°È¡F¦æ§õ¹B¿éªA°È¡F¯èªÅ¤½¥q¼«Èµn°OªA°È¡F°Ó«~¥]¸Ë¡Aª««~¡A§ª«Äx¤Îªá¡F®È¦æ¸ê°TªA°È¡F»P¤Wz©Ò¦³ªA°È¦³Ãöªº¸ê°T¡BÅU°Ý¤Î¿Ô¸ßªA°È¡F¥þÄݦ¹Ãþ¡C
°Ó¼Ðºc¦¨¡G

°Ó¼Ð½s¸¹¡GN/55081 Ãþ§O¡G 42
¥Ó½Ð¤H¡GSATS Ltd., 20 Airport Boulevard, Singapore Changi Airport, Singapore 819659.
°êÄy¡G·s¥[©Y
¬¡°Ê¡G°Ó·~¤Î¤u·~
¥Ó½Ð¤é´Á¡G2011/03/11
ªA°È¡G¬ì¾Ç§Þ³NªA°È©M»P¤§¬ÛÃöªº¬ã¨s»P³]pªA°È¡F¤u·~¤ÀªR»P¬ã¨s¡Fpºâ¾÷µw¥ó»P³n¥óªº³]p»P¶}µo¡F®ð¶H«H®§¡F´£¨Ñ»P¹ª«¦w¥þ¦³Ãöªº¸ê°T¡F¹ª«¤Î¹ª«¦³Ãöªº²£«~¬ã¨s¡B«~À|¤Î¤ÀªR¡F¥]»q§ª«ªA°È¡F»P¤Wz©Ò¦³ªA°È¦³Ãöªº¸ê°T¡BÅU°Ý¤Î¿Ô¸ßªA°È¡F¥þÄݦ¹Ãþ¡C
°Ó¼Ðºc¦¨¡G

°Ó¼Ð½s¸¹¡GN/55082 Ãþ§O¡G 43
¥Ó½Ð¤H¡GSATS Ltd., 20 Airport Boulevard, Singapore Changi Airport, Singapore 819659.
°êÄy¡G·s¥[©Y
¬¡°Ê¡G°Ó·~¤Î¤u·~
¥Ó½Ð¤é´Á¡G2011/03/11
ªA°È¡G´£¨ÑÀ\¹ªA°È¡F¬°¯èªÅ¤½¥q´£¨ÑÀ\¹ªA°È¡F¹w³Æ¹«~¤Î¶¼®Æ¡F¹w³ÆÀ\¹¡F´£¨Ñ°s§a¡B¥ð¶¢«Ç¤ÎÀ\ÆUªA°È¡F¥]¬A«ù¦³´£¨Ñ°sºë¶¼®Æã·Óªº°s§aªºÀ\¶¼ªA°È¡F¥Î©ó¦V¸g±`©Ê®È«Èp¹º´£¨ÑÀ\ÆUªºµn°O©Î¹w¯dªºªA°È¡F°sÀ]ªA°È¡F©@°ØÆUªA°È¡F¦×¹©±ªA°È¡F¤p¦Y©±ªA°È¡F¦w±Æ°s©±¦í±J¡F¨È³Â¥¬¦ç¥X¯²¤Î¦X¬ù¡F¬°®È«È¦w±Æ¦í±J¡F´£¨Ñ¥]¬A¦b½u¡B´£¨Ñ¹«~©M¶¼®ÆªA°È¡A¤ÎÁ{®É¦í±Jªº¸ê°T¡F»P¤Wz©Ò¦³ªA°È¦³Ãöªº¸ê°T¡BÅU°Ý¤Î¿Ô¸ßªA°È¡F¥þÄݦ¹Ãþ¡C
°Ó¼Ðºc¦¨¡G

°Ó¼Ð½s¸¹¡GN/55083 Ãþ§O¡G 45
¥Ó½Ð¤H¡GSATS Ltd., 20 Airport Boulevard, Singapore Changi Airport, Singapore 819659.
°êÄy¡G·s¥[©Y
¬¡°Ê¡G°Ó·~¤Î¤u·~
¥Ó½Ð¤é´Á¡G2011/03/11
ªA°È¡G¦w¥þªA°È¡F¸¦æ¾¹¦w¥þªA°È¡F¾÷³õ¦w¥þªA°È¡F«O¦wÅ@½ÃªA°È¡F¯èªÅ®È«Èªº¤À¬yªA°È¡]¦w¥þ¡^¡F¦æ§õ¡B°Ó«~¤Î³fª«ªº¤À¬yªA°È¡]¦w¥þ¡^¡F´£¨Ñ²{³õ«O¦w³]¬I¡F´£¨Ñ»P¦w¥þ¦³Ãöªº¸ê°T¡F¦w¥þºÊµø¡F»P¤Wz´£¤Îªº©Ò¦³ªA°È¦³Ãöªº¸ê°T¡BÅU°Ý¤Î¿Ô¸ßªA°È¡F¥þÄݦ¹Ãþ¡C
°Ó¼Ðºc¦¨¡G

°Ó¼Ð½s¸¹¡GN/55084 Ãþ§O¡G 32
¥Ó½Ð¤H¡GSABMILLER INTERNATIONAL B.V., Schouwburgplein 30-34, 3012 CL Rotterdam, The Netherlands.
°êÄy¡G²üÄõ
¬¡°Ê¡G°Ó·~¤Î¤u·~
¥Ó½Ð¤é´Á¡G2011/03/11
²£«~¡GÄq¬u¤ô¤Î¨T¤ô¡F¤ôªG¶¼®Æ¤Î¤ôªG¥Ä¡F±aÄ«ªG¨ý¹DªºªÚ»²M²D¶¼®Æ¤Î¨ä»s³y¥Î¿}¼ß¡C
°Ó¼Ðºc¦¨¡G

°Ó¼Ð½s¸¹¡GN/55085 Ãþ§O¡G 32
¥Ó½Ð¤H¡GSABMILLER INTERNATIONAL B.V., Schouwburgplein 30-34, 3012 CL Rotterdam, The Netherlands.
°êÄy¡G²üÄõ
¬¡°Ê¡G°Ó·~¤Î¤u·~
¥Ó½Ð¤é´Á¡G2011/03/11
²£«~¡GÄq¬u¤ô¤Î¨T¤ô¡F¤ôªG¶¼®Æ¤Î¤ôªG¥Ä¡F±a¸²µå¨ý¹DªºªÚ»²M²D¶¼®Æ¤Î¨ä»s³y¥Î¿}¼ß¡C
°Ó¼Ðºc¦¨¡G

°Ó¼Ð½s¸¹¡GN/55086 Ãþ§O¡G 32
¥Ó½Ð¤H¡GSABMILLER INTERNATIONAL B.V., Schouwburgplein 30-34, 3012 CL Rotterdam, The Netherlands.
°êÄy¡G²üÄõ
¬¡°Ê¡G°Ó·~¤Î¤u·~
¥Ó½Ð¤é´Á¡G2011/03/11
²£«~¡GÄq¬u¤ô¤Î¨T¤ô¡F¤ôªG¶¼®Æ¤Î¤ôªG¥Ä¡F±aÄ«ªG¨ý¹DªºªÚ»²M²D¶¼®Æ¤Î¨ä»s³y¥Î¿}¼ß¡C
°Ó¼Ðºc¦¨¡G

°Ó¼Ð½s¸¹¡GN/55087 Ãþ§O¡G 32
¥Ó½Ð¤H¡GSABMILLER INTERNATIONAL B.V., Schouwburgplein 30-34, 3012 CL Rotterdam, The Netherlands.
°êÄy¡G²üÄõ
¬¡°Ê¡G°Ó·~¤Î¤u·~
¥Ó½Ð¤é´Á¡G2011/03/11
²£«~¡GÄq¬u¤ô¤Î¨T¤ô¡F¤ôªG¶¼®Æ¤Î¤ôªG¥Ä¡F±a¸²µå¨ý¹DªºªÚ»²M²D¶¼®Æ¤Î¨ä»s³y¥Î¿}¼ß¡C
°Ó¼Ðºc¦¨¡G

°Ó¼Ð½s¸¹¡GN/55088 Ãþ§O¡G 29
¥Ó½Ð¤H¡GAJI ICHIBAN COMPANY LIMITED, 10/F, Aji Ichiban Centre, 18 Wing Kei Road, Kwai Chung, Hong Kong.
°êÄy¡G®Ú¾Ú»´äªk¨Ò¦¨¥ß
¬¡°Ê¡G°Ó·~
¥Ó½Ð¤é´Á¡G2011/03/11
²£«~¡G«O¦s¸Ë¹«~¡A¦×¡A³½¡A®a¸V¤Î³¥¨ý¡A¦×¥Ä¡A«O¦s¸Ë¡B°®»s¤ÎµN¼ôªº¤ôªG©M½µæ¡AªGá¡AªGÂæ¡A»eÀ^¡A³J¡A¹¥Îªo¤Îªo¯×¡A°®¤ôªG¡A¥¤¤Î¨Å»s«~¡A´ö¡AÀ`®Æ¡A¼ßª¬¹¥Î²£«~©Î¶î©Ù¥Î¨Å¯×¡AÅøÀY¡Aªwµæ¡A¥þÄݲÄ29Ãþ¡C
°Ó¼Ðºc¦¨¡G

ÃC¦â¤§n¨D¡G¦âª©¡G¶Â¦â¤Î¬õ¦â¡A¦p´£¥æ¹Ï¼Ë©Ò¥Ü¡C
°Ó¼Ð½s¸¹¡GN/55089 Ãþ§O¡G 30
¥Ó½Ð¤H¡GAJI ICHIBAN COMPANY LIMITED, 10/F, Aji Ichiban Centre, 18 Wing Kei Road, Kwai Chung, Hong Kong.
°êÄy¡G®Ú¾Ú»´äªk¨Ò¦¨¥ß
¬¡°Ê¡G°Ó·~
¥Ó½Ð¤é´Á¡G2011/03/11
²£«~¡G©@°Ø¡A¯ù¡A¥i¥i¡A¿}¡A¦Ì¡A¤ìÁ¦¾ý¯»¡A¦è¦Ì¡A©@°Ø¥N¥Î«~¡FÄѯ»¤Î½\Ãþ»s«~¡AÄÑ¥]¡A¿|ÂI¤Î¿}ªG¡A¦B»s¹«~¡F¸Á»e¡A¿}¼ß¡FÂA»Ã¥À¡Aµo»Ã¯»¡F¹ÆQ¡Aªã¥½¡F¾L¡AÂæ¥Ä¡]½Õ¨ý«~¡^¡F½Õ¨ý®Æ¡F¶¼¥Î¦B¡A¥þÄݲÄ30Ãþ¡C
°Ó¼Ðºc¦¨¡G

ÃC¦â¤§n¨D¡G¦âª©¡G¶Â¦â¤Î¬õ¦â¡A¦p´£¥æ¹Ï¼Ë©Ò¥Ü¡C
°Ó¼Ð½s¸¹¡GN/55090 Ãþ§O¡G 35
¥Ó½Ð¤H¡GAJI ICHIBAN COMPANY LIMITED, 10/F, Aji Ichiban Centre, 18 Wing Kei Road, Kwai Chung, Hong Kong.
°êÄy¡G®Ú¾Ú»´äªk¨Ò¦¨¥ß
¬¡°Ê¡G°Ó·~
¥Ó½Ð¤é´Á¡G2011/03/11
ªA°È¡G¼s§i¡F°Ó·~¶T©öºÞ²z¡F°Ó·~¦æ¬F¡F¿ì¤½«Ç¨Æ°È¡A¥þÄݲÄ35Ãþ¡C
°Ó¼Ðºc¦¨¡G

ÃC¦â¤§n¨D¡G¦âª©¡G¶Â¦â¤Î¬õ¦â¡A¦p´£¥æ¹Ï¼Ë©Ò¥Ü¡C
°Ó¼Ð½s¸¹¡GN/55091 Ãþ§O¡G 29
¥Ó½Ð¤H¡GAJI ICHIBAN COMPANY LIMITED, 10/F, Aji Ichiban Centre, 18 Wing Kei Road, Kwai Chung, Hong Kong.
°êÄy¡G®Ú¾Ú»´äªk¨Ò¦¨¥ß
¬¡°Ê¡G°Ó·~
¥Ó½Ð¤é´Á¡G2011/03/11
²£«~¡G«O¦s¸Ë¹«~¡A¦×¡A³½¡A®a¸V¤Î³¥¨ý¡A¦×¥Ä¡A«O¦s¸Ë¡B°®»s¤ÎµN¼ôªº¤ôªG©M½µæ¡AªGá¡AªGÂæ¡A»eÀ^¡A³J¡A¹¥Îªo¤Îªo¯×¡A°®¤ôªG¡A¥¤¤Î¨Å»s«~¡A´ö¡AÀ`®Æ¡A¼ßª¬¹¥Î²£«~©Î¶î©Ù¥Î¨Å¯×¡AÅøÀY¡Aªwµæ¡A¥þÄݲÄ29Ãþ¡C
°Ó¼Ðºc¦¨¡G

ÃC¦â¤§n¨D¡G¦âª©¡G¶Â¦â¤Î¬õ¦â¡A¦p´£¥æ¹Ï¼Ë©Ò¥Ü¡C
°Ó¼Ð½s¸¹¡GN/55092 Ãþ§O¡G 29
¥Ó½Ð¤H¡GAJI ICHIBAN COMPANY LIMITED, 10/F, Aji Ichiban Centre, 18 Wing Kei Road, Kwai Chung, Hong Kong.
°êÄy¡G®Ú¾Ú»´äªk¨Ò¦¨¥ß
¬¡°Ê¡G°Ó·~
¥Ó½Ð¤é´Á¡G2011/03/11
²£«~¡G«O¦s¸Ë¹«~¡A¦×¡A³½¡A®a¸V¤Î³¥¨ý¡A¦×¥Ä¡A«O¦s¸Ë¡B°®»s¤ÎµN¼ôªº¤ôªG©M½µæ¡AªGá¡AªGÂæ¡A»eÀ^¡A³J¡A¹¥Îªo¤Îªo¯×¡A°®¤ôªG¡A¥¤¤Î¨Å»s«~¡A´ö¡AÀ`®Æ¡A¼ßª¬¹¥Î²£«~©Î¶î©Ù¥Î¨Å¯×¡AÅøÀY¡Aªwµæ¡A¥þÄݲÄ29Ãþ¡C
°Ó¼Ðºc¦¨¡G

ÃC¦â¤§n¨D¡G¦âª©¡G¶Â¦â¤Î¬õ¦â¡A¦p´£¥æ¹Ï¼Ë©Ò¥Ü¡C
°Ó¼Ð½s¸¹¡GN/55093 Ãþ§O¡G 29
¥Ó½Ð¤H¡GAJI ICHIBAN COMPANY LIMITED, 10/F, Aji Ichiban Centre, 18 Wing Kei Road, Kwai Chung, Hong Kong.
°êÄy¡G®Ú¾Ú»´äªk¨Ò¦¨¥ß
¬¡°Ê¡G°Ó·~
¥Ó½Ð¤é´Á¡G2011/03/11
²£«~¡G«O¦s¸Ë¹«~¡A¦×¡A³½¡A®a¸V¤Î³¥¨ý¡A¦×¥Ä¡A«O¦s¸Ë¡B°®»s¤ÎµN¼ôªº¤ôªG©M½µæ¡AªGá¡AªGÂæ¡A»eÀ^¡A³J¡A¹¥Îªo¤Îªo¯×¡A°®¤ôªG¡A¥¤¤Î¨Å»s«~¡A´ö¡AÀ`®Æ¡A¼ßª¬¹¥Î²£«~©Î¶î©Ù¥Î¨Å¯×¡AÅøÀY¡Aªwµæ¡A¥þÄݲÄ29Ãþ¡C
°Ó¼Ðºc¦¨¡G

ÃC¦â¤§n¨D¡G¦âª©¡G¥Õ¦â¡A¶Â¦â¤Î¬õ¦â¡A¦p´£¥æ¹Ï¼Ë©Ò¥Ü¡C
°Ó¼Ð½s¸¹¡GN/55094 Ãþ§O¡G 30
¥Ó½Ð¤H¡GAJI ICHIBAN COMPANY LIMITED, 10/F, Aji Ichiban Centre, 18 Wing Kei Road, Kwai Chung, Hong Kong.
°êÄy¡G®Ú¾Ú»´äªk¨Ò¦¨¥ß
¬¡°Ê¡G°Ó·~
¥Ó½Ð¤é´Á¡G2011/03/11
²£«~¡G©@°Ø¡A¯ù¡A¥i¥i¡A¿}¡A¦Ì¡A¤ìÁ¦¾ý¯»¡A¦è¦Ì¡A©@°Ø¥N¥Î«~¡FÄѯ»¤Î½\Ãþ»s«~¡AÄÑ¥]¡A¿|ÂI¤Î¿}ªG¡A¦B»s¹«~¡F¸Á»e¡A¿}¼ß¡FÂA»Ã¥À¡Aµo»Ã¯»¡F¹ÆQ¡Aªã¥½¡F¾L¡AÂæ¥Ä¡]½Õ¨ý«~¡^¡F½Õ¨ý®Æ¡F¶¼¥Î¦B¡A¥þÄݲÄ30Ãþ¡C
°Ó¼Ðºc¦¨¡G

ÃC¦â¤§n¨D¡G¦âª©¡G¥Õ¦â¡A¶Â¦â¤Î¬õ¦â¡A¦p´£¥æ¹Ï¼Ë©Ò¥Ü¡C
°Ó¼Ð½s¸¹¡GN/55095 Ãþ§O¡G 35
¥Ó½Ð¤H¡GAJI ICHIBAN COMPANY LIMITED, 10/F, Aji Ichiban Centre, 18 Wing Kei Road, Kwai Chung, Hong Kong.
°êÄy¡G®Ú¾Ú»´äªk¨Ò¦¨¥ß
¬¡°Ê¡G°Ó·~
¥Ó½Ð¤é´Á¡G2011/03/11
ªA°È¡G¼s§i¡F°Ó·~¶T©öºÞ²z¡F°Ó·~¦æ¬F¡F¿ì¤½«Ç¨Æ°È¡A¥þÄݲÄ35Ãþ¡C
°Ó¼Ðºc¦¨¡G

ÃC¦â¤§n¨D¡G¦âª©¡G¥Õ¦â¡A¶Â¦â¤Î¬õ¦â¡A¦p´£¥æ¹Ï¼Ë©Ò¥Ü¡C
°Ó¼Ð½s¸¹¡GN/55096 Ãþ§O¡G 29
¥Ó½Ð¤H¡GAJI ICHIBAN COMPANY LIMITED, 10/F, Aji Ichiban Centre, 18 Wing Kei Road, Kwai Chung, Hong Kong.
°êÄy¡G®Ú¾Ú»´äªk¨Ò¦¨¥ß
¬¡°Ê¡G°Ó·~
¥Ó½Ð¤é´Á¡G2011/03/11
²£«~¡G«O¦s¸Ë¹«~¡A¦×¡A³½¡A®a¸V¤Î³¥¨ý¡A¦×¥Ä¡A«O¦s¸Ë¡B°®»s¤ÎµN¼ôªº¤ôªG©M½µæ¡AªGá¡AªGÂæ¡A»eÀ^¡A³J¡A¹¥Îªo¤Îªo¯×¡A°®¤ôªG¡A¥¤¤Î¨Å»s«~¡A´ö¡AÀ`®Æ¡A¼ßª¬¹¥Î²£«~©Î¶î©Ù¥Î¨Å¯×¡AÅøÀY¡Aªwµæ¡A¥þÄݲÄ29Ãþ¡C
°Ó¼Ðºc¦¨¡G

ÃC¦â¤§n¨D¡G¦âª©¡G¶Â¦â¡A¦p´£¥æ¹Ï¼Ë©Ò¥Ü¡C
°Ó¼Ð½s¸¹¡GN/55097 Ãþ§O¡G 29
¥Ó½Ð¤H¡GAJI ICHIBAN COMPANY LIMITED, 10/F, Aji Ichiban Centre, 18 Wing Kei Road, Kwai Chung, Hong Kong.
°êÄy¡G®Ú¾Ú»´äªk¨Ò¦¨¥ß
¬¡°Ê¡G°Ó·~
¥Ó½Ð¤é´Á¡G2011/03/11
²£«~¡G«O¦s¸Ë¹«~¡A¦×¡A³½¡A®a¸V¤Î³¥¨ý¡A¦×¥Ä¡A«O¦s¸Ë¡B°®»s¤ÎµN¼ôªº¤ôªG©M½µæ¡AªGá¡AªGÂæ¡A»eÀ^¡A³J¡A¹¥Îªo¤Îªo¯×¡A°®¤ôªG¡A¥¤¤Î¨Å»s«~¡A´ö¡AÀ`®Æ¡A¼ßª¬¹¥Î²£«~©Î¶î©Ù¥Î¨Å¯×¡AÅøÀY¡Aªwµæ¡A¥þÄݲÄ29Ãþ¡C
°Ó¼Ðºc¦¨¡G

ÃC¦â¤§n¨D¡G¦âª©¡G¬õ¦â¤Î¥Õ¦â¡A¦p´£¥æ¹Ï¼Ë©Ò¥Ü¡C
°Ó¼Ð½s¸¹¡GN/55098 Ãþ§O¡G 29
¥Ó½Ð¤H¡GAJI ICHIBAN COMPANY LIMITED, 10/F, Aji Ichiban Centre, 18 Wing Kei Road, Kwai Chung, Hong Kong.
°êÄy¡G®Ú¾Ú»´äªk¨Ò¦¨¥ß
¬¡°Ê¡G°Ó·~
¥Ó½Ð¤é´Á¡G2011/03/11
²£«~¡G«O¦s¸Ë¹«~¡A¦×¡A³½¡A®a¸V¤Î³¥¨ý¡A¦×¥Ä¡A«O¦s¸Ë¡B°®»s¤ÎµN¼ôªº¤ôªG©M½µæ¡AªGá¡AªGÂæ¡A»eÀ^¡A³J¡A¹¥Îªo¤Îªo¯×¡A°®¤ôªG¡A¥¤¤Î¨Å»s«~¡A´ö¡AÀ`®Æ¡A¼ßª¬¹¥Î²£«~©Î¶î©Ù¥Î¨Å¯×¡AÅøÀY¡Aªwµæ¡A¥þÄݲÄ29Ãþ¡C
°Ó¼Ðºc¦¨¡G

ÃC¦â¤§n¨D¡G¦âª©¡G¶Â¦â¡A¦p´£¥æ¹Ï¼Ë©Ò¥Ü¡C
°Ó¼Ð½s¸¹¡GN/55099 Ãþ§O¡G 30
¥Ó½Ð¤H¡GAJI ICHIBAN COMPANY LIMITED, 10/F, Aji Ichiban Centre, 18 Wing Kei Road, Kwai Chung, Hong Kong.
°êÄy¡G®Ú¾Ú»´äªk¨Ò¦¨¥ß
¬¡°Ê¡G°Ó·~
¥Ó½Ð¤é´Á¡G2011/03/11
²£«~¡G©@°Ø¡A¯ù¡A¥i¥i¡A¿}¡A¦Ì¡A¤ìÁ¦¾ý¯»¡A¦è¦Ì¡A©@°Ø¥N¥Î«~¡FÄѯ»¤Î½\Ãþ»s«~¡AÄÑ¥]¡A¿|ÂI¤Î¿}ªG¡A¦B»s¹«~¡F¸Á»e¡A¿}¼ß¡FÂA»Ã¥À¡Aµo»Ã¯»¡F¹ÆQ¡Aªã¥½¡F¾L¡AÂæ¥Ä¡]½Õ¨ý«~¡^¡F½Õ¨ý®Æ¡F¶¼¥Î¦B¡A¥þÄݲÄ30Ãþ¡C
°Ó¼Ðºc¦¨¡G

ÃC¦â¤§n¨D¡G¦âª©¡G¶Â¦â¡A¦p´£¥æ¹Ï¼Ë©Ò¥Ü¡C
°Ó¼Ð½s¸¹¡GN/55100 Ãþ§O¡G 35
¥Ó½Ð¤H¡GAJI ICHIBAN COMPANY LIMITED, 10/F, Aji Ichiban Centre, 18 Wing Kei Road, Kwai Chung, Hong Kong.
°êÄy¡G®Ú¾Ú»´äªk¨Ò¦¨¥ß
¬¡°Ê¡G°Ó·~
¥Ó½Ð¤é´Á¡G2011/03/11
ªA°È¡G¼s§i¡F°Ó·~¶T©öºÞ²z¡F°Ó·~¦æ¬F¡F¿ì¤½«Ç¨Æ°È¡A¥þÄݲÄ35Ãþ¡C
°Ó¼Ðºc¦¨¡G

ÃC¦â¤§n¨D¡G¦âª©¡G¶Â¦â¡A¦p´£¥æ¹Ï¼Ë©Ò¥Ü¡C
°Ó¼Ð½s¸¹¡GN/55101 Ãþ§O¡G 29
¥Ó½Ð¤H¡GAJI ICHIBAN COMPANY LIMITED, 10/F, Aji Ichiban Centre, 18 Wing Kei Road, Kwai Chung, Hong Kong.
°êÄy¡G®Ú¾Ú»´äªk¨Ò¦¨¥ß
¬¡°Ê¡G°Ó·~
¥Ó½Ð¤é´Á¡G2011/03/11
²£«~¡G«O¦s¸Ë¹«~¡A¦×¡A³½¡A®a¸V¤Î³¥¨ý¡A¦×¥Ä¡A«O¦s¸Ë¡B°®»s¤ÎµN¼ôªº¤ôªG©M½µæ¡AªGá¡AªGÂæ¡A»eÀ^¡A³J¡A¹¥Îªo¤Îªo¯×¡A°®¤ôªG¡A¥¤¤Î¨Å»s«~¡A´ö¡AÀ`®Æ¡A¼ßª¬¹¥Î²£«~©Î¶î©Ù¥Î¨Å¯×¡AÅøÀY¡Aªwµæ¡A¥þÄݲÄ29Ãþ¡C
°Ó¼Ðºc¦¨¡G

ÃC¦â¤§n¨D¡G¦âª©¡G¶Â¦â¡A¦p´£¥æ¹Ï¼Ë©Ò¥Ü¡C
°Ó¼Ð½s¸¹¡GN/55102 Ãþ§O¡G 30
¥Ó½Ð¤H¡G±ç®¶¥þ¡A³õ©Ò¡G¿Dªù°ª¼Óµó3¸¹¬u«T¼Ó2D¡C
°êÄy¡G¤¤°ê
¬¡°Ê¡G°Ó·~
¥Ó½Ð¤é´Á¡G2011/03/11
²£«~¡Gªá¥Í¿}¡A¿}ªGÃþ¡A§ö¤¯»æÃþ¡A¤¤¦¡»æÃþ¡A¦è¦¡»æÃþ¡A³J¨÷Ãþ¡AÄѯ»¤Î½\Ãþ»s«~¡C
°Ó¼Ðºc¦¨¡G

ÃC¦â¤§n¨D¡G¥Õ¦â©³¦â¤Î¶Â¦â¦r¡C
°Ó¼Ð½s¸¹¡GN/55126 Ãþ§O¡G 9
¥Ó½Ð¤H¡GFERRARI S.p.A., Via Emilia Est 1163, Modena, Italy.
°êÄy¡G·N¤j§Q
¬¡°Ê¡G°Ó·~¤Î¤u·~
¥Ó½Ð¤é´Á¡G2011/03/15
²£«~¡G²´Ãè¡]¥ú¾Ç¡^¡A¤Ó¶§²´Ãè¡A¤Ï®g²´Ãè©Î¨¾¯t¥ú²´Ãè¡A¹B°Ê¥Î«OÅ@²´Ãè¡A´åªaÃè¡A²´Ãè¥Î²°¡AÁô§Î²´Ãè¥Î°é¡A²´Ãè¥ÎÃè¤ù¡A²´Ãè¥Î®Ø¡A²´Ãè¥ÎÃì¡A²´Ãè¥Î÷¡A§¨»ó²´Ãè¡A§¨»ó²´Ãè¥Î²°¡A§¨»ó²´Ãè¥ÎÃì¡A§¨»ó²´Ãè¥Î÷¡A§¨»ó²´Ãè¥Î¤ä¬[¡F¬ì¾Ç¡B¯è®ü¡B´ú¦a¡BÄá¼v¡B¹q¼v¡B¥ú¾Ç¡B¿Å¨ã¡B¶q¨ã¡B«H¸¹¡B±±¨î¡]ºÊ·þ¡^¡B±ÏÅ@¡]Àç±Ï¡^©M±Ð¾Ç¥Î¨ã¤Î»ö¾¹¡F¥Î©ó¾É¹q¡B¾ã¬y¡BÅÜÀ£¡B»W¹q¡B½Õ¸`©Î±±¨î¹q¤Oªº¥Î¨ã¤Î»ö¾¹¡F¿ý»s¡B¶Ç°e¡B«©ñÁnµ©Î¼v¹³¥Îªº¾¹¨ã¡FºÏ©Ê¼Æ¾Ú¸üÅé¡A¿ýµ½L¡F¦Û°Ê°â³f¾¹©M§ë¹ô±Ò°Ê¸Ë¸mªº¾÷±ñµ²ºc¡F²{ª÷¦¬¤J°O¿ý¾÷¡Fpºâ¾¹¡A¼Æ¾Ú³B²z¸Ë¸m¤Î¹q¸£¡F·À¤õ¾¹±ñ¡F¥þÄݲÄ9Ãþ¡C
°Ó¼Ðºc¦¨¡G

Àu¥ýÅv¤é´Á¡G2010/09/24¡FÀu¥ýÅv°ê®a/¦a°Ï¡G·N¤j§Q¡FÀu¥ýÅv½s¸¹¡GMO2010C-818¡C
°Ó¼Ð½s¸¹¡GN/55127 Ãþ§O¡G 12
¥Ó½Ð¤H¡GFERRARI S.p.A., Via Emilia Est 1163, Modena, Italy.
°êÄy¡G·N¤j§Q
¬¡°Ê¡G°Ó·~¤Î¤u·~
¥Ó½Ð¤é´Á¡G2011/03/15
²£«~¡G¨®½ø¡F³°¡BªÅ¡B®ü¥Î¹B¸ü¾¹¡F¥þÄݲÄ12Ãþ¡C
°Ó¼Ðºc¦¨¡G

Àu¥ýÅv¤é´Á¡G2010/09/24¡FÀu¥ýÅv°ê®a/¦a°Ï¡G·N¤j§Q¡FÀu¥ýÅv½s¸¹¡GMO2010C-818¡C
°Ó¼Ð½s¸¹¡GN/55128 Ãþ§O¡G 28
¥Ó½Ð¤H¡GFERRARI S.p.A., Via Emilia Est 1163, Modena, Italy.
°êÄy¡G·N¤j§Q
¬¡°Ê¡G°Ó·~¤Î¤u·~
¥Ó½Ð¤é´Á¡G2011/03/15
²£«~¡G®T¼Ö«~¤Îª±¨ã¡F¤£ÄݧOÃþªºÅé¨|¤Î¹B°Ê¥Î«~¡F¸t½Ï¾ð¥Î¸Ë¹¢«~¡F¥þÄݲÄ28Ãþ¡C
°Ó¼Ðºc¦¨¡G

Àu¥ýÅv¤é´Á¡G2010/09/24¡FÀu¥ýÅv°ê®a/¦a°Ï¡G·N¤j§Q¡FÀu¥ýÅv½s¸¹¡GMO2010C-818¡C
°Ó¼Ð½s¸¹¡GN/55137 Ãþ§O¡G 29
¥Ó½Ð¤H¡GºÝ±j¹ê·~ªÑ¥÷¦³¤½¥q¡A³õ©Ò¡G¤¤°ê¥xÆW¥x¥_¥«¤º´ò°Ï¶§¥úµó321«Ñ18¸¹2¼Ó¡C
¬¡°Ê¡G°Ó·~¤Î¤u·~
¥Ó½Ð¤é´Á¡G2011/03/14
²£«~¡G¤û¥¤¡A¥¤»s«~¡A¥¤¯»¡A¦Ï¥¤¯»¡C
°Ó¼Ðºc¦¨¡G

°Ó¼Ð½s¸¹¡GN/55138 Ãþ§O¡G 19
¥Ó½Ð¤H¡GÁa¾î¤å¤Æ¦³¤½¥q¡A³õ©Ò¡G¿Dªù¶Â¨FÀô³Ò°Ê¸`¤j°¨¸ô214¸¹¸ÎµØ¤j·H²Ä¤Q®y¦a¤UBçE¡C
°êÄy¡G®Ú¾Ú¿Dªùªk¨Ò¦¨¥ß
¬¡°Ê¡G°Ó·~
¥Ó½Ð¤é´Á¡G2011/03/15
²£«~¡G«Dª÷Äݪº«Ø¿v§÷®Æ¡A«Dª÷ÄݸO¡C
°Ó¼Ðºc¦¨¡G

°Ó¼Ð½s¸¹¡GN/55139 Ãþ§O¡G 29
¥Ó½Ð¤H¡GTholstrup Cheese A/S, Sønderhøj 14, DK-8260 Viby J, Denmark.
°êÄy¡G¤¦³Á
¬¡°Ê¡G°Ó·~¤Î¤u·~
¥Ó½Ð¤é´Á¡G2011/03/15
²£«~¡G¤û¥¤¤Î¨Å»s«~¡A¥]¬AªÛ¤h¡F¹¥Îªo¤Îªo¯×¡C
°Ó¼Ðºc¦¨¡G

ÃC¦â¤§n¨D¡G¦p´£¥æ¹Ï¼Ë©Ò¥Üªºª÷¦â¡C
Àu¥ýÅv¤é´Á¡G2010/10/18¡FÀu¥ýÅv°ê®a/¦a°Ï¡G¤¦³Á¡FÀu¥ýÅv½s¸¹¡GVR201003184¡C
°Ó¼Ð½s¸¹¡GN/55156 Ãþ§O¡G 43
¥Ó½Ð¤H¡GFurama Hotels and Resorts International Limited, P.O. Box 957, Offshore Incorporations Centre, Road Town, Tortola, British Virgin Islands.
°êÄy¡G^Äݺûº¸¨Ê´µ®q
¬¡°Ê¡G°Ó·~¤Î¤u·~
¥Ó½Ð¤é´Á¡G2011/03/15
ªA°È¡G°s©±ªA°È¡F¨T¨®°s©±ªA°È¡F´£¨Ñ¦í±J¡FÁ{®É¦í±JªA°È¡F°s©±¹w¯dªA°È¡F»P¦í±J¦³Ãöªº°²´Á¸ê°T¤Îp¹º¡FÀ\ÆUªA°È¡F°s§aªA°È¡FÂû§À°s´YªA°È¡F©@°ØÆUªA°È¡F´£¨Ñ¹«~©M¶¼®ÆªºÀ\¹ªA°È¡F´£¨Ñ°Q½×·|¡B·|ij©M®iÄý¥Î³]¬I¡F©ó°s©±¬°«È¤Hªº¤J¦í¤Î°h©ÐªA°È¡F»P°s©±¦³Ãöªº¹q¤l¸ê°TªA°È¡F»P¤Wz´£¤ÎªA°È¦³Ãöªº¿Ô¸ß©MÅU°ÝªA°È¡C
°Ó¼Ðºc¦¨¡G

°Ó¼Ð½s¸¹¡GN/55163 Ãþ§O¡G 36
¥Ó½Ð¤H¡GµØÁp²±°ê»Ú¤uµ{¤@¤H¦³¤½¥q¡A³õ©Ò¡G¿Dªù·s¤f©¤¥_¨Êµó126¸¹©É¼w°Ó·~¤¤¤ß10¼Ó¡C
°êÄy¡G®Ú¾Ú¿Dªùªk¨Ò¦¨¥ß
¬¡°Ê¡G°Ó·~
¥Ó½Ð¤é´Á¡G2011/03/15
ªA°È¡G¤£°Ê²£¨Æ°È¡C
°Ó¼Ðºc¦¨¡G

ÃC¦â¤§n¨D¡G¥Ñª÷¦â¤Î²`ÂŦâ²Õ¦¨¡C
°Ó¼Ð½s¸¹¡GN/55164 Ãþ§O¡G 37
¥Ó½Ð¤H¡GµØÁp²±°ê»Ú¤uµ{¤@¤H¦³¤½¥q¡A³õ©Ò¡G¿Dªù·s¤f©¤¥_¨Êµó126¸¹©É¼w°Ó·~¤¤¤ß10¼Ó¡C
°êÄy¡G®Ú¾Ú¿Dªùªk¨Ò¦¨¥ß
¬¡°Ê¡G°Ó·~
¥Ó½Ð¤é´Á¡G2011/03/15
ªA°È¡G©Ð«Î«Ø¿v¡Fײz¡F¦w¸ËªA°È¡C
°Ó¼Ðºc¦¨¡G

ÃC¦â¤§n¨D¡G¥Ñª÷¦â¤Î²`ÂŦâ²Õ¦¨¡C
°Ó¼Ð½s¸¹¡GN/55165 Ãþ§O¡G 42
¥Ó½Ð¤H¡GµØÁp²±°ê»Ú¤uµ{¤@¤H¦³¤½¥q¡A³õ©Ò¡G¿Dªù·s¤f©¤¥_¨Êµó126¸¹©É¼w°Ó·~¤¤¤ß10¼Ó¡C
°êÄy¡G®Ú¾Ú¿Dªùªk¨Ò¦¨¥ß
¬¡°Ê¡G°Ó·~
¥Ó½Ð¤é´Á¡G2011/03/15
ªA°È¡G¬ì¾Ç§Þ³NªA°È©M»P¤§¬ÛÃöªº¬ã¨s»P³]pªA°È¡F¤u·~¤ÀªR»P¬ã¨s¡C
°Ó¼Ðºc¦¨¡G

ÃC¦â¤§n¨D¡G¥Ñª÷¦â¤Î²`ÂŦâ²Õ¦¨¡C
°Ó¼Ð½s¸¹¡GN/55166 Ãþ§O¡G 41
¥Ó½Ð¤H¡G¿Dªù¤ìÄõ®±¨ó·|¡A³õ©Ò¡G¿Dªù¹D«§¨õ§Q¤h¨½¤E¸¹ÂE¶¶¤j·H³ü¼ÓA®y¡C
°êÄy¡G®Ú¾Ú¿Dªùªk¨Ò¦¨¥ß
¬¡°Ê¡G¨ä¥L¡]«D¦È§Q¹ÎÅé¡^
¥Ó½Ð¤é´Á¡G2011/03/16
ªA°È¡G´£¨Ñ°ö°V¡A¥Xª©®ÑÄy¡C
°Ó¼Ðºc¦¨¡G

°Ó¼Ð½s¸¹¡GN/55167 Ãþ§O¡G 3
¥Ó½Ð¤H¡G±mÂצ榳¤½¥q¡A³õ©Ò¡GFlat/Rm 15, Blk 1, 7/F, Nan Fung Industrial City, 18 Tin Hau Road, Tuen Mun, NT, Hong Kong.
°êÄy¡G®Ú¾Ú»´äªk¨Ò¦¨¥ß
¬¡°Ê¡G°Ó·~
¥Ó½Ð¤é´Á¡G2011/03/16
²£«~¡GÅ@½§«~¡A¤Æ§©«~¡A¨N¯D¡A¬~¾v¤ÎÅ@¾v¥Î«~¡AªÎ¨m¡A»®Æ¡A»ºëªo¡A¤ú»I¡C
°Ó¼Ðºc¦¨¡G

°Ó¼Ð½s¸¹¡GN/55168 Ãþ§O¡G 35
¥Ó½Ð¤H¡G±mÂצ榳¤½¥q¡A³õ©Ò¡GFlat/Rm 15, Blk 1, 7/F, Nan Fung Industrial City, 18 Tin Hau Road, Tuen Mun, NT, Hong Kong.
°êÄy¡G®Ú¾Ú»´äªk¨Ò¦¨¥ß
¬¡°Ê¡G°Ó·~
¥Ó½Ð¤é´Á¡G2011/03/16
ªA°È¡G¼s§i¡A¹ê·~¸gÀç¡A¹ê·~ºÞ²z¡A¿ì¤½¨Æ°È¡C
°Ó¼Ðºc¦¨¡G

°Ó¼Ð½s¸¹¡GN/55178 Ãþ§O¡G 16
¥Ó½Ð¤H¡G½²¶®¶²¡A³õ©Ò¡G¿Dªùù²z°ò³Õ¤h¤j°¨¸ô«n¥ú¤j·H8D¡C
°êÄy¡G¤¤°ê
¬¡°Ê¡G°Ó·~¤Î¤u·~
¥Ó½Ð¤é´Á¡G2011/03/16
²£«~¡G¤£ÄݧOÃþªº¯È¡B¯ÈªO¤Î¨ä»s«~¡A¦L¨ê«~¡A¸Ëq¥Î«~¡A·Ó¤ù¡A¤å¨ã¥Î«~¡A¤å¨ã©Î®a®x¥ÎÂH¦X¾¯¡A¬ü³N¥Î«~¡Aµeµ§¡A¥´¦r¾÷©M¿ì¤½¥Î«~¡]³ÃѰ£¥~¡^¡A±Ð¨|©Î±Ð¾Ç¥Î«~¡]»ö¾¹°£¥~¡^¡A¥]¸Ë¥Î¶ì®Æª««~¡]¤£ÄݧOÃþªº¡^¡A¦L¨ê¹]¦r¡A¦Lª©¡C
°Ó¼Ðºc¦¨¡G

ÃC¦â¤§n¨D¡G¶Â¦â¡C
°Ó¼Ð½s¸¹¡GN/55179 Ãþ§O¡G 41
¥Ó½Ð¤H¡G½²¶®¶²¡A³õ©Ò¡G¿Dªùù²z°ò³Õ¤h¤j°¨¸ô«n¥ú¤j·H8D¡C
°êÄy¡G¤¤°ê
¬¡°Ê¡G°Ó·~¤Î¤u·~
¥Ó½Ð¤é´Á¡G2011/03/16
ªA°È¡G±Ð¨|¡A´£¨Ñ°ö°V¡A®T¼Ö¡A¤åÅ鬡°Ê¡C
°Ó¼Ðºc¦¨¡G

ÃC¦â¤§n¨D¡G¶Â¦â¡C
°Ó¼Ð½s¸¹¡GN/55180 Ãþ§O¡G 35
¥Ó½Ð¤H¡G¿Dªù¶T©ö§ë¸ê«P¶i§½¡A³õ©Ò¡G¿Dªù¤Í½Ë¤j°¨¸ô918¸¹¥@¶T¤¤¤ß¥|¼Ó¡C
°êÄy¡G®Ú¾Ú¿Dªùªk¨Ò¦¨¥ß
¬¡°Ê¡G¨ä¥L¡]¬F©²³¡ªù¡^
¥Ó½Ð¤é´Á¡G2011/03/16
ªA°È¡G®iÄý·|¤Î»P¶T©ö±À¼s¦³Ãöªº¬¡°Ê¡C
°Ó¼Ðºc¦¨¡G

ÃC¦â¤§n¨D¡G¦p¹Ï¥Ü¡R¤¤¤å¡§°Ó¶×À]¡¨ÃC¦â¬°¶Â¦â¡F^¤å¡§Macao ideas¡¨¤¤¦r¥À i ¬°¬õ¦â¡A¨ä¥L¦r¥À¬°¶Â¦â¡C
°Ó¼Ð½s¸¹¡GN/55230 Ãþ§O¡G 29
¥Ó½Ð¤H¡GTholstrup Cheese A/S, Sønderhøj 14, DK-8260 Viby J, Denmark.
°êÄy¡G¤¦³Á
¬¡°Ê¡G°Ó·~¤Î¤u·~
¥Ó½Ð¤é´Á¡G2011/03/17
²£«~¡G¤û¥¤¤Î¨Å»s«~¡A¥]¬AªÛ¤h¡F¹¥Îªo¤Îªo¯×¡C
°Ó¼Ðºc¦¨¡G

°Ó¼Ð½s¸¹¡GN/55232 Ãþ§O¡G 29
¥Ó½Ð¤H¡GWyeth LLC, Five Giralda Farms, Madison, New Jersey 07940, United States of America.
°êÄy¡G¬ü°ê
¬¡°Ê¡G°Ó·~¤Î¤u·~
¥Ó½Ð¤é´Á¡G2011/03/17
²£«~¡G¥¤¤Î¥H¥¤¬°¥Dªº²£«~¡F¥¤¯»¡A»s¥¤¶¼®Æ¥Î¯»ª¬»s¾¯¡F¥H¥¤¬°¥Dªº¶¼®Æ¡F¤û¥¤´À¥N«~¡C
°Ó¼Ðºc¦¨¡G

°Ó¼Ð½s¸¹¡GN/55233 Ãþ§O¡G 45
¥Ó½Ð¤H¡GMORAIS LEITÃO, GALVÃO TELES, SOARES DA SILVA & ASSOCIADOS - SOCIEDADE DE ADVOGADOS, R.L., Rua Castilho, 165, Lisboa, Portugal.
°êÄy¡G¸²µå¤ú
¬¡°Ê¡G°Ó·~¤Î¤u·~
¥Ó½Ð¤é´Á¡G2011/03/17
ªA°È¡Gªk«ßªA°È¡Fªk«ß¿Ô¸ß¡Fª¾ÃѲ£ÅvªººÊ·þªA°È¡F³n¥ó³\¥i¡]ªk«ßªA°È¡^¡F°ì¦Wµn°O¡]ªk«ßªA°È¡^¡Fª¾ÃѲ£ÅvÅU°Ý¡Fª¾ÃѲ£ÅvªººÊ·þªA°È¡Fªk«ß¬ã¨s¡FµÛ§@ÅvºÞ²z¡F¥qªk¶D³^ªA°È¡F¥òµôªA°È¡C
°Ó¼Ðºc¦¨¡G

°Ó¼Ð½s¸¹¡GN/55234 Ãþ§O¡G 21
¥Ó½Ð¤H¡GThe Coca-Cola Company, One Coca-Cola Plaza, Atlanta, Georgia 30313, United States of America.
°êÄy¡G¬ü°ê
¬¡°Ê¡G°Ó·~¤Î¤u·~
¥Ó½Ð¤é´Á¡G2011/03/18
²£«~¡G®a®x©Î¼p©Ð¥Î¨ã¤Î®e¾¹¡F®Þ¤l¤Î®üºø¡F¨ê¤l¡]µeµ§°£¥~¡^¡F»s¨ê§÷®Æ¡F²M±½¥Î¨ã¡F¿ûµ·µ³¡F¥¼¥[¤u©Î¥b¥[¤u¬Á¼þ¡]«Ø¿v¥Î¬Á¼þ°£¥~¡^¡F¤£ÄݧOÃþªº¬Á¼þ¾¹¥×¡B²¡¾¹¤Î³³¾¹¡C
°Ó¼Ðºc¦¨¡G

°Ó¼Ð½s¸¹¡GN/55235 Ãþ§O¡G 29
¥Ó½Ð¤H¡GThe Coca-Cola Company, One Coca-Cola Plaza, Atlanta, Georgia 30313, United States of America.
°êÄy¡G¬ü°ê
¬¡°Ê¡G°Ó·~¤Î¤u·~
¥Ó½Ð¤é´Á¡G2011/03/18
²£«~¡G¦×¡A³½¡A®a¸V¤Î³¥¨ý¡F¦×¥Ä¡F«O¦s¸Ë¡B§Ná¡B°®»s¤ÎµN¼ôªº¤ôªG¤Î½µæ¡FªGá¡AªGÂæ¡A»eÀ^¡F³J¡A¥¤¤Î¨Å»s«~¡F¹¥Îªo¤Îªo¯×¡C
°Ó¼Ðºc¦¨¡G

°Ó¼Ð½s¸¹¡GN/55236 Ãþ§O¡G 30
¥Ó½Ð¤H¡GThe Coca-Cola Company, One Coca-Cola Plaza, Atlanta, Georgia 30313, United States of America.
°êÄy¡G¬ü°ê
¬¡°Ê¡G°Ó·~¤Î¤u·~
¥Ó½Ð¤é´Á¡G2011/03/18
²£«~¡G©@°Ø¡A¯ù¡A¥i¥i¡A¿}¡A¦Ì¡A¤ìÁ¦¾ý¯»¡A¦è¦Ì¡A©@°Ø¥N¥Î«~¡FÄѯ»¤Î½\Ãþ»s«~¡AÄÑ¥]¡A¿|ÂI¤Î¿}ªG¡A¦B»s¹«~¡F¸Á»e¡A¿}¼ß¡FÂA»Ã¥À¡Aµo»Ã¯»¡F¹ÆQ¡Aªã¥½¡F¾L¡AÂæ¥Ä¡]½Õ¨ý«~¡^¡F½Õ¨ý®Æ¡F¶¼¥Î¦B¡C
°Ó¼Ðºc¦¨¡G

°Ó¼Ð½s¸¹¡GN/55237 Ãþ§O¡G 32
¥Ó½Ð¤H¡GThe Coca-Cola Company, One Coca-Cola Plaza, Atlanta, Georgia 30313, United States of America.
°êÄy¡G¬ü°ê
¬¡°Ê¡G°Ó·~¤Î¤u·~
¥Ó½Ð¤é´Á¡G2011/03/18
²£«~¡G°à°s¡FÄq¬u¤ô©M¨T¤ô¥H¤Î¨ä¥L¤£§t°sºëªº¶¼®Æ¡F¤ôªG¶¼®Æ¤Î¤ôªG¥Ä¡F¿}¼ß¤Î¨ä¥L»s¶¼®Æ¥Î»s¾¯¡C
°Ó¼Ðºc¦¨¡G

°Ó¼Ð½s¸¹¡GN/55238 Ãþ§O¡G 29
¥Ó½Ð¤H¡G¿Dªù¤¤°ê²£«~¶i¥X¤f¦³¤½¥q¡A³õ©Ò¡G¿DªùÀç¦a¤jµó47¸¹1¼Ó¡C
°êÄy¡G®Ú¾Ú¿Dªùªk¨Ò¦¨¥ß
¬¡°Ê¡G°Ó·~
¥Ó½Ð¤é´Á¡G2011/03/18
²£«~¡G¦×ÃþÅøÀY¡A¦×¡B³½¡A®a¸V¤Î³¥¨ý¡A¦×¥Ä¡A¾Mº{¡A°®»s¤ÎµN¼ôªº¤ôªG©M½µæ¡AªGÂæ¡A³J¡B¥¤¤Î¨Å»s«~¡A¹¥Îªo¯×¡A²D©Õµæ¥Îªº¨F«ß¡C
°Ó¼Ðºc¦¨¡G

°Ó¼Ð½s¸¹¡GN/55239 Ãþ§O¡G 30
¥Ó½Ð¤H¡G¬ü¤ß»æ©±¦³¤½¥q¡A³õ©Ò¡G¿Dªù¶Â¨FÀô158¸¹²Ä¤»µó«Â¶¯¤u·~¤¤¤ß14¼ÓA®y¡C
°êÄy¡G®Ú¾Ú¿Dªùªk¨Ò¦¨¥ß
¬¡°Ê¡G°Ó·~¤Î¤u·~
¥Ó½Ð¤é´Á¡G2011/03/18
²£«~¡G©@°Ø¡A©@°Ø¥N¥Î«~¡A©@°Ø¥N´À«~¡F¯ù¡A¯ù¸¤Î¨ä²£«~¡F¥i¥i¡A¥i¥i¯»¤Î¨ä²£«~¡F´öªº»s«~¡F¤ë»æ¡FÄÑ¥]¡F»æ°®¡F³J¿|µ¥¹«~¡F¬ü¨ý¤p¦Y¡Fµw»æ°®¡F¸ÁºÛ»æ¡F¤¤¦¡³J¿|¤Î¦è¦¡³J¿|¡F´öÄ{¡F§ö¤¯¤ù¡F¥©§J¤O¡F´Ò¥]¡FÁ¡·Î»æ¡F²¢«~¡F¥¬¨l¡F¿|ÂI¤Î¿}ªG²£«~¡F³q¤ß¯»¡F·N¤j§Q¯»¤Î¨ä¥LÄѹ¡FÄѯ»¤Î½\Ãþ»s«~¡F¸Á»e¡F¿}»e¡FÂA»Ã¥À¡Fµo»Ã¯»¡F¹ÆQ¡F¿}¡F¾L¡Fªã¥½¡FJ´Ô¡F½Õ¨ý®Æ¡F 蘿½³Âæ¡FÂæ¥Ä¡]½Õ¨ý«~¡^¡F¨F«ßÂæ¡FµfXÂæ¡F©@³í¡F¦B¡F¦Ì¡F¾ý¯»¡F¦è¦Ì¡C
°Ó¼Ðºc¦¨¡G

°Ó¼Ð½s¸¹¡GN/55240 Ãþ§O¡G 36
¥Ó½Ð¤H¡GÅU»A¼Ð¡A³õ©Ò¡G¿Dªù§º¥É¥Í¼s³õ180¸¹ªF«n¨È°Ó·~¤¤¤ß17¼ÓL®y¡C
°êÄy¡G¤¤°ê
¬¡°Ê¡G°Ó·~
¥Ó½Ð¤é´Á¡G2011/03/18
ªA°È¡G«OÀI¡Aª÷¿Ä¡A³f¹ô¨Æ°È¡A¤£°Ê²£¨Æ°È¡C
°Ó¼Ðºc¦¨¡G

ÃC¦â¤§n¨D¡G¶Â¦â¡A¬õ¦â¡A¦p¹Ï©Ò¥Ü¡C
°Ó¼Ð½s¸¹¡GN/55253 Ãþ§O¡G 20
¥Ó½Ð¤H¡G®}¨Ê¿Õ¡A³õ©Ò¡G¿Dªù·s¤f©¤¼s¦{µó72R©É¤s»Õ6E¡C
°êÄy¡G¤¤°ê
¬¡°Ê¡G°Ó·~
¥Ó½Ð¤é´Á¡G2011/03/18
²£«~¡GºÎ³U¡C
°Ó¼Ðºc¦¨¡G

°Ó¼Ð½s¸¹¡GN/55254 Ãþ§O¡G 30
¥Ó½Ð¤H¡G¶À½÷¥Ã¡A³õ©Ò¡G¿Dªù¶Â¨FÀôªF¥_¤j°¨¸ô«O§Q¹Fªá¶é²Ä¤T®y21/Q¡C
°êÄy¡G¤¤°ê
¬¡°Ê¡G°Ó·~
¥Ó½Ð¤é´Á¡G2011/03/18
²£«~¡G«O°·«~¡]«DÂå¥Î¡^¡C
°Ó¼Ðºc¦¨¡G

ÃC¦â¤§n¨D¡GÂŦâ¡A¦p¹Ï©Ò¥Ü¡C
°Ó¼Ð½s¸¹¡GN/55255 Ãþ§O¡G 5
¥Ó½Ð¤H¡G¶À½÷¥Ã¡A³õ©Ò¡G¿Dªù¶Â¨FÀôªF¥_¤j°¨¸ô«O§Q¹Fªá¶é²Ä¤T®y21/Q¡C
°êÄy¡G¤¤°ê
¬¡°Ê¡G°Ó·~
¥Ó½Ð¤é´Á¡G2011/03/18
²£«~¡GÃÄ«~¡C
°Ó¼Ðºc¦¨¡G

ÃC¦â¤§n¨D¡G¬õ¦â¡A¦p¹Ï©Ò¥Ü¡C
°Ó¼Ð½s¸¹¡GN/55256 Ãþ§O¡G 5
¥Ó½Ð¤H¡G¶À½÷¥Ã¡A³õ©Ò¡G¿Dªù¶Â¨FÀôªF¥_¤j°¨¸ô«O§Q¹Fªá¶é²Ä¤T®y21/Q¡C
°êÄy¡G¤¤°ê
¬¡°Ê¡G°Ó·~
¥Ó½Ð¤é´Á¡G2011/03/18
²£«~¡GÃÄ«~¡C
°Ó¼Ðºc¦¨¡G

ÃC¦â¤§n¨D¡G¶À¡Bºñ¡B¶Â¡B¥Õ¡A¦p¹Ï©Ò¥Ü¡C
°Ó¼Ð½s¸¹¡GN/55257 Ãþ§O¡G 36
¥Ó½Ð¤H¡G¶À½÷¥Ã¡A³õ©Ò¡G¿Dªù¶Â¨FÀôªF¥_¤j°¨¸ô«O§Q¹Fªá¶é²Ä¤T®y21/Q¡C
°êÄy¡G¤¤°ê
¬¡°Ê¡G°Ó·~
¥Ó½Ð¤é´Á¡G2011/03/18
ªA°È¡Gª÷¿Ä¨Æ°È¡C
°Ó¼Ðºc¦¨¡G

ÃC¦â¤§n¨D¡GÂŦâ¦r¡A¦p¹Ï©Ò¥Ü¡C
°Ó¼Ð½s¸¹¡GN/55258 Ãþ§O¡G 34
¥Ó½Ð¤H¡G¤ý²Mªi¡A³õ©Ò¡G¿Dªù¼}©Ô¤h¤j°¨¸ô«nÀ¤u·~¤j·H13E¡C
°êÄy¡G¤¤°ê
¬¡°Ê¡G¤u·~
¥Ó½Ð¤é´Á¡G2011/03/18
²£«~¡G»·Ï¡A¥´¤õ¾÷¡A³·X¡A·Ï¨ã¡C
°Ó¼Ðºc¦¨¡G

°Ó¼Ð½s¸¹¡GN/55266 Ãþ§O¡G 3
¥Ó½Ð¤H¡G½²¤å¬Þ¡A³õ©Ò¡G¿Dªù¯§º~ªø¹Ø¤j°¨¸ôÄRµØ·s邨²Ä¤@®y7¼ÓX®y¡C
°êÄy¡G¤¤°ê
¬¡°Ê¡G°Ó·~
¥Ó½Ð¤é´Á¡G2011/03/21
²£«~¡G¨N¯DÅS¡A¬~ÀY¤ô¡C
°Ó¼Ðºc¦¨¡G

ÃC¦â¤§n¨D¡GÂŦâ¡A¦p¹Ï©Ò¥Ü¡C
°Ó¼Ð½s¸¹¡GN/55267 Ãþ§O¡G 3
¥Ó½Ð¤H¡G½²¤å¬Þ¡A³õ©Ò¡G¿Dªù¯§º~ªø¹Ø¤j°¨¸ôÄRµØ·s邨²Ä¤@®y7¼ÓX®y¡C
°êÄy¡G¤¤°ê
¬¡°Ê¡G°Ó·~
¥Ó½Ð¤é´Á¡G2011/03/21
²£«~¡G¨N¯DÅS¡A¬~ÀY¤ô¡C
°Ó¼Ðºc¦¨¡G

ÃC¦â¤§n¨D¡Gºñ¦â¡AÂŦâ¡A¦p¹Ï©Ò¥Ü¡C
°Ó¼Ð½s¸¹¡GN/55268 Ãþ§O¡G 3
¥Ó½Ð¤H¡G½²¤å¬Þ¡A³õ©Ò¡G¿Dªù¯§º~ªø¹Ø¤j°¨¸ôÄRµØ·s邨²Ä¤@®y7¼ÓX®y¡C
°êÄy¡G¤¤°ê
¬¡°Ê¡G°Ó·~
¥Ó½Ð¤é´Á¡G2011/03/21
²£«~¡G¨N¯DÅS¡A¬~ÀY¤ô¡C
°Ó¼Ðºc¦¨¡G

ÃC¦â¤§n¨D¡G»È¦â¡A¦p¹Ï©Ò¥Ü¡C
°Ó¼Ð½s¸¹¡GN/55269 Ãþ§O¡G 3
¥Ó½Ð¤H¡G½²¤å¬Þ¡A³õ©Ò¡G¿Dªù¯§º~ªø¹Ø¤j°¨¸ôÄRµØ·s邨²Ä¤@®y7¼ÓX®y¡C
°êÄy¡G¤¤°ê
¬¡°Ê¡G°Ó·~
¥Ó½Ð¤é´Á¡G2011/03/21
²£«~¡G¨N¯DÅS¡A¬~ÀY¤ô¡C
°Ó¼Ðºc¦¨¡G

ÃC¦â¤§n¨D¡G»È¦â¡A¦p¹Ï©Ò¥Ü¡C
°Ó¼Ð½s¸¹¡GN/55270 Ãþ§O¡G 5
¥Ó½Ð¤H¡G½²¤å¬Þ¡A³õ©Ò¡G¿Dªù¯§º~ªø¹Ø¤j°¨¸ôÄRµØ·s邨²Ä¤@®y7¼ÓX®y¡C
°êÄy¡G¤¤°ê
¬¡°Ê¡G°Ó·~
¥Ó½Ð¤é´Á¡G2011/03/21
²£«~¡GÃÄ«~¡C
°Ó¼Ðºc¦¨¡G

ÃC¦â¤§n¨D¡G¬õ¦â¡Aºñ¦â¡A¦p¹Ï©Ò¥Ü¡C
°Ó¼Ð½s¸¹¡GN/55280 Ãþ§O¡G 35
¥Ó½Ð¤H¡G®õÂ×°ê»Ú¡]¶°¹Î¡^¦³¤½¥q¡A³õ©Ò¡G¿Dªù氹¥J®JªZ©Ôµó·s¥@¬Éªá¶é427¸¹¦a¤U¡C
°êÄy¡G®Ú¾Ú¿Dªùªk¨Ò¦¨¥ß
¬¡°Ê¡G°Ó·~
¥Ó½Ð¤é´Á¡G2011/03/21
ªA°È¡G¶W¯Å¥«³õªº¹s°âªA°È¡C
°Ó¼Ðºc¦¨¡G

°Ó¼Ð½s¸¹¡GN/55299 Ãþ§O¡G 21
¥Ó½Ð¤H¡G^°O¯ù²ø¡]°Ó¼Ð¡^¦³¤½¥q¡A³õ©Ò¡G¤¤°ê»´ä¯S§O¦æ¬F°Ï¤p¦èÆWÂ×·~µó5¸¹µØ²±¤¤¤ß8¼Ó¡C
°êÄy¡G®Ú¾Ú»´äªk¨Ò¦¨¥ß
¬¡°Ê¡G°Ó·~¤Î¤u·~
¥Ó½Ð¤é´Á¡G2011/03/22
²£«~¡G¶¼¥Î¾¹¥×¡F¯ù¸Åø¡F¯ù¨ã¡F¯ù¦«¡F¯ù³ý¡F¦³¬`¤jªM¡FÂo¯ù²y¡F¯ù¸®ûªw¾¹¡FÂo¯ù¾¹¡F¶¼¤ô¬Á¼þªM¡C
°Ó¼Ðºc¦¨¡G

°Ó¼Ð½s¸¹¡GN/55300 Ãþ§O¡G 30
¥Ó½Ð¤H¡G^°O¯ù²ø¡]°Ó¼Ð¡^¦³¤½¥q¡A³õ©Ò¡G¤¤°ê»´ä¯S§O¦æ¬F°Ï¤p¦èÆWÂ×·~µó5¸¹µØ²±¤¤¤ß8¼Ó¡C
°êÄy¡G®Ú¾Ú»´äªk¨Ò¦¨¥ß
¬¡°Ê¡G°Ó·~¤Î¤u·~
¥Ó½Ð¤é´Á¡G2011/03/22
²£«~¡G¥[¥¤©@°Ø¶¼®Æ¡F©@°Ø¶¼®Æ¡F¯ù¡F¦B¯ù¡F¯ù¶¼®Æ¡FÀtd»I¡F»æ°®¡F³J¿|¡F¤ë»æ¡F¦B²N²O¡C
°Ó¼Ðºc¦¨¡G

°Ó¼Ð½s¸¹¡GN/55301 Ãþ§O¡G 35
¥Ó½Ð¤H¡G^°O¯ù²ø¡]°Ó¼Ð¡^¦³¤½¥q¡A³õ©Ò¡G¤¤°ê»´ä¯S§O¦æ¬F°Ï¤p¦èÆWÂ×·~µó5¸¹µØ²±¤¤¤ß8¼Ó¡C
°êÄy¡G®Ú¾Ú»´äªk¨Ò¦¨¥ß
¬¡°Ê¡G°Ó·~¤Î¤u·~
¥Ó½Ð¤é´Á¡G2011/03/22
ªA°È¡G¯S³\¸gÀ窺°Ó·~ºÞ²z¡F¶i¥X¤f¥N²z¡F´À¥L¤H±À¾P¡F©ç½æ¡F´À¥L¤H±ÄÁÊ¡]´À¨ä¥L¥ø·~ÁʶR°Ó«~©ÎªA°È¡^¡C
°Ó¼Ðºc¦¨¡G

°Ó¼Ð½s¸¹¡GN/55302 Ãþ§O¡G 21
¥Ó½Ð¤H¡G^°O¯ù²ø¡]°Ó¼Ð¡^¦³¤½¥q¡A³õ©Ò¡G¤¤°ê»´ä¯S§O¦æ¬F°Ï¤p¦èÆWÂ×·~µó5¸¹µØ²±¤¤¤ß8¼Ó¡C
°êÄy¡G®Ú¾Ú»´äªk¨Ò¦¨¥ß
¬¡°Ê¡G°Ó·~¤Î¤u·~
¥Ó½Ð¤é´Á¡G2011/03/22
²£«~¡G¶¼¥Î¾¹¥×¡F¯ù¸Åø¡F¯ù¨ã¡F¯ù¦«¡F¯ù³ý¡F¦³¬`¤jªM¡FÂo¯ù²y¡F¯ù¸®ûªw¾¹¡FÂo¯ù¾¹¡F¶¼¤ô¬Á¼þªM¡C
°Ó¼Ðºc¦¨¡G

°Ó¼Ð½s¸¹¡GN/55303 Ãþ§O¡G 30
¥Ó½Ð¤H¡G^°O¯ù²ø¡]°Ó¼Ð¡^¦³¤½¥q¡A³õ©Ò¡G¤¤°ê»´ä¯S§O¦æ¬F°Ï¤p¦èÆWÂ×·~µó5¸¹µØ²±¤¤¤ß8¼Ó¡C
°êÄy¡G®Ú¾Ú»´äªk¨Ò¦¨¥ß
¬¡°Ê¡G°Ó·~¤Î¤u·~
¥Ó½Ð¤é´Á¡G2011/03/22
²£«~¡G¥[¥¤©@°Ø¶¼®Æ¡F©@°Ø¶¼®Æ¡F¯ù¡F¦B¯ù¡F¯ù¶¼®Æ¡FÀtd»I¡F»æ°®¡F³J¿|¡F¤ë»æ¡F¦B²N²O¡C
°Ó¼Ðºc¦¨¡G

°Ó¼Ð½s¸¹¡GN/55304 Ãþ§O¡G 35
¥Ó½Ð¤H¡G^°O¯ù²ø¡]°Ó¼Ð¡^¦³¤½¥q¡A³õ©Ò¡G¤¤°ê»´ä¯S§O¦æ¬F°Ï¤p¦èÆWÂ×·~µó5¸¹µØ²±¤¤¤ß8¼Ó¡C
°êÄy¡G®Ú¾Ú»´äªk¨Ò¦¨¥ß
¬¡°Ê¡G°Ó·~¤Î¤u·~
¥Ó½Ð¤é´Á¡G2011/03/22
ªA°È¡G¯S³\¸gÀ窺°Ó·~ºÞ²z¡F¶i¥X¤f¥N²z¡F´À¥L¤H±À¾P¡F©ç½æ¡F´À¥L¤H±ÄÁÊ¡]´À¨ä¥L¥ø·~ÁʶR°Ó«~©ÎªA°È¡^¡C
°Ó¼Ðºc¦¨¡G

°Ó¼Ð½s¸¹¡GN/55333 Ãþ§O¡G 1
¥Ó½Ð¤H¡G¿Dªù¼t°ÓÁp¦X·|¡A³õ©Ò¡G¿Dªùù«O³Õ¤hµó34-36¸¹¼t°Ó·|¤j·H17¼Ó¡C
°êÄy¡G®Ú¾Ú¿Dªùªk¨Ò¦¨¥ß
¬¡°Ê¡G¨ä¥L¡]«D¦È§Q¤u°ÓªÀ¹Î¡^
¥Ó½Ð¤é´Á¡G2011/03/25
²£«~¡G¥Î©ó¤u·~¡B¬ì¾Ç¡BÄá¼v¡B¹A·~¡B¶éÃÀ¡B´ËªLªº¤Æ¾Ç«~¡B¥¼¥[¤u¤H³y¦X¦¨¾ð¯×¡A¥¼¥[¤u¶ì®Æª«½è¡AªÎ®Æ¡A·À¤õ¥Î¦X¦¨ª«¡A²f¤õ©Mª÷Äݲk±µ¥Î»s¾¯¡A«O¦s¹«~¥Î¤Æ¾Ç«~¡AÂý®Æ¡A¤u·~¥ÎÂH¦X¾¯¡C
°Ó¼Ðºc¦¨¡G

°Ó¼Ð½s¸¹¡GN/55334 Ãþ§O¡G 3
¥Ó½Ð¤H¡G¿Dªù¼t°ÓÁp¦X·|¡A³õ©Ò¡G¿Dªùù«O³Õ¤hµó34-36¸¹¼t°Ó·|¤j·H17¼Ó¡C
°êÄy¡G®Ú¾Ú¿Dªùªk¨Ò¦¨¥ß
¬¡°Ê¡G¨ä¥L¡]«D¦È§Q¤u°ÓªÀ¹Î¡^
¥Ó½Ð¤é´Á¡G2011/03/25
²£«~¡G¬~¦ç¥Îº}¥Õ¾¯¤Î¨ä¥Lª«®Æ¡A²M¼ä¡BÀ¿«G¡B¥hº{¤Î¬ã¿i¥Î»s¾¯¡AªÎ¨m¡A»®Æ¡A»ºëªo¡A¤Æ§©«~¡A¬~¾v¤ô¡A¤ú»I¡C
°Ó¼Ðºc¦¨¡G

°Ó¼Ð½s¸¹¡GN/55335 Ãþ§O¡G 4
¥Ó½Ð¤H¡G¿Dªù¼t°ÓÁp¦X·|¡A³õ©Ò¡G¿Dªùù«O³Õ¤hµó34-36¸¹¼t°Ó·|¤j·H17¼Ó¡C
°êÄy¡G®Ú¾Ú¿Dªùªk¨Ò¦¨¥ß
¬¡°Ê¡G¨ä¥L¡]«D¦È§Q¤u°ÓªÀ¹Î¡^
¥Ó½Ð¤é´Á¡G2011/03/25
²£«~¡G¤u·~¥Îªo¤Îªo¯×¡A¼í·Æ¾¯¡A§l¦¬¡B¼QÅx©MÂHµ²¦Ç¹Ð¥Î«~¡A¿U®Æ¡]¥]¬A°¨¹F¥Îªº¨Tªo¡^©M·Ó©ú§÷®Æ¡A·Ó©ú¥ÎÄúÀë©M¿Oªä¡C
°Ó¼Ðºc¦¨¡G

°Ó¼Ð½s¸¹¡GN/55336 Ãþ§O¡G 19
¥Ó½Ð¤H¡G¿Dªù¼t°ÓÁp¦X·|¡A³õ©Ò¡G¿Dªùù«O³Õ¤hµó34-36¸¹¼t°Ó·|¤j·H17¼Ó¡C
°êÄy¡G®Ú¾Ú¿Dªùªk¨Ò¦¨¥ß
¬¡°Ê¡G¨ä¥L¡]«D¦È§Q¤u°ÓªÀ¹Î¡^
¥Ó½Ð¤é´Á¡G2011/03/25
²£«~¡G«Dª÷Äݪº«Ø¿v§÷®Æ¡A«Ø¿v¥Î«Dª÷ÄÝè©ÊºÞ¡AÃw«C¡A¬fªo¡A¥i²¾°Ê«Dª÷Äݫؿvª«¡A«Dª÷ÄݸO¡C
°Ó¼Ðºc¦¨¡G

°Ó¼Ð½s¸¹¡GN/55337 Ãþ§O¡G 35
¥Ó½Ð¤H¡G¿Dªù¼t°ÓÁp¦X·|¡A³õ©Ò¡G¿Dªùù«O³Õ¤hµó34-36¸¹¼t°Ó·|¤j·H17¼Ó¡C
°êÄy¡G®Ú¾Ú¿Dªùªk¨Ò¦¨¥ß
¬¡°Ê¡G¨ä¥L¡]«D¦È§Q¤u°ÓªÀ¹Î¡^
¥Ó½Ð¤é´Á¡G2011/03/25
ªA°È¡G¼s§i¡A¹ê·~¸gÀç¡A¹ê·~ºÞ²z¡A¿ì¤½¨Æ°È¡C
°Ó¼Ðºc¦¨¡G

°Ó¼Ð½s¸¹¡GN/55338 Ãþ§O¡G 39
¥Ó½Ð¤H¡G¿Dªù¼t°ÓÁp¦X·|¡A³õ©Ò¡G¿Dªùù«O³Õ¤hµó34-36¸¹¼t°Ó·|¤j·H17¼Ó¡C
°êÄy¡G®Ú¾Ú¿Dªùªk¨Ò¦¨¥ß
¬¡°Ê¡G¨ä¥L¡]«D¦È§Q¤u°ÓªÀ¹Î¡^
¥Ó½Ð¤é´Á¡G2011/03/25
ªA°È¡G¹B¿é¡B°Ó«~¥]¸Ë©M¶JÂáA®È¦æ¦w±Æ¡C
°Ó¼Ðºc¦¨¡G

°Ó¼Ð½s¸¹¡GN/55339 Ãþ§O¡G 42
¥Ó½Ð¤H¡G¿Dªù¼t°ÓÁp¦X·|¡A³õ©Ò¡G¿Dªùù«O³Õ¤hµó34-36¸¹¼t°Ó·|¤j·H17¼Ó¡C
°êÄy¡G®Ú¾Ú¿Dªùªk¨Ò¦¨¥ß
¬¡°Ê¡G¨ä¥L¡]«D¦È§Q¤u°ÓªÀ¹Î¡^
¥Ó½Ð¤é´Á¡G2011/03/25
ªA°È¡G¬ì¾Ç§Þ³NªA°È©M»P¤§¬ÛÃöªº¬ã¨s»P³]pªA°È¡A¤u·~¤ÀªR»P¬ã¨s¡Apºâ¾÷µw¥ó»P³n¥óªº³]p»P¶}µo¡C
°Ó¼Ðºc¦¨¡G

°Ó¼Ð½s¸¹¡GN/55340 Ãþ§O¡G 43
¥Ó½Ð¤H¡G¿Dªù¼t°ÓÁp¦X·|¡A³õ©Ò¡G¿Dªùù«O³Õ¤hµó34-36¸¹¼t°Ó·|¤j·H17¼Ó¡C
°êÄy¡G®Ú¾Ú¿Dªùªk¨Ò¦¨¥ß
¬¡°Ê¡G¨ä¥L¡]«D¦È§Q¤u°ÓªÀ¹Î¡^
¥Ó½Ð¤é´Á¡G2011/03/25
ªA°È¡G´£¨Ñ¹ª«©M¶¼®ÆªA°È¡AÁ{®É¦í±J¡C
°Ó¼Ðºc¦¨¡G

°Ó¼Ð½s¸¹¡GN/55377 Ãþ§O¡G 30
¥Ó½Ð¤H¡G²ö¬±Åv¡A³õ©Ò¡G¿Dªù氹¥J©x¤]µó9A¸¹栢ÂE¤j·H¦a¤U¡C
°êÄy¡G¤¤°ê
¬¡°Ê¡G°Ó·~
¥Ó½Ð¤é´Á¡G2011/03/25
²£«~¡G¤jµæ¿|¡B啫³í¡C
°Ó¼Ðºc¦¨¡G

°Ó¼Ð½s¸¹¡GN/55378 Ãþ§O¡G 30
¥Ó½Ð¤H¡G²ö¬±Åv¡A³õ©Ò¡G¿Dªù氹¥J©x¤]µó9A¸¹栢ÂE¤j·H¦a¤U¡C
°êÄy¡G¤¤°ê
¬¡°Ê¡G°Ó·~
¥Ó½Ð¤é´Á¡G2011/03/25
²£«~¡Gºhåѳ·¿|¡B¤ì槺¥¬¨l¡C
°Ó¼Ðºc¦¨¡G

³]p¤Î·s«¬¤§«OÅ@
®Ú¾Ú¸g¤Q¤G¤ë¤Q¤T¤é²Ä97/99/M¸¹ªk¥O®Ö㤧¡m¤u·~²£Åvªk«ß¨î«×¡n²Ä¤Q¤Î²Ä¤@¦Ê¤»¤Q¤±ø¤§³W©w¡A¤½¥¬¤U¦C¦b¿Dªù¯S§O¦æ¬F°Ï´£¥Xªº³]p¤Î·s«¬µù¥U¥Ó½Ð¡A¨Ã«ö·Ó¬Û¦Pªk³W²Ä¤@¦Ê¤»¤Q¤»±ø¡A¦Û¦¹¤½¥¬¤é°_¦Üµ¹¤©µù¥U¤§¤é¤î¡A¥ô¦ó²Ä¤T¤H§¡±o´£¥XÁn©ú²§Ä³¡C
³]p©Î·s«¬¤½§G
³]p½s¸¹¡GD/000647
¥Ó½Ð¤é´Á¡G2010/04/07
¥Ó½Ð¤H¡GAinsworth Game Technology Limited
°êÄy¡G¿D¤j§Q¨È
¦í§}/¦a§}¡G10 Holker Street, Newington, New South Wales, 2127, Australia
¼ÐÃD¡G¹CÀ¸¾÷¥ÎÅã¥Ü¸Ë¸m¡C
ºKn¡GO presente desenho/modelo consiste num dispositivo mostrador para máquina de jogo, destinado a visualizar qualquer tipo de imagem relacionada com jogos, cujas características para o qual a novidade se reivindica são a forma, configuração, ornamentação e/ou a combinação de todas estas características, tal como ilustrado nas representações.
¤ÀÃþ¡G21-03
| ³Ð§@¤H¡G | Vince Carmelo Bruzzese |
| ¡@ | Scott Paul Shelley |
| ¡@ | Philip Clive Crouch |
ªþ¹Ï

³]p½s¸¹¡GD/000648
¥Ó½Ð¤é´Á¡G2010/04/07
¥Ó½Ð¤H¡GAinsworth Game Technology Limited
°êÄy¡G¿D¤j§Q¨È
¦í§}/¦a§}¡G10 Holker Street, Newington, New South Wales, 2127, Australia
¼ÐÃD¡G¹CÀ¸¾÷¡C
ºKn¡GO presente desenho/modelo consiste numa máquina de jogo, contendo um ou mais dispositivos mostradores, dotado de ranhuras para introdução de fichas, moedas, cartões ou notas, apresentando de seguida um conjunto de botões, com diversas finalidades no jogo. Na parte inferior da máquina de jogo encontra-se uma ranhura de grande dimensão para a saída do prémio do jogo. A característica este desenho/modelo para o qual a novidade se reivindica é a forma, configuração, ornamentação e/ou a combinação de todas estas características, tal como ilustrado nas representações.
¤ÀÃþ¡G21-03
| ³Ð§@¤H¡G | Vince Carmelo Bruzzese |
| ¡@ | Scott Paul Shelley |
| ¡@ | Philip Clive Crouch |
ªþ¹Ï

³]p½s¸¹¡GD/000687
¥Ó½Ð¤é´Á¡G2010/10/08
¥Ó½Ð¤H¡GJohn Clement PRESTON
°êÄy¡G¿D¤j§Q¨È
¦í§}/¦a§}¡G196 Silverwater Road, Silverwater NSW 2128, Australia
¼ÐÃD¡GÆN¬[¼Ò²Õ¤ÎÆN¬[¼Ò²Õ®Ø¡C
ºKn¡G¥»³Ð§@«YÃö©ó¤@ºØÆN¬[¼Ò²Õ¤ÎÆN¬[¼Ò²Õ®Ø¡A¥Dn¨ã¦³¤@¥ßÅ鮨¬[¡A¨ä¥Ñ¤Q¤G±ø¨¤¬W²Õ¦¨¡A¨C¤@±ø¨¤¬W§¡³]¦³¦hÓ¤Õ¬}¡A¾î±ø¥i¥ô·N¤W¤U½Õ¾ã¨Ï¥Î¡A¥i´£¤ÉªÅ¶¡§Q¥Î²v¡A¥ç¥i¼W¥[¤ä¬[¤Îºô¬[¡AÝÅU¬üÆ[»P«K§Q¡C
¤ÀÃþ¡G25-04
³Ð§@¤H¡GJohn Clement PRESTON
Àu¥ýÅv¤é´Á¡G2010/04/09
Àu¥ýÅv°ê®a/¦a°Ï¡G¿D¤j§Q¨È
Àu¥ýÅv½s¸¹¡G11262/2010
Àu¥ýÅv¤é´Á¡G2010/04/09
Àu¥ýÅv°ê®a/¦a°Ï¡G¿D¤j§Q¨È
Àu¥ýÅv½s¸¹¡G11263/2010
Àu¥ýÅv¤é´Á¡G2010/09/14
Àu¥ýÅv°ê®a/¦a°Ï¡G¿D¤j§Q¨È
Àu¥ýÅv½s¸¹¡G13985/2010
ªþ¹Ï

±ÂÅvªºµo©ú±M§Q¤§©µ¦ù
®Ú¾Ú¸g¤Q¤G¤ë¤Q¤T¤é²Ä97/99/M¸¹ªk¥O®Ö㤧¡m¤u·~²£Åvªk«ß¨î«×¡n²Ä¤Q±ø¤Î²Ä¤@¦Ê¤G¤Q¤E¦Ü¤@¦Ê¤T¤Q¤±ø¤§³W©w¡Aµ²¦X¡m°ê®aª¾ÃѲ£Åv§½»P¿Dªù¯S§O¦æ¬F°Ï¸gÀÙ§½Ãö©ó¦bª¾ÃѲ£Åv»â°ì¦X§@ªº¨óij¡n²Ä¥|±ø¤Î²Ä¤±ø¤§³W©w¡A¤½§G¤U¦C±ÂÅvªºµo©ú±M§Q¥Ó½Ð¤§©µ¦ù¡C
±ÂÅvªºµo©ú±M§Q¤§©µ¦ù
½s¸¹¡GJ/000602
©µ¦ù¥Ó½Ð¤é´Á¡G2011/02/14
©µ¦ù§å¥Ü¤é´Á¡G2011/03/23
¥Ó½Ð¤H¡G¨½¯Ç¯S¯«¸g¨t²Î¾Ç¤½¥q
°êÄy¡G¬ü°ê
¦í§}/¦a§}¡G230 E. Grand Ave, South San Francisco, CA 94080, U.S.A.
¥Ó½Ð¤H¡G©ú¥§Ä¬¹F¤j¾Ç¸³¨Æ·|
°êÄy¡G¬ü°ê
¦í§}/¦a§}¡G1000 Westgate Drive, Suite 160, St. Paul, MN 55114-8658, U.S.A.
¼ÐÃD¡G³q¹L¬I¥Î¯«¸g¥Íªø¦]¤l«ú§Ü¾¯ªvÀø°©Àùµhªº¤èªk¡C
ºKn¡G¥»µo©ú¤½¶}¤F¥Î©ó¹w¨¾©ÎªvÀø¥]¬A»P°©Âಾ¬ÛÃöªºÀù¯g¯kµhªº°©Àùµhªº¤èªk©M²Õ¦Xª«¡A©Òz¹w¨¾©ÎªvÀø¬O³q¹L¬I¥Î¯«¸g¥Íªø¦]¤l¡]NGF¡^ªº«ú§Ü¾¯¦Ó¹ê²{¡CNGF«ú§Ü¾¯¥i¥H¬O¯à°÷µ²¦XhNGFªº§ÜNGF¡]¦p§ÜhNGF¡^§ÜÅé¡C
¤º¦a¥Ó½Ð¤é¡G2005/04/07
¤º¦a±M§Q¸¹¡GZL200580018506.4
¤º¦a¤½¶}¤é¡G2007/08/22
¤º¦a¤½§i¤é¡G2010/12/01
¤º¦a¤½§i¸¹¡GCN 101023099B
¤ÀÃþ¡GC07K16/22, A61K39/395
| µo©ú¤H¡G | D¡DL¡DÁº¸¹y |
| ¡@ | P¡DW¡Dªù¸¦ |
Àu¥ýÅv¤é´Á¡G2004/04/07
Àu¥ýÅv°ê®a/¦a°Ï¡G¬ü°ê
Àu¥ýÅv½s¸¹¡G60/560,781
Àu¥ýÅv¤é´Á¡G2004/10/19
Àu¥ýÅv°ê®a/¦a°Ï¡G¬ü°ê
Àu¥ýÅv½s¸¹¡G60/620,654
½s¸¹¡GJ/000603
©µ¦ù¥Ó½Ð¤é´Á¡G2011/02/15
©µ¦ù§å¥Ü¤é´Á¡G2011/03/23
¥Ó½Ð¤H¡G½÷·ç¦³¤½¥q
°êÄy¡G^°ê
¦í§}/¦a§}¡GRamsgate Road, Sandwich, Kent CT13 9NJ, U.K.
¼ÐÃD¡G¦h¤ÚÓi¿E°Ê¾¯ªºÆQÃþ§Î¦¡¡C
ºKn¡G¥»µo©ú¯A¤Î¦h¤ÚÓi¿E°Ê¾¯5¡Ð¡e¡]2R¡A5S¡^¡Ð5¥Ò°ò¡Ð4¡Ð¤þ°ò¶Ü啉¡Ð2¡Ð°ò¡f吡Ôr¡Ð2¡ÐÓi¡]I¡^ªº·s¿oÆQÃþ§Î¦¡¡G§ó¨ãÅé¦a¡A¥»µo©ú¯A¤Î5¡Ð¡e¡]2R¡A5S¡^¡Ð5¡Ð¥Ò°ò¡Ð4¡Ð¤þ°ò¶Ü啉¡Ð2¡Ð°ò¡f吡Ôr¡Ð2¡ÐÓi¤G¡Ð¡]1S¡^¡Ð¼Ì¸£ÁD»ÄÆQ¡]¤G¡ÐS¡Ð¼Ì¸£ÁD»ÄÆQ¡^¤Î»s³Æ¥Î©ó»s³y¸ÓÆQªº¤¤¶¡²£ª«¡B§t¦³¸ÓÆQªº²Õ¦Xª«ªº¤èªk¡A©M¸ÓÆQªº¥Î³~¡C
¤º¦a¥Ó½Ð¤é¡G2006/01/26
¤º¦a±M§Q¸¹¡GZL200680004282.6
¤º¦a¤½¶}¤é¡G2008/01/30
¤º¦a¤½§i¤é¡G2010/12/01
¤º¦a¤½§i¸¹¡GCN 101115737B
¤ÀÃþ¡GC07D401/04, C07D413/04, A61K31/5377, A61P15/00, C07C309/25
| µo©ú¤H¡G | ´µ¹Ï¨È¯S¡D©¼±o¡D®æªL |
| ¡@ | ¶ø§Qºûº¸¡DªüÄõ¡D©Ô¤ã¨½ |
| ¡@ | ¾HªÖ¡D¬dº¸´µ¡D¦Ì°Ç |
| ¡@ | ªk¥¬¨½´µ¡D¦ë§Q¡DÂĪL®æ |
Àu¥ýÅv¤é´Á¡G2005/02/07
Àu¥ýÅv°ê®a/¦a°Ï¡G^°ê
Àu¥ýÅv½s¸¹¡G0502509.3
ªþ¹Ï

½s¸¹¡GJ/000608
©µ¦ù¥Ó½Ð¤é´Á¡G2011/02/22
©µ¦ù§å¥Ü¤é´Á¡G2011/03/23
¥Ó½Ð¤H¡G½÷·ç¤jÃļt
°êÄy¡G¬ü°ê
¦í§}/¦a§}¡G235 East 42nd Street, New York, NY 10017-5755, U.S.A.
¼ÐÃD¡G¥Î§@²ÕÓiH3¨üÅé°tÅ骺¥|²B萘Ôrl¥Íª«¡C
ºKn¡G¥»µo©ú¯A¤Î¥|²B萘Ôrl¥Íª«©M³oÃþl¥Íª«ªº»s³Æ¤èªk¡B¥Î©ó»s³Æ¥¦Ìªº¤¤¶¡Åé¡B§t¦³¥¦Ìªº²Õ¦Xª«¤Î¨äÀ³¥Î¡C©Òzªº¥|²B萘Ôrl¥Íª«¬°H3°tÅé¨Ã¥B¥Î©ó³\¦h¯e¯f¡B¯f¯g©M¯e±w¡A¯S§O¬Oª¢¯g¡B¹L±Ó©Ê©M©I§l¨t²Î¯e¯f¡B¯f¯g©M¯e±w¡C
¤º¦a¥Ó½Ð¤é¡G2005/05/06
¤º¦a±M§Q¸¹¡GZL200580015000.8
¤º¦a¤½¶}¤é¡G2007/04/18
¤º¦a¤½§i¤é¡G2011/01/12
¤º¦a¤½§i¸¹¡GCN 1950371B
¤ÀÃþ¡GC07D471/04, C07D519/00, A61K31/4745, A61K31/4985, A61K31/52, A61P25/00
| µo©ú¤H¡G | G¡D¿c®¦ |
| ¡@ | J¡DP¡Dº¿§Æ¨È´µ |
| ¡@ | R¡DS¡D´µ¯S®Ô |
Àu¥ýÅv¤é´Á¡G2004/05/12
Àu¥ýÅv°ê®a/¦a°Ï¡G¼Ú¬wÁp·ù
Àu¥ýÅv½s¸¹¡G04291222.0
ªþ¹Ï

½s¸¹¡GJ/000609
©µ¦ù¥Ó½Ð¤é´Á¡G2011/02/22
©µ¦ù§å¥Ü¤é´Á¡G2011/03/23
¥Ó½Ð¤H¡G½÷·ç¤jÃļt
°êÄy¡G¬ü°ê
¦í§}/¦a§}¡G235 East 42nd Street, New York, NY 10017-5755, U.S.A.
¼ÐÃD¡G«P°Ê¤ºàÃþ¤Æ¦Xª«¡C
ºKn¡G¨ã¦³®Ú¾Ú¦¡¡]I¡^µ²ºcªº¤Æ¦Xª«¡A¨ä¤¤¡ARA¡BRB¡BRC¡BRD¡BRE©MRF¬°¥»¤å¤¤©Ò©w¸q¡A¥i¥Î§@«P¹B°ÊÃÄ¡C
¤º¦a¥Ó½Ð¤é¡G2006/05/08
¤º¦a±M§Q¸¹¡GZL200680018166.X
¤º¦a¤½¶}¤é¡G2008/06/18
¤º¦a¤½§i¤é¡G2011/01/12
¤º¦a¤½§i¸¹¡GCN 101203227B
¤ÀÃþ¡GA61K37/70, C07H17/08
| µo©ú¤H¡G | Y¡D¼B |
| ¡@ | C¡D¥d¹p©Ô´µ |
| ¡@ | D¡DC¡DÁÚº¸´µ |
| ¡@ | Y¡D§õ |
| ¡@ | S¡DJ¡D¿½ |
| ¡@ | H¡D¥I |
| ¡@ | Y¡D³¯ |
| ¡@ | H¡D¾G |
| ¡@ | Y¡D§õ |
| ¡@ | M¡DA¡D¬fªL»\©i |
Àu¥ýÅv¤é´Á¡G2005/05/24
Àu¥ýÅv°ê®a/¦a°Ï¡G¬ü°ê
Àu¥ýÅv½s¸¹¡G60/684,612
Àu¥ýÅv¤é´Á¡G2005/09/08
Àu¥ýÅv°ê®a/¦a°Ï¡G¬ü°ê
Àu¥ýÅv½s¸¹¡G60/715,406
Àu¥ýÅv¤é´Á¡G2005/12/08
Àu¥ýÅv°ê®a/¦a°Ï¡G¬ü°ê
Àu¥ýÅv½s¸¹¡G60/748,898
Àu¥ýÅv¤é´Á¡G2006/05/02
Àu¥ýÅv°ê®a/¦a°Ï¡G¬ü°ê
Àu¥ýÅv½s¸¹¡G11/416,519
ªþ¹Ï

½s¸¹¡GJ/000610
©µ¦ù¥Ó½Ð¤é´Á¡G2011/02/23
©µ¦ù§å¥Ü¤é´Á¡G2011/03/23
¥Ó½Ð¤H¡G®è¦¡·|ªÀ¤é¥ß»s§@©Ò
°êÄy¡G¤é¥»
¦í§}/¦a§}¡G6-6, Marunouchi 1-chome, Chiyoda-ku, Tokyo 100-8280, Japan
¥Ó½Ð¤H¡G¤é¥ßìËm¹q¤l¤u·~®è¦¡·|ªÀ
°êÄy¡G¤é¥»
¦í§}/¦a§}¡G10-2, Bentencho-3-chome, Hitachi-shi, Ibaraki 317-0072, Japan
¼ÐÃD¡G¹q°Ê¾÷ÅX°Ê¹q¸ô¡A¹q°Ê¾÷ÅX°Ê¤èªk¥H¤Î¥b¾ÉÅé¶°¦¨¹q¸ô¸Ë¸m¡C
ºKn¡G¥»µo©úªº½ÒÃD¬O´£¨Ñ¤@ºØ¹q°Ê¾÷ÅX°Ê¹q¸ô¡B¹q°Ê¾÷ÅX°Ê¤èªk¥H¤Î¥b¾ÉÅé¶°¦¨¹q¸ô¸Ë¸m¡A¥Î¤ñ¸û²³æªº¹q¸ô§C¾¸µ¦aÅX°ÊªÅ½Õ¡B¦B½cµ¥ªº·®°¹q°Ê¾÷¡AÀ£ÁY¾÷ÅX°Ê¹q°Ê¾÷¥H¤Î¬¦¹q°Ê¾÷¡C¸Ó¹q°Ê¾÷ÅX°Ê¹q¸ôªº¯S¼x¦b©ó¡G¦b¹q°Ê¾÷ªº¬Û¤Á´«¤¤¡A¨Ï²Ä1³q¹q¬Û¬°º¡³q¹qª¬ºA¡A³q¹L²Ä1¯ß½Ä¼e«×½Õ¨î«H¸¹±±¨î¤Á´«ªº²Ä2³q¹q¬Û¡A³q¹L²Ä2¯ß½Ä¼e«×½Õ¨î«H¸¹±±¨î« 叠´Á¶¡ªº²Ä1³q¹q¬Û¡C³q¹L½w©M¬Û¤Á´«®Éªº«æ¼@ªº¹q°Ê¾÷¹q¬yªºÅܤơA°§C¹q°Ê¾÷ªº¾¸µ¤Î®¶°Ê¡C
¤º¦a¥Ó½Ð¤é¡G2007/10/30
¤º¦a±M§Q¸¹¡GZL200710184850.1
¤º¦a¤½¶}¤é¡G2008/05/14
¤º¦a¤½§i¤é¡G2011/01/19
¤º¦a¤½§i¸¹¡GCN 101179247B
¤ÀÃþ¡GH02P6/06, H02P6/08
| µo©ú¤H¡G | ¤j®ú¤¯ |
| ¡@ | Ä夫°·¥q |
| ¡@ | ¦w®q«T©¯ |
| ¡@ | ªø¨¦¤t¸Î¤§ |
Àu¥ýÅv¤é´Á¡G2006/11/08
Àu¥ýÅv°ê®a/¦a°Ï¡G¤é¥»
Àu¥ýÅv½s¸¹¡G2006-302244
ªþ¹Ï

½s¸¹¡GJ/000611
©µ¦ù¥Ó½Ð¤é´Á¡G2011/02/23
©µ¦ù§å¥Ü¤é´Á¡G2011/03/23
¥Ó½Ð¤H¡G®è¦¡·|ªÀ¤jà»sÃĤu³õ
°êÄy¡G¤é¥»
¦í§}/¦a§}¡G115, Aza Kuguhara, Tateiwa, Muya-cho, Naruto-shi, Tokushima 7728601, Japan
¼ÐÃD¡G¯Ø®qªº¤ÀÂ÷¤èªk¡C
ºKn¡G¥»µo©ú´£¨Ñ¯Ø®qªº¤ÀÂ÷¤èªk¡A¨ä¥]¬A¦p¤U¤u§Ç¡G±N§t¦³³J¥Õ酶§í¨î¾¯ªº«OÅ@²Gª`¤J¨ìÂ÷Å骺¯ØÅ¦ªº¯ØºÞ¤ºªº¤u§Ç¡]1¡^¡F±Nª`¦³«OÅ@²Gªº¯ØÅ¦¤À¸Ñªº¤u§Ç¡]3¡^¡F¥H¤Î±N¸Ó¤À¸Ñ±o¨ìªº¯Ø²Õ´¥Î§t¦³±K«×±è«×¾¯ªº¯Â¤Æ·»²G¨Ó¯Â¤Æªº¤u§Ç¡]4¡^¡C¦¹¥~¡A´£¨Ñ¯ØºÞ¤ºª`¤J¥Î«OÅ@²G¡B¤G¼hªk¥Î¯ØÅ¦«O¦s²G©M¯Ø®q¯Â¤Æ·»²G¡C
¤º¦a¥Ó½Ð¤é¡G2005/12/22
¤º¦a±M§Q¸¹¡GZL200580043739.X
¤º¦a¤½¶}¤é¡G2007/12/05
¤º¦a¤½§i¤é¡G2011/01/12
¤º¦a¤½§i¸¹¡GCN 101084305B
¤ÀÃþ¡GC12N5/06, A01N1/02
| µo©ú¤H¡G | ªQ¥»·V¤@ |
| ¡@ | ©M¥Ð¬v¤x |
| ¡@ | ³¥¤f¬v¤å |
Àu¥ýÅv¤é´Á¡G2004/12/22
Àu¥ýÅv°ê®a/¦a°Ï¡G¤é¥»
Àu¥ýÅv½s¸¹¡G370732/2004
Àu¥ýÅv¤é´Á¡G2005/07/21
Àu¥ýÅv°ê®a/¦a°Ï¡G¤é¥»
Àu¥ýÅv½s¸¹¡G211228/2005
½s¸¹¡GJ/000612
©µ¦ù¥Ó½Ð¤é´Á¡G2011/02/28
©µ¦ù§å¥Ü¤é´Á¡G2011/03/23
¥Ó½Ð¤H¡G§ß®áÃÄ«~¤u·~®è¦¡·|ªÀ
°êÄy¡G¤é¥»
¦í§}/¦a§}¡G¤é¥»¤j¨Á©²¤j¨Á¥«¤¤¥¡°Ï¹D×Ëm1¤B¥Ø7µf10¸¹
¼ÐÃD¡G®Ö»ÄÀË´ú¤èªk¤Î¨äÀ³¥Î¡C
ºKn¡G¥»µo©ú´£¨ÑÀË´úÆF±Ó«×¤ñ¶Ç²Î¤èªk°ª¡A¦P®É¥i·Ç½T¥B¨³³t¦aÀË´ú¥X¹v®Ö»Äªº®Ö»ÄÀË´ú¤èªk¤Î¨Ï¥Î¸Ó¤èªkªº°ò¦]ÀË´ú¸Õ¾¯²°¡C±N¥]§t²ÓMªº¸Õ®Æ©T©w©ó¤ä«ùÅé¡A¥H³o¼Ëªºª¬ºA¦b¤ä«ùÅé¤WÂX¼W®Ö»Ä¡A¨ÃÀË´úÂX¼Wªº®Ö»Ä¡C¥Ñ©ó¤£±q¸Õ®Æ©â¨ú®Ö»Ä¡A¥i¨¾¤î¦ñÀH®Ö»Ä©â¨ú¹Lµ{ªº®Ö»Ä·l¯ÓªºÀË´úÆF±Ó«×ªº¤U°¡C¥t¥~¡A¥Ñ©óÀË´úÂX¼W«áªº®Ö»Ä¡A§Y«K¸Õ®Æ¤¤¥]§tªº¹v®Ö»Ä·L¶q¡A¤]¥iÀË´ú¥X¡C
¤º¦a¥Ó½Ð¤é¡G2005/02/08
¤º¦a±M§Q¸¹¡GZL200580004336.4
¤º¦a¤½¶}¤é¡G2007/02/21
¤º¦a¤½§i¤é¡G2010/12/01
¤º¦a¤½§i¸¹¡GCN 1918305B
¤ÀÃþ¡GC12Q1/68, C12N15/10, G01N33/50
| µo©ú¤H¡G | ªQ¤[©ú¥Í |
| ¡@ | ¤s¥»¸Û¥q |
| ¡@ | ¦¿¥Ð©v¥q |
| ¡@ | ¤s±T¦ù¤G |
Àu¥ýÅv¤é´Á¡G2004/02/09
Àu¥ýÅv°ê®a/¦a°Ï¡G¤é¥»
Àu¥ýÅv½s¸¹¡G032617/2004
ªþ¹Ï

½s¸¹¡GJ/000613
©µ¦ù¥Ó½Ð¤é´Á¡G2011/02/28
©µ¦ù§å¥Ü¤é´Á¡G2011/03/23
¥Ó½Ð¤H¡Gù´¤å
°êÄy¡G¤¤°ê
¦í§}/¦a§}¡G»´ä¤EÀs¶í®Ú¼w¹D19¸¹
¼ÐÃD¡GLED¥æ³q¿O¡C
ºKn¡G¤@ºØLED±ªO««ª½³]¸mªº¥æ³q¿O¸Ë¸m¡A¨ä¯à°÷¶Ç¹F¥æ³q¿O±q¤Þ¾É¨T¨®³q¹Lªº«H¸¹§ïÅܦ¨¤Þ¾É¨T¨®°±¤îªº«H¸¹ªº®É¶¡¤jPÁٳѦh¤Ö¡C¥æ³q¿O¸Ë¸m¨ã¦³¥Î©ó¤Þ¾É¨T¨®¥æ³qªºLED±ªO¡A¥Î©ó¤Þ¾É¦æ¤H¥æ³qªºLED±ªO¡ALEDµó¹D¼ÐµP©M¥Î©óÅã¥Ü°Êµe¼s§i©Î¨Ò¦p«e±ªº¥æ³qª¬ªp³o¼Ëªº«n«H®§ªºLED±ªO¡C
¤º¦a¥Ó½Ð¤é¡G2004/02/27
¤º¦a±M§Q¸¹¡GZL200480003158.9
¤º¦a¤½¶}¤é¡G2006/03/08
¤º¦a¤½§i¤é¡G2011/01/19
¤º¦a¤½§i¸¹¡GCN 1745403B
¤ÀÃþ¡GG08G1/096, G08G1/095, F21S4/00
µo©ú¤H¡Gù´¤å
Àu¥ýÅv¤é´Á¡G2004/02/27
Àu¥ýÅv°ê®a/¦a°Ï¡G¬ü°ê
Àu¥ýÅv½s¸¹¡GPCT/US2004/006271
ªþ¹Ï

½s¸¹¡GJ/000614
©µ¦ù¥Ó½Ð¤é´Á¡G2011/03/02
©µ¦ù§å¥Ü¤é´Á¡G2011/03/23
¥Ó½Ð¤H¡G¬ã¯à¬ì§ÞªÑ¥÷¦³¤½¥q
¦í§}/¦a§}¡G¤¤°ê¥xÆW¬Ù·s¦Ë¥«¬ì¾Ç¶é°Ï¬ãµo¤G¸ô28¸¹1¼Ó
¼ÐÃD¡G¥Î©ó¥´¦L¸Ë¸mªº¶Â¦â¾¥¤ô²Õ¦Xª«¡C
ºKn¡G¥»µo©ú´£¨Ñ¤@ºØ¾¥¤ô²Õ¦Xª«¡A¥¦¥]¬A¡G¶Â¦â¦â®Æ¡F·»¾¯¡F¥H¤Î0.5¦Ü2«¶q%ªº¨Å»Äà¤À´²¾¯¡C·í¨Ï¥Î¸Ó¾¥¤ô²Õ¦Xª«¥´¦L¼Q¾¥°ò§÷®É¨ã¦³Àu¨}ªº¥´¦L«~½è¡A¤£¶È¨ã¦³¨}¦nªº¥ú¾Ç±K«×¡AÁÙ¥i¥HÁ×§K·w¶}¡B¤òÃä²{¶Hµ¥°ÝÃD¡C
¤º¦a¥Ó½Ð¤é¡G2005/08/24
¤º¦a±M§Q¸¹¡GZL200510095948.0
¤º¦a¤½¶}¤é¡G2007/02/28
¤º¦a¤½§i¤é¡G2010/12/08
¤º¦a¤½§i¸¹¡GCN 1919941B
¤ÀÃþ¡GC09D11/02
| µo©ú¤H¡G | Á§¼ä¸a |
| ¡@ | ÄÇÄR¶² |
| ¡@ | ¶À¿ÑÙ³ |
½s¸¹¡GJ/000615
©µ¦ù¥Ó½Ð¤é´Á¡G2011/03/02
©µ¦ù§å¥Ü¤é´Á¡G2011/03/23
¥Ó½Ð¤H¡G¤è¤Ó®ü¼w¦³¤½¥q
°êÄy¡G¬ü°ê
¦í§}/¦a§}¡G9625 Scandia Rd., Shepherd, MT 59079, United States
¼ÐÃD¡Gº}¯B´Óª«¥Í¹Ò¡C
ºKn¡G¤@ºØº}¯B¥Í¹Ò¨t²Î¡A©Òzº}¯B¥Í¹Ò¨t²Î¥]¬A®qÀ¬Åé©Î¥i¨I¤J¤ô¤¤ªº¥Íªø°Ï°ì¡B¦Ü¤Ö¤@Ó¹ê¤ß¥Y°_¥Íªø°Ï°ì©M¦Ü¤Ö¤@Ó«õªÅ¥Y°_¥Íªø°Ï°ì¡CÀu¿ï¦a¡A©Òz®qÀ¬Åé©Î¥i¨I¤J¤ô¤¤ªº¥Íªø°Ï°ì¨ã¦³¤Wªí±¡A¨Ã¥Ñª`®g¦³º}¯BªwªjªºµL¯¼°òÅéºc¦¨¡CÀu¿ï¦a¡A©Òz¦Ü¤Ö¤@Ó¹ê¤ß¥Y°_¥Íªø°Ï°ì³Q¦w¸Ë¦b©Òz¤Wªí±¤W¡A¨Ã¥Ñª`®g¦³º}¯BªwªjªºµL¯¼°òÅéºc¦¨¡CÀu¿ï¦a¡A©Òz¦Ü¤Ö¤@Ó«õªÅ¥Y°_¥Íªø°Ï°ì³Q¦w¸Ë¦b©Òz¤Wªí±¤W¡A¨Ã¥Ñ¥]³ò¤@³¡¤À¥Íªø¤¶½èªº©ÒzµL¯¼°òÅé¥~Àôºc¦¨¡C
¤º¦a¥Ó½Ð¤é¡G2007/03/25
¤º¦a±M§Q¸¹¡GZL200780014409.7
¤º¦a¤½¶}¤é¡G2009/05/06
¤º¦a¤½§i¤é¡G2011/02/02
¤º¦a¤½§i¸¹¡GCN101426365B
¤ÀÃþ¡GA01G31/02
| µo©ú¤H¡G | ¥±Äõ§J¡DM¡D´µ¹Ïº¸¯S |
| ¡@ | ¥¬¾|´µ¡DG¡D¥d¥§¨È |
Àu¥ýÅv¤é´Á¡G2006/04/21
Àu¥ýÅv°ê®a/¦a°Ï¡G¬ü°ê
Àu¥ýÅv½s¸¹¡G60/745,394
ªþ¹Ï

½s¸¹¡GJ/000616
©µ¦ù¥Ó½Ð¤é´Á¡G2011/03/07
©µ¦ù§å¥Ü¤é´Á¡G2011/03/23
¥Ó½Ð¤H¡GÀô²y®T¼Ö®è¦¡·|ªÀ
°êÄy¡G¤é¥»
¦í§}/¦a§}¡G¤é¥»°êªF¨Ê³£¦¿ªF°Ï¦³©ú¤T¤B¥Ø7µf26¸¹¦³©ú«eªu¤j·HA®y
¥Ó½Ð¤H¡G®è¦¡·|ªÀPtoPA
°êÄy¡G¤é¥»
¦í§}/¦a§}¡G¤é¥»°êªF¨Ê³£¦¿ªF°Ï¦³©ú¤T¤B¥Ø1µf¦a25¸¹
¼ÐÃD¡G·|¸Ü±±¨î¸Ë¸m¡C
ºKn¡G§Y¨Ï¹ï©ó¡§µLªkµªÀ³¡¨ªº¥Î¤á¸Ü»y¡A¤]¯à®Ú¾Ú¥Î¤á¸Ü»y±ø¥óºû«ù·|¸Ü«Ø¥ß¡C·|¸Ü±±¨î¸Ë¸m¥]¬A¡G·|¸Ü¼Æ¾Ú®w¡A¦sÀx¦hÓ¤è®×¡A¤À§O¥]¬AÀ³µª»y¥y©M³W©w¤U¤@Ô¿ïÀ³µª»y¥yªº¤U¤@Ô¿ï³W©w«H®§¡A¤U¤@Ô¿ïÀ³µª»y¥y¬O©Ó±µ¦bÀ³µª»y¥y¤§«áµo°eªºÀ³µª»y¥y¡F¤è®×·|¸Ü³B²z¾¹¡AY²Ä¤G¥Î¤á¸Ü»y¤£ÃöÁp©ó¤U¤@Ô¿ïÀ³µª»y¥y©ÎÃö«Y¤£²M·¡¡A±À¿ð¤U¤@Ô¿ïÀ³µª»y¥yªºµo°e¡F½Í¸ÜªÅ¶¡·|¸Ü±±¨î³B²z¾¹¡AY¤è®×·|¸Ü¼Ò¶ô±À¿ð¤U¤@Ô¿ïÀ³µª»y¥yªºµo°e¡A·j¯ÁÃöÁp©ó²Ä¤G¥Î¤á¸Ü»yªº¸ÜÃD¡AY¥¼§ä¨ìÃöÁp©ó²Ä¤G¥Î¤á¸Ü»yªº¸ÜÃD¡A±À¿ðÃöÁp©ó¸ÜÃDªºÀ³µª»y¥yªºµo°e¡F¥H¤ÎCA·|¸Ü³B²z¾¹¡AY½Í¸ÜªÅ¶¡·|¸Ü¼Ò¶ô±À¿ðÀ³µª»y¥yªºµo°e¡A±q²Ä¤G¥Î¤á¸Ü»y¤¤¦ôp²Ä¤G¥Î¤á¸Ü»y¡A®Ú¾Ú¦ôpµ²ªGµo°eÀ³µª»y¥y¡C
¤º¦a¥Ó½Ð¤é¡G2006/10/20
¤º¦a±M§Q¸¹¡GZL200610136038.7
¤º¦a¤½¶}¤é¡G2007/06/06
¤º¦a¤½§i¤é¡G2011/01/05
¤º¦a¤½§i¸¹¡GCN 1975857B
¤ÀÃþ¡GG10L15/08, G10L15/18, G10L15/00, A63F13/12, G06F17/28, G06Q50/00
| µo©ú¤H¡G | ¶ÀÁn´ |
| ¡@ | ³ÓܸΠ|
Àu¥ýÅv¤é´Á¡G2005/10/21
Àu¥ýÅv°ê®a/¦a°Ï¡G¤é¥»
Àu¥ýÅv½s¸¹¡G307867/2005
ªþ¹Ï

½s¸¹¡GJ/000617
©µ¦ù¥Ó½Ð¤é´Á¡G2011/03/07
©µ¦ù§å¥Ü¤é´Á¡G2011/03/23
¥Ó½Ð¤H¡G®üº¸´µªi¦]¯S¤½¥q
°êÄy¡G¬ü°ê
¦í§}/¦a§}¡G3909 Hulen Street, Fort Worth, Texas 76107, United States of America
¼ÐÃD¡G¨Ï¥Î¾L»ÄÆQ©M¾J±o¨ì¥³¤GîÇ®ø¬r¾¯¤ÀªK±ìµß±þµß¬¡©Êªº´£°ª©M®ð¨ýªº´î¤Ö¡C
ºKn¡G¥[¤J¾J©M¾L»ÄÆQ¥X¥G·N®Æ¦a´£°ª¤F¥³¤GîǪº¤ÀªK±ìµß±þµß¬¡©Ê¡A¨Ã´î¤Ö¤F°ª®Ä®ø¬r¾¯°t¤è¤¤ªº¥³¤GîǪº®ð¨ý¡C
¤º¦a¥Ó½Ð¤é¡G2006/06/27
¤º¦a±M§Q¸¹¡GZL200680025411.X
¤º¦a¤½¶}¤é¡G2008/07/16
¤º¦a¤½§i¤é¡G2010/12/08
¤º¦a¤½§i¸¹¡GCN 101222846B
¤ÀÃþ¡GA01N35/02, A01N31/02, A01N37/02
µo©ú¤H¡G¿Õ°Ò¡EA¡EÁÚ¯Ç
Àu¥ýÅv¤é´Á¡G2005/07/11
Àu¥ýÅv°ê®a/¦a°Ï¡G¬ü°ê
Àu¥ýÅv½s¸¹¡G11/178,806
½s¸¹¡GJ/000619
©µ¦ù¥Ó½Ð¤é´Á¡G2011/03/08
©µ¦ù§å¥Ü¤é´Á¡G2011/03/23
¥Ó½Ð¤H¡G滙¶©´×·~¦³¤½¥q
°êÄy¡G®Ú¾Ú»´äªk¨Ò¦¨¥ß
¦í§}/¦a§}¡G»´ä»´ä¥J¶À¦Ë§|·~¿³µó11¸¹«n滙¼s³õ6¼Ó601-5«Ç
¼ÐÃD¡G¸}¤â¬[Å@Äæ¤ä¼µ¥ó¡B¸}¤â¬[µ²ºc¤Î¥Î©ó¸Óµ²ºcªº½Ýª½¼Ð·Ç¥ó¡C
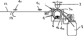
ºKn¡G¤@ºØ¥Î©ó¸}¤â¬[µ²ºc¥H¹ïªøÅ@Äæ¶i¦æ©w¦ìªº¸}¤â¬[Å@Äæ¤ä¼µ¥ó¡CÅ@Äæ¤ä«ù¥ó¥]¬A®e¯Ç©M©w¦ìªøÅ@Äæªº¤ä¬[¡CÅ@Äæ¤ä«ù¥óÁÙ¥]¬A§¨«ù³¡¥ó¡A§¨«ù³¡¥ó¥]¬A¦±±ì©M¦±¬`¡C¦±±ì¥Ñ¤ä¬[©Ó¸ü¡A¥H¥Î©ó¶¨ä¦±±ì¶b±ÛÂà¡C¦±±ì¥Ñ¤ä¬[©Ó¸ü¡A±q¦Ó¨Ï±o¦b¦±±ì¬Û¹ï©ó¤ä¬[ªº²Ä¤@ª¬ºA©M²Ä¤Gª¬ºA¤§¶¡¡A¦±¬`»PªøÅ@Äæ±µ¦X¡A¨Ã´Â¦V¤ä¬[À£¢ªøÅ@Äæ¡C
¤º¦a¥Ó½Ð¤é¡G2006/11/24
¤º¦a±M§Q¸¹¡GZL200680044175.6
¤º¦a¤½¶}¤é¡G2009/01/07
¤º¦a¤½§i¤é¡G2010/12/08
¤º¦a¤½§i¸¹¡GCN 101341305B
¤ÀÃþ¡GE04G7/12, E04F11/18, E04G21/32
µo©ú¤H¡GĬ¦¼¦¨
Àu¥ýÅv¤é´Á¡G2005/11/25
Àu¥ýÅv°ê®a/¦a°Ï¡G^°ê
Àu¥ýÅv½s¸¹¡G0524091.6
ªþ¹Ï

µo©ú±M§Q¤§«OÅ@
®Ú¾Ú¸g¤Q¤G¤ë¤Q¤T¤é²Ä97/99/M¸¹ªk¥O®Ö㤧¡m¤u·~²£Åvªk«ß¨î«×¡n²Ä¤Q±ø¤Î²Ä¤K¤Q¤T±ø¤§³W©w¡A¤½¥¬¤U¦C¦b¿Dªù¯S§O¦æ¬F°Ï´£¥Xªºµo©ú±M§Qµù¥U¥Ó½Ð¡A¨Ã«ö·Ó¬Û¦Pªk³W²Ä¤K¤Q¥|±ø¡A¦Û¦¹¤½¥¬¤é°_¦Ü±Â¤©±M§Q¤§¤é¤î¡A¥ô¦ó²Ä¤T¤H§¡±o´£¥XÁn©ú²§Ä³¡C
µo©ú±M§Q¤½§G
µo©ú±M§Q½s¸¹¡GI/000977
¥Ó½Ð¤é´Á¡G2009/09/03
¥Ó½Ð¤H¡GÄò¤ÑÀÆ
¦í§}/¦a§}¡G¤¤°ê¥xÆW¥x¤¤¥«¦è¤Ù°Ï¤u·~38¸ô210¸¹5¼Ó¤§8
¼ÐÃD¡G¹q¤l¹CÀ¸¾÷ªº©¯¹B«P¾Pª÷¨t²Î¡C
ºKn¡G¥»µo©ú¬O¦³Ãö©ó¤@ºØ¹q¤l¹CÀ¸¾÷ªº©¯¹B«P¾Pª÷¨t²Î¡A¨ä¥]§t¤@ª±®a¸ê°Tµn¿ýÀˬd¸Ë¸m¡B¤@¶Ç¿éºô¸ô¡B¤@ª±®a¸ê°T³B²z¸Ë¸m»P¤@¹q¤l¹CÀ¸¾÷¡A¨ä¤¤¸Óª±®a¸ê°Tµn¿ýÀˬd¸Ë¸m¨Ñ¤@ª±®aµn¿ý¡A¨Ã¨Ì¾Ú¸Óª±®aªº¹CÀ¸°O¿ýµo¤©¤@«P¾Pª÷¡A¥HÅý¸Óª±®a¸g¥Ñ¸Ó¶Ç¿éºô¸ôÂǥѸӪ±®a¸ê°T³B²z¸Ë¸mªº±±¨î¨Ì¾Ú¹w³]ªº¹CÀ¸³W«h¡A¨Ï¥Î¸Ó«P¾Pª÷©ó¸Ó¹q¤l¹CÀ¸¾÷¤W¶i¦æ¹CÀ¸¥HÀò¨ú¿n¤À¡C¥»µo©ú¥i¥H¦³®Äµo©ñ«P¾Pª÷¡AÂǥѸӫP¾Pª÷ªº¨Ï¥Î¨Ó¼W¥[ª±®a¨Ï¥Î¹q¤l¹CÀ¸¾÷ªº®É¶¡¡A¶i¦Ó¼W¥[¸Ó¹q¤l¹CÀ¸¾÷ªºÀç·~¦¬¤J¡C
¤ÀÃþ¡GA63F9/24
µo©ú¤H¡GÄò¤ÑÀÆ
ªþ¹Ï

µo©ú±M§Q½s¸¹¡GI/001061
¥Ó½Ð¤é´Á¡G2010/08/10
¥Ó½Ð¤H¡GAcres-Fiore Patents
°êÄy¡G¬ü°ê
¦í§}/¦a§}¡G9103 Alta, #804, Las Vegas, Nevada 89145, U.S.A.
¼ÐÃD¡G¨Ï¥ÎÀH¾÷ªºÁ`Åéµ²ªG½T©w¹CÀ¸µ²ªG¡C
ºKn¡G¥»¶µµo©úªº¨ãÅé³]p¬OÃö©ó³z¹L¦b³Õ±m¹CÀ¸¸Ë¸m¤WÀH¾÷¿ï¾Ü¦U¹CÀ¸¨Æ¥óªºÁ`Åéµ²ªG¦b¸Ó³Õ±m¹CÀ¸¸Ë¸m¤W½T©w¤@Ó¹CÀ¸µ²ªG¡C»P¶Ç²Îªº¤ÀªR¦hÓÀH¾÷¿ï¾Üªº³Õ±m¹CÀ¸¸Ë¸m¤£¦P¡A¥»¶µµo©úªº¨ãÅé³]p¿ï¾Üªº¬O¤@Ó¹CÀ¸¨Æ¥ó¤¤¦hÓ¥i¯àªº¹CÀ¸µ²ªGªºÁ`Åéµ²ªG¡C§Q¥Î¿ï¾Ü¤@ÓÁ`Åéµ²ªG¡A¥i¥H§ó»´©öªº¦b¤@¥x³Õ±m¹CÀ¸¸Ë¸m¤W¹ïÀ³©óIJµo¨Æ¥ó«ü¾É¯S©wªºµ²ªG¡A¨Ã¥B¥i¥H¬°³Õ±m¹CÀ¸¸Ë¸mªº¹CÀ¸³]p´£¨Ñ¤@Ó§ó¬°ÆF¬¡ªº³]p¥¥x¡C
¤ÀÃþ¡GA63F9/24
µo©ú¤H¡GJohn F. Acres
Àu¥ýÅv¤é´Á¡G2009/08/17
Àu¥ýÅv°ê®a/¦a°Ï¡G¬ü°ê
Àu¥ýÅv½s¸¹¡G12/542,587
ªþ¹Ï

µo©ú±M§Q½s¸¹¡GI/001063
¥Ó½Ð¤é´Á¡G2010/08/23
¥Ó½Ð¤H¡GAcres-Fiore Patents
°êÄy¡G¬ü°ê
¦í§}/¦a§}¡G9103 Alta, #804, Las Vegas, Nevada 89145, U.S.A.
¼ÐÃD¡G³q¹L¼WȦ¬¯q½T©w¹CÀ¸ªí²{¡C
ºKn¡G¥»¶µµo©úªº¨ãÅéÀ³¥Î¬OÃö©ó³q¹L¤ÀªR³Õ±m¹CÀ¸¸Ë¸m²£¥Íªº¼WȦ¬¯q½T©w³Õ±m¹CÀ¸¸Ë¸mªí²{ªº¤èªk¡C¸Ó¤èªk¥i¥H¥]¬A½T©w¤@Ó¤ÀªR´Á¡A¬°¤@²Õ³Õ±m¹CÀ¸¸Ë¸m©M¤@¥x´ú¸Õ³Õ±m¹CÀ¸¸Ë¸m°O¿ý¨ä¦b¤ÀªR´Á¤ºªº¹CÀ¸ªí²{¸ê®Æ¡A¥H¤Î±N¸Ó²Õ³Õ±m¹CÀ¸¸Ë¸m¤W°O¿ýªº¸ê®Æ©M¾ú¥v³Õ±m¹CÀ¸¸ê®Æ¶i¦æ¹ï¤ñ¡C¥»¤èªkªº¤@¨Ç¹ê¨ÒÁÙ¥i¥H¥]¬A¬°¤Wz¤ÀªR´Á¶}µo°Ñ¼Æ¥H¤Î¨Ï¥Î³o¨Ç¶}µo°Ñ¼Æ¦b¹ï¤ñ°O¿ý¸ê®Æ©M¾ú¥v³Õ±m¹CÀ¸¸ê®Æ¤§«e±N¤ÀªR´Á¤º°O¿ýªº¹CÀ¸¸ê®Æ¼Ð·Ç¤Æ¡C
¤ÀÃþ¡GA63F13/00
µo©ú¤H¡GJohn F. Acres
Àu¥ýÅv¤é´Á¡G2009/09/03
Àu¥ýÅv°ê®a/¦a°Ï¡G¬ü°ê
Àu¥ýÅv½s¸¹¡G12/553,875
ªþ¹Ï

µo©ú±M§Q½s¸¹¡GI/001065
¥Ó½Ð¤é´Á¡G2010/09/01
¥Ó½Ð¤H¡GAcres-Fiore Patents
°êÄy¡G¬ü°ê
¦í§}/¦a§}¡G9103 Alta, #804, Las Vegas, Nevada 89145, U.S.A.
¼ÐÃD¡G¨ã¦³±µªñŧ½°t¸mªº³Õ±m¹CÀ¸¸Ë¸m¡C
ºKn¡G¥»¶µµo©úªº¨ãÅé³]p»P¦b³Õ±m¹CÀ¸¸Ë¸m¤W°õ¦æ¤@Ó±µªñŧ½ªºµ²§½¬ÛÃö¡C±µªñŧ½µ²ªGªºÅã¥Ü¯S©Ê¥]¬Aºc¦¨¸Ó±µªñŧ½µ²ªGªº¼Ð°O¥H¤Î¸Ó¼Ð°OªºÅã¥Ü¦ì¸mÀò±o½T©w¡C¸Ó±µªñŧ½ªºµ²ªG¥i¥H±q¦hÓ¥i¯àªº¹CÀ¸µ²ªG¤¤ª½±µ¿ï¾Ü§@¬°¹CÀ¸µ²ªG¡A©ÎªÌ¥i¥H½T©w¬°¤@ÓIJµo¹CÀ¸¨Æ¥óªºµ²ªG¨Ã¥B¥N´À©Î°t¦X½T©wªº¹CÀ¸µ²ªGÅã¥Ü¡C
¤ÀÃþ¡GA63F9/24
µo©ú¤H¡GJohn F. Acres
Àu¥ýÅv¤é´Á¡G2009/09/14
Àu¥ýÅv°ê®a/¦a°Ï¡G¬ü°ê
Àu¥ýÅv½s¸¹¡G12/559,236
ªþ¹Ï

µo©ú±M§Q½s¸¹¡GI/001067
¥Ó½Ð¤é´Á¡G2010/09/09
¥Ó½Ð¤H¡GCAMOGA S.p.A.
°êÄy¡G·N¤j§Q
¦í§}/¦a§}¡GVia Oroboni 27, 20161 Milano, Italy
¼ÐÃD¡G¦Û°ÊÀË´ú¥Ö²¤ù©ÎÃþ¦ü§÷®Æ¤ù¤W·å²«ªº¾÷¾¹¡C
ºKn¡G¤@ºØ¦Û°ÊÀË´ú¥Ö²¤ù©ÎÃþ¦ü§÷®Æ¤ù¤W·å²«ªº¾÷¾¹¡A¥]¬A¡G¤@Ӥ伵¤¸¥ó¡A¨ä¾AÀ³©ó¦Ü¤Ö±µ¦¬¤@¤ù¥Ö²¡F±½´y¤u¨ã¡A¨ä¾AÀ³©óÀË´ú¤ù®Æº±ªº¤@ӹϹ³¨Ã±N¨äÂà´«¦¨¥i¤ÀªR«H¸¹¡F³B²z¤u¨ã¡A¨ä¾AÀ³©ó³B²z¥i¤ÀªR«H¸¹¨Ãų©w¥X¦Ü¤Ö¤@Ó»P¤ù®Æº±¤@³¡¤À¦³Ãöªº²§±`¡C¸Ó¾÷¾¹ÁÙ¥]¬A¤@Ӥ伵©M½Õ¥¿¤u¨ã¡A¨ä§@¥Î©ó¤ù®Æ¬Û¹ï©óº±ªº¦¸±¤W¡A¾AÀ³©ó¹ï¤ù®Æ¶i¦æ§½³¡±i¤O½Õ¾ã¡A¨Ï¤§¦Ü¤Ö¦ì©ó¤@±ø©M±½´y¤u¨ã¥¦æªº±½´y½u¤W¡C
¤ÀÃþ¡GG01N3/16
µo©ú¤H¡GMatteo MASCETTI
Àu¥ýÅv¤é´Á¡G2009/09/11
Àu¥ýÅv°ê®a/¦a°Ï¡G·N¤j§Q
Àu¥ýÅv½s¸¹¡GPCT/IT2009/000407
ªþ¹Ï

µo©ú±M§Q½s¸¹¡GI/001068
¥Ó½Ð¤é´Á¡G2010/09/28
¥Ó½Ð¤H¡GDynamite Games Pty Ltd.
°êÄy¡G¿D¤j§Q¨È
¦í§}/¦a§}¡GLevel 7, 160 Sussex Street, Sydney, NSW 2000, Australia
¼ÐÃD¡G³Õ±m¸Ë¸m¤Î¨t²Î¡C
ºKn¡G¥»µo©úªº¤@Ó¹ê¨Ò´£¨Ñ¤@¶µ¿ï¾Ü¡A§Y¥i³q¹L¦^À³¯S©wª±®a¿é¤J¥HIJµo¤¤¼ú¨Æ¥ó¡C³o¦V¹CÀ¸³]p¤H´£¨ÑÃB¥~ªº¦³§Q¿ï¶µ¡A¥H½T«O¹CÀ¸¬°ª±®a´£¨Ñ¾A·íªº¦^³ø¡C
¤ÀÃþ¡GA63F9/24
µo©ú¤H¡GBenjamin James Ellis
Àu¥ýÅv¤é´Á¡G2009/09/28
Àu¥ýÅv°ê®a/¦a°Ï¡G¿D¤j§Q¨È
Àu¥ýÅv½s¸¹¡G2009222428
ªþ¹Ï

µo©ú±M§Q½s¸¹¡GI/001069
¥Ó½Ð¤é´Á¡G2010/09/30
¥Ó½Ð¤H¡GShuffle Master, Inc.
°êÄy¡G¬ü°ê
¦í§}/¦a§}¡G1106 Palms Airport Drive, Las Vegas, Nevada 89119, U.S.A.
¼ÐÃD¡G¦Û°Ê¤Æªº³õ³W«ü¥Ü¾¹©M¦þª÷«ü¥Ü¾¹¡C
ºKn¡G¤½¶}¤F¤@ºØ¯à°÷ª±½ä³õ®àµP¹CÀ¸ªº¨t²Î¡C¤@²Õ¹CÀ¸µPªºÂI¼Æ©M/©Îªá¦â³Q¦Û°Ê½T©w¡C§Î¦¨¦hÓ¤wª¾ºc¦¨ªºÀH¾÷¹CÀ¸µP²Õ¡A±N¤§¤Àµoµ¹¹CÀ¸¨Ã«ö·Ó³Q¦Û°Ê²£¥Íªº³õ³W«ü¥O¨Ó³]©w¡C¸Ó¨t²Îªº²Õ¦¨¥]¬A¦Û°Ê¬~µP¾÷¡A¸Ó¦Û°Ê¬~µP¾÷³Q°t¸m¬°¤Àµo¹êÅéµPªºÀH¾÷²Õ¡A¸Ó¬~µP¾÷¦w¸Ë¦³Åª¨ú¦U±i¹CÀ¸µP¤Wªº¼Ð»xªºÂI¼Æ©M/©Îªá¦âªº¹CÀ¸µPŪ¨ú¨t²Î¡C¸Ó¦Û°Ê¬~µP¾÷¨ã¦³±q¸Ó¹CÀ¸µPŪ¨ú¨t²Î±µ¦¬Åª¨úªºµP«H®§¨Ã½T©w©Ò¤Àµoªº¦UÓ¿W¥ßªº¹CÀ¸µP²Õªººc¦¨ªº³B²z¾¹¡C¸Ó¨t²Îªº¨ä¥L²Õ¦¨¥]¬A¨ã¦³¹CÀ¸ªí±ªº¹CÀ¸®à©M¦Ü¤Ö¤@¥x¦ì©ó¸Ó¹CÀ¸ªí±¤W©ÎªÌ¾aªñ¸Ó¹CÀ¸ªí±ªºµøÀWºÊ±±¾¹¡A¸ÓµøÀWºÊ±±¾¹»P³Q½sµ{¦³³õ³W³W«hªº³B²z¾¹³q°T¡A¸ÓµøÀWºÊ±±¾¹¥Î©óÅã¥Ü¦³Ãö¦p¦ó®Ú¾Ú³õ³W±q©Ò¤ÀµoªºµP²Õ¤¤³]©w¤âµPªº«ü¥O¡F¨ä¤¤¸ÓºÊ±±¾¹Åã¥Ü¦³Ãö¦p¦ó®Ú¾Ú©Ò½sµ{ªº³õ³W³W«h³]©w¤âµPªº«H®§¡CÁÙ¤½¶}¤F¤@ºØ¾Þ§@¨Ï¥Î«ö²Õ¤Àµo¨ì¦hÓª±®a¦ì¸m¥B®Ú¾Ú¦Û°Ê²£¥Íªº³õ³W«ü¥O³]©wªº¹êÅé¹CÀ¸µPªº½ä³õ®àµP¹CÀ¸ªº¤èªk¡C¥»µo©úªº³B²z¾¹ÁÙ¥iÅã¥Ü½ä³õ¦þª÷¶q¡C
¤ÀÃþ¡GA63F9/24
µo©ú¤H¡GRoger M. SNOW
Àu¥ýÅv¤é´Á¡G2009/10/01
Àu¥ýÅv°ê®a/¦a°Ï¡G¬ü°ê
Àu¥ýÅv½s¸¹¡G12/572,205
Àu¥ýÅv¤é´Á¡G2010/04/13
Àu¥ýÅv°ê®a/¦a°Ï¡G¬ü°ê
Àu¥ýÅv½s¸¹¡G12/759,416
ªþ¹Ï

µo©ú±M§Q½s¸¹¡GI/001070
¥Ó½Ð¤é´Á¡G2010/09/30
¥Ó½Ð¤H¡GAcres-Fiore Patents
°êÄy¡G¬ü°ê
¦í§}/¦a§}¡G9103 Alta, #804 Las Vegas, Nevada 89145, U.S.A.
¼ÐÃD¡G¦b³Õ±m¾÷¤W¹ê²{¯«¯µªá¬õ¥N´À°ò¥»¹CÀ¸µ²ªGªº¤èªk©M¨t²Î¡C
ºKn¡G¥»µo©úªº¹ê¬I¨Ò±Mªù´yz¤F¦hºØ³Õ±m³]³Æ¡A¨Ã±Mªù´£¨Ñ¤F¦b¹CÀ¸Åã¥Ü«Ì¤W¹ê²{¯«¯µªá¬õµ²ªG¥N´À°ò¥»¹CÀ¸µ²ªGªº¤èªk¡A¨ä¤¤¡A³Õ±m³]³Æ¥]¬A±a¦³°ò¥»¹CÀ¸Åã¥Ü«Ìªº°ò¥»¹CÀ¸¡C¦b°ò¥»¹CÀ¸¤¤¥i¿ï¾Ü°t¸m¤@ÓÀH¾÷¼Æ¥Í¦¨¾¹¥HÀò±o°ò¥»¹CÀ¸µ²ªG¡A¥B°ò¥»¹CÀ¸Åã¥Ü«Ì¥i¦³®ÄÅã¥Ü°ò¥»¹CÀ¸µ²ªG¡C¬°°ò¥»¹CÀ¸µ²ªG¸j©w¤@Ó¥]¬A¤¤¼úµ²ªG©M«D¤¤¼úµ²ªG°ò¥»¹CÀ¸¬£±mªí¡C¦b¹CÀ¸¤¤°t¸m¤@Óªá¬õ¹CÀ¸¼úª÷¾÷¨î¡A¥H½T©w¬YÓªá¬õµ²ªGªºìHÈ¡A°lÂܰò¥»¹CÀ¸ªº¶i¦æ¡A¼W¥[°ò¥»¹CÀ¸¤Wªº¹CÀ¸p¼Æ¡A·íp¼Æ»PìHȹF¨ì¤@Ó¹w©wªºÃö«Y®É¡A±Nªá¬õµ²ªG¥N´À°ò¥»¹CÀ¸µ²ªGÅã¥Ü¦b°ò¥»¹CÀ¸Åã¥Ü«Ì¤W¡A¥H¤Îµ¹ª±®a¼úÀy¤@Óªá¬õ¡C
¤ÀÃþ¡GA63F9/24
µo©ú¤H¡GJohn F. Acres
Àu¥ýÅv¤é´Á¡G2009/10/01
Àu¥ýÅv°ê®a/¦a°Ï¡G¬ü°ê
Àu¥ýÅv½s¸¹¡G12/572,012
ªþ¹Ï

µo©ú±M§Q½s¸¹¡GI/001071
¥Ó½Ð¤é´Á¡G2010/09/30
¥Ó½Ð¤H¡GDynamite Games Pty Ltd.
°êÄy¡G¿D¤j§Q¨È
¦í§}/¦a§}¡GLevel 7, 160 Sussex Street, Sydney, NSW 2000, Australia
¼ÐÃD¡G³Õ±m¸Ë¸m¤Î¨t²Î¡C
ºKn¡G¥»µo©úªº¹ê¨Ò´£¨Ñ¤@Ó»P³Õ±m¬yµ{¬ÛÃöªº±mª÷¤è®×¡A¨ä¤¤³Õ±m¬yµ{¬°¤@Ó¤¤¼ú¨Æ¥ó¡C³q¹L°Ñ¦Ò¹Ï¨Ò3©Ò¥Üªº¹ê¨Ò¡A¦b¨BÆJS3¦ÜS5¶}®i¤@Ó³Õ±m¬yµ{¡A¸Ó¬yµ{ªºµ²ªG¨M©w³Õ±m¬yµ{ĹȡC¦b¨BÆJS7¤ñ¸û³Õ±m¬yµ{ĹȻPìHÈ¡AY³Õ±m¬yµ{ĹȧC©ó©Îµ¥©óìHÈ¡A«h¦b¨BÆJS9¦Vª±®a¬£±m¡C
¤ÀÃþ¡GA63F9/24
µo©ú¤H¡GBenjamin James Ellis
Àu¥ýÅv¤é´Á¡G2009/09/30
Àu¥ýÅv°ê®a/¦a°Ï¡G¿D¤j§Q¨È
Àu¥ýÅv½s¸¹¡G2009222486
ªþ¹Ï

µo©ú±M§Q½s¸¹¡GI/001079
¥Ó½Ð¤é´Á¡G2011/01/10
¥Ó½Ð¤H¡GªL³¹«Ø
°êÄy¡G¤¤°ê
¦í§}/¦a§}¡G¿Dªù¶®·G³X¤j°¨¸ô70¸¹18¼ÓG®y
¼ÐÃD¡G¤~¦ì¬ã×´úµû»{ÃҸ˸m¤Î¨ä»s³y¤èªk¡C
ºKn¡G¥»µo©ú¬O¤@ºØ¤~¦ì¬ã×´úµû»{ÃҸ˸m¤Î¨ä»s³y¤èªk¡A¥Dn¥ÑµøÀW«H¸¹¸üÅé¡]1¡^¡B«ü¾É¬ã×´úµû»{ÃÒºt¥ÜªºÁn¹³¸ê®Æ¡]2¡^©M¨ãÅé¬ã×´úµû»{ÃÒºt¥ÜªºÁn¹³¸ê®Æ¡]3¡^¤T³¡¤À²Õ¦¨¡A¨ä¯S¼x¦b©ó¡GµøÀW«H¸¹¸üÅé¡]1¡^¬ODVD¥úºÐ©Î¼Æ½X¶°¦¨¹q¸ôªº°t®M²Õ¦X¡C«ü¾É¬ã×´úµû»{ÃÒºt¥ÜªºÁn¹³¸ê®Æ¡]2¡^©Î¨ãÅé¬ã×´úµû»{ÃÒºt¥ÜªºÁn¹³¸ê®Æ¡]3¡^¥]§t¤F¯àÅã¥Ü±M¥Î°Ó¼Ð¹Ï¹³©M¦hºØ¯S®í±M¥Î¤å¦r¸ê®Æªº¯S®í²Õ¦X¡C³oºØ¯S®í²Õ¦X¥i¥H¨Ï±Ð¾ÇÂù¤è¡]¼s¤jªº¦Ñ®v©M¾Ç¥Í¡^¯à©ú½T¤H¤~¤~¦ì»{ÃÒªº©w¸q¡B»{ÃÒªº¥Øªº¡B»{ÃÒªº¨ãÅé¤èªk¡B¤~¦ì»{ÃҼзǩM¤~¦ì¬ã×´úµû»{ÃÒªº«¤j·N¸q¡A¶i¦Ó§V¤O´£°ª¦Û¤vªº¤~¦ì¡C
¤ÀÃþ¡GG11B7/24
µo©ú¤H¡GªL³¹«Ø
ªþ¹Ï

¹ê¥Î±M§Q¤§«OÅ@
®Ú¾Ú¸g¤Q¤G¤ë¤Q¤T¤é²Ä97/99/M¸¹ªk¥O®Ö㤧¡m¤u·~²£Åvªk«ß¨î«×¡n²Ä¤Q±ø¤Î¥Ñ²Ä¤@¦Ê¤G¤Q¥|±ø¦Ó´©¤Þªº²Ä¤K¤Q¤T±ø¤Î²Ä¤K¤Q¥|±ø¤§³W©w¡A¤½¥¬¤U¦C¦b¿Dªù¯S§O¦æ¬F°Ï´£¥Xªº¹ê¥Î±M§Qµù¥U¥Ó½Ð¡A¨Ã¦Û¦¹¤½¥¬¤é°_¦Ü±Â¤©±M§Q¤§¤é¤î¡A¥ô¦ó²Ä¤T¤H§¡±o´£¥XÁn©ú²§Ä³¡C
¹ê¥Î±M§Q¤½§G
¹ê¥Î±M§Q½s¸¹¡GU/000074
¥Ó½Ð¤é´Á¡G2010/08/31
¥Ó½Ð¤H¡G¾G³Í¶©
¦í§}/¦a§}¡G¤¤°ê¥xÆW¥x¥_¥«¤¤¥¿°ÏÀ]«e¸ô36¸¹9¼Ó
¼ÐÃD¡G¸Ë¸ü®e¾¹¤§§ï¨}µ²ºc¡C
ºKn¡G¥»³Ð§@´£¨Ñ¤@ºØ¸Ë¸ü®e¾¹¤§§ï¨}µ²ºc¡A¨ä¥]¬A¡G¤@¸Ë¸ü®MÀô¡A¸Ó¸Ë¸ü®MÀô¨ã¦³¤¤¥¡³¡¦ì¤§¤@®e¸mªÅ¶¡¡F¦Ü¤Ö¤@´£§â¡A¸Ó´£§â¤§ºÝ³¡³sµ²©ó¸Ó¸Ë¸ü®MÀô¤W¡F¦p¦¹¡A¯à¨Ïª««~¤§¸Ë¸ü¹F¨ìºò§ô©w¦ìªº®ÄªG¡A¤£P¨Ï¨äÀH·N¶É±×¡B¶ÉË¡A¨ã¦³·¥¨Î¤§«K§Q©Ê¡B¹ê¥Î©Ê¤Î¦w¥þ©Ê¡A¥B¥Ñ©ó©Ò¨Ï¥Î¤§§÷®Æ»·¸û²ßª¾¶ì½¦³U©Ò¨Ï¥Î§÷®Æ¤Ö¡A¤£¦ý¯à¿n·¥²Å¦XÀô«On¨D¡A§ó¯à¸`¬Ù§÷®Æ¦¨¥»¦Ó¨ã¦³¸û¨Î¤§¸gÀٮįq¡C
¤ÀÃþ¡GA45F5/10
µo©ú¤H¡G¾G³Í¶©
Àu¥ýÅv¤é´Á¡G2009/09/02
Àu¥ýÅv°ê®a/¦a°Ï¡G¤¤°ê
Àu¥ýÅv½s¸¹¡G200920175252.2
ªþ¹Ï

¹ê¥Î±M§Q½s¸¹¡GU/000076
¥Ó½Ð¤é´Á¡G2010/09/16
¥Ó½Ð¤H¡Gº~®Ê¼w
°êÄy¡G¤¤°ê
¦í§}/¦a§}¡G¤¤°ê¼sªF¬Ù¯]®ü¥«¤æªù°Ï½¬¬wÂí¥Ã§Q¤u·~°Ï¥Ã©÷¦è¸ô3¸¹
¼ÐÃD¡G«Ø¿v©Î¤g¤ì¤uµ{¥Î¼ÒªO¨t²Î¡C
ºKn¡G¥»¹ê¥Î·s«¬´£¨Ñ¤F¤@ºØ«K©ó¾Þ§@¥B©w¦ì¤è«Kªº«Ø¿v©Î¤g¤ì¤uµ{¥Î¼ÒªO¨t²Î¡C¸Ó«Ø¿v©Î¤g¤ì¤uµ{¥Î¼ÒªO¨t²Î¥]¬A¼ÒªO©MIªD¡A¦b¦¹°ò¦¤WÁÙ¥i¥H¼W³]¤ä¼µ·«¡C¨ä¼ÒªO¦PIªD¤§¶¡©M/©ÎIªD¦P¤ä¼µ·«¤§¶¡§¡¥i¥H³q¹L¹w¥ýªî»s©ÎÀ½À£¦¨«¬ªº¨ä¾îºI±§Îª¬¬Û¤¬¹ïÀ³ªº¥W¼Ñ©M¥Y·««O«ù¥i©î¨øªº¬¡°Ê³s±µ¤è¦¡¡A¨Ï¼ÒªO¨t²Îªº¦w¸Ë©î¨øÆF¬¡«K±¶¡B¬Ù®É¬Ù¤u¡B¦w¥þ¡B°ª®Ä¡C³oºØ¬¡°Ê³s±µ¤è¦¡ÁÙ¦³§Q©ó¤Î®É½Õ®Õ¼ÒªO¨t²Îªº¦b¦w¸Ë¹Lµ{¤¤¦s¦bªº©w¦ì»~®t¡A¶i¦Ó¦b·f«Ø¼ÒªO¨t²Î¹Lµ{¤¤¹ê²{¨ä©w¦ìºë·Ç¡A±q¦Ó´£°ª«Ø¿v¤uµ{ªº¬I¤u½è¶q¡C¦¹¥~¡A³oºØ«Ø¿v©Î¤g¤ì¤uµ{¼ÒªO¨t²ÎÁ٨㦳·¥¦nªº¦^¦¬§Q¥Î¯S©Ê¡C
¤ÀÃþ¡GE04G9/08
µo©ú¤H¡Gº~®Ê¼w
Àu¥ýÅv¤é´Á¡G2009/09/22
Àu¥ýÅv°ê®a/¦a°Ï¡G¤¤°ê
Àu¥ýÅv½s¸¹¡G200920195592.1
ªþ¹Ï

®Ú¾Ú¸g¤Q¤G¤ë¤Q¤T¤é²Ä97/99/M¸¹ªk¥O®Ö㤧¡m¤u·~²£Åvªk«ß¨î«×¡n²Ä¤Q±ø²Ä¤@´Úd¡^¶µ¡B²Ä¤G´Ú¤Î²Ä¤G¦Ê¤C¤Q¤±ø¦Ü²Ä¤G¦Ê¤C¤Q¤C±ø¤§³W©w¡A¥i©ó¥»¤½§G¤é°_p¤@Ó¤ë´Á¤º´N¤U¦C§å¥Ü¦Vªì¯Åªk°|´£°_¤W¶D¡C
°Ó¼Ð¤§«OÅ@
§åµ¹
| µ{§Ç½s¸¹ | µù¥U¤é´Á | §å¥Ü¤é´Á | µù¥UÅv§Q¤H¤§¦WºÙ | ©ÒÄݰê/¦a°Ï | ¤ÀÃþ |
| N/049579 | 2011/03/25 | 2011/03/25 | San Miguel Pure Foods Company, Inc. | PH | 29 |
| N/050893 | 2011/03/25 | 2011/03/25 | NEOWIZ GAMES CO., LTD. | KR | 09 |
| N/050894 | 2011/03/25 | 2011/03/25 | NEOWIZ GAMES CO., LTD. | KR | 41 |
| N/050957 | 2011/03/25 | 2011/03/25 |
°¢¦è¨Bªø»sÃĦ³¤½¥q Shaanxi Buchang Pharmaceutical Co., Ltd. |
CN | 05 |
| N/051340 | 2011/03/25 | 2011/03/25 | ¦NªL¬Ù°Ñ·~¨ó·| | CN | 05 |
| N/051759 | 2011/03/25 | 2011/03/25 | ZIMMERLI TEXTIL AG | CH | 25 |
| N/051778 | 2011/03/25 | 2011/03/25 |
¤Y¸U®è¦¡·|ªÀ MARUMAN KABUSHIKI KAISHA (MARUMAN & CO., LTD.) |
JP | 03 |
| N/051779 | 2011/03/25 | 2011/03/25 |
¤Y¸U®è¦¡·|ªÀ MARUMAN KABUSHIKI KAISHA (MARUMAN & CO., LTD.) |
JP | 09 |
| N/051781 | 2011/03/25 | 2011/03/25 |
¤Y¸U®è¦¡·|ªÀ MARUMAN KABUSHIKI KAISHA (MARUMAN & CO., LTD.) |
JP | 18 |
| N/051782 | 2011/03/25 | 2011/03/25 |
¤Y¸U®è¦¡·|ªÀ MARUMAN KABUSHIKI KAISHA (MARUMAN & CO., LTD.) |
JP | 24 |
| N/051783 | 2011/03/25 | 2011/03/25 |
¤Y¸U®è¦¡·|ªÀ MARUMAN KABUSHIKI KAISHA (MARUMAN & CO., LTD.) |
JP | 25 |
| N/051784 | 2011/03/25 | 2011/03/25 |
¤Y¸U®è¦¡·|ªÀ MARUMAN KABUSHIKI KAISHA (MARUMAN & CO., LTD.) |
JP | 28 |
| N/051801 | 2011/03/25 | 2011/03/25 | CWC COMMUNICATIONS LIMITED | GB | 38 |
| N/051802 | 2011/03/25 | 2011/03/25 | CWC COMMUNICATIONS LIMITED | GB | 41 |
| N/051921 | 2011/03/25 | 2011/03/25 | Loro Piana S.p.A. | IT | 03 |
| N/051922 | 2011/03/25 | 2011/03/25 | Loro Piana S.p.A. | IT | 09 |
| N/051923 | 2011/03/25 | 2011/03/25 | Loro Piana S.p.A. | IT | 18 |
| N/051924 | 2011/03/25 | 2011/03/25 | Loro Piana S.p.A. | IT | 24 |
| N/051925 | 2011/03/25 | 2011/03/25 | Loro Piana S.p.A. | IT | 25 |
| N/051943 | 2011/03/25 | 2011/03/25 | SOGAL FRANCE | FR | 06 |
| N/051944 | 2011/03/25 | 2011/03/25 | SOGAL FRANCE | FR | 19 |
| N/051945 | 2011/03/25 | 2011/03/25 | SOGAL FRANCE | FR | 20 |
| N/051946 | 2011/03/25 | 2011/03/25 | SOGAL FRANCE | FR | 35 |
| N/051947 | 2011/03/25 | 2011/03/25 | SOGAL FRANCE | FR | 37 |
| N/051948 | 2011/03/25 | 2011/03/25 | SOGAL FRANCE | FR | 42 |
| N/051949 | 2011/03/25 | 2011/03/25 | SOGAL FRANCE | FR | 06 |
| N/051950 | 2011/03/25 | 2011/03/25 | SOGAL FRANCE | FR | 19 |
| N/051951 | 2011/03/25 | 2011/03/25 | SOGAL FRANCE | FR | 20 |
| N/051952 | 2011/03/25 | 2011/03/25 | SOGAL FRANCE | FR | 35 |
| N/051953 | 2011/03/25 | 2011/03/25 | SOGAL FRANCE | FR | 37 |
| N/051954 | 2011/03/25 | 2011/03/25 | SOGAL FRANCE | FR | 42 |
| N/051955 | 2011/03/25 | 2011/03/25 | SOGAL FRANCE | FR | 06 |
| N/051956 | 2011/03/25 | 2011/03/25 | SOGAL FRANCE | FR | 19 |
| N/051957 | 2011/03/25 | 2011/03/25 | SOGAL FRANCE | FR | 20 |
| N/051958 | 2011/03/25 | 2011/03/25 | SOGAL FRANCE | FR | 35 |
| N/051959 | 2011/03/25 | 2011/03/25 | SOGAL FRANCE | FR | 37 |
| N/051960 | 2011/03/25 | 2011/03/25 | SOGAL FRANCE | FR | 42 |
| N/052292 | 2011/03/25 | 2011/03/25 | ADA COSMETIC GmbH | DE | 03 |
| N/052293 | 2011/03/25 | 2011/03/25 | ADA COSMETIC GmbH | DE | 21 |
| N/052333 | 2011/03/25 | 2011/03/25 | DAIICHI SANKYO COMPANY, LIMITED | JP | 05 |
| N/052364 | 2011/03/25 | 2011/03/25 |
ºÖ«Ø«n¦w¥«·sªF·½¥Û·~¦³¤½¥q Eastern Nanan City, Fujian Stone Industry Co., Ltd. |
CN | 19 |
| N/052365 | 2011/03/25 | 2011/03/25 |
ºÖ«Ø«n¦w¥«·sªF·½¥Û·~¦³¤½¥q Eastern Nanan City, Fujian Stone Industry Co., Ltd. |
CN | 19 |
| N/052437 | 2011/03/25 | 2011/03/25 | Kabushiki Kaisha DONQ, d/b/a DONQ CO., LTD. | JP | 29 |
| N/052438 | 2011/03/25 | 2011/03/25 | Kabushiki Kaisha DONQ, d/b/a DONQ CO., LTD. | JP | 32 |
| N/052439 | 2011/03/25 | 2011/03/25 | Kabushiki Kaisha DONQ, d/b/a DONQ CO., LTD. | JP | 35 |
| N/052440 | 2011/03/25 | 2011/03/25 | Kabushiki Kaisha DONQ, d/b/a DONQ CO., LTD. | JP | 43 |
| N/052480 | 2011/03/25 | 2011/03/25 | Apple Inc. | US | 09 |
| N/052481 | 2011/03/25 | 2011/03/25 | Apple Inc. | US | 38 |
| N/052482 | 2011/03/25 | 2011/03/25 | Apple Inc. | US | 42 |
| N/052512 | 2011/03/25 | 2011/03/25 | Abercrombie & Fitch Europe SA | CH | 14 |
| N/052513 | 2011/03/25 | 2011/03/25 | Abercrombie & Fitch Europe SA | CH | 18 |
| N/052514 | 2011/03/25 | 2011/03/25 | Abercrombie & Fitch Europe SA | CH | 25 |
| N/052524 | 2011/03/25 | 2011/03/25 | CISCO TECHNOLOGY, INC. | US | 09 |
| N/052525 | 2011/03/25 | 2011/03/25 | Kabushiki Kaisha DONQ, d/b/a DONQ CO., LTD. | JP | 30 |
| N/052535 | 2011/03/25 | 2011/03/25 | Parfums Christian Dior | FR | 03 |
| N/052571 | 2011/03/25 | 2011/03/25 | AKIRA PRODUCTS KABUSHIKI KAISHA (also trading as AKIRA PRODUCTS CO., LTD) | JP | 28 |
| N/052575 | 2011/03/25 | 2011/03/25 | IKEDA MOHANDO CO., LTD. | JP | 03 |
| N/052576 | 2011/03/25 | 2011/03/25 | IKEDA MOHANDO CO., LTD. | JP | 05 |
| N/052577 | 2011/03/25 | 2011/03/25 | IKEDA MOHANDO CO., LTD. | JP | 10 |
| N/052578 | 2011/03/25 | 2011/03/25 | IKEDA MOHANDO CO., LTD. | JP | 35 |
| N/052744 | 2011/03/25 | 2011/03/25 | ETABLISSEMENTS CHARLES CHEVIGNON | FR | 18 |
| N/052745 | 2011/03/25 | 2011/03/25 | ETABLISSEMENTS CHARLES CHEVIGNON | FR | 25 |
| N/052746 | 2011/03/25 | 2011/03/25 | ETABLISSEMENTS CHARLES CHEVIGNON | FR | 18 |
| N/052747 | 2011/03/25 | 2011/03/25 | ETABLISSEMENTS CHARLES CHEVIGNON | FR | 25 |
| N/052753 | 2011/03/25 | 2011/03/25 |
²Î¤@¥ø·~ªÑ¥÷¦³¤½¥q Uni-President Enterprises Corp. |
TW | 05 |
| N/052765 | 2011/03/25 | 2011/03/25 | KIRIN BEVERAGE KABUSHIKI KAISHA (also trading as Kirin Beverage Corporation) | JP | 32 |
| N/052824 | 2011/03/25 | 2011/03/25 | Tiffany and Company | US | 14 |
| N/052825 | 2011/03/25 | 2011/03/25 | Tiffany and Company | US | 14 |
| N/052826 | 2011/03/25 | 2011/03/25 | Tiffany and Company | US | 14 |
| N/052827 | 2011/03/25 | 2011/03/25 | Tiffany and Company | US | 14 |
| N/052875 | 2011/03/25 | 2011/03/25 |
ªü²ö¯Ç·ç¥§ÃÄ·~¦³¤½¥q A. Menarini Industrie Farmaceutiche Riunite S.r.l. |
IT | 05 |
| N/052885 | 2011/03/25 | 2011/03/25 | Edgar Rice Burroughs, Inc. | US | 09 |
| N/052886 | 2011/03/25 | 2011/03/25 | Edgar Rice Burroughs, Inc. | US | 28 |
| N/052887 | 2011/03/25 | 2011/03/25 | Edgar Rice Burroughs, Inc. | US | 38 |
| N/052888 | 2011/03/25 | 2011/03/25 | Edgar Rice Burroughs, Inc. | US | 41 |
| N/052909 | 2011/03/25 | 2011/03/25 | The Cartoon Network, Inc. | US | 35 |
| N/052910 | 2011/03/25 | 2011/03/25 | The Cartoon Network, Inc. | US | 38 |
| N/052911 | 2011/03/25 | 2011/03/25 | The Cartoon Network, Inc. | US | 41 |
| N/052912 | 2011/03/25 | 2011/03/25 | The Cartoon Network, Inc. | US | 42 |
| N/052921 | 2011/03/25 | 2011/03/25 | Milliken & Company | US | 09 |
| N/052928 | 2011/03/25 | 2011/03/25 | ¤T¦h¤hªÑ¥÷¦³¤½¥q | TW | 29 |
| N/052929 | 2011/03/25 | 2011/03/25 | ¤T¦h¤hªÑ¥÷¦³¤½¥q | TW | 05 |
| N/052930 | 2011/03/25 | 2011/03/25 | Tuscan¡¦s Creations S.r.l. | IT | 18 |
| N/052933 | 2011/03/25 | 2011/03/25 | GENTING INTERNATIONAL MANAGEMENT LIMITED | IM | 35 |
| N/052934 | 2011/03/25 | 2011/03/25 | GENTING INTERNATIONAL MANAGEMENT LIMITED | IM | 35 |
| N/052935 | 2011/03/25 | 2011/03/25 | GENTING INTERNATIONAL MANAGEMENT LIMITED | IM | 35 |
| N/052936 | 2011/03/25 | 2011/03/25 | GENTING INTERNATIONAL MANAGEMENT LIMITED | IM | 35 |
| N/052937 | 2011/03/25 | 2011/03/25 | IC Companys A/S | DK | 18 |
| N/052938 | 2011/03/25 | 2011/03/25 | IC Companys A/S | DK | 35 |
| N/052968 | 2011/03/25 | 2011/03/25 | MASH STYLE LAB, INC. | JP | 35 |
| N/052969 | 2011/03/25 | 2011/03/25 | MASH STYLE LAB, INC. | JP | 35 |
| N/052970 | 2011/03/25 | 2011/03/25 | MASH STYLE LAB, INC. | JP | 35 |
| N/052988 | 2011/03/25 | 2011/03/25 | Nintendo Co., Ltd. | JP | 09 |
| N/052992 | 2011/03/25 | 2011/03/25 | Nintendo Co., Ltd. | JP | 09 |
| N/052998 | 2011/03/25 | 2011/03/25 | Nycomed GmbH | DE | 05 |
| N/053002 | 2011/03/25 | 2011/03/25 | Juvenia Montres SA | CH | 14 |
| N/053003 | 2011/03/25 | 2011/03/25 | Nintendo Co., Ltd. | JP | 09 |
| N/053019 | 2011/03/25 | 2011/03/25 | Luxottica Group S.p.A. | IT | 09 |
| N/053020 | 2011/03/25 | 2011/03/25 | Luxottica Group S.p.A. | IT | 09 |
| N/053021 | 2011/03/25 | 2011/03/25 | IGT | US | 09 |
| N/053092 | 2011/03/25 | 2011/03/25 | FANCL CORPORATION | JP | 03 |
| N/053093 | 2011/03/25 | 2011/03/25 | FANCL CORPORATION | JP | 03 |
| N/053094 | 2011/03/25 | 2011/03/25 | FANCL CORPORATION | JP | 03 |
| N/053119 | 2011/03/25 | 2011/03/25 | FABI S.p.A. | IT | 03 |
| N/053120 | 2011/03/25 | 2011/03/25 | FABI S.p.A. | IT | 09 |
| N/053121 | 2011/03/25 | 2011/03/25 | FABI S.p.A. | IT | 18 |
| N/053122 | 2011/03/25 | 2011/03/25 | FABI S.p.A. | IT | 25 |
| N/053128 | 2011/03/25 | 2011/03/25 |
«À¼wÀs Yiu Tak Lung |
MO | 41 |
| N/053129 | 2011/03/25 | 2011/03/25 |
«À¼wÀs Yiu Tak Lung |
MO | 44 |
| N/053130 | 2011/03/25 | 2011/03/25 |
«À¼wÀs Yiu Tak Lung |
MO | 45 |
| N/053179 | 2011/03/25 | 2011/03/25 | Ling Lee International Limited | HK | 03 |
| N/053180 | 2011/03/25 | 2011/03/25 | Ling Lee International Limited | HK | 29 |
| N/053181 | 2011/03/25 | 2011/03/25 | Ling Lee International Limited | HK | 30 |
| N/053182 | 2011/03/25 | 2011/03/25 | °ê°s±À¼s¤¤¤ß¡]¿Dªù¡^¦³¤½¥q | MO | 33 |
| N/053183 | 2011/03/25 | 2011/03/25 |
§d´I°ê NG FU KUOK |
MO | 30 |
| N/053184 | 2011/03/25 | 2011/03/25 | ¿Dªù±O³Õ¤h¿}§¿¯f°·±d²£·~¦³¤½¥q | MO | 03 |
| N/053185 | 2011/03/25 | 2011/03/25 | ¿Dªù±O³Õ¤h¿}§¿¯f°·±d²£·~¦³¤½¥q | MO | 25 |
| N/053186 | 2011/03/25 | 2011/03/25 | TAIMIN INVESTMENT HOLDINGS LIMITED | HK | 36 |
| N/053187 | 2011/03/25 | 2011/03/25 |
¼s¦{·R©ªA¹¢¦³¤½¥q EPO FASHION CO., LTD. |
CN | 25 |
| N/053188 | 2011/03/25 | 2011/03/25 |
¯Î°¶Û WENG WEILUN |
CN | 29 |
| N/053189 | 2011/03/25 | 2011/03/25 |
¯Î°¶Û WENG WEILUN |
CN | 30 |
| N/053190 | 2011/03/25 | 2011/03/25 |
¯Î°¶Û WENG WEILUN |
CN | 43 |
| N/053191 | 2011/03/25 | 2011/03/25 |
¯Î°¶Û WENG WEILUN |
CN | 43 |
| N/053192 | 2011/03/25 | 2011/03/25 |
²`¦`¥«¥ßª@²b¤ô¬ì§Þ¦³¤½¥q SHENZHEN LITREE PURIFYING TECHNOLOGY CO., LTD. |
CN | 07 |
| N/053193 | 2011/03/25 | 2011/03/25 |
²`¦`¥«¥ßª@²b¤ô¬ì§Þ¦³¤½¥q SHENZHEN LITREE PURIFYING TECHNOLOGY CO., LTD. |
CN | 11 |
| N/053194 | 2011/03/25 | 2011/03/25 | ¤¤°ê°ê»Ú¯èªÅªÑ¥÷¦³¤½¥q | CN | 39 |
| N/053195 | 2011/03/25 | 2011/03/25 | ¤¤°ê°ê»Ú¯èªÅªÑ¥÷¦³¤½¥q | CN | 39 |
| N/053196 | 2011/03/25 | 2011/03/25 | ¤¤°ê°ê»Ú¯èªÅªÑ¥÷¦³¤½¥q | CN | 39 |
| N/053200 | 2011/03/25 | 2011/03/25 | MHCS | FR | 33 |
| N/053209 | 2011/03/25 | 2011/03/25 | New Era Cap Co., Inc. | US | 25 |
| N/053210 | 2011/03/25 | 2011/03/25 | New Era Cap Co., Inc. | US | 25 |
| N/053211 | 2011/03/25 | 2011/03/25 | New Era Cap Co., Inc. | US | 25 |
| N/053212 | 2011/03/25 | 2011/03/25 | King Delight Limited | VG | 36 |
| N/053213 | 2011/03/25 | 2011/03/25 | King Delight Limited | VG | 36 |
| N/053214 | 2011/03/25 | 2011/03/25 | King Delight Limited | VG | 36 |
| N/053221 | 2011/03/25 | 2011/03/25 | HENKEL AG & Co. KGaA | DE | 01 |
| N/053222 | 2011/03/25 | 2011/03/25 | HENKEL AG & Co. KGaA | DE | 02 |
| N/053223 | 2011/03/25 | 2011/03/25 | HENKEL AG & Co. KGaA | DE | 03 |
| N/053224 | 2011/03/25 | 2011/03/25 | HENKEL AG & Co. KGaA | DE | 05 |
| N/053225 | 2011/03/25 | 2011/03/25 | HENKEL AG & Co. KGaA | DE | 08 |
| N/053226 | 2011/03/25 | 2011/03/25 | HENKEL AG & Co. KGaA | DE | 09 |
| N/053227 | 2011/03/25 | 2011/03/25 | HENKEL AG & Co. KGaA | DE | 16 |
| N/053228 | 2011/03/25 | 2011/03/25 | HENKEL AG & Co. KGaA | DE | 17 |
| N/053229 | 2011/03/25 | 2011/03/25 | HENKEL AG & Co. KGaA | DE | 19 |
| N/053230 | 2011/03/25 | 2011/03/25 | PM-International AG | LU | 05 |
| N/053237 | 2011/03/25 | 2011/03/25 | Best Western International, Inc. | US | 43 |
| N/053238 | 2011/03/25 | 2011/03/25 |
¦ã§J®õÁp»sÃĦ³¤½¥q Actelion Pharmaceuticals Ltd. |
CH | 05 |
| N/053239 | 2011/03/25 | 2011/03/25 | Officine Panerai AG | CH | 14 |
| N/053240 | 2011/03/25 | 2011/03/25 | Officine Panerai AG | CH | 14 |
| N/053241 | 2011/03/25 | 2011/03/25 | Officine Panerai AG | CH | 14 |
| N/053246 | 2011/03/25 | 2011/03/25 | ¸Î¥à¶T©ö¦³¤½¥q | HK | 29 |
| N/053247 | 2011/03/25 | 2011/03/25 | ¸Î¥à¶T©ö¦³¤½¥q | HK | 30 |
| N/053248 | 2011/03/25 | 2011/03/25 | ªF²ð¥«©M´I¹ê·~§ë¸ê¦³¤½¥q | CN | 25 |
| N/053249 | 2011/03/25 | 2011/03/25 | ¤B«ä®¦ | CN | 25 |
| N/053250 | 2011/03/25 | 2011/03/25 | ¦¿¦èºñ®üªo¯×¦³¤½¥q | CN | 29 |
| N/053251 | 2011/03/25 | 2011/03/25 | «¼y¥«´Â¤Ñ·ùÀ\¶¼ºÞ²z¦³¤½¥q | CN | 43 |
| N/053252 | 2011/03/25 | 2011/03/25 | ¤j³sª÷µØ·½ªA¸Ë¦³¤½¥q | CN | 35 |
| N/053253 | 2011/03/25 | 2011/03/25 | ¤j³sª÷µØ·½ªA¸Ë¦³¤½¥q | CN | 25 |
| N/053264 | 2011/03/25 | 2011/03/25 | Zhejiang Chint Electrics Co., Ltd. | CN | 09 |
| N/053265 | 2011/03/25 | 2011/03/25 |
^°O¯ù²ø¡]°Ó¼Ð¡^¦³¤½¥q YING KEE TEA HOUSE (TRADEMARKS) LIMITED |
HK | 21 |
| N/053266 | 2011/03/25 | 2011/03/25 |
^°O¯ù²ø¡]°Ó¼Ð¡^¦³¤½¥q YING KEE TEA HOUSE (TRADEMARKS) LIMITED |
HK | 30 |
| N/053267 | 2011/03/25 | 2011/03/25 |
^°O¯ù²ø¡]°Ó¼Ð¡^¦³¤½¥q YING KEE TEA HOUSE (TRADEMARKS) LIMITED |
HK | 35 |
| N/053277 | 2011/03/25 | 2011/03/25 | Multi Access Limited | VG | 33 |
| N/053308 | 2011/03/25 | 2011/03/25 |
ÃÓÀAs Tam Kam Cheng |
MO | 25 |
| N/053309 | 2011/03/25 | 2011/03/25 |
ÃÓÀAs Tam Kam Cheng |
MO | 16 |
| N/053310 | 2011/03/25 | 2011/03/25 |
ÃÓÀAs Tam Kam Cheng |
MO | 21 |
| N/053312 | 2011/03/25 | 2011/03/25 | HLT Domestic IP LLC | US | 41 |
| N/053313 | 2011/03/25 | 2011/03/25 | HLT Domestic IP LLC | US | 43 |
| N/053314 | 2011/03/25 | 2011/03/25 | HLT Domestic IP LLC | US | 44 |
| N/053315 | 2011/03/25 | 2011/03/25 | HLT Domestic IP LLC | US | 41 |
| N/053316 | 2011/03/25 | 2011/03/25 | HLT Domestic IP LLC | US | 43 |
| N/053317 | 2011/03/25 | 2011/03/25 | HLT Domestic IP LLC | US | 44 |
| N/053318 | 2011/03/25 | 2011/03/25 | HLT Domestic IP LLC | US | 41 |
| N/053319 | 2011/03/25 | 2011/03/25 | HLT Domestic IP LLC | US | 43 |
| N/053320 | 2011/03/25 | 2011/03/25 | HLT Domestic IP LLC | US | 44 |
| N/053321 | 2011/03/25 | 2011/03/25 | Vitasoy International Holdings Limited | HK | 29 |
| N/053322 | 2011/03/25 | 2011/03/25 | Vitasoy International Holdings Limited | HK | 30 |
| N/053323 | 2011/03/25 | 2011/03/25 | Vitasoy International Holdings Limited | HK | 32 |
| N/053324 | 2011/03/25 | 2011/03/25 | WYNN RESORTS HOLDINGS, LLC | US | 35 |
| N/053325 | 2011/03/25 | 2011/03/25 | ²Ä¤@°Ó·~»È¦æªÑ¥÷¦³¤½¥q | TW | 36 |
| N/053326 | 2011/03/25 | 2011/03/25 | DAIICHI SANKYO COMPANY, LIMITED | JP | 05 |
| N/053329 | 2011/03/25 | 2011/03/25 | HONG KONG N.I.C.E COMMERCIAL CO., LIMITED | HK | 14 |
| N/053330 | 2011/03/25 | 2011/03/25 | HONG KONG N.I.C.E COMMERCIAL CO., LIMITED | HK | 18 |
| N/053331 | 2011/03/25 | 2011/03/25 | HONG KONG N.I.C.E COMMERCIAL CO., LIMITED | HK | 25 |
| N/053332 | 2011/03/25 | 2011/03/25 |
§Ö¹Ï¬ü¡]»·ªF¡^¦³¤½¥q FOTOMAX (F. E.) LIMITED |
HK | 35 |
| N/053333 | 2011/03/25 | 2011/03/25 |
§Ö¹Ï¬ü¡]»·ªF¡^¦³¤½¥q FOTOMAX (F. E.) LIMITED |
HK | 38 |
| N/053334 | 2011/03/25 | 2011/03/25 |
§Ö¹Ï¬ü¡]»·ªF¡^¦³¤½¥q FOTOMAX (F. E.) LIMITED |
HK | 40 |
| N/053341 | 2011/03/25 | 2011/03/25 | Universal Entertainment Corporation | JP | 09 |
| N/053342 | 2011/03/25 | 2011/03/25 | ¼s¦{¥«©|¦n¹ê·~¦³¤½¥q | CN | 18 |
| N/053361 | 2011/03/25 | 2011/03/25 | MF Jebsen International Limited | HK | 11 |
| N/053363 | 2011/03/25 | 2011/03/25 | ªF¤@±Æ°©À\ÆU¦³¤½¥q | TW | 43 |
| N/053364 | 2011/03/25 | 2011/03/25 |
¤º»X¥j¥ì§Q¹ê·~¶°¹ÎªÑ¥÷¦³¤½¥q Inner Mongolia Yili Industrial Group Co., Ltd. |
CN | 05 |
| N/053382 | 2011/03/25 | 2011/03/25 | SUNTORY HOLDINGS LIMITED | JP | 32 |
| N/053383 | 2011/03/25 | 2011/03/25 | SUNTORY HOLDINGS LIMITED | JP | 32 |
| N/053384 | 2011/03/25 | 2011/03/25 | MHCS | FR | 33 |
| N/053385 | 2011/03/25 | 2011/03/25 |
®}¿P¬Â Choi In Leng |
MO | 14 |
| N/053386 | 2011/03/25 | 2011/03/25 |
®}¿P¬Â Choi In Leng |
MO | 18 |
| N/053387 | 2011/03/25 | 2011/03/25 |
®}¿P¬Â Choi In Leng |
MO | 35 |
| N/053403 | 2011/03/25 | 2011/03/25 | NL&F S.A. | LU | 25 |
| N/053407 | 2011/03/25 | 2011/03/25 | JA Licensing II, LLC | US | 03 |
| N/053410 | 2011/03/25 | 2011/03/25 | Quilate Serviços Limitada | PT | 03 |
| N/053411 | 2011/03/25 | 2011/03/25 | Quilate Serviços Limitada | PT | 18 |
| N/053412 | 2011/03/25 | 2011/03/25 | Quilate Serviços Limitada | PT | 25 |
| N/053413 | 2011/03/25 | 2011/03/25 | Quilate Serviços Limitada | PT | 35 |
| N/053431 | 2011/03/25 | 2011/03/25 |
§Q´I»s¦ç¼t¦³¤½¥q FÁBRICA DE ARTIGOS DE VESTUÁRIO LEE FU, LIMITADA / LEE FU GARMENT FACTORY LIMITED |
MO | 25 |
| N/053432 | 2011/03/25 | 2011/03/25 | Retail Royalty Company | US | 18 |
| N/053434 | 2011/03/25 | 2011/03/25 | IGT | US | 09 |
| N/053435 | 2011/03/25 | 2011/03/25 | IGT | US | 09 |
| N/053436 | 2011/03/25 | 2011/03/25 | IGT | US | 09 |
| N/053438 | 2011/03/25 | 2011/03/25 |
¤¤°ê²Ð¿³¶À°s¶°¹Î¦³¤½¥q China Shaoxing Yellow Rice Wine Group Co., Ltd. |
CN | 33 |
| N/053439 | 2011/03/25 | 2011/03/25 |
¤¤°ê²Ð¿³¶À°s¶°¹Î¦³¤½¥q China Shaoxing Yellow Rice Wine Group Co., Ltd. |
CN | 33 |
³]p¤Î·s«¬¤§«OÅ@
§åµ¹
| µ{§Ç½s¸¹ | µù¥U¤é´Á | §å¥Ü¤é´Á | µù¥UÅv§Q¤H¤§¦WºÙ | ©ÒÄݰê/¦a°Ï |
| D/000488 | 2011/03/23 | 2011/03/23 | Rimowa GmbH | DE |
| D/000545 | 2011/03/23 | 2011/03/23 | CAVAGNA GROUP S.p.A. | IT |
| D/000546 | 2011/03/23 | 2011/03/23 | CAVAGNA GROUP S.p.A. | IT |
| D/000681 | 2011/03/23 | 2011/03/23 | DAVID YURMAN S.A. | CH |
| D/000682 | 2011/03/23 | 2011/03/23 | DAVID YURMAN S.A. | CH |
| D/000683 | 2011/03/23 | 2011/03/23 | DAVID YURMAN S.A. | CH |
µo©ú±M§Q¤§«OÅ@
§åµ¹
| µ{§Ç½s¸¹ | µù¥U¤é´Á | §å¥Ü¤é´Á | µù¥UÅv§Q¤H¤§¦WºÙ | ©ÒÄݰê/¦a°Ï |
| I/000867 | 2011/03/22 | 2011/03/22 | Universal Entertainment Corporation | JP |
| I/000901 | 2011/03/22 | 2011/03/22 | Universal Entertainment Corporation | JP |
| I/000920 | 2011/03/22 | 2011/03/22 | Universal Entertainment Corporation | JP |
| I/000949 | 2011/03/22 | 2011/03/22 | Universal Entertainment Corporation | JP |
¹ê¥Î±M§Q¤§«OÅ@
§åµ¹
| µ{§Ç½s¸¹ | µù¥U¤é´Á | §å¥Ü¤é´Á | µù¥UÅv§Q¤H¤§¦WºÙ | ©ÒÄݰê/¦a°Ï |
| U/000037 | 2011/03/22 | 2011/03/22 | ¦ó·ç^ | CN |
°Ó¼Ð¤§«OÅ@
©Úµ´
| µ{§Ç½s¸¹ | §å¥Ü¤é´Á | ¥Ó½Ð¤H¤§¦WºÙ | ©ÒÄݰê/¦a°Ï | ¤ÀÃþ |
³Æµù ®Ú¾Ú¸g12¤ë13¤é²Ä97/99/M¸¹ªk¥O®Ö㤧¡m¤u·~²£Åvªk«ß¨î«×¡n |
| N/049625 | 2011/03/18 | THIRTY-EIGHT STREET, INC. | US | 43 | ²Ä214±ø²Ä1´Úa¡^¶µ¤Î²Ä3´Ú¡Aµ²¦X²Ä9±ø²Ä1´Úc¡^¶µ¤Î²Ä199±ø²Ä1´Úc¡^¶µ¡C |
| N/050062 | 2011/03/25 | Dorsett Hotels & Resorts International Limited | HK | 43 | ²Ä214±ø²Ä2´Úb¡^¶µ¡Aµ²¦X²Ä215±ø¤Î²Ä9±ø²Ä1´Úc¡^¶µ¡C |
| N/050887 | 2011/03/18 | ROYAL BLUE TEA JAPAN CO., LTD. | JP | 30 | ²Ä214±ø²Ä3´Ú¡Aµ²¦X²Ä199±ø²Ä1´Úb¡^¶µ¤Î²Ä9±ø²Ä1´Úc¡^¶µ¡C |
| N/051326 | 2011/03/28 | ±i°ê^ | CN | 30 | ²Ä214±ø²Ä1´Úa¡^¶µ¡Aµ²¦X²Ä9±ø²Ä1´Úc¡^¶µ¡C |
| N/051780 | 2011/03/25 |
¤Y¸U®è¦¡·|ªÀ MARUMAN KABUSHIKI KAISHA (MARUMAN & CO., LTD.) |
JP | 14 | ²Ä9±ø²Ä1´Úe¡^¶µ¡C |
Äò´Á
| µ{§Ç½s¸¹ | °Ó¼Ð½s¸¹ | Äò®i¤é´Á | µù¥UÅv§Q¤H¤§¦WºÙ | ©ÒÄݰê/¦a°Ï |
| P/008078 | 7788-M | 2011/03/17 | Stafford-Miller (Ireland) Limited | IE |
| P/008779 | 8527-M | 2011/03/17 | NEW ZEALAND MILK BRANDS LIMITED | NZ |
| P/009179 | 8970-M | 2011/03/14 | BASF SE | DE |
| P/009180 | 8971-M | 2011/03/14 | BASF SE | DE |
| P/009181 | 8972-M | 2011/03/14 | BASF SE | DE |
| P/009182 | 8973-M | 2011/03/14 | BASF SE | DE |
| P/009183 | 8974-M | 2011/03/14 | BASF SE | DE |
| P/009184 | 8975-M | 2011/03/14 | BASF SE | DE |
| P/009185 | 8976-M | 2011/03/14 | BASF SE | DE |
| P/009186 | 8977-M | 2011/03/14 | BASF SE | DE |
| P/009187 | 8978-M | 2011/03/14 | BASF SE | DE |
| P/009231 | 9007-M | 2011/03/23 | HONDA GIKEN KOGYO KABUSHIKI KAISHA (também comerciando como HONDA MOTOR CO., LTD.) | JP |
| P/009232 | 9008-M | 2011/03/23 | HONDA GIKEN KOGYO KABUSHIKI KAISHA (também comerciando como HONDA MOTOR CO., LTD.) | JP |
| P/009233 | 9009-M | 2011/03/23 | HONDA GIKEN KOGYO KABUSHIKI KAISHA (também comerciando como HONDA MOTOR CO., LTD.) | JP |
| P/009384 | 9236-M | 2011/03/18 | MONITOR LIMITED | GB |
| P/010167 | 10080-M | 2011/03/14 | LG CORP. | KR |
| P/011367 | 11340-M | 2011/03/17 | GLAXO GROUP LIMITED | GB |
| P/011581 | 11544-M | 2011/03/17 | SERICOL LIMITED | GB |
| P/012018 | 11910-M | 2011/03/18 | MADMANN TRADEMARK HOLDING COMPANY LTD., uma sociedade organizada e existindo segundo as leis do Estado da Califórnia, Estados Unidos da América | US |
| P/012020 | 12133-M | 2011/03/14 | Unilever N.V. | NL |
| P/012021 | 12134-M | 2011/03/23 | Unilever N. V. | NL |
| P/012025 | 12206-M | 2011/03/14 | Unilever N.V. | NL |
| P/012026 | 12207-M | 2011/03/14 | Unilever N.V. | NL |
| P/012027 | 12208-M | 2011/03/14 | Unilever N.V. | NL |
| P/012029 | 12210-M | 2011/03/25 | Unilever N.V. | NL |
| P/012064 | 12253-M | 2011/03/24 |
¼sªF¤¤·Ï¤u·~¦³³d¥ô¤½¥q CHINA TOBACCO GUANGDONG INDUSTRIAL CO., LTD. |
CN |
| P/012118 | 11937-M | 2011/03/14 | ZEBRA CO., LTD. | JP |
| P/012148 | 11992-M | 2011/03/14 | PARADISE CO., LTD. | KR |
| P/012149 | 11993-M | 2011/03/14 | PARADISE CO., LTD. | KR |
| P/012167 | 12011-M | 2011/03/23 | ALTICOR INC. | US |
| P/012169 | 12013-M | 2011/03/23 | ALTICOR INC. | US |
| P/012201 | 12090-M | 2011/03/14 | THE LONDON TOBACCO COMPANY LIMITED | GB |
| P/012234 | 12124-M | 2011/03/23 | V&S VIN & SPRIT AKTIEBOLAG (publ) | SE |
| P/012255 | 12153-M | 2011/03/23 | ALTICOR INC. | US |
| P/012256 | 12154-M | 2011/03/23 | ALTICOR INC. | US |
| P/012257 | 12155-M | 2011/03/23 | ALTICOR INC. | US |
| P/012258 | 12156-M | 2011/03/23 | ALTICOR INC. | US |
| P/012290 | 12214-M | 2011/03/17 | MHCS | FR |
| P/012291 | 12215-M | 2011/03/17 | MHCS | FR |
| P/012309 | 12233-M | 2011/03/17 | THE GLAD PRODUCTS COMPANY | US |
| P/012367 | 12645-M | 2011/03/18 | Hotel Fortuna, Limitada | MO |
| P/012370 | 12316-M | 2011/03/14 | CHOICE HOTELS INTERNATIONAL, INC. | US |
| P/012372 | 12318-M | 2011/03/14 | CHOICE HOTELS INTERNATIONAL, INC. | US |
| P/012373 | 12319-M | 2011/03/14 | CHOICE HOTELS INTERNATIONAL, INC. | US |
| P/012374 | 12320-M | 2011/03/14 | CHOICE HOTELS INTERNATIONAL, INC. | US |
| P/012378 | 12324-M | 2011/03/14 | ALTICOR INC. | US |
| P/012379 | 12325-M | 2011/03/14 | ALTICOR INC. | US |
| P/012380 | 12326-M | 2011/03/14 | ALTICOR INC. | US |
| P/012381 | 12327-M | 2011/03/14 | ALTICOR INC. | US |
| P/012402 | 12365-M | 2011/03/23 | WALTON INTERNATIONAL LIMITED | KY |
| P/012403 | 12366-M | 2011/03/23 | WALTON INTERNATIONAL LIMITED | KY |
| P/012405 | 12368-M | 2011/03/23 | WALTON INTERNATIONAL LIMITED | KY |
| P/012754 | 12707-M | 2011/03/14 | Toppy Trademarks Limited | HK |
| P/012787 | 13008-M | 2011/03/14 | Jebsen & Co. Limited | HK |
| P/012788 | 13009-M | 2011/03/14 | Jebsen & Co. Limited | HK |
| P/012790 | 13011-M | 2011/03/14 | Jebsen & Co. Limited | HK |
| P/012791 | 13012-M | 2011/03/18 | Tang Hoi Moon Kee Co., Ltd. | HK |
| P/012872 | 12754-M | 2011/03/14 | UNIVERSAL CITY STUDIOS, LLLP | US |
| AMBLIN¡¦ ENTERTAINMENT, INC. (Estado de Califórnia) | US | |||
| P/012920 | 12805-M | 2011/03/23 | Best Driven Limited | HK |
| P/012921 | 12806-M | 2011/03/23 | Best Driven Limited | HK |
| P/012922 | 12807-M | 2011/03/23 | Best Driven Limited | HK |
| P/012923 | 12808-M | 2011/03/23 | Best Driven Limited | HK |
| P/012984 | 12866-M | 2011/03/14 | Foster¡¦s Brands Limited | GB |
| P/013039 | 12935-M | 2011/03/14 | UNIVERSAL CITY STUDIOS, LLLP | US |
| AMBLIN¡¦ ENTERTAINMENT, INC. (Estado de Califórnia) | US | |||
| P/013040 | 12936-M | 2011/03/14 | UNIVERSAL CITY STUDIOS, LLLP | US |
| AMBLIN¡¦ ENTERTAINMENT, INC. (Estado de Califórnia) | US | |||
| P/013041 | 12937-M | 2011/03/14 | UNIVERSAL CITY STUDIOS, LLLP | US |
| AMBLIN¡¦ ENTERTAINMENT, INC. (Estado de Califórnia) | US | |||
| P/013404 | 13307-M | 2011/03/23 | ABBOTT GmbH & Co. KG | DE |
| P/013874 | 13823-M | 2011/03/23 | Head Sport GmbH | AT |
| P/013875 | 13824-M | 2011/03/23 | Head Sport GmbH | AT |
| N/001067 | - | 2011/03/14 | FERROSAN A/S | DK |
| N/001619 | - | 2011/03/14 | Toyota Jidosha Kabushiki Kaisha (Toyota Motor Corporation) | JP |
| N/001620 | - | 2011/03/14 | Toyota Jidosha Kabushiki Kaisha (Toyota Motor Corporation) | JP |
| N/001629 | - | 2011/03/14 | GLAXO GROUP LIMITED | GB |
| N/001778 | - | 2011/03/14 | Unilever N.V. | NL |
| N/001779 | - | 2011/03/14 | Unilever N.V. | NL |
| N/001794 | - | 2011/03/21 | Henan Xinfei Electric Co., Ltd. | CN |
| N/001795 | - | 2011/03/21 | Henan Xinfei Electric Co., Ltd. | CN |
| N/001796 | - | 2011/03/21 | Henan Xinfei Electric Co., Ltd. | CN |
| N/001807 | - | 2011/03/14 | HERMES INTERNATIONAL, Société en commandite par actions | FR |
| N/001830 | - | 2011/03/18 | Astellas Pharma Inc. | JP |
| N/001831 | - | 2011/03/18 | Macy¡¦s Merchandising Group, Inc. | US |
| N/001832 | - | 2011/03/18 | Macy¡¦s Merchandising Group, Inc. | US |
| N/001833 | - | 2011/03/18 | Astellas Pharma Inc. | JP |
| N/001834 | - | 2011/03/18 | Macy¡¦s Merchandising Group, Inc. | US |
| N/001853 | - | 2011/03/14 | THE PACIFIC CIGAR COMPANY LIMITED, sociedade organizada de acordo com as leis de Hong Kong | HK |
| N/001880 | - | 2011/03/21 |
¤¤°ê°ê»Ú®È¦æªÀÁ`ªÀ¦³¤½¥q China International Travel Service Limited, Head Office |
CN |
| N/001955 | - | 2011/03/23 | MICHEL RENÉ LIMITED | HK |
| N/001956 | - | 2011/03/23 | MICHEL RENÉ LIMITED | HK |
| N/002134 | - | 2011/03/14 | KAM LONG BUSINESS MACHINE COMPANY LIMITED | MO |
| N/002368 | - | 2011/03/24 |
Äõ¦{¦ò·O»sÃĪѥ÷¦³¤½¥q Lanzhou Foci Pharmaceutical Co., Ltd. |
CN |
| N/002493 | - | 2011/03/17 | J. Portugal Ramos Vinhos, S.A. | PT |
| N/002505 | - | 2011/03/17 | WOLVERINE WORLD WIDE, INC., sociedade organizada e existindo segundo as leis do Estado de Delaware, E.U.A. | US |
| N/002506 | - | 2011/03/17 | WOLVERINE WORLD WIDE, INC., sociedade organizada e existindo segundo as leis do Estado de Delaware, E.U.A. | US |
| N/002510 | - | 2011/03/18 | Société des Produits Nestlé S.A. | CH |
| N/002511 | - | 2011/03/23 | Société des Produits Nestlé S.A. | CH |
| N/002556 | - | 2011/03/24 | MICHEL RENÉ LIMITED | HK |
| N/002557 | - | 2011/03/24 | MICHEL RENÉ LIMITED | HK |
| N/002558 | - | 2011/03/24 | MICHEL RENÉ LIMITED | HK |
| N/002559 | - | 2011/03/24 | MICHEL RENÉ LIMITED | HK |
| N/011357 | - | 2011/03/24 | China National Cereals, Oils & Foodstuffs Import & Export Corporation | CN |
| N/011358 | - | 2011/03/24 | China National Cereals, Oils & Foodstuffs Import & Export Corporation | CN |
| N/011645 | - | 2011/03/28 | GRUPO DE TABACO DURFFEE (MACAU) LIMITADA | MO |
| N/011742 | - | 2011/03/28 | GRUPO DE TABACO DURFFEE (MACAU) LIMITADA | MO |
| N/012099 | - | 2011/03/17 | EU YAN SANG INTERNATIONAL LTD., uma companhia incorporada em Singapura | SG |
| N/012230 | - | 2011/03/14 | Rock International Marketing Pte Ltd. | SG |
| N/012279 | - | 2011/03/14 | ·¨«lªF | MO |
| N/012359 | - | 2011/03/25 | Toyota Jidosha Kabushiki Kaisha (also trading as Toyota Motor Corporation) | JP |
| N/012375 | - | 2011/03/17 | Sun Microsystems, Inc. | US |
| N/012376 | - | 2011/03/17 | Sun Microsystems, Inc. | US |
| N/012377 | - | 2011/03/17 | Sun Microsystems, Inc. | US |
| N/012452 | - | 2011/03/14 | CERRUTI 1881 | FR |
| N/012453 | - | 2011/03/14 | CERRUTI 1881 | FR |
| N/012460 | - | 2011/03/14 | Luctor International, L.L.C. | US |
| N/012467 | - | 2011/03/14 | Flash & Partners S.P.A. | IT |
| N/012490 | - | 2011/03/14 |
²Ð¿³®v·Ý°s·~¦³¤½¥q SHAOXING SHIYE BREW CO., LTD. |
CN |
| N/012499 | - | 2011/03/17 | Sociedade de Lotarias e Apostas Mútuas de Macau, Lda. | MO |
| N/012500 | - | 2011/03/17 | Sociedade de Lotarias e Apostas Mútuas de Macau, Lda. | MO |
| N/012501 | - | 2011/03/17 | Sociedade de Lotarias e Apostas Mútuas de Macau, Lda. | MO |
| N/012502 | - | 2011/03/17 | Sociedade de Lotarias e Apostas Mútuas de Macau, Lda. | MO |
| N/012503 | - | 2011/03/17 | Sociedade de Lotarias e Apostas Mútuas de Macau, Lda. | MO |
| N/012504 | - | 2011/03/17 | Sociedade de Lotarias e Apostas Mútuas de Macau, Lda. | MO |
| N/012505 | - | 2011/03/17 | Sociedade de Lotarias e Apostas Mútuas de Macau, Lda. | MO |
| N/012506 | - | 2011/03/17 | Sociedade de Lotarias e Apostas Mútuas de Macau, Lda. | MO |
| N/012507 | - | 2011/03/22 |
¤º»X¥j¤p§À¦ÏÀ\¶¼³sÂêªÑ¥÷¦³¤½¥q Inner Mongolia Xiao Wei Yang Catering Franchise Co., Ltd. |
CN |
| N/012527 | - | 2011/03/17 | KONICA MINOLTA HOLDINGS, INC. | JP |
| N/012528 | - | 2011/03/17 | KONICA MINOLTA HOLDINGS, INC. | JP |
| N/012530 | - | 2011/03/17 | KONICA MINOLTA HOLDINGS, INC. | JP |
| N/012532 | - | 2011/03/17 | KONICA MINOLTA HOLDINGS, INC. | JP |
| N/012533 | - | 2011/03/17 | KONICA MINOLTA HOLDINGS, INC. | JP |
| N/012534 | - | 2011/03/17 | KONICA MINOLTA HOLDINGS, INC. | JP |
| N/012536 | - | 2011/03/14 | LOUIS VUITTON MALLETIER | FR |
| N/012649 | - | 2011/03/14 | MegaInfo Solutions Holdings Limited | HK |
| N/012650 | - | 2011/03/14 | MegaInfo Solutions Holdings Limited | HK |
| N/012651 | - | 2011/03/14 | MegaInfo Solutions Holdings Limited | HK |
| N/012652 | - | 2011/03/14 | MegaInfo Solutions Holdings Limited | HK |
| N/012653 | - | 2011/03/14 | MegaInfo Solutions Holdings Limited | HK |
| N/012654 | - | 2011/03/14 | MegaInfo Solutions Holdings Limited | HK |
| N/012661 | - | 2011/03/18 | CARGOLUX AIRLINES INTERNATIONAL, S.A. | LU |
| N/012662 | - | 2011/03/18 | CARGOLUX AIRLINES INTERNATIONAL, S.A. | LU |
| N/012678 | - | 2011/03/14 |
¼sªF¬Ù¤E¦¿°s¼t¦³¤½¥q GUANGDONG JIUJIANG DISTILLERY COMPANY LIMITED |
CN |
| N/012713 | - | 2011/03/14 | Petroliam Nasional Berhad | MY |
| N/012715 | - | 2011/03/14 | Petroliam Nasional Berhad | MY |
| N/012718 | - | 2011/03/14 | Petroliam Nasional Berhad | MY |
| N/012719 | - | 2011/03/14 | Petroliam Nasional Berhad | MY |
| N/012720 | - | 2011/03/14 | Petroliam Nasional Berhad | MY |
| N/012722 | - | 2011/03/14 | Petroliam Nasional Berhad | MY |
| N/012723 | - | 2011/03/14 | Petroliam Nasional Berhad | MY |
| N/012724 | - | 2011/03/14 | Petroliam Nasional Berhad | MY |
| N/012725 | - | 2011/03/14 | Petroliam Nasional Berhad | MY |
| N/012726 | - | 2011/03/14 | Petroliam Nasional Berhad | MY |
| N/012755 | - | 2011/03/23 | BP p.l.c., uma sociedade anónima organizada e existindo de acordo com as leis de Inglaterra | GB |
| N/012756 | - | 2011/03/23 | BP p.l.c., uma sociedade anónima organizada e existindo de acordo com as leis de Inglaterra | GB |
| N/012757 | - | 2011/03/23 | BP p.l.c., uma sociedade anónima organizada e existindo de acordo com as leis de Inglaterra | GB |
| N/012758 | - | 2011/03/23 | BP p.l.c., uma sociedade anónima organizada e existindo de acordo com as leis de Inglaterra | GB |
| N/012759 | - | 2011/03/23 | BP p.l.c., uma sociedade anónima organizada e existindo de acordo com as leis de Inglaterra | GB |
| N/012788 | - | 2011/03/22 |
·Hªùª÷ÀsÁp¦X¨T¨®¤u·~¦³¤½¥q XIAMEN KING LONG UNITED AUTOMOTIVE INDUSTRY CO., LTD. |
CN |
| N/012789 | - | 2011/03/22 |
·Hªùª÷ÀsÁp¦X¨T¨®¤u·~¦³¤½¥q XIAMEN KING LONG UNITED AUTOMOTIVE INDUSTRY CO., LTD. |
CN |
| N/012790 | - | 2011/03/14 | LOEWE S.A. | ES |
| N/012791 | - | 2011/03/14 | LOEWE S.A. | ES |
| N/012813 | - | 2011/03/28 | GRUPO DE TABACO DURFFEE (MACAU) LIMITADA | MO |
| N/012814 | - | 2011/03/28 | GRUPO DE TABACO DURFFEE (MACAU) LIMITADA | MO |
| N/012846 | - | 2011/03/21 |
¤¤°ê»ÈÁpªÑ¥÷¦³¤½¥q CHINA UNIONPAY CO., LTD. |
CN |
| N/012847 | - | 2011/03/21 |
¤¤°ê»ÈÁpªÑ¥÷¦³¤½¥q CHINA UNIONPAY CO., LTD. |
CN |
| N/012848 | - | 2011/03/21 |
¤¤°ê»ÈÁpªÑ¥÷¦³¤½¥q CHINA UNIONPAY CO., LTD. |
CN |
| N/012849 | - | 2011/03/21 |
¤¤°ê»ÈÁpªÑ¥÷¦³¤½¥q CHINA UNIONPAY CO., LTD. |
CN |
| N/012850 | - | 2011/03/21 |
¤¤°ê»ÈÁpªÑ¥÷¦³¤½¥q CHINA UNIONPAY CO., LTD. |
CN |
| N/012851 | - | 2011/03/21 |
¤¤°ê»ÈÁpªÑ¥÷¦³¤½¥q CHINA UNIONPAY CO., LTD. |
CN |
| N/012852 | - | 2011/03/21 |
¤¤°ê»ÈÁpªÑ¥÷¦³¤½¥q CHINA UNIONPAY CO., LTD. |
CN |
| N/012853 | - | 2011/03/21 |
¤¤°ê»ÈÁpªÑ¥÷¦³¤½¥q CHINA UNIONPAY CO., LTD. |
CN |
| N/012854 | - | 2011/03/21 |
¤¤°ê»ÈÁpªÑ¥÷¦³¤½¥q CHINA UNIONPAY CO., LTD. |
CN |
| N/012855 | - | 2011/03/21 |
¤¤°ê»ÈÁpªÑ¥÷¦³¤½¥q CHINA UNIONPAY CO., LTD. |
CN |
| N/012856 | - | 2011/03/21 |
¤¤°ê»ÈÁpªÑ¥÷¦³¤½¥q CHINA UNIONPAY CO., LTD. |
CN |
| N/012857 | - | 2011/03/21 |
¤¤°ê»ÈÁpªÑ¥÷¦³¤½¥q CHINA UNIONPAY CO., LTD. |
CN |
| N/012943 | - | 2011/03/23 | Perdigão Agroindustrial, S.A. | BR |
| N/012944 | - | 2011/03/23 | Perdigão Agroindustrial, S.A. | BR |
| N/012997 | - | 2011/03/24 | L¡¦OCCITANE | FR |
| N/012998 | - | 2011/03/24 | L¡¦OCCITANE | FR |
| N/012999 | - | 2011/03/24 | L¡¦OCCITANE | FR |
| N/013000 | - | 2011/03/24 | L¡¦OCCITANE | FR |
| N/013001 | - | 2011/03/14 | ANIMATION INVESTMENT, INC. | US |
| N/013017 | - | 2011/03/17 | Western Union Holdings, Inc. | US |
| N/013035 | - | 2011/03/14 | The Ritz Hotel, Limited | GB |
| N/013142 | - | 2011/03/14 | Luctor International, L.L.C. | US |
| N/013178 | - | 2011/03/17 | Caesars License Company, LLC | US |
| N/013179 | - | 2011/03/17 | Caesars License Company, LLC | US |
| N/013273 | - | 2011/03/14 | F. HOFFMANN-LA ROCHE AG, sociedade organizada e existindo segundo as leis da Suíça | CH |
| N/013274 | - | 2011/03/14 | F. HOFFMANN-LA ROCHE AG, sociedade organizada e existindo segundo as leis da Suíça | CH |
| N/013275 | - | 2011/03/14 | F. HOFFMANN-LA ROCHE AG, sociedade organizada e existindo segundo as leis da Suíça | CH |
| N/013276 | - | 2011/03/14 | F. HOFFMANN-LA ROCHE AG, sociedade organizada e existindo segundo as leis da Suíça | CH |
| N/013278 | - | 2011/03/14 | F. HOFFMANN-LA ROCHE AG, sociedade organizada e existindo segundo as leis da Suíça | CH |
| N/013279 | - | 2011/03/14 | F. HOFFMANN-LA ROCHE AG, sociedade organizada e existindo segundo as leis da Suíça | CH |
| N/013280 | - | 2011/03/14 | F. HOFFMANN-LA ROCHE AG, sociedade organizada e existindo segundo as leis da Suíça | CH |
| N/013281 | - | 2011/03/14 | BASF SE | DE |
| N/013282 | - | 2011/03/14 | BASF SE | DE |
| N/013283 | - | 2011/03/14 | BASF SE | DE |
| N/013284 | - | 2011/03/14 | BASF SE | DE |
| N/013285 | - | 2011/03/14 | BASF SE | DE |
| N/013286 | - | 2011/03/14 | BASF SE | DE |
| N/013287 | - | 2011/03/14 | BASF SE | DE |
| N/013288 | - | 2011/03/14 | BASF SE | DE |
| N/013289 | - | 2011/03/14 | BASF SE | DE |
| N/013290 | - | 2011/03/14 | BASF SE | DE |
| N/013291 | - | 2011/03/14 | BASF SE | DE |
| N/013292 | - | 2011/03/14 | BASF SE | DE |
| N/013515 | - | 2011/03/18 |
¶À®a¦w Wong Ka On |
HK |
| N/013539 | - | 2011/03/23 |
¼s¦{¥ß¥Õ¥ø·~¶°¹Î¦³¤½¥q Guangzhou Liby Enterprise Group Co., Ltd. |
CN |
| N/013726 | - | 2011/03/14 | Wynn Resorts Holdings, LLC | US |
| N/013727 | - | 2011/03/14 | Wynn Resorts Holdings, LLC | US |
| N/013728 | - | 2011/03/14 | Wynn Resorts Holdings, LLC | US |
| N/013729 | - | 2011/03/14 | Wynn Resorts Holdings, LLC | US |
| N/013899 | - | 2011/03/17 | Western Union Holdings, Inc. | US |
| N/013901 | - | 2011/03/17 | SmarTone Mobile Communications Limited | HK |
| N/013928 | - | 2011/03/17 | NBA Properties, Inc. | US |
| N/013977 | - | 2011/03/17 | Palmerston Limited | GB |
| N/013978 | - | 2011/03/17 | Palmerston Limited | GB |
| N/013979 | - | 2011/03/17 | Palmerston Limited | GB |
| N/013980 | - | 2011/03/17 | Palmerston Limited | GB |
| N/013982 | - | 2011/03/17 | Palmerston Limited | GB |
| N/013983 | - | 2011/03/17 | Palmerston Limited | GB |
| N/013984 | - | 2011/03/17 | Palmerston Limited | GB |
| N/013985 | - | 2011/03/17 | Palmerston Limited | GB |
| N/013986 | - | 2011/03/17 | Palmerston Limited | GB |
| N/013987 | - | 2011/03/17 | Palmerston Limited | GB |
| N/013988 | - | 2011/03/17 | Palmerston Limited | GB |
| N/013990 | - | 2011/03/17 | Palmerston Limited | GB |
| N/013991 | - | 2011/03/17 | Palmerston Limited | GB |
| N/013992 | - | 2011/03/17 | Palmerston Limited | GB |
| N/013993 | - | 2011/03/17 | Palmerston Limited | GB |
| N/013994 | - | 2011/03/17 | Palmerston Limited | GB |
| N/013995 | - | 2011/03/17 | Palmerston Limited | GB |
| N/013996 | - | 2011/03/17 | Palmerston Limited | GB |
| N/013998 | - | 2011/03/17 | Palmerston Limited | GB |
| N/013999 | - | 2011/03/17 | Palmerston Limited | GB |
| N/014000 | - | 2011/03/17 | Palmerston Limited | GB |
ªþµù
| µ{§Ç½s¸¹ | §å¥Ü¤é´Á | ªþµù¤§©Ê½è | ¥Ó½Ð¤H/µù¥UÅv§Q¤H | ¤º®e |
|
P/001419 (1323-M) |
2011/03/21 | ÂàÅý | EATON AEROQUIP INC. | Eaton Aeroquip LLC, com sede em 1111 Superior Avenue, Cleveland, Ohio 44114, U.S.A. |
|
P/002206 (2109-M) |
2011/03/14 | ÂàÅý | JUVENA (INTERNATIONAL) AG | Juvena Marlies Möller AG, com sede em Industriestrasse 8, 8604 Volketswil, Suíça |
|
P/004901 (4763-M) P/004902 (4764-M) |
2011/03/17 | ÂàÅý | SOCIETE ANONYME CARVEN | CARVEN (SOCIÉTÉ PAR ACTIONS SIMPLIFIÉE), com sede em 18 rue Royale, 75008 Paris, France |
|
P/005128 (4990-M) P/005129 (4991-M) |
2011/03/14 | ÂàÅý | MARTELL & CO | Altia Plc., com sede em Porkkalankatu 22A, 00180 Helsinki, Finland |
|
P/005423 (5281-M) P/005501 (5359-M) P/005873 (5732-M) P/005874 (5733-M) P/006247 (6072-M) P/006261 (6086-M) P/006336 (6161-M) P/006357 (6182-M) |
2011/03/14 | ÂàÅý | CHEVRON HONG KONG LIMITED | CHEVRON INTELLECTUAL PROPERTY LLC, com sede em 6001 Bollinger Canyon Road, San Ramon, CA 94583, E.U.A. |
|
P/008594 (8340-M) |
2011/03/14 | ¦X¨ÖÂàÅý | MYRURGIA, S.A. | ANTONIO PUIG, S.A., com sede em Travessera de Gracia, 9-08021 Barcelona, Espanha |
|
P/011581 (11544-M) |
2011/03/17 | §ó§ï¦a§} | SERICOL LIMITED | Patricia Way, Pysons Road Industrial Estate, Broadstairs, Kent CT10 2LE, United Kingdom |
|
P/012064 (12253-M) |
2011/03/24 | §ó§ï¦a§} |
¼sªF¤¤·Ï¤u·~¦³³d¥ô¤½¥q CHINA TOBACCO GUANGDONG INDUSTRIAL CO., LTD. |
¤¤°ê¼s¦{¥«¤Ñªe°ÏªL©M¦è¾î¸ô186¸¹8-16¼Ó ¡@ |
|
P/012402 (12365-M) P/012403 (12366-M) P/012405 (12368-M) |
2011/03/23 | §ó§ï¦a§} | WALTON INTERNATIONAL LIMITED | P.O. Box 1586, George Town, Grand Cayman, KY1-1110, Cayman Islands |
|
P/013654 (14086-M) P/013901 (14249-M) P/013929 (14426-M) |
2011/03/17 | ¦X¨ÖÂàÅý | Sun Microsystems, Inc. | Oracle America, Inc., com sede em 4150 Network Circle, Santa Clara, California 95054, U.S.A. |
|
P/013654 (14086-M) P/013901 (14249-M) P/013929 (14426-M) |
2011/03/17 | §ó§ï¦a§} | Oracle America, Inc. | 500 Oracle Parkway, Redwood Shores, California 94065, U.S.A. |
|
P/014433 (14361-M) P/014434 (14362-M) P/014435 (14363-M) P/014436 (14364-M) P/014437 (14365-M) P/014438 (14366-M) P/014439 (14367-M) P/014440 (14368-M) P/014638 (14562-M) P/014639 (14563-M) P/014640 (14564-M) P/014641 (14565-M) P/014642 (14566-M) P/014644 (14568-M) P/014645 (14569-M) P/014646 (14570-M) P/014647 (14571-M) P/014648 (14572-M) P/014649 (14573-M) P/014650 (14574-M) P/014660 (14576-M) P/015056 (14967-M) P/015057 (14968-M) P/015058 (14969-M) P/015060 (14971-M) P/015061 (14972-M) P/015062 (14973-M) P/015064 (14975-M) |
2011/03/14 | ÂàÅý | CHEVRON HONG KONG LIMITED | CHEVRON INTELLECTUAL PROPERTY LLC, com sede em 6001 Bollinger Canyon Road, San Ramon, CA 94583, E.U.A. |
|
P/015138 (15302-M) |
2011/03/17 | ¦X¨ÖÂàÅý | Sun Microsystems, Inc. | Oracle America, Inc., com sede em 4150 Network Circle, Santa Clara, California 95054, U.S.A. |
|
P/015138 (15302-M) |
2011/03/17 | §ó§ï¦a§} | Oracle America, Inc. | 500 Oracle Parkway, Redwood Shores, California 94065, U.S.A. |
| N/000042 | 2011/03/14 | ÂàÅý | CHEVRON HONG KONG LIMITED | CHEVRON INTELLECTUAL PROPERTY LLC, com sede em 6001 Bollinger Canyon Road, San Ramon, CA 94583, E.U.A. |
| N/000534 | 2011/03/17 | ¦X¨ÖÂàÅý | Sun Microsystems, Inc. | Oracle America, Inc., com sede em 4150 Network Circle, Santa Clara, California 95054, U.S.A. |
| N/000534 | 2011/03/17 | §ó§ï¦a§} | Oracle America, Inc. | 500 Oracle Parkway, Redwood Shores, California 94065, U.S.A. |
|
N/001111 N/001112 |
2011/03/14 | ÂàÅý | CHEVRON HONG KONG LIMITED | CHEVRON INTELLECTUAL PROPERTY LLC, com sede em 6001 Bollinger Canyon Road, San Ramon, CA 94583, E.U.A. |
| N/002134 | 2011/03/14 | §ó§ï¦a§} | KAM LONG BUSINESS MACHINE COMPANY LIMITED | Rua de Malaca, n.º 96, Edifício Centro Internacional, Bloco 1, r/c H, I, J, Macau |
| N/002493 | 2011/03/17 | §ó§ï»{§O¸ê®Æ | J. PORTUGAL RAMOS, VINHOS, LDA. | J. Portugal Ramos Vinhos, S.A. |
| N/002493 | 2011/03/17 | §ó§ï¦a§} | J. Portugal Ramos Vinhos, S.A. | Vila Santa, 7100-149 Estremoz, Portugal |
|
N/004322 N/004323 N/004324 |
2011/03/14 | ÂàÅý | CHEVRON HONG KONG LIMITED | CHEVRON INTELLECTUAL PROPERTY LLC, com sede em 6001 Bollinger Canyon Road, San Ramon, CA 94583, E.U.A. |
| N/004546 | 2011/03/17 | ¦X¨ÖÂàÅý | Sun Microsystems, Inc. | Oracle America, Inc., com sede em 4150 Network Circle, Santa Clara, California 95054, U.S.A. |
| N/004546 | 2011/03/17 | §ó§ï¦a§} | Oracle America, Inc. | 500 Oracle Parkway, Redwood Shores, California 94065, U.S.A. |
|
N/006765 N/006766 |
2011/03/14 | Åý»PÂàÅý | RAINBOW BOUTIQUE E COMPANHIA LIMITADA | RAINBOW CONCEPT LIMITED, com sede em Avenida da Praia Grande, n.º 405, China Law Building, 26.º andar, Macau |
| N/007217 | 2011/03/17 | ¦X¨ÖÂàÅý | Sun Microsystems, Inc. | Oracle America, Inc., com sede em 4150 Network Circle, Santa Clara, California 95054, U.S.A. |
| N/007217 | 2011/03/17 | §ó§ï¦a§} | Oracle America, Inc. | 500 Oracle Parkway, Redwood Shores, California 94065, U.S.A. |
|
N/007412 N/007413 N/007414 N/007415 |
2011/03/14 | ÂàÅý | CHEVRON HONG KONG LIMITED | CHEVRON INTELLECTUAL PROPERTY LLC, com sede em 6001 Bollinger Canyon Road, San Ramon, CA 94583, E.U.A. |
| N/007429 | 2011/03/17 | ¦X¨ÖÂàÅý | Sun Microsystems, Inc. | Oracle America, Inc., com sede em 4150 Network Circle, Santa Clara, California 95054, U.S.A. |
| N/007429 | 2011/03/17 | §ó§ï¦a§} | Oracle America, Inc. | 500 Oracle Parkway, Redwood Shores, California 94065, U.S.A. |
| N/007828 | 2011/03/14 | ÂàÅý | CHEVRON HONG KONG LIMITED | CHEVRON INTELLECTUAL PROPERTY LLC, com sede em 6001 Bollinger Canyon Road, San Ramon, CA 94583, E.U.A. |
| N/008277 | 2011/03/17 | §ó§ï¦a§} | J. PORTUGAL RAMOS VINHOS, S.A. | Vila Santa, 7100-149 Estremoz, Portugal |
|
N/008953 N/008954 N/008955 |
2011/03/14 | Åý»PÂàÅý | RAINBOW BOUTIQUE E COMPANHIA LIMITADA | RAINBOW CONCEPT LIMITED, com sede em Avenida da Praia Grande, n.º 405, China Law Building, 26.º andar, Macau |
|
N/009534 N/009535 N/009536 N/009537 |
2011/03/14 | ÂàÅý | The Prudential Assurance Company Limited, uma companhia limitada incorporada segundo as leis do Reino Unido | Prudential IP Services Limited, com sede em Laurence Pountney Hill, London EC4R 0HH, United Kingdom |
|
N/010643 N/010644 |
2011/03/14 | ÂàÅý | CHEVRON HONG KONG LIMITED | CHEVRON INTELLECTUAL PROPERTY LLC, com sede em 6001 Bollinger Canyon Road, San Ramon, CA 94583, E.U.A. |
| N/011109 | 2011/03/21 | ÂàÅý | Pierlite Pty Ltd | Pierlite Australia Pty Ltd, com sede em 96-112 Gow Street, PADSTOW, 2211, New South Wales, Australia |
|
N/011357 N/011358 |
2011/03/24 | §ó§ï»{§O¸ê®Æ | China National Cereals, Oils & Foodstuffs Import & Export Corporation | ¤¤°ê³ªo¹«~¡]¶°¹Î¡^¦³¤½¥q |
|
N/011357 N/011358 |
2011/03/24 | §ó§ï»{§O¸ê®Æ |
¤¤°ê³ªo¹«~¡]¶°¹Î¡^¦³¤½¥q China National Cereals, Oils & Foodstuffs Corporation |
¤¤Â³¶°¹Î¦³¤½¥q |
| N/011470 | 2011/03/24 | §ó§ï»{§O¸ê®Æ |
¦ò¤s¥«®ü¤Ñ½Õ¨ý¹«~¦³¤½¥q Foshan Hai Tian Flavoring & Food Company Limited |
¦ò¤s¥«®ü¤Ñ½Õ¨ý¹«~ªÑ¥÷¦³¤½¥q |
| N/011542 | 2011/03/23 | ÂàÅý | BIOSCREEN S.A. | Ingrid Millet Ltd, com sede em P.O. Box 957, Offshore Incorporations Centre, Road Town, Tortola, British Virgin Islands |
|
N/011645 N/011742 |
2011/03/25 | §ó§ï¦a§} | GRUPO DE TABACO DURFFEE (MACAU) LIMITADA | ¿Dªù¼}©Ô¤h¤j°¨¸ô¿E¦¨¤u·~¤¤¤ß3´Á5¼ÓQ®y |
|
N/012375 N/012376 N/012377 |
2011/03/17 | ¦X¨ÖÂàÅý | Sun Microsystems, Inc. | Oracle America, Inc., com sede em 4150 Network Circle, Santa Clara, California 95054, U.S.A. |
|
N/012375 N/012376 N/012377 |
2011/03/17 | §ó§ï¦a§} | Oracle America, Inc. | 500 Oracle Parkway, Redwood Shores, California 94065, U.S.A. |
|
N/012452 N/012453 |
2011/03/14 | §ó§ï¦a§} | CERRUTI 1881 | 3, Place de la Madeleine - 75008 Paris, France |
|
N/012649 N/012650 N/012651 N/012652 N/012653 N/012654 |
2011/03/14 | §ó§ï¦a§} | MegaInfo Solutions Holdings Limited | P.O. Box 957, Offshore Incorporations Centre, Road Town, Tortola, British Virgin Islands |
|
N/012790 N/012791 |
2011/03/14 | §ó§ï¦a§} | LOEWE S.A. | Calle Goya 4, 28001 Madrid, Spain |
|
N/012813 N/012814 |
2011/03/25 | §ó§ï¦a§} | GRUPO DE TABACO DURFFEE (MACAU) LIMITADA | ¿Dªù¼}©Ô¤h¤j°¨¸ô¿E¦¨¤u·~¤¤¤ß3´Á5¼ÓQ®y |
| N/013017 | 2011/03/17 | §ó§ï¦a§} | Western Union Holdings, Inc. | 12500 E. Belford Ave. #M21A2, Englewood, Colorado 80112, United States of America |
| N/013573 | 2011/03/21 | ÂàÅý | Pierlite Pty Ltd | Pierlite Australia Pty Ltd, com sede em 96-112 Gow Street, PADSTOW, 2211, New South Wales, Australia |
| N/013899 | 2011/03/17 | §ó§ï¦a§} | Western Union Holdings, Inc. | 12500 E. Belford Ave. #M21A2, Englewood, Colorado 80112, United States of America |
|
N/014583 N/014584 |
2011/03/14 | ÂàÅý | The Prudential Assurance Company Limited, uma companhia limitada incorporada segundo as leis do Reino Unido | Prudential IP Services Limited, com sede em Laurence Pountney Hill, London EC4R 0HH, United Kingdom |
| N/014700 | 2011/03/24 | §ó§ï»{§O¸ê®Æ |
¦ò¤s¥«®ü¤Ñ½Õ¨ý¹«~¦³¤½¥q Foshan Hai Tian Flavoring & Food Co., Ltd. |
¦ò¤s¥«®ü¤Ñ½Õ¨ý¹«~ªÑ¥÷¦³¤½¥q |
|
N/016641 N/016642 N/016643 N/016644 |
2011/03/21 | §ó§ï»{§O¸ê®Æ | Harrah¡¦s Interactive Entertainment, Inc. | Caesars Interactive Entertainment, Inc. |
|
N/020477 N/020478 N/020479 N/020480 N/020481 N/020482 |
2011/03/14 | Åý»PÂàÅý | RAINBOW BOUTIQUE E COMPANHIA LIMITADA | RAINBOW CONCEPT LIMITED, com sede em Avenida da Praia Grande, n.º 405, China Law Building, 26.º andar, Macau |
|
N/025991 N/025992 N/025993 N/025994 |
2011/03/24 | §ó§ï»{§O¸ê®Æ |
¤¤°ê³ªo¹«~¡]¶°¹Î¡^¦³¤½¥q CHINA NATIONAL CEREALS, OILS & FOODSTUFFS CORPORATION |
¤¤Â³¶°¹Î¦³¤½¥q |
| N/027856 | 2011/03/24 | ÂàÅý |
±i©ú´¼ CHEONG MENG CHI |
±i¤ÖµØ¡A¦a§}¬°¿Dªù¥J®ü¬vªá¶é¬õ±öb20¼ÓG³æ¦ì |
|
N/030303 N/030304 N/030305 N/030306 N/030307 N/030308 |
2011/03/22 | §ó§ï»{§O¸ê®Æ | RE/MAX INTERNATIONAL, INC. | RE/MAX International, LLC |
|
N/030303 N/030304 N/030305 N/030306 N/030307 N/030308 |
2011/03/22 | §ó§ï»{§O¸ê®Æ | RE/MAX International, LLC | RE/MAX, LLC |
|
N/031790 N/031791 |
2011/03/22 | §ó§ï»{§O¸ê®Æ | RE/MAX International, Inc. | RE/MAX International, LLC |
|
N/031790 N/031791 |
2011/03/22 | §ó§ï»{§O¸ê®Æ | RE/MAX International, LLC | RE/MAX, LLC |
|
N/033919 N/033920 |
2011/03/21 | §ó§ï»{§O¸ê®Æ | Fiberxon, Inc. | Source Photonics Santa Clara, Inc. |
|
N/033919 N/033920 |
2011/03/21 | §ó§ïÅv§Q¤H¤§ªk«ß©Ê½è | Source Photonics Santa Clara, Inc. | Source Photonics Santa Clara, LLC. |
|
N/033919 N/033920 |
2011/03/21 | §ó§ï¦a§} | Source Photonics Santa Clara, LLC. | 530 Lakeside Drive, Suite 190, Sunnyvale, CA 94085, U.S.A. |
|
N/036099 N/036100 |
2011/03/21 | §ó§ï»{§O¸ê®Æ | Harrah¡¦s Interactive Entertainment, Inc. | Caesars Interactive Entertainment, Inc. |
|
N/038120 N/038121 |
2011/03/22 | §ó§ï»{§O¸ê®Æ | RE/MAX International, Inc. | RE/MAX International, LLC |
|
N/038120 N/038121 |
2011/03/22 | §ó§ï»{§O¸ê®Æ | RE/MAX International, LLC | RE/MAX, LLC |
| N/041012 | 2011/03/15 | §ó§ï¦a§} | ®ý¦¿¥~±C®aÀ\¶¼¦³¤½¥q | ¤¤°ê®ý¦¿¬ÙªC¦{¥«¦è´ò°Ïµµ¯ðªá¸ô2¸¹B®y¤G¼h |
|
N/041563 N/041564 N/042688 N/042689 N/042690 N/043050 N/043446 N/044105 N/044106 N/044195 |
2011/03/21 | §ó§ï»{§O¸ê®Æ | Stargames Corporation Pty Limited | Shuffle Master Australasia Pty Limited |
|
N/044820 N/044821 |
2011/03/21 | §ó§ï»{§O¸ê®Æ | Harrah¡¦s Interactive Entertainment, Inc. | Caesars Interactive Entertainment, Inc. |
| N/045422 | 2011/03/21 | §ó§ï»{§O¸ê®Æ | Stargames Corporation Pty Limited | Shuffle Master Australasia Pty Limited |
| N/046137 | 2011/03/14 | §ó§ï»{§O¸ê®Æ | Inverness Medical Switzerland GmbH | Alere Switzerland GmbH |
| N/046138 | 2011/03/21 | §ó§ï»{§O¸ê®Æ | Inverness Medical Switzerland GmbH | Alere Switzerland GmbH |
|
N/046139 N/046140 N/046141 N/046142 N/046143 |
2011/03/14 | §ó§ï»{§O¸ê®Æ | Inverness Medical Switzerland GmbH | Alere Switzerland GmbH |
| N/052099 | 2011/03/14 | §ó§ï»{§O¸ê®Æ |
¥Ã©À§»öªA°È¦³¤½¥q WING NIM MEMORIAL SERVICES LIMITED |
¥Ã©ÀªA°È¦³¤½¥q |
«Å§G¥¢®Ä¤§¥Ó½Ð
| µ{§Ç½s¸¹ | ¥Ó½Ð¤é´Á | µù¥UÅv§Q¤H¤§¦WºÙ | ©ÒÄݰê/¦a°Ï | «Å¥¬¥¢®Ä¥Ó½Ð¤H¤§¦WºÙ | ©ÒÄݰê/¦a°Ï |
| N/029165 | 2011/03/07 |
Àd·ç¤ß LOK SUI SAM BERNARDES |
MO |
Ĭ¾ð¥Í Sou Su Sang |
MO |
«Å§G¥¢®Ä
| µ{§Ç½s¸¹ | ¥¢®Ä¤é´Á | µù¥UÅv§Q¤H¤§¦WºÙ | ©ÒÄݰê/¦a°Ï |
| N/025184 | 2011/03/17 | FERRARI S.p.A. | IT |
| N/025185 | 2011/03/17 | FERRARI S.p.A. | IT |
³¡¤À©ñ±ó
| µ{§Ç½s¸¹ | §å¥Ü¤é´Á | µù¥UÅv§Q¤H¤§¦WºÙ | ©ÒÄݰê/¦a°Ï | ©ñ±ó³¡¤À |
| N/46138 | 2011/03/21 | Inverness Medical Switzerland GmbH | CH | ¹ï¯S©w²£«~¡§¡KÃĪ«»s¾¯¡K¡¨§@³¡¥÷©ñ±ó¡A«O¯d¡§¡K¶È¥Î©ó¶EÂ_ªºÃĪ«»s¾¯¡K¡¨¡C |
Án©ú²§Ä³
| µ{§Ç½s¸¹ | ¥Ó½Ð¤é´Á | ¥Ó½Ð¤H¤§¦WºÙ | ©ÒÄݰê/¦a°Ï | Án©ú²§Ä³¤H¤§¦WºÙ | ©ÒÄݰê/¦a°Ï |
| N/053287 | 2011/03/18 | Venetian Macau Limited | MO | Melco Crown Entertainment Limited | KY |
| N/053288 | 2011/03/21 | Venetian Macau Limited | MO | Melco Crown Entertainment Limited | KY |
| N/053289 | 2011/03/21 | Venetian Macau Limited | MO | Melco Crown Entertainment Limited | KY |
| N/053290 | 2011/03/18 | Venetian Macau Limited | MO | Melco Crown Entertainment Limited | KY |
| N/053291 | 2011/03/18 | Venetian Macau Limited | MO | Melco Crown Entertainment Limited | KY |
| N/053292 | 2011/03/21 | Venetian Macau Limited | MO | Melco Crown Entertainment Limited | KY |
| N/053293 | 2011/03/21 | Venetian Macau Limited | MO | Melco Crown Entertainment Limited | KY |
| N/053294 | 2011/03/21 | Venetian Macau Limited | MO | Melco Crown Entertainment Limited | KY |
| N/053295 | 2011/03/21 | Venetian Macau Limited | MO | Melco Crown Entertainment Limited | KY |
| N/053296 | 2011/03/21 | Venetian Macau Limited | MO | Melco Crown Entertainment Limited | KY |
| N/053297 | 2011/03/21 | Venetian Macau Limited | MO | Melco Crown Entertainment Limited | KY |
| N/053298 | 2011/03/21 | Venetian Macau Limited | MO | Melco Crown Entertainment Limited | KY |
| N/053299 | 2011/03/21 | Venetian Macau Limited | MO | Melco Crown Entertainment Limited | KY |
| N/053300 | 2011/03/18 | Venetian Macau Limited | MO | Melco Crown Entertainment Limited | KY |
| N/053301 | 2011/03/21 | Venetian Macau Limited | MO | Melco Crown Entertainment Limited | KY |
| N/053302 | 2011/03/21 | Venetian Macau Limited | MO | Melco Crown Entertainment Limited | KY |
| N/053303 | 2011/03/21 | Venetian Macau Limited | MO | Melco Crown Entertainment Limited | KY |
| N/053304 | 2011/03/18 | Venetian Macau Limited | MO | Melco Crown Entertainment Limited | KY |
| N/053305 | 2011/03/21 | Venetian Macau Limited | MO | Melco Crown Entertainment Limited | KY |
| N/053306 | 2011/03/21 | Venetian Macau Limited | MO | Melco Crown Entertainment Limited | KY |
| N/053307 | 2011/03/21 | Venetian Macau Limited | MO | Melco Crown Entertainment Limited | KY |
§ó¥¿
| °Ó¼Ð½s¸¹ | §ó¥¿¶µ¥Ø | ì¤å | À³§ï¬° |
|
P/1055 (960-M) P/1057 (962-M) P/13854 (13802-M) P/13864 (13813-M) N/7568 N/14145 |
ÂàÅý¡]2011¦~3¤ë2¤é²Ä9´Á²Ä¤G²Õ¡m¿Dªù¯S§O¦æ¬F°Ï¤½³ø¡n¡^ | ...... com sede em M&C Corporate Services ...... | ...... com sede em c/o M&C Corporate Services ...... |
À³¦U¥Ó½Ð¤H/Åv§Q¤H¤§n¨D¡A§ó¥¿¦p¤U¡G
| °Ó¼Ð½s¸¹ | §ó¥¿¶µ¥Ø | ì¤å | À³§ï¬° |
| N/11619 | §ó§ï¦a§}¡]2011¦~3¤ë16¤é²Ä11´Á²Ä¤G²Õ¡m¿Dªù¯S§O¦æ¬F°Ï¤½³ø¡n¡^ | ...... 50824 ...... | ...... 50827 ¡K¡K |
|
N/54119 N/54120 |
²£«~¦W³æ¡]2011¦~2¤ë16¤é²Ä7´Á²Ä¤G²Õ¡m¿Dªù¯S§O¦æ¬F°Ï¤½³ø¡n¡^ | ¡K¡K¡Aµ¡Ã®¬[¡Aµ¡Ã®¸ôy¡Aµ¡Ã®±ì¡A¡K¡K¡F¤p¨®¡A¯ùÂI±À¨®¡AÆYµ¨¡]Äx¤l¡^¡F¶l½c¡F¡K¡K¡Fªùªº¨î°Ê¾¹¡]«Dª÷Äݪº¡^¡A¡K¡K¡B³n¤ì¡BÃáB¡K¡K | ¡K¡K¡Aµ¡Ã®¬[¡Aµ¡Ã®鈎¡Aµ¡Ã®¸ôy¡Aµ¡Ã®¥ÎÀô¡Aµ¡Ã®±ì¡A¡K¡K¡F¤p¨®¡A¯ù¦«½L¡A¯ùÂI±À¨®¡AÆYµ¨¡]Äx¤l¡^¡F§j®ð¼s§iª««~¡F¶l½c¡F¡K¡K¡Fªùªº¨î°Ê¾¹¡AÄx¤l¡]«Dª÷Äݪº¡^¡A¡K¡K¡B³n¤ì¡B¸«¡BÃáB¡K¡K |
| N/54162 | ªA°È¦W³æ¡]2011¦~3¤ë2¤é²Ä9´Á²Ä¤G²Õ¡m¿Dªù¯S§O¦æ¬F°Ï¤½³ø¡n¡^ | ¡K¡K¡A¾A¥Î©ó¬y°Ê¹q¸Üªº²°¤Î½c¡A¾A¥Î©óÄá¼v¾¹§÷ªº³U¤Î²°¡A¡K¡K¡A·Ó¤ù¡A¤å¨ã©Î®a®x¥ÎÂH¦X¾¯¡A¡K¡K¡A¤ä²¼Ã¯¥Î§¨¡AÃdª«ªA¸Ë¡A¡K¡K | ¡K¡K¡A¾A¥Î©ó¬y°Ê¹q¸Üªº²°¤Î½c¡A¬y°Ê¹q¸Ü¥Î±a¡A¾A¥Î©óÄá¼v¾¹§÷ªº³U¤Î²°¡A¡K¡K¡A·Ó¤ù¡A¤å¨ã¥Î«~¡A¤å¨ã©Î®a®x¥ÎÂH¦X¾¯¡A¡K¡K¡A¤ä²¼Ã¯¥Î§¨¡A¤ä²¼Ã¯¥Î«Ê¥Ö¡AÃdª«ªA¸Ë¡A¡K¡K |
¡@
|
µo©ú±M§Q¥Ó½Ð¤§ ©µ¦ù½s¸¹ |
§ó¥¿¶µ¥Ø | ì¤å | À³§ï¬° |
|
J/350 |
¥Ó½Ð¤H¦WºÙ¡]2010¦~8¤ë18¤é²Ä33´Á²Ä¤G²Õ¡m¿Dªù¯S§O¦æ¬F°Ï¤½³ø¡n¡^ | EN¤j¶ï»sÃĮ覡·|ªÀ | EN¤jà»sÃĮ覡·|ªÀ |
¤G¹s¤@¤@¦~¤T¤ë¤T¤Q¤é©ó¸gÀÙ§½
§½ªø Ĭ²K¥



