Número 5
II
SÉRIE
Quarta-feira, 1 de Fevereiro de 2012
DIRECÇÃO DOS SERVIÇOS DE ECONOMIA
Aviso
Protecção de marcas
Publicação
De acordo com os artigos 10.º e 210.º do RJPI, aprovado pelo Decreto-Lei n.º 97/99/M, de 13 de Dezembro, a seguir se publicam os pedidos de registo de marcas para a RAEM e da data da publicação do aviso, começa a contar-se o prazo de dois meses para apresentação de reclamações, em conformidade com o n.º 1 do artigo 211.º do mesmo diploma.
Marca n.º N/57 991 Classe 41.ª
Requerente: ASIAN POKER TOUR LIMITED
Sede: 2nd Floor, Yellowman & Sons Building, P.O. Box 170, Off Old Airport Road, Grand Turk, Ilhas Turcos e Caicos
Nacionalidade: Ilhas Turcas e Caicos
Actividade: comercial
Data do pedido: 2011/07/15
Serviços: serviços para casino; serviços para casino pela internet; fornecimento de jogos de casino e de jogos de fortuna ou azar em linha; fornecimento de jogos de computador de tipo casino em linha; serviços de entretenimento em forma de jogos de casino; fornecimento de instalações de casino e de jogo; serviços de jogo; aluguer ou leasing de mesas de jogo, jogos de cartas, aparelhos de jogos de cartas, jogos de casino, aparelhos de jogos de casino, jogos, aparelhos de jogos, máquinas de jogo, máquinas de casino, máquinas de aposta; fornecimento de mesas de jogo, jogos de cartas, aparelhos de jogos de cartas, jogos de casino, aparelhos de jogos de casino, jogos, aparelhos de jogos, máquinas de jogo, máquinas de casino, máquinas de aposta; serviços de formação relacionados com os atrás referidos serviços.
A marca consiste em:

Reivindicação de cores: o globo terrestre e as palavras «Asian», «Poker» e «Tour» são em cor vermelha, o acrónimo «APT» aposto no globo é em cor branca; os naipes das cartas são em cor cinzenta e cinta em redor do globo onde estão aposta as palavras «Asian», «Poker» e «Tour» os naipes das cartas é em cor preta.
Marca n.º N/60 011 Classe 19.ª
Requerente: Wujiang City Jinfeng Wooden Door Factory
Sede: N.º 8 Renmin East Road, Qidu, Wujiang, Jiangsu, China
Nacionalidade: Chinesa
Actividade: comercial e industrial
Data do pedido: 2011/09/26
Produtos: madeira; soalhos; pavimentos em madeira; betão; ardósia; pedras em pó para construção; gesso; lajes de gesso; cimento; placas de cimento; tubos de cimento; ladrilhos para pavimentos não metálicos; azulejos; tintas de cimento à prova de fogo; tijolos e telhas refractários; produtos de asfalto para construção; filmes impermeáveis; tubagem não metálica; tubos de plástico para construção; portas não metálicas; janelas não metálicas; escadas não metálicas; portas e janelas em aço de plástico; lâminas luminosas; construções não metálicas; vidros para construção; vidro com membrana chapeada; revestimentos não metálicos para a construção; adesivos de pedra; obras artísticas em pedra, betão ou mármore; placas para monumentos funerários sem ser de metal.
A marca consiste em:

Marca n.º N/60 043 Classe 9.ª
Requerente: The Linux Foundation
Sede: 1796 18th Street, Suite C, San Francisco, California 94107, United States of America
Nacionalidade: Americana
Actividade: comercial e industrial
Data do pedido: 2011/09/27
Produtos: software informático; aplicações de software informático; aplicações de software móvel; aplicações software móveis para funcionamento em dispositivos electrónicos portáteis, telefones móveis, telefones inteligentes, computadores tablet, netbook, notebook e laptop, leitores de média portáteis, assistentes digitais pessoais (PDAs), TVs inteligentes, dispositivos de assistentes digitais empresariais e em computadores de veículos; desenvolvimento de aplicações de programas de software informático para computadores pessoais e manuais; sistemas operacionais de computador, software utilitário de computadores e outro software informático usado para manter e operar um sistema de computador; hardware informático; processadores de dados; processadores de dados programáveis; semicondutores; microprocessadores; dispositivos semicondutores; circuitos integrados; conjuntos de chips de computador; computadores; computadores tablet, netbook, notebook e laptop; computadores portáteis; computadores manuais; dispositivos sem fios usados para ligação à internet com transmissão de dados e imagem; dispositivos electrónicos portáteis, telefones móveis, telefones inteligentes, assistentes digitais pessoais (PDAs); dispositivos electrónicos portáteis, telefones móveis, telefones inteligentes, assistentes digitais pessoais (PDAs) para a transmissão sem fios de sinais de dados e/ou de voz e/ou incorporando correio electrónico, pager, fax, rádio, agendas pessoais, conectividade celular, conectividade sem fios, leitores mp3, sistema de navegação por satélite, receptor de sistema de posicionamento global (GPS), registos de dados de sistemas de posicionamento global para registo e classificação de viagens, sistema operacional de câmara digital, câmara de vídeo digital e/ou computadores; dispositivos electrónicos portáteis para gravar, organizar, transmitir, reproduzir e analisar arquivos de texto, dados, vídeo e áudio; sistemas de informações e entretenimento para uso em veículos; dispositivos de navegação para uso em veículos; aparelhos e instrumentos científicos, náuticos, geodésicos, fotográficos, cinematográficos, ópticos, de pesagem, de medição, de sinalização, de verificação (supervisão), salva-vidas e de ensino; aparelhos e instrumentos para a condução, distribuição, transformação, acumulação, regulação ou controlo da electricidade; aparelhos para a gravação, transmissão ou reprodução de som ou imagens; suportes de registo magnético, discos acústicos; distribuidores automáticos e mecânicos para aparelhos de pré-pagamento; caixas registadoras, máquinas de calcular, equipamento de processamento de dados e computadores; extintores.
A marca consiste em:

Data de prioridade: 2011/06/24; País/Território de prioridade: Itália; n.º de prioridade: RM2011C004202.
Marca n.º N/60 044 Classe 42.ª
Requerente: The Linux Foundation
Sede: 1796 18th Street, Suite C, San Francisco, California 94107, United States of America
Nacionalidade: Americana
Actividade: comercial e industrial
Data do pedido: 2011/09/27
Serviços: fornecimento de informações nas áreas de concepção de software e desenvolvimento e instalação e manutenção de software; concepção e desenvolvimento de software; serviços científicos e tecnológicos e de investigação e concepção relacionados com isso; serviços de análise e de pesquisa industrial; concepção e desenvolvimento de hardware e software informático.
A marca consiste em:

Data de prioridade: 2011/06/24; País/Território de prioridade: Itália; n.º de prioridade: RM2011C004202.
Marca n.º N/60 045 Classe 9.ª
Requerente: The Linux Foundation
Sede: 1796 18th Street, Suite C, San Francisco, California 94107, United States of America
Nacionalidade: Americana
Actividade: comercial e industrial
Data do pedido: 2011/09/27
Produtos: software informático; aplicações de software informático; aplicações de software móvel; aplicações de software móveis para funcionamento em dispositivos electrónicos portáteis, telefones móveis, telefones inteligentes, computadores tablet, netbook, notebook e laptop, leitores de média portáteis, assistentes digitais pessoais (PDAs), TVs inteligentes, dispositivos de assistentes digitais empresariais e em computadores de veículos; desenvolvimento de aplicações de programas de software informático para computadores pessoais e manuais; sistemas operacionais de computador, software utilitário de computadores e outro software informático usado para manter e operar um sistema de computador; hardware informático; processadores de dados; processadores de dados programáveis; semicondutores; microprocessadores; dispositivos semicondutores; circuitos integrados; conjuntos de chips de computador; computadores; computadores tablet, netbook, notebook e laptop; computadores portáteis; computadores manuais; dispositivos sem fios usados para ligação à internet com transmissão de dados e imagem; dispositivos electrónicos portáteis, telefones móveis, telefones inteligentes, assistentes digitais pessoais (PDAs); dispositivos electrónicos portáteis, telefones móveis, telefones inteligentes, assistentes digitais pessoais (PDAs) para a transmissão sem fios de sinais de dados e/ou de voz e/ou incorporando correio electrónico, pager, fax, rádio, agendas pessoais, conectividade celular, conectividade sem fios, leitores mp3, sistema de navegação por satélite, receptor de sistema de posicionamento global (GPS), registos de dados de sistemas de posicionamento global para registo e classificação de viagens, sistema operacional de câmara digital, câmara de vídeo digital e/ou computadores; dispositivos electrónicos portáteis para gravar, organizar, transmitir, reproduzir e analisar arquivos de texto, dados, vídeo e áudio; sistemas de informações e entretenimento para uso em veículos; dispositivos de navegação para uso em veículos; aparelhos e instrumentos científicos, náuticos, geodésicos, fotográficos, cinematográficos, ópticos, de pesagem, de medição, de sinalização, de verificação (supervisão), salva-vidas e de ensino; aparelhos e instrumentos para a condução, distribuição, transformação, acumulação, regulação ou controlo da electricidade; aparelhos para a gravação, transmissão ou reprodução de som ou imagens; suportes de registo magnético, discos acústicos; distribuidores automáticos e mecânicos para aparelhos de pré-pagamento; caixas registadoras, máquinas de calcular, equipamento de processamento de dados e computadores; extintores.
A marca consiste em:

Marca n.º N/60 046 Classe 42.ª
Requerente: The Linux Foundation
Sede: 1796 18th Street, Suite C, San Francisco, California 94107, United States of America
Nacionalidade: Americana
Actividade: comercial e industrial
Data do pedido: 2011/09/27
Serviços: fornecimento de informações nas áreas de concepção de software e desenvolvimento e instalação e manutenção de software; concepção e desenvolvimento de software; serviços científicos e tecnológicos e de investigação e concepção relacionados com isso; serviços de análise e de pesquisa industrial; concepção e desenvolvimento de hardware e software informático.
A marca consiste em:

Marca n.º N/60 058 Classe 9.ª
Requerente: VITA-MAGIC PTE LTD.
Sede: 253 Upper East Coast Road, Spring Park Estate, Singapore 466405
Nacionalidade: Singapuriana
Actividade: comercial e industrial
Data do pedido: 2011/09/27
Produtos: caixas para telemóveis; coberturas para telemóveis; capas de protecção para dispositivos electrónicos portáteis.
A marca consiste em:

Marca n.º N/60 059 Classe 35.ª
Requerente: VITA-MAGIC PTE LTD.
Sede: 253 Upper East Coast Road, Spring Park Estate, Singapore 466405
Nacionalidade: Singapuriana
Actividade: comercial e industrial
Data do pedido: 2011/09/27
Serviços: venda a retalho de bens (de qualquer forma); a reunião, para terceiros, de uma variedade de bens (excluindo o seu transporte), permitindo aos clientes uma conveniente apreciação e aquisição através de um portal geral (website) de mercadorias na rede global de comunicações; venda a retalho de bens (de qualquer forma); a reunião, para terceiros, de uma variedade de bens (excluindo o seu transporte), permitindo aos clientes uma conveniente apreciação e aquisição através de lojas de vendas a retalho, lojas de venda por grosso e lojas de distribuição; serviços de importação e exportação, não incluído serviços de transporte; publicidade; apresentação de bens em meios de comunicação para fins de venda a retalho; demonstração de mercadorias para fins publicitários; gestão de negócios comerciais.
A marca consiste em:

Marca n.º N/60 120 Classe 14.ª
Requerente: New Larry Jewelry Limited
Sede: Unit 01-02, 5/F Soundwill Plaza, 38 Russell Street, Causeway Bay, Hong Kong
Nacionalidade: Constituída segundo as leis de H.K.
Actividade: comercial e industrial
Data do pedido: 2011/09/28
Produtos: metais preciosos e suas ligas e produtos em metais preciosos ou em plaqué, travessas, pratos, bandejas em metais preciosos, cinzeiros em metais preciosos, caixas para pó compacto em metais preciosos; joalharia, pedras preciosas; anéis, pulseiras, brincos, colares, pendentes, botões de punho, argolas para chaves; relojoaria e instrumentos cronométricos; relógios de mesa e de parede, relógios de pulso; tudo incluído na classe 14.ª
A marca consiste em:

Marca n.º N/60 121 Classe 14.ª
Requerente: New Larry Jewelry Limited
Sede: Unit 01-02, 5/F Soundwill Plaza, 38 Russell Street, Causeway Bay, Hong Kong
Nacionalidade: Constituída segundo as leis de H.K.
Actividade: comercial e industrial
Data do pedido: 2011/09/28
Produtos: metais preciosos e suas ligas e produtos em metais preciosos ou em plaqué, travessas, pratos, bandejas em metais preciosos, cinzeiros em metais preciosos, caixas para pó compacto em metais preciosos; joalharia, pedras preciosas; anéis, pulseiras, brincos, colares, pendentes, botões de punho, argolas para chaves; relojoaria e instrumentos cronométricos; relógios de mesa e de parede, relógios de pulso; tudo incluído na classe 14.ª
A marca consiste em:

Marca n.º N/60 122 Classe 14.ª
Requerente: VERA JEWELS COMPANY LIMITED
Sede: Unit 01-02, 5/F Soundwill Plaza, 38 Russell Street, Causeway Bay, Hong Kong
Nacionalidade: Constituída segundo as leis de H.K.
Actividade: comercial e industrial
Data do pedido: 2011/09/28
Produtos: metais preciosos e suas ligas e produtos em metais preciosos ou em plaqué, travessas, pratos, bandejas em metais preciosos, cinzeiros em metais preciosos, caixas para pó compacto em metais preciosos; joalharia, pedras preciosas; anéis, pulseiras, brincos, colares, pendentes, botões de punho, argolas para chaves; relojoaria e instrumentos de cronométricos; relógios de mesa e de parede, relógios de pulso; tudo incluído na classe 14.ª
A marca consiste em:

Marca n.º N/60 123 Classe 14.ª
Requerente: VERA JEWELS COMPANY LIMITED
Sede: Unit 01-02, 5/F Soundwill Plaza, 38 Russell Street, Causeway Bay, Hong Kong
Nacionalidade: Constituída segundo as leis de H.K.
Actividade: comercial e industrial
Data do pedido: 2011/09/28
Produtos: metais preciosos e suas ligas e produtos em metais preciosos ou em plaqué, travessas, pratos, bandejas em metais preciosos, cinzeiros em metais preciosos, caixas para pó compacto em metais preciosos; joalharia, pedras preciosas; anéis, pulseiras, brincos, colares, pendentes, botões de punho, argolas para chaves; relojoaria e instrumentos cronométricos; relógios de mesa e de parede, relógios de pulso; tudo incluído na classe 14.ª
A marca consiste em:

Marca n.º N/60 126 Classe 11.ª
Requerente: Antonio Lupi Design S.p.A.
Sede: Via Mazzini, 73/75 – Loc. Stabbia, Cerreto Guidi (Firenze), Itália
Nacionalidade: Italiana
Actividade: comercial e industrial
Data do pedido: 2011/09/28
Produtos: lâmpadas comuns, lâmpadas de néon, lâmpadas eléctricas, lâmpadas de parede giratória e ferragens estruturais de parede para as mesmas; sanitários, designadamente pias, vasos sanitários, bidés, chuveiros, banheiras, chuveiros e banheiras de hidromassagem, bases de duche, cabeças de chuveiro portáteis, assentos sanitários, torneiras, todos incluídos na classe 11.ª
A marca consiste em:

Marca n.º N/60 127 Classe 20.ª
Requerente: Antonio Lupi Design S.p.A.
Sede: Via Mazzini, 73/75 – Loc. Stabbia, Cerreto Guidi (Firenze), Itália
Nacionalidade: Italiana
Actividade: comercial e industrial
Data do pedido: 2011/09/28
Produtos: peças de mobiliário, designadamente balcões, prateleiras, espelhos de móveis, pernas, pés e rodas para mobiliário; armários, armários suspensos, vitrines, bancos, cadeiras de banho, estruturas para sob a bacia, todos incluídos na classe 20.ª
A marca consiste em:

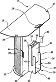
Marca n.º N/60 128 Classe 21.ª
Requerente: Antonio Lupi Design S.p.A.
Sede: Via Mazzini, 73/75 – Loc. Stabbia, Cerreto Guidi (Firenze), Itália
Nacionalidade: Italiana
Actividade: comercial e industrial
Data do pedido: 2011/09/28
Produtos: lavatórios, suportes de lenços, escovas de toucador, barras para toalhas, saboneteiras, todos incluídos na classe 21.ª
A marca consiste em:

Marca n.º N/60 172 Classe 18.ª
Requerente: Jack Wolfskin Ausrüstung für Draussen GmbH & Co. KGaA
Sede: Jack Wolfskin Kreisel 1, 65510 Idstein/Taunus, Germany
Nacionalidade: Alemã
Actividade: comercial e industrial
Data do pedido: 2011/09/30
Produtos: mochilas, sistemas de transporte para mochilas.
A marca consiste em:

Data de prioridade: 2011/03/31; País/Território de prioridade: Alemanha; n.º de prioridade: 302011018639.
Marca n.º N/60 173 Classe 36.ª
Requerente: Hyatt International Corporation
Sede: 71 S. Wacker Drive, 14th Floor, Chicago, Illinois 60606, United States of America
Nacionalidade: Americana
Actividade: comercial e industrial
Data do pedido: 2011/09/30
Serviços: administração de imóveis; apartamentos com prestação de serviços; apartamentos e aluguer de apartamentos; condomínios; gestão de imóveis; agências imobiliárias; corretagem; agentes imobiliários; arrendamento de imóveis residenciais e comerciais; «bureaux» de alojamento (apartamentos); cobrança de arrendamentos; aluguer de escritórios (imobiliária); aluguer de espaço (imobiliária) para reuniões; agentes imobiliários; serviços de time-sharing imobiliário de férias; negócios imobiliários, serviços de cartão de crédito.
A marca consiste em:

Marca n.º N/60 174 Classe 43.ª
Requerente: Hyatt International Corporation
Sede: 71 S. Wacker Drive, 14th Floor, Chicago, Illinois 60606, United States of America
Nacionalidade: Americana
Actividade: comercial e industrial
Data do pedido: 2011/09/30
Serviços: hotéis; estâncias turísticas; motéis; alojamento temporário; serviços de agências de viagens para a reserva de alojamentos em hotéis; serviços especializados de hotelaria prestados no âmbito de um programa para hóspedes assíduos; serviços de restaurante, bar e salas de cocktail; serviços de «snack bar»; fornecimento de instalações para banquetes e funções sociais para ocasiões especiais; «catering» para o fornecimento de alimentos e bebidas; fornecimento de instalações para conferências, exposições e salas de reuniões; aluguer de salas de reunião.
A marca consiste em:

Marca n.º N/60 216 Classe 18.ª
Requerente: Guccio Gucci S.p.A.
Sede: Via Tornabuoni 73/r, 50123 Firenze, Italy
Nacionalidade: Italiana
Actividade: comercial e industrial
Data do pedido: 2011/10/04
Produtos: couro e imitações de couro, produtos nestas matérias não incluídos noutras classes; malas de mão, carteiras; porta-moedas/bolsas; cintos; cintos de couro; cintos (peles de animais); cintos (couros) na classe 18.ª
A marca consiste em:

Marca n.º N/60 217 Classe 25.ª
Requerente: Guccio Gucci S.p.A.
Sede: Via Tornabuoni 73/r, 50123 Firenze, Italy
Nacionalidade: Italiana
Actividade: comercial e industrial
Data do pedido: 2011/10/04
Produtos: vestuário, calçado, chapelaria, cintos em tecido para vestuário; cintos (vestuário), vestuário para crianças na classe 25.ª
A marca consiste em:

Marca n.º N/60 249 Classe 1.ª
Requerente: SABIC Holding Europe B.V.
Sede: Europa Boulevard 1, Sittard NL-6135LD, Netherlands
Nacionalidade: Holandesa
Actividade: comercial e industrial
Data do pedido: 2011/10/06
Produtos: produtos químicos usados na indústria, ciência e fotografia, bem como na agricultura, horticultura e silvicultura; resinas artificiais em bruto, matérias plásticas em bruto; adubos; compostos para extinção de incêndios; preparados para têmpera e soldadura; substâncias químicas para a preservação de alimentos; substâncias para curtimento; adesivos usados na indústria; plásticos incluindo nesta classe, nomeadamente resinas artificiais em bruto; matérias plásticas em estado bruto; projectos plásticos, nomeadamente moldagem para uso na fabricação de artigos de plástico moldados; resinas sintéticas; matérias plásticas em bruto, nomeadamente plásticos recombinados, misturas, composições e dispersões de plásticos, todos para uso na fabricação adicional de plásticos.
A marca consiste em:

Marca n.º N/60 250 Classe 6.ª
Requerente: SABIC Holding Europe B.V.
Sede: Europa Boulevard 1, Sittard NL-6135LD, Netherlands
Nacionalidade: Holandesa
Actividade: comercial e industrial
Data do pedido: 2011/10/06
Produtos: metais comuns e suas ligas; materiais metálicos para construção, tarugos de metal e chapas, produtos laminados a quente, nomeadamente edifícios pré-fabricados de aços, construção naval, canos e tubos, edifícios em metal transportáveis; materiais metálicos para vias-férreas; cabos e fios metálicos não eléctricos; ferragens e quinquilharia metálicas, nomeadamente ferro de estirar e barras de metal; canos e tubos de metal; cofres de metal; minérios metálicos.
A marca consiste em:

Marca n.º N/60 251 Classe 17.ª
Requerente: SABIC Holding Europe B.V.
Sede: Europa Boulevard 1, Sittard NL-6135LD, Netherlands
Nacionalidade: Holandesa
Actividade: comercial e industrial
Data do pedido: 2011/10/06
Produtos: plásticos obtidos por extrusão para uso na manufactura; embalagem e materiais isolantes.
A marca consiste em:

Marca n.º N/60 252 Classe 23.ª
Requerente: SABIC Holding Europe B.V.
Sede: Europa Boulevard 1, Sittard NL-6135LD, Netherlands
Nacionalidade: Holandesa
Actividade: comercial e industrial
Data do pedido: 2011/10/06
Produtos: fios e linhas, para uso têxtil.
A marca consiste em:

Marca n.º N/60 253 Classe 40.ª
Requerente: SABIC Holding Europe B.V.
Sede: Europa Boulevard 1, Sittard NL-6135LD, Netherlands
Nacionalidade: Holandesa
Actividade: comercial e industrial
Data do pedido: 2011/10/06
Serviços: tratamento personalizado de produtos e materiais, nomeadamente produtos químicos usados na indústria, ciência e fotografia, bem como na agricultura, horticultura e silvicultura, resinas artificiais em bruto, matérias plásticas em bruto, adubos, compostos para extinção de incêndios, preparados para têmpera e soldadura, substâncias químicas para a preservação de alimentos, substâncias para curtimento, adesivos usados na indústria, metais comuns e suas ligas, materiais metálicos para construção, tarugos e chapas, produtos laminados a quente, com edifícios pré-fabricados de aço, construção naval, canos e tubos, edifícios em metal transportáveis, materiais metálicos para vias-férreas, cabos e fios metálicos não eléctricos, ferragens e quinquilharia metálicas, nomeadamente ferro de estirar e barras de metal, canos e tubos de metal, cofres de metal, minérios metálicos.
A marca consiste em:

Marca n.º N/60 254 Classe 42.ª
Requerente: SABIC Holding Europe B.V.
Sede: Europa Boulevard 1, Sittard NL-6135LD, Netherlands
Nacionalidade: Holandesa
Actividade: comercial e industrial
Data do pedido: 2011/10/06
Serviços: serviços de consultoria técnica no uso de produtos químicos e materiais sintéticos; projecto para terceiros de fábricas e instalações; serviços de engenharia e consultoria com referência ao projecto e construção de fábricas e instalações; simulação de substância química e processos científicos; pesquisa científica e consulta tecnológica e pesquisa nos sectores de química, biologia, física, microbiologia, bacteriologia e genética; serviços de análise e pesquisa industrial.
A marca consiste em:

Marca n.º N/60 258 Classe 7.ª
Requerente: Honda Motor Co., Ltd.
Sede: 1-1, Minami-Aoyama 2-chome, Minato-ku, Tokyo 107-8556, Japan
Nacionalidade: Japonesa
Actividade: comercial e industrial
Data do pedido: 2011/10/06
Produtos: motores primários não eléctricos (sem ser para viaturas terrestres); peças para motores primários não eléctricos para viaturas terrestres, máquinas agrícolas, instrumentos agrícolas (com excepção dos accionados manualmente); dispositivos de arranque para motores e mecanismos; motores de corrente alterna e motores de corrente contínua (não incluindo aqueles para veículos terrestres, mas incluindo peças para quaisquer motores de corrente alterna e de corrente contínua); geradores de corrente alterna (alternadores); geradores de corrente contínua; aparadores de relva; elementos mecânicos (sem ser para veículos terrestres); motores fora de bordas.
A marca consiste em:

Data de prioridade: 2011/06/10; País/Território de prioridade: Japão; n.º de prioridade: 2011-40193.
Marca n.º N/60 259 Classe 9.ª
Requerente: Honda Motor Co., Ltd.
Sede: 1-1, Minami-Aoyama 2-chome, Minato-ku, Tokyo 107-8556, Japan
Nacionalidade: Japonesa
Actividade: comercial e industrial
Data do pedido: 2011/10/06
Produtos: baterias e pilhas; células combustíveis; células solares; óculos (monóculos e óculos protectores); simuladores para treino desportivo; simuladores para a direcção e controlo de veículos.
A marca consiste em:

Data de prioridade: 2011/06/10; País/Território de prioridade: Japão; n.º de prioridade: 2011-40193.
Marca n.º N/60 260 Classe 12.ª
Requerente: Honda Motor Co., Ltd.
Sede: 1-1, Minami-Aoyama 2-chome, Minato-ku, Tokyo 107-8556, Japan
Nacionalidade: Japonesa
Actividade: comercial e industrial
Data do pedido: 2011/10/06
Produtos: navios e suas peças e acessórios; aeronaves e suas peças e acessórios; automóveis e suas peças e acessórios; veículos motorizados de duas rodas e suas peças e acessórios; bicicletas e suas peças e acessórios; motores primários não eléctricos para veículos terrestres (não incluindo as suas peças); componentes mecânicos para veículos terrestres; motores de corrente alterna ou motores de corrente contínua (não incluindo as suas peças).
A marca consiste em:

Data de prioridade: 2011/06/10; País/Território de prioridade: Japão; n.º de prioridade: 2011-40193.
Marca n.º N/60 261 Classe 35.ª
Requerente: Honda Motor Co., Ltd.
Sede: 1-1, Minami-Aoyama 2-chome, Minato-ku, Tokyo 107-8556, Japan
Nacionalidade: Japonesa
Actividade: comercial e industrial
Data do pedido: 2011/10/06
Serviços: serviços de publicidade e propaganda; análise de gestão comercial ou consultadoria comercial; pesquisa de mercado; provisão de informações sobre vendas de mercadorias; agências de importação e exportação; serviços de vendas a retalho ou serviços de vendas por grosso para automóveis; serviços de vendas a retalho ou serviços de vendas por grosso para veículos motorizados de duas rodas.
A marca consiste em:

Data de prioridade: 2011/06/10; País/Território de prioridade: Japão; n.º de prioridade: 2011-40193.
Marca n.º N/60 262 Classe 37.ª
Requerente: Honda Motor Co., Ltd.
Sede: 1-1, Minami-Aoyama 2-chome, Minato-ku, Tokyo 107-8556, Japan
Nacionalidade: Japonesa
Actividade: comercial e industrial
Data do pedido: 2011/10/06
Serviços: reparação ou manutenção de aeronaves; reparação ou manutenção de automóveis; reparação ou manutenção de veículos motorizados de duas rodas; reparação ou manutenção de máquinas e aparelhos de telecomunicação (excluindo aparelhos de telefones, rádio e televisores); reparação ou manutenção de motores eléctricos; reparação ou manutenção de máquinas e implementos para lavrar (com excepção dos accionados manualmente); reparação ou manutenção de geradores de energia; reparação ou manutenção de bombas.
A marca consiste em:

Data de prioridade: 2011/06/10; País/Território de prioridade: Japão; n.º de prioridade: 2011-40193.
Marca n.º N/60 263 Classe 7.ª
Requerente: Honda Motor Co., Ltd.
Sede: 1-1, Minami-Aoyama 2-chome, Minato-ku, Tokyo 107-8556, Japan
Nacionalidade: Japonesa
Actividade: comercial e industrial
Data do pedido: 2011/10/06
Produtos: motores primários não eléctricos (sem ser para viaturas terrestres); peças para motores primários não eléctricos para viaturas terrestres, máquinas agrícolas, instrumentos agrícolas (com excepção dos accionados manualmente); dispositivos de arranque para motores e mecanismos; motores de corrente alterna e motores de corrente contínua (não incluindo aqueles para veículos terrestres, mas incluindo peças para quaisquer motores de corrente alterna e de corrente contínua); geradores de corrente alterna (alternadores); geradores de corrente contínua; aparadores de relva; elementos mecânicos (sem ser para veículos terrestres); motores fora de bordas.
A marca consiste em:

Reivindicação de cores: azul, azul-escuro, amarelo, branco, verde, verde-escuro e vermelho.
Data de prioridade: 2011/06/10; País/Território de prioridade: Japão; n.º de prioridade: 2011-40194.
Marca n.º N/60 264 Classe 9.ª
Requerente: Honda Motor Co., Ltd.
Sede: 1-1, Minami-Aoyama 2-chome, Minato-ku, Tokyo 107-8556, Japan
Nacionalidade: Japonesa
Actividade: comercial e industrial
Data do pedido: 2011/10/06
Produtos: baterias e pilhas; células combustíveis; células solares; óculos (monóculos e óculos protectores); simuladores para treino desportivo; simuladores para a direcção e controlo de veículos.
A marca consiste em:

Reivindicação de cores: azul, azul-escuro, amarelo, branco, verde, verde-escuro e vermelho.
Data de prioridade: 2011/06/10; País/Território de prioridade: Japão; n.º de prioridade: 2011-40194.
Marca n.º N/60 265 Classe 12.ª
Requerente: Honda Motor Co., Ltd.
Sede: 1-1, Minami-Aoyama 2-chome, Minato-ku, Tokyo 107-8556, Japan
Nacionalidade: Japonesa
Actividade: comercial e industrial
Data do pedido: 2011/10/06
Produtos: navios e suas peças e acessórios; aeronaves e suas peças e acessórios; automóveis e suas peças e acessórios; veículos motorizados de duas rodas e suas peças e acessórios; bicicletas e suas peças e acessórios; motores primários não eléctricos para veículos terrestres (não incluindo as suas peças); componentes mecânicos para veículos terrestres; motores de corrente alterna ou motores de corrente contínua (não incluindo as suas peças).
A marca consiste em:

Reivindicação de cores: azul, azul-escuro, amarelo, branco, verde, verde-escuro e vermelho.
Data de prioridade: 2011/06/10; País/Território de prioridade: Japão; n.º de prioridade: 2011-40194.
Marca n.º N/60 266 Classe 35.ª
Requerente: Honda Motor Co., Ltd.
Sede: 1-1, Minami-Aoyama 2-chome, Minato-ku, Tokyo 107-8556, Japan
Nacionalidade: Japonesa
Actividade: comercial e industrial
Data do pedido: 2011/10/06
Serviços: serviços de publicidade e propaganda; análise de gestão comercial ou consultadoria comercial; pesquisa de mercado; provisão de informações sobre vendas de mercadorias; agências de importação e exportação; serviços de vendas a retalho ou serviços de vendas por grosso para automóveis; serviços de vendas a retalho ou serviços de vendas por grosso para veículos motorizados de duas rodas.
A marca consiste em:

Reivindicação de cores: azul, azul-escuro, amarelo, branco, verde, verde-escuro e vermelho.
Data de prioridade: 2011/06/10; País/Território de prioridade: Japão; n.º de prioridade: 2011-40194.
Marca n.º N/60 267 Classe 37.ª
Requerente: Honda Motor Co., Ltd.
Sede: 1-1, Minami-Aoyama 2-chome, Minato-ku, Tokyo 107-8556, Japan
Nacionalidade: Japonesa
Actividade: comercial e industrial
Data do pedido: 2011/10/06
Serviços: reparação ou manutenção de aeronaves; reparação ou manutenção de automóveis; reparação ou manutenção de veículos motorizados de duas rodas; reparação ou manutenção de máquinas e aparelhos de telecomunicação (excluindo aparelhos de telefones, rádio e televisores); reparação ou manutenção de motores eléctricos; reparação ou manutenção de máquinas e implementos para lavrar (com excepção dos accionados manualmente); reparação ou manutenção de geradores de energia; reparação ou manutenção de bombas.
A marca consiste em:

Reivindicação de cores: azul, azul-escuro, amarelo, branco, verde, verde-escuro e vermelho.
Data de prioridade: 2011/06/10; País/Território de prioridade: Japão; n.º de prioridade: 2011-40194.
Marca n.º N/60 268 Classe 39.ª
Requerente: EMIRATES
Sede: Emirates Group Headquarters, P.O. Box 686, Dubai, United Arab Emirates
Nacionalidade: Emirados Árabes Unidos
Actividade: comercial e industrial
Data do pedido: 2011/10/06
Serviços: serviços de companhia de aviação; serviços de transporte aéreo, serviços de frete de aeronaves; serviços de correio rápido; serviços de manuseamento de carga; serviços de motoristas e limusinas; entrega de mercadorias por ar; serviços de desalfandegamento; acompanhamento de viajantes; serviços de agência de expedição; serviços de agenciamento e de expedição de carga; serviços de transporte com guarda; serviços de guias turísticos; serviços de navegação aérea; serviços de controlo do tráfego aéreo; embalagem e entreposto de mercadorias; operação e organização de excursões; agências para marcação e reserva de viagens; serviços de entreposto; serviços de assistência (bagagens) em aeroportos; informações em matéria de transportes; informações relacionadas com viagens; informações relacionadas com horários de transporte aéreo; serviços de agência de marcação e de reserva para bilhetes e lugares de avião.
A marca consiste em:

Marca n.º N/60 269 Classe 39.ª
Requerente: EMIRATES
Sede: Emirates Group Headquarters, P.O. Box 686, Dubai, United Arab Emirates
Nacionalidade: Emirados Árabes Unidos
Actividade: comercial e industrial
Data do pedido: 2011/10/06
Serviços: serviços de companhia de aviação; serviços de transporte aéreo, serviços de frete de aeronaves; serviços de correio rápido; serviços de manuseamento de carga; serviços de motoristas e limusinas; entrega de mercadorias por ar; serviços de desalfandegamento; acompanhamento de viajantes; serviços de agência de expedição; serviços de agenciamento e de expedição de carga; serviços de transporte com guarda; serviços de guias turísticos; serviços de navegação aérea; serviços de controlo do tráfego aéreo; embalagem e entreposto de mercadorias; operação e organização de excursões; agências para marcação e reserva de viagens; serviços de entreposto; serviços de assistência (bagagens) em aeroportos; informações em matéria de transportes; informações relacionadas com viagens; informações relacionadas com horários de transporte aéreo; serviços de agência de marcação e de reserva para bilhetes e lugares de avião.
A marca consiste em:

Marca n.º N/60 393 Classe 18.ª
Requerente: Nowhere Co., Ltd.
Sede: 22-3, Sendagaya 4-chome, Shibuya-ku, Tokyo 151-0051, Japan
Nacionalidade: Japonesa
Actividade: comercial e industrial
Data do pedido: 2011/10/12
Produtos: vestuário para animais de estimação; coleiras para animais; coberturas para animais; trelas em couro para animais de estimação; cordas em couro ou em imitação de couro (para animais); coleiras para animais em couro e em imitação de couro; artigos em couro para mastigar para animais; selaria; couro (semitransformado ou em estado bruto); imitação de couro; peles (de animais); baús (bagagens); malas de viagem; sacos de compras; chapéus-de-chuva/sol; sombrinhas; bengalas; malas de couro; malas de mão para produtos cosméticos (vazias); malas de mão; malas a tiracolo; carteiras pequenas; malas de mão sem tira para senhoras; sacos de mão grandes; mochilas de lona; mochilas; sacos escolares; sacos de compras; bengalas para caçador; pastas para documentos; pastas (em couro); pastas em couro ou em imitação de couro; malas de mão (para viagem); malas de mão em forma de envelope para senhoras; sacos de roupas para viagem; carteiras para cartões de crédito (em couro); porta-chaves (em couro); porta-moedas; estojos para cartões; porta-passaportes em couro ou em imitação de couro; carteiras para livros de cheques (em couro); capas para diários em couro ou em imitação de couro; pastas para viagem (em couro ou em imitação de couro); porta-chaves em couro ou em imitação de couro; carteiras; malas; malas de couro; porta-gravatas em couro (vazio); cintos em couro (não para vestuário e adornos); coberturas em peles de animais; adornos em couro para móveis; coxins em couro; tiras em couro; faixas de couro; boldrié de couro; tudo incluído na classe 18.ª
A marca consiste em:

Marca n.º N/60 394 Classe 25.ª
Requerente: Nowhere Co., Ltd.
Sede: 22-3, Sendagaya 4-chome, Shibuya-ku, Tokyo 151-0051, Japan
Nacionalidade: Japonesa
Actividade: comercial e industrial
Data do pedido: 2011/10/12
Produtos: vestuário acabado; vestuário; casacos; jaquetas; calças de ganga; calças; calções; camisas; «tank tops»; T-shirt; saias; camisetas; casacos; fatos; vestuário em malha; roupas em couro (vestuário); vestuário em imitação de couro; vestuário em couro; gabardinas; vestuário de penugem; cuecas; roupas interiores; pijamas; roupões de banho; vestuário para crianças; enxoval para bebés; fatos de banho; fatos de desporto; vestuário impermeável; capas para a chuva; fatos de máscara; vestidos de noite; «collants»; soutiens; polainas; meias; meias compridas; peúgas; abafos para os pés não aquecidos electricamente; calçado; sandálias; sapatos de desporto; botas; chinelos; chapelaria; chapelaria (para cabeça); faixas para a cabeça (vestuário); luvas (vestuário); abafos para as orelhas (vestuário); xailes; gravatas; cachecóis; toucados; suspensórios para roupas; cintas de vestuário (roupa); cintos; cintos em couro (para vestuário e adornos); xailes para senhoras; tudo incluído na classe 25.ª
A marca consiste em:

Marca n.º N/60 395 Classe 35.ª
Requerente: Nowhere Co., Ltd.
Sede: 22-3, Sendagaya 4-chome, Shibuya-ku, Tokyo 151-0051, Japan
Nacionalidade: Japonesa
Actividade: comercial e industrial
Data do pedido: 2011/10/12
Serviços: venda a retalho, por grosso e serviços de encomendas por correio, por telefone, serviços de encomendas, venda a retalho e distribuição pela Internet e computador on-line; todos os acima referidos relacionados com preparações para branqueamento (para lavagem de roupa), preparações para lavagem de roupa, preparações para limpeza, preparações para polimento, preparações para polir, preparações para desgastar, cosméticos, perfumes, perfumaria, perfumaria (para o ar), misturas de pétalas secas e perfumaria (perfumaria), fragrâncias (perfumaria), óleos essenciais, sabões, preparações para lavagem, dentífricos, champôs, preparados para os cuidados dos cabelos, amaciadores para os cabelos, loções para a pele (cremes para os cuidados das mãos e pés), preparações para os cuidados das unhas, unguentos para lábios, cremes hidratantes para a pele, loções hidratantes para a pele, gel hidratante para a pele, preparações branqueadoras para os cuidados da pele, máscaras faciais e para a pele, bases, tónicos para a pele, máscaras para os olhos, cremes para os olhos, gel para a pele dos olhos, cremes de massagem para a pele, preparações para refrescar o ar, preparações para purificar o ar, preparações para refrescar o ar para o quarto, desodorizantes sem ser para uso pessoal, desinfectantes para fins higiénicos, insecticidas, parasiticidas (para uso humano ou para animais), parasiticidas, fungicidas, coleiras para animais de estimação (metálicas), correntes para animais de estimação (metálicas), sinos para animais de estimação, fivelas e argolas para animais de estimação (sem ser para vestuário), cadeias metálicas para puxar os animais de estimação, ganchos para puxar os animais de estimação, colares para animais (metálicos), etiquetas de identificação metálicas para animais, portas metálicas para animais de estimação, portas móveis metálicas para animais de estimação, metais comuns (em estado bruto ou em estado semitransformado), ligas de metais comuns, serralharia e quinquilharia metálica, tubos metálicos, cofres-fortes, equipamentos periféricos para computador, memórias para computadores, dispositivos para armazenamento de dados de memórias flash, cartões e unidades de memória flash, leitores de cartões (equipamento para o tratamento da informação), rato (equipamento para o tratamento da informação), tapetes de rato, apoios para pulsos para utilização com computadores, revestimentos, sacos, estojos e coberturas adaptadas para computadores notebooks e para computadores «tablet», estojos e coberturas adaptados para telemóveis, correias para telemóvel, sacos e estojos adaptados para equipamentos fotográficos, estéreos pessoais, auscultadores, conectores de adaptadores eléctricos, transformadores (electricidade), ímanes decorativos, viseiras, óculos, óculos (óptica), lupas (óptica), armações de óculos, estojos para óculos, óculos de sol, metais preciosos (em estado bruto ou em estado semitransformado); ligas de metais preciosos, joalharia, pedras preciosas, brincos, anéis (joalharia), correntes (joalharia), pulseiras (joalharia), pendentes (joalharia), broches (joalharia), relojoaria, instrumentos cronométricos, relógios de pulso, relógios, guarda-jóias, botões de punho com correntes, molas de gravata (alfinetes de gravata), chaveiros (ornamentos pequenos ou ornamentos de corrente curta), pulseiras de relógios, estojos para relógios (para presentes), fraldas em papel ou em fibra para animais de estimação, papel, cartão, produtos de cartão, produtos de imprensa, artigos para encadernação, fotografia, papelaria, canetas, canetas de tinta permanente, lápis, adesivos (matérias colantes) para papelaria ou para uso doméstico, materiais para artistas, máquinas de escrever, materiais de instrução ou de ensino (excepto instrumentos), materiais plásticos para embalagem, caracteres de imprensa, clichés (estereótipos), tintas e recargas de tinta, organizadores pessoais, diários, tinteiros, bases para tinteiros, capas para livros de cheque, vestuário para animais de estimação, coleiras para animais, coberturas para animais, trelas em couro para animais de estimação, cordas em couro ou em imitação de couro (para animais), coleiras para animais em couro e em imitação de couro, artigos em couro para mastigar para animais, selaria, couro (semitransformado ou em estado bruto), imitação de couro, peles (de animais), baús (bagagens), malas de viagem, sacos de compras, chapéus-de-chuva/sol, sombrinhas, bengalas, malas de couro, malas de mão para produtos cosméticos (vazias), malas de mão, malas a tiracolo, carteiras pequenas, malas de mão sem tira para senhoras, sacos de mão grandes, mochilas de lona, mochilas, sacos escolares, sacos de compras, bengalas para caçador, pastas para documentos, pastas (em couro), pastas em couro ou em imitação de couro, malas de mão (para viagem), malas de mão em forma de envelope para senhoras, sacos de roupas para viagem, carteiras para cartões de crédito (em couro), porta-chaves (em couro), porta-moedas, estojos para cartões, porta-passaportes em couro ou em imitação de couro, carteiras para livros de cheques (em couro), capas para diários em couro ou em imitação de couro, pastas para viagem (em couro ou em imitação de couro), porta-chaves em couro ou em imitação de couro, carteiras, malas, malas de couro, porta-gravatas em couro (vazio), cintos em couro (não para vestuário e adornos), coberturas em peles de animais, adornos em couro para móveis, coxins em couro, tiras em couro, faixas de couro, boldrié de couro, móveis, caixas não metálicas, espelhos (vidros), molduras, almofadas para animais de estimação, cabides para roupa não metálicos, acessórios não metálicos para móveis, almofadas, travesseiros, almofadas de ar não de uso medicinal, gaiolas para animais de estimação domésticos, caixas (tabuleiros) de palha para animais de estimação, recipientes plásticos para colocar os alimentos e as bebidas para animais de estimação, pentes para animais, recipientes não em metal precioso para uso doméstico ou na cozinha, recipientes para uso doméstico ou na cozinha, pentes, esponjas para uso doméstico, escovas (excepto pincéis), materiais para fabricação de escovas, aparelhos de limpeza (operados manualmente), palha-de-aço para limpeza, vidro em bruto ou semitrabalhado (com excepção do vidro de construção), vidraria de uso diário (incluindo copos, pratos, bules e vasos), louças (com excepção de facas, garfos e colheres), tigelas (bacias), pratos, travessas, vasos, garrafas para condimentos, açucareiros, pratos para manteiga, tabuleiros para uso doméstico, garrafas, garrafas de água, copos, coxins sem ser em papel e em matérias têxteis, lancheiras, recipientes para uso doméstico, utensílios da cozinha, abridores de garrafas, garrafas de vidro (recipientes), caixas de vidro, recipientes para beber, serviços de chá, chaleiras, latas para folhas de chá, serviços de café, cafeteiras não eléctricas, caixas de sabões, dispensadores de sabões, caixas em metal para dispensar os lenços de papel, dispensadores de papel higiénico, utensílios para casa de banho, vasos, caixotes de lixo, molas para as roupas, pulverizadores não de uso medicinal, suportes de velas (candelabros), calçadeiras, incensadores, pentes, escovas, materiais para fabricação de escovas, escovas de dentes, suportes para escovas de dentes, paliteiros, utensílios de maquilhagem, estojos de toilette, esponjas abrasivas para esfregar a pele, pulverizadores de perfume, recipientes com isolamento térmico, recipientes com isolamento térmico para bebidas, moldes para os cubos de gelo, instrumentos de limpeza (operados manualmente), pratinhos para animais de estimação, sacos para lavagem de roupa, porcelana, faiança, tecidos, tecidos têxteis, etiquetas de pano, tapeçarias murais em produtos têxteis, feltro, mantas de lã, toalhas em matérias têxteis, guardanapos em matérias têxteis, lenços em matérias têxteis, toalhas de rosto em matérias têxteis, toalhas de banho, colchas de cama, cobertores, mantas de viagem (mantas para o colo), edredões de penas, coberturas de cama e fronhas, cobertores de cama, colchas de cama, cobertas para cobertores, toalhas de mesa, coxins (toalhas de mesa), coxins de louça (sem ser em papel), bases para copos (sem ser em papel), coberturas para coxins, cortinas para chuveiros em matérias têxteis ou plásticas, estojos fabricados especialmente para retretes (fibras), luvas para lavagem, vestuário acabado, vestuário, casacos, jaquetas, calças de ganga, calças, calções, camisas, «tank tops», T-shirt, saias, camisetas, casacos, fatos, vestuário em malha, roupas em couro (vestuário), vestuário em imitação de couro, vestuário em couro, gabardinas, vestuário de penugem, cuecas, roupas interiores, pijamas, roupões de banho, vestuário para crianças, enxoval para bebés, fatos de banho, fatos de desporto, vestuário impermeável, capas para a chuva, fatos de máscara, vestidos de noite, «collants», soutiens, polainas, meias, meias compridas, peúgas, abafos para os pés não aquecidos electricamente, calçado, sandálias, sapatos de desporto, botas, chinelos, chapelaria, chapelaria (para cabeça), faixas para a cabeça (vestuário), luvas (vestuário), abafos para as orelhas (vestuário), xailes, gravatas, cachecóis, toucados, suspensórios para roupas, cintas de vestuário (roupa), cintos, cintos em couro (para vestuário), xailes para senhoras, carpetes, tapetes, esteiras, esteiras para almofadas, tapetes antiderrapantes para casa de banho, capachos de entrada, tapetes para automóveis, tapetes antiderrapantes, tapetes, papel de parede, brinquedos para animais de estimação domésticos, máquinas de jogo, aparelhos de jogo e brinquedos, aparelhos para treino físico, aparelhos para actividade de ginástica, bolas de desporto, bolas para actividade de ginástica, artigos de desporto, decorações para árvores de Natal (com excepção de lâmpadas decorativas e de confeitaria); tudo incluído na classe 35.ª
A marca consiste em:

Marca n.º N/60 396 Classe 3.ª
Requerente: Nowhere Co., Ltd.
Sede: 22-3, Sendagaya 4-chome, Shibuya-ku, Tokyo 151-0051, Japan
Nacionalidade: Japonesa
Actividade: comercial e industrial
Data do pedido: 2011/10/12
Produtos: preparações para branqueamento (para lavagem de roupa); preparações para lavagem de roupa; preparações para limpeza; preparações para polimento; preparações para polir; preparações para desgastar; cosméticos; perfumes; perfumaria; perfumaria (para o ar); misturas de pétalas secas e perfumaria (perfumaria); fragrâncias (perfumaria); óleos essenciais; sabões; preparações para lavagem; dentífricos; champôs; preparados para os cuidados dos cabelos; amaciadores para os cabelos; loções para a pele (cremes para os cuidados das mãos e pés); preparações para os cuidados das unhas; unguentos para lábios; cremes hidratantes para a pele; loções hidratantes para a pele; gel hidratante para a pele; preparações branqueadoras para os cuidados da pele; máscaras faciais e para a pele; bases; tónicos para a pele; máscaras para os olhos; cremes para os olhos; gel para a pele dos olhos; cremes de massagem para a pele.
A marca consiste em:

Marca n.º N/60 397 Classe 9.ª
Requerente: Nowhere Co., Ltd.
Sede: 22-3, Sendagaya 4-chome, Shibuya-ku, Tokyo 151-0051, Japan
Nacionalidade: Japonesa
Actividade: comercial e industrial
Data do pedido: 2011/10/12
Produtos: sacos (estojos) para computadores portáteis ou para computadores «tablet»; aparelhos para armazenamento de dados de memórias flash; equipamentos periféricos para computadores; tapetes de rato; descansos para o pulso para usar conjuntamente com computadores; aparelhos de pesagem; aparelhos de medida; telemóveis; estojos para telemóveis; coberturas para telemóveis; estéreos pessoais; auscultadores; sacos para equipamentos fotográficos; fichas, tomadas e outros contactos (ligações de aparelhos eléctricos); ímanes decorativos; viseiras; óculos; óculos (óptica); lupas (óptica); armações de óculos; estojos para óculos; óculos de sol.
A marca consiste em:

Marca n.º N/60 398 Classe 14.ª
Requerente: Nowhere Co., Ltd.
Sede: 22-3, Sendagaya 4-chome, Shibuya-ku, Tokyo 151-0051, Japan
Nacionalidade: Japonesa
Actividade: comercial e industrial
Data do pedido: 2011/10/12
Produtos: metais preciosos (em estado bruto ou em estado semitransformado); ligas de metais preciosos; joalharia; pedras preciosas; brincos; anéis (joalharia); correntes (joalharia); pulseiras (joalharia); pendentes (joalharia); broches (joalharia); relojoaria; instrumentos cronométricos; relógios de pulso; relógios; guarda-jóias; botões de punho com correntes; molas de gravata (alfinetes de gravata); chaveiros (ornamentos pequenos ou ornamentos de corrente curta); pulseiras de relógios; estojos para relógios (para presentes).
A marca consiste em:

Marca n.º N/60 399 Classe 16.ª
Requerente: Nowhere Co., Ltd.
Sede: 22-3, Sendagaya 4-chome, Shibuya-ku, Tokyo 151-0051, Japan
Nacionalidade: Japonesa
Actividade: comercial e industrial
Data do pedido: 2011/10/12
Produtos: fraldas em papel ou em fibra para animais de estimação; papel; cartão; produtos de cartão; produtos de imprensa; artigos para encadernação; fotografia; papelaria; canetas; canetas de tinta permanente; lápis; adesivos (matérias colantes) para papelaria ou para uso doméstico; materiais para artistas; máquinas de escrever; materiais de instrução ou de ensino (excepto instrumentos); materiais plásticos para embalagem; caracteres de imprensa; clichés (estereótipos); tintas e recargas de tinta; organizadores pessoais; diários; tinteiros; bases para tinteiros; capas para livros de cheque.
A marca consiste em:

Marca n.º N/60 400 Classe 28.ª
Requerente: Nowhere Co., Ltd.
Sede: 22-3, Sendagaya 4-chome, Shibuya-ku, Tokyo 151-0051, Japan
Nacionalidade: Japonesa
Actividade: comercial e industrial
Data do pedido: 2011/10/12
Produtos: brinquedos para animais de estimação domésticos; máquinas de jogo; aparelhos de jogo e brinquedos; aparelhos para treino físico; aparelhos para actividade de ginástica; bolas de desporto; bolas para actividade de ginástica; artigos de desporto; decorações para árvores de Natal (com excepção de lâmpadas decorativas e de confeitaria).
A marca consiste em:

Marca n.º N/60 401 Classe 18.ª
Requerente: Nowhere Co., Ltd.
Sede: 22-3, Sendagaya 4-chome, Shibuya-ku, Tokyo 151-0051, Japan
Nacionalidade: Japonesa
Actividade: comercial e industrial
Data do pedido: 2011/10/12
Produtos: vestuário para animais de estimação; coleiras para animais; coberturas para animais; trelas em couro para animais de estimação; cordas em couro ou em imitação de couro (para animais); coleiras para animais em couro e em imitação de couro; artigos em couro para mastigar para animais; selaria; couro (semitransformado ou em estado bruto); imitação de couro; peles (de animais); baús (bagagens); malas de viagem; sacos de compras; chapéus-de-chuva/sol; sombrinhas; bengalas; malas de couro; malas de mão para produtos cosméticos (vazias); malas de mão; malas a tiracolo; carteiras pequenas; malas de mão sem tira para senhoras; sacos de mão grandes; mochilas de lona; mochilas; sacos escolares; sacos de compras; bengalas para caçador; pastas para documentos; pastas (em couro); pastas em couro ou em imitação de couro; malas de mão (para viagem); malas de mão em forma de envelope para senhoras; sacos de roupas para viagem; carteiras para cartões de crédito (em couro); porta-chaves (em couro); porta-moedas; estojos para cartões; porta-passaportes em couro ou em imitação de couro; carteiras para livros de cheques (em couro); capas para diários em couro ou em imitação de couro; pastas para viagem (em couro ou em imitação de couro); porta-chaves em couro ou em imitação de couro; carteiras; malas; malas de couro; porta-gravatas em couro (vazio); cintos em couro (não para vestuário e adornos); coberturas em peles de animais; adornos em couro para móveis; coxins em couro; tiras em couro; faixas de couro; boldrié de couro; tudo incluído na classe 18.ª
A marca consiste em:

Marca n.º N/60 402 Classe 25.ª
Requerente: Nowhere Co., Ltd.
Sede: 22-3, Sendagaya 4-chome, Shibuya-ku, Tokyo 151-0051, Japan
Nacionalidade: Japonesa
Actividade: comercial e industrial
Data do pedido: 2011/10/12
Produtos: vestuário acabado; vestuário; casacos; jaquetas; calças de ganga; calças; calções; camisas; «tank tops»; T-shirt; saias; camisetas; casacos; fatos; vestuário em malha; roupas em couro (vestuário); vestuário em imitação de couro; vestuário em couro; gabardinas; vestuário de penugem; cuecas; roupas interiores; pijamas; roupões de banho; vestuário para crianças; enxoval para bebés; fatos de banho; fatos de desporto; vestuário impermeável; capas para a chuva; fatos de máscara; vestidos de noite; «collants»; soutiens; polainas; meias; meias compridas; peúgas; abafos para os pés não aquecidos electricamente; calçado; sandálias; sapatos de desporto; botas; chinelos; chapelaria; chapelaria (para cabeça); faixas para a cabeça (vestuário); luvas (vestuário); abafos para as orelhas (vestuário); xailes; gravatas; cachecóis; toucados; suspensórios para roupas; cintas de vestuário (roupa); cintos; cintos em couro (para vestuário e adornos); xailes para senhoras; tudo incluído na classe 25.ª
A marca consiste em:

Marca n.º N/60 403 Classe 35.ª
Requerente: Nowhere Co., Ltd.
Sede: 22-3, Sendagaya 4-chome, Shibuya-ku, Tokyo 151-0051, Japan
Nacionalidade: Japonesa
Actividade: comercial e industrial
Data do pedido: 2011/10/12
Serviços: venda a retalho, por grosso e serviços de encomendas por correio, por telefone, serviços de encomendas, venda a retalho e distribuição pela Internet e computador online; todos os acima referidos relacionados com preparações para branqueamento (para lavagem de roupa), preparações para lavagem de roupa, preparações para limpeza, preparações para polimento, preparações para polir, preparações para desgastar, cosméticos, perfumes, perfumaria, perfumaria (para o ar), misturas de pétalas secas e perfumaria (perfumaria), fragrâncias (perfumaria), óleos essenciais, sabões, preparações para lavagem, dentífricos, champôs, preparados para os cuidados dos cabelos, amaciadores para os cabelos, loções para a pele (cremes para os cuidados das mãos e pés), preparações para os cuidados das unhas, unguentos para lábios, cremes hidratantes para a pele, loções hidratantes para a pele, gel hidratante para a pele, preparações branqueadoras para os cuidados da pele, máscaras faciais e para a pele, bases, tónicos para a pele, máscaras para os olhos, cremes para os olhos, gel para a pele dos olhos, cremes de massagem para a pele, preparações para refrescar o ar, preparações para purificar o ar, preparações para refrescar o ar para o quarto, desodorizantes sem ser para uso pessoal, desinfectantes para fins higiénicos, insecticidas, parasiticidas (para uso humano ou para animais), parasiticidas, fungicidas, coleiras para animais de estimação (metálicas), correntes para animais de estimação (metálicas), sinos para animais de estimação, fivelas e argolas para animais de estimação (sem ser para vestuário), cadeias metálicas para puxar os animais de estimação, ganchos para puxar os animais de estimação, colares para animais (metálicos), etiquetas de identificação metálicas para animais, portas metálicas para animais de estimação, portas móveis metálicas para animais de estimação, metais comuns (em estado bruto ou em estado semitransformado), ligas de metais comuns, serralharia e quinquilharia metálica, tubos metálicos, cofres-fortes, equipamentos periféricos para computador, memórias para computadores, dispositivos para armazenamento de dados de memórias flash, cartões e unidades de memória flash, leitores de cartões (equipamento para o tratamento da informação), rato (equipamento para o tratamento da informação), tapetes de rato, apoios para pulsos para utilização com computadores, revestimentos, sacos, estojos e coberturas adaptadas para computadores notebooks e para computadores «tablet», estojos e coberturas adaptados para telemóveis, correias para telemóvel, sacos e estojos adaptados para equipamentos fotográficos, estéreos pessoais, auscultadores, conectores de adaptadores eléctricos, transformadores (electricidade), ímanes decorativos, viseiras, óculos, óculos (óptica), lupas (óptica), armações de óculos, estojos para óculos, óculos de sol, metais preciosos (em estado bruto ou em estado semitransformado); ligas de metais preciosos, joalharia, pedras preciosas, brincos, anéis (joalharia), correntes (joalharia), pulseiras (joalharia), pendentes (joalharia), broches (joalharia), relojoaria, instrumentos cronométricos, relógios de pulso, relógios, guarda-jóias, botões de punho com correntes, molas de gravata (alfinetes de gravata), chaveiros (ornamentos pequenos ou ornamentos de corrente curta), pulseiras de relógios, estojos para relógios (para presentes), fraldas em papel ou em fibra para animais de estimação, papel, cartão, produtos de cartão, produtos de imprensa, artigos para encadernação, fotografia, papelaria, canetas, canetas de tinta permanente, lápis, adesivos (matérias colantes) para papelaria ou para uso doméstico, materiais para artistas, máquinas de escrever, materiais de instrução ou de ensino (excepto instrumentos), materiais plásticos para embalagem, caracteres de imprensa, clichés (estereótipos), tintas e recargas de tinta, organizadores pessoais, diários, tinteiros, bases para tinteiros, capas para livros de cheque, vestuário para animais de estimação, coleiras para animais, coberturas para animais, trelas em couro para animais de estimação, cordas em couro ou em imitação de couro (para animais), coleiras para animais em couro e em imitação de couro, artigos em couro para mastigar para animais, selaria, couro (semitransformado ou em estado bruto), imitação de couro, peles (de animais), baús (bagagens), malas de viagem, sacos de compras, chapéus-de-chuva/sol, sombrinhas, bengalas, malas de couro, malas de mão para produtos cosméticos (vazias), malas de mão, malas a tiracolo, carteiras pequenas, malas de mão sem tira para senhoras, sacos de mão grandes, mochilas de lona, mochilas, sacos escolares, sacos de compras, bengalas para caçador, pastas para documentos, pastas (em couro), pastas em couro ou em imitação de couro, malas de mão (para viagem), malas de mão em forma de envelope para senhoras, sacos de roupas para viagem, carteiras para cartões de crédito (em couro), porta-chaves (em couro), porta-moedas, estojos para cartões, porta-passaportes em couro ou em imitação de couro, carteiras para livros de cheques (em couro), capas para diários em couro ou em imitação de couro, pastas para viagem (em couro ou em imitação de couro), porta-chaves em couro ou em imitação de couro, carteiras, malas, malas de couro, porta-gravatas em couro (vazio), cintos em couro (não para vestuário e adornos), coberturas em peles de animais, adornos em couro para móveis, coxins em couro, tiras em couro, faixas de couro, boldrié de couro, móveis, caixas não metálicas, espelhos (vidros), molduras, almofadas para animais de estimação, cabides para roupa não metálicos, acessórios não metálicos para móveis, almofadas, travesseiros, almofadas de ar não de uso medicinal, gaiolas para animais de estimação domésticos, caixas (tabuleiros) de palha para animais de estimação, recipientes plásticos para colocar os alimentos e as bebidas para animais de estimação, pentes para animais, recipientes não em metal precioso para uso doméstico ou na cozinha, recipientes para uso doméstico ou na cozinha, pentes, esponjas para uso doméstico, escovas (excepto pincéis), materiais para fabricação de escovas, aparelhos de limpeza (operados manualmente), palha-de-aço para limpeza, vidro em bruto ou semitrabalhado (com excepção do vidro de construção), vidraria de uso diário (incluindo copos, pratos, bules e vasos), louças (com excepção de facas, garfos e colheres), tigelas (bacias), pratos, travessas, vasos, garrafas para condimentos, açucareiros, pratos para manteiga, tabuleiros para uso doméstico, garrafas, garrafas de água, copos, coxins sem ser em papel e em matérias têxteis, lancheiras, recipientes para uso doméstico, utensílios da cozinha, abridores de garrafas, garrafas de vidro (recipientes), caixas de vidro, recipientes para beber, serviços de chá, chaleiras, latas para folhas de chá, serviços de café, cafeteiras não eléctricas, caixas de sabões, dispensadores de sabões, caixas em metal para dispensar os lenços de papel, dispensadores de papel higiénico, utensílios para casa de banho, vasos, caixotes de lixo, molas para as roupas, pulverizadores não de uso medicinal, suportes de velas (candelabros), calçadeiras, incensadores, pentes, escovas, materiais para fabricação de escovas, escovas de dentes, suportes para escovas de dentes, paliteiros, utensílios de maquilhagem, estojos de toilette, esponjas abrasivas para esfregar a pele, pulverizadores de perfume, recipientes com isolamento térmico, recipientes com isolamento térmico para bebidas, moldes para os cubos de gelo, instrumentos de limpeza (operados manualmente), pratinhos para animais de estimação, sacos para lavagem de roupa, porcelana, faiança, tecidos, tecidos têxteis, etiquetas de pano, tapeçarias murais em produtos têxteis, feltro, mantas de lã, toalhas em matérias têxteis, guardanapos em matérias têxteis, lenços em matérias têxteis, toalhas de rosto em matérias têxteis, toalhas de banho, colchas de cama, cobertores, mantas de viagem (mantas para o colo), edredões de penas, coberturas de cama e fronhas, cobertores de cama, colchas de cama, cobertas para cobertores, toalhas de mesa, coxins (toalhas de mesa), coxins de louça (sem ser em papel), bases para copos (sem ser em papel), coberturas para coxins, cortinas para chuveiros em matérias têxteis ou plásticas, estojos fabricados especialmente para retretes (fibras), luvas para lavagem, vestuário acabado, vestuário, casacos, jaquetas, calças de ganga, calças, calções, camisas, «tank tops», T-shirt, saias, camisetas, casacos, fatos, vestuário em malha, roupas em couro (vestuário), vestuário em imitação de couro, vestuário em couro, gabardinas, vestuário de penugem, cuecas, roupas interiores, pijamas, roupões de banho, vestuário para crianças, enxoval para bebés, fatos de banho, fatos de desporto, vestuário impermeável, capas para a chuva, fatos de máscara, vestidos de noite, «collants», soutiens, polainas, meias, meias compridas, peúgas, abafos para os pés não aquecidos electricamente, calçado, sandálias, sapatos de desporto, botas, chinelos, chapelaria, chapelaria (para cabeça), faixas para a cabeça (vestuário), luvas (vestuário), abafos para as orelhas (vestuário), xailes, gravatas, cachecóis, toucados, suspensórios para roupas, cintas de vestuário (roupa), cintos, cintos em couro (para vestuário), xailes para senhoras, carpetes, tapetes, esteiras, esteiras para almofadas, tapetes antiderrapantes para casa de banho, capachos de entrada, tapetes para automóveis, tapetes antiderrapantes, tapetes, papel de parede, brinquedos para animais de estimação domésticos, máquinas de jogo, aparelhos de jogo e brinquedos, aparelhos para treino físico, aparelhos para actividade de ginástica, bolas de desporto, bolas para actividade de ginástica, artigos de desporto, decorações para árvores de Natal (com excepção de lâmpadas decorativas e de confeitaria); tudo incluído na classe 35.ª
A marca consiste em:

Em conformidade com a alínea d) do n.º 1 e n.º 2 do artigo 10.º do RJPI, aprovado pelo Decreto-Lei n.º 97/99/M, de 13 de Dezembro, e de acordo com os artigos 275.º a 277.º do referido diploma, cabe recurso para o Tribunal Judicial de Base dos despachos abaixo mencionados, no prazo de um mês a contar da data desta publicação.
Protecção de marcas
Concessão
| Processo n.º | Data do registo |
Data do despacho |
Nome do titular | País/Território resid. |
Classe |
| N/047407 | 2012/01/06 | 2012/01/06 | DHL International GmbH | DE | 39 |
| N/056061 | 2012/01/06 | 2012/01/06 | 歐其榮 AO KEI WENG |
MO | 30 |
| N/056454 | 2012/01/06 | 2012/01/06 | ALMAS CHP S.A. | CH | 29 |
| N/056455 | 2012/01/06 | 2012/01/06 | ALMAS CHP S.A. | CH | 33 |
| N/056456 | 2012/01/06 | 2012/01/06 | ALMAS CHP S.A. | CH | 35 |
| N/056457 | 2012/01/06 | 2012/01/06 | ALMAS CHP S.A. | CH | 43 |
| N/056697 | 2012/01/06 | 2012/01/06 | InterContinental Hotels Group (Asia Pacific) Pte. Ltd. | SG | 35 |
| N/056698 | 2012/01/06 | 2012/01/06 | InterContinental Hotels Group (Asia Pacific) Pte. Ltd. | SG | 43 |
| N/056699 | 2012/01/06 | 2012/01/06 | InterContinental Hotels Group (Asia Pacific) Pte. Ltd. | SG | 35 |
| N/056700 | 2012/01/06 | 2012/01/06 | InterContinental Hotels Group (Asia Pacific) Pte. Ltd. | SG | 43 |
| N/056890 | 2012/01/06 | 2012/01/06 | JOHNSON & JOHNSON | US | 05 |
| N/056891 | 2012/01/06 | 2012/01/06 | JOHNSON & JOHNSON | US | 05 |
| N/057448 | 2012/01/06 | 2012/01/06 | 卓悅化妝(海外)有限公司 BONJOUR COSMETIC (OVERSEAS) LIMITED |
HK | 05 |
| N/057514 | 2012/01/06 | 2012/01/06 | American International Assurance Company, Limited | HK | 16 |
| N/057546 | 2012/01/06 | 2012/01/06 | Aruze Gaming America, Inc. | US | 09 |
| N/057792 | 2012/01/06 | 2012/01/06 | Watson Enterprises Limited | VG | 03 |
| N/057793 | 2012/01/06 | 2012/01/06 | Watson Enterprises Limited | VG | 05 |
| N/057794 | 2012/01/06 | 2012/01/06 | Watson Enterprises Limited | VG | 10 |
| N/057795 | 2012/01/06 | 2012/01/06 | Watson Enterprises Limited | VG | 25 |
| N/057807 | 2012/01/06 | 2012/01/06 | Novadelta - Comércio e Indústria de Cafés, S.A. | PT | 11 |
| N/057808 | 2012/01/06 | 2012/01/06 | Novadelta - Comércio e Indústria de Cafés, S.A. | PT | 11 |
| N/057809 | 2012/01/06 | 2012/01/06 | Novadelta - Comércio e Indústria de Cafés, S.A. | PT | 30 |
| N/057810 | 2012/01/06 | 2012/01/06 | Novadelta - Comércio e Indústria de Cafés, S.A. | PT | 30 |
| N/057923 | 2012/01/06 | 2012/01/06 | ANNE FONTAINE | FR | 03 |
| N/057924 | 2012/01/06 | 2012/01/06 | ANNE FONTAINE | FR | 18 |
| N/057925 | 2012/01/06 | 2012/01/06 | ANNE FONTAINE | FR | 25 |
| N/057981 | 2012/01/06 | 2012/01/06 | TRUSSARDI S.p.A. | IT | 03 |
| N/057982 | 2012/01/06 | 2012/01/06 | TRUSSARDI S.p.A. | IT | 09 |
| N/057983 | 2012/01/06 | 2012/01/06 | TRUSSARDI S.p.A. | IT | 16 |
| N/057984 | 2012/01/06 | 2012/01/06 | TRUSSARDI S.p.A. | IT | 18 |
| N/057985 | 2012/01/06 | 2012/01/06 | TRUSSARDI S.p.A. | IT | 24 |
| N/057986 | 2012/01/06 | 2012/01/06 | TRUSSARDI S.p.A. | IT | 25 |
| N/057987 | 2012/01/06 | 2012/01/06 | TRUSSARDI S.p.A. | IT | 35 |
| N/057994 | 2012/01/06 | 2012/01/06 | VCE Company LLC | US | 09 |
| N/057995 | 2012/01/06 | 2012/01/06 | VCE Company LLC | US | 16 |
| N/057996 | 2012/01/06 | 2012/01/06 | VCE Company LLC | US | 37 |
| N/057997 | 2012/01/06 | 2012/01/06 | VCE Company LLC | US | 41 |
| N/057998 | 2012/01/06 | 2012/01/06 | VCE Company LLC | US | 42 |
| N/057999 | 2012/01/06 | 2012/01/06 | VCE Company LLC | US | 09 |
| N/058000 | 2012/01/06 | 2012/01/06 | VCE Company LLC | US | 16 |
| N/058001 | 2012/01/06 | 2012/01/06 | VCE Company LLC | US | 37 |
| N/058002 | 2012/01/06 | 2012/01/06 | VCE Company LLC | US | 41 |
| N/058003 | 2012/01/06 | 2012/01/06 | VCE Company LLC | US | 42 |
| N/058036 | 2012/01/06 | 2012/01/06 | Hotel Shilla Co., Ltd. | KR | 35 |
| N/058038 | 2012/01/06 | 2012/01/06 | Hotel Shilla Co., Ltd. | KR | 35 |
| N/058059 | 2012/01/06 | 2012/01/06 | SWEETYET DEVELOPMENT LIMITED | HK | 03 |
| N/058127 | 2012/01/06 | 2012/01/06 | 蘇州東瑞製藥有限公司 Suzhou Dawnrays Pharmaceutical Company Limited |
CN | 05 |
| N/058190 | 2012/01/06 | 2012/01/06 | Astellas Pharma Inc. | JP | 05 |
| N/058212 | 2012/01/06 | 2012/01/06 | Shenzhen BYD Daimler New Technology Co. Ltd. | CN | 07 |
| N/058213 | 2012/01/06 | 2012/01/06 | Shenzhen BYD Daimler New Technology Co. Ltd. | CN | 12 |
| N/058214 | 2012/01/06 | 2012/01/06 | Shenzhen BYD Daimler New Technology Co. Ltd. | CN | 28 |
| N/058215 | 2012/01/06 | 2012/01/06 | Shenzhen BYD Daimler New Technology Co. Ltd. | CN | 36 |
| N/058216 | 2012/01/06 | 2012/01/06 | Shenzhen BYD Daimler New Technology Co. Ltd. | CN | 37 |
| N/058230 | 2012/01/06 | 2012/01/06 | Apple Inc. | US | 09 |
| N/058257 | 2012/01/06 | 2012/01/06 | 新時床具製造廠有限公司 Sun Sea Mattresses Manufacturing Company Limited |
HK | 20 |
| N/058299 | 2012/01/06 | 2012/01/06 | 天元泰和集團有限公司 | MO | 30 |
| N/058300 | 2012/01/06 | 2012/01/06 | PIGEON CORPORATION | JP | 10 |
| N/058339 | 2012/01/06 | 2012/01/06 | 王志芳 Wang Zhifang |
MO | 25 |
| N/058376 | 2012/01/06 | 2012/01/06 | 廖碧梅 LIO PEK MUI |
MO | 42 |
| N/058377 | 2012/01/06 | 2012/01/06 | 中台煙草(集團)有限公司 | MO | 34 |
| N/058378 | 2012/01/06 | 2012/01/06 | 中台煙草(集團)有限公司 | MO | 34 |
| N/058380 | 2012/01/06 | 2012/01/06 | Media Recovery, Inc. | US | 09 |
| N/058382 | 2012/01/06 | 2012/01/06 | 大中華媒體控股有限公司 GREAT CHINA MEDIA HOLDINGS LIMITED |
HK | 16 |
| N/058383 | 2012/01/06 | 2012/01/06 | 大中華媒體控股有限公司 GREAT CHINA MEDIA HOLDINGS LIMITED |
HK | 35 |
| N/058384 | 2012/01/06 | 2012/01/06 | 大中華媒體控股有限公司 GREAT CHINA MEDIA HOLDINGS LIMITED |
HK | 41 |
| N/058385 | 2012/01/06 | 2012/01/06 | 大中華媒體控股有限公司 GREAT CHINA MEDIA HOLDINGS LIMITED |
HK | 16 |
| N/058386 | 2012/01/06 | 2012/01/06 | 大中華媒體控股有限公司 GREAT CHINA MEDIA HOLDINGS LIMITED |
HK | 35 |
| N/058387 | 2012/01/06 | 2012/01/06 | 大中華媒體控股有限公司 GREAT CHINA MEDIA HOLDINGS LIMITED |
HK | 41 |
| N/058392 | 2012/01/06 | 2012/01/06 | Cummins Filtration Inc. | US | 07 |
| N/058401 | 2012/01/06 | 2012/01/06 | LION CORPORATION | JP | 03 |
| N/058402 | 2012/01/06 | 2012/01/06 | LION CORPORATION | JP | 03 |
| N/058413 | 2012/01/06 | 2012/01/06 | Karl Lagerfeld B.V. | NL | 03 |
| N/058414 | 2012/01/06 | 2012/01/06 | Karl Lagerfeld B.V. | NL | 09 |
| N/058415 | 2012/01/06 | 2012/01/06 | Karl Lagerfeld B.V. | NL | 14 |
| N/058416 | 2012/01/06 | 2012/01/06 | Karl Lagerfeld B.V. | NL | 18 |
| N/058417 | 2012/01/06 | 2012/01/06 | Karl Lagerfeld B.V. | NL | 24 |
| N/058418 | 2012/01/06 | 2012/01/06 | Karl Lagerfeld B.V. | NL | 25 |
| N/058419 | 2012/01/06 | 2012/01/06 | Karl Lagerfeld B.V. | NL | 35 |
| N/058420 | 2012/01/06 | 2012/01/06 | Gemological Institute of America, Inc. | US | 09 |
| N/058421 | 2012/01/06 | 2012/01/06 | Gemological Institute of America, Inc. | US | 16 |
| N/058422 | 2012/01/06 | 2012/01/06 | Gemological Institute of America, Inc. | US | 41 |
| N/058423 | 2012/01/06 | 2012/01/06 | Gemological Institute of America, Inc. | US | 42 |
| N/058424 | 2012/01/06 | 2012/01/06 | Gemological Institute of America, Inc. | US | 09 |
| N/058425 | 2012/01/06 | 2012/01/06 | Gemological Institute of America, Inc. | US | 16 |
| N/058426 | 2012/01/06 | 2012/01/06 | Gemological Institute of America, Inc. | US | 41 |
| N/058427 | 2012/01/06 | 2012/01/06 | Gemological Institute of America, Inc. | US | 42 |
| N/058428 | 2012/01/06 | 2012/01/06 | Gemological Institute of America, Inc. | US | 09 |
| N/058429 | 2012/01/06 | 2012/01/06 | Gemological Institute of America, Inc. | US | 16 |
| N/058430 | 2012/01/06 | 2012/01/06 | Gemological Institute of America, Inc. | US | 41 |
| N/058431 | 2012/01/06 | 2012/01/06 | Gemological Institute of America, Inc. | US | 42 |
| N/058432 | 2012/01/06 | 2012/01/06 | Starbucks Corporation | US | 30 |
| N/058433 | 2012/01/06 | 2012/01/06 | 光電智源環保有限公司 Light Resource Environment Co. Limited |
HK | 11 |
| N/058434 | 2012/01/06 | 2012/01/06 | 光電智源環保有限公司 Light Resource Environment Co. Limited |
HK | 11 |
| N/058442 | 2012/01/06 | 2012/01/06 | 皆盛有限公司 ALL POPULAR LIMITED |
VG | 05 |
| N/058443 | 2012/01/06 | 2012/01/06 | 皆盛有限公司 ALL POPULAR LIMITED |
VG | 29 |
| N/058444 | 2012/01/06 | 2012/01/06 | 皆盛有限公司 ALL POPULAR LIMITED |
VG | 30 |
| N/058445 | 2012/01/06 | 2012/01/06 | 皆盛有限公司 ALL POPULAR LIMITED |
VG | 32 |
| N/058446 | 2012/01/06 | 2012/01/06 | 皆盛有限公司 ALL POPULAR LIMITED |
VG | 35 |
| N/058448 | 2012/01/06 | 2012/01/06 | Mirage Resorts, Incorporated | US | 43 |
| N/058449 | 2012/01/06 | 2012/01/06 | 維格餅家股份有限公司 VIGOR KOBO CO., LTD. |
TW | 35 |
| N/058450 | 2012/01/06 | 2012/01/06 | 深圳市億通科技有限公司 SHENZHEN EYCOM TECHNOLOGY CO., LTD. |
CN | 09 |
| N/058451 | 2012/01/06 | 2012/01/06 | 深圳雷柏科技股份有限公司 SHENZHEN RAPOO TECHNOLOGY CO., LTD. |
CN | 09 |
| N/058452 | 2012/01/06 | 2012/01/06 | 廣東省中山食品水產進出口集團有限公司 ZHONGSHAN FOODSTUFFS & AQUATIC IMP. & EXP. GROUP CO., LTD. OF GUANGDONG |
CN | 29 |
| N/058453 | 2012/01/06 | 2012/01/06 | 廣東羅浮宮國際傢具博覽中心有限公司 GUANGDONG LOUVRE INTERNATONAL FURNITURE EXHIBITION CENTER CO., LTD. |
CN | 20 |
| N/058454 | 2012/01/06 | 2012/01/06 | 摩乃科斯集團公司 MONEX GROUP KABUSHIKI KAISHA |
JP | 09 |
| N/058455 | 2012/01/06 | 2012/01/06 | 摩乃科斯集團公司 MONEX GROUP KABUSHIKI KAISHA |
JP | 16 |
| N/058456 | 2012/01/06 | 2012/01/06 | 摩乃科斯集團公司 MONEX GROUP KABUSHIKI KAISHA |
JP | 35 |
| N/058457 | 2012/01/06 | 2012/01/06 | 摩乃科斯集團公司 MONEX GROUP KABUSHIKI KAISHA |
JP | 36 |
| N/058458 | 2012/01/06 | 2012/01/06 | 摩乃科斯集團公司 MONEX GROUP KABUSHIKI KAISHA |
JP | 41 |
| N/058459 | 2012/01/06 | 2012/01/06 | 摩乃科斯集團公司 MONEX GROUP KABUSHIKI KAISHA |
JP | 42 |
| N/058460 | 2012/01/06 | 2012/01/06 | 摩乃科斯集團公司 MONEX GROUP KABUSHIKI KAISHA |
JP | 09 |
| N/058461 | 2012/01/06 | 2012/01/06 | 摩乃科斯集團公司 MONEX GROUP KABUSHIKI KAISHA |
JP | 16 |
| N/058462 | 2012/01/06 | 2012/01/06 | 摩乃科斯集團公司 MONEX GROUP KABUSHIKI KAISHA |
JP | 35 |
| N/058463 | 2012/01/06 | 2012/01/06 | 摩乃科斯集團公司 MONEX GROUP KABUSHIKI KAISHA |
JP | 36 |
| N/058464 | 2012/01/06 | 2012/01/06 | 摩乃科斯集團公司 MONEX GROUP KABUSHIKI KAISHA |
JP | 41 |
| N/058465 | 2012/01/06 | 2012/01/06 | 摩乃科斯集團公司 MONEX GROUP KABUSHIKI KAISHA |
JP | 42 |
| N/058466 | 2012/01/06 | 2012/01/06 | 周婉瑩 Chau Un Ieng |
MO | 18 |
| N/058468 | 2012/01/06 | 2012/01/06 | FANCL CORPORATION | JP | 05 |
| N/058469 | 2012/01/06 | 2012/01/06 | FANCL CORPORATION | JP | 29 |
| N/058470 | 2012/01/06 | 2012/01/06 | FANCL CORPORATION | JP | 30 |
| N/058471 | 2012/01/06 | 2012/01/06 | FANCL CORPORATION | JP | 32 |
| N/058472 | 2012/01/06 | 2012/01/06 | FANCL CORPORATION | JP | 35 |
| N/058473 | 2012/01/06 | 2012/01/06 | FANCL CORPORATION | JP | 43 |
| N/058480 | 2012/01/06 | 2012/01/06 | 山東能源集團有限公司 SHANDONG ENERGY GROUP CO., LTD |
CN | 04 |
| N/058496 | 2012/01/06 | 2012/01/06 | MONCLER S.R.L. | IT | 25 |
| N/058497 | 2012/01/06 | 2012/01/06 | MONCLER S.R.L. | IT | 03 |
| N/058498 | 2012/01/06 | 2012/01/06 | MONCLER S.R.L. | IT | 04 |
| N/058500 | 2012/01/06 | 2012/01/06 | MONCLER S.R.L. | IT | 14 |
| N/058501 | 2012/01/06 | 2012/01/06 | MONCLER S.R.L. | IT | 18 |
| N/058502 | 2012/01/06 | 2012/01/06 | MONCLER S.R.L. | IT | 25 |
| N/058503 | 2012/01/06 | 2012/01/06 | MONCLER S.R.L. | IT | 25 |
| N/058504 | 2012/01/06 | 2012/01/06 | MONCLER S.R.L. | IT | 25 |
| N/058505 | 2012/01/06 | 2012/01/06 | MONCLER S.R.L. | IT | 25 |
| N/058507 | 2012/01/06 | 2012/01/06 | MONCLER S.R.L. | IT | 18 |
| N/058508 | 2012/01/06 | 2012/01/06 | MONCLER S.R.L. | IT | 25 |
| N/058510 | 2012/01/06 | 2012/01/06 | 華裕藥業有限公司 | MO | 05 |
| N/058511 | 2012/01/06 | 2012/01/06 | Kawai Musical Instruments Manufacturing Co., Ltd. | JP | 09 |
| N/058512 | 2012/01/06 | 2012/01/06 | Kawai Musical Instruments Manufacturing Co., Ltd. | JP | 41 |
| N/058516 | 2012/01/06 | 2012/01/06 | Zumtobel AG | AT | 09 |
| N/058517 | 2012/01/06 | 2012/01/06 | Zumtobel AG | AT | 11 |
| N/058518 | 2012/01/06 | 2012/01/06 | Zumtobel AG | AT | 35 |
| N/058519 | 2012/01/06 | 2012/01/06 | Zumtobel AG | AT | 42 |
| N/058520 | 2012/01/06 | 2012/01/06 | Nintendo Co., Ltd. | JP | 09 |
| N/058521 | 2012/01/06 | 2012/01/06 | Nintendo Co., Ltd. | JP | 16 |
| N/058522 | 2012/01/06 | 2012/01/06 | Nintendo Co., Ltd. | JP | 18 |
| N/058523 | 2012/01/06 | 2012/01/06 | Nintendo Co., Ltd. | JP | 25 |
| N/058524 | 2012/01/06 | 2012/01/06 | Nintendo Co., Ltd. | JP | 28 |
| N/058525 | 2012/01/06 | 2012/01/06 | Nintendo Co., Ltd. | JP | 30 |
| N/058526 | 2012/01/06 | 2012/01/06 | Nintendo Co., Ltd. | JP | 32 |
| N/058527 | 2012/01/06 | 2012/01/06 | Nintendo Co., Ltd. | JP | 35 |
| N/058528 | 2012/01/06 | 2012/01/06 | Nintendo Co., Ltd. | JP | 38 |
| N/058529 | 2012/01/06 | 2012/01/06 | Nintendo Co., Ltd. | JP | 41 |
| N/058534 | 2012/01/06 | 2012/01/06 | Takeda Pharmaceutical Company Limited | JP | 05 |
| N/058536 | 2012/01/06 | 2012/01/06 | TONOHATA CO., LTD. | JP | 29 |
| N/058537 | 2012/01/06 | 2012/01/06 | TONOHATA CO., LTD. | JP | 33 |
| N/058538 | 2012/01/06 | 2012/01/06 | TONOHATA CO., LTD. | JP | 29 |
| N/058539 | 2012/01/06 | 2012/01/06 | TONOHATA CO., LTD. | JP | 33 |
| N/058541 | 2012/01/06 | 2012/01/06 | Visa International Service Association | US | 36 |
| N/058542 | 2012/01/06 | 2012/01/06 | Cosway (M) Sdn Bhd | MY | 35 |
| N/058543 | 2012/01/06 | 2012/01/06 | Cosway (M) Sdn Bhd | MY | 35 |
| N/058548 | 2012/01/06 | 2012/01/06 | RHYTHM WATCH CO., LTD. | JP | 14 |
| N/058552 | 2012/01/06 | 2012/01/06 | 徐州天宇廚房用具進出口有限公司 | CN | 21 |
| N/058570 | 2012/01/06 | 2012/01/06 | Harvey Nichols and Company Limited | GB | 14 |
| N/058571 | 2012/01/06 | 2012/01/06 | 夏菲尼高(香港)有限公司 Harvey Nichols (Hong Kong) Limited |
HK | 09 |
| N/058572 | 2012/01/06 | 2012/01/06 | 夏菲尼高(香港)有限公司 Harvey Nichols (Hong Kong) Limited |
HK | 14 |
| N/058573 | 2012/01/06 | 2012/01/06 | 夏菲尼高(香港)有限公司 Harvey Nichols (Hong Kong) Limited |
HK | 18 |
| N/058574 | 2012/01/06 | 2012/01/06 | 夏菲尼高(香港)有限公司 Harvey Nichols (Hong Kong) Limited |
HK | 35 |
| N/058575 | 2012/01/06 | 2012/01/06 | 夏菲尼高(香港)有限公司 Harvey Nichols (Hong Kong) Limited |
HK | 09 |
| N/058576 | 2012/01/06 | 2012/01/06 | 夏菲尼高(香港)有限公司 Harvey Nichols (Hong Kong) Limited |
HK | 14 |
| N/058577 | 2012/01/06 | 2012/01/06 | 夏菲尼高(香港)有限公司 Harvey Nichols (Hong Kong) Limited |
HK | 18 |
| N/058578 | 2012/01/06 | 2012/01/06 | 夏菲尼高(香港)有限公司 Harvey Nichols (Hong Kong) Limited |
HK | 35 |
| N/058579 | 2012/01/06 | 2012/01/06 | 夏菲尼高(香港)有限公司 Harvey Nichols (Hong Kong) Limited |
HK | 09 |
| N/058581 | 2012/01/06 | 2012/01/06 | 夏菲尼高(香港)有限公司 Harvey Nichols (Hong Kong) Limited |
HK | 18 |
| N/058582 | 2012/01/06 | 2012/01/06 | 夏菲尼高(香港)有限公司 Harvey Nichols (Hong Kong) Limited |
HK | 35 |
| N/058583 | 2012/01/06 | 2012/01/06 | 夏菲尼高(香港)有限公司 Harvey Nichols (Hong Kong) Limited |
HK | 09 |
| N/058585 | 2012/01/06 | 2012/01/06 | 夏菲尼高(香港)有限公司 Harvey Nichols (Hong Kong) Limited |
HK | 18 |
| N/058586 | 2012/01/06 | 2012/01/06 | 夏菲尼高(香港)有限公司 Harvey Nichols (Hong Kong) Limited |
HK | 35 |
| N/058587 | 2012/01/06 | 2012/01/06 | 夏菲尼高(香港)有限公司 Harvey Nichols (Hong Kong) Limited |
HK | 09 |
| N/058589 | 2012/01/06 | 2012/01/06 | 夏菲尼高(香港)有限公司 Harvey Nichols (Hong Kong) Limited |
HK | 18 |
| N/058590 | 2012/01/06 | 2012/01/06 | 夏菲尼高(香港)有限公司 Harvey Nichols (Hong Kong) Limited |
PL | 35 |
| N/058591 | 2012/01/06 | 2012/01/06 | 夏菲尼高(香港)有限公司 Harvey Nichols (Hong Kong) Limited |
HK | 09 |
| N/058593 | 2012/01/06 | 2012/01/06 | 夏菲尼高(香港)有限公司 Harvey Nichols (Hong Kong) Limited |
HK | 18 |
| N/058594 | 2012/01/06 | 2012/01/06 | 夏菲尼高(香港)有限公司 Harvey Nichols (Hong Kong) Limited |
HK | 35 |
| N/058595 | 2012/01/06 | 2012/01/06 | 夏菲尼高(香港)有限公司 Harvey Nichols (Hong Kong) Limited |
HK | 09 |
| N/058596 | 2012/01/06 | 2012/01/06 | 夏菲尼高(香港)有限公司 Harvey Nichols (Hong Kong) Limited |
HK | 14 |
| N/058597 | 2012/01/06 | 2012/01/06 | 夏菲尼高(香港)有限公司 Harvey Nichols (Hong Kong) Limited |
HK | 18 |
| N/058598 | 2012/01/06 | 2012/01/06 | 夏菲尼高(香港)有限公司 Harvey Nichols (Hong Kong) Limited |
HK | 35 |
| N/058601 | 2012/01/06 | 2012/01/06 | Philip Morris Brands Sàrl | CH | 34 |
| N/058630 | 2012/01/06 | 2012/01/06 | 上海米頓光學眼鏡有限公司 | CN | 09 |
| N/058637 | 2012/01/06 | 2012/01/06 | 澳門第一煙草(集團)有限公司 | MO | 34 |
| N/058642 | 2012/01/06 | 2012/01/06 | 許家聰 | HK | 05 |
| N/058643 | 2012/01/06 | 2012/01/06 | 卓悅化妝(海外)有限公司 BONJOUR COSMETIC (OVERSEAS) LIMITED |
HK | 03 |
| N/058644 | 2012/01/06 | 2012/01/06 | Hallmark Cards, Incorporated | US | 14 |
| N/058645 | 2012/01/06 | 2012/01/06 | Happy Socks AB | SE | 25 |
| N/058656 | 2012/01/06 | 2012/01/06 | Mediengruppe M. DuMont Schauberg GmbH & Co. KG | DE | 09 |
| N/058657 | 2012/01/06 | 2012/01/06 | Mediengruppe M. DuMont Schauberg GmbH & Co. KG | DE | 16 |
| N/058658 | 2012/01/06 | 2012/01/06 | Mediengruppe M. DuMont Schauberg GmbH & Co. KG | DE | 35 |
| N/058659 | 2012/01/06 | 2012/01/06 | Mediengruppe M. DuMont Schauberg GmbH & Co. KG | DE | 38 |
| N/058660 | 2012/01/06 | 2012/01/06 | Mediengruppe M. DuMont Schauberg GmbH & Co. KG | DE | 39 |
| N/058661 | 2012/01/06 | 2012/01/06 | Mediengruppe M. DuMont Schauberg GmbH & Co. KG | DE | 41 |
| N/058662 | 2012/01/06 | 2012/01/06 | Mediengruppe M. DuMont Schauberg GmbH & Co. KG | DE | 42 |
| N/058674 | 2012/01/06 | 2012/01/06 | 廣東易得電器有限公司 GUANGDONG YIDE ELECTRIC APPLIANCE CO., LTD |
CN | 07 |
| N/058675 | 2012/01/06 | 2012/01/06 | 常州耀春格瑞紡織品有限公司 CHANGZHOU GOLDEN SPRING TEXTILE CO., LTD. |
CN | 24 |
| N/058676 | 2012/01/06 | 2012/01/06 | Crystal Jade Culinary Concepts Holding Pte. Ltd. | SG | 30 |
| N/058677 | 2012/01/06 | 2012/01/06 | Crystal Jade Culinary Concepts Holding Pte. Ltd. | SG | 43 |
| N/058678 | 2012/01/06 | 2012/01/06 | Crystal Jade Culinary Concepts Holding Pte. Ltd. | SG | 30 |
| N/058679 | 2012/01/06 | 2012/01/06 | Crystal Jade Culinary Concepts Holding Pte. Ltd. | SG | 43 |
| N/058680 | 2012/01/06 | 2012/01/06 | Crystal Jade Culinary Concepts Holding Pte. Ltd. | SG | 30 |
| N/058681 | 2012/01/06 | 2012/01/06 | Crystal Jade Culinary Concepts Holding Pte. Ltd. | SG | 43 |
| N/058682 | 2012/01/06 | 2012/01/06 | Crystal Jade Culinary Concepts Holding Pte. Ltd. | SG | 30 |
| N/058683 | 2012/01/06 | 2012/01/06 | Crystal Jade Culinary Concepts Holding Pte. Ltd. | SG | 43 |
| N/058759 | 2012/01/06 | 2012/01/06 | 王清波 Wong Cheng Po |
MO | 34 |
Recusa
| Processo n.º | Data do despacho |
Nome do requerente | País/Território resid. |
Classe | Observações Nos termos do RJPI, aprovado pelo D.L. n.º 97/99/M, de 13 de Dezembro |
| N/051811 | 2012/01/10 | SHUFFLE MASTER, INC. | US | 28 | Alínea e) do n.º 1 do art.º 9.º |
| N/051812 | 2012/01/10 | SHUFFLE MASTER, INC. | US | 41 | Alínea e) do n.º 1 do art.º 9.º |
| N/051813 | 2012/01/10 | SHUFFLE MASTER, INC. | US | 28 | Alínea e) do n.º 1 do art.º 9.º |
| N/051814 | 2012/01/10 | SHUFFLE MASTER, INC. | US | 41 | Alínea e) do n.º 1 do art.º 9.º |
| N/056594 | 2012/01/10 | 蔡文盾 Choi Man Ton |
MO | 5 | Alínea e) do n.º 1 do art.º 9.º |
Recusa de pedidos de registo
| Processo n.º | Data do despacho |
Nome do requerente | País/Território resid. |
Classe | Observações Nos termos do RJPI, aprovado pelo D.L. n.º 97/99/M, de 13 de Dezembro |
| N/057724 | 2011/12/30 | 璩澤中 胡媛媛 |
TW TW |
33 | Alínea f) do n.º 1 do art.º 9.º, conjugados com a alínea d) do n.º 1 do art.º 20.º e art.º 25.º |
| N/057725 | 2011/12/30 | 璩澤中 胡媛媛 |
TW TW |
33 | Alínea f) do n.º 1 do art.º 9.º, conjugados com a alínea d) do n.º 1 do art.º 20.º e art.º 25.º |
Recusa de pedidos
| Processo n.º | Data de apresentação |
Data do despacho |
Natureza de outros actos | Nome do titular/Requerente | Observações Nos termos do RJPI, aprovado pelo D.L. n.º 97/99/M, de 13 de Dezembro |
| N/012510 | 2011/04/07 | 2011/12/30 | Renovação | 瑞梅公司 Remel Inc. |
Alínea d) do n.º 1 do art.º 20.º e o n.º 1 do art.º 57.º |
Renovação
| Processo n.º | Marca n.º | Data da renovação |
Nome do titular | País/Território esid. |
| P/000693 | 632-M | 2012/01/11 | NEWMAN | FR |
| P/000770 | 705-M | 2012/01/11 | NEWMAN | FR |
| P/001125 | 1030-M | 2012/01/03 | ZIMMER, INC. | US |
| P/001153 | 1058-M | 2012/01/11 | NEWMAN | FR |
| P/001154 | 1059-M | 2012/01/11 | NEWMAN | FR |
| P/001155 | 1060-M | 2012/01/11 | NEWMAN | FR |
| P/001156 | 1061-M | 2012/01/11 | NEWMAN | FR |
| P/001157 | 1062-M | 2012/01/11 | NEWMAN | FR |
| P/001489 | 1393-M | 2012/01/11 | PZ Cussons (International) Limited | GB |
| P/001490 | 1394-M | 2012/01/11 | PZ Cussons (International) Limited | GB |
| P/001513 | 1417-M | 2012/01/11 | The Procter & Gamble Co. | US |
| P/001514 | 1418-M | 2012/01/11 | The Procter & Gamble Co. | US |
| P/001535 | 1439-M | 2012/01/11 | The Procter & Gamble Company | US |
| P/001733 | 1637-M | 2012/01/04 | SANYO ELECTRIC Co., LTD. | JP |
| P/001949 | 1852-M | 2012/01/11 | E.R. SQUIBB & SONS, LLC | US |
| P/002065 | 1968-M | 2012/01/11 | HEWLETT-PACKARD DEVELOPMENT COMPANY, L.P. | US |
| P/002066 | 1969-M | 2012/01/11 | HEWLETT-PACKARD DEVELOPMENT COMPANY, L.P. | US |
| P/002083 | 1986-M | 2012/01/11 | E.R. SQUIBB & SONS, LLC | US |
| P/002084 | 1987-M | 2012/01/11 | E.R. SQUIBB & SONS, LLC | US |
| P/002345 | 2241-M | 2012/01/11 | The Gillette Company | US |
| P/002442 | 2338-M | 2012/01/06 | Anheuser-Busch, LLC | US |
| P/002448 | 2344-M | 2012/01/06 | Anheuser-Busch, LLC | US |
| P/002840 | 2736-M | 2012/01/11 | Rust-Oleum Brands Company | US |
| P/002967 | 2862-M | 2011/12/29 | The Timken Company | US |
| P/002968 | 2863-M | 2011/12/29 | The Timken Company | US |
| P/002969 | 2864-M | 2011/12/29 | The Timken Company | US |
| P/002975 | 2870-M | 2012/01/11 | RICHEMONT INTERNATIONAL SA | CH |
| P/002976 | 2871-M | 2012/01/11 | RICHEMONT INTERNATIONAL SA | CH |
| P/002977 | 2872-M | 2012/01/11 | RICHEMONT INTERNATIONAL SA | CH |
| P/002980 | 2875-M | 2012/01/11 | NORITAKE CO., LIMITED | JP |
| P/003058 | 2953-M | 2012/01/11 | BALLY SCHUHFABRIKEN AG | CH |
| P/003059 | 2954-M | 2012/01/11 | BALLY SCHUHFABRIKEN AG | CH |
| P/003060 | 2955-M | 2012/01/11 | BALLY SCHUHFABRIKEN AG | CH |
| P/003144 | 3039-M | 2011/12/29 | KELLOGG COMPANY | US |
| P/003145 | 3040-M | 2011/12/29 | KELLOGG COMPANY | US |
| P/003162 | 3041-M | 2011/12/29 | KELLOGG COMPANY | US |
| P/003163 | 3042-M | 2011/12/29 | KELLOGG COMPANY | US |
| P/003164 | 3043-M | 2011/12/29 | KELLOGG COMPANY | US |
| P/003165 | 3044-M | 2011/12/29 | KELLOGG COMPANY | US |
| P/003166 | 3045-M | 2011/12/29 | KELLOGG COMPANY | US |
| P/003239 | 3118-M | 2012/01/11 | RICHEMONT INTERNATIONAL SA | CH |
| P/003256 | 3135-M | 2012/01/11 | The Gillette Company, uma sociedade organizada e existindo segundo as leis do Estado de Delaware | US |
| P/003446 | 3317-M | 2011/12/29 | LÖWENBRÄU AKTIENGESELLSCHAFT | DE |
| P/003448 | 3319-M | 2011/12/29 | LÖWENBRÄU AKTIENGESELLSCHAFT | DE |
| P/003596 | 3467-M | 2012/01/11 | INTER PARFUMS | FR |
| P/003597 | 3468-M | 2012/01/11 | INTER PARFUMS | FR |
| P/003658 | 3529-M | 2011/12/29 | KAPMAN AB | SE |
| P/003672 | 3543-M | 2011/12/29 | TDK KABUSHIKI KAISHA | JP |
| P/003674 | 3545-M | 2011/12/29 | TDK KABUSHIKI KAISHA | JP |
| P/003853 | 3724-M | 2012/01/10 | LOEWE S.A. | ES |
| P/003854 | 3725-M | 2012/01/10 | LOEWE S.A. | ES |
| P/004974 | 4836-M | 2012/01/04 | 3M Company | US |
| P/004975 | 4837-M | 2012/01/04 | 3M Company | US |
| P/004976 | 4838-M | 2012/01/04 | 3M Company | US |
| P/004977 | 4839-M | 2012/01/04 | 3M Company | US |
| P/004978 | 4840-M | 2012/01/04 | 3M Company | US |
| P/004979 | 4841-M | 2012/01/04 | 3M Company | US |
| P/004980 | 4842-M | 2012/01/04 | 3M Company | US |
| P/006199 | 6024-M | 2012/01/04 | SOCIEDADE DOS VINHOS BORGES, S.A. | PT |
| P/006203 | 6028-M | 2012/01/04 | SOCIEDADE DOS VINHOS BORGES, S.A. | PT |
| P/006204 | 6029-M | 2012/01/04 | SOCIEDADE DOS VINHOS BORGES, S.A. | PT |
| P/006207 | 6032-M | 2012/01/04 | SOCIEDADE DOS VINHOS BORGES, S.A. | PT |
| P/006265 | 6090-M | 2012/01/04 | 3M Company | US |
| P/006275 | 6100-M | 2012/01/04 | 3M Company | US |
| P/006279 | 6104-M | 2012/01/04 | 3M Company | US |
| P/006312 | 6137-M | 2012/01/04 | 3M Company | US |
| P/006352 | 6177-M | 2012/01/11 | DANNEMANN AG | CH |
| P/008097 | 7807-M | 2012/01/11 | Richemont International SA | CH |
| P/008098 | 7808-M | 2012/01/11 | Richemont International SA | CH |
| P/008099 | 7809-M | 2012/01/11 | Richemont International SA | CH |
| P/008100 | 7810-M | 2012/01/11 | Richemont International SA | CH |
| P/008101 | 7811-M | 2012/01/11 | Richemont International SA | CH |
| P/008211 | 7921-M | 2011/12/29 | Candia | FR |
| P/010642 | 10527-M | 2012/01/11 | Parfums Rochas S.A.S. | FR |
| P/012592 | 12466-M | 2012/01/11 | Shuffle Master, Inc. | US |
| P/013197 | 13093-M | 2012/01/10 | ADT Services AG | CH |
| P/013527 | 13444-M | 2011/12/29 | CHAUMET INTERNATIONAL S.A. | FR |
| P/013528 | 13445-M | 2011/12/29 | CHAUMET INTERNATIONAL S.A. | FR |
| P/013529 | 13446-M | 2011/12/29 | CHAUMET INTERNATIONAL S.A. | FR |
| P/013542 | 13457-M | 2011/12/29 | CHAUMET INTERNATIONAL S.A. | FR |
| P/013843 | 13787-M | 2011/12/30 | STRAIGHT ARROW PRODUCTS, INC. | US |
| P/013844 | 13788-M | 2011/12/30 | STRAIGHT ARROW PRODUCTS, INC. | US |
| N/002249 | - | 2011/12/29 | SUMOL+COMPAL MARCAS, S.A. | PT |
| N/002746 | - | 2011/12/29 | FLORENCE FASHIONS (JERSEY) LIMITED | GB |
| N/002810 | - | 2011/12/30 | GILMAR S.p.A. | IT |
| N/002811 | - | 2011/12/30 | GILMAR S.p.A. | IT |
| N/002813 | - | 2011/12/30 | GILMAR S.p.A. | IT |
| N/002814 | - | 2011/12/30 | GILMAR S.p.A. | IT |
| N/002815 | - | 2011/12/30 | Seminvest Investments B.V. | NL |
| N/002816 | - | 2011/12/30 | Seminvest Investments B.V. | NL |
| N/002817 | - | 2011/12/30 | Seminvest Investments B.V. | NL |
| N/002818 | - | 2011/12/30 | Seminvest Investments B.V. | NL |
| N/002819 | - | 2011/12/30 | Seminvest Investments B.V. | NL |
| N/002820 | - | 2011/12/30 | GILMAR S.p.A. | IT |
| N/002821 | - | 2011/12/30 | Seminvest Investments B.V. | NL |
| N/002822 | - | 2011/12/30 | GILMAR S.p.A. | IT |
| N/002823 | - | 2011/12/30 | GILMAR S.p.A. | IT |
| N/002824 | - | 2011/12/30 | GILMAR S.p.A. | IT |
| N/002825 | - | 2011/12/30 | GILMAR S.p.A. | IT |
| N/002826 | - | 2011/12/30 | GILMAR S.p.A. | IT |
| N/002830 | - | 2012/01/10 | ADT Services AG | CH |
| N/002963 | - | 2011/12/29 | The Gillette Company, uma sociedade organizada e existindo segundo as leis do Estado de Delaware | US |
| N/002964 | - | 2011/12/29 | The Gillette Company, uma sociedade organizada e existindo segundo as leis do Estado de Delaware | US |
| N/002965 | - | 2011/12/29 | The Gillette Company, uma sociedade organizada e existindo segundo as leis do Estado de Delaware | US |
| N/003382 | - | 2012/01/04 | 3M Company | US |
| N/003383 | - | 2012/01/04 | 3M Company | US |
| N/003384 | - | 2012/01/04 | 3M Company | US |
| N/003385 | - | 2012/01/04 | 3M Company | US |
| N/003386 | - | 2012/01/04 | 3M Company | US |
| N/003387 | - | 2012/01/04 | 3M Company | US |
| N/003388 | - | 2012/01/04 | 3M Company | US |
| N/003389 | - | 2012/01/04 | 3M Company | US |
| N/003390 | - | 2012/01/04 | 3M Company | US |
| N/003391 | - | 2012/01/04 | 3M Company | US |
| N/003392 | - | 2012/01/04 | 3M Company | US |
| N/003393 | - | 2012/01/04 | 3M Company | US |
| N/003394 | - | 2012/01/04 | 3M Company | US |
| N/003395 | - | 2012/01/04 | 3M Company | US |
| N/003396 | - | 2012/01/04 | 3M Company | US |
| N/003397 | - | 2012/01/04 | 3M Company | US |
| N/003398 | - | 2012/01/04 | 3M Company | US |
| N/003399 | - | 2012/01/04 | 3M Company | US |
| N/003400 | - | 2012/01/04 | 3M Company | US |
| N/003401 | - | 2012/01/04 | 3M Company | US |
| N/003402 | - | 2012/01/04 | 3M Company | US |
| N/003403 | - | 2012/01/04 | 3M Company | US |
| N/003404 | - | 2012/01/04 | 3M Company | US |
| N/003405 | - | 2012/01/04 | 3M Company | US |
| N/003406 | - | 2012/01/04 | 3M Company | US |
| N/003407 | - | 2012/01/04 | 3M Company | US |
| N/003408 | - | 2012/01/04 | 3M Company | US |
| N/003409 | - | 2012/01/04 | 3M Company | US |
| N/003410 | - | 2012/01/04 | 3M Company | US |
| N/003411 | - | 2012/01/04 | 3M Company | US |
| N/003412 | - | 2012/01/04 | 3M Company | US |
| N/003413 | - | 2012/01/04 | 3M Company | US |
| N/003414 | - | 2012/01/04 | 3M Company | US |
| N/003452 | - | 2012/01/06 | Anheuser-Busch, LLC | US |
| N/003454 | - | 2012/01/06 | Anheuser-Busch, LLC | US |
| N/003455 | - | 2012/01/06 | Anheuser-Busch, LLC | US |
| N/003456 | - | 2012/01/06 | Anheuser-Busch, LLC | US |
| N/003460 | - | 2012/01/06 | Anheuser-Busch, LLC | US |
| N/013055 | - | 2011/12/30 | Seminvest Investments B.V. | NL |
| N/013156 | - | 2011/12/30 | SEMINVEST INVESTMENTS B.V. | NL |
| N/013789 | - | 2011/12/30 | 義大利參摩伽公司 CAMOGA S.p.A. |
IT |
| N/014083 | - | 2012/01/03 | ZEBRA CO., LTD. | JP |
| N/014135 | - | 2011/12/29 | APL Limited | US |
| N/014136 | - | 2011/12/29 | APL Limited | US |
| N/014137 | - | 2011/12/29 | APL Limited | US |
| N/014138 | - | 2011/12/29 | APL Limited | US |
| N/014139 | - | 2011/12/29 | APL Limited | US |
| N/014140 | - | 2011/12/29 | APL Limited | US |
| N/014141 | - | 2011/12/29 | APL Limited | US |
| N/014142 | - | 2011/12/29 | APL Limited | US |
| N/014390 | - | 2012/01/04 | 太子龍控股集團有限公司 | CN |
| N/014552 | - | 2011/12/30 | FASHIONTV.COM GmbH | DE |
| N/014641 | - | 2012/01/11 | PZ Cussons (International) Limited | GB |
| N/014642 | - | 2012/01/11 | Hewlett-Packard Development Company L.P. | US |
| N/014643 | - | 2012/01/11 | Hewlett-Packard Development Company L.P. | US |
| N/014644 | - | 2012/01/11 | Hewlett-Packard Development Company L.P. | US |
| N/014645 | - | 2012/01/11 | Hewlett-Packard Development Company L.P. | US |
| N/014646 | - | 2012/01/11 | Hewlett-Packard Development Company L.P. | US |
| N/014647 | - | 2012/01/11 | Hewlett-Packard Development Company L.P. | US |
| N/014648 | - | 2012/01/11 | Hewlett-Packard Development Company L.P. | US |
| N/014649 | - | 2012/01/11 | Hewlett-Packard Development Company L.P. | US |
| N/014654 | - | 2011/12/30 | 上海飛科電器有限公司 SHANGHAI FLYCO ELECTRICAL APPLIANCE CO., LTD. |
CN |
| N/014705 | - | 2012/01/04 | Diageo Brands B.V. | NL |
| N/014706 | - | 2012/01/04 | 西安東盛集團有限公司 | CN |
| N/014707 | - | 2012/01/04 | 山西廣譽遠國藥有限公司 | CN |
| N/014808 | - | 2012/01/04 | 利邦電機工程材料(澳門)有限公司 | MO |
| N/014814 | - | 2012/01/11 | DENSO CORPORATION | JP |
| N/014815 | - | 2012/01/11 | DENSO CORPORATION | JP |
| N/014816 | - | 2012/01/11 | DENSO CORPORATION | JP |
| N/014817 | - | 2012/01/11 | DENSO CORPORATION | JP |
| N/014818 | - | 2012/01/11 | DENSO CORPORATION | JP |
| N/014819 | - | 2012/01/11 | DENSO CORPORATION | JP |
| N/014820 | - | 2012/01/11 | DENSO CORPORATION | JP |
| N/014821 | - | 2012/01/11 | DENSO CORPORATION | JP |
| N/014822 | - | 2012/01/11 | DENSO CORPORATION | JP |
| N/014825 | - | 2011/12/29 | Aktiebolaget SCA Finans | SE |
| N/014951 | - | 2012/01/04 | R & A Bailey & Co | IE |
| N/014976 | - | 2011/12/29 | Fook Lam Moon Restaurant Limited | HK |
| N/014977 | - | 2011/12/29 | Fook Lam Moon Restaurant Limited | HK |
| N/014978 | - | 2011/12/29 | Fook Lam Moon Restaurant Limited | HK |
| N/014979 | - | 2011/12/29 | Fook Lam Moon Restaurant Limited | HK |
| N/014980 | - | 2011/12/29 | Fook Lam Moon Restaurant Limited | HK |
| N/014981 | - | 2011/12/29 | Fook Lam Moon Restaurant Limited | HK |
| N/015272 | - | 2012/01/11 | N.V. SUMATRA TOBACCO TRADING COMPANY | ID |
| N/015289 | - | 2012/01/11 | 深圳市卡爾丹頓服飾股份有限公司 | CN |
| N/015302 | - | 2012/01/11 | 深圳市卡爾丹頓服飾股份有限公司 | CN |
| N/015429 | - | 2012/01/11 | Filpucci S.p.A. | IT |
| N/015430 | - | 2012/01/11 | Filpucci S.p.A. | IT |
| N/015431 | - | 2012/01/11 | Filpucci S.p.A. | IT |
| N/015432 | - | 2012/01/11 | Filpucci S.p.A. | IT |
| N/015433 | - | 2012/01/11 | Filpucci S.p.A. | IT |
| N/015434 | - | 2012/01/11 | Filpucci S.p.A. | IT |
| N/015435 | - | 2012/01/11 | Filpucci S.p.A. | IT |
| N/015436 | - | 2012/01/11 | Filpucci S.p.A. | IT |
| N/015828 | - | 2011/12/29 | InBev Belgium S.A. | BE |
| N/015846 | - | 2012/01/04 | 湖北枝江酒業股份有限公司 | CN |
| N/015901 | - | 2012/01/04 | 陳錦權 CHAN KAM KUEN MICHAEL |
MO |
Averbamento
| Processo n.º | Data do despacho |
Natureza do averbamento |
Requerente/Titular | Conteúdo | |
| P/000700 (639-M) P/000701 (640-M) |
2011/12/29 | Modificação da natureza jurídica do titular | ANHEUSER-BUSCH, INC. | Anheuser-Busch, LLC | |
| P/000700 (639-M) P/000701 (640-M) |
2011/12/29 | Modificação de sede | Anheuser-Busch, LLC | One Busch Place, St. Louis, Missouri 63118, United States of America | |
| P/001059 (964-M) P/001060 (965-M) |
2011/12/29 | Transmissão | THE OHIO MATTRESS COMPANY LICENSING AND COMPONENTS GROUP, uma sociedade organizada e existindo segundo as leis do Estado de Delaware | SEALY TECHNOLOGY LLC, com sede em One Office Parkway, Trinity, North Carolina 27370, U.S.A. | |
| P/001489 (1393-M) P/001490 (1394-M) P/001491 (1395-M) |
2012/01/11 | Modificação de sede | PZ Cussons (International) Limited | Manchester Business Park, 3500 Aviator Way, Manchester, M22 5TG, England | |
| P/002050 (1953-M) P/002054 (1957-M) |
2011/12/29 | Modificação de sede | Van Cleef & Arpels S.A. | Route des Biches 8, Villars-sur--Glâne,Switzerland | |
| P/002065 (1968-M) P/002066 (1969-M) |
2012/01/11 | Modificação de sede | HEWLETT-PACKARD DEVELOPMENT COMPANY, L.P. |
11445 Compaq Center Drive West, Houston, TX 77070, U.S.A. | |
| P/002441 (2337-M) P/002442 (2338-M) P/002443 (2339-M) P/002444 (2340-M) |
P/002445 (2341-M) P/002446 (2342-M) P/002448 (2344-M) P/002457 (2353-M) |
2011/12/29 | Modificação da natureza jurídica do titular | ANHEUSER-BUSCH, INCORPORATED |
Anheuser-Busch, LLC |
| P/003596 (3467-M) P/003597 (3468-M) |
2012/01/11 | Transmissão | JEANNE LANVIN | INTER PARFUMS, com sede em 4, rond point des Champs-Elysées – 75008 Paris, França | |
| P/003853 (3724-M) P/003854 (3725-M) |
2012/01/10 | Modificação de sede | LOEWE S.A. | Calle Goya 4, 28001 Madrid, Spain | |
| P/008211 (7921-M) |
2011/12/29 | Transmissão por fusão | Candia S.A. | Cedilac S.A., com sede em 42 Cours Suchet, Lyon (Rhone), France | |
| 2011/12/29 | Modificação de identidade | Cedilac S.A. | Candia | ||
| 2011/12/29 | Modificação de sede | Candia | 170 bis boulevard du Montparnasse, 75014 Paris, France | ||
| P/009198 (8989-M) P/009199 (8990-M) P/009200 (8991-M) |
2012/01/11 | Transmissão | CLIPSAL INDUSTRIES HONG KONG LIMITED | FULL EXCEL (HONG KONG) LIMITED, com sede em 13th Floor, East Wing, Warwick House, Taikoo Place, 979 King’s Road, Quarry Bay, Hong Kong | |
| P/009201 (8992-M) P/009202 (8993-M) P/009203 (8994-M) |
2012/01/11 | Transmissão | CLIPSAL INDUSTRIES HONG KONG LIMITED | FULL EXCEL (HONG KONG) LIMITED, com sede em 13th Floor, East Wing, Warwick House, Taikoo Place, 979 King’s Road, Quarry Bay, Hong Kong | |
| P/009726 (9575-M) P/009727 (9576-M) |
2011/12/29 | Transmissão | IBERIA, LINEAS AEREAS DE ESPAÑA, S.A. |
IBERÍA, LÍNEAS AÉREAS DE ESPAÑA, SOCIEDAD ANÓNIMA OPERADORA, com sede em Calle Velázquez 130, 28006, Madrid, Espanha | |
| P/010575 (10451-M) |
2012/01/11 | Transmissão | Yokohama Batteries Sdn Bhd | YOKOHAMA INDUSTRIES BERHAD, com sede em Lot 1238, Batu 23, Jalan Kachau, Semenyih-Sg. Lalang, 43500 Semenyih, Selangor, Malaysia | |
| P/011759 (11605-M) P/011760 (11606-M) |
2012/01/11 | Transmissão | Bayerische Motoren Werke Aktiengesellschaft | LAND ROVER, com sede em Banbury Road, Gaydon, Warwick, Warwickshire CV35 0RR, United Kingdom | |
| P/013197 (13093-M) |
2012/01/10 | Modificação de sede | ADT Services AG | Freier Platz 10, 8200 Schaffhausen, Switzerland | |
| P/014375 (14302-M) |
2012/01/11 | Transmissão | Bayerische Motoren Werke Aktiengesellschaft | LAND ROVER, com sede em Banbury Road, Gaydon, Warwick, Warwickshire CV35 0RR, United Kingdom | |
| N/002249 | 2011/12/29 | Transmissão | REFRIGOR S.A. | SUMOL-GESTÃO DE MARCAS, S.A., com sede em Estrada da Portela de Carnaxide 9, Carnaxide, Portugal | |
| 2011/12/29 | Transmissão por fusão | SUMOL-GESTÃO DE MARCAS, S.A. | SUMOLIS-GESTÃO DE MARCAS, S.A., com sede em Estrada da Portela de Carnaxide 9, Carnaxide, Portugal | ||
| 2011/12/29 | Modificação de identidade | SUMOLIS-GESTÃO DE MARCAS, S.A. | SUMOL+COMPAL MARCAS, S.A. | ||
| N/002576 | 2011/12/29 | Modificação de sede | JONES INVESTMENT CO., INC. | 1007 Orange Street, Wilmington Delaware 19801, Estados Unidos da América | |
| N/002578 | 2012/01/04 | Modificação de sede | JONES INVESTMENT CO., INC. | 1007 Orange Street, Wilmington Delaware 19801, Estados Unidos da América | |
| N/002830 | 2012/01/10 | Modificação de sede | ADT Services AG | Freier Platz 10, 8200 Schaffhausen, Switzerland | |
| N/003452 N/003454 N/003455 N/003456 N/003457 N/003460 |
2011/12/29 | Modificação da natureza jurídica do titular | Anheuser-Busch, Incorporated | Anheuser-Busch, LLC | |
| N/004808 N/004809 N/004810 N/004811 N/004812 N/004813 N/004814 |
2012/01/03 | Transmissão | MALO S.p.A. | MALO S.p.A., com sede em 6, Via Gattinella, Campi Bisenzio (Firenze), Italy | |
| N/006795 N/006796 |
2012/01/11 | Transmissão por fusão | Fronsac TM S.A. | Sixty International S.A., com sede em 29, Avenue Monterey, L-2163, Luxembourg | |
| N/006795 N/006796 |
2012/01/11 | Transmissão | Sixty International S.A. | Arabella Pte. Ltd., com sede em 80 Raffles Place, #16-20 UOB Plaza, Singapore 048624 | |
| N/011572 | 2012/01/10 | Modificação de identidade | Shenzhen Maniform Knitwear Co., Ltd. | SHENZHEN HUIJIE GROUP CO., LTD. | |
| 2012/01/10 | Modificação de sede | 深圳匯潔集團股份有限公司 SHENZHEN HUIJIE GROUP CO., LTD. |
23, 24, 25, 26F, Tower A, East Pacific International Center (Phase 1), N.º 7888 Shennan Boulevard, Futian District, Shenzhen, Guangdong, China | ||
| N/014135 N/014136 N/014137 N/014138 |
N/014139 N/014140 N/014141 N/014142 |
2011/12/29 | Modificação de sede | APL Limited | 16220 North Scottsdale Road, Suite 300, Scottsdale, AZ 85254, United States of America |
| N/014390 | 2012/01/04 | Modificação de identidade | 浙江太子龍服飾有限公司 | 浙江太子龍集團有限公司 | |
| 2012/01/04 | Modificação de identidade | 浙江太子龍集團有限公司 | 太子龍控股集團有限公司 | ||
| N/014639 N/014640 N/014641 |
2012/01/11 | Modificação de sede | PZ Cussons (International) Limited | Manchester Business Park, 3500 Aviator Way, Manchester, M22 5TG, England | |
| N/014642 N/014643 N/014644 N/014645 |
N/014646 N/014647 N/014648 N/014649 |
2012/01/11 | Modificação de sede | Hewlett-Packard Development Company L.P. | 11445 Compaq Center Drive West, Houston, TX 77070, U.S.A. |
| N/014808 | 2012/01/04 | Modificação de sede | 利邦電機工程材料(澳門)有限公司 | 澳門青洲河邊馬路1026號美樂花園地下X舖 | |
| N/014825 | 2011/12/29 | Modificação de sede | Aktiebolaget SCA Finans | Box 200, SE-101 23 Stockholm, Sweden | |
| N/015289 N/015302 |
2012/01/11 | Modificação de identidade | 深圳市卡爾丹頓服飾有限公司 | 深圳市卡爾丹頓服飾股份有限公司 | |
| N/015289 N/015302 |
2012/01/11 | Modificação de sede | 深圳市卡爾丹頓服飾股份有限公司 | 中國深圳市羅湖區筍崗東路寶安廣場B座12樓J、K;B棟16J、K;C棟20、21樓I、J房;28樓I房 | |
| N/018158 | 2012/01/04 | Transmissão | 陳大寧 CHAN TAI NENG |
Million Merit (China) Limited, com sede em 28th Floor, Chinachem Century Tower, 178 Gloucester Road, Wan Chai, Hong Kong | |
| N/027298 N/027299 N/027300 N/027301 N/027302 N/027303 N/027304 |
N/027305 N/027306 N/027307 N/027308 N/027309 N/027310 N/027311 |
2012/01/11 | Modificação de sede | 順豐(知識產權)有限公司 SF (IP) Limited |
12/F., San Toi Building, 137-139 Connaught Road Central, Hong Kong |
| N/035090 N/035091 |
2012/01/11 | Transmissão por fusão | Upcoming TM S.A. | Sixty International S.A., com sede em 29, Avenue Monterey, L-2163, Luxembourg | |
| N/035090 N/035091 |
2012/01/11 | Transmissão | Sixty International S.A. | Arabella Pte. Ltd., com sede em 80 Raffles Place, #16-20 UOB Plaza, Singapore 048624 | |
| N/035498 | 2012/01/04 | Transmissão | 中山市奧柏進出口有限公司 | 江門市寶柏紙業有限公司,地址為中國廣東省江門市新會區雙水鎮天亭墟3段10、14、15(前座) | |
| N/037435 N/037449 N/037450 N/037451 N/037452 N/037453 |
N/037454 N/037455 N/037456 N/037457 N/037458 N/037459 |
2012/01/06 | Transmissão | Las Vegas Sands Corp. | VENETIAN MACAU, S.A., VENETIAN MACAU LIMITED, com sede em Estrada da Baía de Nossa Senhora da Esperança, the Venetian Macao Resort Hotel, Executive Offices - L2, Taipa, Macau |
| N/037435 N/037449 N/037450 N/037451 N/037452 N/037453 |
N/037454 N/037455 N/037456 N/037457 N/037458 N/037459 |
2012/01/06 | Licença de exploração | 威尼斯人澳門股份有限公司 VENETIAN MACAU, S.A., VENETIAN MACAU LIMITED |
SCL IP Holdings, LLC |
| N/037435 N/037449 N/037450 N/037451 N/037452 N/037453 |
N/037454 N/037455 N/037456 N/037457 N/037458 N/037459 |
2012/01/06 | Sublicença de exploração | SCL IP Holdings, LLC | Venetian Orient Limited |
| N/041891 N/041892 N/041893 N/041894 |
2012/01/11 | Modificação de sede | 順豐(知識產權)有限公司 SF (IP) Limited |
12/F., San Toi Building, 137-139 Connaught Road Central, Hong Kong | |
| N/042551 | 2012/01/10 | Modificação de identidade | 深圳市曼妮芬針織品有限公司 | SHENZHEN HUIJIE GROUP CO., LTD. | |
| 2012/01/10 | Modificação de sede | 深圳匯潔集團股份有限公司 SHENZHEN HUIJIE GROUP CO., LTD. |
23, 24, 25, 26F, Tower A, East Pacific International Center (Phase 1), N.º 7888 Shennan Boulevard, Futian District, Shenzhen, Guangdong, China | ||
| N/043595 N/043809 N/043810 N/043811 N/043812 N/043813 N/043814 |
2011/12/29 | Modificação de sede | Aktiebolaget SCA Finans | Box 200, SE-101 23 Stockholm, Sweden | |
| N/044545 N/044546 N/044547 N/044548 |
N/044549 N/044550 N/044551 N/044552 |
2012/01/11 | Modificação de identidade | 深圳市卡爾丹頓服飾有限公司 | 深圳市卡爾丹頓服飾股份有限公司 |
| N/044545 N/044546 N/044547 N/044548 |
N/044549 N/044550 N/044551 N/044552 |
2012/01/11 | Modificação de sede | 深圳市卡爾丹頓服飾股份有限公司 | 中國深圳市羅湖區筍崗東路寶安廣場B座12樓J、K;B棟16J、K;C棟20、21樓I、J房;28樓I房 |
| N/045378 N/045379 |
2012/01/11 | Modificação de sede | 順豐(知識產權)有限公司 SF (IP) Limited |
12/F., San Toi Building, 137-139 Connaught Road Central, Hong Kong | |
| N/046169 | 2012/01/11 | Transmissão | 王瑞玲 WEENA SAE-KEE |
Grupo David (Macau) Limitada,地址為澳門南灣大馬路409號中國法律大廈16樓B -21 | |
| N/052470 | 2012/01/04 | Transmissão | 中山市奧柏進出口有限公司 | 江門市寶柏紙業有限公司,地址為中國廣東省江門市新會區雙水鎮天亭墟3段10、14、15(前座) | |
| N/058339 | 2011/12/29 | Transmissão | 王志芳 Wang Zhifang |
雷迪波爾時尚服飾有限公司,地址為中國四川省成都市溫江區成都海峽兩岸科技產業開發園新華路 | |
| N/058433 N/058434 |
2012/01/04 | Modificação de sede | 光電智源環保有限公司 Light Resource Environment Co. Limited |
Flat/RM 1402, 14/F, Grand Millennium Plaza, 181 Queen’s Road Central, Hong Kong | |
| N/059896 N/059897 N/059898 N/059899 |
2012/01/06 | Transmissão | Swire Properties Limited | Swire Pacific Limited, com sede em 33/F., One Pacific Place, 88 Queensway, Hong Kong | |
Decisões por acórdão
| Processo n.º | Data de vigência |
Nome do titular | País/Território resid. |
Classe |
| N/042996 | 2012/01/04 | Alibaba Group Holding Limited | KY | 35 |
| N/042997 | 2012/01/04 | Alibaba Group Holding Limited | KY | 38 |
| N/042998 | 2012/01/04 | Alibaba Group Holding Limited | KY | 41 |
| N/042999 | 2012/01/04 | Alibaba Group Holding Limited | KY | 42 |
Por acórdão de 1 de Dezembro de 2011 do Tribunal de Segunda Instância, que transitou em julgado no dia 4 de Janeiro de 2012, foi concedido provimento ao recurso, revogando-se a decisão recorrida e determinando-se o registo da marca em causa.
Decisões por sentença
| Processo n.º | Data de vigência |
Nome do titular | País/Território resid. |
Classe |
| N/043520 | 2011/10/31 | WYNN RESORTS HOLDINGS, LLC | US | 41 |
Por sentença do Tribunal Judicial de Base de 12 de Outubro de 2011, que transitou em julgado no dia 31 de Outubro de 2011, foi julgado procedente o recurso, revogando-se o despacho que concedeu o registo da marca N/43520.
Renúncia parcial
| Processo n.º | Data do despacho |
Nome do titular | País/Território resid. |
Parte renunciada |
| N/49798 | 2011/12/30 | Zinnia Profit Company Limited | VG | Metais preciosos e suas ligas e artigos em metais preciosos e suas ligas ou em plaqué; artigos de joalharia, pedras preciosas; relógios; relojoaria e instrumentos cronométricos. |
| N/57838 | 2012/01/06 | Chan Hung To | HK | Cervejas. |
Declaração de caducidade
| Processo n.º | Data da caducidade |
Nome do titular | País/Território resid. |
| N/030649 | 2012/01/05 | 尹東風 | CN |
Nos termos da alínea b) do n.º 1 do art.º 231.º e o n.º 5 do art.º 232.º do RJPI, aprovado pelo D.L. n.º 97/99/M, de 13 de Dezembro.
Protecção de Desenhos e Modelos
Publicação
De acordo com os artigos 10.º e 165.º do RJPI, aprovado pelo Decreto-Lei n.º 97/99/M, de 13 de Dezembro, a seguir se publicam os pedidos de registo de desenhos e modelos para a RAEM e a partir da data desta publicação até à data da sua concessão, qualquer terceiro pode apresentar reclamações, em conformidade com o artigo 166.º do mesmo diploma.
Desenho n.º: D/000710
Data de pedido: 2011/01/07
Requerente: COMPANHIA DE ENGENHARIA YATRON, LDA. (YATRON ENGINEERING CO., LTD.)
Nacionalidade: Constituída segundo as leis de Macau
Domicílio/Sede: Mercado da Horta Mitra 34A r/c, Macau
Título: Caixa de electricidade industrial.
Resumo: 1、工業電箱的設計要點:工業電箱的外門四邊採用45度斜角折邊設計(折角無接縫),使液體及塵埃更容易地掉落,以免沉積在箱體上,延長使用壽命。
Classificação: 13 - 03
Criador: 陳超雄
Figura

Desenho n.º: D/000711
Data de pedido: 2011/01/07
Requerente: ANGEL PLAYING CARDS CO., LTD.
Nacionalidade: Japonesa
Domicílio/Sede: 614 Higashi Shiokoji-cho, Shiokoji-Karasuma, Shimogyo-ku, Kyoto 600-8216, Japão
Título: Cartas de jogar.
Resumo: 39 cartas de jogar feitas em rectângulo de papel grosso ou plástico com 63 mm x 89 mm, com um lado (verso) estampado num padrão comum a todas as cartas de cada baralho de modo que se esconda o valor da face e o outro estampado com diversas cores e símbolos que distinguem cada carta das restantes no baralho. Apenas é estampado no canto superior esquerdo da face de cada carta o símbolo correspondente ao naipe e ao centro o valor da carta.
Classificação: 21 - 01
Criador: Yasushi Shigeta
Figura

Desenho n.º: D/000746
Data de pedido: 2011/04/06
Requerente: SO, Yuet Yu
Nacionalidade: Chinesa
Domicílio/Sede: Metropolitan Plaza, 2nd Floors, Hong Kong International Trade & Exhibition Centre, 1 Trademart Drive, Kowloon Bay, Kowloon, Hong Kong
Título: Pendente.
Resumo: as características do desenho para as quais a novidade é reivindicada são a forma, padrão, ornamentação e configuração do artigo conforme mostrado nas representações.
Classificação: 11 - 01
Criador: SO, Yuet Yu
Data de prioridade: 2011/01/24
País/Território de prioridade: Hong Kong, China
Número de prioridade: 1100110.6
Figura

Extensão de Patente de Invenção Concedida
Publicação
De acordo com os artigos 10.º e 129.º a 135.º do RJPI, aprovado pelo Decreto-Lei n.º 97/99/M, de 13 de Dezembro, conjugados com os artigos 4.º e 5.º do «Acordo de Cooperação entre a Direcção Nacional da Propriedade Intelectual e a Direcção dos Serviços de Economia da RAEM na Área dos Direitos de Propriedade Intelectual», a seguir se publica a extensão de patente(s) de invenção concedida(s).
N.º: J/000705
Data de pedido de extensão: 2011/10/13
Data de despacho de extensão: 2012/01/10
Requerente: Bally Gaming, Inc.
Nacionalidade: Americana
Domicílio/Sede: 6601 South Bermuda Road, Las Vegas, NV 89119-7990, U.S.A.
Título: Sistema e método destinados à configuração do conteúdo de jogos e ao sistema de administração.
Resumo: 一種配置和管理系統監控和配置在至少一個遊戲場地上的遊戲系統中的一個或多個遊戲設備。該系統包括:遊戲系統中的一個或多個遊戲設備,其中遊戲設備 通過網絡互連;處理和控制系統;和後端圖形用戶接口。該處理和控制系統通過網絡與遊戲設備互連。此外,該處理和控制系統從遊戲系統中的遊戲設備獲取遊戲成績數據。後端圖形 用戶接口包括遊戲場地的交互地圖。此外,圖形用戶接口能監控和配置遊戲場地上的每個遊戲設備的多個遊戲平臺功能,多個遊戲標題和多個遊戲參數,並與處理和控制系統互連。
Data de pedido nacional: 2006/09/08
Número de patente nacional: ZL200680041833.6
Data de publicação nacional: 2008/11/26
Data de anúncio nacional: 2011/09/14
Número de anúncio nacional: CN 101312772B
Classificação: A63F9/24
| Inventor: | 詹姆士.W.莫諾 |
| 卡門.迪米切利 | |
| 保羅.蘭德爾.奧斯古德 |
Data de prioridade: 2005/09/12
País/Território de prioridade: Estados Unidos da América
Número de prioridade: 11/225,770
Figura

N.º: J/000707
Data de pedido de extensão: 2011/10/17
Data de despacho de extensão: 2012/01/10
Requerente: ARRAY BIOPHARMA INC.
Nacionalidade: Americana
Domicílio/Sede: 3200 Walnut Street, Boulder, CO 80301, U.S.A.
Título: Inibidores de «kinase» e seus métodos de utilização.
Resumo: 式(I)化合物及其藥學上可接受的鹽和前藥可用於治療和預防由激酶介導的各種疾病。
Data de pedido nacional: 2007/01/26
Número de patente nacional: ZL200780012019.6
Data de publicação nacional: 2009/04/22
Data de anúncio nacional: 2011/08/24
Número de anúncio nacional: CN 101415685B
Classificação: C07D231/40, C07D231/56, A61K31/416, A61P29/00
| Inventor: | R.格羅尼貝格 |
| L.E.伯吉斯 | |
| D.哈維 | |
| E.萊爾德 | |
| M.芒森 | |
| J.里齊 | |
| M.羅德里古茲 | |
| C.T.厄利 | |
| D.沃森 |
Data de prioridade: 2006/01/31
País/Território de prioridade: Estados Unidos da América
Número de prioridade: 60/763,712
Figura

N.º: J/000708
Data de pedido de extensão: 2011/10/18
Data de despacho de extensão: 2012/01/10
Requerente: ASTRAZENECA UK LIMITED
Nacionalidade: Inglesa
Domicílio/Sede: 15 Stanhope Gate, London, Greater London W1K 1LN, United Kingdom
Título: Métodos para preparação de «rosuvastatin» e intermediários.
Resumo: 本文描述了一種通過立體選擇性醛醇反應來製備式(V)化合物的方法,所述化合物可用於製備羅蘇伐他汀。本文還描述了製備它們的新中間體和方法。
Data de pedido nacional: 2006/07/03
Número de patente nacional: ZL200680024717.3
Data de publicação nacional: 2008/07/09
Data de anúncio nacional: 2011/08/03
Número de anúncio nacional: CN 101218210B
Classificação: C07D239/42, C07D239/36, C07D239/30
| Inventor: | M.巴特斯 |
| D.K.科克斯 | |
| J.N.克拉布 | |
| S.R.倫格 | |
| P.M.默里 | |
| E.W.斯納佩 |
Data de prioridade: 2005/07/08
País/Território de prioridade: Reino Unido
Número de prioridade: 0514078.5
Figura

N.º: J/000709
Data de pedido de extensão: 2011/10/18
Data de despacho de extensão: 2012/01/10
Requerente: HIGH POINT PHARMACEUTICALS, LLC
Nacionalidade: Americana
Domicílio/Sede: 4170 Mendenhall Oaks Parkway, High Point, North Carolina 27265, U.S.A.
Título: «Benzothiazoles» com a actividade de receptor de «histamine H3».
Resumo: 某些新穎的苯并噻唑類和苯并噁唑類,例如2-(哌嗪-1-基)苯并噻唑類和2-(哌嗪-1-基)苯并噁唑類,其任選在哌嗪環上的3和/或4位上被取 代,具有組胺H3拮抗活性,這些化合物可以用於藥物組合物。
Data de pedido nacional: 2007/03/22
Número de patente nacional: ZL200780010971.2
Data de publicação nacional: 2009/04/15
Data de anúncio nacional: 2011/08/24
Número de anúncio nacional: CN 101410385B
Classificação: C07D277/82, C07D471/04, C07D413/04, A61K31/496, A61K31/4985, A61P25/00, A61P9/00, C07D263/58, C07D417/04, C07D417/06
| Inventor: | F.Z.德爾瓦爾德 |
| K.E.安德森 | |
| R.霍爾維戈 | |
| I.T.克里斯藤森 | |
| J.M.蘭德貝克 |
Data de prioridade: 2006/03/28
País/Território de prioridade: União Europeia
Número de prioridade: 06111820.4
Data de prioridade: 2006/03/30
País/Território de prioridade: Estados Unidos da América
Número de prioridade: 60/787,478
Data de prioridade: 2006/04/10
País/Território de prioridade: União Europeia
Número de prioridade: 06112425.1
Data de prioridade: 2006/04/21
País/Território de prioridade: Estados Unidos da América
Número de prioridade: 60/794,288
Data de prioridade: 2006/12/24
País/Território de prioridade: União Europeia
Número de prioridade: 06026875.2
Data de prioridade: 2007/02/26
País/Território de prioridade: Estados Unidos da América
Número de prioridade: 60/903,503
N.º: J/000710
Data de pedido de extensão: 2011/10/21
Data de despacho de extensão: 2012/01/10
Requerente: FEENEY, INC.
Nacionalidade: Americana
Domicílio/Sede: 2603, Union Street Oakland, CA, 94607-2420, United States of America
Título: Dispositivo de fixação de cabos com mola e auto-travamento.
Resumo: 本發明的實施例為一種線纜夾持裝置,包括:外殼,其具有一部分錐形的通路;兩個鋸齒狀半夾爪;隔離件;彈簧;保持夾;以及蓋。該裝置是彈簧加載且自 鎖的,用以夾持並固定線纜。所述鋸齒狀半夾爪以及彈簧將線纜鎖定在合適位置,且只允許線纜在一個方向上運動。所述蓋放置在所述裝置的一端處,以防止積累污物和濕氣,從而使 線纜的腐蝕最小化。
Data de pedido nacional: 2004/10/01
Número de patente nacional: ZL200810184109.X
Data de publicação nacional: 2009/05/06
Data de anúncio nacional: 2011/08/03
Número de anúncio nacional: CN 101424311B
Classificação: F16G11/00
Inventor: 安德魯.G.托伊米
Data de prioridade: 2003/10/03
País/Território de prioridade: Estados Unidos da América
Número de prioridade: 60/508,254
Figura

N.º: J/000711
Data de pedido de extensão: 2011/10/21
Data de despacho de extensão: 2012/01/10
Requerente: Andrx Pharmaceuticals, LLC
Nacionalidade: Americana
Domicílio/Sede: 2945 West Corporate Lakes Blvd, Weston, FL 33331, United States of America
Título: Preparação de desintegração rápida.
Resumo: 本發明涉及一種快速崩解口服給藥製劑,其包含一種不溶於水或微溶於水的神經學藥物,以及製備該快速崩解製劑的方法,其中所述製劑被設計成在患者的口 腔中溶解。
Data de pedido nacional: 2004/10/06
Número de patente nacional: ZL200480029351.X
Data de publicação nacional: 2006/11/15
Data de anúncio nacional: 2011/08/03
Número de anúncio nacional: CN 1863517B
Classificação: A61K9/20
| Inventor: | XIE, Jianbo |
| ZHANG, Guohua | |
| CHENG, Xiu, Xiu | |
| CARTER, Roger |
Data de prioridade: 2003/10/07
País/Território de prioridade: Estados Unidos da América
Número de prioridade: 60/509,327
N.º: J/000713
Data de pedido de extensão: 2011/10/25
Data de despacho de extensão: 2012/01/10
Requerente: IGU TRUST
Nacionalidade: Neozelandesa
Domicílio/Sede: 66 Bengal Drive, Christchurch, New Zealand
Título: Dispositivo para atrair os insectos.
Resumo: 本發明涉及一種用於吸引昆蟲的裝置,其中提供用於散發器(21)的容納裝置(20),所述散發器釋放出至少一種引誘劑。所述容納裝置安置在封閉的空 心體(44)上,所述空心體在某處具有開口。通過該開口處,所述空心體可套在熱源上,並且同時所述熱源作為空心體的支架。借助於用於散發器的容納裝置,可使已知的用於捕捉 蒼蠅的裝置轉變為用於捕捉蚊子的裝置。
Data de pedido nacional: 2006/08/03
Número de patente nacional: ZL200680028804.6
Data de publicação nacional: 2008/08/06
Data de anúncio nacional: 2011/08/10
Número de anúncio nacional: CN 101237769B
Classificação: A01M1/02, A01M1/14
| Inventor: | Bert ENGELBRECHT |
| Jorg ENGELBRECHT |
Data de prioridade: 2005/08/11
País/Território de prioridade: União Europeia
Número de prioridade: 05017446.5
Figura

N.º: J/000714
Data de pedido de extensão: 2011/10/26
Data de despacho de extensão: 2012/01/10
Requerente: WOODSTREAM CORPORATION
Nacionalidade: Americana
Domicílio/Sede: 69 N. Locust Street, Lititz, PA 17543-0327, U.S.A.
Título: Dispositivo para captura dos insectos voadores e sistema para captura dos insectos voadores.
Resumo: 本發明公開了一種捕捉飛行昆蟲的裝置和應用這種裝置的一種系統。所述裝置包括支撐框架,其中,相關的可燃燒燃料供應裝置連接到具有風扇的燃燒裝置上 ,所述燃燒裝置可操作地產生含有吸引飛行昆蟲的二氧化碳的排出氣體。昆蟲通過抽吸被吸入框架上的捕捉室中,並在那裡被收集和/或捕殺。所述裝置還包括根據受環境和其他因素 影響的昆蟲活動來調節燃料流量和風扇速度的各種傳感器。
Data de pedido nacional: 2007/06/14
Número de patente nacional: ZL200780029874.8
Data de publicação nacional: 2010/02/24
Data de anúncio nacional: 2011/08/03
Número de anúncio nacional: CN 101657091B
Classificação: A01M1/02, A01M1/10
Inventor: 埃瑪.阿梅莉亞.杜蘭德
Data de prioridade: 2007/06/14
País/Território de prioridade: Estados Unidos da América
Número de prioridade: PCT/US2007/013867
Figura

Protecção de Patentes de Invenção
Publicação
De acordo com os artigos 10.º e 83.º do RJPI, aprovado pelo Decreto-Lei n.º 97/99/M, de 13 de Dezembro, a seguir se publicam os pedidos de registo de patentes de invenção para a RAEM e a partir da data desta publicação até à data da atribuição da patente, qualquer terceiro pode apresentar reclamações, em conformidade com o artigo 84.º do mesmo diploma.
Patente de invenção n.º: I/001076
Data de pedido: 2010/12/15
Requerente: BALLY GAMING, INC.
Nacionalidade: Americana
Domicílio/Sede: 6601 South Bermuda Road, Las Vegas, Nevada 89119, U.S.A.
Título: Equipamento, método e artigo para avaliação do montão de objectos na imagem.
Resumo: 一種物體評價系統,可確定對於出現在像素化彩色圖像中的物體堆的值。為了確定所述物體堆的值,所述評價系統預處理所述像素化彩色圖像的至少一部分以 產生一組雙色輪廓數據,處理所述雙色輪廓數據以識別所述堆(如果有的話)的頂部和底部的位置,並且,對於所述堆中物體的每一個,基於所識別的所述堆的頂部和底部的位置,從 對應於每一個物體的所述像素化彩色圖像中定位相應的一組彩色像素。然後,基於所述物體的相應的一組彩色像素,將所述堆中物體的每一個分類為顏色類別,並且,基於所述顏色類 別和值之間的已知對應關係,確定所述物體的值。通過對所述堆中物體的每一個的所確定的值求和,確定所述堆的累積值。
Classificação: G06K9/00
| Inventor: | RAJARAMAN, Arun |
| ARBOGAST, Christopher P. |
Data de prioridade: 2010/06/22
País/Território de prioridade: Estados Unidos da América
Número de prioridade: 12/820,885
Figura

Patente de invenção n.º: I/001095
Data de pedido: 2011/06/24
Requerente: Omarco Network Solutions Limited
Nacionalidade: Ilha de Man
Domicílio/Sede: First Floor, Millennium House, Victoria Road, Douglas, Isle of Man, British Isles
Título: Melhoramento de segurança destinado aos substratos flexíveis.
Resumo: 本發明描述一種使用數據處理終端的低成本印刷裝置產生有價證券中的光學安全要素的方法。所述方法包括:提供具有預印刷墨水部分的柔性襯底;其中以不 提供所述安全要素的光學安全功能的未暴露狀態提供所述預印刷墨水部分;配置可變激光照射裝置以確定未暴露的所述預印刷墨水部分的待以機器控制方式暴露於激光輻射部分;以及 以所述機器控制方式將未暴露的所述預印刷墨水部分暴露於激光輻射以從所述預印刷墨水部分產生預界定圖案,其中所述圖案的光學特性提供所述光學安全要素。
Classificação: B41M3/14
Inventor: Ralph Mahmoud OMAR
Data de prioridade: 2010/06/25
País/Território de prioridade: Reino Unido
Número de prioridade: 1010735.7
Data de prioridade: 2010/08/26
País/Território de prioridade: Reino Unido
Número de prioridade: 1014254.5
Data de prioridade: 2010/12/06
País/Território de prioridade: Reino Unido
Número de prioridade: 1020604.3
Figura

Patente de invenção n.º: I/001096
Data de pedido: 2011/07/12
Requerente: System Integration Technology Korea Co., Ltd.
Nacionalidade: Sul-Coreana
Domicílio/Sede: 4-417A, RFID/USN Center, 11-13 Songdo-dong, Yeonsu-gu, Incheon 406-840, Republic of Korea
Título: Leitor RFID destinado à bandeja de fichas de casino.
Resumo: 本發明涉及用於娛樂場籌碼盤中的無線射頻閱讀器,包括:一個可容納嵌入無線射頻標籤的娛樂場籌碼的娛樂場籌碼盤;一個上側有開口以放置娛樂場籌碼盤 的外殼;一根安置在所述外殼周圍和底部的無線射頻天線;以及一個連接至無線射頻天線的無線射頻閱讀器。
Classificação: G06K7/08
Inventor: LEE, Sung Won
Data de prioridade: 2010/07/12
País/Território de prioridade: Coreia do Sul
Número de prioridade: 10-2010-0067016
Figura

Patente de invenção n.º: I/001103
Data de pedido: 2011/07/22
Requerente: System Integration Technology Korea Co., Ltd.
Nacionalidade: Sul-Coreana
Domicílio/Sede: 4-417A, RFID/USN Center, 11-13 Songdo-dong, Yeonsu-gu, Incheon 406-840, Republic of Korea
Título: Sistema de troca das fichas de casino e sua caixa incluída.
Resumo: 賭場籌碼兌換系統,其中包括一防偽探測計算器被配置用作計算由一賭場內部人員插入的貨幣總額和探測是否存在假幣;一貨幣儲存部件被配置用作儲存通過 防偽探測計算器後的貨幣;配置在一張賭檯上的一個籌碼識別部件;一個籌碼識別裝置被配置用作點算及計算放置在籌碼識別部件上的多個籌碼的總和,及探測偽造賭場籌碼的存在; 與防偽探測計算器及籌碼識別裝置連接的一個控制裝置,被配置用作檢查由防偽探測計算器所計算出的一總金額是否與由賭場籌碼識別裝置所計算出的一總金額相符;及與控制裝置連 接的一個輸出裝置。
Classificação: B65H9/00, G07D7/00
Inventor: LEE, Sung Won
Data de prioridade: 2010/07/23
País/Território de prioridade: Coreia do Sul
Número de prioridade: 10-2010-0071576
Figura

Patente de invenção n.º: I/001104
Data de pedido: 2011/07/28
Requerente: Ainsworth Game Technology Limited
Nacionalidade: Australiana
Domicílio/Sede: 10 Holker Street, Newington, New South Wales, 2127, Australia
Título: Sistema e método destinados à protecção dos dados.
Resumo: 本文描述的是用於數據保護的系統和方法。概括地說,本系統和方法主要適合在規定軟件圖像的情況中提供數據保護,從而限制了在承載軟件圖像的載體介質 的圖像區或軟件圖像中嵌入唯一標識符的能力。概括地說,根據一個實施例,一種數據保護方法包括識別表示待保護的軟件要素的軟件要素參數的數據。例如,這可以包括或基於軟件 要素圖像或載體介質圖像區的散列。該方法另外包括識別表示被授權承載軟件要素的載體介質的載體介質參數的數據。例如,這可以是嵌入在載體介質的非圖像區中的唯一標識符。然 後,基於預定義的協議定義驗證令牌,該驗證令牌是軟件要素參數和載體介質參數的函數。該驗證令牌被寫入到載體介質的非圖像區。被配置為執行軟件要素的裝置在允許執行軟件要 素之前使用相同的預定義的協議來檢驗驗證令牌。如果軟件要素被複製到另一載體介質,則將針對複製的軟件不檢驗驗證令牌,從而約束複製的軟件要素的執行。
Classificação: G06F21/24
| Inventor: | Erdal Eskin |
| Bahee Ganasundrram | |
| Waruna Manchanayake |
Data de prioridade: 2010/07/29
País/Território de prioridade: Austrália
Número de prioridade: 2010903380
Data de prioridade: 2010/10/11
País/Território de prioridade: Austrália
Número de prioridade: 2010904533
Figura

Protecção de Patentes de Utilidade
Em conformidade com a alínea d) do n.º 1 e n.º 2 do artigo 10.º do RJPI, aprovado pelo Decreto-Lei n.º 97/99/M, de 13 de Dezembro e de acordo com os artigos 275.º a 277.º do referido diploma, cabe recurso para o Tribunal Judicial de Base dos despachos abaixo mencionados, no prazo de um mês a contar da data desta publicação.
Recusa
| Processo n.º | Data do despacho |
Nome do requerente |
País/Território resid. |
Observações Nos termos do RJPI, aprovado pelo D.L. n.º 97/99/M, de 13 de Dezembro |
| U/000067 | 2012/01/05 | 周志堅 | CN | Art.º 124.º, conjugado com o art.º 98.º, a alínea a) do n.º 1 do art.º 9.º e art.º 61.º |
Rectificações
A pedido dos requerentes/titulares respectivos, rectifica-se o seguinte:
| Processo n.º | Item da rectificação |
Onde se lê | Deve ler-se |
| N/58447 | Lista de serviços (B.O. da RAEM n.º 44, II Série, de 3 de Novembro de 2011) |
...... ; eventos de entretenimento; exploração de casinos; ...... ; organização e fornecimento de instalações para eventos especiais apresentando casino, concursos e torneios de jogos a dinheiro; ...... ; serviços de reserva de bilhetes de teatro; ...... , fornecimento de instalações para a prática de ginástica («fitness») e de exercícios, apresentando piscinas e instalações para banho e duche; fornecimento de informação via internet no sector de jogos a dinheiro; serviços de anfiteatro. | ...... ; eventos desportivos; serviços de entretenimento; exploração de casinos; ...... ; organização e fornecimento de instalações para eventos especiais incluindo competições e torneios de jogo e casino; ...... ; reserva de bilhetes de teatro; ...... , fornecimento de instalações para a prática de ginástica e exercício físico, com piscinas e instalações de banho e duche; fornecimento de informação via internet no sector de jogo e entretenimento; serviços de arena. |
| N/58499 N/58506 |
Lista de produtos (B.O. da RAEM n.º 44, II Série, de 3 de Novembro de 2011) |
...... , discos acústicos, discos vídeos gravados, gravadores de vídeos, jogos adaptados para uso com receptores de televisão, ...... leitores portáveis de música de discos compactos; cassetes de áudio, ...... | ...... , discos acústicos, suportes de discos acústicos, rádios, aparelhos de televisão, discos vídeos gravados, fitas vídeos gravadas, gravadores de vídeos, jogos adaptados para uso com receptores de televisão, ...... , leitores portáteis de música de discos compactos; estojos para leitores portáteis de música; cassetes de áudio, ...... |
| N/59797 | Lista de produtos (B.O. da RAEM n.º 51, II Série, de 21 de Dezembro de 2011) |
...... ; tapetes antiderrapantes para banheiras e bases de duche em (ou parcialmente em) cerâmica, resina, acrílico ou fibra de vidro ...... | ......; banheiras e bases de duche em (ou parcialmente em) cerâmica, resina, acrílico ou fibra de vidro ...... |
| N/59798 | Lista de produtos (B.O. da RAEM n.º 51, II Série, de 21 de Dezembro de 2011) |
Mosaicos para pavimentos (não metálicos); mosaicos para revestimentos (não metálicos); …… | Telhas para pavimentos (não metálicos); telhas para revestimentos (não metálicos); …… |
| N/59799 N/59801 |
Lista de serviços (B.O. da RAEM n.º 51, II Série, de 21 de Dezembro de 2011) |
Consultadoria de aplicação de produtos de mosaicos; …… | Consultadoria de aplicação de produtos de telhas; …… |
Direcção dos Serviços de Economia, aos 13 de Janeiro de 2012.
O Director dos Serviços, substituto, Tai Kin Ip.



