²Ä 3 ´Á
°Ó¼Ð¤§«OÅ@
¤G¹s¤@¤»¦~¤@¤ë¤G¤Q¤é¡A¬P´Á¤T
¸gÀÙ§½
³q§i
°Ó¼Ð¤§«OÅ@
N/100738 ... N/106132 - N/106133 ... N/106558
[210] ½s¸¹ : N/106133
[220] ¥Ó½Ð¤é : 2015/11/17
[730] ¥Ó½Ð¤H : Àd±ÓªN
¦a§} : ¿Dªù¸ôÀô²î¤Hµóx6¸¹
°êÄy : ¤¤°ê
¬¡°Ê : °Ó·~
[511] Ãþ§O : 9
[511] ²£«~ : ¬ì¾Ç¡A¯è®ü¡A´ú¶q¡AÄá¼v¡A¹q¼v¡A¥ú¾Ç¡A¿Å¨ã¡A¶q¨ã¡A«H¸¹¡AÀËÅç¡]ºÊ·þ¡^¡A±ÏÅ@¡]Àç±Ï¡^©M±Ð¾Ç¥Î¨ã¤Î»ö¾¹¡A³B²z¡A¶}Ãö¡A¶Ç°e¡A¿n²Ö¡A½Õ¸`©Î±±¨î¹qªº»ö¾¹©M¾¹¨ã¡A¿ý»s¡A³q°T¡A«©ñÁnµ©M§Î¶Hªº¾¹¨ã¡AºÏ©Ê¼Æ¾Ú¸üÅé¡A¿ýµ½L¡A¦Û°Ê°â³f¾¹©M§ë¹ô啓°Ê¸Ë¸mªº¾÷±ñµ²ºc¡A²{ª÷°O¿ý¾÷¡Apºâ¾¹¡A¼Æ¾Ú³B²z¸Ë¸m©Mpºâ¾÷¡A·À¤õ¾¹±ñ¡C
[540] °Ó¼Ð :

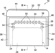
[591] °Ó¼ÐÃC¦â : ¬õ¦â¡A¾í¦â¡A©@°Ø¦â¡A«C¦â¡A¦×¦â¡A¦p¹Ï©Ò¥Ü¡C
[210] ½s¸¹ : N/106134
[220] ¥Ó½Ð¤é : 2015/11/17
[730] ¥Ó½Ð¤H : Àd±ÓªN
¦a§} : ¿Dªù¸ôÀô²î¤Hµóx6¸¹
°êÄy : ¤¤°ê
¬¡°Ê : °Ó·~
[511] Ãþ§O : 16
[511] ²£«~ : ¤£ÄݧOÃþªº¯È¡A¯ÈªO¤Î¨ä»s«~¡A¦L¨ê«~¡A¸Ëq¥Î«~¡A·Ó¤ù¡A¤å¨ã¥Î«~¡A·Ó¤ù¡A¤å¨ã¥Î«~¡A¤å¨ã©Î®a®x¥ÎÂH¦X¾¯¡A¬ü³N¥Î«~¡Aµeµ§¡A¥´¦r¾÷©M¿ì¤½«Ç¥Î«~¡]³ÃѰ£¥~¡^¡A±Ð¨|©Î±Ð¾Ç¥Î«~¡]»ö¾¹°£¥~¡^¡A¥]¸Ë¥Î¶ì®Æª««~¡]¤£ÄݧOÃþªº¡^¡A¦L¨ê¹]¦r¡A¦Lª©¡C
[540] °Ó¼Ð :

[591] °Ó¼ÐÃC¦â : ¬õ¦â¡A¾í¦â¡A©@°Ø¦â¡A«C¦â¡A¦×¦â¡A¦p¹Ï©Ò¥Ü¡C
[210] ½s¸¹ : N/106135
[220] ¥Ó½Ð¤é : 2015/11/17
[730] ¥Ó½Ð¤H : Àd±ÓªN
¦a§} : ¿Dªù¸ôÀô²î¤Hµóx6¸¹
°êÄy : ¤¤°ê
¬¡°Ê : °Ó·~
[511] Ãþ§O : 22
[511] ²£«~ : Æl¡A÷¡Aºô¡A¾B¡A¤yÁO¡A¨¾¤ô¾B¥¬¦|¡A³U¡]¤£ÄݧOÃþªº¡^¡AŨ¹Ô¤Î¶ñ¥R®Æ¡]¾ó½¦©Î¶ì®Æ°£¥~¡^¡A¯¼Â´¥ÎÅÖºûì®Æ¡C
[540] °Ó¼Ð :

[591] °Ó¼ÐÃC¦â : ¬õ¦â¡A¾í¦â¡A©@°Ø¦â¡A«C¦â¡A¦×¦â¡A¦p¹Ï©Ò¥Ü¡C
[210] ½s¸¹ : N/106136
[220] ¥Ó½Ð¤é : 2015/11/17
[730] ¥Ó½Ð¤H : Àd±ÓªN
¦a§} : ¿Dªù¸ôÀô²î¤Hµóx6¸¹
°êÄy : ¤¤°ê
¬¡°Ê : °Ó·~
[511] Ãþ§O : 16
[511] ²£«~ : ¤£ÄݧOÃþªº¯È¡A¯ÈªO¤Î¨ä»s«~¡A¦L¨ê«~¡A¸Ëq¥Î«~¡A·Ó¤ù¡A¤å¨ã¥Î«~¡A¤å¨ã©Î®a®x¥ÎÂH¦X¾¯¡A¬ü³N¥Î«~¡Aµeµ§¡A¥´¦r¾÷©M¿ì¤½«Ç¥Î«~¡]³ÃѰ£¥~¡^¡A±Ð¨|©Î±Ð¾Ç¥Î«~¡]»ö¾¹°£¥~¡^¡A¥]¸Ë¥Î¶ì®Æª««~¡]¤£ÄݧOÃþªº¡^¡A¦L¨ê¹]¦r¡A¦Lª©¡C
[540] °Ó¼Ð :

[591] °Ó¼ÐÃC¦â : «C¦â¡A¬õ¦â¡A¥Õ¦â¡A¾í¦â¡A¦p¹Ï©Ò¥Ü¡C
[210] ½s¸¹ : N/106137
[220] ¥Ó½Ð¤é : 2015/11/17
[730] ¥Ó½Ð¤H : WeHealth Limited
¦a§} : Rm 1108, 11/F, Metro Loft, 38 Kwai Hei St., Kwai Chung, N.T., Hong Kong
°êÄy : ®Ú¾Ú»´äªk¨Ò¦¨¥ß
¬¡°Ê : °Ó·~¤Î¤u·~
[511] Ãþ§O : 30
[511] ²£«~ : Grãos com sabores, grãos em pó.
[540] °Ó¼Ð :

[210] ½s¸¹ : N/106138
[220] ¥Ó½Ð¤é : 2015/11/18
[730] ¥Ó½Ð¤H : Momoda Digital Entertainment Co., Ltd.
¦a§} : 2F., No.120, Chongyang Rd., Nangang Dist., Taipei City, Taiwan, China
¬¡°Ê : °Ó·~¤Î¤u·~
[511] Ãþ§O : 9
[511] ²£«~ : ¹q¸£µ{¦¡¡F¤â¾÷À³¥Îµ{¦¡¡F¦æ°Ê¹q¸ÜÀ³¥Îµ{¦¡¡F¹q¸£³nÅé¡F¥i¤U¸ü¤§¹q¸£À³¥Î³nÅé¡F¹q¸£¹CÀ¸³nÅé¡F¹q¸£¹CÀ¸µ{¦¡¡F¥i¤U¸ü¤§¹q¤l¥Xª©«~¡F¹q¸£µwÅé¡F±qºô»Úºô¸ô¤U¸ü¤§¹CÀ¸µ{¦¡¡F±qºô»Úºô¸ô¤U¸ü¤§µ¼Ö¡F¥i¤U¸ü¤§¤â¾÷¹aÁn¡F¥i¤U¸ü¤§¼v¹³ÀɮסF±qºô»Úºô¸ô¤U¸ü¤§®ÑÄy¡F±qºô»Úºô¸ô¤U¸ü¤§¹Ï¤ù¡F«H¥Î¥d¡F¹q¸£ÃѧO¥d¡F´¹¤ùÀxÈ¥d¡F´¼¼z¥d¡FºÏ©Ê½s½X¨¥÷ÃѧOµÃ±a¡C
[540] °Ó¼Ð :

[210] ½s¸¹ : N/106139
[220] ¥Ó½Ð¤é : 2015/11/18
[730] ¥Ó½Ð¤H : Momoda Digital Entertainment Co., Ltd.
¦a§} : 2F., No.120, Chongyang Rd., Nangang Dist., Taipei City, Taiwan, China
¬¡°Ê : °Ó·~¤Î¤u·~
[511] Ãþ§O : 38
[511] ªA°È : ¥þ²y¹q¸£¸ê°Tºô¸ô¤§¹q«H³sµ²¡F½u¤W¸ê°T¶Ç¿é¡F´£¨Ñ¹q¤l§G§iÄæ¤§°T®§¶Ç°e¡F¹q¤l§G§iÄæ¡]¹q«H³q°TªA°È¡^¡F°T®§©M¼v¹³ªº¹q¸£¶Ç¿é¡F²á¤Ñ«Ç¸ê°T¶Ç¿é¡F´£¨Ñºô¸ô²á¤Ñ«Ç¡F´£¨Ñ¸ê®Æ®w¦s¨ú¡F´£¨Ñ¹q¤l³s½uºô¸ô¸ê®Æ¦s¨úªA°È¡F¸ê®Æ¦ê¬y¶Ç¿é¡F¼Æ¦ìÀɮ׶ǰe¡C
[540] °Ó¼Ð :

[210] ½s¸¹ : N/106140
[220] ¥Ó½Ð¤é : 2015/11/18
[730] ¥Ó½Ð¤H : Momoda Digital Entertainment Co., Ltd.
¦a§} : 2F., No.120, Chongyang Rd., Nangang Dist., Taipei City, Taiwan, China
¬¡°Ê : °Ó·~¤Î¤u·~
[511] Ãþ§O : 41
[511] ªA°È : ®T¼Ö¡F®T¼Ö¸ê°T¡F¥ð¶¢®T¼Ö¸ê°T¡F¥ð¶¢¬¡°Ê¸ê°T¡F´£¨Ñ½u¤W¼v¤ùªY½àªA°È¡F´£¨Ñ¤£¥i¤U¸ü¤§½u¤W¿ý¼v¸`¥Ø¡F´£¨Ñ½u¤Wµ¼ÖªY½àªA°È¡F´£¨Ñ¤£¥i¤U¸ü¤§½u¤Wµ¼Ö¡F´£¨Ñ½u¤W¹CÀ¸ªA°È¡]¥Ñ¹q¸£ºô¸ô¡^¡F´£¨Ñ¹q¸£¤Îºô¸ô³]³Æ¨Ñ¤H¤Wºô¤§ªA°È¡FÄw¿ì±Ð¨|©Î®T¼ÖÄvÁÉ¡FÁ|¿ì®T¼ÖÄvÁÉ¡F¥ð¶¢¨|¼Ö¬¡°Ê³W¹º¡FÁ|¿ì®T¼Ö¬¡°Ê¡F®Ñ¥Z¤§¥Xª©¡F®ÑÄy¥Xª©¡F®Ñ¥Z¤§µo¦æ¡FÂø»x¤§¥Xª©¡FÂø»x¤§µo¦æ¡F½u¤W¹q¤l®ÑÄy¤Î´Á¥Z¤§¥Xª©¡F´£¨Ñ¹q¤l¹Ï¤ù½u¤WÂsÄýªA°È¡C
[540] °Ó¼Ð :

[210] ½s¸¹ : N/106141
[220] ¥Ó½Ð¤é : 2015/11/18
[730] ¥Ó½Ð¤H : Momoda Digital Entertainment Co., Ltd.
¦a§} : 2F., No.120, Chongyang Rd., Nangang Dist., Taipei City, Taiwan, China
¬¡°Ê : °Ó·~¤Î¤u·~
[511] Ãþ§O : 9
[511] ²£«~ : ¹q¸£µ{¦¡¡F¤â¾÷À³¥Îµ{¦¡¡F¦æ°Ê¹q¸ÜÀ³¥Îµ{¦¡¡F¹q¸£³nÅé¡F¥i¤U¸ü¤§¹q¸£À³¥Î³nÅé¡F¹q¸£¹CÀ¸³nÅé¡F¹q¸£¹CÀ¸µ{¦¡¡F¥i¤U¸ü¤§¹q¤l¥Xª©«~¡F¹q¸£µwÅé¡F±qºô»Úºô¸ô¤U¸ü¤§¹CÀ¸µ{¦¡¡F±qºô»Úºô¸ô¤U¸ü¤§µ¼Ö¡F¥i¤U¸ü¤§¤â¾÷¹aÁn¡F¥i¤U¸ü¤§¼v¹³ÀɮסF±qºô»Úºô¸ô¤U¸ü¤§®ÑÄy¡F±qºô»Úºô¸ô¤U¸ü¤§¹Ï¤ù¡F«H¥Î¥d¡F¹q¸£ÃѧO¥d¡F´¹¤ùÀxÈ¥d¡F´¼¼z¥d¡FºÏ©Ê½s½X¨¥÷ÃѧOµÃ±a¡C
[540] °Ó¼Ð :

[210] ½s¸¹ : N/106142
[220] ¥Ó½Ð¤é : 2015/11/18
[730] ¥Ó½Ð¤H : Momoda Digital Entertainment Co., Ltd.
¦a§} : 2F., No.120, Chongyang Rd., Nangang Dist., Taipei City, Taiwan, China
¬¡°Ê : °Ó·~¤Î¤u·~
[511] Ãþ§O : 38
[511] ªA°È : ¥þ²y¹q¸£¸ê°Tºô¸ô¤§¹q«H³sµ²¡F½u¤W¸ê°T¶Ç¿é¡F´£¨Ñ¹q¤l§G§iÄæ¤§°T®§¶Ç°e¡F¹q¤l§G§iÄæ¡]¹q«H³q°TªA°È¡^¡F°T®§©M¼v¹³ªº¹q¸£¶Ç¿é¡F²á¤Ñ«Ç¸ê°T¶Ç¿é¡F´£¨Ñºô¸ô²á¤Ñ«Ç¡F´£¨Ñ¸ê®Æ®w¦s¨ú¡F´£¨Ñ¹q¤l³s½uºô¸ô¸ê®Æ¦s¨úªA°È¡F¸ê®Æ¦ê¬y¶Ç¿é¡F¼Æ¦ìÀɮ׶ǰe¡C
[540] °Ó¼Ð :

[210] ½s¸¹ : N/106143
[220] ¥Ó½Ð¤é : 2015/11/18
[730] ¥Ó½Ð¤H : Momoda Digital Entertainment Co., Ltd.
¦a§} : 2F., No.120, Chongyang Rd., Nangang Dist., Taipei City, Taiwan, China
¬¡°Ê : °Ó·~¤Î¤u·~
[511] Ãþ§O : 41
[511] ªA°È : ®T¼Ö¡F®T¼Ö¸ê°T¡F¥ð¶¢®T¼Ö¸ê°T¡F¥ð¶¢¬¡°Ê¸ê°T¡F´£¨Ñ½u¤W¼v¤ùªY½àªA°È¡F´£¨Ñ¤£¥i¤U¸ü¤§½u¤W¿ý¼v¸`¥Ø¡F´£¨Ñ½u¤Wµ¼ÖªY½àªA°È¡F´£¨Ñ¤£¥i¤U¸ü¤§½u¤Wµ¼Ö¡F´£¨Ñ½u¤W¹CÀ¸ªA°È¡]¥Ñ¹q¸£ºô¸ô¡^¡F´£¨Ñ¹q¸£¤Îºô¸ô³]³Æ¨Ñ¤H¤Wºô¤§ªA°È¡FÄw¿ì±Ð¨|©Î®T¼ÖÄvÁÉ¡FÁ|¿ì®T¼ÖÄvÁÉ¡F¥ð¶¢¨|¼Ö¬¡°Ê³W¹º¡FÁ|¿ì®T¼Ö¬¡°Ê¡F®Ñ¥Z¤§¥Xª©¡F®ÑÄy¥Xª©¡F®Ñ¥Z¤§µo¦æ¡FÂø»x¤§¥Xª©¡FÂø»x¤§µo¦æ¡F½u¤W¹q¤l®ÑÄy¤Î´Á¥Z¤§¥Xª©¡F´£¨Ñ¹q¤l¹Ï¤ù½u¤WÂsÄýªA°È¡C
[540] °Ó¼Ð :

[210] ½s¸¹ : N/106144
[220] ¥Ó½Ð¤é : 2015/11/18
[730] ¥Ó½Ð¤H : ®õ¦w°Ó·~ÅU°Ý¦³¤½¥q
¦a§} : ¿Dªù°ª§Q¨È®üx¤W±N°¨¸ô41¸¹¿E¦¨¤u·~¤j·H²Ä¤T´Á5¼ÓX
°êÄy : ®Ú¾Ú¿Dªùªk¨Ò¦¨¥ß
¬¡°Ê : °Ó·~
[511] Ãþ§O : 30
[511] ²£«~ : «DÂå¥Î«OÅ@«~¡C
[540] °Ó¼Ð :

[210] ½s¸¹ : N/106145
[220] ¥Ó½Ð¤é : 2015/11/18
[730] ¥Ó½Ð¤H : ¶W¬Õ¤å¤Æ¦³¤½¥q
¦a§} : ¿Dªù·s¤f©¤§º¥É¥Í¼s³õ336¸¹¸ÛÂ×°Ó·~¤¤¤ß16¼Ó
°êÄy : ®Ú¾Ú¿Dªùªk¨Ò¦¨¥ß
¬¡°Ê : °Ó·~¤Î¤u·~
[511] Ãþ§O : 43
[511] ªA°È : ´£¨Ñ¹ª«©M¶¼®ÆªA°È¡FÁ{®É¦í±J¡C¦í©Ò¡]®ÈÀ]¡B¨Ñ¿¯±H±J³B¡^¡FÁ{®É¹±J³B¡]¥X¯²¡^¡F®È¹C©Ð«Î¥X¯²¡F®ÈÀ]¹wq¡F°²¤é³¥ÀçªA°È¡]¦í©Ò¡^¡F¹wqÁ{®É¦í±J¡F¨T¨®®ÈÀ]¡FÀ\ÆU¡F¶º©±¡F¹°ó¡F§ÖÀ\À]¡F¦Û§UÀ\ÆU¡F©@°ØÀ]¡F°s§a¤Î°s´YªA°È¡FÂû§À°s·|ªA°È¡F³Æ¿ì®b®u¡F·|ij«Ç¥X¯²¡C
[540] °Ó¼Ð :

[210] ½s¸¹ : N/106146
[220] ¥Ó½Ð¤é : 2015/11/18
[730] ¥Ó½Ð¤H : ¶W¬Õ¤å¤Æ¦³¤½¥q
¦a§} : ¿Dªù·s¤f©¤§º¥É¥Í¼s³õ336¸¹¸ÛÂ×°Ó·~¤¤¤ß16¼Ó
°êÄy : ®Ú¾Ú¿Dªùªk¨Ò¦¨¥ß
¬¡°Ê : °Ó·~¤Î¤u·~
[511] Ãþ§O : 43
[511] ªA°È : ´£¨Ñ¹ª«©M¶¼®ÆªA°È¡FÁ{®É¦í±J¡C¦í©Ò¡]®ÈÀ]¡B¨Ñ¿¯±H±J³B¡^¡FÁ{®É¹±J³B¡]¥X¯²¡^¡F®È¹C©Ð«Î¥X¯²¡F®ÈÀ]¹wq¡F°²¤é³¥ÀçªA°È¡]¦í©Ò¡^¡F¹wqÁ{®É¦í±J¡F¨T¨®®ÈÀ]¡FÀ\ÆU¡F¶º©±¡F¹°ó¡F§ÖÀ\À]¡F¦Û§UÀ\ÆU¡F©@°ØÀ]¡F°s§a¤Î°s´YªA°È¡FÂû§À°s·|ªA°È¡F³Æ¿ì®b®u¡F·|ij«Ç¥X¯²¡C
[540] °Ó¼Ð :

[210] ½s¸¹ : N/106156
[220] ¥Ó½Ð¤é : 2015/11/18
[730] ¥Ó½Ð¤H : ¥î°·¯à
¦a§} : ¤¤°ê¼sªF¦ò¤s¥«¶¶¼w°Ï§ö¾ÂÂí¥j®Ô¤Ñ¥«µó3¸¹
°êÄy : ¤¤°ê
¬¡°Ê : °Ó·~
[511] Ãþ§O : 43
[511] ªA°È : À\ÆU¡F¶º©±¡F¦Û§UÀ\ÆU¡F³Æ¿ì®b®u¡F§ÖÀ\©±¡F¬y°Ê¶¼¹¨ÑÀ³¡F¯ùÀ]¡F©@°ØÀ]¡F°s§aªA°È¡F±H±J³B¡C
[540] °Ó¼Ð :

[591] °Ó¼ÐÃC¦â : ¶Â¥Õ¡A¦p¹Ï©Ò¥Ü¡C
[210] ½s¸¹ : N/106157
[220] ¥Ó½Ð¤é : 2015/11/18
[730] ¥Ó½Ð¤H : ¥î°·¯à
¦a§} : ¤¤°ê¼sªF¦ò¤s¥«¶¶¼w°Ï§ö¾ÂÂí¥j®Ô¤Ñ¥«µó3¸¹
°êÄy : ¤¤°ê
¬¡°Ê : °Ó·~
[511] Ãþ§O : 35
[511] ªA°È : ¼s§i¡F±i¶K¼s§i¡F¼s§i¤ù»s§@¡F¹qµø¼s§i¡F°Ó·~Ãoµ¡§G¸m¡F°Ó·~ºÞ²z»²§U¡F¤u°ÓºÞ²z»²§U¡F²Õ´°Ó·~©Î¼s§i®iÄý¡F´À¥L¤H±À¾P¡Fpºâ¾÷ºôµ¸¤Wªº¦b½u¼s§i¡C
[540] °Ó¼Ð :

[591] °Ó¼ÐÃC¦â : ¶Â¥Õ¡A¦p¹Ï©Ò¥Ü¡C
[210] ½s¸¹ : N/106160
[220] ¥Ó½Ð¤é : 2015/11/18
[730] ¥Ó½Ð¤H : ³¯®Û琼
¦a§} : ¿Dªù¶Â¨FÀô¶¶·«Ñ19¸¹§¡¿³¤j·H5/E
°êÄy : ¤¤°ê
¬¡°Ê : °Ó·~
[511] Ãþ§O : 35
[511] ªA°È : ¹s°âªA¸Ë¡A¾c¡A¤â³U¡A¤â¹¢¡C
[540] °Ó¼Ð :

[210] ½s¸¹ : N/106161
[220] ¥Ó½Ð¤é : 2015/11/18
[730] ¥Ó½Ð¤H : ³®i©|
¦a§} : ¿Dªù¥¬¾|¶ëº¸µó239¸¹«n©¤ªá¶é²Ä1®y8¼ÓD
°êÄy : ¤¤°ê
¬¡°Ê : °Ó·~
[511] Ãþ§O : 22
[511] ²£«~ : ³U¡A÷¡Aºô¡A¯¼Â´¥ÎÅÖºûì®Æ¡C
[540] °Ó¼Ð :

[591] °Ó¼ÐÃC¦â : ¬õ¦â¡]Pantone 185¡^¡A¦p¹Ï©Ò¥Ü¡C
[210] ½s¸¹ : N/106162
[220] ¥Ó½Ð¤é : 2015/11/18
[730] ¥Ó½Ð¤H : ³®i©|
¦a§} : ¿Dªù¥¬¾|¶ëº¸µó239¸¹«n©¤ªá¶é²Ä1®y8¼ÓD
°êÄy : ¤¤°ê
¬¡°Ê : °Ó·~
[511] Ãþ§O : 25
[511] ²£«~ : ªA¸Ë¡A¾c¡A´U¡C
[540] °Ó¼Ð :

[591] °Ó¼ÐÃC¦â : ¬õ¦â¡]Pantone 185¡^¡A¦p¹Ï©Ò¥Ü¡C
[210] ½s¸¹ : N/106163
[220] ¥Ó½Ð¤é : 2015/11/19
[730] ¥Ó½Ð¤H : ¦è¯Z¤ú¶T©ö¦³¤½¥q
¦a§} : ¿Dªù°¨³õªF¤j°¨¸ô26-69¸¹ºÖ®õ¤u·~¤j·H6¼ÓB®y
°êÄy : ®Ú¾Ú¿Dªùªk¨Ò¦¨¥ß
¬¡°Ê : °Ó·~
[511] Ãþ§O : 33
[511] ²£«~ : §t°sºëªº¶¼®Æ¡]°à°s°£¥~¡^¡C
[540] °Ó¼Ð :

[591] °Ó¼ÐÃC¦â : ¶Â¡AÂA¬õ¡A¾í¡A°s¬õ¡A¦p¹Ï©Ò¥Ü¡C
[210] ½s¸¹ : N/106170
[220] ¥Ó½Ð¤é : 2015/11/19
[730] ¥Ó½Ð¤H : l¥Í¦æ¦³¤½¥q
¦a§} : »´ä·s¬É¤¸®Ô§»·~¦èµó11¸¹¤¸®Ô¬ì§Þ¤¤¤ß12¼ÓB«Ç
°êÄy : ®Ú¾Ú»´äªk¨Ò¦¨¥ß
¬¡°Ê : °Ó·~¤Î¤u·~
[511] Ãþ§O : 3
[511] ²£«~ : ¤W¥ú¾¯¡A¤W¥úÄú¡A¤W¥úÄú¡]¨T¨®¦Û¦æ¨®¡^¡A¤Wž¯¡]¬~¦ç¥Î¡^¡A¨Å²G¡A°®©Ê¬¡½§±½¤¯»¡A°®¬~¾¯¡A«G¥ú¤Î¬ã¿i¥Î»s¾¯¡A«G¥ú®B»I¡A«G¥úÄú¡A«G¥úÄú¡]¨T¨®¤Î¾¹¨ã¥Î¡^¡A«G¦â¤Æ¾Ç«~¡]¬~¦ç¥Î¡^¡A¤H¥Î¤Æ§©«~¡A¤H³y»®Æ¡A¤HÅé¥Î²M¼ä¾¯¡A¨Ï¨È³Â¥¬µo»¥Î»¯»¡A«OÀã²G¡A«OÀãÁ÷¡A«OÅ@¤Î¬ü¤Æ¥Ö½§¥h¨¤½èÁ÷¡A«OÅ@¥Ö½§¾¯¡A«OÅ@¥Ö½§²£«~¡A×¥Ò²£«~¡A×Å@ºëµØ²G¡A×±¾¯¡A×ÃCÁ÷¡AÓ¤H¥Î°£¯ä¾¯¡AÓ¤HÅ@²z¤Æ¤u²£«~¡AÓ¤H°£¯ä¾¯¡A°²«ü¥Ò¡A°²¤úÀ¿¥ú¾¯¡A°²¤ú²M¬~¾¯¡A°²¥Ò¤ù¡A°²·û¤ò¡A°²·û¤òÂH½¦¡A°²¾vÂH¦X¾¯¡A°²¾vÂH¶K¾¯¡A°·¯Ýªo¡A°·¯ÝÁ÷¡A³ÃÑ©M¦aªO¥Î©ß¥ú¾¯¡A¥ú·Æ¾¯¡]¤W¼ß¡^¡A¤K¨¤¯õ»»ºë¡A¦A¥Í¾vÅ@²z²G¡A¥V«Cªo¡A§N®ð¾÷²M¬~¾¯¡A§NÁ÷¡A¨í±¥Û¡]®ø¬r«~¡^¡A¨íÄG¤ô¡A«cŽ«á¥Î²G¡A«cލm¡A°Êª«¤Æ§©«~¡A°Êª«¥Î¤Æ§©«~¡A°Êª«¥Î¬~º°¾¯¡A¤Æ§©¾¯¡A¤Æ§©«~¡A¤Æ§©«~²M¬~¾¯¡A¤Æ§©¬V®Æ¡A¤Æ§©´Ö¡A¤Æ§©¤ô¡A¤Æ§©¬~²G¡A¤Æ§©¥ÎÄq¯×¡A¤Æ§©¥Î«~¡A¤Æ§©¥Î¦¬Àľ¯¡A¤Æ§©¥Î§ö¤¯¨Å¡A¤Æ§©¥Î´Ö±ø¡A¤Æ§©¥Î´Öµ³¡A¤Æ§©¥Îªo¡A¤Æ§©¥Îªo¯×¡A¤Æ§©¥Îº}¥Õ¾¯¡]²æ¦â¾¯¡^¡A¤Æ§©¥Î¼í¾v¯×¡A¤Æ§©¥Î¥Ûªoὦ¡A¤Æ§©¥ÎÂH¦X¾¯¡A¤Æ§©¥Î¸Ë¹¢Åܦ⾯¡A¤Æ§©¥Î¹L®ñ¤Æ²B¡A¤Æ§©¥Î³·ªá»I¡A¤Æ§©µ§¡A¤Æ§©¯»¡A¤Æ§©Å@½§«~¡A¤Æ§©»¯»¡A¨ø§©¨Å²G¡A¨ø§©²G¡A¨ø§©¥Î«~¡A¨ø¥Ò¤ô¡A¥h´³Á÷¡A¥h¦Ã¾¯¡A¥h¦Ã²G¡A¥h¦Ã¯»¡A¥h¦Ã»I¡A¥hªo¾¯¡A¥hº£¾¯¡A¥hº{¤ô¡A¥hº{»s¾¯¡A¥hµk«~¡A¥h·ó¤ô¡A¥h½KÁ÷¡A¥h¦â¾¯¡A¥hÄú¤ô¡A¥h¨¤½è»I¡A¥h¨¤½èÁ÷¡A¥hÀY¥Ö¬~¾vÅS¡A¥hÃC®Æ»s¾¯¡A¤f®ð²M·s¾¯¡A¤f®ð²M·s¼QÅx¾¯¡A¤f¬õ¡A¤fµÄ²M»¾¯¡A¤fµÄÅ@²z«~¡]«DÂåÃĥΡ^¡A¦X¦¨ºëªo¡A¦X¦¨»®Æ¡A¦X¦¨»ºë¡A§t®ñ¤Æ§©«~¡A§t®ñ¼Q±¤ô¡A§t®ñ¬~¾v¤ô¡A§t®ñ¥Ö½§²M¼ä«~¡A§t®ñÅ@½§«~¡A§t®ñÅ@¾v¯À¡A§tîÅ»®Æ¡A®B±m¡A®Bªo¡A®B½uµ§¡A®B»I¡A啫³í¤ô¡]ÀY¾v¥Î«~¡^¡A啫³í»I¡]ÀY¾v¥Î«~¡^¡A¾¹¨ã«G¥ú¤ô¡A¾¹¨ã«G¥ú¯»¡A¾¹¨ã«G¥úÄú¡A¼Q±¤ô¡A¼Q¾v¾¯¡A¼Q¾v½¦¡A¦aªO«G¥ú¤ô¡A¦aªO«G¥ú¯»¡A¦aªO«G¥úÄú¡A¦aªOÄú¡A¦aªO°_Äú¤ô¡A¦aªO¨¾·Æ²G¡A¦aªO¨¾·ÆÄú¡A¦a´à²M¬~¾¯¡A¦aÄú²M°£¾¯¡]¨ê²b¾¯¡^¡A§¡¿Å啫³í¡]ÀY¾v¥Î«~¡^¡A¼W¥ÕÁ÷¡A¤ÑµMºëªo¡A¤ÑµMªáºë¡A¤ÑµM»®Æ¡A¤ÑµM»ºë¡A¤Ñªãµæºë¡A¤Ó¶§ªo¡A§¨§Jªo¡AÀ¦¨àªo¡AÀ¦¨àÅ@½§«~¡A©w«¬啫³í¡]ÀY¾v¥Î«~¡^¡A©w«¬¼QÃú¡]ÀY¾v¥Î«~¡^¡A©w«¬¤ô¡]ÀY¾v¥Î«~¡^¡A©w«¬»I¡]ÀY¾v¥Î«~¡^¡A³ÃѤμp©Ð²M¼ä¾¯¡A³ÃÑ©M¦aªO¥Î©ß¥ú¾¯¡A®a®x¬~¦ç¥Î«G¦â¤Æ¾Ç«~¡]¬~¦ç¡^¡A®a¥Î¼W«G¤Æ¾Ç»s«~¡]ÃC®Æ¡^¡]¬~¦ç¥Î¡^¡A®a¥Î§ÜÀR¹q¾¯¡A®a¥Î°£«¯¾¯¡A®a¥ÎÀR¹q¨¾¤î¾¯¡AÃdª«¥Î¤Æ§©«~¡AÃdª«¥Î¬~¤ò¤ô¡AÃdª«¥Î»ªi¡A¤u·~¥Î»®Æ¡A±a»¨ýªº¤ô¡A±a»¨ýªº¤ô¡]¤HÅé¥Î¡^¡A´Z©Ò²M¼ä¾¯¡A´Z©Ò¨¾¯ä¤Y¡A¼p©Ð²M¼ä¾¯¡A¼p©Ð°£ªo¾¯¡A±m§©¥Î«~¡A±mªo½¦¡A·L´`Àô¥h´³¬ü®e²G¡A·L¦åºÞ²ÓM±½¤¡A¦¨®M¤Æ§©¥Î¨ã¡A¤â×Å@Á÷¡A¤âÁ÷¡A§íµß¬~¤â¾¯¡A§íµß¬~¤â²G¡A§íµßÅ@¤â½¤¡A§Ü½K²´Á÷¡A©ß¥ú¨Å»I¡A©ß¥ú¥Îª¿Ä¦¥Û¡A©ß¥ú¥Î¯È¡A©ß¥úÄú¡A©ß¥ú»s¾¯¡A©ß¥úÅK¤¦¡A«÷ªá¦aªOÄú¡A«ü¥Ò«O¾iªo¡A«ü¥Ò«O¾i²G¡A«ü¥ÒÀ¿¥ú¾¯¡A«ü¥Òªo¡A«ü¥ÒÀç¾iªo¡A«ü¥ÒÅ@¾¯¡A«ö¼¯ªo¡A«ö¼¯»I¡A«ö¼¯Á÷¡A´§µoÆP¡]®ò¤ô¡^¡]¥h¦Ã¾¯¡^¡A´§µoÆP¡]®ò¡^¡]¥h«¯¾¯¡^¡A¼¯µ·¡]ÀY¾v¥Î«~¡^¡A¾×·¬Á¼þ²M¬~¾¯¡AÀ¿«G¾¯¡AÀ¿«G¥Î¾¯¡AÀ¿«G¯È¡]®ûÀ¿«G¾¯¡^¡AÀ¿«G»s¾¯¡AÀ¿¬~·»²G¡AÀ¿»È¾¹ªº¯»¥½¡AÀ¿»É¤ô¡AÀ¿¾c»I¡A¦¬¤ò¤Õ¬¡½§¤À¸Ñ¦â¯ÀÁ÷¡A¦¬¤ò¤Õ¬¡½§Á÷¡A¦¬ºò¤ô¥÷±Á÷¡A¦¬ÁY¤ô¡A¾ã¾v²G¡A¤éÁ÷¡A©úÄs¥Û¡]®ø¬r¾¯¡^¡A±ßÁ÷¡A·x¸}Á÷¡A·t½H¦¬¤ò¤Õ±½¤¡A·t½H»I¡]«DÂåÃĥΡ^¡A·t½HÅ@²z¥Î«~¡]«DÂåÃĥΡ^¡A¦±¾v²G¡A§ü¤ì»ºëªo¡A§ö¤¯ªo¡A§ö¤¯ªÎ¨m¡AªMºÐ²M¼ä¾¯¡A¬eòX»ºëªo¡A¬V·û¤òªo¡A¬V¾v¾¯¡A¬V¾v©w¦â¾¯¡A¬V¾v¥Î«~¡A¬V¾v¥ÎÂù®ñ¨Å¡A¬V¾v»I¡A¬X³n±½¤¡A¬X¶¶¾¯¡A®Þ§©¥Î«~¡A®Þ§©¥Îªo¡A®Þ§©¥Î·Æ¥Û¯»¡A®Þ§©¥ÎÃC®Æ¡A´Öµ³¡]¤Æ§©¥Î¡^¡A´Óª«¸¤lµo¥ú¾¯¡A¾÷¾¹²M¬~¾¯¡A¾÷¾¹²M¬~¼W±j¾¯¡AÀÈ»ªo¡AÂfÂcªo¡AÂfÂc»ºëªo¡A¦¸´â»Ä¹[¡A¤ò¾v±²¦±¾¯¡A¤ò¾v²æ¦â¾¯¡A®ò¤ô¡]´§µo©ÊÆP¡^¡]¥h«¯¾¯¡^¡A¤ô¥÷±½¤¡A¤ô¤À«O¾i¾¯¡A¤ôªGÀ¿«G¾¯¡A¤ôªG»ºë¡A¦½¨¬¨m¡A¨T¨®¤W¥ú¾¯¡A¨T¨®«G¥ú¤ô¡A¨T¨®«G¥ú¯»¡A¨T¨®«G¥úÄú¡A¨N¯D¨Å¡A¨N¯D²G¡A¨N¯D¥Î«~¡A¨N¯Dºë¡A¨N¯DÅS¡Aªo©Ê¬¡½§±½¤¯»¡Aªwªj¾v½¦¡A¬~¤â¾¯¡A¬~¤â²G¡A¬~¤â¨m²G¡A¬~¤â»I¡A¬~¤âÅS¡A¬~À¿¡]¥h¦Ã¡^¤Î¬ã¿i¥Î»s¾¯¡A¬~º°¤W¥ú¯»¡A¬~º°¾¯¡A¬~º°¾¯¡]¤£§tÃÄ¡^¡A¬~º°¥Î¤Æ§©«~¡A¬~º°¥Î¨m¾ð¥Ö¡A¬~¼äºë¡A¬~¾þ¥Î¤Æ§©«~¡A¬~¤ú¥Î»s¾¯¡A¬~¥Ò¤ô¡A¬~Äú¤ô¡A¬~¦ç¤W¥ú¾¯¡A¬~¦ç¤Wž¯¡A¬~¦ç¾¯¡A¬~¦ç®ûªw¾¯¡A¬~¦ç²G¡A¬~¦ç²y¡A¬~¦ç²£«~¡A¬~¦ç¥Î¤Wž¯¡A¬~¦ç¥Î¥hº{¾¯¡A¬~¦ç¥ÎÀ¿«G¾¯¡A¬~¦ç¥Î¬X¶¶¾¯¡A¬~¦ç¥Î²M¼ä¾¯¡A¬~¦ç¥Î²M¼äª««~¡A¬~¦ç¥Îº}¥Õ¾¯¡A¬~¦ç¥Î¼ß¯»¡A¬~¦ç¥Î¾ý¯»¡A¬~¦ç¥Î¨mªo¡A¬~¦ç¥Î¬ã¿i¾¯¡A¬~¦ç¥ÎÄú¡A¬~¦ç¯»¡A¬~¦ç»I¡A¬~¦çÄú¡A¬~±¨Å¡A¬~±¨Å¡A¬~±¨m¡A¬~±»I¡A¬~ÀY¤ô¡A¬~ÀY¤ôºëªo¡A¬~¾v¨Å¡A¬~¾v¾¯¡A¬~¾v¤ô¡A¬~¾v²G¡A¬~¾v¥Î¾¯¡A¬~¾v¯»¡A¬~¾vºë¡A¬~¾v»I¡A¬~¾vÅS¡A¬¡¤Æ¦¬¤ò¤Õ¦¬ªo±½¤¡A¬¡¤Æ±Ó·P¬~±Á÷¡]¤£§tÃÄ¡^¡A¬¡¤Æ¬~±Á÷¡A¬¡²ÓM¤éÁ÷¡A¬¡²ÓM±ßÁ÷¡A¬¡²ÓM²´Á÷¡A¬¡²ÓMÀVÁ÷¡A¬¡½§¤À¸Ñ¦â¯À¤ô¡A¬¡½§¤À¸Ñ¦â¯ÀÁ÷¡A¬¡½§¯S±j¤À¸Ñ¦â¯À«ö¼¯Á÷¡A¬¡½§¿i¦â¯À¯»¡A¯B¥Û¡A¯D«Ç²M¼ä¾¯¡A¯D«Çºëªo¡A¯Dªo¡A¯D²G¡A¯DÆQ¡A®û¤Æ§©«~¥Îªº½Ã¥Í¯È¡A®û¤Æ§©«~ªº½Ã¥Í¯È¡A®û¤Æ§©¤ôªºÁ¡¯È¡A®û¬~¦çªA»s¾¯¡A®û²M¼ä¾¯ªº²M¼ä¥¬¡A®ø¬r´Ö¡]¤Æ§©¥Î¨ã¡^¡A®ø¬r¨m¡A²G´¹¿Ã¹õ²M¼ä¾¯¡A²O¯DÅS¡A²b¤Æ¼ß²G¡A²b¤ÆºëµØ¨Å²G¡A²b¤Æ¦Ù½§ªwªjÁ÷¡A²b¥Õ¥ú±mÁ÷¡A²`¼h²M¼ä啫³í¡A²`¼h²M°£¾¯¡A²`¼h¼ä½§¾¯¡A²`¼h¼ä½§¥Î«~¡A²`¼h¼ä½§Á÷¡A²M¼ä¥Î啫³í¡A²M¬rªÎ¨m¡A²M¬~¾¯¡A²M¬~¼oº޹D¥Î»s¾¯¡A²M¬~¥Î¬~º°ÆP¡A²M¬~¥Î¤õ¤s¦Ç¡A²M¼ä°²¤ú¥Î»s¾¯¡A²M¼ä¾¯¡A²M¼ä¾¯¡]¤Æ§©«~¡^¡A²M¼ä¥hº{¥ÎÀã¯È¤y¡A²M¼ä¤Î¬ã¿i¥Î»s¾¯¡A²M¼ä啫³í¡A²M¼ä¼QÃú¡A²M¼ä¥¤¡A²M¼ä¥Î啫³í¡A²M¼ä¥Îªo¡A²M¼ä¥Î¤õ¤s¦Ç¡A²M¼ä¥Î¥Õ°î¡A²M¼ä¥Î¯»¥½¡A²M¼ä¥ÎÅ@½§ÅS¡A²M¼ä¨m¡A²M¼ä¥Ö½§²£«~¡A²M¼ä¯»¥½¡A²M¼äºë¡A²M¼ä»s¾¯¡A²M¼äÁ÷¡A²M²n¾¯¡A´îªÎªo¡]«DÃĥΡ^¡A´îªÎ¥Î¤Æ§©«~¡A´îªÎ¥Î¤Æ§©«~¡]«DÃĥΡ^¡A´îªÎ¯»¾¯¡]«DÃĥΡ^¡A´îªÎÁ÷¡]«DÃĥΡ^¡A·Å¬uªw¾¯¡A´þ¼í¼ä½§¾¯¡A´þ¼íºëµØ¨Å²G¡A´þ¾i²´Á÷¡A´þ¾iÁ÷¡Aº}º{¾¯¡Aº}¼ä¾¯¡Aº}¥Õ¾¯¡]¬~¦ç¥Î¡^¡Aº}¥Õ¤ô¡Aº}¥ÕÆP¡Aº}¥ÕĬ¥´¡Aº}¥ÕÁ÷¡Aº}¥ÕÆQ¡Aº}¯»¡Aº¤¤f¤ô¡A¼ä´Z¾¯¡A¼ä´Z²G¡A¼ä¤â啫³í¡A¼ä½§¨Å¡A¼ä½§¨ÅÁ÷¡A¼ä½§«~¡A¼ä½§²G¡A¼ä½§¯»¥½¡A¼ä½§»I¡A¼ä½§Á÷¡A¼ä½§ÅS¡A¼ä±¨Å¡A¼ä±ªd¡]µL»®Æ¡^¡A¼ä¾¦¾¯¡A¼í¡]Å@¡^½§¾®½¦¡A¼í®Bªo¡A¼í®B»I¡A¼í¤â»I¡A¼í¤âÁ÷¡A¼í«ü²G¡A¼í½§¨Å²G¡A¼í½§¤ô¡A¼í½§ªo¡A¼í½§²G¡A¼í½§»I¡A¼í½§Á÷¡A¼í½§ÅS¡A¼íÁy¾¯¡A¼í¨¬Á÷¡A¼í¾v¨Å¡A¼í¾v¼QÃú¡A¼í¾v»I¡A¼í¾vÅS¡A¼íŽÄú¡AÀ㯻¡AÀã¯È¤y¡A¯Q¾v¨Å¡AÖKªo¾¯¡]¬ü¾v¥Î«~¡^¡AÖKªo»I¡]¬ü¾v¥Î«~¡^¡AµLÁC¦ç»â¼ä²b¾¯¡AÂȮơAÂÈ»]»s¾¯¡]»®Æ¡^¡AÂÈ»]»s¾¯¡]»®Æ¡^¡AÂȦç¯ó»¤ô¡AÂȦç¯ó»ªo¡AÂÈ»ªo¡A¿S·û¤ò²G¡A¿S¾v¤¤©M¾¯¡A¿S¾v¾¯¡A¿S¾v²G¡AÀç¾i¬¡½§ÅS¡AÀç¾i±½¤¡A²n½§¤ô¡A²n½§¤ô¡]ÅS¡^¡A²n¨¯»¡AÀð¯È¬~º°¾¯¡A¤ú¥Î©ß¥ú¾¯¡A¤ú¥Îº}¥Õ¾®½¦¡A¤ú¯»¡A¤ú»I¡A¤ú»I¤Î¬~¤ú¥Î»s¾¯¡A¤ú»I¤Î²M¼ä»s¾¯¡A¤ú¾¦Å@²z¥Î«~¡]«DÂåÃĥΡ^¡Aª´ºÀªo¡A¬Á¼þÀ¿²b¾¯¡A¬Á¼þ¤ô¡A¬Á¼þ²M¼ä¾¯¡A¬Á¼þ¬â¥¬¡A¬Á¼þ¬â¯È¡A¬Ã¯]»I¡A¬Ã¯]Á÷¡Aµ[¬Ä¡]»¤ô¡^¡A¥Í¾v¤ô¡A¥Í¾vªo¡A¥Î©ó²M¼ä©M°£¹ÐªºÅø¸ËÀ£ÁYªÅ®ð¡Aµe¬Ü¹]µ§¡A·ó¤l¤ô¡A·ó¤l¯»¡A¥Õ°î¯»¡A¦Êªá»¡]»®Æ¡^¡A¨m¯»¡A¥Ö½§¼W¥Õ¨Å»I¡A¥Ö½§¼W¥Õ¨ÅÁ÷¡A¥Ö½§¼W¥ÕÁ÷¡A¥Ö½§²M¬~¯»¥½¡A¥Ö½§²M¼ä¥Î¾¯¡A¥Ö½§²M¼äÅS¡A¥Ö¯ó«OÅ@¾¯¡A¥Ö²«OÅ@¾¯¡]¤W¥ú¡^¡A¥Ö²ªo¡A¥Ö²¬~º°¾¯¡A¥Ö²²M¼ä¾¯¡A¥Ö²º}¥Õ»s¾¯¡A¥Ö²¥ÎÄú¡A¥Ö²»I¡A¥Ö²Äú¡A¥Ö²¨¾»G¾¯¡]©ß¥ú¾¯¡^¡A¥Ö¾c«G¥ú¾¯¡A¿d¬~«Ç¬~º°¨Å²G¡A¿d¬~«Ç¥Î¬~º°¨Å¾¯¡Aª½¾v»I¡A¬Ù´³±½¤¡A¬Ü¤ò¤Æ§©«~¡A¬Üµ§¡A²´¼v»I¡A²´¼vÁ÷¡A²´½u²G¡A²´½uµ§¡A²´½¤¡A²´³¡«O¾i«~¡]«DÂåÃĥΡ^¡A²´³¡啫³í¡A²´³¡ºëµØ¯À¡]«DÂåÃĥΡ^¡A²´³¡Å@²z¥Î«~¡]«DÂåÃĥΡ^¡A²´Á÷¡A·û¤ò¥Î¤Æ§©»s¾¯¡A·û¤ò¥Îª«®Æ¡A·û¤òµ§¡A·û¤ò»I¡A¬â¥¬¡A¬â¥¬¡]¿iÀ¿¥Î¥¬¡^¡A¬â¯È¡A¬ã¿i¾¯¡A¬ã¿i¥Î§÷®Æ¤Î¨ä»s¾¯¡A¬ã¿i»I¡AºÒ¤Æª¿¡]¬ã¿i®Æ¡^¡A¿i¥ú¥Î¥ÛÀY¡A¿i¥ú¥Û¡A¿i¥ú»s¾¯¡A¿i¤M¥Ö±a¥Î³n»I¡A¿i§Q»s¾¯¡A¿i«cޤM¥Î³n»I¡A¿i¬â¬~±¨Å¡A¿i¬â»I¡A²½¯«¥Îªº»¡A¬ì¶©»¤ô¡A¯»¨ëÁ÷¡A¯»¨ëÅS¡A¯»©³¡]¤Æ§©«~¡^¡A¯»±ø¡]¤Æ§©«~¡^¡A¯»»æ¡]¤Æ§©«~¡^¡Aºëªo¡AºëµØ²G¡]¤Æ§©«~¡^¡AºëµØ¯À¡]¤Æ§©«~¡^¡A¯¼Â´«~¤W¥ú¨m¡AµµÃ¹à¬¡]»¤ô¡^¡A²ÓM¦¬ºò±½¤¡A²ÓM¤ò¤Õ×Å@²G¡A²ÓM¤ô¥÷¤éÁ÷¡A²ÓM¤ô¥÷±ßÁ÷¡A²ÓM¤ô¥÷¬¡½§²G¡A²ÓM¤ô¥÷²´Á÷¡A´ª«¬X³n¾¯¡]¬~¦ç¥Î¡^¡A´ª«³n¤Æ¾¯¡]¬~¦ç¥Î¡^¡A¦Ïµ³¬~º°¾¯¡A¬ü¤Æ¥Ö½§²£«~¡A¬ü®e¤Æ§©«~¡A¬ü®e¥Î¶K¥¬¦¡±½¤¡A¬ü®e¥Î±½¤¡A¬ü®eÅ@½§¥Î«~¡A¬ü®eÅ@¾v¥Î«~¡A¬ü®e±½¤¡A¬ü®e±½¤¤Æ§©«~¡A¬ü¥Ò¥Î«~¡A¬ü¥Õ¤Æ§©¤ô¡A¬ü¥Õ´«½§²£«~¡A¬ü¥Õ¼ß¡A¬ü¥Õµo¥úÁ÷¡A¬ü¥Õ¯»¡A¬ü¥ÕºëµØ¨Å²G¡A¬ü¥Õ»I¡A¬ü¥Õ¸ÉÀã±½¤¡A¬ü¥Õ¸ÉÀã±Á÷¡A¬ü¥Õ¨¤½è¨N¯D¨Å¡A¬ü¥ÕÅ@½§¨Å¡A¬ü¥ÕÅ@½§«~¡A¬ü¥ÕÅ@½§Á÷¡A¬ü¥ÕÁ÷¡A¬ü¥ÕÅS¡A¬ü¥Õ±½¤¡A¬ü¨Á÷¡A¬üÅ齤¡A¬ü¾v¥Î«~¡A¬ü¾vÅ@²z«~¡A¬ü¾¦¥Î«~¡A¦Ù½§ºëµØ²G¡]«DÂåÃĥΡ^¡A¦Ù½§Å@²z²£«~¡]«DÂåÃĥΡ^¡AªÎ皀¡AªÎ¨m¡]¶ô¡^¡A¯Ú¯×¡A²æ¤ò¾¯¡A²æ¤ò»I¡A²æ¤ò»s¾¯¡A²æ¯×¥ÎªQ¸`ªo¡A²æ¾v¾¯¡A¸}³¡Å@²z¥Î«~¡]«DÂåÃĥΡ^¡A»IÁ÷¡A¦Û¦æ¨®¤W¥úÄú¡AªâªÚ³U¡]°®ªáä»P»®Æªº²V¦Xª«¡^¡Aªáºë¡]»®Æ¡^¡AªáÅS¤ô¡Aªá»®Æì®Æ¡AªÚ»¾¯¡AªÚ»¾¯¡]»ºëªo¡^¡A[²úªo¡A¯ù¯D¥]¡A¯ó²ù´þ¾i¼í½§Á÷¡A萜²mÖL¡]ªÚ»ªo¡^¡A½ªG¬~¼ä²G¡AÁ¡²üªo¡]ªÚ»ªo¡^¡AÂȦç¯ó»¤ô¡AÂȦç¯ó»ªo¡AÃĨm¡AĬ¥´ÆP²G¡A³J¿|½Õ¨ý»®Æ¡]»ºëªo¡^¡A¦çª«¬X¶¶¾¯¡AµôÁ_¥ÎÄú¡A¸Ë¹¢¥Ò±¥Î«~¡A»s»®Æ»¤ô¥Îªo¡A¸Ñ¦â¯À±½¤¡AÅ@®Bªo¡AÅ@®B»I¡AÅ@®BÁ÷¡AÅ@¤â»I¡AÅ@¤âÁ÷¡AÅ@²z²G¡AÅ@²´¾®½¦¡AÅ@²´²G¡AÅ@²´Á÷¡AÅ@½§¨Å¡AÅ@½§¾®½¦¡AÅ@½§«~¡AÅ@½§ªo¡AÅ@½§¬~±¨Å¡AÅ@½§²G¡AÅ@½§²M¼ä¥Î«~¡AÅ@½§¥Î¾¯¡AÅ@½§¥Î¤Æ§©¾¯¡AÅ@½§¥Î¼í¾v¯×¡AÅ@½§ºëµØ»I¡AÅ@½§ºëµØÁ÷¡AÅ@½§»I¡AÅ@½§Á÷¡AÅ@½§±½¤¡AÅ@½§±Á÷¡AÅ@»â½¤¡AÅ@¾v¨Å¡AÅ@¾v¾¯¡AÅ@¾v©w«¬¨Å¾¯¡AÅ@¾v¤ô¡AÅ@¾vªo¡AÅ@¾v²G¡AÅ@¾v¯À¡AÅ@¾vÁ÷¡AÂׯݨŲG¡AÂׯݯ»¾¯¡AtÂ÷¤l»I¡A¶K¥Ò½¦¤ô¡A°_º{¤ô¡A¶W®ñ¤Æª«ª[¤Æ»Ã¯À¼í½§»e¡A¨¬×Å@Á÷¡A¨¬³¡²M¼ä²G¡A¨Åé¨Å²G¡A¨Åé«ö¼¯¥Î»ªo¡A¨Åé´þ¼íÁ÷¡A¨Åé¥Î¬ü¥Õ¸ÉÀã²£«~¡A¨®¥Î§N®ð²M¬~¾¯¡A¨®¥Î¥hº{¤Î¬ã¿i¥Î»s¾¯¡A¨®¥ÎÀ¿«G¾¯¡A¨®¥Î¤ô½c²M¬~¾¯¡A¨®¥Î²M¼ä¾¯¡A¨®¥Î¬Á¼þ²M¼ä¾¯¡A³n¤Æ¾¯¡A³n¤Æ¦Ù½§¤ô¡A³n¤Æ¦Ù½§±½¤¡A³z©ú®B»I¡A³q´ë¾¯¡A³y«¬啫³í¡]ÀY¾v¥Î¡^¡A³y«¬¼QÃú¡]ÀY¾v¥Î¡^¡A³y«¬ªwªj¡]ÀY¾v¥Î¡^¡A³y«¬ªd¡]ÀY¾v¥Î¡^¡A³y«¬¾v½¦¡]ÀY¾v¥Î¡^¡A»Ã¯À¤J¯D¾¯¡AîÅ»®Æ¡Aª÷è¬â¡Aª÷è¬â¡]¬ã¿i¥Î¡^¡Aª÷ÄݲM¼ä¾¯¡Aª÷ÄݺҤƪ¿¡]¬ã¿i®Æ¡^¡Aª÷¿û¾T¡]¬ã¿i®Æ¡^¡A¾Tº{²M°£¾¯¡A¨¾±Ó·P«OÀãÅ@½§²G¡]«DÂåÃĥΡ^¡A¨¾±Ó·P¼ä½§²£«~¡]«DÂåÃĥΡ^¡A¨¾±Ó¤ô¥÷²ÓM²G¡]«DÂåÃĥΡ^¡A¨¾±ÓÁ÷¡]«DÂåÃĥΡ^¡A¨¾ÅΨŲG¡A¨¾Åξ¯¡A¨¾Åξ¯¡]¤Æ§©«~¡^¡A¨¾ÅΤô¥÷Á÷¡A¨¾ÅΪo¡A¨¾Å⣫~¡A¨¾ÅÎÁ÷¡A¨¾ÅÎÅS¡A¨¾¦½¾¯¡]¤Æ§©«~¡^¡A¤î¦½¾¯¡A¨¾¦½ªÎ¨m¡A¨¾½K»I¡A¨¾½KÁ÷¡A¨¾²æ¾v¬~¾vÅS¡A¨¾°I¦ÑÀç¾iªo¡]«DÂåÃĥΡ^¡A¨¾µõ´þ¼í¥Î«~¡]«DÂåÃĥΡ^¡A°£«ü¥Òªo»s¾¯¡A°£¦½¤ò¥ÎÄú¡A°£¦½ªÎ¨m¡A°£ªo¾¯¡A°£½KÁ÷¡A°£¯äªÎ¨m¡A°£Äú¥ÎªQ¸`ªo¡A°£ù×»s¾¯¡AÂù®ñ¥¤¡]¤Æ§©«~¡^¡A³·ªá»I¡]¤Æ§©«~¡^¡A¹q¾¹ªí±²M¼ä¾¯¡A¹q¸Ü²M¼ä¾¯¡A¹q¾v¤ô¡A«D¥Í²£¾Þ§@©MÂå¥Îªº¥h«¯¾¯¡A«D¥Í²£¹Lµ{¤¤¥Îªº²æ¯×¾¯¡A«DÃĥꤤf¾¯¡A«DÂå¥Î¨N¯DÆQ¡A«DÂå¥Îº¤¤f¾¯¡A«DÂå¥Îº¤¤f¤ô¡A«DÂå¥Î潄¤f¾¯¡A±½¤¡A±½¤¯»¡A±³¡²M¼ä²G¡A±Á÷¡A±Á÷¡]¤Æ§©«~¡^¡A¾c¦K¥ÎÄú¡A¾cÀ¿«G¾¯¡A¾cªo¡A¾c½uÄú¡A¾cÄú¡A¹w¨¾³¶´³±½¤¡]«DÂåÃĥΡ^¡AÀY¾v¼QÃú¡AÀY¾v©w«¬Ãúµ·¡AÀY¾v¥Î¤Æ§©«~¡AÀY¾vÅ@²z¾¯¡]«DÂåÃĥΡ^¡AÀY¾vÅ@²z¥Î«~¡]«DÂåÃĥΡ^¡AÀV½¤¡AÀVÁ÷¡A¶¼®Æ¥Î»®Æ¡]»ºëªo¡^¡A¶¼®Æ¥Î»ºë¡]»ºëªo¡^¡A»¡A»®Æ¡A»®Æ¡]¤Æ§©«~¡^¡A»®Æ¥ÎÁ¡²ü¡A»®Æºëªo¡A»¤ì¡A»ÂfÂcªo¡A»¤ô¡A»¤ôºë¡A»¤ô»®Æ¡A»ªo¡A»¨m¡A»¨m»ºë¡A»ºë¡A»ºëªo¡A»¯ó¾J¡A»ÂÈ¡A»ÂȺëªo¡A»ÅéÅS¡A°©½¦ì±½¤¡A°©½¦²´Á÷¡AÅ黾¯¡A¾v«¬Å@²z²£«~¡A¾v§Àªo¡A¾v±m¡A¾v¤ô¡A¾vªo¡A¾v½¤¡A¾v½¦¡A¾vÄú¡A¾vÁ÷¡AÄGެV®Æ¡AÄGŽ¥ÎÄú¡AÅe»¡]»®Æ¡^¡A³Â¥¬ÂÈ»§ô¡A¶À¼Ìªoºë¡C
[540] °Ó¼Ð :

[210] ½s¸¹ : N/106171
[220] ¥Ó½Ð¤é : 2015/11/19
[730] ¥Ó½Ð¤H : l¥Í¦æ¦³¤½¥q
¦a§} : »´ä·s¬É¤¸®Ô§»·~¦èµó11¸¹¤¸®Ô¬ì§Þ¤¤¤ß12¼ÓB«Ç
°êÄy : ®Ú¾Ú»´äªk¨Ò¦¨¥ß
¬¡°Ê : °Ó·~¤Î¤u·~
[511] Ãþ§O : 5
[511] ²£«~ : ¤T´â¥ÒÖJ¡A¤T¸K¥ÒÖJ¡A¤¤°ê¤H°Ñ»s«~¡A¤¤¦¡Àç¾i¹«~¡]ÃĥΡ^¡A¤¤¦¡Àç¾i¶¼«~¡]ÃĥΡ^¡A¤¤¦¡ÂåÃÄÀç¾i«~¡A¤¤¼Ï¯«¸g¨t²Î¥ÎÃÄ¡A¤¤¼Ï¯«¸g¨t²Î¥ÎÃľ¯¡A¯óÃÄ¡A¤¤¯óÃÄ»I¡A¤¤¯óÃÄÃĪo¡A¤¤¯óÃÄ»s¦¨«~¡A¤¤ÃĦ¨ÃÄ¡A¤¤ÃĦ¨ÃĤfªA²G¡A¤¤ÃĦ¨ÃĨR¾¯¡A¤¤ÃĦ¨ÃÄ»I¥¬¡A¤¤ÃÄ´²¡A¤¤Ãħ÷´ö¥]¡A¤¤ÃĨN¯DÅS¡A¤¤ÃĪo¡A¤¤ÃIJ´ºw¾¯¡A¤¤ÃÄÃħ÷¡A¤¤ÃÄÃÄ»I¡A¤¤ÃÄÃİs¡A¤¤ÃÄ»s¾¯¡A¤¤ÃÄ»s¯»¡A¤¤ÃĶK¡A¤¤Ãİs»s¾¯¡A¤¤Ãͼ¤ù¡A¨Å¿}¡A¨Å¯×¡A°®Å~Ãľ¯¡A°®»sÃĥεߡA¤H°Ñ¡A¤H°Ñ»s«~¡]¤fªA²G¡^¡A¤H°Ñ»s«~¡]¤ù¾¯¡^¡A¤H°Ñ»s«~¡]¯»¾¯¡^¡A¤H°Ñ»s«~¡]Áû²É¾¯¡^¡A¤H°ÑÆFªÛÌU¤l¯»¡]Ãĥι«~¡^¡A¤H¤u¨üºë¥Îºë²G¡A¤H¥Î¤¤ÃÄ»s¾¯¡A¤H¥Î©MÃ~¥Î·L¶q¤¸¯À»s¾¯¡A¤H¥Î§½³¡©Ê§ÜÅðµßÃÄ«~¡A¤H¥Î·L¶q¤¸¯À»s¾¯¡A¤H¥Î±þµß¾¯¡A¤H¥Î¥Íª«»s¾¯¡A¤H¥Î¬Ì]¡A¤H¥Î²üº¸»X¡A¤H¥ÎÃÄ¡A¤H¥ÎÃÄ«~¡A¤H¥ÎÃĪo¡A¤H¥Î¨¾°A²G¡A¤H¥ÎÅX°A¶K¤ù¡A¥N¥Î¦å¼ß¡A¥HÄqª«½è¬°¥Dªº°·±d¹«~¸É¥R¾¯¡A¥Hºû¥L©R¬°¥Dªº°·±d¹«~¸É¥R¾¯¡A¦÷º¿¦å²y³J¥Õ»s¾¯¡A«K¯µµÎ½w¾¯¡A«O°·¯ù¥]¡]¤¤¯óÃÄ¡^¡A°²¤ú¥Î²¡®Æ¡A°²¤úÂH¦X¾¯¡A°²¤úÂH½¦¾¯¡A°·±dÀç¾i¹«~¡]ÂåÃĥΡ^¡A°·±d¸É«~¡]¤¤¯óÃÄ¡^¡A°·±d¹«~²K¥[¾¯¡]Âå¥Î¡^¡A°·¯«¸g¾¯¡A¶Ê¥Í¾¯¡A¶Ë··P«_»s¾¯¡A¶Ë·ªo¡A§K¬Ì¸ÕÅç¥ÎÃÄ«~¡A§K¬Ì½Õ¸`Ãľ¯¡A¤ºªA¤¤¦¨ÃÄ«~¡A¤ºªA«O°·ÃĤY¡]Âå¥Î¡^¡A¤ºªA¤Î¥~¥ÎÃİs¡A¦B½c¥Î§l¨ý¥]¡A¦B½c°£¯ä¾¯¡]¥h¨ý¾¯¡^¡Aá¶Ë¥ÎÃľ¯¡Aá¶Ë¥ÎÃÄ»I¡Aá¶ËÃÄ»I¡Aá½H»s¾¯¡A¥X¤ú¾¯¡A¤ÀªR¤ÎÂå¾Ç¥Îµ}ÄÀÃľ¯¡A§Q§¿¾¯¡A§U®ø¤Æ¤§¯Ø®q¿E¯À¸É¥R¾¯¡A°Êª«¥Î§tÃĩʬ~º°¾¯¡A°Êª«¥Î±þµß¾¯¡A°Êª«¥Î®ø¬r¾¯¡A°Êª«¥ÎÃÄ«~¡A°Êª«¥Î½Ã¥Í»s¾¯¡A°Êª«¥Î¨¾±H¥ÍÂήM°é¡A°Êª«¥Î¨¾±H¥ÍÂÎÀV°é¡A°Êª«¿á¥Î½¦¦X¾¯¡A°Êª«¿á¥Î½¦ÂH¾¯¡A¥]紥Á^±a¡A¥]²Ï¶Ë¤f¥ÎÁ^±a¡A¤Æ¾Çì®ÆÃÄ¡A¤Æ¾Ç¿d¬~«Ç¥Î®ø¬r¾¯¡A¤Æ¾ÇÃĪ«»s¾¯¡A¤Æ¾ÇÁ×¥¥¾¯¡A¤Æ¾ÇÅXÂÎÅX°A¾¯¡A¥_¬ü¶À³sج¡A§ZÁC¯×¯»¡]ÃĥΡ^¡A§ZÁC¯×Áû²É¡]ÃĥΡ^¡A¥hÀã¯ù¡A¥hÀY¥Ö®hªºÃĪ«»s¾¯¡A°Ñªá®ø´÷¯ù¡A°Ñ¯ñ¡A°Ñ¯ñ»s«~¡A¤ÎÆFªÛÌU¤l¯»¡]Âå¥Î¡^¡A¤fªA¥ÎL½L¯À½¦Ån¡]Âå¥Î¡^¡A¤fªA¬Ì]¡]Âå¥Î¡^¡A¤fªAÃIJG¡A¤f½H¤Î¸´þªvÀø»e¾¯¡A¤fµÄ¤îµh¾¯¡A¤fµÄ®øª¢¾¯¡A¥j©Ôº¸¤ó¤ô¡]µ}¦¸¾L»Ä¹]·»²G¡^¡A¥i¥d¦]¡A¥i½Õ¸`¦å¯×ÃÄ¡A¦UÃþ¨k¤k¶Ê±¡ÂåÃÄ¡A¦QÁw»I¡A§t¨EÃľ¯¡A§tÄqª«½è¤§Àç¾i¸É¥R«~¡A§tºû¥L©R¤§Àç¾i¸É¥R«~¡A§t³J¥Õ½è¤§Àç¾i²K¥[¾¯¡]ÃĥΡ^¡A§t³J¥Õ½è¤§Àç¾i¯»¡]ÃĥΡ^¡A§t³J¥Õ½è¨Å¾¯¡]ÃĥΡ^¡A§t»Ã¥Àµß¤§¼ÌªÛÀç¾i¸É¥R¾¯¡]ÃĥΡ^¡A§tªø¥Õ¤s¤H°Ñ¦¨¥÷ªºÂå¥ÎÀç¾i¹«~¡A§t¾~¤ù»s¾¯¡A§l¦¬¦¡¥¢¸T¥Î§¿¥¬¿Ç¡A«y¹Â¿}¼ß¡]ÃĥΡ^¡A«y¹ÂÃÄ¿}¡]ÃĥΡ^¡A÷¨Å¥Î¹Ô¡A³è²G¨ë¿EÃÄ«~¡A³Ý«y»I¡A¶åÆQ¡A¾¹©xªvÀø¾¯¡A¤gÄ[®ø¬r¾¯¡A¤gÄ[®ø¬r»s¾¯¡A§¤½HÃľ¯¡A°ö¾i²Óµß¥Îªº·»¾¯¡A°ö¾i²Óµß¥Î¦×´ö¡A¶ñ¶ë¤ú¤Õ¥Î®Æ¡A¶ñ¶ë¤ú¼Ò¥Î®Æ¡A¶ñ¤ú§÷®Æ¡A¥~¶ËÃĥδ֡A¥~¥Î¤¤ÃĤîµh¼Q¾¯¡A¥~¥ÎÀ¿¾¯¡]Âå¥Î¡^¡A¥~¥ÎÃĪo¡A¥~¥ÎÃĪ«¡A¥~¥ÎÃÄ»I¡A¥~¬ì¥]²Ïª«¡A¥~¬ì©MÁB§Î¥ÎÂH©T¾¯¡A¥~¬ì©Î¾ã«¬¥~¬ì¥Î°©ÀYµ²¦Xª«¡A¥~¬ì¤â³N¥Î¥¬¡]´ª«¡^¡A¥~¬ì¤â³N¥ÎµLµß¥¬¡A¥~¬ì¤â³N¥Î³q®ð½¦¥¬¡A¥~¬ì¼Å®Æ¡A¥~¬ì¥Î¼í·Æ³n»I¡]Âå¥Î¡^¡A¥~¬ì¥Î¯½¥¬¡A¥~¬ì¥Î´ª«¡A¥~¬ì¥ÎªÓÁ^±a¡A¥~¬ì²¾´Óª«¡]¬¡²Õ´¡^¡A¤j»[ªo¤Y¡]Âå¥Î¡^¡A¤j»[ªo¯»¡]Âå¥Î¡^¡A¤j»[ºë½¦Ån¡]Âå¥Î¡^¡A¤j¨§²§¶ÀଡA¤ÑµM§ZÁC¯×¡A¤ÑµM¤j»[ºë¡]ÃĥΡ^¡A¤ÑµMÀç¾i¸É¥R¾¯¡]ÃĥΡ^¡A¥¢¸T§l¦¬Å¨¿Ç¡A¥¢¸T¥Î§¿¥¬¡A¥¢¸T¥Î§¿¿Ç¡A¤k©Ê½Ã¥Í¤y¡A¤k©Ê½Ã¥Í¥Î«~¡A°ü¤k³±¹DÄé¬~Ãľ¯¡AÀ¦¨à¨Å¯»¡AÀ¦¨à¥¤¯»¡AÀ¦¨à¥Î§t¨ÅÄѯ»¡AÀ¦¨à¦Ì¯»¡AÀ¦¨à¨§¥¤¯»¡AÀ¦¨à¹«~¡AÀ¦¨à¹«~ÅøÀY¡AÀ¦¨à¹ª«¡AÀ¦¨à³Á¯»¡A¦w¯vÃÄ¡A¦w¯«Ãľ¯¡A¤p³Á¶ÂÁJ¯f¤Æ¾Ç³B²z¾¯¡A¥§¥j¤B´î°£¾¯¡]Âå¥Î¡^¡A¤sÃỡ]ÃĥΡ^¡A¤w¸ËÃÄ«æ±Ï½c¡A¤Ú¨§²ô¥Ö¡A¥®ÂÎÅX°£¾¯¡A±j¤ß¾¯¡]Âå¥Î¡^¡A·L¥Íª«¥ÎÀç¾iª«½è¡A¤ßŦ¦åºÞ¥ÎÃÄ¡A¤ßŦÅã¼v¾¯¡A¤ß¹q¹Ï´y°O¾¹¹q·¥¥Î¤Æ¾Ç¾ÉÅé¡A«æ±Ï½c¡]³Æ¦nÃĪº¡^¡A·P«_¶Ë·¯À¡]½¦Ån¡^¡A·P«_²G¡AÃh¥¥¶EÂ_¥Î¤Æ¾Ç¾¯¡AÃh¥¥¶EÂ_¥Î¤Æ¾Ç»s¾¯¡A¦¨¤H¯È§¿¿Ç¡A¦¨¤H¯È§¿¤ù¡A§Ù·Ï§U¾¯¡A§Ù·Ï¤fÄZÃÄ¿õ¡A¥´ÂÎÃÄ¡A§í¨îÅðµß¥ÍªøÃľ¯¡A§íµßÅ@¤â½¤¡]ÃĥΡ^¡A§Ü¹½®ñ©ÊÃÄ«~¡A§Ü¹Ã¾¯¡A§Ü§¿»Ä¾¯¡A§Ü©¬ª÷´Ë¯gÃľ¯¡A§Ü¤ß«ß¤£¾ã¾¯¡A§Ü¤ß«ß¤£¾ãÃÄ«~¡A§Ü¤ßµ±µh¾¯¡A§Ü´c©Ê¸~½F¾¯¡A§Ü¼~Æ{Ãľ¯¡A§Ü®ñ¤ÆÀç¾i¸É¥R¾¯¡A§Ü®ñ¤ÆÃľ¯¡A§Ü¦½Ãľ¯¡A§Ü¼ìºÅÃľ¯¡A§ÜÂo¹L©Ê¯fìÅéÃľ¯¡A§Ü¤ú©P¯fªvÀø¾¯¡A§Ü¥Í¯À¡A§Ü¯f¬rÃľ¯¡A§ÜµjÅpÃÄ¡A§Üµg¯eÃľ¯¡A§ÜºÄ¯eÃľ¯¡A§ÜÀù¾¯¡A§ÜÅöíwÃÄ¡A§ÜÅöíwÃľ¯¡A§Ü²Õ´ÓiÃľ¯¡A§Üµ²®Ö¯fÃľ¯¡A§Üµß¯À¡A§Ü¦å²G®ê¶ë¾¯¡A§Ü¹L±ÓÃľ¯¡A§ÜÁôªá´Óª«»s¾¯¡A§Ü·Àã¯f°éÀô¡A§Ü°ª¦åÀ£ÃÄ«~¡A§ÜÆT¾¦Ãľ¯¡A©æÅnª¢Å¨¹Ô¡A®·»aÃÇ¥ÎÂH½¦¡A®·ÃÇÂH½¦¾¯¡A±Æ¬r¤Y¡]Âå¥Î¡^¡A±Æ¬r¥Í¦Ù»I¡]»IÃÄ¡^¡A±Æ¦½ÃÄ¡A±±¨î¥Ö½§¦â¯À¤§¥Í²zÃĪ«¡A´£¯«Ãľ¯¡A´£°ª¤HÅé§K¬Ì¤Oªºªº«O°·¹«~¡]Âå¥Î¡^¡A·g¾¯¡A¤ä®ðºÞÂX±i¾¯¡]ÃĥΡ^¡A¤ä®ðºÞÂX±i»s¾¯¡A©ñ®g©ÊÃÄ«~¡A©ñ®g½u¥Î³y¼v¾¯¡]Âå¥Î¡^¡A´²¾¯¡]ÃĥΡ^¡A¾ã¸z¾¯¡A¼Å®Æ¯½¥¬¡A¼ÅÃĥΧ÷®Æ¡A´³çº¯»¡A¤ë¸g¹Ô¡A¤ë¸g±a¡A¤ë¸g®ê¡A¤ë¸g¥Î¹Ô¡A¤ë¸g¥Î¤î¦å´Ö¡A¤ë¸gµu¤º¿Ç¡A¤ë¸gÁ^±a¡A¤ë¸g衞¥Í¥Î«~¡A¤ë¨£¯óªo½¦Ån¡]ÃĥΡ^¡A§ö¤¯¡BÁ¡²ü¿}¬°¥Dnì®Æ»s¦¨ªº«O°·¹«~¡]Âå¥Î¡^¡AªJªI¥Ä¡]ÃĥΡ^¡AªJªI»I¡]ÃĥΡ^¡AªJªIÅS¡]ÃĥΡ^¡AªG¹è¿}¼ß¡]ÃĥΡ^¡A®ê¾¯¡A´Ö²y¡]Âå¥Î¡^¡A´Öªá¡]Âå¥Î¡^¡A´Öªá´Î¡]Âå¥Î¡^¡A´Îª¬²¸¶À¡]®ø¬r¾¯¡^¡A´Óª«ÅÖºû´îªÎ¤ù¡]ÃĥΡ^¡A¼Ì¸£¤Y¡A¼Ì¸£ªo¡]Âå¥Î¡^¡A¼ÌªÛÀç¾i´þ¼í¾¯¡]Âå¥Î¡^¡A¼ÌªÛÀç¾i¸É¥R«~¡]Âå¥Î¡^¡A¼ÌªÛ¤ù¡]Âå¥Î¡^¡A¼ÌªÛµo»Ã²G¡]Âå¥Î¡^¡A¼ÌªÛ¯»¥½¡]Âå¥Î¡^¡A¼ÌªÛ²É¡]Âå¥Î¡^¡A¼ÌªÛºë¡]Âå¥Î¡^¡A¼ÌªÛ½¦Ån¡]Âå¥Î¡^¡A¼ÌªÛ¯ù¡]Âå¥Î¡^¡A¼ÌªÛ¿õ¡]Âå¥Î¡^¡A¼ÌªÛ°¦å¿}¡]Âå¥Î¡^¡A¾ó¥Ö»I¡A¤î«y¤Y¡A¤î«y¾¯¡A¤î«yÅS¡A¤î¦½¾¯¡A¤îÂm¾¯¡A¤îµjÅ˯fÃÄ¡A¤îµh¾¯¡A¤îµhªo¡A¤îµh»I¡A¤îµhÃÄ¡A¤îµh»s¾¯¡A¤îÄo¤Y¡A¤îÄo¤ô¡A¤î¦å¾¯¡A¤î¦å´²¡A¤î¦å®ê¡A¤î¦å¥ÎÃľ¯¡A¤î¦åÃÄ¡A¤î¦åÃıø¡A±þ±H¥ÍÂξ¯¡A±þ±H¥ÍÂÎÃÄ¡A±þ·L¥Íª«¾¯¡A±þ·À¦³®`°Êª«»s¾¯¡A±þ¯uµß¾¯¡A±þºë¤l¾¯¡A±þµß¾¯¡A±þµß啫³í¡A±þµßÀã¯È¤y¡A±þµß¥Î«~¡A±þ蟎¾¯¡A±þÂξ¯¡A±þÂμQÃú¾¯¡A±þÂ⣫~¡A±þÂÎÃĤù¡A±þÂÎÃIJɡA±þ¹«¾¯¡A¬rÃÄ¡A¤ò¾v«P¥Í¾¯¡A®ð³Ý¯ù¡A®ñ®ð¯D¬Ö¡A®ò°ò»Ä·»²G¡A¤ô¾¯¡]ÃĥΤƾǻs¾¯¡^¡A¦½¨¬ÃÄ¡A¨E³n»I¡A¦Ãª«®ø¬r¾¯¡A¨T¨®ªÚ»¾¯¡Aªo¾¯¡]¶Ë·ªo¡^¡Aªo¾¯¡]²M²Dªo¡^¡Aªo¾¯¡]·Àãªo¡^¡Aªv«y¹ÂÃÄ¡Aªv¤p³Á¬\µä¯f¡]¶ÂÁJ¯f¡^ªº¤Æ¾Ç»s¾¯¡Aªv®ð³ÝÃÄ¡Aªv¿S¶Ëªo»I¡Aªv¬ÐÃĵ§¡Aªv²©¾¯¡AªvÀø¤¤¼Ï¯«¸g²§±`»s¾¯¡AªvÀø¨ÅÀù¤§ÃÄ«~¡AªvÀø¤HÃþ¦Õ¯e¥ÎÃÄ«~¡AªvÀø«K¯µªºÃĪ«¡AªvÀø¾®¦å¯À¤¸¹L§C¤§ÃÄ«~¡AªvÀø©I§l¾¹©xÃĪ«¡AªvÀø³ïÄV¤£¾A¤§½¦Ån¡AªvÀø©x¯à©Ê«k°_»ÙꤧÃÄ«~¡AªvÀø¤ß«ß¤£¾ã¤§Ãľ¯¡AªvÀø¤ßŦ¦åºÞ¯e¯f¤§Ãľ¯¡AªvÀø·s³¯¥NÁªv¾¯¡AªvÀøÅζ˳n»I¡AªvÀø²O¯D¥Î®ü¤ô¡AªvÀø¿N¶Ë²G¾¯¯½¥¬¡AªvÀø¿N¶Ë²G»s¾¯¡AªvÀø¿N¶Ë»s¾¯¡AªvÀø¤ú¾¦Ãľ¯¡AªvÀø¥Ö½§¯f¤§Ãľ¯¡AªvÀø¦åºÞ¯e¯f¥Î¦å¼ß¸É±j¹ï§Ü¾¯¡AªvÀø¨Åé·õ¯gªº¤¤¦¨ÃÄ¡AªvÀø«C¬KµkÃľ¯¡AªvÀøÀY¥ÖÃľ¯¡AªvÀø·Àã¥ÎÀô¡Aªv¿}§¿¯fÃľ¯¡Aªvªá¬h¾¯¡Aªv¸²°H¥Î¤Æ¾Ç»s¾¯¡AªvÃý¯¯f¤Æ¾ÇÃľ¯¡Aªv¿ò§¿¾¯¡AªvÀYµhÃÄ«~¡AªvÀYµhÃıø¡AªvÀY¥Ö®hªºÃľ¯¡Aªv·ÀãÃľ¯¡Aªv°©³n¾¯¡Aªd¼Å¾¯¡Aª`®g¥ÎL½L¯À¡]Âå¥Î¡^¡Aª`®g¥Î¸²µå¿}¡]Âå¥Î¡^¡Aª`®g¬Ì]¡]Âå¥Î¡^¡A¬v°Ñ¨R¾¯¡A¬v¦a¶À¥Ì¡A¬~¯DÃľ¯¡A¬~µÇÃľ¯¡A¯D¥Î®ñ®ð¡A¯D¥ÎªvÀø¾¯¡A¯D¥Îªd¼ß¡A®ü¬v¥Íª«¶t¡]ÃĥΡ^¡A®üĦ¤ù¡]ÃĥΡ^¡A®û»sÃIJG¡A®ûªwÃľ¯¡A®ûÃIJGªºÁ¡¯È¡A®ûÃIJGªº½Ã¥Í¯È¡A®û»sÃIJG¡A®ø¤Æ¾¯¡]ÃĥΡ^¡A®ø¬r¤Y¡]½¦Ån¡^¡]ÃĥΡ^¡A®ø¬r¾¯¡A®ø¬r啫³í¡A®ø¬r´Ö¡A®ø¬r¤ô¡A®ø¬r¥Î«~¡A®ø¬r¯È¤y¡A®ø¬rÃĤô¡A®ø·À¦³®`°Êª«»s¾¯¡A®ø·À¦³®`´Óª«»s¾¯¡A®øª¢¾¯¡A®øª¢ÃĤô¡A®øª¢»s¾¯¡A®øª¢Âíµh¾¯¡A®øª¢Âíµh¶K¥¬¡A®ø²©¤Y¡A®ø¨x¤Y¡]ÃĥΡ^¡A®ø¸~»I¡A®ø°£ÀR¯ß¸~µÈ¾¯¡A²O¤Ú²G»s¾¯¡]ÃĥΡ^¡A²O¤Ú²yT²ÓM³æ®è§ÜÅé¡]ÃĥΡ^¡A²b¤Æ¾¯¡A²b¤Æ»s¾¯¡]ÃĥΡ^¡A²`®üÂD³½ªo¡A²M²Dªo¡]Âå¥Î¡^¡A²K¥[¾¯¡]Âå¥Î¡^¡A²M°£¾ó¥Ö»I·»¾¯¡A´îªÎ¥ÎÃľ¯¡A´îªÎ¯ù¡]Âå¥Î¡^¡A´îªÎÃÄ¡A´îªÎ°¯×¤Y¡]ÃĥΡ^¡A·Å¬u¤ô¡A·À°®¦´¯uµß»s¾¯¡A·À¥®Âξ¯¡A·À·L¥Íª«¾¯¡A·ÀÃǾ¯¡A·À¹«¾¯¡A´þ¸É«~¡]ÃĥΡ^¡Aº}¥Õ¯»¡]®ø¬r¡^¡A¤f¾¯¡]ÃĥΡ^¡Aº¤¤f¤ô¡]ÃĥΡ^¡A¼í¸z³q«Kªº¤fªA²G¡]¯»¾¯¡^¡]ÃĥΡ^¡A¼í¸z³q«Kªº¤fªA²G¡]Áû²É¾¯¡^¡]ÃĥΡ^¡A¿@ÁYÃỡA¿@ÁY³J¥Õ½è¯»¡]ÃĥΡ^¡AÀã¯lÃľ¯¡AÂm¾¯¡AÂmÃÄ¡AÄé¸z¾¯¡A¬´ÅÖºû²¾´Ó¬¡Åé¯À¡A¯QÀYج¡A·ÏâÀ¿õ¾¯¡A·Ïºë¡]±þÂξ¯¡^¡AµLµß¸Õ¾¯¡]ÂåÀø¥Î¡^¡A·Î¦nªºÃÄ¡AÂÈ»]´Î¡AÂÈ»]¥Î´Ò¡AÂÈ»]»¿õ¡A¿N¶ËªvÀøÃľ¯¡A¿S¤õÃÄ«~¡AÀç¾i´þ¸É¾¯¡]ÃĥΡ^¡AÀç¾i¤ù¡]ÃĥΡ^¡AÀç¾i¸É¥R¾¯¡]ÃĥΡ^¡AÀç¾i¸É¥R«~¡]ÃĥΡ^¡AÀç¾i¸É¥R½¦Ån¡]ÃĥΡ^¡AÀç¾i¸É¾¯¡]ÃĥΡ^¡AÀç¾i¸É§U¾¯¡]ÃĥΡ^¡AÀç¾i¹«~¡]ÃĥΡ^¡AÀç¾i¹«~¸É¥Rª«¡]ÃĥΡ^¡A¤ù¾¯¡]ÃĥΤƾǻs¾¯¡^¡A¤ú¶ñ®Æ¡A¤ú¶ñ®Æ¾¯¡A¤ú®ÚºÞªvÀø¾¯¡A¤ú¼Ò¥Î®Æ¡A¤ú¬}¶ñ¥Rª«¡A¤ú¥Î¥ú¼ä¾¯¡A¤ú¥Î¬t¤ÆÃĪ«¡A¤ú¥Î¬ã¿i¯»¡A¤ú¥ÎÂH¦X¾¯¡A¤ú¬ì¥ú¼ä¾¯¡A¤ú¬ì¥Î¦L¼Ò§÷®Æ¡A¤ú¬ì¥Î¾ó½¦¡A¤ú¬ì¥Î¨E¤Æª«¡A¤ú¬ì¥Î¨E¦Xª÷¡A¤ú¬ì¥Î¬ã¿i¾¯¡A¤ú¬ì¥ÎÂH©T¯»¡A¤ú¬ì¥ÎÂH½¦¾¯¡A¤ú¬ì¥ÎÃÄ¡A¤ú¬ì¥ÎÃľ¯¡A¤ú¬ì¥Î¶Q«ª÷ÄݦXª÷¡A¤ú¬ì¥Îª÷¨E¦Xª÷¡A¤ú¬ì¥Î³Â¾K¾¯¡A¤úÄú¡AÂå¥Î³y«¬Äú¡A¤úÂå»s¼Ò¥ÎÄú¡A¤ú¾¦¥Íªø«P¶i¾¯¡A¤ú¾¦ÂH½¦¾¯¡A¤ú¾¦µ²¥Û¥ÎÃľ¯¡A¤ûªì¨Å¤ù¡]ÃĥΡ^¡A¤ûµk¬Ì]¡A¤ûÃÇÅX°£¥Îªo¡]ÃĥΡ^¡A¬¹¯b¥Î¬~º°¾¯¡Aª¯¥Î¬~²bÃľ¯¡Aª¯¥Î¬~º°¾¯¡Aª¯¥Î¬~º°²G¡Aª¯¥ÎÃĤô¡Aª¯¥ÎÅXÂξ¯¡Aª¯¥ÎÅXÂÎÃÄ¡AµU´Ç´²¡]Âå¥Î¡^¡AÃ~¥Î¤Æ¾Ç»s¾¯¡]Âå¥Î¡^¡AÃ~¥Î®ò°ò»Ä¡AÃ~¥Î¬~º°¾¯¡AÃ~¥Î½Ã¥Í¥Î«~¡AÃ~¥Î½Ã¥Í»s¾¯¡]Âå¥Î¡^¡AÃ~ÃÄ¡AÃ~Âå¥Î¤Æ¾Ç»s¾¯¡AÃ~Âå¥Îªo¯×¡AÃ~Âå¥Î¬~²G¡AÃ~Âå¥Î¥Íª«»s¾¯¡AÃ~Âå¥ÎÃÄ¡AÃ~Âå¥Î»s¾¯¡AÃ~Âå¥Î酶¡AÃ~Âå¥Î酶»s¾¯¡A¥É«Ì·´²¡]ÃĥΡ^¡A¤ý¼ß¡]Âå¥Î¡^¡Aª´ºÀªá¡]ÃĥΡ^¡A¬Ã¯]¼h¯»¡]ÃĥΡ^¡A¬Ã¯]¯»¡]ÃĥΡ^¡A²y®Ú²o¤û»sÂmÃÄ¡AÀô¹Ò½Ã¥Í¥Î®ø¬r¾¯¡A¥Ì¨E¡A¥ÌªoÁC»Äà¡A¥Ì¯ó¡]ÃĥΡ^¡A¥Ì»°s¡]ÃĪ«»s¾¯¡^¡A¥Í¤ÆÃÄ«~¡A¥Íª«ÃÄ«~¡A¥Í²z¥ÎŨ¹Ô¡A¥Í¾v¤Y¡]ÃĥΡ^¡A¥Í¾v¤ô¡]ÃĥΡ^¡A¥Í¾vºë¡]ÃĥΡ^¡A¥Í¾v»I¡]ÃĥΡ^¡A¥Í¾vÃĤô¡]ÃĥΡ^¡AÄqª«½èÀç¾i¸É¥R«~¡AÄqª«¹«~²K¥[¾¯¡AÒç·¬¡µ¸ªo¡]ÃĪo¡^¡A¯«¸g¦w©w¾¯¡]ÃĥΡ^¡A¯«¸g±j°·¾¯¡]ÃĥΡ^¡A¯«¸g©ÊÀYµhÃÄ«~¡A½\Ãþ¥[¤uªº°Æ²£«~¡]Âå¥Î¡^¡AªÅ®ð²b¤Æ¾¯¡AªÅ®ð²b¤Æ»s¾¯¡AªÅ®ð²M·s¾¯¡AªÅ®ð²M²b¾¯¡AªÅ®ð²M¼ä¾¯¡A¦Ë¾L²G¡]Âå¥Î¡^¡A¸`¹©ÎÂåÃĥξý¯»¡AÂHÃǯȡAÂHÃǽ¦¡A¿}§¿¯f¤H¹¥ÎÄÑ¥]¡A¿}§¿¯f±wªÌ¥Î¤§Àç¾iª«¡]Âå¥Î¡^¡AÁSÄê©Ê¬r¾¯¡A¬õÃĤô¡A¬õ¦å²y¯À¡A¯Ç¨§½¦Ån¡A¯Â¤¤ÃĪŮð±þµß¾¯¡A¯ÂÆFªÛ¯}¾ÀÌU¤l¯»¡]Âå¥Î¡^¡A²Óµß°ö¾i¾¯¡A²Óµß°ö¾i´C¤¶¡A²Óµß¬rÃÄ¡A²Ì³Ð»I¡]ÃĥΡ^¡A¸g¥Ö¿éµ¹¤§³Â¾K¾¯¡Aºî¦XÄqª«½è»s¾¯¡Aºî¦Xºû¥L©R¡AºñĦ¤ù¡]ÃĥΡ^¡AºñĦ¯»¡]ÃĥΡ^¡AºñĦ²É¡]ÃĥΡ^¡AºñĦ¿õ¡]ÃĥΡ^¡Aºû¥L©R¤Y¡Aºû¥L©R°·±d²£«~¡Aºû¥L©R¾¯¡Aºû¥L©R¤ù¡Aºû¥L©R½¦Ån¡Aºû¥L©R¸É¥R¾¯¡Aºû¥L©R¶t¤ù¡Aºû¥Í¯À»s¾¯¡Aºò¨¤º¿ÇŨ¸Ì¡]½Ã¥Í¥Î¡^¡A½w©M«K¯µªºÃĪ«¡AÁ_¦X¥Ö½§¶Ë¤f¥Î½¦¥¬¡AÁY¤l®cÃÄ¡]Âå¥Î¡^¡AÁ^±a¡AÁ^¼Å§÷®Æ¡]Âå¥Î¡^¡AÁ^¼ÅÃÄ«~¡AÅÖºû´îªÎ¯»¡]Âå¥Î¡^¡A¦Õ¥Îºw¾¯¡]ÃĥΡ^¡A¦×ãλT¡]ÃĥΡ^¡A¦×¹ªG½ÅøÀY¡]À¦¨à¥Î¡^¡A¦Ù¦×Ãö¸`¯kµhªvµh¥\®ÄªºÃĪo¡A¦Ù¦×ÃP¦¢¾¯¡]ÃĥΡ^¡A¨xª¢ÀËÅç¸Õ¾¯¡A¨xŦ«OÅ@Ãľ¯¡A¨xÃÄ¡AªÎ¨m¼Ì¸£·g¾¯¡AG¤Y¡AG¨Å¡]Âå¥Î¡^¡AGÃÄ¡AL½L¯À½¦Ån¡]Âå¥Î¡^¡AL½L»¤¾ÉÃÄ¡]Âå¥Î¡^¡AJÅÚ½³¯À¡]Âå¥Î¡^¡A¯Ø®q¯À»s¾¯¡]Âå¥Î¡^¡AÓi°ò»Ä»s¾¯¡]Âå¥Î¡^¡A¯à§lªþªº¶ñ¶ëª«¡A¯ßºÞÂX¤j¾¯¡]Âå¥Î¡^¡A²æ¯×´Ö¡AµÇ®ð¤¦¡]Âå¥Î¡^¡A»G»k©Êµ§¡A¸£«O°·«~¡]Âå¥Î¡^¡A¸}À¹°£Âû²´Àô¡A¸}¥Î¤î¦½¾¯¡A¸zG¤¤¦¨ÃÄ«~¡A¸¡½¤º¯ªRÃIJG¡A»I¾¯¡]ÃĥΡ^¡A»I¥¬¡]ÃĥΡ^¡A»IÃÄ¡A½¦Ån¡]ÃĥΡ^¡A½¦¥¬¡A½¦¥¬¥Û»I¡AÁx¥Ä±ÆªnÃÄ¡AŦ¾¹«O¦sÄé¬y²G¤§¤H¤u¦å²G¡]Âå¥Î¡^¡AŦ¾¹ªvÀø¾¯¡]Âå¥Î¡^¡AÁ{§É¥Î¯×½èª`®g²G¡]Âå¥Î¡^¡AÁ{§É¸ÕÅç¥Î»s¾¯¡]Âå¥Î¡^¡A¿³¾Ä¾¯¡]Âå¥Î¡^¡Aªã¤l¼Å¾¯¯È¡Aªã¤lªd¼Å¾¯¡Aªã¤l»IÃÄ¡Aªã¤l»IÃįȡAªã¥½»IÃÄ¡AªáºX°Ñ¡Aªá¯»ÃþÀç¾i«~¡]Âå¥Î¡^¡AªÚ»¾¯¡AW¯ùªo¤Y¡]Âå¥Î¡^¡A¯ù¾¯¡]ÃĥΡ^¡A¯ù¥]¡]ÃĥΡ^¡A¯ó¥»»s«~¡]ÃĥΡ^¡A¯óÃÄ¡A¯óÃįù¡]ÃĥΡ^¡A¯óÃÄ»s«~¡]ÃĥΡ^¡A²üº¸»X»s¾¯¡]Âå¥Î¡^¡AÛ£¿¸¦hÁÞÅ齦Ån¡]ÃĥΡ^¡AÛ£¿¸µßµ·Å齦Ån¡]ÃĥΡ^¡AÛn葜¡]Âå¥Î¡^¡A¸²µå¬óºëµØ¯À¡]ÃĥΡ^¡A蒽ªo¡]±þ±H¥ÍÂΥΡ^¡AÁ¡²üªo¡]Âå¥Î¡^¡AÁ¡²üºë¡]Âå¥Î¡^¡AÁ¡²ü¸£¡]Âå¥Î¡^¡AÁ¡²ü¾J¡A薫»¤ù¡]¤¤¯óÃÄ¡^¡AÂÅĦ¡]Á³±ÛĦ¤ù¡^¡]ÃĥΡ^¡AÂÅĦ¤ù¡]ÃĥΡ^¡AÂÅĦ¯»¡]ÃĥΡ^¡AÂÅĦ²É¡]ÃĥΡ^¡AÂÅĦºë¡]ÃĥΡ^¡AÂÅĦ¿õ¡]ÃĥΡ^¡AÃÄ«~½¦Ån¡AÃÄ´²¡AÃħ÷¡AÃĪE¡AÃĤô¡AÃĪo¡AÃįD¥Î®ü¤ô¡AÃÄ®û´Ç¡AÃĤù¡AÃĪ«½¦Ån¡AÃĪ«¶¼®Æ¡AÃĥΤAîÅ¡AÃĥΤAîÇ¡AÃĥΤAîÇ¡]¤¤ÂåÃÄÃİs¡^¡AÃĥΫO°·Àç¾i²£«~¡AÃĥΨà¯ù¡AÃĥΧU®ø¤Æ¾¯¡AÃĥΤƾǻs¾¯¡AÃĥΤfªA²G¡AÃĥΤf»¿}¡AÃĥγï¤ù¡AÃĥγï¿}¡AÃĥμQ¾¯¡AÃĥΤj¶À®Ú¡AÃĥΤpĬ¥´¡AÃĥΩÎÂå¥Î¤ô¾¯¡AÃĥΩÎÂå¥Î¤ù¾¯¡AÃĥΩÎÂå¥Î»I¾¯¡AÃĥΩÎÂå¥Î¶K¾¯¡AÃĥΩÎÂå¥Îª¾¯¡AÃĥηg¾¯¡AÃĥΤ쬴¡AÃĥΧö¤¯¨Å¡AÃĥΪQ¸`ªo¡AÃĥή꾯¡AÃĥήڶô´Óª«¡AÃÄ¥ÎÑÛ¾ð¡AÃÄ¥ÎÑ۾𸣡AÃÄ¥ÎÙ«»Ä¡AÃĥδӪ«¡AÃĥδӪ«®Ú¡AÃĥδӪ«¶¼«~¡AÃĥξð¥Ö¡AÃĥήñ¤ÆÁâ¡AÃĥήò°ò»Ä¡AÃĥΤô¦X´âîÇ¡AÃĥΨI¾ýªd¡AÃĥήø¬r¾¯¡AÃĥη͡AÃÄ¥ÎÀç¾i«~¡AÃÄ¥ÎÀç¾i¹«~¡AÃĥΤù¾¯¡AÃĥΤû¥¤»Ã¯À¡AÃĥΥ̯󯻡AÃĥΥÒîÇ¡AÃĥΪº¯óÃͼ®Æ¡AÃĥΥֽ§»I¡AÃĥίuµß´£¨úª«¡AÃĥεv»Ä®ñ¹c¡AÃĥβ¸µØ¡AÃĥθK¡AÃĥθK¤Æª«¡AÃĥΦ˾L²G¡AÃĥο}¡AÃĥο}ªG¡AÃÄ¥ÎÅÖºû¯À¯×¡AÃÄ¥ÎÅÖºû¯ÀîÅ¡AÃÄ¥ÎÅÖÅé°·±d¹«~¡AÃĥλI¾¯¡AÃĥν¦¡AÃĥν¦¤Y¡AÃĥν¦Ån¡AÃĥν¦¥¬¡AÃĥν¦´Ö¡AÃĥΪ㥽¡AÃÄ¥ÎV©ÊÆP¡AÃĥίù¡AÃĥίù¥]¡AÃĥίóÃÄ¡AÃĥίóÃįù¡AÃĥγD³Â¤l®û»I¡AÃĥγD³Â¸¢¡AÃĥθɨ¹«~¡AÃÄ¥ÎÅ@½§¾¯¡AÃĥγn»I¡AÃĥξF¥Ò®ñ°òf×ô¡AÃĥΰs¡AÃĥΰs¥Û¨Å¾¯¡AÃÄ¥Îà¡AÃĥλïÀ¡AÃĥλġAÃĥξL»Ä¨Å¡AÃĥξL»ÄÆQ¡AÃĥΰw¾¯¡AÃĥζuÆQ¡AÃĥιc»s¾¯¡AÃĥοõ¾¯¡AÃÄ¥ÎÂíÀRªo¡AÃĥι«~¡AÃĥζ¼®Æ¡AÃĥλ®Æ¡AÃĥγ½¯»¡AÃÄ¥Î鷄ºë¡AÃÄ¥ÎÆP©Ê¸K¤Æª«¡AÃĥγÁ¨¤¡AÃÄ¥ÎÄѯ»¡AÃÄ¥ÎÀsÁx¡AÃỡAÃÄ»I¡AÃÄ»IÃÄ«~¡AÃĽ¦Ån¡AÃįù¡AÃįó¡AÃįó»s«~¡AÃÄ»s¿}ªG¡AÃÄ»s¿}ªG¡]Âå¥Î¡^¡AÃĶK¡AÃĶK½¦¥¬¡AÃİs¡AĪîP¡]Âå¥Î¡^¡AÂίóºë¡]Âå¥Î¡^¡A°A©È¤ô¡A°A»¡A³J¥Õ¤û¥¤¡A³J¥Õ½è¤§Àç¾i²K¥[¾¯¡]Âå¥Î¡^¡A³J¥Õ½èÀç¾i¸É¥R«~¡]Âå¥Î¡^¡A³J¥Õ½è¤ù¡]Âå¥Î¡^¡A³J¥Õ½è¯»¡]Âå¥Î¡^¡A¸Á¤ýºë¡]Âå¥Î¡^¡A¸Á¬Ó¼ß¡]Âå¥Î¡^¡A¸Á½¦¡]Âå¥Î¡^¡A¸Á»e¡]Âå¥Î¡^¡AÂίóºëµØ¡]Âå¥Î¡^¡AÂίó½¦Ån¡]Âå¥Î¡^¡A¦å²G»s«~¡]Âå¥Î¡^¡A¦å²M¡A¦å²MÀøªk¥ÎÃľ¯¡A¦å²MÂåÀøÃľ¯¡A¦å¼ß¡A¦å²y³J¥Õª`®g¾¯¡]Âå¥Î¡^¡A¦åºÞ¦¬ÁY¾¯¡]Âå¥Î¡^¡A¦å¬õ³J¥Õ¡A¦å¬õ³J¥Õ¤¸¡A¦å¦â³J¥Õ¤¸¡A½Ã¥Í¹Ô¡A½Ã¥Í¤k¿Ç¡A½Ã¥Í®ê¡A½Ã¥Í´Ö¡A½Ã¥Í´Ö¹Ô¡A½Ã¥Í´Ö±ø¡A½Ã¥Í¤î¦å´Ö¶ë¡A½Ã¥Í¤ò¤y±a¡]¤ò¤y¡^¡A½Ã¥Í®ø¬r¾¯¡A½Ã¥Í²y¡A½Ã¥Í¥Î«~¤ÎÃÄ«~¡A½Ã¥Íµu¤º¿Ç¡A½Ã¥Íºò¨¤º¿Ç¡A½Ã¥ÍÁ^±a¡A½Ã¥ÍÃÄ«~¡A½Ã¥ÍŨ¿Ç¡A½Ã¥ÍÅ@¹Ô¡A¦çªA©M¯¼Â´«~¥Î°£¯ä¾¯¡A¸É°·ÃÄ¡A¸É¥RÀç¾i«~¡]ÃĥΡ^¡A¸É¥RÀç¾i¶¼®Æ¡]ÃĥΡ^¡A¸É¾¯¡]ÃĥΡ^¡A¸É«~¡]ÃĥΡ^¡A¸É¤ú§÷®Æ¡A¸É¤ú§÷®Æ¤úÀë¡A¸ÉµÇ¤Y¡A¸ÉÃÄ¡]Âå¥Î¡^¡A¸ÉÃÄ¡]ÃÄ¡^¡A¸É¦å¤Y¡]Âå¥Î¡^¡A¸É¦å¾¯¡]Âå¥Î¡^¡A»s·L¥Íª«¥Î°ö¾iª«¡A½Æ¦X®ò°ò»Ä¤ù¡]Âå¥Î¡^¡A½Æ¦Xºû¥Í¯ÀB¤ù¡A½Æ¦Xºû¥Í¯ÀC¤ù¡A¦è¬v°Ñ»s«~¡A¦èÃÄ¡A¦èÃĤ§ì®ÆÃÄ¡A¦èÃľ¯¡A¦èÃÄ«~¡A¦èÃÄÃĤY¡A¦èÃÄÃÄ»I¥¬¡A¸Ñ¬r¤Y¡]Âå¥Î¡^¡A¸Ñ¬r¤ù¡]Âå¥Î¡^¡A¸Ñ¼ö¾¯¡A¸Ñ¼öÃľ¯¡A¸Ñ¼ö°h¿N¾¯¡A½Õ¸`¦åÀ£ªº¯ù¸»s«~¡]Âå¥Î¡^¡A½Õ¸g¤Y¡AÅ@¹Ô¡AÅ@½§Ãľ¯¡A¶K¾¯¡]ÃĥΤƾǻs¾¯¡^¡A¶K¾¯¡]Âå¥Î¡^¡A¿à®ò»ÄÆQ¡]Âå¥Î¡^¡AÂØ½F¹w¨¾¾¯¡]Âå¥Î¡^¡A¶Wµªi¶EÂ_¥Î¶Ç¾É²G¡A¶^¥´À¿¾¯¡A¶^¥´»IÃÄ¡A¶^¥´ÃĤY¡A¶^¥´ÃĪo¡A¶^¥´°s¡A¶^¥´°s¡]ÃĥΡ^¡A¶^¥´·Àã»I¡]»IÃÄ¡^¡A¨®¥Î»®y¡A»´«KÃĽc¡]¤w¸ËÃĪº¡^¡A»´Âm¾¯¡A¹AÃÄ¡A°h¿NÃÄ¡A³q«K¾¯¡A³q®ð½¦¥¬¡A³y¦å¾¯¡AÁ×¥¥®ê¾¯¡AÁ×¥¥ÃÄ¡A»Äµh¶^¥´·l¶Ë¼ÅÃÄ¡AÂå¾Ç¥Î¸ÕºÞ¤º¶EÂ_¾¯¡AÂå¥ÎX¥ú³y¼v¾¯¡AÂå¥Î¤T¸K¥ÒÖJ¡AÂå¥Î¦õÃÄ¡AÂå¥Î°·±dÀç¾i¹«~¡AÂå¥Î¶Ê°®¾¯¡AÂå¥Î§N¼Å¶K¥¬¡AÂå¥Î¾®½¦¡AÂå¥ÎÄq¯×¡AÂå¥Î¤Æ¾Ç»s¾¯¡AÂå¥Î«n¬ü¤û¥¤µæªº°®¥Ö¡AÂå¥Î§ZÁC¯×¡AÂå¥Î¥h«¯¾¯¡AÂå¥Î¤ÎÃ~Âå¥Î²Óµß¾Ç¬ã¨s»s¾¯¡AÂå¥Î¤ÎÃ~Âå¥Î²Óµß»s¾¯¡AÂå¥Î¤fªA²G¡AÂå¥Î¤fªAÃÄ«~¡AÂå¥Î¤f»¿}¡AÂå¥Î¦P¦ì¯À¡AÂå¥Î喹啉¡AÂå¥Î¶ñ®Æ¡AÂå¥Î«¶¹ç¡AÂå¥Î¦wªG´µ³£©Ô¾ð¥Ö¡AÂå¥Î·L¥Íª«°ö¾i¾¯¡AÂå¥Î©ÎÃ~Âå¥Î¤Æ¾Ç¸Õ¾¯¡AÂå¥Î©ÎÃ~Âå¥Î·L¥Íª«°ö¾i°ò¡AÂå¥Î©ÎÃ~Âå¥Î·L¥Íª«°ö¾iÅé¡AÂå¥Î©ÎÃ~Âå¥Î·L¥Íª«»s¾¯¡AÂå¥Î¤âÅN¡AÂå¥Î«üÀô¡AÂå¥Î©ñ®g©Êª«½è¡AÂå¥Î¼Å®Æ¡AÂå¥Î®ê¾¯¡AÂå¥Î´Ö¡AÂå¥Î´Öµ³¡AÂå¥Î¼Ì¸£¡AÂå¥Î¼Ì¸£ªo¡AÂå¥Î¾ó¥Ö»I¡AÂå¥ÎÀˬd¥Î¤ô·»©Ê¼í½§á»I¡AÂå¥Î¤îµh»s¾¯¡AÂå¥Î®ðÅé¡AÂå¥Î®ñ¡AÂå¥Î¤ôµí¡AÂå¥Îªo¡AÂå¥Îªo¯×¡AÂå¥Î¯D¾¯¡AÂå¥Î®û²G¡AÂå¥Î²O¯DÆQ¡AÂå¥Î´îªÎ¯ù¡AÂå¥Îº¤¤f¾¯¡AÂå¥Îº¤¤f¤ô¡AÂå¥Î¼í¾v¯×¡AÂå¥Î¾ý¯»酶¡AÂå¥Î¿E¯À¡AÂå¥Î·ÏÃįó¡AÂå¥ÎµL·Ï¯ó»·Ï¡AÂå¥ÎµL·Ï¸»·Ï¡AÂå¥Î·ÏÂt¯óÃÄ¡AÂå¥Î·Ï¯óÃÄ¡AÂå¥ÎÂÈ»]»s¾¯¡AÂå¥ÎÀç¾i«~¡AÂå¥ÎÀç¾i²K¥[¾¯¡AÂå¥ÎÀç¾iª««~¡AÂå¥ÎÀç¾i¸É¥R«~¡AÂå¥ÎÀç¾i¹«~¡AÂå¥ÎÀç¾i¹ª«¡AÂå¥ÎÀç¾i¶¼®Æ¡AÂå¥Î¤ú¥Î¥ú¼ä¾¯¡AÂå¥Î¥Ìªo¡AÂå¥Î¥Íª«»s¾¯¡AÂå¥Î¥Íª«ÆP¡AÂå¥Îµo»Ã¨Å¾¯¡AÂå¥Î¥ÕÌÒ»s¾¯¡AÂå¥Î¥ÕÌÒ¹«~¡AÂå¥Î²´¸n¡AÂå¥Î¯}©ò¤ì¡AÂå¥Î¸Kª¡AÂå¥ÎÄq¬u¤ô¡AÂå¥Î¿}ªG¡AÂå¥Î¿}¼ß¡AÂå¥ÎÁ^±a¡AÂå¥Î½¦¡AÂå¥Î½¦¥¬¡AÂå¥Î½¦±a¡AÂå¥Îªã¤lªo¡AÂå¥Îªã¥½³n»I¡AÂå¥ÎW¤ìÃÄ¡AÂå¥Î¯õ»¡AÂå¥Î¸²µå¿}¡AÂå¥Îãɳªo¡AÂå¥ÎÁ¡²ü¡AÂå¥ÎÃöÀ¡AÂå¥ÎÃĤY¡AÂå¥ÎÃĪo¡AÂå¥ÎÃĪ«¡AÂå¥ÎÃÄ»I¡AÂå¥ÎÃįó¡AÂå¥Î³J¥Õ½è¡AÂå¥Î¦å¡AÂå¥Î½Ã¥Í»s¾¯¡AÂå¥Î»sÃÄ¡AÂå¥Î¨¤¤eµæ¡AÂå¥Î¶EÂ_¾¯¡AÂå¥Î¶EÂ_»s¾¯¡AÂå¥Î¹L®ñ¤Æ²B¡AÂå¥Î°s¥Û¡AÂå¥Î°sºë¡AÂå¥Î×ô¡]f¡^¡AÂå¥Î»Ã¯À¡AÂå¥Î酶¡AÂå¥Î酶»s¾¯¡AÂå¥Îª÷Âû¯Ç¾ð¥Ö¡AÂå¥Î°w¾¯¡AÂå¥Î¹[ÆQ¡AÂå¥ÎÅJ¡AÂå¥ÎªûÁ³ª¬½~¥¬Ã¹»ªo¡]»»I¡^¡AÂå¥ÎÂø×ôªo¡AÂå¥Î¹q¸Ñ½è»s¾¯¡AÂå¥ÎÀYµhÃÄ«~¡AÂå¥ÎÀY¾v¼Wªø¾¯¡AÂå¥Î¹¼¤§í¨î¾¯¡AÂå¥Î¹ª«Àç¾i»s¾¯¡AÂå¥Î¹¥ÎÀç¾i»s¾¯¡AÂå¥Î¹}®Æ²K¥[¾¯¡AÂå¥Î»·Ï¡AÂå¥Î»»I¡AÂå¥Î°©µ¬ÃĤY¡AÂå¥ÎÆQ¡AÂå¥ÎÅe»¯ó×ô¡AÂå¥Î³Á¨Åºë¶¼®Æ¡AÂå¥ÎÅĹ«¥Ö¡AÂå¥Î¢æ¥ú³y¼v¾¯¡AÂåÀø¥Î¾®½¦¡AÂåÀø¥Î¤fµÄ¬~²b¾¯¡AÂåÀø¥Î¥j¬_ÆP¡AÂåÀø¥Î¶ëÃÄ¡AÂåÀø¥Î·L¥Íª«¥ÎÀç¾iª«½è¡AÂåÀø¥Î©ñ®g©Êª«½è¡AÂåÀø¥Î©ñ®g½u³y¼v¾¯¡AÂåÀø¥Î´³çº»ÄÆQ¯»¡AÂåÀø¥Î§ö¤¯¨Å¾¯¡AÂåÀø¥Î¾ó¥Ö»I¡AÂåÀø¥Î®ðÅé¡AÂåÀø¥Î´â¤Æ»Ï¿õ¾¯¡AÂåÀø¥Îªo¡AÂåÀø¥Î¬~²b¾¯¡AÂåÀø¥Î¯D¾¯¡AÂåÀø¥Î¯Dªd¡AÂåÀø¥Î¯DÆQ¡AÂåÀø¥Î®ø¤Æ¾¯¡AÂåÀø¥Î·Å¬u¤ô¡AÂåÀø¥Î¯QÀYÆP¡AÂåÀø¥Î·Ï¯ó¡AÂåÀø¥Î¥Û¦Ç»s¾¯¡AÂåÀø¥Î¸K¡AÂåÀø¥Î¸Kª¡AÂåÀø¥ÎÁC»Ä¥Ìªo¡AÂåÀø¥ÎÄq¬u¤ô¡AÂåÀø¥Î¿}¡AÂåÀø¥Î¯½¥¬¡AÂåÀø¥Î½¦¡AÂåÀø¥Î½¦±a¡AÂåÀø¥Îªã¥½ªo¡AÂåÀø¥Î¯õ»¡AÂåÀø¥Î²üº¸»X¡AÂåÀø¥Î¸²µå¿}¡AÂåÀø¥Î¦å²G¡AÂåÀø¥Î½Ã¥Í»²§U§÷®Æ¤Î¥Î«~¡AÂåÀø¥Î»s»Ä¾¯¡AÂåÀø¥Î¶EÂ_¾¯¡AÂåÀø¥Î³y¼v¾¯¡AÂåÀø¥Î°s¥Û¡AÂåÀø¥Î°sºë¡AÂåÀø¥ÎÂíµh³n»I¡AÂåÀø¥Î³·X¡AÂåÀø¥ÎÅã¼v¾¯¡AÂåÀø¥Î»½¦»s¾¯¡AÂåÀø¥Î°©ÀYµ²¦X¾¯¡AÂåÀø¥ÎÆQ¡AÂåÀø¥Î³ÁªÞ¨Å¡AÂåÀø¥ÎÅðµß¡AÂåÀø¶EÂ_¥Î³y¼v¾¯¡AÂåÀø¹«~¡AÂåÃÄ¡AÂåÃĤ¤¶¡Åé¡AÂåÃĤY¡AÂåÃÄìÃÄ¡AÂåÃÄÀ¿¾¯¡AÂåÃļŮơAÂåÃĪQ¸`ªo¡AÂåÃÄÀç¾i«~¡AÂåÃĥΰ®»s¹¥Îµß¡AÂåÃĥΨȳ¤¯¡]¯»¡^¡AÂåÃĥΨȳ¤l¡AÂåÃĥΨȳ¤l»æ¯»¡AÂåÃĥΫO°·¶¼«~¡AÂåÃĥΫ~¡AÂåÃĥΤéÅζ˾¯¡AÂåÃĥΤ騾Åξ¯¡AÂåÃÄ¥ÎÅζ˾¯¡AÂåÃĥΧö¤¯¤û¥¤¡AÂåÃĥΪQ¸`ªo¡AÂåÃĥΪQ¯×ªo¡AÂåÃĥΪG½¦¡AÂåÃÄ¥ÎÄå®ç§õ¾ð¥Ö¡AÂåÃĥΨR¾¯¶¼«~¡AÂåÃĥΪd¼ß¡AÂåÃĥά~¾¯¡AÂåÃĥά~²G¡AÂåÃĥά¡©ÊºÒ¡AÂåÃĥμ侯¡AÂåÃĥξý¯»¡AÂåÃÄ¥ÎÀç¾i«~¡AÂåÃĥΤû¥¤µo»Ã¾¯¡AÂåÃĥΥ̯ó¡AÂåÃĥΥ̯ó²ô¡AÂåÃĥΥۦǻs¾¯¡AÂåÃÄ¥ÎÁC»ÄÆQ¡AÂåÃĥο}¼ß¡AÂåÃĥάõ¾ð¥Ö¡AÂåÃÄ¥ÎG³J¥Õ酶¡AÂåÃĥλG»k¡]±ì¡^¾¯¡AÂåÃÄ¥Î腖¡AÂåÃĥΪ㥽¡AÂåÃÄ¥Îf×ô¡AÂåÃĥίõ»ªo¡AÂåÃĥί󥻡AÂåÃĥί󥻻s¦¨«~¡AÂåÃÄ¥ÎÁ¡²ü¡AÂåÃĥθÁªá¤ô¡AÂåÃĥΰs¥Û¡AÂåÃÄ¥Î×ô¡]f¡^¡AÂåÃĥλåÀ¡AÂåÃĥλåÀµß¡AÂåÃĥοõ¾¯¡AÂåÃÄ¥ÎÁû²É¨R¾¯¡AÂåÃĥγÁ¤ù¡AÂåÃĥγÁªÞ¡AÂåÃÄ»s¾¯¡A³¥¥Í¦è¬v°Ñ»s«~¡Aª÷»Èªá¡]Âå¥Î¡^¡A¶t¤ù¡A¶t¯»¡A¶t½è¤Îºû¥L©RD»s¾¯¡A¶t½èºû¥L©R»s¾¯¡A¹]¤ô¡AÂí©w¾¯¡AÂíµh¾¯¡AÂíÀR¾¯¡AÂíÀRÃÄ¡AÅK¾N¶t¸»Ä¤ù¡]Âå¥Î¡^¡AÃö¸`¤ºµøÃè¤â³N¥Î¬Á§¿»Ä¡]Âå¥Î¡^¡AÃö¸`ª¢ÃÄ¡]Âå¥Î¡^¡A¨¾±H¥ÍÂλs¾¯¡A¨¾§¿»s¾¯¡A¨¾¤éÅÎÃÄ»I¡A¨¾¬Ì¥ÎÃľ¯¡A¨¾»G¾¯¡A¨¾»G´Ö¡A¨¾jªo¡A¨¾°A²£«~¡]ÃĥΡ^¡A¨¾³E¾¯¡A¨¾³Eªo¡A¨¾³E¤ú¥ÎÃľ¯¡A¨¾³E¯È¡A¨¾·Àã¤âÅN¡A¨¾·Àã«üÀô¡A¨¾·Àã¯f°éÀô¡]Âå¥Î¡^¡A°¿}¨R¾¯¡]ÃĥΡ^¡A°Áx©T¾JÃľ¯¡A°£¤f¯äÃÄ¡A°£§¿»Ä¾¯¡]ÃĥΡ^¡A°£¤ú´³Ãľ¯¡A°£¯ó¾¯¡A°£Ä¦¾¯¡A°£µò½Â¾¯¡A°£Âε⯻¡A°£Âû²´ÃĪ«¡A°£Åð¤Æ¾Ç»s¾¯¡A³±¹D²M¬~²G¡AÁô§Î²´Ãè«O¦s²G¡AÁô§Î²´Ãè²M¬~²G¡AÁô§Î²´Ãè²M¼ä¾¯¡AÁô§Î²´Ãè²M¼ä²G¡AÁô§Î²´Ãè¥Î¬~²b¾¯¡AÁô§Î²´Ãè¥Î·»²G¡AÁô§Î²´Ãè»Ã¯À²M¼ä¤ù¡AÂù®ñ¤ô¡]Âå¥Î¡^¡AÂû²´ªvÀøÃÄ¡AÂû²´ÃÄ»I¡A³·±ù»I¡]Âå¥Î¡^¡AÆFªÛ¡]ÃĥΡ^¡AÆFªÛ¤Y¡]ÃĥΡ^¡AÆFªÛÌU¤l¯»¡]ÃĥΡ^¡AÆFªÛ´£¨úª«¡]ÃĥΡ^¡AÆFªÛ¤ù¡]ÃĥΡ^¡AÆFªÛºë¡]ÃĥΡ^¡AÆFªÛºë¤Y¡]ÃĥΡ^¡AÆFªÛºë¯»¡]ÃĥΡ^¡AÆFªÛ½¦Ån¡]ÃĥΡ^¡AÆFªÛ¯ù¡]ÃĥΡ^¡AÆFªÛÃÄ«~¡A«DÓ¤H¥Î°£¯ä¾¯¡A±¯pªvÀøÃľ¯¡A¹w¨¾ÀY¾v²æ¸¨¥ÎÃľ¯¡AÀYµh¥ÎÃÄ«~¡AÀY¥Ö®hªvÀøÃľ¯¡AÃþ©T¾J¡AÃþ©T¾JÃÄ»I¡A·Àãªo¡]ÃĥΡ^¡A·À㽦¥¬¡]ÃĥΡ^¡A·ÀãÂíµhÃÄ¡A¸´þ¤îµh¾¯¡]ÃĥΡ^¡A¹¼¤À£§í¾¯¡]Âå¥Î¡^¡A¹¥Î´Óª«ÅÖºû¡]«DÀç¾i©Ê¡^¡A¹¥ÎÀç¾iÃĤù¡A¹¥Îµß´£¨úª«¡]Âå¥Î¡^¡A»´ä¸}ÃÄ»I¡A°¨¿ú¤l¡A°¨¿ú¤lج¡AÅX©øÂξ¯¡AÅX±ö¬r¾¯¡]Âå¥Î¡^¡AÅX¸zÂÎÃÄ¡AÅX°A¶K¡AÅXÂξ¯¡AÅXÂξ¯¡]¤H©ÎÃ~¥Î¡^¡AÅXÂΥλ¡AÅXÂÎÃÄ¡AÅX·ªo¡]ÃĥΡ^¡AÅX·¶^¥´°s¡]ÃĥΡ^¡AÅ祥»s¾¯¡AÅ祥¸Õ¾¯¡]Âå¥Î¡^¡A°©½¦ì¡]Âå¥Î¡^¡A°©Àf¥ÎÃÄ¡A°ª§t¶q¦ÏL¯À¡]ÃĥΡ^¡A°ª§t¶q³½ªo¡A°ªÄR¤H°Ñ¡A°ªÄR¤H°Ñ»s«~¡A³½ªo¡A³½ªo¤Y¡A³½ªo½¦Ån¡A³½¯»Àç¾i¸É¥R«~¡A³½¨xªo¡AÂB³½ªo¤Y¡AÂB³½ªo½¦Ån¡AÂD³½ªo¡AÂD³½ªo¤Y¡AÂD³½ªo½¦Ån¡AÃT³½³n°©¯»¡AÃT³½³n°©¯À½¦Ån¡]¯»¡^¡AÃT³½³n°©¯À»s¾¯¡AÃT³½³n°©½¦»s¾¯¡AÅÁ³½Åèªo¤Y¡A¾~¤ù¡A¾~¤ù»s¾¯¡A³Â¾K¾¯¡A³Â¾K¾¯¡]§½³ÂÃÄ¡^¡A³Â¾K¾¯¡]³Â¾KÃÄ¡^¡A³Â¾KÃÄ¡AÂH¹«ªO¡AÄÒ°Ñ¡A¹«ÃÄ¡A»ó±Ó·P¤Y¡]ÃĥΡ^¡A¾¦¼Ñ¼ìÁwÃÄ¡C
[540] °Ó¼Ð :

[210] ½s¸¹ : N/106172
[220] ¥Ó½Ð¤é : 2015/11/19
[730] ¥Ó½Ð¤H : l¥Í¦æ¦³¤½¥q
¦a§} : »´ä·s¬É¤¸®Ô§»·~¦èµó11¸¹¤¸®Ô¬ì§Þ¤¤¤ß12¼ÓB«Ç
°êÄy : ®Ú¾Ú»´äªk¨Ò¦¨¥ß
¬¡°Ê : °Ó·~¤Î¤u·~
[511] Ãþ§O : 30
[511] ²£«~ : ´Óª«Ãþ¹«~¡]½\Ãþ»s«~¡^¡A¿PºÛ±ù»I¡A¿P³Á¡A¿P³Á¤ù¡A¿P³Áµ°¡A¿P³Á¹«~¡A¸Á¤ý¼ß¡A¸Á¤ý¼ß½¦Ån¡A¸Á½¦¡A¸Á½¦½¦Ån¡A¸Áþ¡A¸Á»e¡A»e¿}¡AÁ³±ÛĦ¡]«DÂå¥ÎÀç¾i«~¡^¡AÂίóÂûºë¡A»Ã¥À¡A»Ã¥Àµß¡A°£´ß¿P³Á¡A«DÂå¥Î¤f»¿}¡A«DÂå¥Î®û²G¡A«DÂå¥Î¤ù¾¯»Ã¥À¡A«DÂå¥Î¸Á¤ý¼ß¡A«DÃĥΫO°·¹«~¡B«DÂå¥ÎÀç¾i¤fªA²G¡A«DÂå¥ÎÀç¾i«~¡A«DÂå¥ÎÀç¾i²G¡A«DÂå¥ÎÀç¾i¤ù¡A«DÂå¥ÎÀç¾i¯»¡A«DÂå¥ÎÀç¾i½¦Ån¡A«DÂå¥ÎÀç¾i»I¡A«DÂå¥ÎÀç¾iºë¡A©@°Ø¶¼«~¡A©@°Ø¡A¯ù¡A¥i¥i¡A¿}¡A¦Ì¡A¤ìÁ¦¾ý¯»¡A¦è¦Ì¡A©@°Ø¥N¥Î«~¡AÄѯ»¤Î½\Ãþ»s«~¡AÄÑ¥]¡A¿|ÂI¤Î¿}ªG¡A¦B»s¹«~¡A¿}¼ß¡AÂA»Ã¥À¡Aµo»Ã¯»¡A¹ÆQ¡Aªã¥½¡A¾L¡A¨F¥q¡]½Õ¨ý«~¡^¡A½Õ¨ý¥Î»®Æ¡A¶¼¥Î¦B¡A¤H¥Î³ÁªÞ¡A¥h´ß¤j³Á¡A¦UºØ¬ã¸Hªº³Q»]¼ôªº¤p³Á¡]²ÊÄѯ»¡^¡A½V¸Hªº¤j³Á¡A²Ê¿P³Á¯»¡A³Á¨Åºë¡A³Á¥Ö¡A³Á¦Ìµ°¡A³ÁªÞ¿}¡A³ÁªÞ»æ°®¡A³ÁÃþ»s«~¡C
[540] °Ó¼Ð :

[210] ½s¸¹ : N/106173
[220] ¥Ó½Ð¤é : 2015/11/19
[730] ¥Ó½Ð¤H : l¥Í¦æ¦³¤½¥q
¦a§} : »´ä·s¬É¤¸®Ô§»·~¦èµó11¸¹¤¸®Ô¬ì§Þ¤¤¤ß12¼ÓB«Ç
°êÄy : ®Ú¾Ú»´äªk¨Ò¦¨¥ß
¬¡°Ê : °Ó·~¤Î¤u·~
[511] Ãþ§O : 32
[511] ²£«~ : ¤£§t°sºëªº¦³®ð©ÎµL®ð¶¼®Æ¡F¥]¬A¿}¼ß¡A¯»¥½¡A´£·Òª«©M¤£§t°sºëªº¦³®ð©ÎµL®ð¤§¿@ÁY¶¼®Æ¡F©Ò¦³ºØÃþ¤§ªG¥Ä¡F¨§Ãþ¤§´£·Òª«¡F²GÅ騧¥¤¡C
[540] °Ó¼Ð :

[210] ½s¸¹ : N/106174
[220] ¥Ó½Ð¤é : 2015/11/19
[730] ¥Ó½Ð¤H : l¥Í¦æ¦³¤½¥q
¦a§} : »´ä·s¬É¤¸®Ô§»·~¦èµó11¸¹¤¸®Ô¬ì§Þ¤¤¤ß12¼ÓB«Ç
°êÄy : ®Ú¾Ú»´äªk¨Ò¦¨¥ß
¬¡°Ê : °Ó·~¤Î¤u·~
[511] Ãþ§O : 3
[511] ²£«~ : ¤W¥ú¾¯¡A¤W¥úÄú¡A¤W¥úÄú¡]¨T¨®¦Û¦æ¨®¡^¡A¤Wž¯¡]¬~¦ç¥Î¡^¡A¨Å²G¡A°®©Ê¬¡½§±½¤¯»¡A°®¬~¾¯¡A«G¥ú¤Î¬ã¿i¥Î»s¾¯¡A«G¥ú®B»I¡A«G¥úÄú¡A«G¥úÄú¡]¨T¨®¤Î¾¹¨ã¥Î¡^¡A«G¦â¤Æ¾Ç«~¡]¬~¦ç¥Î¡^¡A¤H¥Î¤Æ§©«~¡A¤H³y»®Æ¡A¤HÅé¥Î²M¼ä¾¯¡A¨Ï¨È³Â¥¬µo»¥Î»¯»¡A«OÀã²G¡A«OÀãÁ÷¡A«OÅ@¤Î¬ü¤Æ¥Ö½§¥h¨¤½èÁ÷¡A«OÅ@¥Ö½§¾¯¡A«OÅ@¥Ö½§²£«~¡A×¥Ò²£«~¡A×Å@ºëµØ²G¡A×±¾¯¡A×ÃCÁ÷¡AÓ¤H¥Î°£¯ä¾¯¡AÓ¤HÅ@²z¤Æ¤u²£«~¡AÓ¤H°£¯ä¾¯¡A°²«ü¥Ò¡A°²¤úÀ¿¥ú¾¯¡A°²¤ú²M¬~¾¯¡A°²¥Ò¤ù¡A°²·û¤ò¡A°²·û¤òÂH½¦¡A°²¾vÂH¦X¾¯¡A°²¾vÂH¶K¾¯¡A°·¯Ýªo¡A°·¯ÝÁ÷¡A³ÃÑ©M¦aªO¥Î©ß¥ú¾¯¡A¥ú·Æ¾¯¡]¤W¼ß¡^¡A¤K¨¤¯õ»»ºë¡A¦A¥Í¾vÅ@²z²G¡A¥V«Cªo¡A§N®ð¾÷²M¬~¾¯¡A§NÁ÷¡A¨í±¥Û¡]®ø¬r«~¡^¡A¨íÄG¤ô¡A«cŽ«á¥Î²G¡A«cލm¡A°Êª«¤Æ§©«~¡A°Êª«¥Î¤Æ§©«~¡A°Êª«¥Î¬~º°¾¯¡A¤Æ§©¾¯¡A¤Æ§©«~¡A¤Æ§©«~²M¬~¾¯¡A¤Æ§©¬V®Æ¡A¤Æ§©´Ö¡A¤Æ§©¤ô¡A¤Æ§©¬~²G¡A¤Æ§©¥ÎÄq¯×¡A¤Æ§©¥Î«~¡A¤Æ§©¥Î¦¬Àľ¯¡A¤Æ§©¥Î§ö¤¯¨Å¡A¤Æ§©¥Î´Ö±ø¡A¤Æ§©¥Î´Öµ³¡A¤Æ§©¥Îªo¡A¤Æ§©¥Îªo¯×¡A¤Æ§©¥Îº}¥Õ¾¯¡]²æ¦â¾¯¡^¡A¤Æ§©¥Î¼í¾v¯×¡A¤Æ§©¥Î¥Ûªoὦ¡A¤Æ§©¥ÎÂH¦X¾¯¡A¤Æ§©¥Î¸Ë¹¢Åܦ⾯¡A¤Æ§©¥Î¹L®ñ¤Æ²B¡A¤Æ§©¥Î³·ªá»I¡A¤Æ§©µ§¡A¤Æ§©¯»¡A¤Æ§©Å@½§«~¡A¤Æ§©»¯»¡A¨ø§©¨Å²G¡A¨ø§©²G¡A¨ø§©¥Î«~¡A¨ø¥Ò¤ô¡A¥h´³Á÷¡A¥h¦Ã¾¯¡A¥h¦Ã²G¡A¥h¦Ã¯»¡A¥h¦Ã»I¡A¥hªo¾¯¡A¥hº£¾¯¡A¥hº{¤ô¡A¥hº{»s¾¯¡A¥hµk«~¡A¥h·ó¤ô¡A¥h½KÁ÷¡A¥h¦â¾¯¡A¥hÄú¤ô¡A¥h¨¤½è»I¡A¥h¨¤½èÁ÷¡A¥hÀY¥Ö¬~¾vÅS¡A¥hÃC®Æ»s¾¯¡A¤f®ð²M·s¾¯¡A¤f®ð²M·s¼QÅx¾¯¡A¤f¬õ¡A¤fµÄ²M»¾¯¡A¤fµÄÅ@²z«~¡]«DÂåÃĥΡ^¡A¦X¦¨ºëªo¡A¦X¦¨»®Æ¡A¦X¦¨»ºë¡A§t®ñ¤Æ§©«~¡A§t®ñ¼Q±¤ô¡A§t®ñ¬~¾v¤ô¡A§t®ñ¥Ö½§²M¼ä«~¡A§t®ñÅ@½§«~¡A§t®ñÅ@¾v¯À¡A§tîÅ»®Æ¡A®B±m¡A®Bªo¡A®B½uµ§¡A®B»I¡A啫³í¤ô¡]ÀY¾v¥Î«~¡^¡A啫³í»I¡]ÀY¾v¥Î«~¡^¡A¾¹¨ã«G¥ú¤ô¡A¾¹¨ã«G¥ú¯»¡A¾¹¨ã«G¥úÄú¡A¼Q±¤ô¡A¼Q¾v¾¯¡A¼Q¾v½¦¡A¦aªO«G¥ú¤ô¡A¦aªO«G¥ú¯»¡A¦aªO«G¥úÄú¡A¦aªOÄú¡A¦aªO°_Äú¤ô¡A¦aªO¨¾·Æ²G¡A¦aªO¨¾·ÆÄú¡A¦a´à²M¬~¾¯¡A¦aÄú²M°£¾¯¡]¨ê²b¾¯¡^¡A§¡¿Å啫³í¡]ÀY¾v¥Î«~¡^¡A¼W¥ÕÁ÷¡A¤ÑµMºëªo¡A¤ÑµMªáºë¡A¤ÑµM»®Æ¡A¤ÑµM»ºë¡A¤Ñªãµæºë¡A¤Ó¶§ªo¡A§¨§Jªo¡AÀ¦¨àªo¡AÀ¦¨àÅ@½§«~¡A©w«¬啫³í¡]ÀY¾v¥Î«~¡^¡A©w«¬¼QÃú¡]ÀY¾v¥Î«~¡^¡A©w«¬¤ô¡]ÀY¾v¥Î«~¡^¡A©w«¬»I¡]ÀY¾v¥Î«~¡^¡A³ÃѤμp©Ð²M¼ä¾¯¡A³ÃÑ©M¦aªO¥Î©ß¥ú¾¯¡A®a®x¬~¦ç¥Î«G¦â¤Æ¾Ç«~¡]¬~¦ç¡^¡A®a¥Î¼W«G¤Æ¾Ç»s«~¡]ÃC®Æ¡^¡]¬~¦ç¥Î¡^¡A®a¥Î§ÜÀR¹q¾¯¡A®a¥Î°£«¯¾¯¡A®a¥ÎÀR¹q¨¾¤î¾¯¡AÃdª«¥Î¤Æ§©«~¡AÃdª«¥Î¬~¤ò¤ô¡AÃdª«¥Î»ªi¡A¤u·~¥Î»®Æ¡A±a»¨ýªº¤ô¡A±a»¨ýªº¤ô¡]¤HÅé¥Î¡^¡A´Z©Ò²M¼ä¾¯¡A´Z©Ò¨¾¯ä¤Y¡A¼p©Ð²M¼ä¾¯¡A¼p©Ð°£ªo¾¯¡A±m§©¥Î«~¡A±mªo½¦¡A·L´`Àô¥h´³¬ü®e²G¡A·L¦åºÞ²ÓM±½¤¡A¦¨®M¤Æ§©¥Î¨ã¡A¤â×Å@Á÷¡A¤âÁ÷¡A§íµß¬~¤â¾¯¡A§íµß¬~¤â²G¡A§íµßÅ@¤â½¤¡A§Ü½K²´Á÷¡A©ß¥ú¨Å»I¡A©ß¥ú¥Îª¿Ä¦¥Û¡A©ß¥ú¥Î¯È¡A©ß¥úÄú¡A©ß¥ú»s¾¯¡A©ß¥úÅK¤¦¡A«÷ªá¦aªOÄú¡A«ü¥Ò«O¾iªo¡A«ü¥Ò«O¾i²G¡A«ü¥ÒÀ¿¥ú¾¯¡A«ü¥Òªo¡A«ü¥ÒÀç¾iªo¡A«ü¥ÒÅ@¾¯¡A«ö¼¯ªo¡A«ö¼¯»I¡A«ö¼¯Á÷¡A´§µoÆP¡]®ò¤ô¡^¡]¥h¦Ã¾¯¡^¡A´§µoÆP¡]®ò¡^¡]¥h«¯¾¯¡^¡A¼¯µ·¡]ÀY¾v¥Î«~¡^¡A¾×·¬Á¼þ²M¬~¾¯¡AÀ¿«G¾¯¡AÀ¿«G¥Î¾¯¡AÀ¿«G¯È¡]®ûÀ¿«G¾¯¡^¡AÀ¿«G»s¾¯¡AÀ¿¬~·»²G¡AÀ¿»È¾¹ªº¯»¥½¡AÀ¿»É¤ô¡AÀ¿¾c»I¡A¦¬¤ò¤Õ¬¡½§¤À¸Ñ¦â¯ÀÁ÷¡A¦¬¤ò¤Õ¬¡½§Á÷¡A¦¬ºò¤ô¥÷±Á÷¡A¦¬ÁY¤ô¡A¾ã¾v²G¡A¤éÁ÷¡A©úÄs¥Û¡]®ø¬r¾¯¡^¡A±ßÁ÷¡A·x¸}Á÷¡A·t½H¦¬¤ò¤Õ±½¤¡A·t½H»I¡]«DÂåÃĥΡ^¡A·t½HÅ@²z¥Î«~¡]«DÂåÃĥΡ^¡A¦±¾v²G¡A§ü¤ì»ºëªo¡A§ö¤¯ªo¡A§ö¤¯ªÎ¨m¡AªMºÐ²M¼ä¾¯¡A¬eòX»ºëªo¡A¬V·û¤òªo¡A¬V¾v¾¯¡A¬V¾v©w¦â¾¯¡A¬V¾v¥Î«~¡A¬V¾v¥ÎÂù®ñ¨Å¡A¬V¾v»I¡A¬X³n±½¤¡A¬X¶¶¾¯¡A®Þ§©¥Î«~¡A®Þ§©¥Îªo¡A®Þ§©¥Î·Æ¥Û¯»¡A®Þ§©¥ÎÃC®Æ¡A´Öµ³¡]¤Æ§©¥Î¡^¡A´Óª«¸¤lµo¥ú¾¯¡A¾÷¾¹²M¬~¾¯¡A¾÷¾¹²M¬~¼W±j¾¯¡AÀÈ»ªo¡AÂfÂcªo¡AÂfÂc»ºëªo¡A¦¸´â»Ä¹[¡A¤ò¾v±²¦±¾¯¡A¤ò¾v²æ¦â¾¯¡A®ò¤ô¡]´§µo©ÊÆP¡^¡]¥h«¯¾¯¡^¡A¤ô¥÷±½¤¡A¤ô¤À«O¾i¾¯¡A¤ôªGÀ¿«G¾¯¡A¤ôªG»ºë¡A¦½¨¬¨m¡A¨T¨®¤W¥ú¾¯¡A¨T¨®«G¥ú¤ô¡A¨T¨®«G¥ú¯»¡A¨T¨®«G¥úÄú¡A¨N¯D¨Å¡A¨N¯D²G¡A¨N¯D¥Î«~¡A¨N¯Dºë¡A¨N¯DÅS¡Aªo©Ê¬¡½§±½¤¯»¡Aªwªj¾v½¦¡A¬~¤â¾¯¡A¬~¤â²G¡A¬~¤â¨m²G¡A¬~¤â»I¡A¬~¤âÅS¡A¬~À¿¡]¥h¦Ã¡^¤Î¬ã¿i¥Î»s¾¯¡A¬~º°¤W¥ú¯»¡A¬~º°¾¯¡A¬~º°¾¯¡]¤£§tÃÄ¡^¡A¬~º°¥Î¤Æ§©«~¡A¬~º°¥Î¨m¾ð¥Ö¡A¬~¼äºë¡A¬~¾þ¥Î¤Æ§©«~¡A¬~¤ú¥Î»s¾¯¡A¬~¥Ò¤ô¡A¬~Äú¤ô¡A¬~¦ç¤W¥ú¾¯¡A¬~¦ç¤Wž¯¡A¬~¦ç¾¯¡A¬~¦ç®ûªw¾¯¡A¬~¦ç²G¡A¬~¦ç²y¡A¬~¦ç²£«~¡A¬~¦ç¥Î¤Wž¯¡A¬~¦ç¥Î¥hº{¾¯¡A¬~¦ç¥ÎÀ¿«G¾¯¡A¬~¦ç¥Î¬X¶¶¾¯¡A¬~¦ç¥Î²M¼ä¾¯¡A¬~¦ç¥Î²M¼äª««~¡A¬~¦ç¥Îº}¥Õ¾¯¡A¬~¦ç¥Î¼ß¯»¡A¬~¦ç¥Î¾ý¯»¡A¬~¦ç¥Î¨mªo¡A¬~¦ç¥Î¬ã¿i¾¯¡A¬~¦ç¥ÎÄú¡A¬~¦ç¯»¡A¬~¦ç»I¡A¬~¦çÄú¡A¬~±¨Å¡A¬~±¨Å¡A¬~±¨m¡A¬~±»I¡A¬~ÀY¤ô¡A¬~ÀY¤ôºëªo¡A¬~¾v¨Å¡A¬~¾v¾¯¡A¬~¾v¤ô¡A¬~¾v²G¡A¬~¾v¥Î¾¯¡A¬~¾v¯»¡A¬~¾vºë¡A¬~¾v»I¡A¬~¾vÅS¡A¬¡¤Æ¦¬¤ò¤Õ¦¬ªo±½¤¡A¬¡¤Æ±Ó·P¬~±Á÷¡]¤£§tÃÄ¡^¡A¬¡¤Æ¬~±Á÷¡A¬¡²ÓM¤éÁ÷¡A¬¡²ÓM±ßÁ÷¡A¬¡²ÓM²´Á÷¡A¬¡²ÓMÀVÁ÷¡A¬¡½§¤À¸Ñ¦â¯À¤ô¡A¬¡½§¤À¸Ñ¦â¯ÀÁ÷¡A¬¡½§¯S±j¤À¸Ñ¦â¯À«ö¼¯Á÷¡A¬¡½§¿i¦â¯À¯»¡A¯B¥Û¡A¯D«Ç²M¼ä¾¯¡A¯D«Çºëªo¡A¯Dªo¡A¯D²G¡A¯DÆQ¡A®û¤Æ§©«~¥Îªº½Ã¥Í¯È¡A®û¤Æ§©«~ªº½Ã¥Í¯È¡A®û¤Æ§©¤ôªºÁ¡¯È¡A®û¬~¦çªA»s¾¯¡A®û²M¼ä¾¯ªº²M¼ä¥¬¡A®ø¬r´Ö¡]¤Æ§©¥Î¨ã¡^¡A®ø¬r¨m¡A²G´¹¿Ã¹õ²M¼ä¾¯¡A²O¯DÅS¡A²b¤Æ¼ß²G¡A²b¤ÆºëµØ¨Å²G¡A²b¤Æ¦Ù½§ªwªjÁ÷¡A²b¥Õ¥ú±mÁ÷¡A²`¼h²M¼ä啫³í¡A²`¼h²M°£¾¯¡A²`¼h¼ä½§¾¯¡A²`¼h¼ä½§¥Î«~¡A²`¼h¼ä½§Á÷¡A²M¼ä¥Î啫³í¡A²M¬rªÎ¨m¡A²M¬~¾¯¡A²M¬~¼oº޹D¥Î»s¾¯¡A²M¬~¥Î¬~º°ÆP¡A²M¬~¥Î¤õ¤s¦Ç¡A²M¼ä°²¤ú¥Î»s¾¯¡A²M¼ä¾¯¡A²M¼ä¾¯¡]¤Æ§©«~¡^¡A²M¼ä¥hº{¥ÎÀã¯È¤y¡A²M¼ä¤Î¬ã¿i¥Î»s¾¯¡A²M¼ä啫³í¡A²M¼ä¼QÃú¡A²M¼ä¥¤¡A²M¼ä¥Î啫³í¡A²M¼ä¥Îªo¡A²M¼ä¥Î¤õ¤s¦Ç¡A²M¼ä¥Î¥Õ°î¡A²M¼ä¥Î¯»¥½¡A²M¼ä¥ÎÅ@½§ÅS¡A²M¼ä¨m¡A²M¼ä¥Ö½§²£«~¡A²M¼ä¯»¥½¡A²M¼äºë¡A²M¼ä»s¾¯¡A²M¼äÁ÷¡A²M²n¾¯¡A´îªÎªo¡]«DÃĥΡ^¡A´îªÎ¥Î¤Æ§©«~¡A´îªÎ¥Î¤Æ§©«~¡]«DÃĥΡ^¡A´îªÎ¯»¾¯¡]«DÃĥΡ^¡A´îªÎÁ÷¡]«DÃĥΡ^¡A·Å¬uªw¾¯¡A´þ¼í¼ä½§¾¯¡A´þ¼íºëµØ¨Å²G¡A´þ¾i²´Á÷¡A´þ¾iÁ÷¡Aº}º{¾¯¡Aº}¼ä¾¯¡Aº}¥Õ¾¯¡]¬~¦ç¥Î¡^¡Aº}¥Õ¤ô¡Aº}¥ÕÆP¡Aº}¥ÕĬ¥´¡Aº}¥ÕÁ÷¡Aº}¥ÕÆQ¡Aº}¯»¡Aº¤¤f¤ô¡A¼ä´Z¾¯¡A¼ä´Z²G¡A¼ä¤â啫³í¡A¼ä½§¨Å¡A¼ä½§¨ÅÁ÷¡A¼ä½§«~¡A¼ä½§²G¡A¼ä½§¯»¥½¡A¼ä½§»I¡A¼ä½§Á÷¡A¼ä½§ÅS¡A¼ä±¨Å¡A¼ä±ªd¡]µL»®Æ¡^¡A¼ä¾¦¾¯¡A¼í¡]Å@¡^½§¾®½¦¡A¼í®Bªo¡A¼í®B»I¡A¼í¤â»I¡A¼í¤âÁ÷¡A¼í«ü²G¡A¼í½§¨Å²G¡A¼í½§¤ô¡A¼í½§ªo¡A¼í½§²G¡A¼í½§»I¡A¼í½§Á÷¡A¼í½§ÅS¡A¼íÁy¾¯¡A¼í¨¬Á÷¡A¼í¾v¨Å¡A¼í¾v¼QÃú¡A¼í¾v»I¡A¼í¾vÅS¡A¼íŽÄú¡AÀ㯻¡AÀã¯È¤y¡A¯Q¾v¨Å¡AÖKªo¾¯¡]¬ü¾v¥Î«~¡^¡AÖKªo»I¡]¬ü¾v¥Î«~¡^¡AµLÁC¦ç»â¼ä²b¾¯¡AÂȮơAÂÈ»]»s¾¯¡]»®Æ¡^¡AÂÈ»]»s¾¯¡]»®Æ¡^¡AÂȦç¯ó»¤ô¡AÂȦç¯ó»ªo¡AÂÈ»ªo¡A¿S·û¤ò²G¡A¿S¾v¤¤©M¾¯¡A¿S¾v¾¯¡A¿S¾v²G¡AÀç¾i¬¡½§ÅS¡AÀç¾i±½¤¡A²n½§¤ô¡A²n½§¤ô¡]ÅS¡^¡A²n¨¯»¡AÀð¯È¬~º°¾¯¡A¤ú¥Î©ß¥ú¾¯¡A¤ú¥Îº}¥Õ¾®½¦¡A¤ú¯»¡A¤ú»I¡A¤ú»I¤Î¬~¤ú¥Î»s¾¯¡A¤ú»I¤Î²M¼ä»s¾¯¡A¤ú¾¦Å@²z¥Î«~¡]«DÂåÃĥΡ^¡Aª´ºÀªo¡A¬Á¼þÀ¿²b¾¯¡A¬Á¼þ¤ô¡A¬Á¼þ²M¼ä¾¯¡A¬Á¼þ¬â¥¬¡A¬Á¼þ¬â¯È¡A¬Ã¯]»I¡A¬Ã¯]Á÷¡Aµ[¬Ä¡]»¤ô¡^¡A¥Í¾v¤ô¡A¥Í¾vªo¡A¥Î©ó²M¼ä©M°£¹ÐªºÅø¸ËÀ£ÁYªÅ®ð¡Aµe¬Ü¹]µ§¡A·ó¤l¤ô¡A·ó¤l¯»¡A¥Õ°î¯»¡A¦Êªá»¡]»®Æ¡^¡A¨m¯»¡A¥Ö½§¼W¥Õ¨Å»I¡A¥Ö½§¼W¥Õ¨ÅÁ÷¡A¥Ö½§¼W¥ÕÁ÷¡A¥Ö½§²M¬~¯»¥½¡A¥Ö½§²M¼ä¥Î¾¯¡A¥Ö½§²M¼äÅS¡A¥Ö¯ó«OÅ@¾¯¡A¥Ö²«OÅ@¾¯¡]¤W¥ú¡^¡A¥Ö²ªo¡A¥Ö²¬~º°¾¯¡A¥Ö²²M¼ä¾¯¡A¥Ö²º}¥Õ»s¾¯¡A¥Ö²¥ÎÄú¡A¥Ö²»I¡A¥Ö²Äú¡A¥Ö²¨¾»G¾¯¡]©ß¥ú¾¯¡^¡A¥Ö¾c«G¥ú¾¯¡A¿d¬~«Ç¬~º°¨Å²G¡A¿d¬~«Ç¥Î¬~º°¨Å¾¯¡Aª½¾v»I¡A¬Ù´³±½¤¡A¬Ü¤ò¤Æ§©«~¡A¬Üµ§¡A²´¼v»I¡A²´¼vÁ÷¡A²´½u²G¡A²´½uµ§¡A²´½¤¡A²´³¡«O¾i«~¡]«DÂåÃĥΡ^¡A²´³¡啫³í¡A²´³¡ºëµØ¯À¡]«DÂåÃĥΡ^¡A²´³¡Å@²z¥Î«~¡]«DÂåÃĥΡ^¡A²´Á÷¡A·û¤ò¥Î¤Æ§©»s¾¯¡A·û¤ò¥Îª«®Æ¡A·û¤òµ§¡A·û¤ò»I¡A¬â¥¬¡A¬â¥¬¡]¿iÀ¿¥Î¥¬¡^¡A¬â¯È¡A¬ã¿i¾¯¡A¬ã¿i¥Î§÷®Æ¤Î¨ä»s¾¯¡A¬ã¿i»I¡AºÒ¤Æª¿¡]¬ã¿i®Æ¡^¡A¿i¥ú¥Î¥ÛÀY¡A¿i¥ú¥Û¡A¿i¥ú»s¾¯¡A¿i¤M¥Ö±a¥Î³n»I¡A¿i§Q»s¾¯¡A¿i«cޤM¥Î³n»I¡A¿i¬â¬~±¨Å¡A¿i¬â»I¡A²½¯«¥Îªº»¡A¬ì¶©»¤ô¡A¯»¨ëÁ÷¡A¯»¨ëÅS¡A¯»©³¡]¤Æ§©«~¡^¡A¯»±ø¡]¤Æ§©«~¡^¡A¯»»æ¡]¤Æ§©«~¡^¡Aºëªo¡AºëµØ²G¡]¤Æ§©«~¡^¡AºëµØ¯À¡]¤Æ§©«~¡^¡A¯¼Â´«~¤W¥ú¨m¡AµµÃ¹à¬¡]»¤ô¡^¡A²ÓM¦¬ºò±½¤¡A²ÓM¤ò¤Õ×Å@²G¡A²ÓM¤ô¥÷¤éÁ÷¡A²ÓM¤ô¥÷±ßÁ÷¡A²ÓM¤ô¥÷¬¡½§²G¡A²ÓM¤ô¥÷²´Á÷¡A´ª«¬X³n¾¯¡]¬~¦ç¥Î¡^¡A´ª«³n¤Æ¾¯¡]¬~¦ç¥Î¡^¡A¦Ïµ³¬~º°¾¯¡A¬ü¤Æ¥Ö½§²£«~¡A¬ü®e¤Æ§©«~¡A¬ü®e¥Î¶K¥¬¦¡±½¤¡A¬ü®e¥Î±½¤¡A¬ü®eÅ@½§¥Î«~¡A¬ü®eÅ@¾v¥Î«~¡A¬ü®e±½¤¡A¬ü®e±½¤¤Æ§©«~¡A¬ü¥Ò¥Î«~¡A¬ü¥Õ¤Æ§©¤ô¡A¬ü¥Õ´«½§²£«~¡A¬ü¥Õ¼ß¡A¬ü¥Õµo¥úÁ÷¡A¬ü¥Õ¯»¡A¬ü¥ÕºëµØ¨Å²G¡A¬ü¥Õ»I¡A¬ü¥Õ¸ÉÀã±½¤¡A¬ü¥Õ¸ÉÀã±Á÷¡A¬ü¥Õ¨¤½è¨N¯D¨Å¡A¬ü¥ÕÅ@½§¨Å¡A¬ü¥ÕÅ@½§«~¡A¬ü¥ÕÅ@½§Á÷¡A¬ü¥ÕÁ÷¡A¬ü¥ÕÅS¡A¬ü¥Õ±½¤¡A¬ü¨Á÷¡A¬üÅ齤¡A¬ü¾v¥Î«~¡A¬ü¾vÅ@²z«~¡A¬ü¾¦¥Î«~¡A¦Ù½§ºëµØ²G¡]«DÂåÃĥΡ^¡A¦Ù½§Å@²z²£«~¡]«DÂåÃĥΡ^¡AªÎ皀¡AªÎ¨m¡]¶ô¡^¡A¯Ú¯×¡A²æ¤ò¾¯¡A²æ¤ò»I¡A²æ¤ò»s¾¯¡A²æ¯×¥ÎªQ¸`ªo¡A²æ¾v¾¯¡A¸}³¡Å@²z¥Î«~¡]«DÂåÃĥΡ^¡A»IÁ÷¡A¦Û¦æ¨®¤W¥úÄú¡AªâªÚ³U¡]°®ªáä»P»®Æªº²V¦Xª«¡^¡Aªáºë¡]»®Æ¡^¡AªáÅS¤ô¡Aªá»®Æì®Æ¡AªÚ»¾¯¡AªÚ»¾¯¡]»ºëªo¡^¡A[²úªo¡A¯ù¯D¥]¡A¯ó²ù´þ¾i¼í½§Á÷¡A萜²mÖL¡]ªÚ»ªo¡^¡A½ªG¬~¼ä²G¡AÁ¡²üªo¡]ªÚ»ªo¡^¡AÂȦç¯ó»¤ô¡AÂȦç¯ó»ªo¡AÃĨm¡AĬ¥´ÆP²G¡A³J¿|½Õ¨ý»®Æ¡]»ºëªo¡^¡A¦çª«¬X¶¶¾¯¡AµôÁ_¥ÎÄú¡A¸Ë¹¢¥Ò±¥Î«~¡A»s»®Æ»¤ô¥Îªo¡A¸Ñ¦â¯À±½¤¡AÅ@®Bªo¡AÅ@®B»I¡AÅ@®BÁ÷¡AÅ@¤â»I¡AÅ@¤âÁ÷¡AÅ@²z²G¡AÅ@²´¾®½¦¡AÅ@²´²G¡AÅ@²´Á÷¡AÅ@½§¨Å¡AÅ@½§¾®½¦¡AÅ@½§«~¡AÅ@½§ªo¡AÅ@½§¬~±¨Å¡AÅ@½§²G¡AÅ@½§²M¼ä¥Î«~¡AÅ@½§¥Î¾¯¡AÅ@½§¥Î¤Æ§©¾¯¡AÅ@½§¥Î¼í¾v¯×¡AÅ@½§ºëµØ»I¡AÅ@½§ºëµØÁ÷¡AÅ@½§»I¡AÅ@½§Á÷¡AÅ@½§±½¤¡AÅ@½§±Á÷¡AÅ@»â½¤¡AÅ@¾v¨Å¡AÅ@¾v¾¯¡AÅ@¾v©w«¬¨Å¾¯¡AÅ@¾v¤ô¡AÅ@¾vªo¡AÅ@¾v²G¡AÅ@¾v¯À¡AÅ@¾vÁ÷¡AÂׯݨŲG¡AÂׯݯ»¾¯¡AtÂ÷¤l»I¡A¶K¥Ò½¦¤ô¡A°_º{¤ô¡A¶W®ñ¤Æª«ª[¤Æ»Ã¯À¼í½§»e¡A¨¬×Å@Á÷¡A¨¬³¡²M¼ä²G¡A¨Åé¨Å²G¡A¨Åé«ö¼¯¥Î»ªo¡A¨Åé´þ¼íÁ÷¡A¨Åé¥Î¬ü¥Õ¸ÉÀã²£«~¡A¨®¥Î§N®ð²M¬~¾¯¡A¨®¥Î¥hº{¤Î¬ã¿i¥Î»s¾¯¡A¨®¥ÎÀ¿«G¾¯¡A¨®¥Î¤ô½c²M¬~¾¯¡A¨®¥Î²M¼ä¾¯¡A¨®¥Î¬Á¼þ²M¼ä¾¯¡A³n¤Æ¾¯¡A³n¤Æ¦Ù½§¤ô¡A³n¤Æ¦Ù½§±½¤¡A³z©ú®B»I¡A³q´ë¾¯¡A³y«¬啫³í¡]ÀY¾v¥Î¡^¡A³y«¬¼QÃú¡]ÀY¾v¥Î¡^¡A³y«¬ªwªj¡]ÀY¾v¥Î¡^¡A³y«¬ªd¡]ÀY¾v¥Î¡^¡A³y«¬¾v½¦¡]ÀY¾v¥Î¡^¡A»Ã¯À¤J¯D¾¯¡AîÅ»®Æ¡Aª÷è¬â¡Aª÷è¬â¡]¬ã¿i¥Î¡^¡Aª÷ÄݲM¼ä¾¯¡Aª÷ÄݺҤƪ¿¡]¬ã¿i®Æ¡^¡Aª÷¿û¾T¡]¬ã¿i®Æ¡^¡A¾Tº{²M°£¾¯¡A¨¾±Ó·P«OÀãÅ@½§²G¡]«DÂåÃĥΡ^¡A¨¾±Ó·P¼ä½§²£«~¡]«DÂåÃĥΡ^¡A¨¾±Ó¤ô¥÷²ÓM²G¡]«DÂåÃĥΡ^¡A¨¾±ÓÁ÷¡]«DÂåÃĥΡ^¡A¨¾ÅΨŲG¡A¨¾Åξ¯¡A¨¾Åξ¯¡]¤Æ§©«~¡^¡A¨¾ÅΤô¥÷Á÷¡A¨¾ÅΪo¡A¨¾Å⣫~¡A¨¾ÅÎÁ÷¡A¨¾ÅÎÅS¡A¨¾¦½¾¯¡]¤Æ§©«~¡^¡A¤î¦½¾¯¡A¨¾¦½ªÎ¨m¡A¨¾½K»I¡A¨¾½KÁ÷¡A¨¾²æ¾v¬~¾vÅS¡A¨¾°I¦ÑÀç¾iªo¡]«DÂåÃĥΡ^¡A¨¾µõ´þ¼í¥Î«~¡]«DÂåÃĥΡ^¡A°£«ü¥Òªo»s¾¯¡A°£¦½¤ò¥ÎÄú¡A°£¦½ªÎ¨m¡A°£ªo¾¯¡A°£½KÁ÷¡A°£¯äªÎ¨m¡A°£Äú¥ÎªQ¸`ªo¡A°£ù×»s¾¯¡AÂù®ñ¥¤¡]¤Æ§©«~¡^¡A³·ªá»I¡]¤Æ§©«~¡^¡A¹q¾¹ªí±²M¼ä¾¯¡A¹q¸Ü²M¼ä¾¯¡A¹q¾v¤ô¡A«D¥Í²£¾Þ§@©MÂå¥Îªº¥h«¯¾¯¡A«D¥Í²£¹Lµ{¤¤¥Îªº²æ¯×¾¯¡A«DÃĥꤤf¾¯¡A«DÂå¥Î¨N¯DÆQ¡A«DÂå¥Îº¤¤f¾¯¡A«DÂå¥Îº¤¤f¤ô¡A«DÂå¥Î潄¤f¾¯¡A±½¤¡A±½¤¯»¡A±³¡²M¼ä²G¡A±Á÷¡A±Á÷¡]¤Æ§©«~¡^¡A¾c¦K¥ÎÄú¡A¾cÀ¿«G¾¯¡A¾cªo¡A¾c½uÄú¡A¾cÄú¡A¹w¨¾³¶´³±½¤¡]«DÂåÃĥΡ^¡AÀY¾v¼QÃú¡AÀY¾v©w«¬Ãúµ·¡AÀY¾v¥Î¤Æ§©«~¡AÀY¾vÅ@²z¾¯¡]«DÂåÃĥΡ^¡AÀY¾vÅ@²z¥Î«~¡]«DÂåÃĥΡ^¡AÀV½¤¡AÀVÁ÷¡A¶¼®Æ¥Î»®Æ¡]»ºëªo¡^¡A¶¼®Æ¥Î»ºë¡]»ºëªo¡^¡A»¡A»®Æ¡A»®Æ¡]¤Æ§©«~¡^¡A»®Æ¥ÎÁ¡²ü¡A»®Æºëªo¡A»¤ì¡A»ÂfÂcªo¡A»¤ô¡A»¤ôºë¡A»¤ô»®Æ¡A»ªo¡A»¨m¡A»¨m»ºë¡A»ºë¡A»ºëªo¡A»¯ó¾J¡A»ÂÈ¡A»ÂȺëªo¡A»ÅéÅS¡A°©½¦ì±½¤¡A°©½¦²´Á÷¡AÅ黾¯¡A¾v«¬Å@²z²£«~¡A¾v§Àªo¡A¾v±m¡A¾v¤ô¡A¾vªo¡A¾v½¤¡A¾v½¦¡A¾vÄú¡A¾vÁ÷¡AÄGެV®Æ¡AÄGŽ¥ÎÄú¡AÅe»¡]»®Æ¡^¡A³Â¥¬ÂÈ»§ô¡A¶À¼Ìªoºë¡C
[540] °Ó¼Ð :

[210] ½s¸¹ : N/106175
[220] ¥Ó½Ð¤é : 2015/11/19
[730] ¥Ó½Ð¤H : l¥Í¦æ¦³¤½¥q
¦a§} : »´ä·s¬É¤¸®Ô§»·~¦èµó11¸¹¤¸®Ô¬ì§Þ¤¤¤ß12¼ÓB«Ç
°êÄy : ®Ú¾Ú»´äªk¨Ò¦¨¥ß
¬¡°Ê : °Ó·~¤Î¤u·~
[511] Ãþ§O : 5
[511] ²£«~ : ¤T´â¥ÒÖJ¡A¤T¸K¥ÒÖJ¡A¤¤°ê¤H°Ñ»s«~¡A¤¤¦¡Àç¾i¹«~¡]ÃĥΡ^¡A¤¤¦¡Àç¾i¶¼«~¡]ÃĥΡ^¡A¤¤¦¡ÂåÃÄÀç¾i«~¡A¤¤¼Ï¯«¸g¨t²Î¥ÎÃÄ¡A¤¤¼Ï¯«¸g¨t²Î¥ÎÃľ¯¡A¯óÃÄ¡A¤¤¯óÃÄ»I¡A¤¤¯óÃÄÃĪo¡A¤¤¯óÃÄ»s¦¨«~¡A¤¤ÃĦ¨ÃÄ¡A¤¤ÃĦ¨ÃĤfªA²G¡A¤¤ÃĦ¨ÃĨR¾¯¡A¤¤ÃĦ¨ÃÄ»I¥¬¡A¤¤ÃÄ´²¡A¤¤Ãħ÷´ö¥]¡A¤¤ÃĨN¯DÅS¡A¤¤ÃĪo¡A¤¤ÃIJ´ºw¾¯¡A¤¤ÃÄÃħ÷¡A¤¤ÃÄÃÄ»I¡A¤¤ÃÄÃİs¡A¤¤ÃÄ»s¾¯¡A¤¤ÃÄ»s¯»¡A¤¤ÃĶK¡A¤¤Ãİs»s¾¯¡A¤¤Ãͼ¤ù¡A¨Å¿}¡A¨Å¯×¡A°®Å~Ãľ¯¡A°®»sÃĥεߡA¤H°Ñ¡A¤H°Ñ»s«~¡]¤fªA²G¡^¡A¤H°Ñ»s«~¡]¤ù¾¯¡^¡A¤H°Ñ»s«~¡]¯»¾¯¡^¡A¤H°Ñ»s«~¡]Áû²É¾¯¡^¡A¤H°ÑÆFªÛÌU¤l¯»¡]Ãĥι«~¡^¡A¤H¤u¨üºë¥Îºë²G¡A¤H¥Î¤¤ÃÄ»s¾¯¡A¤H¥Î©MÃ~¥Î·L¶q¤¸¯À»s¾¯¡A¤H¥Î§½³¡©Ê§ÜÅðµßÃÄ«~¡A¤H¥Î·L¶q¤¸¯À»s¾¯¡A¤H¥Î±þµß¾¯¡A¤H¥Î¥Íª«»s¾¯¡A¤H¥Î¬Ì]¡A¤H¥Î²üº¸»X¡A¤H¥ÎÃÄ¡A¤H¥ÎÃÄ«~¡A¤H¥ÎÃĪo¡A¤H¥Î¨¾°A²G¡A¤H¥ÎÅX°A¶K¤ù¡A¥N¥Î¦å¼ß¡A¥HÄqª«½è¬°¥Dªº°·±d¹«~¸É¥R¾¯¡A¥Hºû¥L©R¬°¥Dªº°·±d¹«~¸É¥R¾¯¡A¦÷º¿¦å²y³J¥Õ»s¾¯¡A«K¯µµÎ½w¾¯¡A«O°·¯ù¥]¡]¤¤¯óÃÄ¡^¡A°²¤ú¥Î²¡®Æ¡A°²¤úÂH¦X¾¯¡A°²¤úÂH½¦¾¯¡A°·±dÀç¾i¹«~¡]ÂåÃĥΡ^¡A°·±d¸É«~¡]¤¤¯óÃÄ¡^¡A°·±d¹«~²K¥[¾¯¡]Âå¥Î¡^¡A°·¯«¸g¾¯¡A¶Ê¥Í¾¯¡A¶Ë··P«_»s¾¯¡A¶Ë·ªo¡A§K¬Ì¸ÕÅç¥ÎÃÄ«~¡A§K¬Ì½Õ¸`Ãľ¯¡A¤ºªA¤¤¦¨ÃÄ«~¡A¤ºªA«O°·ÃĤY¡]Âå¥Î¡^¡A¤ºªA¤Î¥~¥ÎÃİs¡A¦B½c¥Î§l¨ý¥]¡A¦B½c°£¯ä¾¯¡]¥h¨ý¾¯¡^¡Aá¶Ë¥ÎÃľ¯¡Aá¶Ë¥ÎÃÄ»I¡Aá¶ËÃÄ»I¡Aá½H»s¾¯¡A¥X¤ú¾¯¡A¤ÀªR¤ÎÂå¾Ç¥Îµ}ÄÀÃľ¯¡A§Q§¿¾¯¡A§U®ø¤Æ¤§¯Ø®q¿E¯À¸É¥R¾¯¡A°Êª«¥Î§tÃĩʬ~º°¾¯¡A°Êª«¥Î±þµß¾¯¡A°Êª«¥Î®ø¬r¾¯¡A°Êª«¥ÎÃÄ«~¡A°Êª«¥Î½Ã¥Í»s¾¯¡A°Êª«¥Î¨¾±H¥ÍÂήM°é¡A°Êª«¥Î¨¾±H¥ÍÂÎÀV°é¡A°Êª«¿á¥Î½¦¦X¾¯¡A°Êª«¿á¥Î½¦ÂH¾¯¡A¥]紥Á^±a¡A¥]²Ï¶Ë¤f¥ÎÁ^±a¡A¤Æ¾Çì®ÆÃÄ¡A¤Æ¾Ç¿d¬~«Ç¥Î®ø¬r¾¯¡A¤Æ¾ÇÃĪ«»s¾¯¡A¤Æ¾ÇÁ×¥¥¾¯¡A¤Æ¾ÇÅXÂÎÅX°A¾¯¡A¥_¬ü¶À³sج¡A§ZÁC¯×¯»¡]ÃĥΡ^¡A§ZÁC¯×Áû²É¡]ÃĥΡ^¡A¥hÀã¯ù¡A¥hÀY¥Ö®hªºÃĪ«»s¾¯¡A°Ñªá®ø´÷¯ù¡A°Ñ¯ñ¡A°Ñ¯ñ»s«~¡A¤ÎÆFªÛÌU¤l¯»¡]Âå¥Î¡^¡A¤fªA¥ÎL½L¯À½¦Ån¡]Âå¥Î¡^¡A¤fªA¬Ì]¡]Âå¥Î¡^¡A¤fªAÃIJG¡A¤f½H¤Î¸´þªvÀø»e¾¯¡A¤fµÄ¤îµh¾¯¡A¤fµÄ®øª¢¾¯¡A¥j©Ôº¸¤ó¤ô¡]µ}¦¸¾L»Ä¹]·»²G¡^¡A¥i¥d¦]¡A¥i½Õ¸`¦å¯×ÃÄ¡A¦UÃþ¨k¤k¶Ê±¡ÂåÃÄ¡A¦QÁw»I¡A§t¨EÃľ¯¡A§tÄqª«½è¤§Àç¾i¸É¥R«~¡A§tºû¥L©R¤§Àç¾i¸É¥R«~¡A§t³J¥Õ½è¤§Àç¾i²K¥[¾¯¡]ÃĥΡ^¡A§t³J¥Õ½è¤§Àç¾i¯»¡]ÃĥΡ^¡A§t³J¥Õ½è¨Å¾¯¡]ÃĥΡ^¡A§t»Ã¥Àµß¤§¼ÌªÛÀç¾i¸É¥R¾¯¡]ÃĥΡ^¡A§tªø¥Õ¤s¤H°Ñ¦¨¥÷ªºÂå¥ÎÀç¾i¹«~¡A§t¾~¤ù»s¾¯¡A§l¦¬¦¡¥¢¸T¥Î§¿¥¬¿Ç¡A«y¹Â¿}¼ß¡]ÃĥΡ^¡A«y¹ÂÃÄ¿}¡]ÃĥΡ^¡A÷¨Å¥Î¹Ô¡A³è²G¨ë¿EÃÄ«~¡A³Ý«y»I¡A¶åÆQ¡A¾¹©xªvÀø¾¯¡A¤gÄ[®ø¬r¾¯¡A¤gÄ[®ø¬r»s¾¯¡A§¤½HÃľ¯¡A°ö¾i²Óµß¥Îªº·»¾¯¡A°ö¾i²Óµß¥Î¦×´ö¡A¶ñ¶ë¤ú¤Õ¥Î®Æ¡A¶ñ¶ë¤ú¼Ò¥Î®Æ¡A¶ñ¤ú§÷®Æ¡A¥~¶ËÃĥδ֡A¥~¥Î¤¤ÃĤîµh¼Q¾¯¡A¥~¥ÎÀ¿¾¯¡]Âå¥Î¡^¡A¥~¥ÎÃĪo¡A¥~¥ÎÃĪ«¡A¥~¥ÎÃÄ»I¡A¥~¬ì¥]²Ïª«¡A¥~¬ì©MÁB§Î¥ÎÂH©T¾¯¡A¥~¬ì©Î¾ã«¬¥~¬ì¥Î°©ÀYµ²¦Xª«¡A¥~¬ì¤â³N¥Î¥¬¡]´ª«¡^¡A¥~¬ì¤â³N¥ÎµLµß¥¬¡A¥~¬ì¤â³N¥Î³q®ð½¦¥¬¡A¥~¬ì¼Å®Æ¡A¥~¬ì¥Î¼í·Æ³n»I¡]Âå¥Î¡^¡A¥~¬ì¥Î¯½¥¬¡A¥~¬ì¥Î´ª«¡A¥~¬ì¥ÎªÓÁ^±a¡A¥~¬ì²¾´Óª«¡]¬¡²Õ´¡^¡A¤j»[ªo¤Y¡]Âå¥Î¡^¡A¤j»[ªo¯»¡]Âå¥Î¡^¡A¤j»[ºë½¦Ån¡]Âå¥Î¡^¡A¤j¨§²§¶ÀଡA¤ÑµM§ZÁC¯×¡A¤ÑµM¤j»[ºë¡]ÃĥΡ^¡A¤ÑµMÀç¾i¸É¥R¾¯¡]ÃĥΡ^¡A¥¢¸T§l¦¬Å¨¿Ç¡A¥¢¸T¥Î§¿¥¬¡A¥¢¸T¥Î§¿¿Ç¡A¤k©Ê½Ã¥Í¤y¡A¤k©Ê½Ã¥Í¥Î«~¡A°ü¤k³±¹DÄé¬~Ãľ¯¡AÀ¦¨à¨Å¯»¡AÀ¦¨à¥¤¯»¡AÀ¦¨à¥Î§t¨ÅÄѯ»¡AÀ¦¨à¦Ì¯»¡AÀ¦¨à¨§¥¤¯»¡AÀ¦¨à¹«~¡AÀ¦¨à¹«~ÅøÀY¡AÀ¦¨à¹ª«¡AÀ¦¨à³Á¯»¡A¦w¯vÃÄ¡A¦w¯«Ãľ¯¡A¤p³Á¶ÂÁJ¯f¤Æ¾Ç³B²z¾¯¡A¥§¥j¤B´î°£¾¯¡]Âå¥Î¡^¡A¤sÃỡ]ÃĥΡ^¡A¤w¸ËÃÄ«æ±Ï½c¡A¤Ú¨§²ô¥Ö¡A¥®ÂÎÅX°£¾¯¡A±j¤ß¾¯¡]Âå¥Î¡^¡A·L¥Íª«¥ÎÀç¾iª«½è¡A¤ßŦ¦åºÞ¥ÎÃÄ¡A¤ßŦÅã¼v¾¯¡A¤ß¹q¹Ï´y°O¾¹¹q·¥¥Î¤Æ¾Ç¾ÉÅé¡A«æ±Ï½c¡]³Æ¦nÃĪº¡^¡A·P«_¶Ë·¯À¡]½¦Ån¡^¡A·P«_²G¡AÃh¥¥¶EÂ_¥Î¤Æ¾Ç¾¯¡AÃh¥¥¶EÂ_¥Î¤Æ¾Ç»s¾¯¡A¦¨¤H¯È§¿¿Ç¡A¦¨¤H¯È§¿¤ù¡A§Ù·Ï§U¾¯¡A§Ù·Ï¤fÄZÃÄ¿õ¡A¥´ÂÎÃÄ¡A§í¨îÅðµß¥ÍªøÃľ¯¡A§íµßÅ@¤â½¤¡]ÃĥΡ^¡A§Ü¹½®ñ©ÊÃÄ«~¡A§Ü¹Ã¾¯¡A§Ü§¿»Ä¾¯¡A§Ü©¬ª÷´Ë¯gÃľ¯¡A§Ü¤ß«ß¤£¾ã¾¯¡A§Ü¤ß«ß¤£¾ãÃÄ«~¡A§Ü¤ßµ±µh¾¯¡A§Ü´c©Ê¸~½F¾¯¡A§Ü¼~Æ{Ãľ¯¡A§Ü®ñ¤ÆÀç¾i¸É¥R¾¯¡A§Ü®ñ¤ÆÃľ¯¡A§Ü¦½Ãľ¯¡A§Ü¼ìºÅÃľ¯¡A§ÜÂo¹L©Ê¯fìÅéÃľ¯¡A§Ü¤ú©P¯fªvÀø¾¯¡A§Ü¥Í¯À¡A§Ü¯f¬rÃľ¯¡A§ÜµjÅpÃÄ¡A§Üµg¯eÃľ¯¡A§ÜºÄ¯eÃľ¯¡A§ÜÀù¾¯¡A§ÜÅöíwÃÄ¡A§ÜÅöíwÃľ¯¡A§Ü²Õ´ÓiÃľ¯¡A§Üµ²®Ö¯fÃľ¯¡A§Üµß¯À¡A§Ü¦å²G®ê¶ë¾¯¡A§Ü¹L±ÓÃľ¯¡A§ÜÁôªá´Óª«»s¾¯¡A§Ü·Àã¯f°éÀô¡A§Ü°ª¦åÀ£ÃÄ«~¡A§ÜÆT¾¦Ãľ¯¡A©æÅnª¢Å¨¹Ô¡A®·»aÃÇ¥ÎÂH½¦¡A®·ÃÇÂH½¦¾¯¡A±Æ¬r¤Y¡]Âå¥Î¡^¡A±Æ¬r¥Í¦Ù»I¡]»IÃÄ¡^¡A±Æ¦½ÃÄ¡A±±¨î¥Ö½§¦â¯À¤§¥Í²zÃĪ«¡A´£¯«Ãľ¯¡A´£°ª¤HÅé§K¬Ì¤Oªºªº«O°·¹«~¡]Âå¥Î¡^¡A·g¾¯¡A¤ä®ðºÞÂX±i¾¯¡]ÃĥΡ^¡A¤ä®ðºÞÂX±i»s¾¯¡A©ñ®g©ÊÃÄ«~¡A©ñ®g½u¥Î³y¼v¾¯¡]Âå¥Î¡^¡A´²¾¯¡]ÃĥΡ^¡A¾ã¸z¾¯¡A¼Å®Æ¯½¥¬¡A¼ÅÃĥΧ÷®Æ¡A´³çº¯»¡A¤ë¸g¹Ô¡A¤ë¸g±a¡A¤ë¸g®ê¡A¤ë¸g¥Î¹Ô¡A¤ë¸g¥Î¤î¦å´Ö¡A¤ë¸gµu¤º¿Ç¡A¤ë¸gÁ^±a¡A¤ë¸g衞¥Í¥Î«~¡A¤ë¨£¯óªo½¦Ån¡]ÃĥΡ^¡A§ö¤¯¡BÁ¡²ü¿}¬°¥Dnì®Æ»s¦¨ªº«O°·¹«~¡]Âå¥Î¡^¡AªJªI¥Ä¡]ÃĥΡ^¡AªJªI»I¡]ÃĥΡ^¡AªJªIÅS¡]ÃĥΡ^¡AªG¹è¿}¼ß¡]ÃĥΡ^¡A®ê¾¯¡A´Ö²y¡]Âå¥Î¡^¡A´Öªá¡]Âå¥Î¡^¡A´Öªá´Î¡]Âå¥Î¡^¡A´Îª¬²¸¶À¡]®ø¬r¾¯¡^¡A´Óª«ÅÖºû´îªÎ¤ù¡]ÃĥΡ^¡A¼Ì¸£¤Y¡A¼Ì¸£ªo¡]Âå¥Î¡^¡A¼ÌªÛÀç¾i´þ¼í¾¯¡]Âå¥Î¡^¡A¼ÌªÛÀç¾i¸É¥R«~¡]Âå¥Î¡^¡A¼ÌªÛ¤ù¡]Âå¥Î¡^¡A¼ÌªÛµo»Ã²G¡]Âå¥Î¡^¡A¼ÌªÛ¯»¥½¡]Âå¥Î¡^¡A¼ÌªÛ²É¡]Âå¥Î¡^¡A¼ÌªÛºë¡]Âå¥Î¡^¡A¼ÌªÛ½¦Ån¡]Âå¥Î¡^¡A¼ÌªÛ¯ù¡]Âå¥Î¡^¡A¼ÌªÛ¿õ¡]Âå¥Î¡^¡A¼ÌªÛ°¦å¿}¡]Âå¥Î¡^¡A¾ó¥Ö»I¡A¤î«y¤Y¡A¤î«y¾¯¡A¤î«yÅS¡A¤î¦½¾¯¡A¤îÂm¾¯¡A¤îµjÅ˯fÃÄ¡A¤îµh¾¯¡A¤îµhªo¡A¤îµh»I¡A¤îµhÃÄ¡A¤îµh»s¾¯¡A¤îÄo¤Y¡A¤îÄo¤ô¡A¤î¦å¾¯¡A¤î¦å´²¡A¤î¦å®ê¡A¤î¦å¥ÎÃľ¯¡A¤î¦åÃÄ¡A¤î¦åÃıø¡A±þ±H¥ÍÂξ¯¡A±þ±H¥ÍÂÎÃÄ¡A±þ·L¥Íª«¾¯¡A±þ·À¦³®`°Êª«»s¾¯¡A±þ¯uµß¾¯¡A±þºë¤l¾¯¡A±þµß¾¯¡A±þµß啫³í¡A±þµßÀã¯È¤y¡A±þµß¥Î«~¡A±þ蟎¾¯¡A±þÂξ¯¡A±þÂμQÃú¾¯¡A±þÂ⣫~¡A±þÂÎÃĤù¡A±þÂÎÃIJɡA±þ¹«¾¯¡A¬rÃÄ¡A¤ò¾v«P¥Í¾¯¡A®ð³Ý¯ù¡A®ñ®ð¯D¬Ö¡A®ò°ò»Ä·»²G¡A¤ô¾¯¡]ÃĥΤƾǻs¾¯¡^¡A¦½¨¬ÃÄ¡A¨E³n»I¡A¦Ãª«®ø¬r¾¯¡A¨T¨®ªÚ»¾¯¡Aªo¾¯¡]¶Ë·ªo¡^¡Aªo¾¯¡]²M²Dªo¡^¡Aªo¾¯¡]·Àãªo¡^¡Aªv«y¹ÂÃÄ¡Aªv¤p³Á¬\µä¯f¡]¶ÂÁJ¯f¡^ªº¤Æ¾Ç»s¾¯¡Aªv®ð³ÝÃÄ¡Aªv¿S¶Ëªo»I¡Aªv¬ÐÃĵ§¡Aªv²©¾¯¡AªvÀø¤¤¼Ï¯«¸g²§±`»s¾¯¡AªvÀø¨ÅÀù¤§ÃÄ«~¡AªvÀø¤HÃþ¦Õ¯e¥ÎÃÄ«~¡AªvÀø«K¯µªºÃĪ«¡AªvÀø¾®¦å¯À¤¸¹L§C¤§ÃÄ«~¡AªvÀø©I§l¾¹©xÃĪ«¡AªvÀø³ïÄV¤£¾A¤§½¦Ån¡AªvÀø©x¯à©Ê«k°_»ÙꤧÃÄ«~¡AªvÀø¤ß«ß¤£¾ã¤§Ãľ¯¡AªvÀø¤ßŦ¦åºÞ¯e¯f¤§Ãľ¯¡AªvÀø·s³¯¥NÁªv¾¯¡AªvÀøÅζ˳n»I¡AªvÀø²O¯D¥Î®ü¤ô¡AªvÀø¿N¶Ë²G¾¯¯½¥¬¡AªvÀø¿N¶Ë²G»s¾¯¡AªvÀø¿N¶Ë»s¾¯¡AªvÀø¤ú¾¦Ãľ¯¡AªvÀø¥Ö½§¯f¤§Ãľ¯¡AªvÀø¦åºÞ¯e¯f¥Î¦å¼ß¸É±j¹ï§Ü¾¯¡AªvÀø¨Åé·õ¯gªº¤¤¦¨ÃÄ¡AªvÀø«C¬KµkÃľ¯¡AªvÀøÀY¥ÖÃľ¯¡AªvÀø·Àã¥ÎÀô¡Aªv¿}§¿¯fÃľ¯¡Aªvªá¬h¾¯¡Aªv¸²°H¥Î¤Æ¾Ç»s¾¯¡AªvÃý¯¯f¤Æ¾ÇÃľ¯¡Aªv¿ò§¿¾¯¡AªvÀYµhÃÄ«~¡AªvÀYµhÃıø¡AªvÀY¥Ö®hªºÃľ¯¡Aªv·ÀãÃľ¯¡Aªv°©³n¾¯¡Aªd¼Å¾¯¡Aª`®g¥ÎL½L¯À¡]Âå¥Î¡^¡Aª`®g¥Î¸²µå¿}¡]Âå¥Î¡^¡Aª`®g¬Ì]¡]Âå¥Î¡^¡A¬v°Ñ¨R¾¯¡A¬v¦a¶À¥Ì¡A¬~¯DÃľ¯¡A¬~µÇÃľ¯¡A¯D¥Î®ñ®ð¡A¯D¥ÎªvÀø¾¯¡A¯D¥Îªd¼ß¡A®ü¬v¥Íª«¶t¡]ÃĥΡ^¡A®üĦ¤ù¡]ÃĥΡ^¡A®û»sÃIJG¡A®ûªwÃľ¯¡A®ûÃIJGªºÁ¡¯È¡A®ûÃIJGªº½Ã¥Í¯È¡A®û»sÃIJG¡A®ø¤Æ¾¯¡]ÃĥΡ^¡A®ø¬r¤Y¡]½¦Ån¡^¡]ÃĥΡ^¡A®ø¬r¾¯¡A®ø¬r啫³í¡A®ø¬r´Ö¡A®ø¬r¤ô¡A®ø¬r¥Î«~¡A®ø¬r¯È¤y¡A®ø¬rÃĤô¡A®ø·À¦³®`°Êª«»s¾¯¡A®ø·À¦³®`´Óª«»s¾¯¡A®øª¢¾¯¡A®øª¢ÃĤô¡A®øª¢»s¾¯¡A®øª¢Âíµh¾¯¡A®øª¢Âíµh¶K¥¬¡A®ø²©¤Y¡A®ø¨x¤Y¡]ÃĥΡ^¡A®ø¸~»I¡A®ø°£ÀR¯ß¸~µÈ¾¯¡A²O¤Ú²G»s¾¯¡]ÃĥΡ^¡A²O¤Ú²yT²ÓM³æ®è§ÜÅé¡]ÃĥΡ^¡A²b¤Æ¾¯¡A²b¤Æ»s¾¯¡]ÃĥΡ^¡A²`®üÂD³½ªo¡A²M²Dªo¡]Âå¥Î¡^¡A²K¥[¾¯¡]Âå¥Î¡^¡A²M°£¾ó¥Ö»I·»¾¯¡A´îªÎ¥ÎÃľ¯¡A´îªÎ¯ù¡]Âå¥Î¡^¡A´îªÎÃÄ¡A´îªÎ°¯×¤Y¡]ÃĥΡ^¡A·Å¬u¤ô¡A·À°®¦´¯uµß»s¾¯¡A·À¥®Âξ¯¡A·À·L¥Íª«¾¯¡A·ÀÃǾ¯¡A·À¹«¾¯¡A´þ¸É«~¡]ÃĥΡ^¡Aº}¥Õ¯»¡]®ø¬r¡^¡A¤f¾¯¡]ÃĥΡ^¡Aº¤¤f¤ô¡]ÃĥΡ^¡A¼í¸z³q«Kªº¤fªA²G¡]¯»¾¯¡^¡]ÃĥΡ^¡A¼í¸z³q«Kªº¤fªA²G¡]Áû²É¾¯¡^¡]ÃĥΡ^¡A¿@ÁYÃỡA¿@ÁY³J¥Õ½è¯»¡]ÃĥΡ^¡AÀã¯lÃľ¯¡AÂm¾¯¡AÂmÃÄ¡AÄé¸z¾¯¡A¬´ÅÖºû²¾´Ó¬¡Åé¯À¡A¯QÀYج¡A·ÏâÀ¿õ¾¯¡A·Ïºë¡]±þÂξ¯¡^¡AµLµß¸Õ¾¯¡]ÂåÀø¥Î¡^¡A·Î¦nªºÃÄ¡AÂÈ»]´Î¡AÂÈ»]¥Î´Ò¡AÂÈ»]»¿õ¡A¿N¶ËªvÀøÃľ¯¡A¿S¤õÃÄ«~¡AÀç¾i´þ¸É¾¯¡]ÃĥΡ^¡AÀç¾i¤ù¡]ÃĥΡ^¡AÀç¾i¸É¥R¾¯¡]ÃĥΡ^¡AÀç¾i¸É¥R«~¡]ÃĥΡ^¡AÀç¾i¸É¥R½¦Ån¡]ÃĥΡ^¡AÀç¾i¸É¾¯¡]ÃĥΡ^¡AÀç¾i¸É§U¾¯¡]ÃĥΡ^¡AÀç¾i¹«~¡]ÃĥΡ^¡AÀç¾i¹«~¸É¥Rª«¡]ÃĥΡ^¡A¤ù¾¯¡]ÃĥΤƾǻs¾¯¡^¡A¤ú¶ñ®Æ¡A¤ú¶ñ®Æ¾¯¡A¤ú®ÚºÞªvÀø¾¯¡A¤ú¼Ò¥Î®Æ¡A¤ú¬}¶ñ¥Rª«¡A¤ú¥Î¥ú¼ä¾¯¡A¤ú¥Î¬t¤ÆÃĪ«¡A¤ú¥Î¬ã¿i¯»¡A¤ú¥ÎÂH¦X¾¯¡A¤ú¬ì¥ú¼ä¾¯¡A¤ú¬ì¥Î¦L¼Ò§÷®Æ¡A¤ú¬ì¥Î¾ó½¦¡A¤ú¬ì¥Î¨E¤Æª«¡A¤ú¬ì¥Î¨E¦Xª÷¡A¤ú¬ì¥Î¬ã¿i¾¯¡A¤ú¬ì¥ÎÂH©T¯»¡A¤ú¬ì¥ÎÂH½¦¾¯¡A¤ú¬ì¥ÎÃÄ¡A¤ú¬ì¥ÎÃľ¯¡A¤ú¬ì¥Î¶Q«ª÷ÄݦXª÷¡A¤ú¬ì¥Îª÷¨E¦Xª÷¡A¤ú¬ì¥Î³Â¾K¾¯¡A¤úÄú¡AÂå¥Î³y«¬Äú¡A¤úÂå»s¼Ò¥ÎÄú¡A¤ú¾¦¥Íªø«P¶i¾¯¡A¤ú¾¦ÂH½¦¾¯¡A¤ú¾¦µ²¥Û¥ÎÃľ¯¡A¤ûªì¨Å¤ù¡]ÃĥΡ^¡A¤ûµk¬Ì]¡A¤ûÃÇÅX°£¥Îªo¡]ÃĥΡ^¡A¬¹¯b¥Î¬~º°¾¯¡Aª¯¥Î¬~²bÃľ¯¡Aª¯¥Î¬~º°¾¯¡Aª¯¥Î¬~º°²G¡Aª¯¥ÎÃĤô¡Aª¯¥ÎÅXÂξ¯¡Aª¯¥ÎÅXÂÎÃÄ¡AµU´Ç´²¡]Âå¥Î¡^¡AÃ~¥Î¤Æ¾Ç»s¾¯¡]Âå¥Î¡^¡AÃ~¥Î®ò°ò»Ä¡AÃ~¥Î¬~º°¾¯¡AÃ~¥Î½Ã¥Í¥Î«~¡AÃ~¥Î½Ã¥Í»s¾¯¡]Âå¥Î¡^¡AÃ~ÃÄ¡AÃ~Âå¥Î¤Æ¾Ç»s¾¯¡AÃ~Âå¥Îªo¯×¡AÃ~Âå¥Î¬~²G¡AÃ~Âå¥Î¥Íª«»s¾¯¡AÃ~Âå¥ÎÃÄ¡AÃ~Âå¥Î»s¾¯¡AÃ~Âå¥Î酶¡AÃ~Âå¥Î酶»s¾¯¡A¥É«Ì·´²¡]ÃĥΡ^¡A¤ý¼ß¡]Âå¥Î¡^¡Aª´ºÀªá¡]ÃĥΡ^¡A¬Ã¯]¼h¯»¡]ÃĥΡ^¡A¬Ã¯]¯»¡]ÃĥΡ^¡A²y®Ú²o¤û»sÂmÃÄ¡AÀô¹Ò½Ã¥Í¥Î®ø¬r¾¯¡A¥Ì¨E¡A¥ÌªoÁC»Äà¡A¥Ì¯ó¡]ÃĥΡ^¡A¥Ì»°s¡]ÃĪ«»s¾¯¡^¡A¥Í¤ÆÃÄ«~¡A¥Íª«ÃÄ«~¡A¥Í²z¥ÎŨ¹Ô¡A¥Í¾v¤Y¡]ÃĥΡ^¡A¥Í¾v¤ô¡]ÃĥΡ^¡A¥Í¾vºë¡]ÃĥΡ^¡A¥Í¾v»I¡]ÃĥΡ^¡A¥Í¾vÃĤô¡]ÃĥΡ^¡AÄqª«½èÀç¾i¸É¥R«~¡AÄqª«¹«~²K¥[¾¯¡AÒç·¬¡µ¸ªo¡]ÃĪo¡^¡A¯«¸g¦w©w¾¯¡]ÃĥΡ^¡A¯«¸g±j°·¾¯¡]ÃĥΡ^¡A¯«¸g©ÊÀYµhÃÄ«~¡A½\Ãþ¥[¤uªº°Æ²£«~¡]Âå¥Î¡^¡AªÅ®ð²b¤Æ¾¯¡AªÅ®ð²b¤Æ»s¾¯¡AªÅ®ð²M·s¾¯¡AªÅ®ð²M²b¾¯¡AªÅ®ð²M¼ä¾¯¡A¦Ë¾L²G¡]Âå¥Î¡^¡A¸`¹©ÎÂåÃĥξý¯»¡AÂHÃǯȡAÂHÃǽ¦¡A¿}§¿¯f¤H¹¥ÎÄÑ¥]¡A¿}§¿¯f±wªÌ¥Î¤§Àç¾iª«¡]Âå¥Î¡^¡AÁSÄê©Ê¬r¾¯¡A¬õÃĤô¡A¬õ¦å²y¯À¡A¯Ç¨§½¦Ån¡A¯Â¤¤ÃĪŮð±þµß¾¯¡A¯ÂÆFªÛ¯}¾ÀÌU¤l¯»¡]Âå¥Î¡^¡A²Óµß°ö¾i¾¯¡A²Óµß°ö¾i´C¤¶¡A²Óµß¬rÃÄ¡A²Ì³Ð»I¡]ÃĥΡ^¡A¸g¥Ö¿éµ¹¤§³Â¾K¾¯¡Aºî¦XÄqª«½è»s¾¯¡Aºî¦Xºû¥L©R¡AºñĦ¤ù¡]ÃĥΡ^¡AºñĦ¯»¡]ÃĥΡ^¡AºñĦ²É¡]ÃĥΡ^¡AºñĦ¿õ¡]ÃĥΡ^¡Aºû¥L©R¤Y¡Aºû¥L©R°·±d²£«~¡Aºû¥L©R¾¯¡Aºû¥L©R¤ù¡Aºû¥L©R½¦Ån¡Aºû¥L©R¸É¥R¾¯¡Aºû¥L©R¶t¤ù¡Aºû¥Í¯À»s¾¯¡Aºò¨¤º¿ÇŨ¸Ì¡]½Ã¥Í¥Î¡^¡A½w©M«K¯µªºÃĪ«¡AÁ_¦X¥Ö½§¶Ë¤f¥Î½¦¥¬¡AÁY¤l®cÃÄ¡]Âå¥Î¡^¡AÁ^±a¡AÁ^¼Å§÷®Æ¡]Âå¥Î¡^¡AÁ^¼ÅÃÄ«~¡AÅÖºû´îªÎ¯»¡]Âå¥Î¡^¡A¦Õ¥Îºw¾¯¡]ÃĥΡ^¡A¦×ãλT¡]ÃĥΡ^¡A¦×¹ªG½ÅøÀY¡]À¦¨à¥Î¡^¡A¦Ù¦×Ãö¸`¯kµhªvµh¥\®ÄªºÃĪo¡A¦Ù¦×ÃP¦¢¾¯¡]ÃĥΡ^¡A¨xª¢ÀËÅç¸Õ¾¯¡A¨xŦ«OÅ@Ãľ¯¡A¨xÃÄ¡AªÎ¨m¼Ì¸£·g¾¯¡AG¤Y¡AG¨Å¡]Âå¥Î¡^¡AGÃÄ¡AL½L¯À½¦Ån¡]Âå¥Î¡^¡AL½L»¤¾ÉÃÄ¡]Âå¥Î¡^¡AJÅÚ½³¯À¡]Âå¥Î¡^¡A¯Ø®q¯À»s¾¯¡]Âå¥Î¡^¡AÓi°ò»Ä»s¾¯¡]Âå¥Î¡^¡A¯à§lªþªº¶ñ¶ëª«¡A¯ßºÞÂX¤j¾¯¡]Âå¥Î¡^¡A²æ¯×´Ö¡AµÇ®ð¤¦¡]Âå¥Î¡^¡A»G»k©Êµ§¡A¸£«O°·«~¡]Âå¥Î¡^¡A¸}À¹°£Âû²´Àô¡A¸}¥Î¤î¦½¾¯¡A¸zG¤¤¦¨ÃÄ«~¡A¸¡½¤º¯ªRÃIJG¡A»I¾¯¡]ÃĥΡ^¡A»I¥¬¡]ÃĥΡ^¡A»IÃÄ¡A½¦Ån¡]ÃĥΡ^¡A½¦¥¬¡A½¦¥¬¥Û»I¡AÁx¥Ä±ÆªnÃÄ¡AŦ¾¹«O¦sÄé¬y²G¤§¤H¤u¦å²G¡]Âå¥Î¡^¡AŦ¾¹ªvÀø¾¯¡]Âå¥Î¡^¡AÁ{§É¥Î¯×½èª`®g²G¡]Âå¥Î¡^¡AÁ{§É¸ÕÅç¥Î»s¾¯¡]Âå¥Î¡^¡A¿³¾Ä¾¯¡]Âå¥Î¡^¡Aªã¤l¼Å¾¯¯È¡Aªã¤lªd¼Å¾¯¡Aªã¤l»IÃÄ¡Aªã¤l»IÃįȡAªã¥½»IÃÄ¡AªáºX°Ñ¡Aªá¯»ÃþÀç¾i«~¡]Âå¥Î¡^¡AªÚ»¾¯¡AW¯ùªo¤Y¡]Âå¥Î¡^¡A¯ù¾¯¡]ÃĥΡ^¡A¯ù¥]¡]ÃĥΡ^¡A¯ó¥»»s«~¡]ÃĥΡ^¡A¯óÃÄ¡A¯óÃįù¡]ÃĥΡ^¡A¯óÃÄ»s«~¡]ÃĥΡ^¡A²üº¸»X»s¾¯¡]Âå¥Î¡^¡AÛ£¿¸¦hÁÞÅ齦Ån¡]ÃĥΡ^¡AÛ£¿¸µßµ·Å齦Ån¡]ÃĥΡ^¡AÛn葜¡]Âå¥Î¡^¡A¸²µå¬óºëµØ¯À¡]ÃĥΡ^¡A蒽ªo¡]±þ±H¥ÍÂΥΡ^¡AÁ¡²üªo¡]Âå¥Î¡^¡AÁ¡²üºë¡]Âå¥Î¡^¡AÁ¡²ü¸£¡]Âå¥Î¡^¡AÁ¡²ü¾J¡A薫»¤ù¡]¤¤¯óÃÄ¡^¡AÂÅĦ¡]Á³±ÛĦ¤ù¡^¡]ÃĥΡ^¡AÂÅĦ¤ù¡]ÃĥΡ^¡AÂÅĦ¯»¡]ÃĥΡ^¡AÂÅĦ²É¡]ÃĥΡ^¡AÂÅĦºë¡]ÃĥΡ^¡AÂÅĦ¿õ¡]ÃĥΡ^¡AÃÄ«~½¦Ån¡AÃÄ´²¡AÃħ÷¡AÃĪE¡AÃĤô¡AÃĪo¡AÃįD¥Î®ü¤ô¡AÃÄ®û´Ç¡AÃĤù¡AÃĪ«½¦Ån¡AÃĪ«¶¼®Æ¡AÃĥΤAîÅ¡AÃĥΤAîÇ¡AÃĥΤAîÇ¡]¤¤ÂåÃÄÃİs¡^¡AÃĥΫO°·Àç¾i²£«~¡AÃĥΨà¯ù¡AÃĥΧU®ø¤Æ¾¯¡AÃĥΤƾǻs¾¯¡AÃĥΤfªA²G¡AÃĥΤf»¿}¡AÃĥγï¤ù¡AÃĥγï¿}¡AÃĥμQ¾¯¡AÃĥΤj¶À®Ú¡AÃĥΤpĬ¥´¡AÃĥΩÎÂå¥Î¤ô¾¯¡AÃĥΩÎÂå¥Î¤ù¾¯¡AÃĥΩÎÂå¥Î»I¾¯¡AÃĥΩÎÂå¥Î¶K¾¯¡AÃĥΩÎÂå¥Îª¾¯¡AÃĥηg¾¯¡AÃĥΤ쬴¡AÃĥΧö¤¯¨Å¡AÃĥΪQ¸`ªo¡AÃĥή꾯¡AÃĥήڶô´Óª«¡AÃÄ¥ÎÑÛ¾ð¡AÃÄ¥ÎÑ۾𸣡AÃÄ¥ÎÙ«»Ä¡AÃĥδӪ«¡AÃĥδӪ«®Ú¡AÃĥδӪ«¶¼«~¡AÃĥξð¥Ö¡AÃĥήñ¤ÆÁâ¡AÃĥήò°ò»Ä¡AÃĥΤô¦X´âîÇ¡AÃĥΨI¾ýªd¡AÃĥήø¬r¾¯¡AÃĥη͡AÃÄ¥ÎÀç¾i«~¡AÃÄ¥ÎÀç¾i¹«~¡AÃĥΤù¾¯¡AÃĥΤû¥¤»Ã¯À¡AÃĥΥ̯󯻡AÃĥΥÒîÇ¡AÃĥΪº¯óÃͼ®Æ¡AÃĥΥֽ§»I¡AÃĥίuµß´£¨úª«¡AÃĥεv»Ä®ñ¹c¡AÃĥβ¸µØ¡AÃĥθK¡AÃĥθK¤Æª«¡AÃĥΦ˾L²G¡AÃĥο}¡AÃĥο}ªG¡AÃÄ¥ÎÅÖºû¯À¯×¡AÃÄ¥ÎÅÖºû¯ÀîÅ¡AÃÄ¥ÎÅÖÅé°·±d¹«~¡AÃĥλI¾¯¡AÃĥν¦¡AÃĥν¦¤Y¡AÃĥν¦Ån¡AÃĥν¦¥¬¡AÃĥν¦´Ö¡AÃĥΪ㥽¡AÃÄ¥ÎV©ÊÆP¡AÃĥίù¡AÃĥίù¥]¡AÃĥίóÃÄ¡AÃĥίóÃįù¡AÃĥγD³Â¤l®û»I¡AÃĥγD³Â¸¢¡AÃĥθɨ¹«~¡AÃÄ¥ÎÅ@½§¾¯¡AÃĥγn»I¡AÃĥξF¥Ò®ñ°òf×ô¡AÃĥΰs¡AÃĥΰs¥Û¨Å¾¯¡AÃÄ¥Îà¡AÃĥλïÀ¡AÃĥλġAÃĥξL»Ä¨Å¡AÃĥξL»ÄÆQ¡AÃĥΰw¾¯¡AÃĥζuÆQ¡AÃĥιc»s¾¯¡AÃĥοõ¾¯¡AÃÄ¥ÎÂíÀRªo¡AÃĥι«~¡AÃĥζ¼®Æ¡AÃĥλ®Æ¡AÃĥγ½¯»¡AÃÄ¥Î鷄ºë¡AÃÄ¥ÎÆP©Ê¸K¤Æª«¡AÃĥγÁ¨¤¡AÃÄ¥ÎÄѯ»¡AÃÄ¥ÎÀsÁx¡AÃỡAÃÄ»I¡AÃÄ»IÃÄ«~¡AÃĽ¦Ån¡AÃįù¡AÃįó¡AÃįó»s«~¡AÃÄ»s¿}ªG¡AÃÄ»s¿}ªG¡]Âå¥Î¡^¡AÃĶK¡AÃĶK½¦¥¬¡AÃİs¡AĪîP¡]Âå¥Î¡^¡AÂίóºë¡]Âå¥Î¡^¡A°A©È¤ô¡A°A»¡A³J¥Õ¤û¥¤¡A³J¥Õ½è¤§Àç¾i²K¥[¾¯¡]Âå¥Î¡^¡A³J¥Õ½èÀç¾i¸É¥R«~¡]Âå¥Î¡^¡A³J¥Õ½è¤ù¡]Âå¥Î¡^¡A³J¥Õ½è¯»¡]Âå¥Î¡^¡A¸Á¤ýºë¡]Âå¥Î¡^¡A¸Á¬Ó¼ß¡]Âå¥Î¡^¡A¸Á½¦¡]Âå¥Î¡^¡A¸Á»e¡]Âå¥Î¡^¡AÂίóºëµØ¡]Âå¥Î¡^¡AÂίó½¦Ån¡]Âå¥Î¡^¡A¦å²G»s«~¡]Âå¥Î¡^¡A¦å²M¡A¦å²MÀøªk¥ÎÃľ¯¡A¦å²MÂåÀøÃľ¯¡A¦å¼ß¡A¦å²y³J¥Õª`®g¾¯¡]Âå¥Î¡^¡A¦åºÞ¦¬ÁY¾¯¡]Âå¥Î¡^¡A¦å¬õ³J¥Õ¡A¦å¬õ³J¥Õ¤¸¡A¦å¦â³J¥Õ¤¸¡A½Ã¥Í¹Ô¡A½Ã¥Í¤k¿Ç¡A½Ã¥Í®ê¡A½Ã¥Í´Ö¡A½Ã¥Í´Ö¹Ô¡A½Ã¥Í´Ö±ø¡A½Ã¥Í¤î¦å´Ö¶ë¡A½Ã¥Í¤ò¤y±a¡]¤ò¤y¡^¡A½Ã¥Í®ø¬r¾¯¡A½Ã¥Í²y¡A½Ã¥Í¥Î«~¤ÎÃÄ«~¡A½Ã¥Íµu¤º¿Ç¡A½Ã¥Íºò¨¤º¿Ç¡A½Ã¥ÍÁ^±a¡A½Ã¥ÍÃÄ«~¡A½Ã¥ÍŨ¿Ç¡A½Ã¥ÍÅ@¹Ô¡A¦çªA©M¯¼Â´«~¥Î°£¯ä¾¯¡A¸É°·ÃÄ¡A¸É¥RÀç¾i«~¡]ÃĥΡ^¡A¸É¥RÀç¾i¶¼®Æ¡]ÃĥΡ^¡A¸É¾¯¡]ÃĥΡ^¡A¸É«~¡]ÃĥΡ^¡A¸É¤ú§÷®Æ¡A¸É¤ú§÷®Æ¤úÀë¡A¸ÉµÇ¤Y¡A¸ÉÃÄ¡]Âå¥Î¡^¡A¸ÉÃÄ¡]ÃÄ¡^¡A¸É¦å¤Y¡]Âå¥Î¡^¡A¸É¦å¾¯¡]Âå¥Î¡^¡A»s·L¥Íª«¥Î°ö¾iª«¡A½Æ¦X®ò°ò»Ä¤ù¡]Âå¥Î¡^¡A½Æ¦Xºû¥Í¯ÀB¤ù¡A½Æ¦Xºû¥Í¯ÀC¤ù¡A¦è¬v°Ñ»s«~¡A¦èÃÄ¡A¦èÃĤ§ì®ÆÃÄ¡A¦èÃľ¯¡A¦èÃÄ«~¡A¦èÃÄÃĤY¡A¦èÃÄÃÄ»I¥¬¡A¸Ñ¬r¤Y¡]Âå¥Î¡^¡A¸Ñ¬r¤ù¡]Âå¥Î¡^¡A¸Ñ¼ö¾¯¡A¸Ñ¼öÃľ¯¡A¸Ñ¼ö°h¿N¾¯¡A½Õ¸`¦åÀ£ªº¯ù¸»s«~¡]Âå¥Î¡^¡A½Õ¸g¤Y¡AÅ@¹Ô¡AÅ@½§Ãľ¯¡A¶K¾¯¡]ÃĥΤƾǻs¾¯¡^¡A¶K¾¯¡]Âå¥Î¡^¡A¿à®ò»ÄÆQ¡]Âå¥Î¡^¡AÂØ½F¹w¨¾¾¯¡]Âå¥Î¡^¡A¶Wµªi¶EÂ_¥Î¶Ç¾É²G¡A¶^¥´À¿¾¯¡A¶^¥´»IÃÄ¡A¶^¥´ÃĤY¡A¶^¥´ÃĪo¡A¶^¥´°s¡A¶^¥´°s¡]ÃĥΡ^¡A¶^¥´·Àã»I¡]»IÃÄ¡^¡A¨®¥Î»®y¡A»´«KÃĽc¡]¤w¸ËÃĪº¡^¡A»´Âm¾¯¡A¹AÃÄ¡A°h¿NÃÄ¡A³q«K¾¯¡A³q®ð½¦¥¬¡A³y¦å¾¯¡AÁ×¥¥®ê¾¯¡AÁ×¥¥ÃÄ¡A»Äµh¶^¥´·l¶Ë¼ÅÃÄ¡AÂå¾Ç¥Î¸ÕºÞ¤º¶EÂ_¾¯¡AÂå¥ÎX¥ú³y¼v¾¯¡AÂå¥Î¤T¸K¥ÒÖJ¡AÂå¥Î¦õÃÄ¡AÂå¥Î°·±dÀç¾i¹«~¡AÂå¥Î¶Ê°®¾¯¡AÂå¥Î§N¼Å¶K¥¬¡AÂå¥Î¾®½¦¡AÂå¥ÎÄq¯×¡AÂå¥Î¤Æ¾Ç»s¾¯¡AÂå¥Î«n¬ü¤û¥¤µæªº°®¥Ö¡AÂå¥Î§ZÁC¯×¡AÂå¥Î¥h«¯¾¯¡AÂå¥Î¤ÎÃ~Âå¥Î²Óµß¾Ç¬ã¨s»s¾¯¡AÂå¥Î¤ÎÃ~Âå¥Î²Óµß»s¾¯¡AÂå¥Î¤fªA²G¡AÂå¥Î¤fªAÃÄ«~¡AÂå¥Î¤f»¿}¡AÂå¥Î¦P¦ì¯À¡AÂå¥Î喹啉¡AÂå¥Î¶ñ®Æ¡AÂå¥Î«¶¹ç¡AÂå¥Î¦wªG´µ³£©Ô¾ð¥Ö¡AÂå¥Î·L¥Íª«°ö¾i¾¯¡AÂå¥Î©ÎÃ~Âå¥Î¤Æ¾Ç¸Õ¾¯¡AÂå¥Î©ÎÃ~Âå¥Î·L¥Íª«°ö¾i°ò¡AÂå¥Î©ÎÃ~Âå¥Î·L¥Íª«°ö¾iÅé¡AÂå¥Î©ÎÃ~Âå¥Î·L¥Íª«»s¾¯¡AÂå¥Î¤âÅN¡AÂå¥Î«üÀô¡AÂå¥Î©ñ®g©Êª«½è¡AÂå¥Î¼Å®Æ¡AÂå¥Î®ê¾¯¡AÂå¥Î´Ö¡AÂå¥Î´Öµ³¡AÂå¥Î¼Ì¸£¡AÂå¥Î¼Ì¸£ªo¡AÂå¥Î¾ó¥Ö»I¡AÂå¥ÎÀˬd¥Î¤ô·»©Ê¼í½§á»I¡AÂå¥Î¤îµh»s¾¯¡AÂå¥Î®ðÅé¡AÂå¥Î®ñ¡AÂå¥Î¤ôµí¡AÂå¥Îªo¡AÂå¥Îªo¯×¡AÂå¥Î¯D¾¯¡AÂå¥Î®û²G¡AÂå¥Î²O¯DÆQ¡AÂå¥Î´îªÎ¯ù¡AÂå¥Îº¤¤f¾¯¡AÂå¥Îº¤¤f¤ô¡AÂå¥Î¼í¾v¯×¡AÂå¥Î¾ý¯»酶¡AÂå¥Î¿E¯À¡AÂå¥Î·ÏÃįó¡AÂå¥ÎµL·Ï¯ó»·Ï¡AÂå¥ÎµL·Ï¸»·Ï¡AÂå¥Î·ÏÂt¯óÃÄ¡AÂå¥Î·Ï¯óÃÄ¡AÂå¥ÎÂÈ»]»s¾¯¡AÂå¥ÎÀç¾i«~¡AÂå¥ÎÀç¾i²K¥[¾¯¡AÂå¥ÎÀç¾iª««~¡AÂå¥ÎÀç¾i¸É¥R«~¡AÂå¥ÎÀç¾i¹«~¡AÂå¥ÎÀç¾i¹ª«¡AÂå¥ÎÀç¾i¶¼®Æ¡AÂå¥Î¤ú¥Î¥ú¼ä¾¯¡AÂå¥Î¥Ìªo¡AÂå¥Î¥Íª«»s¾¯¡AÂå¥Î¥Íª«ÆP¡AÂå¥Îµo»Ã¨Å¾¯¡AÂå¥Î¥ÕÌÒ»s¾¯¡AÂå¥Î¥ÕÌÒ¹«~¡AÂå¥Î²´¸n¡AÂå¥Î¯}©ò¤ì¡AÂå¥Î¸Kª¡AÂå¥ÎÄq¬u¤ô¡AÂå¥Î¿}ªG¡AÂå¥Î¿}¼ß¡AÂå¥ÎÁ^±a¡AÂå¥Î½¦¡AÂå¥Î½¦¥¬¡AÂå¥Î½¦±a¡AÂå¥Îªã¤lªo¡AÂå¥Îªã¥½³n»I¡AÂå¥ÎW¤ìÃÄ¡AÂå¥Î¯õ»¡AÂå¥Î¸²µå¿}¡AÂå¥Îãɳªo¡AÂå¥ÎÁ¡²ü¡AÂå¥ÎÃöÀ¡AÂå¥ÎÃĤY¡AÂå¥ÎÃĪo¡AÂå¥ÎÃĪ«¡AÂå¥ÎÃÄ»I¡AÂå¥ÎÃįó¡AÂå¥Î³J¥Õ½è¡AÂå¥Î¦å¡AÂå¥Î½Ã¥Í»s¾¯¡AÂå¥Î»sÃÄ¡AÂå¥Î¨¤¤eµæ¡AÂå¥Î¶EÂ_¾¯¡AÂå¥Î¶EÂ_»s¾¯¡AÂå¥Î¹L®ñ¤Æ²B¡AÂå¥Î°s¥Û¡AÂå¥Î°sºë¡AÂå¥Î×ô¡]f¡^¡AÂå¥Î»Ã¯À¡AÂå¥Î酶¡AÂå¥Î酶»s¾¯¡AÂå¥Îª÷Âû¯Ç¾ð¥Ö¡AÂå¥Î°w¾¯¡AÂå¥Î¹[ÆQ¡AÂå¥ÎÅJ¡AÂå¥ÎªûÁ³ª¬½~¥¬Ã¹»ªo¡]»»I¡^¡AÂå¥ÎÂø×ôªo¡AÂå¥Î¹q¸Ñ½è»s¾¯¡AÂå¥ÎÀYµhÃÄ«~¡AÂå¥ÎÀY¾v¼Wªø¾¯¡AÂå¥Î¹¼¤§í¨î¾¯¡AÂå¥Î¹ª«Àç¾i»s¾¯¡AÂå¥Î¹¥ÎÀç¾i»s¾¯¡AÂå¥Î¹}®Æ²K¥[¾¯¡AÂå¥Î»·Ï¡AÂå¥Î»»I¡AÂå¥Î°©µ¬ÃĤY¡AÂå¥ÎÆQ¡AÂå¥ÎÅe»¯ó×ô¡AÂå¥Î³Á¨Åºë¶¼®Æ¡AÂå¥ÎÅĹ«¥Ö¡AÂå¥Î¢æ¥ú³y¼v¾¯¡AÂåÀø¥Î¾®½¦¡AÂåÀø¥Î¤fµÄ¬~²b¾¯¡AÂåÀø¥Î¥j¬_ÆP¡AÂåÀø¥Î¶ëÃÄ¡AÂåÀø¥Î·L¥Íª«¥ÎÀç¾iª«½è¡AÂåÀø¥Î©ñ®g©Êª«½è¡AÂåÀø¥Î©ñ®g½u³y¼v¾¯¡AÂåÀø¥Î´³çº»ÄÆQ¯»¡AÂåÀø¥Î§ö¤¯¨Å¾¯¡AÂåÀø¥Î¾ó¥Ö»I¡AÂåÀø¥Î®ðÅé¡AÂåÀø¥Î´â¤Æ»Ï¿õ¾¯¡AÂåÀø¥Îªo¡AÂåÀø¥Î¬~²b¾¯¡AÂåÀø¥Î¯D¾¯¡AÂåÀø¥Î¯Dªd¡AÂåÀø¥Î¯DÆQ¡AÂåÀø¥Î®ø¤Æ¾¯¡AÂåÀø¥Î·Å¬u¤ô¡AÂåÀø¥Î¯QÀYÆP¡AÂåÀø¥Î·Ï¯ó¡AÂåÀø¥Î¥Û¦Ç»s¾¯¡AÂåÀø¥Î¸K¡AÂåÀø¥Î¸Kª¡AÂåÀø¥ÎÁC»Ä¥Ìªo¡AÂåÀø¥ÎÄq¬u¤ô¡AÂåÀø¥Î¿}¡AÂåÀø¥Î¯½¥¬¡AÂåÀø¥Î½¦¡AÂåÀø¥Î½¦±a¡AÂåÀø¥Îªã¥½ªo¡AÂåÀø¥Î¯õ»¡AÂåÀø¥Î²üº¸»X¡AÂåÀø¥Î¸²µå¿}¡AÂåÀø¥Î¦å²G¡AÂåÀø¥Î½Ã¥Í»²§U§÷®Æ¤Î¥Î«~¡AÂåÀø¥Î»s»Ä¾¯¡AÂåÀø¥Î¶EÂ_¾¯¡AÂåÀø¥Î³y¼v¾¯¡AÂåÀø¥Î°s¥Û¡AÂåÀø¥Î°sºë¡AÂåÀø¥ÎÂíµh³n»I¡AÂåÀø¥Î³·X¡AÂåÀø¥ÎÅã¼v¾¯¡AÂåÀø¥Î»½¦»s¾¯¡AÂåÀø¥Î°©ÀYµ²¦X¾¯¡AÂåÀø¥ÎÆQ¡AÂåÀø¥Î³ÁªÞ¨Å¡AÂåÀø¥ÎÅðµß¡AÂåÀø¶EÂ_¥Î³y¼v¾¯¡AÂåÀø¹«~¡AÂåÃÄ¡AÂåÃĤ¤¶¡Åé¡AÂåÃĤY¡AÂåÃÄìÃÄ¡AÂåÃÄÀ¿¾¯¡AÂåÃļŮơAÂåÃĪQ¸`ªo¡AÂåÃÄÀç¾i«~¡AÂåÃĥΰ®»s¹¥Îµß¡AÂåÃĥΨȳ¤¯¡]¯»¡^¡AÂåÃĥΨȳ¤l¡AÂåÃĥΨȳ¤l»æ¯»¡AÂåÃĥΫO°·¶¼«~¡AÂåÃĥΫ~¡AÂåÃĥΤéÅζ˾¯¡AÂåÃĥΤ騾Åξ¯¡AÂåÃÄ¥ÎÅζ˾¯¡AÂåÃĥΧö¤¯¤û¥¤¡AÂåÃĥΪQ¸`ªo¡AÂåÃĥΪQ¯×ªo¡AÂåÃĥΪG½¦¡AÂåÃÄ¥ÎÄå®ç§õ¾ð¥Ö¡AÂåÃĥΨR¾¯¶¼«~¡AÂåÃĥΪd¼ß¡AÂåÃĥά~¾¯¡AÂåÃĥά~²G¡AÂåÃĥά¡©ÊºÒ¡AÂåÃĥμ侯¡AÂåÃĥξý¯»¡AÂåÃÄ¥ÎÀç¾i«~¡AÂåÃĥΤû¥¤µo»Ã¾¯¡AÂåÃĥΥ̯ó¡AÂåÃĥΥ̯ó²ô¡AÂåÃĥΥۦǻs¾¯¡AÂåÃÄ¥ÎÁC»ÄÆQ¡AÂåÃĥο}¼ß¡AÂåÃĥάõ¾ð¥Ö¡AÂåÃÄ¥ÎG³J¥Õ酶¡AÂåÃĥλG»k¡]±ì¡^¾¯¡AÂåÃÄ¥Î腖¡AÂåÃĥΪ㥽¡AÂåÃÄ¥Îf×ô¡AÂåÃĥίõ»ªo¡AÂåÃĥί󥻡AÂåÃĥί󥻻s¦¨«~¡AÂåÃÄ¥ÎÁ¡²ü¡AÂåÃĥθÁªá¤ô¡AÂåÃĥΰs¥Û¡AÂåÃÄ¥Î×ô¡]f¡^¡AÂåÃĥλåÀ¡AÂåÃĥλåÀµß¡AÂåÃĥοõ¾¯¡AÂåÃÄ¥ÎÁû²É¨R¾¯¡AÂåÃĥγÁ¤ù¡AÂåÃĥγÁªÞ¡AÂåÃÄ»s¾¯¡A³¥¥Í¦è¬v°Ñ»s«~¡Aª÷»Èªá¡]Âå¥Î¡^¡A¶t¤ù¡A¶t¯»¡A¶t½è¤Îºû¥L©RD»s¾¯¡A¶t½èºû¥L©R»s¾¯¡A¹]¤ô¡AÂí©w¾¯¡AÂíµh¾¯¡AÂíÀR¾¯¡AÂíÀRÃÄ¡AÅK¾N¶t¸»Ä¤ù¡]Âå¥Î¡^¡AÃö¸`¤ºµøÃè¤â³N¥Î¬Á§¿»Ä¡]Âå¥Î¡^¡AÃö¸`ª¢ÃÄ¡]Âå¥Î¡^¡A¨¾±H¥ÍÂλs¾¯¡A¨¾§¿»s¾¯¡A¨¾¤éÅÎÃÄ»I¡A¨¾¬Ì¥ÎÃľ¯¡A¨¾»G¾¯¡A¨¾»G´Ö¡A¨¾jªo¡A¨¾°A²£«~¡]ÃĥΡ^¡A¨¾³E¾¯¡A¨¾³Eªo¡A¨¾³E¤ú¥ÎÃľ¯¡A¨¾³E¯È¡A¨¾·Àã¤âÅN¡A¨¾·Àã«üÀô¡A¨¾·Àã¯f°éÀô¡]Âå¥Î¡^¡A°¿}¨R¾¯¡]ÃĥΡ^¡A°Áx©T¾JÃľ¯¡A°£¤f¯äÃÄ¡A°£§¿»Ä¾¯¡]ÃĥΡ^¡A°£¤ú´³Ãľ¯¡A°£¯ó¾¯¡A°£Ä¦¾¯¡A°£µò½Â¾¯¡A°£Âε⯻¡A°£Âû²´ÃĪ«¡A°£Åð¤Æ¾Ç»s¾¯¡A³±¹D²M¬~²G¡AÁô§Î²´Ãè«O¦s²G¡AÁô§Î²´Ãè²M¬~²G¡AÁô§Î²´Ãè²M¼ä¾¯¡AÁô§Î²´Ãè²M¼ä²G¡AÁô§Î²´Ãè¥Î¬~²b¾¯¡AÁô§Î²´Ãè¥Î·»²G¡AÁô§Î²´Ãè»Ã¯À²M¼ä¤ù¡AÂù®ñ¤ô¡]Âå¥Î¡^¡AÂû²´ªvÀøÃÄ¡AÂû²´ÃÄ»I¡A³·±ù»I¡]Âå¥Î¡^¡AÆFªÛ¡]ÃĥΡ^¡AÆFªÛ¤Y¡]ÃĥΡ^¡AÆFªÛÌU¤l¯»¡]ÃĥΡ^¡AÆFªÛ´£¨úª«¡]ÃĥΡ^¡AÆFªÛ¤ù¡]ÃĥΡ^¡AÆFªÛºë¡]ÃĥΡ^¡AÆFªÛºë¤Y¡]ÃĥΡ^¡AÆFªÛºë¯»¡]ÃĥΡ^¡AÆFªÛ½¦Ån¡]ÃĥΡ^¡AÆFªÛ¯ù¡]ÃĥΡ^¡AÆFªÛÃÄ«~¡A«DÓ¤H¥Î°£¯ä¾¯¡A±¯pªvÀøÃľ¯¡A¹w¨¾ÀY¾v²æ¸¨¥ÎÃľ¯¡AÀYµh¥ÎÃÄ«~¡AÀY¥Ö®hªvÀøÃľ¯¡AÃþ©T¾J¡AÃþ©T¾JÃÄ»I¡A·Àãªo¡]ÃĥΡ^¡A·À㽦¥¬¡]ÃĥΡ^¡A·ÀãÂíµhÃÄ¡A¸´þ¤îµh¾¯¡]ÃĥΡ^¡A¹¼¤À£§í¾¯¡]Âå¥Î¡^¡A¹¥Î´Óª«ÅÖºû¡]«DÀç¾i©Ê¡^¡A¹¥ÎÀç¾iÃĤù¡A¹¥Îµß´£¨úª«¡]Âå¥Î¡^¡A»´ä¸}ÃÄ»I¡A°¨¿ú¤l¡A°¨¿ú¤lج¡AÅX©øÂξ¯¡AÅX±ö¬r¾¯¡]Âå¥Î¡^¡AÅX¸zÂÎÃÄ¡AÅX°A¶K¡AÅXÂξ¯¡AÅXÂξ¯¡]¤H©ÎÃ~¥Î¡^¡AÅXÂΥλ¡AÅXÂÎÃÄ¡AÅX·ªo¡]ÃĥΡ^¡AÅX·¶^¥´°s¡]ÃĥΡ^¡AÅ祥»s¾¯¡AÅ祥¸Õ¾¯¡]Âå¥Î¡^¡A°©½¦ì¡]Âå¥Î¡^¡A°©Àf¥ÎÃÄ¡A°ª§t¶q¦ÏL¯À¡]ÃĥΡ^¡A°ª§t¶q³½ªo¡A°ªÄR¤H°Ñ¡A°ªÄR¤H°Ñ»s«~¡A³½ªo¡A³½ªo¤Y¡A³½ªo½¦Ån¡A³½¯»Àç¾i¸É¥R«~¡A³½¨xªo¡AÂB³½ªo¤Y¡AÂB³½ªo½¦Ån¡AÂD³½ªo¡AÂD³½ªo¤Y¡AÂD³½ªo½¦Ån¡AÃT³½³n°©¯»¡AÃT³½³n°©¯À½¦Ån¡]¯»¡^¡AÃT³½³n°©¯À»s¾¯¡AÃT³½³n°©½¦»s¾¯¡AÅÁ³½Åèªo¤Y¡A¾~¤ù¡A¾~¤ù»s¾¯¡A³Â¾K¾¯¡A³Â¾K¾¯¡]§½³ÂÃÄ¡^¡A³Â¾K¾¯¡]³Â¾KÃÄ¡^¡A³Â¾KÃÄ¡AÂH¹«ªO¡AÄÒ°Ñ¡A¹«ÃÄ¡A»ó±Ó·P¤Y¡]ÃĥΡ^¡A¾¦¼Ñ¼ìÁwÃÄ¡C
[540] °Ó¼Ð :

[210] ½s¸¹ : N/106176
[220] ¥Ó½Ð¤é : 2015/11/19
[730] ¥Ó½Ð¤H : l¥Í¦æ¦³¤½¥q
¦a§} : »´ä·s¬É¤¸®Ô§»·~¦èµó11¸¹¤¸®Ô¬ì§Þ¤¤¤ß12¼ÓB«Ç
°êÄy : ®Ú¾Ú»´äªk¨Ò¦¨¥ß
¬¡°Ê : °Ó·~¤Î¤u·~
[511] Ãþ§O : 30
[511] ²£«~ : ´Óª«Ãþ¹«~¡]½\Ãþ»s«~¡^¡A¿PºÛ±ù»I¡A¿P³Á¡A¿P³Á¤ù¡A¿P³Áµ°¡A¿P³Á¹«~¡A¸Á¤ý¼ß¡A¸Á¤ý¼ß½¦Ån¡A¸Á½¦¡A¸Á½¦½¦Ån¡A¸Áþ¡A¸Á»e¡A»e¿}¡AÁ³±ÛĦ¡]«DÂå¥ÎÀç¾i«~¡^¡AÂίóÂûºë¡A»Ã¥À¡A»Ã¥Àµß¡A°£´ß¿P³Á¡A«DÂå¥Î¤f»¿}¡A«DÂå¥Î®û²G¡A«DÂå¥Î¤ù¾¯»Ã¥À¡A«DÂå¥Î¸Á¤ý¼ß¡A«DÃĥΫO°·¹«~¡B«DÂå¥ÎÀç¾i¤fªA²G¡A«DÂå¥ÎÀç¾i«~¡A«DÂå¥ÎÀç¾i²G¡A«DÂå¥ÎÀç¾i¤ù¡A«DÂå¥ÎÀç¾i¯»¡A«DÂå¥ÎÀç¾i½¦Ån¡A«DÂå¥ÎÀç¾i»I¡A«DÂå¥ÎÀç¾iºë¡A©@°Ø¶¼«~¡A©@°Ø¡A¯ù¡A¥i¥i¡A¿}¡A¦Ì¡A¤ìÁ¦¾ý¯»¡A¦è¦Ì¡A©@°Ø¥N¥Î«~¡AÄѯ»¤Î½\Ãþ»s«~¡AÄÑ¥]¡A¿|ÂI¤Î¿}ªG¡A¦B»s¹«~¡A¿}¼ß¡AÂA»Ã¥À¡Aµo»Ã¯»¡A¹ÆQ¡Aªã¥½¡A¾L¡A¨F¥q¡]½Õ¨ý«~¡^¡A½Õ¨ý¥Î»®Æ¡A¶¼¥Î¦B¡A¤H¥Î³ÁªÞ¡A¥h´ß¤j³Á¡A¦UºØ¬ã¸Hªº³Q»]¼ôªº¤p³Á¡]²ÊÄѯ»¡^¡A½V¸Hªº¤j³Á¡A²Ê¿P³Á¯»¡A³Á¨Åºë¡A³Á¥Ö¡A³Á¦Ìµ°¡A³ÁªÞ¿}¡A³ÁªÞ»æ°®¡A³ÁÃþ»s«~¡C
[540] °Ó¼Ð :

[210] ½s¸¹ : N/106177
[220] ¥Ó½Ð¤é : 2015/11/19
[730] ¥Ó½Ð¤H : l¥Í¦æ¦³¤½¥q
¦a§} : »´ä·s¬É¤¸®Ô§»·~¦èµó11¸¹¤¸®Ô¬ì§Þ¤¤¤ß12¼ÓB«Ç
°êÄy : ®Ú¾Ú»´äªk¨Ò¦¨¥ß
¬¡°Ê : °Ó·~¤Î¤u·~
[511] Ãþ§O : 32
[511] ²£«~ : ¤£§t°sºëªº¦³®ð©ÎµL®ð¶¼®Æ¡F¥]¬A¿}¼ß¡A¯»¥½¡A´£·Òª«©M¤£§t°sºëªº¦³®ð©ÎµL®ð¤§¿@ÁY¶¼®Æ¡F©Ò¦³ºØÃþ¤§ªG¥Ä¡F¨§Ãþ¤§´£·Òª«¡F²GÅ騧¥¤¡C
[540] °Ó¼Ð :

[210] ½s¸¹ : N/106178
[220] ¥Ó½Ð¤é : 2015/11/19
[730] ¥Ó½Ð¤H : DKSH Schweiz AG
¦a§} : Wiesenstrasse 8, 8008 Zurich, Switzerland
°êÄy : ·ç¤h
¬¡°Ê : °Ó·~¤Î¤u·~
[511] Ãþ§O : 9
[511] ²£«~ : ¦Û°Ê¥X²¼¾÷¡A¾÷¾¹¥iŪ§Î¦¡ªº²¼ªº¥X²¼¾÷¡A¥Î¥HŪ¨ú¤ÎÃѧO¾÷¾¹¥iŪ§Î¦¡ªº²¼ªº¸Ë¸m¤Î³]³Æ¡A§ë¹ô啓°Ê¸Ë¸mªº¾÷±ñµ²ºc¡Aµw¹ô§ä´«¾÷¡A¶i¥X±±¨î³]³Æ¤Î¸Ë¸m¡A¶i¥X±±¨î¨t²Î¡A¹q¸£¦s¨ú±±¨î¥Îªº¹q¸£³n¥ó¡Aªy¨®«}¿ö¡AÀËÅç¡]ºÊ·þ¡^¸Ë¸m¤Î»ö¾¹¡A¦¬»È¾÷¡A¹q¤l¥I´Ú²×ºÝ¡Apºâ¾÷¾¹¡A¼Æ¾Ú³B²z¸Ë¸m¡AŪ¥d¸Ë¸m¡C
[540] °Ó¼Ð :

[210] ½s¸¹ : N/106179
[220] ¥Ó½Ð¤é : 2015/11/19
[730] ¥Ó½Ð¤H : DKSH Schweiz AG
¦a§} : Wiesenstrasse 8, 8008 Zurich, Switzerland
°êÄy : ·ç¤h
¬¡°Ê : °Ó·~¤Î¤u·~
[511] Ãþ§O : 9
[511] ²£«~ : ¦Û°Ê¥X²¼¾÷¡A¾÷¾¹¥iŪ§Î¦¡ªº²¼ªº¥X²¼¾÷¡A¥Î¥HŪ¨ú¤ÎÃѧO¾÷¾¹¥iŪ§Î¦¡ªº²¼ªº¸Ë¸m¤Î³]³Æ¡A§ë¹ô啓°Ê¸Ë¸mªº¾÷±ñµ²ºc¡Aµw¹ô§ä´«¾÷¡A¶i¥X±±¨î³]³Æ¤Î¸Ë¸m¡A¶i¥X±±¨î¨t²Î¡A¹q¸£¦s¨ú±±¨î¥Îªº¹q¸£³n¥ó¡Aªy¨®«}¿ö¡AÀËÅç¡]ºÊ·þ¡^¸Ë¸m¤Î»ö¾¹¡A¦¬»È¾÷¡A¹q¤l¥I´Ú²×ºÝ¡Apºâ¾÷¾¹¡A¼Æ¾Ú³B²z¸Ë¸m¡AŪ¥d¸Ë¸m¡C
[540] °Ó¼Ð :

[210] ½s¸¹ : N/106187
[220] ¥Ó½Ð¤é : 2015/11/19
[730] ¥Ó½Ð¤H : ©P¸±Ó
¦a§} : Rua do Almirante Sérgio, Edf. Tong Fu, N. 30-32, 3 andar A, Macau
°êÄy : ¤¤°ê
¬¡°Ê : °Ó·~
[511] Ãþ§O : 41
[511] ªA°È : ²¢ÂI¡AÄÑ¥]¤Î®Æ²z±Ð¾Ç¡C
[540] °Ó¼Ð :

[591] °Ó¼ÐÃC¦â : ²`´Ä¦â¡A¦p¹Ï©Ò¥Ü¡C
[210] ½s¸¹ : N/106196
[220] ¥Ó½Ð¤é : 2015/11/19
[730] ¥Ó½Ð¤H : AES±M·~±Ð¨|²¾¥Á¡]¿D¬w¡^ªA°È¦³¤½¥q
¦a§} : ¿Dªù¤ô§|§Àµó78¸¹¤¤«Ø°Ó·~¤j·H19¼Ó
°êÄy : ®Ú¾Ú¿Dªùªk¨Ò¦¨¥ß
¬¡°Ê : °Ó·~
[511] Ãþ§O : 41
[511] ªA°È : ±Ð¨|·~¡A´£¨Ñ^»y¤Î¶®«ä½Òµ{¡A´£¨Ñ¯d¾Ç¤Î²¾¥ÁªA°È¡C
[540] °Ó¼Ð :

[591] °Ó¼ÐÃC¦â : ÂŦâ¡A¦p¹Ï©Ò¥Ü¡C
[210] ½s¸¹ : N/106216
[220] ¥Ó½Ð¤é : 2015/11/20
[730] ¥Ó½Ð¤H : Victoria¡¦s Secret Stores Brand Management Inc.
¦a§} : Four Limited Parkway, Reynoldsburg, Ohio 43068, United States of America
°êÄy : ¬ü°ê
¬¡°Ê : °Ó·~¤Î¤u·~
[511] Ãþ§O : 25
[511] ²£«~ : Roupa interior de senhora, calcinhas e saiotes.
[540] °Ó¼Ð :

[210] ½s¸¹ : N/106217
[220] ¥Ó½Ð¤é : 2015/11/20
[730] ¥Ó½Ð¤H : Victoria¡¦s Secret Stores Brand Management Inc.
¦a§} : Four Limited Parkway, Reynoldsburg, Ohio 43068, United States of America
°êÄy : ¬ü°ê
¬¡°Ê : °Ó·~¤Î¤u·~
[511] Ãþ§O : 25
[511] ²£«~ : Roupa interior de senhora, soutiens, calcinhas, pijamas curtos, teddies, saiotes, robes, cintos de ligas, camisas, roupões, espartilhos para vestuário, corpetes com sutiã, fatos, espartilhos com alças.
[540] °Ó¼Ð :

[210] ½s¸¹ : N/106240
[220] ¥Ó½Ð¤é : 2015/11/23
[730] ¥Ó½Ð¤H : ²L²`¤@¤H¦³¤½¥q
¦a§} : ¿Dªù§º¥É¥Í¼s³õ180¸¹ªF«n¨È°Ó·~¤¤¤ß16¼ÓB
°êÄy : ®Ú¾Ú¿Dªùªk¨Ò¦¨¥ß
¬¡°Ê : °Ó·~
[511] Ãþ§O : 44
[511] ªA°È : ¨FÀsªA°È¡F¥Ö½§©M¬ü®eÅ@²zªvÀø¡F«ö¼¯ªA°È¡F¬ü¾vªA°È¡F¬ü®eªA°È¡FÅ@½§ªvÀø¡F¬ü®eÅ@²z¡B¿ï¾Ü¤Æ§©«~¤ÎÃÄ«~©MÂåÀøªº¿Ô¸ßªA°È¡F´£¨Ñ®á®³³]¬I¡F´£¨Ñ¤é¥ú¯D«Çªº³]¬I¡F°·¨ªA°È¡F®ø¯×ªA°È¡F´îªÎ¶ì¨ªA°È¡F±a½Ã¥Í¥Î³~ªº¤½²³¯D«Ç¡FÀY¾vÅ@²zªA°È¡F¨Å骺½Ã¥Í¤Î¬ü®eªA°È¡FÂåÀø«O°·ªA°È¡C
[540] °Ó¼Ð :

[591] °Ó¼ÐÃC¦â : ²`´Ä¦â¡]C55M70Y80K75¡^¡A¦p¹Ï©Ò¥Ü¡C
[210] ½s¸¹ : N/106242
[220] ¥Ó½Ð¤é : 2015/11/20
[730] ¥Ó½Ð¤H : Apple Inc.
¦a§} : 1 Infinite Loop, Cupertino, California 95014, United States of America
°êÄy : ¬ü°ê
¬¡°Ê : °Ó·~¤Î¤u·~
[511] Ãþ§O : 14
[511] ²£«~ : Relojoaria e instrumentos cronométricos; relógios; relógios de parede e mesa; relógios; cronógrafos para uso como relógios; cronómetros; correias de relógio; braceletes para relógios; estojos para relógios, relógios de parede e mesa e relojoaria e instrumentos cronométricos; peças para relógios, relógios e relojoaria e instrumentos cronométricos; artigos de joalharia.
[540] °Ó¼Ð :

[591] °Ó¼ÐÃC¦â : Azul, laranja, verde, rosa e cinzento.
[210] ½s¸¹ : N/106243
[220] ¥Ó½Ð¤é : 2015/11/20
[730] ¥Ó½Ð¤H : Abercrombie & Fitch Europe Sagl
¦a§} : Via Moree, 6850 Mendrisio, Switzerland
°êÄy : ·ç¤h
¬¡°Ê : °Ó·~¤Î¤u·~
[511] Ãþ§O : 4
[511] ²£«~ : Velas.
[540] °Ó¼Ð :

[210] ½s¸¹ : N/106244
[220] ¥Ó½Ð¤é : 2015/11/20
[730] ¥Ó½Ð¤H : Abercrombie & Fitch Europe Sagl
¦a§} : Via Moree, 6850 Mendrisio, Switzerland
°êÄy : ·ç¤h
¬¡°Ê : °Ó·~¤Î¤u·~
[511] Ãþ§O : 3
[511] ²£«~ : Preparados e outras substâncias para branqueamento de roupa; preparados para limpeza, polimento, esfrega e abrasivos; sabonetes; artigos de perfumaria, óleos essenciais, cosméticos, loções para o cabelo; dentífricos.
[540] °Ó¼Ð :

[210] ½s¸¹ : N/106245
[220] ¥Ó½Ð¤é : 2015/11/20
[730] ¥Ó½Ð¤H : Abercrombie & Fitch Europe Sagl
¦a§} : Via Moree, 6850 Mendrisio, Switzerland
°êÄy : ·ç¤h
¬¡°Ê : °Ó·~¤Î¤u·~
[511] Ãþ§O : 4
[511] ²£«~ : Velas.
[540] °Ó¼Ð :

[210] ½s¸¹ : N/106246
[220] ¥Ó½Ð¤é : 2015/11/20
[730] ¥Ó½Ð¤H : Abercrombie & Fitch Europe Sagl
¦a§} : Via Moree, 6850 Mendrisio, Switzerland
°êÄy : ·ç¤h
¬¡°Ê : °Ó·~¤Î¤u·~
[511] Ãþ§O : 3
[511] ²£«~ : Preparados e outras substâncias para branqueamento de roupa; preparados para limpeza, polimento, esfrega e abrasivos; sabonetes; artigos de perfumaria, óleos essenciais, cosméticos, loções para o cabelo; dentífricos.
[540] °Ó¼Ð :

[210] ½s¸¹ : N/106247
[220] ¥Ó½Ð¤é : 2015/11/23
[730] ¥Ó½Ð¤H : The Quaker Oats Company
¦a§} : 555 West Monroe Street, Chicago, Illinois 60661, USA
°êÄy : ¬ü°ê
¬¡°Ê : °Ó·~¤Î¤u·~
[511] Ãþ§O : 29
[511] ²£«~ : Bebidas à base de soja e leite; leite e produtos de leite incluindo leite em pó; leite de soja; bebidas de leite aromatizadas, batidos de leite e bebidas de iogurtes; bebidas de leite (predominantemente de leite); bebidas à base de soja sendo substitutos de leite; bebidas feitas de produtos lácteos; suplementos dietéticos, sem ser para fins médicos; produtos láteos excluindo gelados, leite gelado e iogurte congelado; leite em pó; produtos (bases) para fazer batidos de leite.
[540] °Ó¼Ð :

[591] °Ó¼ÐÃC¦â : Azul, dourado, vinho, vermelho, branco, preto e castanho.
[210] ½s¸¹ : N/106248
[220] ¥Ó½Ð¤é : 2015/11/23
[730] ¥Ó½Ð¤H : The Quaker Oats Company
¦a§} : 555 West Monroe Street, Chicago, Illinois 60661, USA
°êÄy : ¬ü°ê
¬¡°Ê : °Ó·~¤Î¤u·~
[511] Ãþ§O : 29
[511] ²£«~ : Bebidas à base de soja e leite; leite e produtos de leite incluindo leite em pó; leite de soja; bebidas de leite aromatizadas, batidos de leite e bebidas de iogurtes; bebidas de leite (predominantemente de leite); bebidas à base de soja sendo substitutos de leite; bebidas feitas de produtos lácteos; suplementos dietéticos, sem ser para fins médicos; produtos láteos excluindo gelados, leite gelado e iogurte congelado; leite em pó; produtos (bases) para fazer batidos de leite.
[540] °Ó¼Ð :

[591] °Ó¼ÐÃC¦â : Azul, dourado, vinho, vermelho, branco, preto, castanho e verde.
[210] ½s¸¹ : N/106249
[220] ¥Ó½Ð¤é : 2015/11/23
[730] ¥Ó½Ð¤H : Abercrombie & Fitch Europe Sagl
¦a§} : Via Moree, 6850 Mendrisio, Switzerland
°êÄy : ·ç¤h
¬¡°Ê : °Ó·~¤Î¤u·~
[511] Ãþ§O : 35
[511] ªA°È : Publicidade; gestão de empresas; administração de empresas; serviços de escritório; serviços de lojas de vendas a retalho relacionados com vestuário, calçado, chapelaria, sabonetes, perfumes, óleos essenciais, cosméticos, loções para o cabelo, velas, óculos, óculos de sol, acessórios para telemóveis, computadores e dispositivos eletrónicos, artigos de joalharia, artigos de papelaria, sacos, artigos em tecido e acessórios para o cabelo; serviços de lojas de vendas a retalho online relacionados com vestuário, calçado, chapelaria, sabonetes, perfumes, óleos essenciais, cosméticos, loções para o cabelo, velas, óculos, óculos de sol, acessórios para telemóveis, computadores e dispositivos eletrónicos, artigos de joalharia, artigos de papelaria, sacos, artigos em tecido e acessórios para o cabelo; organização, operação e supervisão de esquemas de lealdade a clientes.
[540] °Ó¼Ð :

[300] Àu¥ýÅv :
| ¤é´Á | ½s¸¹ | °ê®a/¦a°Ï |
| 2015/05/26 | 56187/2015 | ·ç¤h |
[210] ½s¸¹ : N/106250
[220] ¥Ó½Ð¤é : 2015/11/23
[730] ¥Ó½Ð¤H : Abercrombie & Fitch Europe Sagl
¦a§} : Via Moree, 6850 Mendrisio, Switzerland
°êÄy : ·ç¤h
¬¡°Ê : °Ó·~¤Î¤u·~
[511] Ãþ§O : 14
[511] ²£«~ : Metais preciosos e suas ligas e artigos em metais preciosos ou em plaqué, não incluídos noutras classes; artigos de joalharia, pedras preciosas; relojoaria e instrumentos cronométricos.
[540] °Ó¼Ð :

[300] Àu¥ýÅv :
| ¤é´Á | ½s¸¹ | °ê®a/¦a°Ï |
| 2015/05/26 | 56188/2015 | ·ç¤h |
[210] ½s¸¹ : N/106251
[220] ¥Ó½Ð¤é : 2015/11/23
[730] ¥Ó½Ð¤H : Abercrombie & Fitch Europe Sagl
¦a§} : Via Moree, 6850 Mendrisio, Switzerland
°êÄy : ·ç¤h
¬¡°Ê : °Ó·~¤Î¤u·~
[511] Ãþ§O : 21
[511] ²£«~ : Garrafas vendidas vazias; garrafas para desporto vendidas vazias; garrafas para água vendidas vazias.
[540] °Ó¼Ð :

[300] Àu¥ýÅv :
| ¤é´Á | ½s¸¹ | °ê®a/¦a°Ï |
| 2015/05/26 | 56188/2015 | ·ç¤h |
[210] ½s¸¹ : N/106269
[220] ¥Ó½Ð¤é : 2015/11/23
[730] ¥Ó½Ð¤H : ¤ñ§Q®É¶Ç²Î¤@¤H¦³¤½¥q
¦a§} : ¿Dªù°Ó·~¤j°¨¸ô¿Dªù°]´I¤¤¤ß5¼ÓA
°êÄy : ®Ú¾Ú¿Dªùªk¨Ò¦¨¥ß
¬¡°Ê : °Ó·~
[511] Ãþ§O : 43
[511] ªA°È : ´£¨Ñ¹ª«©M¶¼®ÆªA°È¡C
[540] °Ó¼Ð :

[210] ½s¸¹ : N/106275
[220] ¥Ó½Ð¤é : 2015/11/23
[730] ¥Ó½Ð¤H : Dairyfarm Establishment
¦a§} : Staedtle 36, Postfach 685, FL-9490 Vaduz, Liechtenstein
°êÄy : ¦C¤ä´°¤hµn
¬¡°Ê : °Ó·~¤Î¤u·~
[511] Ãþ§O : 30
[511] ²£«~ : Café, chá, cacau e café artificial; arroz; tapioca e sagu; farinha e preparados à base de cereais; pão, artigos de pastelaria e confeitaria; gelados comestíveis; açúcar; mel, melaço; levedura, fermento em pó; sal; mostarda; vinagre, molhos (condimentos); especiarias; gelo; chocolate; sorvete; macarrão; massas alimentares; esparguete; massas; aletria; sanduíches; sushi; muesli; essências alimentares, que não sejam óleos essenciais; biscoitos; bolachas; bolachas folhadas; bolachas de água e sal; pão de gengibre; tostas; empadas; waffles.
[540] °Ó¼Ð :

[210] ½s¸¹ : N/106276
[220] ¥Ó½Ð¤é : 2015/11/23
[730] ¥Ó½Ð¤H : ¶À¤ÖµØ
¦a§} : ¿Dªù氹¥J®JªZ©Ôµó400¸¹¸U°êµØ®x²Ä¤@®y16B
°êÄy : ¤¤°ê
¬¡°Ê : °Ó·~
[511] Ãþ§O : 5
[511] ²£«~ : Âå¥Î©MÃ~Âå¥Î»s¾¯¡AÂå¥Î½Ã¥Í»s¾¯¡AÂå¥ÎÀç¾i«~¡AÀ¦¨à¹«~¡A»IÃÄ¡AÁ^¼Å§÷®Æ¡A¶ñ¶ë¤ú¤Õ©M¤ú¼Ò¥Î®Æ¡A®ø¬r¾¯¡A®ø·À¦³®`°Êª«»s¾¯¡A±þ¯uµß¾¯¡A°£²û¾¯¡C
[540] °Ó¼Ð :

[210] ½s¸¹ : N/106277
[220] ¥Ó½Ð¤é : 2015/11/23
[730] ¥Ó½Ð¤H : ¶À¤ÖµØ
¦a§} : ¿Dªù氹¥J®JªZ©Ôµó400¸¹¸U°êµØ®x²Ä¤@®y16B
°êÄy : ¤¤°ê
¬¡°Ê : °Ó·~
[511] Ãþ§O : 29
[511] ²£«~ : ¦×¡A³½¡A®a¸V¤Î³¥¨ý¡A¦×¥Ä¡A¾Mº{¡B°®»s¤ÎµN¼ôªº¤ôªG©M½µæ¡AªGá¡AªGÂæ¡A»eÀ^¡A³J¡A¥¤¤Î¨Å»s«~¡A¹¥Îªo©Mªo¯×¡C
[540] °Ó¼Ð :

[210] ½s¸¹ : N/106278
[220] ¥Ó½Ð¤é : 2015/11/23
[730] ¥Ó½Ð¤H : ¶À¤ÖµØ
¦a§} : ¿Dªù氹¥J®JªZ©Ôµó400¸¹¸U°êµØ®x²Ä¤@®y16B
°êÄy : ¤¤°ê
¬¡°Ê : °Ó·~
[511] Ãþ§O : 5
[511] ²£«~ : Âå¥Î©MÃ~Âå¥Î»s¾¯¡AÂå¥Î½Ã¥Í»s¾¯¡AÂå¥ÎÀç¾i«~¡AÀ¦¨à¹«~¡A»IÃÄ¡AÁ^¼Å§÷®Æ¡A¶ñ¶ë¤ú¤Õ©M¤ú¼Ò¥Î®Æ¡A®ø¬r¾¯¡A®ø·À¦³®`°Êª«»s¾¯¡A±þ¯uµß¾¯¡A°£²û¾¯¡C
[540] °Ó¼Ð :

[210] ½s¸¹ : N/106279
[220] ¥Ó½Ð¤é : 2015/11/23
[730] ¥Ó½Ð¤H : ¶À¤ÖµØ
¦a§} : ¿Dªù氹¥J®JªZ©Ôµó400¸¹¸U°êµØ®x²Ä¤@®y16B
°êÄy : ¤¤°ê
¬¡°Ê : °Ó·~
[511] Ãþ§O : 29
[511] ²£«~ : ¦×¡A³½¡A®a¸V¤Î³¥¨ý¡A¦×¥Ä¡A¾Mº{¡B°®»s¤ÎµN¼ôªº¤ôªG©M½µæ¡AªGá¡AªGÂæ¡A»eÀ^¡A³J¡A¥¤¤Î¨Å»s«~¡A¹¥Îªo©Mªo¯×¡C
[540] °Ó¼Ð :

[210] ½s¸¹ : N/106288
[220] ¥Ó½Ð¤é : 2015/11/24
[730] ¥Ó½Ð¤H : ¼sªF¯ª¤à½Ã¯D¬ì§Þ¦³¤½¥q
¦a§} : ¤¤°ê¼sªF¬Ù¦ò¤s¥«ÁI«°°Ï©uµØ¤@¸ô26¸¹¤G®y1¼l1904©Ð
°êÄy : ¤¤°ê
¬¡°Ê : °Ó·~
[511] Ãþ§O : 11
[511] ²£«~ : ¿O¡F¤ô¥[¼ö¾¹¡]»ö¾¹¡^¡F¦Û¨Ó¤ô³]³Æªº½Õ¸`©M¦w¥þªþ¥ó¡F¨Ñ¤ô³]³Æ¡F¤ôºÞÀsÀY¡F¦Û°Ê¼å¤ô¸Ë¸m¡F¯D«Ç¸Ë¸m¡F¤ô²b¤Æ¸Ë¸m¡F©â¤ô°¨±í¡F¨N¯D¥Î³]³Æ¡C
[540] °Ó¼Ð :

[210] ½s¸¹ : N/106289
[220] ¥Ó½Ð¤é : 2015/11/24
[730] ¥Ó½Ð¤H : ¼sªF¯ª¤à½Ã¯D¬ì§Þ¦³¤½¥q
¦a§} : ¤¤°ê¼sªF¬Ù¦ò¤s¥«ÁI«°°Ï©uµØ¤@¸ô26¸¹¤G®y1¼l1904©Ð
°êÄy : ¤¤°ê
¬¡°Ê : °Ó·~
[511] Ãþ§O : 21
[511] ²£«~ : ®a¥Î©Î¼p©Ð¥Î®e¾¹¡F¼p©Ð¥Î¨ã¡F²¡¾¹¡F³³¾¹¡F²¡¾¹¸Ë¹¢«~¡F¶¼¥Î¾¹¥×¡F¿d¬~«Ç¾¹¨ã¡F¤ò¤y¬[©M¤ò¤yÀô¬[¡F¹ª««O·Å®e¾¹¡F¦çªA撑¬[¡C
[540] °Ó¼Ð :

[210] ½s¸¹ : N/106290
[220] ¥Ó½Ð¤é : 2015/11/24
[730] ¥Ó½Ð¤H : «¼yª÷¤s¬ì§Þ¡]¶°¹Î¡^¦³¤½¥q
¦a§} : ¤¤°ê«¼y¥«´ü¥_°Ï¨â¸ô¤u·~¶éÀO»n¤j¹D18¸¹
°êÄy : ¤¤°ê
¬¡°Ê : °Ó·~
[511] Ãþ§O : 10
[511] ²£«~ : ¥~¬ì»ö¾¹©M¾¹±ñ¡FÂå¥Î¬¦¡FGÃè¡FÂåÀø¾¹±ñ©M»ö¾¹¡FÂå¥Î¶EÂ_³]³Æ¡F®MºÞ¡]Âå¡^¡F¥~¬ì¤â³N¥Î¿÷¡FÂå¥Î¹qÀ»¥h¤ßŦÅÖŸ¾¹¡FÂåÀø¤ÀªR»ö¾¹¡FÂå¥Î§É¡F§l¥¤¾¹¡F¤l®c´U¡FÁB§Î¥Îª««~¡C
[540] °Ó¼Ð :

[210] ½s¸¹ : N/106291
[220] ¥Ó½Ð¤é : 2015/11/24
[730] ¥Ó½Ð¤H : ¤¤¤s¥«¤¤´¼ÃÄ·~¶°¹Î¦³¤½¥q
¦a§} : ¤¤°ê¼sªF¬Ù¤¤¤s¥«¤õ¬²¶}µo°Ï±d®õ¸ô«n3¸¹
°êÄy : ¤¤°ê
¬¡°Ê : °Ó·~
[511] Ãþ§O : 3
[511] ²£«~ : °®©Ê¬¡½§±½¤¯»¡F°®ªáä»P»®Æ²V¦Xª«¡]»®Æ¡^¡F¤H¥Î¤Æ§©«~¡F¤H³y»®Æ¡F¤HÅé¥Î²M¼ä¾¯¡FªÚ»¾¯¡]»ºëªo¡^¡F¤Æ§©«~¡F¤Æ§©¥Î´Öµ³¡F¤f®ð²M·s¼QÅx¾¯¡F²M¼ä»s¾¯¡F¬X³n±½¤¡F«DÂå¥Î¨N¯DÆQ¡F¬~¾þ¥Î¤Æ§©«~¡F¿d¬~«Ç¥Î¬~º°¨Å¾¯¡F¬~¾v¾¯¡F¬~¤â¾¯¡F¬~¦ç¾¯¡F®û¤Æ§©¤ôªºÁ¡¯È¡F¤ú»I¡F¤ú¯»¡F²M¼ä°²¤ú¥Î»s¾¯¡F»ºëªo¡F¬ü®e±½¤¡Fªá»®Æì®Æ¡Fªáºë¡]»®Æ¡^¡F¯ù¯D¥]¡FÃĨm¡F±½¤¯»¡F»®Æ¡C
[540] °Ó¼Ð :

[210] ½s¸¹ : N/106292
[220] ¥Ó½Ð¤é : 2015/11/24
[730] ¥Ó½Ð¤H : ¤¤¤s¥«¤¤´¼ÃÄ·~¶°¹Î¦³¤½¥q
¦a§} : ¤¤°ê¼sªF¬Ù¤¤¤s¥«¤õ¬²¶}µo°Ï±d®õ¸ô«n3¸¹
°êÄy : ¤¤°ê
¬¡°Ê : °Ó·~
[511] Ãþ§O : 5
[511] ²£«~ : ¤¤¦¡Àç¾i¹«~¡]ÃĥΡ^¡F¯}¾À¶¼¤ù¡F¯}¾À¥N¥Î¯ù¡F¤¤¦¡ÂåÃÄÀç¾i«~¡FÂå¥ÎÃįó¡F¤¤¯óÃÄ»s¦¨«~¡F¤¤ÃĦ¨ÃÄ¡F¤¤ÃÄ´²¡F¤¤Ãħ÷´ö¥]¡F¤¤ÃĨN¯DÅS¡F¤¤ÃÄÃħ÷¡F¤¤ÃÄÃİs¡F¤¤ÃĶK¡F¤¤Ãͼ¤ù¡F¤H¥ÎÃÄ¡FÂå¥Î¹ª«Àç¾i»s¾¯¡FÂå¥ÎÀç¾i²K¥[¾¯¡F«O°·¯ù¥]¡]¤¤¯óÃÄ¡^¡F«O°·ÃÄ¡FÂå¥ÎÀç¾i¹ª«¡F°·±d¸É«~¡]¤¤¯óÃÄ¡^¡F²b¤Æ¾¯¡FÀ¦¨à¹«~¡F´îªÎ¥ÎÃľ¯¡FÂå¥Î¤f»¿}¡FÂå¥ÎÀç¾i«~¡FÂå¥ÎÀç¾i¶¼®Æ¡FÂå¥ÎÃĪ«¡F®ø¬r¾¯¡F·Î¦nªºÃÄ¡F¹¥Î´Óª«ÅÖºû¡]«DÀç¾i©Ê¡^¡FÃĥίóÃįù¡FªÅ®ð²M·s¾¯¡FÂå¥Î¯D¾¯¡FÃĪ«¶¼®Æ¡FÃĥΧU®ø¤Æ¾¯¡FÃįù¡FªvÀYµhÃÄ«~¡FÃĥΫO°·Àç¾i²£«~¡FÃĥδӪ«¶¼«~¡FÃĥλ®Æ¡F¸ÉÃÄ¡]ÃÄ¡^¡F¤¤ÃÄ»s¯»¡F¯ù¥]¡]ÃĥΡ^¡FÃįó¡F¯óÃįù¡]ÃĥΡ^¡C
[540] °Ó¼Ð :

[210] ½s¸¹ : N/106293
[220] ¥Ó½Ð¤é : 2015/11/24
[730] ¥Ó½Ð¤H : ¤¤¤s¥«¤¤´¼ÃÄ·~¶°¹Î¦³¤½¥q
¦a§} : ¤¤°ê¼sªF¬Ù¤¤¤s¥«¤õ¬²¶}µo°Ï±d®õ¸ô«n3¸¹
°êÄy : ¤¤°ê
¬¡°Ê : °Ó·~
[511] Ãþ§O : 10
[511] ²£«~ : ÂåÀø¾¹±ñ©M»ö¾¹¡F®¶°Ê«ö¼¯¾¹¡F±þµß®ø¬r¾¹±ñ¡FÅ@²z¾¹±ñ¡F¥~¬ì»ö¾¹©M¾¹±ñ¡F°·¬ü«ö¼¯³]³Æ¡F¤õÅø¡F¼ÅÃĥξ¹¨ã¡FÂåÀø¾¹±ñ½c¡F¥~¬ìÂå¥Í©MÂå¥Í¥Î½c¡FÂå¥Î¶EÂ_³]³Æ¡F¤ú¬ì³]³Æ¡F·î¾¦®Õ¾ã»ö¾¹¡F²zÀø³]³Æ¡FÂå¥Î§É¡F§UÅ¥¾¹¡FÂå°È¤Hû¥Î±¸n¡F¥¤²~¡FÀ¦¨à¥Î¾ó¥Ö¥¤ÀY¡FÁ×¥¥®M¡F«D¤Æ¾ÇÁ×¥¥¥Î¨ã¡F¥~¬ì´Ó¤Jª«¡]¤H³y§÷®Æ¡^¡F¤H³yÃE¡F¥~¬ì¥Î¤H³y¥Ö½§¡F¤H³y¨Å©Ð¡F¤H³y²´·ú¡F¥~¬ì²¾´Ó¥Î°²²´¡]¤ô´¹Åé¡^¡FÁB§Î¥Îª««~¡Fºò¨¸¡³ò¡FÁ^±a¡]ÃPºò¡^¡F½u¡]¥~¬ì¥Î¡^¡FÁ_¦X§÷®Æ¡C
[540] °Ó¼Ð :

[210] ½s¸¹ : N/106294
[220] ¥Ó½Ð¤é : 2015/11/24
[730] ¥Ó½Ð¤H : ¤¤¤s¥«¤¤´¼ÃÄ·~¶°¹Î¦³¤½¥q
¦a§} : ¤¤°ê¼sªF¬Ù¤¤¤s¥«¤õ¬²¶}µo°Ï±d®õ¸ô«n3¸¹
°êÄy : ¤¤°ê
¬¡°Ê : °Ó·~
[511] Ãþ§O : 30
[511] ²£«~ : ¥Î§@¯ù¸¥N¥Î«~ªºªá©Î¸¡F¯}¾À¶¼¤ù¡F¯}¾À¥N¥Î¯ù¡F¥Ñ¸H½\¡B°®ªG©M°íªG»sªº¦À\¹«~¡F«DÃĥΫO°·¹«~¡]Àç¾i¹«~¡^¡F«DÂå¥ÎÀç¾i«~¡]Àç¾i¹«~¡^¡Fªá¯ù¡Fªá¯ù¯ù¥]¡Fªá¯ó¯ù¡Fªá¯ó¯ù¥]¡F¯ù¡F¯ù¥½¡F¯ù¸¡F¯ù¸¥N¥Î«~¡F«DÂå¥Î¸Á¤ý¼ß¡F¹¥Î¸Á½¦¡]»e¸Á½¦¡^¡F½Õ¨ý«~¡F½Õ¨ý®Æ¡F½Õ¨ý¥Î«~¡F¹«~¥Î»®Æ¡]§tîÅ©M»ºëªo°£¥~¡^¡F©@³í¯»¡]½Õ¨ý«~¡^¡F»¶´Ô¯»¡F«DÂå¥Î®û²G¡F«DÂå¥Î²n¤f¤ù¡F¦õ®Æ¡]½Õ¨ý«~¡^¡F§@©@°Ø¥N¥Î«~ªº´Óª«»s¾¯¡F¦B²N²O¡F¤ë»æ¡F¦B¯ù¡F«DÂå¥Î¤f»¿}¡F¥i¥i¡F¥i¥i¶¼®Æ¡F§t¤û¥¤ªº¥©§J¤O¶¼®Æ¡F¨ýºë¡F©@°Ø¡FµâU¡]©@°Ø¥N¥Î«~¡^¡F©@°Ø¶¼®Æ¡F¥©§J¤O¶¼®Æ¡F¿P³Á¹«~¡F¥Ì¯ó¡]¿}ªG¡^¡F¹«~¥Î¿}»e¡F¹¥Î»®Æ¡]¤£¥]¬A§tîÅ»®Æ©M»ºëªo¡^¡F°£»ºëªo¥~ªº³J¿|¥Î½Õ¨ý«~¡F¹¥Î¦B¡F»æ°®¡FÀ`»æ¡F»»[Âæ¡]½Õ¨ý®Æ¡^¡F»¶´Ô¯»¡F¿P³Á¤ù¡F³½ÅS¡F³ÁªÞ¿}¡F³ÁªÞ»s«~¡FÄѱø¡FÄÑ¥]¡FÄѱø¬°¥Dªº¹w»s¹ª«¡C
[540] °Ó¼Ð :

[210] ½s¸¹ : N/106295
[220] ¥Ó½Ð¤é : 2015/11/24
[730] ¥Ó½Ð¤H : ¤¤¤s¥«¤¤´¼ÃÄ·~¶°¹Î¦³¤½¥q
¦a§} : ¤¤°ê¼sªF¬Ù¤¤¤s¥«¤õ¬²¶}µo°Ï±d®õ¸ô«n3¸¹
°êÄy : ¤¤°ê
¬¡°Ê : °Ó·~
[511] Ãþ§O : 3
[511] ²£«~ : °®©Ê¬¡½§±½¤¯»¡F°®ªáä»P»®Æ²V¦Xª«¡]»®Æ¡^¡F¤H¥Î¤Æ§©«~¡F¤H³y»®Æ¡F¤HÅé¥Î²M¼ä¾¯¡FªÚ»¾¯¡]»ºëªo¡^¡F¤Æ§©«~¡F¤Æ§©¥Î´Öµ³¡F¤f®ð²M·s¼QÅx¾¯¡F²M¼ä»s¾¯¡F¬X³n±½¤¡F«DÂå¥Î¨N¯DÆQ¡F¬~¾þ¥Î¤Æ§©«~¡F¿d¬~«Ç¥Î¬~º°¨Å¾¯¡F¬~¾v¾¯¡F¬~¤â¾¯¡F¬~¦ç¾¯¡F®û¤Æ§©¤ôªºÁ¡¯È¡F¤ú»I¡F¤ú¯»¡F²M¼ä°²¤ú¥Î»s¾¯¡F»ºëªo¡F¬ü®e±½¤¡Fªá»®Æì®Æ¡Fªáºë¡]»®Æ¡^¡F¯ù¯D¥]¡FÃĨm¡F±½¤¯»¡F»®Æ¡C
[540] °Ó¼Ð :

[210] ½s¸¹ : N/106296
[220] ¥Ó½Ð¤é : 2015/11/24
[730] ¥Ó½Ð¤H : ¤¤¤s¥«¤¤´¼ÃÄ·~¶°¹Î¦³¤½¥q
¦a§} : ¤¤°ê¼sªF¬Ù¤¤¤s¥«¤õ¬²¶}µo°Ï±d®õ¸ô«n3¸¹
°êÄy : ¤¤°ê
¬¡°Ê : °Ó·~
[511] Ãþ§O : 5
[511] ²£«~ : ÃĪ«¶¼®Æ¡F®ø¬r¾¯¡FÀ¦¨à¹«~¡F¯}¾À¶¼¤ù¡F¯}¾À¥N¥Î¯ù¡F¤¤¦¡Àç¾i¹«~¡]ÃĥΡ^¡F¤¤¦¡ÂåÃÄÀç¾i«~¡FÂå¥ÎÃįó¡F¤¤ÃĦ¨ÃÄ¡F¤¤ÃÄ´²¡F¤¤Ãħ÷´ö¥]¡F¤¤ÃĨN¯DÅS¡F¤¤ÃÄÃħ÷¡F¤¤ÃÄÃİs¡F¤¤ÃĶK¡F¤¤Ãͼ¤ù¡FÂå¥Î¹ª«Àç¾i»s¾¯¡F«O°·¯ù¥]¡]¤¤¯óÃÄ¡^¡F«O°·ÃÄ¡F²b¤Æ¾¯¡F´îªÎ¥ÎÃľ¯¡FÂå¥Î¤f»¿}¡FÂå¥ÎÀç¾i«~¡FÂå¥ÎÀç¾i¶¼®Æ¡FÂå¥ÎÃĪ«¡F·Î¦nªºÃÄ¡F¹¥Î´Óª«ÅÖºû¡]«DÀç¾i©Ê¡^¡FÃĥίóÃįù¡FªÅ®ð²M·s¾¯¡FÂå¥Î¯D¾¯¡FÃĥΧU®ø¤Æ¾¯¡FÃįù¡FªvÀYµhÃÄ«~¡FÃĥΫO°·Àç¾i²£«~¡FÃĥδӪ«¶¼«~¡FÃĥλ®Æ¡F¸ÉÃÄ¡]ÃÄ¡^¡C
[540] °Ó¼Ð :

[210] ½s¸¹ : N/106297
[220] ¥Ó½Ð¤é : 2015/11/24
[730] ¥Ó½Ð¤H : ¤¤¤s¥«¤¤´¼ÃÄ·~¶°¹Î¦³¤½¥q
¦a§} : ¤¤°ê¼sªF¬Ù¤¤¤s¥«¤õ¬²¶}µo°Ï±d®õ¸ô«n3¸¹
°êÄy : ¤¤°ê
¬¡°Ê : °Ó·~
[511] Ãþ§O : 29
[511] ²£«~ : ¤û¦×²M´ö½µæ´ö®Æ¡F¦×´ö¡F¤û¦×²M´ö´ö®Æ¡F½µæ´ö®Æ¡F¥Dn¦¨¥÷¬°ªá¯»¡A§û¤l¡AÂŲù¡AÆFªÛ¤Î¥ÍÁ¤¤§«DÃĥί󥻹ª«¡F»Ä¨Å¹T¡F¨Å°s¡]¤û¥¤¶¼®Æ¡^¡F¾®¨Å¡F¤û¥¤»s«~¡F¤û¥¤¡F¥¤ªo¡]¥¤»s«~¡^¡F¤û¥¤¶¼®Æ¡]¥H¤û¥¤¬°¥Dªº¡^¡F°®ªG¡F°®¥VÛ£¤Î¨ä¥[¤u«~¡F°®½µæ¡F¼ô½µæ¡FÍW¼ôªº¤ôªG¡FµË»s¶ôµß¡F¥H¤ôªG¬°¥Dªº¹s¹¤p¦Y¡F§C¯×¥¤¯»¡F¹¥Î³¾ºÛ¡F»s´ö¾¯¡Fºë»s°íªG¤¯¡F¦X®ç¡]¤w¥]¸Ë¹«~¡^¡F°íªG¡F¯ù¡]¥H¥¤¬°¥D¡^¡F®VªQ¯ñ¡F¤ôªG»eÀ^¡F¤t¨©ªJªI»e¿}¿L³·±ù¡FªG¤¯¡F´Óª«´£·Ò¹«~¡F´ö¡FµLªáªG°®¡F¥Î¤ûªì¨Å¤Î¸²µåºØ¤lµÑ¨ú¯À»s¦¨ªº¹«~¡]«DÂåÃĥΡ^¡FµË»s¤ôªG¡FªGÂæ¡FªGá¡F¹¥Î¤ô¥Í´Óª«´£¨úª«¡F¹¥Îªá¯»¡C
[540] °Ó¼Ð :

[210] ½s¸¹ : N/106298
[220] ¥Ó½Ð¤é : 2015/11/24
[730] ¥Ó½Ð¤H : ¤¤¤s¥«¤¤´¼ÃÄ·~¶°¹Î¦³¤½¥q
¦a§} : ¤¤°ê¼sªF¬Ù¤¤¤s¥«¤õ¬²¶}µo°Ï±d®õ¸ô«n3¸¹
°êÄy : ¤¤°ê
¬¡°Ê : °Ó·~
[511] Ãþ§O : 30
[511] ²£«~ : ¥Î§@¯ù¸¥N¥Î«~ªºªá©Î¸¡F¯}¾À¶¼¤ù¡F¯}¾À¥N¥Î¯ù¡F¥Ñ¸H½\¡B°®ªG©M°íªG»sªº¦À\¹«~¡F«DÃĥΫO°·¹«~¡]Àç¾i¹«~¡^¡F«DÂå¥ÎÀç¾i«~¡]Àç¾i¹«~¡^¡Fªá¯ù¡Fªá¯ù¯ù¥]¡Fªá¯ó¯ù¡Fªá¯ó¯ù¥]¡F¯ù¡F¯ù¥½¡F¯ù¸¡F¯ù¸¥N¥Î«~¡F«DÂå¥Î¸Á¤ý¼ß¡F¹¥Î¸Á½¦¡]»e¸Á½¦¡^¡F½Õ¨ý«~¡F½Õ¨ý®Æ¡F½Õ¨ý¥Î«~¡F¹«~¥Î»®Æ¡]§tîÅ©M»ºëªo°£¥~¡^¡F©@³í¯»¡]½Õ¨ý«~¡^¡F»¶´Ô¯»¡F«DÂå¥Î®û²G¡F«DÂå¥Î²n¤f¤ù¡F¦õ®Æ¡]½Õ¨ý«~¡^¡F§@©@°Ø¥N¥Î«~ªº´Óª«»s¾¯¡F¦B²N²O¡F¤ë»æ¡F¦B¯ù¡F«DÂå¥Î¤f»¿}¡F¥i¥i¡F¥i¥i¶¼®Æ¡F§t¤û¥¤ªº¥©§J¤O¶¼®Æ¡F¨ýºë¡F©@°Ø¡FµâU¡]©@°Ø¥N¥Î«~¡^¡F©@°Ø¶¼®Æ¡F¥©§J¤O¶¼®Æ¡F¿P³Á¹«~¡F¥Ì¯ó¡]¿}ªG¡^¡F¹«~¥Î¿}»e¡F¹¥Î»®Æ¡]¤£¥]¬A§tîÅ»®Æ©M»ºëªo¡^¡F°£»ºëªo¥~ªº³J¿|¥Î½Õ¨ý«~¡F¹¥Î¦B¡F»æ°®¡FÀ`»æ¡F»»[Âæ¡]½Õ¨ý®Æ¡^¡F»¶´Ô¯»¡F¿P³Á¤ù¡F³½ÅS¡F³ÁªÞ¿}¡F³ÁªÞ»s«~¡FÄѱø¡FÄÑ¥]¡FÄѱø¬°¥Dªº¹w»s¹ª«¡C
[540] °Ó¼Ð :

[210] ½s¸¹ : N/106299
[220] ¥Ó½Ð¤é : 2015/11/24
[730] ¥Ó½Ð¤H : ¤¤¤s¥«¤¤´¼ÃÄ·~¶°¹Î¦³¤½¥q
¦a§} : ¤¤°ê¼sªF¬Ù¤¤¤s¥«¤õ¬²¶}µo°Ï±d®õ¸ô«n3¸¹
°êÄy : ¤¤°ê
¬¡°Ê : °Ó·~
[511] Ãþ§O : 32
[511] ²£«~ : µL°sºë¶¼®Æ¡F¶¼®Æ»s§@°t®Æ¡F»s¶¼®Æ¥Î¿}¼ß¡Fªwªj¶¼®Æ¥Î¯»¡F´Óª«¶¼®Æ¡F¿@ÁY´Óª«¶¼®Æ¡F«DºÒ»Ä¶¼®Æ¡F¬e§û¯ù¡F´Óª«µÑ¨ú¶¼®Æ¡F´Óª«ºëµo»Ã¶¼®Æ¡F§tÅÖºûªº¶¼®Æ¡F§tÅÖºû¹B°Ê¶¼®Æ¡F§t¸Á¤ý¨Å¶¼®Æ¡F§t¾L¶¼®Æ¡FµL°sºëªG¥Ä¶¼®Æ¡FªG¥Ä¡FªG¥Ä¯»¡F³ÁªÞ¥Ä¡]µo»Ã«á¦¨°à°s¡^¡F¤t¨©ªJªI¯ù¡F¥»¯ó´Óª«»s¦¨¤§¶¼®Æ¤Î¯»ª¬¨Rªw¶¼®Æ¡FªG¯ù¡]¤£§t°sºë¡^¡F³½¸{¯ó¶¼®Æ¡F«C¯ó´Óª«¶¼®Æ¡F¹B°Ê¶¼®Æ¡F½µæ¥Ä¡]¶¼®Æ¡^¡F«C¯ó¶¼®Æ¡F³Á¯ù¡F³t·»Á¤¯ù¥]¡]«D¯ù¬°¥D¡^¡F§t¤ô·»ÅÖºû¶¼«~»s¶¼¡FÀs²´¯ù¡F°ªÅÖ¶¼®Æ¡]«DÃĥΡ^¡F³Á¯ó¯»¡C
[540] °Ó¼Ð :

[210] ½s¸¹ : N/106300
[220] ¥Ó½Ð¤é : 2015/11/24
[730] ¥Ó½Ð¤H : Ä˰T±±ªÑ¦³¤½¥q
¦a§} : ¶}°Ò¸s®q¤j¶}°Ò³ìªv´°«¢ª÷´µ¹D§J¨½°ò¯S¼s³õ¥@¬ö®x°|¶l¬F«H½c2681GT
°êÄy : ¶}°Ò¸s®q
¬¡°Ê : °Ó·~
[511] Ãþ§O : 9
[511] ²£«~ : ¬ì¾Ç¡B¯è®ü¡B´ú¶q¡BÄá¼v¡B¹q¼v¡B¥ú¾Ç¡B¿Å¨ã¡B¶q¨ã¡B«H¸¹¡BÀËÅç¡]ºÊ·þ¡^¡B±ÏÅ@¡]Àç±Ï¡^©M±Ð¾Ç¥Î¸Ë¸m¤Î»ö¾¹¡F³B²z¡B¶}Ãö¡B¶Ç°e¡B¿n²Ö¡B½Õ¸`©Î±±¨î¹qªº¸Ë¸m©M»ö¾¹¡F¿ý»s¡B¶Ç°e¡B«©ñÁnµ©Î¼v¹³ªº¸Ë¸m¡FºÏ©Ê¼Æ¾Ú¸üÅé¡A¿ýµ½L¡F¥ú½L¡ADVD½L©M¨ä¥L¼Æ¦r¦sÀx´C¤¶¡F§ë¹ô±Ò°Ê¸Ë¸mªº¾÷±ñµ²ºc¡F¦¬»È¾÷¡Apºâ¾÷¾¹¡A¼Æ¾Ú³B²z¸Ë¸m¡Apºâ¾÷¡Fpºâ¾÷³n¥ó¡F·À¤õ¾¹±ñ¡Fºâ½L¡F·|p¾÷¡F»W¹q¦À¡F»Ä¤ñ«p¡F¹q¦À»Ä¤ñ«p¡FÁn¾ÇºÞ¹D¡FÁn½¢¦X¾¹¡F·P¥úp¡F²K¥[¾÷¾¹¡F¤Ñ½u¡F¶q®ðp¡F¹q¤lijµ{¡FªÅ®ð¤ÀªR»ö¡F¹qĵÄÁ¡F³øÄµ¾¹¡F°sºë¤ñ«p¡F·Ó·Ç»ö¡F°ª«×p¡F¹q¬yªí¡F©ñ¤j¾¹¡F©ñ¤jºÞ¡F·³tp¡F°Êµe¤ù¡F¶§·¥¹q¦À¡F¶§·¥¡FÀ³µª¾÷¡F¨¾¯t¥ú²´Ãè¡F¨¾¯tÅ@¥ØÃè¡F§Ü¤zÂZ³]³Æ[¹q¤O]¡F¨¾µs³øÄµ¾¹¡F¹ï³±·¥¡Fª«Ãè¤f®|p[¥ú¾Ç]¡F¹q¼Ï[¹q¤O]¡F¨¾¤õ¥Î¥Û´ÖªA¡F¨¾¨Æ¬G¥Î¥Û´Ö«OÅ@¤â®M¡F®ø¨¾¥Û´Ö«Ì¹õ¡F¤Ñ¤å¾Ç³]³Æ©M»ö¾¹¡FµøÅ¥±Ð¾Ç³]³Æ¡F¦Û°Ê¨ú´Ú¾÷[ATM]¡F¤è¦ì»ö¡F¥¿Å³]³Æ[±ì¯¯]¡F±ø½X¾\Ū¾¹¡F®ðÀ£ªí¡F¹q¦À¡F¨®½ø¹q¦À¡F·Ó©ú¹q¦À¡F¹q¦À²°¡F¹q¦À¥R¹q¾¹¡F¹q¦ÀÅø¡F©]¥ú«H¼Ð¡FÄÁ[³øÄµ¸Ë¸m]¡F¹q¤l·PÀ³¥[³t¾¹¡F±æ»·Ãè¡F²´¸n[«H¸¹«ü¥Ü¿O]¡FÂŹϳ]³Æ¡FÁçÄl±±¨î»öªí¡F¤À¤ä½c[¹q¤O]¡F°£¶i¦æ¤H¤u©I§lªº©I§l³]³Æ¡F¼çªa©I§l¾¹¡F¸Á»ï¾¹¡F´Án¾¹¡F¹qÆl¡FpºâºÏ½L¡Fpºâ¾÷¡F®Õ·ÇÀô¡F¥d¹X¡FÄá¹³¾÷¡F·Ó¬Û¾÷[Äá¼v]¡F¹q®e¾¹¡F¤ò²ÓºÞ¡F¤ì¦K¤Ø¡FÄá¼v½L¡F¯S»sÄá¼v¾¹±ñÀx¦s½c¡F¸Ñå»ö¾¹Àx¦s½c¡F¦¬´Ú¾÷¡FºÏ±a¼½©ñ¾÷¡F³±·¥¡F³±·¥¨¾»G»k¸Ë¸m¡F¤â¾÷±a¡FÄá¼v½¦¤ù©w¤ß¸Ë¸m¡F¤¤¥¡³B²z³æ¤¸[³B²z¾¹]¡F¹q¦À¥R¹q¾¹¡F¤Æ¾Ç»ö¾¹¤Î¾¹±ñ¡Fªä¤ù[¶°¦¨¹q¸ô]¡F§ã¬y°é[ªý§Ü]¡F¹êÅç«Ç¥Î¦âÃСFp®Éªí[®É¶¡°O¿ý¸Ë¸m]¡F¹q¼vÄá¼v¾÷¡F¹q¼v½¦¤ù¡]¤wÃn¥ú¡^¡FÂ_¸ô¾¹¡F¹q¸ô³¬ªù¾¹¡F°Û¤ù²M¼ä¸Ë¸m¡F´ú¨¤»ö¡F¹êÅç«Ç¥ÎªA¸Ë¡F¨¾¨Æ¬G¡A¿ç®g©M¤õ¨aªA¸Ë¡F¨¾¤õ¨aªA¸Ë¡F¦P¶b¹qÆl¡F½u°é¡F§ë¹ô¦¡³]³Æ¡F§ë¹ô¦¡¹qµø¾÷¡F¶°¹q¾¹¡F¹q¥æ´«³]³Æ¡^¡F´«¦V¾¹¡F¥ú½L¡F¥ú½L[µÀWµøÀW]¥ú½L[¥uŪ¦sÀx¾¹]¡F¤ñ¸û´ú©w¾÷¡F«ü«n°w¡F«ü«n°w[´ú¶q»ö¾¹]¡Fpºâ¾÷¹CÀ¸µ{§Ç¡F¹q¸£Áä½L¡Fpºâ¾÷¦sÀx³]³Æ¡Fpºâ¾÷¾Þ§@µ{§Ç¡]¤w¿ý»s¡^¡F¹q¸£©PÃä³]³Æ¡Fpºâ¾÷µ{§Ç¡]¤w¿ý»s¡^¡Fpºâ¾÷µ{§Ç[¤U¸ü³n¥ó]¡Fpºâ¾÷³n¥ó¡]¤w¿ý»s¡^¡Fpºâ¾÷¡F¹q¾ÉÅé¡F¹q½u³s±µª«¡F³s±µ¾¹[¹q¤O]¡FÁô§Î²´Ãè¡F¹q±µÀY¡FÁô§Î²´Ãè²°¡FÅã·LÃè¤ù²°¡F±±¨î±ªO[¹q¤O]¡FÂà´«¾¹¡Fµ´½t»É½u¡FÁB¥¿Ãè¤ù[¥ú¾Ç]¡F¤Ñ¤å¾Ç»ö¾¹¡F§ë¹ôp¼Æ±Ò°Ê³]³Æ¥Î¾÷±ñ¸Ë¸m¡F½¢¦X¾¹[¼Æ¾Ú³B²z³]³Æ]¡F¹q±µÀY¡F¹q±µÀY»\¡F¸I¼²¸ÕÅç°²¤H¡Fª÷ÄݤÀªR¾¹[¹êÅç«Ç]¡F¹q¬y¾ã¬y¾¹¡F°j±Û¥[³t¾¹¡F·t«Ç¿O[Äá¼v]¡F·t«Ç[Äá¼v]¡F¼Æ¾Ú³B²z¸Ë¸m¡F´îÀ£¿µ¡FºÏ±a°hºÏ¸Ë¸m¡F±K«×p¡F±K«×¾¹¡F±´´ú¾¹¡F«DÂå¥Î¶EÂ_»ö¡F®¶°Ê½¤[µÅT]¡F¬ì¾Ç»ö¾¹®¶°Ê½¤¡F®¶°Ê½¤[Äá¼v]¡F¤fz¾÷¡Fl®g³]³Æ[Åã·LÃè]¡F«D·Ó©ú¥Î©ñ¹qºÞ¡F¹q¸£ºÏ½LÅX°Ê¾¹¡FºÏ½L¡F´ú¶Z³]³Æ¡F¶ZÂ÷°O¿ý¸Ë¸m¡F¬ì¾Ç¥Î»]ÃH¸Ë¸m¡F°t¹q½L[¹q¤O]¡F°t¹q½c[¹q¤O]¡F¤À°t±±¨î¥x[¹q¤O]¡F¼ç¤ôûªº¤f¸n¡F¼ç¤ô¦ç¡Fªä¤ù¡Fï¤l¡F¾¯¶qp¡F¥i¤U¸ü¤§¼v¹³ÀɮסF¥i¤U¸üªºµ¼Ö¤å¥ó¡F¥i¤U¸üªº¤â¾÷¹aÁn¡F©çÄá¥ÎºÞ¹D¡FµôÁ_¤Ø¡F·Ó¤ù°®Àê³]³Æ¡FÅά[[Äá¼v]¡FºÞ[¹q¤O]¡FDVD¼½©ñ¾¹¡F´¤¤Op¡F¼ç¤ôû¦Õ¶ë¡F¹q¼v¤ù½s¿è¾¹¨ã¡FÀ˳J¾¹¡F¹q°ÊªùÄÁ¡F¤u·~¾Þ§@¹q®ð³]³Æªº»»±±¾¹¡F¹q·l¯Ó«ü¼Ð¡F¹q¤OºÞ¹D¡F¹q¤O¹q·½¡]§÷®Æ¡^[¹q½u¡A¹qÆl]¡F¹q³òÄæ¡F¦w¸Ë§ë¥ú¿O¥Î¹q®ð¾Éy¡FÅK¸ôÂI°Ê¤O¸Ë¸m¡F«H¸¹°Ê¤O¸Ë¸m»»±±¾¹¡F¹q¸Ñ¼Ñ¡F¹qºÏ½u°é¡F¹q¤l§G§iÄæ¡F¹q¤lµ§[µøÀWÅã¥Ü¸Ë¸m]¡F¹q¤l¤f³U½Ķ¾÷¡F¹q¤l¥Xª©ª«¡]¥i¤U¸ü¡^¡F°Ó«~¹q¤l¼ÐÅÒ¡F½s½XÃѧOºÏ¤âÅN¡F½s½XªººÏ¥d¡F©ñ¤j³]³Æ[Äá¼v]¡F¤Û¿O¾÷¡F´ú¤Op¡FÃn¥ú¾¹[¥ú]¡F·À¤õ¾¹¡F²´Ãè²°¡F²´ÃèÃì¡F²´Ãè½u¡F²´Ãè¬[¡F¥ØÃè¡F§t¥ØÃ誺³]³Æ¡F¶Ç¯u¾÷¡F°²¹ô±´´ú¾¹¡Fµo»Ã¸Ë¸m[¹êÅç«Ç»ö¾¹]¡FÅÖºû¥úÆl¡FÁ¡½¤¤Á³Î³]³Æ¡F¹q¼v¡]¤wÃn¥ú¡^¡F©I§l±¸n¹LÂo¾¹¡Fµµ¥~½u¹LÂo¾¹[Äá¼v]¡F¹LÂo¾¹[Äá¼v]¡F¤õ¨a³øÄµ¾¹¡F¥´¤õ±½§â¡F·À¤õ´à¡F®ø¨¾²î¡F®ø¨¾¨®¡F¨«¤õ³q¹D¡F®ø¨¾³ï¡F®ø¨¾¤ôºj¡F°{¿O[Äá¼v]¡F¤â¹qµ©[Äá¼v]¡F³n½L¡Fº·¥ú«Ì¡FÃú¿O¡F¹«~¤ÀªR»ö¡FÄá¼v½¦¤ù®Ø¡F¶l¸êÀË´ú³]³Æ¡FÀW²vp¡F¹êÅç«Ç¯S»s®a¨ã¡Fº²Â_µ·¡F«OÀIµ·¡F¤è¹]Äq´¹Åé[±´´ú¾¹]¡F¹q¦À¡Fì¹q¦À¡FÀˬyp¡F¨¾¤õªA¸Ë¡F®ðÅéÀË´ú»ö¾¹¡F·Ñ®ðªí[´ú¶q»ö¾¹]¡F»öªí¡F¹q¾ÉÅ鱬Á¼þ¡F·Ó¤ù¤W¥ú¸Ë¸m¡F¥þ²y©w¦ì¨t²Î[GPS]³]³Æ¡F¼ç¤ô¤â®M¡F¨¾¨Æ¬G¤â®M¡F¤u·~¥Î¨¾Å@X¥ú¤â®M¡F¹B°ÊÅ@¥ØÃè¡F¹q¦À¹qºô¡F¹q¸Ü§K´£®M¥ó¡FºÏÀY²M¼äºÏ±a[¿ýµ]¡F¦Õ¾÷¡F¼ö½Õ¸`³]³Æ¡F¤é±Ìå³]³Æ¡F©³½t®Ö½u¾¹¡F°ªÀW¸Ë¸m¡F¹q°Ê½u°é²°¡F¥þ®§¹Ï¡F´Án¾¹¡F¨Fº|¡FÀã«×p¡FÀã«×¾¹¡F¹q½uÅ@®M¡F¹q½u½u¡FºÏ©Ê¨¥÷ÃÒ¡FÂI¤õ¸Ë¸m¡F²Óµß°ö¾i¹å¤Æ¾¹¡F¹q·P¾¹[¹q¤O]¡F¶°¦¨¹q¸ô¥d[´¼¯à¥d]¡F¶°¦¨¹q¸ô¡F¹ïÁ¿³]³Æ¡F¹q¸£¬É±¡F°fÅܾ¹[¹q¤O]¡Fµo²¼¾÷¡F¹qÂ÷³]³Æ¡]«DªÅ®ð©Î¤ô³B²z¥Î¡^¡F§¨¨ã[´ú¶q»ö¾¹]¡Fpºâ¾÷ÂI°Û¾÷¡Fµ¼ÖÂI°Û¾÷¡F±µ½u²°[¹q¤O]¡F¹qÆl®M¡F¤u¤H¥ÎÅ@½¥¡F¹êÅç«Ç¥ÎÂ÷¤ß¾÷¡F¹êÅç«Ç¦«½L¡F¨Å¥Ä¿@«×p¡FÀ˨ž¹¡Fµ§°O¥»¹q¸£¡F¿E¥ú¾¹¡]«DÂå¥Î¡^¡F¥Î©ó´ú¶q¦Ð¤ò«p«×ªº³]³Æ¡FÃèÀY¾B¥ú¸n¡F¤Ñ¤åÄá¼vÃèÀY¡F«H¯y¡F¾ã¥»ö¾¹¡F¤ô¥»ö¡F±Ï¥Í±a¡F±Ï¥Í°é¡F±Ï¥Í¦ç¡F±Ï¥Íºô¡F±Ï¥Í³]³Æ©M»ö¾¹¡F±Ï¥Í¤ìµ¡F¥ú¾É¹qµ·[¥úÅÖ]¡F½Õ¥ú¾¹¡Fµo¥ú¤G·¥ºÞ[LED]¡Fµo¥ú¹q¤l«ü°w¡F·Ó©úÂí¬y¾¹¡FÁ×¹p¾¹¡F¨î¾¹[¹q¤O]¡F¹qÂê¡F¤é»x[´ú¶q»ö¾¹]¡F´Án¾¹¡FÅ]³N¿OÅ¢¡FºÏ©Ê¼Æ¾Ú¸üÅé¡FºÏ©Ê½s½X¾¹¡F¹q¸£ºÏ±a¡FºÏ±a¡FºÏ¤O½u¡FºÏÅK¡F¸Ë¹¢ºÏÅé¡F©ñ¤jÃè[¥ú¾Ç]¡FÀ£¤Oªí¡F¯è®üù½L¡F®ü¬v´ú²`»ö¡F¯B¼Ð¡F¥´¼Ðp[¤ì¤u]¡F¤Ñ½u®é§ý¡F§÷®ÆÀË´ú»ö¾¹©M³]³Æ¡F¼Æ¾Ç»ö¾¹¡F¶q¨ã¡F´ú¶q¸Ë¸m¡F¹q´ú¶q¸Ë¸m¡F´ú¶q¥Î¬Á¼þ¾¹¥×¡F´ú¶q»ö¾¹¡F¶q°Í¡F¼Ð¥Ü¡FÂXµ¾¹¡F¨E§t¶q¾¹¡F¤u·~©Îx¨Æ¥Øªºª÷Äݱ´´ú¾¹¡F®ð¶H®ð²y¡F®ð¶H»ö¾¹¡F´ú¶q¾¹¡F¸`©ç¾¹¡F¥ú¾Ç»ö¾¹¥Î¤d¤À¤ØÁ³µ·¡F¤d¤À¤Ø¡F³Á§J·¡F·L³B²z¾¹¡FÅã·LÃè¡F¤Á¤ù¾÷¡F¨®½ø¨½¼Æ°O¿ý»ö¡FÀˬd¥ÎÃè¤l¡FÃè[¥ú¾Ç]¡F½Õ»s¸Ñ½Õ¾¹¡F¿úp¼Æ©M¤ÀÃþ¾÷¡F¹q°ÊºÊµø¸Ë¸m¡FÅã¥Ü¾¹[¹q¸£µw¥ó]¡FÅã¥Ü¾¹[pºâ¾÷µ{§Ç]¡F®ø¨¾¨®¡F¹«¼Ð[¼Æ¾Ú³B²z³]³Æ]¡F¹«¼Ð¹Ô¡F¯è®ü³]³Æ©M»ö¾¹¡F®üx«H¸¹³]³Æ¡F¨®½ø¾É¯è³]³Æ[¨®¸ü¹q¸£]¡F¾É¯è»ö¾¹¡FÀOi¿O¡F¨¾¨Æ¬Gºô¡F¼ç¤ô©M´åªa¥Î»ó§¨¡Fµ§°O¥»¹q¸£¡F¥ú¾ÇÃèÀY¡FÆ[´ú»ö¾¹¡F¤K¤À»ö¡F¼Ú©iªí¡F¥ú¾Ç»ö¾¹¤Î¾¹±ñ¡F¥ú¾Ç¦r²Å¾\Ū¾¹¡F¥ú¾Ç§N¾®¾¹¡F¥ú¾Ç¼Æ¾Ú´CÅé¡F¥ú½L¡F¥ú¾Ç¬Á¼þ¡F¥ú¾Ç¥Î«~¡F¥ú¿O¡F¥ú¾ÇÃè¤ù¡F¥Üªi¾¹¡F¹êÅç«Ç¥Î¯N½c¡F®ñ®ðÂà´«¸Ë¸m¡F¯ä®ñµo¥Í¾¹¡F°±¨®«}¿ö¡F²É¤l¥[³t¾¹¡Fp¨B¾¹¡Fªù¿sµø¤Õ[©ñ¤jÃè]¡F¼ç±æÃè¡FÓ¤HµÅT¡F¨TªoÀ£¤Oªí¡F°Û¤ù¡F½Æ¦L¾÷[·Ó¬Û¡AÀR¹q]¡F¥ú«×p¡F¶Ç¯u¹q³ø³]³Æ¡F¥ú¥ñ¹q¦À¡Fª«²z³]³Æ©M»ö¾¹¡F§¨»ó²´Ãè¡F²¾²G¾¹¡F¸¾÷ªí[´ú¶q»ö¾¹]¡F¨D¿n»ö¡F¹q¦ÀªO¡Fø¹Ï»ö¡F´¡ÀY¡A´¡®y¤Î¨ä¥L±µÄ²¾¹[¹q®ð³s±µ]¡F¹]««¡F¹]««½u¡F³S¬Ãpºâ¾¹¡F°¾·¥p¡F«KÄ⦡´CÅé¼½©ñ¾¹¡F²¾°Ê¹q¸Ü¡Fºë±K¤Ñ¥¡Fºë±K´ú¶q¸Ë¸m¡F¶ë»ÖÀ£¤O«ü¥Ü¾¹¡FÀ£¤O«ü¼Ð¡FÀ£¤O´ú¶q»ö¡F¦L¨ê¹q¸ôªO¡F¦L¨ê¹q¸ô¡F»Ppºâ¾÷¨Ï¥Îªº¥´¦L¾÷¡FÙ±Ãè[¥ú¾Ç]¡F¬ì¾Ç¥Î±´ÀY¡F§ë¼v»ö¡F§ë¼v«Ì¹õ¡FX¥ú«OÅ@¸Ë¸m¡]«DÂåÀø¥Î¡^¡FÓ¤H¥Î¨¾¨Æ¬G«OÅ@¸Ë¸m¡F¨¾Å@ÀY²¯¡F¹B°Ê¥Î¨¾Å@ÀY²¯¡F¨¾Å@¤f¸n¡F¸¦æû¨¾Å@ªA¡F¶q¨¤¾¹[´ú¶q»ö¾¹]¡F¿ì¤½«Ç¥Î¬ï¤Õ¾÷¡F¹a«ö¶s¡F°ª·Åp¡F¼Æ¶qp¡F¹p¹F³]³Æ¡FµL½u¹q´M©I¾÷¡F¥Î©ó¤u·~¥Î³~ªº©ñ®g©Ê¸Ë¸m¡F¥Î©ó¤u·~¥Î³~©ñ®g¾Ç«Ì¹õ¡F¦¬µ¾÷¡FµL½u¹q³ø¥x¡FµL½u¹q¸Ü¥x¡FÅK¸ô¦æ¨®¦w¥þ¾¹¨ã¡FŪ¥X¾¹[¼Æ¾Ú³B²z³]³Æ]¡FµÀWµøÀW±µ¦¬¾¹¡F¹q°Û¾÷°w¡F¹q°Û¾÷¡F´î³t¾¹[¹q¤O]¡F¹w¨¾¥æ³q¨Æ¬G¥Î¬ïÀ¹¤Ï¥ú¤ù¡F§é®g¾¹¡F§é®g»ö¡F¹q½Õ¸`³]³Æ¡FÄ~¹q¾¹¡F»»±±¸Ë¸m¡F¹qªý¡F¥Î©ó¹LÂoªÅ®ð¥Î©I§l¾¹¡F«D¤H¤u©I§l¥Î©I§l¾¹¡F«æ±Ï»ö¾¹[±Ð¾Ç»ö¾¹]¡F¦±ÀV²~¡FÂà¼Æªí¡FÅܪý¾¹¡F¨®¥ÎÀY²¯¡Fµo¥ú©Î¾÷±ñ¹D¸ô¼Ð»x¡F¦a¤U¤ô±´´ú¾¹¡F´Î[´ú¶q»ö¾¹]¡F¤Ø[´ú¶q»ö¾¹]¡F¤Ø³W[´ú¶q»ö¾¹]¡F¿}¶qp¡F«D¨®©Î¹B°Ê¥Î¦w¥þ³]³Æ¡F¨¾¤ô¦w¥þ¦|¥¬¡FÆQ¶qp¡F½Ã¬P¾É¯è³]³Æ¡F¥Î©ó¬ì¾Çªº½Ã¬P¡F¯y¡F±½´y¾¹[¼Æ¾Ú³B²z³]³Æ]¡F·Ó¬Û»sª©«Ì¹õ¡F«Ì¹õ[Äá¼v]¡FÁ³¯¾³W¡F¥b¾ÉÅé¡F¤»¤À»ö¡F¹qÆl«OÅ@®M¡F¨¾¤î¨Æ¬G¡B¿ç®g©M¤õ¨a¥Î¾c¡F§Öªù¾¹[Äá¼v]¡F§Öªù[Äá¼v]¡Fºj¥ÎºË·Ç±æ»·Ãè¡F«H¸¹ÄÁ¡F«H¸¹¿OÅ¢¡F¯B¼Ð¡Fµo¥ú©Î¾÷±ñ«H¸¹ªO¡F¤fï¡F¥ú©Î¾÷±ñ«H¸¹¡Fµo¥ú©ÛµP¡F¨®½øÂà¦V©M±±¨î¼ÒÀÀ¾¹¡Fĵ³ø¾¹¡F´ú©w¥Öªº«p«×ªº³]³Æ¡F´å¼Ð¥d¤Ø¡F¤Û¿O¾÷¡F·Æ¤Ø¡F¤Û¿O¤ù[Äá¼v]¡F·ÏÃú±´´ú¾¹¡F¹q¼öÄû¤l¡F¤Ó¶§¯à¹q¦À¡F²k¤uÀY²¯¡F¹qºÏ»Ö[¹qºÏ¶}Ãö]¡FÁn¯Ç¡FÁnµ³øÄµ¾¹¡FÁnµ©w¦ì»ö¾¹¡F¿ýµ³]³Æ¡FÁnµ¸üÅé¡F¿ýµ±a¡FÁnµ½Æ»s¸Ë¸m¡FÁnµ¶Ç°e³]³Æ¡F±´´ú»ö©M¾÷¾¹¡F´ú²`»ö½u¡F´ú²`½u¡F¤õªá¨¾¤î¸Ë¸m¡F³q¸ÜºÞ¡F²´Ãè²°¡F²´Ãè¬[¡F²´Ãè¡F²´Ãè[¥ú¾Ç]¡F¥úÃлö³]³Æ¡F¤À¥úÃè¡F³t«×ÀË´ú¸Ë¸mªº¨®½ø¡F³t«×«ü¼Ð¡F´ú³t»ö[Äá¼v]¡F¹q°Û¾÷³t«×½Õ¸`¾¹¡F²y®|p¡F¤ô·Ç»ö¡F½u¶b[Äá¼v]¡F¦Û°Ê¼Q¤ô·À¤õ¨t²Î¡F»R¥x¿O¥ú½Õ¸`¾¹¡FÄá¼v»ö¾¹¬[¡F¹q¾÷¹qÆl¡F¨®½ø¦Û°ÊÂà¦V¸Ë¸m¡F¤ÉÀ£ÅÜÀ£¾¹¡FÅéµøÃè¡F¥ßÅé³]³Æ¡F¹êÅç«Ç»]ÃH¾¹¡F¹q°Û¾÷°Û°w¡F¨È²¸»ÄÆQ´úp¡F¤Ó¶§Ãè¡F´ú¶q»ö¾¹¤Î¾¹±ñ¡F´ú¶qÃì¡F´ú¶q»ö¾¹¡F¤ô¥¤Ø¡FÂà±µ¾¹¡FÂà±µ¾¹[¹q¤O]¡F¹q¶}Ãö¡FÂà³tªí¡F¿ýµ¾÷¡Fªº¤hpµ{ªí¡F±Ð¾Ç³]³Æ¡F¤ú¾¦«OÅ@³]³Æ¡F¹q³ø½u¡F¹q³ø³]³Æ¡F¹q¸Ü³]³Æ¡F¹q¸Ü±µ¦¬¾¹¡F¹q¸Üµo®g¾¹¡F¹q¸Ü½u¡F¹q¶Ç¥´¦r¾÷¡F¹q¤l´£µü¾÷¡F¹q¸Ü¤¤Â_¾¹¡F±æ»·Ãè¡F¹qµø³]³Æ¡F·Å«×«ü¼Ð¡F¹q¤O²×ºÝ¡F¸ÕºÞ¡F«DÂå¥Î´ú¸Õ³]³Æ¡F¹q°Ê¨¾µs¸Ë¸m¡F¸g½n»ö¡F¼öÂ÷¤lºÞ¡F«DÂå¥Î·Å«×p¡F·Å±±¾¹¡F¨®½ø«í·Å¾¹¡F°â²¼¾÷¡F¥´¥dÄÁ[®É¶¡¬ö¿ý³]³Æ]¡F®É¶¡°O¿ý¸Ë¸m¡F¦Û°Ê¶}Ãö¡F¨®½ø½üL§CÀ£«ü¼Ð¡F°Û¾÷°w¡FÁ`ÃBpºâ¾¹¡F¥æ³q¿O³]³Æ[«H¸¹¸Ë¸m]¡FÅÜÀ£¾¹[¹q¤O]¡F´¹ÅéºÞ[¹q¤l]¡F¹q¤l«H¸¹µo®g¾¹¡FÅܰe¾¹[¹q«H]¡Fµo®g¥x[¹q«H]¡F¤T·¥ºÞ¡F¬Û¾÷¤T¸}¬[¡F§¿¤ñ«p¡FUSB°{¦sÅX°Ê¾¹¡F¯uªÅp¡F¯uªÅºÞ¡F®ðÀ£ªí¡F¨®½ø¬G»Ù¤T¨¤Äµ§iµP¡F¨T¨®¦¬µ¾÷¡F´å¼Ð¡F¨¾¼uI¤ß¡F¿ý¹³±a¡FµøÀW¹CÀ¸²°¡F¿ý¹³¾÷¡FµøÀW«Ì¹õ¡FµøÀW¹q¸Ü¡F¿ý¹³±a¡F·Ó¬Û¨ú´º¾¹¡FÖß«×p¡F¨®½ø¹qÀ£½Õ¸`¾¹¡F¹qÀ£«OÅ@¾¹¡F¹qÀ£ªí¡F§ë²¼¾÷¡F´¹¶ê[ª¿¤ù]¡F§¨¼Ù²´Ãè¡F¹ïÁ¿¾÷¡F²M¬~¦«½L[Äá¼v]¡F¤ô¦ì«ü¼Ð¡Fªiªøp¡F¦a¯¯¡F¯¯«³]³Æ©M»ö¾¹¡F¯¯«¾÷¡F¯¯ÒÙ¡F»ï²Ã³øÄµ¡F«ü¥Ü·¦V·¦V³U¡F¹q½u±µÀY[¹q¤O]¡F¹q½u¡F¤å¦r³B²z¾¹¡F«OÅ@±¸n¡F»Ppºâ¾÷ªº¨Ï¥Îªº¤âµÃ¹Ô¡F«DÂå¥ÎX¥ú¸Ë¸m¡F¤wÃn¥úX¥ú¤ù¡F«DÂå¥ÎX¥ú·Ó¤ù¡F«DÂå¥ÎX¥úºÞ¡F«DÂå¥ÎX¥ú²£¥Í³]³Æ©M¸Ë¸m¡Fpºâ¾÷¹CÀ¸³n¥ó¡F²¾°Ê¹q¸Ü¡F²¾°Ê¹q¸Ü°t¥ó¡F²¾°Ê¹q¸Ü®M¡F¥ªOpºâ¾÷¡F¥ªOpºâ¾÷®M¡F¥Î©ó²¾°Ê¹q¸Ü©M¤â¾÷ªºpºâ¾÷¹CÀ¸³n¥ó¡F²¾°Ê¹q¸Ü¹q¤l¹CÀ¸³n¥ó¡F¥i¤U¸üªº²¾°Ê¹q¸Ü¹Ï¹³¡F²¾°Ê¹q¸ÜÀ³¥Î³n¥ó¡Fpºâ¾÷¡B²¾°Ê¹q¸Ü©M¥ªOpºâ¾÷ªº¹CÀ¸³n¥ó¡F¥ªOpºâ¾÷³n¥ó¡C
[540] °Ó¼Ð :

[300] Àu¥ýÅv :
| ¤é´Á | ½s¸¹ | °ê®a/¦a°Ï |
| 2015/08/25 | 014504476 | ¼Ú¬wÁp·ù |
[210] ½s¸¹ : N/106301
[220] ¥Ó½Ð¤é : 2015/11/24
[730] ¥Ó½Ð¤H : Ä˰T±±ªÑ¦³¤½¥q
¦a§} : ¶}°Ò¸s®q¤j¶}°Ò³ìªv´°«¢ª÷´µ¹D§J¨½°ò¯S¼s³õ¥@¬ö®x°|¶l¬F«H½c2681GT
°êÄy : ¶}°Ò¸s®q
¬¡°Ê : °Ó·~
[511] Ãþ§O : 41
[511] ªA°È : ±Ð¨|¡F´£¨Ñ°ö°V¡F®T¼Ö¡F¤åÅ鬡°Ê¡F°|®Õ[±Ð¨|]¡F¹C¼Ö¶é¡F®T¼Ö¡F°Êª«°V½m¡F¦w±Æ©M²Õ´¾Ç³N°Q½×·|¡F¦w±Æ©M²Õ´µ¼Ö·|¡F¦w±Æ©M²Õ´·|ij¡F¦w±Æ©M²Õ´¥Nªí¤j·|¡F¦w±Æ©M²Õ´¬ã°Q·|¡F¦w±Æ©M²Õ´±MÃD°Q½×·|¡F¦w±Æ©M²Õ´¬ã°Q·|[°ö°V]¡F¿ï¬ü¤ñÁÉ¡F±H±J¾Ç®Õ¡Fªíºt®y¦ì¹wq¡F²¾°Ê¹Ï®ÑÀ]ªA°È¡F®ÑªkªA°È¡F½ä³õ³]¬I[³Õ±m]¡F¹q¼vºt¥Ü¡F°¨À¸¹Î¡FѼֳ¡ªA°È[®T¼Ö©Î±Ð¨|]¡F±Ð½m[°ö°V]¡F°·¨½Òµ{¡F¨ç±Â½Òµ{¡F°Û¤ùÃM®vªA°È¡F»RÆUªA°È¡F°tµ¡F±Ð¨|«H®§¡F±Ð¨|¦Ò¸Õ¡F¹q¤l®à±¥Xª©¡FÃÀ¤HªA°È¡F®T¼Ö«H®§¡F²Õ´®T¼Öªº¥Ø®É¸Ë¨q¡F¹q¼v»s§@¡A«D¼s§i¤ù¡F½ä³Õ¡F¦b½u´£¨Ñpºâ¾÷ºôµ¸¹CÀ¸¡F¹CÀ¸³]³Æ¯²¸î¡F´£¨Ñ°ªº¸¤Ò²y³õ³]¬I¡FÅé¾Þ±Ð¾Ç¡F°·¨Ñ¼Ö³¡ªA°È[°·±d©M°·¨°V½m]¡F°²¤é³¥ÀçªA°È[®T¼Ö]¡F½ĶªA°È¡F¥¬¸mªA°È¡A«D¼s§i¥Î³~¡F¹Ï®ÑÀ]¡F²{³õªíºt¡FÁY·L¹q¼v»s§@¡F³y«¬ÃÀ³N®a¡F¹q¼v»s¤ù¼t¡F´£¨Ñ³Õª«À]³]¬I[®i¥Ü©M®iÄý]¡Fµ¼Ö³Ð§@ªA°È¡Fµ¼ÖÆU¡F·s»D°OªÌ¡F©]Á`·|¡F¥®¨à¶é¡F¸gÀç±m²¼¡F¼Ö¹Î¡F²Õ´»R·|¡F²Õ´ÄvÁÉ[±Ð¨|©Î®T¼Ö]¡FÁ|¿ì¤å¤Æ©Î±Ð¨|®iÄý¡F²Õ´ªíºt¡F²Õ´Åé¨|¤ñÁÉ¡F²Õ´¬£¹ï[®T¼Ö]¡F¨p¤H±Ð½mªA°È[°·¨°V½m]¡FÄá¼v³ø¾É¡FÄá¼v¡FÅé¨|¡F§Þ¯à°ö°V[¥Ü½d]¡Fµ¼Ö»s§@¡F¼s¼½©M¹qµø¸`¥Ø»s§@¡F¸`¥Ø»s§@¡F´£¨Ñ¹CÀ¸¾÷ªA°È¡F¥d©ÔOKªA°È¡F´£¨Ñ¤£¥i¤U¸üªº¦b½u¹q¤l¥Xª©ª«¡F´£¨ÑÅé¨|³]¬I¡F¥Xª©®ÑÄy¡F¥Xª©¹q¤l¹Ï®Ñ©M¦b½u´Á¥Z¡Fµoªí¤å³¹¡A«D«Å¶Ç«~¡FµL½u¼s¼½®T¼Ö¡F¿ýµ«ÇªA°È¡F´£¨Ñ¥ð¶¢³]¬I¡F®T¼Ö«H®§¡F©v±Ð±Ð¨|¡F¥X¯²µÅT³]³Æ¡FÄá¿ý¾÷¯²¸î¡F¹q¼v¯²¸î¡FÀ¸¼@©Î¹qµøºt¼½«Ç·Ó©ú³]³Æ¯²¸î¡F¹q¼v©ñ¬M¾÷¤Î°t¥ó¯²¸î¡F¦¬µ¾÷©M¹qµø¾÷¯²¸î¡F§G´º¯²¸î¡F¼ç¤ô³]³Æ¯²¸î¡F¿ýµ°O¿ý¯²¸î¡F¹B°Ê¾¹§÷¥X¯²¡A¨®½ø°£¥~¡F¹B°Ê³õ¯²¸î¡F³õÀ]³]¬I¯²¸î¡F»R¥x§G´º¯²¸î¡Fºô²y³õ¯²¸î¡F¿ý¹³¾÷¯²¸î¡F¿ý¹³±a¥X¯²¡F¼¶½ZªA°È¡F¤â»y½Ķ¡FÅé¨|Àç¦aªA°È¡F¦r¹õ¡F¹qµø®T¼Ö¸`¥Ø¡FÀ¸¼@§@«~¡F²¼°È¥N²zªA°È[®T¼Ö]¡FÅé¨|ÁɨÆp®É¡Fª±¨ã¯²¸î¡F½Ķ¡F±Ð¾Ç¡F¿ý¹³±a½s¿è¡F¿ý¹³±a¹q¼v»s§@¡F¿ý¼v¡F¾·~«ü¾É[±Ð¨|©Î°ö°Vªº«ØÄ³]¡F¾·~¦A°ö°V¡F¤å¦r¼¶¼g¡A«D«Å¶Ç«~¡F°Êª«¶é°È¡F´£¨Ñ¦b½u¹CÀ¸¡F´£¨Ñ¥i³q¹L¹q¸£ºôµ¸©M¥þ²y³q°Tºôµ¸³X°Ý¡B¨Ï¥Î©M¤U¸üªº¹q¸£¹CÀ¸©MµøÀW¹CÀ¸¡F³q¹Lpºâ¾÷ºôµ¸´£¨Ñ®T¼Ö¡F¬°µøÀW¹CÀ¸ª±®a©M¹q¸£¹CÀ¸ª±®a¦w±Æ©M¶i¦æ¤ñÁÉ¡F®T¼Ö¤ñÁÉ¡AÄvª§©M¹CÀ¸¡F²Õ´¹CÀ¸¡F¤¬°Ê¹CÀ¸¡A¤¬°Ê®T¼Ö¡A¤¬°ÊÄvÁÉ©M¤¬°Ê°Ýµª¡F´£¨ÑµøÀW¹CÀ¸©M¹q¸£¹CÀ¸ªº«H®§¡F³q¹Lpºâ¾÷ºôµ¸´£¨Ñ¦h´CÅé®T¼Ö¤º®e¡Fµo¥¬©M´£¨Ñ¹q¸£¹CÀ¸¡F´£¨Ñ»P¤WzªA°È¬ÛÃöªº«H®§©M¿Ô¸ß¡F±qpºâ¾÷¼Æ¾Ú®w©Î³q¹L¦]¯Sºô¨Ó´£¨Ñ¹q¤l¹CÀ¸¡F¹q¤l¹CÀ¸ªA°È¡A¥]¬A´£¨Ñ¦b½u©Î³q¹L¥þ²ypºâ¾÷ºôµ¸ªº¸Ë¸mªºpºâ¾÷¹CÀ¸¡F®T¼ÖªA°È¡A§Y´£¨ÑÁ{®É¨Ï¥Î¤£¥i¤U¸üªº¹q¸£¹CÀ¸¡C
[540] °Ó¼Ð :

[300] Àu¥ýÅv :
| ¤é´Á | ½s¸¹ | °ê®a/¦a°Ï |
| 2015/08/25 | 014504476 | ¼Ú¬wÁp·ù |
[210] ½s¸¹ : N/106302
[220] ¥Ó½Ð¤é : 2015/11/24
[730] ¥Ó½Ð¤H : Ä˰T±±ªÑ¦³¤½¥q
¦a§} : ¶}°Ò¸s®q¤j¶}°Ò³ìªv´°«¢ª÷´µ¹D§J¨½°ò¯S¼s³õ¥@¬ö®x°|¶l¬F«H½c2681GT
°êÄy : ¶}°Ò¸s®q
¬¡°Ê : °Ó·~
[511] Ãþ§O : 42
[511] ªA°È : ¬ì¾Ç§Þ³NªA°È©M»P¤§¬ÛÃöªº¬ã¨s»P³]pªA°È¡F¤u·~¤ÀªR»P¬ã¨s¡Fpºâ¾÷µw¥ó»P³n¥óªº³]p»P¶}µo¡Fªo¥Ð¶}µoªº¤ÀªR¡F«Ø¿v¿Ô¸ß¡F«Ø¿v¡FÅçÃÒÃÀ³N§@«~¡F²Óµß¾Ç¬ã¨s¡F¥Íª«¾Ç¬ã¨s¡F´ú¶q¡F¤Æ¾Ç¤ÀªR¡F¤Æ¾Ç¬ã¨s¡F¤Æ¾ÇªA°È¡F¶³ªº¶Ê¤Æ¡Fpºâ¾÷½sµ{¡F¹q¸£¯²¸î¡Fpºâ¾÷³n¥ó¿Ô¸ßªA°È¡Fpºâ¾÷³n¥ó³]p¡Fpºâ¾÷³n¥ó§ó·s¡Fpºâ¾÷¨t²Î¤ÀªR¡Fpºâ¾÷¨t²Î³]p¡Fpºâ¾÷¯f¬r¨¾Å@ªA°È¡F«Ø¿v°_¯ó¡Fpºâ¾÷µw¥ó³]p©M¶}µoªº¿Ô¸ß¡F¸`¯à»â°ìÅU°Ý¡F§â¦³§Îªº¸ê®Æ©ÎÀÉÂà´«¦¨¹q¤l´CÅé¡F¤Æ§©«~¬ã¨s¡F³Ð«Ø©MºûÅ@ºô¯¸¡Fpºâ¾÷µ{§Ç©M¼Æ¾Ú[¤£¬O¦³§ÎÂà´«]¼Æ¾ÚÂà´«¡F«Ç¤º¸Ë¹¢³]p¡F¤å¥ó¼Æ¦r¤Æ[±½´y]¡FªA¸Ë³]p¡Fpºâ¾÷µ{§Ç½Æ»s¡F¤uµ{¡F¦Ï¤ò½è¶qµû¦ô¡F¦a½è°É¬d¡F¦a½è¬ã¨s¡F¦a½è½Õ¬d¡F¥±ÃÀ³N³]p¡Fµ§¸ñ¤ÀªR[µ§¸ñ]¡Fpºâ¾÷ºô¯¸°UºÞ¡F¤u·~³]p¡Fpºâ¾÷³n¥ó¦w¸Ë¡F¬ì¾Ç¹êÅç«ÇªA°È¡F¤g¦a´ú¶q¡Fpºâ¾÷³n¥óºûÅ@¡F§÷®Æ¸ÕÅç¡F¾÷±ñ¬ã¨s¡Fpºâ¾÷¨t²Î³q¹L»·µ{ºÊ´ú¡Fªo¥Ð½Õ¬d¡F¥Ûªo°É±´¡Fªo¤«´ú¸Õ¡F¥]¸Ë³]p¡Fª«²z¾Ç[¬ã¨s]¡F§Þ³N¤uµ{¬ã¨s¡F´£¨Ñ¤¬Ápºô·j¯Á¤ÞÀº¡F´£¨Ñ¬ì¾Ç«H®§¡AÃö©óºÒ¸ÉÀvªº«ØÄ³©M¿Ô¸ß¡F½è¶q±±¨î¡Fpºâ¾÷¼Æ¾Ú«ì´_¡F¹q¸£³n¥ó¯²¸î¡Fºôµ¸ªA°È¾¹¯²¸î¡F¬ã¨s©M¶}µo¡FÀô¹Ò«OÅ@»â°ì¬ã¨s¡F³y«¬[¤u·~³]p]¡F´ú¶q¡F§Þ³N¬ã¨s¡F¯¼Â´«~ÀË´ú¡F¤ô¤U±´´ú¡F«°¥«³W¹º¡F¤ì½è¶q¦ôÈ¡F¨®½ø©Ê¯à´ú¸Õ¡F¤ô½è¤ÀªR¡F¤Ñ®ð¹w³ø¡Fpºâ¾÷¹CÀ¸³n¥ó³]p¡F§@¬°À³¥ÎªA°È¨ÑÀ³°Ó¡A§Y´£¨Ñ¥L¤Hªºpºâ¾÷À³¥Î³n¥ó¡F§@¬°À³¥ÎªA°È¨ÑÀ³°Ó´£¨Ñ¥Î©ó¤W¸ü¡B¤U¸ü¡B¦ê¬y¡Bµo¥¬¡B®i¥Ü¡B³Õ«È¡B³s±µ¡B¤À¨É©Î¥H¨ä¥L¤è¦¡¦b³q°Tºôµ¸¤¤´£¨Ñ¹q¤l´CÅé©Î°T®§ªº³nÅé¡Fpºâ¾÷¹CÀ¸½sµ{¡FµøÀW¹CÀ¸½sµ{¡C
[540] °Ó¼Ð :

[300] Àu¥ýÅv :
| ¤é´Á | ½s¸¹ | °ê®a/¦a°Ï |
| 2015/08/25 | 014504476 | ¼Ú¬wÁp·ù |
[210] ½s¸¹ : N/106303
[220] ¥Ó½Ð¤é : 2015/11/24
[730] ¥Ó½Ð¤H : ROSY ROSA LTD.
¦a§} : 9-2, Asakusabashi 1-Chome, Taito-Ku, Tokyo, Japan
°êÄy : ¤é¥»
¬¡°Ê : °Ó·~
[511] Ãþ§O : 3
[511] ²£«~ : ªÎ¨m¡F«D¥Í²£¾Þ§@©MÂå¥Îªº¥h«¯¾¯¡F°²·û¤ò¡F°²·û¤òÂH½¦¡F¤Æ§©«~¡F®Þ§©¥Î«~¡F»®Æ¡F»¤ô¡C
[540] °Ó¼Ð :

[210] ½s¸¹ : N/106304
[220] ¥Ó½Ð¤é : 2015/11/24
[730] ¥Ó½Ð¤H : ROSY ROSA LTD.
¦a§} : 9-2, Asakusabashi 1-Chome, Taito-Ku, Tokyo, Japan
°êÄy : ¤é¥»
¬¡°Ê : °Ó·~
[511] Ãþ§O : 21
[511] ²£«~ : ÀH¨Äâ±aªº¯»»æ²°¡F¬Ü¨ê¡F®Þ§©®üºø¡F¯»¼³¡F®Þ§©¨ê¡F¤Æ§©¥Î¨ã¡F®Þ¡C
[540] °Ó¼Ð :

[210] ½s¸¹ : N/106305
[220] ¥Ó½Ð¤é : 2015/11/24
[730] ¥Ó½Ð¤H : CHANTILLY CO., LTD.
¦a§} : 9-2, Asakusabashi 1-Chome, Taito-Ku, Tokyo, Japan
°êÄy : ¤é¥»
¬¡°Ê : °Ó·~
[511] Ãþ§O : 3
[511] ²£«~ : ªÎ¨m¡F«D¥Í²£¾Þ§@©MÂå¥Îªº¥h«¯¾¯¡F°²·û¤ò¡F°²·û¤òÂH½¦¡F¤Æ§©«~¡F®Þ§©¥Î«~¡F«ü¥ÒÅ@¾¯¡F«ü¥ÒÀ¿¥ú¾¯¡F°£«ü¥Òªo»s¾¯¡F¤Æ§©¾¯¡F»®Æ¡F»¤ô¡C
[540] °Ó¼Ð :

[210] ½s¸¹ : N/106306
[220] ¥Ó½Ð¤é : 2015/11/24
[730] ¥Ó½Ð¤H : CHANTILLY CO., LTD.
¦a§} : 9-2, Asakusabashi 1-Chome, Taito-Ku, Tokyo, Japan
°êÄy : ¤é¥»
¬¡°Ê : °Ó·~
[511] Ãþ§O : 8
[511] ²£«~ : ¤â¤u¾Þ§@ªº¤â¤u¨ã¡FÆh¤l¡F¿i«ü¥Ò¾¹¨ã¡]¹q©Î«D¹q¡^¡F«ü¥Ò¾V¡FÅ@½¤§¨¡F«ü¥Ò¤M¡]¹q°Ê©Î«D¹q°Êªº¡^¡FÅ@½¤Æh¤l¡F׸}«ü¥Ò¦¨®M¾¹¨ã¡F׫ü¥Ò¤u¨ã¡F¿i¨ã¡]¤â¤u¾Þ§@¡^¡C
[540] °Ó¼Ð :

[210] ½s¸¹ : N/106307
[220] ¥Ó½Ð¤é : 2015/11/24
[730] ¥Ó½Ð¤H : CHANTILLY CO., LTD.
¦a§} : 9-2, Asakusabashi 1-Chome, Taito-Ku, Tokyo, Japan
°êÄy : ¤é¥»
¬¡°Ê : °Ó·~
[511] Ãþ§O : 3
[511] ²£«~ : ªÎ¨m¡F«D¥Í²£¾Þ§@©MÂå¥Îªº¥h«¯¾¯¡F°²·û¤ò¡F°²·û¤òÂH½¦¡F¤Æ§©«~¡F®Þ§©¥Î«~¡F«ü¥ÒÅ@¾¯¡F«ü¥ÒÀ¿¥ú¾¯¡F°£«ü¥Òªo»s¾¯¡F¤Æ§©¾¯¡F»®Æ¡F»¤ô¡C
[540] °Ó¼Ð :

[210] ½s¸¹ : N/106308
[220] ¥Ó½Ð¤é : 2015/11/24
[730] ¥Ó½Ð¤H : ²`¦`¥«·ç¹F§ë¸ê¦³¤½¥q
¦a§} : ¤¤°ê¼sªF¬Ù²`¦`¥«ºÖ¥Ð°Ï¹AªL¸ô»P¹´»¸ô¥æ¬É¤f²`°ê§ë¼s³õ2¸¹¼ÓT2-1011
°êÄy : ¤¤°ê
¬¡°Ê : °Ó·~
[511] Ãþ§O : 30
[511] ²£«~ : ©@°Ø¡F¯ù¶¼®Æ¡F¿}¡F¥H½\ª«¬°¥Dªº¹s¹¤p¦Y¡F¹Ø¥q¡FâBÃþ»s«~¡FÄѱø¡F¨§¯»¡F¦B²N²O¡F½Õ¨ý®Æ¡C
[540] °Ó¼Ð :

[591] °Ó¼ÐÃC¦â : ¶Â¦â¤Î¬õ¦â¡A¦p¹Ï©Ò¥Ü¡C
[210] ½s¸¹ : N/106309
[220] ¥Ó½Ð¤é : 2015/11/24
[730] ¥Ó½Ð¤H : ²`¦`¥«·ç¹F§ë¸ê¦³¤½¥q
¦a§} : ¤¤°ê¼sªF¬Ù²`¦`¥«ºÖ¥Ð°Ï¹AªL¸ô»P¹´»¸ô¥æ¬É¤f²`°ê§ë¼s³õ2¸¹¼ÓT2-1011
°êÄy : ¤¤°ê
¬¡°Ê : °Ó·~
[511] Ãþ§O : 35
[511] ªA°È : ¼s§i¡F¬°¹s°â¥Øªº¦b³q°T´CÅé¤W®i¥Ü°Ó«~¡F¶º©±°Ó·~ºÞ²z¡F¯S³\¸gÀ窺°Ó·~ºÞ²z¡F²Õ´°Ó·~©Î¼s§i¥æ©ö·|¡F¥«³õÀç¾P¡F¬°°Ó«~©MªA°Èªº¶R½æÂù¤è´£¨Ñ¦b½u¥«³õ¡F¤H¨ÆºÞ²z¿Ô¸ß¡F¦bpºâ¾÷¼Æ¾Ú®w¤¤§ó·s©MºûÅ@¼Æ¾Ú¡F·|p¡C
[540] °Ó¼Ð :

[591] °Ó¼ÐÃC¦â : ¶Â¦â¤Î¬õ¦â¡A¦p¹Ï©Ò¥Ü¡C
[210] ½s¸¹ : N/106310
[220] ¥Ó½Ð¤é : 2015/11/24
[730] ¥Ó½Ð¤H : ²`¦`¥«·ç¹F§ë¸ê¦³¤½¥q
¦a§} : ¤¤°ê¼sªF¬Ù²`¦`¥«ºÖ¥Ð°Ï¹AªL¸ô»P¹´»¸ô¥æ¬É¤f²`°ê§ë¼s³õ2¸¹¼ÓT2-1011
°êÄy : ¤¤°ê
¬¡°Ê : °Ó·~
[511] Ãþ§O : 43
[511] ªA°È : À\ÆU¡F¶º©±¡F°s§aªA°È¡F¦Û§UÀ\À]¡F®ÈÀ]¹wq¡F®È¹C©Ð«Î¥X¯²¡F¾i¦Ñ°|¡F¤é¶¡¦«¨à©Ò¡]¬Ý«Ä¤l¡^¡F°Êª«±H¾i¡F¥X¯²´È¤l¡B®à¤l¡B®à¥¬©M¬Á¼þ¾¹¥×¡C
[540] °Ó¼Ð :

[591] °Ó¼ÐÃC¦â : ¶Â¦â¤Î¬õ¦â¡A¦p¹Ï©Ò¥Ü¡C
[210] ½s¸¹ : N/106316
[220] ¥Ó½Ð¤é : 2015/11/24
[730] ¥Ó½Ð¤H : ¥Û¥»°s³y®è¦¡·|ªÀ
¦a§} : ¤é¥»°ê·s¼ó¿¤·s¼ó¥«¦¿«n°Ï¥_¤s847¸¹µf¦a1
°êÄy : ¤é¥»
¬¡°Ê : °Ó·~
[511] Ãþ§O : 33
[511] ²£«~ : ²M°s¡]¤é¥»¦Ì°s¡^¡F¦è¬v°s¡FªG°s¡]§t°sºë¡^¡F¤é¥»ªG¨ý¿N°s¡F¤¤°ê°s¡FÃĨý°s¡C
[540] °Ó¼Ð :

[300] Àu¥ýÅv :
| ¤é´Á | ½s¸¹ | °ê®a/¦a°Ï |
| 2015/08/31 | 2015-083857 | ¤é¥» |
[210] ½s¸¹ : N/106319
[220] ¥Ó½Ð¤é : 2015/11/24
[730] ¥Ó½Ð¤H : ½²»Ê«º
¦a§} : ¿Dªù²î¿Dµó®üÀº¤Ñ²Ä¤G®y37K
°êÄy : ¤¤°ê
¬¡°Ê : °Ó·~
[511] Ãþ§O : 3
[511] ²£«~ : ¤Æ§©«~¡AÅ@½§«~¡A¬ü®e²£«~¡C
[540] °Ó¼Ð :

[591] °Ó¼ÐÃC¦â : ºñ¥Õ·tªá¡A¦p¹Ï©Ò¥Ü¡C
[210] ½s¸¹ : N/106320
[220] ¥Ó½Ð¤é : 2015/11/24
[730] ¥Ó½Ð¤H : ½²»Ê«º
¦a§} : ¿Dªù²î¿Dµó®üÀº¤Ñ²Ä¤G®y37K
°êÄy : ¤¤°ê
¬¡°Ê : °Ó·~
[511] Ãþ§O : 3
[511] ²£«~ : ¤Æ§©«~¡AÅ@½§«~¡A¬ü®e²£«~¡C
[540] °Ó¼Ð :

[591] °Ó¼ÐÃC¦â : ¶Â¥Õ¡A¦p¹Ï©Ò¥Ü¡C
[210] ½s¸¹ : N/106321
[220] ¥Ó½Ð¤é : 2015/11/24
[730] ¥Ó½Ð¤H : ´I³q¶°¹Î¦³¤½¥q
¦a§} : ¤¤°ê®ý¦¿¬ÙªC¦{¥«´I¶§°Ï´I¬Kµó¹DÀ]Åæ¸ô18¸¹
°êÄy : ¤¤°ê
¬¡°Ê : °Ó·~
[511] Ãþ§O : 9
[511] ²£«~ : ¹q½u¡A¹qÆl¡AÅÖºû¥úÆl¡A¥ú¾ÉÅÖºû¡]¥ú¾ÇÅÖºû¡^¡A¥ú¾ÇÅÖºû¡]¥ú¾ÉÅÖºû¡^¡C
[540] °Ó¼Ð :

[210] ½s¸¹ : N/106322
[220] ¥Ó½Ð¤é : 2015/11/24
[730] ¥Ó½Ð¤H : ´I³q¶°¹Î¦³¤½¥q
¦a§} : ¤¤°ê®ý¦¿¬ÙªC¦{¥«´I¶§°Ï´I¬Kµó¹DÀ]Åæ¸ô18¸¹
°êÄy : ¤¤°ê
¬¡°Ê : °Ó·~
[511] Ãþ§O : 9
[511] ²£«~ : ¹q½u¡A¹qÆl¡AÅÖºû¥úÆl¡A¥ú¾ÉÅÖºû¡]¥ú¾ÇÅÖºû¡^¡A¥ú¾ÇÅÖºû¡]¥ú¾ÉÅÖºû¡^¡C
[540] °Ó¼Ð :

[210] ½s¸¹ : N/106323
[220] ¥Ó½Ð¤é : 2015/11/24
[730] ¥Ó½Ð¤H : ´I³q¶°¹Î¦³¤½¥q
¦a§} : ¤¤°ê®ý¦¿¬ÙªC¦{¥«´I¶§°Ï´I¬Kµó¹DÀ]Åæ¸ô18¸¹
°êÄy : ¤¤°ê
¬¡°Ê : °Ó·~
[511] Ãþ§O : 9
[511] ²£«~ : ¹q½u¡A¹qÆl¡AÅÖºû¥úÆl¡A¥ú¾ÉÅÖºû¡]¥ú¾ÇÅÖºû¡^¡A¥ú¾ÇÅÖºû¡]¥ú¾ÉÅÖºû¡^¡C
[540] °Ó¼Ð :

[210] ½s¸¹ : N/106324
[220] ¥Ó½Ð¤é : 2015/11/24
[730] ¥Ó½Ð¤H : ´I³q¶°¹Î¦³¤½¥q
¦a§} : ¤¤°ê®ý¦¿¬ÙªC¦{¥«´I¶§°Ï´I¬Kµó¹DÀ]Åæ¸ô18¸¹
°êÄy : ¤¤°ê
¬¡°Ê : °Ó·~
[511] Ãþ§O : 9
[511] ²£«~ : ¹q½u¡A¹qÆl¡AÅÖºû¥úÆl¡A¥ú¾ÉÅÖºû¡]¥ú¾ÇÅÖºû¡^¡A¥ú¾ÇÅÖºû¡]¥ú¾ÉÅÖºû¡^¡C
[540] °Ó¼Ð :

[210] ½s¸¹ : N/106325
[220] ¥Ó½Ð¤é : 2015/11/24
[730] ¥Ó½Ð¤H : COMPAGNIE GERVAIS DANONE
¦a§} : 17 boulevard Haussmann, 75009 Paris, França
°êÄy : ªk°ê
¬¡°Ê : °Ó·~¤Î¤u·~
[511] Ãþ§O : 32
[511] ²£«~ : Águas minerais e com gás e outras bebidas não alcoólicas; água enriquecida com vitaminas e/ou com sabor a frutas; bebidas de fruta e sumos de fruta, incluindo com vitaminas, minerais e/ou ervas; xaropes para a preparação de bebidas, outras preparações para fazer bebidas; bebidas isotónicas (não medicadas); bebidas energéticas.
[540] °Ó¼Ð :

[210] ½s¸¹ : N/106326
[220] ¥Ó½Ð¤é : 2015/11/24
[730] ¥Ó½Ð¤H : JOHNSON & JOHNSON
¦a§} : One Johnson & Johnson Plaza, New Brunswick, New Jersey, 08933-7002 Estados Unidos da América
°êÄy : ¬ü°ê
¬¡°Ê : °Ó·~¤Î¤u·~
[511] Ãþ§O : 5
[511] ²£«~ : Preparações farmacêuticas para uso humano.
[540] °Ó¼Ð :

[210] ½s¸¹ : N/106327
[220] ¥Ó½Ð¤é : 2015/11/24
[730] ¥Ó½Ð¤H : JOHNSON & JOHNSON
¦a§} : One Johnson & Johnson Plaza, New Brunswick, New Jersey, 08933-7002 Estados Unidos da América
°êÄy : ¬ü°ê
¬¡°Ê : °Ó·~¤Î¤u·~
[511] Ãþ§O : 5
[511] ²£«~ : Produtos farmacêuticos, veterinários e higiénicos; substâncias dietéticas para uso medicinal, alimentos para bebés; emplastros, material para pensos; matérias para chumbar os dentes e para impressões dentárias; desinfectantes; produtos para a destruição de animais nocivos; fungicidas, herbicidas.
[540] °Ó¼Ð :

[210] ½s¸¹ : N/106328
[220] ¥Ó½Ð¤é : 2015/11/24
[730] ¥Ó½Ð¤H : VALNEVA
¦a§} : 70 rue Saint Jean de Dieu ¡V 69007 Lyon, France
°êÄy : ªk°ê
¬¡°Ê : °Ó·~¤Î¤u·~
[511] Ãþ§O : 5
[511] ²£«~ : Farmacêuticos para uso humano e veterinário como por exemplo vacinas, agente patogénico ou suas partes dos mesmos, bactéria ou suas partes dos mesmos, vírus ou suas partes dos mesmos, fungo ou suas partes dos mesmos, vectores virais, ácidos nucleicos, proteínas, peptídeos, soro sanguíneo.
[540] °Ó¼Ð :

[210] ½s¸¹ : N/106329
[220] ¥Ó½Ð¤é : 2015/11/24
[730] ¥Ó½Ð¤H : VALNEVA
¦a§} : 70 rue Saint Jean de Dieu ¡V 69007 Lyon, France
°êÄy : ªk°ê
¬¡°Ê : °Ó·~¤Î¤u·~
[511] Ãþ§O : 42
[511] ªA°È : Pesquisa científica para uso médico, farmacêutico e veterinário, pesquisas e desenvolvimento de novos produtos para terceiros; avaliação, estimativas, pesquisa e relatórios na área de científica, médico e veterinário; análises de diagnóstico e prognóstico de doenças animais e humanos, células, linhas celulares, desenvolvimento de materiais para animais e humanos e desenvolvimento de produtos de vacinas, antibióticos e imunológicos para uso humano e veterinário.
[540] °Ó¼Ð :

[210] ½s¸¹ : N/106330
[220] ¥Ó½Ð¤é : 2015/11/24
[730] ¥Ó½Ð¤H : Sarl DENIS DURANTOU
¦a§} : 10, rue de Catusseau, 33 500 Pomerol, France
°êÄy : ªk°ê
¬¡°Ê : °Ó·~
[511] Ãþ§O : 33
[511] ²£«~ : Vinhos.
[540] °Ó¼Ð :

[210] ½s¸¹ : N/106331
[220] ¥Ó½Ð¤é : 2015/11/24
[730] ¥Ó½Ð¤H : Sarl DENIS DURANTOU
¦a§} : 10, rue de Catusseau, 33 500 Pomerol, France
°êÄy : ªk°ê
¬¡°Ê : °Ó·~
[511] Ãþ§O : 33
[511] ²£«~ : Vinhos.
[540] °Ó¼Ð :

[210] ½s¸¹ : N/106347
[220] ¥Ó½Ð¤é : 2015/11/24
[730] ¥Ó½Ð¤H : The Quaker Oats Company
¦a§} : 555 West Monroe Street, Chicago, Illinois 60661, USA
°êÄy : ¬ü°ê
¬¡°Ê : °Ó·~¤Î¤u·~
[511] Ãþ§O : 29
[511] ²£«~ : Bebidas à base de soja e leite; leite e produtos de leite incluindo leite em pó; leite de soja; bebidas de leite aromatizadas, batidos de leite e bebidas de iogurtes; bebidas de leite (predominantemente de leite); bebidas à base de soja sendo substitutos de leite; bebidas feitas de produtos lácteos; suplementos dietéticos, sem ser para fins médicos; produtos láteos excluindo gelados, leite gelado e iogurte congelado; leite em pó; produtos (bases) para fazer batidos de leite.
[540] °Ó¼Ð :

[591] °Ó¼ÐÃC¦â : Azul, dourado, vinho, vermelho, branco, preto, castanho e rosa.
[210] ½s¸¹ : N/106350
[220] ¥Ó½Ð¤é : 2015/11/24
[730] ¥Ó½Ð¤H : AP LOCAÇÃO DE EQUIPAMENTO E ENGENHARIA, LIMITADA
¦a§} : ¿Dªù§º¥É¥Í¼s³õ180¸¹ªF«n¨Èªá¶éªF«n¨È°Ó·~¤¤¤ßB4
°êÄy : ®Ú¾Ú¿Dªùªk¨Ò¦¨¥ß
¬¡°Ê : °Ó·~¤Î¤u·~
[511] Ãþ§O : 7
[511] ²£«~ : Máquinas e máquinas-ferramentas; motores (com excepção dos motores para veículos terrestres); uniões e correias de transmissão (com excepção das que são para veículos terrestres); instrumentos agrícolas; incubadoras para ovos.
[540] °Ó¼Ð :

[591] °Ó¼ÐÃC¦â : Amarelo, preto, laranja e verde; as palavras são pretas, brancas e laranjas, tal como representadas na figura.
[210] ½s¸¹ : N/106351
[220] ¥Ó½Ð¤é : 2015/11/24
[730] ¥Ó½Ð¤H : AP LOCAÇÃO DE EQUIPAMENTO E ENGENHARIA, LIMITADA
¦a§} : ¿Dªù§º¥É¥Í¼s³õ180¸¹ªF«n¨Èªá¶éªF«n¨È°Ó·~¤¤¤ßB4
°êÄy : ®Ú¾Ú¿Dªùªk¨Ò¦¨¥ß
¬¡°Ê : °Ó·~¤Î¤u·~
[511] Ãþ§O : 37
[511] ªA°È : Construção; reparações; serviços de instalação.
[540] °Ó¼Ð :

[591] °Ó¼ÐÃC¦â : Amarelo, preto, laranja e verde; as palavras são pretas, brancas e laranjas, tal como representadas na figura.
[210] ½s¸¹ : N/106352
[220] ¥Ó½Ð¤é : 2015/11/24
[730] ¥Ó½Ð¤H : AP LOCAÇÃO DE EQUIPAMENTO E ENGENHARIA, LIMITADA
¦a§} : ¿Dªù§º¥É¥Í¼s³õ180¸¹ªF«n¨Èªá¶éªF«n¨È°Ó·~¤¤¤ßB4
°êÄy : ®Ú¾Ú¿Dªùªk¨Ò¦¨¥ß
¬¡°Ê : °Ó·~¤Î¤u·~
[511] Ãþ§O : 7
[511] ²£«~ : Máquinas e máquinas-ferramentas; motores (com excepção dos motores para veículos terrestres); uniões e correias de transmissão (com excepção das que são para veículos terrestres); instrumentos agrícolas; incubadoras para ovos.
[540] °Ó¼Ð :

[591] °Ó¼ÐÃC¦â : Preto, laranja e branco; as palavras são pretas, brancas e laranjas, tal como representadas na figura.
[210] ½s¸¹ : N/106353
[220] ¥Ó½Ð¤é : 2015/11/24
[730] ¥Ó½Ð¤H : AP LOCAÇÃO DE EQUIPAMENTO E ENGENHARIA, LIMITADA
¦a§} : ¿Dªù§º¥É¥Í¼s³õ180¸¹ªF«n¨Èªá¶éªF«n¨È°Ó·~¤¤¤ßB4
°êÄy : ®Ú¾Ú¿Dªùªk¨Ò¦¨¥ß
¬¡°Ê : °Ó·~¤Î¤u·~
[511] Ãþ§O : 37
[511] ªA°È : Construção; reparações; serviços de instalação.
[540] °Ó¼Ð :

[591] °Ó¼ÐÃC¦â : Preto, laranja e branco; as palavras são pretas, brancas e laranjas, tal como representadas na figura.
[210] ½s¸¹ : N/106357
[220] ¥Ó½Ð¤é : 2015/11/25
[730] ¥Ó½Ð¤H : §õ¶¶§g
¦a§} : ¿Dªù氹¥J®]¶h¥P³Õ¤h¤j°¨¸ô°Ò§J¹y20D
°êÄy : ¤¤°ê
¬¡°Ê : °Ó·~
[511] Ãþ§O : 43
[511] ªA°È : ´£¨Ñ¹ª«©M¶¼®ÆªA°È¡C
[540] °Ó¼Ð :

[591] °Ó¼ÐÃC¦â : ¦Ç¦â¡A¥Õ¦â¡A¬õ¦â¡A¦p¹Ï©Ò¥Ü¡C
[210] ½s¸¹ : N/106358
[220] ¥Ó½Ð¤é : 2015/11/25
[730] ¥Ó½Ð¤H : ¶À¤¤¾ô
¦a§} : ¿Dªù¦è§|µó10¸¹¦a¤UCçE
°êÄy : ¤¤°ê
¬¡°Ê : °Ó·~
[511] Ãþ§O : 43
[511] ªA°È : ´£¨Ñ¹«~¡A¶¼®Æ¤Î¸²µå°s¡F´£¨Ñ»P¹«~¡A¶¼®Æ¤Î¸²µå°s¦³Ãöªº¦b½u¸ê°T¡F¸²µå°sѼֳ¡ªA°È¡A´£¨ÑÀ\¹ªA°È¡F°s§aªA°È¡F©@°Ø©±¡F©@°ØÆU¡F¹°ó¡FÀ\ÆU¡FÂû§À°s´Y¡A¤p¦Y°s§aªA°È¡F»P¤Wz´£¤Î©Ò¦³ªA°È¦³ÃöªºÅU°Ý¤Î¿Ô¸ßªA°È¡F¥þÄݲÄ43Ãþ¡C
[540] °Ó¼Ð :

[591] °Ó¼ÐÃC¦â : ¶Â¦â©M¥Õ¦â¡C
[210] ½s¸¹ : N/106371
[220] ¥Ó½Ð¤é : 2015/11/25
[730] ¥Ó½Ð¤H : ¨÷¬f·N©À³]p¦³¤½¥q
¦a§} : ¿Dªù¶ý»Õµó20¸¹IçE¦a¤UÆ[¬P»Õ
°êÄy : ®Ú¾Ú¿Dªùªk¨Ò¦¨¥ß
¬¡°Ê : °Ó·~
[511] Ãþ§O : 16
[511] ²£«~ : ¦a¹Ï¥U¡B¦a¹Ï¡B«D¹qªº¦a¹Ï«ü¥Ü¾¹¡B¯È©Î¯ÈªO»s¼s§iµP¡B¹Ïµe¡BÀJ¨è¦L¨ê«~¡B¥ªO¦L¨ê¤uÃÀ«~¡B¹]µ§¡BÆ^®Ø©Î¥¼Æ^®ØªºÃ¸µe¡]¹Ïµe¡^¡B¸ªá¹Ï¼Ë¡]¯È¼Ë¡^¡B¦L³¹¡]¦L¡^¡B¤å¥ó§¨¡B¤å¥ó®M¡]®M¡^¡B»k¨è¡]ª©µe¡^¡B©ú«H¤ù¡B¶P¥d¡B¤é¾ä¡]¦~¾ä¡^¡C
[540] °Ó¼Ð :

[591] °Ó¼ÐÃC¦â : ¦³¶Â¦â¡Bºñ¦â¡B¬õ¦â¡B¶À¦â¡B¹àºñ¦â¡B¦×¦â¡A¦p¹Ï©Ò¥Ü¡C
[210] ½s¸¹ : N/106383
[220] ¥Ó½Ð¤é : 2015/11/25
[730] ¥Ó½Ð¤H : ³¯¨H¨^
¦a§} : »´ä©ô¨¤³qµæµó¦a¤U119¸¹çE
°êÄy : ¤¤°ê
¬¡°Ê : °Ó·~
[511] Ãþ§O : 43
[511] ªA°È : ´£¨Ñ¹ª«©M¶¼®ÆªA°È¡F²¢«~¡B¿}¤ô¡B¶¼®Æªº¹¸v¡C
[540] °Ó¼Ð :

[210] ½s¸¹ : N/106391
[220] ¥Ó½Ð¤é : 2015/11/25
[730] ¥Ó½Ð¤H : ²`¦`¥«º®¦Ìµ°¶¼¹ºÞ²z¦³¤½¥q
¦a§} : ¤¤°ê²`¦`¥«Ã¹´ò°Ï¬K·¸ô¸m¦a¶h°a¸È¼Ó¤@¼hA11
°êÄy : ¤¤°ê
¬¡°Ê : °Ó·~
[511] Ãþ§O : 43
[511] ªA°È : ¦í©Ò¥N²z¡]®ÈÀ]¡B¨Ñ¿¯±H±J³B¡^¡F³Æ¿ì®b®u¡FÀ\ÆU¡F¶º©±¡FÀ\À]¡F°s§aªA°È¡F¬y°Ê¶¼¹¨ÑÀ³¡F¯ùÀ]¡F¦Û§UÀ\À]¡F®ÈÀ]¹wq¡FÁ{®É¦í±J³B¥X¯²¡F·|ij«Ç¥X¯²¡F¾i¦Ñ°|¡F¤é¶¡¦«¨à©Ò¡]¬Ý«Ä¤l¡^¡F°Êª«±H¾i¡F²i¶¹³]³Æ¥X¯²¡F©@°ØÀ]¡F°²¤é³¥Àç¦í±JªA°È¡C
[540] °Ó¼Ð :

[210] ½s¸¹ : N/106392
[220] ¥Ó½Ð¤é : 2015/11/25
[730] ¥Ó½Ð¤H : KABUSHIKI KAISHA GURUNAVI (GURUNAVI, INC.)
¦a§} : 1-2-2 Yurakucho, Chiyoda-ku, Tokyo 100-00006, Japan
°êÄy : ¤é¥»
¬¡°Ê : °Ó·~¤Î¤u·~
[511] Ãþ§O : 43
[511] ªA°È : Serviços para fornecimento de comidas e bebidas; disponibilização de informação relacionada com instalações de fornecimento de alimentos e bebidas; disponibilização de serviços de informação de alojamento; fazer reserva e marcações para alojamentos temporários e disponibilização de informação de alojamento através de rede informática, rede de comunicação informática global e redes móveis; avaliações de restaurantes e hotéis.
[540] °Ó¼Ð :

[210] ½s¸¹ : N/106407
[220] ¥Ó½Ð¤é : 2015/11/25
[730] ¥Ó½Ð¤H : Abercrombie & Fitch Europe Sagl
¦a§} : Via Moree, 6850 Mendrisio, Switzerland
°êÄy : ·ç¤h
¬¡°Ê : °Ó·~¤Î¤u·~
[511] Ãþ§O : 3
[511] ²£«~ : Preparados e outras substâncias para branqueamento de roupa; preparados para limpeza, polimento, esfrega e abrasivos; sabonetes, artigos de perfumarias, óleos essenciais, cosméticos, loções para o cabelo; dentífricos.
[540] °Ó¼Ð :

[300] Àu¥ýÅv :
| ¤é´Á | ½s¸¹ | °ê®a/¦a°Ï |
| 2015/06/01 | 56470/2015 | ·ç¤h |
[210] ½s¸¹ : N/106408
[220] ¥Ó½Ð¤é : 2015/11/25
[730] ¥Ó½Ð¤H : Abercrombie & Fitch Europe Sagl
¦a§} : Via Moree, 6850 Mendrisio, Switzerland
°êÄy : ·ç¤h
¬¡°Ê : °Ó·~¤Î¤u·~
[511] Ãþ§O : 18
[511] ²£«~ : Couro e imitações de couro, e produtos nestas matérias e não incluídos noutras classes; peles de animais, couro; arcas e malas de viagem; chapéus-de-chuva e guarda-sóis; bengalas; chicotes, arreios e selaria.
[540] °Ó¼Ð :

[300] Àu¥ýÅv :
| ¤é´Á | ½s¸¹ | °ê®a/¦a°Ï |
| 2015/06/01 | 56470/2015 | ·ç¤h |
[210] ½s¸¹ : N/106409
[220] ¥Ó½Ð¤é : 2015/11/25
[730] ¥Ó½Ð¤H : Abercrombie & Fitch Europe Sagl
¦a§} : Via Moree, 6850 Mendrisio, Switzerland
°êÄy : ·ç¤h
¬¡°Ê : °Ó·~¤Î¤u·~
[511] Ãþ§O : 25
[511] ²£«~ : Vestuário, calçado, chapelaria, cintos para vestuário.
[540] °Ó¼Ð :

[300] Àu¥ýÅv :
| ¤é´Á | ½s¸¹ | °ê®a/¦a°Ï |
| 2015/06/01 | 56470/2015 | ·ç¤h |
[210] ½s¸¹ : N/106416
[220] ¥Ó½Ð¤é : 2015/11/26
[730] ¥Ó½Ð¤H : ¾G°·¾W
¦a§} : ¿Dªù®üÆW«nµóÄ_»Aªá¶é§Q½÷»Õ7/D
°êÄy : ¤¤°ê
¬¡°Ê : °Ó·~
[511] Ãþ§O : 5
[511] ²£«~ : Âå¥Î©MÃ~Âå¥Î»s¾¯¡AÂå¥Î½Ã¥Í»s¾¯¡AÂå¥ÎÀç¾i«~¡AÀ¦¨à¹«~¡A»IÃÄ¡AÁ^¼Å§÷®Æ¡A¶ñ¶ë¤ú¤Õ©M¤ú¼Ò¥Î®Æ¡A®ø¬r¾¯¡A®ø·À¦³®`°Êª«»s¾¯¡A±þ¯uµß¾¯¡A°£²û¾¯¡C
[540] °Ó¼Ð :

[591] °Ó¼ÐÃC¦â : ÂŦâ¡A¦p¹Ï©Ò¥Ü¡C
[210] ½s¸¹ : N/106417
[220] ¥Ó½Ð¤é : 2015/11/26
[730] ¥Ó½Ð¤H : ¾G°·¾W
¦a§} : ¿Dªù®üÆW«nµóÄ_»Aªá¶é§Q½÷»Õ7/D
°êÄy : ¤¤°ê
¬¡°Ê : °Ó·~
[511] Ãþ§O : 35
[511] ªA°È : ¼s§i¡A¹ê·~¸gÀç¡A¹ê·~ºÞ²z¡A¿ì¤½¨Æ°È¡C
[540] °Ó¼Ð :

[591] °Ó¼ÐÃC¦â : ÂŦâ¡A¦p¹Ï©Ò¥Ü¡C
[210] ½s¸¹ : N/106418
[220] ¥Ó½Ð¤é : 2015/11/26
[730] ¥Ó½Ð¤H : ¾G°·¾W
¦a§} : ¿Dªù®üÆW«nµóÄ_»Aªá¶é§Q½÷»Õ7/D
°êÄy : ¤¤°ê
¬¡°Ê : °Ó·~
[511] Ãþ§O : 5
[511] ²£«~ : Âå¥Î©MÃ~Âå¥Î»s¾¯¡AÂå¥Î½Ã¥Í»s¾¯¡AÂå¥ÎÀç¾i«~¡AÀ¦¨à¹«~¡A»IÃÄ¡AÁ^¼Å§÷®Æ¡A¶ñ¶ë¤ú¤Õ©M¤ú¼Ò¥Î®Æ¡A®ø¬r¾¯¡A®ø·À¦³®`°Êª«»s¾¯¡A±þ¯uµß¾¯¡A°£²û¾¯¡C
[540] °Ó¼Ð :

[591] °Ó¼ÐÃC¦â : ÂŦâ¡B¥Õ¦â¡A¦p¹Ï©Ò¥Ü¡C
[210] ½s¸¹ : N/106419
[220] ¥Ó½Ð¤é : 2015/11/26
[730] ¥Ó½Ð¤H : ¾G°·¾W
¦a§} : ¿Dªù®üÆW«nµóÄ_»Aªá¶é§Q½÷»Õ7/D
°êÄy : ¤¤°ê
¬¡°Ê : °Ó·~
[511] Ãþ§O : 35
[511] ªA°È : ¼s§i¡A¹ê·~¸gÀç¡A¹ê·~ºÞ²z¡A¿ì¤½¨Æ°È¡C
[540] °Ó¼Ð :

[591] °Ó¼ÐÃC¦â : ÂŦâ¡B¥Õ¦â¡A¦p¹Ï©Ò¥Ü¡C
[210] ½s¸¹ : N/106439
[220] ¥Ó½Ð¤é : 2015/11/26
[730] ¥Ó½Ð¤H : SOCIETA¡¦AGRICOLA QUERCIABELLA S.P.A.
¦a§} : Via Aurelio Saffi 21-20123 Milão, Itália
°êÄy : ·N¤j§Q
¬¡°Ê : °Ó·~¤Î¤u·~
[511] Ãþ§O : 33
[511] ²£«~ : Bebidas alcoólicas (com excepção das cervejas); vinhos; vinhos espumantes; licores.
[540] °Ó¼Ð :

[210] ½s¸¹ : N/106443
[220] ¥Ó½Ð¤é : 2015/11/26
[730] ¥Ó½Ð¤H : ¿Dªù½ä¬Ó°s·~¦³¤½¥q
¦a§} : ¿Dªù¬ü°Æ±N¤j°¨¸ô48-48D¸U°ò¤u·~¤j·H1¼ÓA1¤ÎB1
°êÄy : ®Ú¾Ú¿Dªùªk¨Ò¦¨¥ß
¬¡°Ê : °Ó·~¤Î¤u·~
[511] Ãþ§O : 33
[511] ²£«~ : §t°sºëªº¶¼®Æ¡]°à°s°£¥~¡^¡C
[540] °Ó¼Ð :

[210] ½s¸¹ : N/106444
[220] ¥Ó½Ð¤é : 2015/11/26
[730] ¥Ó½Ð¤H : ¾G«ù³Ó
¦a§} : ¿DªùªLZ®üÃäµó17¸¹Â@®®°a23¼ÓC
°êÄy : ¤¤°ê
¬¡°Ê : °Ó·~
[511] Ãþ§O : 14
[511] ²£«~ : ¶Q«ª÷ÄݤΨä¦Xª÷¡A¶Q«ª÷ÄÝ»s«~©ÎÁᦳ¶Q«ª÷Äݪºª««~¡A¯]Ä_º¹¢¡AÄ_¥Û¡AÄÁ¿ö©Mp®É»ö¾¹¡C
[540] °Ó¼Ð :

[591] °Ó¼ÐÃC¦â : ª÷¦â¡A¦p¹Ï©Ò¥Ü¡C
[210] ½s¸¹ : N/106445
[220] ¥Ó½Ð¤é : 2015/11/26
[730] ¥Ó½Ð¤H : ´¿°·±j
¦a§} : ¿DªùªLZ®üÃä¤j°¨¸ô«H³Çªá¶é4/B
°êÄy : ¤¤°ê
¬¡°Ê : °Ó·~
[511] Ãþ§O : 30
[511] ²£«~ : ¦×°®¡A¿}ªG¡A»æ°®¡A³J¨÷¡A¿|ÂI¡C
[540] °Ó¼Ð :

[210] ½s¸¹ : N/106446
[220] ¥Ó½Ð¤é : 2015/11/26
[730] ¥Ó½Ð¤H : Seqirus UK Limited
¦a§} : 100 New Bridge Street, London England EC4V 6JA, United Kingdom
°êÄy : ^°ê
¬¡°Ê : °Ó·~¤Î¤u·~
[511] Ãþ§O : 1
[511] ²£«~ : Reagentes químicos e biológicos nesta classe; meio e cultura celular nesta classe; conjunto de testes para uso científico e de laboratório nesta classe; preparados químicos para fins científicos e/ou industrial; agentes de diagnóstico e de teste nesta classe; reagentes químicos e biológicos para fins não médicos; reagentes químicos e biológicos para uso industrial para rastreio de anticorpos, agrupamento de sangue, para a identificação e detecção de células do sangue específicas, para determinar a presença de antígenos em células do sangue, e para a detecção de compostos de complemento relevante e subtipos de imunoglobulinas; conjunto de testes para a detecção de células de sangue específicas, para determinar a presença de antígenos em células do sangue, e para a detecção de compostos de complemento relevante e subtipos de imunoglobulinas para uso em laboratório ou para uso em pesquisas; preparados químicos para uso industrial para rastreio de anticorpos, agrupamento de sangue, e para a identificação e detecção de células do sangue específicas.
[540] °Ó¼Ð :

[591] °Ó¼ÐÃC¦â : Cinzento e vermelho.
[300] Àu¥ýÅv :
| ¤é´Á | ½s¸¹ | °ê®a/¦a°Ï |
| 2015/06/18 | 1701396 | ¿D¤j§Q¨È |
[210] ½s¸¹ : N/106447
[220] ¥Ó½Ð¤é : 2015/11/26
[730] ¥Ó½Ð¤H : Seqirus UK Limited
¦a§} : 100 New Bridge Street, London England EC4V 6JA, United Kingdom
°êÄy : ^°ê
¬¡°Ê : °Ó·~¤Î¤u·~
[511] Ãþ§O : 5
[511] ²£«~ : Substâncias e preparados farmacêuticos nesta classe; vacinas; produtos para o sangue nesta classe; produtos derivados do sangue e produtos derivados da tecnologia do DNA recombinante; soros; anticorpos; conjuntos de testes farmacêuticos nesta classe, sendo para fins de diagnóstico médico; vacinas contra a gripe; adjuvantes e antígenos; preparados e substâncias farmacêuticas para o tratamento e/ou prevenção de doenças no sangue ou distúrbios hemorrágicos; produtos de sangue nesta classe, nomeadamente plasma sanguíneo, células de sangue reagentes; produtos derivados de sangue e produtos derivados da tecnologia do DNA recombinante, nomeadamente imunoglobulinas, albumina humana, factores de coagulação sanguínea, expansores de volume do plasma, proteínas do sangue para uso terapêutico; soros, nomeadamente anti-venenos; soros medicamentosos para o tratamento doenças no sangue ou distúrbios hemorrágicos; conjuntos de teste nesta classe, nomeadamente conjuntos de teste de reagentes para diagnóstico in vitro para uso na detecção de resposta imunológica de célula mediada; preparados e substâncias farmacêuticas, nomeadamente reagentes RHD (Rheysys Factor D Antigen) para detecção antígenos específicos ou em tipos de sangue; preparados farmacêuticos, nomeadamente reagentes de células de glóbulos vermelhos utilizados para detectar subtipos de anticorpos ou imunoglobulinas (IgG); preparados farmacêuticos, nomeadamente anticorpos monoclonal e policlonal; preparados farmacêuticos, nomeadamente reagentes para uso médico/clínico para a identificação e detecção de células de sangue específicas, e a detecção de compostos de complemento relevante e subtipos de imunoglobulinas.
[540] °Ó¼Ð :

[591] °Ó¼ÐÃC¦â : Cinzento e vermelho.
[300] Àu¥ýÅv :
| ¤é´Á | ½s¸¹ | °ê®a/¦a°Ï |
| 2015/06/18 | 1701396 | ¿D¤j§Q¨È |
[210] ½s¸¹ : N/106448
[220] ¥Ó½Ð¤é : 2015/11/26
[730] ¥Ó½Ð¤H : Seqirus UK Limited
¦a§} : 100 New Bridge Street, London England EC4V 6JA, United Kingdom
°êÄy : ^°ê
¬¡°Ê : °Ó·~¤Î¤u·~
[511] Ãþ§O : 44
[511] ªA°È : Seviços médicos; serviços de informação médica; serviços de cuidado de saúde; serviços de informação para cuidados de saúde; serviços de suporte a pacientes; provisão de informação médica relacionada com produtos sanguíneos; provisão de informação médica relacionada com vacinas, anti-venenos e produtos imunohematológicos, nomeadamente reagentes de diagnóstico; serviços de suporte a pacientes, nomeadamente provisão de informação médica, incluindo informações médicas de pacientes através de uma base de dados baseada em Internet, onde os pacientes inquirir sobre questões médicas e procedimentos de outros pacientes e onde os pacientes podem retransmitir informações sobre suas experiências médicas para suporte e apoio à comunidade.
[540] °Ó¼Ð :

[591] °Ó¼ÐÃC¦â : Cinzento e vermelho.
[300] Àu¥ýÅv :
| ¤é´Á | ½s¸¹ | °ê®a/¦a°Ï |
| 2015/06/18 | 1701396 | ¿D¤j§Q¨È |
[210] ½s¸¹ : N/106451
[220] ¥Ó½Ð¤é : 2015/11/26
[730] ¥Ó½Ð¤H : »E¤Í¼Ö¦³¤½¥q
¦a§} : ¿Dªù¨ÈÂׯÀµó42¸¹¥Ã«Ø¤j·H¦a¤UB
°êÄy : ®Ú¾Ú¿Dªùªk¨Ò¦¨¥ß
¬¡°Ê : °Ó·~
[511] Ãþ§O : 28
[511] ²£«~ : ª±¨ã¡C
[540] °Ó¼Ð :

[591] °Ó¼ÐÃC¦â : ¬õ¦â¡Bºñ¦â¡B¶Â¦â¡B¥Õ¦â¤Î¶À¦â¡A¦p¹Ï©Ò¥Ü¡C
[210] ½s¸¹ : N/106454
[220] ¥Ó½Ð¤é : 2015/11/27
[730] ¥Ó½Ð¤H : PENTA HOTEL HOLDINGS LTD. c/o CITCO (BVI) LIMITED
¦a§} : Citco Building, Wickhams Cay, P.O. Box 662, Road Town, Tortola, British Virgin Islands
°êÄy : ^Äݺûº¸¨Ê´µ®q
¬¡°Ê : °Ó·~
[511] Ãþ§O : 35
[511] ªA°È : Publicidade, gestão de negócios, administração, gestão de hotéis e apart-hotéis, administração de hotéis e apart-hotéis, marketing.
[540] °Ó¼Ð :

[210] ½s¸¹ : N/106455
[220] ¥Ó½Ð¤é : 2015/11/27
[730] ¥Ó½Ð¤H : PENTA HOTEL HOLDINGS LTD. c/o CITCO (BVI) LIMITED
¦a§} : Citco Building, Wickhams Cay, P.O. Box 662, Road Town, Tortola, British Virgin Islands
°êÄy : ^Äݺûº¸¨Ê´µ®q
¬¡°Ê : °Ó·~
[511] Ãþ§O : 43
[511] ªA°È : Serviços de hotelaria, hospedagem de clientes, restauração e bares, catering, disponibilidade de instalações para conferências, reuniões, exposições, congressos, seminários, simpósios e grupos de trabalho.
[540] °Ó¼Ð :

[210] ½s¸¹ : N/106502
[220] ¥Ó½Ð¤é : 2015/11/27
[730] ¥Ó½Ð¤H : ¿Dªù¼CÀ»¾Ç®Õ¦³¤½¥q
¦a§} : ¿Dªùíá¨Ç³â´£·þ¤j°¨¸ô¡]´£·þ°¨¸ô¡^131¸¹µØ¶©¤u·~¤j·H11¼ÓA
°êÄy : ®Ú¾Ú¿Dªùªk¨Ò¦¨¥ß
¬¡°Ê : °Ó·~
[511] Ãþ§O : 41
[511] ªA°È : ¼CÀ»±Ð¾Ç¡C
[540] °Ó¼Ð :

[591] °Ó¼ÐÃC¦â : ¶Â¦â¡A¥Õ¦â¡Aºñ¦â¡A¦p¹Ï©Ò¥Ü¡C
[210] ½s¸¹ : N/106504
[220] ¥Ó½Ð¤é : 2015/11/27
[730] ¥Ó½Ð¤H : KABUSHIKI KAISHA SEGA Games (SEGA Games Co., Ltd.)
¦a§} : 1-2-12, Haneda, Ota-ku, Tokyo, Japan
°êÄy : ¤é¥»
¬¡°Ê : °Ó·~¤Î¤u·~
[511] Ãþ§O : 9
[511] ²£«~ : Software de jogos de vídeo; programas de jogos de vídeo; programas de jogos de computador; software de jogos de computador; discos de jogos de vídeos e cartuchos; programas de jogos para telemóveis; programas de jogos de computador descarregáveis; programas de jogos de vídeo descarregáveis; programas de jogos de vídeo para uso com máquinas de jogos de vídeo; estojos para telemóveis; gráficos, imagens e imagens animadas descarregáveis para computadores ou telemóveis apresentando cenas e caracteres baseados em jogos de computador e de vídeo; discos compactos gravados; música descarregável através de uma rede de computador global e dispositivos sem fios; sistemas de computador; computadores; placas de jogos de arcada; discos de vídeo gravados e cassetes de vídeo; publicações electrónicas (descarregáveis).
[540] °Ó¼Ð :

[210] ½s¸¹ : N/106505
[220] ¥Ó½Ð¤é : 2015/11/27
[730] ¥Ó½Ð¤H : KABUSHIKI KAISHA SEGA Games (SEGA Games Co., Ltd.)
¦a§} : 1-2-12, Haneda, Ota-ku, Tokyo, Japan
°êÄy : ¤é¥»
¬¡°Ê : °Ó·~¤Î¤u·~
[511] Ãþ§O : 41
[511] ªA°È : Provisão de jogos online; provisão de informação relacionada com jogo online; provisão de instalações para divertimento; fornecimento de serviços de arcadas de diversões; provisão de informação relacionada com instalações de divertimento; parques de divertimento; provisão de informação relacionada com parques de divertimento; provisão de entretenimento sob a forma de imagens online, filmes, imagens em movimento e gráficos.
[540] °Ó¼Ð :

[210] ½s¸¹ : N/106506
[220] ¥Ó½Ð¤é : 2015/11/27
[730] ¥Ó½Ð¤H : Merck KGaA
¦a§} : Frankfurter Strasse 250, 64293 Darmstadt, Germany
°êÄy : ¼w°ê
¬¡°Ê : °Ó·~¤Î¤u·~
[511] Ãþ§O : 5
[511] ²£«~ : Preparados farmacêuticos para uso humano.
[540] °Ó¼Ð :

[210] ½s¸¹ : N/106515
[220] ¥Ó½Ð¤é : 2015/11/27
[730] ¥Ó½Ð¤H : Philip Morris Brands Sàrl
¦a§} : Quai Jeanrenaud 3, 2000 Neuchâtel, Suíça
°êÄy : ·ç¤h
¬¡°Ê : °Ó·~¤Î¤u·~
[511] Ãþ§O : 16
[511] ²£«~ : Materiais de embalagem; materiais de embalagem em cartão e em papel; materiais de plástico para embalagem (não incluídos noutras classes); películas plásticas para embalagem; películas em matérias plásticas e em polietileno para embrulho e para embalagem; fitas adesivas para embalagem; películas multi-camadas, principalmente de materiais plásticos utilizados para a embalagem; materiais em camadas na forma de plásticos, papel, cartão ou plásticos ou papel ou cartão utilizados para a embalagem; fitas autocolantes; faixas autocolantes; recipientes, nomeadamente caixas, bolsas, sacolas ou sacos de papel ou de cartão; recipientes fabricados em películas plásticas ou multi-camadas, nomeadamente para o transporte de produtos, embrulho de produtos, bolsas, coberturas ou sacos.
[540] °Ó¼Ð :

[210] ½s¸¹ : N/106516
[220] ¥Ó½Ð¤é : 2015/11/27
[730] ¥Ó½Ð¤H : Philip Morris Brands Sàrl
¦a§} : Quai Jeanrenaud 3, 2000 Neuchâtel, Suíça
°êÄy : ·ç¤h
¬¡°Ê : °Ó·~¤Î¤u·~
[511] Ãþ§O : 17
[511] ²£«~ : Fitas auto-adesivas para protecções de embalagens; fitas adesivas para fins técnicos; fitas adesivas, faixas, bandas e películas (sem serem para uso doméstico, para papelaria ou para uso medicinal); películas plásticas; película plástica para utilização na laminação de papel; materiais para acondicionamento; substâncias para enchimento em borracha ou em matérias plásticas.
[540] °Ó¼Ð :

[210] ½s¸¹ : N/106529
[220] ¥Ó½Ð¤é : 2015/11/30
[730] ¥Ó½Ð¤H : Dairyfarm Establishment
¦a§} : Staedtle 36, Postfach 685, FL-9490 Vaduz, Liechtenstein
°êÄy : ¦C¤ä´°¤hµn
¬¡°Ê : °Ó·~¤Î¤u·~
[511] Ãþ§O : 3
[511] ²£«~ : Preparados e outras substâncias para branqueamento de roupa; preparados para limpeza; polimento; preparados para esfrega e abrasivos; sabonetes; artigos de perfumaria; óleos essenciais; cosméticos; loções para o cabelo; dentífricos; antitranspirantes; desodorizantes; máscaras de beleza; máscaras faciais; máscaras para limpeza; preparados para cuidados da pele; produtos para limpeza facial; esfoliantes intensos de limpeza para o rosto; cremes para tratamento da pele; loções para tratamento da pele; loções hidratantes; gel para limpeza; cremes para os olhos; loções para os olhos; maquilhagem; bálsamos para os lábios; champôs; amaciadores de cabelo; loções de protecção ultravioletas; preparados para barbear e loções para depois de barbear; água-de-colónia; artigos de toilette; desodorizantes; preparados para branqueamento para fins cosméticos; preparações cosméticas adelgaçantes; pomadas; cotonetes para fins cosméticos; algodão em rama para fins cosméticos; toalhetes impregnados para limpeza (para uso pessoal); preparações para limpeza de toalhetes incorporando; cremes, loções, hidratantes, tonificantes e tónicos para fins cosméticos; sabonetes desodorizantes; sabonetes desinfectantes; sabonetes antitranspirantes; preparados para maquilhagem; batons; batons para dar brilho aos lábios; preparados para o tratamento dos lábios; depilatórios; preparados depilatórios; tintas para barba; ceras para bigode; preparados para colorir o cabelo; tintas para o cabelo; preparações para a ondulação dos cabelos; permanentes e neutralizadores do cabelo; preparados para o tratamento do cabelo; tratamento de óleo quente para o cabelo; preparados para cuidar das unhas; polimento para as unhas; vernizes para as unhas; preparados para remover o verniz; unhas postiças; tecidos e limas de esmeril; óleos essenciais aromáticos; óleos para fins cosméticos; óleos para perfumes e fragrâncias; vaselina para fins cosméticos; preparados bronzeadores e loções; preparados para protecção solar; pó de talco; polimento para dentes; produtos para a lavagem da boca não medicinais; pasta de dentes; produtos para refrescar o hálito; sais de banho; preparados cosméticos para banhos; esfoliantes para o corpo e esfoliantes.
[540] °Ó¼Ð :

[210] ½s¸¹ : N/106530
[220] ¥Ó½Ð¤é : 2015/11/30
[730] ¥Ó½Ð¤H : Dairyfarm Establishment
¦a§} : Staedtle 36, Postfach 685, FL-9490 Vaduz, Liechtenstein
°êÄy : ¦C¤ä´°¤hµn
¬¡°Ê : °Ó·~¤Î¤u·~
[511] Ãþ§O : 3
[511] ²£«~ : Preparados e outras substâncias para branqueamento de roupa; preparados para limpeza; polimento; preparados para esfrega e abrasivos; sabonetes; artigos de perfumaria; óleos essenciais; cosméticos; loções para o cabelo; dentífricos; antitranspirantes; desodorizantes; máscaras de beleza; máscaras faciais; máscaras para limpeza; preparados para cuidados da pele; produtos para limpeza facial; esfoliantes intensos de limpeza para o rosto; cremes para tratamento da pele; loções para tratamento da pele; loções hidratantes; gel para limpeza; cremes para os olhos; loções para os olhos; maquilhagem; bálsamos para os lábios; champôs; amaciadores de cabelo; loções de protecção ultravioletas; preparados para barbear e loções para depois de barbear; água-de-colónia; artigos de toilette; desodorizantes; preparados para branqueamento para fins cosméticos; preparações cosméticas adelgaçantes; pomadas; cotonetes para fins cosméticos; algodão em rama para fins cosméticos; toalhetes impregnados para limpeza (para uso pessoal); preparações para limpeza de toalhetes incorporando; cremes, loções, hidratantes, tonificantes e tónicos para fins cosméticos; sabonetes desodorizantes; sabonetes desinfectantes; sabonetes antitranspirantes; preparados para maquilhagem; batons; batons para dar brilho aos lábios; preparados para o tratamento dos lábios; depilatórios; preparados depilatórios; tintas para barba; ceras para bigode; preparados para colorir o cabelo; tintas para o cabelo; preparações para a ondulação dos cabelos; permanentes e neutralizadores do cabelo; preparados para o tratamento do cabelo; tratamento de óleo quente para o cabelo; preparados para cuidar das unhas; polimento para as unhas; vernizes para as unhas; preparados para remover o verniz; unhas postiças; tecidos e limas de esmeril; óleos essenciais aromáticos; óleos para fins cosméticos; óleos para perfumes e fragrâncias; vaselina para fins cosméticos; preparados bronzeadores e loções; preparados para protecção solar; pó de talco; polimento para dentes; produtos para a lavagem da boca não medicinais; pasta de dentes; produtos para refrescar o hálito; sais de banho; preparados cosméticos para banhos; esfoliantes para o corpo e esfoliantes.
[540] °Ó¼Ð :

[210] ½s¸¹ : N/106531
[220] ¥Ó½Ð¤é : 2015/11/30
[730] ¥Ó½Ð¤H : Dairyfarm Establishment
¦a§} : Staedtle 36, Postfach 685, FL-9490 Vaduz, Liechtenstein
°êÄy : ¦C¤ä´°¤hµn
¬¡°Ê : °Ó·~¤Î¤u·~
[511] Ãþ§O : 3
[511] ²£«~ : Preparados e outras substâncias para branqueamento de roupa; preparados para limpeza; polimento; preparados para esfrega e abrasivos; sabonetes; artigos de perfumaria; óleos essenciais; cosméticos; loções para o cabelo; dentífricos; antitranspirantes; desodorizantes; máscaras de beleza; máscaras faciais; máscaras para limpeza; preparados para cuidados da pele; produtos para limpeza facial; esfoliantes intensos de limpeza para o rosto; cremes para tratamento da pele; loções para tratamento da pele; loções hidratantes; gel para limpeza; cremes para os olhos; loções para os olhos; maquilhagem; bálsamos para os lábios; champôs; amaciadores de cabelo; loções de protecção ultravioletas; preparados para barbear e loções para depois de barbear; água-de-colónia; artigos de toilette; desodorizantes; preparados para branqueamento para fins cosméticos; preparações cosméticas adelgaçantes; pomadas; cotonetes para fins cosméticos; algodão em rama para fins cosméticos; toalhetes impregnados para limpeza (para uso pessoal); preparações para limpeza de toalhetes incorporando; cremes, loções, hidratantes, tonificantes e tónicos para fins cosméticos; sabonetes desodorizantes; sabonetes desinfectantes; sabonetes antitranspirantes; preparados para maquilhagem; batons; batons para dar brilho aos lábios; preparados para o tratamento dos lábios; depilatórios; preparados depilatórios; tintas para barba; ceras para bigode; preparados para colorir o cabelo; tintas para o cabelo; preparações para a ondulação dos cabelos; permanentes e neutralizadores do cabelo; preparados para o tratamento do cabelo; tratamento de óleo quente para o cabelo; preparados para cuidar das unhas; polimento para as unhas; vernizes para as unhas; preparados para remover o verniz; unhas postiças; tecidos e limas de esmeril; óleos essenciais aromáticos; óleos para fins cosméticos; óleos para perfumes e fragrâncias; vaselina para fins cosméticos; preparados bronzeadores e loções; preparados para protecção solar; pó de talco; polimento para dentes; produtos para a lavagem da boca não medicinais; pasta de dentes; produtos para refrescar o hálito; sais de banho; preparados cosméticos para banhos; esfoliantes para o corpo e esfoliantes.
[540] °Ó¼Ð :

[210] ½s¸¹ : N/106532
[220] ¥Ó½Ð¤é : 2015/11/30
[730] ¥Ó½Ð¤H : Dairyfarm Establishment
¦a§} : Staedtle 36, Postfach 685, FL-9490 Vaduz, Liechtenstein
°êÄy : ¦C¤ä´°¤hµn
¬¡°Ê : °Ó·~¤Î¤u·~
[511] Ãþ§O : 3
[511] ²£«~ : Preparados e outras substâncias para branqueamento de roupa; preparados para limpeza; polimento; preparados para esfrega e abrasivos; sabonetes; artigos de perfumaria; óleos essenciais; cosméticos; loções para o cabelo; dentífricos; antitranspirantes; desodorizantes; máscaras de beleza; máscaras faciais; máscaras para limpeza; preparados para cuidados da pele; produtos para limpeza facial; esfoliantes intensos de limpeza para o rosto; cremes para tratamento da pele; loções para tratamento da pele; loções hidratantes; gel para limpeza; cremes para os olhos; loções para os olhos; maquilhagem; bálsamos para os lábios; champôs; amaciadores de cabelo; loções de protecção ultravioletas; preparados para barbear e loções para depois de barbear; água-de-colónia; artigos de toilette; desodorizantes; preparados para branqueamento para fins cosméticos; preparações cosméticas adelgaçantes; pomadas; cotonetes para fins cosméticos; algodão em rama para fins cosméticos; toalhetes impregnados para limpeza (para uso pessoal); preparações para limpeza de toalhetes incorporando; cremes, loções, hidratantes, tonificantes e tónicos para fins cosméticos; sabonetes desodorizantes; sabonetes desinfectantes; sabonetes antitranspirantes; preparados para maquilhagem; batons; batons para dar brilho aos lábios; preparados para o tratamento dos lábios; depilatórios; preparados depilatórios; tintas para barba; ceras para bigode; preparados para colorir o cabelo; tintas para o cabelo; preparações para a ondulação dos cabelos; permanentes e neutralizadores do cabelo; preparados para o tratamento do cabelo; tratamento de óleo quente para o cabelo; preparados para cuidar das unhas; polimento para as unhas; vernizes para as unhas; preparados para remover o verniz; unhas postiças; tecidos e limas de esmeril; óleos essenciais aromáticos; óleos para fins cosméticos; óleos para perfumes e fragrâncias; vaselina para fins cosméticos; preparados bronzeadores e loções; preparados para protecção solar; pó de talco; polimento para dentes; produtos para a lavagem da boca não medicinais; pasta de dentes; produtos para refrescar o hálito; sais de banho; preparados cosméticos para banhos; esfoliantes para o corpo e esfoliantes.
[540] °Ó¼Ð :

[210] ½s¸¹ : N/106533
[220] ¥Ó½Ð¤é : 2015/11/30
[730] ¥Ó½Ð¤H : Dairyfarm Establishment
¦a§} : Staedtle 36, Postfach 685, FL-9490 Vaduz, Liechtenstein
°êÄy : ¦C¤ä´°¤hµn
¬¡°Ê : °Ó·~¤Î¤u·~
[511] Ãþ§O : 3
[511] ²£«~ : Preparados e outras substâncias para branqueamento de roupa; preparados para limpeza; polimento; preparados para esfrega e abrasivos; sabonetes; artigos de perfumaria; óleos essenciais; cosméticos; loções para o cabelo; dentífricos; antitranspirantes; desodorizantes; máscaras de beleza; máscaras faciais; máscaras para limpeza; preparados para cuidados da pele; produtos para limpeza facial; esfoliantes intensos de limpeza para o rosto; cremes para tratamento da pele; loções para tratamento da pele; loções hidratantes; gel para limpeza; cremes para os olhos; loções para os olhos; maquilhagem; bálsamos para os lábios; champôs; amaciadores de cabelo; loções de protecção ultravioletas; preparados para barbear e loções para depois de barbear; água-de-colónia; artigos de toilette; desodorizantes; preparados para branqueamento para fins cosméticos; preparações cosméticas adelgaçantes; pomadas; cotonetes para fins cosméticos; algodão em rama para fins cosméticos; toalhetes impregnados para limpeza (para uso pessoal); preparações para limpeza de toalhetes incorporando; cremes, loções, hidratantes, tonificantes e tónicos para fins cosméticos; sabonetes desodorizantes; sabonetes desinfectantes; sabonetes antitranspirantes; preparados para maquilhagem; batons; batons para dar brilho aos lábios; preparados para o tratamento dos lábios; depilatórios; preparados depilatórios; tintas para barba; ceras para bigode; preparados para colorir o cabelo; tintas para o cabelo; preparações para a ondulação dos cabelos; permanentes e neutralizadores do cabelo; preparados para o tratamento do cabelo; tratamento de óleo quente para o cabelo; preparados para cuidar das unhas; polimento para as unhas; vernizes para as unhas; preparados para remover o verniz; unhas postiças; tecidos e limas de esmeril; óleos essenciais aromáticos; óleos para fins cosméticos; óleos para perfumes e fragrâncias; vaselina para fins cosméticos; preparados bronzeadores e loções; preparados para protecção solar; pó de talco; polimento para dentes; produtos para a lavagem da boca não medicinais; pasta de dentes; produtos para refrescar o hálito; sais de banho; preparados cosméticos para banhos; esfoliantes para o corpo e esfoliantes.
[540] °Ó¼Ð :

[210] ½s¸¹ : N/106534
[220] ¥Ó½Ð¤é : 2015/11/30
[730] ¥Ó½Ð¤H : ¦¿Ä¬Ä¬¬ü¹F¾÷¹q¦³¤½¥q
¦a§} : ¤¤°ê¦¿Ä¬¬Ù«n¨Ê¥«ªø¦¿¸ô198¸¹17¼Ó
°êÄy : ¤¤°ê
¬¡°Ê : °Ó·~¤Î¤u·~
[511] Ãþ§O : 7
[511] ²£«~ : ¹A·~¾÷±ñ¡F¾÷¿÷¡]¾÷¾¹¡^¡F²V¾®¤gÅͩվ÷¡]¾÷¾¹¡^¡F«D³°¦a¨®½ø¥Î¤ÞÀº¡F«D³°¦a¨®½øµo°Ê¾÷¡Fµo¹q¾÷²Õ¡Fµo¹q¾÷¡F¬¦¡]¾÷¾¹¡^¡F°ªÀ£¬~º°¾÷¡F«D¤â¤u¾Þ§@ªº¤â«ù¤u¨ã¡C
[540] °Ó¼Ð :

[210] ½s¸¹ : N/106558
[220] ¥Ó½Ð¤é : 2015/11/30
[730] ¥Ó½Ð¤H : GOLD MINTS PRODUCTS CO., LTD.
¦a§} : 248/1 Alongside Expressway, Bangna, Bangkok, 10260, Thailand
°êÄy : ®õ°ê
¬¡°Ê : °Ó·~¤Î¤u·~
[511] Ãþ§O : 5
[511] ²£«~ : Produtos inalantes e pomadas mentoladas; pomadas e loções para fins farmacêuticos; loções de massagem; preparações farmacêuticas para aliviar o desconforto nasal; cremes medicamentosos para as mãos; géis medicamentosos adaptados para fins terapêuticos; tudo incluído na classe 5.
[540] °Ó¼Ð :

[591] °Ó¼ÐÃC¦â : Azul, vermelho, branco e cinzento.
[300] Àu¥ýÅv :
| ¤é´Á | ½s¸¹ | °ê®a/¦a°Ï |
| 2015/06/04 | 303430845 | ¤¤°ê»´ä |
®Ú¾Ú¸g¤Q¤G¤ë¤Q¤T¤é²Ä97/99/M¸¹ªk¥O®Ö㤧¡m¤u·~²£Åvªk«ß¨î«×¡n²Ä¤Q±ø²Ä¤@´Ú¤Î²Ä¤G´Úªº³W©w¡A¤½§G¤U¦C¦b¿Dªù¯S§O¦æ¬F°Ï´£¥Xªº°Ó¼Ðµù¥U¥Ó½Ð¤§§å¥Ü¡A¨Ã«ö·Ó¦P¤@ªk³W²Ä¤G¦Ê¤C¤Q¤±ø¦Ü²Ä¤G¦Ê¤C¤Q¤C±øªº³W©w¡A¥i©ó¥»¤½§G¤é°_¤@Ó¤ë´Á¤º´N¤U¦C§å¥Ü¦Vªì¯Åªk°|´£°_¤W¶D¡C
§åµ¹
| ½s¸¹ | µù¥U¤é´Á | §å¥Ü¤é´Á | Åv§Q¤H | Ãþ§O |
| N/091907 | 2015/12/28 | 2015/12/28 | ¥e°O¦³¤½¥q CHIM KEE COMPANY LIMITED |
37 |
| N/094234 | 2015/12/28 | 2015/12/28 | Techtronic Power Tools Technology Limited | 07 |
| N/094235 | 2015/12/28 | 2015/12/28 | Techtronic Power Tools Technology Limited | 08 |
| N/094236 | 2015/12/28 | 2015/12/28 | Techtronic Power Tools Technology Limited | 09 |
| N/094237 | 2015/12/28 | 2015/12/28 | Techtronic Power Tools Technology Limited | 11 |
| N/094389 | 2015/12/28 | 2015/12/28 | Mocap LLC | 17 |
| N/094390 | 2015/12/28 | 2015/12/28 | Mocap LLC | 17 |
| N/094391 | 2015/12/28 | 2015/12/28 | Mocap LLC | 20 |
| N/094393 | 2015/12/28 | 2015/12/28 | Mocap LLC | 17 |
| N/096062 | 2015/12/28 | 2015/12/28 | ALCATEL LUCENT | 09 |
| N/096217 | 2015/12/28 | 2015/12/28 | ¿Dªù½ÃµøªÑ¥÷¦³¤½¥q MSTV SATELLITE TV COMPANY LIMITED |
35 |
| N/096218 | 2015/12/28 | 2015/12/28 | ¿Dªù½ÃµøªÑ¥÷¦³¤½¥q MSTV SATELLITE TV COMPANY LIMITED |
38 |
| N/096219 | 2015/12/28 | 2015/12/28 | ¿Dªù½ÃµøªÑ¥÷¦³¤½¥q MSTV SATELLITE TV COMPANY LIMITED |
41 |
| N/096220 | 2015/12/28 | 2015/12/28 | ¿Dªù½ÃµøªÑ¥÷¦³¤½¥q MSTV SATELLITE TV COMPANY LIMITED |
35 |
| N/096221 | 2015/12/28 | 2015/12/28 | ¿Dªù½ÃµøªÑ¥÷¦³¤½¥q MSTV SATELLITE TV COMPANY LIMITED |
38 |
| N/096222 | 2015/12/28 | 2015/12/28 | ¿Dªù½ÃµøªÑ¥÷¦³¤½¥q MSTV SATELLITE TV COMPANY LIMITED |
41 |
| N/096751 | 2015/12/28 | 2015/12/28 | ¹ö¬P¹q¼v¤å¤Æ²£·~¡]¥_¨Ê¡^¦³¤½¥q | 09 |
| N/096752 | 2015/12/28 | 2015/12/28 | ¹ö¬P¹q¼v¤å¤Æ²£·~¡]¥_¨Ê¡^¦³¤½¥q | 16 |
| N/096753 | 2015/12/28 | 2015/12/28 | ¹ö¬P¹q¼v¤å¤Æ²£·~¡]¥_¨Ê¡^¦³¤½¥q | 35 |
| N/096754 | 2015/12/28 | 2015/12/28 | ¹ö¬P¹q¼v¤å¤Æ²£·~¡]¥_¨Ê¡^¦³¤½¥q | 38 |
| N/096755 | 2015/12/28 | 2015/12/28 | ¹ö¬P¹q¼v¤å¤Æ²£·~¡]¥_¨Ê¡^¦³¤½¥q | 41 |
| N/096756 | 2015/12/28 | 2015/12/28 | ¹ö¬P¹q¼v¤å¤Æ²£·~¡]¥_¨Ê¡^¦³¤½¥q | 42 |
| N/096762 | 2015/12/28 | 2015/12/28 | ¤W®ü¦ãªy´µ²b¤Æ¬ì§Þ¦³¤½¥q | 11 |
| N/096782 | 2015/12/28 | 2015/12/28 | Liu Chong Hing Investment Limited | 36 |
| N/097516 | 2015/12/28 | 2015/12/28 | ³ì¥»¥ÍÂåªÑ¥÷¦³¤½¥q | 03 |
| N/097517 | 2015/12/28 | 2015/12/28 | ³ì¥»¥ÍÂåªÑ¥÷¦³¤½¥q | 05 |
| N/097518 | 2015/12/28 | 2015/12/28 | ³ì¥»¥ÍÂåªÑ¥÷¦³¤½¥q | 30 |
| N/097519 | 2015/12/28 | 2015/12/28 | ³ì¥»¥ÍÂåªÑ¥÷¦³¤½¥q | 32 |
| N/097520 | 2015/12/28 | 2015/12/28 | ³ì¥»¥ÍÂåªÑ¥÷¦³¤½¥q | 03 |
| N/097521 | 2015/12/28 | 2015/12/28 | ³ì¥»¥ÍÂåªÑ¥÷¦³¤½¥q | 05 |
| N/097522 | 2015/12/28 | 2015/12/28 | ³ì¥»¥ÍÂåªÑ¥÷¦³¤½¥q | 30 |
| N/097766 | 2015/12/28 | 2015/12/28 | KLUFT IPCO, LLC | 20 |
| N/097767 | 2015/12/28 | 2015/12/28 | KLUFT IPCO, LLC | 20 |
| N/098243 | 2015/12/28 | 2015/12/28 | µØ¸ÎÃÄ·~¦³¤½¥q | 05 |
| N/098244 | 2015/12/28 | 2015/12/28 | µØ¸ÎÃÄ·~¦³¤½¥q | 29 |
| N/098245 | 2015/12/28 | 2015/12/28 | µØ¸ÎÃÄ·~¦³¤½¥q | 29 |
| N/098246 | 2015/12/28 | 2015/12/28 | µØ¸ÎÃÄ·~¦³¤½¥q | 05 |
| N/098410 | 2015/12/28 | 2015/12/28 | Stella McCartney Limited | 18 |
| N/098411 | 2015/12/28 | 2015/12/28 | Stella McCartney Limited | 25 |
| N/098412 | 2015/12/28 | 2015/12/28 | Stella McCartney Limited | 28 |
| N/098413 | 2015/12/28 | 2015/12/28 | Stella McCartney Limited | 35 |
| N/098430 | 2015/12/28 | 2015/12/28 | ¤Ñ¶×¬P°ê»Ú§ë¸ê¦³¤½¥q | 35 |
| N/098431 | 2015/12/28 | 2015/12/28 | ¤Ñ¶×¬P°ê»Ú§ë¸ê¦³¤½¥q | 38 |
| N/098432 | 2015/12/28 | 2015/12/28 | ¤Ñ¶×¬P°ê»Ú§ë¸ê¦³¤½¥q | 41 |
| N/098433 | 2015/12/28 | 2015/12/28 | ¤Ñ¶×¬P°ê»Ú§ë¸ê¦³¤½¥q | 42 |
| N/099139 | 2015/12/28 | 2015/12/28 | Watson Enterprises Limited | 03 |
| N/099140 | 2015/12/28 | 2015/12/28 | Watson Enterprises Limited | 03 |
| N/099141 | 2015/12/28 | 2015/12/28 | Watson Enterprises Limited | 03 |
| N/099142 | 2015/12/28 | 2015/12/28 | Watson Enterprises Limited | 03 |
| N/099189 | 2015/12/28 | 2015/12/28 | Kurt Geiger Limited | 03 |
| N/099190 | 2015/12/28 | 2015/12/28 | Kurt Geiger Limited | 09 |
| N/099191 | 2015/12/28 | 2015/12/28 | Kurt Geiger Limited | 14 |
| N/099192 | 2015/12/28 | 2015/12/28 | Kurt Geiger Limited | 18 |
| N/099193 | 2015/12/28 | 2015/12/28 | Kurt Geiger Limited | 25 |
| N/099194 | 2015/12/28 | 2015/12/28 | Kurt Geiger Limited | 26 |
| N/099195 | 2015/12/28 | 2015/12/28 | Kurt Geiger Limited | 35 |
| N/099491 | 2015/12/28 | 2015/12/28 | ¥¬¾|¿Õ•®J¦Ìº¸•¤ò¨½¯ý•«Où•±ö•¯Ã¹y´µ BRUNO EMILE MAURITS PAUL M. NUYTTENS |
10 |
| N/099536 | 2015/12/28 | 2015/12/28 | ¤¤°ê¥¦w«OÀI¡]¶°¹Î¡^ªÑ¥÷¦³¤½¥q | 06 |
| N/099537 | 2015/12/28 | 2015/12/28 | ¤¤°ê¥¦w«OÀI¡]¶°¹Î¡^ªÑ¥÷¦³¤½¥q | 09 |
| N/099538 | 2015/12/28 | 2015/12/28 | ¤¤°ê¥¦w«OÀI¡]¶°¹Î¡^ªÑ¥÷¦³¤½¥q | 18 |
| N/099539 | 2015/12/28 | 2015/12/28 | ¤¤°ê¥¦w«OÀI¡]¶°¹Î¡^ªÑ¥÷¦³¤½¥q | 19 |
| N/099540 | 2015/12/28 | 2015/12/28 | ¤¤°ê¥¦w«OÀI¡]¶°¹Î¡^ªÑ¥÷¦³¤½¥q | 24 |
| N/099541 | 2015/12/28 | 2015/12/28 | ¤¤°ê¥¦w«OÀI¡]¶°¹Î¡^ªÑ¥÷¦³¤½¥q | 35 |
| N/099542 | 2015/12/28 | 2015/12/28 | ¤¤°ê¥¦w«OÀI¡]¶°¹Î¡^ªÑ¥÷¦³¤½¥q | 36 |
| N/099543 | 2015/12/28 | 2015/12/28 | ¤¤°ê¥¦w«OÀI¡]¶°¹Î¡^ªÑ¥÷¦³¤½¥q | 37 |
| N/099544 | 2015/12/28 | 2015/12/28 | ¤¤°ê¥¦w«OÀI¡]¶°¹Î¡^ªÑ¥÷¦³¤½¥q | 42 |
| N/099545 | 2015/12/28 | 2015/12/28 | ¤¤°ê¥¦w«OÀI¡]¶°¹Î¡^ªÑ¥÷¦³¤½¥q | 43 |
| N/099546 | 2015/12/28 | 2015/12/28 | ¤¤°ê¥¦w«OÀI¡]¶°¹Î¡^ªÑ¥÷¦³¤½¥q | 45 |
| N/099547 | 2015/12/28 | 2015/12/28 | ¤¤°ê¥¦w«OÀI¡]¶°¹Î¡^ªÑ¥÷¦³¤½¥q | 06 |
| N/099548 | 2015/12/28 | 2015/12/28 | ¤¤°ê¥¦w«OÀI¡]¶°¹Î¡^ªÑ¥÷¦³¤½¥q | 09 |
| N/099549 | 2015/12/28 | 2015/12/28 | ¤¤°ê¥¦w«OÀI¡]¶°¹Î¡^ªÑ¥÷¦³¤½¥q | 18 |
| N/099550 | 2015/12/28 | 2015/12/28 | ¤¤°ê¥¦w«OÀI¡]¶°¹Î¡^ªÑ¥÷¦³¤½¥q | 19 |
| N/099551 | 2015/12/28 | 2015/12/28 | ¤¤°ê¥¦w«OÀI¡]¶°¹Î¡^ªÑ¥÷¦³¤½¥q | 24 |
| N/099552 | 2015/12/28 | 2015/12/28 | ¤¤°ê¥¦w«OÀI¡]¶°¹Î¡^ªÑ¥÷¦³¤½¥q | 35 |
| N/099553 | 2015/12/28 | 2015/12/28 | ¤¤°ê¥¦w«OÀI¡]¶°¹Î¡^ªÑ¥÷¦³¤½¥q | 36 |
| N/099554 | 2015/12/28 | 2015/12/28 | ¤¤°ê¥¦w«OÀI¡]¶°¹Î¡^ªÑ¥÷¦³¤½¥q | 37 |
| N/099555 | 2015/12/28 | 2015/12/28 | ¤¤°ê¥¦w«OÀI¡]¶°¹Î¡^ªÑ¥÷¦³¤½¥q | 42 |
| N/099556 | 2015/12/28 | 2015/12/28 | ¤¤°ê¥¦w«OÀI¡]¶°¹Î¡^ªÑ¥÷¦³¤½¥q | 43 |
| N/099557 | 2015/12/28 | 2015/12/28 | ¤¤°ê¥¦w«OÀI¡]¶°¹Î¡^ªÑ¥÷¦³¤½¥q | 45 |
| N/099558 | 2015/12/28 | 2015/12/28 | ¤¤°ê¥¦w«OÀI¡]¶°¹Î¡^ªÑ¥÷¦³¤½¥q | 06 |
| N/099559 | 2015/12/28 | 2015/12/28 | ¤¤°ê¥¦w«OÀI¡]¶°¹Î¡^ªÑ¥÷¦³¤½¥q | 09 |
| N/099560 | 2015/12/28 | 2015/12/28 | ¤¤°ê¥¦w«OÀI¡]¶°¹Î¡^ªÑ¥÷¦³¤½¥q | 18 |
| N/099561 | 2015/12/28 | 2015/12/28 | ¤¤°ê¥¦w«OÀI¡]¶°¹Î¡^ªÑ¥÷¦³¤½¥q | 19 |
| N/099562 | 2015/12/28 | 2015/12/28 | ¤¤°ê¥¦w«OÀI¡]¶°¹Î¡^ªÑ¥÷¦³¤½¥q | 24 |
| N/099563 | 2015/12/28 | 2015/12/28 | ¤¤°ê¥¦w«OÀI¡]¶°¹Î¡^ªÑ¥÷¦³¤½¥q | 35 |
| N/099564 | 2015/12/28 | 2015/12/28 | ¤¤°ê¥¦w«OÀI¡]¶°¹Î¡^ªÑ¥÷¦³¤½¥q | 36 |
| N/099565 | 2015/12/28 | 2015/12/28 | ¤¤°ê¥¦w«OÀI¡]¶°¹Î¡^ªÑ¥÷¦³¤½¥q | 37 |
| N/099566 | 2015/12/28 | 2015/12/28 | ¤¤°ê¥¦w«OÀI¡]¶°¹Î¡^ªÑ¥÷¦³¤½¥q | 42 |
| N/099567 | 2015/12/28 | 2015/12/28 | ¤¤°ê¥¦w«OÀI¡]¶°¹Î¡^ªÑ¥÷¦³¤½¥q | 43 |
| N/099568 | 2015/12/28 | 2015/12/28 | ¤¤°ê¥¦w«OÀI¡]¶°¹Î¡^ªÑ¥÷¦³¤½¥q | 45 |
| N/099569 | 2015/12/28 | 2015/12/28 | ¤¤°ê¥¦w«OÀI¡]¶°¹Î¡^ªÑ¥÷¦³¤½¥q | 06 |
| N/099570 | 2015/12/28 | 2015/12/28 | ¤¤°ê¥¦w«OÀI¡]¶°¹Î¡^ªÑ¥÷¦³¤½¥q | 09 |
| N/099571 | 2015/12/28 | 2015/12/28 | ¤¤°ê¥¦w«OÀI¡]¶°¹Î¡^ªÑ¥÷¦³¤½¥q | 18 |
| N/099572 | 2015/12/28 | 2015/12/28 | ¤¤°ê¥¦w«OÀI¡]¶°¹Î¡^ªÑ¥÷¦³¤½¥q | 19 |
| N/099573 | 2015/12/28 | 2015/12/28 | ¤¤°ê¥¦w«OÀI¡]¶°¹Î¡^ªÑ¥÷¦³¤½¥q | 24 |
| N/099574 | 2015/12/28 | 2015/12/28 | ¤¤°ê¥¦w«OÀI¡]¶°¹Î¡^ªÑ¥÷¦³¤½¥q | 35 |
| N/099575 | 2015/12/28 | 2015/12/28 | ¤¤°ê¥¦w«OÀI¡]¶°¹Î¡^ªÑ¥÷¦³¤½¥q | 36 |
| N/099576 | 2015/12/28 | 2015/12/28 | ¤¤°ê¥¦w«OÀI¡]¶°¹Î¡^ªÑ¥÷¦³¤½¥q | 37 |
| N/099577 | 2015/12/28 | 2015/12/28 | ¤¤°ê¥¦w«OÀI¡]¶°¹Î¡^ªÑ¥÷¦³¤½¥q | 42 |
| N/099578 | 2015/12/28 | 2015/12/28 | ¤¤°ê¥¦w«OÀI¡]¶°¹Î¡^ªÑ¥÷¦³¤½¥q | 43 |
| N/099579 | 2015/12/28 | 2015/12/28 | ¤¤°ê¥¦w«OÀI¡]¶°¹Î¡^ªÑ¥÷¦³¤½¥q | 45 |
| N/099580 | 2015/12/28 | 2015/12/28 | ¤¤°ê¥¦w«OÀI¡]¶°¹Î¡^ªÑ¥÷¦³¤½¥q | 06 |
| N/099581 | 2015/12/28 | 2015/12/28 | ¤¤°ê¥¦w«OÀI¡]¶°¹Î¡^ªÑ¥÷¦³¤½¥q | 09 |
| N/099582 | 2015/12/28 | 2015/12/28 | ¤¤°ê¥¦w«OÀI¡]¶°¹Î¡^ªÑ¥÷¦³¤½¥q | 18 |
| N/099583 | 2015/12/28 | 2015/12/28 | ¤¤°ê¥¦w«OÀI¡]¶°¹Î¡^ªÑ¥÷¦³¤½¥q | 19 |
| N/099584 | 2015/12/28 | 2015/12/28 | ¤¤°ê¥¦w«OÀI¡]¶°¹Î¡^ªÑ¥÷¦³¤½¥q | 24 |
| N/099585 | 2015/12/28 | 2015/12/28 | ¤¤°ê¥¦w«OÀI¡]¶°¹Î¡^ªÑ¥÷¦³¤½¥q | 35 |
| N/099586 | 2015/12/28 | 2015/12/28 | ¤¤°ê¥¦w«OÀI¡]¶°¹Î¡^ªÑ¥÷¦³¤½¥q | 36 |
| N/099587 | 2015/12/28 | 2015/12/28 | ¤¤°ê¥¦w«OÀI¡]¶°¹Î¡^ªÑ¥÷¦³¤½¥q | 37 |
| N/099588 | 2015/12/28 | 2015/12/28 | ¤¤°ê¥¦w«OÀI¡]¶°¹Î¡^ªÑ¥÷¦³¤½¥q | 42 |
| N/099589 | 2015/12/28 | 2015/12/28 | ¤¤°ê¥¦w«OÀI¡]¶°¹Î¡^ªÑ¥÷¦³¤½¥q | 43 |
| N/099590 | 2015/12/28 | 2015/12/28 | ¤¤°ê¥¦w«OÀI¡]¶°¹Î¡^ªÑ¥÷¦³¤½¥q | 45 |
| N/099902 | 2015/12/28 | 2015/12/28 | ¤¤°êÂåÀ] China Medical Centre |
05 |
| N/099916 | 2015/12/28 | 2015/12/28 | ªC¦{¤p©æ«ü¨T¨®ºû׬ì§ÞªÑ¥÷¦³¤½¥q | 02 |
| N/099917 | 2015/12/28 | 2015/12/28 | ªC¦{¤p©æ«ü¨T¨®ºû׬ì§ÞªÑ¥÷¦³¤½¥q | 12 |
| N/099918 | 2015/12/28 | 2015/12/28 | ªC¦{¤p©æ«ü¨T¨®ºû׬ì§ÞªÑ¥÷¦³¤½¥q | 35 |
| N/099919 | 2015/12/28 | 2015/12/28 | ªC¦{¤p©æ«ü¨T¨®ºû׬ì§ÞªÑ¥÷¦³¤½¥q | 37 |
| N/099920 | 2015/12/28 | 2015/12/28 | ªC¦{¤p©æ«ü¨T¨®ºû׬ì§ÞªÑ¥÷¦³¤½¥q | 02 |
| N/099921 | 2015/12/28 | 2015/12/28 | ªC¦{¤p©æ«ü¨T¨®ºû׬ì§ÞªÑ¥÷¦³¤½¥q | 12 |
| N/099922 | 2015/12/28 | 2015/12/28 | ªC¦{¤p©æ«ü¨T¨®ºû׬ì§ÞªÑ¥÷¦³¤½¥q | 35 |
| N/099923 | 2015/12/28 | 2015/12/28 | ªC¦{¤p©æ«ü¨T¨®ºû׬ì§ÞªÑ¥÷¦³¤½¥q | 37 |
| N/099924 | 2015/12/28 | 2015/12/28 | ªC¦{¤p©æ«ü¨T¨®ºû׬ì§ÞªÑ¥÷¦³¤½¥q | 02 |
| N/099925 | 2015/12/28 | 2015/12/28 | ªC¦{¤p©æ«ü¨T¨®ºû׬ì§ÞªÑ¥÷¦³¤½¥q | 12 |
| N/099926 | 2015/12/28 | 2015/12/28 | ªC¦{¤p©æ«ü¨T¨®ºû׬ì§ÞªÑ¥÷¦³¤½¥q | 35 |
| N/099927 | 2015/12/28 | 2015/12/28 | ªC¦{¤p©æ«ü¨T¨®ºû׬ì§ÞªÑ¥÷¦³¤½¥q | 37 |
| N/099928 | 2015/12/28 | 2015/12/28 | ªC¦{¤p©æ«ü¨T¨®ºû׬ì§ÞªÑ¥÷¦³¤½¥q | 02 |
| N/099929 | 2015/12/28 | 2015/12/28 | ªC¦{¤p©æ«ü¨T¨®ºû׬ì§ÞªÑ¥÷¦³¤½¥q | 12 |
| N/099930 | 2015/12/28 | 2015/12/28 | ªC¦{¤p©æ«ü¨T¨®ºû׬ì§ÞªÑ¥÷¦³¤½¥q | 35 |
| N/099931 | 2015/12/28 | 2015/12/28 | ªC¦{¤p©æ«ü¨T¨®ºû׬ì§ÞªÑ¥÷¦³¤½¥q | 37 |
| N/100228 | 2015/12/28 | 2015/12/28 | AFTER DARK LLC | 35 |
| N/100239 | 2015/12/28 | 2015/12/28 | UNITED OIL COMPANY PTE LTD | 04 |
| N/100244 | 2015/12/28 | 2015/12/28 | LABORATOIRE EFERDA | 03 |
| N/100469 | 2015/12/28 | 2015/12/28 | CTBAT International Co. Limited | 34 |
| N/100553 | 2015/12/28 | 2015/12/28 | LAM INES TEK YAN | 05 |
| N/100554 | 2015/12/28 | 2015/12/28 | LAM INES TEK YAN | 29 |
| N/100555 | 2015/12/28 | 2015/12/28 | LAM INES TEK YAN | 30 |
| N/100556 | 2015/12/28 | 2015/12/28 | LAM INES TEK YAN | 32 |
| N/100557 | 2015/12/28 | 2015/12/28 | LAM INES TEK YAN | 35 |
| N/100558 | 2015/12/28 | 2015/12/28 | LAM INES TEK YAN | 05 |
| N/100559 | 2015/12/28 | 2015/12/28 | LAM INES TEK YAN | 29 |
| N/100560 | 2015/12/28 | 2015/12/28 | LAM INES TEK YAN | 30 |
| N/100561 | 2015/12/28 | 2015/12/28 | LAM INES TEK YAN | 32 |
| N/100562 | 2015/12/28 | 2015/12/28 | LAM INES TEK YAN | 35 |
| N/100602 | 2015/12/28 | 2015/12/28 | Montres Tudor SA | 14 |
| N/100606 | 2015/12/28 | 2015/12/28 | National Academy of Recording Arts & Sciences, Inc. | 09 |
| N/100607 | 2015/12/28 | 2015/12/28 | National Academy of Recording Arts & Sciences, Inc. | 25 |
| N/100608 | 2015/12/28 | 2015/12/28 | National Academy of Recording Arts & Sciences, Inc. | 41 |
| N/100609 | 2015/12/28 | 2015/12/28 | National Academy of Recording Arts & Sciences, Inc. | 09 |
| N/100610 | 2015/12/28 | 2015/12/28 | National Academy of Recording Arts & Sciences, Inc. | 25 |
| N/100611 | 2015/12/28 | 2015/12/28 | National Academy of Recording Arts & Sciences, Inc. | 41 |
| N/100917 | 2015/12/28 | 2015/12/28 | DA SILVA, DANIELA DIAS | 43 |
| N/100918 | 2015/12/28 | 2015/12/28 | DA SILVA, DANIELA DIAS | 30 |
| N/100919 | 2015/12/28 | 2015/12/28 | DA SILVA, DANIELA DIAS | 43 |
| N/100920 | 2015/12/28 | 2015/12/28 | DA SILVA, DANIELA DIAS | 30 |
| N/101059 | 2015/12/28 | 2015/12/28 | Acapture B.V. | 09 |
| N/101060 | 2015/12/28 | 2015/12/28 | Acapture B.V. | 35 |
| N/101061 | 2015/12/28 | 2015/12/28 | Acapture B.V. | 36 |
| N/101062 | 2015/12/28 | 2015/12/28 | Acapture B.V. | 38 |
| N/101063 | 2015/12/28 | 2015/12/28 | Acapture B.V. | 41 |
| N/101064 | 2015/12/28 | 2015/12/28 | Acapture B.V. | 42 |
| N/101104 | 2015/12/28 | 2015/12/28 | Simpson Marine Limited | 25 |
| N/101105 | 2015/12/28 | 2015/12/28 | Simpson Marine Limited | 35 |
| N/101106 | 2015/12/28 | 2015/12/28 | Simpson Marine Limited | 37 |
| N/101107 | 2015/12/28 | 2015/12/28 | Simpson Marine Limited | 39 |
| N/101108 | 2015/12/28 | 2015/12/28 | Simpson Marine Limited | 25 |
| N/101109 | 2015/12/28 | 2015/12/28 | Simpson Marine Limited | 35 |
| N/101110 | 2015/12/28 | 2015/12/28 | Simpson Marine Limited | 37 |
| N/101111 | 2015/12/28 | 2015/12/28 | Simpson Marine Limited | 39 |
| N/101112 | 2015/12/28 | 2015/12/28 | Simpson Marine Limited | 25 |
| N/101113 | 2015/12/28 | 2015/12/28 | Simpson Marine Limited | 35 |
| N/101114 | 2015/12/28 | 2015/12/28 | Simpson Marine Limited | 37 |
| N/101115 | 2015/12/28 | 2015/12/28 | Simpson Marine Limited | 39 |
| N/101193 | 2015/12/28 | 2015/12/28 | GALAXY ENTERTAINMENT LICENSING LIMITED | 35 |
| N/101194 | 2015/12/28 | 2015/12/28 | GALAXY ENTERTAINMENT LICENSING LIMITED | 39 |
| N/101195 | 2015/12/28 | 2015/12/28 | GALAXY ENTERTAINMENT LICENSING LIMITED | 41 |
| N/101196 | 2015/12/28 | 2015/12/28 | GALAXY ENTERTAINMENT LICENSING LIMITED | 43 |
| N/101197 | 2015/12/28 | 2015/12/28 | GALAXY ENTERTAINMENT LICENSING LIMITED | 35 |
| N/101198 | 2015/12/28 | 2015/12/28 | GALAXY ENTERTAINMENT LICENSING LIMITED | 39 |
| N/101199 | 2015/12/28 | 2015/12/28 | GALAXY ENTERTAINMENT LICENSING LIMITED | 41 |
| N/101200 | 2015/12/28 | 2015/12/28 | GALAXY ENTERTAINMENT LICENSING LIMITED | 43 |
| N/101201 | 2015/12/28 | 2015/12/28 | GALAXY ENTERTAINMENT LICENSING LIMITED | 35 |
| N/101202 | 2015/12/28 | 2015/12/28 | GALAXY ENTERTAINMENT LICENSING LIMITED | 39 |
| N/101203 | 2015/12/28 | 2015/12/28 | GALAXY ENTERTAINMENT LICENSING LIMITED | 41 |
| N/101204 | 2015/12/28 | 2015/12/28 | GALAXY ENTERTAINMENT LICENSING LIMITED | 43 |
| N/101205 | 2015/12/28 | 2015/12/28 | GALAXY ENTERTAINMENT LICENSING LIMITED | 35 |
| N/101206 | 2015/12/28 | 2015/12/28 | GALAXY ENTERTAINMENT LICENSING LIMITED | 39 |
| N/101207 | 2015/12/28 | 2015/12/28 | GALAXY ENTERTAINMENT LICENSING LIMITED | 41 |
| N/101208 | 2015/12/28 | 2015/12/28 | GALAXY ENTERTAINMENT LICENSING LIMITED | 43 |
| N/101209 | 2015/12/28 | 2015/12/28 | GALAXY ENTERTAINMENT LICENSING LIMITED | 35 |
| N/101210 | 2015/12/28 | 2015/12/28 | GALAXY ENTERTAINMENT LICENSING LIMITED | 39 |
| N/101211 | 2015/12/28 | 2015/12/28 | GALAXY ENTERTAINMENT LICENSING LIMITED | 41 |
| N/101212 | 2015/12/28 | 2015/12/28 | GALAXY ENTERTAINMENT LICENSING LIMITED | 43 |
| N/101213 | 2015/12/28 | 2015/12/28 | GALAXY ENTERTAINMENT LICENSING LIMITED | 35 |
| N/101214 | 2015/12/28 | 2015/12/28 | GALAXY ENTERTAINMENT LICENSING LIMITED | 39 |
| N/101215 | 2015/12/28 | 2015/12/28 | GALAXY ENTERTAINMENT LICENSING LIMITED | 41 |
| N/101216 | 2015/12/28 | 2015/12/28 | GALAXY ENTERTAINMENT LICENSING LIMITED | 43 |
| N/101217 | 2015/12/28 | 2015/12/28 | GALAXY ENTERTAINMENT LICENSING LIMITED | 35 |
| N/101218 | 2015/12/28 | 2015/12/28 | GALAXY ENTERTAINMENT LICENSING LIMITED | 39 |
| N/101219 | 2015/12/28 | 2015/12/28 | GALAXY ENTERTAINMENT LICENSING LIMITED | 41 |
| N/101220 | 2015/12/28 | 2015/12/28 | GALAXY ENTERTAINMENT LICENSING LIMITED | 43 |
| N/101221 | 2015/12/28 | 2015/12/28 | GALAXY ENTERTAINMENT LICENSING LIMITED | 35 |
| N/101222 | 2015/12/28 | 2015/12/28 | GALAXY ENTERTAINMENT LICENSING LIMITED | 39 |
| N/101223 | 2015/12/28 | 2015/12/28 | GALAXY ENTERTAINMENT LICENSING LIMITED | 41 |
| N/101224 | 2015/12/28 | 2015/12/28 | GALAXY ENTERTAINMENT LICENSING LIMITED | 43 |
| N/101225 | 2015/12/28 | 2015/12/28 | GALAXY ENTERTAINMENT LICENSING LIMITED | 35 |
| N/101226 | 2015/12/28 | 2015/12/28 | GALAXY ENTERTAINMENT LICENSING LIMITED | 39 |
| N/101227 | 2015/12/28 | 2015/12/28 | GALAXY ENTERTAINMENT LICENSING LIMITED | 41 |
| N/101228 | 2015/12/28 | 2015/12/28 | GALAXY ENTERTAINMENT LICENSING LIMITED | 43 |
| N/101229 | 2015/12/28 | 2015/12/28 | GALAXY ENTERTAINMENT LICENSING LIMITED | 35 |
| N/101230 | 2015/12/28 | 2015/12/28 | GALAXY ENTERTAINMENT LICENSING LIMITED | 39 |
| N/101231 | 2015/12/28 | 2015/12/28 | GALAXY ENTERTAINMENT LICENSING LIMITED | 41 |
| N/101232 | 2015/12/28 | 2015/12/28 | GALAXY ENTERTAINMENT LICENSING LIMITED | 43 |
| N/101233 | 2015/12/28 | 2015/12/28 | GALAXY ENTERTAINMENT LICENSING LIMITED | 35 |
| N/101234 | 2015/12/28 | 2015/12/28 | GALAXY ENTERTAINMENT LICENSING LIMITED | 39 |
| N/101235 | 2015/12/28 | 2015/12/28 | GALAXY ENTERTAINMENT LICENSING LIMITED | 41 |
| N/101236 | 2015/12/28 | 2015/12/28 | GALAXY ENTERTAINMENT LICENSING LIMITED | 43 |
| N/101237 | 2015/12/28 | 2015/12/28 | GALAXY ENTERTAINMENT LICENSING LIMITED | 35 |
| N/101238 | 2015/12/28 | 2015/12/28 | GALAXY ENTERTAINMENT LICENSING LIMITED | 39 |
| N/101239 | 2015/12/28 | 2015/12/28 | GALAXY ENTERTAINMENT LICENSING LIMITED | 41 |
| N/101240 | 2015/12/28 | 2015/12/28 | GALAXY ENTERTAINMENT LICENSING LIMITED | 43 |
| N/101269 | 2015/12/28 | 2015/12/28 | ¤Ñ©ú»sÃĪѥ÷¦³¤½¥q | 05 |
| N/101270 | 2015/12/28 | 2015/12/28 | ¤Ñ©ú»sÃĪѥ÷¦³¤½¥q | 29 |
| N/101271 | 2015/12/28 | 2015/12/28 | ¤Ñ©ú»sÃĪѥ÷¦³¤½¥q | 30 |
| N/101272 | 2015/12/28 | 2015/12/28 | ¤Ñ©ú»sÃĪѥ÷¦³¤½¥q | 35 |
| N/101273 | 2015/12/28 | 2015/12/28 | BH Capital HK Limited | 14 |
| N/101274 | 2015/12/28 | 2015/12/28 | BH Capital HK Limited | 16 |
| N/101275 | 2015/12/28 | 2015/12/28 | BH Capital HK Limited | 35 |
| N/101276 | 2015/12/28 | 2015/12/28 | BH Capital HK Limited | 14 |
| N/101277 | 2015/12/28 | 2015/12/28 | BH Capital HK Limited | 16 |
| N/101278 | 2015/12/28 | 2015/12/28 | BH Capital HK Limited | 35 |
| N/101279 | 2015/12/28 | 2015/12/28 | ¦¿ÀÜ Kong Tou |
39 |
| N/101280 | 2015/12/28 | 2015/12/28 | ´I¼Ý°ê»Ú¥ø·~¦³¤½¥q FRUITFUL HARVEST INTERNATIONAL LIMITED |
29 |
| N/101281 | 2015/12/28 | 2015/12/28 | ´I¼Ý°ê»Ú¥ø·~¦³¤½¥q FRUITFUL HARVEST INTERNATIONAL LIMITED |
30 |
| N/101282 | 2015/12/28 | 2015/12/28 | ´I¼Ý°ê»Ú¥ø·~¦³¤½¥q FRUITFUL HARVEST INTERNATIONAL LIMITED |
32 |
| N/101283 | 2015/12/28 | 2015/12/28 | ´I¼Ý°ê»Ú¥ø·~¦³¤½¥q FRUITFUL HARVEST INTERNATIONAL LIMITED |
33 |
| N/101284 | 2015/12/28 | 2015/12/28 | ´I¼Ý°ê»Ú¥ø·~¦³¤½¥q FRUITFUL HARVEST INTERNATIONAL LIMITED |
35 |
| N/101285 | 2015/12/28 | 2015/12/28 | Galderma S.A. | 03 |
| N/101286 | 2015/12/28 | 2015/12/28 | Galderma S.A. | 05 |
| N/101287 | 2015/12/28 | 2015/12/28 | TORAY KABUSHIKI KAISHA (TORAY INDUSTRIES, INC.) | 01 |
| N/101288 | 2015/12/28 | 2015/12/28 | TAO Licensing, LLC | 41 |
| N/101289 | 2015/12/28 | 2015/12/28 | TAO Licensing, LLC | 43 |
| N/101290 | 2015/12/28 | 2015/12/28 | AIMING INC. KABUSHIKI KAISHA MARVELOUS(D/B/A MARVELOUS INC.) |
09 |
| N/101291 | 2015/12/28 | 2015/12/28 | AIMING INC. KABUSHIKI KAISHA MARVELOUS(D/B/A MARVELOUS INC.) |
41 |
| N/101292 | 2015/12/28 | 2015/12/28 | AIMING INC. KABUSHIKI KAISHA MARVELOUS(D/B/A MARVELOUS INC.) |
09 |
| N/101293 | 2015/12/28 | 2015/12/28 | AIMING INC. KABUSHIKI KAISHA MARVELOUS(D/B/A MARVELOUS INC.) |
41 |
| N/101294 | 2015/12/28 | 2015/12/28 | dōTERRA Holdings, LLC | 03 |
| N/101295 | 2015/12/28 | 2015/12/28 | dōTERRA Holdings, LLC | 05 |
| N/101296 | 2015/12/28 | 2015/12/28 | dōTERRA Holdings, LLC | 16 |
| N/101297 | 2015/12/28 | 2015/12/28 | ®ý¦¿¶®¼ü¶°¹Î¦³¤½¥q | 14 |
| N/101298 | 2015/12/28 | 2015/12/28 | ®ý¦¿¶®¼ü¶°¹Î¦³¤½¥q | 26 |
| N/101299 | 2015/12/28 | 2015/12/28 | ®ý¦¿¶®¼ü¶°¹Î¦³¤½¥q | 35 |
| N/101300 | 2015/12/28 | 2015/12/28 | ®ý¦¿¶®¼ü¶°¹Î¦³¤½¥q | 14 |
| N/101301 | 2015/12/28 | 2015/12/28 | ®ý¦¿¶®¼ü¶°¹Î¦³¤½¥q | 26 |
| N/101302 | 2015/12/28 | 2015/12/28 | ®ý¦¿¶®¼ü¶°¹Î¦³¤½¥q | 35 |
| N/101303 | 2015/12/28 | 2015/12/28 | ®ý¦¿µØ¤§¼Ý®É©|¶°¹Î¦³¤½¥q | 18 |
| N/101304 | 2015/12/28 | 2015/12/28 | ®ý¦¿µØ¤§¼Ý®É©|¶°¹Î¦³¤½¥q | 25 |
| N/101307 | 2015/12/28 | 2015/12/28 | H. Lundbeck A/S | 05 |
| N/101308 | 2015/12/28 | 2015/12/28 | H. Lundbeck A/S | 05 |
| N/101309 | 2015/12/28 | 2015/12/28 | H. Lundbeck A/S | 05 |
| N/101310 | 2015/12/28 | 2015/12/28 | H. Lundbeck A/S | 05 |
| N/101311 | 2015/12/28 | 2015/12/28 | H. Lundbeck A/S | 09 |
| N/101312 | 2015/12/28 | 2015/12/28 | H. Lundbeck A/S | 10 |
| N/101313 | 2015/12/28 | 2015/12/28 | H. Lundbeck A/S | 41 |
| N/101314 | 2015/12/28 | 2015/12/28 | H. Lundbeck A/S | 42 |
| N/101315 | 2015/12/28 | 2015/12/28 | H. Lundbeck A/S | 44 |
| N/101316 | 2015/12/28 | 2015/12/28 | H. Lundbeck A/S | 05 |
| N/101317 | 2015/12/28 | 2015/12/28 | H. Lundbeck A/S | 05 |
| N/101318 | 2015/12/28 | 2015/12/28 | H. Lundbeck A/S | 05 |
| N/101319 | 2015/12/28 | 2015/12/28 | H. Lundbeck A/S | 05 |
| N/101320 | 2015/12/28 | 2015/12/28 | LF Corp. | 09 |
| N/101321 | 2015/12/28 | 2015/12/28 | °ê¦æ¶°¹Î¦³¤½¥q | 09 |
| N/101322 | 2015/12/28 | 2015/12/28 | °ê¦æ¶°¹Î¦³¤½¥q | 14 |
| N/101323 | 2015/12/28 | 2015/12/28 | °ê¦æ¶°¹Î¦³¤½¥q | 18 |
| N/101324 | 2015/12/28 | 2015/12/28 | °ê¦æ¶°¹Î¦³¤½¥q | 25 |
| N/101325 | 2015/12/28 | 2015/12/28 | °ê¦æ¶°¹Î¦³¤½¥q | 09 |
| N/101326 | 2015/12/28 | 2015/12/28 | °ê¦æ¶°¹Î¦³¤½¥q | 14 |
| N/101327 | 2015/12/28 | 2015/12/28 | °ê¦æ¶°¹Î¦³¤½¥q | 18 |
| N/101328 | 2015/12/28 | 2015/12/28 | °ê¦æ¶°¹Î¦³¤½¥q | 25 |
| N/101332 | 2015/12/28 | 2015/12/28 | ¼Ö¥j³Ð·N³]p¦³¤½¥q | 28 |
| N/101334 | 2015/12/28 | 2015/12/28 | ¥_¨Ê¨ÊªF叁¨Õ³°¬B«×¹q¤l°Ó°È¦³¤½¥q BEIJING JINGDONG 360 DU E-COMMERCE LTD. |
35 |
| N/101335 | 2015/12/28 | 2015/12/28 | ¥_¨Ê¨ÊªF叁¨Õ³°¬B«×¹q¤l°Ó°È¦³¤½¥q BEIJING JINGDONG 360 DU E-COMMERCE LTD. |
35 |
| N/101340 | 2015/12/28 | 2015/12/28 | ©Ýºû«H®§¨t²ÎªÑ¥÷¦³¤½¥q | 09 |
| N/101341 | 2015/12/28 | 2015/12/28 | ©Ýºû«H®§¨t²ÎªÑ¥÷¦³¤½¥q | 25 |
| N/101342 | 2015/12/28 | 2015/12/28 | ©Ýºû«H®§¨t²ÎªÑ¥÷¦³¤½¥q | 28 |
| N/101343 | 2015/12/28 | 2015/12/28 | ©Ýºû«H®§¨t²ÎªÑ¥÷¦³¤½¥q | 41 |
| N/101344 | 2015/12/28 | 2015/12/28 | ©Ýºû«H®§¨t²ÎªÑ¥÷¦³¤½¥q | 42 |
| N/101355 | 2015/12/28 | 2015/12/28 | ¿à°¶¹F LAI WAI TAT |
36 |
| N/101356 | 2015/12/28 | 2015/12/28 | ¼s¹F¹«~¥ø·~¦³¤½¥q | 05 |
| N/101357 | 2015/12/28 | 2015/12/28 | Reed Elsevier Properties SA | 09 |
| N/101358 | 2015/12/28 | 2015/12/28 | Reed Elsevier Properties SA | 16 |
| N/101359 | 2015/12/28 | 2015/12/28 | Reed Elsevier Properties SA | 35 |
| N/101360 | 2015/12/28 | 2015/12/28 | Reed Elsevier Properties SA | 36 |
| N/101361 | 2015/12/28 | 2015/12/28 | Reed Elsevier Properties SA | 38 |
| N/101362 | 2015/12/28 | 2015/12/28 | Reed Elsevier Properties SA | 41 |
| N/101363 | 2015/12/28 | 2015/12/28 | Reed Elsevier Properties SA | 42 |
| N/101364 | 2015/12/28 | 2015/12/28 | Reed Elsevier Properties SA | 44 |
| N/101365 | 2015/12/28 | 2015/12/28 | Reed Elsevier Properties SA | 45 |
| N/101366 | 2015/12/28 | 2015/12/28 | Reed Elsevier Properties SA | 09 |
| N/101367 | 2015/12/28 | 2015/12/28 | Reed Elsevier Properties SA | 16 |
| N/101368 | 2015/12/28 | 2015/12/28 | Reed Elsevier Properties SA | 35 |
| N/101369 | 2015/12/28 | 2015/12/28 | Reed Elsevier Properties SA | 36 |
| N/101370 | 2015/12/28 | 2015/12/28 | Reed Elsevier Properties SA | 38 |
| N/101371 | 2015/12/28 | 2015/12/28 | Reed Elsevier Properties SA | 41 |
| N/101372 | 2015/12/28 | 2015/12/28 | Reed Elsevier Properties SA | 42 |
| N/101373 | 2015/12/28 | 2015/12/28 | Reed Elsevier Properties SA | 44 |
| N/101374 | 2015/12/28 | 2015/12/28 | Reed Elsevier Properties SA | 45 |
| N/101375 | 2015/12/28 | 2015/12/28 | ²`¦`¥««¢¸Ì³q¹ê·~¦³¤½¥q SHENZHEN HALI-POWER INDUSTRIAL CO., LTD. |
09 |
| N/101376 | 2015/12/28 | 2015/12/28 | Ascent Solar Technologies, Inc. | 09 |
| N/101380 | 2015/12/28 | 2015/12/28 | Viceroy Cayman Limited | 43 |
| N/101381 | 2015/12/28 | 2015/12/28 | ²`¦`É]ªÝ¥Ð¥ÍºA¤uµ{ªÑ¥÷¦³¤½¥q | 01 |
| N/101382 | 2015/12/28 | 2015/12/28 | LOUIS XIII Holdings Limited | 39 |
| N/101383 | 2015/12/28 | 2015/12/28 | LOUIS XIII Holdings Limited | 41 |
| N/101384 | 2015/12/28 | 2015/12/28 | LOUIS XIII Holdings Limited | 43 |
| N/101385 | 2015/12/28 | 2015/12/28 | LOUIS XIII Holdings Limited | 39 |
| N/101386 | 2015/12/28 | 2015/12/28 | LOUIS XIII Holdings Limited | 41 |
| N/101387 | 2015/12/28 | 2015/12/28 | LOUIS XIII Holdings Limited | 43 |
| N/101388 | 2015/12/28 | 2015/12/28 | LOUIS XIII Holdings Limited | 39 |
| N/101389 | 2015/12/28 | 2015/12/28 | LOUIS XIII Holdings Limited | 41 |
| N/101390 | 2015/12/28 | 2015/12/28 | LOUIS XIII Holdings Limited | 43 |
| N/101391 | 2015/12/28 | 2015/12/28 | LOUIS XIII Holdings Limited | 41 |
| N/101392 | 2015/12/28 | 2015/12/28 | LOUIS XIII Holdings Limited | 43 |
| N/101393 | 2015/12/28 | 2015/12/28 | LOUIS XIII Holdings Limited | 44 |
| N/101394 | 2015/12/28 | 2015/12/28 | LOUIS XIII Holdings Limited | 14 |
| N/101395 | 2015/12/28 | 2015/12/28 | LOUIS XIII Holdings Limited | 25 |
| N/101396 | 2015/12/28 | 2015/12/28 | LOUIS XIII Holdings Limited | 35 |
| N/101397 | 2015/12/28 | 2015/12/28 | LOUIS XIII Holdings Limited | 39 |
| N/101398 | 2015/12/28 | 2015/12/28 | LOUIS XIII Holdings Limited | 44 |
| N/101399 | 2015/12/28 | 2015/12/28 | ®è¦¡·|ªÀ³Ç®¦¯S JNT CO., LTD. |
43 |
| N/101400 | 2015/12/28 | 2015/12/28 | ®è¦¡·|ªÀ³Ç®¦¯S JNT CO., LTD. |
43 |
| N/101401 | 2015/12/28 | 2015/12/28 | ®è¦¡·|ªÀ³Ç®¦¯S JNT CO., LTD. |
43 |
| N/101402 | 2015/12/28 | 2015/12/28 | ³°¶¶Áø | 05 |
| N/101403 | 2015/12/28 | 2015/12/28 | ³°¶¶Áø | 05 |
| N/101404 | 2015/12/28 | 2015/12/28 | ¦¶¯S¬Ã | 05 |
| N/101408 | 2015/12/28 | 2015/12/28 | INTEX MARKETING LTD. | 36 |
| N/101409 | 2015/12/28 | 2015/12/28 | INTEX MARKETING LTD. | 37 |
| N/101410 | 2015/12/28 | 2015/12/28 | INTEX MARKETING LTD. | 36 |
| N/101411 | 2015/12/28 | 2015/12/28 | INTEX MARKETING LTD. | 37 |
| N/101412 | 2015/12/28 | 2015/12/28 | INTEX MARKETING LTD. | 36 |
| N/101413 | 2015/12/28 | 2015/12/28 | INTEX MARKETING LTD. | 37 |
| N/101414 | 2015/12/28 | 2015/12/28 | INTEX MARKETING LTD. | 36 |
| N/101415 | 2015/12/28 | 2015/12/28 | INTEX MARKETING LTD. | 37 |
| N/101416 | 2015/12/28 | 2015/12/28 | Kabushiki Kaisha Fukujuen, also trading as Fukujuen Company Limited | 30 |
| N/101417 | 2015/12/28 | 2015/12/28 | J«G§g Wu Leong Kuan |
18 |
| N/101418 | 2015/12/28 | 2015/12/28 | J«G§g Wu Leong Kuan |
18 |
| N/101419 | 2015/12/28 | 2015/12/28 | J«G§g Wu Leong Kuan |
18 |
| N/101420 | 2015/12/28 | 2015/12/28 | J«G§g Wu Leong Kuan |
25 |
| N/101421 | 2015/12/28 | 2015/12/28 | J«G§g Wu Leong Kuan |
25 |
| N/101422 | 2015/12/28 | 2015/12/28 | J«G§g Wu Leong Kuan |
25 |
| N/101424 | 2015/12/28 | 2015/12/28 | ALFASIGMA S.p.A. | 03 |
| N/101425 | 2015/12/28 | 2015/12/28 | ALFASIGMA S.p.A. | 05 |
| N/101426 | 2015/12/28 | 2015/12/28 | ALFASIGMA S.p.A. | 10 |
| N/101427 | 2015/12/28 | 2015/12/28 | Hop Lun Fashions Limited | 25 |
| N/101428 | 2015/12/28 | 2015/12/28 | Hop Lun Fashions Limited | 35 |
| N/101429 | 2015/12/28 | 2015/12/28 | ùµú·Ê LAM WENG TOU |
30 |
| N/101430 | 2015/12/28 | 2015/12/28 | »A¨©¥d¹s°âºÞ²z¦³¤½¥q TRIBECA RETAIL MANAGEMENT LIMITED |
06 |
| N/101431 | 2015/12/28 | 2015/12/28 | »A¨©¥d¹s°âºÞ²z¦³¤½¥q TRIBECA RETAIL MANAGEMENT LIMITED |
16 |
| N/101432 | 2015/12/28 | 2015/12/28 | »A¨©¥d¹s°âºÞ²z¦³¤½¥q TRIBECA RETAIL MANAGEMENT LIMITED |
19 |
| N/101433 | 2015/12/28 | 2015/12/28 | »A¨©¥d¹s°âºÞ²z¦³¤½¥q TRIBECA RETAIL MANAGEMENT LIMITED |
35 |
| N/101434 | 2015/12/28 | 2015/12/28 | »A¨©¥d¹s°âºÞ²z¦³¤½¥q TRIBECA RETAIL MANAGEMENT LIMITED |
36 |
| N/101435 | 2015/12/28 | 2015/12/28 | »A¨©¥d¹s°âºÞ²z¦³¤½¥q TRIBECA RETAIL MANAGEMENT LIMITED |
39 |
| N/101436 | 2015/12/28 | 2015/12/28 | »A¨©¥d¹s°âºÞ²z¦³¤½¥q TRIBECA RETAIL MANAGEMENT LIMITED |
41 |
| N/101437 | 2015/12/28 | 2015/12/28 | §dÄR²ú | 03 |
| N/101438 | 2015/12/28 | 2015/12/28 | §dÄR²ú | 21 |
| N/101439 | 2015/12/28 | 2015/12/28 | ¤¤³q§Ö»¼ªÑ¥÷¦³¤½¥q | 39 |
| N/101445 | 2015/12/28 | 2015/12/28 | Universal Entertainment Corporation | 09 |
| N/101446 | 2015/12/28 | 2015/12/28 | Universal Entertainment Corporation | 09 |
| N/101447 | 2015/12/28 | 2015/12/28 | Walgreens Boots Alliance, Inc. | 03 |
| N/101448 | 2015/12/28 | 2015/12/28 | Walgreens Boots Alliance, Inc. | 05 |
| N/101449 | 2015/12/28 | 2015/12/28 | Walgreens Boots Alliance, Inc. | 10 |
| N/101450 | 2015/12/28 | 2015/12/28 | Walgreens Boots Alliance, Inc. | 35 |
| N/101451 | 2015/12/28 | 2015/12/28 | Walgreens Boots Alliance, Inc. | 39 |
| N/101452 | 2015/12/28 | 2015/12/28 | Walgreens Boots Alliance, Inc. | 40 |
| N/101453 | 2015/12/28 | 2015/12/28 | Walgreens Boots Alliance, Inc. | 42 |
| N/101454 | 2015/12/28 | 2015/12/28 | Walgreens Boots Alliance, Inc. | 44 |
| N/101455 | 2015/12/28 | 2015/12/28 | ±i²QÀR Chang Shu-Ching |
32 |
| N/101467 | 2015/12/28 | 2015/12/28 | General Mills Foods Asia Limited | 29 |
| N/101468 | 2015/12/28 | 2015/12/28 | General Mills Foods Asia Limited | 30 |
| N/101473 | 2015/12/28 | 2015/12/28 | YOKOYAMA JOZO LIMITED PARTNERSHIP | 30 |
| N/101474 | 2015/12/28 | 2015/12/28 | YOKOYAMA JOZO LIMITED PARTNERSHIP | 30 |
| N/101475 | 2015/12/28 | 2015/12/28 | FEDERATION INTERNATIONALE DE L¡¦AUTOMOBILE | 35 |
| N/101476 | 2015/12/28 | 2015/12/28 | FEDERATION INTERNATIONALE DE L¡¦AUTOMOBILE | 41 |
| N/101484 | 2015/12/28 | 2015/12/28 | ¹Å¤åÄR¡]ºÖ«Ø¡^¤Æ§©«~¦³¤½¥q | 03 |
| N/101485 | 2015/12/28 | 2015/12/28 | ¼B°ê¨ä | 44 |
| N/101487 | 2015/12/28 | 2015/12/28 | Bristol-Myers Squibb Company | 05 |
| N/101488 | 2015/12/28 | 2015/12/28 | Bristol-Myers Squibb Company | 05 |
| N/101489 | 2015/12/28 | 2015/12/28 | «Ø·~¶T©ö¦³¤½¥q | 30 |
| N/101490 | 2015/12/28 | 2015/12/28 | MACAU TRAILHIKER LIMITADA | 41 |
| N/101491 | 2015/12/28 | 2015/12/28 | ¦¿¦è¥¿³Õ¹ê·~¦³¤½¥q | 25 |
| N/101494 | 2015/12/28 | 2015/12/28 | ·s§Q·³ï¦³¤½¥q Sun Lee Air Duct Limited |
06 |
| N/101495 | 2015/12/28 | 2015/12/28 | ¬Ó®a°¨¼w¨½¨¬²yѼֳ¡ REAL MADRID CLUB DE FUTBOL |
09 |
| N/101496 | 2015/12/28 | 2015/12/28 | ¬Ó®a°¨¼w¨½¨¬²yѼֳ¡ REAL MADRID CLUB DE FUTBOL |
16 |
| N/101497 | 2015/12/28 | 2015/12/28 | ¬Ó®a°¨¼w¨½¨¬²yѼֳ¡ REAL MADRID CLUB DE FUTBOL |
18 |
| N/101498 | 2015/12/28 | 2015/12/28 | ¼sªF®ü½÷¹«~¦³¤½¥q | 29 |
| N/101499 | 2015/12/28 | 2015/12/28 | ¼sªF®ü½÷¹«~¦³¤½¥q | 30 |
| N/101500 | 2015/12/28 | 2015/12/28 | ¼sªF®ü½÷¹«~¦³¤½¥q | 29 |
| N/101501 | 2015/12/28 | 2015/12/28 | ¼sªF®ü½÷¹«~¦³¤½¥q | 30 |
| N/101503 | 2015/12/28 | 2015/12/28 | mixi, Inc. | 09 |
| N/101504 | 2015/12/28 | 2015/12/28 | mixi, Inc. | 41 |
| N/101505 | 2015/12/28 | 2015/12/28 | mixi, Inc. | 09 |
| N/101506 | 2015/12/28 | 2015/12/28 | mixi, Inc. | 41 |
| N/101507 | 2015/12/28 | 2015/12/28 | l¥Í¦æ¦³¤½¥q | 03 |
| N/101508 | 2015/12/28 | 2015/12/28 | l¥Í¦æ¦³¤½¥q | 05 |
| N/101509 | 2015/12/28 | 2015/12/28 | l¥Í¦æ¦³¤½¥q | 30 |
| N/101510 | 2015/12/28 | 2015/12/28 | l¥Í¦æ¦³¤½¥q | 32 |
| N/101512 | 2015/12/28 | 2015/12/28 | Bally Gaming, Inc. dba Bally Technologies | 09 |
| N/101520 | 2015/12/28 | 2015/12/28 | Bayer Intellectual Property GmbH | 05 |
| N/101527 | 2015/12/28 | 2015/12/28 | §®¾ú°ª®T¼Ö»s§@¦³¤½¥q | 35 |
| N/101528 | 2015/12/28 | 2015/12/28 | §®¾ú°ª®T¼Ö»s§@¦³¤½¥q | 41 |
| N/101534 | 2015/12/28 | 2015/12/28 | ²`¦`¤j¦Ì´¼Ápºôµ¸ªÑ¥÷¤½¥q | 09 |
| N/101535 | 2015/12/28 | 2015/12/28 | Àu¥§¬ì³]p¤½¥q UNIQUE DESIGN CO., LTD. |
05 |
| N/101536 | 2015/12/28 | 2015/12/28 | ªL¬üº½ Lam Mei Io |
03 |
| N/101537 | 2015/12/28 | 2015/12/28 | ¥dµÜ¬ü¤Æ§©«~¦³¤½¥q COLOURMIX COSMETICS COMPANY LIMITED |
03 |
| N/101538 | 2015/12/28 | 2015/12/28 | ¥dµÜ¬ü¤Æ§©«~¦³¤½¥q COLOURMIX COSMETICS COMPANY LIMITED |
35 |
| N/101539 | 2015/12/28 | 2015/12/28 | Universal Entertainment Corporation | 09 |
| N/101540 | 2015/12/28 | 2015/12/28 | Universal Entertainment Corporation | 09 |
| N/101541 | 2015/12/28 | 2015/12/28 | Boyaa Online Game Development (SHENZHEN) CO., LTD | 41 |
| N/101545 | 2015/12/28 | 2015/12/28 | FÁBRICAS LUSITANA ¡V PRODUTOS ALIMENTARES, S.A. | 29 |
| N/101546 | 2015/12/28 | 2015/12/28 | FÁBRICAS LUSITANA ¡V PRODUTOS ALIMENTARES, S.A. | 30 |
| N/101547 | 2015/12/28 | 2015/12/28 | FÁBRICAS LUSITANA ¡V PRODUTOS ALIMENTARES, S.A. | 29 |
| N/101548 | 2015/12/28 | 2015/12/28 | FÁBRICAS LUSITANA ¡V PRODUTOS ALIMENTARES, S.A. | 30 |
| N/101549 | 2015/12/28 | 2015/12/28 | Associação de Intercâmbio Cultural Sino-Macau | 41 |
| N/101550 | 2015/12/28 | 2015/12/28 | Associação de Intercâmbio Cultural Sino-Macau | 41 |
| N/101551 | 2015/12/28 | 2015/12/28 | Takeda Pharmaceutical Company Limited | 05 |
| N/101554 | 2015/12/28 | 2015/12/28 | ñK¤l±d Kong Chi Hong |
43 |
| N/101555 | 2015/12/28 | 2015/12/28 | ñK¤l±d Kong Chi Hong |
43 |
| N/101556 | 2015/12/28 | 2015/12/28 | Samsonite IP Holdings S.àr.l. | 35 |
| N/101557 | 2015/12/28 | 2015/12/28 | Samsonite IP Holdings S.àr.l. | 35 |
| N/101558 | 2015/12/28 | 2015/12/28 | Samsonite IP Holdings S.àr.l. | 35 |
| N/101559 | 2015/12/28 | 2015/12/28 | Samsonite IP Holdings S.àr.l. | 35 |
| N/101560 | 2015/12/28 | 2015/12/28 | ²ø¬üÄõ | 43 |
| N/101561 | 2015/12/28 | 2015/12/28 | ²ø¬üÄõ | 43 |
| N/101562 | 2015/12/28 | 2015/12/28 | ¤¤¤s¥«½÷¹ÏÄ˶T©ö¦³¤½¥q | 03 |
| N/101563 | 2015/12/28 | 2015/12/28 | ¤¤¤s¥«½÷¹ÏÄ˶T©ö¦³¤½¥q | 35 |
| N/101568 | 2015/12/28 | 2015/12/28 | ¤¤°ê«Ø¿v°Ó¼Ð¦³¤½¥q CSCEC Trade Mark Limited |
19 |
| N/101569 | 2015/12/28 | 2015/12/28 | ¤¤°ê«Ø¿v°Ó¼Ð¦³¤½¥q CSCEC Trade Mark Limited |
36 |
| N/101570 | 2015/12/28 | 2015/12/28 | ¤¤°ê«Ø¿v°Ó¼Ð¦³¤½¥q CSCEC Trade Mark Limited |
37 |
| N/101571 | 2015/12/28 | 2015/12/28 | ¤¤°ê«Ø¿v°Ó¼Ð¦³¤½¥q CSCEC Trade Mark Limited |
38 |
| N/101572 | 2015/12/28 | 2015/12/28 | ¤¤°ê«Ø¿v°Ó¼Ð¦³¤½¥q CSCEC Trade Mark Limited |
39 |
| N/101573 | 2015/12/28 | 2015/12/28 | ¤¤°ê«Ø¿v°Ó¼Ð¦³¤½¥q CSCEC Trade Mark Limited |
40 |
| N/101574 | 2015/12/28 | 2015/12/28 | ¤¤°ê«Ø¿v°Ó¼Ð¦³¤½¥q CSCEC Trade Mark Limited |
42 |
| N/101575 | 2015/12/28 | 2015/12/28 | ¤¤°ê«Ø¿v°Ó¼Ð¦³¤½¥q CSCEC Trade Mark Limited |
19 |
| N/101576 | 2015/12/28 | 2015/12/28 | ¤¤°ê«Ø¿v°Ó¼Ð¦³¤½¥q CSCEC Trade Mark Limited |
36 |
| N/101577 | 2015/12/28 | 2015/12/28 | ¤¤°ê«Ø¿v°Ó¼Ð¦³¤½¥q CSCEC Trade Mark Limited |
37 |
| N/101578 | 2015/12/28 | 2015/12/28 | ¤¤°ê«Ø¿v°Ó¼Ð¦³¤½¥q CSCEC Trade Mark Limited |
38 |
| N/101579 | 2015/12/28 | 2015/12/28 | ¤¤°ê«Ø¿v°Ó¼Ð¦³¤½¥q CSCEC Trade Mark Limited |
39 |
| N/101580 | 2015/12/28 | 2015/12/28 | ¤¤°ê«Ø¿v°Ó¼Ð¦³¤½¥q CSCEC Trade Mark Limited |
40 |
| N/101581 | 2015/12/28 | 2015/12/28 | ¤¤°ê«Ø¿v°Ó¼Ð¦³¤½¥q CSCEC Trade Mark Limited |
42 |
| N/101582 | 2015/12/28 | 2015/12/28 | ¨Õ§Q§ë¸ê¦³¤½¥q Million Vantage Investment Limited |
03 |
| N/101583 | 2015/12/28 | 2015/12/28 | ¨Õ§Q§ë¸ê¦³¤½¥q Million Vantage Investment Limited |
05 |
| N/101589 | 2015/12/28 | 2015/12/28 | KIDZANIA, S.A.P.I. DE C.V. | 41 |
| N/101590 | 2015/12/28 | 2015/12/28 | l¥Í¦æ¦³¤½¥q | 03 |
| N/101591 | 2015/12/28 | 2015/12/28 | l¥Í¦æ¦³¤½¥q | 29 |
| N/101592 | 2015/12/28 | 2015/12/28 | l¥Í¦æ¦³¤½¥q | 30 |
| N/101593 | 2015/12/28 | 2015/12/28 | l¥Í¦æ¦³¤½¥q | 31 |
| N/101594 | 2015/12/28 | 2015/12/28 | l¥Í¦æ¦³¤½¥q | 32 |
| N/101595 | 2015/12/28 | 2015/12/28 | MEGMILK SNOW BRAND Co., Ltd. | 05 |
| N/101596 | 2015/12/28 | 2015/12/28 | Ûi¬_°ê»Ú¶T©ö¦³¤½¥q | 03 |
| N/101597 | 2015/12/28 | 2015/12/28 | Ûi¬_°ê»Ú¶T©ö¦³¤½¥q | 03 |
| N/101598 | 2015/12/28 | 2015/12/28 | ¦ò¤s¥«¦è¥îªA¹¢¦³¤½¥q | 18 |
| N/101599 | 2015/12/28 | 2015/12/28 | ¦ò¤s¥«¦è¥îªA¹¢¦³¤½¥q | 25 |
| N/101600 | 2015/12/28 | 2015/12/28 | ¦ò¤s¥«¦è¥îªA¹¢¦³¤½¥q | 18 |
| N/101601 | 2015/12/28 | 2015/12/28 | ¦ò¤s¥«¦è¥îªA¹¢¦³¤½¥q | 25 |
| N/101602 | 2015/12/28 | 2015/12/28 | ¦ò¤s¥«¦è¥îªA¹¢¦³¤½¥q | 18 |
| N/101603 | 2015/12/28 | 2015/12/28 | ¦ò¤s¥«¦è¥îªA¹¢¦³¤½¥q | 25 |
| N/101604 | 2015/12/28 | 2015/12/28 | ¶³«n·¿«n¥jÃý¯ù·~¦³¤½¥q | 30 |
| N/101608 | 2015/12/28 | 2015/12/28 | ¯S¨ô¶°¹Î¦³¤½¥q Quality Mark Group Limited |
03 |
| N/101609 | 2015/12/28 | 2015/12/28 | ¯S¨ô¶°¹Î¦³¤½¥q Quality Mark Group Limited |
05 |
| N/101610 | 2015/12/28 | 2015/12/28 | ¯S¨ô¶°¹Î¦³¤½¥q Quality Mark Group Limited |
09 |
| N/101611 | 2015/12/28 | 2015/12/28 | ¯S¨ô¶°¹Î¦³¤½¥q Quality Mark Group Limited |
10 |
| N/101612 | 2015/12/28 | 2015/12/28 | ¯S¨ô¶°¹Î¦³¤½¥q Quality Mark Group Limited |
16 |
| N/101613 | 2015/12/28 | 2015/12/28 | ¯S¨ô¶°¹Î¦³¤½¥q Quality Mark Group Limited |
35 |
| N/101614 | 2015/12/28 | 2015/12/28 | ¯S¨ô¶°¹Î¦³¤½¥q Quality Mark Group Limited |
36 |
| N/101615 | 2015/12/28 | 2015/12/28 | ¯S¨ô¶°¹Î¦³¤½¥q Quality Mark Group Limited |
41 |
| N/101616 | 2015/12/28 | 2015/12/28 | ¯S¨ô¶°¹Î¦³¤½¥q Quality Mark Group Limited |
44 |
| N/101617 | 2015/12/28 | 2015/12/28 | ¯S¨ô¶°¹Î¦³¤½¥q Quality Mark Group Limited |
35 |
| N/101618 | 2015/12/28 | 2015/12/28 | ¯S¨ô¶°¹Î¦³¤½¥q Quality Mark Group Limited |
36 |
| N/101619 | 2015/12/28 | 2015/12/28 | GALAXY ENTERTAINMENT LICENSING LIMITED | 16 |
| N/101620 | 2015/12/28 | 2015/12/28 | GALAXY ENTERTAINMENT LICENSING LIMITED | 25 |
| N/101621 | 2015/12/28 | 2015/12/28 | GALAXY ENTERTAINMENT LICENSING LIMITED | 28 |
| N/101622 | 2015/12/28 | 2015/12/28 | GALAXY ENTERTAINMENT LICENSING LIMITED | 41 |
| N/101633 | 2015/12/28 | 2015/12/28 | ´¿¾Ëµ{ CHANG HING CHENG |
21 |
| N/101634 | 2015/12/28 | 2015/12/28 | ´¿¾Ëµ{ CHANG HING CHENG |
10 |
| N/101635 | 2015/12/28 | 2015/12/28 | Astellas Pharma Inc. | 05 |
| N/101636 | 2015/12/28 | 2015/12/28 | Aristocrat Technologies Australia Pty Ltd | 28 |
| N/101637 | 2015/12/28 | 2015/12/28 | MARCHESINI GROUP S.P.A. | 07 |
| N/101638 | 2015/12/28 | 2015/12/28 | MARCHESINI GROUP S.P.A. | 09 |
| N/101639 | 2015/12/28 | 2015/12/28 | MARCHESINI GROUP S.P.A. | 37 |
| N/101640 | 2015/12/28 | 2015/12/28 | MARCHESINI GROUP S.P.A. | 07 |
| N/101641 | 2015/12/28 | 2015/12/28 | MARCHESINI GROUP S.P.A. | 09 |
| N/101642 | 2015/12/28 | 2015/12/28 | MARCHESINI GROUP S.P.A. | 37 |
| N/101643 | 2015/12/28 | 2015/12/28 | MARCHESINI GROUP S.P.A. | 07 |
| N/101644 | 2015/12/28 | 2015/12/28 | MARCHESINI GROUP S.P.A. | 09 |
| N/101645 | 2015/12/28 | 2015/12/28 | MARCHESINI GROUP S.P.A. | 37 |
| N/101649 | 2015/12/28 | 2015/12/28 | Richemont International SA | 14 |
| N/101650 | 2015/12/28 | 2015/12/28 | Richemont International SA | 14 |
| N/101651 | 2015/12/28 | 2015/12/28 | Richemont International SA | 14 |
| N/101652 | 2015/12/28 | 2015/12/28 | Dole Asia Holdings Pte. Ltd. | 29 |
| N/101653 | 2015/12/28 | 2015/12/28 | Dole Asia Holdings Pte. Ltd. | 29 |
| N/101654 | 2015/12/28 | 2015/12/28 | MACAU FISHERMAN¡¦S WHARF - COMPANHIA DE INVESTIMENTO INTERNACIONAL, S.A. | 43 |
| N/101655 | 2015/12/28 | 2015/12/28 | MACAU FISHERMAN¡¦S WHARF - COMPANHIA DE INVESTIMENTO INTERNACIONAL, S.A. | 43 |
| N/101656 | 2015/12/28 | 2015/12/28 | MACAU FISHERMAN¡¦S WHARF - COMPANHIA DE INVESTIMENTO INTERNACIONAL, S.A. | 43 |
| N/101657 | 2015/12/28 | 2015/12/28 | MACAU FISHERMAN¡¦S WHARF - COMPANHIA DE INVESTIMENTO INTERNACIONAL, S.A. | 43 |
| N/101658 | 2015/12/28 | 2015/12/28 | ¥|¤t¦nÂå¥ÍÃÄ·~¶°¹Î¦³¤½¥q SICHUAN GOODDOCTOR PHARMACEUTICAL GROUP CO., LTD. |
05 |
| N/101661 | 2015/12/28 | 2015/12/28 | ªF²ð»Ê°ò¹q¤l¬ì§Þ¶°¹Î¦³¤½¥q | 09 |
| N/101662 | 2015/12/28 | 2015/12/28 | KIDZANIA, S.A.P.I. DE C.V. | 16 |
| N/101663 | 2015/12/28 | 2015/12/28 | KIDZANIA, S.A.P.I. DE C.V. | 18 |
| N/101664 | 2015/12/28 | 2015/12/28 | KIDZANIA, S.A.P.I. DE C.V. | 25 |
| N/101665 | 2015/12/28 | 2015/12/28 | KIDZANIA, S.A.P.I. DE C.V. | 28 |
| N/101666 | 2015/12/28 | 2015/12/28 | KIDZANIA, S.A.P.I. DE C.V. | 16 |
| N/101667 | 2015/12/28 | 2015/12/28 | KIDZANIA, S.A.P.I. DE C.V. | 18 |
| N/101668 | 2015/12/28 | 2015/12/28 | KIDZANIA, S.A.P.I. DE C.V. | 25 |
| N/101669 | 2015/12/28 | 2015/12/28 | KIDZANIA, S.A.P.I. DE C.V. | 28 |
| N/101670 | 2015/12/28 | 2015/12/28 | TRICOR SERVICES LIMITED | 16 |
| N/101671 | 2015/12/28 | 2015/12/28 | TRICOR SERVICES LIMITED | 35 |
| N/101672 | 2015/12/28 | 2015/12/28 | TRICOR SERVICES LIMITED | 36 |
| N/101673 | 2015/12/28 | 2015/12/28 | TRICOR SERVICES LIMITED | 16 |
| N/101674 | 2015/12/28 | 2015/12/28 | TRICOR SERVICES LIMITED | 35 |
| N/101675 | 2015/12/28 | 2015/12/28 | TRICOR SERVICES LIMITED | 36 |
| N/101676 | 2015/12/28 | 2015/12/28 | TRICOR SERVICES LIMITED | 16 |
| N/101677 | 2015/12/28 | 2015/12/28 | TRICOR SERVICES LIMITED | 35 |
| N/101678 | 2015/12/28 | 2015/12/28 | TRICOR SERVICES LIMITED | 36 |
| N/101679 | 2015/12/28 | 2015/12/28 | ST HOLDING B.V. | 03 |
| N/101680 | 2015/12/28 | 2015/12/28 | ST HOLDING B.V. | 18 |
| N/101681 | 2015/12/28 | 2015/12/28 | ST HOLDING B.V. | 25 |
| N/101682 | 2015/12/28 | 2015/12/28 | ST HOLDING B.V. | 03 |
| N/101683 | 2015/12/28 | 2015/12/28 | ST HOLDING B.V. | 18 |
| N/101684 | 2015/12/28 | 2015/12/28 | ST HOLDING B.V. | 25 |
| N/101690 | 2015/12/28 | 2015/12/28 | Gymworld Co., Ltd. | 28 |
| N/101693 | 2015/12/28 | 2015/12/28 | Bally Gaming, Inc. dba Bally Technologies | 09 |
| N/101694 | 2015/12/28 | 2015/12/28 | Bally Gaming, Inc. dba Bally Technologies | 09 |
| N/101702 | 2015/12/28 | 2015/12/28 | ¬P¥[©YÂE«ÂÃÄ·~¤½¥q SINGAPORE HEADWAY MEDICINE CO. |
05 |
| N/101704 | 2015/12/28 | 2015/12/28 | ¶À¹Å½÷ WONG KA FAI ¦ó¯CÀÚ HO CHON HOU |
42 |
| N/101705 | 2015/12/28 | 2015/12/28 | ®È¹C§½ | 09 |
| N/101706 | 2015/12/28 | 2015/12/28 | ®È¹C§½ | 16 |
| N/101707 | 2015/12/28 | 2015/12/28 | ®È¹C§½ | 35 |
| N/101708 | 2015/12/28 | 2015/12/28 | ®È¹C§½ | 39 |
| N/101709 | 2015/12/28 | 2015/12/28 | ®È¹C§½ | 41 |
| N/101710 | 2015/12/28 | 2015/12/28 | ®È¹C§½ | 09 |
| N/101711 | 2015/12/28 | 2015/12/28 | ®È¹C§½ | 16 |
| N/101712 | 2015/12/28 | 2015/12/28 | ®È¹C§½ | 35 |
| N/101713 | 2015/12/28 | 2015/12/28 | ®È¹C§½ | 39 |
| N/101714 | 2015/12/28 | 2015/12/28 | ®È¹C§½ | 41 |
| N/101715 | 2015/12/28 | 2015/12/28 | ®È¹C§½ | 09 |
| N/101716 | 2015/12/28 | 2015/12/28 | ®È¹C§½ | 16 |
| N/101717 | 2015/12/28 | 2015/12/28 | ®È¹C§½ | 35 |
| N/101718 | 2015/12/28 | 2015/12/28 | ®È¹C§½ | 39 |
| N/101719 | 2015/12/28 | 2015/12/28 | ®È¹C§½ | 41 |
| N/101720 | 2015/12/28 | 2015/12/28 | ®È¹C§½ | 09 |
| N/101721 | 2015/12/28 | 2015/12/28 | ®È¹C§½ | 16 |
| N/101722 | 2015/12/28 | 2015/12/28 | ®È¹C§½ | 35 |
| N/101723 | 2015/12/28 | 2015/12/28 | ®È¹C§½ | 39 |
| N/101724 | 2015/12/28 | 2015/12/28 | ®È¹C§½ | 41 |
| N/101725 | 2015/12/28 | 2015/12/28 | ACCOR | 43 |
| N/101726 | 2015/12/28 | 2015/12/28 | ±çlµX Leong, In Kei |
25 |
| N/101727 | 2015/12/28 | 2015/12/28 | ¼s¦{¥«¹|½÷¹A·~µo®i¦³¤½¥q | 29 |
| N/101728 | 2015/12/28 | 2015/12/28 | ¼s¦{¥«¹|½÷¹A·~µo®i¦³¤½¥q | 31 |
| N/101729 | 2015/12/28 | 2015/12/28 | ªü¨½¤s¶°¹Î¦³¤½¥q | 34 |
| N/101730 | 2015/12/28 | 2015/12/28 | ªü¨½¤s¶°¹Î¦³¤½¥q | 34 |
| N/101731 | 2015/12/28 | 2015/12/28 | FAST RETAILING CO., LTD. | 24 |
| N/101732 | 2015/12/28 | 2015/12/28 | FAST RETAILING CO., LTD. | 25 |
| N/101733 | 2015/12/28 | 2015/12/28 | FAST RETAILING CO., LTD. | 35 |
| N/101738 | 2015/12/28 | 2015/12/28 | Celgene Corporation | 05 |
| N/101739 | 2015/12/28 | 2015/12/28 | OMNICOM INTERNATIONAL HOLDINGS INC. | 35 |
| N/101740 | 2015/12/28 | 2015/12/28 | OMNICOM INTERNATIONAL HOLDINGS INC. | 41 |
| N/101741 | 2015/12/28 | 2015/12/28 | OMNICOM INTERNATIONAL HOLDINGS INC. | 42 |
| N/101756 | 2015/12/28 | 2015/12/28 | KIDZANIA, S.A.P.I. DE C.V. | 16 |
| N/101757 | 2015/12/28 | 2015/12/28 | KIDZANIA, S.A.P.I. DE C.V. | 18 |
| N/101758 | 2015/12/28 | 2015/12/28 | KIDZANIA, S.A.P.I. DE C.V. | 25 |
| N/101759 | 2015/12/28 | 2015/12/28 | KIDZANIA, S.A.P.I. DE C.V. | 28 |
| N/101765 | 2015/12/28 | 2015/12/28 | ¼w°êÀu½è¤ÑµM°·±d²£«~¦³¤½¥q | 05 |
©Úµ´
| ½s¸¹ | §å¥Ü¤é´Á | ¥Ó½Ð¤H | Ãþ§O | ³Æµù ®Ú¾Ú12¤ë13¤é²Ä97/99/M¸¹ªk¥O |
| N/090291 | 2015/12/15 | Kerzner International Limited | 41 | ²Ä214±ø²Ä2´Úb¡^¶µ¡Aµ²¦X²Ä215±ø²Ä1´Ú¤Î²Ä9±ø²Ä1´Úc¡^¶µ¡A¾A¥Î©ó²Ä214±ø²Ä1´Úa¡^¶µ¡C |
| N/090292 | 2015/12/16 | Kerzner International Limited | 43 | ²Ä214±ø²Ä2´Úb¡^¶µ¡Aµ²¦X²Ä215±ø²Ä1´Ú¤Î²Ä9±ø²Ä1´Úc¡^¶µ¡A¾A¥Î©ó²Ä214±ø²Ä1´Úa¡^¶µ¡C |
| N/092344 | 2015/12/30 | ¤W®ü¥I¶O³q«H®§ªA°È¦³¤½¥q | 36 | ²Ä214±ø²Ä3´Úªº¬Û¤Ï¡Aµ²¦X²Ä199±ø²Ä1´Úb¡^¶µ¡C |
| N/092345 | 2015/12/30 | ¤W®ü¥I¶O³q«H®§ªA°È¦³¤½¥q | 38 | ²Ä214±ø²Ä3´Úªº¬Û¤Ï¡Aµ²¦X²Ä199±ø²Ä1´Úb¡^¶µ¡C |
Äò´Á
| ½s¸¹ | ||||||
| P/005786 (5645-M) |
P/009245 (9021-M) |
P/009247 (9023-M) |
P/010904 (10721-M) |
N/008199 | N/008200 | N/008270 |
| N/008271 | N/008272 | N/008427 | N/008440 | N/008472 | N/008473 | N/008474 |
| N/008475 | N/008835 | N/008903 | N/008904 | N/009060 | N/009061 | N/009278 |
| N/009279 | N/009330 | N/009373 | N/030627 | N/030629 | N/034806 | N/034807 |
| N/034808 | N/034809 | N/035122 | N/035390 | N/035711 | N/035712 | N/036273 |
| N/036825 | N/037248 | N/037249 | N/037250 | N/037251 | N/037252 | N/037253 |
| N/037254 | N/037255 | N/037256 | N/037257 | N/037258 | N/037259 | N/037260 |
| N/037261 | N/037262 | N/037263 | N/037264 | N/037265 | N/037266 | N/037267 |
| N/037268 | N/037269 | N/037270 | N/037271 | N/037272 | N/037273 | N/037274 |
| N/037275 | N/037276 | N/037277 | N/037278 | N/037279 | N/037280 | N/037281 |
| N/037282 | N/037283 | N/037284 | N/037285 | N/037286 | N/037287 | N/037288 |
| N/037289 | N/037290 | N/037291 | N/037292 | N/037293 | N/037294 | N/037295 |
| N/037296 | N/037297 | N/037298 | N/037299 | N/037300 | N/037301 | N/037302 |
| N/037303 | N/037304 | N/037305 | N/037306 | N/037307 | N/037308 | N/037309 |
| N/037310 | N/037311 | N/037312 | N/037313 | N/037314 | N/037315 | N/037316 |
| N/037317 | N/037318 | N/037319 | N/037320 | N/037321 | N/037322 | N/037323 |
| N/037324 | N/037325 | N/037326 | N/037327 | N/037328 | N/037329 | N/037330 |
| N/037331 | N/037332 | N/037333 | N/037334 | N/037335 | N/037336 | N/037337 |
| N/037414 | N/037415 | N/037521 | N/037522 | N/037658 | N/037659 | N/038077 |
| N/038078 | N/038211 | N/038246 | N/038275 | N/038276 | N/038296 | N/038317 |
| N/038318 | N/038319 | N/038320 | N/038324 | N/038327 | N/038328 | N/038329 |
| N/038330 | N/038331 | N/038332 | N/038498 | N/038499 | N/038500 | N/038511 |
| N/038512 | N/038513 | N/038808 | N/038809 | N/038810 | N/039175 | N/039177 |
| N/039461 | N/039462 | N/040445 | N/040446 | N/040447 | N/040448 | N/040587 |
| N/040588 | N/040589 | N/040590 | N/040591 | N/040592 | N/040593 | N/040594 |
| N/040595 | N/040596 | N/040597 | N/040598 | N/040681 | N/040819 | N/040820 |
| N/040821 | N/040822 | N/040823 | N/040824 | N/040825 | N/040826 | N/040827 |
| N/040828 | N/040829 | N/040830 | N/040831 | N/040832 | N/040833 | N/040834 |
| N/040835 | N/040836 | N/040837 | N/040838 | N/040973 | ||
ªþµù
| ½s¸¹ | §å¥Ü¤é´Á | ªþµù¤§©Ê½è | Åv§Q¤H/¥Ó½Ð¤H | ¤º®e | ||
| P/009245 (9021-M) P/009247 (9023-M) |
2015/12/14 | §ó§ï»{§O¸ê®Æ | THE READER¡¦S DIGEST ASSOCIATION, INC. | Trusted Media Brands, Inc. | ||
| 2015/12/14 | §ó§ï¦a§} | Trusted Media Brands, Inc. | 44 South Broadway, White Plains, NY 10601 USA | |||
| P/013580 (13501-M) P/013581 (13502-M) |
P/013582 (13503-M) P/013583 (13504-M) |
2015/12/28 | ÂàÅý | H.J. HEINZ COMPANY | H.J. Heinz Company Brands LLC, com sede em One PPG Place, Pittsburgh, PA 15222, United States of America | |
| N/001981 N/001982 N/001983 N/001984 N/001985 N/001986 N/001987 N/001992 N/001993 |
N/001994 N/001995 N/001996 N/001997 N/001998 N/001999 N/002000 N/002001 |
2015/12/29 | ¦X¨ÖÂàÅý | Samsung C&T Corporation | Cheil Industries Inc, com sede em 67, Sejong-daero, Jung-gu, Seoul, Republic of Korea (Taepyung-ro 2-ka) | |
| 2015/12/29 | §ó§ï»{§O¸ê®Æ | Cheil Industries Inc | Samsung C&T Corporation | |||
| N/008270 N/008271 N/008272 |
2015/12/30 | §ó§ï»{§O¸ê®Æ | GREEN MOUNTAIN COFFEE ROASTERS, INC. | Keurig Green Mountain, Inc. | ||
| N/008968 N/018159 |
N/018160 N/018161 |
2015/12/28 | §ó§ï¦a§} | ¦Ñ¤HÀYªA¹¢¦³¤½¥q | Praça das Portas do Cerco, n.º 84, Bloco 2, Edif. Jardins do Mar do Sul, 3.º andar D, Macau | |
| N/020060 | 2015/12/29 | ÂàÅý | A.P. MOLLER - MAERSK A/S | Maersk Line A/S, com sede em Esplanaden 50, 1263 Copenhagen K, Dinamarca | ||
| N/021547 | 2015/12/28 | §ó§ï¦a§} | ¦Ñ¤HÀYªA¹¢¦³¤½¥q Boutique Lou Ian Tao, Limitada |
Praça das Portas do Cerco, n.º 84, Bloco 2, Edif. Jardins do Mar do Sul, 3.º andar D, Macau | ||
| N/030979 N/030980 N/030981 |
N/030982 N/030983 N/030984 |
2015/12/28 | ÂàÅý | Ports Asia Holdings Limited | Ports Asia Holding (Hong Kong) Limited, com sede em Suite 102, 1st Floor, Sunbeam Centre, 27 Shing Yip Street, Kwun Tong, Kowloon, Hong Kong | |
| N/037395 | 2015/12/15 | §ó§ï¦a§} | Samsung Electronics Co., Ltd. | 129, Samsung-ro, Yeongtong-gu, Suwon-si, Gyeonggi-do, Republic of Korea | ||
| N/037521 N/037522 |
2015/12/30 | §ó§ï»{§O¸ê®Æ | GREEN MOUNTAIN COFFEE ROASTERS, INC. | Keurig Green Mountain, Inc. | ||
| N/037658 N/037659 |
2015/12/14 | §ó§ï»{§O¸ê®Æ | SHFL ENTERTAINMENT (AUSTRALASIA) PTY LIMITED | BALLY TECHNOLOGIES ANZ PTY LTD | ||
| N/037915 | 2015/12/29 | §ó§ï»{§O¸ê®Æ | KONINKLIJKE PHILIPS ELECTRONICS N.V. | Koninklijke Philips N.V. | ||
| 2015/12/29 | §ó§ï¦a§} | Koninklijke Philips N.V. | High Tech Campus 5, 5656 AE, Eindhoven, the Netherlands | |||
| 2015/12/29 | ÂàÅý | Koninklijke Philips N.V. | Gibson Innovations Belgium NV, com sede em Interleuvenlaan 76, 3001 Leuven, Belgium | |||
| N/045435 N/045436 N/045437 |
N/045561 N/045562 N/045563 |
2015/12/29 | ÂàÅý | Miss Universe L.P., LLLP | IMG Universe, LLC., com sede em 11 Madison Avenue New York, NY 10010 USA | |
| N/047826 | 2015/12/28 | §ó§ï»{§O¸ê®Æ | BaByliss S.A., uma sociedade anónima organizada segundo as leis francesas | Babyliss SARL | ||
| N/061771 N/061772 N/061773 |
2015/12/30 | ÂàÅý | ªQ§øÂt¤§¨ý°Ó¦æ | ªQ§øÂt¤§¨ý¦³¤½¥q, ¦a§}¬°¤¤°ê¥xÆW°ª¶¯¥«´ò¤º°Ï¼B®a¨½·s¿³µó66«Ñ1§Ë3¸¹1¼Ó | ||
| N/062704 | 2015/12/29 | §ó§ï»{§O¸ê®Æ | KONINKLIJKE PHILIPS ELECTRONICS N.V. | Koninklijke Philips N.V. | ||
| 2015/12/29 | §ó§ï¦a§} | Koninklijke Philips N.V. | High Tech Campus 5, 5656 AE, Eindhoven, the Netherlands | |||
| 2015/12/29 | ÂàÅý | Koninklijke Philips N.V. | Gibson Innovations Belgium NV, com sede em Interleuvenlaan 76, 3001 Leuven, Belgium | |||
| N/069064 N/069065 N/069066 N/069067 N/069068 |
N/069069 N/069070 N/069071 N/073724 |
2015/12/28 | ÂàÅý | H.J. Heinz Company | H.J. Heinz Company Brands LLC, com sede em One PPG Place, Pittsburgh, PA 15222, United States of America | |
| N/093943 N/093944 |
2015/12/15 | §ó§ï¦a§} | KABUSHIKI KAISHA POKELABO (POKELABO, INC.) | 6-10-1, Roppongi, Minato-Ku, Tokyo 1066112 Japan | ||
| N/098314 | 2015/12/28 | ÂàÅý | Zoetis LLC | Zoetis Services LLC, com sede em 100 Campus Drive, Florham Park, New Jersey 07932, United States of America | ||
| N/099072 | 2015/12/16 | ÂàÅý | ¿Dªù¼w´³ÃÍï«Ø§÷¦³¤½¥q | ¤¤¤s¥«¦è«Â¼p©Ð³]³Æ»s³y¦³¤½¥q¡A¦a§}¬°¤¤°ê¼sªF¬Ù¤¤¤s¥«¤pÆV¤u·~°Ï·R®ö¸ô1¸¹¿ì¤½¼Ó2¼Ó¤Î²Ä2¨®¶¡ | ||
| N/099131 N/099132 |
2015/12/15 | ÂàÅý | GLH°s©±¶°¹Î¦³¤½¥q GLH Hotels Group Limited |
GLHª¾ÃѲ£Åv±±ªÑ¦³¤½¥q¡A¦a§}¬°^°êÛ´°NW1 2PL¡Aº~´¶´µ¸ô75¸¹´µ¸¦ªâ´Ë¤j·H2¼h GLH IP Holdings Limited, com sede em 2nd Floor Stephenson House, 75 Hampstead Road, London NW1 2PL, United Kingdom |
||
| N/102874 | 2015/12/28 | §ó§ï¦a§} | Àڤ͡]¿Dªù¡^¦³¤½¥q | ¿Dªù°ª¤h¼w¤j°¨¸ô¥@¬ö»¨®x1¼Ó°Ó³õHçE | ||
Án©ú²§Ä³
| ½s¸¹ | ´£¥æ¤é´Á | ¥Ó½Ð¤H | Án©ú²§Ä³¤H |
| N/101829 | 2015/11/16 | ¼s¦{¥Õ¶³¤sÂåÃͰ¹ÎªÑ¥÷¦³¤½¥q Guangzhou Baiyunshan Pharmaceutical Holdings Co., Ltd. |
Multi Access Limited |
| N/101830 | 2015/11/16 | ¼s¦{¥Õ¶³¤sÂåÃͰ¹ÎªÑ¥÷¦³¤½¥q Guangzhou Baiyunshan Pharmaceutical Holdings Co., Ltd. |
Multi Access Limited |
| N/101831 | 2015/11/16 | ¼s¦{¥Õ¶³¤sÂåÃͰ¹ÎªÑ¥÷¦³¤½¥q Guangzhou Baiyunshan Pharmaceutical Holdings Co., Ltd. |
Multi Access Limited |
| N/102575 | 2015/12/07 | ´¿§e¥» | PUMA SE |
| N/102576 | 2015/12/07 | ´¿§e¥» | PUMA SE |
| N/102587 | 2015/12/11 | §õ¤pµØ | ¦¿Ä¬Ä¬¬ü¹F¾÷¹q¦³¤½¥q SUMEC MACHINERY & ELECTRIC CO., LTD. |
榏G
| ½s¸¹ | ´£¥æ¤é´Á | ¥Ó½Ð¤H | Án©ú²§Ä³¤H |
| N/100125 | 2015/12/15 | Suntory Beverage & Food Limited | HUGO BOSS Trade Mark Management GmbH & Co. KG |
| N/100201 | 2015/11/23 | GLAMCO CO., LTD. | Monster Energy Company |
Àç·~³õ©Ò¦WºÙ¤Î¼Ð»x¤§«OÅ@
¥Ó½Ð
®Ú¾Ú¸g¤Q¤G¤ë¤Q¤T¤é²Ä97/99/M¸¹ªk¥O®Ö㤧¡m¤u·~²£Åvªk«ß¨î«×¡n²Ä¤Q±ø¡B²Ä¤G¦Ê¥|¤Q¤T±ø¤Î²Ä¤G¦Ê¥|¤Q¥|±øªº³W©w¡A¤½§G¤U¦C¦b¿Dªù¯S§O¦æ¬F°Ï´£¥XªºÀç·~³õ©Ò¤§¦WºÙ¤Î¼Ð»xµn°O¥Ó½Ð¡A¦Û¥»³q§i¤½§G¤§¤é°_¨âÓ¤ë´Á¤º´£¥XÁn©ú²§Ä³¡C
½s¸¹ : E/000242
¥Ó½Ð¤é : 2015/11/16
¥Ó½Ð¤H : Â@ñ¯À\¶¼ºÞ²z¦³¤½¥q
¦a§} : ¿Dªù§º¥É¥Í¼s³õ235¦Ü287¸¹¤¤¤g¤j·H7¼ÓO«Ç
°êÄy : ®Ú¾Ú¿Dªùªk¨Ò¦¨¥ß
¦æ·~ : ´£¨Ñ¹ª«©M¶¼®ÆªA°È¡C
¦WºÙ©Î¼Ð»x :

¼Ð»xÃC¦â : ¬õ¡A¥Õ¡A¶Â¡A¦p¹Ï©Ò¥Ü¡C
½s¸¹ : E/000243
¥Ó½Ð¤é : 2015/11/18
¥Ó½Ð¤H : ¦¿½ü
¦a§} : Rua Central, Nº11-A, R/C Tung Sang, Macau
°êÄy : ¤¤°ê
¦æ·~ : ¶¼¹·~¡C
¦WºÙ©Î¼Ð»x :

®Ú¾Ú¸g¤Q¤G¤ë¤Q¤T¤é²Ä97/99/M¸¹ªk¥O®Ö㤧¡m¤u·~²£Åvªk«ß¨î«×¡n²Ä¤Q±ø²Ä¤@´Ú¤Î²Ä¤G´Úªº³W©w¡A¤½§G¤U¦C¦b¿Dªù¯S§O¦æ¬F°Ï´£¥XªºÀç·~³õ©Ò¦WºÙ¤Î¼Ð»xµn°O¥Ó½Ð¤§§å¥Ü¡A¨Ã«ö·Ó¦P¤@ªk³W²Ä¤G¦Ê¤C¤Q¤±ø¦Ü²Ä¤G¦Ê¤C¤Q¤C±øªº³W©w¡A¥i©ó¥»¤½§G¤é°_¤@Ó¤ë´Á¤º´N¤U¦C§å¥Ü¦Vªì¯Åªk°|´£°_¤W¶D¡C
§åµ¹
| ½s¸¹ | µn°O¤é´Á | §å¥Ü¤é´Á | Åv§Q¤H |
| E/000236 | 2015/12/28 | 2015/12/28 | ³¢Åv°í |
| E/000238 | 2015/12/28 | 2015/12/28 | «K¥Á¶°¹Î¦³¤½¥q |
µo©ú±M§Q©µ¦ù¤§«OÅ@
®Ú¾Ú¸g¤Q¤G¤ë¤Q¤T¤é²Ä97/99/M¸¹ªk¥O®Ö㤧¡m¤u·~²£Åvªk«ß¨î«×¡n²Ä¤Q±ø²Ä¤@´Ú¤Î²Ä¤G´Ú¡Aµ²¦X¡m°ê®aª¾ÃѲ£Åv§½»P¿Dªù¯S§O¦æ¬F°Ï¸gÀÙ§½Ãö©ó¦bª¾ÃѲ£Åv»â°ì¦X§@ªº¨óij¡n²Ä¥|±ø¤Î²Ä¤±øªº³W©w¡A¤½§G¤U¦C¦b¿Dªù¯S§O¦æ¬F°Ï´£¥Xªºµo©ú±M§Q©µ¦ù¥Ó½Ð¤§§å¥Ü¡A¨Ã«ö·Ó¦P¤@ªk³W²Ä¤G¦Ê¤C¤Q¤±ø¦Ü²Ä¤G¦Ê¤C¤Q¤C±øªº³W©w¡A¥i©ó¥»¤½§G¤é°_p¤@Ó¤ë´Á¤º´N¤U¦C§å¥Ü¦Vªì¯Åªk°|´£°_¤W¶D¡C
±ÂÅvªºµo©ú±M§Q¤§©µ¦ù
[21] ½s¸¹ : J/001854
[22] ¥Ó½Ð¤é : 2015/08/28
[24] §å¥Ü¤é : 2015/12/28
[73] Åv§Q¤H : IRM ³d¥ô¦³¤½¥q
¦a§} : 131 Front Street, P.O. Box HM 2899, Hamilton HM LX, Bermuda
°êÄy : ¦Ê¼}¤j
[72] µo©ú¤H : N¡D§õ, J¡DL¡D«¢¨½´µ, P¡D³Á§J¯Ç°¨©Ô, F¡D®]
°ê®aª¾ÃѲ£Åv§½µo©ú±M§Q :
| ±M§Q¸¹ | ¥Ó½Ð¤é | ±ÂÅv¤½§i¸¹ | ±ÂÅv¤½§i¤é |
| ZL201280007465.9 | 2012/02/02 | CN 103458881B | 2015/08/12 |
[51] ¤ÀÃþ : A61K31/00, A61K31/506, A61P35/00
[54] ¼ÐÃD : ALK§í¨î¾¯ªº¨Ï¥Î¤èªk¡C
[57] ºKn : ¥»µo©ú´£¨Ñ¤F¨Ï¥Î¦¡¡]I¡^¤Æ¦Xª«ªº¤èªk¡A³o¨Ç¤Æ¦Xª«¥Î©óªvÀøEML4-ALK+¤¶¾Éªº¯e¯f¡A¨Ò¦pEML4-ALK+«D¤p²ÓMªÍÀù¡A¨Ã¥ô¿ï¹ï§J¨½Ðü´À¥§¦³@Ãĩʪº¡C¦b¦¡¡]I¡^¤¤¡AR1¡BR2¡BR3¡BR4¡BR5©MR6¦p»¡©ú®Ñ©Ò©w¸q¡C
ªþ¹Ï :

[30] Àu¥ýÅv :
| ¤é´Á | ½s¸¹ | °ê®a/¦a°Ï |
| 2011/02/02 | 61/438,878 | ¬ü°ê |
[21] ½s¸¹ : J/001855
[22] ¥Ó½Ð¤é : 2015/08/28
[24] §å¥Ü¤é : 2015/12/28
[73] Åv§Q¤H : IRM ³d¥ô¦³¤½¥q
¦a§} : 131 Front Street, P.O. Box HM 2899, Hamilton HM LX, Bermuda
°êÄy : ¦Ê¼}¤j
[73] Åv§Q¤H : ¿ÕµØªÑ¥÷¦³¤½¥q
¦a§} : Lichtstrasse 35, 4056 Basel, Switzerland
°êÄy : ·ç¤h
[72] µo©ú¤H : ¤B强, N¡DS¡D®æ¹p, §õ¦B, ¼B²§, ¨H¥x»², ¦t³¥õ¦, ±i°êÄ_, C¡D¥Ö¯Á¯S¯Á¼w°Ò, W¡D¥¬¿à¼ð¬I®õ¦], G¡D³Õº¸¼w, G¡D¥d©Ô¥Ë¸¦, P¡Dµá¹p, V¡D¥Ê®æ¯Ç¿Õ, M¡DÄõ, P¡DW¡D°Ò¹p, J¡DªÙ´¶¶Oº¸, C¡D´µÃe§J
°ê®aª¾ÃѲ£Åv§½µo©ú±M§Q :
| ±M§Q¸¹ | ¥Ó½Ð¤é | ±ÂÅv¤½§i¸¹ | ±ÂÅv¤½§i¤é |
| ZL201210544340.1 | 2005/06/23 | CN 103121972B | 2015/07/29 |
[51] ¤ÀÃþ : C07D239/48, C07D409/12, C07D401/12, C07D405/12, C07D403/12, C07D251/48, C07F7/18, A61K31/506, A61K31/5377, A61K31/505, A61K31/695, A61K31/53, A61P35/00, A61P35/02, A61P19/08, A61P29/00, A61P37/02
[54] ¼ÐÃD : §@¬°¿E酶§í¨î¾¯ªºáGÔr脲l¥Íª«¡C
[57] ºKn : ¥»µo©ú¯A¤Î¦¡¡]I¡^¤Æ¦Xª«¡A¨ä¤¤¨ú¥N°òX1¡BR1¡BR2¡BR3©MR4¨ã¦³¦p¦b¥»µo©úªº´yz¤¤©Ò´£¥X©M¸ÑÄÀªº§t¸q¡A»s³Æ³o¨Ç¤Æ¦Xª«ªº¤èªk¡B§t¦³¨äªºÃĪ«²Õ¦Xª«¡B¨ä¥ô¿ï»P¤@ºØ©Î¦hºØ¨ä¥¦ÃľǬ¡©Ê¤Æ¦Xª«²Õ¦X¦bªvÀø¹ï§í¨î³J¥Õ¿E酶¬¡©ÊÅTÀ³ªº¯e¯f¤¤ªº¥Î³~¡A¥H¤ÎªvÀø©Òz¯e¯fªº¤èªk¡C
ªþ¹Ï :

[30] Àu¥ýÅv :
| ¤é´Á | ½s¸¹ | °ê®a/¦a°Ï |
| 2004/06/24 | 60/582,425 | ¬ü°ê |
| 2005/06/16 | 0512324.5 | ^°ê |
[21] ½s¸¹ : J/001857
[22] ¥Ó½Ð¤é : 2015/08/31
[24] §å¥Ü¤é : 2015/12/28
[73] Åv§Q¤H : ¬ìº¸®õ©Ô¤½¥q
¦a§} : 150 Industrial Road, San Carlos, CA 94070, US
°êÄy : ¬ü°ê
[72] µo©ú¤H : E¡D¯Q©`²ö¨½, S¡DL¡D¯S¥ì©_°Ò, G¡D®w¯Sº¸, D¡DR¡D´µ¹Ïº¸¯S, M¡DJ¡Dºû¯S»¨´µ
°ê®aª¾ÃѲ£Åv§½µo©ú±M§Q :
| ±M§Q¸¹ | ¥Ó½Ð¤é | ±ÂÅv¤½§i¸¹ | ±ÂÅv¤½§i¤é |
| ZL201310127326.6 | 2009/05/15 | CN 103212063B | 2015/07/22 |
[51] ¤ÀÃþ : A61K38/22, A61P11/00, A61P9/04
[54] ¼ÐÃD : ¥ÎÃP¦¢¯ÀªvÀø»P«æ©Ê¤ß¤O°IºÜ¬ÛÃöªº©I§l§xÃø¡C
[57] ºKn : ¥»µo©ú¯A¤Î¥ÎÃP¦¢¯ÀªvÀø»P«æ©Ê¤ß¤O°IºÜ¬ÛÃöªº©I§l§xÃø¡C¨ãÅé¦a¡A¥»µo©ú¯A¤Î¦b¨ü«æ©Ê¥¢¥NÀv©Ê¤ß¤O°IºÜ¯gª¬§xÂZªº¤HÃþÓÅ餤ªvÀø¥NÀv¥¢½Õªº¤èªk¡C¥»¤å©Òzªº¤èªk§Q¥ÎÃP¦¢¯Àªº¬I¥Î¡C
ªþ¹Ï :

[30] Àu¥ýÅv :
| ¤é´Á | ½s¸¹ | °ê®a/¦a°Ï |
| 2008/05/16 | 61/127,889 | ¬ü°ê |
| 2008/08/28 | 61/190,545 | ¬ü°ê |
| 2008/12/08 | 61/201,240 | ¬ü°ê |
| 2009/03/27 | 61/164,333 | ¬ü°ê |
[21] ½s¸¹ : J/001858
[22] ¥Ó½Ð¤é : 2015/08/31
[24] §å¥Ü¤é : 2015/12/28
[73] Åv§Q¤H : ¤[¥ú»sÃĮ覡·|ªÀ
¦a§} : 408, Tashirodaikan-machi, Tosu-shi, Saga 840-0017, Japan
°êÄy : ¤é¥»
[72] µo©ú¤H : ®cªñ§µ¤å, ªZ´I¥°¤§
°ê®aª¾ÃѲ£Åv§½µo©ú±M§Q :
| ±M§Q¸¹ | ¥Ó½Ð¤é | ±ÂÅv¤½§i¸¹ | ±ÂÅv¤½§i¤é |
| ZL201280019604.X | 2012/03/21 | CN 103491909B | 2015/07/22 |
[51] ¤ÀÃþ : A61F13/02, A61K9/70
[54] ¼ÐÃD : ½¦ÂH±a¥Î¥]¸Ë³U¡C
[57] ºKn : ¥»µo©úªº½ÒÃD¬O´£¨Ñ®e©ö¶}«Ê¡B¥B®e©ö¶i¦æ½¦ÂH±aªºÂH¶Kªº·sªº½¦ÂH±a¥Î¥]¸Ë³U¡C¥Î©ó¸Ñ决½ÒÃDªº¤â¬q¬O¡A¥»µo©úªº½¦ÂH±a¥Î¥]¸Ë³U¡]10¡^¥Ñ®e¯Ç¦³¨ã¦³¤ä©ÓÅé¡]18¡^©M³]¸m©ó¸Ó¤ä©ÓÅé¡]18¡^ªº¤@°¼ªí±ªºÂH¦X¾¯¼h¡]12¡^ªº½¦ÂH±a¡]14¡^¡B¥iéÂ÷¦aªþµÛ©óÂH¦X¾¯¼h¡]12¡^ªºéÂ÷¤ù§÷¡]16¡^ºc¦¨¡C¥t¥~¡AéÂ÷¤ù§÷¡]16¡^»P½¦ÂH±a¡]14¡^¤@°_³Q§é叠¡A¦b¸Ó³Q§é叠ªºéÂ÷¤ù§÷¡]16¡^ªº¤º°¼«Ê¸Ë¦³½¦ÂH±a¡]14¡^¡C¬°¤F¦b¥´¶}éÂ÷¤ù§÷¡]16¡^®É¡A½¦ÂH±a¡]14¡^ªºÂH¦X¾¯¼h¡]12¡^ªº¤@¥b¥i½T¹ê¦aÅS¥X¡A¦Ó¦b¸Ó¤@¥bªº³¡¤À¡A³q¹L¬Û¤¬Â÷¹j°t¸mªº¦hӼȮɩT©w³¡¡]50¡ã54¡^¹ê¬I¤F¼È®É©T©w¡C
ªþ¹Ï :

[30] Àu¥ýÅv :
| ¤é´Á | ½s¸¹ | °ê®a/¦a°Ï |
| 2011/04/22 | 2011-096574 | ¤é¥» |
[21] ½s¸¹ : J/001859
[22] ¥Ó½Ð¤é : 2015/08/31
[24] §å¥Ü¤é : 2015/12/28
[73] Åv§Q¤H : ¥ì¼Úºû·s¦³³d¥ô¤½¥q
¦a§} : 2801 E. Beltine NE Grand Rapids, MI 49525, United States of America
°êÄy : ¬ü°ê
[72] µo©ú¤H : ÀN¦w¡D´^, °¨§J¡D¤Ú®æ, ³Í¤å¡D¥§§Jº¸´µ, ¥¬¹p¯S¡D§B¹ý±öº¸, ¦w¼w¾|¡D®æ¹p¤Ì©i
°ê®aª¾ÃѲ£Åv§½µo©ú±M§Q :
| ±M§Q¸¹ | ¥Ó½Ð¤é | ±ÂÅv¤½§i¸¹ | ±ÂÅv¤½§i¤é |
| ZL201080011793.7 | 2010/01/04 | CN 102438810B | 2015/08/05 |
[51] ¤ÀÃþ : B29C55/02, B29C55/30
[54] ¼ÐÃD : ©TºA©Ô¦ù¼hÀ£ªº»E¦Xª«Ëò®Æ¡C
[57] ºKn : ©TºA©Ô¦ù¼hÀ£»E¦Xª«Ëò®Æ¥H»s³Æ¨ú¦V»E¦Xª«²Õ¦Xª«¡A©Òz¼hÀ£»E¦Xª«Ëò®Æ§t¦³¨âºØ¥H¤W©¼¦¹¼hÀ£ªº»E¦Xª«²Õ¦Xª«¡C
[30] Àu¥ýÅv :
| ¤é´Á | ½s¸¹ | °ê®a/¦a°Ï |
| 2009/01/15 | 61/144,764 | ¬ü°ê |
[21] ½s¸¹ : J/001860
[22] ¥Ó½Ð¤é : 2015/08/31
[24] §å¥Ü¤é : 2015/12/28
[73] Åv§Q¤H : ¦Ê§Q¹CÀ¸¦³¤½¥q
¦a§} : 6601 South Bermuda Road, Las Vegas, NV 89119-7990, US
°êÄy : ¬ü°ê
[72] µo©ú¤H : ³ìµÎ¨È¡DD¡D©Ôº¸´Ë, ©¬ºû®wº¿¡D©¬¯Sº¸, ¦wªF¥§¡DE¡D®æªL, §J¨½´µ¦«¥±¡DP¡Dªü§B»\´µ¯S, ¯S©Ôºû´µ¡D®æªL, «Â·G¡DK¡D¬ù¤º´µ, À¹º¸¡DM¡DÁ§B¼w, ù¯Ç¼w¡DA¡D¥d}°¨, ¦«°¨´µ¡DE¡D¤ÚªÖ¥§, ù§B¯S¡DW¡D§J³Ò¼w
°ê®aª¾ÃѲ£Åv§½µo©ú±M§Q :
| ±M§Q¸¹ | ¥Ó½Ð¤é | ±ÂÅv¤½§i¸¹ | ±ÂÅv¤½§i¤é |
| ZL201210041737.9 | 2006/09/12 | CN 102592366B | 2015/07/29 |
[51] ¤ÀÃþ : G07F17/32
[54] ¼ÐÃD : ¥Î©ó°t¸mªº¤èªk©M¨t²Î¡C
[57] ºKn : ¤@ºØ¥Î©ó±q»·µ{²×ºÝ°t¸mEGM¡B¥Ñ¦¹¦b°t¸mEGM®É´£¨Ñ¾Þ§@®Ä²v¤è±ªº§ï¶iªº¤èªk©M¨t²Î¡C¨Ò¦p¡A¦pªG³q¹L´£¨Ñª½±µ¦s¨ú¨Ó°t¸mEGM¡A¦Ó¤£¬OÅý§Þ³N¤Hû«e©¹³oÓ¦³¥i¯à¦³¼Æ^¨½»·ªºª«²z¾÷¾¹¡A¨º麽¥i¥H¹ê²{¤u§@®Ä²v¡C¹ï¥»¦aEGM¨Ó»¡¡A¨ä®Ä²v¥i¥H³q¹L¨C¤p®É/¨C§Þ³N¤Hû°t¸mªºEGM¼Æ¶q¨ÓÀò¨ú¡C¹ï¶ZÂ÷«Ü»·ªºEGM¨Ó»¡¡A³q¹L°§C§Þ³N¤Hûªº®È¦æ©M¦í±J¦¨¥»¡AÁÙ¥i¥H¹ê²{ªþ¥[®Ä²v¡C¦¹¥~¡AEGMªº»·µ{°t¸mÁÙ·|°§C¦w¥þ©Ê¶}¾P¡C
ªþ¹Ï :

[30] Àu¥ýÅv :
| ¤é´Á | ½s¸¹ | °ê®a/¦a°Ï |
| 2005/09/12 | 60/716,713 | ¬ü°ê |
| 2006/09/11 | 11/530,875 | ¬ü°ê |
| 2006/09/11 | 11/530,880 | ¬ü°ê |
[21] ½s¸¹ : J/001861
[22] ¥Ó½Ð¤é : 2015/09/01
[24] §å¥Ü¤é : 2015/12/28
[73] Åv§Q¤H : ÄQÅï³Á°s®è¦¡·|ªÀ
¦a§} : ¢E164-0001¤é¥»°êªF¨Ê³£¤¤³¥°Ï¤¤³¥¥|¤B¥Ø10µf2¸¹
°êÄy : ¤é¥»
[72] µo©ú¤H : »·Ãüw¶¯, ¤W³¥§Ô, ¤ô¥»¤j¾ð, ²LܶQ¥v, ®ã¥Ð¯E§Ó
°ê®aª¾ÃѲ£Åv§½µo©ú±M§Q :
| ±M§Q¸¹ | ¥Ó½Ð¤é | ±ÂÅv¤½§i¸¹ | ±ÂÅv¤½§i¤é |
| ZL201280000332.9 | 2012/02/10 | CN 102958824B | 2015/07/22 |
[51] ¤ÀÃþ : B67D1/02, B67D1/08
[54] ¼ÐÃD : ¨ã¦³²M·sªwªjªº§t¨¦Ãþ°¸Ñ²£ª«ªºµoªw¶¼®Æ¡C
[57] ºKn : ¤½¶}¤F§t¨¦Ãþ°¸Ñ²£ª«ªºµoªw¶¼®Æ¡A¨ä§t¦³¦b¶¼¥Î®É¦bµoªw¶¼®Æ¤W§Î¦¨ªº¨ã¦³²M·s½è¦a¤Î©µªøªº¥¤ªoª¬ªwªj«O«ù©Êªº·s½è¦aªº¥¤ªoª¬¥B¬ü¨ýªºªwªj¡AÁÙ¤½¶}¤F¥Î©ó¤À°t©Òzµoªw¶¼®Æªº¤èªk¤Î©Òzµoªw¶¼®Æªº¤À°t¾¹¡C®Ú¾Ú¥»µo©ú¡A´£¨Ñ¤F¥Î©ó³q¹L§N却©Òzµoªw¶¼®Æ¥B±N¨äª`¤J¨ì¨ÑÀ³®e¾¹¤¤¨Ó¤À°t§t¨¦Ãþ°¸Ñ²£ª«ªºµoªw¶¼®Æªº¤èªk¡A¨ä¤¤¦b©Òzµoªw¶¼®Æ¤W§Î¦¨¨ã¦³³·¼Ë²M·s½è¦a¤Î©µªøªº¥¤ªoª¬ªwªj«O«ù©Êªº·s½è¦aªºªwªj¡A©Òz¤èªk¥]¬A¡G³q¹L§N却¨ÃÅͩթÒzµoªw¶¼®Æ§Î¦¨§t¦³´£¨úª«áµ²·L²Éªº¼ß²G¡A³q¹L§N却¨ÃÅͩթÒz¼ß²G¥B¦V©Òz¼ß²G¤¤¨Ã¤J¥~³¡®ðÅé¨Ó»s³Æ§t¦³´£¨úª«áµ²·L²É©M²Ó¤p®ðªwªºµoªw¶¼®Æªºáµ²ªwªj¡A©M±N©Ò»s³Æªºµoªw¶¼®Æªºáµ²ªwªj§@¬°ªwªj²Õ¤À¨ÑÀ³¨ì¤wª`¤J¨ì®e¾¹¤¤ªºµoªw¶¼®Æ¤¤¡C
ªþ¹Ï :

[30] Àu¥ýÅv :
| ¤é´Á | ½s¸¹ | °ê®a/¦a°Ï |
| 2011/06/07 | 2011-127773 | ¤é¥» |
| 2011/06/08 | 2011-128512 | ¤é¥» |
| 2012/02/09 | 2012-026552 | ¤é¥» |
| 2012/02/09 | 2012-026572 | ¤é¥» |
[21] ½s¸¹ : J/001863
[22] ¥Ó½Ð¤é : 2015/09/04
[24] §å¥Ü¤é : 2015/12/28
[73] Åv§Q¤H : ¨Õ¼ÚªN¥§·ç§J´µ»sÃĦ³¤½¥q
¦a§} : Loogestieg 7, D-20249 Hamburg, Germany
°êÄy : ¼w°ê
[72] µo©ú¤H : ¨Uº¸¤Ò©£¡Dùº¸
°ê®aª¾ÃѲ£Åv§½µo©ú±M§Q :
| ±M§Q¸¹ | ¥Ó½Ð¤é | ±ÂÅv¤½§i¸¹ | ±ÂÅv¤½§i¤é |
| ZL200780004954.8 | 2007/02/09 | CN 101378734B | 2015/06/03 |
[51] ¤ÀÃþ : A61K9/20
[54] ¼ÐÃD : °ò©ó·L¤ùªºÃĪ«»s¾¯¡C
[57] ºKn : ¥»µo©ú¯A¤Î¤@ºØ·s«¬ÃĪ«»s¾¯¡A¨ä§t¦³¨ã¦³¤£¦P²Õ¤Àªº¦UºØ·L¤ù¡A©Òz¦U·L¤ù¨ã¦³¬Û¦Pªº§Îª¬©M¬Û¦Pªº«¶q¡C
[30] Àu¥ýÅv :
| ¤é´Á | ½s¸¹ | °ê®a/¦a°Ï |
| 2006/02/10 | 102006006532.8 | ¼w°ê |
[21] ½s¸¹ : J/001866
[22] ¥Ó½Ð¤é : 2015/09/07
[24] §å¥Ü¤é : 2015/12/28
[73] Åv§Q¤H : ¨ó©Mµo»ÃÄQÅï®è¦¡·|ªÀ
¦a§} : 1-6-1, Ohtemachi, Chiyoda-ku, Tokyo 100-8185, Japan
°êÄy : ¤é¥»
[72] µo©ú¤H : ¯«¥ÐÂ× Yutaka KANDA, ¦õÃÃ¥ú¨k Mitsuo SATOH, ¤¤§ø©M¹t Kazuyasu NAKAMURA, ¤º¥Ð©M¤[ Kazuhisa UCHIDA, ·s¤tÂ×^ Toyohide SHINKAWA, ¤s®Ú©|¤l Naoko YAMANE, «O坂ø¬ü Emi HOSAKA, ¤s³¥©M¤] Kazuya YAMANO, ¤s±T°ò¥Í Motoo YAMASAKI, ªá¤«³¯¶¯ Nobuo HANAI
°ê®aª¾ÃѲ£Åv§½µo©ú±M§Q :
| ±M§Q¸¹ | ¥Ó½Ð¤é | ±ÂÅv¤½§i¸¹ | ±ÂÅv¤½§i¤é |
| ZL201310036977.4 | 2001/10/05 | CN 103333860B | 2015/07/08 |
[51] ¤ÀÃþ : C12N5/10, C12P21/02, A61K39/395, A61P35/00, A61P37/08, A61P29/00, A61P37/02, A61P31/12, A61P31/04, G01N33/68
[54] ¼ÐÃD : ²£¥Í§ÜÅé²Õ¦Xª«ªº²ÓM¡C
[57] ºKn : ¥Î©ó²£¥Í§ÜÅé²Õ¦Xª«ªº²ÓM¡A¨Ò¦p¡A¥Î©ó¦UºØ¯e¯fªº¨ã¦³¸û°ª§ÜÅé¨Ì¿à²ÓM¬r¬¡©Êªº§ÜÅé¡A¨ã¦³§ÜÅéFc¥\¯à°Ïªº§ÜÅé¤ù¬q©Î¿Ä¦X³J¥Õ¡F³q¹L±Ä¥Î³o¨Ç²ÓM²£¥Í§ÜÅé²Õ¦Xª«ªº¤èªk¡F§ÜÅé²Õ¦Xª«¡F¤Î¨ä¥Î³~¡C¦b¤W±´yzªº§ÜÅé²Õ¦Xª«¤¤¡A©¥Ä¦¿}¤£¦b¿}ÃìÁÙìºÝµ²¦X¨ìN-¤A酰®ò°ò¸²µå¿}¤Wªº¿}Ãì¡A»Pµ²¦X¨ìFc¥\¯à°ÏªºÁ`N-¿}苷³s±µ¿}Ãì½Æ¦XÅ骺¤ñ²v¹F¨ì20%©Î§ó°ª¡C¦¹¥~¡A´£¨Ñ¤F·sªºGDP-¥ÌÅS¿}4,6-²æ²B酶¡BGDP-à¬-6-²æ®ñ¥ÌÅS¿}3,5-®t¦V²§ºc酶4-ÁÙì酶¡BGDP-£]-L-©¥Ä¦¿}µJÁC»Ä¤Æ酶¡B£\-1,6-©¥Ä¦¿}°òÂಾ酶¤Î½s½X¥¦ÌªºDNA¡C
[30] Àu¥ýÅv :
| ¤é´Á | ½s¸¹ | °ê®a/¦a°Ï |
| 2000/10/06 | 2000-308526 | ¤é¥» |
[21] ½s¸¹ : J/001868
[22] ¥Ó½Ð¤é : 2015/09/09
[24] §å¥Ü¤é : 2015/12/28
[73] Åv§Q¤H : ªü´µ§Q±d¡]·ç¨å¡^¦³¤½¥q
¦a§} : ·ç¨å«n®õ§QC
°êÄy : ·ç¨å
[72] µo©ú¤H : D¡DS¡D»«¼w©Ô, M¡DV¡DÀ¹§Q, P¡DV¡D©¬©Ô¥¬, J¡DM¡D©¬¯Sº¸, ³³²ú, R¡DW¡D¯S¥Ë¥§, N¡D¥Ë¯SÂÄ©Ô, §d咏±ö
°ê®aª¾ÃѲ£Åv§½µo©ú±M§Q :
| ±M§Q¸¹ | ¥Ó½Ð¤é | ±ÂÅv¤½§i¸¹ | ±ÂÅv¤½§i¤é |
| ZL201210201489.X | 2008/03/21 | CN 102743340B | 2015/07/15 |
[51] ¤ÀÃþ : A61K9/16, A61K9/20, A61K9/48, A61K31/70, A61K45/00, A61P3/10, A61P3/06, A61P3/04, A61P9/10, A61P9/12, A61P27/12, A61P25/00, A61P17/02
[54] ¼ÐÃD : §t¦³¹F®æ¦C嗪¤þ¤G¾J¤ô¦Xª«ªºÃĪ«»s¾¯¡C
[57] ºKn : ¥»µo©ú¯A¤Î³tÄÀÃĪ«»s¾¯¡A¨ä¥]§t¹F®æ¦C嗪¤þ¤G¾J¤ô¦Xª«©MÃľǤW¥i±µ¨üªº¸üÅé¡A¨ä¤¤©Òz¹F®æ¦C嗪¤þ¤G¾J¤ô¦Xª«»s¾¯¬°¿ï¦Û¤ù¾¯¡Bì®ÆÁû²É©M½¦Ånªº§Î¦¡¡A¨ä¤¤©Òz¹F®æ¦C嗪¤þ¤G¾J¤ô¦Xª«¥H´£¨Ñ¬ù0.1¡ã¬ù750mg/¤Ñ½d³ò¤ºªº¤é¾¯¶qªº¶q¦s¦b¡A©Òz¤é¾¯¶q¬°³æ¾¯¶q©Î¤À¾¯¶q©Î¦h¾¯¶q¡A1-4¦¸µ¹¤©¡C©Òz³tÄÀÃĪ«»s¾¯¥i¥Î©óªvÀø©Î©µ½w»PSGLT2¬¡©Ê¦³Ãöªº¯e¯f©Î¯f¯gªº¶i®i©Îµo§@¡C
[30] Àu¥ýÅv :
| ¤é´Á | ½s¸¹ | °ê®a/¦a°Ï |
| 2007/03/22 | 60/896286 | ¬ü°ê |
[21] ½s¸¹ : J/001869
[22] ¥Ó½Ð¤é : 2015/09/09
[24] §å¥Ü¤é : 2015/12/28
[73] Åv§Q¤H : ¦N¨½¼w¬ì¾Ç¤½¥q
¦a§} : 333 Lakeside Drive, Foster City California 94404, U.S.A.
°êÄy : ¬ü°ê
[72] µo©ú¤H : M¡DC¡D¼wÁÉ, A¡DY¡D§», H¡DC¡D½÷, ¼B¬xÀÜ, R¡DW¡Dºûºû¦w, ®}³s¬õ
°ê®aª¾ÃѲ£Åv§½µo©ú±M§Q :
| ±M§Q¸¹ | ¥Ó½Ð¤é | ±ÂÅv¤½§i¸¹ | ±ÂÅv¤½§i¤é |
| ZL201310326757.5 | 2008/02/22 | CN 103435570B | 2015/06/10 |
[51] ¤ÀÃþ : C07D277/28, C07D417/14, A61K31/427, A61K31/4439, A61K31/454, A61K31/496, A61K31/541, A61K31/5377, A61P31/18, A61P31/14, A61P43/00
[54] ¼ÐÃD : ªvÀø¾¯ªºÃÄ¥N°Ê¤O¾Ç¯S©Ê½Õ¸`¾¯¡C
[57] ºKn : ¥»¥Ó½Ð´£¨Ñ¤F¦¡Iªº¤Æ¦Xª«¡A¦¡I©Î¨äÃľǤW¥i±µ¨üªºÆQ¡A·»¾¯¦Xª«©M/©Îà¡A¥]§t³oÃþ¤Æ¦Xª«ªº²Õ¦Xª«¡A¥]¬Aµ¹¤©³oÃþ¤Æ¦Xª«ªºªvÀø¤èªk©M¥]¬Aµ¹¤©³oÃþ¤Æ¦Xª«»P¦Ü¤Ö¤@ºØÃB¥~ªºªvÀø¾¯ªºªvÀø¤èªk¡C
ªþ¹Ï :

[30] Àu¥ýÅv :
| ¤é´Á | ½s¸¹ | °ê®a/¦a°Ï |
| 2007/02/23 | 60/903,228 | ¬ü°ê |
| 2007/07/06 | 60/958,716 | ¬ü°ê |
[21] ½s¸¹ : J/001871
[22] ¥Ó½Ð¤é : 2015/09/10
[24] §å¥Ü¤é : 2015/12/28
[73] Åv§Q¤H : ¿Õ¥Ë³Á¦³¤½¥q
¦a§} : 1 Azrieli Center 67021 Tel Aviv, Israel
°êÄy : ¥H¦â¦C
[72] µo©ú¤H : E¡D¥d´¶Äõ
°ê®aª¾ÃѲ£Åv§½µo©ú±M§Q :
| ±M§Q¸¹ | ¥Ó½Ð¤é | ±ÂÅv¤½§i¸¹ | ±ÂÅv¤½§i¤é |
| ZL201080050502.5 | 2010/09/09 | CN 102821761B | 2015/06/10 |
[51] ¤ÀÃþ : A61K31/165, A61P29/00
[54] ¼ÐÃD : ¥Î©óªvÀø¯kµh©Mª¢¯gªºN-¨ú¥Nªºf¤þ酰Ói©Îf¤þ²m酰Ói¡C
[57] ºKn : ¥Î©óªvÀø©Î¹w¨¾¯kµh¡A¥]¬A«æ©Ê©MºC©Ê¯kµh¡]¨Ò¦p¡A¶Ë®`©Ê¯kµh¡B¯«¸g©Ê¯kµh¡BÀYµh¡B°¾ÀYµh¡^ªº¤Æ¦Xª«¡A¨äªí¥Ü¬°³q¦¡I¡G¨ä¤¤¡Gµê綫¥Nªí³æÁä©ÎÂùÁä¡F¨Ã¥BR5©MR5¡¦¿W¥ß¦a¬O-H¡B-OH©Î-OR6¡A¨ä¤¤R6¬Oª½Ã쪺©Î¤äÃ쪺C1-C4ÖJ°ò¡FX¬O-CH2O-¡FZ¬O-CH2CH2O-CH(CH3)CH2O-©Î-CH2CH(CH3)O-¡Fm¬O1¡F¨Ã¥Bn¬O1-5ªº¾ã¼Æ¡C¥»µo©úªº¤Æ¦Xª«¤]¥i¥H¦³®Ä¥Î©ó°§Cª¢¯g¨Ã¥B¥i¥H³æ¿W¨Ï¥Î©Î»P¨ä¥LÂíµhÃÄÁp¥Î¡C
ªþ¹Ï :

[30] Àu¥ýÅv :
| ¤é´Á | ½s¸¹ | °ê®a/¦a°Ï |
| 2009/09/09 | 61/240,839 | ¬ü°ê |
[21] ½s¸¹ : J/001872
[22] ¥Ó½Ð¤é : 2015/09/14
[24] §å¥Ü¤é : 2015/12/28
[73] Åv§Q¤H : ¯S¬¥¥ì¶°¹Î¤½¥q
¦a§} : 2331 South Pullman Street, Santa Ana, California 92705, U.S.A.
°êÄy : ¬ü°ê
[72] µo©ú¤H : ³Í¤å¡DL¡D¶Âº¸°Ò Kevin L. HEILMAN, ¤×®Ú¡DÀN¤Ò´µ Eugene HOEFS, ÁÚ§Jº¸¡DR¡D¿à§Q Michael R. RILEY
°ê®aª¾ÃѲ£Åv§½µo©ú±M§Q :
| ±M§Q¸¹ | ¥Ó½Ð¤é | ±ÂÅv¤½§i¸¹ | ±ÂÅv¤½§i¤é |
| ZL201080047429.6 | 2010/10/18 | CN 102713764B | 2015/08/05 |
[51] ¤ÀÃþ : G03G13/00
[54] ¼ÐÃD : ¥Î©ó²£¥Í¦w¥þ¹Ï¹³ªº§tº·¥ú§÷®Æªº¶î¼h²Õ¦Xª«¡C
[57] ºKn : ¥»µo©ú¤½¶}¤F¤@ºØ¥Î©ó¦L¨êÃø¥H¤Æ¾Ç©Îª«²z僞³y¨Ã¥B©ö©óµøÄ±ÀËÅ窺¤å¥óªº¶î¼h²Õ¦Xª«¡B¨t²Î©M¤èªk¡C©Òz¨t²Î¥]¬A©Ó¦Lª«¡B¥]§tµÛ¦â¾¯©M¬V®Æªº¦â¯»¡B¥]§tº·¥ú§÷®Æªº¶î¼h¨Ò¦p¨Ï¥Î½¦ª©¦L¨êªk¬I¥[ªº¤@¦¸¾E²¾¼W强¶î¼h©M¥ô¿ïªº¨Ï¥Î½¦ª©¦L¨êªk¬I¥[ªº¤G¦¸¾E²¾¼W强¶î¼h¡C³q¹L¤ñ¸ûµÛ¦â¾¯§Î¦¨ªº¹Ï¹³©M¬V®Æ§Î¦¨ªº¹Ï¹³©M/©Î³q¹L¥Í¦â¬V®Æ²f·Àº·¥ú§÷®Æ§Î¦¨ªº¤ÏÂà³±¹³¡A®e©öÀËÅç¨Ï¥Î¥»µo©úªº¦â¯»§Î¦¨ªº¹Ï¹³¡C¥t¥~¡A¦pªG¥ø¹Ï¨Ï¥Î·»¾¯¨Ó§ïÅܩӦLª«¤Wªº¦L¨ê¹Ï¹³¡A«h¬V®Æ¾E²¾©ÎÂX´²¥Hªí©ú¤å¥óªº¿y§ï¡C
ªþ¹Ï :

[30] Àu¥ýÅv :
| ¤é´Á | ½s¸¹ | °ê®a/¦a°Ï |
| 2009/10/20 | 61/253,471 | ¬ü°ê |
[21] ½s¸¹ : J/001873
[22] ¥Ó½Ð¤é : 2015/09/15
[24] §å¥Ü¤é : 2015/12/28
[73] Åv§Q¤H : ¦öªL³Á´µ´£¤u·~®è¦¡·|ªÀ
¦a§} : Saeum-dong, 4-9 Yangjin-ro, Icheon-si Gyeonggi-do 467-080, Korea
°êÄy : «nÁú
[73] Åv§Q¤H : ¦µªF«T
¦a§} : YongSan Gu UN Village 3 Gil 84 102-101 (Hannam Dong) 140-884 Seoul, Korea
°êÄy : «nÁú
[72] µo©ú¤H : ¾ëªF«T¡A¾ë®_¥°
°ê®aª¾ÃѲ£Åv§½µo©ú±M§Q :
| ±M§Q¸¹ | ¥Ó½Ð¤é | ±ÂÅv¤½§i¸¹ | ±ÂÅv¤½§i¤é |
| ZL201280027103.6 | 2012/05/10 | CN 103635642B | 2015/06/24 |
[51] ¤ÀÃþ : E04D11/02, E04B1/64, B32B17/02
[54] ¼ÐÃD : §Q¥Î¨ã¦³¹j¼ö©Ê¯àªº¶î¼h¨¾¤ôªkªº²Õ¦¨ª«©M¥HÁ_½sªk»s³yªºÅÖºû¤ù§÷ªº¨¾¤ô¬I¤u¤èªk¡C
[57] ºKn : ¥»µo©ú¯A¤Î§Q¥Î¨ã¦³¹j¼ö©Ê¯àªº¶î¼h¨¾¤ô§÷©M¥HÁ_½sªk»s³yªºÅÖºû¤ù§÷ªº¨¾¤ô¬I¤u¤èªk¡A§ó¨ãÅé¨Ó»¡¡A¯A¤Î§Q¥Î¥H°w´ì²z¥ÎÁ_½sªk«D´»s³yªºÅÖºû¤ù§÷ªº¨¾¤ô¬I¤u¤èªk¡A¸Ó¤èªk¬°¤F¨¾¤î®ðªwµo¥Íªº²{¶H¡B¼W¶i¨¾¤ô¼h©Ô¦ù强«×¡A¨Ï¥Î¤£·|ÃP¾Ó¡B©ö©ó´_쪺ÅÖºû¤ù§÷¡A¥Ñ¦¹¨Ï¥Î§@·~©Ê¡BÂHµÛ©Ê¨}¦n¡C
ªþ¹Ï :

[30] Àu¥ýÅv :
| ¤é´Á | ½s¸¹ | °ê®a/¦a°Ï |
| 2011/06/02 | 10-2011-0053090 | «nÁú |
[21] ½s¸¹ : J/001874
[22] ¥Ó½Ð¤é : 2015/09/15
[24] §å¥Ü¤é : 2015/12/28
[73] Åv§Q¤H : ¿Õ¥Ë´£´µ¤½¥q
¦a§} : Lichtstrasse 35, 4056 Basel, Switzerland
°êÄy : ·ç¤h
[72] µo©ú¤H : C¡D»¨®æ
°ê®aª¾ÃѲ£Åv§½µo©ú±M§Q :
| ±M§Q¸¹ | ¥Ó½Ð¤é | ±ÂÅv¤½§i¸¹ | ±ÂÅv¤½§i¤é |
| ZL201280018749.8 | 2012/04/18 | CN 103476396B | 2015/08/05 |
[51] ¤ÀÃþ : A61K9/06, A61K38/15, A61K47/06, A61K47/14, A61K9/00, A61P17/00
[54] ¼ÐÃD : ¥]§tÀôª¬ÁY×ô肽ªº²VÄaÃþ«¬ªº§½³¡»s¾¯¡C
[57] ºKn : ¥»µo©ú¯A¤Î·sªº§½³¡ªºÃĪ«²Õ¦Xª«¡A¨ä¤¤¬¡©Ê¾¯¬O¦¡¡]II¡^ªºÀôª¬ÁY×ô肽¨Ã¯A¤Î¥Î©ó»s³Æ©Òz²Õ¦Xª«ªº¤èªk¡C¥»¥Ó½Ð¯S§O¤½¶}¤F¥]§t²¨¤ô©Ê°ò½è©M¸Y«×¾¯¡BÀu¿ï¦×¨§çM»Ä²§¤þ઺²¨¤ô©Ê³n»I¾¯¡C
ªþ¹Ï :

[30] Àu¥ýÅv :
| ¤é´Á | ½s¸¹ | °ê®a/¦a°Ï |
| 2011/04/20 | 61/477,297 | ¬ü°ê |
[21] ½s¸¹ : J/001875
[22] ¥Ó½Ð¤é : 2015/09/15
[24] §å¥Ü¤é : 2015/12/28
[73] Åv§Q¤H : ¦Ê®É¬ü¡X¡X¬I¶QÄ_·Rº¸Äõ±±ªÑ¤½¥q
¦a§} : Hinterbergstraasse 16, 6312 Steinhausen, Switzerland
°êÄy : ·ç¤h
[72] µo©ú¤H : S¡DK¡D¨K§J, ¯Õ´^, M¡DJ¡D¥v±K´µ, J¡Dº~
°ê®aª¾ÃѲ£Åv§½µo©ú±M§Q :
| ±M§Q¸¹ | ¥Ó½Ð¤é | ±ÂÅv¤½§i¸¹ | ±ÂÅv¤½§i¤é |
| ZL200880102448.7 | 2008/07/31 | CN 101778841B | 2015/07/22 |
[51] ¤ÀÃþ : C07D403/14
[54] ¼ÐÃD : ¥Î©ó¦X¦¨¥Î©óªvÀø¤þ«¬¨xª¢ªº¤Æ¦Xª«ªº¤èªk¡C
[57] ºKn : ¥»µo©ú¤½¶}¤º®e¤@¯ë©Ê¦a¯A¤Î¦X¦¨((1S)-1-(((2S)-2-(5-(4¡¦-(2-((2S)-1-((2S)-2-((¥Ò®ñæó°ò)®ò°ò)-3-¥Ò°ò¤B酰°ò)-2-吡«£ÖJ°ò)-1H-«}Ðü-5-°ò)-4-Ápf°ò)-1H-«}Ðü-2-°ò)-1-吡«£ÖJ°ò)æó°ò)-2-¥Ò°ò¤þ°ò)®ò°ò¥Ò»Ä¥Òà¤GÆQ»ÄÆQªº¤èªk¡C¥»µo©ú¤½¶}¤º®eÁÙ¤@¯ë©Ê¦a¯A¤Î¦b¦¹¤èªk¤¤¨Ï¥Îªº¤¤¶¡Åé¡C
[30] Àu¥ýÅv :
| ¤é´Á | ½s¸¹ | °ê®a/¦a°Ï |
| 2007/08/08 | 60/954595 | ¬ü°ê |
[21] ½s¸¹ : J/001876
[22] ¥Ó½Ð¤é : 2015/09/15
[24] §å¥Ü¤é : 2015/12/28
[73] Åv§Q¤H : ªü´µ§Q±d¡]·ç¨å¡^¦³¤½¥q
¦a§} : ·ç¨å«n®õ§QC
°êÄy : ·ç¨å
[72] µo©ú¤H : T¡DC¡D¥î, D¡DB¡D¥¬º¸¦õ¦õ¤Ò´µ°ò, R¡DºÖ§J´µ, J¡DD¡D¤p¤à¼w¥±¨½, R¡DL¡Dº~´Ë, S¡DV¡D¬ì¬¥¶ð´Ü, J¡DA¡D¤p°¨¯ª¬¥, R¡DN¡D©¬¯Sº¸, J¡D¤ý, K¡D¤ý, J¡D¤_, J¡D¦¶, D¡DR¡D°¨¥§¦w, D¡DJ¡D¶ø®æ¨½, L¡DG¡D«¢°Ò
°ê®aª¾ÃѲ£Åv§½µo©ú±M§Q :
| ±M§Q¸¹ | ¥Ó½Ð¤é | ±ÂÅv¤½§i¸¹ | ±ÂÅv¤½§i¤é |
| ZL201010260709.7 | 2003/12/04 | CN 102070451B | 2015/07/15 |
[51] ¤ÀÃþ : C07C69/716, C07C59/215, C07C229/28, C07C271/22, C07C69/675, C07C59/115, C12P13/04, C07C227/32, C07C51/09, C07D207/22, C07D209/52
[54] ¼ÐÃD : ¥Î©ó¥Í²£¤G肽°ò肽酶IV§í¨î¾¯©M¥¦ªº¤¤¶¡Å骺¤èªk©M¤Æ¦Xª«¡C
[57] ºKn : ´£¨Ñ¤F¥Î©ó¥Í²£°ò©óÀô¤þ°ò-¸Y¦Xªº吡«£ÖJªº¤G肽°ò肽酶IV§í¨î¾¯ªº¤èªk©M¤Æ¦Xª«¡C
[30] Àu¥ýÅv :
| ¤é´Á | ½s¸¹ | °ê®a/¦a°Ï |
| 2002/12/09 | 60/431814 | ¬ü°ê |
[21] ½s¸¹ : J/001877
[22] ¥Ó½Ð¤é : 2015/09/15
[24] §å¥Ü¤é : 2015/12/28
[73] Åv§Q¤H : ªü´µ§Q±d¡]·ç¨å¡^¦³¤½¥q
¦a§} : ·ç¨å«n®õ§QC
°êÄy : ·ç¨å
[72] µo©ú¤H : J.Z.¥j¥j¶ð´µ, H.ù»«®æ, S.©Ô°¨§J¨½¤°«n, P.P.¼w¤°¼ï¼w, J.T.¤ñ®¦, ¿à¨Î¤¯, ¤ýs´Ñ, P.¨½¨©º¸, J.A.®æÃ¹¯Á, A.A.¥§º¸§Æº¸, J.¨¯®æ, J.D.}°¨¬ì
°ê®aª¾ÃѲ£Åv§½µo©ú±M§Q :
| ±M§Q¸¹ | ¥Ó½Ð¤é | ±ÂÅv¤½§i¸¹ | ±ÂÅv¤½§i¤é |
| ZL201310052369.2 | 2007/06/21 | CN 103145773B | 2015/07/22 |
[51] ¤ÀÃþ : C07H7/04, C07H1/06, A61K31/70, A61P3/10, A61P5/48, A61P3/06, A61P3/04
[54] ¼ÐÃD : §@¬°¥Î©óªvÀø¿}§¿¯fªºSGLT2§í¨î¾¯ªº(1S)-1,5-²æ¤ô-L-C-(3-((f°ò)¥Ò°ò)f°ò)-D-¸²µå¿}¾Jl¥Íª«»P®ò°ò»Äªºµ²´¹·»¾¯¦Xª«©Mµ¸¦Xª«¡C
[57] ºKn : ¥»µo©ú¯A¤Î§@¬°¥Î©óªvÀø¿}§¿¯fªºSGLT2§í¨î¾¯ªº(1S)-1,5-²æ¤ô-L-C-(3-((f°ò)¥Ò°ò)f°ò)-D-¸²µå¿}¾Jl¥Íª«»P®ò°ò»Äªºµ²´¹·»¾¯¦Xª«©Mµ¸¦Xª«¡A¨ãÅé¦a¡A¦¡Iªº¤Æ¦Xª«ªºª«²z´¹Åéµ²ºc¡G¨ä¤¤R1¡BR2¡BR2a¡BR3©MR4¦p»¡©ú®Ñ©Ò©w¸q¡A¤×¨ä¬O§t¦³¤Æ¦Xª«I©ÎIIªºµ²ºcªºÃĪ«²Õ¦Xª«¡A¥¦Ìªº»s³Æ¤èªk¡A¨ä»s³Æ¤¤©Ò¥Îªº¤¤¶¡Åé¡A©M¨Ï¥Î³oÃþµ²ºcªvÀø¯e¯f¦p¿}§¿¯fªº¤èªk¡C
ªþ¹Ï :

[30] Àu¥ýÅv :
| ¤é´Á | ½s¸¹ | °ê®a/¦a°Ï |
| 2006/06/28 | 60/817118 | ¬ü°ê |
| 2007/06/20 | 11/765481 | ¬ü°ê |
[21] ½s¸¹ : J/001878
[22] ¥Ó½Ð¤é : 2015/09/16
[24] §å¥Ü¤é : 2015/12/28
[73] Åv§Q¤H : ¼w§JÂÄ´µ¤j¾Ç¨t²Î¸³¨Æ·|
¦a§} : 201 W. 7th Street, Suite 820, Austin, Texas 78701, U.S.A.
°êÄy : ¬ü°ê
[72] µo©ú¤H : §B¹y¡D}°ò DICKEY, Burton, ÁÚ§Jº¸¡D¹Ïºû©i TUVIM, Michael, ´µ¬ì¯S¡D®J¤å´µ EVANS, Scott
°ê®aª¾ÃѲ£Åv§½µo©ú±M§Q :
| ±M§Q¸¹ | ¥Ó½Ð¤é | ±ÂÅv¤½§i¸¹ | ±ÂÅv¤½§i¤é |
| ZL201080022634.7 | 2010/03/25 | CN 102439153B | 2015/07/22 |
[51] ¤ÀÃþ : C12N15/117, A61K38/06, A61K45/06, C07K14/705, A61P31/04, A61P31/10, A61P31/12, A61P37/04
[54] ¼ÐÃD : ¥Î©ó¨ë¿E÷¨Å°Êª«¹ï¯fìÅ骺¥ý¤Ñ§K¬Ì©è§Ü¤Oªº²Õ¦Xª«¡C
[57] ºKn : ¥»µo©úªº¹ê¬I¤è®×¯A¤Î¦b±w¦³·L¥Íª«·P¬V©Î¦³µo¥Í³oºØ·P¬V¤§·ÀIªºÓÅ餤ªvÀø¡B§í¨î©Î减»´·L¥Íª«·P¬Vªº¤èªk¡A¨ä¥]¬A¦V©ÒzÓÅé¬I¥Î¦³®Ä¶qªºTLR9©MTLR2/6¿E°Ê¾¯ªº¨BÆJ¡C
[30] Àu¥ýÅv :
| ¤é´Á | ½s¸¹ | °ê®a/¦a°Ï |
| 2009/03/25 | 61/163,137 | ¬ü°ê |
| 2009/05/18 | 61/179,246 | ¬ü°ê |
[21] ½s¸¹ : J/001879
[22] ¥Ó½Ð¤é : 2015/09/16
[24] §å¥Ü¤é : 2015/12/28
[73] Åv§Q¤H : W¡DF¡D¥v±K´µ
¦a§} : PO Box 787 Ranchester, WY 82839, U.S.A.
°êÄy : ¬ü°ê
[72] µo©ú¤H : W¡DF¡D¥v±K´µ Walton F. SMITH, D¡D¶®¦©´µ David YAKOS, R¡D©Ô¨½Àq Randy LARIMER
°ê®aª¾ÃѲ£Åv§½µo©ú±M§Q :
| ±M§Q¸¹ | ¥Ó½Ð¤é | ±ÂÅv¤½§i¸¹ | ±ÂÅv¤½§i¤é |
| ZL201180043974.2 | 2011/09/05 | CN 103108669B | 2015/06/24 |
[51] ¤ÀÃþ : A61M35/00
[54] ¼ÐÃD : ¥Î©ó¨ë¿E²´Â¥ªºÂ¥ªO¸¢ªº¸Ë¸m©M¤èªk¡C
[57] ºKn : ¤@ºØ¥Î©ó¨ë¿E²´Â¥ªºÂ¥ªO¸¢ªº¸Ë¸m¡A©Òz¸Ë¸m¥]¬A¡G¤â¬`¡FÀY¡A©ÒzÀY¤£¯à©î¨ø¨Ã¥B»P©Òz¤â¬`¦¨¤@Åé¡A©ÒzÀY¥]¬A¥ØÃè¡A©Òz¥ØÃè®¶¿º¥H¦V²´Â¥´£¨Ñ«ö¼¯°Ê§@¨Ã¥B¥]¬A«eºÝ¡A©Òz«eºÝªº§Îª¬¬O¥Wªº¥H°t¦X¦b²´Â¥¤W¡F¥[¼ö¾¹¡A©Òz¥[¼ö¾¹©w¦ì¦b©Òz¥ØÃ褺¡F·Å«×¶Ç·P¾¹¡A©Òz·Å«×¶Ç·P¾¹©w¦ì¦b©Òz¥ØÃ褺¡A¨ä¤¤©Òz·Å«×¶Ç·P¾¹¨Ï±o±N©Òz¥ØÃè¥[¼ö¦Ü¹w©w·Å«×µM«á°±¤î¥[¼ö¡F¥H¤Î¥R¹q°ò®y¡A©Òz¥R¹q°ò®y¦V¨Ï±o©Òz¥ØÃè®¶¿ºªº°¨¹F¨ÑÀ³¹q¤O¡A¨ä¤¤©Òz°¨¹F¥]¬A°¨¹F¶b¡C¤@ºØ±N¼ö©M«ö¼¯°Ê§@¦P®É¬I¥[¦Ü²´Â¥ªº¤èªk¡C
ªþ¹Ï :

[30] Àu¥ýÅv :
| ¤é´Á | ½s¸¹ | °ê®a/¦a°Ï |
| 2010/09/15 | 12/883,052 | ¬ü°ê |
[21] ½s¸¹ : J/001880
[22] ¥Ó½Ð¤é : 2015/09/16
[24] §å¥Ü¤é : 2015/12/28
[73] Åv§Q¤H : ·s°òªüºûù¦Ì§J´µ¬ã¨s¤½¥q
¦a§} : 100 Beaver Street, Waltham, MA 02453, U.S.A.
°êÄy : ¬ü°ê
[72] µo©ú¤H : J¡D¨¯®æ, R¡DC¡D©¼±o, D¡D¤û, L¡D³ì, A¡D§J¾|®æ, R¡Dù¥¬, S¡D¤à¤°, Z¡D¦¶
°ê®aª¾ÃѲ£Åv§½µo©ú±M§Q :
| ±M§Q¸¹ | ¥Ó½Ð¤é | ±ÂÅv¤½§i¸¹ | ±ÂÅv¤½§i¤é |
| ZL201080050753.3 | 2010/09/15 | CN 102713618B | 2015/07/15 |
[51] ¤ÀÃþ : G01N33/53
[54] ¼ÐÃD : ³J¥Õ¿E酶½Æ¦Xª«©M§í¨î¾¯¡C
[57] ºKn : ¥»µo©ú¯A¤Î¤@ºØ§t¦³³J¥Õ¿E酶ªº³J¥Õ½Æ¦Xª«¡A©Òz³J¥Õ¿E酶§t¦³¥b¯Ö®ò»Ä´Ý°ò©M§í¨î¾¯¡A©Òz¥b¯Ö®ò»Ä´Ý°ò¦ì©óATPµ²¦X¦ìÂI¡A©Òz§í¨î¾¯¦@»ù¦a¥B¤£¥i°f¦aµ²¦X¨ì©Òzªº¥b¯Ö®ò»Ä´Ý°ò¤W¡A¥H¨Ï©Òz³J¥Õ¿E酶ªº¬¡©Ê³Q¤£¥i°f¦a§í¨î¡C¥»µo©ú¤]¯A¤Î¥Î©ó¤£¥i°f¦a§í¨î³J¥Õ¿E酶ªº¤Æ¦Xª«¡C
[30] Àu¥ýÅv :
| ¤é´Á | ½s¸¹ | °ê®a/¦a°Ï |
| 2009/09/16 | 61/242,988 | ¬ü°ê |
[21] ½s¸¹ : J/001881
[22] ¥Ó½Ð¤é : 2015/09/16
[24] §å¥Ü¤é : 2015/12/28
[73] Åv§Q¤H : ¤T¬v¹«~®è¦¡·|ªÀ
¦a§} : ¤é¥»ªF¨Ê³£´ä°Ï¨ª¨Á3¤B¥Ø5µf2¸¹
°êÄy : ¤é¥»
[72] µo©ú¤H : ¥Ã¤s¹Å¬L
°ê®aª¾ÃѲ£Åv§½µo©ú±M§Q :
| ±M§Q¸¹ | ¥Ó½Ð¤é | ±ÂÅv¤½§i¸¹ | ±ÂÅv¤½§i¤é |
| ZL201180067517.7 | 2011/04/18 | CN 103379832B | 2015/07/01 |
[51] ¤ÀÃþ : A23L1/16, A23L1/162
[54] ¼ÐÃD : ¤è«K±ªº»s³y¤èªk¡C
[57] ºKn : ¤@ºØ¨Ï¥Î¦Ü¤Ö¥]¬A¤@¹ï¤Á¤M¾@¡B¨íªO³¡¥ó¡B©M®ð¬y¨Ñµ¹¸Ë¸mªº±ÛÂড¤Á¦¨¸Ë¸m±N±¤ù¤Á¦¨Äѱøª¬ªºÄѱøªº»s³y¤èªk¡C¨Ï±¤ù³q¹L¤Á¤M¾@¡A¨Ã±N¸Ó±¤ù¤Á¦¨Äѱøª¬¡F¥Î¨íªO³¡¥ó±N¸ÓÄѱø±q¤Á¤M¾@¤WéÂ÷¡A¨Ã¨Ï¨ä¤ÀÂ÷¦¨¤W¤UªºÄѱø§ô¡F±q©Òz®ð¬y¨Ñµ¹¸Ë¸m¹ï¤Á¦¨«áªºÄѱø¨Ñµ¹®ð¬y¡C´£¨Ñ¤@ºØ¦b¤j¶q¥Í²£ªº¥Í²£綫¤W¤]¯àéw¦a¹ê²{¥¼½á¤©«Ü©úÅ㪺Áaªi§Îªi¯¾ªº¡B¤jPª½綫ª¬ªºÄѱøªº»s³y¤èªk¡C
ªþ¹Ï :

[30] Àu¥ýÅv :
| ¤é´Á | ½s¸¹ | °ê®a/¦a°Ï |
| 2011/02/18 | 2011-033625 | ¤é¥» |
[21] ½s¸¹ : J/001883
[22] ¥Ó½Ð¤é : 2015/09/18
[24] §å¥Ü¤é : 2015/12/28
[73] Åv§Q¤H : ¥æ©ö§Þ³N¤½¥q
¦a§} : One Hamden Center, 2319 Whitney Avenue, Suite 3B, Hamden, Connecticut 06518, U.S.A.
°êÄy : ¬ü°ê
[72] µo©ú¤H : ð¯Ç¼w¡DE¡D¥¬¾|§J´µ BROOKS, DONALD, E., ²z¬d¼w¡DS¡D«¶¤Ò QUAIF, RICHARD, S.
°ê®aª¾ÃѲ£Åv§½µo©ú±M§Q :
| ±M§Q¸¹ | ¥Ó½Ð¤é | ±ÂÅv¤½§i¸¹ | ±ÂÅv¤½§i¤é |
| ZL200780006793.6 | 2007/02/08 | CN 101390031B | 2015/07/29 |
[51] ¤ÀÃþ : G06F3/00, G06F9/44
[54] ¼ÐÃD : ¥Î©ó¸g¥Ñ¤£¦P¼Æ¾ÚºÝ¤f±±¨î¥~³ò¸Ë¸mªº¤èªk©M³]³Æ¡C
[57] ºKn : ±±¨î¨Ò¦p¥´¦L¾÷µ¥¥~³ò¸Ë¸m±q¤£¦P¼Æ¾ÚºÝ¤f±µ¦¬¼Æ¾Ú¡C²Ä¤@ºÝ¤f±µ¦¬®Ú¾Ú²Ä¤@¨óij®æ¦¡¤Æªº¼Æ¾Ú¡C²Ä¤GºÝ¤f±µ¦¬®Ú¾Ú²Ä¤G¨óij®æ¦¡¤Æªº¼Æ¾Ú¡C²Ä¤@³B²z¾¹¡]100¡^»P©Òz¥~³ò¸Ë¸m¬ÛÃöÁp¡C²Ä¤G³B²z¾¹¡]104¡^»P©Òz²Ä¤GºÝ¤f¬ÛÃöÁp¡C¤Á´«¾¹¡]102¡^¾A©ó±µ¦¬¡]i¡^¨Ó¦Û©Òz²Ä¤@ºÝ¤fªº²Ä¤@¼Æ¾Ú©M¡]ii¡^¦b¥Ñ©Òz²Ä¤G³B²z¾¹³B²z¤§«á¨Ó¦Û©Òz²Ä¤GºÝ¤fªº²Ä¤G¼Æ¾Ú¡CÅTÀ³©ó¸g¥Ñ©Òz²Ä¤GºÝ¤f±µ¦¬ªº©R¥O¨Ó±±¨î©Òz¤Á´«¾¹¡]102¡^¥H±N©Òz²Ä¤@¼Æ¾Ú©Î²Ä¤G¼Æ¾Ú½¢¦X¨ì©Òz²Ä¤@³B²z¾¹¥H¨Ñ¥Î©ó±±¨î©Òz¥~³ò¸Ë¸m¡C¥iÅTÀ³©ó©Òz©R¥O¦Ó¸g¥Ñ©Òz²Ä¤GºÝ¤f±N·s©T¥ó¤U¸ü¨ì©Òz¥~³ò¸Ë¸m¡C¥i¸g¥Ñ©Òz²Ä¤@³B²z¾¹¡]100¡^³Bªº³æ¿WºÝ¤f©M»P©Òz²Ä¤G³B²z¾¹¡]104¡^¦@¨Éªº¦sÀx¾¹¡]36¡^±N©Òz©R¥O¶Ç°e¨ì©Òz²Ä¤@³B²z¾¹¡]100¡^¡C
ªþ¹Ï :

[30] Àu¥ýÅv :
| ¤é´Á | ½s¸¹ | °ê®a/¦a°Ï |
| 2006/02/28 | 11/365,751 | ¬ü°ê |
[21] ½s¸¹ : J/001884
[22] ¥Ó½Ð¤é : 2015/09/21
[24] §å¥Ü¤é : 2015/12/28
[73] Åv§Q¤H : Àq¨FªF¤½¥q
¦a§} : 126 East Lincoln Avenue, Rahway, NJ 07065-0907, U.S.A.
°êÄy : ¬ü°ê
[72] µo©ú¤H : S.L. ³Õ®Ú, Y. °¨, Y. ¤ý, B.R. µÜ»®, L.G. ©`º¸, M. ¬I¯ª¥d, M.E. ¨U´µ, M. °òù¥Ë¡Ð´µ¿Õ¥±, W. ¼ï, Y. ¥Ð, B.A. ®wº¸¥d¥§, C.R. ¦N³Õ, Y. ¼B, G. ´µ¥d¥, D. ªL®Ú, R.J. ¦hº¸, T.J. ¥j¯÷, D.J. §Æ§JªL, A. ¿Õ±öº¸, C. ¶ë¼wº¸§ù®Ú, G.W. ¤p§Æ´¶´µ, M. ³Á¬ì´µ
°ê®aª¾ÃѲ£Åv§½µo©ú±M§Q :
| ±M§Q¸¹ | ¥Ó½Ð¤é | ±ÂÅv¤½§i¸¹ | ±ÂÅv¤½§i¤é |
| ZL201080056354.8 | 2010/10/05 | CN 102638981B | 2015/07/22 |
[51] ¤ÀÃþ : C07D401/14, C07D409/14, A61K31/445, A61P35/00
[54] ¼ÐÃD : ´£°ªp53¬¡©Êªº¨ú¥Nªº哌Ôr©M¨ä¥Î³~¡C
[57] ºKn : ¥»µo©ú´£¨Ñ¤F¥»¤å©Ò´yzªº¦¡1ªº¤Æ¦Xª«©Î¨ä¥iÃÄ¥ÎÆQ¡B·»¾¯¤Æª«©Îà¡C¸Ó¤Æ¦Xª«¥Î§@HDM2³J¥Õªº§í¨î¾¯¡CÁÙ¤½¶}¤F¥]§t¤Wz¤Æ¦Xª«ªºÃĪ«²Õ¦Xª«©M¨Ï¥Î¨äªvÀøÀù¯gªº¤èªk¡C
ªþ¹Ï :

[30] Àu¥ýÅv :
| ¤é´Á | ½s¸¹ | °ê®a/¦a°Ï |
| 2009/10/14 | 61/251603 | ¬ü°ê |
| 2009/10/16 | 61/252468 | ¬ü°ê |
[21] ½s¸¹ : J/001885
[22] ¥Ó½Ð¤é : 2015/09/22
[24] §å¥Ü¤é : 2015/12/28
[73] Åv§Q¤H : Àq¨FªF©M´f±d°òª÷·|¦X¸êªº§Æ°Ç°Ò¹êÅç«Ç¨p¤H¦³¤½¥q
¦a§} : 2nd Floor, Nanotechnology Building, Jamia Hamdard University, Hamdard Nagar, New Delhi-110062, India
°êÄy : ¦L«×
[72] µo©ú¤H : ´¡DÀN©i®æÛ HOLMGREN, Jan, ÁÚ§Jº¸¡DµÜ¥»´µ LEBENS, Michael
°ê®aª¾ÃѲ£Åv§½µo©ú±M§Q :
| ±M§Q¸¹ | ¥Ó½Ð¤é | ±ÂÅv¤½§i¸¹ | ±ÂÅv¤½§i¤é |
| ZL201080041458.1 | 2010/09/16 | CN 102630166B | 2015/08/05 |
[51] ¤ÀÃþ : A61K39/106, A61K39/108
[54] ¼ÐÃD : §ÜÀN¶Ã©M¸z²£¬r©Ê¤j¸z§ýµß(ETEC)¸¡Âmªº¬Ì]¡C
[57] ºKn : ´£¨Ñ¤F¥]§tÀN¶Ã©·µß(Vibrio cholerae)01²ÓMªº§ÜÀN¶Ã©M/©Î§ÜETEC¬Ì]¡A¨ä¯S¼x¦b©ó©Òz²ÓM¥]§tOgawa©MInaba¨âºØ¦å²M«¬ªº01§Üì¡CÁÙ´£¨Ñ¤F¥Î©ó¸Ó¬Ì]ªº¿ò¶Ç×¹¢ªºÀN¶Ã©·µß01²ÓM¡B¥Î©ó©Òz×¹¢ªºDNAºc«ØÅé¡B©Òz¬Ì]ªº¥Î³~¥H¤Î»s³y¬Ì]ªº¤èªk¡C
[30] Àu¥ýÅv :
| ¤é´Á | ½s¸¹ | °ê®a/¦a°Ï |
| 2009/09/16 | 61/272,351 | ¬ü°ê |
[21] ½s¸¹ : J/001886
[22] ¥Ó½Ð¤é : 2015/09/23
[24] §å¥Ü¤é : 2015/12/28
[73] Åv§Q¤H : ¤Ñ¨Ï¹CÀ¸¯ÈµPªÑ¥÷¦³¤½¥q
¦a§} : 614 Higashi Shiokoji-cho, Shiokoji-Karasuma, Simogoyo-ku, Kyoto, 600-8216, Japan
°êÄy : ¤é¥»
[72] µo©ú¤H : «¥Ð®õ
°ê®aª¾ÃѲ£Åv§½µo©ú±M§Q :
| ±M§Q¸¹ | ¥Ó½Ð¤é | ±ÂÅv¤½§i¸¹ | ±ÂÅv¤½§i¤é |
| ZL201180050190.2 | 2011/09/12 | CN 103180018B | 2015/08/12 |
[51] ¤ÀÃþ : A63F1/14, A63F1/06, A63F13/00
[54] ¼ÐÃD : ¯ÈµPŪ¨ú¸Ë¸m¤Î®à±¹CÀ¸¨t²Î¡C
[57] ºKn : ¯ÈµPŪ¨ú¸Ë¸m¡]2¡^¨ã¦³¡G¦¬¯Ç¯ÈµP¡]C¡^ªº¯ÈµPµoµP³¡¡]8¡^¡FŪ¨ú©Ò©â¥Xªº¯ÈµPªº«H®§ªº¯ÈµPŪ¨ú³¡¡]9¡^¡F®Ú¾Ú©ÒŪ¨úªº¯ÈµPªº«H®§¨Ó§P©w¹CÀ¸ªº³Ótªº±±¨î³¡¡]10¡^¡F©MÅã¥Ü©Ò§P©wªº¹CÀ¸ªº³ÓtªºÅã¥Ü³¡¡]11¡B12¡^¡C¦b®à±¹CÀ¸¨t²Î¡]1¡^¤¤¡A³q¹LµL綫³q«H±N¯ÈµPŪ¨ú³¡¡]9¡^©ÒŪ¨úªº¯ÈµPªº«H®§¤Î±±¨î³¡¡]10¡^©Ò§P©wªº³Ótµ²ªGªº«H®§±q¯ÈµPŪ¨ú¸Ë¸m¡]2¡^¦V¥Dpºâ¾÷¸Ë¸m¡]3¡^µo°e¡C¯ÈµPŪ¨ú¸Ë¸m¡]2¡^¨ã¦³¦V±±¨î³¡¡]10¡^¡BÅã¥Ü³¡¡]11¡B12¡^©MµL綫¿é¥X³¡¡]13¡^¨Ñµ¹¹q¤Oªº¹q¦À¡]15¡^¡C®Ú¾Ú³o¼Ëªº¯ÈµPŪ¨ú¸Ë¸m¡]2¡^¡A¯à够¨Ï¯ÈµPŪ¨ú¸Ë¸m¦b°Ñ¥[«¬ªº®à±¹CÀ¸¤¤ªº²¾°ÊÅܱo®e©ö¡C
ªþ¹Ï :

[30] Àu¥ýÅv :
| ¤é´Á | ½s¸¹ | °ê®a/¦a°Ï |
| 2010/09/14 | 2010-205280 | ¤é¥» |
[21] ½s¸¹ : J/001887
[22] ¥Ó½Ð¤é : 2015/09/24
[24] §å¥Ü¤é : 2015/12/28
[73] Åv§Q¤H : »´ä¤¤µØ·Ñ®ð¦³¤½¥q
¦a§} : ¤¤°ê»´ä¯S§O¦æ¬F°Ï¥_¨¤´íµØ¹D363¸¹13¼Ó
°êÄy : ®Ú¾Ú»´äªk¨Ò¦¨¥ß
[72] µo©ú¤H : §õ°¶强 LEE Wai Keung Carson
°ê®aª¾ÃѲ£Åv§½µo©ú±M§Q :
| ±M§Q¸¹ | ¥Ó½Ð¤é | ±ÂÅv¤½§i¸¹ | ±ÂÅv¤½§i¤é |
| ZL201210108013.1 | 2012/04/13 | CN 102798330B | 2015/07/08 |
[51] ¤ÀÃþ : G01B5/20, G01B5/02
[54] ¼ÐÃD : ¾ò¶ê«×´ú¶q¤u¨ã¡C
[57] ºKn : ¥Î©ó´ú¶qºÞ¡]20¡^ªº¾îºI±¾ò¶ê«×ªº¤@ºØ¤u¨ã¡]10¡^¨ã¦³ªuµÛ¥D¶b綫¡]X¡^ªº¤@¹ï¬Û¹ïªº²Ä¤@©M²Ä¤GºÝ³¡¡]11/12¡^¡C¤u¨ã¡]10¡^ªuµÛ¥D¶b綫¡]X¡^¦b¨ä²Ä¤@©M²Ä¤GºÝ³¡¡]11/12¡^¤§¶¡¥iª½綫¦a©µªø©MÁYµu¡C¦b¤u¨ã¡]10¡^ªº²Ä¤@©M²Ä¤GºÝ³¡¡]11/12¡^ªº¨C¤@ºÝ³¡³Bªº¦b¬Û¹ï©ó¥D¶b綫¡]X¡^°ò¥»¹ïºÙªº¦ì¸m³B¥]¬A¥Î©óªuµÛ©ÒzºÞ¾îºI±©è¾aºÞ¡]20¡^¤º¾À¡]22¡^ªº¤@¹ï¥ª°¼³¡¥ó©M¥k°¼³¡¥ó¡]11C/12C¡^¡C¤u¨ã¡]10¡^ÁÙ¥i¦b¨ä²Ä¤@©M²Ä¤GºÝ³¡¡]11/12¡^¤§¶¡¦¨¨¤«×²¾°Ê¨ì¹F¸g¹L¤¤¤ß¦ì¸mªº¥D¶b綫¡]X¡^ªº¥ª°¼©M¥k°¼¡A¦b¤¤¤ß¦ì¸m¤¤²Ä¤@ºÝ³¡©M²Ä¤GºÝ³¡¡]11/12¡^ªuµÛ¥D¶b綫¡]X¡^¹ï·Ç¡C¦s¦b¥Î©ó«ü¥Ü¤¤¤ß¦ì¸mªº«ü¥Ü¾¹¡]400¡^¡C
ªþ¹Ï :

[30] Àu¥ýÅv :
| ¤é´Á | ½s¸¹ | °ê®a/¦a°Ï |
| 2011/05/24 | 11105196.8 | ¤¤°ê»´ä |
[21] ½s¸¹ : J/001892
[22] ¥Ó½Ð¤é : 2015/09/29
[24] §å¥Ü¤é : 2015/12/28
[73] Åv§Q¤H : ªü¶ë¶Ô¶©»sÃĤ½¥q
¦a§} : 128 Sidney Street, Cambridge, MA 02139, U.S.A.
°êÄy : ¬ü°ê
[72] µo©ú¤H : J¡D§J¿Õ´¶¤Ò, J¡D¦è©Ô
°ê®aª¾ÃѲ£Åv§½µo©ú±M§Q :
| ±M§Q¸¹ | ¥Ó½Ð¤é | ±ÂÅv¤½§i¸¹ | ±ÂÅv¤½§i¤é |
| ZL200680051538.9 | 2006/11/22 | CN 101370511B | 2015/07/01 |
[51] ¤ÀÃþ : A61K38/17, C07K14/705, C12N5/10
[54] ¼ÐÃD : Activin-ActRIIa«ú§Ü¾¯¤Î¨ä«P¶i°©¯Þ¥ÍªøªºÀ³¥Î¡C
[57] ºKn : ¦b¬Y¨Ç¤è±¡A¥»µo©ú´£¨Ñ¤F¥Î©ó«P¶i°©¯Þ¥Íªø¥H¤Î¼W¥[°©±K«×ªº²Õ¦Xª«©M¤èªk¡C
ªþ¹Ï :

[30] Àu¥ýÅv :
| ¤é´Á | ½s¸¹ | °ê®a/¦a°Ï |
| 2005/11/23 | 60/739,462 | ¬ü°ê |
| 2006/03/17 | 60/783,322 | ¬ü°ê |
| 2006/09/15 | 60/844,855 | ¬ü°ê |
µo©ú±M§Q¤§«OÅ@
®Ú¾Ú¸g¤Q¤G¤ë¤Q¤T¤é²Ä97/99/M¸¹ªk¥O®Ö㤧¡m¤u·~²£Åvªk«ß¨î«×¡n²Ä¤Q±ø²Ä¤@´Ú¤Î²Ä¤G´Úªº³W©w¡A¤½§G¤U¦C¦b¿Dªù¯S§O¦æ¬F°Ï´£¥Xªºµo©ú±M§Qµù¥U¥Ó½Ð¤§§å¥Ü¡A¨Ã«ö·Ó¦P¤@ªk³W²Ä¤G¦Ê¤C¤Q¤±ø¦Ü²Ä¤G¦Ê¤C¤Q¤C±øªº³W©w¡A¥i©ó¥»¤½§G¤é°_¤@Ó¤ë´Á¤º´N¤U¦C§å¥Ü¦Vªì¯Åªk°|´£°_¤W¶D¡C
§åµ¹
| ½s¸¹ | µù¥U¤é´Á | §å¥Ü¤é´Á | Åv§Q¤H |
| I/001272 | 2015/12/16 | 2015/12/16 | RIMOWA GMBH |
©Úµ´
| ½s¸¹ | §å¥Ü¤é´Á | ¥Ó½Ð¤H | ³Æµù ®Ú¾Ú12¤ë13¤é²Ä97/99/M¸¹ªk¥O |
| I/001268 | 2015/12/16 | Àô²y®T¼Ö®è¦¡·|ªÀ | ²Ä98±ø¡A³s¦P²Ä9±ø²Ä1´Úa¡^¶µ©M²Ä61±ø¡C |
| ªü¾|µ¦¹CÀ¸¬ü°ê¦³¤½¥q |
¹ê¥Î±M§Q¤§«OÅ@
®Ú¾Ú¸g¤Q¤G¤ë¤Q¤T¤é²Ä97/99/M¸¹ªk¥O®Ö㤧¡m¤u·~²£Åvªk«ß¨î«×¡n²Ä¤Q±ø²Ä¤@´Ú¤Î²Ä¤G´Úªº³W©w¡A¤½§G¤U¦C¦b¿Dªù¯S§O¦æ¬F°Ï´£¥Xªº¹ê¥Î±M§Qµù¥U¥Ó½Ð¤§§å¥Ü¡A¨Ã«ö·Ó¦P¤@ªk³W²Ä¤G¦Ê¤C¤Q¤±ø¦Ü²Ä¤G¦Ê¤C¤Q¤C±øªº³W©w¡A¥i©ó¥»¤½§G¤é°_¤@Ó¤ë´Á¤º´N¤U¦C§å¥Ü¦Vªì¯Åªk°|´£°_¤W¶D¡C
§åµ¹
| ½s¸¹ | µù¥U¤é´Á | §å¥Ü¤é´Á | Åv§Q¤H |
| U/000168 | 2015/12/16 | 2015/12/16 | CMC¡]°ê»Ú¡^¶T©ö¤uµ{¦³¤½¥q |
©Úµ´
| ½s¸¹ | §å¥Ü¤é´Á | ¥Ó½Ð¤H | ³Æµù ®Ú¾Ú12¤ë13¤é²Ä97/99/M¸¹ªk¥O |
| U/000149 | 2015/12/16 | ´I¶Q³¾ªÑ¥÷¦³¤½¥q | ²Ä124±ø¡Aµ²¦X²Ä98±ø³s¦P²Ä9±ø²Ä1´Úa¡^¶µ©M²Ä61±ø¡C |
§ó¥¿
| µ{§Ç½s¸¹ | §ó¥¿¶µ¥Ø | ì¤å | À³§ï¬° |
| N/77474 | ¥qªk§P¨M ¡]2015¦~12¤ë16¤é²Ä50´Á²Ä¤G²Õ¡m¿Dªù¯S§O¦æ¬F°Ï¤½³ø¡n¡^ | ªì¯Åªk°|ºû«ù¸gÀÙ§½©Úµ´¦³Ãö°Ó¼Ðµù¥U¤§§å¥Ü¡C | ªì¯Åªk°|ºû«ù¸gÀÙ§½§å㦳Ãö°Ó¼Ðµù¥U¤§§å¥Ü¡C |
| N/103860 N/103861 N/103862 N/103863 |
Àu¥ýÅv¡]2015¦~12¤ë16¤é²Ä50´Á²Ä¤G²Õ¡m¿Dªù¯S§O¦æ¬F°Ï¤½³ø¡n¡^ | ¡K¡K | ¤ú¶R¥[ Jamaica |
À³¦U¥Ó½Ð¤H/Åv§Q¤H¤§n¨D¡A§ó¥¿¦p¤U¡G
| µ{§Ç½s¸¹ | §ó¥¿¶µ¥Ø | ì¤å | À³§ï¬° |
| N/097977 N/097978 |
°Ó¼Ð¹Ï®×¡]2015¦~8¤ë19¤é²Ä33´Á²Ä¤G²Õ¡m¿Dªù¯S§O¦æ¬F°Ï¤½³ø¡n¡^ | ![]() |
|
| N/097979 N/097980 |
°Ó¼Ð¹Ï®×¡]2015¦~8¤ë19¤é²Ä33´Á²Ä¤G²Õ¡m¿Dªù¯S§O¦æ¬F°Ï¤½³ø¡n¡^ | ![]() |
|
| N/101026 | °Ó¼Ð¹Ï®×¡]2015¦~8¤ë19¤é²Ä33´Á²Ä¤G²Õ¡m¿Dªù¯S§O¦æ¬F°Ï¤½³ø¡n¡^ | ![]() |
![]() |
| N/101084 |
°Ó¼Ð¹Ï®×¡]2015¦~8¤ë19¤é²Ä33´Á²Ä¤G²Õ¡m¿Dªù¯S§O¦æ¬F°Ï¤½³ø¡n¡^ | ![]() |
|
| N/101085 | °Ó¼Ð¹Ï®×¡]2015¦~8¤ë19¤é²Ä33´Á²Ä¤G²Õ¡m¿Dªù¯S§O¦æ¬F°Ï¤½³ø¡n¡^ | ![]() |
![]() |
| N/102086 | ²£«~¦W³æ¡]2015¦~9¤ë16¤é²Ä37´Á²Ä¤G²Õ¡m¿Dªù¯S§O¦æ¬F°Ï¤½³ø¡n¡^ | Malas grandes e malas de viagem; mochilas e bolsas de mão; chapéus-de-chuva e chapéus-de-sol. | Malas e maletas de viagem; mochilas e malas de mão; chapéus-de-chuva e chapéus-de-sol; todos os produtos atrás referidos excluindo artigos de bagagem, bolsas de bagagem, sacos para ciclismo e acessórios relativos à prática de ciclismo ou à indústria de ciclismo. |
| N/103231 | °Ó¼Ð¹Ï®×¡]2015¦~10¤ë22¤é²Ä42´Á²Ä¤G²Õ¡m¿Dªù¯S§O¦æ¬F°Ï¤½³ø¡n¡^ | ![]() |
![]() |
¤G¹s¤@¤¦~¤Q¤G¤ë¤G¤Q¤E¤é©ó¸gÀÙ§½¡X¡X§½ªø Ĭ²K¥












